Les INTERPHONES
ou Téléphones d'Intercommunication
Les systèmes d'interconnexion couramment appelés
"interphone", comprennent plusieurs lignes couvrant généralement
une zone très limitée, souvent au sein des locaux d'un
seul propriétaire ou d'une seule entreprise.
Ces systèmes sont généralement automatiques :
l'utilisateur effectue ses propres commutations en appuyant sur un bouton
ou une touche qui fait sonner la station souhaitée et connecte
les deux lignes pour la conversation.
Aucun opérateur n'est requis pour ces systèmes et, de
fait, aucun système nécessitant un standard téléphonique
et un préposé n'est considéré dans cette
classification. Comme pour les téléphones des systèmes
de régulation ferroviaire, les appareils utilisés dans
les systèmes d'intercommunication ne relèvent ni de la
classification manuelle ni de la classification à batterie centrale
et sont mieux décrits et connus sous le nom de téléphones
d'intercommunication.
sommaire
1886 en France on se sert déjà
du système que l'on appelera plus tard "Interphone"
Vu dans "La Lumièe Electrique" de Mai 1886
INSTALLATION TÉLÉPHONIQUE DES NOUVEAUX IMMEUBLES DE LA
RUE DROUOT
Nous avons parlé au commencement de lannée du bouton-téléphone,
cet ingénieux appareil destiné à vulgariser lemploi
du téléphone et à intro
duire dans le courant journalier de la vie une facilité nouvelle.
Une des applications que nous indiquions alors, mais qui navait
pas encore reçu de consécration pratique, est de relier
à la loge du concierge les divers appartements dune même
maison. Inutile dinsister sur les services que cette communication
peut rendre, tant aux locataires quaux concierges, en évitant
aux uns et aux autres la fatigue et lennui des courses quotidiennes.
Cest dune installation de ce genre que nous voulons dire
quelques mots aujourdhui, installation faite dans les nouveaux
immeubles quon vient de construire au coin de la rue Drouot etdes
grands boulevards. Il y a là deux maisons dont lune possède
dix grands appartements, lautre quinze.
Dans chaque appartement on a installé une planchette en noyer
verni, sur laquelle sont fixés deux boutons-téléphones
nouveau modèle, (car depuis notre premier article cet appareil
a reçu de nombreux perfectionnements).
Au-dessus de cette planchette et presque au plafond, se trouve une sonnerie.
Chaque planchette porte quatre bornes reliées au réseau,
comme nous le verrons plus loin.
Le concierge a chez lui une sonnerie, un taleau indicateur, à
10 numéros pour lune des maisons, à 15 pour lautre,
un commutateur automatique avec autant de touches que de locataires
et deux téléphones réunis par un manche flexible.
La figure 1 donne lensemble des appareils installés dans
la loge de ce fonctionnaire. Une pile unique dessert tous les appartements.
En appuyant sur là touche dun de ses boutonstéléphones,
le locataire met en branle la sonnerie du concierge et fait en même
temps paraître sur le tableau le numéro de lappartement
doù vient lappel.
Le concierge décrochealors ses téléphones et appuie
sur la touche du commutateur qui correspond à la direction doù
vient lappel.
Le crochet du commutateur se relève et la touche reste enfoncée,
établissant ainsi, la communication entre la loge et le locataire
qui a appelé. Le concierge sonne alors, en appuyant sur la touche
dappel situéeau-dessous du commutateur, afin de répondre
au signal quil a reçu, et la conversation peut sétablir
par téléphone.
Lorsque la communication est terminée, le locataire replace ses
boutons téléphones dans leurs griffes ; le concierge raccroche
les siens à son crochet-commutateur qui, en sabaissant,
ramène la touche à sa position dattente et le poste
est prêt à recevoir un deuxième appel. De cette
manière, tout oubli qui pourrait résulter de lusage
de fiches mobiles ou de cordons olants, se trouve évité.
Voici le jeu de ce commutateur automatique qui est la pièce la
plus intéressante du système.

La figure 2 représente le schéma de linstallation,
pour un tableau à 4 numéros.
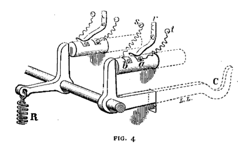
Le crochet C (fig. 4) est monté sur un arbre portant
une série de doigts qui sappuient sur lextrémité
intérieure de touches divoire; lorsquon enfonce une
des touches, celle-ci communique son mouvement à larbre,
par l'intermédiaire du doigt placé en regard,et par suite
fait remonter le crochet; lorsquon cesse dappuyer sur la
touche, dune part, le ressort R qui fait équilibre au crochet,
et dautre part le ressort r, par le frottement quil exerce
sur la touche, forcent le système à rester en place.
Voyons maintenant comment sétablit la com munication.
Le ressort r est relié à la ligne qui correspond à
la touche considérée; cette touche porte deux plaquettes
métalliques dont lune communique, par un ressort en boudin
flexible, avec les organes dappel, et lautre par un ressort
semblable avec téléphone. Dans la position dattente,
le ressort r appuie sur la plaquette des organes dappel; lorsquau
contraire la touche est enfoncée, ce ressort appuie sur la plaquette
du téléphone.
On voit donc que la ligne de chaque locataire se trouve en relation
avec son indicateur et la sonnerie du concierge, ou bien avec le téléphone
de ce dernier, suivant que la touche correspondante est dans la position
dattente ou bien quelle est enfoncée, et quaucun
oubli ne peut entraîner derreur dans le service, car, la
conver sation terminée, le concierge doit nécessairement
remettre sur le crochet commutateur ses deux téléphones,
qui par leur poids rabaissent le crochet et font ressortir la touche.
Fig 6
La figure 5 donne une vue perspective dun commutateur automatique
à 4 directions. Un seul poste de locataire est figuré;
les autres se montent de
la même manière. Comme on le voit, il y a autant de fils
que de directions plus deux.
Il serait facile, avec les mêmes planchettes, portant un ou deux
boutons-téléphones, de réaliser un réseau
semblable, dans lequel on pourrait établir des communications
entre les différents postes ; il suffirait demployer un
tableau central avec commutateur à cordons souples analogue à
ceux des réseaux de ville, mais beaucoup plus simple.
La figure 3 est le schéma des communications dans ce cas général.
Quand il sagit de commu nications avec le concierge, comme il
est inutile
de faire parler entre eux les locataires, il vaut mieux éviter
lemploi des cordons souples qui peuvent donner lieu à des
oublis, et faire usage
dun commutateur automatique. Nous donnons (fig. 6), une vue perspective
du bouton-téléphone ordinaire nouveau modèle, de
construction très soignée. Cest ce bouton simple,
qui permet, dans les installations de sonneries ordinaires, de remplacer
chaque bouton de sonnerie par un appareil téléphonique.
Tel est le cas des installations dappartements privés où
les maîtres peuvent appeler les domestiques par sonnerie, mais
où ceux-ci ne peuvent répondre que par téléphone.
Il a été fabriqué une multitude
de petits téléphones pour les réseaux
domestiques :
Et aussi Ducrotroy
.
Metaphone Bouton telephone
La poire microtéléphonique de E. Figuera, Brevet 1891
..


sommaire
Aux Etats-Unis de nombreux agriculteurs se sont associés
en mutuelles ou coopératives, construisant des circuits téléphoniques
à leurs propres frais et les raccordant à un réseau
téléphonique classique. et dans certains cas, on constata
qu'un groupement d'agriculteurs se résumait à un simple
réseau de téléphones interconnectés, plusieurs
étant reliés par un seul fil, et probablement sans central
téléphonique. (En règle générale,
les compagnies de téléphone nautorisent pas le raccordement
à leurs lignes, standards ou téléphones dappareils
ou accessoires qui ne leur appartiennent pas ou dont ils nassurent
pas la maintenance).
La marque commerciale de la Western
Electric Company pour les téléphones d'intercommunication
est « Inter-Phones »
Bien d'autres fabricants ont suivi et commercialisés leurs systèmes
d'intercommunications téléphonique, comme Stromberg-Carlson
...
Voici la reproduction de deux pages d'un catalogue Western Electric,
publié en 1892. Il provient de la bibliothèque
d'histoire ancienne de Western Electric, conservée par C. D.
Wilkinson, directeur de la maison de Minneapolis.

Ce catalogue est l'un des rares, sinon le seul de ce type existant.
Il contient une illustration d'un téléphone qui pourrait
bien surprendre ceux qui pensent que l'interphone est une invention
récente.
Alors que nombre de ceux qui s'intéressent aujourd'hui aux téléphones
interphones, en tant qu'ingénieurs et vendeurs, étaient
encore des écoliers en
pantalons, les premiers vendeurs de Western Electric vendaient ces appareils
pour une utilisation dans les usines et les immeubles de bureaux, afin
de remplir les fonctions des appareils actuels. Comme l'illustre l'image,
cet « interphone » était extrêmement volumineux
comparé à nos appareils actuels, mais à l'époque,
il était considéré comme le summum de la construction
téléphonique. Ce vieux catalogue de 1892 contenait 347
pages,
Ce sont des téléphones spéciaux conçus pour
répondre aux besoins de communication dune pièce
à lautre dans un bâtiment, ou éventuellement
dune maison à une grange ou un garage. Ils ont été
conçus par des ingénieurs en télécommunications
qualifiés spécialement pour cet usage et ne sont pas adaptés
à une utilisation extérieure.
L'Interphone et d'autres produits similaires (comme le populaire «
Metaphone ») ont exploité le concept selon lequel un opérateur
pouvait accomplir une tâche d'une simple pression du doigt. Ils
ont poussé cette idée plus loin en allant au-delà
de la simple signalisation par sonneries et avertisseurs pour permettre
une communication bidirectionnelle.
Un interphone peut notamment être placé
à l'entrée d'un immeuble, d'une maison, afin d'en contrôler
l'accès. Dans ce cas, on parle également de parlophone
(surtout en Belgique). Il est alors souvent équipé d'un
système permettant l'ouverture d'une porte à distance,
appelé « portier ».
La combinaison de boutons-poussoirs et de téléphones pouvait
potentiellement rendre les grands espaces plus intelligibles et gérables,
tout en accélérant la transmission des convocations. En
effet, selon Electrical Magazine et Engineering Monthly : « Quel
confort de pouvoir envoyer un message immédiatement après
avoir donné un signal, au lieu d'attendre de le remettre en main
propre !
Ces petits téléphones sont bon marché et donc accessibles
à tous. » Les compagnies ferroviaires ont également
adopté de plus en plus les téléphones d'intercommunication,
afin que les informations puissent être transmises directement
à un agent et que la convocation préliminaire soit inutile
Les publicités pour les téléphones « interconnectés
» soulignent qu'une simple pression permet à la maîtresse
de maison de communiquer avec n'importe quel membre de sa famille sans
effort.
1918
__
Voir un
extrait du catalogue Western Electric de 1918
sommaire
Les campagnes d'intercommunication s'appuyaient sur
les aspects clés du commandement numérique : la proximité,
la simplicité et la facilité d'utilisation. Les slogans
reprochaient régulièrement aux gens de marcher et prônaient
plutôt la sédentarité dans la communication, la
considérant comme une stratégie plus efficace.
Avec un « interphone » Western Electric (1910), par exemple,
le propriétaire pouvait économiser lénergie
gaspillée à « monter et descendre les escaliers
ou à se déplacer dune pièce à lautre
pour donner des instructions aux domestiques ou aux membres de la famille
» et pouvait parler à nimporte quelle partie ou personne
de la maison « en appuyant simplement sur le bouton approprié
». De même, un autre fabricant a déclaré aux
consommateurs potentiels quelques années plus tard (1922) : «
Ne marchez pas appuyez une fois sur un bouton et parlez »
(italiques d'origine).
Selon l'entreprise, « Le système téléphonique
interconnecté Stromberg-Carlson élimine ces déplacements
inutiles et gaspilleurs. Il rend chaque personne, chaque service de
l'usine immédiatement joignable. Il n'est plus nécessaire
de parcourir la moitié de l'usine pour transmettre un message.
» Ces arguments en faveur de l'efficacité et de la communication
à distance visaient à faire de l'utilisation d'un bouton
une alternative intéressante aux déplacements pour mener
à bien ses activités. Comme pour les anciens boutons-poussoirs
utilisés pour sonner,
le système d'intercommunication reposait sur
la capacité des utilisateurs à négocier les modalités
de communication selon des normes sociales spécifiques ; la possibilité
de parler par téléphone communication bidirectionnelle
n'améliorait pas intrinsèquement les relations
ni ne représentait une « meilleure » façon
de communiquer ; il s'agissait simplement d'une autre façon de
communiquer. Comme lors du passage des sonnettes à tirer aux
sonnettes à pousser, des problèmes d'ergonomie ont continué
à se manifester lorsque les téléphones ont remplacé
les boutons-poussoirs dans les hôtels.
Dans un cas précis, un client d'hôtel, exaspéré,
est descendu dans sa chambre pour s'en prendre au personnel, affirmant
qu'il était resté une demi-heure dans sa chambre à
appuyer sur un bouton pour appeler un groom, sans obtenir de réponse.
Le réceptionniste répondit que le nouveau système
de communication reposait sur le téléphone dans cet «
hôtel moderne », et que létablissement nutilisait
plus « lancien système archaïque des sonneries
à répétition », ce qui incita le client à
séloigner docilement.
Dans un autre cas, un client dhôtel raconta : C'était
le premier hôtel où j'avais dormi. Sur le mur de ma chambre,
j'ai remarqué le bouton et le panneau indiquant : « Appuyez
deux fois pour de l'eau glacée ». J'étais un
peu effrayé et seul, mais je n'ai pas pu résister à
la tentation de voir comment ça fonctionnait. Alors j'ai appuyé
sur le bouton et je suis resté là pendant dix minutes,
tenant le pichet en dessous, attendant que l'eau coule.
Des histoires comme celle-ci ont démontré que, malgré
l'apparente simplicité des boutons à portée de
main, l'utilisateur avait besoin de connaissances sociales et contextuelles
spécifiques pour les utiliser correctement.
En plus de la confusion, la communication bidirectionnelle pouvait également
renforcer les relations hiérarchiques, tout comme la communication
unilatérale pouvait les perturber lorsque les domestiques ou
les employés refusaient de répondre comme demandé.
Il est à noter que la communication par bouton-poussoir se déroulait
de manière très différente selon le contexte et
les participants.
Sonner pour appeler les domestiques est devenu moins fréquent
avec la généralisation du téléphone et l'évolution
des relations entre les domestiques et les services domestiques. Cependant,
la signalisation par boutons-poussoirs, inspirée des premières
utilisations des alarmes incendie et antivol, s'est généralisée
comme outil de sécurité.
Bien que la communication domestique puisse être jugée
insatisfaisante, compte tenu du délai entre l'appel et la réponse,
elle représentait un atout précieux dans des environnements
tels que les écoles, les prisons, les navires de la marine ou
les automobiles ; l'utilisation de boutons-poussoirs permettait
d'allier simplicité et rapidité d'intervention.

La marine américaine a reconnu l'utilité de ces boutons-poussoirs
comme mécanisme d'interaction en cas d'urgence.
Les sonnettes d'appel jouaient un rôle primordial dans la communication
à bord des navires, avec des circuits pour les alertes incendie,
les alarmes générales, les signaux d'avertissement et
les communications internes courantes ; les navires étaient
d'ailleurs équipés de nombreux boutons-poussoirs pour
faciliter la signalisation. Des navires comme le vaisseau de guerre
« Indiana » étaient construits pour mettre
en valeur les appareils électriques les plus récents et
les plus performants, et les électriciens les équipaient
souvent de multiples technologies de communication, allant du téléphone
aux avertisseurs sonores. Selon un rapport sur les installations électriques
de l'US Navy (1907), chaque cabine et bureau devait être doté
de ces équipements, et les boutons-poussoirs servaient « systématiquement »
d'interrupteurs pour les avertisseurs sonores et les sonneries.
On trouvait des boutons électriques dans tout le quartier du
capitaine (dans son bureau, au-dessus de son lit et même dans
sa salle de bains),
ainsi que dans les cabines des employés tels que les officiers
subalternes, les officiers mariniers et le premier sergent. Parmi ceux
qui avaient accès à des boutons avec sonneries figuraient
le navigateur, le trésorier, le second et le mitrailleur électricien.
Les mess, les offices et autres espaces communs étaient également
équipés de systèmes de communication électrique
par boutons-poussoirs étanches.
Les navires étaient, par essence, des organismes électriques
dotés de « nombreux téléphones, sonnettes
d'appel, avertisseurs sonores, ainsi que d'un système d'alarme
incendie et des avertisseurs nécessaires ; de thermostats électriques,
d'alarmes générales, de télégraphes électriques
pour les moteurs, afin d'indiquer la nécessité d'augmenter
ou de diminuer le nombre de tours par seconde, de lampes électriques,
d'indicateurs à usages divers, d'indicateurs d'angle de barre,
d'indicateurs de révolution et de direction, d'indicateurs d'ordre
de combat et de portée, outre de nombreux autres dispositifs
importants. » Là où les tubes acoustiques étaient
autrefois courants sur ces navires, les marins constataient qu'ils ne
pouvaient pas facilement comprendre la parole dans les moments chaotiques
où ils en avaient le plus besoin. Au lieu de cela, une simple
pression sur un bouton pouvait produire « des sonneries claires
et nettes, sans erreur et sans accaparer trop d'attention ». En
effet, le capitaine d'un navire n'avait plus à craindre de crier
ses ordres face au vent et pouvait rester en sécurité
dans son « nid d'acier massif » et transmettre ses ordres
d'un simple toucher, rappelant les efforts déployés pour
maintenir les commandants numériques à distance de leurs
employés. Les marins pouvaient également émettre
des avertissements à l'aide de klaxons électriques, conçus
spécialement pour résister aux hautes pressions et aux
hautes tensions. Pour entretenir les nombreux circuits nécessaires
à la commande par bouton-poussoir, reliant boutons et sonneries
à travers les pièces et les ponts, les électriciens
de la marine devaient posséder une connaissance approfondie de
leur construction et de leur réparation.
Parmi les nombreux utilisateurs d'outils de communication par bouton-poussoir,
la marine américaine s'est certainement distinguée par
son utilisation généralisée de la signalisation
par simple pression.

sommaire
Interphone Western Electric modèle 6034-P à
8 boutons (1915)

Il s'agit d'un interphone Western Electric de 1915, de type « bougie »,
à huit postes.
Des modèles à quatre postes existaient également.
La plupart de ces interphones étaient utilisés dans les
systèmes d'interphonie internes, sans communication avec l'extérieur.
Pour les systèmes comportant plus de huit postes, il existait
aussi des modèles muraux en bois et en métal, ainsi que
des interphones à boutons. Les espaces blancs sous les boutons
étaient réservés au nom des postes : cuisine,
chambre, garage, porte d'entrée, etc. Il est équipé
d'un récepteur n° 179-W et d'un émetteur n° 302-W.
sommaire
De nos jours, une offre d'interphone,
basée sur le protocole DECT/GAP permet d'inclure l'appareil dans
le réseau téléphonique interne de la maison et
d'avoir accès au réseau téléphonique. En
France, il fait partie des systèmes électroniques définis
par la norme AFNOR NF X50-785. L'interphone devient un élément
d'un réseau de domotique.
Il existe de simples interphones pour maison individuelle
et des interphones élaborés pour les appartements collectifs.
Certains sont équipés de vidéo, en installation
électrique. Ce schéma électrique peut être
relié vers l'extérieur avec seulement deux fils ou 4 à
6 fils tout en commandant une gâche électrique.
Les dernières générations sont à deux fils
et électroniques. On voit même des modèles informatiques
compatibles TCP/IP.
sommaire