|
Histoire du
Minitel
"Médium
interactif par numérisation d'information téléphonique"
et du réseau télématique
Peut être avez vous utilisé ce genre d'appareil ? Qu'est
il devenu ?
A loccasion des fêtes de fin dannée, vous
aurez peut-être envie de revoir le film culte 3615 code Père
Noël ». Ce film diffusé sur les écrans en
1990 accorde une large place à un objet désormais obsolète
: le minitel. Le jeune héros du film, Thomas, y dialogue par
minitel avec une personne inconnue qui prétend être le
vrai Père Noël.
Le minitel est un terminal informatique donnant accès à
des services variés préfigurant ceux du futur Internet.
Il utilise une technologie de communication sappuyant sur le
réseau téléphonique, développée
en France par le ministère des Postes et télécommunications.
Exploité commercialement entre 1980 et 2012, le système
a hissé la France au premier rang de la télématique
mondiale, avant de céder la place au réseau Internet
.
« le minitel a-t-il eu un inventeur»
?
- La fin du minitel, le 30 juin 2012, provoquée par la fermeture
de Transpac, avait été l'occasion
pour la presse de faire témoigner plusieurs acteurs clé
de l'aventure du vidéotex français, chacun étant
présenté comme "l'inventeur du minitel".
- L'étonnant roman d'Aurélien Bellanger, "la théorie
de l'information" (Gallimard), paru au cours de l'été
2012 retrace dans sa première partie l'histoire (parfois imprécise
mais néanmoins pertinente) du démarrage du minitel avec
une vision des prestataires de service "à la Xavier Niel".
Le terminal minitel véhicula limage emblématique
dun très grand système informatique avec de multiples
racines qui ont façonné ce qua été
le vidéotex français.
Il y a eu plusieurs hommes clé (et équipes) selon les
phases de ce vaste écosystème.
sommaire
Lorsquon parle du Minitel, on évoque souvent un vieil
outil télématique exclusivement français, qui
émerveillait les nations étrangères pendant la
décennie des années quatre-vingt, mais qui est aujourdhui
condamné depuis lapparition dInternet.
Ringard, cher, infréquentable, inventé
par des technocrates qui ont dépensé stupidement largent
de létat, franco-français, dépassé
technologiquement, responsable du retard que la France a pris en matière
daccès à linternet, à lorigine
dune honteuse libération des murs, machine à
fric etc.
Nous avons tout entendu sur le Minitel et pas seulement de la bouche
des dignes représentants des ligues de vertu. Quel paradoxe
! Tout le monde critique sans ménagement cette petite boîte
mais tout le monde sen est servi à cette époque.
Qui aurait imaginé lire que cet objet au design rustique avait
été le premier système online qui avait
fait de la France un pays envié par ses voisins , que
le Minitel avait symbolisé la virilité technologique
de la France des années 80 , quavec 17 millions
dutilisateurs en France, le Minitel apparaissait comme une incredible
succes story .
Des phrases irréelles dans une presse plutôt habituée
à décrier les excès dun état français
trop dirigiste, dune économie pas assez libérale.
Le Minitel (pour « Médium interactif par numérisation
d'information téléphonique ») est un type de terminal
informatique destiné à la connexion au service français
de Vidéotex baptisé Télétel,
commercialement exploité en France entre 1980 et 2012.
Donnant accès à des services variés préfigurant
ceux du futur Internet, et utilisant pour cela le réseau français
Transpac qui lui-même préfigurait la future infrastructure
de transmission d'Internet, il a hissé la France au premier
plan de la télématique mondiale grâce au premier
service au monde de fourniture gratuite ou payante dinformations
télématiques. Il sera un succès considérable
et restera longtemps populaire.
Par métonymie, le mot « Minitel »
a fini par désigner l'ensemble du service Vidéotex en
France ainsi que les éléments de réseau (concentrateurs,
points d'accès) destinés à rendre ce service.
Cette technologie de communication a été créée
par le ministère des Postes et Télécommunications
et utilisée en France des années 1980 aux années
2000.
4 autres systèmes similaires ont été
développés dans le monde :
- Prestel en Grande-Bretagne,
- Bildschirmtext en RFA,
- Telidon au Canada,
- Captain au Japon.
sommaire
Dès septembre 1973, "Le Monde" estime
que le « premier véritable terminal à domicile
», dont certaines entreprises sont déjà équipées,
sera un téléphone au cadran remplacé par un mini-clavier,
pour communiquer avec un ordinateur, qui pourrait être expérimenté
« d'ici deux ou trois ans » auprès des particuliers.
Il souligne que le Japon comptait en 1972 plus de 130000 postes à
clavier répartis entre Tokyo et Osaka, dont 60 % permettant
d'accéder au réseau mis au point par le ministère
des télécommunications pour consulter une bibliothèque
d'une centaine de programmes scientifiques, mais que la concurrence
des calculettes, déjà « baptisées bien
souvent micro-ordinateurs » limite le nombre de consultations
à 8000 appels par jour en moyenne.
Le Japon veut alors investir 3 milliards de yens dans un réseau
de transmission par câble coaxial reliant 300 familles-test
à un centre de télévision et d'informatique pour
faire du télé-shopping, suivre des cours, lire leur
journal, « réserver des places ou régler des factures
».
L'année 1972 a ainsi « marqué
un tournant » considèrent les professionnels français,
car « cette fois, le coup d'envoi de la téléinformatique
est donné », mais le principal problème est celui
des programmes,
En France une expérimentation est prévue à L'Isle-d'Abeau.
Plus généralement, une étude du BIPE évalue
alors le marché français des terminaux, de tout type,
à 600 millions de francs en 1975, prévoyant un sextuplement
en cinq ans.
Les ingénieurs du Centre national d'études
des télécommunications (CNET), qui ont depuis la fin
des années 1950 développé des systèmes
de transmission et de commutation téléphonique, puis
dans les années 1960 réalisé des ordinateurs,
contribuent dans les années 1970 à former une vision
de la télématique du futur. Ils seront soutenus pour
cela par les moyens financiers considérables investis dans
le plan de rattrapage téléphonique des années
1970.
Dans ce cadre, le Centre commun d'études de télévision
et télécommunications (CCETT), à Rennes puis
à Cesson-Sévigné dans sa banlieue, à élaboré
les spécifications du réseau Transpac puis, sous
la direction de Bernard Marti, spécifié le Minitel qui
utilisera Transpac via des points d'accès spécialisés.
La conception initiale (1975-1980)
Plusieurs idées étaient dans lair chez les opérateurs,
en particulier British Telecom avec PRESTEL. En France deux projets
ont alimenté les réflexions : le TICTAC service interactif
par téléphone et affichage par téléviseur
(CNET Paris, Christian Carrouge) et la filière télétexte
radiodiffusé sur téléviseur (CCETT Rennes, Bernard
Marti). Il semblerait que lidée de fusionner les deux
approches dans un terminal dédié vienne dAlain
Bernard, (ingénieur de larmement à la DAII, il
avait lavantage de ne pas être du sérail, esprit
indépendant et propre à l'innovation). Le système
de codage alphamosaïque selon les spécifications Antiope
a été développé par l'équipe du
CCETT.
Ce n'était qu'une partie du projet, même si par nature
la plus visible. C'est dans ce domaine qu'a porté la bataille
des normalisations internationales, sans hélas aboutir à
une norme mondiale unique.
sommaire
Rétrospectives
Dans la première moitié de la décennie
1970, avant même que ne soit envisagé le lancement dun
projet de télématique grand public, la Direction Générale
des Télécommunications finalise le rattrapage téléphonique
initié sous la présidence de Georges Pompidou et continué
sous Valéry Giscard dEstaing. En effet, depuis presque
un siècle, la France est touchée par le mal du sous-équipement
et du dysfonctionnement chronique en matière de téléphonie.
Cette situation est devenue un sujet de plaisanterie récurrent
et lon nhésite pas à dire que « la
moitié desFrançais attend le téléphone,
lautre moitié, la tonalité » en continuant
de rire au sketch de Fernand Reynaud, « le 22 à Asnières».
Pour remédier à cette situation, la Direction Générale
des Télécommunications entreprend avec Gérard
Théry, son nouveau directeur général depuis 1974,
un plan déquipement en lignes téléphoniques
sans précédent, le plan « Delta LP11 ».
Devant leffort financier à consentir, la DGT qui jouit
du monopole sur les lignes, pense également à laprès
rattrapage téléphonique et aux moyens de rentabiliser
ses investissements. Cest notamment du côté de
ce qui ne sappelle pas encore la télématique,
mais la « téléinformatique », par contraction
des termes français télécommunication et informatique
- que peuvent émerger des solutions pour létablissement
de « nouveaux services » à forte valeur ajoutée.
La fin de la décennie 1970 est également le moment démergence
dun discours sur la modernité qui sincarne dans
le projet « dinformatisation de la société
» que le rapport Nora-Minc met en mots.
Remis le 21 février 1978 au Président de la République
Valéry Giscard dEstaing, le célèbre rapport
Nora-Minc est un point de départ commode et souvent repris
pour dater le début de la « télématisation
» de la société .
Commandé officiellement le 22 avril 1975, il sagit alors
de confier une réflexion générale sur les moyens
de conduire « linformatisation de la société
» à Simon Nora, Inspecteur Général des
finances et déjà auteur de plusieurs rapports remarqués,
qui décide de sadjoindre les services du jeune Alain
Minc, tout juste sorti de lEna.
Si le contexte difficile de lancement du troisième Plan Calcul
et lannonce contestée de la fusion de la CII avec Honeywell-Bull
jouent incontestablement un rôle dans la nécessité
ressentie au plus niveau de lEtat de justifier dun cap
industriel, ce sont plus globalement les évolutions de linformatique
qui poussent à cette floraison de réflexions socio-politiques
dont le rapport Nora-Minc sera lexpression la plus médiatisée.
Lentrée rapide de linformatique dans les bureaux,
les changements, les attentes, mais également les blocages
quelle fait naître pendant les décennies 1960 et
le début des années 1970 poussent à lexamen
des implications de cette technologie qui ne semble pas connaître
de limites à sa diffusion.
Pour Simon Nora et Alain Minc, la télématique est avant
tout un enjeu politique du fait de sa nature doutil informationnel
: « la télématique, à la différence
de l'électricité, ne véhicule pas un courant
inerte, mais de l'information, c'est-à-dire du pouvoir »
et « la maîtrise du réseau est donc un objectif
essentiel. Ce qui veut dire qu'il doit être conçu dans
un esprit de service public. »
La nécessité de trouver les moyens de poursuivre la
croissance initiée par le rattrapage téléphonique
et limpératif de modernité constituent les deux
éléments principaux du volontarisme qui donne naissance
à la télématique française.
Si le volontarisme politique qui entoure le lancement du projet de
télématique grand public assure ce dernier dun
soutien sans faille de la part du gouvernement, la partie nest
pas donnée pour gagnée entre 1978 et 1981. Cette courte
période est celle des premières turbulences .
Rappel des principales dates
| Le 22 avril 1975, lors du Conseil des
Ministres restreint, la décision est prise de mandater
une personnalité chargée de diriger une Commission
qui propose au gouvernement les orientations souhaitables en matière
de développement des applications de l'informatique dans
notre pays.
Le 20 décembre 1976, M. le Président
de la République - Valéry Giscard d'Estaing charge
M. l'Inspecteur Général des Finances - Simon Nora
de la rédaction d'un rapport concernant l'informatique
dans la société française.
Le 20 janvier 1978, M. Simon Nora remet
à M. le Président de la République le rapport
cosigné avec M. l'Inspecteur des Finances - Alain Minc
intitulé : L'informatisation de la Société
; rapport considéré comme fondateur en la matière.
Le 27 janvier 1978, est signé
un accord à Rennes entre le British Post Office et la
Deutsche Bundespost pour élaborer une norme commune qui
soit compatible avec la norme Teletex (Franco-allemande) en
cours d'élaboration.
Cet accord est ensuite dénoncé quelques semaines
plus tard par la Grande-Bretagne, pour des raisons de politique
intérieure, mais est dans la foulée reconnu et
signé par 4 nouveaux pays, après certaines modifications.
Les 8 et 9 mai 1978, la première réunion du CCITT
se tient à Genève. Il s'agit de la première
réunion dont l'ordre du jour soit le Vidéotex.
Les premières spécifications sont ainsi élaborées
et six pays s'engagent dans l'aventure : France, Suisse, Suède,
RFA, Autriche et Norvège. Le texte est publié
à la fin 1978 : il s'agit de l'Avis S100 du CCITT.
Les 22 et 30 Novembre 1978 se tiennent deux Conseils des Ministres
Restreints sur le développement des applications de l'informatique.
Suite à l'avis Avis S100 du CCITT et grâce à
l'implication motivée de M. le Directeur Général
des Télécommunications - Gérard Théry
depuis 1976, le gouvernement français décide le
30 novembre 1978 de lancer 2 expérimentations en matière
de télématique :
Télétel 3V à Vélizy,
Annuaire Électronique en Ille-et-Vilaine.
Ces 2 expérimentations évolueront côte à
côte.
Le 4 décembre 1978, la marque TELETEL
est déposée par la Direction Générale
des Télécommunications.
En Décembre 1978, Nomination de M. Philippe Leclercq
comme chef du Projet Télétel 3 V - Vélizy.
L'équipe du Projet est sise au 28, place Louvois, 78140
Vélizy.
Le 26 février 1979, M. le Directeur Général
des Télécommunications - Gérard Théry
en visite au salon Intelcom 79' à Dallas, officialise
la Politique Télématique de la France appelée
à être prochainement mise en uvre.
Le 2 juin 1979, sont ouverts les chantiers sur le Télétel
et l'Annuaire Électronique par M. le Directeur Général
des Télécommunications - Gérard Théry.
L'équipe du Projet TELETEL qui se constitue est basée
au 9/11, avenue Louis Bréguet à Vélizy.
En Juin 1979, la société Thomson-CSF est retenue
par la Direction Générale des Télécommunications
pour fournir les terminaux Télétel expérimentaux
à Vélizy.
Le 9 août 1979, M. Le Directeur des Affaires Industrielles
et Internationales - Jean Syrota annonce en conférence
de presse l'arrivée prochaine de l'Annuaire Électronique.
Se tient ce jour la présentation officielle des futurs
terminaux informatiques miniaturisés qui ne s'appellent
pas encore Minitel mais Terminal Annuaire Électronique
(TAE), au Centre d'Information sur les Techniques Avancées
des Télécommunications (CITAT) au 38, rue du Général
Leclerc à Issy-les-Moulineaux - dépendant de la
Direction des Affaires Industrielles et Internationales. (Les
modèles présentés sont des prototypes).
La norme d'affichage initiale retenue est du type alpha-mosaïque
formée de caractères répartis sur une Grille-calque
d'affichage 24 lignes horizontales sur 40 colonnes Norme Télétel.
|
sommaire
Avec les 7 millions de lignes qui sont créées
entre 1974 et 1979, l'annuaire papier est obsolète avant d'être
terminé. Cela crée également une forte augmentation
du coût de production qui culmine à 120 millions de Francs
en 1979. Entre 1979 et 1984, 7 autres millions de lignes sont prévues.
Les évaluations du tonnage de papier nécessaire grimpent
de 20 000 tonnes en 1979 à 100 000 tonnes en 198515.
En 1978, ladministration fait imprimer 16 millions dannuaires
qui coûtent 307 millions de francs et en rapportent 370 dont
67% reviennent à lOffice dAnnonces qui gère
les annonces qui y sont insérées.
Cette débauche de moyens pour maintenir lannuaire à
jour, sa relative inefficacité pour trouver rapidement un numéro
et limpossibilité pour le tout-venant davoir accès
aux numéros dans la France entière offrent un excellent
prétexte à linformatisation de ce service.
Cest sur cet argument quen 1979, la Direction Générale
des Télécommunications lance sa campagne de communication
autour de la télématique,
mouvement de modernisation qui commence par lannuaire.
Laudace politico-économique (1978-1981)
Laspect le plus original de la filière vidéotex
à la Française fut le modèle économique
adopté : distribuer « gratuitement et à tous»
un terminal grand public simple et fabriqué en très
grande série.
Trois idées ont été invoquées pour «
vendre » ce projet à la technostructure giscardienne:
1. contribuer à linformatisation de la société,
rapport Nora-Minc oblige
2. trouver un relais de croissance innovante pour lindustrie
des télécom et exporter
3. être écologique avant lheure (même si
à cette époque, il n'y avait pas de verts au gouvernement!)
en sauvant les forêts dévastées pour fabriquer
le papier de lannuaire: ce fut le grand argument vis-à-vis
des politiques.
La paternité de ce projet très audacieux 1 pour l'époque
revient à Gérard Théry et Jean Pierre Souviron.
Jean Syrota en aura supervisé la mise en uvre industrielle.
Le projet d'ensemble « Annuaire Électronique
et Minitel » (1979-1985) a été supervisé
par Jean-Paul Maury, directeur du projet).
D'après Bernard Marti, le nom « Minitel » serait
l'abréviation de « Médium interactif par numérisation
d'information téléphonique ».
sommaire
En 1978, la France décide de tirer parti
de Transpac, son réseau de
transmission de données, en lui ajoutant des points d'accès,
via le réseau téléphonique, pour des terminaux
peu onéreux, les Minitels.
Cette décision sera rendue publique par Gérard Théry,
directeur de la DGT, à l'Intelcom 79 de Dallas (Texas) qui
réunit le gratin mondial des télécommunications.
Il y annonce avec une certaine emphase le déclin de l'ère
du papier.

Prototypes
de Terminal Annuaire Électronique (TAE) proposé par
CIT-Alcatel en 1979. Et second prototype.

Prototypes de Terminal Annuaire Électronique (TAE) proposé
par TRT - Philips. Et second prototype

Prototype de Terminal Annuaire Électronique (TAE) proposé
par Thomson - CSF
Prototypes de Terminal Annuaire Électronique (TAE) proposé
par Matra Communication
sommaire
À l'étranger, dans une ambiance d'émulation
internationale, les ingénieurs américains, anglais ou
allemands accompagnent les recherches des ingénieurs du Centre
national d'études des télécommunications.
Ainsi en Europe d'autres systèmes sont étudiés,
tous fondés sur la norme Vidéotex : Prestel (en), le
Ceefax, le Bildschirmtext (de). Aux États-Unis est élaboré
le système NAPLPS.
Conçu comme vecteur de vente à domicile,
il met l'accent sur un affichage en couleurs de qualité photographique.
Mais la déception est sévère en raison du coût
des composants et du faible débit des lignes de l'époque
surtout aux États-Unis : l'affichage de certaines pages
pouvait prendre une durée de six minutes.
Le mélange de texte et graphiques, qui ne posait pas de problème
avec les caractères semi-graphiques de basse qualité
du Minitel, n'était pas possible sans faire monter le coût
de réalisation du terminal à des valeurs prohibitives
en mémoire vive et en mémoire morte.
Alors qu'il est prévu de fabriquer 30 millions de Minitels,
Valéry Giscard dEstaing, devant le lobby de la presse
qui voit un concurrent dans cette nouvelle technologie, se ravise
et décide de lancer des expérimentations.
Durant cette période de turbulences, à
lincertitude de ladhésion du public, aux coûts
pharaoniques dindustrialisation, aux difficultés techniques
à surmonter (conception technique qui repose alors sur la plus
grande base de données accessible en temps réel au Monde,
sur une architecture complexe, composée de points daccès
vidéotex, de centaines de modems, etc.) sajoute la fronde
dune partie de la presse régionale française qui
voit dans la télématique une décision technocratique
qui pourrait la couper des rentrées dargent que représentent
les petites annonces que lon
imagine déjà en train de migrer sur le nouveau média.
A la tête de la contestation, François-Régis Hutin,
le directeur de Ouest France, qui ouvre les hostilités en 1979
dans un article publié le 8 mai qui
commente la décision prise par la DGT de raccorder 30 millions
de terminaux à lorée 1990 au rythme de 3 millions
par an. Expression dun technocratisme qui confine à lautocratisme,
il sagit de sélever contre cette décision
inique : « Quand des techniciens réfléchissent
seuls à lutilisation des techniques quils ont lintelligence
de mettre au point, cela sappelle la technocratie. »
En France, la phase d'expérimentation de Télétel
et du Minitel commence en 1980 à travers plusieurs opérations
sur le terrain.
En juillet 1980, à Saint-Malo, les 55
premiers utilisateurs de l'annuaire électronique sont équipés
(20 entreprises et 35 particuliers). L'expérience de Saint-Malo
s'achèvera en décembre 1982.
Les localités concernées par l'expérimentation
Annuaire Électronique sont exactement les suivantes :
Cancale
Châteauneuf-d'Ille-et-Vilaine
Dinard
La Gouesnière
La Richardais
La Ville-ès-Nonais
Le Minihic-sur-Rance
Lillemer

Prototype de Terminal Annuaire Électronique (TAE) et un des
premiers Terminaux Annuaire Électronique (MINITEL) utilisé
par les 55 premiers utilisateurs de France, à Saint-Malo, en
Juillet 1980.
Les premiers terminaux (que lon appelle télétel),
sont mis en place de façon expérimentale à Vélizy
en 1981. Cette première expérience sert à tester
la pertinence des services télématiques. Les 2 500 foyers
concernés sont équipés dun décodeur
surnommé « chauffe-plat » permettant de consulter
une vingtaine de services sur lécran de leur téléviseur.
Pendant les trois années qui suivent, des études statistiques
dutilisation sont faites : Vélizy devient lendroit
de tests techniques et de services. Dans le même temps, le CNET
et le CCETT élaborent la maquette du fichier informatisé
de lannuaire électronique. On trouve également
les premières hostilités dans le monde de la presse
(peur de lapparition dun nouveau concurrent) et de la
politique (peur du coût de lexpérience).
Le 29 juillet 1980 est lancée
une consultation par M. le Secrétaire dÉtat aux
Postes et Télécommunications et à la Télédiffusion
- Norbert Ségard destinée à équiper le
département dIlle-et-Vilaine, soit 300.000 foyers, de
Terminaux Annuaires Électroniques.
Le 14 novembre 1980, se tient à l'Assemblée
Nationale un débat sur la Télématique, lors du
vote du budget des télécommunications. M. le Secrétaire
d'État aux PTT - Pierre Ribes rend alors publiques les garanties
et engagements pris par le gouvernement :
«Il apparaît que l'ensemble de la législation applicable
à l'édition au sens large est transposable à
l'expérience de Vélizy. Sont ainsi, en particulier,
applicables de plein droit en loi du 29 juillet 1881 sur la liberté
de la presse et de l'édition, celle du 21 juin 1943 sur le
dépôt légal, l'ensemble des textes régissant
la publicité, et la loi du 11 mars 1957 relative à la
protection du droit d'auteur.
En outre, il est prévu d'insérer dans le cahier des
charges que chaque prestataire de service devra signer avec mon administration
responsable du projet, un ensemble de dispositions destinées
à garantir le respect des droits de l'usager, à savoir
: obligation de faire figurer en tête du service le nom et l'adresse
du prestataire, et, le cas échéant, le prix du service
proposé, confidentialité des informations sur les usagers
recueillies par les prestataires de service.
Il convient que nous regardions ensemble comment, en pratique, s'applique
cette législation déjà complexe, avant d'envisager
de bâtir un nouveau cadre juridique qui ne pourrait certainement
pas aujourd'hui être construit sur des bases solides.»
Le 8 décembre 1980, M. le Directeur Général
des Télécommunications - Gérard Théry
est l'invité de M. Jean-Louis Servan-Schreiber dans son émission
télévisée Questionnaire, sur TF1, dans cet opus
intitulé Du 22 à Asnières à la Télématique,
où il vient exposer le futur de la télématique
française et son déploiement à venir dans les
foyers.
M. Théry présente en outre, pour TF1, les prototypes
des Terminaux Annuaires Électroniques (MINITEL).
L'émission Questionnaire, émission comme l'on n'en fait
plus, permettait à l'unique invité de pouvoir développer
dans le calme son domaine d'expertise, guidé en cela par M.
Servan-Schreiber muni de son questionnaire.
Larchitecture technique et la réalisation
industrielle (1980-1984)
Le vidéotex fut avant tout un très grand système
informatique distribué interactif. Sans conteste, le responsable
aussi bien des choix d'architecture informatique que de la mise en
uvre de l'annuaire électronique fut Jean-Paul Maury,
chef de projet et sa petite équipe, dont Daniel Leclerc:
- l'organisation du système d'interrogation de l'annuaire avec
la répartition des tâche entre centres d'interrogation
et centre de documentation, et articulation avec l'application des
renseignements et le pilotage des contrats industriels (avec CAP et
SESA);
- le choix du système informatique capable de supporter le
trafic d'interrogation sur une base de données de la taille
de l'annuaire national ;
- l'organisation du réseau d'accès, basé sur
le réseau téléphonique et l'articulation intime
avec le réseau TRANSPAC grâce aux PAVI d'ALCATEL;
- le compromis technico économique et l'ergonomie finale du
minitel : la technologie de lépoque a imposé des
options rustiques mais ayant lavantage dêtre restées
stables ;
Larchitecture technique retenue pour l'annuaire a permis l'intégration
dans le système du 2ème projet lancé en parallèle,
à savoir le projet Télétel 3V concernant les
services privés autres que l'annuaire et qui a pu sinsérer
dans l'infrastructure d'accès prévue pour l'annuaire.
sommaire
En 1981, 4 000 Minitels sont distribués
en Ille-et-Vilaine. Il s'agit de tester ce nouveau service chargé
de remplacer l'annuaire papier. Il devait aussi alors alléger
le service traditionnel des renseignements, passablement saturé
devant la croissance du parc téléphonique fin des années
1970. Il se justifiait aussi par l'efficacité d'un service
de renseignements recouvrant l'ensemble des abonnés au téléphone
en forte croissance.
Les publications des annuaires papier, constamment dépassées,
créaient une forte demande sur les renseignements téléphoniques
alors assurés par des fonctionnaires des PTT.
Le 1er janvier 1981, il est créé
dans la ville de Rennes par Décision n°29 du 13 janvier
1981 - de M. le Secrétaire dÉtat aux Postes et
Télécommunications et à la Télédiffusion
- Pierre Ribes - la Sous-Direction Maintenance, Exploitation, Gestion,
Assistance à la Télématique (MEGAT).
Cette sous-direction est déclarée responsable des centres
de maintenance centralisée.
La Sous-Direction MEGAT est en outre chargée de participer
aux expérimentations, d'assurer la maintenance de deuxième
niveau des matériels et logiciels implantés dans le
réseau.
La Sous-Direction MEGAT met au point les modes opératoires
pour la maintenance de premier niveau et assure leur diffusion.
À l'automne 1980, 2 500 foyers volontaires
de Versailles, Vélizy-Villacoublay, Jouy-en-Josas, Buc, Bièvres
et Les Loges-en-Josas reçoivent un terminal Vidéotex.
Du côté des services, près de 200 fournisseurs
participent à l'expérience, se donnant ainsi l'occasion
de tester ce nouveau moyen de communication auprès du public.
Les services remportant la plus large adhésion seront les annuaires
téléphoniques pages blanches et pages jaunes (services
gratuits), la presse, la vente par correspondance, la SNCF, les banques
ainsi que la messagerie.
Le 2 janvier 1981, ouverture de la première tranche du
Centre Informatique Télétel-Videotex de Vélizy
(CITV), capable de traiter 300 appels simultanés, en mettant
en relation les abonnés et les serveurs des sociétés
ou des organismes proposant des services téléinformatiques
(fonctionne alors à vide).
Première maquette de terminal Télétel datant
de 1980 (pour l'expérimentation de Vélizy Télétel
3V).
Sur le plan industriel, Télétel 3V a été
réalisé clé en mains par un consortium STERIA-BULL-MATRA.
La mise en uvre sur le site fut pilotée par Philippe
Leclercq, chef de projet, sous la supervision de Pierre Lestrade qui
a dirigé linsertion de cette équipe dans la structure
opérationnelle de la DGT et de Jean Claude Merlin.
Afin de désamorcer tout contentieux éventuel
avec la Presse Quotidienne nationale et régionale face aux
inquiétudes déontologiques, économiques et juridiques
l'Administration des PTT organise une autre expérience incluant
d'autres services (petites annonces, informations, messageries) qui
se déroulera à Vélizy.
Si l'expérience de Vélizy reste
un symbole dans le monde de la télématique, c'est que
cette expérience est la source de la création de la
formule « kiosque télématique » qui permet
de répartir les revenus entre l'opérateur et les fournisseurs
de services, notamment à travers le 3615.
En effet, si les éditeurs de presse ont progressivement compris
l'intérêt de cette expérience, ils voulaient en
tirer des revenus.
Conséquemment, d'après des discussions auxquelles participent
notamment Mme Martine Tournier (le Parisien Libéré),
M. Roger Lajus (Hachette Filippacchi), les hommes de la DGT ont l'idée
d'utiliser le système de surtaxation utilisé pour le
réveil téléphoné.
Cela donne lieu, en février 1984, à la création
du kiosque mis en priorité et en exclusivité à
la disposition de la presse.
À Vélizy, le premier terminal
n'a pas d'écran et se glisse sous le téléviseur
: simple décodeur, il permet de consulter une vingtaine de
services sur lécran du téléviseur. La télécommande
est élémentaire : juste un clavier alphanumérique
en majuscules.
Un groupe d'utilisateurs passionnés fonde l'AATEL (Association
des abonnés à TéléTEL), qui devient une
véritable interface entre les testeurs et la DGT - DACT (Direction
générale des télécommunications - Direction
des affaires commerciales et télématiques) qui dirige
le projet.
De leur côté, les entreprises offrant des services pour
Minitels créent l'AFTEL (Association française des fournisseurs
de services télématiques). L'accès à leurs
serveurs se font via le réseau Transpac par le numéro
d'accès 612 34 56.
Centre
Informatique Teletel-Videotex de Vélizy
Le 26 mars 1981, marque le démarrage
des tests techniques de l'expérience Télétel
3V avec 100 premiers utilisateurs triés sur
le volet parmi les 2.500 ménages volontaires.
sommaire
Le 1er avril 1981, le premier marché de fabrication en grande
série de 300.000 MINITEL est remporté par le constructeur
Telic-Alcatel.
Le 9 avril 1981, le nom de marque MINITEL est déposé
par la Direction Générale des Télécommunications
En Mai 1981, la Conférence Européenne
des Postes et Télécommunications adopte une norme commune
Vidéotex pour harmoniser les systèmes en cours de développement
en France, en Grande-Bretagne et en RFA.
En Mai 1981, 1.400 abonnés volontaires de la Région
des Télécommunications de Rennes sont équipés
de l'Annuaire Électronique dans les 5 villes suivantes : Rennes,
Vitré, Betton, Montfort et Retiers.
La toute première messagerie, uniquement
par boîtes aux lettres, est baptisée M3V. On peut y échanger
des messages privés, ou par l'intermédiaire de groupes
de discussion thématiques. À l'époque, la DACT
et les fournisseurs de services pensent qu'il ne s'agit que d'un gadget
ludique : pour eux l'avenir de la télématique réside
dans l'information, et non la communication. Il est même question
de supprimer cette messagerie.
Mais l'AATEL se bat pour la conserver et démontrer qu'elle
est une motivation primordiale des utilisateurs, ce que confirmera
le développement de la télématique grand public
en France.
Le 15 juin 1981 débute l'ouverture complète
de l'expérimentation de Télétel 3V (3V
pour Vélizy, Versailles et Val-de-Bièvre) auprès
des 2.500 ménages retenus.
En 1981, lannonce dune loi-cadre pour
sauver la liberté de la presse face à la télématique
adoucit les positions. Une franchise particulière sur la presse
électronique et une commission paritaire de contrôle
sont demandées et obtenues. La demande est approuvée
par le syndicat de la presse industrielle. « Il est essentiel
que la télématique ne vienne pas saper les bases économiques
du pluralisme de la presse écrite qui constituent les garanties
d'une démocratie vivante », déclare Valéry
Giscard dEstaing au Journal de la presse le 8 avril 1981. Véritablement
rassurée ou satisfaite de son coup de poker réussi contre
les télécommunications, la presse contestataire peut,
en ce début dannée 1981, se considérer
à juste titre comme un acteur important du secteur de la télématique
en construction.
Principal symptôme de ce Yalta télématique, la
nécessité de détenir un numéro de commission
paritaire pour ouvrir une messagerie, ce qui fera émerger en
1984-1987 nombre de services « roses » très rentables
pour la presse20 qui ne trouvera plus rien à redire
À l'hiver 1981, les Dernières Nouvelles d'Alsace
lancent le service expérimental Gretel sur un quartier
pilote à Strasbourg.
Gretel est né de linitiative dune association de
quartier strasbourgeoise, lARES (Association des résidents
de lEsplanade), avec lactive collaboration du journal
les Dernières Nouvelles dAlsace. Initiée en 1981,
lexpérience Gretel avait atteint dès la fin de
lannée 1983 une notoriété au niveau national.
L'expérience débute avec 80 foyers, puis est progressivement
étendue.
Les premiers services proposés sont des consultations des actualités,
des programmes de télévision et de cinéma, et
de la météo, ainsi que quelques jeux. On trouve aussi
un service de messagerie électronique de type courriel avec
une notion de boîtes aux lettres.
Le 4 janvier 1985, Mariella Righini expose "la fièvre
du Minitel" qui a saisi Strasbourg : le Gretel (Groupement régional
de télématique) propose plusieurs services en ligne,
comme un journal électronique avec le quotidien "Les Dernières
Nouvelles d'Alsace". Pour dépanner les usagers en difficulté,
un logiciel de communication a été mis au point.
Pour encourager le développement de ce nouveau service, les
terminaux sont distribués gratuitement aux abonnés.
"De jeunes pirates découvrent ce
trésor de la communication et le détournent à
leur usage et profit. Le temps que les logiciels s'en aperçoivent,
les clandestins du Gretel se sont démultipliés comme
des bretzels.
Trop tard pour sévir. Alors que partout
ailleurs on peut écrire 'ennui' sur le centimètre de
poussière qui recouvre ces machines inoffensives, à
Strasbourg on se les arrache.[...] On se connecte des heures et des
heures, de jour comme de nuit, jusqu'à saturation des lignes
téléphoniques d'accès à l'ordinateur.
[...] On minitèle à table, au lit, à la cuisine,
aux toilettes. Infernale passion, cocktail de scandale et de technologie,
qui a mis toute une ville sens dessus dessous...
Au cours des années suivantes, on assiste à louverture
dune multitude de services télématiques, dinitiative
publique ou privée. LAgence culturelle technique dAlsace
(ACTA) dispose dun service accessible via le code 3615 Gretel
Acta.
Le CRRIP dAlsace (Centre régional de ressources et d'initiatives
pédagogiques) négocie avec son homologue lorrain et
fait héberger sa base de données sur un serveur situé
à Nancy. Le service 3614 CRRIP réservé aux professionnels
de la formation est ouvert le 1er janvier 1991, suivi le 21 juin 1993
par le service 3616 CRRIP, destiné au grand public.
De son côté, la Région Lorraine soutient la création
de services télématiques dans différents domaines:
3615 CLOTAIR (Centre Lorrain de Télématique Agricole
et d'Information Rurale), 3615 ECLOR (Economie et Culture en Lorraine)
Le 8 décembre 1981, inauguration de
l'expérimentation télématique CITITEL,
d'une durée d'un an, par M. le Ministre des PTT - Louis Mexandeau.
En collaboration entre les PTT et les professionnels des secteurs
du tourisme, de la restauration, de l'hôtellerie, de la presse
généraliste et spécialisée, l'expérience
consiste à installer dans les grands hôtels parisiens
et les offices de tourisme une centaine de terminaux Télétel
dans un circuit fermé, accessible à la clientèle.
Sont disponibles 4.500 pages d'informations réparties en 5
rubriques :
- tourisme,
- loisirs,
- affaires,
- renseignements utiles,
- journal.
Mais ce qui fait exploser le succès de l'expérience
est le lancement en 1982 du premier service de messagerie instantanée,
principe découvert à la suite d'un piratage. Ce nouveau
service représente très rapidement jusque 85 % du trafic.
L'ancêtre des messageries instantanées et de l'internet
social est alors né.
C'est ainsi qu'apparaissent des services créés par de
jeunes entrepreneurs comme Thierry Roze et Xavier Niel.
sommaire
Le rôle de Jacques Dondoux (DGT) fut
également déterminant Très critique sur le projet
annuaire quand il était dans « l'opposition » (avant
mai 1981), Jaques Dondoux aura défendu le projet vis-à-vis
de l'équipe de Louis Mexandeau, hostile à priori à
un projet emblématique du Giscardisme ! Par ailleurs, le succès
commercial du minitel a été largement dû au système
de tarification "kiosque". Sans en être l'inventeur
formel, Jacques Dondoux a pesé de tout son poids pour faire
réaliser ce système, malgré les obstacles techniques
dus aux limitations du réseau téléphonique encore
très majoritairement électromécanique.
Lancement
C'est seulement fin 1982 qu'apparaît le premier
Minitel. L'expérience sera définitivement arrêtée
au printemps 1984.
La réalisation du Minitel ayant été
confiée à trois industriels différents (Matra,
Radiotechnique (Philips) et Télic-Alcatel), le prix de série
put être négocié au plus bas en tenant compte
d'une hypothétique, mais probable, baisse future des prix de
revient par l'évolution technologique et l'accroissement des
quantités produites (courbe d'apprentissage) par les fournisseurs.
Le programme Télétel (nom du
réseau des terminaux appelés Minitel) est reconnu dans
le monde entier comme le premier réseau télématique
grand public et comme un succès commercial.
Les services sont facturés en fonction de la durée des
communications, indépendamment des distances entre utilisateur
et serveur.
Le 11 février 1982, l'ouverture en présence
de M. le Ministre des PTT - Louis Mexandeau, de l'expérimentation
Telem'Nantes, dans la ville de Nantes.
Le décision initiale de l'expérimentation
est prise par la Mairie de Nantes en Juin 1980.
Initialement, il s'agit d'un système fermé, non relié
au réseau téléphonique public.
Au départ, 14 terminaux à la norme Videotex sont installés
dans les lieux publics de Nantes.
N'importe quel visiteur peut se connecter à Telem' Nantes à
partir d'un terminal Minitel disponible.
Dès Septembre 1982 le parc de terminaux est porté à
27 unités.
Le 28 mai 1982, la Direction Générale
des Télécommunications annonce en conférence
de presse que l'ouverture du Réseau Télétel national
du Videotex sera mis en service au mois d'Octobre 1982. Sont annoncées
les conditions tarifaires suivantes :
Dans les départements où l'Administration
propose dès cette date l'Annuaire Électronique, la mise
à disposition du terminal Minitel serait gratuite.
La recherche d'un numéro de téléphone dans son
propre département serait gratuite.
La recherche d'un numéro de téléphone dans un
autre département serait facturée 2 Taxes de Base (soit
1,10 franc).
Dans les départements et régions où l'Annuaire
Électronique n'est pas encore mis en service, le Terminal Minitel
serait proposé à la location pour 70 francs par mois.
En réalité, il faut se reporter
aux Arrêtés Ministériels ultérieurs pour
le détail qui ne sera pas tout à fait ce qui est annoncé.
Le 30 août 1982, l'Arrêté Ministériel
publié au Journal Officiel du 16 septembre 1982 confirme seulement
que le Terminal Minitel est loué 70 francs par mois. Il s'agit
du premier arrêté qui commence à réglementer
le Télétel, et spécifiquement le Terminal.
Le trafic de données n'est pas encore concerné, il reste
donc gratuit.
Le 1er octobre 1982, le service Télétel
Professionnel (Télétel 1) est ouvert dans toute
la France métropolitaine (avec des moyens techniques restant
à étendre en masse).
schématisation
très simplifiée du Réseau Télétel.
En 1983, et après de complexes négociations,
est lancée une deuxième expérience en Ile-et-Vilaine,
avec loffre du service dannuaire électronique,
système souple et fiable qui sera généralisé
par la suite sur tout le territoire. La presse devient de plus en
plus favorable, voyant dans le Minitel un support de diffusion, et
les Français se penchent avec curiosité vers la télématique.
Le 4 février 1983, l'Annuaire Électronique
est inauguré par M. le Ministre des PTT - Louis Mexandeau dans
les futurs locaux du CCETT de Rennes-Atalante dont il inaugurera dans
la foulée le bâtiment déjà livré
où se déroule la cérémonie et les démonstrations.
À cette date, l'Annuaire Électronique est généralisé
dans tout le département d'Ille-et-Vilaine et dans toute la
région Bretagne.
La plateforme CTA devient accessible par les numéros 311.11.11
et/ou 311.21.11 en Île-de-France à partir du 15 février
1983. (pour la province : information non trouvée. Besoin d'annuaires
de province de 1982, 83 et 84 - pages bleues).
Le 1er novembre 1983, le réseau télématique
municipal de Nantes devient consultable par Minitel par n'importe
quel abonné au téléphone. 10.000 pages écrans
sont emmagasinées en mémoire. Le
serveur fermera le 14 novembre 2005 victime d'internet.
C'est en Décembre 1983 que paraît
la première édition de l'Annuaire Officiel
des Services Télétel, chargé de répertorier
tous les services disponibles par le Minitel.
Le 3 novembre 1983, les 3 premières agences à
distribuer en Île-de-France des Minitel, au titre de l'Annuaire
Électronique sont Paris-Turbigo, Évry et Boulogne-Billancourt.
Au 31 décembre 1983, la France compte un peu plus de
100.000 terminaux Minitel en service, pour 400 services
télématiques ouverts au public. Les régions
officiellement ouvertes sont alors : Bretagne, Picardie, Île-de-France.
L a décision est prise doffrir le terminal gratuitement,
car France Télécom voit difficilement le public acheter
un matériel sans savoir exactement quels services y sont disponibles.
Ce choix, unique en Europe, aura un rôle primordial dans le
décollage des usages du Minitel en France. Entre 1983 et 1984,
le nombre de terminaux saccroît jusquà 531
000. Cependant les systèmes tarifaires ne sont pas encore bien
mis au point. On essaye de combiner de façons multiples gratuité
et abonnement à différents services, sans grands succès.
Daprès la courbe dévolution du nombre de
terminaux, le vrai démarrage se produit entre 1984 et 1985,
soit une progression de 146 %. Cela correspond à deux facteurs
clés.
Le premier facteur est la naissance au cours de lannée
1984 du système « kiosque », méthode
de facturation des services Minitel sur la durée de consultation
et non sur la distance. Cest un système simple et compréhensible.
Mais pour pouvoir vraiment démarrer, les services disponibles
doivent être séduisants et de qualité, car les
utilisateurs payants sont plus exigeants que ceux de lexpérience
pilote gratuite de Vélizy. Un deuxième facteur joue
donc un rôle important : cest louverture du 3615.
À partir de ce moment se multiplie à grande vitesse
le nombre de services (messagerie, jeux, services professionnels
)
: 145 services en janvier 1984, 2 074 en janvier 1986, près
de 5 000 en 1987. ! Cest lexplosion du marché
Le 31 janvier 1984, un Arrêté
Ministériel paru au Journal Officiel le 24 février 1984
précise désormais que pour les zones ouvertes à
l'Annuaire Électronique, le Terminal Minitel 1 sera
mis à disposition des abonnés qui le désirent
sans supplément d'abonnement, (ce qui revient de facto
à un prêt de Terminal Minitel à titre gratuit).
Le 31 janvier 1984, un Arrêté Ministériel paru
au Journal Officiel le 24 février 1984 autorise la commercialisation
du Minitel 10, produit par Alcatel.
Appareil intégrant un téléphone
complet, un répertoire mémoire de 51 numéros.
Ce téléphone est relié à l'écran
par un câble. La partie Téléphone s'inspire du
modèle Fidelio. Le Minitel 10 constitue dès lors le
terminal Minitel haut de gamme. Loué 120 francs par mois en
1984, puis 60 francs par mois à partir de 1985 (car ne trouvait
pas son public à 120 francs).
Au mois d'Avril 1988, le Minitel 10 évolue et devient Minitel
10 Bistandard, qui fonctionne, en plus du mode Télétel,
en Mode Téléinformatique ASCII pour permettre un accès
aux banques de données professionnelles. Loué 85 francs
par mois en zone ouverte à l'Annuaire Électronique,
ou 143 francs HT en zone non ouverte.
Linformation est également un secteur
porteur dans le domaine télématique.
Après la période de la contestation, les journaux entrent
dans la phase de la collaboration en proposant services et informations.
Les chaines de télévision vont également se saisir
de cette opportunité de compléter leur offre médiatique
en investissant aussi la télématique.
Quatre chaines disposent dès 1986 dun service Minitel
: TF1, A2, FR3 et TV6.
La culture et en particulier les musées sont aussi parmi les
premiers fournisseurs dinformations, des bases de données
muséales comme le 3615 Joconde, du 3615 Louvre qui permet de
se faire adresser par courrier le programme du musée, des services
qui recensent les offres de concerts ou de théâtre.
Les services de consultation dhoraires ou encore de réservations
sont également parmi les services les plus plébiscités.
Ainsi, la SNCF sest associée à lexpérimentation
Télétel 3V en proposant aux 2500 foyers équipés
de la mi 1981 à la mi 1982 plusieurs services : informations
générales sur les services offerts, horaires des trains
grandes lignes et réservation des places assises et couchées.
Les services bancaires trouvent également leur public sur Minitel.
De nombreuses banques développent leur offre grâce à
laquelle les clients peuvent
contrôler leurs comptes, faire des virements ou jouer en bourse.
La Banque de la Cité offre à sa clientèle privée
le premier service de banque à domicile en 1985. Pour la première
fois, les clients reçoivent non seulement le relevé
de compte mais également un historique des soldes mémorisés
sur six mois par voie électronique. Le service offre également
la possibilité dentrer en contact avec son établissement
bancaire pour
commander un chéquier ou fixer un rendez-vous avec son conseiller
.
Les messageries professionnelles, les informations
économiques, financières et boursières, les services
tournés vers le social, lemploi et la formation, les
informations marketing et commerciales attirent également les
organisations vers le Minitel, dont la consultation est facilitée
par la mise en place de passerelles directes entre les différents
services télématiques et des tarifications différentes,
favorisant la multi-consultation sans déconnexion, grâce
à des systèmes de reroutage introduits dans le système
Télétel.
Il faudrait encore évoquer le développement dusages
plus ludiques, éducatifs pour compléter ce tour dune
ronde des services, qui ne doit pas non plus omettrelimportance
du 3618 ou « Minitel Dialogue » à destination des
sourds, exemple de lutte précoce contre une fracture numérique
qui nest pas que géographique .
sommaire
Mode d'accès à l'Annuaire Électronique
en 1984 :
Dans les zones officiellement ouvertes, la plateforme CTA devient
accessible par le 11 en Île-de-France et en province le 11 mai
1984.
Dans les zones non ouvertes, la plateforme CTA d'une région
voisine est accessible par le 16 (3) 619.91.11 - la taxation étant
alors équivalente au Télétel 2 - 16 (3) 614.91.66
: une Taxe de Base toutes les 2 minutes, dès le début
de la connexion.
Le 25 juin 1984, Télétel et l'Annuaire
Électronique sont mis en service en région Provence-Alpes-Côte
d'Azur. (Une pré ouverture limitée avait été
opérée le 14 novembre 1983 à Marseille-ville).
L'inauguration officielle a lieu le même
jour par M. le Ministre-délégué chargé
des PTT - Louis Mexandeau, en présence de M. le Maire de Marseille
& Ministre de l'Intérieur - Gaston Defferre.
Le 7 janvier 1985, la couverture totale du 36.14
est réalisée sur l'ensemble du territoire métropolitain.
Le 23 janvier 1985 se tient le premier forum Télétel-Entreprise.
En Mai 1985, le Minitel 1 Couleur est proposé
en Location-Entretien pour 200 francs par mois.
sommaire
La surcharge du réseau TRANSPAC : l'incident
grave.
Le 18 juin 1985, le Télétel
est victime de son succès : une panne géante se
produit sur le réseau TRANSPAC qui frôle la limite
de charge avec 2,5 millions d'appels journaliers.
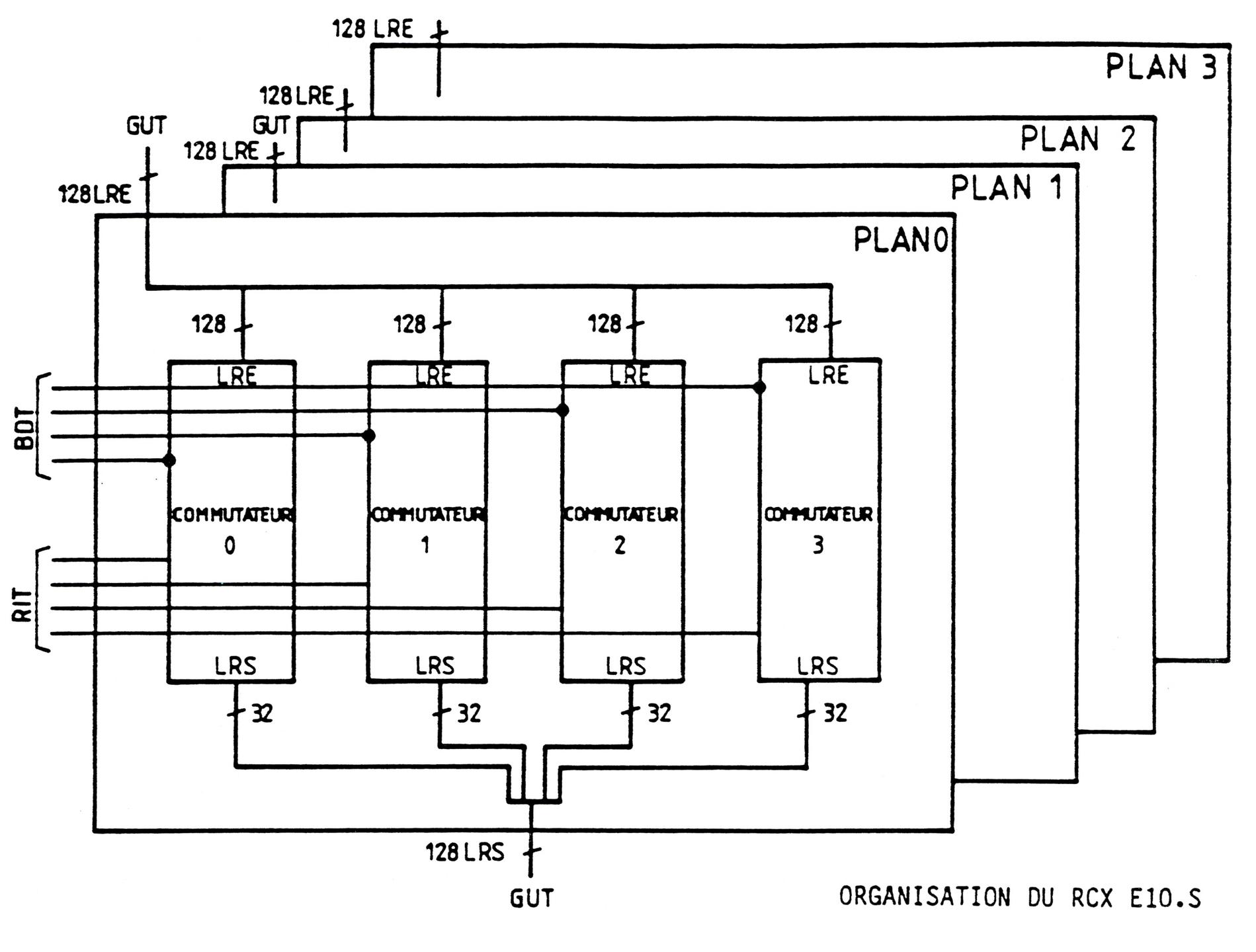
Plusieurs Commutateurs E10-5 PAVI de Paris, Orléans, Lille
et Lyon "tombent" sous le poids de la charge.
Dans l'urgence une limitation provisoire forcée et drastique
du trafic est opérée.
Le 2 juillet 1985, un plan d'urgence est rendu public par M. le
Président Directeur Général de TRANSPAC -
Pierre Fortin :
Limitation du trafic à destination des services kiosque
télématique Télétel 3 - 36.15.
Distribution des minitels par les Agences Commerciales des Télécommunications
fortement ralentie, avec suspension d'envoi des bons de retraits.
Mise en service anticipée début Juillet 1985 à
Paris de 2 Commutateurs TRANSPAC avec mise en charge maximale
dès le début.
Réexamen complet des logiciels des Commutateurs Transpac,
où statistiquement, une vingtaine d'erreurs sont susceptibles
d'exister dans des programmes de 500.000 instructions.
Les corrections des bugs découverts sont effectuées
au fil de l'eau sous huitaine la nuit.
Commande anticipée de nouveaux Calculateurs MITRA 625 deux
fois plus puissants que les MITRA 125 du réseau TRANSPAC.
Ils seront prêts au début d'année 1986 pour
un remplacement complet du parc d'ici la fin 1987.
Le 9 juillet 1985, les limitations de trafic commencent à
être levées région par région.
Le 12 juillet 1985 voit le retour à la normale, au prix
d'installation en urgence de correctifs logiciels dans les commutateurs
E10.5 et d'une spécialisation de certains Commutateurs
TRANSPAC désormais uniquement dédiés au trafic
Télétel, afin de protéger le trafic destiné
aux clients Entreprise ; spécialisation qui augmente de
surcroît l'efficacité et le rendement global du réseau.
Dans la foulée, une vingtaine de commutateurs temporels
dédiés au Télétel, à Transpac
et au Transit sont commandés en plus des commandes prévues
au titre de l'année 1985 avec installation et mise en service
accélérées.
Le 27 août 1985, un test grandeur nature est réalisé
pour éprouver la fiabilité du réseau TRANSPAC
: le réseau tient. |
Le 1er septembre 1985, le parc compte 1.000.000
de Minitel en service. Au 31 décembre
1985, le parc est de 1,3 million de Minitel.
Le 15 avril 1986 est créé l'Indicatif
3618 permettant à tous les terminaux Minitel de communiquer
deux à deux. Le service est accessible initialement par le
36.18.91.11. Il deviendra accessible ultérieurement par le
Numéro Court 3618.
Le 8 juillet 1986, sont créés
les trois premiers Numéros Courts attribués au Télétel
: 3613, 3614 et 3615
Au 31 décembre 1986, le parc compte
2,3 millions de Minitel en service.
En Avril 1987 : parc de 2,5 millions de Minitel en France
.
Au 31 décembre 1987, l'Annuaire Électronique
est généralisé dans toute la France (Métropole
+ DOM/TOM). La France compte 3,4 millions de Minitel en service.
En Avril 1988, sont commercialisés des
kits d'émulation de terminaux Minitel à partir
de micro-ordinateurs par différentes sociétés
d'électro-informatique. Ainsi, il devient dès lors possible
de se connecter aux services Télétel et à l'Annuaire
Électronique à l'aide d'un ensemble carte enfichable
+ logiciel, pour un prix plutôt coûteux (de 6000 à
9000 francs).
Xtel : logiciel
émulateur de terminal Minitel.
En Avril 1988, sont commercialisés
les Minitel 10 Bi-Standard, en remplacement immédiat
des Minitel 10. le Minitel 10 Bi-Standard permet, en plus du mode
d'affichage Télétel sur 40 colonnes, du mode Téléinformatique
de 80 colonnes permettant l'accès aux banques des données
professionnelles. Il dispose d'une mémoire de 51 numéros
d'appels et il est loué 85 francs par mois.
Au 31 décembre 1988, la France compte
4,2 millions de Minitel en service.
sommaire
Le 15 février 1989, M. le Commissaire
de Police - Roger Le Taillanter vient présenter sur TF1
dans l'émission Ex-Libris son nouveau livre Paris-sur-Vice
2 / Dans l'Enfer du Minitel Rose.
Il s'agit là d'une minutieuse enquête à charge
menée par ce célèbre Commissaire en retraite
de la Mondaine contre le Minitel Rose et tout ce qu'il se cache
derrière : trafic, corruption, prostitution, proxénétisme
et perversions de tous ordres...
Il est à noter que plusieurs personnes
aujourd'hui très connues dans le monde des médias
et des Télécommunications sont devenues immensément
riches grâce au Minitel Rose...
|
Le 4 avril 1989 : commercialisation du nouveau Minitel
12, Ivoire, produit par Alcatel qui remplace le Minitel 10.
Le 7 novembre 1989 commercialisation du Minitel 2. Le pavé
des chiffres permet désormais de composer directement le numéro
de téléphone du service Télétel demandé
une fois que l'on a pris la ligne à l'aide d'une touche spécifique.
Il n'y a plus besoin d'y brancher un téléphone additionnel
à cet effet. Numérote en DC ou FV. Loué 20 francs
par mois.
Minitel 2
Le 23 janvier 1990, présentation au cours d'un salon à
Paris Porte de Versailles, du nouveau Minitel 5, gris, produit par
Matra Communication. Le Minitel 5 est portatif, avec écran
monochrome à cristaux liquide. Il fonctionne sur secteur, sur
accumulateurs R6 rechargeable ou sur piles R6.
Le 15 avril 1990, 5 millions de Minitel en France.
Dans les années 1980 et les années 1990,
le Minitel ne sert pas quaux messageries roses et à la
recherche de coordonnées dans lannuaire électronique.
Un grand nombre de services se développent et font entrer les
Français dans lère de lachat à distance,
de la consultation dinformations interactive ou encore du jeu
vidéo en mode vidéotex.
Ainsi, la vente par correspondance connaît un grand succès
durant les années 1980 et 1990 et symbolise à elle seule
leffet bénéfique que le Minitel a pu avoir sur
les pratiques et la promotion de nouveaux services. Le système
repose bien souvent sur la complémentarité entre le
catalogue papier et un service qui permet de saisir les références
à commander.
En 1983, les Trois Suisses lancent sur ce modèle le TSUISSES
qui génèrent 400 000 connexions annuelles et représente
3,5% du chiffre
daffaires en 1986 et 10% en 198824. Ces pratiques sinstallent
durablement dans le paysage de la consommation française et
en 1994, 1,2 million de foyers passe une commande sur un site de VPC
par Minitel. Faut-il rappeler quà la même date,
aux Etats-Unis, seuls 800 000 foyers font de même sur Internet
?
Début 1990, un premier prototype de
Minitel 1 Photographique voit le jour.
Il est créé à partir d'un
Minitel 1B auquel l'on a inter changé la carte vidéo
avec un modèle plus élaboré. La carte vidéo
permet de restituer 64 niveaux de gris différents.
Au 31 décembre 1990, la France compte
5,6 millions de Minitel en service.
En Octobre 1991, après une série
expérimentale de Minitels Photographiques, France-Télécom
notifie un premier marché à la société
Alcatel Business Systems, basé sur le Minitel 2.
Au 31 décembre 1991, la France compte 6,2 millions
de Minitel en service.
Le 5 février 1992, sont proposés deux nouveaux
terminaux Minitel Philips à la vente uniquement :
Le Minitel 2 Gris Clair, techniquement identique
au Minitel 2 Anthracite produit par Philips, vendu 1290 francs. Référence
: 884.806.Y.
Le Minitel 12 Anthracite, équivalent au Minitel 12 Ivoire produit
par Alcatel, mais avec un design épuré et plus moderne,
destiné aux catégories supérieures. Loué
85 francs par mois
En 1992, le Minitel 2 Anthracite Philips devient
le terminal de base et se substitue au Minitel 1 dont cesse la fabrication.
Le 6 mai 1992 (ouverture commerciale), ce
sont les Commutateurs E10.5 PAVI qui reprennent progressivement l'acheminement
des Services du KIOSQUE TÉLÉPHONIQUE, acheminés
jusques alors par des Commutateurs d'Abonnés classiques.
Les Services du KIOSQUE TÉLÉPHONIQUE sont en cette occasion
renommés AUDIOTEL.
En Juin 1992, ouverture expérimentale
en Île-de-France du Minitel Photographique. La généralisation
est alors prévue d'ici 2 à 3 années. Finalement,
l'expérimentation ne sera jamais généralisée.
Le Minitel Photographique est capable de transmettre, comme son nom
l'indique, de véritables photographies en noir et blanc, grâce
à une carte graphique améliorée ainsi qu'une
capacité de transmission quadruplée par rapport à
un Minitel 1 Standard.

Le 15 avril 1992, l'ouverture du service Télétel
Vitesse Rapide (TVR) apporte le débit nécessaire pour
faciliter les délais de transmission des photographies sur
64 niveaux de gris pour une définition de 320 x 240 pixels.
Ainsi une image plein écran est-elle transmise en 16 secondes,
soit 4 fois plus rapidement qu'à la norme ordinaire.
sommaire
En Février 1993 : présentation
du nouveau Lecteur de Cartes A Mémoires (LECAM-2), qui
remplace le premier modèle. Le corps change de couleur et devient
blanc.
En Mai 1993 : présentation d'un prototype
de Minitel 12 produit par Philips incluant un Lecteur de Carte
A Mémoire (LECAM), destiné aux payements bancaires électroniques
via Minitel.
Ce prototype n'a pas été retenu.
Seuls des LECAM séparés auront été commercialisés
(depuis l'année 1987).
Au 31 décembre 1993, le parc en service de Terminaux
est de 6.300.000 Minitel en France - 110 millions d'heures
de connexion et plus de 2 milliards d'appels.
Le 15 décembre 1994, sont proposés
deux nouveaux terminaux Minitel :
Minitel Sillage 2000, qui intègre un téléphone
avec fonction main-libre, un minitel avec écran à cristaux
liquides monochrome et un répondeur-enregistreur numérique
vocal, disponible en couleur sable (Référence : 158.055.X)
ou bleu marine (Référence : 129.501J). Vendu 2190 francs.
Minitel Magis, avec écran cathodique monochrome de 7 pouces
de diagonale, lecteur de carte à puce intégré,
disponible en couleur indigo, anthracite, pourpre, sable, safran ou
graphite. Loué 29,50 francs par mois.
Le 23 octobre 1995 sont proposés deux nouveaux terminaux
Minitel :
Minitel Sillage 1000, d'aspect identique au Minitel Sillage 2000,
mais dépourvu de répondeur / enregistreur de messages
vocaux. Loué 55 francs par mois ou vendu 1790 francs.
Minitel Magis Club, qui conserve le style de finition du Magis, tout
en reprenant la forme générale du Minitel 1 de la CIT
Alcatel avec écran vertical et clavier articulé, il
permet un accès au Télétel à Vitesse Rapide
(par le 3623) à une vitesse 8 fois supérieure aux autres
terminaux. Loué 55 francs par mois, ou vendu 3300 francs.
Le 15 juin 1998 est proposé un nouveau terminal Minitel
:
Minitel Sillage 2000 VR, qui intègre en plus du Sillage 2000
les fonctions Télétel Vitesse Rapide (3623), et un Lecteur
de Cartes à Mémoire (LECAM) pour le télépaiement,
ainsi que les Service Class, Présentation du Numéro
par exemple. Loué 50 francs par mois ou vendu pour 1690 francs.
Alcatel a produit toute la gamme Sillage.
Le 21 septembre 1998 est proposé un
nouveau terminal Minitel :
Minitel Sillage 1000 VR, qui intègre en plus du Sillage 1000
les fonctions Télétel Vitesse Rapide (3623), et un Lecteur
de Cartes à Mémoire (LECAM) pour le télépaiement,
ainsi que les Service Class, Présentation du Numéro
par exemple. Loué 40 francs par mois.
Alcatel a produit toute la gamme Sillage.
Fin 2002 il a également existé
un terminal Minitel :
Minitel Sillage 3000 SMS, dont a été ajoutée
la fonction envoi et réception de SMS en repartant du modèle
Sillage 1000 VR.
Alcatel a produit toute la gamme Sillage à 350.000 exemplaires,
dont le Minitel Sillage 3000 SMS à environ 35.000 exemplaires
(Informations communiquées par M. l'Ingénieur Gilbert
Guyot chargé du développement du projet Sillage-Alcatel)
.
Le 1er septembre 2007, lAnnuaire Électronique, accessible
par le 3611, devient désormais payant dès la connexion.
La franchise des 3 premières minutes disparaît. Ainsi,
dès la connexion, l'appel est désormais facturé
0,112 euros les 5 premières minutes, puis 0,112 euros toutes
les 2 minutes.
Le principe de ce changement de tarification avait
déjà été autorisé par l'Autorité
de Régulation des Télécommunications depuis le
7 décembre 2001 (Avis n° 01-1149), en raison de la nécessité
d'équilibrer le coût d'exploitation du service Annuaire
Électronique, ce qui n'était plus possible depuis la
généralisation de l'émulation du Minitel par
ordinateur ; ordinateurs qui étaient pourvus de logiciels qui
coupaient systématiquement la consultation en cours juste avant
la fin des 3 premières minutes gratuites..
sommaire
Stagnation et défaillance : 1993-1998
Dans le début des années 1990, le système est
bien en place et le nombre dheures de connexion en croissance.
Cependant la mode passe un peu, surtout auprès des utilisateurs
des services érotiques du Minitel. En effet, ce service ne
représente plus que 10 % des communications autour de 1992,
alors quil atteignait plus de la moitié des appels en
1990. Désormais Minitel affirme plutôt son rôle
de prestataire de services. Le nombre total de services augmente,
notamment ceux qui ont une forte valeur ajoutée (par exemple,
les conseils juridiques représentent en 1991 plus de 30 % des
appels).
Mais les limites techniques du Minitel, comme moyen de communication,
deviennent évidentes, notamment les procédés
archaïques de vidéo et de transmission. Le caractère
rudimentaire de la technologie en limite lattrait. En effet,
lutilisateur est contraint par la configuration de la page affichée
sur lécran et par le système de terminaux non
intelligent qui limite fortement sa capacité de traitement
de linformation. De plus, larchitecture du Minitel ne
permet pas un passage facile et immédiat dune page à
lautre. Les échanges horizontaux manquent de souplesse,
surtout par rapport à lapparition de nouveaux modes de
communication. Cela est très visible autour de lannée
1993 : cest au cours de cette année que le nombre de
terminaux Minitel et dheures de connexion commencent à
décroître. Cela correspond avec lannée dapparition
du World Wide Web, qui est un succès foudroyant pour lInternet.
Il offre à lutilisateur une formidable quantité
dinformations, grâce à lapparition du langage
HTML, qui repose sur lexistence de liens entre documents au
travers de mots clés ou dimages dits « hypertextes
», ce qui facilite énormément la recherche dinformations.
De cette façon, tout ce qui techniquement manquait au minitel
semble se retrouver avec lInternet.
Un deuxième facteur qui peut expliquer le frein dans le développement
du Minitel est la fin de la mise à disposition gratuite du
matériel électronique, ce qui était lun
de ses principaux atouts. Désormais sont commercialisés
deux nouveaux types de terminaux : Sagis qui dispose dun lecteur
de carte bancaire intégrée pour payer les commandes
en toute sécurité ; et Sillage, poste qui intègre
téléphone, Minitel et répondeur. Mais daprès
la courbe du nombre de terminaux, le public ne semble pas manifester
un grand engouement pour ces nouveaux appareils.
Finalement le Minitel, ne correspond-t-il pas à un public restreint,
qui demande des services spécifiques (et en ce sens il diffère
du téléphone portable dans lequel tout le monde peut
trouver son utilité) ? Daprès les enquêtes
étudiées, à la différence des réseaux
de services publics, le Minitel nest pas considéré
comme indispensable (71,4 % des non-utilisateurs justifient leur choix
en disant quils nen ont pas besoin). Il lui manque donc
la capacité nécessaire pour devenir un service universel
sommaire
Expériences à l'étranger
Au milieu des années 1980 seuls 50 000 à
70 000 terminaux avaient été exportés et aucun
pays n'avait accepté le système français de Vidéotex
en entier.
Deux groupes de presse anglo-saxons, Times Mirror
et Knight-Ridder, ont abandonné en 1986 leurs expériences
de "Vidéotex", qui était alors le nom générique
du minitel à l'international, après y avoir perdu 80
millions de dollars, faute d'avoir su mettre les appareils à
la disposition du public visé à un coût supportable.
sommaire
Une forte expansion
Le Minitel (programme Télétel) revint
à plus de huit milliards de francs en équipements de
terminaux avec une durée de vie estimée de huit ans
pour les Minitel [réf. nécessaire]. Pendant le même
laps de temps, le chiffre d'affaires des services télématiques
atteint les 3,5 milliards de francs et les économies de papier
atteignirent 500 millions de francs par an.
Au cours de l'année 1985, le million de Minitel
est dépassé en trombe et la croissance du trafic est
telle qu'au cours de l'été 1985 les ordinateurs du réseau
Transpac, qui véhicule le trafic Télétel, sautent,
prenant de court l'administration des PTT. Cette panne de juin 1985,
causée par le succès des services liés au 36
15, conduit à une altération prolongée du service
pour la plupart des abonnés au Minitel. La situation ne redeviendra
normale qu'au bout de deux semaines.
Au cours de la même année 1985, le réseau
affiche plus de 15 millions dheures de communication via le
minitel par mois. Puis « fin janvier 1986, le parc des minitels
atteint 1,4 million d'unités (dont 300 000 dans les entreprises
et 1,1 million au domicile des particuliers) ».
Au début des années 1990, le Minitel
équipait 6,5 millions de foyers. Il dépassait de loin
le nombre d'utilisateurs du réseau CompuServe, qui offrait
en Amérique du Nord des services semblables, et plus encore
de Prodigy (en) qui lui ressemblait davantage parce qu'utilisant lui
aussi une interface graphique rudimentaire.
Au tournant des années 1980-1990, les Américains
s'intéressèrent de très près au réseau
Vidéotex français : à un moment où les
Français s'interrogeaient sur l'avenir du Minitel, le futur
vice-président Al Gore envoya un jeune homme, David Lytel,
enquêter en France non sur les techniques utilisées mais
sur les contenus des services Teletel offerts].
Ce rapport contribua à la préparation du discours sur
« les autoroutes de l'information » prononcé par
Al Gore en 1994.
Le réseau Télétel du Minitel
comportait au départ deux types de facturation : 3613 (communication
payée par le service) et 3614 (communication payée par
l'usager, 20 francs 3,05 € par heure environ, pas
de rémunération du service, réduction en heures
creuses).
En février 1984 fut créé le système kiosque
avec le 3615. La rémunération du service est 60 francs
9,15 € par heure environ, payés par l'usager,
dont 40 F (6,10 €) pour le service et 20 francs (3,05 €)
pour France Télécom, système de « taxation
arrière » souhaité par l'industrie de la presse
pour rendre son contenu payant[réf. nécessaire].
Ces numéros courts à quatre chiffres
ont remplacé les numéros initiaux, au gré de
l'évolution du plan de numérotation de l'opérateur
historique :
11 jusqu'au 18 octobre 1996 à 23 h, puis 3611
(16) (3) 613 91 55, puis 36 13 91 55 après le 25 octobre 1985
à 23 h, puis 3613 depuis le 10 juillet 1986
(16) (3) 614 91 66, puis 36 14 91 66 après le 25 octobre 1985
à 23 h, puis 3614 depuis le 10 juillet 1986
(16) (3) 615 91 77, puis 36 15 91 77 après le 25 octobre 1985
à 23 h, puis 3615 depuis le 10 juillet 1986
Lapparition du kiosque en 1984 fait exploser
le nombre de services qui passe de 145 en 1984, à 2 074 en
1985, 5 000 en 1987 et 25 000 en 1995.
Cette année-là, les services génèrent
près dun milliard déquivalents euros de
revenus pour un parc installé de 6,5 millions de terminaux.
Les messageries dont les messageries roses participent fortement à
la diffusion du Minitel. Elles représentent 50 % des appels
en 1990.
Les serveurs (numéros de téléphone)
auxquels on se connectait avec un Minitel étaient appelés
des services Télétel. C'était en effet des passerelles
vers le réseau Télétel, basé sur Transpac,
qui permettait de mettre en relation les Minitel avec les serveurs
des prestataires de service.
En marge de ces services Télétel, il
était tout à fait possible de composer des numéros
classiques à 8 puis 10 chiffres, que ce soit pour se connecter
à un autre Minitel configuré en mode « retourné
»[N 1] ou pour accéder à des serveurs «
RTC » directement connectés sur le réseau téléphonique
commuté, donc non surtaxés.
Une communauté de passionnés fréquentait ainsi
régulièrement ces micro-serveurs similaires (en plus
accessibles) aux serveurs BBS qui se développaient aux États-Unis
et ailleurs. À l'échelle locale, des collectivités
proposaient également de tels serveurs Minitel à accès
direct. Aujourd'hui encore, de nombreux systèmes de télégestion
utilisent ce système, aussi bien en appel entrant (visualisation
de données et d'événements ou émission
d'ordres) qu'en appel sortant (télé-alarme).
France Télécom engage un processus pour
proposer l'annuaire électronique 3611 sur ordinateur et plus
seulement sur Minitel et développe le site www.pageszoom.com
(qui sera vendu en 2006 à l'Américain KKR).
En octobre 1995, la Direction des annuaires de France
Télécom en présente une maquette au salon International
des Télécommunications à Genève. En avril
1997 le site Les Pages Zoom (www.lespageszoom.com) ouvre.
Il comporte les Pages jaunes, les Pages blanches, un service de photos
de ville (qui sera copié dix ans plus tard par Google Street
View), une cartographie et un moteur de recherche de pages web intégrant
celui de la société Echo.
En juillet 1998, le service Les Pages Zoom obtient le LISA Award du
meilleur annuaire au monde sur Internet à Boston et le portail
voila.fr ouvre au public.
Les annuaires de France Télécom sont ensuite devenus
accessibles sous la marque « www.pagesjaunes.fr ». La
gestion du service des annuaires de France Télécom est
transférée à l'ODA.
En 2000, le Minitel est encore utilisé
par près de 25 millions de personnes (pour 60 millions
d'habitants), avec un parc de près de 9 millions de terminaux.
Il restait toujours très utilisé, y compris pour les
transactions commerciales, à tel point que certains moteurs
de recherche comme Yahoo! ou AltaVista avaient un service Minitel.
Cependant les services à facturation de type 3615 ou supérieur
étaient vivement concurrencés par le Web.
L'arrêt prévu, en mars 2009 du service 3611 annuaire
électronique, est reporté devant le nombre significatif
de connexions.
En 2008, le 3611 a enregistré 200 000 à 300 000 connexions
par mois, et représentait encore « 80 des 220 millions
de connexions Minitel réalisées » l'année
précédente, en 2007.
Le 3611 s'arrêta, comme les autres services Minitel, le 30
juin 2012.
sommaire
Après 2005, détrôné
progressivement par Internet, le Télétel se retrouve
progressivement marginalisé...
Le Télétel est de plus en plus considéré
comme un Internet lent et bien moins perfectionné, comparé
à lui (bien qu'étant bien plus sécurisé
et fiable).
Aussi, il ne pouvait plus être possible de maintenir indéfiniment
un réseau spécifique et un ensemble de commutateurs
frôlant la trentaine d'années de service.
Le foisonnement dinitiatives ne contribue pas à la lisibilité
des offres proposées sur minitel. Dans le même temps,
le minitel entre de plus en plus en concurrence avec Internet. Progressivement,
les collectivités qui disposaient dun service télématique
spécifique décident dabandonner ce système
pour passer sur Internet. La Région Lorraine était présente
sur le minitel depuis 1985. Elle met en service son site Internet
en 1997. La Région Alsace sétait contentée
jusqualors dencourager la création de divers services
télématiques, mais nétait pas présente
en tant que telle sur le minitel. Elle inaugure son site Internet
le 26 mars 1996. La Région Champagne-Ardenne, quant à
elle, ouvre son site Internet en 1999.
Le Minitel, réseau uniquement national, est limité technologiquement
et risque de constituer un frein au développement des applications
nouvelles et prometteuses des technologies de linformation »
Face à cette situation, la stratégie adoptée
par le système télématique de France Télécom
a alors été doffrir la possibilité de relier
le réseau Minitel au réseau mondial dInterne.
Désormais, lévolution du Minitel ne passe plus
par le développement du terminal lui-même, mais par le
téléchargement du logiciel à partir du site Internet
I-Minitel. Cest la meilleure façon pour faire survivre
le réseau Minitel, qui est désormais consultable à
partir dun ordinateur. Cela laisse la possibilité à
un nombre grandissant dinternautes davoir un accès
Minitel à partir de leur ordinateur.
Ainsi si le parc de terminaux Minitel diminue de 250 000 unités
par an, cette nouvelle utilisation du Minitel, selon Vincent Barnaud
(directeur commercial des activités kiosque chez France Télécom),
connaîtrait un « surprenant succès » : 500
000 téléchargements du logiciel depuis lannée
2000, 250 000 utilisateurs par mois. Le nombre des utilisateurs potentiels
du Minitel reste ainsi supérieur à celui des internautes
: 15 millions de Français ont accès au réseau
services télématiques chez eux ou au travail, contre
9 millions pour lInternet. Mais ce succès est peut-être
à nuancer : télécharger le logiciel est une chose,
et lusage que lon en fait en est une autre.
Le fait est que le Minitel résiste à mourir. Dun
côté, il garde encore ses adeptes. Ils regrettent quelques
points forts du Minitel, quils ne retrouvent pas sur le réseau
Internet : sa grande simplicité dutilisation (notamment
pour les personnes âgées) ; linvestissement faible
dans le Terminal, qui permet laccessibilité à
tous ; lanonymat de lusager et lenvironnement de
confiance dans le commerce électronique. Dun autre côté,
les prestataires de services y trouvent encore un intérêt
économique non négligeable. Par exemple, pour la SNCF,
le réseau télématique est un canal intéressant,
car cest un des rares réseaux qui rapporte plus que ce
quil ne coûte, même si le service est en baisse
(en 2001, le service Minitel de la SNCF a connu une baisse de 12-13
% de son chiffre daffaires, de 18 % de consultations et de 10
% dachats). Cest pourquoi on constate aussi une adaptation
de certains services de lInternet sur le Minitel : désormais
plusieurs serveurs du Web, comme Yahoo, sont consultables à
partir dun poste Minitel.
sommaire
Le 1er décembre 2009, le nouvel arrêté ministériel
(NOR : INDI0928051A) portant désignation de l'opérateur
chargé du service universel n'oblige désormais plus
France Télécom à fournir l'accès à
son réseau TRANSPAC X25.
Le 29 janvier 2010, France Télécom Orange annonce par
Communiqué de Presse :
1) - la fin de commercialisation aux nouveaux clients du réseau
TRANSPAC X25 pour le 31 juillet 2010,
2) - la fermeture technique définitive au 30 septembre 2011.
L'arrêt du Réseau TRANSPAC X25 supportant entre-autres
le Télétel, cet arrêt revient à arrêter
le Télétel au 30 septembre 2011.
- Mais suite aux réclamations de certains éditeurs télématiques,
la fermeture du Télétel est suspendue in-extremis le
20 juillet 2011 pour permettre aux clients de se tourner vers Internet
d'ici la mi-2012. (source Le Monde du 21 juillet 2011)
Le 20 juillet 2011, Orange reporte l'arrêt du Service Minitel
en procédant ainsi :
arrêt de commercialisation aux nouveaux clients à la
date du 1er mars 2012,
arrêt de la location-entretien de tous les Terminaux Minitel
à la date du 7 mars 2012,
arrêt technique définitif du Service Minitel à
la date du 30 juin 2012.
(pas de communiqué de presse Orange archivé ni retrouvé
à ce jour.)
Le 29 juin 2012, M. Gérard Théry,
Directeur Général des Télécommunications
contemporain de l'avènement du Minitel donne une interview
au média Économiematin.fr à la veille de l'arrêt
définitif du Télétel en France..
sommaire
Technique des premiers modèles
Les premiers modèles ont été
livrés avec un clavier alphabétique (ABCDEF), choix
de suite critiqué au moins par un ingénieur de La Radiotechnique
impliqué dans le projet, déroutant pour les habitués
des claviers normalisés des machines à écrire
ou des terminaux informatiques en AZERTY ou QWERTY, sans arranger
réellement les non-familiers des claviers.
Ils ont été vite abandonnés au profit de la disposition
AZERTY. Les premiers modèles ne permettaient pas de garder
à l'écran la mémoire de la dernière page
consultée quand on se déconnectait du service consulté
en ligne, car la page d'accueil du réseau s'affichait aussitôt.
Deux solutions s'opposaient : rester connecté (et continuer
à payer) pour garder cette page à l'écran, ou
placer un boîtier de mémoire entre la ligne et le Minitel.
Ces deux solutions étant coûteuses, la solution vint
d'utilisateurs ayant trouvé qu'il suffisait de débrancher
la prise téléphonique sans appuyer sur « Fin de
Connexion ». Une autre possibilité était de frapper
très rapidement, deux fois, cette même touche.
Au sein même de l'équipe de création
du premier Minitel, la majorité était favorable à
la technique du terminal passif, finalement adoptée. D'autres
défendaient l'idée d'équiper le Minitel d'un
processeur avec un bus, ouvrant la possibilité de cartes d'extension
et un système d'exploitation. Les partisans de cette option,
rétrospectivement plus favorable, n'ont pas obtenu gain de
cause, principalement pour des raisons de prix de revient. Pendant
quelques semaines a été exposé à la Fnac,
magasin français de vente de matériels électroniques
et libraire, un curieux hybride le VP 100 de Mageco qui intégrait
un micro-ordinateur, le Sinclair ZX81, dans un Minitel. Ainsi était
réalisé le mariage du clavier écran modem sans
processeur (le Minitel) avec le micro-ordinateur sans écran
(le Sinclair). Pour trouver un micro-ordinateur communicant à
cette époque, il faut se tourner vers le SMT Goupil G1, équipé
d'un modem acoustique.
Sur les premiers modèles de Minitel 10 (équipés
d'un téléphone), la touche permettant de composer sans
décrocher n'était pas une touche ordinaire, mais exerçait
une pression sur le contact de détection du combiné
au travers d'une tringle munie d'un ressort (ce qui lui donnait un
toucher très particulier). Le Minitel de base ne comportait
pas de numéroteur (il fallait numéroter sur le téléphone
et appuyer sur « Connexion/Fin »). Néanmoins comme
il était également muni d'une prise péri-informatique
(une simple liaison série), certains programmeurs arrivèrent
à le faire numéroter en envoyant des séries de
décrocher/raccrocher simulant la numérotation par impulsion.
Ceci a été appelé la procédure «
takatakata ».
Le Minitel a été ponctuellement utilisé
en Côte d'Ivoire et des modèles ont été
conçus pour le Japon et la Grèce . Il a été
intégré dans diverses applications industrielles (terminal
de gestion de magasins de stockage, de lignes de production, d'enregistrement
de résultats de contrôles qualitatifs et quantitatifs,
de gestion de programmes d'équipements informatisés,
etc.) ou de service [commandes par les réparateurs des pièces
détachées auprès de Service SA (groupe Philips),
par exemple].
En 1987, pour réaliser les premières connexions transatlantiques,
Jean-Louis Fourtanier, directeur du centre serveur CTL qui héberge
nombre de services Vidéotex de presse, exporte clandestinement
des Minitel aux États-Unis et au Canada permettant à
des utilisateurs des deux rives de dialoguer en direct
sommaire
L'aventure
du_minitel en bande dessinée .
Le Minitel est un terminal informatique passif, c'est-à-dire
qu'il se comporte uniquement comme un clavier et un écran,
avec une très faible capacité de traitement (traitement
du protocole vidéotex) et pas de dispositif de stockage.
Les services sont accessibles depuis une ligne de téléphone
grâce au modem V23 incorporé (1 200 bit/s en réception,
75 bit/s en émission).
Le Minitel était muni de prises en T pour la connexion au réseau
téléphonique de France Télécom.
L'écran du Minitel est une matrice texte d'une
taille de 25 lignes par 40 colonnes en mode Vidéotex (8 nuances
de gris) et se base sur un système de codage qui lui est propre.
Un jeu de caractères graphiques, chacun constitué de
6 gros pixels, lui permet d'afficher des images en mode « mosaïque
», un peu à la manière de l'art ASCII.
Caractéristiques du Minitel 1
La Radiotechnique
Telic
Modem V.23 (1 200 bit/s en réception
- 75 bit/s en émission) intégré.
Affichage Vidéotex en 40 colonnes et 8 couleurs (alpha-mosaïque).
Transmission par voie série entre un micro-ordinateur, au moyen
d'un connecteur DIN, et le Minitel jusqu'à 1 200 bit/s
Consommation : 10 W en veille, 30 W en utilisation.
Caractéristiques du Minitel 1B
Telic Specifications
techniques d'utilisation du minitel 1B (pdf)
Toutes les caractéristiques fonctionnelles
du Minitel 1 plus :
Modem V.23 « retournable » (pouvant
passer en réception 75 bit/s et émission 1 200 bit/s).
Mode d'affichage supplémentaire téléinformatique
80 colonnes type VT100.
Touches supplémentaires : flèches 4 directions, touches
Fnct et CTRL permettant d'accéder à des fonctionnalités
supplémentaires telles que l'insertion/suppression de caractères/lignes
(avec scroll hardware local), ou caractères supplémentaires
ou de contrôle propres à un terminal VT100 (TAB, BRK,
LF, BS, CAN).
Transmission par voie série étendue jusqu'à 4
800 bit/s.
Caractéristiques du Minitel 2
Telic
Toutes les caractéristiques fonctionnelles
du Minitel 1B plus :
Jeu de caractères étendu DRCS
(voir plus bas)
Transmission par voie série étendue jusqu'à 9
600 bit/s.
Microcontrôleur 80C32 cadencé à 14,318 18 MHz
avec 256 octets de mémoire vive[56]
8 kio de mémoire vive dynamique
Le logiciel du Minitel est stocké sur une EPROM de 256k bits
Détecteur de sonnerie téléphonique intégré
(permet de prendre un appel en tant que serveur, avec le modem retourné,
sans avoir besoin d'un câble de détection de sonnerie
externe).
Les caractéristiques techniques des Minitel
étaient décrites dans des ouvrages de référence
intitulés « STUM » (Spécifications Techniques
d'Utilisation du Minitel), qui se déclinaient par modèle
(STUM 1, STUM 1B, STUM 10, etc.). Elles étaient disponibles
initialement auprès du CNET puis de France Télécom.
En dépit de normes détaillées,
il existait de légères différences entre modèles,
et surtout entre fabricants. Il était possible pour le serveur
d'« interroger le Minitel » pour en récupérer
le modèle exact et, éventuellement, adapter le service
:
- Minitel 1 standard : fonctionne en
standard ASCII qui permet le dialogue avec des banques de données
internationales. L'affichage est en 8 nuances de gris (noir et blanc
y compris).
- Minitel 1 couleur : les 8 nuances de gris sont converties
en couleurs : noir, rouge, vert, jaune, bleu, magenta, cyan, blanc
(selon l'ordre des codes employés) ; noir, bleu, rouge, magenta,
vert, cyan, jaune, blanc (selon l'intensité de gris) ; le clavier
de ce modèle était par ailleurs extérieur à
l'écran.
- Minitel 1 dialogue : ce terminal, destiné principalement
aux sourds et malentendants, dispose d'un logiciel de messagerie instantanée
qui utilise le mode « retourné » du modem, il permet
ainsi un dialogue par écrit avec un correspondant utilisant
un autre Minitel de n'importe quel modèle, en s'appelant directement
par le réseau téléphonique sans passer par l'intermédiaire
d'un serveur.
- Minitel 1B : son clavier est équipé de nouvelles
touches, dont Fnct et Ctrl, permettant de modifier certains paramètres
(minuscules/majuscules, retourner le modem, modifier le débit
des communications
). Il est capable d'afficher 80 colonnes de
texte, possède des fonctions supplémentaires d'affichage
(« insérer ligne », « supprimer ligne »
),
et son modem peut être retourné, c'est-à-dire
que les débits en réception et en émission seront
inversés. De plus, il est dit « bistandard », car
il peut fonctionner en mode Videotex (24 lignes de 40 caractères)
ou VT52 (24 lignes de 80 caractères).
- Les Minitels 1 étaient équipés
de « mouchards » : deux zones mémoire de 8 caractères
qui pouvaient être écrites et/ou lues par le serveur
auquel le Minitel était connecté (équivalent
d'un « cookie » sur le Web). La Commission nationale de
l'informatique et des libertés les déclara illégaux,
en particulier parce que le contenu des mouchards ne pouvait pas être
directement consulté par l'utilisateur du terminal. Dans la
pratique, quelques serveurs permettaient à l'utilisateur de
consulter ces mouchards et d'y écrire les caractères
de son choix. SM permettait aussi d'écrire un message de son
choix dans les mouchards d'un autre utilisateur connecté à
ce service, qui en était prévenu par un message.
- Minitel 2 : permet à l'utilisateur
de protéger, par un mot de passe, l'accès à son
terminal. Le Minitel 2 dispose en outre d'une fonction répertoire
(possibilité de pré-enregistrer jusqu'à 10 numéros).
Il permet aussi un affichage graphique plus évolué en
permettant de redéfinir les caractères (DRCS, Dynamical
Redefinable Character Set en français, JCRD, Jeu de
Caractères Dynamique Redéfinissable). Cette fonction
est peu utilisée car elle est lente et que le parc de Minitel
2 n'a jamais été assez étendu.
- Minitel 5 : Minitel portatif à cristaux liquides qui
a les mêmes fonctions que le Minitel 10 bistandard, combiné
téléphonique en moins.

- Minitel 10 : cumule les fonctions du Minitel et d'un téléphone
sophistiqué. Il existe aussi une version bistandard (10b).
Telic
- Minitel 12 : répondeur télématique capable
de prendre une communication, d'afficher une page d'accueil et d'enregistrer
le message écrit laissé par le correspondant.
- Minitel Magis : apparu à la fin des
années 1990, ce modèle redessiné apporte plusieurs
innovations comme la possibilité de mettre un mot de passe,
un assistant et un lecteur de carte à puce pour les achats
en ligne.

- Magis Club : Minitel pouvant afficher des images au format
JPEG en 64 niveaux de gris. Son modem peut se connecter à 9
600 bit/s. Ce mode est souvent appelé TVR, pour Télétel
Vitesse Rapide. Quelques services ont été spécifiquement
créés pour cette version de Minitel, qui sait aussi
gérer le DRCS et le mode bistandard, et inclut même un
lecteur de carte à puce.
- Sillage 1000 VR ; ce téléphone-répondeur-minitel
compact fabriqué par Alcatel intègre un petit écran
à cristaux liquides.
Le 4 mars 1986, présentation à la Presse du premier
prototype de Minitel à Cristaux Liquides (écran LCD),
conçu par le Centre National d'Études des Télécommunications.
3 années ont été nécessaires
pour sa conception et son développement.
Le 14 avril 1986 présentation au SICOB du nouveau
Minitel 1 Bi-Standard (avec norme ASCII) affichage 40 colonnes
et désormais 80 colonnes, avec 7 touches supplémentaires.
Loué 85 francs par mois.
Appareils bien étranges sont des visiophones
« Opus » dAlcatel, faisant aussi office de
Minitel.
Leur design reprend la forme de La Grande Arche, bâtiment où
ils ont été mis en place dans les locaux du Ministère
de lÉquipement lors de son transfert dans ce nouveau
site. Une soixantaine de ces appareils ont été déployés
et utilisés entre 1989 et 1994.
Commercialisé à partir de 1982, le minitel
a cessé démettre en juin 2012. En 2010, 10 millions
de connexions par mois étaient recensées avant de chuter
en 2011 à 420 000 utilisateurs réguliers du réseau
de communication.
sommaire
GENESE -. GRETEL : LA MESSAGERIE INTERACTIVE
HISTOIRE D'UN PIRATAGE Thierry
BRUHAT
Etude réalisée pour le SPES/DGT sur
les messageries électroniques de GRETEL et TELETEL
|
L'initiative laissée au serveur, c'est-à-dire,
aux DNA, est assez grande. La DRT s'est accordée avec
cette logique d'ouverture, de promotion et d'expérimentation.
Si nous devions rencontrer la naissance de Gretel, nous confronterions
volontiers trois discours selon qu'ils émanent de la
DRT, des DNA, ou bien des utilisateurs.
Grétel est un nouveau jeu. Il est "irréel".
Il ouvre sur un monde du simulacre, les dialogues sont fictifs
dans la mesure où ils ne renvoient à aucun principe
de réalité.
.....
Lire
le document en entier (pdf)
...
La genèse institutionnelle de Grétel
n'est pas classique car la mise en communauté n'est ni
la réminiscence d'un passé, calme et paisible,
d'un état de nature, ni la promesse d'un futur radieux,
d'un monde sans états d'âmes, mais contrairement
à toutes ces extériorités, le vécu
actuel de dialogues extra-sociaux, la réalisation d'imaginaires
micros collectifs par des phénomènes de démultiplication
des personnalités.
Le lien de pertinence organisationnel n'est
pas dans le spectre visible, il est dans la frontière
entre ces deux mondes qui interagissent sans arrêt l'un
sur l'autre. Il faut tenir la frontière, les deux mondes
en l'état, l'expérience technique et l'univers
des pirates. L'un ne peut vivre sans l'autre, et il faut trouver
des bonnes raisons de complicité objectives entre les
institutions pour préserver une tout autre complicité,
celle du clin d'oeil du pirate.
La messagerie de Grétel tient son fondement
de l'instantanéité de la communication qu'elle
permet : communiquer "sans entrave", s'exprimer "librement".
La maîtrise par les pirates de la technologie à
désacraliser le vidéotexte. Tout un chacun peut
se l'approprier, en faire sa chose. Ce n'est plus l'affaire
de quelques uns. Ce n'est plus une expérience, un objet-gadget
dont se dotent quelques administrations, journal ou banque pour
marquer leur différence, mais un espace et un lieu de
rencontre. Le "piratage" a été un second
acte de naissance pour GRETEL; II a non seulement permis "concrètement"
la création de la messagerie interactive mais a également
révélé symboliquement à l'ensemble
des utilisateurs que la technologie n'était pas un frein
et que les forteresses télématiques n'étaient
pas château de sable. L'emploi du terme même de
piratage est significatif. La messagerie interactive est perçue
et vécue par les utilisateurs comme un viol de la technologie
et comme un acte de violence contre les institutions à
l'origine de GRETEL. La messagerie interactive est un butin,
un trésor acquis de haut lutte ...peu importe alors ce
qui s'y dit ou, plus exactement se qui s'y dit ne peut être
que le reflet de la liberté fantasmatiquement gagnée
que "Papa Grétel", par le dialogue/antagonisme
qu'il instaure avec les pirates, discute et confirme à
chaque instant.
|
sommaire
Langage et interaction dans une situation conversationnelle
médiatisée : les messageries conviviales du minitel
Emmanuelle LÉVY C.R.L. Paris
X - Nanterre
| Les messageries CONVIVIALES du minitel nous paraissaient
un terrain idéal pour croiser deux approches : linguistique
et sociologique. Idéal en ce sens qu'elles offrent au chercheur
un matériau brut, direct et dont la transcription pose
moins de difficultés qu'à l'oral (pas de chevauchements,
tours de parole gérés par la technique...).
Dans cette étude, nous avons cherché
à mettre en évidence l'articulation entre les
processus langagiers et les processus d'interaction et à
analyser de quelle façon l'introduction d'un média
dans une relation interpersonnelle pouvait avoir des conséquences
aussi bien sur la relation que sur le langage.
Sur le langage. C'est un écrit mais utilisé de
façon interactive. Il prendra donc, nous en avons fait
l'hypothèse, des traits de l'oral. En outre, le canal
de transmission est un support technique qui lui imprime ses
propres spécificités. Enfin, c'est avant tout
un écrit. Le langage "minitélique" aura
donc trois caractéristiques : écrit, oral, technique.
Sur l'interaction, il en va de même. Le moyen naturel
que constitue habituellement le langage oral pour converser
est ici transformé en écrit et le média
introduit des paramètres inhabituels dans la communication
(anonymat...). Ces modifications entraînent un type d'interaction
qui a ses particularités.
Ainsi, langage et interaction étaient
indissociables.
Pour mener ce travail, nous avons constitué
un corpus de conversations. Nous les avons recueillies au cours
de trois soirées (trois heures environ chacune) par l'intermédiaire
de "compères" à qui nous n'avions donné
aucune instruction sinon de dialoguer "le plus naturellement
possible" avec des correspondants. Pour notre part, nous
étions assis à côté d'eux, nous contentant
de faire fonctionner rimprimante pour minitel et d'enregistrer
les messages sur magnétophone. Nous avons pris conscience
que cette situation était parfois difficile pour nos
amis. En effet, ils se sentaient "observés"
et ont peut-être inconsciemment exercé un contrôle
sur leurs écrits. Nous n'avons malheureusement pas pu
agir autrement dans la mesure où nous ne possédions
pas le matériel informatique adéquat qui aurait
permis d'éviter cette situation, embarrassante pour certains.
Une fois le matériel recueilli, il nous
fallait le retranscrire intégralement. Nous avons pris
garde de reproduire exactement les messages tels qu'ils apparaissaient
sur l'écran avec leurs fautes d'orthographe, leur disposition
spatiale originale, leurs procédés typographiques
particuliers (majuscules, ponctuations...). Par la suite, les
conversations se superposant (il est en effet possible de dialoguer
avec plusieurs interlocuteurs en même temps), nous avons
replacé les messages par connecté, dans l'ordre
de leur apparition. Notre corpus comprend une trentaine de conversations
(plus ou moins longues).
Avant d'aborder les hypothèses que nous
avons développées, nous tenons à présenter
les messageries, ce qu'elles sont, comment elles sont nées
et surtout ce qui les caractérise du point de vue technique
et donc du point de vue du langage et de l'interaction.
I. Les messageries
Tout d'abord, une définition: "Système
de communication électronique permettant à des
utilisateurs de recevoir et d'émettre des messages via
des terminaux connectés à un serveur. Une messagerie
dialogue permet, en temps réel, l'échange de messages
entre deux utilisateurs" {Guide de h télématique,
1990).
En outre, précisons que les messageries
conviviales sont distinctes des messageries roses en ce sens
qu'elles n'ont pour objectif que l'instauration d'un contact
débouchant éventuellement sur une rencontre alors
que les messageries roses sont plus centrées sur le sexe
et l'expression de multiples fantasmes. La messagerie conviviale
s'apparente en définitive plus à une place de
village ou à un bistrot. Celle sur laquelle nous avons
travaillé se prénomme d'ailleurs BAR (ou BISTRO
selon le code d'accès employé) et est de type
convivial, comme le laisse supposer son nom.
I - La naissance des messageries
Au départ, les promoteurs du minitel
avaient pour idée d'en faire un média de service.
Très rapidement, les usagers se sont appropriés
l'outil pour en faire un média
de contact. Les messageries conviviales sont nées de
façon spontanée à deux endroits différents
: à Vélizy (FORUM) et à Strasbourg (GRETEL).
La première a vu le jour grâce à l'utilisation
détournée d'un jeu (la bataille navale) et a donné
naissance aux Salons (dialogue entre plusieurs personnes
en simultané, chacun ayant accès à tous
les messages). La seconde, ancêtre des messageries
dialogue (possibilité d'entrer en contact avec plusieurs
personnes mais toujours deux à deux), est née
du piratage d'un service qui donnait des informations aux usagers
sur le média.
Ces deux types de messageries, nées des
utilisateurs eux-mêmes, ont connu un succès exceptionnel
à leurs débuts pour ensuite être reléguées
à un phénomène plutôt marginal qui
n'a cessé de décroître ces dernières
années (de 22% en 1987 du total des heures de connexion,
elles sont passées en 1990 à 13%). Quoi qu'il
en soit, elles représentent un phénomène
social à ne pas négliger et un terrain privilégié
d'étude.
1.2. Les spécificités de la communication
par minitel
Nous avons repéré un certain nombre de
particularités dues à l'architecture même
des messageries. Nous verrons en quoi elles introduisent des
facteurs inattendus dans la communication.
I.2.1. La disparition presque totale des repères sensoriels
Le minitel est un nouveau pas vers une communication appauvrie
en repères sensoriels. Dans la communication orale traditionnelle,
tous les sens ou presque sont en éveil et en particulier
la vue et l'ouïe. Avec l'apparition de la communication
par téléphone, on assiste à la disparition
de la presque totalité des sens excepté l'ouïe.
Avec le minitel, enfin, le problème se pose de manière
plus complexe. Certes, la perception sensorielle y est réduite
mais il en reste une : la vue. Elle y prend une place particulière
dans la mesure où elle n'a pas la même fonction
que dans une communication traditionnelle. En effet, elle ne
se centre plus sur l'observation des lieux, de l'aspect physique,
des expressions, des gestes... mais sur l'écrit lui-même.
C'est ainsi que nous avons pu observer dans la forme de l'écrit
des procédés particuliers: disposition spatiale
des messages originale, orthographes singulières, jeu
avec les mises en relief diverses (majuscules...). De tels indices
visuels ne sont donc pas à négliger. Ils sont
importants dans la perception qu'ont les inter actants de l'outil.
I.2.2. La multiplicité des interlocuteurs
Nous l'avons vu, il est possible de dialoguer
avec plusieurs personnes en même temps mais les conversations
se font deux à deux et les messages se croisent. Un même
interlocuteur peut donc jouer sur différents registres,
s'inventer des personnages toujours nouveaux, changer
de sexe à loisir... Le risque est alors de ne plus savoir
ce que l'on a dit à telle ou telle personne.
I.2.3. L'anonymat
II constitue une des dimensions centrales
de la communication par minitel. Tous les acteurs sont anonymes.
La seule indication dont nous disposions est le pseudonyme.
Du plus banal (jean-paul, Mychelle), au plus évocateur
(david Vincent, Rakham le rouge, caressante), il prend une importance
considérable quand on sait que c'est essentiellement
par lui que se fait le premier contact. Il est un visage, une
représentation dans un univers où la fiction est
omniprésente.
I.2.4. La libération de la parole
L'absence de repères en tous genres
(voix, visage, temps, espace...) permet à l'utilisateur,
tel un personnage masqué, de "parler" librement,
sans contraintes. Les barrières sociales (telles l'âge
ou la situation sociale) n'ont plus de réalité.
Cependant, nous avons pu constater que cette liberté
n'était parfois qu'apparente. Nous pouvons en effet supposer
que les interlocuteurs continuent, tout comme dans la vie courante,
à exercer un certain contrôle sur leurs écrits
et qu'il existe malgré tout des règles sous-jacentes.
I.2.5. Le jeu
II intervient à différents
niveaux. Tout d'abord, il y a jeu autour du processus technique
de communication. En effet, nous avons vu que les messageries
sont nées d'un piratage, en cela assimilable à
un jeu. Ensuite, il y a jeu autour du langage. Les interlocuteurs
se servent des moyens techniques de l'objet minitel pour donner
une forme particulière à leurs écrits.
Enfin, il y a jeu autour de l'identité, généré
par l'anonymat et le pseudonyme choisi. Les participants jouent
à savoir qui est l'autre et à se dévoiler
eux-mêmes tout en conservant un certain mystère.
La dimension ludique prend donc une grande importance aussi
bien au niveau de la forme des messages que de leur contenu.
I.2.6. L'argent
La communication par minitel est payante
(1,25 FF la minute en 3615). Cette composante a son importance
et il y aurait sans doute beaucoup à dire sur le fait
de payer pour dialoguer...
En définitive, nombre de ces caractéristiques
nous permettent de comparer le minitel à un bal masqué.
Chacun y a en effet un masque (le pseudonyme) et les relations
qui se mettent en place se font sous le signe du jeu, du badinage,
de la séduction. Cependant, sous cet aspect ludique,
il semble y avoir un aspect plus dramatique : l'argent dépensé
à communiquer serait-il le signe d'un malaise profond
de la société, une sorte de "mal-être
communicationnel"? Ce plongeon dans l'irréalité,
dans la semi-fiction, serait-il un refus
de la réalité? Nombreuses sont les questions que
pose ce type de communication.
II. Le langage
Nous l'avons vu, les canaux traditionnels de
la communication sont réduits sur minitel : le seul matériel
concret qui reste est le langage écrit. Il est donc naturel
d'observer un changement dans la forme même des messages
transmis. Il y aurait, nous en faisons l'hypothèse, un
français "minitélique", un français
influencé par les caractéristiques du média,
un langage propre au minitel. Nous verrons tout d'abord comment
les caractéristiques techniques de ce média pèsent
sur la forme et le contenu des messages puis nous verrons tous
les procédés utilisés qui vont dans le
sens d'une oralisation du message écrit.
II.1. Le poids des caractéristiques techniques
Différents éléments
influent à la fois sur la forme, sur le contenu des messages
ainsi que sur l'interprétation et la représentation
des interlocuteurs.
II.1.1. L'espace
Les connectés ne sont pas en coprésence.
De nombreux messages vont ainsi être consacrés
à la matérialisation des lieux mais aussi de l'aspect
physique..., toutes ces indications permettant de se faire une
représentation visuelle de l'autre:
* skippy entre la
banlieue du 92 et la normandie
* Shalimar sourire...
je suis brune, cependant- plus ronde que la dame de l'affiche,
les yeux plus clairs, la peau plus blanche. .. mais brune.
La non coprésence implique également
l'absence de tout signe d'ordre visuel ou auditif (gestes, mimiques,
regards, intonations...) qui aident l'interprétation
dans une communication traditionnelle. Chacun ne dispose donc
plus que de sa propre interprétation. On peut parler
d'effet miroir. Comment s'effectue dès lors la construction
du sens si l'interprétation se réduit à
celle du message transmis et celle du message précédent
(ce dernier apparaît toujours en bas de l'écran)
?
II.1.2. Le temps
Sur minitel, l'instantané d'une
situation quotidienne est remplacé par un léger
différé. Ainsi, et ajouté à la multiplicité
des interlocuteurs, es risques de confusion
entre les personnes sont grands et ne facilitent pas la spontanéité.
II.1.3. La page-écran
Sa dimension est réduite en longueur
et en largeur. Elle impose des contraintes au niveau de la taille
des messages (ils ne doivent pas être trop longs sous
peine d'être coupés arbitrairement). Les messages
ont donc pour la plupart la caractéristique d'être
brefs, concis, de comporter de multiples abréviations,
des écritures phonétiques... Ils vont droit au
but et font penser, à certains égards, au style
de la bande dessinée.
II.1.4. Le clavier
II se présente sous la forme d'un
clavier classique de machine à écrire. Cependant,
les touches sont petites et certaines sont plus difficiles d'accès
que d'autres (les accents, par exemple au profit des ponctuations
du type interrogation ou exclamation). L'écrit minitélique
est caractérisé par une absence d'accents, de
ponctuations "syntaxiques" et les fautes d'orthographe
ainsi que les ponctuations "expressives" y sont nombreuses.
Plus qu'au clavier, nous pensons que cela est dû à
la dimension temporelle. Les interlocuteurs semblent privilégier,
parmi les signes typographiques à leur disposition, ceux
qui font sens. "Sur minitel, le temps est toujours compté!
Il y a toujours un risque d'une coupure sur le réseau,
ou le risque que le destinataire s'en aille. Il y a toujours
urgence.(G- ANIS, 1987).
Tout donc, dans la configuration technique
du minitel, contribue à donner à l'écrit
une forme brute.
II.2. L'oralisation de l'écrit
Lorsque nous lisons les textes produits par l'intermédiaire
du minitel, nous avons l'impression d'avoir affaire à
des conversations orales qui ne sont pas sans rappeler ce qu'on
peut entendre dans les lieux de fêtes, de réception...
tous les lieux qui rassemblent des personnes anonymes. Ce nouveau
langage, comme l'ont remarqué J. ANIS (1987), F. DEBYSER
(1989) ou D. LUZZATI (1991) et comme nous l'avions nous-mêmes
constaté lors d'une précédente étude
sur ce sujet, présente de nombreuses caractéristiques
de l'oral sans toutefois en être réellement (il
s'agit avant tout d'un écrit!). Nous avons affaire à
un objet hybride "qui bouleverse complètement les
classifications établies entre l'oral et l'écrit
et qui pose la question fondamentale: de quel français
s'agit-il? (...) s'agit-il d'une langue orale scriptée
ou d'un écrit oralisé?" (F. DEBYSER, 1989).
Il semble pourtant que les différences avec l'oral soient
moins nombreuses qu'avec l'écrit. En effet, à
l'écrit, on ne trouve que rarement des énoncés
de ce type, caractérisés par une grande désinvolture,
un recours à des niveaux de langue familiers et à
des procédés linguistiques typiques de la langue
orale. En réalité, il semble que nous soyons en
présence "d'un oral transcrit à la va-vite"
(F. DEBYSER, 1989). Ainsi, nous pouvons définir l'écrit
minitel comme un énoncé écrit produisant
un effet d'oral. La question qui se pose maintenant est de savoir
ce qui, dans cet écrit, provoque un tel effet. Nous avons
déterminé deux ensembles de procédés:
les procédés typographiques et le style (lexique,
syntaxe et pronoms).
II.2.1. Les procédés typographiques
II.2.1.1. LA PONCTUATION
Elle est, de loin, le procédé le plus utilisé
pour donner de l'expressivité au message. Nous avons
restreint l'étude de la ponctuation à son acception
la plus commune (points, virgules, guillemets, parenthèses,
points d'interrogation, d'exclamation...), les mises en relief
diverses étant étudiées séparément.
Nous avons choisi de classer la ponctuation en deux parties,
selon sa fonction.
La fonction syntaxique
Cette ponctuation (points, virgules, points virgules, deux points)
est celle qui délimite des unités syntaxiques,
qui clarifie le sens, qui évite l'ambiguïté.
Elle facilite la lecture d'un texte écrit, donnant un
certain nombre de repères.
Sur minitel, son emploi est variable. On trouve aussi bien des
messages très ponctués que pas du tout. Ainsi,
ces deux exemples:
*pain it black :
j'aime tourner longtemps autour de ma proie chacun son truc
c'est savoureux quand enfin les désirs inexprimés
explosent
* Shalimar
Bien sur...je ne sais pas bien tutoyer, il
ne faut pas m'en vouloir! mais je vais
essayer... non, cette passion la n'etait
pas destructrice, elle était simplement
impossible. On coule et on relevé la tête...
Cependant, d'une manière générale,
elle est peu présente en comparaison des ponctuations
expressives. En fait, elle ne paraît pas suivre de règles;
elle est livrée à l'imagination, au style de chacun.
Nous avons pu remarquer que, généralement, lorsqu'un
interlocuteur commence à l'employer, elle subsiste durant
la totalité du dialogue. La ponctuation ferait-elle partie
intégrante d'un style? Difficile de répondre à
une telle question sans une analyse stylistique détaillée.
L'absence de ponctuation pourrait tout
aussi bien s'expliquer en rapport avec le degré d'instruction
des interlocuteurs. Une telle hypothèse nous paraît
cependant audacieuse.
Pour notre part, nous pensons que la rareté
de la ponctuation syntaxique est essentiellement liée
à la question du temps. En effet, comme nous l'avons
vu, ce qui est important dans le dialogue sur minitel, c'est
le contenu et non la forme. Les ponctuations syntaxiques ne
seraient pas ici nécessaires à la compréhension,
les messages étant d'une façon générale
très brefs. Les interlocuteurs seraient alors amenés
à privilégier les ponctuations expressives dans
la mesure où ce sont elles qui, principalement, contribuent
à donner du "sens" au message. Le souci d'expressivité
primerait donc sur le souci de clarté.
* La fonction "expressive"
Nous avons inclus ici toutes les ponctuations
qui, en français, sont destinées à donner
du sens (ou du son) aux phrases : point d'exclamation, point
d'interrogation, points de suspension. Nous avons intégré
le point d'interrogation dans cette catégorie car, sur
minitel, il est plus utilisé à donner de l'expressivité
au message qu'à lui assigner une valeur d'acte.
Ces ponctuations représentent la majorité
des ponctuations utilisées. Cela s'explique aisément
dans la perspective de l'oralisation de l'écrit. En effet,
nous avons affaire à des conversations, en cela proches
de l'oral, mais qui passent par l'écrit. Il est donc
nécessaire pour les interlocuteurs de se donner des clés
de lecture et de compréhension. L'utilisation de ces
ponctuations le permet en donnant un "ton" au message.
Les points d'interrogation sont utilisés,
ou bien pour souligner une question ou bien pour exprimer un
étonnement (ils sont souvent multipliés) :
* homard :
pourquoi aimes-tu la mer?
* skippy
(à caressante) : jusqu'à quel point??
caressante :
Les points d'exclamation, eux traduisent essentiellement des
sentiments ou des émotions. Ils donnent une "couleur"
au message, un style, un ton. Es viennent souvent souligner
un sourire :
* Shalimar :
rires... oui: elles ont quelques moyens,
c'est en effet une constante!!!!!
Enfin, les points de suspension, très largement employés,
ont différentes significations: de la simple pause (ou
silence) à l'hésitation et surtout l'émotion
leur valeur est loin d'être homogène. En voici
quelques exemples qui montrent la diversité des usages:
* maille qui m'aille :
j'ai aime très fort une fille qui le portait...
Shalimar :
j'ai aime très fort un homme qui l'aimait...
* MARBRE :
auriez vous la bonté de.... de préciser votre
pensée...
* Florian :
...chut skippy :
L'ensemble des ponctuations expressives est
donc essentiel dans la communication par minitel. Ce sont elles
qui contribuent pour une large part à donner "vie"
aux messages en leur apportant une courbe intonative. Ils deviennent
"auditifs" et non plus seulement "visibles".
Un des canaux de la communication est ainsi artificiellement
recrée, ce qui rapproche ces conversations de l'oral.
D'autres procédés typographiques vont dans ce
sens.
II.2.12. Autres procèdes
typographiques
Divers procédés propres
à l'écrit contribuent à produire un effet
d'oral. Il s'agit de l'ensemble des moyens qui isolent un mot
ou un groupe de mots: les capitales (Shalimar : il n'y a qu'UN
parfumeur; pastel: du CHAMPAGNE!!!!); les guillemets (doinel
: je me demandais juste pourquoi tu me disais "sois sympa");
les parenthèses (doinel : la même illustration
dans fluide glacial (que je lis aussi) m'aurait paru fade..).
Enfin, on trouve un procédé qui
consiste en la multiplication de lettres. Cela allonge la fin
d'un énoncé (pastel : bigre!.... je suis seulllllll!!!!!!).
II.2.2. Le style minitélique : lexique et syntaxe
Ce "style minitélique",
s'il en est un, se caractérise par:
* un vocabulaire familier (ex: "chouraver,
piger, ouais, brancher, boulot" ...);
des écritures phonétiques
imitant le français parlé (ex: "a y est,
chuis pantois, voui, pige po" ...);
l'ellipse de certains morphèmes
syntaxiques (homard : je le vois jamais; est ce sérieux
?? : tu navigues ???)
l'ellipse de certaines lettres notamment
celles des pronoms personnels (homard : t'étais parti(e)
ou?; Asticot bordélique : j'te mets un disque des Rolling
Stones...);
une syntaxe, notamment pour les
interrogatives, propre à l'oral (trouble : tu aimes la
mer ?).
A la lumière de notre analyse, nous pouvons
maintenant affirmer que de nombreux procédés,
dans l'écrit minitélique, contribuent à
oraliser le message. Quant aux raisons qui guident ces choix,
nous pouvons ébaucher quelques hypothèses.
En premier lieu, il y a la situation même
où le langage est utilisé. C'est une interaction.
Deux interlocuteurs se trouvent en même temps, sur un
même espace et ont le désir de communiquer. Seul
l'écrit est à leur disposition. Mais comme ils
désirent se rapprocher le plus possible de la réalité,
ils emploient le langage de leurs conversations quotidiennes.
Un langage hybride fait alors son apparition.
En second lieu, on trouve les conditions dénonciation
liées à l'objet technique lui-même. L'écrit
du minitel est par essence éphémère, ce
qui le rapproche encore de l'oral. C'est un écrit qui
s'envole, contrairement au proverbe. En outre, le clavier, le
temps... engendrent des "phénomènes de bruit"
(DEBYSER) (fautes d'orthographe, d'espace...) qui rapprochent
encore cet écrit de l'oral.
Jusqu'à présent, nous n'avons
évoqué que des facteurs externes. Il faut aussi
prendre en compte la volonté consciente des interlocuteurs.
Nous pensons en effet que les connectés ont un savoir
inconscient; d'une certaine manière, ils savent "jouer"
avec les mots, le style pour donner à leurs messages
une tournure interactive. Il ne faut cependant pas exagérer
ce savoir.
Une question reste pourtant: malgré toute
l'interactivité que peuvent produire ces artifices, il
n'en reste pas moins que c'est un écrit et que la construction
d'une relation passe par lui. De quelle manière? Telle
est la question qui a guidé la suite de notre réflexion.
III. L'interaction
De nombreux auteurs s'accordent à dire
que la conversation constitue un type particulier d'interaction.
Il y aurait un paradoxe à appliquer le terme de conversation
aux échanges qui prennent place sur minitel dans la mesure
où il sous-entend une idée d'oral. Néanmoins,
nous pensons pouvoir élargir ce
terme à ces échanges puisque, comme nous l'avons
montré, ils prennent de nombreux traits de l'oral.
Avant d'aborder l'analyse des conversations,
il nous paraît important de revenir de manière
plus précise sur le contexte dans lequel elles se déroulent.
En effet, il possède des traits singuliers. Nous en avons
retenu deux :
III.1. La finalité d'une conversation par minitel
Précisons que nous avons affaire
à des conversations de première rencontre: les
interlocuteurs ne se sont jamais contactés auparavant,
n'ont aucun passé commun.
Nous pouvons supposer, quant au but proprement
dit de ces conversations, que les personnes présentes
ont le désir ou du moins font comme si elles avaient
le désir, à plus ou moins long terme, de se rencontrer.
Nous avons employé l'expression "faire comme si"
car nous pensons que le désir de rencontre ne va pas
de soi. En effet, il n'est peut- être pas réel,
il n'est peut-être qu'un prétexte à un autre
but sur lequel nous ne risquerons pas d'hypothèse. Nous
voulons seulement insister sur le fait que le désir de
rencontre est à mettre en question dans sa réalité
mais qu'il a en tout cas besoin d'être supposé
par les inter actants pour que l'échange ait lieu. La
conversation est donc orientée vers cette finalité.
Cela passe par la découverte d'affinités communes
(d'où les questions portant sur l'activité professionnelle,
les loisirs...). D s'agit en fait, en un minimum de temps, de
cerner l'interlocuteur qui est en face afin d'évaluer
la possibilité éventuelle d'une rencontre de visu.
Tout, dans ces conversations, tourne donc autour de la question
"est-ce que nous avons suffisamment d'affinités
pour nous rencontrer ?".
III.2. La dimension imaginaire
Les seules réalités existantes
sur minitel sont l'écran et les mots qui y figurent.
Il existe donc une forte dimension imaginaire dans ces conversations.
Elle intervient à différents niveaux.
Tout d'abord, rappelons-le, il y a l'espace,
le lieu duquel on écrit. D n'a aucune matérialité
sinon celle que lui donnent parfois les uns ou les autres. L'échange
a lieu dans une autre dimension, dans un espace imaginaire.
Puis, et c'est sans doute le plus important,
il y a les personnages crées de toutes pièces
à travers les pseudonymes. Les identités ainsi
fabriquées paraissent extraordinaires et sont bien souvent
idéalisées (ce dont témoigne la déception
qui apparaît parfois lors de la rencontre réelle).
C'est ici que l'imaginaire entre en jeu. Chacun des partenaires,
à partir du pseudonyme puis de l'écrit, se fait
une image de l'autre, s'en donne une représentation qui
va, en partie, déterminer son envie de poursuivre
la conversation. Néanmoins, afin de garantir un ancrage
dans le réel, les partenaires vont matérialiser
un certain nombre de paramètres tels que l'âge,
l'aspect physique... Peut-être pouvons-nous aller jusqu'à
dire qu'une interaction par minitel plonge les inter actants
dans une sorte d'angoisse de savoir qui est l'autre dans la
mesure où ils ont perdu tous leurs repères habituels.
D'où ce désir de les recréer artificiellement
en posant des questions et en choisissant de ne pas mettre en
doute leur véracité. En effet, si le doute s'introduit
à chaque message, rien ne pourra alors servir d'appui
à la communication. L'important est donc de croire en
ce que dit l'autre, peu importe que ce soit vrai ou faux. C'est
une convention implicite, partagée par tous.
Nous avons pu constater que, sur minitel, tous
les dialogues tournent autour de la question "qui es-tu?".
Mais au-delà de ce désir exprimé de savoir
qui est l'autre, peut-être est-ce une question sur soi-
même, un "qui suis-je ?". Nous avons d'ailleurs
souvent remarqué que beaucoup faisaient preuve d'une
certaine passivité, attendant qu'on les interroge, comme
s'ils attendaient du minitel d'être un miroir. Cette hypothèse
tend à remettre en cause la dimension interactive des
messageries... Quoiqu'il en soit, la fiction concernant l'identité
détermine en grande partie les conversations sur minitel.
Découvrir l'autre devient un but qui n'est pas sans prendre
un aspect ludique.
Enfin, nous parlions d'identité imaginaire,
nous devrions aussi parler de relation imaginaire. Dans une
interaction en face à face la constitution du lien se
fait non seulement par la parole mais aussi par une multitude
d'autres facteurs: l'aspect physique, le regard, l'intuition,
le sourire, la façon de s'exprimer etc.. Sur minitel,
seuls les mots et l'image qu'ils véhiculent de leur interlocuteur
sont à la base de la constitution du lien.
La construction de la relation interpersonnelle
passe en outre par l'utilisation des pronoms personnels. Nous
avons noté un certain degré "d'impersonnalisation"
qui se traduit de deux façons: ou bien, il n'y a pas
du tout de pronoms (pastel : maintenant suis ok...pour t'envoyer
toute la joie du monde), ou bien, on trouve le pronom "il"
utilisé de façon impersonnelle (alcibiade, par
exemple, parle de lui à la troisième personne
du singulier; d'une certaine façon, il se dédouble
: il y a lui et son personnage. La conversation se passe non
entre un "je" et un "tu" mais entre skippy
et alcibiade). Pour finir sur les pronoms, nous avons noté
un usage pour le moins non conventionnel du tutoiement et du
vouvoiement. En fait, il semble que la règle soit le
tutoiement au départ, pour tout le monde, et que le vouvoiement
soit réservé à un interlocuteur privilégié,
dans des moments de complicité ou d'affinités
intenses. L'utilisation du "tu" et du "vous"
est donc inversé par rapport à la réalité.
Suite à ces quelques remarques,
il nous semble que le terme d'interaction soit quelque peu décalé
par rapport à la réalité des conversations
qui prennent place sur minitel. Cependant, nous pouvons nous
demander dans quelle mesure, les conversations quotidiennes
ne prennent pas les mêmes caractéristiques... Nous
parlions de "mal-être communicationnel", devrions-nous
parler de "mal-être interactionnel"?
III.3. L'architecture des conversations
Nous avons souhaité, en forme de
conclusion, ébaucher une analyse des échanges
minitéliques que nous limiterons aux séquences
d'ouverture.
En analysant notre corpus, nous avons dégagé
une structure générale des conversations:
Une séquence d'ouverture
Un noyau conversationnel dont le
contenu est varié mais tourne autour du thème
central : qui es-tu?
Une séquence de fermeture
(Facultative. Elle dépend en fait de la "réussite"
de la conversation).
Les séquences d'ouverture
Par ouverture, nous entendons la prise
de contact et le moment de "flottement conversationnel"
jusqu'à l'accord sur une premier thème de discussion.
Elle se passe en plusieurs temps:
"Initiation"
Avant tout, notons que ce sont toujours
nos "compères" qui ont pris l'initiative du
contact. Nos pseudonymes n'étaient-ils pas suffisamment
"accrocheurs"? En ce qui concerne la prise de contact,
nous avons constaté qu'elle s'effectuait toujours sur
le thème du pseudonyme ou de la CV (Carte de Visite).
Rien d'étonnant à cela dans la mesure où
ils constituent les seuls indices "visibles" dont
nous disposons. Ils déterminent l'envie d'entrer en contact.
skippy à Caressante : jusqu'à
quel point??
maille qui m'aille à MMINOUCHE
:
j'adore toutes ces consonances en "m"
Ce thème va se poursuivre jusqu'à
ce que l'un ou l'autre des interlocuteurs se décide à
en proposer un autre. Nous faisons l'hypothèse que c'est
de cette capacité à introduire un autre thème
que va dépendre l'issue du dialogue. Si les interlocuteurs
n'arrivent pas à dépasser ce stade, la conversation
prendra fin.
Reaction
Les réactions à la prise
de contact sont diverses: certains n'ont pas du tout répondu;
d'autres ont répondu mais en excluant le dialogue prétextant
un manque de temps, par exemple. D'autres encore, ont tout de
suite embrayés de manière active. D'autres enfin,
se sont contentés de répondre mais sont restés
d'une certaine manière "passifs", c'est-à-dire
qu'ils se sont contentés de répondre mais n'ont
pas cherché à engager de nouveaux thèmes
de discussion.
Le flottement conversationnel
II s'agit de ce moment de battement entre
la prise de contact et l'introduction du premier thème.
Ce temps est plus ou moins long et se nourrit principalement
de jeux de mots sur le pseudonyme.
LE PREMIER THEME vient
plus ou moins naturellement et tourne, la plupart du temps autour
de la question "qui es-tu". Pour pouvoir dire que
la conversation a "prise", il faut non seulement qu'un
premier thème soit introduit mais aussi que le deuxième
interlocuteur le ratifie. S'il n'y a pas ratification la conversation
s'arrête. Ainsi, dans l'exemple suivant, la non ratification
du thème par Est ce sérieux ?? va engendrer la
fin du dialogue:
Maille qui m'aille :
le regard des bébés sur
le golfe ?"
Est ce sérieux ?? :
non non...pas sur le golfe....sur l'avenir....
Les ouvertures constituent donc le moment-dé
d'une interaction par minitel. De leur réussite va dépendre
la réussite de la conversation, réussite qui passe
par une prise de contact "accrocheuse" et la capacité
à passer rapidement à un autre thème de
discussion ratifié par les deux interlocuteurs.
Les spécificités d'une interaction
par minitel se résument donc en deux points:
la dimension imaginaire dans la
mesure où elle détermine, pour une large part,
le dialogue. Elle en fournit les thèmes essentiels.
le choix qu'offre l'objet technique
sur les interlocuteurs. On choisit d'ouvrir le dialogue avec
qui l'on veut, on choisit de le fermer à tout moment.
Rien n'est en effet plus facile sur minitel que de ne pas répondre:
l'interlocuteur disparaît alors dans un univers où
il est impossible de le retrouver.
Conclusion
Notre investigation nous a permis de constater
que les messageries conviviales ont créé leur
propre langage, leur type d'interaction. Si l'on ajoute à
cela les rituels d'initiation des débutants et toutes
les règles sous-jacentes à cet espace de communication,
nous avons tous les éléments pour faire l'hypothèse
qu'une microsociété a vu le jour. Cependant, il
nous faut relativiser une telle hypothèse. En effet,
si les messageries ont connu pendant un temps un énorme
succès, elles sont actuellement en baisse de fréquentation
et semblent désormais être reléguées
à un statut de phénomène marginal. Les
"solutions" aux problèmes de communication
dans la société qu'elles paraissaient apporter
auraient donc vite été perçues comme des
leurres, peut-être parce qu'en fin de compte la communication
prétendue n'était qu'une illusion. Nous avons
longuement insisté sur cet aspect: illusion des identités,
illusion de la relation et finalement illusion de communication.
Notre propre expérience corrobore cette idée.
Nous avons été frappée par l'effet miroir
du minitel: les heures défilent rapidement avec cette
impression formidable d'être en contact direct avec une
multitude d'identités différentes. Or, lorsque
l'écran s'éteint, un vide s'installe, un sentiment
de solitude nous envahit; nous étions en fait seule à
écrire, à interpréter, à communiquer
avec nous-même. L'illusion semble donc avoir été
totale. Les messageries ne seraient alors qu'un jeu, un carnaval
où des personnages masqués évoluent en
se donnant l'illusion de nouer des relations. Quel avenir pour
les messageries?...
Emmanuelle LÉVY
|
Sommaire
Le Minitel rose
L'expression Minitel rose désigne tous les services de messageries
roses développées pour le Minitel.
Cachés derrière des pseudos, les utilisateurs
senvoient des messages coquins et plus si affinités.
Apparaissent alors les services de messageries érotiques 3615
Monique, 3615 Aline; ULLA etc. Au total, les services libertins occupent
30% des connexions des utilisateurs. Un business qui va se révéler
très lucratif. En effet, les utilisateurs payent à la
minute. Xavier Niel, le fondateur de Free a dailleurs bâti
sa fortune grâce au Minitel rose. Les services de messageries
conviviales appartenaient dailleurs à des groupes de
presse. Par exemple, le Nouvel Observateur possédait 3615 Aline.
Et Libération possédait 3615 Turlu.
Tout est mis en uvre pour inciter les utilisateurs à
utiliser le service payant. Mais surtout à le faire rester
le plus longtemps possible sur la messagerie. Ce qui a donc engendré
de nombreuses « arnaques ». En effet, des robots ou mêmes
des personnes physiques, se font passer pour des femmes afin dentretenir
des conversations érotiques avec les utilisateurs. Appelée
hôtesses ou animatrices, ces personnes étaient rémunérées
pour faire durer la conversation.
Mais avant que les dérives apparaissent,
certaines personnes ont pu se rencontrer grâce au Minitel rose,
et même trouver lamour ! Lancêtre de Tinder
et de tous les sites et applications de rencontre.
Extrait de l'interview d'un responsable de société de
télématique : « Internet na pas le côté
sulfureux du minitel », estime Vincent Hutin. Étant incapable
dafficher une quelconque photographie, tout est dans la suggestion.
Autre atout du minitel rose : un sentiment danonymat. «
Le minitel ne permet pas didentifier les utilisateurs, contrairement
à Internet qui laisse des traces plus facilement. Le minitel
est extrêmement discret ».
Exemples de services fournis :
- dialogue en direct avec d'autres utilisateurs par de courts messages,
à la manière d'une messagerie instantanée ;
- messagerie (courrier électronique entre les utilisateurs
du même serveur) ;
- petites annonces.
En 1992, les services de Minitel rose continuaient de poser problème
à l'autorité et aux associations familiales, il était
par exemple « demandé à France Télécom,
dans le souci de satisfaire les associations familiales, de promouvoir
les systèmes de contrôle d'accès au Minitel :
cadenas sur le Minitel de base, mots de passe ».
Ce service étant facturé à la minute, diverses
pratiques gardées sous silence permettaient de prolonger la
durée de connexion des clients.
En 2007, le PDG d'une entreprise ayant travaillé
dans ce secteur indique dans un commentaire d'un article sur le Web,
que « Il est cependant probable que la proportion de trafic
animé par des robots, des animateurs, ou de fausses inscriptions
était sensiblement plus élevée sur Minitel (20
à 35 % du trafic) que sur Internet (5 à 10 % du trafic).
»
La taxe sur les services d'informations ou interactifs
à caractère pornographique, dite taxe sur le Minitel
rose ou taxe sur les messageries pornographiques, est une taxe française
créée en 1988 et abrogée en 2021. Le ministre
du Budget admet en 1995 que la taxe s'avère très difficile
à mettre en uvre.
sommaire
Le dossier noir du minitel rose / Denis Périer -- 1988
Disponible en librairie
"Un cadavre de femme sur une décharge publique. Encore
une victime des réseaux de maniaques sexuels qui se constituent
grâce aux messageries roses du Minitel. La police, abasourdie,
se demande comment stopper la prolifération de sexualités
interdites (pédophilie, zoophilie, etc.) dont les adeptes peuvent
enfin se reconnaître et se rencontrer sans trop de risques grâce
au caractère éphémère des annonces passées
sur leurs écrans domestiques. Sagit-il, comme veulent
le laisser croire les pères du plus spectaculaire des produits
de France-Télécom, dune déviation imprévisible
de loutil ? Lenquête, rigoureuse mais pittoresque,
menée par Denis Perier, prouve quil nen est rien.
Au prix dune étroite et active complicité, hauts
fonctionnaires et patrons de presse ont organisé un vide juridique
permettant que les ébats érotiques tarifés rentabilisent
ce nouvel instrument de communication, en échappant aux sanctions
pénales et pour le plus grand bonheur des marchands de sexe."
Disponible sur Ebook
sommaire
Vu sans L'Obs Publié
le 04 août 2017 .
L'âge d'or du 36-15 :
le Minitel, roi des services et de la drague virtuelle
Une étudiante s'informe par Minitel sur les inscriptions
en université, en juillet 1989 (ARCHIVES / AFP)
Plongée dans les archives du "Nouvel
Observateur" autour de l'informatique. Dans les années
1980, la France raffole du Minitel, exclusivité hexagonale.
Par Thierry Noisette ·
Les années 70 ont vu apparaître les premiers micro-ordinateurs,
les années 80 sont celles, en France, du Minitel : "Le
Nouvel Observateur" lui consacre de nombreux articles et
dossiers au fil des années 80 et 90, qui vont de la curiosité
initiale à l'esquisse des réseaux mondiaux puis
d'Internet qui le détrônera, en passant par les
conseils pratiques et des cocoricos.
Le 25 novembre 1983, Fabien Gruhier écrit, dans un article
appelé "Votre Minitel m'intéresse",
sur l'accès bientôt généralisé
à nos informations bancaires :
"Plus question d'invoquer une quelconque distraction, une
ignorance du solde pour expliquer un découvert : chacun
pourra à tout instant, nuit et jour, sept jours sur sept,
vérifier 'en temps réel' sa position bancaire.
[...]
Prenez un Minitel vous savez, ces petits terminaux qui
se branchent sur une simple prise téléphonique,
que les PTT [Postes, télégraphes et téléphones
: les PTT ont existé de 1930 à 1990, et sont "l'ancêtre"
d'Orange lui-même d'abord France Télécom
et de la Poste,] vont peu à peu distribuer partout
gratuitement pour la consultation sur l'écran de l'annuaire
téléphonique et que les citoyens pressés
peuvent, en attendant, louer pour une somme modique dans la
téléboutique du coin."
La consultation de l'annuaire et celle des comptes
bancaires sont les plus mises en avant par les PTT et les plus
citées, mais la montée du Minitel correspond aussi
à un tout autre usage, imprévu par ses créateurs
: les forums, les échanges en ligne et la drague virtuelle
les messageries roses, ces 3615 de tous genres, vont
bientôt constituer un univers en soi, avec leurs publicités
partout et leurs animatrices (qui pouvaient aussi bien être
des hommes salariés pour se faire passer pour des femmes).
Le 4 janvier 1985, Mariella Righini expose "la fièvre
du Minitel" qui a saisi Strasbourg : le Gretel (Groupement
régional de télématique) propose plusieurs
services en ligne, comme un journal électronique avec
le quotidien "Les Dernières Nouvelles d'Alsace".
Pour dépanner les usagers en difficulté, un logiciel
de communication a été mis au point.
"De jeunes pirates découvrent ce trésor de
la communication et le détournent à leur usage
et profit. Le temps que les logiciels s'en aperçoivent,
les clandestins du Gretel se sont démultipliés
comme des bretzels.
Trop tard pour sévir. Alors que partout ailleurs on peut
écrire 'ennui' sur le centimètre de poussière
qui recouvre ces machines inoffensives, à Strasbourg
on se les arrache.[...] On se connecte des heures et des heures,
de jour comme de nuit, jusqu'à saturation des lignes
téléphoniques d'accès à l'ordinateur.
[...] On minitèle à table, au lit, à la
cuisine, aux toilettes. Infernale passion, cocktail de scandale
et de technologie, qui a mis toute une ville sens dessus dessous.
Ce que Tinder dit de nous : immersion dans les applis de rencontres
Le cas de le dire. Car c'est son âme, son cur ou
son cul on appellera ça comme on voudra -, juste
habillés d'un pseudo, qu'on affiche à l'écran.
Un numéro d'appel pour se connecter au système,
les trois lettres MSG sur le clavier et on voit apparaître
la liste d'une cinquantaine d'autres pseudos prêts à
dialoguer. A chacun de choisir son interlocuteur ou de se laisser
choisir par celui avec qui on échangera des messages
très personnels. [...]
Figures très libres. L'anonymat autorise
toutes les fictions. Glissements de sexe, d'âge, de statut.
On peut se faire passer pour n'importe qui. Et se dire n'importe
quoi. Confessionnal télématique, divan cathodique,
pas de censure sur MSG. Gretel peut draguer Hans, son petit
frère, et même la sorcière si ça
lui chante.
Car c'est bien de 'ça' qu'il s'agit. Même si, officiellement,
personne n'y pense. On 'fait de la communication', on 'expérimente
un nouveau langage', on compare les mérites respectifs
de 'la chose dite' et de 'la chose écrite'. 'Au niveau
du vécu...', enchaînent les intellos. Tu parles.
Ils draguent tous comme des bêtes."
Et citant plusieurs cas de figure, la journaliste conclut par
:
"Ce couple libéré qui télémate
chacun de son côté, jusqu'au jour où la
femme découvre le pseudo de son mari, s'en attribue un
autre, se branche sur lui à partir de l'appareil d'une
amie, et se fait draguer comme une chienne. Trop c'est trop.
Elle rentre comme si de rien n'était et se couche sans
broncher. Au réveil, l'imprudent bute sur une forme dure
qui dépasse de la couette. C'est le Minitel qui dort
sur l'oreiller."
"Français, vous êtes les seuls
à l'avoir", clame en surtitre "le Nouvel Observateur
pour son premier numéro de 1987, titré "L'année
du Minitel".
Le dossier l'affirme : "Il est plus connu que Christophe
Lambert, plus enivrant que le beaujolais nouveau, plus branché
que Mourousi, plus rentable que Bernard Tapie, plus contagieux
que le sida, plus érotique qu'Adjani, plus sérieux
que le pape."
Il raconte la genèse du petit terminal la volonté
d'en finir avec le coûteux annuaire téléphonique
papier -, et Fabien Gruhier met en avant cette révolution
:
"Mesure-t-on bien ce que cela signifie au plan des libertés
publiques ? Avec un micro-ordinateur et une ligne téléphonique,
n'importe qui peut diffuser, sans aucun contrôle, n'importe
quel message. En texte et en images. Les équipements
nécessaires innombrables sont vendus partout.
Pour, disons, moins de 20.000 francs [5.141 euros en équivalent
2016], vous pouvez vous aussi devenir 'serveur télématique'.
Il suffit en somme d'avoir quelque chose à dire.
Le Minitel a donc ouvert une ère de communication sauvage.
Aujourd'hui, des milliers de micro-serveurs diffusent dans la
nature des millions d'informations libres. Des associations,
des particuliers, des épiceries de quartier, des mairies
de villages, des clubs informatiques, des scouts, des bonnes
surs, des prostituées, des salons de coiffure,
des restaurateurs... balancent par téléphone leurs
écrans informatifs. Il suffit de connaître le téléphone
et de payer la communication."
Aux côtés de ces communications
"sous le radar", les services les plus connus du Minitel
sont accessibles via trois numéros, 36-13, 36-14 et 36-15,
ce dernier étant le plus répandu. Le tout constitue
un écosystème fort rentable :
"Tout est limpide : le serveur diffuse librement son produit.
Le client appelle, consulte, utilise le service. On lui facture
une taxe de base toutes les 45 secondes. La somme est collectée
par les PTT de façon indifférenciée
dans les factures téléphoniques. Mais les deux
tiers du pactole sont reversés par la Poste au prestataire
du service.
Les PTT auront ainsi, en 1986, payé 700 millions de francs
[180 millions d'euros en équivalent 2016] aux serveurs
de tous les produits télématiques (messageries
roses, horaires SNCF, commandes aux Trois Suisses, etc.) qui
transitent par Télétel. 700 millions en 1986,
285 millions en 1985, 14 millions en 1984 : la progression est
donc fulgurante."
3 minutes par jour par poste en moyenne
Les investissements de la Direction
générale des télécommunications
(DGT) sont arrivés au succès en 1986, souligne
le journaliste : "La télématique est devenue
un marché solvable ce qui la distingue de l'avion
Concorde, autre victoire de la technologie française.
Deux millions et demi de Minitel sont installés. La France
constitue ainsi un laboratoire télématique en
vraie grandeur, avec une densité de terminaux unique
au monde [...].
On ne peut plus prendre le métro,
ouvrir un magazine ou écouter la radio sans tomber sur
de la pub de tel ou tel serveur. L'annuaire électronique
permet de retrouver instantanément n'importe quel cousin
éloigné et perdu de vue que peut-être
on aurait préféré ne pas retrouver, mais
c'est votre problème, n'allons pas mélanger les
prouesses de la technologie avec vos difficultés familiales."
Les chiffres ? "
Chaque poste Minitel est utilisé en moyenne trois minutes
par jour, ce qui nous fait un total mensuel de 2,5 millions
d'heures. [...] On considère que de 30 à 40% des
Minitel gratuits distribués par les PTT sont inactifs
dorment dans un placard à la suite d'une expérience
malheureuse avec une facture téléphonique jugée
excessive. Il s'ensuit que tous les autres Minitel, ceux qui
ne sont pas inactifs, font vraiment très fort."
Le pactole du Minitel
Dans le même numéro,
Caroline Brizard décortique les chiffres du Minitel (et
ceux qui n'ont connu qu'Internet comprendront leur bonheur à
ne pas payer en fonction du temps passé, que ce soit
devant un ordi ou un smartphone...) : "Le particulier paie
à la DGT 59,20 francs [15,2 euros en équivalent
2016] l'heure sur Télétel 3 [le plus répandu,
celui des 36-15]" ; et quand on arrive à la douloureuse,
le coût mensuel du Minitel pour les particuliers est estimé
fin 1986 à 96,10 francs [24,16 euros] voire sur Minitel
loué à 220,50 francs
La journaliste cite "une grosse pointure du
kiosque" (numérique), Yves Memmi, qui dirige une nébuleuse
qui "coiffe une trentaine de services (Obs, Aline, Jane,
Mimi...) avec 210.000 heures de connexion mensuelle et un million
d'appels par mois. Chiffre d'affaires annoncé ? 70 millions
de francs [18 millions d'euros en équivalent 2016] pour
1986 dont 55 millions de francs pour les seuls services de 'Sciences
et Avenir'."
Un pactole pour certains alors. Dans un autre
article, Guy Sitbon dépeint le petit monde des forums
de discussion, où chaque service est un village, dans
lequel "nous sommes tous plus beaux, plus heureux, plus
intelligents, plus..., plus... Nous nous donnons à voir
tels que nous souhaiterions être et ça nous réchauffe
tant le cur !" Sa conclusion sur ces univers virtuels
: "L'heure du Minitel est chère mais n'est-ce pas
le plus abordable et le moins toxique des tranquillisants ?"
Mais cet âge d'or (pour les tenanciers
des serveurs) ne sera pas éternel ; et ce Minitel d'abord
vanté sera progressivement frappé d'obsolescence,
une décennie plus tard.
Du Minitel à Internet, lépopée
tricolore
Le 30 mars 1995, Dominique Nora annonce "les tombeurs du
Minitel". Certes, ce terminal rustique a réussi
alors que "de l'Allemagne aux Etats-Unis, tous les services
vidéotex des années 80 échouaient, les
Télétel et Audiotel français, eux, établissaient
un score époustouflant : 6,5 millions de terminaux, 24.600
serveurs et 9,2 milliards de francs [1,87 milliard d'euros en
équivalent 2016] de chiffre d'affaires en 1994. Impressionnant
!
"Ils changeront la vie de vos enfants !"
Demain, pourtant, cette télématique
à la papa sera démodée, remplacée
par une nouvelle génération de services 'en ligne'
sur micro-ordinateur : ils sont plus rapides, plus multimédias
[expression qui fait florès dans ces années 90],
et surtout ils autorisent la manipulation des données par
l'usager alors que le Minitel, lui, ne permet que leur consultation.
Attention cependant ! A l'instar des premières
automobiles, ces services exigent de l'utilisateur un coûteux
équipement (de 10.000 à 12.000 francs [2.028 à
2.434 euros en 2016] pour un ordinateur complètement équipé)
et un certain apprentissage. En dépit de ce handicap, ils
deviendront un jour grand public... et s'ils ne changent pas votre
vie, ils changeront sûrement celle de vos enfants !"
Extraits d'articles du "Nouvel Observateur",
de Fabien Gruhier, Mariella Righini, Guy Sitbon, Caroline Brizard
et Dominique Nora, entre 1983 et 1995. Equivalences des prix
en euros estimés avec le convertisseur de l'Insee. Les
transitions, intertitres, vidéos et liens sont (évidemment)
des ajouts de 2017.
Edité par Thierry Noisette, avec l'aide
du service documentation.
|
sommaire
Conséquences d'Internet
À la fin des années 1990, le Minitel
commence à être directement concurrencé par certains
sites web (Internet), bien que le taux d'équipement en Minitel
soit encore sans comparaison avec celui des micro-ordinateurs équipés
d'un modem et d'un abonnement Internet.
En 1997, le Minitel rapportait six milliards de francs.
Puis, Lionel Jospin, le Premier ministre, a souhaité favoriser
Internet au détriment du Minitel.
En 2003, le Minitel représentait 47 % des revenus
de l'ensemble Télétel, Audiotel, Internet.
Plusieurs points clés différencient
le Minitel et Internet :
L'ergonomie des systèmes informatiques
ainsi que celle des services disponibles par Internet a évolué
de façon plus rapide que celle du Minitel, tant en matière
d'affichage (la résolution graphique des images, puis plus
tard des vidéos, a été supérieure sur
ordinateur) que d'interface homme-machine (la souris, et plus tard
les écrans tactiles, n'ont pas eu d'équivalents pour
le Minitel) ;
Le débit moyen des connexions Internet a continuellement progressé,
alors que celui des Minitels est resté identique ;
La rapidité de démarrage du Minitel a été
rattrapée par celle des ordinateurs (dans les années
1990, un ordinateur pouvait demander plusieurs minutes pour démarrer,
alors qu'il est désormais possible de le faire en quelques
secondes, dans le cas d'une veille prolongée ou avec les ordinateurs
où le système est installé sur SSD par exemple).
Il existe cependant un débat autour de la question
« le Minitel a-t-il favorisé, ou pas, l'émergence
d'Internet ? » :
L'argument qui semble l'avoir favorisé
est l'aspect éducatif, et plus particulièrement la familiarisation
à utiliser le couple clavier/écran ainsi que l'interrogation
d'un moteur de recherche (avec l'Annuaire électronique de France
Télécom) ;
La thèse opposée explique que la France accusait un
retard notable en accès Internet dans les années 1990
(retard rattrapé dans les années 2000).
Cependant, lintérêt porté
par France Télécom au Minitel na eu aucun effet
à long terme sur le développement des sociétés
basées sur le World Wide Web ou ladoption de lutilisation
dInternet en France ; les rangs de la France sont à peu
près égaux à ceux des États-Unis et de
l'Allemagne en ce qui concerne la pénétration actuelle
de l'internet à haut débit dans les ménages.
Le Minitel étant un terminal ; techniquement
il peut être utilisé pour accéder à Internet
en mode texte. Anecdotiquement, des passerelles Minitel/Internet ont
été mises en place pour accéder à certains
services internet depuis le Minitel (messagerie électronique
et Usenet) et même des services professionnels (bancaires
).
Un serveur de conversation comme XYZ créa quelque temps un
site web du même nom permettant de se connecter depuis un ordinateur.
Les connectés par ce moyen ne rapportaient rien, mais assuraient
une « masse critique » de connectés susceptible
de retenir les usagers Minitel du même serveur.
i-Minitel
i-Minitel est une norme lancée en
2000, qui permettait à l'utilisateur d'accéder à
des services Minitel via l'Internet avec un ordinateur, une connexion
bas débit ou haut débit, et un logiciel navigateur spécialisé.
Le service n'est pas disponible hors de la France métropolitaine
(outre-mer ou étranger) parce qu'il faut avoir une ligne fixe
France Télécom. Le service est désormais fermé
du fait de la fin du Minitel.
sommaire
Si Ulla et ses copines ont disparu des requêtes
des internautes, remplacées par dautres services en ligne
qui nont rien à leur envier, la rupture mise en avant
entre Minitel et usages du Web a positionné le premier comme
un archétype dune voie française désormais
archaïque voire comme une figure repoussoir, celle de la centralisation,
de la fermeture, face à louverture et au caractère
distribué que quincarne le « réseau des
réseaux ». Avant même que Benjamin Bayart, fondateur
du fournisseur daccès à Internet historique quest
FDN (French Data Network) ne dénonce la « minitélisation
» de lInternet sous la poussée de géants
de la communication qui cherchent à réintroduire centralisation
et contrôle dans lInternet,
le Minitel est devenu le responsable du retard français dans
lInternet à la fin des années 90.
En 2013 Louis Pouzin recevait le prix Queen Elizabeth
for Engineering des mains de la reine d'Angleterre, aux côtés
d'autres inventeurs anglo-saxons de l'Internet et du Web. La France
(re)découvrait alors la part qu'elle avait jouée dans
les années 70 dans la constitution de ce qui devient un des
protocoles phare de lInternet, TCP/IP. Sil est légitime
de se demander si la France n'a pas raté alors le virage qui
pouvait l'amener à jouer un rôle majeur dans le développement
de l'Internet il est toutefois difficile de considérer que
le Minitel a été une erreur. Outre que lon peut
mettre à lactif de la petite boîte beige davoir
permis à la fois des bénéfices conséquent
côté administration des télécommunications
mais aussi du côté des fournisseurs de services ou encore
des industriels qui travaillent au développement de la télématique,
il faut rappeler derrière Jacques Chirac quau milieu
des années 1990 la boulangère de Gennevilliers peut
consulter son compte bancaire en ligne alors que celle de New York
ne le peut pas encore.
Si la France avec le projet Cyclades à lInstitut national
de recherche en informatique et automatique a bien joué un
rôle dans la naissance historique de lInternet 32 , ce
dernier reste à lépoque encore étroitement
limité au monde des chercheurs et des ingénieurs et
il ne connaît un développement grand public quavec
le Web, inventé au Cern (Centre européen de recherche
nucléaire) à la fin des années 1980, ainsi quavec
le développement de navigateurs comme Mosaic, qui va dès
1993 populariser et faire rentrer lInternet dans le grand public.
Quant au retard français dans lInternet, sil est
effectivement par rapport à ses voisins européens sensible
au milieu des années 1990, laccoutumance des Français
à des services en ligne va
rapidement leur permettre de rattraper ce retard initial, lié
à une transition entre Minitel et Internet qui doit être
pensée autant en termes de continuité que de rupture.
Lorsque en 1997 Lionel Jospin dans son discours à Hourtin se
prononce avec vigueur en faveur d'un passage de la France dans la
société de l'information et qu'il propose une rupture
avec le Minitel, cette transition nest pas si évidente
à réaliser.
Certains en appellent plutôt à la modernisation du Minitel,
à linstar de Louis Roncin, président du syndicat
national de la télématique et PDG dAGL, qui souhaitait
surtout voir le dispositif évoluer. Si le Minitel sest
adjoint des éléments de périminitélie
comme des imprimantes, globalement le terminal reste rudimentaire
: lécran est toujours en majorité noir et blanc
dans les foyers, les messages apparaissent page à page, le
système de lhypertexte et des icônes nest
pas utilisé, il ny a aucun dispositif de sauvegarde prévu
en standard. On peut lui reprocher sa lenteur, la pauvreté
des graphismes, la taille réduite de lécran, ou
labsence de mémoire.
Du côté des offreurs de services, certains prennent le
train en route et montrent une belle capacité dadaptation.
Cest le cas de lemblématique patron de Free
qui continue de défrayer la chronique aujourdhui. Ses
premiers pas dans les messageries roses lui permettent de se constituer
un trésor de guerre quil réinvestit dans le rachat
de 50% des parts de Fermic Multimédia en 1990 bientôt
transformé en Illiad. Xavier Niel se lance alors dans ce qui
savère une phase de transition avec ses passerelles daccès
à Internet à partir de 1994, avant dobtenir en
1999 le droit dexploiter son propre réseau et de fonder
Free.
Dautres passent également avec succès du Minitel
à Internet : on peut citer les parcours de Denys Chalumeau
avec seloger.com, Jean-David Blanc et Allociné, ou encore celui
de Daniel Kaplan, qui avant de développer la FING (Fondation
Internet Nouvelle Génération) a fait ses débuts
dans les réseaux télématiques, en lançant
en 1986 une entreprise qui créait des services sur le Minitel,
JKLM. Un véritable entrepreneuriat numérique fait ses
classes avec la télématique et investit durant les années
1990 un marché Internet embryonnaire.
Du côté des usagers, la transition se fait également
durant la seconde moitié des années 1990. Le mythe de
la gratuité dInternet face aux coûts de connexion
du Minitel empêche aujourdhui bon nombre danalystes
de comprendre la périodisation de la transition entre télématique
et Internet. En effet, si les coûts de consultation du Minitel
sont élevés, de lordre de 60 francs de lheure
en moyenne, le terminal est gratuit. Il nen va pas de même
pour laccès à Internet qui non seulement fait
payer la consultation à la minute jusquà lapparition
des premiers forfaits « illimités » en
1999, mais demande également un coût déquipement
initial de plusieurs milliers de francs pour acquérir un micro-ordinateur
capable de se connecter grâce à son modem.
Du côté des pratiques, la facilité dusage
du terminal de France Télécom na rien de commun
avec les difficultés rencontrées face à une micro-informatique
dont les interfaces graphiques naissantes ne font pas disparaître
bugs et complexité (Thierry, 2012). Il suffit de lire un extrait
de la Carte française des inforoutes de Cédric Curtil
(1996) pour se convaincre du fossé qui sépare nos pratiques
actuelles de lInternet de celle du milieu des années
1990 : « Un utilisateur moyen devrait passer près dune
heure par jour sur Internet. Cette durée peut paraître
longue mais le réseau est
tellement encombré quil faut entre 10 et 20 minutes au
minimum pour trouver et charger le document souhaité. Chaque
mois, lutilisateur dépenser donc 325 francs de téléphone
sil nutilise Internet que les jours ouvrables et se repose
le week-end !
Cette somme correspond au double de la facture moyenne de téléphone
pour les ménages français ».
Avec le Web, peut-on également lire ailleurs, « lutilisateur
a lembarras du choix dans le sens négatif du terme
: les premiers usagers dInternet parlent même de
surfer sur le Net, cette expression [qui] caractérise
bien la navigation aléatoire».
Face à cette « navigation aléatoire » et
mal maîtrisée, parmi les premières offres proposées
en France, certaines ne sont que des applications internes, des services
limités à leur communauté dabonnés
qui facilitent certes la recherche mais proposent des parcours balisés,
et les pages daccueil mettent en belle position licône
permettant laccès au Minitel, tandis que loption
Internet reste facultative. En outre, les ténors de la nouvelle
économie comme Yahoo et Altavista proposent des offres Minitel
: Yahoo lance ainsi le 3615 Yahoo en 2000 . L'offre Minitel d'Altavista
France s'appuie sur la technologie Taxy de la société
française NetFront annoncée en 2000. Les Français
sont aussi dimportants clients démulateurs, pour
naviguer sur Minitel depuis leur micro-ordinateur : en 2001, I-minitel,
qui permet de bénéficier sur un ordinateur d'un accès
aux services Minitel classiques, a été téléchargé
500 000 fois depuis octobre 2000 et France Télécom revendique
200 000 utilisateurs réguliers qui
génèrent 40 000 connections par jour (soit 10% du trafic
total du Minitel).
On voit que la rupture entre Minitel et Internet est loin dêtre
brutale et la séduction quexerce le Web ne fait pas pour
autant lobjet dun rejet brutal et massif du Minitel.
Il convient aussi de penser la transition Minitel/Internet dans la
continuité, par exemple dans les efforts de numérisation
et de mise en ligne des services, notamment publics, depuis le Minitel.
Si un article de la Tribune du 27 avril 2000 note : « Christian
Scherer, haut fonctionnaire et créateur autodidacte du site
Adminet en 1995 le premier Web français sur ladministration
-, savoure à sa juste valeur cette prise de Net-conscience
de lEtat. En 1995 certaines ambassades françaises
avaient décidé de créer des sites Internet pour
communiquer sur la France : tourisme, culture,
formalités, paroles de la Marseillaise..., se souvient-il.
Le Quai dOrsay a alors tout simplement interdit ces sites. Motif
: Les Etats-Unis cest lInternet, la France, cest
le Minitel », avant que lEtat planche sur «
la mise au Net des services publics » comme le note larticle,
il a entrepris un passage par les services en ligne bien plus précoce
que dautres pays européens et dispose ainsi dimportantes
bases de données.
Cest véritablement durant les années 2000 que
le rattrapage devient sensible.
En 2004, lEurope connaît un taux moyen de connexion mensuel
de 47% de ses foyers, la France se situe alors dans la moitié
haute avec 49%. En 2007, 72% de la population se sont connectés
au cours des trois derniers mois à leur domicile et 40% sur
leur lieu de travail. En 2009, 19,8 millions de personnes se connectent
à Internet tous les jours. Le temps de connexion atteint une
heure et vingt minutes par jour
:Postérité(s) dun ringard avant-gardiste
?
Innovation franco-française, disparue depuis juin 2012, la
télématique peut donner lieu à un premier bilan
à lissue de ce rapide passage en revue des points saillants
de son histoire.
Issue dun long processus de rapprochement de linformatique
et des réseaux, la télématique émerge
durant la décennie 1970 comme un projet technique, mêlant
normes et réalisations concrètes au sein des laboratoires
du Cnet et du CCETT.
Appuyée sur un projet modernisateur incarné par le célèbre
rapport Nora-Minc, la télématique se transforme en projet
politique en 1978 qui passe par une longue phase dexpérimentation
« en vraie grandeur » avant de conquérir peu à
peu, à partir de 1984, plusieurs millions de foyers et de salariés
jusquà représenter 6,5 millions de terminaux en
service simultanément au mitan des années 1990.
Avant-gardiste, le Minitel interroge dès les années
1980 les objets qui encore aujourdhui constituent les points
dachoppement de la rencontre entre numérique et société.
En cela, il constitue un terrain particulièrement fécond
de réflexion et de mise en perspective qui évite lapproche
présentiste, trop souvent adoptée dès lors que
lon aborde le numérique.
Du point de vue économique, la télématique interroge
ainsi la monétisation de linformation en appuyant son
système de création de valeur sur le paiement du temps
dattention. Le Kiosque est à cet égard le précurseur
dune répartition que lon retrouve à la fois
dans lImod de NTT DoCoMo, mais également dans lApp
Store dApple qui repose sur la position dintermédiaire
et de portail pour la commercialisation dapplications. En but
aux idéologies originelles et anti commercial qui ont présidé
à la naissance de lInternet dans les années 1970,
ces
nouvelles géométries annoncent peut-être une «
minitélisation » du réseau des réseaux.
Du point de vue des usages, le Minitel constitue également
une avant-garde particulièrement précoce. La VPC, le
sexe et les rencontres en ligne, linformation et les services
annoncent les principaux centres déquilibre de loffre
ultérieure en matière de services online. Enfance numérique
de la France, la télématique a ainsi joué un
rôle non négligeable déducateur pour une
part importante de la population hexagonale.
Rapport de Valérie Schafer (ISCC, CNRS) Benjamin Thierry
(Université Paris-Sorbonne).
sommaire
Impact environnemental et démantèlement
En 2004, un article de ZDNet annonce que « l'opérateur
historique « cède à titre gracieux » les
Minitels de première génération à ses
clients. Pour les associations écologistes, France Télécom
se défausse de ses responsabilités en matière
de recyclage des déchets ». Ce que dément l'opérateur
. La même année, un article du site web Brest-ouVert
estime que « par un tour de passe-passe France Télécom
sapprête à se débarrasser de ces millions
de minitels de la première génération, en fin
de vie, que la réglementation lobligerait bientôt
à collecter puis à recycler ».
En 2012, La Dépêche du Midi écrit
: « dans un souci de préservation de l'environnement,
Orange a mis en place un dispositif de collecte et de recyclage des
Minitels »[70], ce qui est confirmé par France Télécom
- Orange.
C'est à Toulouse que sont démantelés
les Minitel collectés par France Télécom - Orange.
Minitel 2.0 Benjamin Bayart a proposé
d'appeler « Minitel 2.0 » le processus de centralisation
d'Internet en général, et du Web en particulier, lors
des 8es Rencontres mondiales du logiciel libre, à Amiens le
vendredi 13 juillet 2007. Cette tendance à la centralisation,
porteuse d'atteintes à la neutralité du réseau
et de réduction des potentialités des acteurs de ce
réseau, rapprochent, selon lui, Internet du modèle du
Minitel : un dispositif totalement centralisé dans lequel il
faut solliciter l'autorisation d'émettre et où la norme
est la réception.
Préservation et restauration
Depuis l'arrêt officiel du kiosque télétel
en juin 2012, plusieurs initiatives font renaître le patrimoine
numérique autour du Minitel :
En 2013, le projet Cervin a ressuscité
des minitels en leur permettant d'envoyer des tweets depuis une passerelle
Arduino.
En 2017, plusieurs micro-serveurs Minitel sont encore en fonctionnement,
accessibles par numéro direct à 10 chiffres.
Printemps 2018, des services emblématiques sont « recréés
» et accessibles en ligne via un émulateur fonctionnant
dans un navigateur web.
Du 21 au 27 mai 2018 Exposition d'Art Minitel 3615LOVE au CCIC, Cerisy-la-Salle,
créée par le laboratoire PAMAL. Artistes, uvres
& seconds originaux : Armandine Chasle, Jacques-Elie Chabert et
Camille Philibert (L'objet perdu), Eduardo Kac (Videotex Poems), Chris
Marker (Conversations), Marie Molins.
30 juin 2018 (date anniversaire 6 ans après l'arrêt de
télétel) : ouverture du site internet du Musée
du Minitel.
sommaire
Hors de France
Le système Minitel a été implanté
avec plus ou moins de succès dans plusieurs pays :
Allemagne : Bildschirmtext ou BTX, qui est un
système centralisé, à l'encontre du Minitel français
;
Belgique avec Belgacom ;
Espagne : Ibertex via Telefonica. En 1991, il y avait 275 000 terminaux
installés. L'installation coûtait l'équivalent
de 255 € et le coût mensuel variait entre 179 € et
409 €, selon la vitesse du modem (de 2 400 à 9 600 bauds)
;
Grande-Bretagne : Prestel, mais ce système ne réussit
pas à s'implanter au niveau résidentiel;
Irlande : Telecom Eireann (1988) ;
Italie : SIP (1985) ;
Pays-Bas : Viditel et Vidéotex ;
Afrique du Sud Beltel 1986 avec Telkom ;
États-Unis : via Qwest à Minneapolis et Omaha (1990);
Canada : En 1988, Bell Canada lance Alex, « un service électronique
d'information et de transactions fortement influencé par le
système français Minitel ». Le service est d'abord
offert à Montréal puis à Toronto. En 1991, il
comptait 32 000 abonnés, mais le taux de rétention est
proche de zéro en raison des frais de connexion. L'intérêt
baisse rapidement à mesure que se répand l'usage du
Web. Le service est abandonné en décembre 1994. Un autre
système nommé "Telidon" est également
testé.
Japon : système "Captain".
En 1988, le professeur Bruno Lussato disait : «
On nous dit que le monde entier nous envie le Minitel. Je ne sais
pas sil nous lenvie, messieurs, mais je peux en tout cas
vous dire une chose avec certitude, cest quil ne nous
lachète pas».
sommaire
Temoignages
|
Le minitel, larrivée de la banque
à domicile

|
Cliente de la BNP testant à
son domicile la technique du télétexte permettant
de diffuser du texte sur un téléviseur connecté
à un boitier branché dans la prise téléphonique
et de dialoguer avec le centre Télétel, 1982
Le secteur bancaire est le reflet des mutations sociales et technologiques.
Dans les années 1960, linformatique simpose
dans lorganisation de la banque. La télématique
constitue une nouvelle étape, avec le développement
du Minitel. Dès le début des années 1980,
la BNP et Cetelem sengagent sur cette voie. La banque arrive
au domicile des Français.
En 1982, les premiers terminaux Minitel sont offerts au public.
Chaque abonné au téléphone a la possibilité
dadopter cette innovation dans son agence locale France
Telecom. Dans le secteur bancaire, on perçoit le potentiel
de cet outil. Cetelem décide de lexpérimenter
sans tarder dans différents commerces. Il faut dans un
premier temps former les employés de magasins, à
commencer par lusage du clavier
Mais le bénéfice
est net, pour Cetelem comme pour les vendeurs, puisque les clients
de ces commerces peuvent en quelques minutes obtenir une réponse
à une demande de crédit et donc acheter dans
la foulée. En 1984, 3000 commerçants sont connectés
au Cetelem par Minitel. La BNP investit elle aussi sur la télématique
et lintègre à sa stratégie commerciale.
|
Un documentaire
An incredible succes story
En 2003, le Minitel fêtait ses vingt ans et son milliard
de connexions.
Cet anniversaire et ce record auraient pu être loccasion
de faire le point sur cette technologie unique, qui à sa
façon, préfigurait linternet. Et pourtant...
Ringard, cher, infréquentable, inventé par des technocrates
qui ont dépensé stupidement largent de létat,
franco-français, dépassé technologiquement,
responsable du retard que la France a pris en matière daccès
à linternet, à lorigine dune honteuse
libération des murs, machine à fric etc.
Nous avons tout entendu sur le Minitel et pas seulement de la
bouche des dignes représentants des ligues de vertu.
Quel paradoxe ! Tout le monde critique sans ménagement
cette petite boîte mais tout le monde sen est servi
ou sen sert encore. Vingt-et-un ans après son lancement,
on compte encore 4,3 millions en activité.
En 2001, France Télécom annonçait 55 millions
dheures de connexion, un chiffre daffaires lié
au trafic de 686 millions Euros et 200 Millions dEuros de
revenus nets sur les services télématiques.
Le Minitel est donc toujours là, bien connecté,
malgré une mort annoncée maintes fois. Et les analystes
doutre-manche nhésitent pas à rendre
hommage au terminal de France Télécom. Et quel hommage
! Qui aurait imaginé lire que cet objet au design rustique
avait été le premier système online
qui avait fait de la France un pays envié par ses voisins
, que le Minitel avait symbolisé la virilité
technologique de la France des années 80 , quavec
17 millions dutilisateurs en France, le Minitel apparaissait
comme une incredible succes story .
Des phrases irréelles dans une presse plutôt habituée
à décrier les excès dun état
français trop dirigiste, dune économie pas
assez libérale.
La fin de larticle nuança notre enthousiasme naissant.
Le journaliste du Guardian comparait la merveille française
à un autre objet très apprécié et
very French : la 2CV...
A lheure où linternet et la téléphonie
mobile se croisent pour inventer le I-Mode, que reste-t-il du
Minitel ? Assurément, les vieilles boîtes de plastique
marron peuvent être reléguées dans un irréel
musée de la technologie.
Mais pourquoi des utilisateurs fidèles et des fournisseurs
de codes daccès retardent-ils la migration vers linternet
?
Le Web grand public introduit en France en 1994 cacherait il,
sous une image high tech, un modèle économique immature
?
Et lexpérience du Minitel, que nous at-elle apporté
?
Une libération des murs, un modèle économique
performant, une familiarisation des Français avec loutil
informatique ? Symbole méconnu de la vitalité dun
secteur technologique peu médiatisé, le Minitel
est peut-être le dernier survivant dune époque
où létat initiait de grands programmes scientifique
et techniques.
Bref, une spécificité hexagonale comme le sont la
DS ou le TGV. Tous brocardés mais tous enviés. Lhistoire
du Minitel comporte bien des surprises.
La raconter cest se replonger dans une époque pionnière
où lordinateur individuel était encore inaccessible,
une époque où la rentabilité du Minitel faisait
lenvie des développeurs de linternet.
Cest évoquer les 4 bouleversements sociaux et culturels
que provoqua lapparition de ce nouveau média. Cest
retrouver une France qui, depuis vingt ans, de lagriculteur
au cadre supérieur, a appris à taper 3615 pour trouver
un horaire de cinéma, consulter un compte en banque ou
découvrir de nouveaux plaisirs.
Nathalie Bougeard, Fabrice Richard et Jean-François
Le Corre |
Ulla et ses copines
Incontournables dans les mémoires, les messageries roses
constituent un élément majeur de lhistoire de
la télématique. Service extraordinairement rentable
du fait du système Kiosque, la messagerie rose constitue à
partir de 1984 un espace de liberté pour les usagers et une
fabuleuse occasion de profits pour ses promoteurs.
Il faut dabord souligner que lidée de faire de
la télématique un outil de communication et pas seulement
un dispositif de consultation est une idée présente
dès le début à lesprit de ses concepteurs.
Ainsi, dès Vélizy, les télécommunications
offrent la possibilité duser dune boite aux lettres,
de listes de diffusion de messages dans le cadre de M3V, la première
messagerie en différé du Minitel. La messagerie est
à Vélizy lun des services les plus dynamiques.
Elle est pour léquipe-projet loccasion de découvrir
que le nombre des plus gros consommateurs de temps de connexion est
faible, ne représentant quun cinquième des connectés
, mais que ceux-ci représentent dans le même temps plus
de la moitié de la durée totale de
connexion au service.
M3V permet en effet une grande variété de communication
: dialogue 1 vers 1, dialogue 1 vers N, en direct ou en différé28.
Les messages font 17 lignes de 40 caractères et le dialogue
en direct, qui préfigure le chat, a été expérimenté
dans trois groupes baptisés « Forum ». Une cinquantaine
de groupes aux intérêts variés y voient le jour.
Cet appétit pour la communication interpersonnelle néchappe
pas aux premiers fournisseurs de service et, dès louverture
nationale en 1984, les messageries de tous types se multiplient à
grande vitesse sur le réseau. Au début des années
1990, elles représentent la part la plus importante des revenus
liés aux usages du Minitel.
Globalement ces messageries génèrent de 50 à
60 % des revenus du kiosque. La nécessité dêtre
connecté pour échanger, le fait que nombre de services
« roses » utilisent des hôtesses pour maintenir
lintérêt des minitélistes, expliquent cet
état de fait. Alors que tous les services de consultation (horaires
de train, banque, informations, etc...) visent à la rapidité
et à la précision de linformation donnée
pour espérer voir le minitéliste revenir (on recommande
dailleurs de ne pas « faire durer artificiellement »
les durées de connexion car cela ne pousse pas la clientèle
à
revenir), les messageries constituent un service qui capte lattention
et génère ainsi de fabuleux revenus.
Ulla sera probablement la plus connue de ces arènes du dialogue
débridé. En 1986, la diffusion massive du Minitel inspire
à Louis Roncin la création de la société
Assistance Génie Logiciel. Très rapidement, ce sont
les messageries qui savèrent être le produit le
plus rentable : avec 3615 CUM puis 3615 ULLA, AGL crée les
poids lourds du secteur.
Du côté de la presse, le Nouvel Observateur (avec Aline)
ou Le Parisien Libéré sabreuvent à la manne
télématique. En 1985, Le Parisien Libéré
compte 43 personnes qui travaillent à temps plein au service
télématique. Comme le remarque Jean-Marie Charon en
1985, la source principale de revenus du journal est alors sa messagerie
ce qui questionne le modèle de la presse « en ligne »
qui ne trouvera jamais sur Minitel les moyens de se financer par lunique
fourniture dinformations aux usagers.
« 3615 Monique » : 5 questions sur le minitel rose
(Léa André-Sarreau 2020-12-17)
Inspirée de la révolution
technologique et sociale suscitée par le minitel rose au
début des années 1980, cette série en 10
épisodes au charme vintage, diffusée sur OCS , nous
a donné envie de remonter aux origines du flirt électronique,
pour y voir clair entre mythe et vérité.
Ce que dit la série
Début des années 1980, dans lamphi
défraîchi dune fac de la banlieue française.
Toni (Paul Scarfoglio), étudiant à la tchatche
infatigable, présente devant ses camarades sceptiques
un exposé sur le minitel, petite boîte noire composée
dun écran et dun clavier, créée
par le ministère des Postes et Télécommunications.
Une machine révolutionnaire, qui posera les prémisses
du futur Internet, des transmissions dématérialisées,
via un système de services en ligne tentaculaire
mais à laquelle personne ne croit encore. Sauf
Tony, donc, qui a flairé les potentiels économiques,
sociaux, et surtout érotiques, de cette invention.
Avec Stéphanie (Noémie Schmidt) et Simon (Arthur
Mazet), il crée la première messagerie rose
sur minitel : tels des Cyrano modernes et grivois, ils
proposent des conversations sulfureuses à des hommes,
tarifées à la minute, par le biais de messageries
privées. Propice à la réalisation des fantasmes
sexuels individuels en tout anonymat, cet espace de liberté
devient très vite le symbole dune société
en quête de désinhibition, incarnée par
lélection de Mitterand en 1981, après une
décennie giscardienne traditionaliste.
Pour ce Social Network frenchy, qui emprunte
autant au charme des sitcoms eighties quau réalisme
du Péril Jeune, les créateurs Emmanuel Poulain-Arnaud
et Armand Robin se sont librement inspirés de faits réels
et dun jargon geek pointu (attentions aux oreilles, ça
parle de terminal actif passif et de mémoire de masse)
ce qui nous a donné envie de nous plonger dans
lhistoire vraie, et pas toujours rose, du minitel rose.
En cinq questions, remontons aux origines du flirt électronique.
Qui a inventé la première messagerie rose sur
minitel ?
À lorigine, le minitel a été
inventé pour proposer des services informatifs par le
biais du réseau téléphonique notamment
le 3611, annuaire national gratuit. Mais très vite, divers
services payants émergent (consultation de la météo,
achat de billets de train, site de jeux), regroupés sous
le numéro 3615 dont les messageries roses, qui
rencontrent un succès fulgurant, popularisées
sous lexpression « Minitel rose ».
Claude Baltz, chercheur en sciences de linformation et
de la communication, raconte linvention du Minitel rose
dans son livre MSG Gretel : Images de personne (1984).
Fin 1982, un petit génie de linformatique,
sorcier sur les bords, pirate le service internet du minitel
du quotidien. Les Dernières Nouvelles dAlsace,
nommé GRETEL, pour se connecter et communiquer à
plusieurs.
Rapidement, GRETEL est envahi par une multitude de dragueurs
en ligne au point que le serveur saute. Les premiers salon de
tchat et système de messagerie privée sont nés,
notamment grâce au responsable informatique du journal,
desprit libertin, qui ferma les yeux en ne bloquant pas
le serveur. Comme quoi, lhistoire donne toujours raison
aux audacieux.
Le minitel rose est-il lancêtre
des sites de rencontre ?
Un peu de sociologie amoureuse, histoire de
vérifier ce que Tinder doit au 3615. Si le minitel rose
nest pas strictement léquivalent des sites
de rencontres daujourdhui (sur lesquels les profils
sont plus sophistiqués, et où le but est de se
« rencontrer en vrai », contrairement à la
messagerie rose où léchange était
purement virtuel et anonyme), il en a préfiguré
certains codes. Daprès Josiane Jouët, qui
a observé sous un angle ethnographique plusieurs messageries
afin danalyser les comportements de ces communautés,
linnovation technique et sociale quest le minitel
a participé à « lémergence
dun nouveau protocole de rencontre sur écran, fondé
sur une communication interactive et anonyme ».
Maintenant banalisée, cette pratique
a permis à lépoque un affranchissement des
conventions sociales, « dans un contexte historique où
le primat de lindividu simposait, et pas seulement
dans le domaine économique, avec lessor du néolibéralisme
», et qui perdure aujourdhui à travers «
lexpressivisme »,« une forme dindividualisme
exacerbé, où les individus livraient beaucoup
deux-mêmes, à travers leurs fantasmes, pas
seulement sexuels. » Cependant, certaines mutations montrent
que lhéritage du minitel rose a été
remplacé par de nouvelles dynamiques. Le brassage social
quil offrait sest transformé en un ciblage
sélectif, sa pratique transgressive sest muée
en norme majoritaire (1 Français sur 4 sest déjà
inscrit sur une appli), et la communication par les mots, génératrice
de fantasmes, a été supplanté par le règne
de limage.
Qui sont Monique, Ulla et autres Aline ?
Dans la série 3615 Monique, Tony a le
béguin pour la mère de son coéquipier.
Femme au foyer élégante et sensuelle, attentive
à lémancipation érotique de son fils,
elle lui inspire le doux nom de sa messagerie rose. Dans la
vraie histoire du Minitel Rose, dautres prénoms
ont incarné un archétype de la féminité
: 3615 Ulla, 3615 Aline
Mais qui répondait vraiment
aux individus qui se connectaient au service ? La plupart du
temps, il sagissait dhommes, et surtout détudiants,
qui faisaient ce job en parallèle de leurs études.
Cest le cas de Jean-Marie, aujourdhui journaliste,
dont on découvre le témoignage dans cet article
de LObs.
Non sans ironie, celui qui a été
embauché comme « animatrice » dans les années
1990 se confie sur son « coming out télématique
», expliquant comment il faisait « lhôtesse
sur les réseaux », pour des hommes persuadés
« de causer avec JFbi21ans ou Jacqueline69 » : «
Jai ainsi pu « discuter » avec beaucoup de
vigiles, qui sennuyaient, la nuit, mais également
avec des cadres supérieurs qui, eux, se connectaient
à 6 heures du matin en arrivant au bureau, en passant
par des ados-nymphos mal dans leur peau, des mythos, une nana
uro qui « polluait » notre forum, un dominateur
qui, pensant écrire à une femme et alors que je
ne suis ni homo ni sado-maso, avait quand même réussi
à me « séduire »
» Être
payé pour faire fantasmer des hommes aurait même
éveillé sa vocation de « cyberféministe
» : « Plus ils se comportaient comme des mufles,
plus ils étaient grossiers, goujats ou mal élevés,
plus je prenais plaisir à les garder connectés
avec moi, histoire de faire grimper leur facture, mais également
de résister à limage quils se faisaient
des femmes » explique-t-il.
Les services de 3615 du Minitel Rose appartenaient-il
à la presse ?
En 1982, la commercialisation grand public du
minitel permit aux entreprises et aux foyers daccéder
entre autre à lannuaire téléphonique,
à la vente par correspondance et à des sites de
jeux. Mais lEtat veut également sen servir
pour moderniser la société, en numérisant
les petites annonces, comme lexplique cet article de La
Revue des médias. Face à cette informatisation,
la presse écrite sinquiète : cette «
Little French Box » sera la tombe des journaux dantan.
Pour calmer le jeu, Valéry Giscard dEstaing lance
en 1984 le système du « Kiosque » (le fameux
3615 payant) dont il réserve le monopole aux seuls éditeurs
de presse. Traduction dans le langage commun : nimporte
quel journal détenteur dun numéro de commission
paritaire pouvait ouvrir un 36 15, et faire gonfler son chiffre
daffaire via des activités de messagerie rose,
au tarif de 1 franc (15 centimes deuros) la minute, déduit
de la facture de téléphone.
Résultat, de grands titres comme Le Nouvel
Observateur (36 15 ALINE), Libération (36 15 TURLU) ou
Le Parisien se remplissent les poches grâce à ce
marché rose. Et plein de gens créent des journaux
fantôme afin de monter à leur tour des messageries
coquines. Cette archive de lINA nous dévoile un
scandale ô combien plus croustillant : certains se faisaient
embaucher par le minitel rose comme animateurs de messagerie
érotique pour obtenir la carte de presse et se rendre
au Festival de Cannes. Tout ça mérite une enquête
à la Spotlight.
Le minitel rose a-t-il fait la fortune de ses pionniers
?
On le rappelle, tous les personnages de la série
sont fictionnels (désolé de vous décevoir).
Ceci dit, les héros de 36 15 Monique pourraient être
les versions jeunes (et plus sympathiques) dune vraie
génération de figures tutélaires du minitel
rose, aujourdhui millionnaires, dont Libération
a retracé la généalogie dans cet article.
Parmi eux, Xavier Niel, aujourdhui PDG de Free, surnommé
le « petit cochon rose », qui dès ses 16
ans, en 1983, créait des messageries coquines «
En prépa, il fait double journée : en cours le
jour et sur son ordi la nuit. Ses «à-côtés»
lui rapportent, dit-il, «plusieurs dizaines de milliers
de francs par mois » détaille Libé. Un Pape
du Minitel qui partage beaucoup de caractéristiques avec
les héros mercantiles de la série.
Quant à la concurrence qui fait rage
pour dominer le marché rose et qui prend dans
la série une tournure plutôt ludique elle
était en réalité bien plus féroce.
Louis Roncin, à qui lon doit le fameux 3615 Ulla,
sérieux concurrent de Niel (propriétaire de 3615
ANNU) lui a assigné un procès pour racolage :
« Il venait sur mes sites, caché sous un pseudo,
et il débauchait mes clients en les invitant à
venir sur ses sites à lui » rapporte aussi Libé.
Une bataille dinfluence digne de la mafia sicilienne,
qui pourrait presque inspirer Martin Scorsese pour son prochain
film. Malheureusement, cette saga prendra fin à partir
de 1996 avec lessor dInternet, fournisseur concurrent
beaucoup plus rapide et international, accessible via un ordinateur
personnel. Tout en préparant le terrain pour le Web,
le minitel a aussi signé son déclin progressif,
et disparaîtra définitivement en 2012.
|
sommaire
Architecture technique, Historique
du Kiosque Téléphonique
Nonobstant la mission principale des Commutateurs
E10.5 constituant les accès télématiques
au Videotex/Télétel et à l'Annuaire Électronique,
les Commutateurs E10.5 sont aussi capables de traiter du trafic voix,
avec en plus de bonnes dispositions pour l'acheminement du trafic
en masse, y inclus la gestion des taxations les plus complexes et
les plus diversifiées que l'on puisse concevoir...
Taxation au Quantum (c'est à dire au forfait, à chaque
début de communication)
Taxation à la Durée par impulsions périodiques,
à différentes cadences possibles, et à plusieurs
tarifs,
Taxation par combinaison au Quantum et à la Durée,
Répartition des gains entre l'Opérateur téléphonique
et les éditeurs de services privés (à proportion
variable suivant les types de services et les conventions signées
entre les PTT/France Télécom et les éditeurs
de services privés).
Mais avant l'utilisation des Commutateurs E10.5 PAVI pour ces services,
il est procédé à l'ouverture du KIOSQUE TÉLÉPHONIQUE
dès le 11 avril 1984 (dénomination initiale : TÉLÉMICROSERVICE)
selon le mode unique et simplifié de la Taxation au Quantum
(c'est à dire pour un prix d'appel fixe facturé en début
de communication : les fameux 2,19 francs/appel et 3,65 francs/appel
- utilisés abondamment par les jeux TV notamment).
Le Kiosque Téléphonique débute donc le 11 avril
1984 uniquement en Île-de-France. Il faut attendre l'année
1987 pour que le Kiosque Téléphonique s'implante dans
certaines régions : Lille, Lyon, Marseille, Nantes et Bordeaux.
En Août 1986, il est notifié par l'Administration des
PTT un marché d'études concernant le Kiosque Téléphonique
à la société Techniphone, pour la conception
d'un prototype d'une machine de diffusion de messages enregistrés,
d'une capacité de diffusion simultanée de 320 voies.
Lors des débuts du Kiosque Téléphonique
en Île-de-France, ce sont d'abord des Commutateurs
d'Abonnés classiques qui supportent cette charge, régulièrement
croissante : des Commutateurs Métaconta 11F et MT25.
Avec ces Commutateurs d'Abonnés déjà occupés
à acheminer leurs propres abonnés, il n'est pas possible
de créer des modes de taxation trop complexes.
De plus, la charge instantanée, pour les jeux radio et surtout
TV à des moments précis, durant des émissions
à grande écoute, s'avère tellement lourde qu'il
est nécessaire de découper les Indicatifs ABPQ en Milliers
séparés, de répartir ces Indicatifs ABPQ sur
plusieurs Commutateurs d'Abonnés à la fois, en ne faisant
porter qu'un seul ou deux Milliers de Numéros Kiosque par chaque
Commutateur d'Abonnés choisi.
Aussi, lorsque le besoin se fera sentir de créer d'autres services
(notamment les messageries roses), la nécessité de changer
d'architecture deviendra évidente : l'utilisation des E10.5
PAVI dans l'acheminement des nouveaux services Kiosque Téléphonique
complexes s'imposera comme la solution la plus logique et rentable...
Ce sera le cas à partir du 6 mai 1992.
À partir du 6 mai 1992 (ouverture commerciale), ce seront les
Commutateurs E10.5 PAVI qui reprendront progressivement cette tâche
devenue trop lourde pour les Commutateurs d'Abonnés classiques.
Les Services KIOSQUE TÉLÉPHONIQUE sont en cette occasion
renommés AUDIOTEL.
Sont techniquement créés dès le 15 avril 1992
(et commercialement ouverts le 6 mai 1992) les services AUDIOTEL taxés
à la Durée.
Sont techniquement repris par les E10.5 PAVI entre le 16 mai 1995
et le 29 février 1996 les services AUDIOTEL taxés au
Quantum (portés jusques alors par des Commutateurs MÉTACONTA
11F et MT25 puis tardivement par des Commutateurs E10B3).
sommaire
Ouvertures Techniques du KIOSQUE TÉLÉPHONIQUE
:
Les numéros d'appel des services Kiosque Téléphonique
sont des numéros à 8 chiffres (puis à 10 chiffres
à partir du 18 octobre 1996 à 23H00).
Ils sont créés initialement en
Île-de-France à partir de 1984 avant de commencer leur
généralisation à l'échelon national en
1987 :
Ci-dessous : historique le plus complet possible d'Île-de-France.
(TB = Taxe de Base entre 1945 et 1986 - UT = Unité Télécom
depuis 1987).
Période Pré-E10.5 PAVI :
Création Indicatif 369 (Millier 1) (futur 4369
après le 25 octobre 1985) pour le système Télémicroservice,
service de diffusion de messages au Quantum 3 TB (futur Kiosque Téléphonique),
sur Commutateur MÉTACONTA 11F Ségur 2 ES1 (AD92) le
11 avril 1984 - (Télex du 28 mars 1984).
Création Indicatif 4667 Kiosque Téléphonique
au Quantum 3 TB, sur Commutateur MÉTACONTA 11F Auteuil 2 ES1
(AB15) le 5 mars 1986 - (Télex des 25 et 26 février
1986).
Extension Indicatif 4369 (Millier 6) Kiosque Téléphonique
au Quantum 3 TB, sur Commutateur MÉTACONTA Auteuil 2 ES1 (AB15)
le 15 juillet 1986 - (Télex 8 juillet 1986).
Création Indicatif 3669 (Millier 1) Kiosque Téléphonique
au Quantum 3 UT, sur Commutateur MÉTACONTA 11F Ségur
2 ES1 (AD92) le 14 avril 1987 - (Télex des 8 et 9 avril 1987).
En équivalence avec le 4369 (Millier 1).
Extension Indicatif 3669 (Milliers 3 et 7) Kiosque Téléphonique
au Quantum 3 UT, sur Commutateur MÉTACONTA 11F Auteuil 2 ES1
(AB15) le 10 juin 1987 - (Télex du 4 juin 1987). En équivalence
avec le 4369 (Milliers 3 et 7).
Suppression Indicatif 4667 Kiosque Téléphonique le 9
juillet 1987 - (Télex du 9 juillet 1987).
Extension Indicatif 3669 (Millier 5) Kiosque Téléphonique
au Quantum 3 UT, sur Commutateur MÉTACONTA 11F Ménilmontant
1 ES1 (AC73) le 20 août 1987 - (Télex du 6 août
1987).
Suppression Indicatif 4369 (Milliers 1, 3 et 7) Kiosque Téléphonique
le 1er septembre 1988 - (Télex du 18 août 1988). Le 4369
est définitivement remplacé par le 3669.
Création Indicatif 3665 Kiosque Téléphonique
au Quantum 5 UT, sur Commutateurs MÉTACONTA 11F Auteuil 2 ES1
(AB15) (Millier 6), Ségur 2 ES1 (AD92) (Millier 8), Ménilmontant
1 ES1 (AC73) (Millier 3) ; et sur Commutateur MT25 Molitor 3 ET2 (CC34)
(Millier 7) le 30 septembre 1988 - (Télex du 27 septembre 1988).
Suppression Indicatif 3669 Kiosque Téléphonique le 3
juillet 1989 - (Télex du 26 juin 1989). Le 3669 est définitivement
remplacé par le 3665.
Création Indicatif 3668 Kiosque Téléphonique
au Quantum 5 UT, sur Commutateurs MÉTACONTA 11F Auteuil 2 ES1
(AB15), Ségur 2 ES1 (AD92), Ménilmontant 1 ES1 (AC73)
et sur Commutateur MT25 Molitor 3 ET2 (CC34) le 31 octobre 1990 -
(Télex du 29 octobre 1990).
Création Indicatif 3666 Kiosque Téléphonique
au Quantum 5 UT, sur Commutateurs MÉTACONTA 11F Auteuil 2 ES1
(AB15) (Millier 4), Ségur 2 ES1 (AD92) (Millier 0), Ménilmontant
1 ES1 (AC73) (Millier 3) et sur Commutateur MT25 Molitor 3 ET2 (CC34)
(Millier 7) le 23 mars 1992 - (Télex du 17 mars 1992).
Suppression Indicatif 3668 Kiosque Téléphonique le 2
avril 1992 - (Télex du 31 mars 1992). Le 3668 est définitivement
remplacé par le 3666 en tant que Kiosque Téléphonique
au Quantum 5UT.
sommaire
Période E10.5 PAVI :
Création Indicatifs 3664, 3667, 3668
et 3670 Kiosque Téléphonique à la Durée
(Audiotel), sur Commutateurs E10.5 PAVI le 15 avril 1992 - (Télex
du 2 avril 1992) - Ouverture Commerciale le 6 mai 1992.
3664 : 1 UT par minute.
3667 : 2 UT par minute.
3668 : 3 UT par minute.
3670 : 12 UT au Quantum + 3 UT par minute.
Création Indicatif 3635 Audiotel à la Durée (réservé
SNCF), sur Commutateurs E10.5 PAVI le 9 décembre 1993 - (Télex
du 7 décembre 1993).
Création Indicatif 3669 Audiotel à la Durée 3
UT par minute, sur Commutateurs E10.5 PAVI le 24 avril 1995 - (Note
ONS du 11 avril 1995).
Transfert Indicatif 3666 Audiotel Jeux (au forfait), sur Commutateurs
E10.5 PAVI le 16 mai 1995 - (Télex du 5 mai 1995). (Les Commutateurs
MÉTACONTA 11F arrivant en fin de vie à moyen terme (1996-2000).
Transfert Indicatif 3665 (Millier 7) Audiotel Jeux (au forfait), sur
Commutateurs E10.5 PAVI le 9 janvier 1996 - (Télex du 2 janvier
1996). (anciennement MT25 Molitor 3 ET2 (CC34)).
Transfert Indicatif 3665 (Milliers 3 et 5) Audiotel Jeux (au forfait),
sur Commutateurs E10.5 PAVI le 18 janvier 1996 - (Télex du
15 janvier 1996). (anciennement E10B3 Diderot 6 ET3 (AB96)).
Transfert Indicatif 3665 (Millier 8) Audiotel Jeux (au forfait), sur
Commutateurs E10.5 PAVI le 25 janvier 1996 - (Télex du 18 janvier
1996). (anciennement E10B3 Brune 3 ET2 (AB44)).
Transfert Indicatif 3665 (Milliers 0, 1 et 2) Audiotel Jeux (au forfait),
sur Commutateurs E10.5 PAVI le 7 février 1996 - (Note du 31
janvier 1996). (anciennement MÉTACONTA 11F Ségur 2 ES1
(AD92)).
Transfert Indicatif 3665 (Milliers 4, 6 et 9) Audiotel Jeux (au forfait),
sur Commutateurs E10.5 PAVI le 29 février 1996 - (Note du 22
février 1996). (anciennement MÉTACONTA 11F Auteuil 2
ES1 (AB15)).
Création Indicatif 3636 Audiotel Libre Appel Gratuit, sur Commutateurs
E10.5 PAVI le 4 novembre 1997 - (Note du 17 octobre 1997).
Création Indicatif 3671 Audiotel Télévote (1UT/appel),
sur Commutateurs E10.5 PAVI le 4 novembre 1997 - (Note du 17 octobre
1997).
Période Post-E10.5 PAVI :
La solution de transférer le trafic
Audiotel sur les Commutateurs E10.5PAVI a permis la suppression des
Commutateurs Semi-Électroniques MÉTACONTA 11F choisis
qui supportaient ces services depuis leur création.
Le 9 juillet 1997 il est décidé officiellement
le transfert à terme de tout le trafic Audiotel supporté
par les Commutateurs E10.5 PAVI vers une nouvelle architecture dite
"Réseau Intelligent", où désormais
le trafic Audiotel sera depuis lors entièrement supporté
par les Commutateurs de Transit de type MT20 assurant soit la fonction
de Centre de Transit Principal (que l'on dénommait autrefois
Centres de Transit Nationaux), soit de Centre de Transit Secondaire
(que l'on dénommait autrefois Centres de Transit Régionaux).
La majeure partie des Commutateurs de Transit MT20 est retenue pour
reprendre l'intégralité du trafic Audiotel.
Tous les Indicatifs Audiotel sont concernés
par cette migration : (08)3635, (08)3636, (08)3664, (08)3665, (08)3666,
(08)3667, (08)3668, (08)3669, (08)3670, (08)3671.
Début Juillet 1999, la totalité du trafic Audiotel est
basculée sur le Réseau Intelligent via les Commutateurs
de Transit Secondaires MT20.
De 1999 à 2012, les Commutateurs E10-5 PAVI n'achemineront
plus que le trafic Télétel (incluant le trafic Annuaire
Électronique).
sommaire
Structures et Matériels
Emploi des Commutateurs E10.5 dans le réseau français
de Télécommunications :
Le réseau télématique grand
public français est entièrement articulé et construit
avec des Commutateurs Téléphoniques spécialisés
conçus par la société Alcatel, de type temporel
portant la référence Alcatel 1130.
Dans l'Administration leur dénomination est devenue E10.5 (E10
dits de 5ème génération - même s'il ne
s'agit pas vraiment de 5ème génération...).
Initialement la dénomination de ce nouveau modèle de
commutateur était E10.S (E10 Satellite), renommée en
E10.5 pour des raisons commerciales de tentative d'exportation aux
USA par Alcatel (E10-Five).
E10.5 est un système développé
et mis au point dans les centres de R&D de CIT-Alcatel, à
Vélizy en Région Parisienne.
Au début des années 1980 est créé au sein
de CIT-Alcatel à Vélizy le Groupe Petit Système.
Profitant des évolutions mises au point dans le cadre du développement
des systèmes E10 précédents (E10N3 et E10N1 en
fin de développement) ainsi que du système E12 en fin
de développement lui aussi, le E10.5 met en uvre de nombreux
nouveaux concepts et technologiques :
- circuits imprimés multi-couches,
- système de commande générale répartie
en plusieurs Unités de Commandes organisées en réseau,
- première vraie utilisation de la gamme de micro-processeurs
banalisés Intel 8080, puis 8086, puis 80286, puis 80386 (avec
une forte implication - des concepteurs américains du Personal
Computer),
- réseau série, à haut débit, en boucle
ouverte d'interconnexion temporelle des éléments processeurs
(RIT),
- système modulable et aisément extensible,
- fonctionnement en mode dégradé possible, sans blocage
important de ressources,
- premières utilisations de la norme de signalisations CCITT
n°7,
- fonctionnement en environnement non climatisé,
- concept innovant d'architecture logicielle en "Machines Logiques"
qui sera repris dans les Commutateurs de type E10B3 ultérieurement,
- utilisation maximisée des processeurs en tranche,
- procédures simplifiées d'installation et d'exploitation...
Le système E10.5 a été
initialement conçu pour remplacer les commutateurs téléphoniques
ruraux de faible capacité de type Crossbar (CP100 et
sa variante simplifiée qui n'est pas à autonomie d'acheminement
: le Socotel S1) sur le territoire français, il se révèle
rapidement, capable d'accomplir des tâches bien plus perfectionnées
que de la simple commutation de conversations téléphoniques
courantes... La polyvalence de ce système étant due
à son architecture répartie et modulable particulièrement
évoluée.
Un Commutateur E10.5 est un Commutateur multiservices.
Il est utilisable dans les fonctions suivantes :
- Centre rural d'Attachement d'abonnés à autonomie d'acheminement
(USA) sous la dénomination T-SS-5. (En France ce rôle
est assuré essentiellement par des Commutateurs E10N3 et E10N1)
- Centre Téléphonique à Autonomie d'Acheminement
(CAA) - Utilisé à Monaco : Monaco 3 (AP01) mis en service
en Décembre 1988 - par adjonction d'Unités Terminales
de type CSE (telles qu'utilisées dans les E10N1).
- Expérimentation en Centre de Transit (CT) (Développé
en laboratoire au CNET Lannion),
- Concentrateur de Terminaux Annuaire (CTA / Minitel : Annuaire Électronique)
(France),
- Point d'accès Vidéotex (PAVI /Télétel)
(France, Italie),
- Kiosque Téléphonique / Audiotel (France),
- Centre de Raccordement Terrestre (E10.5 CRT) : réseau de
transmission de données à haut débit basé
sur les premiers satellites de télécommunications "Télécom
1" : TRANSCOM, via au moins 3 Commutateurs E10.5 dédiés
(Marseille, Mulhouse et Rennes)
- Transmissions de données par commutation de Liaisons Spécialisées
TRANSPAC (au moins 1 Commutateur E10.5 dédié, implanté
à Nice)
- Utilisé dans le Réseau de téléphonie
mobile analogique 1G Radiocom 2000 à quelques exemplaires (5
Commutateurs E10.5 d'après nos recherches en zones montagneuses)
(CORPAC)
Concernant la France, au moins 291 Commutateurs E10.5 ont été
mis en service.
Concernant l'Île-de-France, les premiers E10.5 sont mis en service
commercial en 1983-1984,
sur le Centre Téléphonique de "Longchamp"
à Suresnes pour l'Annuaire Électronique (CTA)
sur le Centre Téléphonique de "Tuileries"
à Paris pour l'accès aux services Videotex (PAVI).
Bien que le système E10.5 qui reprend les meilleurs acquis
et se projette sur les technologies d'avenir n'ait pas obtenu tout
le succès qu'il méritait, il demeure cependant une référence
française en matière d'évolution des systèmes
de commutation temporelle. La fusion entre CIT et ITT intervenue en
1986 entraîne la regrettable cessation de son développement.
En France, les derniers Commutateurs E10.5 sont mis à l'arrêt
le 30 juin 2012, entraînant l'arrêt de l'Annuaire Électronique
et des services Télétel - Videotex accessibles depuis
un Minitel.
L'Audiotel est transféré sur une autre technologie dite
Réseau Intelligent directement par les Commutateurs de Transit
MT20TN.
sommaire
Séparation des réseaux Télétel
- Videotex d'une part et Annuaire Électronique d'autre part
:
Dans la Télématique grand public, seuls
sont utilisés des Commutateurs Électroniques Temporels
du type E10.5.
Dès le début de la création du
Télétel, il est alors décidé de spécialiser
les Commutateurs E10.5 en 2 catégories distinctes par des configurations
logicielles différenciées (bien qu'il s'agisse des mêmes
machines matérielles) :
- Catégorie E10.5 Concentrateur Terminal
Annuaire (CTA) assurant l'accès à l'Annuaire Électronique,
- Catégorie E10.5 Point d'Accès Videotex Intermédiaire
(PAVI) assurant l'accès aux services Télétel.
Ainsi, les Commutateurs E10.5 CTA et les Commutateurs
E10.5 PAVI cohabitent côte à côte dans les mêmes
locaux techniques et accomplissent séparément leurs
tâches spécialisées.
Architecture de Principe de la Télématique
Commutée en France.
L'usager a le choix en numérotant, d'accéder
à l'architecture Annuaire Électronique par le 11, ou
d'accéder à l'architecture Télétel par
les Numéros Courts (3615 par exemple).
sommaire
Architecture propre au réseau Télétel
- Videotex :
Le Point d'Accès Videotex Intermédiaire
(PAVI) constitue l'élément intermédiaire entre
le Réseau Téléphonique Commuté et le Réseau
TRANSPAC.
Le PAVI permet donc à un usager d'atteindre
des serveurs télématiques à partir d'un terminal
installé par exemple à son domicile, ou sur son lieu
de travail. À partir de ces serveurs
télématiques, l'usager peut accéder à
des banques de données, des systèmes de transaction
ou de traitement de l'information.
Le Centre Serveur en Information Bibliographique et Factuelle est
mis en service le 1er juin 1979.
Il est inauguré le 22 juin 1979 par M. le Secrétaire
dÉtat des Postes et Télécommunications
- Norbert Ségard.
Il appartient à la société Télésystèmes,
filiale de France Câbles et Radio, une société
d'économie mixte sous tutelle de la Direction Générale
des Télécommunications. Il est equipé d'une unité
de calcul IRIS 80 à bi-processeur.
Devenu accessible par le Système Télétel vers
1983, les usagers du Minitel se connectant à Télétel,
via leur Commutateur E10.5 PAVI au réseau TRANSPAC, se voient
mis en relation avec le Centre Serveur souhaité : par exemple
celui-ci.
Schema de base Acces
à Teletel
Ci-dessus : abonnés connectés aux services
télématiques de leur choix, via TRANSPAC et via un Commutateur
E10.5 PAVI.
Le PAVI permet la communication entre un serveur et
un usager, au moyen d'un code d'accès ou d'un numéro
TRANSPAC.
Le PAVI assure l'assemblage à la norme Transpac des caractères
frappés sur le clavier alphanumérique du terminal de
l'usager.
Le PAVI assure la concentration du trafic en provenance des terminaux
qui lui sont raccordés simultanément.
Le PAVI assure le retour sur l'écran du terminal de l'usager,
en "mode écho", des caractères frappés
par l''usager sur son clavier alphanumérique. Ceci permet à
l'usager de contrôler la validité de sa frappe et de
sa bonne réception au Centre de Télécommunications,
avant de valider l'envoi de ses demandes vers le serveur souhaité.
Le PAVI doit aussi pouvoir permettre à l'usager de corriger
des caractères erronés, tant que la touche envoi n'a
pas été appuyée. (Touches Correction, Retour,
Sommaire...)
Le PAVI assure le désassemblage en caractères des paquets
à la norme TRANSPAC en provenance du serveur auquel il est
connecté.
Le PAVI doit pouvoir signaler à l'usager les incidents de connexion
ou de fonctionnement pouvant intervenir au cours de la communication
avec le serveur de son choix.
Le PAVI assure la rupture de communication en fin d'utilisation, lorsque
l'usager appuie une dernière fois sur la touche Connexion/Fin.
Architecture Transitoire Télétel :
Au tout début de l'implantation du Télétel
en France, les Commutateurs E10.5 dans leur version dédiée
PAVI, n'étaient pas encore entièrement mis au point
et validés. Il faudra attendre 1984 pour que les premiers Commutateurs
E10.5 soient mis en service.
Un des premiers Commutateurs E10.5 mis en service en France, sinon
le premier est Toulouse E10.5 CTA 1 (TL62) au mois de Janvier 1984.
Le tout premier Commutateur E10.5 PAVI est mis en service le 25 octobre
1984.
Aussi, en attendant, il a été décidé d'implanter
provisoirement des machines simplifiées permettant l'accès
aux tous premiers services Télétel et Annuaire Électronique.
Il s'agit alors de Points d'Accès Télétel Simplifiés
(PATS).
Chaque PATS n'autorise que 24 connexions simultanées... Ces
machines sont provisoirement "greffées" sur quelques
commutateurs téléphoniques locaux (uniquement sur des
Commutateurs Électroniques d'abonnés, Temporels ou Spatiaux),
si possible près d'un Commutateur de Transit.
En effet, ces machines provisoires sont rapidement remplacées
par des Commutateurs E10.5 PAVI, capables de bien meilleures performances
(jusqu'à 240, 360, 480 voire 660 connexions simultanées
suivant les modèles).
En outre, le trafic du Télétel 1 (Indicatif 36.13 créé
le 1er octobre 1982 devenu Numéro Court 36.13 le 8 juillet
1986) demeure supporté par les PATS jusqu'à sa reprise
par les Commutateurs E10.5 PAVI à la date du 3 février
1988. (Pourquoi avoir tant attendu ? Pour amortir les PATS et basculer
ce trafic une fois le réseau de Commutateurs E10.5 PAVI suffisamment
dimensionné.)
La société Télésystèmes
Télésystèmes
est une SSII (Société de Services en Ingénierie
Informatique). Son secteur d'activité concerne la prestation
de services tous azimuts en informatique (Unix) : installation et
maintenance de matériel, développement et aide au développement,
conseil, formation, etc.
Cette importante SSII (la septième)
est une filiale de Cogecom, elle-même filiale de France Télécom.
C'est une société anonyme au capital de 236 millions
de francs, dont le chiffre d'affaires fut, en 1992, de 1750 milliards
de francs. Elle emploie 2450 personnes et possède six filiales
en France : TS Citcom, TS E3X, TS Facicom, TS Setib, TS Sedit et TS
Symedia, ainsi qu'une filiale en Allemagne, IOP.
Vu dans Le
Monde diplomatique Nov 1979
Dix millions de références «
en ligne »
Un centre serveur est le point darrivée des interrogations.
Cest un ordinateur (ou plusieurs) sur lequel est stocké
lensemble des données. Les performances des ordinateurs,
la sécurité du centre et la fiabilité des
liaisons font la valeur du serveur (sans parler, bien sûr
des données accessibles). La France est dotée, depuis
juin 1979, dun serveur national : Télésystèmes.
Sept mille cinq cents heures dinterrogation, environ dix
mille interrogations, sont effectuées tous les mois sur
des serveurs américains et celui de lAgence spatiale
européenne (ASE). Au risque de dévoiler à
déventuels concurrents américains les préoccupations
des interrogateurs français sajoute une évasion
de devises. Par ailleurs, sil existe en France une série
de banques et bases de données très cotées,
elles sont difficiles daccès, et dispersées
; Pascal, du C.N.R.S., nétait accessible on line
que par lASE. La décision douvrir un centre
serveur, sur le territoire national pouvant rivaliser avec les
concurrents américains, et bientôt européens,
remonte à janvier 1978.
La société Télésystèmes
a été désignée comme maître
duvre. Télésystèmes est une
filiale de France-Câbles et Radio, société
déconomie mixte sous la tutelle du ministère
des P.T.T. De plus, cette société possède
de lexpérience dans linstallation des réseaux
(transplex, réseaux pour entreprises) et la vente du
service informatique en temps partagé. En fournissant
aux affaires étrangères et à la gendarmerie
nationale des centres de commutation de messages, Télésystèmes
a été confronté aux problèmes de
sécurité et de confidentialité.
Télesystèmes offrira «
en ligne » dix millions de références bibliographiques,
sur un ordinateur français (CII-Honeywell-Bull), à
partir dun logiciel français, Mistral. On trouvera
sur cet ordinateur français des bases bibliographiques
américaines (notamment une partie de Chemical Abstracts),
mais aussi françaises : Pascal du C.N.R.S., Teledoc du
C.N.E.T., Titus de lInstitut français du textile,
la base de LE.D.F. (Chemical Abstracts occupe à
lui seul la moitié du volume des données accessibles.
Son fichier na pas été chargé dans
son intégralité, car il aurait suffi à
saturer lIris 80).
Télesystèmes a comme atout
(mais cest aussi un défaut) dêtre interrogeable
en français. Outre le marché français,
ses responsables visent les pays latins et le continent africain.
Subventionné par le B.N.l.S.T., Télésystèmes
sera cependant géré « commercialement ».
Les bases de données non rentables, cest-à-dire
faiblement interrogées, seront abandonnées, à
moins que leur déficit ne soit compensé par lEtat
sil y a intérêt stratégique à
les maintenir en place.
|
1994 Vu dans
Les Echos
France
Télécom réorganise ses services informatiques
Télésystèmes
n'a toujours pas remonté la pente. La filiale de FTLIS
spécialisée dans les services informatiques devrait
être l'objet d'une réorganisation majeure en janvier.
Principale entité du groupe France Télécom
Logiciel et Systèmes (FTLIS), la société
de services informatiques Télésystèmes, dans
le rouge depuis 1989, est en passe d'être scindée
en trois entités distinctes. L'hebdomadaire spécialisé
« 01 Informatique » a révélé
vendredi une nouvelle restructuration du groupe et le remplacement
du PDG de Télésystèmes, Georges Leblon, par
Michel Huet, PDG de FTLIS. Nommé directeur général
délégué de FTLIS, Georges Leblon sera désormais
responsable de la coordination de l'ensemble des services à
valeur ajoutée.
Pour n'être toujours pas parvenu à redresser la principale
filiale de son groupe (68,5 % du chiffre d'affaires consolidé
des filiales majoritaires), FTLIS étudie la réorientation
des activités de Télésystèmes en trois
pôles. Le premier regrouperait, en une seule structure,
l'intégration de systèmes et l'ingénierie
de la SSII avec les activités d'une autre filiale de FTLIS,
Ibsi. Un deuxième pôle se spécialiserait dans
l'infogérance et pourrait accueillir un partenaire extérieur.
Enfin, un dernier pôle regrouperait les services à
valeur ajoutée (vidéotexte, audiotexte, messagerie).µ
Les reproches de la Cour des comptes
Depuis 1989, la filiale de FTLIS aurait perdu près de 600
millions de francs. Elle a réalisé en 1993 un chiffre
d'affaires de 1,6 milliard, contre 1,8 milliard en 1992, et prévoit
d'atteindre l'équilibre opérationnel en 1994. L'an
passé, Télésystèmes a été
épinglée par un rapport de la Cour des comptes qui
lui reprochait des insuffisances de gestion et une politique de
croissance externe mal menée.
Engagé depuis 1991, le regroupement des différentes
activités de services informatiques de France Télécom
dans le groupe FTLIS n'a toujours pas fait ses preuves. Ensemble
hétéroclite d'activités qui ont réalisé,
l'an dernier, un chiffre d'affaires de 2,3 milliards, il n'a toujours
pas réussi à avoir une stratégie probante.
Seule l'alliance avec la société de services franco-britannique
Sema Group, dont France Télécom a pris 20 % du capital
en 1992, a été vraiment significative. Une prise
de participation qui a d'ailleurs mis fin à la possibilité
d'un éventuel rapprochement entre Cap Gemini Sogeti et
l'opérateur français. |
sommaire
Architecture propre au réseau Annuaire Électronique
:
L'architecture d'accès au système d'Annuaire
Électronique a été dissociée dès
sa création des autres serveurs télématiques
"ordinaires".
La structure de l'Annuaire Électronique est alors traitée
séparément du reste du trafic Télétel.
Des Commutateurs E10.5 configurés en tant que Concentrateurs
de Terminaux Annuaires (CTA) sont alors dédiés spécialement
à cet usage.
Chaque Commutateur E10.5 CTA autorise la connexion simultanée
jusqu'à 240 abonnés vers le serveur de l'Annuaire Électronique,
et uniquement vers ce serveur.
D'un point de vue du Réseau Téléphonique Commuté,
l'architecture téléphonique des Commutateurs E10.5 CTA
dans le réseau est identique à l'architecture téléphonique
des Commutateurs E10.5 PAVI, mais elles sont totalement disjointes.
Commutateurs E10.5 CTA et E10.5 PAVI ne mélangent alors jamais
leurs appels respectifs. Ainsi, un Commutateur E10.5 CTA n'achemine
ses appels que vers le système de l'Annuaire Électronique.

Ci-dessus : abonnés connectés à
la base de donnée de l'Annuaire Électronique, via un
Commutateur E10.5 CTA.
Le Concentrateur de Terminaux Annuaire (CTA)
constitue l'interface entre le Réseau Téléphonique
Commuté et la partie informatique de la Chaîne Annuaire
Électronique...
Le CTA réalise la gestion des terminaux
d'abonnés (Minitel) de son secteur et procède à
la concentration des accès en mode asynchrone à la norme
V23 sur les liaisons de données.
Chaque CTA dessert au minimum sa Zone à Autonomie d'Acheminement
(ZAA), voire une Zone de Transit (ZT) en cas de faible densité
de population.
Les CTA sont reliés au Réseau Téléphonique
Commuté via des liaisons numériques MIC normalisées.
Les CTA sont reliés au serveurs de l'Annuaire Électronique
de l'Administration de sa région par des Liaisons Spécialisées
fixes (LS).
Le Centre d'Interrogation (CI)
Le Centre d'Interrogation permet le dialogue
entre Abonné et Service Annuaire.
Le Centre d'Interrogation propose de l'aide aux usagers : il aide
l'abonné à formuler correctement et complètement
sa demande.
Le Centre d'Interrogation vérifie ensuite l'exactitude des
informations récupérées et les valide le cas
échéant.
Le Centre d'Interrogation aiguille les questions posées par
l'usager vers les centres gérant le fichier.
Le Centre d'Interrogation, en retour, met en forme la réponse
sur l'écran de l'abonné.
Chaque Centre d'Interrogation dessert jusqu'à 180.000 terminaux
MINITEL.
Un Centre d'Interrogation est constitué par :
- 1 Calculateur 32 bit, modèle MINI 6/92 de la compagnie BULL.
- 1 Mémoire de masse constituée de 2 Disques Magnétiques
de 64 Mo (type MCD) et 67 Mo (type SMD).
Le Centre de Documentation Régional (CDR)
Le Centre de Documentation Régional supporte
une fraction de la documentation annuaire nationale.
Ainsi, au début de l'Annuaire Électronique en France,
les abonnés ne peuvent pas avoir accès à toute
la France, mais seulement à une fraction du territoire bien
plus importante que leur seul département (ce que propose l'annuaire
de son département de résidence.)
En pratique, il contient les informations de plusieurs départements
en mémoire, typiquement les Pages Blanches, les Pages Jaunes
et les informations publicitaires correspondant à environ 3
millions d'abonnés pour un CDR d'une capacité de 1000
erlangs, et 6 millions d'abonnés pour un CDR d'une capacité
de 2000 erlangs.
Chaque Centre de Documentation Régional (CDR), d'une capacité
de 1000 erlangs permet le raccordement de 4 Centres d'Interrogation
(CI), extensible jusqu'à 8 Centres d'Interrogation (CI) pour
un CDR de 2000 erlangs.
Nota : à partir de l'été 1984, la capacité
des Centres de Documentation Régionaux est systématiquement
fixée à 2000 erlangs. Les CDR de 1000 erlangs sont donc
progressivement transformés en 2000 erlangs ou supprimés.
Au moins 5 CDR ont été prévus en métropole
dès la création du projet Annuaire Électronique.
Un Centre de Documentation Régional de 1000 erlangs (CDR) est
constitué par :
1 Interface FRONTAL CP8 (il s'agit d'un Commutateur de Paquets) qui
gère les échanges avec les Centres d'Interrogation (CI)
et un autre organe supplémentaire : le Centre de Gestion de
la Documentation (CGD).
2 Calculateurs MINI 6/92 de la compagnie CII - Honeywell -BULL fonctionnant
en partage de charge (qui constitue une première architecture
de sécurisation).
1 Chaîne de Recherche constituée par 2 machines DIRAM
32, de la société Copernique, exploitant des disques
durs de grande capacité de 600 Mo. Les DIRAM 32 accomplissant
de surcroît certaines tâches qui allègent la charge
des Calculateurs.
La seconde architecture de sécurisation consiste en un croisement
des Calculateurs MINI 6/92 et des machines DIRAM 32 qui assurent la
redondance en cas de panne sur l'un des 4 organes.
Chaque CDR d'une capacité de 1000 erlangs peut contenir jusqu'à
10 disques durs de 600 Mo chacun. Toujours en nombre pair, étant
donné que chaque fichier ou chaque donnée de l'annuaire
stocké(e) dans un Centre de Documentation Régional (CDR)
est systématiquement dupliqué(e) sur deux disques durs
différents. Il s'agit de la troisième architecture de
sécurisation.
4 Dérouleurs de Bande Magnétique 6250 bpi.
Un Centre de Documentation Régional de 2000
erlangs (CDR) est constitué par :
- 2 Interfaces FRONTAL CP8 interconnectées, pour permettre
l'accessibilité totale des recherches dans tous les organes
mémoire,
- 4 Calculateurs MINI 6/92 groupés par 2, chaque paire de Calculateurs
travaillant en partage de charge,
- 2 Chaînes de Recherche constituées chacune de 2 machines
DIRAM 32 de la société Copernique, soit 4 machines DIRAM
32.
Chaque CDR d'une capacité de 2000 erlangs peut contenir jusqu'à
20 disques durs de 600 Mo chacun.
Toujours en nombre pair, étant donné que chaque fichier
ou chaque donnée de l'annuaire stocké(e) dans un Centre
de Documentation Régional (CDR) est systématiquement
dupliqué(e) sur deux disques durs différents. Il s'agit
de la troisième architecture de sécurisation.
- 8 Dérouleurs de Bande Magnétique 6250 bpi.
Le Centre de Documentation National (CDN)
À partir de la mi-1984, un Centre de
Documentation National (CDN), regroupant l'ensemble des données
de tous les annuaires de France est mis en construction.
À partir du 7 mai 1985, le Centre de Documentation National
(CDN) s'interconnecte avec tous les Centres de Documentation Régionaux
(CDR) et permet à n'importe quel usager de France de rechercher
n'importe quel autre abonné au téléphone n'importe
où sur le territoire national.
Le Centre de Gestion de la Documentation Régionale
(CGDR)...
Chaque "Région Téléphonique"
est à titre transitoire équipée d'un Centre de
Gestion de la Documentation Régionale (CGDR).
Chaque Centre de Gestion de la Documentation Régionale (CGDR)
assure la mise à jour de la documentation annuaire concernant
les abonnés du seul Centre de Documentation Régional
(CDR) auquel il est rattaché (et tous deux implantés
dans le même local technique).
Chaque centre sert de liaison entre le système d'annuaire et
les fournisseurs d'informations : Agences Commerciales des télécommunications
(ACTEL), Office d'Annonce (ODA) et le Service National de lÉdition
des Annuaires des Télécommunications (SNEAT).
La périodicité nominale d'actualisation de la base de
données est de 15 jours.
Une fois mis en fonctionnement le futur Centre de Gestion de la Documentation
Nationale (CGDN), toute l'activité des Centres de Gestion de
la Documentation Régionale (CGDR) sera reprise par ce seul
Centre de Gestion de la Documentation Nationale (CGDN) et tous les
Centres de Gestion de la Documentation Régionale (CGDR) seront
démantelés ou recyclés sous forme d'une extension
des Centres de Documentation Régionaux (CDR).
Un Centre de Gestion de la Documentation Nationale (CGDR) est constitué
par :
- 2 Calculateurs MINI 6/92 travaillant en partage de charge,
- 2 Machines DIRAM 32 de la société Copernique.
- 8 Disques durs de 600 Mo chacun.
- 8 Dérouleurs de Bande Magnétique 6250 bpi.
Le Centre de Gestion de la Documentation Nationale
(CGDN)...
La France est à partir du 7 mai 1985
équipée d'un Centre de Gestion de la Documentation Nationale
(CGDN) situé à Rennes.
Le Centre de Gestion de la Documentation Nationale (CGDN) assure la
mise à jour de la documentation annuaire concernant les abonnés
du Centre de Documentation National (CDN).
Ce centre sert de liaison entre la tête du système d'annuaire
et les fournisseurs d'informations : Agences Commerciales des télécommunications
(ACTEL), Office d'Annonce (ODA) et le Service National de lÉdition
des Annuaires des Télécommunications (SNEAT).
La périodicité nominale d'actualisation de la base de
données est de 15 jours.
Le Centre de Gestion Réseau (CGR) ...
Comme sa dénomination l'indique, il s'agit de
superviser le fonctionnement en temps réel de l'ensemble du
Service de l'Annuaire Électronique. Ce centre a été
mis en service après l'année 1984.

Schémas basiques Architectures Télétel
et Annuaire Électronique, CI et CDR - CDN - 1987.
sommaire
Transit des communications Télétel-Videotex
/ Annuaire Électronique :
Les communications télématiques
commutées via les Commutateurs E10.5 PAVI ou E10.5 CTA de leur
zone d'installation sont acheminées au travers du Réseau
Téléphonique Commuté par les mêmes Commutateurs
de Transit du trafic téléphonique.
De manière générale, il est préférable
d'installer les Commutateurs E10.5 dans les mêmes locaux où
est implanté un Centre de Transit Secondaire (Régional
ou Urbain).
Il est en outre préféré de les installer à
proximité d'un Centre de Transit Électronique Temporel,
ou si l'on ne peut le faire autrement durant la phase de transition,
à proximité du Centre de Transit Électromécanique
de la zone devant être mis hors service en dernier.
Commutateur E10 CTA 1 Longchamp (SX51). Mis
en service le 8 février 1984.
Les premiers Commutateurs E10.5 PAVI et E10.5 CTA
de Tuileries ont été mis en service au début
de l'année 1984, parmi les tous premiers exemplaires de France.
Commutateur E10.5 Captif de Paris-Cévennes
destiné aux tests et à l'apprentissage.
sommaire
Parc de Commutateurs E10.5 en France Métropolitaine :
Toutes époques confondues, ont existé
au moins : en France - 326 Commutateurs E10.5
répartis comme suit :
- 110 Commutateurs E10.5 CTA,
- 189 Commutateurs E10.5 PAVI (dont 38 ex-CTA identifiés par
nos soins, sachant que 47 ex-CTA ont bien été convertis
en tout).
- 21 Commutateurs E10.5 affectés à d'autres usages.
Détail :
Paris Intra-Muros - 29 Commutateurs E10.5 répartis
comme suit :
- 13 Commutateurs E10.5 CTA,
- 2 Commutateurs E10.5 CTA MINICOM (36.12 messages entre Minitel),
- 14 Commutateurs E10.5 PAVI dont au moins 1 ex-CTA.
Île-de-France 1ère et 2ème couronne - 40 Commutateurs
E10.5 répartis comme suit :
- 14 Commutateurs E10.5 CTA
- 26 Commutateurs E10.5 PAVI dont au moins 9 ex-CTA.
Province - 251 Commutateurs E10.5 répartis comme suit :
- 81 Commutateurs E10.5 CTA
- 149 Commutateurs E10.5 PAVI dont au moins 28 ex-CTA.
- 21 Commutateurs E10.5 affectés à d'autres usages :
2 Commutateurs E10.5 SIGPHONE (Systèmes complexes de distributeurs
d'appels sur plateformes téléphoniques), 8 Commutateurs
E10.5 CORPAC (RADIOCOM 2000), 3 Commutateurs E10.5 CRT (Satellites
TELECOM 1), 3 Commutateurs E10.5 TRANSPAC, 1 Commutateur E10.5 BEFA
(répondeurs), 1 Commutateur E10.5 Monaco 3 (AP01) - (Téléphonie),
3 Commutateurs E10.5 PAVI réservés aux tests pour le
MEGAT.
Outre-Mer - 6 Commutateurs E10.5 PAVI (un par DOM + Nouvelle Calédonie
+ Polynésie Française).
sommaire
Architecture et descriptif de fonctionnement des
Commutateurs E10.5 :
Le système E10.5 est un système de
commutation téléphonique ou de données à
commande répartie entre plusieurs organes différents
et spécialisés. Il s'agit d'un système de
commutation temporelle.
Chaque organe est au minimum dédoublé pour assurer la
sécurité du système et ces organes fonctionnent
en service normal, en partage de charge.
Le Commutateur E10-5 constitue le premier commutateur du monde
où les fonctions de commande ne sont désormais plus
liées à des organes matériels strictement définis
et affectés à un unique rôle.
Désormais les fonctions de commande sont exécutées
par des logiciels implantés dans des stations de processeurs
banalisés, sous la forme de Machines Logiques (ML).
Ces Machines Logiques que l'on puisse caractériser comme virtuelles,
n'en accomplissent pas moins un travail bien réel...
Ce nouveau concept plus abstrait sera repris dans le futur système
de commutation ultérieur E10B3.
Son architecture matérielle est construite
sur 3 niveaux : 
- Le premier niveau est le système de Commande
qui regroupe les Unités de Commande (UC) qui assurent le traitement
des communications, la taxation, les accès aux mémoires
de masse (qui sont des Disques Durs Winchester), ainsi que la Défense
et l'Exploitation du Commutateur.
Les Unités de Commande de Données
(UCD) sont spécialisées pour le traitement des Communications
télématiques Videotex ou téléphoniques
du Kiosque Audiotel. (de 2 à 16 UCD par Commutateur E10.5 suivant
sa capacité souhaitée)
Les Unités de Commande de Signalisation (UCS) sont spécialisées
pour le traitement de la Signalisation en code CCITT n°7 (une
innovation). (de 2 à 3 UCS par Commutateur E10.5 suivant sa
capacité souhaitée)
Nota : UCD et UCS sont aussi nommées Unités de Commandes
Banalisées (UCB) suivant les documentations.
Les Unités de Commande de Périphériques (UCP)
sont spécialisées pour l'Exploitation et la Défense
du système, la gestion des alarmes ainsi que pour le Dialogue
Homme-Machine et l'accès aux Disques Durs avec le reste du
système. (4 UCP par Commutateur E10.5 quelle que soit sa capacité)
- Le deuxième niveau est le Réseau de
ConneXion interne du Commutateur (RCX) constitué en un Réseau
Temporel de type T à un seul étage, de telle sorte que
son fonctionnement soit garanti sans blocage : chaque voie entrante
trouve une voie sortante.
La capacité maximale du Réseau
de ConneXion (RCX) d'un Commutateur E10.5 permet de commuter temporellement
jusqu'à 128 Liaisons Numériques MIC normalisées
Entrantes de 32 voies chacune vers 128 Liaisons Numériques
MIC normalisées Sortantes de 32 voies chacune, soit 4096 voies
télématiques entrantes pour 4096 voies télématiques
sortantes.
Le Réseau de ConneXion (RCX) assure l'établissement,
le maintien et la rupture des communications télématiques
ou téléphoniques.
Pour raison de sécurisation, le Réseau de ConneXion
(RCX) d'un Commutateur E10.5 est dupliqué en 4 parties (4 plans
numérotés de 0 à 3) afin d'assurer une meilleure
protection du Commutateur. En effet, en cas d'avarie sur une des 4
parties du Réseau de ConneXion (RCX), le 3/4 restant indemne
peut continuer à fonctionner normalement. Chaque Plan du Réseau
de ConneXion (RCX) permet la connexion et le brassage des 128 Liaisons
Numériques MIC Entrantes vers 128 Liaisons Numériques
MIC Sortantes.
Pour raison de sécurisation, chacun des 4 plans du Réseau
de ConneXion (RCX) est lui-même divisé en 4 autres parties,
appelés "Commutateurs/Marqueurs" (numérotés
de 0 à 3). Chaque "Commutateur/Marqueur" permet la
connexion et le brassage des 128 Liaisons Numériques MIC Entrantes
vers 32 Liaisons Numériques MIC Sortantes. Ainsi, en cas d'avarie
d'un "Commutateur/Marqueur", les 3 autres "Commutateurs/Marqueurs"
continuent-ils de fonctionner...
Ainsi, par ces deux divisions combinées du Réseau de
ConneXion (RCX) en 16 parties équipollentes, le système
se trouve mieux protégé contre les avaries ou les surcharges
d'appels.
Ci-dessus : architecture du Réseau de ConneXion
d'un Commutateur E10.5, en configuration maximale, sur 4 Plans et
16 Commutateurs de base. Documentation Alcatel.
- Le troisième niveau est système de
raccordement constitué en Groupe d'Unités Terminales
(GUT) qui inclut :
les Circuits Numériques Voies (CNV) chargés
de connecter les Liaisons Numériques entrantes et sortantes
au Réseau de ConneXion (RCX),
les AUxiliaires MultiFréquences (AUMF) chargés d'émettre
ou recevoir les signalisations nécessaires à la bonne
coordination et à l'établissement des communications.
les circuits d'essais, circuits de mise en conférence, générateurs
de tonalités et diffuseurs de films.
l'ensemble des modems de différentes normes nécessaires
au traitement des appels de types télématiques (et propres
au Télétel) : normes V23, V24, V32, V27ter, V29 et accès
normalisés RNIS à 64kbit/s.
les Unités de Raccordement d'Abonnés de type CSE (dans
le cas dutilisation en commutateur d'abonnés tel qu'à
Monaco - Monaco 3 (AP01)).
- L'architecture matérielle d'un Commutateur
E10.5 est contrôlée par un logiciel fonctionnel découpé
en plusieurs modules.
Chaque module logiciel constitue une Machine
Logique (ML). Fait notable, il s'agit du premier Commutateur Téléphonique
Temporel utilisant le concept de Machine Logique (concept repris avec
succès dans les futurs Commutateurs E10B3 depuis 1991).
Ces Machines Logiques (ML) sont regroupées de manière
cohérente suivant leur rôle au sein de groupes cohérents
nommés Unités de Reconfiguration Logicielle (URL).
Les Unités de Reconfiguration Logicielle (URL) servent dans
le cadre du service normal à permettre à chaque Unité
de Commande (UC) d'accomplir son rôle dévolu suivant
son type prédéfini (UCD, UCP, UCS).
Les Unités de Reconfiguration Logicielle (URL) servent, en
cas d'avaries d'une ou plusieurs Unités de Commandes (UC),
à sauvegarder le fonctionnement global du Commutateur malgré
les défaillances : si une Unité de Commande (UC) tombe
en panne, les URL (et les Machines Logiques (ML) qu'elles contiennent)
se transfèrent d'elles-mêmes sur d'autres Unités
de Commandes (UC) de même nature pouvant les accepter, pour
que le Commutateur puisse continuer à fonctionner en "isolant"
les équipement matériels défaillants. (l'alarme
est donnée, ce qui permet aux équipes de techniciens
d'agir rapidement pour localiser la panne et revenir dès que
possible à une situation normale.)
sommaire
Convergence Télétel E10.5 PAVI et Annuaire Électronique
E10.5 CTA :
Progressivement, à partir de l'année
1991, nécessité se fait sentir de faire évoluer
l'architecture du Service de l'Annuaire Électronique (SAE).
L'infrastructure du Service de l'Annuaire Électronique date
de l'année 1980.
Les derniers Commutateurs spécialisés Annuaire Électronique
E10.5 CTA sont commandés en 1990 et mis en service en 1992.
Les deux E10.5 CTA mis en service le plus récemment en Île-de-France
sont : Beaujon CTA3 le 19 février 1992 (Télex du 10
février 1992) et Trudaine CTA4 le 14 mai 1992 (Télex
du 11 mai 1992).
Les serveurs Téléinformatiques de l'Annuaire Électronique
atteignent désormais un âge canonique, eu égard
à la vitesse de l'évolution informatique.
En raison de l'obsolescence des équipements informatiques et
des logiciels utilisés, plus aucune amélioration des
services n'est désormais possible.
La disponibilité des pièces de rechange, la cessation
de leur fabrication, l'évolution des langages logiciels font
que la vie du système en l'état va devenir erratique
à maintenir à terme.
Le 20 janvier 1992 au cours d'un colloque, commence la réflexion
sur cette évolution structurelle de grande ampleur.
L'ordre du jour en est : la Convergence CTA-PAVI.
Il est décidé d'implanter dès 1992 le protocole
VIDEOPAD (norme de dialogue des Commutateurs E10.5 PAVI) dans les
Centres d'Interrogation informatiques (CI) de l'Annuaire Électronique.
Ainsi, désormais les Commutateurs E10.5 PAVI pourront eux aussi
"dialoguer" avec les Centres d'Interrogation informatique
de l'Annuaire Électronique.
À partir de l'année 1992, la croissance du trafic Annuaire
Électronique supplémentaire est désormais assurée
par les Commutateurs E10.5 PAVI. Le cas se présente cette année-là
à Ajaccio et Lyon.
À partir de l'année 1993, la croissance du trafic Annuaire
Électronique est assurée par les Commutateurs E10.5
PAVI de Besançon, Bordeaux, Dijon, Marseille, Montpellier,
Orléans, Strasbourg, Toulouse et Paris. (Il s'agit d'une généralisation
de cette technique à toute la métropole.)
À partir de l'année 1994, il existe en service 136 Commutateurs
E10.5 PAVI et 88 Commutateurs E10.5 CTA. Il est envisagé de
transformer la totalité des 88 Commutateurs E10.5 CTA en Commutateurs
E10.5 PAVI pour harmoniser la structure en n'en faisant plus qu'une.
Lorsque les 88 Commutateurs E10.5 CTA seront convertis en Commutateurs
E10.5 PAVI, il est envisagé :
Pour les zones à fort trafic : de spécialiser une partie
des Commutateurs E10.5 PAVI en Trafic Télétel et l'autre
partie des Commutateurs E10.5 PAVI en Trafic Annuaire Électronique.
Cette spécialisation permet d'optimiser le rendement de chaque
Commutateur en les mettant en charge de manière optimale.
Pour les zones à faible trafic : d'acheminer par le(s) même(s)
Commutateur(s) E10.5 PAVI les trafics Télétel et Annuaire
Électronique simultanément via le Réseau Commuté
X25.
La totalité du trafic acheminé par les Commutateurs
E10.5 CTA est de 12.000 erlangs qui devront être réacheminés
par les Commutateurs E10. PAVI ainsi que par le Réseau Commuté
par Paquets TRANSPAC.
Le 4 mars 1994, le principe de transformation des Commutateurs E10.5
CTA en Commutateurs E10.5 PAVI est validé par France Télécom.
La conversion s'effectuera en 2 lots :
Le 1er lot de 61 Commutateurs E10.5 CTA sera converti en Commutateurs
E10.5 PAVI à l'échéance du 31 décembre
1995.
Le 2ème lot de 20 Commutateurs E10.5 CTA sera converti en Commutateurs
E10.5 PAVI à échéance du 31 juillet 1996.
Chaque Direction Régionale de France Télécom
doit choisir son scénario, suivant le nombre de Commutateurs
E10.5 en service et son trafic moyen à écouler.
Tous les Commutateurs E10.5 CTA doivent être convertis en Commutateurs
E10.5 PAVI pour le mois de Septembre 1996 pour préparer l'arrêt
total des acheminements affectés au 11 pour les réutiliser
pour le futur Numéro d'Appel des Urgences Européen le
112.
Le 28 mars 1994, la société Alcatel est sollicitée
pour réaliser les études de faisabilité de conversion
et fournir les devis.
Le 30 octobre 1994, les choix technologiques sont validés,
au niveau de la partie télématique. (changements ou
modernisation des serveurs, extensions etc...)
Novembre 1994, pour une durée de 3 mois, les Commutateurs E10.5
PAVI de Bordeaux et le Centre d'Interrogation (CI) de Massy sont choisis
pour expérimenter la mise en trafic réel entre Commutateurs
E10.5 PAVI et CI.
Le 26 décembre 1994, le marché de convergence E10.5
CTA / E10.5 PAVI est notifié par France Télécom
à la société Alcatel.
Au 31 décembre 1994, le Trafic Télétel atteint
87 millions d'heures pour 1200 millions d'appels,
Au 31 décembre 1994, le Trafic Annuaire Électronique
atteint 23 millions d'heures pour 780 millions d'appels.
Fin Février 1995, il est procédé au bilan des
sites prototypes convertis.
En Septembre 1996, ce sont finalement en tout 81 Commutateurs E10.5
CTA qui sont transformés en 47 Commutateurs E10.5 PAVI.
À cette date, tous les Commutateurs E10.5 en service en France
sont des E10.5 PAVI.
sommaire
Télétel et Minitel : un concept
en avance sur les techniques par Michel Feneyrol
Les services Télétel et le Minitel ont été
arrêtés, en 2012, par France Télécom,
après trente ans de fonctionnement. Au moment de leur apogée,
ils comptaient entre 20 000 et 30 000 services. Ce programme sinscrit
dans une stratégie plus large. A lépoque de
sa création les techniques de linformation et de
la communication (TIC) étaient beaucoup plus limitées
quaujourdhui.
Le système de vidéotex retenu par la Direction Générale
des Télécommunications (DGT), nétait
ni le plus précoce, ni le plus sophistiqué. Par
contre, le concept du service Télétel et son modèle
économique, avaient un quart de siècle davance.
Quelques faits et témoignages sur cette aventure.
Un projet dans le cadre dune large stratégie
Lorsque les travaux sur le vidéotex sont lancés
par la DGT, dans la deuxième moitié des années
1970, la France nest pas sortie de son endémique
retard dans le déploiement du téléphone auprès
des populations. Pendant des décennies, celui-ci avait
engendré de nombreux mécontentements des milieux
économiques et politiques. Cest, en grande partie,
cet état de fait qui avait conduit le Parlement, en 1923,
à créer le budget annexe
des PTT, plutôt quà privatiser télégraphe
et téléphone, comme certains le préconisaient,
en prenant exemple sur les Etats-Unis et le Bell Système.
Les recettes des abonnés financeraient le déploiement
et le fonctionnement du réseau et non les contribuables
et leurs impôts.
Le redressement des Télécommunications en France,
est le fruit de deux plans quinquennaux : le sixième et
le septième, et pour être complet dun complément
de financement en fin du cinquième. Le tout avec le montage
des sociétés de financement et le système
de leasing des équipements qui permettaient de ne pas remettre
en cause les grands équilibres budgétaires, tels
quils étaient comptabilisés, alors. Ce rattrapage
était porté par la bannière « Le téléphone
pour tous ». Ces plans assuraient quau plus tard en
1985, tous les foyers seraient raccordés à un réseau
téléphonique en cuivre, des plus modernes (câbles
à isolement plastique et commutation électronique).
Ceci acquis, la DGT a pris conscience, avant la fin des années
1970, de ce qui allait marquer lavenir après le téléphone.
Les transmissions de données (MIC), balbutiaient encore
mais la pression venant des grands groupes informatiques, IBM,
le « BUNCH », et Digital Equipement devenait forte.
Pour interconnecter leurs centres de calcul, ils navaient
comme solution que de louer des liaisons spécialisées
aux opérateurs. Elles étaient chères et en
plus les opérateurs étaient en monopole. Par ailleurs,
les protocoles de communication des équipementiers informatiques
étaient propriétaires, avec, par exemple, le plus
célèbre : SNA dIBM. Le lancement dun
système de satellite par IBM (SBS), pour court-circuiter
les liaisons spécialisées des opérateurs,
nest pas étranger au
mûrissement de la stratégie de la DGT.
Celle-ci se finalisa, progressivement, par une action à
trois niveaux :
- Lancement des satellites Télécom I pour contrer
SBS
- Mise au point dun système de commutation de données
par paquets, au protocole indépendant des constructeurs
informatiques (X25) et création de la société
Transpac.
Le protocole X25 fit lobjet de longues discussions pour
simposer en Europe et être reconnu par lUnion
Internationale des Télécommunications (UIT), qui,
à cette époque, régissait aussi les communications
de données.
- A la périphérie des réseaux dordinateurs,
ouverture pour tous dun réseau daccès
à partir dun terminal simple comme un téléphone,
le Minitel branché sur le réseau téléphonique.
Cette philosophie, téléphone pour tous, téléinformatique
pour tous, doit être complétée par la stimulation
industrielle de développement de télécopieurs
bon marché nommés « télécopieurs
pour tous ».
La DGT, avait bien anticipé que les données et les
communications décrit allaient être, après
la voix, le relais de croissance et constituer une part importante
des besoins grand public.
Il sest avéré que le satellite nétait
pas un bon support pour transporter les données. En particulier,
du fait des temps de propagation avec des transpondeurs situés
à 36 000 kilomètres. Par contre, les satellites
se révélèrent le meilleur moyen de diffusion
de la télévision, avec une possibilité de
couverture de la planète par trois satellites, judicieusement
positionnés sur lorbite géostationnaire. Les
coûts par chaines TV, sont de plusieurs dizaines de fois
inférieurs à de la diffusion hertzienne terrestre.
Transpac a connu un bon succès que na pas remis en
cause le « frame relay » ; lATM na pas
réussi à simposer. Ce sont, aujourdhui
les routeurs IP avec les techniques « best effort »
qui acheminent les trafics de données à travers
la planète. Triomphe des protocoles TCP/IP et surtout du
Web. Ces techniques conçues pour les données commencent
à se heurter avec le tout IP (VoIP, TVIP, Vidéo
IP
), à de redoutables problèmes de qualité
de service pour les services en temps réel (Net Neutralité)
malgré les améliorations apportées par le
MPLS et IPV6.
Videotex : des techniques archaïques aux vues de celles daujourdhui.
Lidée du videotex était que lutilisateur
lambda puisse consulter des textes sur un écran à
travers un réseau. Lécran prévu à
lorigine était le téléviseur, car il
était de loin le plus répandu dans les foyers. Il
fallait lui adjoindre un clavier. Le seul réseau, alors
disponible était celui du téléphone. Pour
le terminal, il nexistait pas décran plat ;
la première idée de lutilisation du téléviseur
sest rapidement heurtée au fait que dans les
foyers, il était un écran collectif réservé
à la télévision. Cest ce qui a fait
pencher, rapidement, en France, pour un terminal dédié
: le Minitel. La cible dun marché de masse a imposé
un terminal bon marché ; doù un petit tube
cathodique noir et blanc associé à un petit clavier.
Une version de clavier alphabétique pour sadapter
à des usagers peu habitués aux claviers dactylographiques,
sest rapidement révélée comme une fausse
bonne idée et on est revenu au clavier dit AZERTY. Les
interfaces graphiques et tactiles étaient alors, loin dêtre
disponibles. Le terminal était branché sur la prise
téléphonique, en parallèle avec le téléphone.
Dans des versions suivantes, téléphone et Minitel
ont été intégrés : Minitel 12, puis
Sillage doté dun un mini écran
plat
Les trafics du Minitel étaient concentrés, à
travers le réseau téléphonique local, sur
un point daccès vidéotex (PAVI,
) qui
assurait linterface avec le réseau de données
Transpac. Ce dernier acheminait requêtes et réponses
jusquaux centres serveurs des fournisseurs de services.
Internet était encore confidentiel et essentiellement dusage
universitaire ; très peu de foyers disposaient dun
ordinateur. En bref, en France, un terminal simple et peu coûteux
dédié, lutilisation du réseau téléphonique
bas débits (quelques dizaines de Kbit/s, pas de quoi recevoir
des images), le réseau Transpac pour connecter des ordinateurs
serveurs souvent peu puissants (Mitra
).
Le vidéotex dans quelques pays
Les Britanniques sétaient lancés tôt
dans le développement dun système appelé
Prestel, assez simple comme le système français.
Allemands et Japonais avaient misé sur des systèmes
plus sophistiqués quant à laffichage (graphiques,
images, couleur
) : le Bildschirmtext outre Rhin et le système
Captain sur les iles du Soleil Levant. Ces systèmes nont
pas connu le succès du Minitel et de Télétel,
non pour des raisons techniques, mais essentiellement du fait
des choix faits pour la commercialisation et la rémunération
des services. En fait le service vidéotex était
une convergence entre télécommunication et audiovisuel,
mais surtout entre télécommunication et informatique.
Cétait laccès à tous de certaines
informations écrites et de données sur des ordinateurs
distants : la télématique, mot inventé à
loccasion du rapport Nora Minc.
Télématique mot mieux approprié que Internet
ou services en ligne ; car, en ligne, on reçoit maintenant,
tout autant, des conversations, de la diffusion de radio et télévision,
que du texte et des données de façon interactive.
Dautre part, TCP/IP dinternet est devenu un protocole
utilisé aussi pour la téléphonie ToIP et
la télévision TV.IP
Télétel, Minitel, un concept de service qui a fait
des émules La réussite de services télématiques
suppose, dune part, une large pénétration
des
terminaux capables de les recevoir chez les résidentiels,
dautre part, un système qui permette de rémunérer
les fournisseurs de service.
A ces égards, deux décisions ont été
déterminantes pour le système Télétel,
Minitel : la fourniture gratuite, plus exactement incluse dans
labonnement téléphonique, du Minitel, et,
linstauration dune fonction dite « Kiosque »
pour rémunérer les fournisseurs de services.
Très tôt, la DGT a décidé de lancer
un projet dannuaire téléphonique numérique,
en fournissant le contenu, mais par contre en nétant
quun intermédiaire de transport pour les autres services
de consultation en ligne de contenus et applications (services
Télétel)
- Lannuaire électronique
Avec la croissance du nombre dabonnés, la fourniture
des annuaires papiers (Pages blanches et jaunes), les services
de renseignements manuels devenaient de plus en plus dispendieux.
En fournissant un annuaire électronique, les économies
réalisées à terme compenseraient la distribution
gratuite du Minitel à des abonnés qui ne recevraient
plus lannuaire papier. Le projet annuaire électronique
fut lancé dans la région Bretagne, siège
de deux centres de recherche importants : le CCETT à Rennes
et le CNET à Lannion.
Des travaux davant-garde ont été conduits,
pour guider et faciliter les requêtes des demandeurs (orthographe,
sémantique, extension aux zones proches, mise à
jour, etc.).
Ils sont à la base du succès remporté par
lannuaire auprès dun public peu formé
à linformatique.
- Le service Télétel
Lamorçage du développement des services Télétel
en grandeur réelle, sest fait, en 1981, lors de lexpérimentation
de Vélizy dans les Yvelines. Lopérateur de
réseau, la DGT avait convié des fournisseurs potentiels
de services à tester leurs projets avec des abonnés
réels de cette zone de banlieue parisienne riche en activités
industrielles et commerciales et en résidences de CSP.
Elle fournissait lessentiel de la logistique. Ce processus
est devenu courant maintenant dans le monde internet. Lenthousiasme
engendré lors de lexpérimentation de Vélizy
a ensuite, rapidement, fait place au retour aux réalités
économiques afin de passer aux phases opérationnelles.
Sans revenir sur les craintes et les positions hostiles de certains
organismes de la Presse écrite qui craignaient pour leurs
recettes de publicité mais surtout pour celles des petites
annonces, il est clair que certains organismes de lédition
de textes papiers (Groupes Lagardère, Amory
) étaient
confrontés à de réels problèmes économiques.
Du type promouvoir Télérama, les résultats
sportifs sur Télétel, sans rémunération
et perdre des clients sur les ventes par abonnements et dans les
kiosques à journaux. La rémunération des
services télématiques était une question
de survie. Des organismes comme, la météo, des magazines
boursiers avaient des problèmes semblables. Par contre,
des projets de vente à distance comme celui dInterflora,
de réservation de spectacle ou touristique étaient
peu sensibles.
A cette époque, la DGT venait de créer, dans sa
direction commerciale, un service consacré à la
clientèle professionnelle. Il reçut le nom de Service
des Télécommunications et de La Télématique
professionnelle (STTP). A ce titre, il fut en charge de la négociation
avec les nouveaux clients professionnels quétaient
devenus les fournisseurs de services Télétel. Des
réunions régulières furent initiées,
afin de traiter de la suite à donner à lexpérience
de Vélizy. Le nouveau service avait entrepris de monter
un département responsable des relations avec les fournisseurs
de services et de suivre leurs expériences et lancements
dapplications. Ce département était structuré
par branche : industrie, commerce, agriculture, tourisme, médecine,
éducation
Dans les discussions avec les représentants
des professions, il est rapidement apparu que la phase opérationnelle
ne pouvait réussir, que si les fournisseurs dinformations
et dapplications pouvaient être correctement rémunérés.
Il a donc été décidé détudier
une solution où certains contenus seraient payés
par les consommateurs sur leurs factures téléphoniques.
De son côté, la DGT rémunérerait les
fournisseurs de services en mesurant les trafics quils injectaient
dans le réseau à partir de leurs centres serveurs
dûment répertoriés. La DGT assurerait la fonction
kiosque comme le font les boutiques de vente de presse sur la
voie publique. Ce principe admis, le problème, dans la
négociation, fut de fixer des tarifs. Les positions étaient
très contrastées entre les tenants de tarifs faibles,
dans le but de limiter la concurrence vis-à-vis des médias
traditionnels et ceux qui visaient des prestations complexes ou,
en marginalité, comme les messageries roses.
Au mois dAoût 1983, sur proposition du président
du groupe de travail avec les représentants des fournisseurs,
il fut décidé de commencer par un seul niveau de
tarif pour des services obtenus par le numéro 3615. Le
consommateur paierait 80 Francs de lheure : 60 F iraient
aux fournisseurs de services, 20 F (25%) reviendraient à
France Télécom pour rétribuer le coût
du service rendu ; une grande partie de ce coût était
relative aux risques dimpayés. Et, ce nétait
pas un fantasme, de nombreux ménages se firent surprendre
par des factures hors du commun parce que, à titre dexemple,
un membre de la famille sétait attardé sur
des sites de rencontre ou avait joué en ligne, pendant
plusieurs jours, pour rivaliser avec les concurrents du tour du
monde en bateau.
La DGT payait, rubis sur longle, au vu des trafics observés
les fournisseurs de services et sefforçait de récupérer
les montants auprès de ses abonnés. Les impécunieux
étaient mis en service restreint, y compris pour le téléphone.
De facto, la DGT devenait un intermédiaire financier ;
ce qui nétait pas prévu dans ses statuts.
Les milieux financiers et bancaires réagirent fortement.
Ministre des PTT et Direction Générales des Télécommunications
eurent à sexpliquer devant le Ministère des
finances. Mais le succès trouvé auprès des
fournisseurs de services dont beaucoup dorganismes de presse,
fit que ce lancement de la fonction kiosque, en coup de force,
non seulement ne fut pas remis en cause, mais assura la réussite
du développement dune large palette de services Télétel.
Certaines des start-up dalors sont devenues des sites parmi
les plus
connus sur Internet ou des opérateurs de Télécom.
Ensuite la DGT, puis France Télécom ont introduit
plusieurs niveaux de tarifs.
Cette innovation du kiosque, fut présentée, en 1983,
au salon international de la bureautique, le SICOB, qui se tenait
alors au CNIT à Paris. Il est intéressant de rappeler
quelques réactions. La délégation de lopérateur
japonais indiquant que jamais le gouvernement permettrait un tel
montage ; une PME, japonaise invitant un représentant de
la DGT à venir le rencontrer au Japon pour essayer de se
diversifier dans un tel service, des américains de Californie
de même. En fait ces pays nautorisèrent pas
une intermédiation financière spécifique
en faveur des fournisseurs de services vidéotex ; il ny
eu pas non plus de terminal bon marché. Le développement
du vidéotex, de ce fait, neut que peu de succès.
Distribution dun terminal simple le Minitel, par les techniques
dalors, dialogues simples avec lutilisateur, limitation
de la DGT à la fourniture et lhébergement
du seul service annuaire, fonction Kiosque et liberté pour
les fournisseurs de services, ont été les clés
du succès de Télétel et le Minitel, en France.
Cest labsence de cette alchimie dans des pays comme
la Grande Bretagne, lAllemagne et le Japon qui ont fait
que des
techniques plus performantes nont pas réussi à
percer.
Plus tard, le Japon avec li-mode, Apple avec liPad,
le système dexploitation iOS et les Apple Store,
ont repris avec succès un système qui permet de
résoudre le principal problème économique
des services télématiques en ligne ; rémunérer
les créateurs, éditeurs de contenus et application
qui sont la source de valeur que le consommateur recherche à
travers les réseaux dont la valeur du transport devient
accessoire à la
prestation globale.
Michel Feneyrol, ancien Directeur du CNET et ancien membre du
collège de lARCEP |
sommaire
Des services en ligne « propriétaires
» au Web ouvert : lémergence de Wanadoo
par Michel Atten et Valérie Schafer
LInternet par France Télécom a souvent été
considéré comme subissant lombre étouffante
de son ancêtre encombrant, le Minitel, devenu le représentant
archétypique de la rigidité des grands opérateurs
nationaux en situation de monopole. Lémergence de
Wanadoo date, aujourdhui, un temps suffisant pour
commencer à recueillir les souvenirs dun certain
nombre dacteurs directement impliqués dans cet épisode,
de les confronter à une littérature publique ou
grise importante et accessible, même si ce temps court exclut
laccès à toutes les archives.
Cest ce que lAHTI se propose de faire en organisant
à lautomne 2013 une séance publique avec laide
de certains acteurs et de leurs souvenirs. Une telle initiative
ne doit en aucun cas être considérée comme
une volonté dignorer les autres pionniers, de confiner
la mémoire aux seuls opérateurs dominant le marché
- Wanadoo, le fournisseur daccès à Internet
(FAI) du groupe France Télécom, nest pas le
premier à offrir un accès Internet à quiconque
vivant en France. Au contraire nous souhaitons par ce biais susciter
un intérêt pour lhistoire des FAI.
La France a vu fin juin 2012 la fin du trafic Minitel provoquée
par larrêt du réseau Transpac. Ses usages,
son trafic, le chiffre daffaires généré
par les contenus en ligne ont progressivement décru dans
la seconde moitié des années 1990 et les années
2000 au profit des usages de lInternet et du Web, tout en
conservant malgré tout des usagers fidèles jusquà
son extinction. Si le grand public lie clairement le monde des
Télécommunications au développement du Minitel,
il lassocie beaucoup moins au développement de lInternet
en France, voire lui attribue un « retard » français
dans
lInternet. Effectivement il est indéniable que les
premiers pas de lInternet nont pas été
portés par le monde des télécommunications.
Mais, dès les premiers travaux qui anticipent louverture
en 1993 de RENATER, Réseau national pour la technologie,
lenseignement et la recherche, France Télécom
a commencé à faire lapprentissage de lInternet.
Toutefois le véritable tournant, sa « grande conversion
», est à dater de la .Nous accueillerons autour de
cette table Roger Courtois, Yves Parfait, Daniel Sainthorant et
Léon Surleau, mais les femmes et les hommes ayant contribué
aux prises de décision ou/et au lancement deWanadoo sont
évidemment plus nombreux. Outre Jean-Jacques Damlamian
et Gérard Emery dont les rôles ont été
très importants, il faut mentionner au sein de léquipe
de lancement Marie-Christine Allais, Olivier Bon, Philippe Dewost,
Georges Even, Patrick Guet, Bertrand Gouze, Jean Lebrun, Daniel
Le Rest, Fazal Makid et bien dautres encore. Ce papier,
provisoire, est une invitation à la séance publique
de lAHTI doctobre.
Comment France Télécom entre-t-il dans la fourniture
daccès à Internet et sinsère-t-il
dans un paysage des FAI encore peu structuré mais déjà
bien réel ? Avec quels atouts mais aussi quels freins,
quelles expériences, présupposés et ambitions?
Lhistoire de la genèse et des premières années
de développement de Wanadoo intéresse celle des
télécommunications et de linformatique à
plusieurs niveaux :
Elle enrichit bien sûr lhistoire de lInternet
et du Web, en permettant de pénétrer dans les coulisses
du développement du « réseau des réseaux
» et dun marché dont les différentes
étapes sont encore mal connues. A ce jour aucune étude
historique dampleur ne sest, à notre connaissance,
intéressée de manière détaillée,
au plan français ou même international, à
lhistoire des FAI. Des offres préexistent ou se créent
en même temps que Wanadoo. Certains se souviennent peut-être
dOléane ou encore de Calvacom, ou des modèles
de tarification complexes des premiers temps
de lInternet grand public. Rappelons derrière Franck
Rebillard quà côté d'entreprises pionnières
comme celles précédemment évoquées,
l'offre commerciale d'accès à l'internet est au
départ assurée par une myriade de SSII de taille
souvent modeste et d'implantation locale (plusieurs à Paris,
mais également DTR à Lyon, Aurec Vidéo en
Auvergne, ...), avant quun Comité interministériel
sur les «autoroutes et services de l'information »
présidé le 16 octobre 1995 par François Fillon,
Ministre des Technologies de linformation et de la Poste,
décide que « chaque français pourra joindre
son fournisseur d'accès à Internet au prix d'une
communication locale », favorisant la constitution dun
marché national concentré autour de quelques FAI
denvergure, dont France Télécom - Wanadoo.
Lhistoire de Wanadoo enrichit également lhistoire
des télécommunications et celle de la convergence.
Elle permet danalyser comment lopérateur historique
se convertit à lInternet, les réticences qui
sexpriment en son sein mais aussi ses alliés, le
statut du projet, ses acteurs, les ruptures quintroduit
le passage à lInternet mais aussi les continuités
par rapport à des développements et travaux antérieurs
(participation dune équipe de lODA par exemple
qui avant sest illustrée dans le Minitel
).
Cette histoire est également une histoire industrielle,
qui implique le développement dun projet de grande
ampleur, au plan non seulement des infrastructures mais du logiciel
ou de la mise en place de la tarification. La capacité
de passer à échelle et de soutenir une croissance
impressionnante au cours de la seconde moitié des années
1990 constitue un défi technique majeur porté par
FTI (France Télécom Interactive)
mais aussi Bull et ses partenaires.
Bien sûr lhistorien des techniques et de linnovation
est aussi tout à son aise dans cette histoire, notamment
dans lanalyse des continuités et ruptures au plan
des contenus, que lon pense par exemple aux hésitations
initiales sur le choix de loffre de services, qui doit trancher
entre un modèle de vitrines interactives aux parcours préconçus
et pensés par les opérateurs ou le choix de la navigation
dans locéan du Web, au risque de sy noyer.
Les historiens des entreprises et de léconomie nont
rien à envier à ceux de linnovation, quils
analysent la recherche dun modèle économique
tenable ou la promotion de Wanadoo, la création dune
culture dentreprise, la mise en place de discours et de
services daccompagnement dune clientèle qui,
peu à peu, doit se décider au sein doffres
et campagnes de commercialisation, qui passent par des packs et
des offres toujours plus nombreuses et séduisantes.
Lhistoire de Wanadoo (et plus généralement
celle des FAI) est donc un terrain détude qui nous
semble particulièrement fécond et intéressant
pour lAHTI. Elle permet de concilier ses deux pôles,
informatique et télécommunications, au sein dun
même sujet, comme elle le fit au cours dautres rencontres
par le passé, notamment celle sur les premiers réseaux
de données à commutation de paquets.
Nous centrerons cette première approche autour de la seconde
moitié des années 1990 pour plusieurs raisons :
parce que les années 1995-1997 semblent être un moment
charnière pour ce qui va devenir la forme dominante
des services daccès en ligne, non seulement en France
mais également et surtout dans les pays les plus avancés,
notamment les États-Unis et le Canada ; parce que ces années
voient se dessiner les diverses options de combinaison entre opérateurs
de « tuyaux », fournisseurs de contenus, créateurs
de services en ligne, entreprises de service ; parce que cette
période voit lensemble des acteurs à la recherche
dun mode de financement, de business modèles ; parce
que les croissances du nombre des utilisateurs grand public
et pas seulement professionnels ou des entreprises vont
bientôt connaître des taux faramineux, exceptionnels
et donc poser des problèmes dinvestissements et déquipements
redoutables, et conduire à la réintroduction au
cur du système des
acteurs jusqualors contournés, les opérateurs
géants de la téléphonie, des télécommunications,
non pas tant à cause du phénomène de monopole
on est en pleine période de dérégulation
dans le monde que par le fait quils possèdent
une qualité totalement incontournable, laccès
filaire à des centaines de millions de foyers, de citoyens
En effet, des réseaux reliant des ordinateurs
existent au milieu des années 1990 depuis plus dune
vingtaine dannées, notamment en Amérique du
nord. Ils sont organisés et gérés par des
compagnies fabricant des ordinateurs (IBM, DEC, Honeywell
),
des administrations étatiques (militaires, police, ministères
divers, agences fédérales et/ou des Etats
),
des banques, agences de crédits ou financières,
des universités et centres de recherche (CSnet, NSFnet
), des groupes industriels
et aussi à partir
des années 1980 des utilisateurs passionnés (hackers,
étudiants, communautés diverses
). Si bon nombre
de ces réseaux ont des ramifications internationales
certains dès le départ comme les réseaux
des compagnies aériennes (SITA) ou bancaires (SWIFT)
la plupart sont strictement réservés à une
profession, une institution internationale (Interpol), une entreprise
multinationale malgré les efforts inlassables de groupes
duniversitaires fortement soutenus par les autorités
au plus haut niveau (DARPA, NSF
) ou par des universités
(UUNet) pour développer des outils permettant leur interconnexion.
Car ils sont incompatibles comme le sont les OS et les protocoles
déchanges des machines qui les supportent. Une situation
qui évolue rapidement au début des années
1990 par la conjonction de plusieurs pistes : des microordinateurs
devenus plus accessibles et équipant de façon croissante
PME, professions libérales et foyers, des outils simplifiant
les échanges entre usagers (routeurs, html
), des
membres du congrès américain se décidant
à permettre au réseau le plus évolué
mais jusqualors strictement réservé au monde
de la recherche et de léducation publiques, Internet,
dévoluer vers une ouverture à tout type déchanges.
Mais certaines entreprises navaient pas attendu ce moment
pour proposer des services en ligne de toute nature à leurs
abonnés sous la forme dun accès via leur réseau
à de très nombreux sites, grâce à leurs
accords exclusifs avec une gamme dentreprises, de fournisseurs
de service. On a désigné ceci de services propriétaires
(sur le modèle des chaînes de télévision).
Ce sont ces compagnies (Compuserve, American on line, Prodigy)
qui dominent par leur nombre dabonnés le marché
nouveau des services en ligne dans la plupart des pays occidentaux
mis à part la France.
Toutefois, lannée 1995 semble représenter
une inflexion marquée entre autres par le changement de
stratégie du leader américain et mondial du logiciel,
Microsoft qui, distancié par ses concurrents (notamment
en nombre dabonnés reliés à leurs réseaux
respectifs), les prend à revers en renonçant à
sa propre logique propriétaire (MSN) pour bientôt
adjoindre à son produit phare, le système dexploitation
et ses applications liées à
Windows 95, un accès au réseau des réseaux
et au web. Cest à cette époque, semble-t-
il, que se font jour les premières initiatives de structures
associées au Groupe France Télécom (au sein
de France Télécom Multimédia, une petite
structure filiale dirigée par Gérard Eymery), mais
aussi sous la forme dun « feu vert » au plus
haut niveau (des décisions dexpérimentation
adoubées par Marcel Roulet le Président et Charles
Rozmaryn, le DG de France Télécom) et sous la pression
internationale et française.
Plusieurs petites entreprises se sont en effet déjà
investi dans la fourniture de services en ligne via des microordinateurs
utilisant, entre autres, des serveurs accédant aux réseaux
US pour des PME surtout, mais également pour des particuliers
(professions libérales, grand public) : citons Oléane,
Altern B, FDN, Calvacom, Imaginet, Francenet, EUnet France, Club
Internet
Plusieurs projets de lopérateur France Télécom
émergent de façon plus ou moins indépendante,
selon des logiques et des savoir-faire acquis antérieurement.
Le premier est le fait dune équipe « Innovation
» de lODA (Office dannonces et futur Pages Jaunes)
dirigée par Daniel Sainthorant. Patronnée par lAgence
de communication Havas et France Télécom, cette
structure déjà ancienne a participé activement
(versant
marketing) au développement de lannuaire électronique
du projet Télétel dans les années 1980. A
ces relations fournies, multiples et créatrices avec de
nombreuses sociétés de services alimentant loffre
du Minitel, cette équipe ajoutera sa connaissance du terrain,
du tissu des nombreuses très petites entreprises, des artisans
aux commerçants quadrillant le territoire, en contribuant
à un renouveau des annuaires papier (surtout professionnels)
aux côtés de lannuaire électronique
au début des années 1990. « La consultation
des annuaires électroniques et des supports papier a même
progressé de 50 % depuis cinq ans », assure le Syndicat
national des annuaires. Cest donc cette équipe qui
est choisie par FTM (France Télécom Multimédia)
pour élaborer un projet de « galerie marchande »
(nom de code VP 96 vie pratique) dont le lancement public
est prévu pour 1996 et qui après quelques péripéties
va se rebaptiser, à lissue de séances de brainstorming
professionnel du nom de Wanadoo jugé plus vendeur
pour un service High Tech, plus conforme aux canons du marketing
de lépoque. (Contribution de D. Sainthorant)
Une seconde initiative trouve sa source au sein de la Direction
commerciale de France Télécom dirigée par
Jean-Jacques Damlamian qui confie à un de ses collaborateurs,
Yves Parfait, le soin de constituer une petite cellule et dacquérir
des compétences en participant aux travaux du Réseau
de lenseignement et de la un rôle leader. Convaincue
de la pertinence et de limportance croissantes de la technologie
basée sur recherche RENATER, créé en 1993
et au sein duquel lINRIA notamment joue le protocole TCP/IP
(une techno concurrente de celles développées
par le Centre de recherche du Groupe, le CNET) et des outils nouveaux
inventés avec ou dans la suite du Web (HTML, navigateur
Netscape), la cellule de Yves Parfait commence un travail déducation
interne au Groupe et élabore les prémisses dune
offre potentielle daccès au « réseau
des réseaux » et au web basée sur la technologie
IP et sur les outils dores et déjà disponibles.
Les deux initiatives vont se rapprocher rapidement sous la houlette
de Gérard Eymery, le directeur de France Télécom
Multimédia (FTM), la filiale chargée de promouvoir
de nouveaux services innovants. Pour diverses raisons dont une
liée probablement à lévaluation du
risque déchec, ce dernier décide de promouvoir
la nouvelle entité de services en ligne innovante,
la Galerie marchande
en créant une filiale spécifique
de FTM (qui nest pourtant pas une grosse entité)
baptisée France Télécom Interactive (FTI),
pour laquelle il recherche un homme à la fois hors du sérail
et qui connaît suffisamment la grande maison pour avoir
quelques chances de réussite dans une démarche qui
lui paraît risquée. Doù le recrutement
par Gérard Eymery dune vieille connaissance, Roger
Courtois, un ingénieur côtoyé sur les bancs
de lENST à la fin des années 1960. Après
quelques années dans léquipe de Jacques Dondoux
au CNET, celui-ci quitte la DGT pour créer sa propre entreprise
développant, entre autres
applications, des outils pour le minitel. Les objectifs de la
nouvelle entité FTI, dotée dun président
(Roger Courtois) et de deux directeurs généraux
(Yves Parfait DG et Daniel Sainthorant DGA), sont présentés
publiquement lors de la conférence de presse tenue le 12
janvier 1996 par un membre du Comité exécutif du
groupe France Télécom, nommé récemment
à la tête de la branche Développement, Jean-Jacques
Damlamian et
Gérard Eymery Président de FTM. Le groupe sengage
sur trois points :
- le lancement dun accès Internet pour le grand public
(accès au même tarif la communication locale
- quelque soit le point du territoire),
- la commercialisation dune offre Internet complète
(soit lannuaire électronique, les services télétel
et des services en ligne nouveaux dont les offres partenaires
(Wanadoo, France en ligne, Multicâble et Infopro)
- lévolution du Minitel.
Lévolution du Minitel, nécessaire (il sappuie
sur des technologies datant des années 1970-1980), est
aussi une façon de réaffirmer le maintien de cet
accès à quelque 23 000 fournisseurs de services
et autant que possible de cette source de revenus (il serait irresponsable
de négliger un chiffre daffaires de plus de 6 milliards
de francs, même partagé avec les fournisseurs de
services).
La baisse des coûts (accès à la durée
au prix dune communication locale quelque soit le lieu du
territoire), revendication ancienne des jeunes PME installées
aussi en Province (Calvacom, Francenet
) est devenue incontournable
depuis sa reprise par le ministre François Fillon lors
du comité interministériel de novembre 1995.
Si FTI-Wanadoo ne semble au début 1996 quune des
pistes davenir, elle va rapidement simposer comme
la filiale Internet du Groupe. (Contribution de R.Courtois).
Derrière lapparente imprécision, voire indécision
sur le type de service à construire et la multiplication
des essais (FT est impliqué dans de nombreuses initiatives
avec des partenaires du monde des médias et de la publicité
: FTI-Wanadoo avec lODA et lagence Havas, France en
ligne avec Filipacchi et Bellanger, Multicâble avec la Lyonnaise
des Eaux (pour les réseaux de télévision
câblée) et Infopro avec le quotidien Les Echos et
lagence Publicis), se cachent les débats de fond
entre fournisseur de « tuyaux », de contenus, réseaux
propriétaires et/ou réseaux ouverts,
notamment sur la manière de financer et rentabiliser les
investissements qui semblent importants. « On a beaucoup,
beaucoup parlé dInternet en France en 1995, assure
la journaliste D. Nora mais cet effet de mode, en fait, dépasse
largement la pénétration dInternet dans les
foyers français pour linstant » (elle parle
de 10 à 20 000 français ayant un usage domestique
fin 1995). De plus, « Il reste à définir léquation
économique du
commerce électronique sur Internet. Si lusage de
la messagerie (Email) est déjà largement répandu
aux Etats-Unis, rares sont les firmes qui gagnent de largent
sur le réseau ». Si les pistes projetées en
1995 vont être progressivement abandonnées en 1996,
le débat sur quels types de services offerts sous
quelle forme et à quel prix va occuper le devant
de la scène tant en France que dans le reste du monde dans
les années 1996-97, notamment pour se clarifier entre FAI
(Fournisseur dAccès à Internet) avec une gamme
de tarification (à lacte, à la durée,
au forfait) et fournisseurs de contenus (rémunérés
par la publicité ou par abonnement forfaitaire) (contribution
de Y. Parfait).
Enfin, dès la conférence de presse de janvier 1996
annonçant le tournant stratégique de France Télécom
(salué par un acteur de poids à cette époque,
J. Clark, PDG de Netscape : « Il sagit de la politique
la plus offensive et globale dune compagnie de téléphonie
dans le monde » concernant Internet), certains se posent,
à juste titre nous semble-t-il, la question des compétences
à tous les niveaux (techniques, financier,
marketing
). Une croissance de quelque 15 % par mois du nombre
dabonnés revient rapidement « à changer
le moteur de lavion en plein vol » pour reprendre
une expression classique chez les spécialistes. «
Il va falloir mobiliser et former [
] ; les équipes
en province (?) auront-elles le savoir-faire technique nécessaire
Les agences commerciales sauront-elles vendre ce nouveau
produit qui faisait sourire certains hauts fonctionnaires de lentreprise
il y a quelques mois à peine ? » Si les recrutements
de la filiale Wanadoo qui devient rapidement lemblème
de linternet de France Télécom font face les
premiers mois, lenjeu est rapidement évalué
et la petite filiale va confier à Bull, après une
large consultation, le soin de réaliser une version industrielle
du système daccès à Wanadoo (contribution
de L. Surleau).
Michel Atten (Laboratoire Techniques, Territoires et Sociétés,
LATTS) et Valérie Schafer (Institut des sciences de la
communication du CNRS). |
sommaire
|