Naissance de la commutation électronique
Le mot électronique, qui désigne
d'abord les faits et théories relatifs à l'électron,
prend un sens technique au milieu du XXe siècle.
Les inventeurs qui ont développé les industries et techniques
qui utilisent l'électricité télégraphe,
éclairage électrique, moteur électrique, téléphone,
radiocommunication, ont travaillé empiriquement, tandis que
les savants élaboraient une théorie électronique
de la matière.
La notion d'« appareil électronique
» surgit du classement des dispositifs de détection des
ondes radio, dont les principaux sont le récepteur à
cristal, un semi-conducteur dont la théorie est alors «
incomplètement connue».
Le développement de la technologie
des semi-conducteurs, ou microélectronique, a eu une forte
incidence sur les ordinateurs, ce qui a profité à plusieurs
industries de services, et il a également été
un facilitateur majeur de nouvelles combinaisons de produits et de
technologies.
Il y a eu trois développements fondamentaux dans la révolution
électronique et informatique :
- premièrement, le passage de la technologie électromécanique
aux semi-conducteurs,
- deuxièmement, le développement des principes de programmation
dans les ordinateurs ;
- troisièmement, la technologie numérique.
Ces trois développements ont radicalement changé le
secteur des télécommunications.
sommaire
On peut dire que le début de l'électronique
commence en 1904, que le père de l'électronique est
John Ambrose Fleming.
1904 L'anglais
John Ambrose Fleming (1849-1945) le 16 novembre 1904, breveta
le tube redresseur à deux électrodes, qu'il appela
grille oscillatrice.
On appelait indifféremment ce composant lampe à
effet thermoïonique, diode à vide, « kenotron
», tube thermoïonique ou redresseur de Fleming et même
"valve".
Cette invention est à l'origine de lélectronique
: son fonctionnement repose sur un flux d'électrons ; les
applications précédentes de l'électricité
se fondaient sur des lois empiriques dégagées au
cours du XIXe siècle. C'est le premier redresseur à
lampe.
En plus de son utilisation comme détecteur d'ondes radio,
il a également été utilisé comme redresseur
d'alimentation, convertissant le courant alternatif en courant
continu continu.
La valve de Fleming peut être considérée comme
l'un des premiers vrais composants électroniques : la diode.
Ferdinand Braun avait décrit la diode à cristal
dès 1878, mais l'invention du tube, plus susceptible d'une
production industrielle, l'avait fait considérer comme
obsolète.
|
 |
Valve Fleming
| 1906 en insérant une
grille entre lanode et la cathode d'une lampe diode (brevetée
en 1904 par le Britannique J. A. Fleming), l'Américain
Lee De Forest invente la première triode
nommée Audion : un tube à vide capable de
provoquer lamplification dun signal électrique.
Demblée, ce brevet est attaqué pour plagiat
par Fleming.
LAudion était le premier composant
capable damplifier, même encore faiblement, les
signaux radio ; mais pour beaucoup dobservateurs, de Forest
n'avait fait que doter la valve de Fleming dune électrode
à grille : pour le reste, il sagissait de lampes
à filament émetteur et plaque réceptrice
dans un tube à vide.
De Forest défendit avec énergie l'originalité
de son invention, la décrivant comme un relai amplificateur
de courant, alors que la valve de Fleming nétait
quun circuit redresseur.
Cette invention rendait possible la communication
radio à longue distance.
La triode était une invention remarquable et n'avait d'égal
que l'importance de l'invention du transistor qui la remplaça
40 ans plus tard. |
 |

Audion ou Triode
|
L'audion consistait
en un tube de verre sous vide contenant trois électrodes :
un filament chauffé, une grille et une plaque.
Il est important dans l'histoire de la technologie car il a été
le premier appareil électronique largement utilisé
capable d'amplifier ; un petit signal électrique appliqué
à la grille pourrait contrôler un courant plus important
circulant du filament à la plaque.
La triode Audion d'origine avait plus de gaz résiduel dans
le tube que les versions ultérieures et les tubes à
vide; le gaz résiduel supplémentaire limitait la
plage dynamique et donnait à l'Audion des caractéristiques
non linéaires et des performances erratiques. Développé
à l'origine comme détecteur de récepteur
radio hors site en ajoutant une électrode de grille à
la valve Fleming, il a trouvé peu d'utilisation jusqu'à
ce que sa capacité d'amplification soit reconnue vers 1912
par plusieurs chercheurs, qui l'ont utilisé pour construire
les premiers récepteurs radio amplificateurs et oscillateurs
électroniques Les nombreuses applications pratiques pour
l'amplification a motivé son développement rapide,
et l'Audion original a été remplacé en quelques
années par des versions améliorées avec un
vide plus élevé. |
Cette évolution va transformer les télécommunications,
télégraphe, téléphone et radiodiffusion,
son premier domaine d'application, avant de se diffuser dans le domaine
des machines à calculer, qui deviennent ordinateurs et dans celui
des automates, qui contrôlent toute sorte de processus.
|
L'invention du tube électronique va donner
lieu à des batailles juridiques, paralysantes jusqu'à
la première Guerre mondiale.
Les mesures d'urgence que prend le gouvernement américain
en 1916 débloque la situation afin que l'industrie produise
des systèmes de communication radio pour la marine.
La paix revenue, ces capacités servent à lancer,
à partir de 1920, la radiodiffusion, premier usage domestique
de l'électronique.
Pour maintenir leur position, les industries rivales, General
Electric et AT&T, organisent des laboratoires de recherche
où les ingénieurs appliquent les découvertes
de la physique, et orientent la recherche plutôt vers
le perfectionnement des produits existants, que vers l'exploration
de nouvelles voies.
A la fin des années 1930, les ingénieurs
de Bell Laboratories avaient développé ou apporté
d'importantes contributions à trois types de systèmes
de commutation fondamentalement différents : - Le système
pas à pas était directement contrôlé
depuis le cadran du client ; - le système Panel a introduit
le contrôle indirect permettant aux sélecteurs
d'être indépendants du cadran du client ; - le
système crossbar a permis un contrôle commun par
des marqueurs à grande vitesse des commutateurs utilisés
pour établir des voies de conversation.
Pour la première fois, des ingénieurs connaissant
bien ces nombreux agencements de systèmes philosophaient
sur ces « principes du système ».
En conséquence, de nouveaux types d'activités
d'étude et, pour la première fois, des activités
plus fondamentales de recherche et de développement exploratoire
ont commencé à apparaître dans les efforts
de transition des laboratoires Bell.
Publicité AT&T des années
1930 utilisant la même image d'ingénieurs assistant
assidûment à l'équipement avec la légende
"les progrès scientifiques constants des laboratoires
Bell se reflètent dans la qualité et la portée
sans cesse croissantes de votre service téléphonique
|
 |
sommaire
Le PCM : pulse
code modulation
|
Alec Harley Reeves travaillait sur le
premier système téléphonique transatlantique
pour l'International Western Electric Company
avant de rejoindre le département de recherche de l'entreprise
à Paris ou il a travaillé sur les problèmes
de la radio longue distance, sur les transmissions par microphone
... En 1937, Alec Harley Reeves
avait reconnu le potentiel de la modulation par impulsions
codées pour réduire le bruit lorsque la parole
est transmise sur de longues distances. Avec un signal analogique,
chaque fois que le signal est amplifié, le bruit contenu
dans le signal est également amplifié et un nouveau
bruit supplémentaire est ajouté.
Avec la modulation par impulsions codées, il suffit de
régénérer les impulsions, donc le contenu
en bruit du signal n'est pas augmenté.En 1938
Reeve's avait conclu que la meilleure façon de surmonter
le problème du bruit dans la téléphonie
interurbaine était de transmettre une version numérisée
du signal vocal analogique.
Reeves déposa le brevet US2272070A
le 22 novembre 1939 aux USA et juste avant en
France sous le n° 852 183 du 23 octobre
1939.
Le PCM ; pulse
code modulation, fonctionne en échantillonnant l'amplitude
des signaux analogiques à des intervalles uniformes.
Avant d'avoir obtenu le brevet le 3 février 1942 Reeves
a mis son l'idée de côté car la réalisation
nécessitait des circuits assez complexes (selon les normes
des années 1930), qui n'étaient pas rentables
en utilisant des valves. En France La modulation par
impulsions codées n'a été utilisée
que dans les années 1950 sur les câbles de transmission,
lorsque l'invention du transistor l'a rendue viable.
|

AH Reeves
|
Consultez la page ou est détaillé ce nouveau
concept, qui sera le troisième maillon important à l'origine
de la Commutation Téléphonique Electronique.
sommaire
|
Dans le domaine de la recherche, F A Hubbard
a rédigé une série de mémorandums
généralisant les systèmes et l'application
des principes de circulation. Les avantages de l'introduction
de la vitesse comme facteur dans le contrôle et la signalisation
entre les systèmes de commutation ont été
indiqués comme une voie vers l'avenir. La vitesse pourrait
être obtenue en considérant l'application de l'électronique.
En conséquence, de nombreuses idées appliquant
des "tubes à gaz" multiéléments
au contrôle des commutateurs crossbar ont été
proposées.
En particulier, W H T Holden a reçu plus de 100 brevets,
dont beaucoup sur de tels arrangements. Beaucoup d'autres ont
été suggérés par d'autres personnes
travaillant dans le domaine. Des experts en tubes à vide,
dirigés par A M Skellett, ont proposé l'équivalent
électronique des sélecteurs utilisant des tubes
à faisceau.
Agrandir
Tube de commutation à faisceau, (brevet américain
2 277 858, déposé le 17 mai 1941), un exemple
des premières tentatives pour augmenter les vitesses
de commutation grâce à l'électronique.
Le succès de l'idée de contrôle
commun a conduit au concept de commutation "space division",
où les techniques de multiplexage de fréquence
ont été combinées avec la sélection
électromécanique
Agrandir
Pour la première fois, une commutation dans un autre
domaine a été proposée, dans laquelle les
chemins établis sont séparés dans l'espace.
La contribution la plus importante émergeant de la recherche
liée à la commutation à ce stade a peut-être
été le développement de méthodes
de signalisation à courant alternatif. Avec les tonalités,
il était possible d'envoyer des signaux de supervision
et d'impulsion sur les mêmes distances que les signaux
vocaux. Au départ, des tonalités simples étaient
utilisées pour représenter les périodes
d'ouverture des impulsions de numérotation et pour «sonnerie»
sur les lignes à péage.
Au fur et à mesure de l'avancement de cette recherche,
des tests ont été effectués sur le terrain
et il a été constaté que ces signaux étaient
sujets à une distorsion, de sorte que la vitesse de pulsation
était ralentie. Peu à peu, un nouveau concept
a été introduit, celui d'envoyer plusieurs tonalités
qui, en combinaisons, représentent un chiffre.
Bien que ces signaux ne puissent pas être utilisés
directement pour contrôler les sélecteurs, l'idée
d'utiliser des registres et des émetteurs était
de plus en plus acceptée, car ils étaient utilisés
à la fois dans les parties d'origine et de terminaison
des systèmes crossbar locaux...
|
sommaire
Au début de la Seconde Guerre mondiale,
la seule technologie disponible pour la communication vocale sécurisée
était le système Scrambler (brouilleur ). Les autorités
militaires américaines ne savaient pas que les Allemands avaient
cassé le A-3 Scrambler. Néanmoins, les officiers supérieurs
de l'armée comme le général George Marshal ne
faisaient pas confiance à A-3 pour transmettre en toute sécurité
les informations les plus sensibles. Très tôt dans la
guerre, l'armée américaine a demandé aux Bell
Labs d'imaginer une nouvelle façon de sécuriser
les communications vocales. Il est vite apparu que la numérisation
du signal vocal analogique permettrait d'appliquer des techniques
de chiffrement au message.
Avec des accords de licences croisées avec IT&T, les gens
des Bell Labs se sont tournés vers le travail de Reeves
sur le PCM.
Le système de chiffrement de la parole qui en a résulté,
appelé SYGSALY, est devenu le premier exemple
fonctionnel de la technologie PCM.
Sous le manteau du secret, Les Bell Labs ont fait de grands progrès
dans l'avancement de l'état de l'art des techniques PCM.
Borne
SIGSALY (1943)
À la fin de la guerre, plusieurs groupes des Bell Labs avaient
travaillé sur le PCM.
Au cours de la période 1947-48, dans de nombreux articles,
les travaux des Bell Labs sur le PCM sont finalement devenus publics.
HS Black et JO Edson, qui avaient joué un rôle clé
dans les efforts de cryptage de la parole des Bell Labs, ont publié
leur compte rendu dans AIEE Transactions.
Ils ont annoncé au monde qu'une "technique de modulation
radicalement nouvelle pour la téléphonie multicanal
a été développée, qui implique la conversion
de la parole en impulsions codées". Ils ont également
reconnu l'importance du brevet Reeves .
Il est intéressant que Black et Edson aient choisi une revue
de l' "AIEE Transactions" et non de l' "IRE" pour
révéler ce travail au monde.
Ce qui frappe dans ces articles, et dans tous les autres publiés
par le groupe Bells Labs à la fin des années 1940, c'est
l'absence de toute référence au cryptage de la parole,
qui avait été le moteur de l'entrée de Bell dans
le PCM. La transition vers les applications civiles semble s'être
faite sans heurts. Lorsqu'il s'agissait d'investir dans la R&D
dans le PCM, les Bell Labs n'ont jamais quitté des yeux la
mission centrale de l'entreprise, l'activité de communications
téléphoniques. Bien que le PCM à usage civil
ait pris un bon départ, les progrès sont restés
lents.
L'utilisation du radar pendant la Seconde Guerre
mondiale a apporté des progrès dans l'utilisation des
tubes pour détecter les signaux radio, ainsi que dans la compréhension
des semi-conducteurs.
1945 AMA Une nouvelle
invention pour le traducteur des centres téléphoniques
s'est avérée être une grande avancée
dans les fonctions de mémoire, en particulier compte tenu
de la date de 1945.
L'inventeur était T. L. Dimond, utilisait des enroulements
de solénoïdes, appelés "anneaux"
(tore de ferrite), à travers lesquels étaient enfilés
des fils représentant les translations (acheminement de
l'appel selon le nméro demandé). Il est rapidement
devenu connu sous le nom de traducteur d'anneaux Dimond. Des impulsions
sont envoyées à travers les fils sélectionnés
par un des relais. Les impulsions étaient induites dans
les anneaux et détectées par des tubes à
gaz. Le traducteur initial n'a accepté que 1000 traductions.
Plus tard (1958) une version plus compacte pour 2000 traductions
a été développée. Le traducteur à
anneaux Dimond a également été utilisé
plus tard dans le système tandem à barres transversales.
Ce principe de traduction de base a été utilisé
par beaucoup d'autres, pas seulement dans crossbar systèmes
mais aussi sous une forme adaptée. |
 |
En 1946 La première génération
d'ordinateurs électroniques utilisait des vannes ou tubes à
gaz.
En 1947, Bell Labs a présenté son premier transistor.
AT&T a contribué à une distribution rapide de la technologie.
Il avait une grande variété d'applications, notamment
pour l'armée, qui est devenue le principal marché de l'industrie
des semi-conducteurs en évolution rapide.
L'utilisation croissante du transistor s'est heurtée au même
problème que le tube à vide, à savoir des problèmes
de fiabilité et de complexité.
A mesure que le nombre de transistors utilisés dans un système
augmentait, la probabilité que la défaillance d'un seul
composant ou d'une interconnexion provoque une défaillance du
système augmentait de façon exponentielle.
1947 on trouve dans les archives Bell la description du système
PCM et l'équipement expérimental..
A cette époque il n'y avait pas encore de transistor, le système
fonctionnait avec des lampes à vide spécifiques, l'installation
était imposante.
1948 Vue de face d'un équipement terminal PCM
expérimental, et vue avec les couvercles retirés
d'une baie de groupe à 12 canaux.
Les câbles dans les conduits horizontaux transportent des impulsions
de synchronisation vers la gauche depuis la baie de synchronisation.
sommaire
Revenons dans les années 1940 à la
commutation téléphonique électronique.
Des progrès ont amené à croire que les centraux
électroniques pourraient se développer dans un court
laps de temps sans recourir à d'autres systèmes électromécaniques.
Hormis la Belgique (nous avons montré le commutateur Bell de
1956 avec seulement 20 lignes) , trois pays se sont fortement investis
dans cette voie :
1 - En Amérique
Les premiers travaux importants des Bell Telephone Laboratories commencent
donc à la fin de la guerre. A cette époque sont entreprises
des études sur les possibilités que lélectronique
est susceptible dapporter à la commutation. Dans lesprit
des chercheurs et des ingénieurs, les vitesses élevées
de fonctionnement rendues possible par lélectronique
doivent permettre douvrir des voies nouvelles dans la conception
même des centraux.
On sait que, dans un système de commutation électromécanique,
il est nécessaire de disposer dun certain nombre dorganes
de commande fonctionnant simultanément, pour faire face au
trafic qui se présente à heures chargées (de
lordre de plusieurs dizaines dappels par seconde dans
les grands centraux). Lidée des ingénieurs et
des chercheurs fut dexpérimenter un système dans
lequel on effectuerait une seule opération à la fois,
pour chaque catégorie de fonction (one at a time operation).
Ce principe sera mis en uvre, en 1947, dans un système
expérimental, baptisé Experimental Electronically Controlled
Automatic Swilching System,
ECCASS.
Un pas important allait être franchi dans lélaboration
des principes fondamentaux de la commutation électronique avec
la conception et la réalisation , par les Bell Laboratories,
dun nouveau système, expérimenté en 1951,
et connu sous le nom de Drum Information Assembler and Dispatcher,
DIAD. Cest dans le principe même de la fonction
dexploration que réside linnovation essentielle
de ce système : alors que dans lECASS on cherchait à
adapter le poste téléphonique au concept de base de
la commutation électronique (une seule opération à
la fois pour un type dorgane), dans le système DIAD,
on prend les postes téléphoniques tels quils sont
et cest le système central de commande que lon
conçoit en fonction de cette donnée. Dans le système
DIAD, le temps nécessaire à lorgane de commande
et au réseau de connexion pour établir une communication
était denviron 0,02 seconde, ce qui permettait denvisager
la réalisation de centraux téléphoniques dune
capacité de 10 000 lignes et 2 000 circuits.
Reprenons le fil de l'histoire :
Dès 1928 à la Bell
Telephone, la personne qui va mener les recherches et travaux
sur le commutation éléctronique est HE Vaughan
 |
H. Earle Vaughan (1912-1978)
a commencé sa longue carrière dans le Bell
système en 1928 en tant qu'assistant aux laboratoires
Bell . Il a été promu au poste d'assistant
technique et tout en travaillant à ce titre, il a
fréquenté le Cooper Union College de New York,
où il a obtenu son baccalauréat ès
sciences en 1933.
Vaughan est devenu responsable de la planification
et du développement du système de commutation
électronique.
Avant 1940 et pendant les années de guerre, Vaughan
a travaillé sur une variété de projets
de transmission et de signalisation, dont certains liés
à la défense. |
En 1945, il entreprit des travaux de recherche
sur un système expérimental de commutation automatique
à commande électronique appelé "ECASS",
un système à grande vitesse utilisant des tubes
à gaz à cathode froide, des interrupteurs à
lames et un poste téléphonique spécial.
Ce projet a été suivi quelques années plus
tard par des travaux sur un autre système de commutation
expérimental - Drum Information Assembler and Dispatcher
- "DIAD". techniques de balayage dans la commutation.
En 1952, Vaughan est devenu superviseur
au département de recherche sur la commutation, où
il a mené des études sur les utilisations des
mémoires à transistors, ferroélectriques
et magnétiques à utiliser dans les systèmes
logiques. En 1955, il est nommé chef du département
de recherche sur la commutation. Ses travaux antérieurs
sur ECASS, DIAD et d'autres systèmes de
commutation expérimentaux ont ouvert la voie à
des travaux importants sur un centre à semi-conducteurs
expérimental ESSEX, qui a débuté
en 1955.
Ce système, utilisant des dispositifs à semi-conducteurs,
était basé sur le concept de commutation et transmission
par répartition dans le temps. Il utilisait une modulation
par impulsions codées pour convertir les signaux analogiques
en signaux numériques dans des concentrateurs de ligne
distants, et utilisait également un commutateur temporel
central.
Vaughan a été nommé directeur
du Centre de recherche sur les systèmes en 1958 et il
a assumé la responsabilité de quatre départements
impliqués dans la recherche sur les circuits numériques.
En 1962, Vaughan a été transféré
dans la zone de développement des systèmes de
commutation pour occuper le poste de directeur du centre du
système de commutation électronique. À
ce poste, il était responsable de la conception du système
et du logiciel pour l'ESS n ° I, le premier grand
système de commutation électronique commercial,
mis en service en 1965. En 1968, Vaughan a assumé la
responsabilité globale de la planification et du développement
de l'ESS n ° 4. Il a pris sa retraite en mars 1976,
achevant une carrière dans les télécommunications
de plus de quatre décennies, plus de la moitié
consacrée à la conception et au développement
de technologies et de systèmes de commutation téléphonique
avancés .
|
Avant-guerre,
dans les laboratoires Bell, l'une des expériences de
recherche a été la commande électronique par
"tube à gaz" de selecteurs Crossbar.
Premier modèle de laboratoire 
Après la Seconde Guerre mondiale, cet
effort a été relancé avec une vue vers un petit
centre de numérotation communautaire crossbar (COO) qui serait
plus fiable. Le résultat a été un développement
exploratoire effectué dans le département de recherche.
De 1942 à 45, des études
ont été faites sur la commutation par répartition
dans le temps, mais les systèmes utilisant cette technique
se sont avérés limités en capacité. Dr
T. C. Fry, à l'époque était directeur de la recherche
sur la commutation aux Bell Telephone Laboratories,
Sous la direction de W. D. Lewis, l'équipe de
E. B. Ferrell, W. A. Malthaner, C. A. Lovell, M. Karnaugh, W. A. MacNair,
H. E. Vaughan, J. D. Johannesen, D. B. James, J. R. Runyon, E. Bruce,
N. D. Newby et bien d'autres ont établi de nouvelles idées
et dispositifs de commutation, cela a suscité l'intérêt
pour la commutation électronique non seulement dans les laboratoires
Bell, mais aussi dans le monde entier.
En 1945,Vaughan entreprit les travaux de recherche sur
un système expérimental de commutation automatique à
commande électronique, envue d'équiper un petit
bureau crossbar qui serait plus fiable que le système
précedent. Le développement a été réalisé
au sein du bureau d'études sous la supervision de F. A. Korn
de l'organisation de développement. La conception du système
a commencé en 1946. Le plan du système était
très similaire au précedent.
La plupart des efforts d'après-guerre ont commencé avec
des systèmes à commutation spatiale, utilisant d'abord
des commutateurs à contacts scellés, comme dans le système
expérimental connu sous le nom d'ECASS (pour "Electronically
Controlled Automatic Switching System").
Interrupteur
à lames sèches scellé dans du verre.
Ce principe est mis en uvre, en 1947, dans un système
expérimental, baptisé Experimental Electronically
Controlled Automatic Swilching System ou ECCASS.
Système à grande vitesse utilisant des tubes à
gaz à cathode froide, des interrupteurs à lames
et un poste téléphonique spécial.
Le Poste téléphonique.
Pour beaucoup plus de détail, consulter
le document (pdf ) de la Bell Labs.
Le téléphone utilisait deux transistors dans un amplificateur
accordé pour détecter une fréquence de sonnerie
particulière et amplifier le signal pour piloter la sonnerie
miniature. Le circuit à transistor fourni une amplification
pour la sonnerie et la parole.
On sait que, dans un système de commutation électromécanique,
il est nécessaire de disposer dun certain nombre dorganes
de commande fonctionnant simultanément, pour faire face au
trafic qui se présente à heures chargées (de
lordre de plusieurs dizaines dappels par seconde dans
les grands centraux).
Lidée des ingénieurs et des chercheurs fut dexpérimenter
un système dans lequel on effectuerait une seule opération
à la fois, pour chaque catégorie de fonction (one at
a time operation).
Un ECASS expérimental a été construit pour des
tests de charge en laboratoire est. Sur ces châssis de gauche
à droite : châssis n° 1, un circuits d'actionneur
de ligne 'automate d'appel' , le réseau de commutation
et de commandes ; Châssis n° 2, tronc, actionneur extérieur
et circuits de groupe de numéros ; Châssis n°3,
circuits récepteurs d'origine ; Châssis n°4,
alimentations ; et la Châssis n° 5, terminaison des circuits
récepteurs.
Deux téléphones spécifiques ont été
développés pour cette occasion. Cette
expérience est devoppée dans cette page.
 
En 1949, de nombreux modèles avec ces
concepts existaient et stimulaient la réflexion de nombreux
ingénieurs sur les systèmes de commutation électroniques
en général. Un système de séparation temporelle
à 100 lignes, comme que l'on appelait alors division temporelle,
a été construit en 1950, et un système de division
de fréquence a été étudié. Des
circuits de verrouillage à transistors et, éventuellement,
des points de croisement ont été réalisés,
des expériences de réseau on été menées
en 1951.
Le stockage sur (disque) "tambour magnétique" a été
utilisé dans le système DIAD
Un pas important allait être franchi dans lélaboration
des principes fondamentaux de la commutation électronique avec
la conception et la réalisation , par les Bell Laboratories,
dun nouveau système, expérimenté en 1951,
et connu sous le nom de Drum Information Assembler and Dispatcher,
DIAD. Cest dans le principe même de la fonction
dexploration que réside linnovation essentielle
de ce système : alors que dans lECASS on cherchait à
adapter le poste téléphonique au concept de base de
la commutation électronique (une seule opération à
la fois pour un type dorgane), dans le système DIAD,
on prend les postes téléphoniques tels quils sont
et cest le système central de commande que lon
conçoit en fonction de cette donnée. Dans le système
DIAD, le temps nécessaire à lorgane de commande
et au réseau de connexion pour établir une communication
était denviron 0,02 seconde, ce qui permettait denvisager
la réalisation de centraux téléphoniques dune
capacité de 10 000 lignes et 2 000 circuits.
En 1951, C. E. Brooks et son groupe d'ingénieurs système
à la "Bell Laboratories West Street" à New
York a commencé à définir les exigences d'un
bureau central électronique. Les anciens centraux téléphoniques
avaient besoin de remplacants plus modernes, et l'électronique
semblait offrir une opportunité économique et d'espace
importante. C'était une époque qui avait vu l'invention
du transistor et l'introduction de l'ordinateur électronique
à programme enregistré. De plus, les évolutions
technologiques très rapides commençaient tout juste
à rendre disponibles de nouveaux composants à haut débit
destinés à la commutation téléphonique.
Des centraux ou des sous-systèmes fonctionnels ont été
conçus, construits et testés par les ingénieurs
de Bell Labs dans le cadre de la recherche sur la commutation à
Murray Hill, New Jersey et du développement de la commutation
à West Street. Ces efforts ont été mis en parallèle
et soutenus par des innovations par les organisations de recherche
physique et de développement d'appareils électroniques
de Murray Hill. La conception d'ECASS et de DIAD a servi
de base à l'étude, mais l'innovation continue et l'évolution
des technologies orientaient déjà les choix pour les
appareils et les méthodes de fonctionnement du système
...
sommaire
Le projet ESS
Extrait du livre The
Electronic Switching System TRIAL INSTALLATION, MORRIS, ILLINOIS (1960)
En 1952, Vaughan devenu superviseur au département
de recherche sur la commutation, où il a mené des études
sur les utilisations des mémoires à transistors, ferroélectriques
et magnétiques à utiliser dans les systèmes logiques.
En 1955, il est nommé chef du département de
recherche sur la commutation. Ses travaux antérieurs sur ECASS,
DIAD et d'autres systèmes de commutation expérimentaux
ont ouvert la voie à des travaux importants sur un centre à
semi-conducteurs expérimental.
En septembre 1955, Lovell et Ketchledge décidèrent
de passer au contrôle par programmes enregistrés, Ces
unités appelées ESSEX pour un "Centre
expérimental à semi-conducteurs " simulent
une partie du système construit pour l'étude exploratoire
des possibilités d'intégration de la transmission et
de la commutation à l'aide de techniques PCM (modulation
par impulsions et codage).
A cette date la conversion PCM est effectuée dans des "concentrateurs"
spéciaux proches d'un certain nombre de clients. Il
faut côté central, installer l'autre concentrateur pour
démoduler les conversations. Ce n'est pas encore satisfaisant
et viable. En raison des progrès limités de l'électronique
à l'époque (basés sur l'utilisation de tubes
à vide).
En 1957, la situation est nouvelle : le programme de construction
d'un commutateur entièrement électronique de type spatial
entre dans sa phase industrielle.
Deux conceptions techniques vont émerger de l'électronisation
des commutateurs : le spatial et le temporel. Schématiquement,
on peut distinguer deux opérations essentielles : la commande
et l'exécution de l'aiguillage des communications. Les deux
techniques ont recours pour la commande à des calculateurs
de type universels (avec de nombreuses variantes). En revanche, l'aiguillage
(réalisé par un réseau de connexion) est radicalement
différent : en spatial, le signal entrant par un circuit est
aiguillé vers un autre (sortie) par un réseau physique
dont le point de croisement est activé par un composant (diode
à gaz, relais, diode pnpn...). Dans la seconde, il n'y plus
de notion de circuit; une communication (une série de paquets
de bits) est aiguillée vers une sortie par des moyens purement
logiques (répartition temporelle).
La commutation des circuits téléphoniques doit se faire
à l'aide d'un composant spécifique, une diode à
gaz. Les américains mettent l'accent sur le cur du système,
un calculateur de type universel programmable qui commande l'ensemble
des opérations effectuées par un central téléphonique.
Ces ingénieurs semblent surtout préoccupés par
les difficultés rencontrées dans la mise au point et
la fiabilité de certains éléments, notamment
les mémoires vives et permanentes. Les développeurs
américains soulignent leur visée : leur système
doit permettre d'intégrer aisément des améliorations
sans de lourdes et coûteuses interventions matérielles,par
exemple offrir des fonctionnalités nouvelles, telles que la
possibilité d'obtenir des numéros abrégés,
le transfert d'appels, des services du type lignes groupées,
etc., une exigence qui répond, pensent-ils, à une forte
attente des abonnés américains, déjà très
nombreux et plus rompus à l'usage du téléphone
que les abonnés des autres pays (Europe, Japon).
En 1957-1958 au Whippany, New Jersey Laboratory, un
modèle de laboratoire a été assemblé et
les premiers programmes de commutation téléphonique
ont été écrits. À ce moment-là,
Morris, dans l'Illinois, avait été sélectionné
pour le site d'essai sur le terrain, le système modèle
est devenu connu sous le nom de «pré-Morris».
(tout cela est raconté en bas de page).
Le réseau de commutation et le réseau concentrateur
associé fournissent les chemins pour la parole permettant d'interconnecter
les lignes téléphoniques entre elles, et les jonctions
et signaux divers (sonnerie, tonalité, etc.). L'élément
basique de commutation est un tube à gaz à cathode froide
(photo ci dessous). Il s'agit d'une diode remplie de néon utilisant
une cathode creuse pour obtenir une résistance négative.
à l'état conducteur. Cela tend à compenser les
pertes de transmission des transformateurs et d'autres éléments
dans le chemin de conversation. Ces tubes à gaz sont disposés
dans des racks. L'application de la moitié de la tension de
claquage sur un fil d'entrée et un fil de sortie provoque l'allumage
du tube à gaz reliant ces fils et connecte les fils pour la
transmission de la parole. Un seul côté du circuit de
transmission est commuté, l'autre côté étant
mis à la terre. Un grand nombre de ces commutateurs sont connectés
ensemble pour former le réseau complet. Une connexion typique
se faisait avec un tube dans un commutateur concentrateur, puis par
six tubes dans le réseau de commutation, et enfin par un tube
dans un commutateur concentrateur vers l'autre téléphone.
Les points de croisement des tubes gaz et les circuits de commande
sont assemblés dans des boîtiers enfichables qui sont
ensuite insérés dans l'armoire. Cela permet une maintenance
et une croissance faciles.
Rack
Circuits et connecteurs enfichables utilisés dans le système
de commutation électronique du modèle de laboratoire
du milieu des années 1950.
AT&T a créé des composants spécialement
conçus pour être utilisés dans ce type de système.
Brevet US2743316A de 1953.
1958 Le premier appel téléphonique a été
passé via ce système en mars. Grâce à l'utilisation
de la modulation par impulsions et codage (PCM), les signaux sont
convertis en impulsions numériques codées. Ces impulsions
sont transportées à grande vitesse vers leurs destinations
sur quelques lignes seulement et sont ensuite reconverties en signaux
standard pour la livraison.
Jugeant leur expérience solide, estimant le développement
de leur prototype suffisamment avancé, évaluant leur
avance technologique suffisante, les responsables du projet ESS
(Laboratoires Bell et Western Electric) décident de réunir
un symposium international privé du 4-6 mars 1957.
Ils invitent les ingénieurs et chercheurs de tous les exploitants
ou fabricants de matériels avec lesquels la Western Electric
a des accords de brevets afin de leur présenter en détails
leur prototype, leurs choix techniques et technologiques, dont trois
ingénieurs français étaient présent.
Début 1959 les américains assistent à
la mise en service du central électronique à Morris
(Illinois)
Morris 
A droite, le réseaux de concentration et de distribution du
système Morris. Les lampes fluorescentes excitaient suffisamment
d'électrons libres pour que les tubes à gaz fonctionnent.
D.T. Osmonson vérifiant le fonctionnement d'un module de tube
à gaz dans le réseau de diodes du réseau.)
Fin des années 1950, La diode
à quatre couches était la clé du plan de William
Shockley pour révolutionner le système téléphonique
d'AT&T. C'était un excellent appareil en théorie,
mais pas en pratique - du moins pas à l'époque où
Shockley voulait le construire. La diode à quatre couches,
également connue sous le nom de diode Shockley, est un cristal
composé de couches alternées de semi-conducteurs de
type N et P. En mettant quatre couches, au lieu des trois utilisées
dans les transistors, la diode Shockley pourrait faire plus qu'un
transistor. D'une part, il agissait comme un redresseur, capable de
transformer le courant alternatif en courant continu. Deuxièmement,
il s'est allumé et éteint lorsqu'une quantité
spécifique de tension - connue sous le nom de tension de basculement
- a été appliquée. La diode à quatre couches
pourrait donc être utilisée pour remplacer à la
fois les redresseurs et les transistors nécessaires pour connecter
les appels téléphoniques.
Essentiellement, la diode à quatre couches
était le premier circuit intégré puisqu'elle
effectuait le travail de deux transistors, de deux résistances
et d'une diode, le tout dans un monocristal. Malheureusement, ils
étaient si difficiles à fabriquer que la société
de Shockley, Shockley Semiconductor, n'a jamais réussi à
en construire qui soient vraiment commercialement viables.
Lorsque le circuit intégré a été inventé
en 1958, il a éclipsé les capacités de la diode
à quatre couches et tout marché pour la diode s'est
rapidement tari.
Entre 1960 et 1962 AT&T a mené
des essais sur le terrain d'un nouveau système de commutation
électronique qui utilisait une variété de dispositifs
et de concepts. La première version commerciale, mise en service
en 1965, est connue sous le nom de N°1 ESS.
Le système de commutation électronique n° 1 ESS
a été le premier central téléphonique
à commande par programme enregistré (SPC). Il a été
fabriqué par Western Electric et mis en service pour la première
fois à Succasunna , New Jersey , le 30 mai 1965.
Le commutateur ESS I, était basé sur la commutation
de type spatiale .
Le ESS 1 utilise 160 000 diodes, 55 000 transistors et 266 000 résistances,
condensateurs et autres composants. Ceux-ci étaient montés
sur des circuits imprimés enfichables uniques. Le ESS 1 , bien
qu'il ne s'agisse pas d'un commutateur "numérique",
puisque les appels étaient toujours traités dans un
format audio analogique à l'aide de relais Reed miniatures
dans un format matriciel de type barre transversale. Mais le principal
avantage était un nouveau concept appelé Stored Program
Control (SPC), qui permettait au commutateur d'avoir une mémoire
électronique. Cela a permis de nouvelles fonctionnalités
telles que l'appel en attente, le renvoi d'appel et la numérotation
abrégée. D'autres avantages étaient la possibilité
de modifier la "programmation" du commutateur en cas de
besoin pour modifier les paramètres (routages d'appels) et
d'ajouter des fonctionnalités supplémentaires lors de
leur développement. Les commutateurs crossbar et pas à
pas existants fonctionnaient en temps réel et exécutaient
les commandes au fur et à mesure. Le ESS 1 pouvait stocker
tous les chiffres composés et agir en conséquence une
fois la numérotation terminée.
Début 1965, les systèmes PCM en exploitation comprenaient
environ 3000 groupes de 24 canaux de type T1, aux États-Unis.
Bell aura passé 10 ans et 500 millions de dollars pour développer
le système de commutation électronique numéro
1.
Quatre ans après, en 1969,
le réseau téléphonique du Bell System comporte
déjà 50 centraux de type ESS I en service.
Les ingénieurs du Bell System ne se contentèrent pas
de développer la commutation électronique pour les seuls
centraux téléphoniques urbains. Dès le début
des années 60, ils sintéressèrent aux centraux
téléphoniques privés, couramment désignés
sous le sigle PBX (Private Branch Exchange).
Un document complet et très détaillé est accéssible
à cette
adresse (cliquez sur le lien). En fin de page l'épopée
Américaine est racontée en détail.
Au Etats-Unis, le système temporel ESS 4 n'arriva qu'en
1976 bien après le système PLATON de la France en 1970.
sommaire
2 - En Angleterre
1943 Deux Britaniques TH Flowers et A Turing
en pleine guerre mondiale, conçoivent une machine pour déchiffrer
les messages issus des machines allemandes Enigma.
Ce qui est généralement
considéré comme le premier ordinateur électronique
programmable au monde Colossus a été conçu
et construit par une équipe de la Post Office Research
Branch dirigée par TH Flowers . Il a été
construit à Dollis Hill et transporté à Bletchley
Park près de Milton Keynes, où il a été
présenté le 8 décembre 1943 . Bletchley Park
était le centre des opérations britanniques de décryptage
des codes en temps de guerre.
Le but de Colossus était de déchiffrer les communications
cryptées allemandes non Morse - connues sous le nom de
"Fish" à Bletchley - qui étaient transmises
à grande vitesse sur un téléimprimeur, appelé
Lorenz SZ, en utilisant l'alphabet Baudot à 32 lettres.
Le mathématicien Bill Tute avait cassé les codes
du téléimprimeur allemand en 1941, mais il était
reconnu que le processus de décryptage pouvait être
largement automatisé pour réduire le temps nécessaire
pour déchiffrer les messages. |

|
La grande contribution de Flowers a été
la reconnaissance qu'un signal électronique pouvait être
utilisé pour reproduire le modèle de code généré
par la machine de Lorenz, qui pouvait ensuite être lu par des
capteurs optiques dans un dispositif de décryptage de code. Il
a proposé d'utiliser des vannes au lieu des unités
de commutation mécaniques utilisées dans un appareil antérieur.
Sa proposition n'a pas été prise au sérieux au
début, car les vannes étaient considérées
comme trop peu fiables et fragiles, mais Flowers savait, grâce
à ses recherches d'avant-guerre sur les systèmes téléphoniques
électroniques, que les vannes étaient fiables si elles
n'étaient pas déplacées ou éteintes.
 |
Flowers a été consulté
par Max Newman (plus tard professeur de mathématiques
à Manchester) qui était responsable du processus
d'automatisation. Flowers travaillait à Bletchley depuis
l'année précédente, lorsque le mathématicien
Alan Turing et ses collègues cryptanalystes avaient
demandé l'assistance technique de la Poste pour casser
Enigma.
Décrite par Flowers comme une "affaire de ficelle
et de cire à cacheter", Colossus était capable
de traiter 5 000 caractères par seconde pour parcourir
les millions de combinaisons possibles.
Le premier Colossus est entré en service
à Bletchley Park en janvier 1944. Il a dépassé
toutes les attentes. Le jour J lui-même, un Colossus II
avait été construit. Flowers avait été
informé qu'il devait être prêt en juin 1944,
sinon il ne serait d'aucune utilité.
Il n'a pas été informé de la raison du
délai, mais réalisant qu'il était important,
il s'est assuré que la nouvelle version était
prête pour le 1er juin, cinq jours avant le jour J.
|
En fait, il y avait 11 machines à la fin de la
guerre, dont toutes sauf une ont été détruites
sur les ordres de Churchill, la dernière étant déplacée
au GCHQ à Cheltenham où elle est apparemment restée
en service jusqu'en 1958 au moins et peut-être dans les années
1960.
Le Colossus original se composait de 1 500 soupapes (le Mark II utilisait
2 400 soupapes) et avait la taille d'une petite pièce, pesant
environ une tonne. Conçu comme une machine à déchiffrer
le code, et sans mémoire efficace ni programme stocké,
ce n'était pas tout à fait ce que l'on considère
aujourd'hui comme un ordinateur. Néanmoins, il a précédé
d'autres prétendants au titre de premier ordinateur de travail
moderne et a été le précurseur des ordinateurs
numériques ultérieurs.
Il est maintenant reconnu que sans la contribution de l'activité
de décodage, dans laquelle Colossus a joué un rôle
majeur, la guerre aurait pu durer beaucoup plus longtemps. C'est dans
les préparatifs du jour J que Colossus s'est avéré
le plus précieux, car il a pu suivre en détail les communications
entre Hitler et ses commandants sur le terrain.
Le succès du système Strowger
pour répondre aux demandes du réseau - en grande partie
grâce aux accords conclus dans le cadre de l' accord d'approvisionnement
en vrac d'équipement de central téléphonique
(signé en 1923) et du British Telephone Technical Development
Committee (créé en 1933) - a conduit à une décision
importante . Il y avait eu des progrès rapides dans les techniques
électroniques pendant et immédiatement après
la Seconde Guerre mondiale, ce qui a conduit la poste et ses fabricants
d'équipements de centraux à croire que les centres électroniques
pouvaient être développés dans un court laps de
temps sans rechercher d'autres systèmes électromécaniques.
En conséquence, la décision a maintenant été
prise de travailler à un changement progressif du réseau
des systèmes Strowger mécaniques aux systèmes
électroniques.
L'espoir était que l'étape intermédiaire
de l'introduction de systèmes crossbar contrôlés
par registre, apparente dans d'autres administrations des télécommunications
ailleurs, ne serait pas nécessaire dans le cadre de cette politique.
À partir de 1947, une petite équipe dirigée
par Flowers a travaillé au développement des
principes de base de Highgate Wood : la modulation d'amplitude d'impulsion
(PAM), qui encodait les signaux téléphoniques sous forme
d'échantillons pulsés, et le multiplexage temporel (TDM),
qui transmettait des signaux en cyclant rapidement des échantillons
pulsés
La poursuite par Flowers de la commutation électronique
après la Seconde Guerre mondiale a été fortement
soutenue par Radley, qui est devenu plus tard ingénieur en
chef et directeur général du bureau de poste, et ce
soutien peut être attribué à leur histoire à
Bletchley Park.
En 1951, un petit prototype d'échange
connu sous le nom de PAM-TDM avait été construit
à Dollis Hill. Reconnaissant les limites de leur travail en
laboratoire, le département d'ingénierie a proposé
une base de recherche conjointe avec l'industrie pour construire des
équipements conçus pour s'adapter au système
téléphonique existant En l'occurrence, le développement
de systèmes électroniques s'est avéré
plus difficile qu'on ne le pensait à l'origine et, en 1957,
l'Automatic Telephone and Electric Company s'est rendu compte que
pour maintenir sa position sur le marché d'exportation, elle
avait besoin d'un système de barres transversales viable sur
le marché. En conséquence, l'entreprise a développé
à temps le système Crossbar.
Au début des années 1950, il était
évident que l'efficacité du central téléphonique
électromécanique avait été développée
à un point tel qu'une amélioration radicale des équipements
ou des services exigeait un changement radical de technique. Les progrès
de l'électronique, en particulier l'avènement du transistor,
ont offert de nouvelles techniques de commutation téléphonique
et en 1952, un groupe de développement spécial pour
étudier l'application de ces techniques est formé le
JERA. Le groupe a étudié la commutation
Time Division Multiplex (TDM) en utilisant le
stockage avec des lignes à retard de 100 microsecondes et 1
milliseconde, mais a concentré l'essentiel de son attention
sur l'application du contrôle électronique commun.
La motivation du « prestige national » conduira
le développement de Highgate Wood face à des problèmes
importants, qui avaient suscité des inquiétudes pour
le ministre des Postes, Ernest Marples. Depuis la visite de Flowers
et Barron en 1947, la Bell Labs avait annoncé le développement
de son propre centre entièrement électronique. Les perspectives
d'exportation des fabricants britanniques ont également joué
un rôle, car les exportations des années 1950 avaient
souffert « d'une résurgence de la concurrence nationale
et de considérations nationalistes [qui] ont eu tendance à
restreindre le marché... La véritable chance pour les
fabricants britanniques est de pouvoir proposer des équipements
électroniques qui ont une longueur d'avance ». Radley
a ainsi défendu le développement de Highgate Wood à
Marples à la fois comme une extension du travail de guerre
de Dollis Hill et comme une question de « prestige national ».
Mais au milieu des années
1950, la priorité des recherches a été détournée
vers la conception et le développement d'ERNIE (Electronic
Random Number Indicator Equipment) système pour le lancement
des obligations à prime. Il s'agissait d'une initiative politique
majeure pour encourager l'épargne nationale. Puis les premières
recherches en commutation, ont put reprendre à Dollis Hill
.
Le Joint Electronic Research Agreement (JERA) est finalement
signé le 15 mai 1956 entre la Poste et les cinq fabricants
d'équipements de commutation : Siemens Edison Swan, Automatic
Telephone and Electric Co., Ericsson Telephones, The General Electric
Co. et Standard Telephone and Câbles. Ensemble, ils ont créé
le Joint Electronic Research Committee (JERC) pour coordonner
la recherche, partager les connaissances et éviter les duplications
inutiles de la recherche .
Bien que le JERC ait été censé être un
forum dans lequel différentes méthodes de commutation
pourraient être discutées, le bureau de poste a dirigé
ses développements. Les fabricants ont été informés
que leur premier objectif était de construire un centre entièrement
électronique basé sur PAM-TDM conçu à
Dollis Hill, pour être installé à Highgate Exchange
en 1958.
1935 Station at Dollis Hill
L'une des premières décisions du JERC a été
de construire un central électronique utilisant le concept
"Switched Highways" (autoroutes commutées),
techniques de multiplexage temporel (TDM ou time-division
multiplexing), tout en poursuivant la recherche de solutions alternatives
au problème de la commutation temporelle électronique.
Dès 1953, un petit modèle de
système TDM utilisant le stockage de ligne à retard
a été construit par ce groupe, mais beaucoup de travail
a dû être fait avant qu'un modèle à grande
échelle puisse être envisagé. En fait, un tel
travail de recherche était nécessaire pour explorer
les possibilités des systèmes de commutation électronique
dans un délai raisonnable, le groupe, la société
et les autres principaux fabricants britanniques d'équipements
de commutation ont décidé de coordonner leurs efforts
de recherche. Ainsi, en 1956, une unité mixte de recherche
et de développement connue sous le nom de Joint Electronic
Research Committee (JERC) a été formée.
1955 Les travaux se sont poursuivis dans la
Direction de la recherche et en 1955, il y avait un prototype fonctionnant
avec cinquante de téléphones des extensions de la Station
de recherche et une soixantaine de brevets avaient été
déposés.
La tâche technique de construction d'un central expérimental
de 600 lignes pour une utilisation sur le terrain s'est avérée
plus difficile que prévu, ce qui s'est traduit par le retard
dans le programme et la date d'installation. Un autre problème
était financier. En septembre 1957, la conception était
connue pour être non économique par rapport au centre
électromécanique Strowger, à la suite de calculs
mis à jour sur les besoins en énergie et le coût
de l'électricité
Il a également été décidé que l'équipement
expérimental devrait fournir les installations complètes
de service et d'entretien d'un central électromécanique
comparable.
Le personnel de Dollis Hill avait trois motivations pour travailler
à la conception d'un central entièrement électronique.
Tommy Flowers avait expérimenté l'utilisation de vannes
comme interrupteurs avant la guerre. Son expérience à
la tête de l'équipe qui a conçu et construit Colossus
a prouvé à Radley et Angwin que la théorie était
pratiquement possible. La Poste souhaitait remplacer les centraux
téléphoniques électromécaniques automatiques
car ils causaient de nombreux problèmes de maintenance. On
s'attendait à ce qu'un central électronique soit plus
facile à entretenir, moins responsable en cas de faute et élimine
le besoin d'ajustements mécaniques qualifiés. Enfin,
la Poste a été conscient que d'autres laboratoires téléphoniques
à travers le monde exploraient également l'opportunité
de remplacer les commutateurs par des tubes électroniques.
En avril 1948, une nouvelle équipe avait été
créée à Dollis Hill pour travailler uniquement
sur ce projet sous la direction de Flowers.
L'urgence de Highgate Wood en
tant que projet de prestige a également engendré des
travaux de supplémentaires nécessaires pour répondre
aux besoins énergétiques croissants du centre. Le bâtiment
existant a dû subir des modifications structurelles et une pièce
supplémentaire était nécessaire pour accueillir
des batteries supplémentaires. À son tour, cela signifiait
qu'une plus grande ventilation était nécessaire : une
salle d'au moins 1 600 pieds carrés. Le bâtiment existant
n'avait pas d'espace pour une telle pièce, et la poste a donc
demandé au ministère des Travaux publics de construire
un étage supplémentaire entier sur le bâtiment
pour créer de l'espace pour la salle des ventilateurs. Pour
justifier cette dépense supplémentaire et presser le
ministère des Travaux publics, une lettre de la Poste expliquait
que « c'est une question de prestige national pour nous d'être
les premiers à installer un tel centre... ce sera d'une valeur
inestimable à notre commerce d'exportation pour pouvoir être
le premier sur la scène avec ce nouveau développement
».
Les techniques devaient être
manifestement capables de desservir les plus grands centres existants.
De plus, l'expérimentation devait être menée dans
un central de service public et donc totalement interconnecté
au réseau public.
Cela signifiait qu'il aurait besoin d'un équipement de conversion
pour lui permettre d'interfonctionner avec le système existant
et d'utiliser l'appareillage et l'installation de ligne des abonnés
existants. Pour ces raisons, le choix de l'installation à Highgate
Wood avait été justifiée.
Environ 400 000 composants électroniques ont été
installés. Une grande partie de l'organe de contrôle
aurait pu desservir un central d'environ 7 000 lignes. Le centre utilisait
à la fois des valves et des transistors. Il y avait environ
5 000 transistors et 500 valves. Les valves étaient utilisées
dans les domaines les plus cruciaux, car les transistors de l'époque
n'étaient pas à la hauteur des performances requises.
La partie la plus nouvelle de la conception d'un nouveau central électronique
était l'utilisation de la modulation d'amplitude d'impulsion
et de multiplexage temporel pour la transmission d'une centaine de
conversations sur un canal commun.
Une autre caractéristique intéressante de l'installation
était l'utilisation du temps partagé dans l'établissement
des appels et dans leur contrôle.
A l'époque dans les centres Strowger les rangées de
sélecteurs étaient interconnectées au moyen d'un
système de jonction complexe dicté par la méthode
d'établissement des appels et par la nécessité
d'économiser le nombre total de points de commutation. La jonction
du système Switched Highways était simple car chaque
commutateur pouvait transporter une centaine de conversations simultanées,
les lignes étaient concentrées en grands groupes avant
d'être connectées aux commutateurs; et les appels étaient
établis par un appareil de contrôle commun fonctionnant
assez rapidement pour traiter les appels .
En 1959 le premier centre modèle électronique
est ouvert à Dollis Hill utilisant une combinaison de
transistors et de circuits à lampes à gaz, triode ou
"vannes",
Les suggestions selon lesquelles le projet devrait être reporté
par certains cadres supérieurs de la poste ont été
défendues par le contrôleur de la recherche, Lionel Harris,
citant le prestige national et le risque de concurrence internationale.
En 1962 Suivi l'ouverture du centre de Highgate Wood
à Londres avec 800 lignes. annoncé par la poste
et les fabricants comme un triomphe britannique .

Le centre de Highgate Wood 1962 . Exploitation du centre :
Monsieur A. Quartermaine TO à la routine supervision. À
droite M. T. Berwick AE
.1
2 3
1- Tambour magnétique. 2 -Le rack logique de batterie (batterie
en bas à gauche) 3- Mémoire de ligne à retard
de 100 microsecondes
Dans la jonction de Highgate
Wood, le système, les lignes (abonnés) et les jonctions
étaient disposées en groupes, la taille de chaque groupe
dépendant du trafic. Il y avait jusqu'à 800 lignes dans
un groupe. Chaque groupe était connecté à une
"autoroute" sur laquelle 100 conversations multiplexées
pouvaient être transportées, chaque conversation utilisant
un intervalle de temps ou un temps de canal d'une microseconde à
une fréquence de répétition de 10 kHz. Les «autoroutes»
étaient entièrement interconnectées par des commutateurs
ou des portes électroniques et des portes reliaient également
les «autoroutes» au contrôle commun. Chaque ligne
du système électronique était munie de portes,
qui lui permettaient d'être reliée à son "autoroute.
L'organe de contrôle commun du système
était divisé en deux parties. La première était
l'équipement pour stocker et traiter les informations relatives
à l'établissement et au déroulement des appels
(les mémoires utilisées dans cette partie de l'équipement
étaient des lignes à retard à magnétostriction
de 900 microsecondes). La seconde était la mémoire permanente
contenant les traducteurs et ainsi de suite, qui utilisait le magasin
à tambour magnétique. De plus, divers services, tels
que le générateur de formes d'onde et le générateur
"d'impulsions d'horloge" utilisés pour chronométrer
le système, ont été fournis.
Au cours d'un appel, l'appareil d'établissement connectait
d'abord l'appelant à un équipement d'enregistrement
et reliait ensuite l'appelant à son correspondant par l'intermédiaire
du commutateur "autoroute", un sélecteur de canal
choisissant un canal libre adapté à l'appel, c'est-à-dire
, un disponible pour les deux abonnés.
L'équipement de registre recevait les chiffres composés
et pouvait traiter et stocker 100 numéros à neuf chiffres.
Cette capacité n'a pas été pleinement exploitée
à Highgate Wood, bien que le registre et la plupart des équipements
de contrôle soient potentiellement capables de gérer
le trafic d'un grand central métropolitain.
La première tâche du contrôle électronique
était de détecter l'arrivée d'un nouvel appel.
A cet effet, la terminaison de ligne de chaque abonné était
examinée pendant une période de 280 microsecondes toutes
les 224 millisecondes, un processus connu sous le nom de balayage.
Les jonctions ont été scannées à huit
fois ce taux. Le balayage était effectué par un tambour
magnétique, dont chaque piste était divisée en
100 sections ou mots, un pour chaque ligne. Des voies parallèles
ont été utilisées pour chaque tranche de 100
lignes, une voie fournissant les informations permanentes (IDF) (c'est-à-dire
le numéro d'annuaire et la classe de service), une autre voie
donnant une information semi-permanente (c'est-à-dire si la
ligne était déjà occupée ou autre). Étant
donné que les pistes sont commutées en séquence,
les informations relatives à chaque ligne peuvent être
lues séquentiellement lorsque le tambour tourne, la position
angulaire du mot ainsi que le numéro de piste définissant
la position de l'équipement, c'est-à-dire le numéro
d'appareil de ligne de la ligne balayée. Les groupes de 800
lignes (jonctions et abonnés) à Highgate Wood ont été
divisés en huit sous-groupes, un sous-groupe pour chaque piste
du tambour.
Pour éviter l'utilisation d'une mémoire de ligne à
retard séparée pour chaque terminaison de ligne, il
était pratique d'utiliser, dans chaque groupe de 800 lignes,
trois ensembles de cinq mémoires codées pour correspondre
à la désignation ZXY de la ligne. Lorsque le tambour
tournait, il générait des formes d'onde correspondant
au code ZXY de la ligne dont les informations étaient disponibles
à ce moment-là. Ces formes d'onde indiquaient les lignes
à retard appropriées et si un appel devait être
établi, une impulsion sélectionnée était
injectée dans les lignes à retard sélectionnées,
ce qui les faisait ouvrir les portes de ligne à plusieurs reprises
au temps d'impulsion sélectionné, l'impulsion continuant
à circuler jusqu'à ce que la connexion soit établie.
effacé.
Le centre de Highgate Wood avait déjà
transporté du trafic public à titre expérimental
pendant de brèves périodes au cours des semaines précédentes.
Il a également annoncé ce jour-là la construction
de trois centres électroniques plus avancés qui seront
installés et opérationnels au cours des deux prochaines
années à Goring-on-Thames. ( canal TDM 100 à
haut débit ), Pembury (canal TDM 30 à bas débit)
et à Leighton Buzzard. Le seul achevé est le
TXE 1 à Leighton Buzzard, les deux autres étant rapidement
abandonnés.
Chacun des trois nouveaux centraux, qui devaient tous
fonctionner de manière totalement autonome, sans central de
secours comme c'était le cas à Highgate Wood, devait
être conçu pour tester les conditions de service réelles.principe
de la modulation d'amplitude d'impulsion (TDM) par répartition
dans le temps , et le troisième, à Leighton Buzzard,
sur la commutation par répartition dans l'espace.
Tous les trois devaient être entièrement transistorisés
afin qu'ils soient plus compacts que Highgate Wood et auraient eu
besoin de moins de puissance. Ils devaient également montrer
une amélioration significative de la fiabilité qui avait
été un problème à Highgate Wood. Le modèle
de Highgate Wood avait fonctionné "de manière raisonnablement
satisfaisante" en laboratoire mais la transmission analogique
était trop bruyante sur les longs câbles dans un échange
réel. On pensait que le problème venait des dispositifs
de mise à la terre.

Mais à peine le centre avait-il été
lancé que des problèmes techniques signifiaient que
le central avait cessé de gérer le trafic en direct
après quelques mois et a été utilisé à
la place comme site expérimental, pour tester le trafic artificiel.
Les problèmes comprenaient la consommation d'énergie
élevée, les coûts des composants (pour lesquels
3 000 vannes, 150 000 diodes et 26 000 transistors étaient
nécessaires) et l'incompatibilité avec le réseau
existant. Alors que Radley avait justifié la construction d'un
central entièrement électronique comme étant
un moyen d'améliorer la position en gardant une longueur d'avance
sur ses concurrents, le projet s'est avéré trop ambitieux.
La décision de se concentrer sur une méthode de commutation
électronique a eu l'effet inverse, les autres entreprises britanniques
prenant du retard sur les développements internationaux. Sans
plan d'urgence, la Poste a fini par acheter des centres crossbar tout
en poursuivant ses recherches sur d'autres échanges électroniques.
N'ayant pas été conçus avec la poste à
l'esprit, les échanges crossbar n'étaient pas parfaitement
adaptés au système britannique. En se concentrant sur
un projet ambitieux, la poste avait limité ses options et forcé
l'achat d'équipements génériques, manquant des
fonctionnalités que le département jugeait souhaitables
Malgré la reconnaissance antérieure
par l'ingénieur en chef et son adjoint que Highgate Wood était
un centre expérimental non rentable, le bureau de poste a toujours
invoqué une relation entre le prestige de la recherche et les
perspectives d'exportation.
Le prestige signifiait différentes choses pour ces différents
groupes : pour la RAS, cela signifiait la réputation de la
science britannique, La flexibilité interprétative du
prestige signifiait qu'en l'invoquant, on disposait d'un terme qui
pouvait rassembler différents groupes, même pour des
raisons différentes. Pour Highgate Wood, le « prestige
» affiche cette flexibilité dans la coordination de différents
groupes avec différents objectifs : pour Flowers, le «
prestige » signifiait la reconnaissance de son travail sur Colossus
; pour le département d'ingénierie, cela signifiait
une reconnaissance internationale ; et pour le ministre des Postes
et d'autres ministères, cela signifiait augmenter les perspectives
d'exportation .
Les problèmes de Highgate Wood ont retardé considérablement
le projet. Le centre est entré en service en 1962, avec quatre
ans de retard, et a été un échec lamentable.
Son taux de défaillance des composants était assez faible,
mais Roy Harris a répertorié comment le système
a subi plusieurs défauts insolubles. Il transportait progressivement
moins de trafic au fil du temps, car les impulsions n'étaient
pas toujours effacées des mémoires de connexion après
les appels, et les canaux continuaient donc à paraitre occupés.
La les lignes des abonnés étaient pulsées cinq
fois par seconde, tandis que les jonctions étaient pulsées
quarante fois par seconde provoquait des interférences.
En 1963, les recherches sur les échanges PAM/TDM sont
ainsi abandonnées : économiquement, le matériel
nécessaire est trop cher, alors que techniquement, il est clair
que le PAM continuera à produire des interférences et
des incompatibilités entre différentes fréquences
pulsées.
Flowers a démissionné en 1964. Highgate Wood, cependant,
est resté ouvert. Le prestige national signifiait qu'il ne
pouvait pas être simplement fermé « Highgate Wood
a une valeur de prestige... ce sera le seul échange électronique
vraiment connecté au système public en Grande-Bretagne...
et a été une caractéristique importante des visites
. Des préparatifs sont en cours pour une visite de journalistes
techniques continentaux en mars [1964] ».
Le Highgate Wood expérimental, déconnecté du
réseau téléphonique, reste ainsi en place comme
symbole du prestige britannique. Il a finalement été
supprimé en 1965 .
La commutation à semi-conducteurs devrait attendre
encore quelques années pour les systèmes numériques,
tandis que la recherche immédiate est passée à
la commutation basée sur un relais Reed avec contrôle
à semi-conducteurs que vous pourriez considérer comme
la solution intermédiaire entre les systèmes électromécaniques
et électroniques.
Après cet échec coûteux, les Britanniques sont
restés en dehors du domaine de la commutation électronique
pendant les vingt années suivantes.
Il faudra attendre 1965 pour que des installations d'essai
d'équipements électroniques de centraux téléphoniques
d'une capacité allant jusqu'à 200 lignes téléphoniques
soient mises en service à Leamington Spa le 25 mars et à
Peterborough le 10 juin.
Pourtant en 1966 le premier central téléphonique électronique
de production entièrement opérationnel en Europe (le
premier de petite à moyenne taille au monde) a été
ouvert à Ambergate, Derbyshire. Il s'agissait d'un échange
de relais Reed TXE2.
L'approche de la division de commutation spatiale,
utilisant des relais à lames pour la commutation, s'est
révélée plus prometteuse et le développement
a été concentré dans ce domaine, conduisant finalement
au succès du TXE2 et plus tard du TXE4.
sommaire
3 - En France
En 1947 Maurice Deloraine, alors directeur technique
du groupe ITT, avait déposé le premier brevet de commutateur
numérique à répartition temporelle et
soutenu une thèse de Docteur-Ingénieur à Paris
sur ce thème.
Puis au sein du LCT, en 1948-50
Pierre Aigrain (secrétaire d'État chargé
de la recherche sous la présidence de Valéry Giscard
d'Estaing) vérifie la faisabilité dune commutation
analogique à répartition temporelle avec
modulation PAM (Pulse amplitude modulation) et enfin en 1958
le brevet E.Touraton - J-P. Le Corre, ingénieurs
au LCT, complète celui de M. Deloraine.
1947, il a été fait un exposé sur la commutation
électronique temporelle devant la Société française
des radio- électriciens.
Contrairement à la commutation spatiale qui oriente les signaux
téléphoniques tels quils lui sont transmis à
partir du microphone de lappareil dun utilisateur, la
commutation temporelle ne les aiguille quaprès les avoir
échantillonnés dans le temps et transformés en
combinaisons numériques selon le principe de la modulation
par impulsions codées (MIC). Cette transformation en numérique
permet dutiliser un réseau de connexion intégralement
électronique et contourne donc les difficultés que rencontre
la commutation électronique spatiale à trouver un point
de connexion réellement satisfaisant .
Malgré cet avantage, la complexité technique, et donc
le coût élevé de lopération, enlèvent
apparemment toute chance à la commutation temporelle, du moins
au début des années 1960. Mais celle-ci peut retrouver
un intérêt fondamental dans la mesure où elle
est transparente à ce système de modulation par impulsions
codées qui retient depuis longtemps déjà lintérêt
des spécialistes de la transmission.
Début 1954 Il n'y a pas de grand central
entièrement électronique en service. Les constructions
connues sont des centraux automatiques avec un petit nombre de lignes.
- Un central automatique multiplex spatial de 100 lignes et
16 jonctions a été construit au LCT
Laboratoire Central de Télécommunications décrit
un peu plus bas dans la page. Des diodes de contact ponctuel au germanium
ont été utilisées comme points de commutation
et des tubes à gaz comme mémoires.
- En 1953 et 1955 au Royaume Unis (voir plus haut) un centre automatique
de Dollis Hill temporelles utilisant divers composants - tubes
à vide, tubes à gaz et diodes au germanium.
- Un autocommutateur spatial à 10 lignes à 3
jonctions a été construit dans les laboratoires Philips
et décrit en 1954 par W. Six. Le point de contact était
le tube à gaz. Cet équipement a fonctionné pendant
plusieurs années dans les laboratoires de Philips.
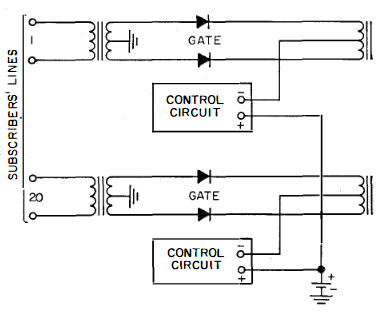
En 1956 le LCT a réalisé
un central automatique (Français) entièrement électronique
de 20 lignes pour la marine française. (article ci dessous).
Après un travail de développement ayant duré
10 ans, le Laboratoire central de télécommunications
(LCT) à Paris, une maison associée de la Standard Téléphone
& Radio SA à Zurich, a présenté aux intéressés
le premier autocommutateur téléphonique entièrement
électronique. Il s'agit d'une installation automatique à
20 lignes destinée à la marine de guerre de la République
française. Le service téléphonique est très
dur sur un navire de guerre, le matériel étant soumis
à des chocs violents et subissant des températures élevées;
il exige donc une installation apte à résister à
toutes les influences extérieures. Les automates domestiques
courants à éléments de commutation électro-mécaniques
(relais, chercheurs), dont les contacts mécaniques sont sujets
à être souillés, ne répondent pas à
des exigences aussi sévères, si bien que jusqu'à
maintenant les liaisons téléphoniques internes des navires
de guerre se faisaient manuellement. La marine de guerre américaine
s'intéresse également aux techniques électroniques
pour la commutation automatique. Des travaux semblables sont actuellement
entrepris aux Etats-Unis, reposant sur l'utilisation des transistors.
La solution du LCT est assez différente en ce sens qu'elle
n'utilise pas de transistors, mais des diodes au silicium et des inductances
à noyau saturable. Le but recherché par le LCT était
de ne faire appel qu'à des matériaux de base simples
et dont la robustesse et le comportement aux influences sont bien
connus.
Central téléphonique entièrement
électronique à 20 lignes Par CLAUDE DUMOUSSEAU LCT
Paris,
Voir : Communication électrique, tome 34 pages 92-101 ; juin
1957.
|
L'INTRODUCTION de l'électronique
dans un domaine aussi vaste que la commutation téléphonique
présente de nombreux aspects souvent contradictoires.
Un équipement ne peut donc être construit que sur
la base d'une série de compromis impliquant des éléments
tels que le temps de réalisation, le coût de la
recherche, le coût de fabrication, la fiabilité,
la possibilité de faire des extensions ultérieurement,
diverses caractéristiques de fonctionnement, etc.
Cet article décrit un central téléphonique
automatique entièrement électronique répondant
aux exigences de la Marine Nationale en mettant l'accent sur
un seul de ces facteurs ; celui de la fiabilité.
C'est un choix naturel, étant l'exigence essentielle
qui n'est pas suffisamment présente dans les systèmes
électromécaniques pour permettre leur utilisation
dans cet environnement sévère.
Il est évident qu'une conception basée sur des
exigences navales spéciales peut ne pas convenir à
une utilisation commerciale régulière. Par conséquent,
il n'est pas question de résoudre tout le problème
de la commutation électronique.
On espère cependant qu'il constituera l'une des pierres
angulaires de la structure complexe du central électronique
du futur.
Quelles ont été les considérations qui
ont dicté la construction de cet équipement, comment
se compare-t-il aux autres solutions possibles actuellement,
et comment va-t-il évoluer dans l'immédiat ? Ces
trois questions sont examinées dans cet article.
1. Choix des composants et diagramme
L'objectif de fiabilité était particulièrement
difficile à atteindre compte tenu des conditions dans
lesquelles les équipements devaient fonctionner. C'est
pour cette raison que l'on n'a utilisé que les composants
qui avaient fait leurs preuves pendant de nombreuses années
et que l'on a adopté le schéma d'ensemble le plus
simple et le plus conventionnel possible.
Parmi les différents types de commutation électronique
analysés par Goudet, la commutation spatiale, qui n'implique
que des transmissions à basse fréquence, a été
retenue.
1.1 ÉLÉMENT DE CONTACT AU CHOIX
Notre équipement commute donc directement les fréquences
vocales comme dans les équipements de commutation électromécaniques
habituels. Dans ce dernier, l'élément essentiel
est le contact. Comme le mot "contact" véhicule
une idée de mouvement, il a été remplacé
dans le langage électronique par le mot "porte",
qui est couramment utilisé en relation avec les ordinateurs
numériques.
Onpourrait penser qu'un élément aussi connu serait
facile à obtenir. En fait, ce n'est pas le cas, car la
qualité des portes qui doivent être utilisées
dans la commutation téléphonique est bien supérieure
à celles généralement utilisées
pour les machines à calculer. En téléphonie,
une porte doit avoir aux fréquences vocales un rapport
d'impédance entre blocage et conduction de l'ordre de
105 A l'état passant, l'atténuation ne doit
pas dépasser une fraction de décibel et à
l'état bloquant la diaphonie résultant de l'ouverture
de la porte incomplètement bloqué doit à
l'état passant, l'atténuation ne doit pas dépasser
une fraction de décibel et à l'état bloquant
la diaphonie résultant d'un blocage incomplet de la grille
doit être inaudible ; c'est-à-dire de l'ordre de
- 80 décibels par rapport au niveau moyen de conversation.
Généralement avec les ordinateurs numériques,
il s'agit de savoir si un signal passe ou non, et un rapport
d'impédance de grille de 102 est donc tout à fait
suffisant. Il est clair que les portes utilisées dans
les machines à calculer ne seraient pas adaptées
à la commutation téléphonique.
Divers dispositifs à semi-conducteurs sont largement
utilisés comme portes dans les machines à calculer.
La plupart d'entre eux sont utilisés depuis plusieurs
années en nombre suffisant et avec assez peu d'échecs
pour ne laisser aucun doute sur leur fiabilité.
Parmi celles-ci, la diode à jonction silicium est particulièrement
remarquable pour trois raisons.
A. Son rapport d'impédance entre blocage et conduction
est considérable : en conduction, la diode au silicium
possède une impédance quasi de 4 ohms, alors qu'en
condition de blocage, son impédance correspond à
1 000 mégohms en parallèle avec un condensateur
de 5 picofarads .
B. De structure simple, il est adaptable à la production
en série, fiable en fonctionnement et particulièrement
robuste mécaniquement.
C. Parmi les semi-conducteurs couramment utilisés, le
silicium a la meilleure stabilité thermique. Utilisé
comme porte dans la bande des fréquences vocales, ses
caractéristiques ne changent pas sensiblement entre -
40 et + 120 degrés centigrades (- 40 et + 248 degrés
fahrenheit).
Pour ces raisons, la diode à jonction silicium a été
choisie comme élément de base de l'échange
automatique.
Il est fabriqué en alliant un fragment de cristal de
silicium avec un fil d'aluminium. A la suite d'une étude
spéciale entreprise à cet effet, cette diode peut
maintenant être fabriquée de manière à
ce qu'elle ait les caractéristiques les mieux adaptées
à la commutation téléphonique.
La figure 1 montre la caractéristique statique d'une
telle diode. Les deux points de fonctionnement correspondent
à - 5 volts pour le blocage et + 1 0 milliampères
pour l'état conducteur.
1.2 CHOIX DE LA COMMUTATION -PRINCIPE
Il est pratique d'utiliser la représentation "crossbar"
pour discuter des schémas de commutation quel que soit
le système considéré. Un sélecteur
crossbar électronique se compose essentiellement de 2
réseaux de fils : un réseau horizontal de n fils
et un réseau vertical de p fils comme le montre la figure
2 .
Figure 2 - Disposition de barres transversales élémentaires
composée de deux réseaux de fils avec une grille
à chaque point de croisement
Chacun des n X p points de croisement de ces deux réseaux
est marqué par une porte.
La façon la plus simple de construire cette porte est
de connecter une diode à chaque croisement aux fils verticaux
et horizontaux à ce point.
Pour commander l'ouverture et la fermeture de cette porte, il
suffit d'appliquer une tension continue entre les fils verticaux
et horizontaux reliés · à la diode. Selon
le signe de cette tension, la grille serait ouverte ou fermée.
Malheureusement, avec cette méthode les deux grilles
de coordonnées X1 Y1 et X2 Y2 ne peuvent pas être
rendues conductrices simultanément sans que deux autres
grilles de coordonnées X1 Y2 et X2Y1 soient également
rendues conductrices ; ceci a pour conséquence de substituer
à deux liaisons distinctes, chacune entre deux abonnés,
une liaison commune entre quatre personnes.
Il serait nécessaire dans un système pratique
d'en fournir. un sélecteur crossbar pour chaque conversation,
ce qui n'est pas économique. Il y a deux façons
de surmonter cette difficulté.
La première consiste à séparer les fonctions
de création et de maintien d'une connexion.
Le marquage des portillons à travers les fils du sélecteur
crossbar doit se faire avec une impulsion courte et ce marquage
doit être maintenu par la suite par les portillons eux-mêmes.
Ces portes.
possèdent alors une fonction de mémoire.
De telles portes peuvent être constituées d'éléments
simples comme des tubes à gaz et certains semi-conducteurs
à 4 jonctions comme des diodes n-p-n-p, ou plus complexes
De telles portes peuvent être constituées
d'éléments simples comme des tubes à gaz
et certains semi-conducteurs à 4 jonctions comme des
diodes n-p-n-p, ou des bascules plus complexes composées
d'assemblages de diodes, de transistors, de matériaux
magnétiques, etc. Malheureusement, la diode au silicium
ne peut pas être utilisée comme grille dans ce
procédé car elle ne possède pas de mémoire.
La deuxième méthode, qui permet plusieurs conversations
simultanées à travers le même sélecteur,
consiste à abandonner le marquage par les fils du sélecteur
au profit d'une commande directe des portes au moyen d'un dispositif
auxiliaire qui maintient ce marquage.
Une bascule peut être connectée à chaque
porte ou un réseau complexe peut connecter un certain
nombre de points mémoire aux portes passant à
tout moment.
Lorsqu'une mémoire est connectée uniquement aux
portes, une économie appréciable peut être
réalisée sur le nombre de mémoires
points.
Cependant, cette solution perd beaucoup de son intérêt
par la complexité du réseau.
Pour un petit équipement, il est probablement plus avantageux
d'avoir une mémoire, telle qu'une bascule, connectée
en permanence à chaque porte. C'est la solution retenue
dans ce cas.
Le problème de la connexion permanente d'une bascule
à chaque porte peut être examiné indépendamment
du reste du sélecteur.
Figure 3 - Diode et batterie de polarisation connectées
entre les enroulements de deux transformateurs pour agir comme
un interrupteur ouvert ou fermé en fonction de la polarité
de la batterie.
Dans la figure 3, considérons le
fonctionnement élémentaire d'une porte à
diode unique entre deux enroulements de transformateur utilisés
comme entrée et sortie pour des signaux à courant
alternatif. L'élément de contrôle équivaut
à une pile ; dont la polarité peut être
inversée.
La batterie n'a besoin que d'une faible impédance interne,
ce qui est facilement obtenu en la shuntant avec un condensateur.
Lorsqu'il est connecté du côté diode des
enroulements du transformateur, il a l'avantage de permettre
la multiplication des deux enroulements des transformateurs
et limite le nombre de transformateurs au nombre de fils dans
le sélecteur crossbar, soit n + p.
Cependant, une batterie placée dans cette position ne
doit pas faire fuir trop de signal vers la masse ou vers les
circuits adjacents au risque de provoquer des pertes et de la
diaphonie.
Alternativement, la batterie peut être placée du
côté terre par rapport aux enroulements du transformateur,
comme illustré à la figure 4.

Figure 4 - Disposition adoptée utilisant une source de
polarisation dans le fil de terre et 2 diodes pour maintenir
les courants vocaux hors du circuit de polarisation.
La multiplication peut alors s'effectuer d'un seul côté,
de sorte qu'il doit y avoir de l'autre autant d'enroulements
de transformateur que de points de croisement.
Le nombre total d'enroulements est alors n + np ou p + np. Cependant,
la batterie est particulièrement facile à utiliser.
De plus, la transmission 2 fils.
Le circuit peut être équilibré en utilisant
une deuxième diode.
Comme aucun courant alternatif ne traverse la batterie, elle
peut avoir n'importe quelle impédance. Cette disposition
a été choisie en raison de la facilité
avec laquelle elle peut être utilisée.
Les principes sur lesquels repose la conception du circuit de
commutation peuvent être résumés comme suit
:
A. Commutation spatiale, qui ne nécessite qu'une transmission
de fréquence vocale.
B. Marquage de chaque porte aux croisements par des bascules
auxiliaires.
C. Circuits de transmission équilibrés.
D. Connexion en série des bascules de commande de grille
entre les prises centrales des transformateurs.
2. Description du central automatique
L'agencement global est celui d'un seul équipement crossbar
à étage de sélection permettant 4 conversations
simultanées.
Cet échangeur dessert 20 lignes d'abonnés. Il
peut y avoir 2 appels simultanés en cours d'établissement.

Dans le schéma simplifié représenté
sur la figure 5, les lignes horizontales représentent
20 lignes d'abonnés et 2 registres, et les lignes verticales
désignent 4 circuits de connexion que l'on appellera
"jonctions".
Ainsi, une communication entre les lignes d'abonnés 2
et 20 peut être établie par le chemin CD 2-A-20,
ou si la jonction A est déjà occupée par
une autre conversation, par un chemin CD alternatif à
travers n'importe quelle jonction libre.
La figure 6 montre l'une des jonctions connectées aux
20 lignes d'abonnés et à 2 registres.
Cette jonction est constituée d'un noyau magnétique
commun à 2 2 enroulements de transformateur reliés
aux lignes et registres par des circuits 2 fils par l'intermédiaire
de 22 portes électroniques composées chacune de
2 diodes au silicium.

Figure 6 - Circuit magnétique utilisé
comme jonction connectée à 20 lignes d'abonnés
et 2 registres.
Comme on le verra sur la figure 7, les diodes sont insérées
entre les enroulements des transformateurs de ligne et de jonction.
Une batterie à polarisation fixe et le circuit de commande
sont connectés en série entre les prises centrales
des transformateurs.
Figure 7 - Méthode par laquelle des circuits de commande
individuels peuvent rendre conductrice la porte d'une ligne
d'abonné en inversant la polarité et en dépassant
la tension fournie par une batterie commune qui maintient normalement
les diodes en état de blocage.
Lorsque le circuit de commande ne fournit pas de tension, la
porte est normalement bloquée. Lorsque le circuit de
commande fonctionne, il fournit une tension qui compense la
batterie de polarisation et inverse le signe de la tension appliquée
aux diodes. Ce sont alors la conduite et le sous la ligne du
traceur a accès au noyau magnétique qui constitue
la jonction.
2.1 CIRCUIT FERRORESONANT
Lors de la conception du circuit de commande connecté
à chaque porte, la fiabilité a continué
de recevoir la première considération.
Seuls des composants qui avaient fait leurs preuves au fil des
ans ont été utilisés et ils fonctionnent
bien en dessous de leurs cotes. Ces exigences étaient
satisfaites par un circuit ferrorésonnant ou bascule
magnétique qui est représenté sous une
forme simplifiée sur la figure 8.

Figure 8-Un condensateur en série avec une inductance,
dont le noyau peut être saturé magnétiquement,
fonctionne à 8000 cycles en tant que circuit ferrorésonant
ou bascule magnétique.
Il possède deux conditions stables bien distinctes, l'une
avec un courant faible et l'autre avec un courant élevé.
Dans la condition de courant faible, il peut être considéré
comme inopérant et n'interfère pas avec l'action
de la batterie de polarisation en bloquant les diodes. Dans
l'état de courant élevé, il produit une
tension supérieure et de polarité opposée
à la tension de polarisation pour la surmonter et rendre
les diodes conductrices.
Sur la figure 8, la capacité C et l'inductance Lare en
série et alimentées par une tension alternative
à une fréquence de 8 kilocycles par seconde.
il produit une tension supérieure et de polarité
opposée à la tension de polarisation pour la surmonter
et rendre les diodes conductrices
Sur la figure 8, la capacité C et l'inductance La sont
en série et alimentées par une tension alternative
à une fréquence de 8 kilocycles par seconde.
Ce circuit est bien connu en radio. Lorsque l'on fait varier
la fréquence, cela donne lieu au phénomène
non connu sous le nom de résonance série. Cependant,
la résonance série n'est pas impliquée
dans cette conception. Le circuit fonctionne à une fréquence
fixe qui n'est pas la fréquence de résonance.
Ses performances sont basées sur la saturation magnétique
qui se produit dans
le noyau de l'inductance lorsque le courant augmente.
Sur la figure 9, la tension EL aux bornes de l'inductance augmente
d'abord proportionnellement à l'amplitude du courant.
Pour les valeurs de courant plus élevées, l'effet
de saturation devient évident et EL augmente beaucoup
moins vite, la courbe étant infléchie. La tension
Ee aux bornes du condensateur augmente proportionnellement au
courant. Ee est représenté en négatif sur
le graphique pour exprimer le fait que les deux tensions sont
déphasées l'une par rapport à l'autre.

Figure 9-Les tensions apparaissant aux bornes du condensateur
Ee et de l'inductance EL en fonction du courant qui les traverse
sont représentées avec la tension totale Er aux
bornes des deux.
La tension totale ET aux bornes de l'inductance
et du condensateur en série est additionnée algébriquement
et les valeurs absolues sont tracées sur la figure 10
.

Figure 10 - Les valeurs absolues des sommes algébriques
de Ee et EL sont tracées ci-dessus.
Il ressort de la figure 10 que, sur une certaine plage, une
tension alternative donnée appliquée aux bornes
de l'ensemble du circuit produira un courant pouvant avoir trois
valeurs distinctes correspondant aux points Pl, P2 et P3.
Le point P2 est une condition instable. Seuls P1 et P3 représentent
des points de fonctionnement stables. Le courant traversant
le primaire d'un transformateur de couplage induit une tension
dans le secondaire qui est redressée pour produire une
tension de sortie pouvant prendre deux valeurs bien distinctes
et de même signe.
Lorsque le circuit est mis en service en appliquant la tension
alternative, le système assume une condition de courant
faible.
Pour le faire passer à un état de courant élevé,
il suffit de saturer momentanément le noyau magnétique
au moyen d'un courant traversant un enroulement auxiliaire.
Un retour à l'état d'origine peut être obtenu
en coupant momentanément la tension d'alimentation.
La figure 11 montre un petit panneau sur lequel une de ces bascules
magnétiques est montée. Les connexions du circuit
imprimé sont en face arrière comme illustré
à la figure 12 .

Sur la figure 13 se trouvent les principaux composants constitués
de condensateurs, d'inductances, de redresseurs au sélénium
et de diodes au silicium.
Maintenant que les principaux circuits ont été
décrits, on peut considérer le mécanisme
par lequel une connexion est établie dans le central
automatique.
En référence à nouveau à la figure
5, lorsqu'un abonné décroche le combiné,
un signal est produit qui modifie l'état de la bascule
magnétique à l'intersection de la ligne d'appel
et de l'une des jonctions disponibles, en supposant qu'il y
en ait une.
Les deux diodes qui lui sont reliées dont l'une est reliée
au moyen d'un fil de ligne deviennent alors conductrices et
la ligne de l'abonné est ainsi reliée à
une jonction. Ce dernier est relié à un registre,
également constitué de bascules magnétiques,
et le numéro composé est stocké dans le
registre. Après cela, un réseau de redresseurs
appelé matrice de décodage entre en jeu. Pour
chaque numéro enregistré, il fait apparaître
un signal sur le fil attribué à ce numéro.
Ce signal provoque un changement d'état de la bascule
magnétique placée à l'intersection de la
jonction sélectionnée et de la ligne appelée.
Une fois la connexion établie, le registre se libère
pour pouvoir traiter de nouveaux appels.
2.2 CIRCUIT DE FONCTIONNEMENT VERS LA LIGNE DE L'ABONNÉ
APPELANT
Comme indiqué au paragraphe précédent,
lorsqu'un abonné décroche le récepteur,
un signal est produit qui provoque un changement de l'état
de la bascule magnétique placée à l'intersection
de la ligne appelante avec l'une des jonctions. Il est exigé
qu'un seul carrefour soit saisi par une ligne à la fois
et qu'une ligne ne puisse saisir un carrefour déjà
occupé. Un dispositif appelé répartiteur
de jonction assure ces deux conditions.
Comme le montre la figure 14, un distributeur de jonction est
constitué essentiellement d'un compteur à 4 positions
fermé sur lui-même qui peut tourner et s'arrêter
sur la première jonction libre qu'il rencontre. Ce compteur
est également composé de bascules magnétiques.
Son rôle est de préparer la jonction pour qu'elle
soit prête à être saisie par la prochaine
ligne appelante.
A cet effet, la porte bascule entre les
jonctions et les lignes d'abonnés, 20 en nombre, sont
suivis d'un circuit supplémentaire appelé bascule
de repos.
L'ensemble du groupe de 21 bascules est alimenté comme
le montre la figure 15 avec un courant à 8000 cycles
à travers un condensateur commun qui a une valeur de
sorte qu'une seule bascule à la fois peut avoir un courant
élevé. C'est une propriété essentielle
des bascules ferrorésonnantes.
Lorsqu'une jonction n'est ni saisie ni prête à
être saisie, un courant continu circule dans un enroulement
auxiliaire E de la bascule de repos pour saturer son circuit
magnétique et le mettre à l'état de courant
fort. Aucune autre bascule de la même jonction ne peut
alors également avoir un courant élevé.
Aucune ligne ne peut donc accéder à cette jonction
car elle est occupée par la bascule restante.
Lorsqu'une jonction est préparée pour être
prise par le répartiteur de jonction, le courant circulant
dans l'enroulement E est interrompu mais la bascule de repos
reste à courant élevé en raison de sa propriété
de mémoire.
Par contre, la bascule correspondant à la première
ligne appelante peut passer à l'état de courant
fort dès qu'un instant
un signal saturant lui est envoyé par la ligne ; il conservera
alors son état de courant fort jusqu'à ce qu'un
nouvel ordre soit envoyé à la jonction.
Enfin, lorsqu'une jonction est saisie, un courant important
traverse la bascule correspondant à la ligne qui a saisi
la jonction et empêche toute autre ligne de saisir la
même jonction.
Un circuit commun aux bascules 20 lignes indique au répartiteur
si une jonction a été saisie et que le répartiteur
doit poursuivre sa recherche d'une jonction libre.
Si toutes les jonctions sont prises, le répartiteur de
jonction continue de tourner jusqu'à ce qu'une jonction
se libère. Sa vitesse de rotation est d'environ 1 jonction
par milliseconde, de sorte que dans le cas le plus défavorable
le distributeur met 4 millisecondes pour signaler qu'une jonction
vient d'être libérée.
2.3 CIRCUIT D'ENREGISTREMENT
Dès qu'un carrefour est saisi, il recherche un registre
libre. Cette opération s'effectue exactement de la même
manière que la recherche faite par une ligne d'une jonction
libre. Le distributeur de registre sélectionne l'un des
deux registres qui est libre.

Figure 15-Application de la tension à
2 1 circuits à bascule via un condensateur commun pour
permettre à un seul d'être actif à la fois.
Chaque registre se compose d'un circuit de retard de 150 millisecondes,
d'un compteur de trains, d'un compteur de dizaines, d'un compteur
d'unités et d'une matrice de décodage, comme illustré
à la Figure 16.

Le rôle du circuit de retard est d'envoyer une impulsion
au compteur de trains après que 150 millisecondes se
soient écoulées depuis que la dernière
impulsion d'une série a été envoyée
par le cadran de l'abonné. Ce circuit opère donc
sur tous les fronts descendants des trains d'impulsions et permet
de séparer les unités des dizaines.
Le compteur des trains est à 3 étages et au repos
est en position 1. La première série d'impulsions
numérotées entrantes va au compteur des dizaines
car la porte sous contrôle de la position 1 est alors
ouverte.
A la fin du premier train d'impulsions, la commande passe à
la seconde position fermant la porte du compteur des dizaines
et ouvrant la porte du compteur des unités qui enregistre
la seconde série d'impulsions.
A la fin du deuxième train, qui correspond à la
fin de la numérotation à 2 chiffres, la commande
passe à la troisième position, qui relie la matrice
de décodage aux compteurs des dizaines et des unités.
Cette matrice de décodage à diodes fournit alors
une tension aux sorties appropriées du registre, connectant
ainsi l'abonné appelé au
jonction. Le registre devient alors libre et tous ses compteurs
reviennent au repos.
2.4 CIRCUIT DE ONCTION VERS LA LIGNE DE L'ABONNÉ APPELÉ
La connexion entre l'abonné appelé et la jonction
est contrôlée par la matrice de décodage
du registre à l'aide d'un deuxième jeu de 20 bascules
de ligne affectées aux abonnés appelés
et 1 bascule de repos pour chacune des 4 jonctions .
Ainsi, les opérations impliquées lors de la prise
d'une jonction par la ligne d'un abonné appelant sont
complètement séparées de celles impliquées
dans le raccordement de la ligne de l'abonné appelé
à la jonction.
Ces 21 bascules sont également alimentées à
8000 cycles à travers un condensateur commun, de sorte
qu'un seul d'entre eux peut avoir un courant élevé
à la fois. Ce sera soit la bascule de repos, lorsque
la jonction n'est reliée à aucune ligne appelée,
soit la bascule correspondant à la ligne d'abonné
appelée lorsque la matrice de décodage à
diodes du registre a fourni un potentiel sur le fil correspondant
à cette doubler.
Il est évident que cette séparation des circuits
de commande de l'appelant et de l'appelé et les propriétés
des circuits ferrorésonnants couplés remplissent
automatiquement les conditions de double test si importantes
dans la commutation téléphonique.
2.5 CIRCUIT DE SONNERIE
La fonction sonnerie soulève ce qui est actuellement
l'une des questions les plus controversées quant à
l'utilisation de l'électronique dans la commutation téléphonique.
Tous les circuits qui viennent d'être décrits sont
susceptibles d'être alimentés ou de transmettre
une puissance d'environ 10 milliwatts.
C'est amplement suffisant pour des niveaux de parole normaux.
Malheureusement, cependant, une puissance d'environ 2 watts
est nécessaire pour faire sonner la sonnerie du poste
de l'abonné.
Avec les outils et techniques actuellement disponibles, les
portes électroniques des équipements ne peuvent
pas être rendues capables de transmettre une telle puissance.
L'alternative consiste à utiliser un amplificateur dans
le circuit de ligne de chaque abonné pour augmenter le
niveau de sonnerie de 10 milliwatts, qui circule normalement
dans l'équipement, à 2 watts.
Cet amplificateur est coûteux : on utilise un amplificateur
magnétique car il est très robuste et donc très
fiable. Mais il ne faut pas se voiler la face que cette solution
n'est pas forcément définitive comme on le verra
plus loin.
Le circuit de ligne avec l'amplificateur magnétique est
illustré à la Figure 17 .
L'amplificateur occupe les trois quarts du volume du circuit
de ligne.
2.6 ALIMENTATIONS
Le central utilise diverses alimentations pour son fonctionnement.
Ils comprennent une tension continue de 24 volts pour le microphone,
des tensions de polarisation directe de 6 volts et 24 volts
et une tension alternative à 8000 cycles.
Ces différentes tensions sont fournies à partir
du réseau SO ou 60 cycles par des redresseurs au sélénium
pour les tensions continues et à partir d'un oscillateur
à tube à vide de 10 watts pour la tension à
8000 cycles. La consommation électrique totale est d'environ
: 100 watts.
3. Aménagement
La figure 18 montre l'ensemble de l'équipement sous la
forme d'une unité compacte.
Pour faciliter l'accès aux différentes parties,
ils sont montés sur deux panneaux mobiles et escamotables.
Chaque panneau est divisé en étagères,
visibles sur la figure 19, dans lesquelles sont logées
les plaques imprimées supportant les circuits ferrorésonnants.
Le premier panneau accueille les 4 circuits de jonction et le
deuxième panneau porte les 2 registres.
La partie fixe de l'équipement dans la base abrite les
20 circuits de ligne.
L'ensemble de l'équipement a été spécialement
traité pour résister aux manipulations mécaniques
brutales et peut supporter les accélérations résultant
de chocs considérables, comme ceux produits par les machines
d'essais des services techniques de la Marine, qui emploient
une masse de 100 kilogrammes (220 livres) tombant d'une hauteur
de 1 . 5 mètres (59 pouces) .

Figure 18---Équipement de commutation
complet avec l'un des deux panneaux légèrement
"ouvert". Les deux panneaux peuvent être séparés
l'un de l'autre pour accéder aux composants.
4. Perspectives d'avenir
L'équipement qui vient d'être décrit remplit
les conditions qui lui sont imposées. Cependant, de nombreuses
améliorations sont encore souhaitables et comprennent
des éléments tels qu'une diminution du poids et
du volume et une augmentation de la vitesse de numérotation.
Il serait prématuré de tenter de donner des solutions
détaillées à ce stade car seules des études
préliminaires ont été réalisées.
Il est cependant possible de présenter quelques suggestions.
Il est hautement souhaitable d'éviter l'utilisation d'amplificateurs
magnétiques pour faire sonner l'abonné appelé
car ils occupent un tiers du volume du central actuel. Une solution
simple consiste à remplacer la sonnerie ou le vibreur
par un dispositif électromagnétique assimilable
à un mécanisme récepteur actionné
par un courant à fréquence vocale amplifié
par un transistor du poste d'abonné. Les circuits électroniques
de commutation du central n'auraient donc jamais à transmettre
une puissance supérieure à celle de la parole.
Maintenant que les circuits électroniques du central
permettent des opérations de commutation quasi instantanées,
le cadran du poste de l'abonné limite la vitesse de fonctionnement.
Les chiffres peuvent être transmis plus rapidement grâce
à l'utilisation d'un clavier à 10 touches ; cela
réduit la durée de l'opération d'au moins
3.
Le clavier pourrait envoyer des signaux
de fréquence vocale au lieu des impulsions de numérotation
habituelles et ils traverseraient tous les transformateurs du
central et les répéteurs des lignes longue distance
sans avoir à être transposés. De plus, ce
clavier serait beaucoup plus résistant aux chocs mécaniques
que le cadran actuel.
Le central actuel consomme une part importante de sa puissance
dans l'alimentation en courant continu des microphones des postes
d'abonnés. De nombreuses expériences sont en cours
pour diminuer cette puissance.
Pour les équipements militaires, une solution a été
apportée par l'utilisation de postes téléphoniques
autogénérateurs, qui ne consomment pas de courant
continu.
Ces ensembles ont, en plus, l'avantage d'être beaucoup
plus résistants aux chocs et aux vibrations que les micros
en carbone.
Si toutes les modifications esquissées étaient
adoptées, l'alimentation pourrait se réduire dans
les installations fixes à un redresseur 24 volts de quelques
watts et un petit oscillateur de 8000 cycles composé
de 2 transistors.
Dans les équipements portables, une petite batterie de
stockage de 24 volts et l'oscillateur à transistor suffiraient.
En conclusion, il semble évident que si le matériel
présenté aujourd'hui a le mérite de la
nouveauté, il doit encore subir un certain développement
avant de pouvoir être considéré comme définitif.
Le développement des équipements militaires devrait
être rapide car seuls des centraux de faible capacité
sont nécessaires.
Sur la base de la conception actuelle et intégrant les
améliorations décrites, il est maintenant possible
de construire un petit équipement léger consommant
très peu d'énergie et constitué de composants,
y compris les ensembles d'abonnés, qui fonctionneront
de manière fiable pendant une longue durée de
vie dans des conditions navales.
En ce qui concerne les besoins civils, il est certain qu'à
l'avenir la commutation électronique sera la technique
de base des grands échanges. Cependant, la construction
et l'introduction de tels centraux dans les réseaux existants
poseront de nombreux problèmes.
Parmi ceux-ci, non des moindres, figureront les dépenses
d'équipement pour interconnecter les échanges
électroniques avec ceux existants, ainsi que la formation
du personnel.
Cependant, l'expérience acquise dans le développement
de cet équipement naval sera un point de départ
utile pour des applications plus importantes, bien que plus
lointaines.
|
- 1958 Le Central
téléphonique automatique privé électronique
à 20 lignes est présenté à Bruxelles
|
DÉVELOPPÉ et fabriqué par
le LCT Laboratoire Central
de Télécommunications, Paris, et par BTMC
Bell Téléphone Manufacturing Company, de Anvers.
C'est un autocommutateur privé entièrement électronique
de 20 lignes il était au centre de l'intérêt
du pavillon de Bell à l'Exposition universelle de 1958
à Bruxelles. La photographie d'illustration montre des
visiteurs qui s'appelaient continuellement les uns les autres
en utilisant les téléphones sur la table et s'émerveillaient
de voir leurs connexions établies rapidement par des
moyens purement électroniques.
Le central peut gérer 4 conversations simultanées
et 2 appels simultanément au moyen de 20 circuits de
ligne d'abonnés, 4 circuits de jonction et 2 registres.
Les éléments de circuit fondamentaux utilisés
sont des diodes à jonction de silicium, de commutation
de la parole commandées par des circuits magnétiques
bistables constitués d'une réactance saturable
en série avec un condensateur pour former un circuit
ferrorésonnant.
En excluant complètement les contacts mobiles, tels que
ceux des relais, la durée de vie de l'équipement
devient pratiquement indéfinie.
Le poste d'abonné utilisé avec l'équipement
diffère de la conception conventionnelle : les chiffres
sont transmis à partir d'un clavier et non avec un cadran
et la sonnerie a été remplacée par un dispositif
électroacoustique piloté par un amplificateur
à transistor dans le poste.
Dans le central, le circuit de ligne de l'abonné comprend
un transformateur de ligne et le dispositif définissant
l'état de la ligne, occupée ou libre, etc. Les
circuits de commutation de la parole à diode au silicium
utilisent deux diodes miniatures pour établir un chemin
de la parole entre les abonnés.
En condition de blocage, les diodes sont équivalentes
à une résistance de 1 000 mégohms en parallèle
avec un condensateur de 5 picofarads. Dans l'état conducteur,
ils ont une résistance de seulement 4 ohms. La puissance
crête transmise est de 50 milliwatts et l'atténuation
totale de ligne à ligne est de 1 décibel. Les
interrupteurs à diodes sont actionnés par les
bascules magnétiques, qui forment également les
compteurs de registre. Ces bascules sont pilotées par
une alimentation 10 volts de 8 kilocycles par seconde. A cette
tension, ils ont deux conditions de fonctionnement ; dans un
état, le courant passé est 15 fois plus que celui
de l'autre état. Après conversion en courant continu
par des redresseurs au sélénium, la sortie de
la bascule polarise les diodes en état conducteur ou
bloquant.
Des circuits imprimés sont utilisés dans le commutateur;
ses dimensions ne sont que de 22 x 53 x 61 centimètres
. La puissance consommée par le central lui-même
(hors courants micro des postes d'abonnés) n'est que
de 30 watts en 24 volts.
 
C. Dumousseau, « Central téléphonique automatique
à 20 lignes entièrement électronique »,
|
Sur la même technologie un
autre centre à 240 lignes sera construit pour la Marine.
- En 1956, la société Stromberg-Carlson
a réalisé un central automatique de 100 lignes et 15
jonctions pour la marine américaine. Le point de contact du
circuit de connexion est probablement un transistor au germanium symétrique.
Cette liste ne serait pas complète sans la mention d'un important
projet en construction (voir plus haut) . Aux États-Unis, le
"Bell
Telephone Laboratories" a annoncé un central entièrement
électronique qui sera mis en service à Morris, Illinois,
au printemps 1959. Ilutilisera la commutation à fréquence
vocale avec des "gaz tubes".
... Il a été constaté que cet équipement
nécessite moins de la moitié de l'espace occupé
par un central électromécanique et que le poids est
réduit des trois quarts.
Le résultat le plus important des développements
d'ordinateurs au LCT a été la formation d'équipes
expérimentées, au moment où ITT s'interrogeait
sur la stratégie à suivre en vue de la commande
électronique des centraux téléphoniques [commutation
spatiale] : devions-nous acheter des ordinateurs IBM et les adapter,
ou en développer nous-mêmes ?
On a choisi d'en développer au Laboratoire Central des Télécommunications,
de Vélizy. Le premier a été le LCT 3200, dont
dix prototypes ont été construits en 18 mois.
Parallèlement, le LCT développait depuis 1959
le système qui s'appellera plus tard le RITA,
à base de Mitra 15M / 125, le système Thomson de gestion
des communications du champ de bataille, est un des grands succès
d'exportation de cette société puisqu'il a été
sélectionné par le commandement américain et
réalisé aux USA sous license. Il faut noter que ce système
utilise les techniques MIC mises au point par LCT / LMT.
sommaire
Du 4 au 6 mars 1957 organisé par AT&T
se tient aux USA le tout premier Colloque de Commutation Électronique
(Electronic Switching Symposium) à l'initiative des Laboratoires
Bell et visite du site "Pré-Morris". Cela agit comme
un électrochoc en France.
Convaincu que l'électronique était la voie à
suivre pour développer la prochaine génération
de commutateur, Pierre Marzin, créé le Département
Recherches sur les Machines Électroniques (RME)
à Issy-les-Moulineaux, comprenant deux sections: lune
orientée calculateurs et technologies associées, circuits
logiques, mémoires vives, mémoires de masse (disques,
bandes magnétiques ...), et lautre orientée commutation
avec deux thèmes: le point de connexion et larchitecture.
Dans l'équipe, André Pinet, possède
une bonne expérience dans des domaines variés, y compris
sur la commutation. Sur le numérique il a été
un pionnier en ayant travaillé sur le codage PCM (Pulse
Code Modulation), dès 1947, dans la ligne de linvention
dAlec Reeves en 1938 au laboratoire LMT de Paris, puis dans
une deuxième étape à partir de 1958, au
moment où on peut utiliser des transistors pour faire des réalisations
expérimentales.
1958 L'équipe RME est partie de la recherche
fondamentale afin d'explorer, sans a priori, une grande variété
de directions.
Sa première réalisation fut la construction de deux
prototypes, ANTINEA (1958-1960) et ANTARES (1961-1963),
qui permirent l'équipe pour évaluer le problème
dans deux directions principales Le bon usage des composants
électroniques et Les méthodes de conception de
logiciels .
|
Le premier concerne un autocommutateur privé
de 200 lignes, lAT 200.
Les échantillons de parole sont seulement modulés
en amplitude (M.I.A.), donc sans codage.
Ils sont véhiculés sur un multiplex
de 32 voies, secouru en cas de besoin par un autre multiplex
identique. La commande est constituée dun multienregistreur
et dun traducteur dont les données sont doublées
sur un ruban de papier perforé.
Un premier exemplaire est réalisé au C.N.E.T.
; un second est fabriqué par le laboratoire commun de
SO.CO.TEL.
(installé à Lannion) et envoyé à
lexposition universelle de Montréal en 1967 où
il surprend les visiteurs des sociétés Bell des
États-Unis et du Canada.
|
 |
Début 1963 Cest donc au sein du
département C.T.I. que commencent, les études de commutation
temporelle. répartis entre Issy-les-Moulineaux et Lannion c'est
ce que nous avons évoqué avant :
1 - système spatial et à commande centralisée
(devant aboutir à une industrialisation à court terme)
à Issy-les-Moulineaux.
2 - système temporel (à long terme) à Lannion,
Deux projets sont lancés en parallèle.
sommaire
La mode étant à lépoque de baptiser les
projets de noms glorieux de lAntiquité (RAMSES, ARISTOTE,
SOCRATE, etc.),
Les centraux Socrate (semiélectronique) et Aristote
(entièrement électronique) ont été montés
à Lannion pour une exploitation expérimentale
Le prototype ARISTOTE devait être utilisé pour
mettre en place un système de grande capacité organisé
autour d'un processeur central et de plusieurs processeurs secondaires
périphériques. ARISTOTE était purement électronique,
le réseau de commutation étant constitué
de matrices de transistors. Avec son calculateur RAMSES
, il s'agit d'étudier un véritable prototype d'autocommutateur,
sur lequel on pourra commencer à expérimenter des nouveautés
opérationnelles, cad des services accessibles seulement aux
commutateurs numériques. Ramses comporte des tambours magnétiques,
sur lesquels on stocke les informations comptables relatives aux abonnés.
Ramses, utilise des tambours SEA et des bandes magnétique de
la Compagnie des Compteurs.

A Lannion, le Commutateur ARISTOTE est mis en service en exploitation
réelle sur le réseau téléphonique public
le 10 février 1966.
SOCRATE était beaucoup plus traditionnel et reposait
essentiellement sur des composants à barre transversale Crossbar.
Son objectif principal était de développer un nouveau
logiciel pour le système de contrôle. Il est doté
dun réseau de connexion de type Crossbar CP400 piloté
par deux calculateurs spécialisés dénommés
multienregistreurs fonctionnant en « partage de charge »
comme dans les commutateurs électromécaniques. Ce principe,
adopté sur les conseils de P. Lucas, se distingue de celui
des Américains basé sur le « synchronisme »
des deux calculateurs.
Commutateur SOCRATE le 21 avril 1964.
Le premier centre appelé PERICLES de commutation spatiale
à "relais à tige et contacts scellés".
a été créé en association avec les constructeurs
et a conduit à l'installation en 1970 du premier central téléphonique
à Clamart.
Commutateur PÉRICLÈS I Paris-Michelet, peu avant
sa mise en service. Carte composant la Matrice de Connexion des Commutateurs
PÉRICLÈS, réalisée à partir de
128 relais à tige et contacts scellés.
Ce système a formé la base du Metaconta
développé plus tard par LMT.
Le calculateur LCT3200 était fabriqué à l'usine
de Laval : un accord-groupe interne à ITT prévoit que
seule la LMT fabrique les calculateurs pour l'ensemble de ses filiales.
Son défaut était d'être trop volumineux (composants
discrets), et il a été fait un successeur en circuits
intégrés, le LCT 3202.
sommaire
En même temps les études dun convertisseur
analogique - numérique, le COdeur DECodeur (CODEC) démarrent,
car cest un élément de base pour un système
numérique de commutation temporelle, le projet
PLATON concernant létude dun autocommutateur
public de moyenne capacité.
Durant
lannée 1961 L-J Libois lance le projet de recherche
Numérique, quil avait négocié avec son
directeur P. Marzin. Sa première décision est de prendre
comme adjoint André Pinet .
PLATON
prototype lannionais dautocommutateur temporel à Organisation
Numérique. à commutation temporelle.
Suite aux travaux et recherches, loin de Paris, et de leur hiérarchie,
les ingénieurs du Cnet se sentent libres dessayer, doser.
Ils lancent un pari sur lavenir, raconte Yves Bouvier, maître
de conférences à la Sorbonne Université et spécialiste
de lhistoire des Télécommunications.
'Au lieu de travailler sur lappareil de commutation téléphonique
de demain, ils décident de plancher sur celui daprès-
après-demain'.
Très rapidement, lorganisation
générale du commutateur, cest-à-dire la
répartition des différentes opérations à
effectuer, est arrêtée .
En 1961 les bases théoriques de la commutation numérique
sont à peu près maitrisées, notamment avec les
apports du laboratoire LCT de lavenue de Breteuil, lié
à la société LMT. En effet en 1947 Maurice Deloraine,
alors directeur technique du groupe ITT, avait déposé
le premier brevet de commutateur numérique à répartition
temporelle et soutenu une thèse de Docteur-Ingénieur
à Paris sur ce thème. Puis au sein du LCT, en 1948-50
Pierre Aigrain vérifie la faisabilité dune commutation
analogique à répartition temporelle avec modulation
PAM (Pulse amplitude modulation) et enfin en 1958 le brevet E. Touraton-J-P.
Le Corre, ingénieurs au LCT, complète celui de M. Deloraine.
Les concepts sont issus des études détaillées
ci-dessous (Exposés) : Avantages de la modulation par impulsions
codées P. Mornet. et Application de la modulation par
impulsions codées à un réseau téléphonique
intégré de Jean Le Corre .
On peut distinguer grossièrement deux familles
de sous-ensembles :
1. les organes chargés dassurer linterface avec
les lignes dabonnés et les circuits ainsi que léchantillonnage
et le codage de la parole. Une unité de sélection dabonnés
gère 512 de ceux-ci, concentrés sur deux multiplex MIC
de 32 voies (et non 24 comme dans l'étude) et une unité
de sélection de circuits gère 64 circuits accédant
aussi à 2 multiplex 32 voies (donc sans concentration). Tous
les multiplex sont raccordés à un réseau de connexion
au travers duquel on doit pouvoir établir à la demande
nimporte quel transfert dinformations codées entre
les voies de chacun deux. Ce choix structurel prête peu
à discussion ; la difficulté réside dans la réalisation,
vu la technologie alors disponible.
2. les organes chargés de piloter lensemble des opérations,
et en premier lieu une base de temps générale, horloge
générant et distribuant les différentes cadences
indispensables dans un système temporel. Quant aux organes
de commande proprement dits, leur organisation pose problème.
sommaire
ITT communique dans "ECTRICAL
COMMUNICATION Volume 38", un état des lieux
sur les avancées des recherches du LCT.
Exposé 1 : Application de la modulation par impulsions
codées à un réseau téléphonique
intégré ( article technique indispensable pour comprendre
la comutation temporelle )
Avantages de la modulation par impulsions codées P. Mornet.
Pierre Mornet est né à Châteauroux,
en France, le 21 mars 1919. Il est diplômé en tant qu'ingénieur
radio de l'Ecole Supérieure
d'Electricité de Paris. Il est ingénieur mécanicien
dans l'Armée de l'Air avant de rejoindre le LCT
Laboratoire Central de Télécommunications
en 1943. En 1945, il est rappelé par l'Armée de l'Air,
Service Transmission. M. Mornet retourne au Laboratoire Central de
Télécommunications en 1952 et depuis 1956, il est responsable
du laboratoire de commutation et de transmission.
Introduction de l'électronique dans
la commutation téléphonique
Les avantages essentiels attendus de l'introduction de l'électronique
dans la commutation téléphonique sont une réduction
du volume des équipements, une plus grande fiabilité
et une souplesse de fonctionnement accrue. Les deux premiers avantages
réduisent les coûts de bâtiments-infrastructues,
d'installation et d'entretien. Le troisième peut accroître
les bénéfices d'exploitation en offrant des services
supplémentaires aux abonnés.
Les méthodes de commutation électronique diffèrent
dans la manière dont les principes de division spatiale
ou temporelle sont appliqués au circuit de parole et au
circuit de commande.
La distinction entre ces deux types de circuits : les premiers
fournissant effectivement les signaux de parole entre les abonnés,
et les seconds commandant les liaisons de parole à établir
ou à libérer, est apparue de plus en plus clairement
au fur et à mesure de l'évolution des centraux électromécaniques
et, bien entendu , reste valable pour les centres introduisant
des éléments électroniques de quelque nature
que ce soit.
La division spatiale et temporelle des fonctions de commutation
s'est développée progressivement dans le passé.
Dans la division temporelle, la fréquence d'utilisation
de tout composant ou élément est une fonction directe
de sa vitesse de fonctionnement. Si son temps de réponse
est très court par rapport au temps imparti pour effectuer
son opération particulière, l'ensemble du central
peut n'avoir besoin que d'un seul élément de ce
type, qui gérera tous les appels et sera généralement
installé dans une position centrale.
Plusieurs centraux expérimentaux ont été
réalisés comportant un circuit de commande fonctionnant
sur ce principe et un circuit de parole du type à division
spatiale dans lequel le point de croisement, qui assure effectivement
la continuité du trajet de parole, est constitué
soit de contacts métalliques, soit d'éléments
électroniques.
Parmi ces échanges expérimentaux, on peut en citer
deux ; l'un a été installé et exploité
par Bell Telephone Laboratories à Morris, Illinois, aux
États-Unis, et l'autre est un central électronique
privé de 240 lignes construit par le Laboratoire Central
de Télécommunications, qui est en opération
à Paris depuis janvier 1960.
Cependant, comme aucune des solutions au problème du point
de croisement électronique n'a été considérée
comme totalement satisfaisante, l'attention s'est portée
sur les systèmes semi-électroniques comme successeur
immédiat des systèmes électromécaniques.
Réseau vocal temporel
Alors que de tels systèmes semi-électroniques présentent
un grand intérêt, il semble y avoir une controverse
quant à savoir s'ils ne sont qu'une étape vers des
techniques dans lesquelles la vitesse des éléments
électroniques peut être mieux utilisée.
En effet, dans un réseau spatial de parole, le nombre de
points de croisement est toujours très important, même
en utilisant les méthodes les plus élaborées
pour leur nombre.
De plus, le temps pendant lequel un point de croisement donné
est utilisé est toujours court par rapport au temps pendant
lequel il est en attente.
Comme on le sait depuis longtemps, il n'est pas nécessaire
de transmettre la parole sous la forme d'un signal continu, mais
il suffit de transmettre de brefs échantillons à
un débit qui est au moins le double de la fréquence
la plus élevée du spectre de la parole.
Plusieurs systèmes de transmission basés sur ce
principe ont été testés ou exploités,
tous utilisant bien entendu l'avantage fondamental d'entrelacer
les échantillons de plusieurs conversations pour obtenir
un fonctionnement en multiplex.
Avec des éléments électroniques rapides,
le principe de division spatiale peut également être
appliqué au circuit de parole. Des points de croisement
peuvent encore être nécessaires, mais grâce
au multiplexage, leur taux de fonctionnement est beaucoup plus
élevé que dans la division spatiale ; de ce fait
leur nombre peut être considérablement réduit
et affecter ainsi le volume des échanges
équipement.
Systèmes de transmission par répartition dans
le temps
Les systèmes de transmission basés sur la division
temporelle diffèrent essentiellement les uns des autres
par le procédé utilisé pour la transmission
des informations contenues dans l'échantillon de l'onde
de parole. Les 3 types de modulation d'impulsion suivants ont
été développés.
A. Modulation d'amplitude d'impulsion dans laquelle l'amplitude
de l'impulsion elle-même varie avec celle de l'échantillon.
B. Modulation de largeur d'impulsion dans laquelle l'amplitude
reste constante mais la largeur de l'impulsion est fonction de
la modulation.
C. Modulation impulsion-temps dans laquelle l'amplitude et la
largeur de l'impulsion restent constantes mais le temps de l'impulsion
par rapport à un temps de référence varie
en fonction de la modulation
Modulation par impulsions codées
Ces différents types de modulation sont tous plus ou moins
vulnérables au bruit et à la diaphonie. Une protection
beaucoup plus efficace peut être obtenue avec l'utilisation
de la modulation par impulsions codées divulguée
dans le brevet français 852 183 délivré à
Reeves en 1938.
Selon ce procédé, l'amplitude de chaque échantillon
est mesurée et sa valeur est transmise sous forme d'une
série d'impulsions. Seule la présence ou l'absence
d'un pouls est significative.
Ainsi, seule la disparition d'une impulsion du signal ou l'apparition
dans celui-ci d'une impulsion supplémentaire peut provoquer
une détérioration de l'information transmise.
En effet, si l'amplitude maximale d'une impulsion supplémentaire
est inférieure à la moitié de celle des impulsions
du signal codé, le signal d'origine peut être reconstitué
sans erreur au niveau du récepteur. Une simple modification
des caractéristiques d'une ou plusieurs impulsions causée
par la diaphonie, la distorsion ou le bruit n'a aucun effet tant
que la limite ci-dessus n'est pas dépassée.
D'une manière générale, la modulation par
impulsions codées offre une grande fiabilité de
transmission, et le bruit, la diaphonie et l'atténuation
de la parole dépendent de la longueur de transmission et
du nombre de points de répéteur.
AUGMENTATION DE LA FIABILITÉ DE LA COMMUTATION
L'augmentation de la fiabilité de la modulation par impulsions
et codage ne se limite cependant pas à la transmission
elle-même. C'est un fait bien connu et évident qu'a
priori, les éléments fonctionnant dans des conditions
ON et OFF garantissent un bon fonctionnement supérieur
à celui des éléments qui doivent avoir des
caractéristiques précises indépendantes du
temps et des conditions d'utilisation, telles que la température,
alimentation électrique, etc.
De plus, les conditions ON ou OFF sont particulièrement
propices au fonctionnement des transistors, qui sont donc particulièrement
adaptés au domaine de la commutation. Dans ces deux conditions,
la puissance dissipée est en fait négligeable. A
l'état ON, la différence de potentiel entre l'émetteur
et le collecteur est très faible, de l'ordre du dixième
de volt pour le germanium et de l'ordre du volt pour le silicium,
alors qu'à l'état OFF, le courant traversant le
transistor n'est qu'un courant de fuite, d'une intensité
de quelques microampères.
L'adoption de ce type de modulation permet d'appliquer de telles
conditions de fonctionnement à tous les circuits traitant
des signaux de parole. C'est le cas des équipements de
transmission et du circuit de parole en commutation.
PROBLÈME DU POINT DE CROISEMENT
Pour le circuit de parole en particulier, le problème du
point de croisement est grandement simplifié. Dans la commutation
spatiale, outre un faible prix, un rapport d'impédance
d'au moins 10 000 entre les conditions fermées et ouvertes
( off ) est requis, ce rapport déterminant la diaphonie.
Dans la commutation temporelle, comme dans la modulation d'impulsions
en amplitude, une exigence impérative du point de croisement
est qu'il oublie rapidement l'information qu'il vient de transmettre
pour ne pas perturber l'information suivante ou, en d'autres termes,
ne pas introduire diaphonie. Cela signifie que tous les transistors
utilisés comme grilles doivent posséder des temps
de commutation extrêmement courts.
La modulation impulsion-code est au contraire parfaitement compatible
avec des rapports d'impédance fermé-ouvert de l'ordre
de 10 et ne nécessite aucune vitesse de fonctionnement
particulière. Ces caractéristiques, associées
au nombre considérablement réduit de points de croisement
pour la répartition dans le temps, rendent ce type de modulation
idéal pour la commutation.
Cependant, pour une évaluation objective des mérites
de la modulation par impulsions et codage, il est nécessaire
de considérer également la conversion des signaux
analogiques en signaux numériques et vice versa. Les unités
de codeur et de décodeur qui effectuent ces opérations
sont les seuls éléments du circuit de parole qui
ne fonctionnent pas complètement dans ce mode MARCHE ou
ARRÊT.
Ainsi, leur qualité de communication ne dépend que
de ces unités pourvu que les conditions minimales requises
de transmission et des circuits de commutation soient remplies.
Problème du réseau téléphonique
Les avantages de la modulation par impulsions codées peuvent
être utilisés au mieux dans un réseau intégré,
c'est-à-dire un réseau dans lequel la transmission
et la commutation se font avec le même type de modulation.
L'expérience a montré que la modulation par impulsions
codées, en raison de sa résistance aux interférences,
peut être transmise sur des paires téléphoniques
ordinaires, qu'elles fassent ou non partie d'un câble téléphonique
ordinaire. L'atténuation de l'impulsion est bien sûr
grande, mais il suffit d'introduire un simple répéteur
tous les 2 kilomètres environ, pour restituer l'ensemble
de l'information sans perte. En pratique, ces répéteurs
pourraient occuper la place des bobines Pupin utilisées
actuellement, n'entraînant ainsi que de faibles dépenses
d'installation.
En pratique, un système de modulation par impulsions codées
à 24 voies nécessite deux paires téléphoniques,
une pour chaque sens de transmission. Néanmoins, 24 communications
sont gérées par 2 paires ordinaires qui, dans les
systèmes classiques, ne véhiculent que 2 communications.
Par ailleurs, le principe des
liaisons 4 fils imposées par la modulation par impulsions
codées pourrait peut-être être avantageusement
étendu aux lignes des abonnés.
Le circuit de poste et de ligne de l'abonné, éléments
dont le prix a une grande influence sur le coût total
d'un système, peut en effet être simplifié
sous certaines conditions.
La possibilité de multiplier la capacité de
transmission par un facteur important peut être exploitée
de différentes manières, mais il apparaît,
surtout si l'on considère le réseau téléphonique
local où les liaisons sont courtes, que les circuits
de commutation devraient également être adaptés
à la modulation par impulsions codées pour
éviter de coûteuses équipement pour
changer le type de modulation. Il est également préférable
d'étendre la transmission multiplex au plus près
des abonnés ce qui conduit à envisager l'utilisation
généralisée d'une structure de type
« étendu » pour le réseau local.
La figure 1 en donne un exemple.
|
 |
Les abonnés d'un tel réseau sont connectés
à des concentrateurs. Chaque concentrateur est desservi
par une autoroute de modulation par impulsions et codage de, par
exemple, 24 canaux.
Le central local lui-même ne comprend alors essentiellement
que les circuits de commutation entre les voies multiplex à
modulation par impulsions et codage.
Ces autoroutes sont de 3 types : celles assurant la connexion
aux concentrateurs, celles permettant l'interconnexion avec d'autres
échanges, et quelques-unes assurant le trafic local.
Enfin, les centraux de transit assurent les interconnexions entre
centraux locaux et n'ont à effectuer que des commutations
entre autoroutes multiplex à modulation par impulsions
codées.
CONCENTRATEUR
Un concentrateur, représenté
sur la figure 2, consiste essentiellement en l'étage
de commutation entre les lignes des abonnés et la
voie de modulation par impulsions et codage attribuée
à ce concentrateur. Ça peut être placé
dans le même bâtiment que le central local mais,
pour tirer le meilleur parti possible du central de type
étendu, il sera de préférence placé
à proximité des abonnés qui y sont
raccordés, et ainsi minimiser la longueur de leurs
lignes.
Il comprend les circuits d'échantillonnage ainsi
que les dispositifs de codage et de décodage. Sa
très petite taille permet une installation facile.
CENTRAL LOCAL
Considérons comme exemple typique un réseau
local de 8 000 abonnés ayant individuellement un
trafic de 0,1 erlang à l'heure chargée, un
trafic local de 20 % du trafic total et une répartition
des lignes sur 50 concentrateurs desservant chacun 160 abonnés.
.
Le central local doit donc assurer à la fois les
interconnexions entre les 50 impulsions codées.
AUTOROUTES EN BOUCLE POUR LE TRAFIC LOCAL
les autoroutes multiplex de modulation le reliant aux concentrateurs
et les autoroutes le reliant à d'autres centraux
locaux ou de transit.
En principe, un central de transit ne sera alors pas différent
d'un central local puisque, dans les deux cas, les opérations
de commutation à effectuer en voiture
Les tests effectués ne sont effectués que
sur des autoroutes multiplex à modulation par impulsions
et codage.
Il n'y a donc, dans un tel réseau, que deux étages
de commutation de base, le premier assurant les liaisons
entre les lignes d'abonnés et une jonction de modulation
par impulsions codées, qui sont les concentrateurs,
et le second, qui est l'élément de base du
échanges locaux et de transit, assure les interconnexions
entre les différentes autoroutes multiplex à
modulation par impulsions et codage. Les deux types d'étages
de commutation ont été construits et testés
expérimentalement
|
 |
Une étude préliminaire du réseau de parole
d'un central complet a par ailleurs montré qu'en général
un seul étage de commutation pouvait suffire. L'adoption
d'un réseau de raccordement plus complexe à plusieurs
étages ne semble pas justifiable. Même s'il permet
quelques économies sur le nombre de points de croisement,
ce nombre est déjà très réduit par
le fonctionnement en multiplex et le gain en valeur absolue
ne peut être que faible. Le réseau à un
étage semble donc être la meilleure solution, même
pour de très grands centres.
EXPLOITATION DU RÉSEAU EN DIVISION TEMPORELLE
La nature numérique des signaux de modulation par impulsions
et codage permet de les enregistrer dans une mémoire
à cellules binaires. Cette possibilité est mise
à profit dès que les signaux arrivent au central.
Sans cette mémoire d'entrée, l'établissement
d'une liaison entre deux abonnés poserait le problème
de trouver une position temporelle libre simultanément
sur toutes les voies multiplex impliquées dans la liaison
entre le concentrateur de l'abonné appelant et le concentrateur
de l'abonné appelé. Le choix de la position temporelle
nécessiterait alors la circulation de l'information entre
tous les centraux intéressés. De plus, un alignement
des positions temporelles devrait être effectué
sur un nombre variable d'autoroutes multiplex selon les positions
géographiques des deux abonnés. Le trafic possible
sur ces autoroutes serait alors très faible et cela conduirait
à une mauvaise utilisation des circuits de transmission
et de commutation.
Alignement des positions temporelles dans chaque échange
On peut heureusement remédier à la situation décrite
ci-dessus en enregistrant les signaux à leur arrivée
dans le central dans ce que l'on appelle une mémoire
de parole.
A cette mémoire de parole en est associée une
autre, dite mémoire à commutation temporelle,
qui contient l'identité des différentes lignes
de la mémoire de parole. Une lecture cyclique de la mémoire
à commutation temporelle permet la lecture ou l'écriture
des lignes de la mémoire vocale dans n'importe quel ordre.
Cet ordre est choisi par le circuit de commande du central de
manière à satisfaire l'alignement des positions
temporelles à l'intérieur du central.
L'ensemble formé par ces deux mémoires, de commutation
vocale et temporelle, permet d'effectuer une commutation temporelle
des canaux d'une autoroute entrante. Ils servent donc à
rendre l'heure à laquelle un signal est traité
dans le central indépendant de son heure d'arrivée.
Un exemple en est donné sur la figure 3.
Un signal de parole arrive sur le canal 12 de la voie Ji et
est écrit sur la ligne 12 de MP1, sous le contrôle
des circuits de synchronisation. L'identité de cette
ligne 12 est écrite sur la ligne 15 de MCT1 sous le contrôle
du circuit logique. A l'intervalle de temps 15, la ligne 15
de MCT1 est lue, la ligne 12 de MP1 est lue et son contenu transféré
sur la ligne 17 de MP2 reliée à l'autoroute 10.
L'identité de cette ligne est fournie par MCT2 et lue
à l'instant 15. Le transfert de MP1 à MP2 est
formé par le point de croisement reliant Ji à
10,
qui est conductrice lors de la lecture de la ligne 1 5 de MCS
au temps 1 5. Le signal de parole sera transmis à ]0
lors de la lecture de la ligne 1 7 de MPZ au temps 17.
Réarrangement
Malgré la grande flexibilité offerte par les mémoires
de parole associées aux mémoires de commutation,
un blocage peut se produire à l'intérieur d'un
central, ce qui réduit l'efficacité de l'ordre
de 50 % pour les autoroutes à 24 canaux. Une nouvelle
méthode d'interruption et de reroutage de connexion,
dite méthode de « réarrangement »,
surmonte cette difficulté et supprime le blocage dû
à l'alignement des positions temporelles en profitant
de la souplesse apportée par la mémoire de parole.
Le principe de la méthode est expliqué dans la
partie 3 de cette série d'articles. A ce stade, il suffit
de mentionner que cette méthode augmente considérablement
l'efficacité de l'autoroute au prix d'une légère
augmentation de l'équipement de contrôle du central,
et que les opérations de réarrangement sont effectuées
avec une perte d'information négligeable ou nulle.
Dans l'application de ce procédé, il est envisageable
soit de limiter les transpositions à celles qui peuvent
être faites à l'intérieur d'un central,
soit de faire des transpositions également sur les positions
temporelles dans les circuits de transmission entre centraux.
La complexité des problèmes de signalisation posés
par cette dernière solution nous amène à
penser qu'actuellement la solution limitant les réaménagements
à l'intérieur de chaque central est préférable.
malgré sa moindre économie d'équipement.
La souplesse apportée par la nature purement numérique
de tous les signaux permet de réaliser des échanges
d'une fiabilité de fonctionnement absolue qui disposent
d'un circuit de parole de dimensions très réduites
et qui permettent une meilleure utilisation des circuits de
transmission résultant d'une capacité accrue et
d'un très haut rendement.
SYNCHRONISATION
Un très grand problème est que les signaux arrivant
sur les autoroutes avec n'importe quelle phase doivent, sous
le contrôle d'une horloge locale au central, être
identifiés, séparés et correctement acheminés.
Ce problème est facilement résolu pour le concentrateur
et ne serait pas très difficile pour un réseau
en étoile, mais il devient plus difficile dans un réseau
maillé car des priorités doivent être attribuées
aux différents échanges pour contrôler correctement
l'ensemble du réseau et parce que les paramètres
de transmission sont variables.
Il existe cependant une solution très sûre grâce
à l'utilisation de la mémoire numérique
qui enregistre les signaux de chaque autoroute à leur
arrivée dans le central.
L'écriture dans cette mémoire est commandée
par un circuit de synchronisation qui introduit des retards
temporels pouvant être aussi importants que le temps entre
bits adjacents pour compenser les décalages lents ou
la gigue rapide du temps de propagation. Il place tous les bits
dans des positions correspondant à leur périodicité
d'origine.
Le circuit de synchronisation identifie également chaque
canal par son code et achemine ses bits entrants vers une ligne
de canal désignée dans une mémoire. Du
fait que le rythme des bits a déjà été
corrigé, cette mémoire peut fonctionner normalement
et la lecture peut alors avoir lieu à tout instant déterminé
par l'horloge locale du central.
Cette mémoire joue ainsi le rôle de tampon et permet
un fonctionnement asynchrone en supprimant les longues variations
lentes du temps de propagation trop importantes pour être
gérées par le circuit de temporisation vernier.
Evidemment, ce procédé implique dans certains
cas une perte d'information, qui ne se manifeste que par un
bruit absolument négligeable en téléphonie.
Une variation relative de fréquence de 10-s entre l'information
entrante et l'heure locale provoque une perte de l'ordre de
1 impulsion sur 106
Introduction de la modulation par impulsions codées
dans les réseaux existants
La question se pose bien sûr de savoir comment un tel
réseau pourrait remplacer progressivement le réseau
existant ou du moins s'y introduire.
Il faut d'abord mentionner qu'il y aura probablement une étape
intermédiaire au cours de laquelle les centraux téléphoniques
disposeront de circuits électroniques de commande centralisés
avec une programmation
flexibilité telle que l'introduction de nouvelles techniques
d'exploitation du réseau sera possible. Cette étape
intermédiaire devrait permettre l'introduction ultérieure
du réseau intégré à modulation par
impulsions et codage.
Mais, indépendamment de cette considération, un
certain nombre de suppositions peuvent être faites. La
modulation par impulsions codées pourrait d'abord être
introduite dans les connexions entre les centraux pour éviter
l'installation de nouveaux câbles. Certaines paires dans
des câbles saturés pourraient ainsi être
utilisées pour constituer des autoroutes de modulation
par impulsions codées. Des tests satisfaisants ont déjà
été effectués dans ce sens.
Une autre possibilité pourrait être que, dans les
zones d'expansion rapide de la population, les paires d'abonnés
existantes puissent être regroupées par deux pour
constituer des autoroutes à modulation par impulsions
et codage desservant des concentrateurs.
L'efficacité des lignes serait ainsi multipliée
par un facteur de l'ordre de 100 puisque seulement 2 paires
permettraient de connecter jusqu'à 200 abonnés
au réseau.
Des équipements pour changer le type de modulation ainsi
que le type de synchronisation devraient alors être prévus
aux points de connexion avec les centraux locaux existants en
attendant que le nombre de concentrateurs devienne suffisamment
élevé pour justifier la transformation du central
lui-même.
Il est bien sûr possible d'imaginer d'autres procédés,
mais seule une étude méthodique de l'extension
du réseau et de son économie montrera comment
aborder au mieux le problème.
Dans le cas d'un réseau à construire entièrement,
seules les interconnexions avec les autres les réseaux
poseraient des problèmes. Mais celles-ci étant
peu nombreuses, les solutions, même coûteuses, peuvent
alors être envisagées sans difficulté.
Problème du réseau militaire
Un cas particulier, cependant, le réseau militaire, mérite
une attention particulière.
L'une des considérations les plus importantes dans ce
cas est la mise en place du réseau. Le réseau
peut couvrir une zone assez étendue et avoir des liaisons
de plusieurs centaines de kilomètres établies
par des moyens variés, dont certains ne présentent
pas toujours une grande homogénéité des
qualités de transmission. Ces moyens peuvent comprendre,
en effet, des câbles multiconducteurs, des câbles
coaxiaux, des liaisons radio, et autres qui doivent dans certains
cas être connectés bout à bout.
Se posent alors des questions d'adaptation d'impédance
et de niveau qui, avec les modulations classiques, ne peuvent
être résolues de manière satisfaisante qu'en
utilisant une liaison 4 fils d'un bout à l'autre de la
transmission. Il serait même préférable
de gérer la commutation en 4 fils pour éviter
de nombreuses conversions entre circuits 2 et 4 fils.
Avec la modulation par impulsions codées, ces problèmes
subsistent mais sont simplifiés. Comme on l'a dit plus
haut, cette modulation est efficace avec un rapport signal utile
sur signal parasite de 6 décibels et permet de négliger
les réflexions qui seraient inadmissibles avec des signaux
à fréquence vocale.
Les problèmes de commutation sont particulièrement
faciles à gérer avec la modulation par impulsions
codées et il n'est plus nécessaire d'envisager
des conversions entre systèmes 2 et 4 fils, toujours
délicates.
La modulation par impulsions codées offre non seulement
la possibilité d'un réseau intégré,
mais résout le problème complexe par rapport aux
systèmes conventionnels assurant une qualité de
parole pratiquement indépendante de la longueur et de
la qualité des connexions.
Transmission d'informations numériques
Il est désormais certain que dans le futur réseau
téléphonique, les signaux pour transmettre des
informations autres que la parole prendront de plus en plus
d'importance. Déjà des appareils comme le Dataphone,
mis sur le marché américain par Western Electric,
permettent de tels échanges à bas débit.
La modulation par impulsions codées est elle-même
constituée d'informations de ce type transmises à
très haut débit, 70 kilobauds pour une voie téléphonique
échantillonnée à raison de 10 000 fois
par seconde et pour une quantification à 128 niveaux
correspondant à un code binaire à 7 chiffres.
Un réseau téléphonique intégré
utilisant la modulation par impulsions codées sur une
autoroute multiplex à 24 canaux doit permettre la transmission
de données numériques à un débit
de 2 mégabauds.
Comme cela a été mentionné précédemment,
la nécessité de synchroniser les signaux à
l'arrivée dans le central et de procéder de temps
à autre à des réarrangements peut entraîner
éventuellement des pertes d'informations.
Ces pertes sont absolument négligeables pour la téléphonie
mais nécessitent néanmoins l'application d'une
certaine redondance pour la transmission des informations numériques.
La redondance minimale requise sera déterminée
par une étude systématique des pertes d'information
dans les circuits de transmission ainsi que dans les circuits
de commutation.
Néanmoins, sans paraître trop optimiste, des débits
de l'ordre de 35 kilobauds pour un seul canal ou de 1 mégabaud
pour le
l'ensemble d'une autoroute est envisageable. Celles-ci peuvent
sembler plus grandes que nécessaires pour le moment mais
elles peuvent être complètement utilisées
par exemple dans le cas d'un traitement centralisé à
longue distance de données numériques dans un
ordinateur. Cette possibilité pourrait être offerte
aux abonnés.
Conclusion
La modulation par impulsions codées permet de tirer le
meilleur parti de l'introduction d'éléments électroniques
dans les systèmes téléphoniques car elle
donne une solution homogène au problème du réseau
téléphonique pris dans son ensemble et non sous
un seul aspect particulier. L'application de ce type de modulation
à la commutation téléphonique nécessite
de nouvelles techniques qui ont de nombreux points communs avec
celles des calculateurs numériques, mais elle pose aussi
des problèmes propres à la téléphonie,
tels que la signalisation, le fonctionnement, et d'une manière
plus générale ceux de l'organisation d'un réseau.
Nos travaux théoriques et expérimentaux ont illustré
la possibilité d'une application pratique de cette modulation
au téléphone public.
réseau dans un avenir pas trop lointain.
Les articles suivants traitant plus en détail de deux
aspects de ce problème, la transmission et la commutation,
donneront une idée plus précise de l'état
actuel de nos développements.
|
sommaire
Exposé 2 : Application de la modulation par impulsions codées
à un réseau téléphonique intégré
de Jean Le Corre Laboratoire Central de Télécommunications.
Jean Le Corre est né à Guiler-sur-Goyen, France,
le 24 août 1927. Il est diplômé en tant qu'ingénieur
radio-électrique de l'Ecole Susupérieur d'Electricité
de Paris en 1950. En 1954, il entre au LCT
Laboratoire Central de Télécommunications comme responsable
du département commutation électronique et se consacre
aux travaux de commutation téléphonique électronique.
|
Application de la modulation par impulsions
codées à un réseau téléphonique
intégré
1 . Général
L'application de la modulation par impulsions codées
à la commutation téléphonique conduit à
examiner les 3 points principaux.
A - Conception d'un étage de commutation reliant
les lignes d'abonnés à fréquence vocale
à une autoroute multiplex à modulation par impulsions
et codage.
B.- Conception d'un étage de commutation pour
interconnecter des autoroutes multiplex à modulation
par impulsions et codage.
C - Synchronisation des signaux de parole codés
et multiplexés à l'entrée de chaque central
auquel ils sont transmis.
Lorsque ces 3 problèmes sont résolus, le développement
des circuits de parole dans les différents types de centraux
par lesquels un appel peut être acheminé est simple.
Le circuit de commande d'un central à modulation d'impulsions
codées ne pose pas de problème particulier. Les
interconnexions avec le circuit de parole seront facilitées
par le fonctionnement en multiplex de ce dernier.
Le système expérimental, développé
pour tester le fonctionnement du multiplexage par impulsions
codées d'un système téléphonique
qui sera décrit, utilisait un code à 7 chiffres
avec un taux d'échantillonnage de 10 kilocycles par seconde
pour fournir 24 canaux sur une base à 4 fils.
2. Circuit vocal
Deux types d'étages de commutation et les circuits de
synchronisation seront examinés.
LIGNES D'ABONNÉS ET CONCENTRATEUR
L'étage de commutation connectant les lignes d'abonnés
à une voie multiplex à impulsions codées
peut se trouver dans un concentrateur à proximité
des abonnés et à distance du central. Les 24 canaux
du multiplex autoroutier permettent 24 conversations simultanées.
Le nombre de lignes pouvant être desservies dépend
de leur trafic ; pour un trafic moyen, environ 1 50 lignes d'abonnés
peuvent être connectées à un concentrateur,
200 ou plus pour un trafic léger.
Circuit de parole
La figure 1 est une représentation simplifiée
du concentrateur, qui est connecté au centre à
4 fils sur 2 paires téléphoniques.
Ces paires se terminent par un codeur et un décodeur.
Sous le contrôle du scanner de ligne, chaque ligne d'abonnés
actifs, jusqu'à 24 en nombre, sera connectée pendant
des intervalles de temps de 4 microsecondes au codeur et au
décodeur, donnant à cet abonné l'accès
au central.
Les identités des abonnés en conversation sont
enregistrées dans une mémoire comportant une ligne
pour chacune des 24 connexions possibles. Chaque ligne mémoire
enregistrera 8 chiffres pour identifier sous forme codée
l'un quelconque des 255 abonnés.
Toutes les 100 microsecondes, à l'instant tn correspondant
à la connexion n, la ligne n de la mémoire est
lue.
L'identité de l'abonné à connecter est
transmise à un line scanner , appelé matrice de
décodage, dont chaque sortie commande les 2 portes associées
à un abonné.
Les signaux continus correspondant à l'état de
la ligne (combiné raccroché ou décroché),
ainsi que les signaux de numérotation, sont
transmis par le même chemin que les signaux vocaux.
2. 1.2 Circuit de commande
Il est économique de n'effectuer dans le concentrateur
que le minimum de fonctions logiques, puisqu'elles peuvent être
remplies dans le central par des circuits communs à plusieurs
concentrateurs.
Les seules fonctions requises du concentrateur sont l'établissement
et la libération d'une connexion entre un abonné
et un canal donné. Ces commandes sont réalisées
dans le concentrateur en écrivant ou en effaçant
des informations sur une ligne mémoire.
Pour le passage des informations entre le circuit de commande
du concentrateur et le central, on utilise le même canal
que celui pour la parole.
Pour connecter un abonné à un canal, le central
envoie le code de cet abonné au concentrateur, aux heures
de scrutation affectées au canal. Le circuit logique
du concentrateur teste la ligne de l'abonné (libre ou
occupée) en s'assurant que le code de l'abonné
n'est pas déjà écrit sur une des lignes
mémoire, envoie les informations correspondantes au central
et établit la connexion si l'abonné appelé
est libre.
Pour la libération d'une connexion, le central envoie
un code de libération au concentrateur à l'heure
de scrutation attribuée à la connexion à
libérer.
Comme les informations numériques peuvent être
transmises entre concentrateur et central à un rythme
de 70 000 chiffres binaires par seconde pour chaque canal, la
transmission des commandes peut être effectuée
avec une grande redondance assurant un contrôle à
distance très fiable du concentrateur.
La détection d'un abonné appelant est commandée
depuis le central. Grâce au circuit de commande et à
la mémoire du concentrateur, le scanner de ligne est
conçu pour connecter chaque abonné au central
via un canal libre, un après l'autre, assurant ainsi
la connexion de tous les abonnés à un circuit
de détection d'appel, qui connaît alors l'état
de chaque ligne et peut reconnaître un nouvel abonné
appelant. Toutes les lignes sont
testé environ 4 fois par seconde.
2 . 1 . 3 Équipement de ligne
L'équipement propre
à chaque ligne d'abonné mérite une
attention particulière.
Son influence à la fois sur le coût et sur
le volume de l'ensemble de l'équipement est très
importante ; les autres appareils du concentrateur sont
communs à tous les abonnés.
Une solution, un agencement à 4 fils de l'équipement
de ligne, est donnée à la figure 2.
L'utilisation de concentrateurs réduisant considérablement
la longueur des lignes d'abonnés, l'utilisation de
lignes à 4 fils peut devenir possible, permettant
ainsi une simplification du poste d'abonné (circuit
antisidetone) et de l'équipement de la ligne d'abonné.
Comme l'échantillonnage se fait à travers
2 grilles différentes, 1 pour chaque direction, ces
grilles sont de conception simple n'utilisant qu'1 transistor
de type allié par grille.
La porte d'émission fonctionne à un niveau
bas compatible avec un niveau de diaphonie correct. Un amplificateur
de fréquence vocale à transistor unique suivant
la porte de réception lui permet de fonctionner à
un niveau équivalent à celui de la porte d'émission.
La commande de ces vannes est ainsi simplifiée.
L'utilisation d'une fréquence d'échantillonnage
relativement élevée de 1 0 kilohertz permet
une conception simple des circuits de filtrage.
Les 2 paires de la ligne d'abonné se terminent par
2 transformateurs permettant le transfert de circuits 2
fils côté sous-ensemble vers des circuits 1
fil côté concentrateur.
La tension moyenne des signaux envoyés au codeur
est de -6 volts lorsque le récepteur du sous-ensemble
est décroché. Dans cet état, la diode
reliée au - 6 volts est passante. La tension tombe
à environ 0 lorsque le récepteur est accroché. |
 |
De nombreuses autres solutions sont possibles pour
le type d'équipement de ligne décrit.
En particulier, le remplacement de chaque transformateur par un
circuit symétrique à 2 transformateurs à
fréquence vocale.
Les deux solutions peuvent être envisagées. Ces transistors,
déjà peu coûteux, permettent de réduire
le volume de l'équipement.
Dans le cas de lignes d'abonnés 2 fils, l'utilisation d'un
transformateur différentiel pour le transfert de 2 à
4 fils semble être la solution la plus économique.
L'échantillonnage de la conversation se fait alors par
2 portes différentes comme dans le cas d'une ligne 4 fils.
Une sonnerie à fréquence vocale avec amplification
dans le poste d'abonné est nécessaire pour que les
signaux de sonnerie puissent être transmis via le circuit
de parole.

2.2 ETAPE DE COMMUTATION ENTRE PULSE-CODE AUTOROUTES MULTIPLEXES
Tout central à modulation par impulsions et codage sera
connecté à d'autres centraux ou concentrateurs
par des autoroutes multiplex.
Les liaisons entre les différentes voies de ces autoroutes
sont réalisées par un étage de commutation
reliant les autoroutes dites entrantes aux autoroutes dites
sortantes. Une description de cette étape de commutation
a été donnée dans la partie 1 de cet article.
La figure 3 montre, de manière simplifiée, les
éléments agissant dans une connexion entre une
autoroute multiplex entrante HI et une autoroute sortante HO.
2.2. l Commutation spatiale
Un étage de commutation spatiale ayant autant d'entrées
et de sorties qu'il y a, respectivement, d'autoroutes entrantes
et sortantes, fonctionne en division temporelle. Pendant l'un
quelconque des 24 intervalles de temps de 4 microsecondes répétés
chacun toutes les 100 microsecondes, il peut connecter n'importe
quelle entrée à n'importe quelle sortie et les
connexions réalisées peuvent avoir n'importe quelle
configuration.
Dans les 4 microsecondes pendant lesquelles une entrée
est connectée à une sortie, 2 échantillons
de parole codés relatifs à une conversation sont
transmis, 1 dans chaque sens.
Les 7 chiffres d'un échantillon sont transmis successivement
dans le temps. La rapidité du commutateur permet, pendant
les 0,5 microsecondes allouées à un chiffre, de
transmettre 1 bit d'information dans chaque sens. Le contrôle
des connexions dans le commutateur est effectué à
partir d'une mémoire à commutation spatiale. Une
de ces mémoires comportant 24 rangées est attribuée
à chaque autoroute entrante.
Pendant 1 des 24 intervalles de temps, tm par exemple, la ligne
x de cette mémoire est lue. Sur cette ligne est inscrite
l'identité codée de la sortie à raccorder
à l'autoroute entrante ; une matrice de décodage
contrôle le point de croisement correspondant à
la sortie.
2.2.2 Commutation temporelle
Chaque voie, entrante HI et sortante HO, est équipée
de 2 mémoires de parole, une pour l'émission et
une pour la réception, et d'une mémoire de commutation
temporelle.
Par exemple, les signaux de parole codés arrivant au
central sur HI' sont écrits sur la mémoire de
parole 1 par l'intermédiaire du circuit de synchronisation.
Les 7 digits du canal 1 sont écrits sur la ligne 1 de
la mémoire, ceux du canal 2 sur la ligne 2, etc.
Les circuits de synchronisation nécessaires à
cette opération seront décrits ultérieurement.
Les signaux de parole codés sortant de l'échange
sur HI" sont extraits de la mémoire de parole 2.
A l'instant t11 l'information correspondant au canal 1 est lue
en ligne 1 ; à t2, du canal 2 ; etc.
La lecture de la mémoire vocale 1 et l'écriture
dans la mémoire vocale 2 sont commandées par une
mémoire à commutation temporelle similaire dans
son fonctionnement à la mémoire à commutation
d'espace. Si, par exemple, au temps tx, le canal p de l'autoroute
entrante est géré par l'étage de commutation,
l'identité codée de la ligne p est écrite
dans la ligne x de la mémoire de commutation temporelle
entrante .
La lecture à l'instant tm de cette ligne de la mémoire
à commutation temporelle entrante provoque la lecture
de la ligne p de la mémoire de parole 1, les codes de
parole qui y sont enregistrés sont transmis à
travers le commutateur vers l'autoroute sortante, et provoque
également l'écriture de l'information venant du
commutateur à la rangée p de la mémoire
vocale 2.
L'équipement de l'autoroute sortante fonctionne de la
même manière que celui de l'autoroute entrante.
Ce type d'étage de commutation permet ainsi de traiter
une conversation à l'intérieur du central à
un instant totalement indépendant de son cadencement
sur les autoroutes entrantes et sortantes. En principe, cela
peut s'appliquer à tout type d'échange multiplex
à impulsions codées du réseau local. Mais,
comme on le verra plus loin, une simplification sensible des
équipements dévolus à une autoroute est
possible dans de nombreux cas.
L'établissement d'une conversation par l'étape
de commutation implique l'alignement des positions temporelles
sur les autoroutes concernées.
Considérons, par exemple, une connexion qui doit être
établie entre le canal p de la route entrante HI et le
canal q de la route sortante HO. Le circuit de repérage
de l'étage de commutation commence la recherche d'une
position temporelle libre simultanément sur l'entrée
de l'étage de commutation HI et sur la sortie H 0 .
Soit un temps libre. La connexion est alors établie en
écrivant, sur la ligne r des 3 mémoires de commutation,
les informations suivantes :
Code pour le canal p m la mémoire de commutation horaire
entrante.
Code pour le canal q 111 la mémoire de commutation horaire
sortante.
Code pour l'autoroute sortante 111 la mémoire de commutation
d'espace.
La libération de la connexion se fait par effacement
de ces informations.
Dans certains types d'échanges, il est nécessaire
de réaliser des liaisons entre autoroutes entrantes ou
entre autoroutes sortantes.
C'est particulièrement le cas d'un central local dont
les autoroutes entrantes desservent des concentrateurs. Le trafic
local entre abonnés ne
nécessite des connexions entre les autoroutes entrantes.
Ces connexions sont réalisées par des autoroutes
locales HL, chacune composée de 2 autoroutes sortantes
couplées HOA et HOB, comme illustré à la
figure 4.
2.2.3 Équipement routier simplifié
L'équipement de mémoire associé à
chaque autoroute de multiplexage par impulsions codées
à l'entrée du central peut être simplifié
dans de nombreux cas.
Si les lignes des abonnés sont connectées directement
au central, l'organisation générale des étages
de commutation interconnectant ces abonnés aux autoroutes
multiplex à impulsions codées reste la même
que celle du concentrateur représenté sur la figure
1 .
Pour une autoroute à impulsions codées desservant
un groupe d'abonnés, il est alors possible de connecter
directement les sorties du codeur et du décodeur d'impulsions
à l'entrée du commutateur. Aucune mémoire
de la parole n'est nécessaire ; la mémoire d'identité
des abonnés en conversation a le même but vis-à-vis
du circuit de commande du central que la mémoire de commutation
temporelle entrante de la figure 3.
L'équipement d'une autoroute multiplexe desservant un
concentrateur distant peut également être réduit.
Par rapport au cas précédent, où le stade
de raccordement aux abonnés était en central,
il suffit de compenser les temps de propagation entre le central
et le concentrateur. Pour cela, un retard supplémentaire
est ajouté en entrée du central aux informations
provenant du concentrateur de manière à ce que
le retard total soit un multiple de 100 microsecondes. Ce délai
supplémentaire peut être fournie par une mémoire
matricielle du même type que les mémoires de parole
ou par une mémoire de circulation telle qu'une ligne
à retard.
Une simplification est également possible pour les autoroutes
locales telles que celles illustrées à la figure
4. Les 2 autoroutes multiplex à impulsions codées
constituant cette autoroute locale l'autoroute ne nécessite
qu'un seul équipement de commutation horaire (2 mémoires
de parole et 1 mémoire de commutation horaire).
On peut noter qu'une voie de multiplexage à impulsions
codées reliant 2 centraux à impulsions codées
du type représenté sur la figure 3 comporte dans
chaque sens de transmission 2 mémoires de parole, 1 dans
le central émetteur et l'autre dans le central récepteur.
Comme on l'a vu, cette conception permet une indépendance
complète des 2 centraux et des circuits de transmission.
L'effacement de 1 mémoire est possible à condition
que certaines conditions soient remplies entre les circuits
de contrôle des centraux.
La figure 5 montre une conception possible.
Une seule mémoire de parole est placée dans chaque
central à l'entrée des informations, ce qui permet
une synchronisation aisée.
Considérons un appel passant du central A au central
B . La position temporelle choisie par le central A pour traiter
l'appel sera utilisée pour le sens de transmission de
A vers B .
Si le central B doit utiliser une heure différente pour
cette même communication, il doit informer le central
A du changement afin que A puisse procéder au décalage
horaire souhaité pour les informations provenant du central
B .
Si, dans la suite du routage de l'appel, des modifications de
connexion sont nécessaires dans le central B comme en
fin de numérotation, pour des problèmes de routage,
etc., le central A doit être informé de ces modifications.
Ainsi l'économie de mémoires de parole nécessite
des échanges d'informations supplémentaires entre
centraux.
2.3 ÉQUIPEMENT DE SYNCHRONISATION
Le principe des circuits de synchronisation a été
décrit dans le premier article.
Le problème consiste à écrire les signaux
de parole codés des 24 canaux d'une autoroute multiplex
codée par impulsions à leur place correcte
dans la mémoire de parole associée à la
voie haute à l'entrée du central.
Ces signaux peuvent subir des fluctuations temporelles du fait
des imperfections des circuits de transmission et des différences
de fréquences des horloges des centraux.
La figure 6 montre les circuits assurant la synchronisation
des informations.
L'écriture et la lecture d'informations dans la mémoire
de parole se font successivement. Le temps imparti à
un chiffre de 0,5 microseconde est divisé en 4 temps
élémentaires, le premier étant affectée
à l'écriture dans la mémoire, la troisième
à la lecture, les deux autres servant à sélectionner
les points à écrire ou à lire.
Les bribes d'information arrivent dans le central à tout
moment ; il faut d'abord les fixer individuellement dans le
temps avant de les écrire à leur place dans la
mémoire. Ceci conduit à diviser les circuits de
synchronisation en deux parties.
2.3 . 1 circuit de synchronisation d'impulsions
L'information entrante est retardée d'un temps variable
inférieur à r = 0,5 microseconde pour arriver
à l'entrée de la mémoire au temps élémentaire
prévu.
Le retard, qui est produit par des bascules, varie de manière
discontinue et peut prendre les 4 valeurs suivantes : 0, r/4,
r/2 et 3r/4.
Le réglage du retard est effectué par un circuit
de synchronisation d'impulsions commun à plusieurs voies
multiplex. Ce circuit continuellement
vérifie le délai de chaque autoroute. Pour ce
faire, il compare l'heure d'arrivée de l'information
sur une autoroute à celle des impulsions temporelles
délivrées par l'horloge d'échange puis
en estime le retard nécessaire sur cette autoroute.
Lorsque le retard sur une route donnée passe de 3r/4
à r, les circuits d'adressage pour écrire l'information
dans la mémoire sont modifié et le retard introduit
dans l'autoroute est remis à 0.
De même, lorsque le retard est 0 et que l'information
arrive trop tôt, les circuits d'adressage de la mémoire
sont modifiés et un un délai de 3r/4 est introduit
sur l'autoroute.
2.3.2 Circuits de synchronisation des canaux
L'adresse du point mémoire où l'information doit
être écrite, à un instant donné,
est issue de 2 compteurs ; 1 compte par 8 et donne l'identité
de la colonne de la mémoire et l'autre compte par 25
et donne l'identité de la ligne de la mémoire.
Ces compteurs fonctionnent avec un certain décalage temporel
par rapport à l'horloge du central.
Ceci correspond au décalage du canal de synchronisation
par rapport à l'heure locale t25. Un circuit de synchronisation
de canal commun à plusieurs voies multiplex fonctionne
également en division temporelle. Il est successivement
relié à toutes les autoroutes multiplex et remplit
deux fonctions.
Il vérifie la bonne synchronisation des 2 compteurs de
la manière suivante. Lorsque le compteur de canal atteint
le décompte de 25, il vérifie que les informations
entrantes sont conformes au code de synchronisation. Une décision
n'est prise qu'après 3 vérifications successives
pour éviter la possibilité d'une erreur due aux
circuits de transmission. Les compteurs sont resynchronisés
lorsque leurs phases sont erronées.
Il modifie l'adressage des informations en mémoire lorsque
le circuit de synchronisation des impulsions doit faire passer
le retard de 3r/4 à 0 ou inversement. Cette modification
consiste à avancer ou reculer d'une unité de temps
le compteur numérique de l'autoroute concernée.
Les problèmes de synchronisation sont plus simples lorsque
les horloges des 2 équipements de commutation reliés
par une autoroute multiplex sont synchronisées. Les liaisons
entre concentrateurs et centraux sont de ce type. La synchronisation
du concentrateur consiste à positionner correctement
les compteurs par rapport au canal de synchronisation, et alors
aucun délai n'est nécessaire.
3. Évaluation de l'amélioration possible du
trafic dans l'efficacité des autoroutes
3 . 1 TRAFIC POSSIBLE PAR ALIGNEMENT DE POSITION HORAIRE
L'établissement d'une connexion à travers un central
nécessite, comme indiqué en 2.2.2, l'existence
d'une position horaire simultanément libre sur l'entrée
et sur la sortie à connecter. Par conséquent,
un certain blocage interne se traduit dans tous les systèmes
de commutation par répartition dans le temps. Des calculs
ont été effectués sur le trafic possible
sur les autoroutes à multiplexage temporel [ 3-5 ] .
Dans le cas des autoroutes multiplex à 24 canaux, le
trafic possible sur une autoroute est d'environ 12 erlangs,
admettant 1 appel perdu sur 100. L'efficacité correspondante
des autoroutes est de 50 %.
A titre d'exemple, considérons un trafic moyen par abonné
à l'heure chargée de 0,1 erlang.
Chaque concentrateur peut alors desservir 120 abonnés.
Un central local de 9 000 abonnés interconnectera 75
autoroutes entrantes en provenance des concentrateurs et 75
autoroutes sortantes allant vers d'autres centraux ou desservant
le trafic local.
L'élimination du blocage interne dû au désalignement
de la position temporelle est possible en appliquant une opération
de réarrangement [6, 7] .
3.2 PRINCIPE DE RÉARRANGEMENT
Si l'on considère, dans un étage de commutation
entre voies multiplex à impulsions codées, une
connexion à établir entre une voie entrante HI
n'ayant que la position temporelle tx libre et une voie sortante
HO n'ayant que la position temporelle fy libre, le problème
ne peut être résolu sans réarrangement.
Un réarrangement est alors effectué en libérant
la connexion qui occupe la position temporelle tx de HO, ce
qui permet d'établir la connexion souhaitée, puis
en rétablissant la connexion qui vient d'être libérée
à la position temporelle ly. Ce rétablissement
peut éventuellement nécessiter de libérer
une autre connexion, qui sera elle-même rétablie
à une autre position temporelle, et ainsi de suite jusqu'à
ce qu'un chemin libre soit trouvé pour chaque connexion.
Prenons, par exemple, un commutateur 5 par 5 interconnectant
les entrées 1, 2, 3, 4, 5 aux sorties a, b, c, d, e.
Chaque entrée et chaque sortie desservent 1 autoroute
multiplex codée par impulsions (voir Figure 3).
La colonne A du tableau 1 montre les connexions entre les entrées
et les sorties pendant tx et fy, 2 des 24 positions horaires.
A l'instant fx, l'entrée 1 est reliée à
la sortie b, l'entrée 2 est libre, l'entrée 3
est reliée à la sortie d, etc. ; à l'instant
ty, l'entrée 1 est reliée à la sortie d,
etc.
Supposons qu'une nouvelle connexion soit à établir
entre l'entrée 4 libre à l'instant fy et la sortie
c libre à l'instant tx, cette sortie n'étant reliée
à aucune entrée à cet instant.
La connexion 4-c ne peut se faire sans modification des connexions
déjà établies.
La connexion 5-c existant à l'heure tv est libérée.
Cette modification rend possible la connexion 4-c à l'instant
ty. La colonne B montre les connexions qui sont ensuite établies.
La connexion 5-c est alors rétablie à l'instant
tm en libérant la connexion 5-c, elle-même rétablie
à l'instant fy en libérant la connexion 3-e (tableau
1, colonne C) .
Le même processus, consistant à permuter les positions
temporelles tx et tv pendant lesquelles 2 connexions sont établies,
est poursuivi.
Les liaisons 3-e et 3-d sont permutées dans le temps,
la liaison 1-d étant libérée (ColonneD).
Les connexions 1-b et 1-d sont permutées (colonne E).
Le rétablissement de la connexion 1-b à l'instant
fy ne nécessite aucune libération, la sortie b
étant libre à l'instant ty. Le réarrangement
des connexions est terminé.
Le processus qui vient d'être décrit peut être
généralisé pour n'importe quel centre de
taille. On montre facilement que le nombre de permutations de
connexion reste toujours inférieur au nombre d'entrées
ou de sorties du central.
Des calculs ont été effectués sur le nombre
moyen de connexions qui doivent être modifiées
afin d'en établir une nouvelle pour différentes
tailles d'étages de commutation multiplex. Ce nombre
est relativement faible ; dans les cas les plus pessimistes,
il faut modifier en moyenne une conversation pour en établir
une nouvelle.
L'application de la méthode de réarrangement n'introduit
aucun équipement supplémentaire dans les circuits
de parole d'un central à modulation d'impulsions codées
; seule une légère augmentation est nécessaire
dans les équipements de marqueur.
Lorsque les connexions entre les centraux de modulation par
impulsions et codage sont conçues comme dans la Figure
5 ( 1 mémoire de parole dans chaque central ; voir paragraphe
2.2.3 ) , toute permutation de temps sur une autoroute requise
par 1 central pour un réaménagement doit être
portée à la connaissance du central correspondant.
Par contre, si les autoroutes sont équipées de
2 mémoires de parole, comme sur la figure 3, les réarrangements
se font indépendamment à chaque central.
3.3 TRAFIC POSSIBLE PAR RÉAMÉNAGEMENT
Étant donné que la méthode de réarrangement
élimine le blocage interne dans les étages de
commutation entre les autoroutes multiplex à impulsions
codées, l'efficacité de ces autoroutes dépend
uniquement de la quantité de trafic traité dans
une direction.
Une autoroute reliant un concentrateur à un central constitue
un tronc de 24 canaux, qui peut gérer un trafic d'environ
1 5 erlangs, permettant 1 appel perdu sur 100.
En supposant un trafic de 0,1 erlang par abonné à
l'heure chargée, le concentrateur pourrait desservir
150 abonnés. Un central local de 9000 lignes aurait dans
ces conditions 60 autoroutes entrantes.
L'efficacité des autoroutes sortantes traitant le trafic
total, soit 900 erlangs, dépend du nombre de directions
dans lesquelles ce trafic est traité. On peut s'attendre
à des rendements de l'ordre de 80 %, ce qui conduit à
47 autoroutes multiplex sortantes à impulsions codées.
On rappellera que dans le cas d' un central fonctionnant par
alignement horaire ( paragraphe 3 . 1 ) ayant le même
nombre de
lignes et traitant le même trafic, 75 autoroutes entrantes
et 75 autoroutes sortantes étaient nécessaires.
La méthode de réarrangement permet donc une importante
économie d'équipement, tant du point de vue de
la transmission que du point de vue de la commutation. L'amélioration
de l'efficacité des autoroutes est possible par d'autres
méthodes que celle décrite.
Notamment, l'augmentation de vitesse des éléments
électroniques permet d'envisager de multiplexer un plus
grand nombre de voies sur les entrées et sorties de l'étage
de commutation spatiale ; par exemple 48 au lieu de 24. Le blocage
dû à l'alignement temps-position est alors diminué.
4. Modèle de concentrateur
Des travaux théoriques et expérimentaux ont conduit
à la construction de modèles de test d'un concentrateur
et d'un central à de modulation par impulsion-code.
Le modèle du concentrateur est illustré à
la figure 7.
Les équipements communs aux abonnés ; codeur,
décodeur, mémoire et circuits de contrôle,
a été construit comme pour un véritable
concentrateur, et 28 lignes d'abonnés ont été
équipées.
Un concentrateur desservant 150 lignes d'abonnés n'aurait
que le volume légèrement supérieur de 0
. 1,5 mètre cube (5,6 pieds cubes) .
Le modèle de l'échange multiplex à impulsions
codées dispose de 2 autoroutes entrantes multiplexées
à impulsions codées, l'une pouvant être
connectée au concentrateur, le second desservant 3 registres
et un poste d'opérateur, et 3 autoroutes multiplex sortantes
à impulsions codées, dont 2 sont associées
pour former une autoroute locale.
Ces autoroutes sont entièrement équipées
de mémoires de parole et de commutation. La conception
de l'étage de commutation est conforme à la Figure
3 .
Le circuit de commande serait adapté à un central
de plusieurs milliers de lignes d'abonnés en ce qui concerne
ses éléments essentiels.
Le circuit de commande d'un central à modulation d'impulsions
et de codage est plus simple que celui d'un central ayant un
circuit vocal à répartition spatiale. En effet,
toutes les informations inscrites dans les mémoires de
commutation du circuit de parole d'un central impulsionnel codé
sont accessibles au circuit de commande.
Ce dernier ne nécessite alors que très peu de
mémoires. De plus, le transfert d'informations entre
les circuits de parole et de contrôle s'effectue avec
seulement quelques éléments d'interconnexion du
fait du fonctionnement en multiplex du circuit de parole et
de la nature numérique des signaux qu'il achemine.
Le modèle nécessitait des circuits logiques élémentaires
ayant des performances relativement rapides : temps de réponse
< 0,1 microseconde. Des transistors rapides et des diodes
ont été utilisés.
Les points de stockage dans les mémoires de parole utilisent
un condensateur associé à 2 diodes, ce condensateur
étant chargé ou non selon que l'information à
écrire est 1 ou 0.
5. Perspectives
Les modèles de commutation qui ont été
construits ont permis de vérifier la validité
des solutions "aux problèmes rencontrés dans
l'application de la modulation par impulsions codées
à la commutation téléphonique.
Du point de vue de la commutation, les avantages sont des diminutions
très importantes du volume, du poids et de la consommation
électrique des équipements ; et une très
grande souplesse de fonctionnement.
L'utilisation du même type de modulation pour la transmission
et la commutation présente, parmi de nombreux avantages,
un échange très facile d'informations de supervision
entre les centraux qui permet de localiser les concentrateurs
de lignes d'abonnés de manière pratique près
des abonnés et éloignés du central.
Les très grands progrès réalisés
ces dernières années tant sur les performances
que sur le coût des techniques numériques rapides
permettent aujourd'hui d'envisager des solutions de modulation
par impulsions codées compétitives par rapport
aux conceptions classiques.
Il est très probable que même dans un proche
avenir, la situation s'améliorera encore.
6. Références
1. P. Mornet, "Application de la modulation par impulsions
codées à un réseau téléphonique
intégré : Partie 1 , Advantages of
Pulse-Code Modulation," Electrical Cominunication, volume
38, numéro 1 , pages 23-3 1 ; 1963.
2. A. Chatelon, "Application de la modulation par impulsions
codées à un réseau téléphonique
intégré : partie 2, transmission et codage",
Communication électrique, volume 38, numéro 1,
pages 32-43 ; 1963.
3. S. Van Mierlo et H. H. Adelaar, "Système
de télécommunications", brevet français
1 108 100 ; novembre 1953.(voir le brevet en ligne)
4. H. H. Adelaar et D. G. N. Hunter, "Use of 'Stantec Zebra'
to Calculate a Traffic Table for a Three-Link Time-Division-Multiplex
Telephone Exchange", Electrical Communication, volume 36,
numéro 3, pages 1 89-196 ; 1960.
5. L. R. F. Harris, « Time Sharing as Basis for Electronic
Telephone Switching », Actes de l'Institution of Electrical
Engineers, volume 103, partie B, pages 722-742 ; mars 1956.
6. E. Touraton et J. P. Le Corre, « Commutation entre
Voies de Communication Multiplex », Brevet français
1 212 984 ; Octobre 1958.
7. J. G. Dupieux, J. P. Le Corre et P. Seneque, "Etage
de Commutation en Multiplex clans le Temps et ses Circuits de
Commande As Qocies", demande de brevet français
1 3 1 3 830 ; Novembre 1961 .
|
sommaire:
Au printemps 1963, le projet PLATON
est lancé avec pour objectif, la réalisation dune
maquette prouvant la faisabilité dun réseau de
connexion
temporel y compris le CODEC. Le responsable du projet est André
Pinet.
André Pinet, le chef de projet possède une bonne
expérience dans des domaines variés, y compris sur la
commutation. Sur le numérique il a été un pionnier
en ayant travaillé sur le codage PCM (Pulse Code Modulation),
dès 1947, dans la ligne de linvention dAlec Reeves
en 1938 au laboratoire LMT de Paris, puis dans une deuxième
étape à partir de 1958, au moment où on peut
utiliser des transistors pour faire des réalisations expérimentales.
Il est un chef de projet pragmatique qui donne des objectifs intermédiaires
et fait des choix pouvant être révisés plus tard,
en fonction de la disponibilité de nouveaux composants .
Les responsables ont pleinement conscience des difficultés
à surmonter pour programmer une machine chargée de toutes
les opérations dun centre de commutation (dont toute
une partie exigeant le temps réel) et savent que les énormes
moyens mis en uvre par les « Bell Labs » pour y
parvenir ne sont pas mobilisables au sein du C.N.E.T. ou de SO.CO.TEL.
Cest pourquoi L. J. Libois souhaite quon cherche une solution
amenant à une programmation moins lourde et moins onéreuse.
Larchitecture de la commande centrale a fait lobjet de
choix contrastés, entre commande centralisée dans de
gros calculateurs et commande distribuée qui électronise
en quelque sorte les équipements à logique à
relais. En ce qui concerne la redondance, les Bell Labs ayant fait
le choix du microsynchronisme entre deux calculateurs (qui comparent
leurs registres après lexécution de chaque instruction
et redémarrent en cas de différence), la plupart des
autres centres de R&D les ont suivis.
Le CNET de Lannion, par contre a préféré
le partage de charge entre calculateurs (les appels sont répartis
entre les calculateurs), car si le microsynchronisme détecte
immédiatement les défauts hardware, le partage de charge
protège mieux des fautes software. Celles-ci conduisent en
effet à un redémarrage complet en microsynchronisme
(donc à un arrêt temporaire du service), alors quen
partage de charge, la faute ne se manifeste que dans un seul calculateur
: celui-ci va redémarrer, mais lautre sera capable de
continuer à traiter les appels, assurant ainsi la continuité
du service.
Après des travaux préliminaires en 1962,
A.Pinet fixe en 1963 lobjectif dune maquette de
laboratoire complète pour 1965 avec certaines simplifications,
largement en deçà de lobjectif final. Ainsi il
choisit dassurer la connexion temporelle avec des signaux
de parole modulés en PAM (Pulse Amplitude Modulation) de façon
à attendre les premiers circuits intégrés, qui
sont annoncés par les fabricants de semi-conducteurs, notamment
Texas Instruments.
Un autre choix effectué en 1963 est
celui du multiplexage à 32 voies, dicté par une
vision davenir du « tout binaire », alors quaméricains
et japonais travaillent sur la base de 24 voies, suivant une vision
conservatrice venant du multiplexage de voies analogiques. Ce choix
du 32 voies, validé par la Direction Générale
des Télécommunications, est proposé à
lensemble des adminitrations européennes via la CEPT.
Laccord européen sur cette norme sera obtenu en fin 1968
et lUIT en 1969 reconnait les deux normes européennes
et américaines. La reconnaissance mondiale de cette norme conforte
le CNET Lannion dans ses choix pour aller vers la réalisation
dun réseau numérique complet.
MLTIPLEXAGE RAPPEL : Voici
quelques informations essentielles sur l'utilisation des techniques
numériques en téléphoni à propos du
multiplexage 32 voies appelé par la suite système
MIC (Modulation par Impulsion et Codage).
Le théorème d'échantillonnage de Nyquist
stipule qu'un signal analogique à bande passante limitée
peut être représenté pratiquement parfaitement
si le signal est échantillonné à une fréquence
de deux fois la bande passante. Un signal vocal est considéré
comme ayant une bande passante d'environ 3 kHz (300 Hz à
3 400 Hz) et donc, en principe, pourrait être représenté
par une séquence d'impulsions résultant d'un échantillonnage
à environ 6 kHz. Des considérations pratiques dictent
cependant l'utilisation d'une fréquence d'échantillonnage
plus élevée et en téléphonie 8 kHz
est devenu la norme. L'amplitude des impulsions échantillonnées
est quantifiée (logarithmiquement) et représentée
par un nombre binaire à huit chiffres, sept chiffres indiquant
le niveau et le huitième le signe. Un canal téléphonique
numérisé est alors un flux binaire de 64kb/s dans
chaque sens. Le simple remplacement d'un canal analogique par
un canal numérique offre très peu d'avantages mais
l'approche numérique permet l'utilisation du multiplexage
temporel (TDM) et il est possible de multiplexer jusqu'à
30 canaux, formant un flux binaire de 2Mb/s.
- Étape 1 : Échantillonnage.
C'est un peu e même principe que le cinéma 24 photos
par seconde suffisent pour tromper l'oeil et voir la scéne
avec une bonne fluidité.
En téléphonie classique avec des téléphones
basiques qui existent depuis l'invention du téléphone,
les signaux analogiques vocaux (ainsi que les tonalités
transmises) d'une conversation en cours entre deux abonnés
sont tout d'abord échantillonnés à la fréquence
de 8.000 Hz. (Un échantillon vocal est prélevé
et mesuré toutes les 125 µs. Ceci signifie que
l'on effectue 8.000 mesures de tension à chaque secondes.)
Un tel échantillonnage permet de pouvoir reconstituer
à chaque extrémité de la chaîne de
commutation et de transmission les conversations de manière
fidèle jusqu'à une fréquence maximale audible
de 4.000 Hz, limite suffisante pour reconstituer des conversations
en cours qui soient compréhensibles. L'échantillonnage
est en fait une approximation d'un signal analogique dans le
temps.
- Étape 2 : Quantification.
Une fois les échantillons vocaux prélevés
toutes les 125 µs, il est nécessaire de procéder
à une seconde approximation : l'approximation en niveau
de tension.
En effet, un signal analogique étant susceptible de prendre
une infinité de valeurs entre une tension A et une tension
B, cet aspect impose de réduire les valeurs de tensions
possibles de ces échantillons en un nombre limité
de valeurs-étalons. La valeur de sortie de l'étage
de quantification est la valeur-étalon de référence
la plus proche de la valeur réelle de la tension d'échantillonnage
d'entrée.
Il a été retenu, en norme téléphonique,
que les niveaux de tensions échantillonnées seraient
compris entre 256 niveaux de tensions différents (256
valeurs-étalons). (Chaque échantillon est donc
systématiquement arrondi en une valeur numérique
comprise entre une valeur comprise entre 0 et 255.)
Une telle quantification, même s'il ne s'agit pas de Haute-Fidélité
telle que l'on pourrait la qualifier en acoustique, permet en
norme téléphonique, le codage de suffisamment
d'états d'amplitude possibles des signaux vocaux.
Étape 3 : Codage.
Puis ces échantillons vocaux, qui peuvent prendre 256
valeurs différentes sont convertis en numération
binaire (en base 2) sur des mots d'une longueur de 8 bits. À
partir de là, les échantillons sont devenus des
nombres exprimés en base 2, c'est à dire par un
nombre au format de 8 chiffres, dont chaque chiffre peut prendre
la valeur 0 ou 1.
Comme ces signaux codés sont échantillonnés
à la fréquence de 8.000 Hz, sur un mot binaire
de 8 bits, le débit équivalent en éléments
binaires par secondes (e.b/s) sera de 8.000 Hz x 8 bits = 64.000
bits/s. Bit se traduit par Élément Binaire : 0
ou 1.
Il serait déjà avantageux de réaliser des
transmissions sur de longues distances sous forme numérique,
car l'intérêt premier serait de pouvoir amplifier
de manière peut coûteuse la liaison numérisée,
étant donnée que nous savons à l'avance
qu'à un instant donné, la valeur théorique
transportée est soit égale à 0, soit égale
à 1. Par contre, nous ne pourrions transporter sur de
longues distances qu'une seule voie téléphonique
simultanément, ce qui finalement ne s'avérerait
pas très avantageux... Il faut donc trouver un moyen
supplémentaire.
Le Multiplexage Numérique.
Lorsque nous avons échantillonné à chaque
instant T, toutes les 125µs, en fait, cet instant T a duré
3,90µs. (durée fixée par les normes téléphoniques
: il faut l'instant le plus court possible, mais tout en gardant
une durée suffisamment longue de sécurité,
eu égard aux tolérances des composants électroniques,
qui eux, sont bien réels, et ne sont pas des formules mathématiques
parfaites...)
Donc, sur une liaison numérique, nous voyons qu'il y a
un temps mort de 125µs - 3,90µs = 121,10µs.
Puisqu'il existe un si grand temps mort entre deux échantillons
numériques vocaux, pourquoi ne pas y insérer d'autres
échantillons vocaux émanant d'autres conversations
téléphoniques ?
Ainsi nous pourrions transmettre sur une même liaison numérique
125µs/3,90µs = 32 conversations téléphoniques
numérisées à la fois ! En fait, si la durée
d'échantillonnage est de 3,90µs, nous avons 32 Intervalles
de Temps disponibles (IT) pour faire circuler à la fois
successivement et simultanément 32 conversations téléphoniques.
C'est ce que l'on appelle le Multiplexage Numérique : à
partir d'une simple liaison numérique, nous pouvons acheminer
simultanément 32 voies téléphoniques, de
quoi faire disparaître la pénurie de capacités
de voies de transmissions de conversations, en réutilisant
les liaisons métalliques existantes, qui ne peuvent acheminer
en basses fréquences qu'une seule conversation à
la fois...
Le Multiplexage Numérique est en fait un système
Multiplex à répartition dans le temps.
Ces signaux numérisés sous forme de mots binaires
de 8 bits, émanant d'une conversation en cours, avec un
débit binaire de 64.000 bits/s, sont ensuite insérés
dans une voie d'un Circuit MIC, et ce côte à côte
avec d'autres signaux provenant d'autres conversations en cours.
(jusqu'à 30 conversations téléphoniques simultanées
peuvent circuler sur une même liaison MIC.)
Un Circuit MIC est équipé de 32 voies, car une Liaison
MIC est "découpée" en 32 Intervalles de
Temps de 3,90µs chacun.
Mais seulement 30 voies sont en réalité réservées
au transport des conversations téléphoniques, car
2 voies sont notamment affectées à la synchronisation
et au contrôle d'erreur. En effet, parmi les 32 voies, numérotées
de 0 à 31,
- la voie 0 est destinées à la synchronisation :
qui doit permettre d'indiquer aux équipements de multiplexage
(ou de démultiplexage) quel est le premier Intervalle de
Temps parmi les 32 possibles,
- la voie 16 est destinée par convention à l'échange
de signaux de signalisation (dialogues) entre équipements
téléphoniques, pour permettre l'aiguillage des conversations,
le contrôle d'erreurs etc...
Le risque de diaphonie (mélange) entre plusieurs conversations
est quasiment inexistantant.
Une fois multiplexés, les signaux des
30 voies de conversations téléphoniques sortent
sur une Liaison M.I.C.

|
sommaire
Pour ce projet de réseau de connexion temporel, il fallait
une petite unité de commande capable de recevoir une numérotation
et de commander une connexion dans le réseau. Ce fut
le Packard Bell PB 250, commercialisé en 1961, l'un
des derniers utilisateurs de lignes à retard magnétostrictives
en tant qu'élément de sa mémoire. Packard Bell
vendait son calculateur mais aussi ses mémoires.
Le PB 250, qui a été
présenté par Packard Bell Computer Corporation lors
de la Western Joint Computer Conference en mai, est
le premier ordinateur avec ces deux caractéristiques. Ne
coûtant que 30 000 $, il peut rivaliser avec les machines
à grande échelle en termes de vitesse et de flexibilité.
Jusqu'à 40 000 opérations peuvent être effectuées
chaque seconde. Le temps d'addition est de 12 microsecondes, la
multiplication nécessite 276 microsecondes, tandis que
la division et la racine carrée prennent chacune 252 microsecondes.
De plus, les trois dernières opérations ont un temps
d'exécution variable, en fonction de la longueur des nombres.
Les temps indiqués sont pour un nombre composé de
21 bits et signe. Les opérations en virgule flottante avec
une mantisse 37 bits et une caractéristique 7 bits nécessitent
moins de trois millisecondes.
Outre la rapidité avec laquelle les opérations arithmétiques
peuvent être effectuées, la vitesse globale du PB
250 est également fonction d'une structure de commande
riche. Les 46 commandes incluent le transfert de blocs, la conversion
de Gray en binaire et le contrôle d'un système d'entrée/sortie
élaboré. La programmation est simple, avec des instructions
à adresse unique, une indexation des commandes et des opérations
automatiques à double précision. Le coût par
unité de réponse dépend de la facilité
de programmation ainsi que de la vitesse de calcul.
Le PB 250 est fourni avec un système de programmation symbolique
utilisant des codes d'instructions mnémoniques et une variété
de sous-programmes.
Les données et les commandes nécessaires au calcul
sont stockées dans une mémoire homogène.
Le support de stockage -- de 1808 mots dans l'ordinateur de base
-- est un ensemble de lignes à retard magnétostrictives
en acier au nickel le long desquelles se propagent des impulsions
acoustiques. A une extrémité de chacune de ces lignes
se trouve un dispositif d'écriture pour traduire l'énergie
électrique en énergie acoustique. A l'autre extrémité
de chaque ligne se trouve un dispositif de lecture pour retransformer
l'énergie acoustique en signaux électriques.
En réécrivant l'information stockée au fur
et à mesure de sa lecture, l'information circule en continu
sans altération à l'exception des altérations
qui résultent de l'exécution du programme informatique.
Un facteur de coût supplémentaire qui a souvent rendu
les petits ordinateurs peu pratiques est celui de l'extension
de la mémoire.
Les lignes à retard magnétostrictives, ainsi que
leurs circuits associés, sont montés sur des modules
gravés enfichables. La mémoire peut être étendue
à peu de frais à 16 000 mots par l'ajout de modules
similaires, et, en outre, ceux-ci peuvent être à
accès rapide ainsi que des lignes de stockage en vrac.
16 000 mots de stockage de base peuvent également être
ajoutés en externe, avec une entrée/sortie jusqu'à
85 000 mots par seconde. |
Le caculateur PB250 et sa console système

L'ordinateur central pesait 110 livres (50 kg).
Ligne
à retard.
La conception a commencé en novembre 1959.
L'ordinateur était conçu comme un composant dans
des systèmes à usage spécial, par exemple,
pour contrôler les centrales électriques.... entraînement
de sous-marins nucléaires ...
PB 250 a été licencié à SETI ( français
: Société européenne de traitement de l'information
, lit. 'Société européenne de traitement
de l'information').
|
Les informations d'entrée et de sortie
peuvent être traitées pendant le calcul.
L'entrée standard comprend une machine à écrire
alphanumérique, une perforatrice et un lecteur de bande
papier, une entrée et une sortie de bloc à grande
vitesse (2 mégacycles), 32 sorties de contrôle et
30 entrées de contrôle. Ce dernier fournit un moyen
de contrôler une large gamme d'équipements périphériques
et d'autres appareils. L'équipement de bande de papier
à grande vitesse et jusqu'à six gestionnaires de
bande magnétique sont des équipements en option.
Les bandes magnétiques utilisent le format de bande de
la série IBM 700, bien que n'importe quel code utilisant
jusqu'à huit canaux puisse être utilisé. |
Suivi le développement d'une machine
spécialisée dans la réception de la numérotation
(un périphérique du PB 250), utilisant une mémoire
série à magnétostriction à commander à
Packard Bell . Ce développement est lancé et au fur
et à mesure, on se rend compte que cette machine quon
va appeler multienregistreur a des propriétés intéressantes
et finalement va prendre en charge une grande partie du traitement
dappel.
Il a ainsi paru intelligent de développer des machines spécialisées:
le traducteur (mémoire de traduction à lignes à
retard et sa commande), le taxeur
(architecture voisine de celle du multienregistreur) et le PB 250
assurait les fonctions de supervision, un CTI en" herbe
".
sommaire
Les organes chargés de piloter lensemble
des opérations, et en premier lieu une base de temps générale,
horloge générant et distribuant les différentes
cadences indispensables dans un système temporel. Quant aux
organes de commande proprement dits, leur organisation pose problème.
Les responsables ont pleinement conscience des difficultés
à surmonter pour programmer une machine chargée de toutes
les opérations dun centre de commutation (dont toute
une partie exigeant le temps réel) et savent que les énormes
moyens mis en uvre par les « Bell Labs » pour y
parvenir ne sont pas mobilisables au sein du C.N.E.T. ou de SO.CO.TEL.
Cest pourquoi L. J. Libois souhaite quon cherche une solution
amenant à une programmation moins lourde et moins onéreuse.
Après des réflexions menées en commun avec J.B.
Jacob et J. Vincent Carrefour (responsable du centre de calcul du
C.N.E.T. au sein du département C.T.I.), A. Pinet soriente
vers une commande dite répartie : les fonctions en temps réel
(établissement, taxation, rupture des communications) seront
exécutées par des petites unités spécialisées,
les fonctions de gestion et de maintenance dont la réalisation
est acceptable en temps différé seront à la charge
dun calculateur de type universel. Celui-ci pourra alors être
commun à plusieurs commutateurs. Cette idée est très
facilement adoptée par M. Revel, responsable des études
sur les organes de commande ; il écrit que « comme beaucoup
dautres à Lannion, jétais un commutant faisant
de lélectronique et non pas, comme à Paris, un
informaticien faisant de la commutation ». En effet, lui-même
et la plupart des membres de son groupe sont des commutants issus
des techniques électromécaniques.
Tous se sentent armés (et motivés) pour concevoir des
ensembles logiques pilotés par un programme « câblé
» constitué dinstructions complexes adaptées
à la téléphonie. Cest ainsi que naît
le groupe de quatre organes constituant la commande de PLATON : le
marqueur assurant les échanges dinformations entre les
différents types dorganes, le multienregistreur pilotant
létablissement et la rupture des communications, le traducteur
mémorisant les caractéristiques de tous les accès
au commutateur (lignes dabonnés ou circuits) et le taxeur
chargé de calculer les taxes des conversations et de les imputer
aux comptes des abonnés concernés. La technique utilisée
est plus originale que le vocabulaire directement issu des commutateurs
électromécaniques.
Cest aussi dans lunité de raccordement
dabonnés que doit être réalisé le
codage numérique des échantillons de parole. La loi
de codage a été choisie après des « essais
téléphonométriques et des essais subjectifs dopinions
», en loccurrence celles des agents du département
C.T.I. venant apprécier dans une salle spéciale la restitution
plus ou moins fidèle de leur voix selon les différentes
expériences de codage. Mais la réalisation dun
codeur respectant la loi retenue nen reste pas moins très
difficile avec les composants disponibles : elle prévoit 128
valeurs différentes, cest-à-dire 27, or il savère
difficile de dépasser 26.
Le cumul des difficultés techniques et économiques (les
unes réagissant dailleurs sur les autres) rencontrées
pour développer lunité de raccordement dabonnés
explique pourquoi cest cette dernière qui connaîtra,
au cours du temps, le plus grand nombre de versions, très différentes
les unes des autres, parmi les organes constitutifs de PLATON et de
son successeur industriel E10.
sommaire
Malgré ces contraintes, la première
maquette de laboratoire entièrement fabriquée au C.N.E.T.
Lannion est assemblée et fonctionne dès 1965.
C'est une première mondiale.
Certains problèmes sont volontairement contournés dans
lattente de technologies plus performantes.
Ainsi, les communications sont établies à travers le
réseau de connexion avec des intervalles de temps identiques
pour le demandeur et le demandé. En effet, les mémoires
(dites « tampons »), permettant dy inscrire une
combinaison de parole codée au temps x affecté au demandeur
pour la lire au temps y affecté au demandé,ont un coût
encore prohibitif. Les instructions constituant le programme de fonctionnement
des organes de commande ne sont pas réalisées sur un
support mémoire aisé à modifier. Enfin, le calculateur
universel, dénommé Centre de Traitement des Informations
(C.T.I.), chargé des opérations de gestion et de maintenance
nest pas jugé indispensable à ce stade de vérifications
des principes. Ce rôle est joué provisoirement par un
calculateur PB250 de Bull.
Les résultats obtenus sont considérés comme très
positifs ; la maquette PLATON fait maintenant partie du circuit
traditionnel suivi par les visiteurs officiels du C.N.E.T./Lannion.
Les responsables jugent donc possible et nécessaire dengager
une seconde phase du projet devant aboutir à la mise en exploitation
réelle dans le réseau.
La mise en construction de la maquette débute le 9 décembre
1965 et en Février 1966, deux "abonnés"
peuvent se parler à travers le Réseau de Connexion de
la maquette.
Mais quelles appréciations les experts portent-ils
sur cette première réalisation ?
La nature temporelle du système PLATON les laisse toujours
sceptiques quant à la possibilité de réaliser
à court terme des réseaux de connexion de capacité
suffisante. Le surcoût apporté par le passage «
fréquences vocales-modulation par impulsions codées
» au niveau des étages dabonnés leur paraît
également impossible à compenser par les économies
attendues par ailleurs de lélectronique.
Mais ils sont encore beaucoup plus réservés, et le terme
est sans doute faible, sur la structure qui a été choisie
pour les organes de commande. Comment peut-on se priver de la souplesse
des programmes enregistrés (modifiables par une simple relation
homme-machine, sans intervention « physique ») gérés
par des calculateurs au sein desquels sont centralisées toutes
les fonctions ? Pourquoi prendre une autre option que les Bell Labs
et A.T.T. qui, à la même époque (1965), mettent
en service réel à Succasunna le prototype de lESS1
piloté par deux calculateurs synchrones ?
On juge indélicat de rappeler quon ne maîtrise
absolument pas la conception de programmes aussi vastes pour lesquels
les Bell Labs ont consacré des moyens absolument exceptionnels
et un temps ayant dépassé, tout aussi exceptionnellement,
les prévisions.
Aussi, la conclusion de larticle de présentation du projet
dans le numéro 12 de Commutation et Electronique de mars 1966
consacret-elle à peine 15 % de sa longueur à rappeler
les avantages attendus de la commutation temporelle, « en particulier
ceux qui concernent le faible encombrement des installations, labsence
de bruit, la qualité du service due à lextrême
rapidité dexécution des opérations, la
souplesse du système quant à la possibilité de
traiter des informations de natures diverses (téléphonie,
transmission de données, etc.) ».
Le reste de cette conclusion sert à justifier la séparation
qui a été faite entre fonctions de commutation et fonctions
dexploitation. Les premières, nécessairement exécutées
sans défaillances et en temps réel « sont réalisées
à laide de sous ensembles spécialisés dont
la pluralité, ..., place le système dans les meilleures
conditions pour assurer un service ininterrompu ». alors qu«
il ne faut pas oublier que la centralisation des fonctions dans un
organe unique accroît les difficultés dassurer
un service sans défaillances, lesquelles ne peuvent dailleurs
généralement être surmontées quau
prix dune augmentation notable du matériel ».
Il nest pas omis de rappeler combien la commande centralisée,
obligatoire dans sa totalité, quelle que soit la capacité
initiale du commutateur, est économiquement pénalisante
pour les installations de dimension modeste. Par contre « La
centralisation de certaines fonctions liées à lexploitation
dans un organe à programme enregistré mis à la
disposition de plusieurs centres de commutation nous paraît
être une solution avantageuse... ».
La longueur du plaidoyer en faveur dune commande répartie
montre bien quelle est en totale opposition avec les idées
des années 1960, toutes favorables à la commande centralisée,
ne serait-ce que par conformisme avec ce que font les Bell Labs.
Peu de spécialistes (y compris sans doute parmi les responsables
de ce choix) auraient pensé quelle puisse simposer
à terme. Cest pourtant ce qui sest produit (essentiellement
à cause du développement des microprocesseurs), et cest
bien du mérite pour certains experts de reconnaître en
1990 que « cette structure décentralisée, très
en avance sur son temps, sest révélée être
un bon choix lorsque sont apparus les microprocesseurs, et cest
maintenant une caractéristique « dernier cri »
dont se vantent tous les constructeurs modernes de commutation »
Cest donc à cause de cette organisation, qui évite
les difficultés de la programmation lourde, que PLATON
a réussi et que le système E10
sest imposé dès les années 1970.
Cest en tout cas la thèse adoptée par plusieurs
acteurs du projet, en particulier par J.N. Méreur (futur directeur
des programmes au C.N.E.T.), jeune ingénieur alors chargé
den favoriser le développement auprès des services
exploitants. La nature temporelle du système, pourtant beaucoup
plus innovante, ne sera pleinement appréciée quune
dizaine dannées plus tard. Peut-être a-t-il fallu
quA. Pinet se réfère à son riche passé
de chercheur pour quil ne se montre pas trop surpris par le
fait quun choix « par défaut » (la commande
répartie) se soit montré prépondérant
dans le succès rapide de son idée originale (la commutation
temporelle) .
Ce travail en commun a abouti à la mise
en service dabord du commutateur de Perros-Guirec.
Commutateur prototype n°1 PLATON mis en service le 6 janvier
1970.

C'était le premier Commutateur téléphonique
Électronique Temporel du monde
Le projet Platon, avec sa structure de cur temporel
et concentrateurs distants, visait à couvrir les zones peu
denses, en profitant des économies permises par lintégration
commutation temporelle/transmission numérique. Il fut industrialisé
par la SLE (Société lannionnaise délectronique),
filiale de la CIT, sous le nom de système E10, dont la tête
de série fut mise en service à Poitiers.
Le projet Périclès visait à
couvrir les besoins des grands centres urbains. Il ne fut pas industrialisé,
mais ses enseignements conduisirent au système E11 (puis 11F),
dont la tête de série fut mise en service à Athis-Mons.
La compétition entre les deux équipes
ne fut pas tant une compétition entre nature du point de connexion,
tout le monde étant daccord sur le fait quà
terme les progrès dans lintégration des composants
assureraient le succès des réseaux de connexion temporels,
mais sur la structure de la commande. Les Lannionnais nont pas,
au début, cru à la commande par des calculateurs de
type universel, mais par des calculateurs très spécialisés,
alors que les équipes dIssy ont compris très rapidement
que le poids des investissements en logiciel allait devenir prépondérant
et que donc il était nécessaire dutiliser les
outils développés par lindustrie du software (méthodes
de spécifications, langages de programmation de haut niveau,
etc.) De fait, le logiciel des commutateurs électroniques a
vite représenté des millions dinstructions, et
des centaines « dhomme x ans » de programmation,
et à chaque génération technologique des calculateurs,
ce logiciel était porté sur les nouvelles machines.
La réforme du CNET de 1970, en créant des « secteurs
» technologiques transcentres, dont le secteur commutation,
a mis les deux équipes sous les ordres dune même
hiérarchie, et a permis une certaine convergence, en définissant
une gamme de systèmes, répondant aux mêmes spécifications
fonctionnelles, mais technologiquement différentes, pour sadapter
aux divers besoins du réseau : E10 (temporel, commande distribuée)
pour les petits centres dabonnés, E11 (spatial, commande
centralisée) pour les gros centres urbains, E12 (temporel,
commande centralisée) pour les centres de transit. Les restructurations
industrielles ont fait quelque peu éclater ce schéma,
et sont restés le E10 (qui, après plusieurs générations
successives, est devenu commutateur de très grande capacité)
et la gamme MT20 (transit)/MT25 (abonnés), dérivée
du point de vue du logiciel du E11 via le 11F, mais à réseau
de commutation temporel. En effet, en 1978, à une conférence
à Atlanta, la DGT a annoncé officiellement quelle
faisait le choix du tout temporel pour son réseau. Mais pour
des considérations industrielles et de développement,
des commutateurs électroniques spatiaux ont encore été
commandés pendant plusieurs années après cette
date.
sommaire
À la fin des années 1960, il ny
avait que 4 millions de lignes en France (une densité inférieure
à celle du Portugal ou de la Grèce), et, suivant la
formule célèbre, la moitié des Français
attendaient le téléphone, et lautre moitié
attendait la tonalité. Le développement du pays est
programmé par des plans quinquennaux qui ont complètement
négligé les télécommunications, et il
faudra attendre le VIIe Plan en 1975 pour voir une priorité
affectée au téléphone avec 100 milliards de francs
dinvestissements. Cette situation difficile conduit à
des tensions fortes entre les IGT sur le terrain (« les exploitants
les pieds dans la glaise ») et ceux du CNET (« les penseurs
les pieds sur la moquette ») qui attire toujours les premiers
des promotions sortantes dingénieurs des Télécommunications.
Quant à lindustrie, elle est dominée
par des filiales de groupes étrangers, laméricaine
ITT (qui possède 2 filiales en France), et la suédoise
LM-Ericsson. Lentreprise nationale CIT (filiale de la CGE) fabrique
le produit LME sous licence.
À partir des années 1970, la mobilisation de ressources
financières, techniques et humaines sous la direction des IGT
permettra, en moins de deux décennies, de construire en France
le réseau le plus moderne du monde, et à faire de la
petite CIT, devenue Alcatel, le n° 1 mondial de lindustrie
des télécoms dans le monde.
Chaque grand groupe industriel a ainsi été
conduit à faire ses choix.
Siemens na pas cru pendant longtemps à la commande par
programme enregistré ; lindustrie anglaise a développé
des commutateurs à logique câblée et à
point de connexion spatial à semi-conducteur, avant de développer
tardivement le système X ; LME a produit des systèmes
à commande centralisée en microsynchronisme et à
point de connexion électromécanique à relais
à tige ; AT&T a choisi la commande centralisée en
microsynchronisme et le point de connexion à relais à
tige ; ITT, intervenant par ses deux filiales françaises (LMT
et CGCT), leur centre de R&D (le LCT) et par la filiale belge
(la Bell dAnvers), a développé des systèmes
à commande centralisée en partage de charge et à
point de connexion à relais à tige ou à mini-sélecteur
Crossbar, avant le système 12 qui a marqué larrivée
dune commande très décentralisée (avec
le slogan marketing de : un microprocesseur par ligne).
A partir de 1974, on va chercher à rapprocher
lorganisation des Télécommunications de celles
des grandes entreprises, avec la mise en place des techniques de management
et de la direction par objectifs. Une bataille pour le leadership
des télécommunications françaises va être
engagée entre le CNET et la Direction Générale
des Télécommunications, et le CNET sera finalement limité
à ses activités de recherche.
Cette bataille rangée sest déroulée à
loccasion dun désaccord sur lopportunité
de lintroduction dune nouvelle technologie : la commutation
temporelle .
La DGT va hésiter à mettre en place le commutateur temporel
issu des travaux du CNET, qui devait être commercialisée
par la Compagnie Générale
dElectronique, société produisant des équipements
pour les télécoms (câbles, commutateurs, etc.).
Son rejet sera une stratégie de la part de la DGT pour éviter
un monopole de la société CGE en France. Ainsi, la DGT
prendra le contrôle des prix et des matériels de télécommunication,
base de la politique industrielle.
La DGT va ensuite lancer un appel doffre afin de choisir léquipement
de commutation à mettre en place en France dans le cadre de
la technologie intermédiaire, nommée « spatiale
». Les candidats sont nombreux et cest la société
Thomson qui semble le plus intéresser la DGT. En choisissant
la technologie proposer par Thomson, la DGT va donc ainsi créer
un concurrent à la CGE.
A dater de 1977, suite à la Conférence dAtlanta,
la communauté internationale se convertit au temporel, et la
DGT est leader, subventionnant à la fois Thomson et la CGE,
devenus concurrents. Finalement, le grand gagnant sera la société
CIT-Alcatel (qui nest alors quune P.M.E.) et ce grâce
à un transfert de technologie du CNET.Par-delà les conflits
et les malentendus inévitables, ces réformes constituent
un préalable à la nouvelle politique industrielle voulue
par la DGT, fondée sur la concurrence entre les constructeurs,
de façon à obtenir une qualité de matériel
irréprochable.
Le pari est ainsi gagné : la France, par le biais de ses commandes
et subventions publiques, et dun transfert de technologie, aura
réussi à passer de sa situation de « pays retardé
» à celle du pays qui tirera le mieux son épingle
du jeu, par le biais dune entreprise devenue acteur majeur de
la scène mondiale des télécommunications.
Au niveau international, la DGT demandera du reste aux deux sociétés
au niveau du marché temporel (Thomson et la CGE) de travailler
ensemble pour ce qui concerne lexportation.
Tout le monde, plus tard, a convergé vers la
commutation électronique temporelle pour laquelle le CNET a
été lélément moteur avec les systèmes
E10, E12 et la gamme MT20/25, construits par CIT et Thomson puis Alcatel,
fusion des deux.
Pour la suite des événements en France
et beaucoup plus de détail, reportez vous à la page
Alcatel et la technopole de Lannion.
et sur la page des différents centraux
semi-électroniques spatials et les centraux
éléctroniques temporels.
sommaire
Pour compléter la naissance de la commutation
électronique aux Etats Unis, Cette aventure est racontée
sur le documents (pdf) The
Morris Electronic Switching System (en détail et en anglais),ainsi
que dans ce document de
la Bell Labs nous détaille les recherches, les étapes,
les progrès fait jusqu'en 1976.
|
Extrait de "A
History of Engineering and Science in the Bell System Switching
Technology (1925-1975)"
Les débuts de la commutation électronique
(traduction Google)
Les avantages de la vitesse réalisable à partir
de l'électronique étaient évidents dès
le début, et même avant la Seconde Guerre mondiale,
les Bell Labs ont expérimenté le contrôle
des commutateurs crossbar par des tubes à gaz. Après
la guerre, l'élan vers l'électronique a été
renforcé par l'invention du transistor aux Bell Labs
en 1947, et un certain nombre d'expériences dans les
domaines de la recherche et du développement ont utilisé
les propriétés des transistors, des diodes à
gaz, des tambours magnétiques et des tubes à rayons
cathodiques. Les résultats de ces expériences
étaient suffisamment encourageants pour stimuler le développement
d'un système de commutation électronique pour
un essai sur le terrain à Morris, Illinois ; une étape
importante a été franchie en 1955 avec l'incorporation
dans la conception Morris du contrôle par programme enregistré.
Même avant la conclusion soit une réussite de l'essai
Morris en 1962, le système Bell a reconnu que le développement
à grande échelle de la commutation électronique
était la voie de l'avenir. L'une des conséquences
fut le système de commutation électronique n °
101, un PBX à répartition dans le temps qui a
été mis en service commercial pour la première
fois en 1963.
Les efforts de développement des laboratoires Bell ont
abouti à l'ESS n ° 1, mis en service commercial
pour la première fois en 1965, et à la version
4 fils intégrée au système gouvernemental
AUTOVON (AUTOmatic VOice Network) à partir de
1966. Depuis le milieu des années 1960, le L'histoire
de l'ESS et du contrôle des programmes enregistrés
a été marquée par une croissance rapide
et continue de la polyvalence et de la gamme de services.
Pour une documentation détaillée du fonctionnement
du système ESS n ° 1, connsultez le fichier
:
No.
1 ESS: System Organization and Objectives By W. KEISTER,
R. W. KETCHLEDGE and H. E. VAUGHAN (Manuscript received January
22, 1964)
I. PREMIÈRES APPLICATIONS DE L'ÉLECTRONIQUE
L'application réussie de l'électronique à
la transmission a conduit à de nombreuses tentatives
pour rechercher son potentiel de commutation, comme décrit
au chapitre 5, section I. Certaines d'entre elles ont commencé
avant la Seconde Guerre mondiale dans le domaine de la recherche,
comme l'appel annonceur (voir chapitre 3, section I), enregistrement
de zone à distance (chapitre 4, section 2.2) et impulsion
multifréquence (chapitre 6, section IV). Des circuits
utilisant des tubes à gaz ont été développés
et déployés pour l'enregistrement des zones éloignées
et pour la sonnerie sélective des lignes partagées.
Après la guerre, le domaine de développement a
trouvé une application croissante pour des éléments
tels que les tubes à vide dans la signalisation monofréquence
(chapitre 6, section IV), les tubes à gaz dans le crossbar
n ° 5 dans le traducteur en anneau (chapitre 7, section
1.1), les circuits de synchronisation (Chapitre 7, section 1.2),
les transistors du traducteur de carte (Chapitre 8, section
1.2) et le circuit de test d'isolation de ligne (Chapitre 7,
section 1.2). Au chapitre 5, section I, d'autres premiers efforts
de recherche sont mentionnés.
II. LE DÉBUT DE LA PENSÉE SYSTÉMIQUE
L'une des expériences de recherche d'avant-guerre était
le contrôle par tube à gaz des "interrupteurs
crossbar", inclus dans la conception d'un cadre de liaison
de ligne crossbar modèle de laboratoire n ° 1 (voir
Fig. 9-1). Après la Seconde Guerre mondiale, cet effort
a été relancé avec une vue vers un petit
centre de numérotation communautaire crossbar (COO) qui
serait plus fiable que le système n ° 380 (voir chapitre
4, section 2.4).

Fig. 9-1. Cadre de liaison de ligne crossbar expérimental
n ° 1 d'avant la Seconde Guerre mondiale avec "commutateurs
crossbar contrôlés par des tubes à gaz .
Le résultat a été un développement
exploratoire effectué dans le département de recherche
sous la direction de F. A. Korn de l'organisation de développement.
La conception du système a commencé en 1946 et
a été provisoirement identifiée comme le
COO "crossbar" n° 385 (voir Fig. 9-2). Le plan
du système était très similaire au système
n° 43 (voir chapitre 4, section 2.4) .
Le développement final a été abandonné
car ce système ne pouvait pas concurrencer économiquement
les COO étape par étape.
Dès 1942, des études ont été faites
sur la commutation par répartition dans le temps, mais
les systèmes utilisant cette technique se sont avérés
limités en capacité. En conséquence, la
plupart des efforts d'après-guerre ont commencé
avec des systèmes de division spatiale, utilisant d'abord
des commutateurs à contacts scellés, comme dans
le système expérimental connu sous le nom d'ECASS
(pour "Electronically Controlled Automatic Switching System").
D'autres efforts ont impliqué des tubes à gaz
en 1946, ou des croisements de semi-conducteurs. Dans tous ces
efforts, l'idée de base était d'appliquer des
"marques" de contrôle à une entrée
et à une sortie d'un réseau à plusieurs
étages afin qu'un chemin et un seul chemin à travers
des points de croisement connectant des liaisons inactives soient
établis sans connexions doubles. C'était ce qu'on
appelait le "marquage de fin" avec verrouillage automatique,
et les objectifs étaient de réduire la complexité
du contrôle du réseau et d'établir rapidement
des connexions, une à la fois.
Un schéma de signalisation par répartition dans
le temps utilisant un canal de signalisation séparé
a été étudié et a été
utilisé dans le modèle ECASS. 
Fig. 9-2. Bureau de numérotation communautaire expérimental
n ° 385 à barre transversale , une tentative de 1946
d'incorporer l'électronique dans la commutation.
Cela a donné naissance au concept de balayage utilisé
plus tard dans un autre système expérimental appelé
DIAD (pour "magnetic Drum Information Assembler Dispatcher")
et dans les systèmes de commutation électronique.
En 1949, des modèles de bon nombre de ces concepts existaient
et stimulaient la réflexion de nombreux ingénieurs
sur les systèmes de commutation électroniques
en général. Un système de séparation
temporelle à 100 lignes, comme on appelait alors la division
temporelle, a été construit en 1950, et un système
de division de fréquence a été étudié.
Des circuits de verrouillage de transistors et, éventuellement,
des points de croisement ont été réalisés
et des expériences de réseau menées en
1951. En 1947 et à nouveau en 1955, des propositions
ont été faites pour utiliser la commutation par
faisceaux lumineux pour établir des connexions de la
parole.
Le stockage à tambour magnétique a été
appliqué dans le système DIAD en 1954 avec l'idée
de base d'écrire à la même adresse immédiatement
après la lecture des informations stockées afin
que les mêmes circuits logiques de commande puissent agir
sur une base temporelle pour les appels stockés à
chaque adresse successive. Un système de traduction à
tambour magnétique a été exploré
pour être utilisé avec le système de barre
transversale à la place du traducteur de carte (voir
ci-dessous, section 4.3.3), mais n'est pas entré en production.
Un modèle expérimental d'un traducteur à
tube à gaz bidirectionnel a également été
exploré pour une utilisation dans des systèmes
de commutation locaux afin de répondre à l'exigence
de comptabilisation automatique des messages de l'équipement
au directeur. numéro, et la traduction répertoire-équipement
du groupe de numéros.
III. EXPÉRIENCES DE SYSTÈME
DE RECHERCHE
Les nombreuses idées de base du balayage, du marquage
des extrémités, des points de croisement électroniques
(tube à gaz et semi-conducteur) et de la signalisation
des fils d'appel ont abouti aux systèmes de recherche
ECASS et DIAD et à un troisième système
appelé ESSEX (pour "Experimental Solid State
EXchange"), tous ont été construits comme
des expériences de laboratoire à la fin des années
1940 et 1950. Ils ont formé des bancs d'essai dans lesquels
les diverses nouvelles idées de commutation pourraient
être testées et démontrées. Sous
la direction de W. D. Lewis, l'équipe de E. B. Ferrell,
W. A. Malthaner, C A. Lovell, M. Karnaugh, W. A. MacNair, H.
E. Vaughan, J. DJohannesen, D. B. James, J. R. Runyon, E. Bruce,
N. D. Newby et beaucoup d'autres ont créé de nouvelles
idées et de nouveaux dispositifs de commutation et ont
suscité l'intérêt pour la commutation électronique
non seulement dans les laboratoires Bell, mais également
dans le monde entier.
Une fois les développements de la commutation électronique
entrepris, cet effort de recherche a été progressivement
abandonné au cours des années 1960.
À la fin des années 1960, un nouvel effort sous
HS McDonald a été lancé pour déterminer
l'applicabilité des circuits intégrés à
la commutation pour l'avenir. En conséquence, des centraux
numériques et des annexes ont été proposées.
On s'attend à ce que les techniques numériques
aient un effet aussi profond sur la commutation à l'avenir
que les premiers efforts de recherche sur le développement
de la commutation électronique. série.
IV. LE DÉBUT DU DÉVELOPPEMENT DE LA COMMUTATION
ÉLECTRONIQUE
4.1 Systèmes étudiés en 1951
C. E. Brooks et son groupe d'ingénieurs système
du site de Bell Laboratories West Street à New York ont
commencé à définir les exigences d'un bureau
central électronique.
Les anciens bureaux centraux à cadran tels que les systèmes
«panel» et "pas à pas" auraient
éventuellement besoin de remplacants plus modernes, et
l'électronique semblait offrir une opportunité
d'économies de coûts et d'espace importantes. C'était
une époque qui avait vu l'invention du transistor et
l'introduction de l'ordinateur électronique à
programme enregistré. De plus, les évolutions
technologiques très rapides commençaient tout
juste à rendre disponibles de nouveaux composants à
haut débit destinés à la commutation téléphonique.
Des bureaux centraux "squelettés" expérimentaux
ou des sous-systèmes fonctionnels ont été
conçus, construits et testés par les ingénieurs
de Bell Labs dans le cadre de la recherche sur la commutation
à Murray Hill, New Jersey et du développement
de la commutation à West Street. Ces efforts ont été
mis en parallèle et soutenus par des innovations par
les organisations de recherche physique et de développement
d'appareils électroniques de Murray Hill.
La conception de l'ECASS et du DIAD a servi de base à
l'étude, mais l'innovation continue et l'évolution
des technologies modifiaient déjà les choix d'appareils
et les méthodes de fonctionnement du système.
Des études assez complètes pour un "système
de commutation à transistor" ont été
réalisées par Brooks et les membres de son groupe
en 1952 pour réaliser une conception sur papier et tester
sa rentabilité par rapport aux bureaux "pas à
pa"s et "crossbar" n ° 5. Le système
a été envisagé comme ayant trois éléments
principaux: le réseau de commutation et les circuits
de contrôle (pour comprendre le «bureau central»),
et un centre distribué à un emplacement différent.
De plus, des parties du réseau devaient être distribuées
plus près des groupes de clients dans des unités
appelées concentrateurs de lignes distantes .
4.1.1 Système de commutation à
transistor - Le réseau et le scanner
Le réseau de commutation était considéré
comme un réseau «marqué aux extrémités».
Les circuits de commande n'avaient qu'à appliquer les
signaux de marquage électrique appropriés aux
deux bornes à interconnecter; le réseau rechercherait
et connecterait automatiquement un chemin de transmission unique
aux terminaux correctement marqués. La connexion serait
libérée en marquant (avec un signal différent)
au moins une des bornes à déconnecter. Un agencement
de l'interrupteur à diode à tube "reed-gas",
utilisé dans l'expérience ECASS, a été
utilisé de cette manière. Les diodes du tube à
gaz fournissaient la fonction de marquage d'extrémité,
les «relais reed» la connexion métallique
à 2 fils (transmission électriquement équilibrée)
pour la transmission vocale, les signaux d'impulsion de numérotation
et les signaux de sonnerie ou d'occupation.
Une alternative était un réseau de tubes à
gaz qui répondrait à la fois aux signaux de marquage
d'extrémité et, lorsqu'il est utilisé,
fournirait un chemin de transmission de la parole avec gain.
Le gain servirait à compenser d'autres pertes encourues
dans le réseau afin d'avoir des caractéristiques
de transmission équivalentes à celles des systèmes
de commutation électromécaniques. (La Fig. 9-3
montre une comparaison des configurations de la "diode
reed" et de la diode à voie de parole.) .
Le troisième choix était comme le second. Un transistor
à jonction a pris la place de la "diode à
gaz à chemin de parole"; cependant, le réseau
de transistors présenterait une légère
perte de transmission plutôt qu'un gain.
Ni la diode du chemin de parole ni le réseau de transistors
ne pouvaient transmettre des signaux importants tels que les
tensions et les courants de sonnerie de ligne.
De plus, réduire le nombre d'éléments de
commutation signifiait que les réseaux devaient être
connectés à un chemin unique (transmission déséquilibrée)
de terminal à terminal, nécessitant un retour
par une masse commune à tous les chemins. Par conséquent,
chaque ligne ou tronc équilibré était couplé
par transformateur au réseau; les signaux d'impulsion
de numérotation du client ne pouvaient pas être
transmis via le réseau aux circuits de réception
des chiffres.

Figure 9-3. Circuits de réseau considérés
au début des années 1950 : (a) diode reed et (b)
diode à voie de parole.
Ces limitations de signalisation ont été considérées
comme des opportunités. Il y avait un intérêt
à ajouter de l'électronique au téléphone
du client pour :
1) permettre une signalisation à grande vitesse au lieu
d'une impulsion de numérotation à dix impulsions
par seconde,
2) fournir des amplificateurs pour la parole et les signaux
de sonnerie de bas niveau transmis via le réseau au poste,
et
3) comprennent l'identification automatique des téléphones
de la ligne partagée par des impulsions transmises du
téléphone au central.
L'amplification de la parole a permis au téléphone
transistorisé de fonctionner avec beaucoup moins de courant
et de puissance que le téléphone existant requis.
Le besoin de signalisation à partir du poste téléphonique
a été évité grâce au scanner
rotatif à couplage capacitif inventé pour DIAD
par N.D. Newby.
Le scanner interrogeait séquentiellement chacune d'un
grand nombre de lignes à des vitesses de la microseconde
pour les demandes d'origine et les impulsions de numérotation.
Un appareil servirait d'équivalent à la fois du
relais de ligne et du détecteur d'impulsions de numérotation.
L'enregistrement réel des chiffres pourrait être
conservé dans une mémoire commune associée
aux moyens de commande. L'élimination de l'exigence de
signalisation à grande vitesse a grandement simplifié
l'électronique nécessaire au poste téléphonique.
(Dans sa proposition, Brooks incluait un scanner et une mémoire
commune pour stocker les chiffres ; ceux-ci utilisaient des
tubes à rayons cathodiques et des phototransistors.)
Plusieurs étapes importantes dans l'évolution
des centraux électroniques sont observées ici.
Premièrement, l'électronique à grande vitesse
pourrait être utilisée plus avantageusement dans
un circuit centralisé commun (le scanner), et de nombreux
registres individuels pourraient être remplacés
par une mémoire électronique de masse (le tube
à rayons cathodiques). Deuxièmement, le scanner
a été utilisé pour exécuter deux
fonctions: détecter les origines et collecter les chiffres
des impulsions de numérotation. Un moyen de contrôle
utilisait alternativement le scanner pour effectuer ces différentes
tâches à des moments différents, plutôt
que de déléguer cette complexité au scanner
lui-même Initialement, les études du système
comprenaient des recommandations pour le réseau de transistors.
Le réseau de transistors nécessitait des tensions
de marquage et de fonctionnement beaucoup plus faibles que les
alternatives de tubes à gaz, et les transistors nécessitaient
moins d'espace et de puissance. Les estimations économiques
ont favorisé le transistor, bien qu'une implémentation
de dispositif et de circuit n'était pas alors à
portée de main.
Avec le réseau de transistors, on pensait en outre qu'un
réseau à six étages marqué aux extrémités
pouvait être obtenu, alors que seul un réseau à
quatre étages pourrait être obtenu avec des tubes
à gaz. Le réseau devait être modulaire afin
de pouvoir passer de moins de 1000 lignes à une taille
maximale de 10 000 terminaux de ligne. Une conception à
six étages gérerait cette étendue de taille
de réseau de manière plus économique (moins
de points de croisement par ligne) qu'une configuration à
quatre étages. Pour économiser les points de croisement
dans les petits bureaux, les modules de réseau pourraient
être assemblés dans une configuration à
quatre étapes, permettant aux appels intrabureau d'être
acheminés de manière plus économique. Cette
dernière fonctionnalité tirerait parti de la "communauté
d'intérêts" des modèles d'appel généralement
associés aux petits bureaux.
Au fur et à mesure que le petit bureau s'agrandit, l'efficacité
du schéma de liaison intrabureau diminue et ces liaisons
seraient supprimées et remplacées par des liaisons
intrabureau à deux ports. La croissance serait accomplie
en ajoutant des trames de réseau et en redistribuant
les liaisons en réorganisant les connexions sur les trames
de regroupement des joncteurs. Au début, on pensait que
le réarrangement du joncteur nécessiterait un
recâblage, mais l'idée d'utiliser des cartes enfichables
pour simplifier et accélérer cette tâche
était considérée comme une possibilité
future. Les étages de commutation réseau devaient
être des modules enfichables pour faciliter la réparation.
Les premiers plans de réseau prévoyaient la possibilité
de supprimer une partie de la première étape de
commutation et le scanner de ligne associé et de remplacer
cet équipement par des concentrateurs de ligne distants
afin de réduire les besoins en cuivre de l'installation
extérieure. Des études de soutien ont commencé
en 1951 pour examiner les concentrateurs de ligne à distance
pour une application au système de commutation à
transistor et, plus immédiatement, à la barre
transversale n ° 5. D'autres études ont montré
des plans pour des réseaux à six étages
qui, avec l'utilisation de concentrateurs, pourraient atteindre
une capacité de 500 000 lignes. Des systèmes d'essais
sur le terrain de concentrateurs de ligne à distance
en ont résulté, mais l'application commerciale
n'est apparue que plus tard. (Voir Chapitre 11, section 2.10.)
4.1.2 Système de commutation à transistor -
Le contrôle
Le contrôle du système de commutation à
transistor reposait fortement sur la technologie des tubes à
rayons cathodiques (CRT).
Un CRT avec un réseau associé de phototransistors
à sa face servirait à balayer les "lines"
ou lignes et les "trunks" ou troncs pour l'état
occupé-inactif, pour les départs d'appel et pour
les impulsions de numérotation
Un deuxième tube cathodique associé fournirait
une mémoire effaçable pour conserver des informations
par ligne ou par tronc pour les points de balayage associés
à chaque phototransistor. Un groupe de CRT desservirait
les lignes et le second desservirait les lignes réseau.
Un troisième système de mémoire effaçable
CRT fournit une mémoire pour des informations transitoires
associées à des appels individuels. La logique
câblée et les réseaux de bascules accéderaient
aux trois systèmes CRT à des vitesses de la microseconde
sous la synchronisation d'une "horloge" électronique
pour détecter et assembler l'intelligence nécessaire
pour déterminer les connexions réseau requises.
La logique câblée et les réseaux de bascules
accéderaient également aux trames du réseau
et aux circuits interurbains via des matrices de diodes afin
de contrôler l'établissement des connexions réseau
réelles.
La figure 9-4 montre un schéma fonctionnel du système
de 1952 .

Fig. 9-4. Une vue de 1952 de la commande électronique
d'un réseau de commutation transistorisé. La pensée
de contrôle était alors basée sur la technologie
de tube à rayons cathodiques.
Il ressemble étroitement à la
configuration utilisée dans les systèmes Morris
et n ° 1 ESS (voir ci-dessous), bien que le contrôle
du programme enregistré n'ait pas encore été
intégré et que la mémoire soit encore un
peu moins consolidée que dans les systèmes ultérieurs.
Les lignes et les troncs seraient balayés à grande
vitesse en déviant le faisceau CRT d'un phototransistor
à l'autre. La combinaison de la présence du faisceau
et du signal de tension approprié sur le fil câblé
connecté à son phototransistor générerait
un signal indiquant l'état d'inactivité, la demande
de service ou l'état occupé, ou les informations
d'impulsion de numérotation (voir Fig. 9-5). L'adresse
du faisceau, c'est-à-dire les tensions de déviation
des axes X et Y, correspondrait au numéro d'équipement
de la ligne. En accédant de manière répétitive
à toutes les cellules du scanner en succession rapide,
la commande est capable de compter les impulsions de numérotation
et de détecter les intervalles interdigitaux.

Fig. 9-5. Scanner à tube cathodique pour
le système de commutation à transistor :
(a) géométrie globale et (b) section transversale
d'une cellule.
Les chiffres seraient comptés et enregistrés dans
une mémoire de stockage temporaire. Une mémoire
proposée était le tube de grille de barrière.
Ces dispositifs CRT utilisaient le faisceau d'électrons
pour déposer des charges statiques sur une couche isolante
(mica) afin de représenter des informations binaires.
L'interrogation ultérieure du site par le faisceau a
donné différentes quantités d'électrons
secondaires, qui ont pu être détectés par
une anode collectrice (voir Fig. 9-6). Bien que le tube à
grille barrière ne soit pas disponible dans le commerce,
des modèles expérimentaux de cet appareil fabriqués
aux Bell Labs à Murray Hill, New Jersey ont démontré
une capacité de mémoire suffisante.

Fig. 9-6. Tube de grille de barrière et section transversale.
Un faisceau d'électrons dépose des charges statiques
sur la couche isolante en mica.
Pour des raisons d'économie, le système de commutation
à transistor, comme DIAD, utilisait une mémoire
de masse commune plutôt que des registres individuels
pour accumuler et stocker les chiffres composés. Contrairement
à la mémoire à tambour DIAD, le tube à
grille barrière ne pouvait lire ou écrire qu'un
seul bit de mémoire par opération.
L'accès aléatoire à très haut débit
de ce dernier à n'importe quel site mémoire était
considéré comme suffisant pour répondre
aux besoins du système de commutation à transistor.
Le tube à grille barrière était plus économique
qu'une mémoire à tambour, qui nécessitait
de nombreux circuits de lecture / écriture et des registres
à bascule associés - au moins un par piste pour
le tambour. Ce compromis entre la vitesse de fonctionnement
et l'économie des circuits d'accès à la
mémoire s'est ensuite déplacé vers les
mémoires organisées en mots dans les premières
conceptions de production de systèmes de commutation
électroniques.
Une fois les chiffres enregistrés, il fallait alors traduire
le numéro d'annuaire en numéro d'équipement
afin de pouvoir localiser la ligne appelée dans le bureau
ou de localiser le groupe de lignes réseau approprié
si l'appel devait aller vers un autre central ou à un
opérateur.
Une mémoire de masse pourrait être adressée
avec le nombre à traduire, et les données stockées
représenteraient les valeurs traduites correspondantes.
Cette mémoire devait être placée dans un
centre "accounting" de gestion centralisé.
4.1.3 Système de commutation à transistor -
Le centre de comptabilité
La fonction de centre de gestion associée au système
de commutation à transistor devait inclure des informations
partagées et devait utiliser des tubes à grille
barrière et un autre système CRT décrit
ci-dessous. Une liaison de données bidirectionnelle relierait
la commande du système de commutation à transistor
au bureau du centre de gestion, qui pourrait être situé
dans un autre bâtiment. (La liaison des données
sur les lignes téléphoniques a fait l'objet de
recherches dans les années 1950.) Une base de données
unique pour la traduction entre les numéros d'équipement
et les numéros d'annuaire pourrait être administrée
de manière pratique pour un certain nombre de centraux
électroniques connectés au bureau de gestion des
recettes. , et le partage de la base de données permettrait
des économies évidentes dans l'ensemble du système.
Bien qu'elle n'ait pas été mise en uvre
au moment de l'introduction du système de commutation
électronique (ESS) n° 1, la transmission par liaison
de données des informations de facturation vers un centre
d'enregistrement centralisé a été introduite
en 1975 et est décrite au chapitre 11, section 2.8.
Une très grande mémoire à accès
rapide était nécessaire pour exécuter la
fonction de traduction, et un système à tube à
rayons cathodiques a également été suggéré
pour cette tâche. Dans l'exemple mentionné ci-dessus,
le numéro d'annuaire de la ligne appelée pourrait
être codé dans une position de déviation
X et Y, et le faisceau serait dirigé vers un point de
départ sur un écran au phosphore à faible
persistance dans le CRT. Derrière le CRT seraient placés
une plaque photographique, une lentille de condensation et un
photodétecteur (voir Fig. 9-7)
LENTILLE DE CONDENSEUR À TUBE CATHODIQUE
Figure 9-7. Plan de base du magasin du flying-spot, vers 1954.
La plaque aurait un réseau de sites transparents et opaques
représentant des uns et des zéros. A partir de
l'adresse de départ, le faisceau serait balayé
le long d'une rangée de ces sites, et le flux résultant
de uns et de zéros serait lu à partir du photodétecteur
et d'un amplificateur associé dans un registre de bascules
à transistors. Le registre contiendrait alors le numéro
d'équipement souhaité. Cette utilisation d'un
scanner "flying spot" comme stockage de mémoire
binaire a fourni un dispositif de mémoire en vrac. Il
contiendrait toutes les informations pour les lignes et les
lignes réseau et inclurait à la fois la traduction
de l'emplacement de l'équipement en numéro d'annuaire
(identification du numéro appelant) et la traduction
du numéro d'annuaire en numéro d'équipement
(emplacement de la connexion du numéro appelé
à l'équipement de commutation).
D'autres mémoires électroniques ont été
envisagées pour être utilisées dans les
systèmes de contrôle et de gestion. Ceux-ci comprenaient
des bandes magnétiques, des tambours magnétiques
et des lignes à retard acoustiques ou électriques.
Comme indiqué ci-dessus, les informations sont stockées
dans la plaque photographique. le système nécessitait
un accès rapide (dizaines de microsecondes ou moins)
et une grande capacité (dizaines ou centaines de milliers
de bits); à l'époque, cette combinaison d'exigences
n'était pratiquement réalisable qu'avec les systèmes
CRT avec leur accès aléatoire rapide.
La conversion du numéro d'équipement en numéro
d'annuaire serait stockée dans des scanners à
points volants au centre de comptabilité pour identifier
le numéro d'annuaire à facturer. Ceci est obtenu
en utilisant comme adresse mémoire le numéro d'identification
de l'équipement transmis du système de commutation
à transistor au centre de comptabilité. Une mémoire
de tube à grille barrière serait utilisée
pour collecter les informations nécessaires pour déterminer
les frais d'appel. Une fois les numéros de charge et
de facturation d'un appel terminés, les informations
seraient déplacées vers une bande magnétique
pour faire de la place pour les nouvelles données d'appel
entrant dans le magasin de grille de barrière.
Le bureau central accéderait aux données de traduction
dans le centre de gestion selon les besoins sur demande via
la liaison de données. Par exemple, l'achèvement
des appels entrants nécessite une traduction du numéro
d'annuaire en un numéro d'équipement. Le bureau
central transmettrait le numéro d'annuaire, et le centre
comptable utiliserait le numéro d'annuaire pour adresser
le scanner de points volants. La réponse serait la lecture
du numéro d'équipement, qui serait ensuite envoyé
au bureau central pour permettre l'achèvement de l'appel
(Des ordinateurs centralisés de ce type ont depuis été
utilisés dans des systèmes de commutation commerciaux
autres que Bell.)
Avec ces modèles, le système de commutation à
transistor est apparu économiquement attractif pour un
bureau de 9 000 lignes à New York et un bureau de 2 000
lignes à Morris, Illinois. . Cependant, d'autres études
ont été entreprises pour affiner les exigences
du système et mieux comprendre les choix d'appareils.
Des études de marché sur les bureaux de remplacement
et les nouvelles applications de centres de commutation devaient
être entreprises, ainsi qu'un examen des applications
de commutation en tandem et interurbain.
Le développement d'un concentrateur de ligne à
distance pour le système crossbar n ° 5 était
déjà en cours (comme décrit ci-dessous,
section 4.3.1) et contribuerait à une meilleure compréhension
de cette partie du système de commutation à transistor.
4.2 Études 1952-1954
Des études de système supplémentaires ont
continué à définir plus complètement
le fonctionnement du système de commutation à
transistor et ont inclus des considérations assez détaillées
sur l'appareil, l'équipement et la rentabilité.
Le point a été atteint où le développement
a été considéré comme la prochaine
étape logique. Un prospectus a été préparé
par Bell Laboratories et transmis en mai 1954 à AT&T
Ce prospectus recommandait que Morris, Illinois soit l'emplacement
du premier bureau .. Une bonne partie des données d'ingénierie
avaient été générées pour
cet emplacement, et sa taille modeste permettrait aux ingénieurs
d'acquérir l'expérience nécessaire avec
un minimum dépenses. L'installation extérieure
comprenait suffisamment de paires pour qu'un concentrateur à
distance ne soit pas nécessaire, et un réseau
de diodes à tube à gaz plus petit pouvait être
utilisé plutôt que d'attendre un réseau
à transistors. Le réseau à transistors
a alors été proposé pour faire son apparition
dans de plus grands bureaux à la suite de Morris. On
a estimé que le magasin de mémoire du scanner
à points volants (plus tard appelé le magasin
à points volants) nécessitait 76 000 bits d'informations,
et que le tube à grille de barrière nécessitait
14 000 bits de mémoire modifiable.
Les études de système antérieures supposaient
que chaque ligne serait balayée de manière répétitive
toutes les cinq millisecondes. Ce débit rapide était
nécessaire pour détecter correctement les impulsions
de numérotation, mais n'était pas nécessaire
pour détecter les appels émis ou déconnectés.
La proposition a été modifiée pour analyser
les lignes inactives toutes les 100 millisecondes ; seules
les lignes en état de numérotation seraient observées
toutes les cinq millisecondes. Le même scanner serait
adressé à des vitesses différentes pour
réaliser les deux fonctions.
On pensait que la vitesse des opérations du système
serait si rapide que les signaux de tonalité ne seraient
plus nécessaires pour indiquer au client d'origine quand
commencer à composer. Dans les systèmes antérieurs,
le client serait connecté via le réseau à
un récepteur numérique avec un générateur
de tonalité de numérotation attaché. Le
balayage au niveau de la ligne et l'élimination de la
tonalité de numérotation ont évité
le besoin de "l'appel de tonalité de numérotation".
Cependant, on s'est rendu compte par la suite que la tonalité
fournit des informations très utiles au client : la ligne
fonctionne correctement, un autre correspondant ou un téléphone
supplémentaire n'utilise pas déjà la ligne,
et ainsi de suite. Par conséquent, l'idée d'éliminer
la tonalité a été abandonnée.
Le prospectus de 1954 estimait le contrôle Morris à
100 bascules et 2000 portes logiques à semi-conducteurs.
Le prospectus notait également un certain nombre de services
à la clientèle et de fonctionnalités d'exploitation
qui pourraient être ajoutés ultérieurement
en apportant de légères modifications à
la logique de contrôle. Il a été reconnu
qu'une bonne partie de la complexité de la commande avait
été transformée en mots de données
stockés dans les mémoires CRT en bloc, et des
modifications du contenu de la mémoire seraient beaucoup
plus faciles à effectuer que le recâblage de circuits
individuels. (Voir Fig. 9-8 pour une conception de 1954 du central
électronique.) Le système comprendrait en grande
partie des unités enfichables et des séquences
de test exerceraient la logique de commande et les sous-systèmes
de connexion pour localiser les problèmes. Les lampes
s'allumeraient automatiquement pour indiquer l'emplacement du
défaut du circuit. Des sous-systèmes en double
fourniraient une capacité de veille jusqu'à ce
que les unités enfichables défectueuses puissent
être remplacées.
En juillet 1954, Bell Laboratories est autorisé à
développer un central électronique, objectif majeur
des études de systèmes. Entre-temps, d'autres
études de systèmes et développements exploratoires
se sont poursuivis à mesure que le système de
commutation à transistor évoluait vers le système
Morris.
4.3 Développement exploratoire
Au début des années 1950, un certain nombre
d'ingénieurs de développement et de recherche
des laboratoires Bell appliquaient l'électronique à
la modernisation des systèmes de commutation électromécaniques
ou des parties fonctionnelles des systèmes.
Cela comprenait des travaux sur la logique et les mémoires
du noyau magnétique, les tubes à rayons cathodiques,
les tambours magnétiques, les tubes à gaz à
cathode froide, les transistors et les diodes. Ceux-ci étaient
assemblés en systèmes fonctionnels qui étaient
testés en laboratoire ou soumis à des essais sur
le terrain. Quatre de ces projets sont décrits ci-dessous.
4.3.1 Un concentrateur de lignes à distance expérimental
Il semblerait économique de concentrer le trafic téléphonique
à proximité d'un groupe de clients et de réduire
ainsi le nombre de paires de fils de cuivre qui doivent être
amenées à un centre de câblage pour l'interconnexion.

Fig. 9-8. Vue du bureau central électronique de Morris
en 1954. Le système de contrôle était alors
estimé à 100 bascules et 2000 portes logiques
à semi-conducteur.
Les débuts de l'économie de la commutation électronique
impliquent un compromis sur le coût de la localisation
à distance du commutateur, y son alimentation distribuée
et sa maintenance, par rapport aux économies réalisées
dans l'usine de boucle. Si, par exemple, un concentrateur pouvait
être utilisé pour éviter l'ajout de nouveaux
conduits souterrains, alors une économie substantielle
de matériaux et de coûts pourrait être réalisée.
En 1953, sous la supervision d'AE Joel, Jr., le développement
exploratoire d'un concentrateur à distance a commencé
en utilisant une variété de composants et de techniques
électroniques. Les objectifs de conception comprenaient
: la gestion avec les téléphones à cadran
standard existants ; la possibilité de travailler avec
des lignes à un ou deux participants, mais pas avec des
lignes à pièces ou PBX ; un minimum d'équipements
de central téléphonique associés par ligne ;
et une conception pour fonctionner avec le crossbar n °
5, car le n ° 5 était le système de commutation
local le plus récent à l'époque. De plus,
la maintenance de l'équipement devait être simplifiée
en créant une conception modulaire avec des unités
enfichables dans l'équipement à distance - une
première pour l'équipement de commutation téléphonique
de Bell Tele. D'autres "premières" comprenaient
l'utilisation d'impulsions à grande vitesse (500 bits
par seconde) entre les unités centrales et distantes,
et une bande magnétique dédiée dans le
central pour enregistrer l'utilisation et les mesures de retard
d'appel pour plusieurs concentrateurs. L'utilisation d'un scanner
de ligne à grande vitesse a non seulement permis d'économiser
deux relais par ligne, mais a également aidé à
générer les données pour les mesures de
la bande magnétique. Les parties par ligne du scanner
et du concentrateur de relais Reed à tube de gaz pour
une seule ligne ont été assemblées dans
une unité enfichable qui a été encapsulée
pour protéger contre l'humidité. Comme le montre
la Fig. 9-9, il a été conçu pour un fonctionnement
enfichable .

Fig. 9-9. Conception enfichable de points de croisement pour
concentrateur de ligne expérimental

Fig. 9-10 montre un concentrateur desservant 60 lignes sur dix
troncs.
Cette unité, dont le développement a commencé
en 1953, utilisait le courant alternatif du bureau central pour
piloter des redresseurs fournissant de l'énergie au pôle.
L'unité montée sur poteau utilise deux troncs
supplémentaires comme liaisons de données entre
les circuits de contrôle dans le concentrateur et le bureau
central.
Le concentrateur a agi comme une autre étape de commutation,
mais il a essentiellement remplacé la "construction"
de la première étape de la trame de liaison de
ligne dans le bureau crossbar de desserte n ° 5 ".
En conséquence, l'unité de contrôle centrale,
qui pouvait gérer un certain nombre de des concentrateurs
de ligne distants, actionnaient deux étages de commutateurs,
ce qui "trompait" le marqueur, qui avait envoyé
une commande pour n'actionner qu'un seul étage de la
trame de liaison de ligne.
La figure 9-11 montre comment la commande est interposée
pour exécuter la méthode de fonctionnement "tromper
le marqueur". Cela a minimisé les changements de
câblage dans le bureau crossbar n ° 5 "lorsque
les concentrateurs de ligne à distance devaient être
ajoutés ou déplacés
Trois concentrateurs ont été construits et des
essais sur le terrain ont été menés à
LaGrange, Illinois, Englewood, New Jersey et Freeport, Long
Island. Bien que ces essais aient été couronnés
de succès sur le plan opérationnel, du matériel
supplémentaire aurait été nécessaire
pour assurer la maintenabilité d'un modèle de
production. Les estimations de coûts ultérieures
ont indiqué un marché insuffisant pour justifier
le développement de la conception pour la fabrication
à ce moment-là. Les avantages inhérents
de vitesse et de fiabilité offerts par les semi-conducteurs
n'avaient pas encore gagné la journée.

Fig. 9-11. Modification de la barre transversale
n ° 5 pour accueillir des concentrateurs de ligne à
distance.
4.3.2 Le concentrateur de ligne distribuée
Sur la base des expériences avec le concentrateur expérimental
de Joel, les ingénieurs des systèmes de commutation,
dirigés par C. E. Brooks, ont étudié une
approche alternative appelée le concentrateur de ligne
distribuée. Cette approche était basée
sur plusieurs principes importants qui visaient à «
transformer le corner'' mais qui s'appuyait sur des technologies
similaires.
Avec le concentrateur de ligne distribué, la plus grande
partie de la complexité du contrôle et de la maintenance
connexe devait être conservée dans le bureau central.
L'équipement distribué par ligne a été
conçu pour avoir un minimum de contrôle autonome;
par exemple, aucun balayage répétitif n'était
fourni dans le cadre de l'équipement à distance.
De plus, l'équipement par ligne devait être distribué
dans de très petites unités qui auraient été
connectées aux points où les paires de câbles
étaient épissurées aux branchements de
ligne individuels.
La Fig. 9-12 montre la disposition décrite.
Fig. 9-12. Concept de concentrateur distribué :
l'équipement par ligne (à gauche) se trouverait
aux intersections des câbles et des connexions en boucle
vers les téléphones des clients. L'équipement
de contrôle (au centre) serait logé sur le site
du bureau crossbar (à droite). (AlEE Transactions on
Communications and Electronics, Vol. 82, juillet 1963.)
Le système distribué reposait également
sur le fait que la plupart des longueurs de boucles téléphoniques
se retrouvaient par paires dans un câble multipaire. Chaque
unité par ligne partagerait un certain nombre de paires
dans le câble, concentrant ainsi le trafic sur un plus
petit nombre de paires dans ce câble. Des paires supplémentaires
dans le câble auraient servi de conducteurs de signal
(ou de groupe de numéros) pour communiquer entre la commande
du central téléphonique et les téléphones
individuels des clients. En câblant chaque unité
de ligne client à des combinaisons uniques de trois fils
de groupe de numéros sur huit, un accès individuel
à jusqu'à 56 lignes était possible avec
le câble à 15 paires.
L'unité de contrôle du bureau central était
destinée à "tromper le marqueur", comme
dans la conception du concentrateur antérieur, mais le
concept distribué prévoyait également des
connexions d'appel intraconcentrateur à l'aide d'unités
de ligne client spéciales. Cette technique a supprimé
la charge de trafic inutile du central téléphonique
et réduit le blocage sur les lignes réseau du
concentrateur. Avec des niveaux raisonnables de communauté
d'intérêts dans les schémas d'appel au sein
du groupe concentrateur, des augmentations significatives de
la concentration effective étaient possibles
Les points de croisement du concentrateur répartis dans
chaque unité de ligne client devaient être du type
relais reed à tubes à gaz combinés similaires
à ceux décrits précédemment. Un
deuxième type d'unité de ligne client a également
été proposé dans lequel le point de croisement
Reed était verrouillé magnétiquement au
lieu de nécessiter un courant de maintien. D'autres tubes
à gaz, des diodes logiques semi-conductrices et des relais
constituaient le reste des composants des unités de ligne
client. Une conception sur papier de deux configurations du
concentrateur a été décrite en juillet
1963 et des modèles d'essai ont été utilisés
dans plusieurs bureaux centraux crossbar n ° 1, mais comme
son prédécesseur, le concentrateur de ligne distribuée
n'a pas été jugé pratique pour la production
commerciale. Un concentrateur électromécanique
utilisant des commutateurs crossbar à verrouillage magnétique
spécialement conçus a été introduit
en 1961, et plus de 4 000 de ces systèmes ont été
installés (voir chapitre 11, section 2.10). La concentration
électronique n'a fait ses preuves qu'à la fin
des années 1970.
4.3.3 Traducteur à tambour magnétique
À partir du début des années 1950, des
mémoires à tambour magnétique de grande
capacité ont été essayées dans les
applications de l'électronique à diverses fonctions
de commutation. La première d'entre elles était
la fonction de traduction d'itinéraire pour le système
de commutation à péage crossbar 4A. Le traducteur
de carte 4A utilisant des phototransistors à point de
contact a été conçu à l'origine
pour cette tâche, comme décrit au chapitre 8, section
1.2
Les tambours magnétiques offraient une vitesse et une
capacité de mémoire adaptées à la
tâche et, comme nous l'expliquerons, auraient réduit
la quantité d'équipement nécessaire et
simplifié l'administration des dossiers de traduction
du traducteur de cartes. Un modèle de travail du traducteur
à tambour magnétique a été construit
et a fonctionné avec un bureau crossbar squeletté
n ° 4A pendant plus d'un an. Il utilisait une variété
de composants électroniques, y compris des tubes à
vide. tubes à gaz à cathode froide et transistors
et diodes à contact ponctuel.
La figure 9-13 est un schéma fonctionnel du traducteur
à tambour magnétique. Il est associé à
un décodeur relais, autre élément fonctionnel
du système crossbar 4A. Le décodeur a transmis
des demandes de traduction d'acheminement d'appel du marqueur
au traducteur sous la forme de trois à huit chiffres
décimaux codés dans un code redondant deux sur
cinq. Le décodeur a accepté les informations d'itinéraire
codées du traducteur en retour.

Fig. 9-13. Conception d'un traducteur de tambour magnétique
expérimental, destiné à être utilisé
avec le crossbar n ° 4.
Comme indiqué, le traducteur à tambour magnétique
a été conçu pour fonctionner de la même
manière que le traducteur à carte 4A; ainsi, le
traducteur de batterie pourrait être ajouté à
un système 4A fonctionnel sans changement. Un bureau
de péage 4A peut être équipé jusqu'à
18 décodeurs et traducteurs de cartes 4A associés.
Étant donné que le tambour magnétique lit
toutes ses données de traduction en série à
chaque révolution de 35 millisecondes, un seul ensemble
de mémoire à tambour aurait pu être multiplié
en un certain nombre d'unités de livraison et de sélection
pour desservir les 18 décodeurs. Un deuxième tambour
aurait servi de rechange pour l'entretien et l'administration.
Le tambour magnétique serait mis à jour via un
cadre administratif, qui pourrait être connecté
aux têtes de lecture/écriture du tambour. Ainsi,
une ou deux opérations de mise à jour permettraient
de mettre à jour de manière fiable l'ensemble
de l'outil de traduction
Le traducteur à tambour magnétique a été
poussé au point de démontrer que le tambour conserverait
les informations de traduction sur de longues périodes
de temps sans détérioration. La conception n'était
pas une conception de production de début de commutation
électronique, et elle n'a pas été poussée
plus loin dans la mesure où le choix du traducteur de
carte pour le développement de la barre transversale
n ° 4A avait déjà été fait.
Le traducteur de tambour magnétique a de nouveau été
revu au début des années 1960 pour une application
aux systèmes de barres transversales de péage
4A et 4M, mais a de nouveau été abandonné
au profit d'une approche de contrôle de programme stocké
plus puissante.
4.3.4 Émetteur auxiliaire à tambour magnétique
Le début de la numérotation directe à distance
(DOD) en 1951 exigeait que les systèmes de commutation
acceptent, traitent et transmettent aux bureaux centraux de
connexion plus de chiffres (généralement 10 au
lieu de 7) du client. Cela signifiait que les systèmes
de commutation locaux comprenant "pas à pas",
panel et crossbar devaient enregistrer plus de chiffres et "envoyer"
ou transmettre plus d'informations à d'autres nuds
du réseau DOD.
Ainsi, la capacité d'un nombre substantiel de registres
et d'expéditeurs devait être augmentée dans
chaque bureau central pour que ce bureau fasse partie du réseau
ODD. L'émetteur à tambour magnétique a
été proposé comme moyen électronique
pour répondre à ce besoin.
La figure 9-14 montre un schéma de principe de l'émetteur
auxiliaire à tambour magnétique tel qu'arrangé
pour un modèle de laboratoire d'un bureau à barre
transversale n° 1. Le scanner utilisait une logique à
diodes pour scanner séquentiellement 156 expéditeurs
toutes les dix millisecondes pour les impulsions de numérotation.
Le scanner était synchronisé avec les circuits
de lecture/écriture du tambour magnétique et donc
avec les emplacements de mémoire correspondants sur le
tambour. En comparant le résultat du balayage avec le
contenu de la mémoire du tambour, le contrôle de
l'espace de l'expéditeur déterminerait le nombre
d'impulsions dans le chiffre, les temps internumériques
et l'achèvement des chiffres reçus. Lorsque tous
les chiffres avaient été reçus, le contrôle
spatial de l'expéditeur attribuerait alors l'un des six
émetteurs à l'expéditeur et convertirait
la lecture des chiffres en séquence pour sélectionner
le train approprié de deux tonalités multifréquences
sur cinq à transmettre à le bureau lointain.
L'appareil comprenait un tambour étroit tournant à
1500 tours par minute.
La figure 9-15 est une photographie du tambour et la figure
9-16 est une illustration de la disposition du tambour. Cette
dernière figure montre la mémoire d'un "espace
émetteur" - occupant environ un quart de pouce carré
de la surface d'enregistrement du tambour, mais fournissant
l'équivalent de plus de 50 relais de registres à
chiffres conventionnels.

Fig. 9-14. Émetteur auxiliaire à tambour magnétique
(tambour en bas à droite dans le diagramme), une tentative
d'appliquer l'électronique aux problèmes d'expansion
de la numérotation directe à distance. (AlEE Transactions
on Communications and Electronics, Vol. 77, mars 1958.) Les
débuts de la commutation électronique.

Fig. 9-15. Unité à tambour magnétique de
l'expéditeur auxiliaire, vers 1953 (AlEE Transactions
on Communications and Electronics, Vol. 77, mars 1958.)

Fig. 9-16. Répartition de l'espace sur le tambour. L'espace
émetteur tel qu'indiqué équivalait à
plus de 50 relais. (AlEE Transactions on Com munications and
Electronics, Vol. 77, March 1958.)
La simplicité relative de la logique du système
est due à la possibilité de réécrire
dans une fente de tambour plusieurs microsecondes après
que la lecture de cette même fente a été
obtenue. Un chiffre partiel peut être lu à partir
du tambour et mis à jour lorsqu'il est indiqué
par un résultat de numérisation et la nouvelle
valeur du chiffre réécrite, le tout dans les 17
microsecondes
Bien que l'émetteur auxiliaire du tambour magnétique
utilisait largement la logique des transistors et des diodes,
il nécessitait toujours des circuits de lecture / écriture
à tube à vide pour le tambour lui-même.
Ses ingénieurs avaient prévu la conception pour
la production, mais l'économie n'était pas prometteuse
et les plans de développement spécifiques ont
été abandonnés au début de 1954
en faveur d'une conception électromécanique (voir
chapitre 8, section III)
Les travaux de W. Ulrich et B. J. Yokelson sur la conception
de la logique à diodes et des scanners à diodes,
qui ont été utilisés dans l'étape
suivante de l'application de l'électronique aux systèmes
de commutation du central, ont été inclus dans
l'effort sur l'expéditeur auxiliaire à tambour
magnétique.
Conclusion
Des études sur les systèmes avaient suggéré
que l'électronique à grande vitesse devrait fournir
des systèmes de commutation centralisés plus petits
et moins coûteux. Des remplacements électroniques
pour plusieurs éléments fonctionnels de systèmes
de commutation électromécaniques ont été
conçus, construits et testés en laboratoire ou
lors d'essais sur le terrain, mais n'étaient pas rentables.
Les questions concernant la fiabilité et la maintenabilité
n'avaient pas reçu de réponse complète.
Les composants électroniques à cathode chaude
et à vide poussé n'avaient des durées de
vie utiles que de quelques années, même lorsqu'ils
fonctionnaient de manière conservatrice. Les roulements
des mémoires à tambour magnétique n'avaient
des durées de vie que de quelques années
Au début des années 1950, le transistor à
jonction a commencé à être fabriqué
et des techniques ont été développées
pour la croissance de monocristaux, pour l'affinage de zone
et pour l'implantation d'ions. Ces facteurs ont conduit à
des éléments électroniques qui, comparés
aux tubes à vide, étaient moins chers, plus petits
et plus fiables, et consommaient beaucoup moins d'énergie.
Les tubes à rayons cathodiques pour stocker des informations,
qui autrement auraient nécessité des dizaines
de milliers de fils ou de relais, ont également fourni
une technologie puissante pour envisager l'étape suivante
: la construction d'un système de commutation complet
principalement à partir de composants électroniques.
Les travaux théoriques sur l'analyse et la synthèse
des circuits combinatoires et séquentiels, et le développement
de schémas de détection et de correction d'erreurs
plus puissants, ont permis aux concepteurs de circuits de commutation
électroniques d'économiser leurs conceptions et
de rendre les circuits plus fiables et maintenables. Les modèles
de laboratoire et les systèmes d'essais sur le terrain
ont fourni un arrière-plan d'expérience avec certains
des dispositifs antérieurs à partir desquels les
performances des nouvelles technologies pouvaient être
projetées au début de la commutation électronique.
4.4 Vers un centre électronique
Office-Pre-Morris
Bien que l'application de l'électronique n'ait pas encore
atteint le stade de la production, les conceptions se rapprochaient
du point de faire leurs preuves, et les travaux ont été
autorisés en juillet 1953 pour construire des modèles
de laboratoire de parties d'un bureau central électronique
et éventuellement pour assembler les pièces dans
un bureau central squeletté dans le laboratoire. Le travail
a été initié par AT&T parce que le
système proposé impliquait beaucoup de choses
radicalement nouvelles, à la fois dans les circuits et
les éléments de l'appareil.
Les possibilités pour le central électronique
par rapport aux systèmes de commutation existants se
sont avérées être un coût initial
nettement inférieur, des économies d'espace importantes,
moins d'entretien et une plus grande flexibilité pour
répondre aux exigences changeantes du service.
Le développement d'un système spécifique
par les Bell Labs a été autorisé par Western
Electric un an plus tard pour développer un système
d'essai sur le terrain à partir duquel un premier système
de production pourrait être atteint. Initialement, le
département d'A.E. Joel dans le laboratoire de C.A. Lovell
a été affecté à cette tâche,
et les travaux ont commencé à l'emplacement de
West Street, à New York. Le laboratoire de Lovell a déménagé
au laboratoire de Whippany, New Jersey à l'automne 1954.
En mai 1955, les travaux avaient progressé jusqu'au stade
de la "breadboard" «planche à pain»,
et l'effort s'était étendu à la construction
d'un modèle d'essai sur le terrain utilisant la technologie
du modèle de laboratoire.
L'appareillage du système de laboratoire comprenait des
transistors à jonction en alliage de germanium (types
complémentaires npn et pnp) et des diodes de contact
ponctuel au germanium. Bien que ces dispositifs n'aient pas
été utilisés dans la version de production
d'un système de commutation électronique (ESS),
la discipline consistant à limiter la variété
des transistors et des diodes pour les économies de fabrication
a été suivie.
La Fig. 9-17 montre des cartes de circuits imprimés enfichables
typiques et les connecteurs correspondants auxquels des connexions
enroulées seraient réalisées pour construire
des unités fonctionnelles à partir de ces blocs
de construction. Sur ces packs étaient placés
les portes ET et OU à diodes, les amplificateurs inverseurs
et non inverseurs à transistors et les bascules. Ces
blocs de construction ont été interconnectés
pour construire les fonctions logiques nécessaires dans
les différents types d'équipements. La figure
9-18 montre une matrice typique montée en rack des packages
logiques.

Fig. 9-17. Circuits et connecteurs enfichables utilisés
dans le système de commutation électronique du
modèle de laboratoire du milieu des années 1950.
Les cartes de circuits logiques mesurent 11 pouces de large
sur 7 à 9 pouces de long et se connectent à des
connecteurs à enroulement de fil à 12 bornes.
Fig. 9-18. Ensemble de packages logiques monté en rack.
Les autres composants du système comprenaient
le magasin de grille de barrière décrit précédemment
et le magasin photographique ou de point de vol suggéré
par C. E. Brooks et d'autres (voir ci-dessus, sections 4.1.2
et 4.1.3).
En juin 1954, un changement radical dans l'utilisation du magasin
"flying-spot" est suggéré dans une note
interne rédigée par W. Keister.
Les circuits de commande à diodes et transistors en cours
de conception étaient des circuits séquentiels
complexes. Keister savait que le comportement complet des circuits
pouvait être représenté par une table de
nombres dont les entrées seraient des nombres binaires
représentant les sorties du circuit de contrôle
et son prochain état interne. En mettant en mémoire
la description totale des circuits de commande, la complexité
des circuits de commande apparaîtrait dans le tableau
plutôt que dans les circuits logiques à diodes
et transistors. Keister a noté: "L'ingénierie
détaillée d'un grand nombre de circuits logiques
serait éliminée. Pour changer une séquence
d'actions, ajouter de nouvelles fonctions ou modifier les anciennes,
il suffirait de changer le programme dans la mémoire
permanente. ''
En juin 1955, W. A. Budlong et A. H. Doblmaier concevaient les
circuits de commande séquentielle du central électronique.
Ils constataient que la taille et la complexité des circuits
mettaient à rude épreuve les limites des règles
de conception des circuits logiques à transistors et
à diodes semi-conductrices. De plus, des changements
relativement mineurs dans les exigences ont souvent entraîné
des changements importants dans la conception du circuit, ce
qui n'augurait rien de bon pour l'ajout ultérieur de
nouvelles fonctionnalités pour répondre aux besoins
changeants des clients ou des sociétés d'exploitation.
À cette époque, Budlong avait lu un article dans
le journal de l'Institute of Radio Engineers décrivant
un ordinateur numérique et avait été frappé
par la similitude de ce que l'ordinateur pouvait faire et des
actions requises des circuits de contrôle. Il a commencé
à concevoir des instructions adaptées à
la tâche de traitement des appels téléphoniques
et d'écriture d'exemples de programmes. Cette approche
a été surnommée Stored Logic in Memory
(SLIM) par A. E. Joel, Jr. et a souligné les économies
de circuit à réaliser avec cette technique de
mise en uvre d'un contrôle commun.
L'idée a commencé à prendre de l'ampleur;
cependant, la nouvelle technique nécessitait beaucoup
plus de stockage dans le magasin du "flying-spot"
et la vitesse de fonctionnement devait être sensiblement
augmentée. R. W. Ketchledge et R. E. Staehler
ont pris connaissance de cette proposition et ont commencé
à travailler sur des idées pour améliorer
les performances du système de mémoire. Cela a
abouti à plusieurs inventions de ces ingénieurs
qui ont utilisé des techniques d'asservissement pour
améliorer suffisamment les performances du magasin de
"flying-spot". En septembre 1955, Lovell et Ketchledge
décidèrent de passer au contrôle des programmes
enregistrés et la révolution dans la conception
des systèmes de commutation téléphonique
était en cours. La première réautorisation
du financement de Western Electric au début de 1956 a
noté ce changement d'événements
Le modèle de laboratoire a été assemblé
et les premiers programmes de commutation téléphonique
ont été écrits pour ce modèle.
La figure 9-19 est une vue du modèle de laboratoire construit
au laboratoire de Whippany, New Jersey. À ce moment-là,
Morris, dans l'Illinois, avait été sélectionné
pour le site d'essai sur le terrain, et le système modèle
est devenu connu sous le nom de «pré-Morris».
Le premier appel téléphonique a été
passé par ce système en mars 1958.
Pour les raisons données précédemment,
les systèmes pré-Morris et plus tard Morris utilisaient
le réseau de tubes à gaz. Cela nécessitait
le nouveau téléphone à faible puissance
utilisant une sonnerie électronique, qui a été
testé sur le terrain à Crystal Lake, dans l'Illinois,
avant son utilisation dans l'essai Morris.
Fig. 9-19. Le système de commutation électronique
de modèle de laboratoire "pré-Morris"
à programme enregistré. Le premier appel téléphonique
via ce système a été passé en mars
1958.
4.5 PBX électronique
En 1955, plusieurs propositions ont été faites
pour fournir un PBX d'autocommutateur privé moderne dans
les plus petites tailles de lignes - certaines pour desservir
aussi peu que 20 à 50 lignes.
Une proposition utilisait des relais et des commutateurs crossbar,
mais ajoutait des transistors, des diodes semi-conductrices
et des noyaux magnétiques pour exploiter leur plus petite
taille et leur vitesse beaucoup plus rapide dans un système
autonome.
Une deuxième proposition consistait à adopter
le concentrateur à relais à diodes à gaz
précédemment décrit comme interrupteur
des locaux du client ; le bureau central contiendrait une
ou plusieurs unités de commande qui seraient partagées
par un certain nombre d'unités de commutation basées
sur le client. Le contrôle communiquerait avec les commutateurs
via une liaison de données, et les liaisons PBX du commutateur
se termineraient au bureau central contenant l'unité
de contrôle. Sur la base de ces idées, le développement
fondamental a été financé en mars 1956
et s'est poursuivi jusqu'en 1958.
Une troisième proposition pour le réseau du nouveau
PBX appelait à placer des échantillons vocaux
contrôlés électroniquement sur un «
bus parlant ». Deux télé-téléphones
pourraient être connectés en faisant en sorte que
leurs signaux électriques soient échantillonnés
en même temps. D'autres conversations pourraient être
entrelacées de la même manière.
L'approche du commutateur par répartition dans le temps
a même été préférée
aux propositions par répartition dans l'espace dans la
mesure où les éléments de commutation du
réseau augmenteraient en fonction du nombre de lignes
desservies, au lieu du carré de ce nombre.
La Fig. 9-20 montre la configuration de base des circuits de
commutation et de commande pour le PBX électronique (EPBX).
Fig. 9-20. Schéma fonctionnel du PBX électronique,
qui utilisait un réseau de commutation par répartition
dans le temps et une configuration à deux bus. Les circuits
de contrôle dans le bureau central ont accédé
à jusqu'à 32 commutateurs à divers emplacements
de clients.
Deux bus parlants sont représentés dans le schéma
fonctionnel pour fournir une capacité supérieure
à celle disponible avec un système à bus
unique. Interconnecter la ligne A à la ligne B nécessite
l'utilisation de la connexion interbus via les portes 4 et 5.
L'effort de développement fondamental s'est concentré
sur la conception des éléments de l'interrupteur
temporel, les systèmes de mémoire appropriés
pour les mémoires électroniques de l'interrupteur,
ainsi que les exigences et la logique de l'unité de commande.
Les modèles de planche à pain et de brassboard
de laboratoire ont démontré la faisabilité
technique et, en septembre 1958, le développement spécifique
de la production d'EPBX a été autorisé
par Western Electric. Comme dans le projet Morris, la conception
de l'unité de contrôle de l'EPBX est passée
d'une logique câblée à une logique stockée
avant son essai sur le terrain
4.6 L'essai sur le terrain de Morris
Avec la conception et la construction réussies du système
de laboratoire pré-Morris, le développement du
système Morris s'est poursuivi, en appliquant des dispositifs
et appareils identiques ou très similaires.
Un réseau de tubes à gaz marqués d'extrémité
a fourni les fonctions de concentration et de distribution,
et un scanner de ligne a détecté l'état
décroché/raccroché ainsi que les signaux
d'impulsion de numérotation et les signaux de flash de
commutateur.
La logique à diodes et transistors au germanium constituait
les blocs de construction logiques pour la commande centrale
et les autres unités fonctionnelles, et la mémoire
à grille de barrière et la mémoire à
points volants fournissaient le bloc-notes et les mémoires
de programme. · L'organisation du système est
illustrée à la Fig. 9-21.
Fig. 9-21. Organisation du système Morris,
Illinois. La plupart des dispositifs et appareils étaient
similaires à ceux utilisés pour le système
pré-Morris.
Le marqueur a exécuté l'ordre du réseau
transmis par la commande centrale et a fourni un tampon entre
la vitesse de fonctionnement de 3 microsecondes de la commande
centrale et les millisecondes nécessaires au marqueur
pour trouver et marquer une connexion dans le réseau
de tubes à gaz. Le distributeur de signaux servait d'autre
dispositif de mise en mémoire tampon qui acceptait les
informations d'adresse codées à des vitesses de
la microseconde et sélectionnait les relais à
actionner et à libérer. La plupart des relais
étaient associés aux divers circuits interurbains
L'élément de croisement du réseau de commutation,
le tube à gaz à cathode froide, est illustré
à la Fig. 9-22.

Fig. 9-22. Point de croisement du tube à gaz (en haut)
et module de réseau enfichable (en bas) pour le système
Morris. En plus de sa fonction de commutation, l'appareil amplifie
les signaux vocaux
C'est un tube au néon qui nécessite l'application
de 200 volts pour provoquer l'ionisation et la conduction
Lorsque le tube conduit, sa tension chute à 110 volts
et 10 milliampères de courant circulent. Dans cet état,
l'appareil possède une résistance alternative
négative qui amplifie les petits signaux (courants de
conversation) transmis à travers lui. Ce gain compense
les pertes dans les transformateurs et autres circuits du réseau.
Un chemin unique à travers le réseau Morris est
illustré à la Fig. 9-23.

Fig. 9-23. Chemin à travers le réseau de commutation
de tubes à gaz du système Morris
Comme indiqué sur la Fig. 9-24, le marqueur de réseau
(seule la partie de distribution est représentée
par souci de simplicité) a reçu les adresses de
borne de la connexion souhaitée et a utilisé cette
information pour appliquer des tensions de marquage à
chaque extrémité du réseau. Les signaux
de tension propagés vers l'étage central ou joncteur
du réseau.
Les signaux ne traversaient pas les points de croisement occupés
et étaient donc «exclus» d'éventuelles
doubles connexions. Le signal de marquage s'est propagé
à travers des points de croisement inactifs, et le signal
de marquage de chaque extrémité du réseau
s'est propagé à un certain nombre de terminaux
de chaque côté de l'étage de jonction au
milieu du réseau. L'étage joncteur comprenait
un ensemble de circuits joncteurs qui étaient séquentiellement
interrogés ou permettaient de trouver un circuit joncteur
qui avait le signal de marquage présent aux deux bornes.
Lorsque cette condition était obtenue, une tétrode
à tube à gaz spéciale s'ionisait et les
diodes à gaz sélectionnées s'allumaient
et restaient allumées après que les tensions de
marquage et de validation du joncteur aient été
supprimées. Les chemins non sélectionnés
se sont désionisés et seule la connexion souhaitée
est restée. Les nombreuses connexions possibles qui ont
été testées séquentiellement avec
les circuits de jonction ont fourni au réseau sa redondance
pour fonctionner avec des éléments de réseau
occasionnellement défaillants et pour répondre
aux faibles exigences de blocage pour son trafic technique.
Une fois un chemin établi, la "mémoire"
de la connexion était l'état conducteur des diodes
à gaz. Pour libérer la connexion, une tension
de marquage négative était appliquée au
terminal du client dont le signal de raccrochage avait été
détecté en premier
Ce signal s'est propagé à travers les diodes à
gaz et le circuit de jonction et a libéré la connexion.
L'opération de déblocage a généré
une impulsion sur la borne du raccordement du second client.
Cette impulsion a été détectée et
traduite (dans un circuit d'identification non représenté
sur la Fig. 9-24) en l'adresse du terminal. Cette information
a ensuite été lue par le contrôle central
afin qu'il puisse mettre à jour sa mémoire occupé-inactif
pour refléter la déconnexion du deuxième
client.

Fig. 9-24. Connexion parlante du système Morris montrant
les tensions de marquage qui ont provoqué la propagation
des signaux de commande de connexion à l'étage
de jonction du réseau.
La figure 9-25 montre les réseaux de concentration et
de distribution à Morris.
Des lampes fluorescentes à l'intérieur des armoires
excitaient un matériau photoélectrique déposé
à l'intérieur de chaque diode. Cela a servi à
fournir un nombre suffisant d'électrons libres dans le
gaz pour assurer une ionisation rapide du gaz en réponse
aux signaux de tension de marquage. Le signal de sonnerie était
une tension de fréquence audio de bas niveau qui pouvait
être transmise à travers les tubes de gaz et la
ligne. transformateurs. (Les signaux de sonnerie normaux de
90 volts étaient trop importants pour traverser le réseau
de diodes à commutation électronique.)
Fig. 9-25
Fig. 9-26
Fig. 9-25. Réseaux de concentration et de distribution
du système Morris. Les lampes fluorescentes excitaient
suffisamment d'électrons libres pour que les tubes à
gaz fonctionnent. D. T. Osmonson vérifiant le fonctionnement
d'un module de tubes à gaz dans le réseau.
Fig. 9-26. Poste téléphonique utilisé dans
le procès Morris. Le circuit à transistor fournissait
une amplification à la fois pour la tonalité de
sonnerie et pour la parole. les cloches sont connues sous le
nom de "sonnerie de tonalité".
Le téléphone illustré à la Fig.
9-26 utilisait deux transistors dans un amplificateur accordé
pour détecter une fréquence de sonnerie particulière
et amplifier le signal. pour conduire le klaxon miniature montré
sur la photo. Ce substitut électronique à l'électromécanique.
L'amplificateur accordé a détecté différentes
fréquences pour différents téléphones
de ligne de groupe et a ainsi fourni une sonnerie entièrement
sélective pour jusqu'à huit parties. Lorsque le
récepteur a été retiré, les contacts
de l'interrupteur ont reconfiguré les transistors en
un amplificateur de parole. Cela réduisait la puissance
de ligne requise et le courant réduit permettait l'utilisation
d'un transformateur de ligne plus petit connectant la boucle
du client au réseau de commutation.
Le magasin "flying spot" de Morris était nettement
plus grand et plus rapide que le modèle de laboratoire.
Le passage de la logique câblée au contrôle
par programme enregistré a entraîné la conception
de circuits d'entraînement et de rétroaction plus
sophistiqués pour réduire le temps d'accès
et augmenter le nombre de canaux de données.
La figure 9-27 montre le réseau multiple
d'objectifs, de plaques photographiques et de photomultiplicateurs
de détection qui, avec le tube à rayons cathodiques,
ont fourni une mémoire de 2,2 millions de bits. Pour
obtenir la haute précision et la rapidité des
opérations requises du magasin de points volants, un
certain nombre de canaux ont accédé à des
plaques photographiques, qui étaient des plaques de code
donnant une réponse unique pour chacune des 256 valeurs
de déviation verticale et horizontale du faisceau.

Fig. 9-27. Morris flying-spot store, qui fournissait une mémoire
de 2,2 millions de bits. (Actes, Assemblée générale
d'automne, IEEE, octobre 1960.) Les débuts de la commutation
électronique.
Comme le montre la Fig. 9-28, cette information a fourni le
signal d'erreur pour un système de déviation de
rétroaction, qui a atteint une précision de déviation
de faisceau autrement impossible à atteindre. En combinant
l'entraînement direct et à rétroaction,
la vitesse de fonctionnement de la mémoire a été
augmentée de sorte que des mots d'instruction successifs
de 25 bits puissent être lus par la commande centrale
toutes les 2,5 microsecondes. Pour fonctionner avec des imperfections
occasionnelles dans les plaques photographiques (la densité
d'information était d'environ 42 000 bits par pouce carré
dans un réseau de 256 par 256 de points opaques et clairs),
chaque mot d'instruction comprenait un Hamming de 5 bits.
Figure 9-28. Systèmes de rétroaction de déviation
horizontale et verticale utilisés pour augmenter la précision
du faisceau à des niveaux auparavant inaccessibles. (Proceedings,
General Fall Meeting, IEEE, octobre 1960.) code et un bit de
parité pour corriger les erreurs sur un seul bit et détecter
les doubles erreurs.
Le programme Morris nécessitait 50 000
instructions, dont un tiers contenait les fonctions d'exploitation
du téléphone et les deux tiers restants étaient
utilisés pour la maintenance et l'administration. Cela
équivalait à 1,2 million de bits de mémoire
à accès aléatoire à grande vitesse
pour le programme seul. La mémoire de traduction était
également stockée dans cette mémoire. Comme
on peut le voir sur la figure 9-29, qui représente l'état
de l'art à la fin de 1956, la mémoire de point
de vol répondait le mieux aux besoins de grands programmes
stockés semi-permanents. 
Fig. 9-29. En 1956, un magasin de photographie a fourni une
mémoire morte électronique facilement modifiable
avec la meilleure combinaison de capacité et de vitesse.
L'essai sur le terrain de Morris a commencé
avec un service à temps partiel le 1er juin 1960 et a
été développé jusqu'à un
service 24 heures sur 24 le 11 novembre 1960.
En juin 1961, un pic de 434 téléphones principaux
(total d'environ 650 téléphones principaux et
supplémentaires) étaient en service et se sont
maintenus à ce niveau ou près de ce niveau pour
le reste de l'essai, qui s'est terminé en janvier 1962.
Morris a prouvé la solidité fondamentale des contrôle
de programme pour les systèmes de commutation téléphonique
et a fourni l'expérience et les connaissances nécessaires
à la conception de la production d'ESS. Une fois le système
ébranlé, Morris a pu fonctionner avec une disponibilité
de près de 99,99 %. À la fin de l'essai, les rapports
de problèmes des clients étaient tombés
en dessous de la moyenne nationale pendant plusieurs semaines
à la fois. En excluant les pannes de tube à vide
et de diode à gaz, le circuit logique à semi-conducteur
pa12ks a échoué à un taux de moins de deux
paquets de 11 000 par mois, et pendant les six derniers
mois de l'essai sur le terrain, il n'y a eu qu'une seule panne
de paquet logique.
Le plan de maintenance Morris a été conçu
pour simplifier la maintenance en permettant au système
lui-même d'effectuer l'essentiel des tests, des analyses
et des rapports de panne. Dans la plupart des cas, la tâche
du personnel de maintenance consistait uniquement à rechercher
un rapport de panne imprimé dans un dictionnaire de maintenance
pour trouver l'emplacement d'un module de plug-in défectueux
et le remplacer.
Cette technique a été employée avec succès
par des artisans qui avaient reçu divers niveaux de formation
dans l'administration et l'entretien de Morris. En outre, de
nombreux clients disposaient de nouvelles fonctionnalités
d'appel qui n'étaient disponibles nulle part auparavant.
La numérotation abrégée permettait au client
de composer un code à deux chiffres; la mémoire
contenait le code et le numéro de bureau à sept
chiffres correspondants, qui ont été utilisés
pour terminer l'appel. Le client a remis au personnel administratif
du central une liste de numéros à sept chiffres
correspondant à quatre codes à deux chiffres disponibles.
Une autre caractéristique était la possibilité,
sous la direction du client, de transférer automatiquement
les appels vers un autre numéro de téléphone,
spécifié en composant les codes de commande et
le deuxième numéro désigné.
Le système stocke automatiquement les informations requises
et transfère les appels vers le nouveau numéro
jusqu'à ce que la fonction soit annulée par la
composition par le client d'un second code de commande spécifié.
Non seulement le contrôle par programme enregistré
a fourni les nouvelles fonctionnalités sans matériel
supplémentaire, mais ces capacités ont été
ajoutées avec des modifications et des ajouts relativement
modestes au programme et à l'espace en mémoire.
Apporter les mêmes modifications aux systèmes de
l'art antérieur aurait été beaucoup plus
étendu et coûteux. Cet avantage, ainsi que le haut
degré d'automatisation de la maintenance grâce
à l'utilisation de la commande par programme enregistré,
ont été les moteurs de la révolution dans
la conception des systèmes de commutation téléphonique.
4. 7 nouveaux appareils
Au cours du développement exploratoire du PBX électronique
et du central électronique Morris, de nombreuses innovations
ont été apportées aux systèmes de
mémoire, aux périphériques réseau
et aux éléments logiques. Les diverses améliorations
ont été étudiées et essayées
; certains ont été adoptés, d'autres rejetés.
Au moment où le système Morris était opérationnel,
une révolution technologique avait rendu obsolètes
tous ses principaux composants. Cette révolution a abouti
à de grandes mémoires magnétiques, à
de nouveaux éléments de réseau et à
l'introduction de transistors en silicium et de circuits à
diodes. Un bref examen de certains des appareils nouveaux ou
améliorés suit.
4.7.1 Systèmes de mémoire
Les pré-Morris et Morris utilisaient deux mémoires
à accès aléatoire à grande vitesse,
auxquelles la commande commune accédait indépendamment
et simultanément lors de l'exécution de son programme.
Le magasin "flying-spot" contenait le programme et
les données qui restaient constantes sur une période
de temps allant de quelques semaines à plusieurs années.
Elle était connue comme une mémoire semi-permanente
dans la mesure où elle nécessitait une intervention
humaine pour modifier son contenu ; le programme était
ainsi protégé contre sa propre destruction par
inadvertance. Une deuxième mémoire servait de
bloc-notes pour les informations changeant rapidement telles
que le nombre d'impulsions de numérotation et les données
de trafic. C'était ce qu'on appelait une mémoire
temporaire, et dans le système Morris, le magasin de
grille de barrière était utilisé à
cette fin.
Il est intéressant de noter que cet agencement de stockage
double n'était pas utilisé dans les ordinateurs
à usage général de l'époque, car
ils n'avaient pas les exigences de fiabilité strictes
imposées à la commande de programme stocké
utilisée dans les systèmes de commutation du bureau
central. Un avantage supplémentaire de l'arrangement
est la lecture simultanée d'instructions de programme
et la lecture ou l'écriture de données, ce qui
se traduit par des vitesses de traitement de données
supérieures à celles pouvant être obtenues
avec une seule mémoire.
La mémoire de torsion à aimant permanent - annoncée
par Bell Laboratories en 1959 - fournissait un stockage aussi
rapide que la mémoire centrale, conservait ses données
de manière fiable et était nettement moins cher
que les mémoires centrales équivalentes. La mémoire
du twistor est basée sur les propriétés
magnétiques d'une bande de permalloy enroulée
en hélice autour d'un fil de cuivre fin, comme illustré
à la Fig. 9-30.
Fig. 9-30. Construction de la mémoire du twistor, 1963 :
une bande de permalloy enroulée en hélice autour
du fil de cuivre..
A cette époque, la mémoire twistor offrait des
performances supérieures à celles des noyaux magnétiques
à accès à courant coïncident. Pour
faire fonctionner une mémoire centrale de taille équivalente
aux vitesses atteignables avec le twistor, il aurait fallu beaucoup
plus de puissance de fonctionnement.
Le twistor à aimant permanent ou la mémoire PMT
a été utilisé pour la première fois
dans les systèmes militaires dans des capacités
de mémoire relativement petites,
Les débuts de la commutation électronique, mais
des mémoires beaucoup plus grandes ont été
construites et signalées peu de temps après.La
mémoire PMT est devenue un concurrent du magasin "flying-spot"
pour le modèle de production de l'ESS.
Un autre concurrent développé par les ingénieurs
des Bell Labs était la mémoire capacitive stockage
ou "capstore". C'était simplement une matrice
de condensateurs auxquels des impulsions d'entrée étaient
appliquées sur les lignes de mot et les condensateurs
individuels connectés aux lignes de bit de sortie. Comme
le montre la Fig. 9-31, la valeur binaire du mot a été
déterminée par la présence ou l'absence
de condensateurs de couplage entre les lignes de mot d'entrée
et les lignes de bit de sortie.
Figure 9-31. Schéma montrant le concept de la mémoire
capstore : les mots ont été construits à
partir de motifs de condensateurs de couplage. (Transactions
IRE sur les ordinateurs électroniques, EC-10 septembre
1961.)
Figure 9-32. En haut : agencement des motifs cuivre et diélectrique
formant les condensateurs. En bas : photo d'un capstore d'une
capacité de 32 mots de 18 bits chacun. (IRE Transactions
on Electronic Computers, septembre 1961.)
La Fig. 9-32 montre une sous-matrice fabriquée
par lot de 32 mots avec 18 bits par mot. Des motifs de cuivre
gravés séparés par une fine couche de mylar
formaient les condensateurs et les lignes de mots et de bits.
En coupant sélectivement les connexions entre les lignes
de bit verticales et les anodes de condensateur individuelles,
des zéros sont formés à ces emplacements
de bit et de mot. Les dérivations non coupées restantes
représentent des dérivations binaires. Un zéro
peut être reconverti en un par l'application d'une peinture
conductrice. Un magasin de 1024 mots par 34 bits a été
construit et utilisé dans le modèle brassboard de
l'EPBX.
La lourdeur du changement de mémoire et la nature linéaire
de l'accès au circuit, qui limitaient sévèrement
toute croissance substantielle de la taille du magasin, ont interdit
son utilisation dans le modèle de production de l'EPBX.
Cependant, des années plus tard, le capstore a très
bien servi dans les ordinateurs scientifiques en tant que magasins
de microprogrammes à grande vitesse.
Dans le domaine des mémoires temporaires, la mémoire
à noyau magnétique était devenue la mémoire
dominante dans les systèmes informatiques commerciaux et
scientifiques. Les techniques d'accès à courant
coïncident ont permis de concevoir des mémoires dont
la taille et le coût croissent comme la racine carrée
de la taille totale de la mémoire. Cependant, la vitesse
de fonctionnement en mode courant coïncident était
limitée et diverses approches pour surmonter cette limitation
ont été explorées lors du développement
de l'EPBX et de l'ESS de production. Une technique consistait
à polariser la matrice de noyau à courant coïncident
afin que des courants de commande plus importants puissent être
appliqués pour accélérer l'action de commutation
sur les noyaux. Des techniques d'accès au noyau biaisées
ont également été utilisées avec des
matrices de noyau qui pilotaient les enroulements de solénoïde
des circuits d'accès PMT.
Une autre approche était le magasin de feuilles de ferrite.
La feuille de ferrite, illustrée à la Fig. 9-33,
était un moyen de fabrication par lots pour surmonter le
coût élevé de la technique alors utilisée
de filetage manuel d'une grande matrice de noyau. Au moment où
la conception de la production d'ESS a commencé, il était
entendu que le plus petit bureau nécessiterait des centaines
de milliers de bits de mémoire temporaire. Le résultat
était que la feuille de ferrite présentait un avantage
économique par rapport aux mémoires à noyau
conventionnelles.
4.7.2 Périphériques réseau et de numérisation
Bien que le réseau de tubes à gaz ait fonctionné
de manière satisfaisante lors de l'essai sur le terrain
de Morris, il présentait suffisamment de problèmes
pour justifier l'exploration de technologies alternatives. Comme
prévu, le taux de défaillance des tubes à
gaz était significativement plus élevé que
celui attendu des transistors et des diodes. Même pendant
les premières étapes de planification, les transistors
étaient considérés comme le dispositif de
production du réseau, et les tubes à gaz ont été
acceptés pour être utilisés à Morris
comme approche provisoire.
Un agencement de deux transistors à jonction dans une "connexion
en crochet", comme le montre la figure 9-34, donne un commutateur
bistable qui peut être marqué comme un tube à
gaz. Les mêmes caractéristiques de fonctionnement
peuvent . La mémoire de feuille de ferrite qui utilisait
la fabrication par lots pour éviter l'assemblage et le
filetage manuels des matrices magnétiques de noyaux soit
obtenue dans un seul dispositif à quatre couches - la diode
pnpn - également illustrée à la Fig. 9-34.
Contrairement à la diode à gaz, les commutateurs
bistables à semi-conducteurs ont une certaine perte à
l'état "marche", de sorte que les réseaux
constitués de ces éléments dégraderaient
davantage la transmission que le tube à gaz. De même,
l'impédance "off" du pnpn et de la connexion
crochet était inférieure à celle des tubes
à gaz. L'impédance "off" réduite
dégraderait la marge de diaphonie. D'autre part, le pnpn
offrait non seulement un appareil plus fiable, mais qui fonctionnait
sur des tensions beaucoup plus basses, consommait beaucoup moins
d'énergie et était beaucoup plus compact.

Image 9-34. Alternatives à l'état solide pour les
commutateurs réseau : en haut à gauche, la configuration
« crochet » des transistors ; en haut à droite,
la diode pnpn. Ci-dessous, courbe caractéristique tout
ou rien de la diode pnpn. tensions et courants sans circuits spéciaux.
Cela a supprimé le coût supplémentaire des
circuits d'accès et de protection spéciaux et a
éliminé la nécessité de passer aux
nouveaux téléphones.
L'une des principales limitations des éléments de
réseau électronique était leur incapacité
à gérer directement certaines des signalisations
téléphoniques conventionnelles et à tester
les tensions et / ou les courants. Par exemple, dans les systèmes
de commutation crossbar, un téléphone sonne en connectant
sa boucle à travers le réseau de commutation à
un générateur de sonnerie. Le signal de sonnerie
requis pour faire fonctionner la sonnerie est nominalement de
86 volts r.m.s. à 20 hertz superposé à 48
volts de. Pour collecter ou rendre des pièces, un signal
de 130 volts est envoyé à travers le réseau
vers les téléphones à pièces. Les
circuits de test nécessitent également des déconnexions
électriquement transparentes via le réseau de commutation
vers la boucle du client.
Des circuits d'accès et de protection spéciaux ont
dû être ajoutés à chaque ijne pour accueillir
les réseaux électroniques, que le réseau
électronique soit à division spatiale ou à
division temporelle.
Le système Morris a abordé la gestion de la sonnerie
avec un nouveau téléphone contenant une sonnerie
basse tension, mais d'autres exigences pour les lignes à
pièces et PBX et les tests de boucle n'ont pas été
résolues lors de l'essai sur le terrain.
Bien que l'utilisation de la diode pnpn comme point de croisement
de réseau ait été vigoureusement poursuivie,
l'invention du commutateur ferreed (une contraction de ferrite
et de reed magnétique) par A. Feiner, C. A. Lovell, T.
N Lowry et P. G. Ridinger est rapidement devenue la solution économique.
choix. Il était basé sur un petit interrupteur Reed
sec, auquel était ajoutée une structure de verrouillage
magnétique qui pouvait être actionnée et libérée
avec des commandes électroniques. En même temps,
il a fourni des contacts métalliques qui pouvaient gérer
la large gamme de signalisation et de test existants npn pnp.
La figure 9-35 montre une version antérieure (1960) du
ferreed qui utilisait de la ferrite frittée en poudre;
Ceci était connu sous le nom de "marquage destructif"
et éliminait le besoin d'ouvrir des points de croisement
fermés à la fin d'une connexion avec peu de risques

Figure 9-35. Commutation ferrée expérimentale utilisant
des tiges et des disques de fer rite en poudre et frittés
pour verrouiller les interrupteurs à lames magnétiques
sous verre
Les enroulements différentiels (XI, X2, Yl, Y2) sont pulsés
simultanément pour fermer les contacts ; les impulsions
de l'un ou l'autre des enroulements provoquent à elles
seules l'ouverture des contacts. Les débuts de la commutation
électronique.
La figure 9-36 montre le modèle de production, qui utilisait
Remendur comme verrou magnétique.
Les points de croisement ferrés ont été assemblés
en commutateurs matriciels, et les réseaux ont été
construits à partir de ces commutateurs d'une manière
topologiquement similaire aux réseaux de commutateurs crossbar.
Lors de l'exploitation d'un point de croisement dans un commutateur
matriciel ferré, cependant, des techniques très
différentes sont utilisées pour la commande. Des
courants simultanés à travers les enroulements horizontaux
et verticaux du point de croisement sont nécessaires pour
le faire fonctionner. Le courant à travers un seul enroulement
fera tomber un point de croisement fermé ou le laissera
inchangé s'il est ouvert. Les commutateurs individuels
étaient disposés dans une matrice de sorte que tous
les enroulements horizontaux d'une rangée étaient
connectés en série, et tous les enroulements verticaux
d'une colonne étaient également connectés
en série.
Le courant simultané à travers une ligne et une
colonne a ainsi actionné le point de croisement à
l'intersection et libéré tous les autres points
actionnés sur la même ligne et la même colonne
.
C'était ce qu'on appelait le "marquage destructif"
et qui éliminait la nécessité d'ouvrir des
croisements fermés en fin de raccordement avec peu de risque
de doubles raccordements, tout en simplifiant grandement le contrôle
de l'établissement et du démontage des raccordements.
La taille du commutateur a été choisie en tenant
compte du coût du contrôle, des configurations du
réseau, de la taille des trames résultantes et du
coût du commutateur. L'ESS n° 1 utilise principalement
un commutateur huit par huit. Un nombre binaire est géré
plus efficacement par un programme stocké, et les autres
facteurs ont déterminé la préférence
pour 8 au lieu de 4 ou 16. Dans les réseaux précédents,
un troisième fil, le manchon, était commuté
avec la pointe et l'anneau pour former la mémoire de l'état
des connexions dans le réseau. Plutôt que d'utiliser
cette technique, l'état du ferreed était conservé
dans une mémoire temporaire de masse, appelée «carte»,
et maintenu en phase avec l'état réel du réseau
via le programme. Cela réduisait le coût du système
total et permettait au programme de "réserver"
des chemins en mémoire avant la connexion réelle
à établir. Pour balayer les lignes et les circuits
à la recherche d'origines, de déconnexions, d'impulsions
de numérotation, etc., les tensions de raccrochage et de
décrochage associées polarisaient les éléments
de diode semi-conductrice dans le scanner d'essai sur le terrain
de Morris. Les impulsions d'interrogation seraient en conséquence
transmises ou bloquées. Bien que de conception simple,
des réseaux de composants élaborés ont été
associés à chaque diode pour la protéger
des hautes tensions et courants et pour équilibrer les
signaux alternatifs induits longitudinalement. Cela a conduit
à l'invention du "Ferrod" par J. A. Baldwin et
H. F. May. Avec le Ferrod raccroché et décroché,
les courants de boucle étaient magnétiquement couplés
par des enroulements à un bâton de ferrite, qui avait
la taille d'une grande allumette en papier. La différence
de courants permettrait ou inhiberait sélectivement le
couplage d'impulsions d'un enroulement d'interrogation à
un enroulement de détection. Des enroulements équilibrés
annulaient les signaux d'interférence induits longitudinalement,
et le couplage magnétique plutôt que direct de la
boucle à l'électronique d'interrogation et de détection
protégeait cette dernière des croisements de lignes
électriques ou des coups de foudre.
La figure 9-37 montre le Ferrod dans ses applications les plus
omniprésentes.

Figure 9-37. Point de balayage Ferrod utilisé dans ESS.
Les dispositifs typiques utilisés dans le balayage de ligne
satureraient à un courant de boucle de 10 milliampères
et fourniraient un couplage maximal des enroulements d'interrogation
et de lecture pour 5 milliampères ou moins.
4.7.3 Éléments logiques
Les éléments logiques du Morris ESS étaient
des portes ET et OU à diodes à contact ponctuel
avec des étages de jonction en alliage de transistors au
germanium pour fournir un gain et/ou une inversion logique. Un
catalogue de cartes électroniques "universelles"
a fourni les blocs de construction logiques de ce système.
Une approche différente pour fournir des éléments
logiques « universels » a été
proposée pour l'EPBX et l'ESS de production. Les concepteurs
du PBX ont choisi d'utiliser une seule porte composée de
résistances et de transistors à jonction diffusée
au silicium ; la porte NOR de base pourrait être utilisée
dans combinaison pour générer les fonctions AND,
OR et INVERT nécessaires.
Les concepteurs de circuits ESS lors de la conception de la production
ont opté pour la porte NAND plus chère mais plus
rapide nécessitant des diodes et des transistors au silicium.
Sa consommation d'énergie moindre et son ventilateur plus
élevé ses capacités d'entrée et de
sortie l'ont rendu attrayant pour les concepteurs du SSE n°
1.
Les familles logiques décrites sont indiquées à
la Fig. 9.38.
Figure 9-38. Éléments logiques
utilisés dans (a) la conception de Morris, (b) l'autocommutateur
privé électronique et (c) le système de commutation
électronique de production. la diode pnpn comme point de
croisement du réseau.
V. LE DEVELOPPEMENT DE LA COMMUTATION ELECTRONIQUE
En 1958, le développement de l'ESS chez Bell Labs à
Whippany, New Jersey consistait en deux efforts majeurs. L'effort
principal, en termes de personnel, a consisté à
achever les conceptions matérielles et logicielles du
système Morris. Cela comprenait l'écriture et
l'utilisation de simulateurs pour tester le logiciel avant qu'il
ne puisse être testé dans le laboratoire système.
Le laboratoire du système était une réplique
fonctionnelle complète du système de Morris, dans
l'Illinois, et a été utilisé pour tester
le matériel et les logiciels fonctionnant ensemble comme
un système.
Et, alors que le développement du système Morris
était en cours d'achèvement, un deuxième
effort parallèle de Whippany a été lancé
sur la conception du premier système de production, l'ESS
n ° 1.
5.1 De Morris au début de l'ESS n°1
L'autorisation de développer l'ESS a été
approuvée par Western Electric en mars 1958, le même
mois que le premier appel a été placé dans
le système pré-Morris. À ce moment-là,
il a été reconnu que le tube à gaz serait
probablement remplacé et que des transistors et des diodes
au silicium à jonction diffuse plus performants étaient
plus adaptés à la conception de la production.
Le fonctionnement en série du magasin de grille de barrière
a également été considéré
comme trop lent pour le fonctionnement du processeur à
grande vitesse.
En 1960, tous les principaux composants matériels avaient
été sélectionnés. Cela comprenait
le point de croisement ferrod, le magasin de torsion à
aimant permanent pour les données de programme et de
traduction, le magasin de feuilles de ferrite pour les données
transitoires, et la diode et les transistors au silicium pour
le circuit logique. Il est intéressant de noter que tous
les choix représentaient le meilleur choix en termes
de consommation d'énergie. L'utilisation d'un système
de climatisation "fiable" pour répondre à
la plage de températures de fonctionnement requise dans
un environnement de bureau central normal suscite de vives inquiétudes.
Une climatisation fiable nécessitait un équipement
de production d'énergie de secours coûteux pour
sauvegarder l'alimentation commerciale.
Le système d'essai sur le terrain de Morris a fourni
de nombreuses informations fondamentales pour le système
de production. Le plus important était la faisabilité
du contrôle du programme enregistré pour fonctionner
de manière fiable en temps réel, 24 heures par
jour. Les principales unités fonctionnelles ont été
dupliquées et le système comprenait des vérifications
opérationnelles pour le matériel et les logiciels.
Des programmes spéciaux, connus sous le nom de programmes
de dépannage, ont été lancés en
réponse aux échecs de ces contrôles opérationnels.
Les programmes ont rapidement identifié l'équipement
défaillant (réseau, mémoire, unité
de contrôle, etc.) et l'ont automatiquement mis hors service,
laissant le double prendre le relais. Le système pourrait
automatiquement isoler et supprimer les unités défectueuses,
et ainsi continuer à faire fonctionner Morris même
si des composants pouvaient tomber en panne ou fonctionner par
intermittence. La sagesse de cette philosophie de conception
a été confirmée par une disponibilité
sans précédent pour un système électronique
aussi complexe, supérieure à 99,99 % sur
une période de plusieurs mois.
Un "rapport final" sur Morris, daté de mars
1963, déclare : En excluant les pannes dues à
la défaillance de l'installation de climatisation, les
pannes des 11 à 114 derniers mois ont été
en moyenne de 4 secondes par jour ou moins de 0,005 %.
un système expérimental qui contenait environ
75 000 diodes semi-conductrices, 12 000 transistors, 30 000
tubes à gaz et 2 000 tubes à vide. Le système
Morris a prouvé que des systèmes de commutation
électroniques complexes pouvaient être maintenus
en fonctionnement essentiellement continu pendant de longues
périodes. se sont avérés relativement faciles
à mettre en uvre avec un contrôle par programme
enregistré ont été inclus dans l'essai
de Morris.
Les «services Belltronic», comme on les appelait,
comprenaient la numérotation abrégée, l'appel
par code, le transfert de numérotation, etc. La réponse
des clients a été évaluée et jugée
très positive.
L'essai Morris a démontré la valeur des techniques
de maintenance corrective, par lesquelles une unité défectueuse
a été diagnostiquée pour déterminer
la réparation, et la réparation a été
effectuée en remplaçant quelques packs de plug-in.
L'essai a également démontré l'intérêt
de générer un "dictionnaire" des schémas
de défaillance et d'avoir un accès aux tests adéquat
pour les programmes de diagnostic. Dans l'ensemble, l'utilisation
de programmes stockés pour aider les artisans à
faire fonctionner et à entretenir l'équipement
du bureau central devait être un avantage clé dans
les conceptions ultérieures du système.
Bien que les changements dus à l'évolution technologique
aient été largement répandus dans le matériel
du système, la solidité de l'architecture fondamentale
et de l'approche du programme stocké a été
prouvée à Morris, Illinois. Le vaste essai sur
le terrain comprenait une année de service fiable à
plein temps, autour du quai, pour plus de 400 clients.
Peu de temps
après que le vice-président JA Morton a engagé
la feuille de ferrite dans les systèmes de commutation
électroniques en évolution, le développement
a été transféré à Allentown,
en Pennsylvanie, où une équipe conjointe Bell
Laboratories-Western Electric a introduit avec succès
la feuille de ferrite dans la fabrication.
La mémoire a d'abord été utilisée
dans les commutateurs électroniques 1ESS et 101ESS.
Pour le plus petit bureau, le magasin d'appels du commutateur
électronique 1ESS contenait quatre modules de mémoire
à feuille de ferrite organisés pour stocker
8192 mots, chacun de 24 bits de long.
Plusieurs unités étaient utilisées
dans les grands bureaux. Plus tard, une organisation différente
de cette mémoire a également été
utilisée dans les premières installations
du commutateur électronique 2ESS.
La production de la mémoire à feuille de ferrite
a commencé chez Western Electric en 1963. La même
année, elle a été introduite dans le
premier bureau utilisant 101ESS.
La mémoire de feuille de ferrite, telle qu'utilisée
dans l'équipement de commutation ESS. Un module se
composait de 12 blocs de 16 feuilles et d'une feuille de
rechange. Chaque bloc stocke 4096 bits. Quatre modules composent
un call store organisé en 8 192 mots de 24 bits |
 |
5.2 Le développement du SSE No.101
Le PBX électronique a été renommé
n ° 101 ESS pour indiquer qu'il devait faire partie d'une
famille de systèmes de commutation électronique
Bell System.
Comme décrit précédemment, l'examen des
nouvelles technologies a parfois pris des directions différentes
pour les projets ESS n° 1 et ESS n° 101, mais là
où des économies de développement et de
fabrication étaient indiquées, des choix communs
ont prévalu. Ainsi, le torseur à aimant permanent
et le magasin de tôles de ferrite ont été
sélectionnés pour la commande commune des ESS
n° 1 et n° 101. En passant du modèle de brassboard
à la conception de production, l'ESS n ° 101 a également
adopté l'approche du programme stocké, car la
flexibilité de la conception pour obtenir de nouvelles
fonctionnalités sophistiquées et des aides à
l'exploitation et à la maintenance étaient importantes
pour la conception du PBX ainsi que au n°1 ESS.
L'ESS n ° 101 comprenait un réseau temporel à
modulation d'impulsions en amplitude (PAM). Cela a été
sélectionné pour être utilisé dans
les unités de commutation afin d'exploiter la grande
vitesse et la petite taille des composants semi-conducteurs.
La complexité compensatoire de l'interfaçage avec
les tensions et les courants de signalisation se limitait à
fournir des commandes de sonnerie spéciales dans chaque
circuit de ligne et des circuits de détection d'impulsions
de numérotation dans chaque circuit de réception
de chiffres. Les circuits de détection d'impulsions transmettent
directement les signaux TOUCH-TONE et convertissent les impulsions
de numérotation en rafales de tonalités de fréquence
audio qui sont détectées par l'unité de
commande. D'autres signaux spéciaux et un accès
de test commuté, considérés comme essentiels
dans les centraux téléphoniques, n'étaient
pas nécessaires dans les applications PBX.
Le laboratoire de développement ESS n ° 101 sous
la direction de W. A. Depp a été l'une des premières
organisations techniques à être déplacée
vers le nouveau bâtiment Holmdel, New Jersey Bell Laboratories
au printemps 1962. Là, un modèle de laboratoire
à grande échelle a été construit
et exploité. pour l'achèvement de la conception
du système. Une installation d'essai sur le terrain a
été exploitée à partir de mars 1963
à New Brunswick, New Jersey avant la première
installation commerciale. L'essai comprenait deux clients commerciaux
et New Jersey Bell. Les débuts de la commutation électronique.
5.2.1 Conception initiale
Un ESS n° 101, la première installation commerciale
de commutation électronique, utilisant un contrôle
par programme enregistré, est entré en service
à Cocoa Beach, en Floride, le 30 novembre 1963. À
cette époque, chaque unité de commutation gérait
jusqu'à 200 lignes, et l'unité de contrôle
avait une capacité de 3200 lignes et 32 unités
de commutation. Chaque unité de commutation à
200 lignes possède deux bus de 25 tranches de temps chacun
; toutes les lignes et jonctions ont accès aux deux bus,
comme illustré à la Fig. 9-20. Le bus double sert
des conférences téléphoniques à
3 et 4 voies. Si un bus tombe en panne, il reste encore 25 créneaux
horaires disponibles pour toutes les lignes et lignes réseau.
La capacité de transport d'appels avec un seul bus est
suffisante pour gérer toutes les charges de trafic sauf
les plus lourdes.
La Fig. 9-39 illustre l'unité de commutation à
200 lignes et montre la facilité d'accès pour
les ajouts et le remplacement des ensembles de circuits de ligne
et de commutation. L'unité de commande ESS n° 101
est fonctionnellement organisée comme illustré
à la Fig. 9-40.
La Fig. 9-39 illustre l'unité de commutation à
200 lignes et montre la facilité d'accès pour
les ajouts et le remplacement des ensembles de circuits de ligne
et de commutation.
L'unité de commande ESS n° 101 est fonctionnellement
organisée comme illustré à la Fig. 9-40.

Figure 9-40. Schéma de l'unité de commande n°
101 ESS. La mémoire d'information de ligne et la mémoire
de programme sont des mémoires de torsion à aimant
permanent ; la mémoire d'état d'appel et la mémoire
de données et de chiffres sont des mémoires à
feuille de ferrite. (IEEE Transactions on Communications and
Electronics, Vol. 83, juillet 1964.)
La mémoire d'informations de ligne contient des informations
sur la classe de service et des données pour les services
verticaux, telles que les listes de numérotation abrégée
pour chaque ligne desservie. La mémoire d'informations
de ligne est la seule unité fonctionnelle non dupliquée.
Le système est conçu pour fournir un service de
base lorsque la mémoire d'informations de ligne est hors
service, et le coût supplémentaire d'une mémoire
en double pour les caractéristiques verticales a été
considéré comme injustifié. La mémoire
de programme et la mémoire d'informations de ligne sont
des mémoires de torsion à aimant permanent
La mémoire d'état d'appel contient des blocs successifs
de 4 mots associés à chaque tranche de temps dans
chaque unité de commutation. Le premier mot de chaque
bloc est la "marque de progression d'appel". La marque
de progression d'appel indique l'état de l'appel dans
son intervalle de temps associé. La marque de progression
de l'appel peut être inactive (aucun appel dans ce créneau
horaire), en provenance (une ligne vient de décrocher
et a été connectée à un créneau
horaire disponible), en numérotation, en sonnerie, en
conversation, etc. Au fur et à mesure que l'appel est
avancé par l'action du programme de traitement des appels,
la marque de progression de l'appel est mise à jour en
conséquence.
La mémoire de données et de chiffres contient
un changement d'état de supervision ou des informations
de signalisation transmises sur des circuits de données
et de chiffres à partir de chacune des unités
de commutation et collectées par la logique d'entrée-sortie.
La logique d'entrée-sortie balaie périodiquement
toutes les lignes de données et de chiffres pour collecter
les informations de signalisation et de supervision en temps
réel. La mémoire d'état d'appel et la mémoire
de données et de chiffres sont des mémoires de
feuille de ferrite.
Le programme de traitement d'appel traite successivement chaque
unité de commutation. Il collecte d'abord toutes les
nouvelles entrées pour cette unité de commutation
à partir du magasin de données et de chiffres
et prépare ces informations pour une action ultérieure.
Il procède ensuite au balayage de chaque marque de progression
successivement pour déterminer si de nouvelles entrées
permettront d'avancer un appel. Si un appel peut être
avancé, le programme passe à une routine de progression
d'appel associée à cet état de l'appel.
À la fin des actions de progression d'appel appropriées,
le balayage des marques de progression d'appel suivantes associées
à la même unité de commutation est repris.
La Fig. 9-41 montre une unité de contrôle qui indique
qu'elle peut être fournie dans des travées de 7
ou 11 pieds selon la hauteur du plafond et les besoins d'espace
au sol. Pour atteindre sa capacité de 3200 lignes, seuls
les équipements de données numériques et
de jonction doivent être ajoutés.

Figure 9-41. Disposition de l'unité de contrôle
n° 101 ESS, 1000 lignes. Pour une croissance jusqu'à
3200 lignes, seules les données numériques et
les unités de jonction sont ajoutées. (IEEE Transactions
on Communications and Electronics, Vol. 83, juillet 1964.)
5.2.2 Unités de commutation supplémentaires
Plus de 90 % des installations PBX comptaient 200 lignes ou
moins, de sorte que l'unité de commutation à 200
lignes (lA) gérerait un large segment du marché.
Il y avait également un besoin reconnu d'unités
de commutation plus grandes pour répondre aux besoins
plus importants des clients PBX, et trois unités supplémentaires
ont été conçues et fabriquées pour
fournir des capacités de 340, 820 et 4000 lignes (voir
Fig. 9-42). Le plus grand, l'unité de commutation 4A,
combine des commutateurs ferrés à répartition
spatiale et des bus à répartition temporelle PAM
pour fournir la capacité de terminal et de trafic nécessaireFigure
9-41. Disposition de l'unité de contrôle n°
101 ESS, 1000 lignes. Pour une croissance jusqu'à 3200
lignes, seules les données numériques et les unités
de jonction sont ajoutées. (IEEE Transactions on Communications
and Electronics, Vol. 83, juillet 1964.)

Figure 9-42. Options disponibles avec l'ESS n° 101, à
commencer par une unité de commutation de 200 lignes.
Les unités de commutation ESS n ° 101 offraient le
service Centrex-CU (pour Customer Unit). Centrex-CU fournissait
à son client la numérotation entrante directe
vers des extensions individuelles dans le PBX et identifiait
automatiquement les appels composés vers l'extérieur
pour fournir les détails de facturation au client du
PBX. Les appels entre les extensions ont été commutés
avec l'équipement dans les locaux du client, réduisant
ainsi le nombre de lignes réseau nécessaires entre
le client et le bureau central.
Dans cette application, l'ESS n° 101 a remplacé le
PBX 701A et économisé de l'espace au sol dans
les locaux du client. La première unité de commutation
4A a été mise en service en février 1967,
sur le site nouvellement achevé d'Indian Hill Bell Laboratories
à Naperville, Illinois. L'unité de commande de
cet interrupteur était située dans la ville voisine
de Wheaton. Ce système offrait la commodité des
fonctions PBX modernes, telles que le renvoi d'appel vers un
autre poste, la conférence à trois où l'un
des trois correspondants pouvait être sur une ligne extérieure
et une fonction de prise de groupe pour permettre les appels
vers les postes d'un poste donné. bureau à récupérer
par d'autres extensions dans le même bureau.
En 1969, l'ESS n ° 101 a été aménagé
pour assurer le fonctionnement du satellite principal. Dans
cet arrangement, plusieurs unités de commutation pour
un seul client seraient situées dans des bâtiments
séparés, mais tous les appels nécessitant
un opérateur seraient acheminés vers un groupe
commun d'opérateurs à un emplacement - le site
du commutateur "principal".
À son apogée, l'ESS n° 101 a desservi 300
000 extensions de plus de 200 unités de contrôle.
5.3 Développement initial du SSE n° 1
En 1958, plusieurs mesures ont été prises pour
lancer le développement de l'ESS n ° 1. Le développement
menant à la fabrication a été autorisé
en mars de cette année-là, et le travail de conception
de la production a commencé au laboratoire de Whippany,
New Jersey. Un nouveau centre d'ingénierie des systèmes
a été créé à West Street,
à New York, avec W. Keister comme directeur. Ce centre
était chargé de définir les exigences pour
l'ESS n ° 1 et les exigences pour le système d'essai
sur le terrain à Morris, Illinois. Le laboratoire de
développement ESS de Whippany comptait alors plus de
200 personnes réparties dans cinq départements.
Il était dirigé par C. A. Lovell en tant que directeur
et R. W.
Ketchledge en tant qu'assistant réalisateur. Les ingénieurs
et les scientifiques de ces départements ont été
progressivement déplacés sur une période
de temps du travail sur Morris à la conception de la
production. Au moment de l'autorisation de travaux, le premier
appel venait de se terminer avec succès dans le modèle
de laboratoire pré-Morris, et l'essai réel sur
le terrain ne commencerait pas avant plus de deux ans.
Cependant, la conception de la production au cours de cette
période a abouti à l'invention du ferreed (initialement
destiné à être utilisé dans la partie
concentrateur de ligne du réseau), à l'invention
des portes logiques à diode-transistor au silicium "logique
de bas niveau" ou "LLL" par WB Cagle et W. H.
Chen, et l'invention de l'architecture de base du contrôle
central par JA. Harr. Des décisions ont également
été prises pour abandonner le magasin à
grille barrière et le magasin à "points volants"
au profit de la mémoire à noyau magnétique
(sous la forme du réseau de feuilles de ferrite fabriquées
par lots) et du torseur à aimant permanent. Ces jalons
ont tous été atteints à la fin de 1959.
À cette époque, la conception papier de la commande
centrale comprenait le «module d'appel autonome»,
un processeur subsidiaire qui était le précurseur
du «processeur de signal». Le traitement subsidiaire
serait fourni dans les bureaux nécessitant une capacité
de transport d'appels supérieure à celle pouvant
être obtenue sans processeur de signal.
En janvier 1960, l'organisation de développement était
passée à 240 et était divisée en
deux laboratoires. C. A. Lovell dirigeait le laboratoire des
systèmes et des logiciels, et R. W. Ketchledge avait
été nommé directeur d'un laboratoire responsable
de la conception de tous les circuits et équipements
pour la production. En 1960, les travaux se sont poursuivis
pour affiner la conception matérielle et déterminer
les exigences logicielles.
Une version améliorée du ferreed a été
développée en utilisant un manchon métallique
de Remendur pour remplacer les tiges plus fragiles de matériau
de ferrite . De plus, le processus épitaxial des Bell
Labs pour la fabrication des transistors a permis l'utilisation
de transistors au silicium pour obtenir des tensions de claquage
plus élevées, réduire la tension de saturation
collecteur-émetteur et obtenir une meilleure fiabilité
de fonctionnement. En 1960 et 1961, des modèles de laboratoire
de scanners à ferrod, de mémoires à feuille
de ferrite et de torsion, d'unités logiques de contrôle
central et d'unités de contrôle de réseau
ont été assemblés et exploités.
Du côté du système et du logiciel, la planification
et le développement du programme étaient en cours.
L'architecture du système était basée sur
la taille et la capacité prévues des sous-systèmes.
La structure de l'ordre des programmes a été évaluée
en codant des séquences téléphoniques typiques
et des travaux ont été lancés sur des programmes
de support à la fois pour générer et pour
déboguer les instructions ESS réelles. La planification
d'un laboratoire système a commencé.
La flexibilité du contrôle par programme enregistré
a également été étendue aux circuits
interurbains conçus pour l'ESS n ° 1. L'équipement
physique d'un circuit interurbain est dans la plupart des cas
limité à celui nécessaire pour détecter
et générer les signaux requis sur ces circuits
et pour effectuer des opérations de commutation de base
telles que la fermeture ou l'inversion de boucle. Tout le séquencement
de ces opérations, y compris la synchronisation de la
durée des signaux, est effectué par une commande
centrale selon les instructions du programme. Cela a pour effet
de minimiser la variété des circuits interurbains
requis et de réduire leur coût, puisque des changements
de synchronisation ou de séquence de fonctionnement peuvent
être apportés par des changements dans le programme.
Au cours de 1961, les équipes de développement
ont été réaffectées à une
division distincte dédiée à la commutation
électronique. Il était dirigé par W H.
C. Higgins en tant que directeur exécutif et comprenait
plus de personnes travaillant sur l'ESS n° 1, ainsi que
le centre de W. A. Depp à Murray Hill, New Jersey, qui
développait l'ESS n° 101, et J. A.
Le centre de Baird à Whippany, New Jersey, qui était
responsable des applications militaires. Ce dernier groupe avait
commencé le développement, en 1959, d'un système
intégré (voix et données, analogique et
numérique) pour le Signal Corps. Ce système, qui
sera décrit plus tard, a adopté une grande partie
du matériel et des logiciels ESS n ° 1.
Pendant le reste de 1961 et 1962, les conceptions du matériel
ont été achevées et confiées à
Western Electric pour la fabrication. À l'été
1962, la «division de commutation électronique
a été transférée dans un nouveau
laboratoire à Holmdel, New Jersey, et peu de temps après,
des modèles de laboratoire de systèmes ont été
assemblés pour les trois projets majeurs. Le centre d'ingénierie
de commutation de W. Keister avait d'abord déménagé
à Whippany pour travailler plus étroitement avec
les ingénieurs de développement.
Ce centre a également accompagné l'organisation
de développement à Holmdel en 1962. Keister est
resté en charge de l'ingénierie de commutation
ESS jusqu'après le basculement du premier ESS n °
1 à Suc casunna, New Jersey en 1965.
La figure 9-43 montre les premières étapes du
premier laboratoire de systèmes du SST n° 1. Bien
que les unités aient été testées
en usine, l'équipement a été soumis à
des tests approfondis avec des programmes "rayons X"
dans le laboratoire des systèmes. Ces programmes de test
ont été exécutés par le contrôle
central pour se tester et tester les unités fonctionnelles
restantes du système.
(Ces programmes de rayons X sont devenus l'élément
majeur des tests d'installation, ce qui a minimisé le
besoin de tester le matériel sur le terrain.) En août
1963, le débogage du système était en cours
et l'effort a été porté à deux équipes
en novembre. année.

Figure 9-43. 1963 état des tests de laboratoire des systèmes
ESS n ° 1
Avec des programmes "X-ray" spécialement écrits,
le premier appel a été passé au laboratoire
Holmdel le 30 septembre 1963. Bien que celui-ci n'ait pas utilisé
le programme système, il a démontré le
fonctionnement de toutes les unités fonctionnelles (réseaux,
scanners, distributeurs, sonnerie circuits et liaisons) nécessaires
pour passer un tel appel et pour confirmer que le laboratoire
système est prêt à fonctionner comme un
outil de débogage pour les programmes système.
51 En plus de l'équipement du système, il y avait
du matériel et des logiciels de soutien conçus
et construits pour le laboratoire Holmdel.
Une console de test de programme illustrée à la
Fig. 9-44 affichait les registres internes des deux commandes
centrales et divers autres registres et bascules dans d'autres
unités ESS.

Figure 9-44. R. S. Cooper utilisant la console de test de programme
ESS n°1, qui affichait l'exécution du programme ESS
et aidait au débogage.
Avec ce matériel, le programme pourrait être arrêté
à des points sélectionnés de son exécution,
et l'état du système pourrait être lu à
partir de l'affichage. Un programme utilitaire utilisait des
lecteurs de cartes perforées à grande vitesse
et des imprimantes en ligne. Les conditions de test ont été
insérées et les résultats ont été
imprimés. Le programmeur pourrait lire l'affichage de
la console pour aider à déterminer la nature d'un
problème insaisissable et utiliser un lecteur de carte
de programme utilitaire et une imprimante pour obtenir rapidement
les résultats des tests du laboratoire de test. Ensuite,
le programmeur pourrait analyser l'impression et apporter des
modifications au programme sans monopoliser davantage la précieuse
installation de test.
Les changements de programme pourraient être effectués
avec des cartes perforées, et la correction pourrait
être saisie et testée dans le laboratoire des systèmes.
De cette façon, de nombreux programmeurs pourraient "partager"
leurs efforts de débogage dans le laboratoire système
Holmdel.
La première installation commerciale de l'ESS n°
1 était un bureau de 4 000 lignes à Succasunna,
New Jersey. L'équipement de Succasunna a été
installé à l'été et à l'automne
1963, et les tests du programme système ont commencé
à cet endroit en janvier 1964.
De plus, des tests ont été effectués à
l'aide de boîtes de chargement spécialement conçues,
et des équipes d'opérateurs de test ont passé
des appels spéciaux pour assurer le trafic. excédent
de la demande aux heures chargées à Succasunna.
Les opérateurs ont également essayé autant
de combinaisons de séquences d'appels inhabituelles qu'il
était raisonnablement possible d'insister sur la conception
du programme. Le 27 mai 1965, une cérémonie d'inauguration
a eu lieu, et le 30 mai, Succasunna a commencé à
fournir un service commercial à 4 000 clients.
Le deuxième ESS n ° 1, mis en service en janvier
1966, à Chase, Maryland, était très similaire
en taille et en exigences de programme au premier. Malgré
des tests approfondis, des problèmes de programme ont
causé un certain nombre de brèves interruptions
de service à Succasunna au cours des trois premiers mois
d'exploitation. Ces problèmes ont été identifiés
et les programmes ont été corrigés avant
que le bureau de Chase ne soit mis en service. Les débuts
de la commutation électronique Le résultat a été
que le bureau de Chase n'a pas connu ces interruptions et, peu
après son basculement, a été laissé
sans surveillance la plupart du temps.
Une application plus générale de l'ESS a nécessité
des ajouts au programme utilisé pour Succasunna et Chase.
Ce programme, le premier d'une série de programmes "génériques",
appelés CC1 pour central control-1, a été
appliqué pour la première fois au bureau de Beverly
Hills, en Californie, qui a suivi l'installation de Chase en
service en janvier 1967. Il a représenté le premier
programme métropolitain. -taille du bureau du SST et
traitement d'une plus grande variété d'appels.
A cet effet, 33 000 mots ont été ajoutés
au programme Succasunna. Seize bureaux avec le programme générique
CC1 sont entrés en service en 1967.
La flexibilité de l'ESS n°1 dans l'intégration
de nouvelles fonctionnalités a été amplement
démontrée. Lorsque le premier ESS n ° 1 a
été mis en service en 1965, il offrait 187 fonctionnalités,
notamment (1) la comptabilité automatique locale des
messages (LAMA), (2) des services d'appel personnalisés,
(3) des arrangements pour de nombreuses liaisons de service
d'opérateur et inter-bureau signalisation, et (4) divers
types de fonctionnalités de pièces de monnaie,
y compris la capacité de facturation des heures supplémentaires
locales. Le premier programme comportait 11 fonctionnalités
qui n'étaient alors pas disponibles pour le crossbr n
° 5.
En 1976, le nombre de d' ESS n ° 1 était passé
à plus de 500.
Pour fournir à la fois aux installateurs de Western Electric
et à l'expertise de la compagnie de téléphone
en exploitation l'exploitation et la maintenance du nouveau
système, une école spéciale a été
créée et gérée par Bell Laboratories.
Des ingénieurs de Bell Labs, de Western Electric et des
sociétés d'exploitation ont servi d'instructeurs
pour fournir du matériel pour un cours approfondi de
34 semaines qui a été organisé deux fois
de suite à partir de janvier 1964. Cent trente et un
stagiaires de diverses sociétés d'exploitation,
Western Electric , et le département Long Lines d'AT&T
ont suivi le cours, qui comprenait une expérience d'exploitation
"pratique". Les personnes formées dans cette
école spéciale sont revenues gérer et entretenir
leurs premières installations et créer des écoles
de formation au sein de leurs propres sociétés
d'exploitation.
Le directeur de l'école était M. Raspanti, qui
a également conçu deux unités de démonstration
en classe pour représenter le contrôle par programme
enregistré d'abord du système Morris, puis de
l'ESS n ° 1. Cette dernière unité a été
largement utilisée pour initier le personnel d'exploitation
des sociétés d'exploitation aux nouvelles techniques
de commande du système de commutation .
Les élèves pourraient écrire des programmes
spéciaux pour le démonstrateur de Raspanti, puis
les déboguer et les exécuter en classe. On pourrait
faire en sorte que le démonstrateur parcoure sa séquence
programmée assez lentement pour permettre à la
classe de suivre visuellement chaque étape. Le personnel
d'installation de Western Electric a également dû
acquérir une connaissance pratique du logiciel ESS n°
1 puisque les tests des installations ESS n° 1 ont été
effectués en grande partie avec des programmes chargés
dans la mémoire du twistor. Tout d'abord, les programmes
X-Ray ont été chargés et exécutés
pour aider au débogage de base de l'équipement
et aux bus et câbles d'interconnexion. Lorsque tous les
programmes X-Ray ont pu s'exécuter sans qu'aucune erreur
ne soit détectée, le programme générique
a été chargé et exécuté.
Les programmes opérationnels ont tenté de faire
fonctionner le système comme un centre de commutation,
et les programmes de maintenance ont également été
exercés pour trouver et corriger davantage d'erreurs
de fabrication et d'installation.
Parmi les derniers tests effectués figuraient des tests
spéciaux de pré-coupure des lignes auxquelles
l'ESS n° 1 serait dirigé pendant les périodes
de faible trafic, reliant chaque ligne, l'une après l'autre,
au réseau et aux circuits d'essai. ESS testerait et mesurerait
ensuite chaque ligne pour vérifier qu'elle était
correctement connectée au nouveau système. Tous
les défauts détectés seraient notés
sur le téléimprimeur pour les actions correctives.
À la fin de chaque bref test, la ligne serait renvoyée
à l'ancien central en la déconnectant automatiquement
de l'ESS n ° 1. Avec ces nouveaux outils puissants, une
"coupure éclair" de plusieurs dizaines de milliers
de lignes pourrait être réalisée avec l'assurance
de pratiquement aucune erreur de câblage et de déranger
les clients du téléphone.
5.4 UNICOM
L'avènement du SSE à commande par programme enregistré
intéressait les planificateurs de systèmes de
commutation militaires. Le Signal Corps a commencé à
étudier des améliorations à ses communications
stratégiques dans le but de desservir à la fois
les trois départements militaires et d'autres trafics
gouvernementaux vitaux pour l'intérêt national.
Une étude de système a été faite
pour définir un système universel de communications
intégrées - UNICOM. L'étude du système
comprenait de nouvelles installations de transmission, une nouvelle
famille d'équipements de station et l'interconnexion
de divers modes de télécommunications en un seul
système de commutation intégré. En 1958,
la faisabilité d'un tel système avait été
établie et, en juin 1959, le Signal Corps et le Bell
System en tant que maître d'uvre ont conclu un accord
de développement. Bell Laboratories était l'entrepreneur
du système avec ITT et RCA comme principaux sous-traitants
pour certaines parties du système. Le système
comprenait un réseau à répartition dans
le temps, qui fonctionnait soit avec des connexions de circuit
pour la voix sécurisée, soit avec des données
commutées sur une base de stockage et retransmission.
Le système comprenait également un réseau
à répartition spatiale et une commande à
programme enregistré pour faire fonctionner à
la fois les réseaux à répartition temporelle
et spatiale en tant que central de commutation intégré.
Le réseau de division spatiale était une version
à 4 fils du réseau ferré développé
pour l'ESS n ° 1, et la commande commune était une
adaptation directe de la commande centrale de l'ESS n °
1, du magasin de programmes twistor et des magasins d'appels
de feuilles de ferrite. Le réseau à division temporelle11
a également été conçu par Bell Labs
en utilisant les circuits logiques de bas niveau conçus
pour l'ESS n°1.
La Fig. 9-45 montre le schéma fonctionnel du central
téléphonique.

Figure 9-45. Schéma fonctionnel du système à
4 fils UNiversal Integrated COMmunications (UNICOM) pour le
Signal Corps.
UNICOM utilise à la fois la commutation par répartition
dans le temps et dans l'espace. L'instrument final peut être
soit un téléphone pour la voix, soit un télécopieur
pour les graphiques, soit un téléimprimeur ou
un autre terminal pour les données
Le contrat prévoyait le développement et l'exploitation
d'un modèle de test pour démontrer à la
fois le fonctionnement de l'équipement et un grand nombre
de caractéristiques opérationnelles obtenues à
partir de programmes ESS spéciaux écrits pour
cette application.
Plusieurs départements d'un laboratoire de développement
de systèmes militaires dirigé par JA Baird ont
été affectés au projet UNICOM. Les efforts
de développement pour UNICOM ont commencé dans
les laboratoires de Whippany, New Jersey, colocalisés
avec le développement ESS en cours
Les deux projets ont déménagé vers le nouvel
emplacement à Holmdel, New Jersey en 1962, et là
le modèle de test UNICOM a été construit
et exploité. A cette époque, plus de 100 ingénieurs
et programmeurs travaillaient sur le projet UNICOM .
La Fig. 9-46 montre une vue d'une partie du modèle de
test UNICOM avec les consoles du centre de commutation et les
ensembles de commande de poste analogiques et numériques.

Figure 9-46. Une partie des consoles centrales
de commutation de modèle de test UNICOM et des ensembles
de contrôle de station numériques et analogiques.
Le codage, le cryptage et le contrôle de la station numérique
nécessitaient des circuits supplémentaires substantiels
pour gérer toutes les formes de codage requises. Avec
des composants discrets, deux baies d'équipement de sept
pieds de haut étaient nécessaires pour desservir
dix stations numériques. Le programme stocké était
une adaptation du programme ESS n° 1 pour gérer les
différents réseaux et fonctionnalités requis
pour ce système. Le programme total a été
estimé à 200 000 mots par rapport aux 110 000
mots fournis dans le programme Succasunna.
Les unités d'équipement étaient presque
électriquement équivalentes à leurs homologues
n ° 1 ESS, mais une refonte physique substantielle était
nécessaire pour répondre aux exigences environnementales
militaires.
La figure 9-47 est une photographie d'une allée du modèle
d'essai UNICOM à Holmdel

Les grilles au bas de plusieurs des cadres sont destinées
à la climatisation forcée requise dans environ
quinze pour cent de l'équipement
En octobre 1963, des appels ont été placés
dans le système à l'aide de programmes de test
simplifiés. En 1964, la portée du projet avait
été réduite au modèle de test lui-même
et le projet avait été renommé (Defense
Automatic Integrated Switch-DAIS). 57 Bien que le modèle
de test UNICOM était destiné à être
unique en son genre, ses capacités ont été
démontrées avec succès au Signal Corps,
et une grande partie de l'effort de développement a porté
ses fruits dans d'autres projets ESS.
5.5 AUTOVON
La Defense Communication Agency (DCA) a établi au début
des années 1960 un réseau mondial de télécommunications
à 4 fils.
Le nouveau réseau (qui a remplacé la proposition
UNICOM) combinait le réseau NORAD/ADS (NOrth American
Air Defence Command/Automatic Dial Switching System) de l'Air
Force et le réseau américain SCAN (Switched Circuit
Automatic Network) de l'armée en un seul réseau
désigné.
SCAN a été activé en 1961 et NORAD / ADS
en 1963, tous deux utilisant des systèmes de barres transversales
n ° 5 à 4 fils spécialement conçus
développés par Bell Labs à partir de 1959
( voir Chapitre 11 section 1.9).
AUTOVON devait être un réseau de commutation de
bout en bout à 4 fils.
La Fig. 9-48 montre une version à 4 fils du commutateur
ferré qui a été développé
pour UNICOM et le projet AUTOVON (voir Fig. 9-47. Rangée
d'équipements de commutation UNICOM qui utilisaient un
refroidissement par air forcé, un exemple de conception
spéciale pour répondre exigences militaires. ci-dessous).

Figure 9-48. Commutateur ferré spécial à
4 fils conçu pour UNICOM et utilisé par la suite
dans le système AUTOmatic VOice Network (AUTOVON)
La Defense Communication Agency avait pris connaissance du développement
de l'ESS et souhaitait introduire le contrôle de programme
stocké dès que possible dans AUTOVON.
La DAC s'attendait à ce que ses besoins changent et évoluent
rapidement et a reconnu que le contrôle par programme
enregistré lui fournirait un système doté
de la flexibilité de conception nécessaire.
AUTOVON devait principalement servir le ministère de
la Défense, mais il comprenait d'autres communications
gouvernementales et commuterait la voix, la voix cryptée
et les données.
La figure 9-49 montre l'un des postes de commandement de la
défense aérienne devant être desservi par
AUTOVON. Le réseau devait être "survivable"
face à une attaque nucléaire. Les centres de commutation
devaient être situés à l'écart des
centres métropolitains et se trouvaient dans des sites
«renforcés», généralement souterrains.
De plus, les liaisons du réseau devaient être agencées
de manière "polygrid" beaucoup plus redondante
que le réseau de péage hiérarchique de
Bell..
Figure 9-49. Poste de commandement de la défense aérienne
desservi par AUTOVON.
Les ingénieurs travaillant sur le commutateur
temporel ont ensuite pu appliquer leurs connaissances à
la conception du commutateur temporel de l'ESS n ° 4.
De nombreuses caractéristiques uniques du système
UNICOM sont décrites au chapitre 12 du volume de cette
série sous-titré National Service in War and Peace
(1925-1975)
La figure 9-50 montre la grille des circuits interurbains AUTOVON
à travers les États-Unis continentaux (voir réf.
59). Même avec la perte de nombreux liens et centres du
réseau, les appels pourraient être connectés
aux centres survivant à une attaque nucléaire.

Figure 9-50 Concept de réseau polygrid pour AUTOVON,
qui offre une plus grande redondance que les réseaux
commerciaux et donc une plus grande capacité de survie
face à une attaque nucléaire.
Le développement des systèmes de commutation électronique
AUTOVON a commencé dans deux domaines chez Bell Laboratories.
En septembre 1963, le développement est autorisé
pour une version 4 fils de l'ESS n°1 pour AUTOVON.
Un autre effort de développement a été
autorisé en juillet 1964 pour un ESS plus petit à
utiliser dans AUTOVON. Ce dernier système était
basé sur un nouveau processeur destiné à
étendre la capacité de l'ESS n°101 au-delà
de 3200 lignes. La nouvelle conception visait à fournir
de petits systèmes de central téléphonique
à 4 et 2 fils utilisant des unités de commutation
similaires à celles déjà conçues
pour les projets 4 et 2 fils du SSE n ° 1. Ce système
a ensuite été nommé n ° 2 ESS .
Le développement n ° 1 ESS AUTOVON a été
formé en 1963 sous la direction de H. N. Seckler en tant
que chef de département et avec un groupe de soutien
pour la conception des équipements. Cette équipe
comprenait environ 50 ingénieurs et programmeurs. En
janvier 1964, l'équipe de développement était
passée à 100 personnes dans trois départements
sous la direction de R. E. Staehler. Un laboratoire de systèmes
a été créé à Holmdel, New
Jersey et a déménagé à Indian Hill,
Illinois en 1966. Au laboratoire d'Indian Hill, deux modèles
de test étaient nécessaires pour répondre
aux besoins de test continus des ingénieurs et des programmeurs.
En mai 1966, quatre systèmes ESS 4 fils n ° 1 sont
simultanément mis en service, suivis d'une cinquième
installation en juillet. Entre-temps, le projet à 4 fils
du SSE n° 2 a rencontré des problèmes techniques
avec les mémoires de processeurs, qui auraient retardé
la disponibilité du système jusqu'à la
fin de 1968. Par conséquent, la partie à 4 fils
du développement des petits bureaux Les débuts
de la commutation électronique
En 1971, un total de 45 AUTOVON ESS à 4 fils n° 1
étaient en service, dont trois au Canada. À ce
moment-là, les besoins logiciels continus avaient été
satisfaits avec le cinquième générique
AUTOVON (AV-5). Des études avaient déjà
été lancées pour déterminer les
besoins de Bell System pour son propre réseau de péage,
et l'effort de développement s'est déplacé
vers ce projet.
VI. ÉLARGISSEMENT DES APPLICATIONS ESS N° 1
À la fin de 1967, l'ESS N° 1 avait été
introduit avec succès dans dix-huit bureaux de onze sociétés
d'exploitation de Bell et un à Montréal pour Bell
du Canada. Le système de Montréal, en service
en janvier 1967, était le premier des huit systèmes
construits et installés par la Northern Electric Company
pour Bell of Canada en vertu d'accords de licence et de fabrication
avec la Western Electric Company.
Il restait beaucoup de travail à faire sur les applications
et les capacités métropolitaines à 2 fils ;
un bureau de banlieue était en cours de développement
(n ° 2 ESS}, et le n ° 101 ESS nécessitait également
du matériel et des logiciels supplémentaires pour
étendre sa gamme d'applications avec les unités
de commutation plus grandes déjà décrites.
À cette fin, un nouveau grand laboratoire - l'Indien
Hill Laboratory a ouvert ses portes à Naperville, dans
l'Illinois, à l'été 1966. Toute la division
de commutation électronique de plus de 800 ingénieurs,
techniciens et personnel de soutien a été transférée,
à partir de juillet 1966, de Holmdel et Columbus, Ohio
à Indian Hill, avec R. W. Ketchledge comme directeur
exécutif.
Le nouveau bâtiment comprenait une section consacrée
aux modèles de test en laboratoire des différents
systèmes. Jusqu'à ce qu'ils soient pleinement
opérationnels, le modèle de test ESS n ° 1
a été conservé à Holmdel, et une
équipe d'une quinzaine d'ingénieurs et de programmeurs
a continué à travailler dans ce laboratoire jusqu'à
sa fermeture en juillet 1968.
Lors de la mise en place des laboratoires à Indian Hill,
des installations supplémentaires ont été
fournies pour répondre à la demande accrue de
tests de systèmes. À la mi-1968, les modèles
de test suivants étaient en service : deux systèmes
ESS n°1 à 2 fils, deux systèmes
ESS n°1 à 4 fils, l'ESS n°2, l'ESS n°101
et l'ESS n°1 Fonctionnalités de données (ADF).
(No. 1 ESS ADF est décrit dans la section 6.3.)
Tous ces laboratoires étaient exploités par des
groupes dont les responsabilités étaient (1) de
planifier la conception et le fonctionnement des modèles
d'essai et de l'équipement d'essai de soutien, (2) de
diriger l'installation et mise en service de chacun de ces systèmes
de bureau central, (3) pour maintenir le bon fonctionnement
et la bonne disponibilité des installations de laboratoire,
et (4) pour planifier, concevoir, construire et exploiter de
nouveaux accessoires de test pour augmenter l'efficacité
et l'efficience des tests . Ce type d'effort important nécessite
des personnes dévouées et généralement
une connaissance large et approfondie de l'ensemble du système.
Bien entendu, les modèles de test de systèmes
ont été complétés par de nombreux
laboratoires plus petits consacrés à la conception
de circuits, de châssis et de physique. De plus, un grand
centre informatique a été établi pour fournir
le soutien nécessaire aux logiciels génériques
et aux programmes de soutien technique requis par les divers
systèmes. Cette période a vu un accent accru sur
l'utilisation des ordinateurs de support pour améliorer
la productivité des concepteurs et des testeurs de logiciels
et de matériel. Il a été reconnu que l'élaboration
d'une méthodologie administrative était primordiale
pour pouvoir répondre aux besoins des compagnies de téléphone
en exploitation.
Des aides informatiques à divers aspects de la conception
du SSE ont été développées.
Certains d'entre eux étaient basés sur l'expérience
des années 1950 avec le système Morris. D'autres
ont été adoptés à partir d'autres
sources et affinés pour être utilisés dans
le développement du SSE. Ceux-ci comprenaient (1) la
simulation de programmes opérationnels, (2) la simulation
de conceptions logiques, (3) des programmes d'analyse de circuits,
(4) des synthétiseurs et analyseurs de test de diagnostic,
(5) des synthétiseurs de configuration de circuits imprimés,
(6) des programmes d'analyse thermique pour l'équipement
conception, (7) compilateurs et assembleurs, (8) programmes
d'ingénierie de bureau et (9) logiciels interactifs à
temps partagé pour travailler avec certains des programmes
énumérés ci-dessus. 61 De plus, l'intégration
d'ordinateurs dans les modèles de test pour rationaliser
les tests et obtenir des résultats de test a été
fournie dans tous les laboratoires de modèles de test.
Ces installations informatiques de petite et moyenne taille
comprenaient des terminaux à clavier interactif, des
transporteurs de bandes magnétiques, des mémoires
sur disque et des imprimantes en ligne à grande vitesse,
ainsi que des lecteurs de cartes perforées pour faciliter
l'ensemble de la procédure de test. La figure 9-51 montre
un système de support de modèle de test de laboratoire
typique.
L'un des tests importants consiste à tester la charge
pour déterminer la capacité de transport d'appels
de chaque système ESS. Des tests de charge ont été
effectués sur chacun des systèmes avec des « boîtes
de chargement », qui fournissaient des départs
d'appel, la numérotation (ou la saisie d'appels TOUCH-TONE
téléphone, marque commerciale d'AT&T Co.)
,la réponse sur les lignes de terminaison et la raccrochage
de l'appel. et lignes appelées, et répétition
du processus. Ces boîtes de charge pourraient générer
dix numéros différents pour 50 lignes d'origine.
Figure 9-51. Installation informatique
utilisée à l'appui du modèle d'essai du
laboratoire n° 1 ESS.
Une installation réelle a été testée
avec des boîtes de chargement avant sa mise en service
lorsque de nouveaux programmes ou des améliorations matérielles
de la capacité du processeur ont été introduits.
La capacité limitée du réseau et/ou des
terminaux des modèles de test, en particulier des systèmes
plus grands, a empêché un test à pleine
charge en laboratoire.
Au fur et à mesure que la capacité de l'ESS n
° 1 a été augmentée, dix boîtes
de chargement ou plus ont été nécessaires
pour tester pleinement la capacité de transport d'appels
des systèmes
Des aides matérielles et logicielles ESS supplémentaires
ont été utilisées pour doubler la charge
offerte par les boîtes de chargement. Des techniques de
boîte de charge plus puissantes ont été
conçues, utilisant des mini-ordinateurs pour augmenter
la capacité de charge offerte.

La Fig. 9-52 montre une boîte de chargement capable de
fournir jusqu'à 6 000 appels par heure.
Un simulateur d'appel électronique programmable (PECS),
comprenant un ordinateur commercial, a été conçu
et construit pour générer automatiquement le trafic
téléphonique sur les terminaux de ligne et de
jonction dans le laboratoire. Il pourrait générer,
et répéter si nécessaire, un appel inhabituel
Fig. 9-52. Boîte de chargement utilisée pour tester
les systèmes de développement et installés
du SSE n° 1. L'unité a passé jusqu'à
6000 appels téléphoniques simulés par heure
(Proceedings, Fall Joint Computer Conference, IEEE Vol. 41,
1972.) modèles de séquence pour tester toute fonction
de traitement d'appel. Dans un autre cas, des appels de test
ont été générés dans un modèle
de test pour fournir une charge offerte à un deuxième
modèle de test. Lors du développement de l'ESS
n°4, un ordinateur a été programmé
pour simuler les réseaux, les terminaux et le trafic
offert.
6.1 Processeur de signal et amélioration de la capacité
Alors que le basculement des premiers bureaux en 1965 et 1966
était l'aboutissement d'un très gros effort, d'autres
travaux étaient nécessaires pour amener l'ESS
n° 1 à pleine maturité. L'une des tâches
consistait à fournir la capacité de transport
d'appels nécessaire dans les très grandes installations
métropolitaines.
La capacité de transport d'appels d'un système
de contrôle à programme enregistré est généralement
limitée par la complexité du programme, la puissance
du répertoire d'instructions pour exécuter les
étapes du programme et la vitesse avec laquelle le contrôle
commun peut exécuter le flux d'instructions pour accomplir
ses tâches. Pour augmenter la capacité de transport
d'appels dans les grands bureaux, l'ESS n ° 1 devait y ajouter
une ou plusieurs paires de processeurs de signal pour soulager
le contrôle central des tâches de programme plus
routinières telles que la numérisation de lignes
et la mise en place et le démontage. de connexions dans
le réseau ferré. Il a ensuite été
décidé de ne fournir qu'une seule paire de processeurs
de signal dans les grands bureaux, conformément aux autres
limitations imposées par la taille maximale du réseau
de commutation. Dans cette configuration, l'ESS n°1 a été
estimé atteindre une capacité de pointe de 100
000 appels par heure.
La capacité du système avec uniquement le contrôle
central a été estimée entre 42 000 et 53
000 appels par heure, selon la combinaison de types d'appels
traités. Ces estimations ont été obtenues
en 1962 en utilisant les premières prédictions
du nombre de cycles de fonctionnement (à 5,5 microsecondes
par instruction de commande centrale) nécessaires pour
exécuter des programmes de traitement d'appels. Les estimations,
qui représentaient les objectifs de conception, ont été
révisées à la fin de 1964 lorsque le programme
de Succasunna était beaucoup plus proche de son achèvement.
La capacité a ensuite été calculée
à 80 000 appels par heure avec un processeur de signal
et 37 000 pour un bureau de contrôle central.
Le processeur de signal, ainsi que les changements de programme
et les ajouts pour permettre au contrôle central de partager
la charge de travail en coopération, ont d'abord été
planifiés pour un bureau de New York dans l'année
suivant la fermeture du bureau de Succasunna, New Jersey. L'ESS
devait remplacer le premier système Panel de code de
bureau à trois chiffres desservant le bureau PEnnsylvania-6
- le même bureau servant le numéro de téléphone
rendu célèbre par la chanson à succès
du chef d'orchestre Glen Miller .
Les premières installations de l'ESS n ° 1 se trouvaient
dans des environnements limités qui ne géraient
pas une grande variété de signalisations interurbaines.
Le bureau de Beverly Hills dans la section Century City de Los
Angeles comprenait la connexion aux bureaux adjacents étape
par étape, ce qui nécessitait plus de travail
du processeur central pour détecter le lancement d'appels
entrants de commutation électronique (l'équivalent
de contrôle de programme stocké de par opération
de liaison décrite au chapitre 6). En raison de cela
et d'autres exigences de fonctionnalités, le premier
programme générique est entré en service
à Beverly Hills en janvier 1967. Il était connu
sous le nom de CC-1 (contrôle central-1) et nécessitait
plus de 140 000 mots de programme, bien plus que les 111 000
utilisés. dans les installations de Succasunna et Chase,
Maryland.
Le concept de programme générique a été
adopté pour desservir de nombreuses installations plutôt
que d'adapter le programme à chaque installation. Cela
a grandement simplifié les tâches d'écriture
et de test des programmes plutôt complexes pour fournir
la grande variété de fonctionnalités demandées
par l'ESS n ° 1. L'ESS de Beverly Hills était deux
à trois fois plus grand que ses prédécesseurs,
desservant environ 11 600 lignes de clients, et a été
sélectionné pour obtenir des mesures de la capacité
de transport d'appels du contrôle central avec les programmes
CC1. Une équipe des laboratoires Bell et de Western Electric
était stationnée à Beverly Hills pour effectuer
le débogage des fonctionnalités sur site et tester
la capacité de transport des appels. À l'automne
1966, un certain nombre de boîtiers de chargement d'appels
de test ont été connectés à l'ESS,
et la capacité a été déterminée
à 27 000 appels par heure, ce qui est suffisant pour
Beverly Hills au moment du basculement, mais inférieur
aux attentes antérieures.
Le programme Succasunna a été conçu et
écrit pour conserver la quantité de mémoire
de programme et de mémoire temporaire requise, et cet
objectif a été atteint au détriment de
la nécessité de plus de cycles d'exécution
de programme pour traiter les appels que précédemment
estimé, et le premier programme générique
a hérité de cette caractéristique. Il a
également été reconnu qu'une réduction
correspondante de la capacité se répercuterait
sur les installations utilisant le processeur de signal. Les
développeurs d'ESS ont commencé à étudier
les moyens d'augmenter la capacité de transport des appels.
Figure 9-53. Croissance régulière de la capacité
de transport d'appels du SSE n° 1, 1966-1972.
La figure 9-53 montre l'historique des
améliorations de la capacité d'appel, y compris
les "solutions rapides" au programme générique
CC-1 fourni au début de 1967. Les améliorations
du bureau de contrôle central étaient principalement
logicielles et, comme on peut le voir, ont atteint les premiers
objectifs. en 1973 .
Les données du processeur de signal montrent la capacité
accrue obtenue en 1968, lors de la mise en service de l'installation
PEnnsylvania-6. Son programme générique, le SP-1
ou processeur de signal-1, était nettement plus volumineux
que le CC-1. Le processeur de signal ESS n ° 1 a doublé
la capacité de transport d'appels à environ 70
000 appels par heure, et les améliorations logicielles
appliquées à la configuration de contrôle
central ont également amélioré les bureaux
du processeur de signal.
La figure 9-54 est un schéma fonctionnel simplifié
de l'ESS n° 1 montrant les interconnexions du processeur
de signal. Toutes les opérations de balayage de ligne
et de tronc de routine ont été transférées
au processeur de signal.

Figure 9-54. Schéma fonctionnel de l'ESS n ° 1 montrant
les interconnexions du processeur de signal pour doubler la
capacité de transport d'appels du système (janvier
1963).
Les résultats de ses opérations étaient
stockés dans sa propre mémoire temporaire, et
la commande centrale accédait à ces emplacements
de mémoire (magasins d'appels du processeur de signal)
pour récupérer ces résultats afin d'effectuer
son traitement d'appel. La commande centrale a renvoyé
les informations de sortie au processeur de signal, de sorte
que ce dernier exécute des commandes pour établir
des connexions réseau, faire fonctionner les circuits
de service nécessaires et effectuer des opérations
de supervision et de signalisation de jonction. Il était
prévu que de nombreuses installations puissent commencer
le service avec la commande centrale uniquement et que le processeur
de signal soit ajouté chaque fois que les lignes des
clients du bureau et les besoins d'appels dépassaient
la capacité initiale. La croissance vers de plus grandes
tailles (au lieu de démarrer un deuxième SSE à
ce moment-là) a permis d'améliorer l'efficacité
de la commutation et des liaisons et de réduire considérablement
les dépenses des compagnies de téléphone.
Cette procédure de croissance complexe du matériel
et des logiciels a été réalisée
lors d'essais sur le terrain dans des bureaux en service à
Philadelphie, Détroit et Denver. Il est ensuite devenu
disponible en tant que procédure d'installation standard
en 1971
Une amélioration matérielle supplémentaire
a été appliquée aux bureaux du processeur
de signal afin de réduire la reconfiguration du réseau
nécessaire lors des étapes successives d'établissement
des appels. Le réseau de liaison de service, ou SLN,
a rationalisé les opérations de traitement des
appels et du signal à un coût supplémentaire
pour le réseau de commutation ESS n°1. 67 L'ajout
de la SLN a initialement augmenté la capacité
des plus grands bureaux de 15 %
Un exemple de simplification du SLN dans l'établissement
de la connexion requise pour la sonnerie, suivie de la transition
vers une connexion de conversation, est représenté
pour un appel entrant sur la Fig. 9-55. Sur les appels réseau
entrants, le réseau de liaison de service permet d'économiser
10 opérations réseau et 25 % du temps de traitement
lors de la configuration d'une connexion qui sonne
Au lieu de trois chemins - sonnerie, sonnerie audible de l'appelant
et conversation seule, deux chemins sont nécessaires
car un seul chemin dessert à la fois les connexions de
sonnerie et de conversation. Le chemin de sonnerie/conversation
est divisé au niveau du SLN. Le nombre d'opérations
réseau requises pour une connexion qui sonne est ainsi
réduit des 19 nécessaires.
Le premier SLN a été mis en service dans le Chicago
Calumet No.1 ESS en avril 1970. Des améliorations ultérieures
du logiciel ont complété les gains dus au SLN.
Par conséquent, le réseau de liaison de service,
avec son matériel supplémentaire, n'est plus nécessaire
ni proposé. En 1973, les objectifs initiaux de capacité
d'appel pour l'ESS n ° 1 avaient été atteints
et dépassés par les seuls raffinements logiciels
Figure 9-55. Exemple de la façon dont le réseau
de liaison de service (SLN) augmente la capacité de l'ESS
n°1. Avec SLN (en bas), moins d'opérations réseau
sont nécessaires pour configurer les chemins pour :sonnerie
et conversation qu'avec l'arrangement précédent
(en haut).
6.2 Centrex
Centrex est le nom d'un ensemble de services d'affaires de type
PBX qui ont été offerts pour la première
fois en 1962 aux clients desservis par le 5. crossbar (voir
le chapitre 11, section 1.4 et le chapitre 13, section 3.1).
Il a été conçu pour permettre la numérotation
directe vers l'intérieur et vers l'extérieur d'un
groupe de téléphones, réduisant ainsi la
charge de travail du client d'affaires et permettant un traitement
plus rapide des appels entrants et sortants. La responsabilité
de l'utilisation par téléphone peut être
fournie par le biais d'une facturation détaillée.
Avec Centrex-CO, au lieu de fournir un système de commutation
sur place, tous les téléphones et les boucles
de standard sont renvoyés au central, qui exécute
les diverses fonctions de commutation requises. Cela réduit
la quantité d'équipements dans les locaux des
clients et le nombre de visites nécessaires pour entretenir
et reconfigurer l'équipement téléphonique
des clients. Ainsi, un compromis économique est fait
entre davantage de boucles de clients et moins de charge de
travail associée et le partage de l'équipement
et des opérations de commutation du central. Le système
de commutation du central téléphonique peut desservir
un certain nombre de groupes de clients Centrex, chacun avec
son propre ensemble de services sélectionnés et
de caractéristiques de fonctionnement. Par conséquent,
puisque le SSE no 1 a été conçu pour répondre
aux besoins métropolitains, il était important
que Centrex soit inclus comme offre de service
Un ensemble de 20 fonctions téléphoniques, de
standardiste et de partage nécessitait quelque 30 000
mots de programme pour le SSE n° 1, et le programme générique,
Centrex-1, a été mis en service pour la première
fois dans le central de Philadelphie, Locust en avril 1968.
Les fonctions inclus numérotation poste à poste
à 4 chiffres, transfert d'appels d'un téléphone
à un autre avec l'aide de l'opératrice, composition
des appels "0" à l'opératrice et accès
à des groupes de lignes réseau spéciaux
tels que le change (FX), large le service téléphonique
régional (WATS) et les accords de commutation de commande
commune (CCSA). Des fonctionnalités ont été
ajoutées aux offres Centrex avec des problèmes
de programme successifs. Le tableau 9-1 montre les principales
fonctionnalités fournies et ajoutées dans la séquence
des problèmes de programme du Centrex-1 au Centrex-7.
Avec la facilité relative de ces ajouts de fonctionnalités,
l'ESS n ° 1 est devenu le véhicule le plus attrayant
pour Centrex.

En décembre 1969, un ESS Centrex n ° 1 a été
mis en service au Pentagone à Arlington, en Virginie.
En 1971, il desservait 17 000 téléphones Centrex
et nécessitait 74 préposés.
Pour certaines des fonctionnalités les plus sophistiquées
de l'opérateur, une liaison de données a été
fournie pour une communication bidirectionnelle entre l'ESS
n° 1 et la console de l'opérateur. Une armoire de
commande, située dans les locaux du client, était
nécessaire, comme le montre la Fig. 9-56, pour assurer
l'interface entre la console et la liaison de données.

Figure 9-56. Jack Leidy, Pennsylvania Bell, vérifiant
le contrôleur de la console d'un opérateur Centrex
Dans des configurations plus petites et moins complexes, la
console de l'opératrice serait remplacée par un
téléphone à touches multiples. Une console
plus récente, le système des locaux du client
SOA, comportait des sélections directes de station (DSS)
et un champ de ligne occupée (BLF). La SOA a été
mise en service pour la première fois en 1973 et offre,
pour les petits groupes Centrex, une autre alternative à
la console contrôlée par liaison de données.
Centrex ESS n°1
Centrex-1 Générique :Programme : Fonctionnalités
de la console pour le fonctionnement de l'opératrice
Composition directe à l'arrivée Composition automatique
à l'extérieur identifiée Dispositions de
recherche de station Restriction de l'appel sur les appels sortants
Capacité de l'individu/de l'opératrice à
transférer des appels vers une autre ligne ajouter un
tiers à la connexion Capacités de dictée
automatique contrôlées par numérotation
Capacité d'accéder aux lignes de change, aux lignes
de liaison, aux lignes W A TS ou à des parties du réseau
public agissant comme un réseau privé d'entreprise
Capacité d'acheminer les appels entrants CE!rtain vers
le premier inactif d'une liste de postes désignés
Recherche de personnes Acheminement des appels en dehors des
heures d'ouverture vers un emplacement fixe, généralement
le poste de l'opérateur réseau Programme générique
Centrex-4 : Fonctionnement de la ligne de liaison en tandem
Appel TOUCH-TONE® sur les appels entrants Programme générique
Centrex-5 : Renvoi d'appel et appel en attente Capacités
supplémentaires d'appel et de test du standard Programme
générique Centrex-6 : Capacité de distribution
automatique des appels Poste supplémentaire -capacités
de recherche Utilisateur de poste capable d'établir des
conférences téléphoniques Affectation variable
de la connexion des appels en dehors des heures d'ouverture
Programme générique Centrex-7 : capacités
supplémentaires pour la distribution automatique des
appels Fonctionnalités pour l'utilisation du Centrex
dans un hôtel/motel ou un hôpital .
Le n° 1 ESS Arranged for Data Features (ADF) est un système
de commutation de données de stockage et de transfert
conçu pour gérer les messages entre les téléscripteurs
à faible vitesse et les ports d'ordinateur. C'était
le premier système électronique à gérer
le trafic TWX dans le système Bell, et au moment de son
premier service pour le département Long Lines d'AT&T
en février 1969, il était unique dans sa capacité
de traitement du trafic et les débuts des services d'exploitation
de commutation électronique. et fonctionnalités.
Il dessert plus de 1 250 téléscripteurs à
quatre rangées (ASCII) et ports informatiques à
faible vitesse. Le N° 1 ESS ADF hiérarchise, met
en file d'attente, reçoit et délivre jusqu'à
100 000 messages avec plus de 120 millions de caractères
par jour à des téléscripteurs ayant différentes
vitesses de fonctionnement et différents jeux de caractères
(Baudot ou ASCII). Il permet la livraison de plusieurs messages
sur la base d'un seul message d'origine, ordonne la livraison
des messages selon un code de priorité à quatre
niveaux désigné dans le message d'origine et stocke
les messages livrés sur un fichier de bande magnétique
pour une récupération ultérieure. Ces fonctionnalités
et bien d'autres sont utilisées quotidiennement dans
l'installation unique de New York, qui gère tous les
messages administratifs de Long Lines, les commandes de services
commerciaux, les commandes de services de trafic, les résultats
de service, la paie, les commandes de circuits d'usine, les
rapports d'analyse des dépenses.
En basant la conception ADF sur la technologie ESS n ° 1,
les efforts de développement et de fabrication ont été
minimisés et la haute fiabilité des systèmes
de commutation téléphonique a été
atteinte. Soixante pour cent du matériel ADF et 25 %
des 250 000 mots du programme sont des conceptions ESS standard
n° 1 déjà utilisées.
Le schéma fonctionnel de la Fig. 9-57 indique le nouvel
équipement conçu pour l'ADF ESS n° 1. La mémoire
de messages est une mémoire à disque magnétique
à grande vitesse qui a ensuite été adaptée
pour être utilisée dans le système d'interception
automatique (voir chapitre 10, section III)
Figure 9-57. Nouvel équipement conçu pour le N°1
ESS ADF (Arranged for Data Features). Les débuts de la
commutation électronique .
Fig. 9-58 shows the connection of terminals
to the system. As indicated, a number of teletypewriters may
share the same narrow band line. In this instance, ADF recognizes
the "party line," polls individual
stations in turn for incoming messages, and queues out going
messages for sequential delivery.

Figure 9-58. Raccordement des terminaux au N°1 ESS ADF
La fiabilité de l'installation initiale a été
surveillée et signalée comme étant de loin
supérieure à celle des systèmes de commutation
de données électromécaniques antérieurs.
Après la première semaine de service, ADF a livré
plus de dix millions de messages au cours des dix-sept mois
suivants sans perte ni erreur d'acheminement. Au moment du déploiement
de l'installation ADF, AT&T avait accepté de vendre
son réseau de téléscripteurs commutés
(TWX) à Western Union (voir chapitre 13, section 5.4).
Cela a évité le besoin d'installations supplémentaires
et le déploiement futur a cessé.
6.4 Stockage d'appels 32K
La mémoire temporaire initialement fournie avec l'ESS
n°1 était la feuille de ferrite, qui utilisait des
réseaux de 256 noyaux magnétiques fabriqués
en série ainsi que des techniques de câblage simplifiées
(voir ce chapitre, section 4.7.1). Les ingénieurs de
circuits des laboratoires Bell dans les domaines de la recherche
et du développement ont continué à rechercher
des mémoires temporaires plus petites et plus rapides
en étudiant de nouveaux matériaux, circuits et
techniques d'assemblage. Dans le cadre de cet effort continu,
des matrices de mémoire à noyau magnétique
individuelles ont été étudiées et
un certain nombre de modules ont été achetés
pour être utilisés dans l'un des laboratoires des
systèmes d'Indian Hill à la fin des années
1960.
Un câblage plus simple des matrices de noyau (bidimensionnel
au lieu de trois dimensions), des techniques automatiques d'assemblage
et de câblage des tapis de noyau et la possibilité
de fabriquer des noyaux de ferrite frittés plus petits
et plus rapides ont été développés
par l'industrie de la mémoire informatique.
À ces contributions, les Bell Labs ont ajouté
de nouvelles façons de tester les curs pour assurer
la minimisation du bruit de navette du cur et de nouveaux
circuits d'accès qui permettaient des tailles de mémoire
plus pratiques pour l'application ESS et des vitesses de fonctionnement
plus rapides que celles obtenues auparavant à partir
de mémoires de cur de matrice bidimensionnelle.
74 Le résultat a été une nouvelle mémoire
temporaire à utiliser dans l'ESS n° 1.
La figure 9-59 montre l'amélioration spectaculaire des
trames de mémoire utilisées dans les plus grandes
installations ESS
Le module mémoire est de 32 000 mots (d'où le
nom 32K) de 24 bits chacun, soit quatre fois le nombre de mots
de son prédécesseur .
Figure 9-59. Amélioration de la taille et de la puissance
des trames de mémoire ESS n°1 obtenues avec les mémoires
d'appels 32K. (Symposium Record, International Switching Symposium,
Kyoto, Japon, octobre 1976.)
La Fig. 9-60 montre l'analyse économique qui a conduit
à la sélection de la nouvelle taille de module.

Figure 9-60. Analyse économique conduisant à une
taille optimale de la mémoire temporaire n° 1 ESS.
Les bits par ligne multipliés par le coût par bit
impliquaient un module de l'ordre d'un million de bits. (Actes,
Conférence de l'IEE sur les techniques de commutation
pour les réseaux de télécommunications,
avril 1969.)
Les premières mémoires 32K ont été
mises en service dans une installation ESS n ° 1 à
Alton, Illinois en 1971. En 1972, tous les nouveaux systèmes
ESS n ° 1 expédiés par Western Electric utilisaient
exclusivement la mémoire temporaire 32K.
La mémoire 32K est moins chère à acheter
et à entretenir pour les compagnies de téléphone
en exploitation. Grâce à l'utilisation de techniques
de circuits intégrés dans les circuits d'accès
à la mémoire et de commande, beaucoup moins de
blocs de circuits enfichables sont nécessaires. Cela
permet une résolution diagnostique améliorée
des défauts de circuit. De plus, le module de mémoire
centrale peut fonctionner, avec différents circuits d'accès,
à quatre fois la vitesse requise pour l'ESS n°1.
Ce fait a permis un module commun à l'ESS n°1 et
à un autre projet décrit ci-dessous dans la section
6. 9 de ce chapitre.
6.5 Programmes génériques et ajouts de fonctionnalités
Comme indiqué précédemment, l'ensemble
complet des programmes de traitement, d'exploitation, d'administration
et de maintenance des appels est relativement volumineux et
complexe - plus de 200 programmes fonctionnels totalisant de
150 000 à plus de 300 000 mots pour l'ESS n° 1. La
décision a été prise relativement tôt
de concevoir un programme unique qui couvrirait toutes les applications
ou les principaux segments d'applications, d'où le terme
"programme générique" pour ESS. Il a
été reconnu que de tels programmes nécessiteraient
plus de mémoire et prendraient plus de temps à
s'exécuter (et donc réduiraient la capacité
de traitement des appels du processeur) que des programmes adaptés
à chaque installation. Le résultat a été
un effort de développement réduit et de meilleurs
programmes débogués pour toutes les installations
(Ces facteurs ont réduit le coût des programmes
pour les sociétés d'exploitation, compensant ainsi
la mémoire supplémentaire et le traitement en
temps réel requis.) L'utilisation du programme générique
avec une table .des paramètres de bureau par opposition
aux programmes sur mesure est illustré à la Fig.
9-61
Figure 9-61. Programmes génériques versus programmes
sur mesure pour le n°1
L'un des avantages significatifs de l'approche de programme
stocké est la facilité relative d'ajouter des
fonctionnalités et des services. Presque chaque année,
le programme générique a été mis
à jour pour fournir un flux constant d'améliorations
au SSE n° 1. La fréquence et la taille de ces évolutions
sont régulées par le travail nécessaire
pour définir et documenter (avec AT&T) les fonctionnalités
et services, écrire les programmes, les déboguer
d'abord en laboratoire, puis dans un système de "première
application" sur le terrain. , et avec Western Electric,
rendre la nouvelle édition du programme générique
généralement disponible sur le terrain. Il y a
toujours plus de candidats pour des fonctionnalités et
des services supplémentaires qu'il n'est possible de
développer dans une seule mise à jour du programme.
Une priorité ou soi-disant "liste d'épicerie"
est établie, et des décisions doivent être
prises quant aux éléments à inclure dans
chaque nouveau développement de programme générique.
Les ingénieurs système des Bell Labs estiment
les économies ou les revenus générés
par diverses améliorations, les équipes de développement
évaluent la quantité d'efforts et le nombre de
mots de programme requis, et AT&T prépare une liste
de priorités pour chaque nouveau numéro d'un programme
générique pour ESS.
La Fig. 9-62 montre la répartition des fonctionnalités
et la mémoire de programmes requises pour l'ESS n°
1. 77 L'ensemble croissant de fonctionnalités pour les
clients Centrex, qui ne représente qu'une partie de la
croissance du programme générique, a été
détaillé ci-dessus dans la section 6.2.

Figure 9-62. N ° 1 ESS-Distribution des fonctionnalités
et des exigences de stockage du programme. (Symposium Record,
International Switching Symposium, Paris, avril 1979.)
La figure 9-63 montre les variétés de programmes
génériques et la croissance de la mémoire
requise.
Figure 9-63. Variétés de
programmes de gemmes et croissance des besoins en mémoire.
Les non-Centrex. les programmes génériques n'ont
pas été poursuivis au-delà du numéro
3. (Symposium Record, International Switching Symposium, Paris,
avril 1979.)
Puisqu'il était nécessaire que la plupart des
installations du SSE no 1 fournissent le service Centrex, les
programmes génériques autres que Centrex n'ont
pas été poursuivis au-delà du numéro
3. Plus tard, le concept de programme générique
a été réexaminé à la lumière
d'importants ajouts au programme à utiliser dans applications
plus limitées. En 1976, les programmes génériques
ont été séparés en un programme
de base, avec des fonctionnalités utilisées dans
presque toutes les applications, et des packages de fonctionnalités,
qui pouvaient éventuellement être sélectionnés
et chargés dans des installations individuelles selon
les besoins. Les grands programmes (par exemple, ESS-ACD et
service de téléphonie mobile ou AMPS) sont fournis
au besoin. Cette limitation de la taille du programme a soulagé
les sociétés d'exploitation de l'achat de stockage
inutile de programmes inutilisés. À cette époque,
les techniques de débogage et d'intégration de
nouveaux logiciels avaient suffisamment progressé pour
rendre cette approche plus pratique.
6.6 Réseau Remeded (remendur)
Lorsque le ferreed a été proposé pour la
première fois à la fin des années 1950,
l'idée d'utiliser les anches elles-mêmes comme
structure magnétique de verrouillage a été
proposée par RL Peek. À l'époque, cependant,
l'interrupteur à lames ne pouvait pas être fabriqué
de manière cohérente avec les propriétés
magnétiques nécessaires. Ce problème a
été surmonté en 1970, lorsqu'on s'est rendu
compte que l'emboutissage des anches à partir de remendur
recuit assurait le travail à froid nécessaire
du métal. En fabriquant les lames métalliques
de l'interrupteur reed de remendur (d'où le nom remreed),
l'ensemble de la structure de l'interrupteur peut être
réduit en volume à un quart de la taille de l'interrupteur
ferré correspondant.
Les ferrods du scanner ont également été
réduits en taille et les relais d'accès à
ressort filaire ont été remplacés par des
transistors pnpn et des diodes d'accès.
Ces composants sont directement montés dans un boîtier
de deux commutateurs huit par huit. Des circuits intégrés
ont également été introduits dans les contrôleurs
de réseau. Lors de son introduction, l'intégration
à petite échelle (SSI) était réalisable.
La figure 9-64 montre les réductions de taille initiales
et la réduction supplémentaire des composants
et des interconnexions avec l'utilisation de l'intégration
à grande échelle.
Figure 9-64. Réduction de la taille du commutateur remreed
par rapport aux deux commutateurs ferreed équivalents
(a) et réduction correspondante des circuits de commande
et de leurs interconnexions câblées et liées
(b). (Symposium Record, International Switching Symposium, Kyoto,
Japon, octobre 1976.)
Comme le montre la Fig. 9-65, la réduction de la taille
des composants a entraîné une réduction
de la taille de la trame du réseau ESS n° 1 à
un tiers ou un quart, selon le type de réseau.

Figure 9-65. Réduction spectaculaire de la taille des
composants du réseau de liaison interurbaine du SSE n°
1 rendue possible par le commutateur remreed et les circuits
intégrés. (Sy111posium Record, International Switching
Symposium, Kyoto, Japon, octobre 1976.)
Cela a permis à un réseau de liaisons interurbaines
(TLN) complet desservant 1 000 lignes réseau de s'intégrer
dans un seul cadre d'équipement de 6 pieds 6 pouces.
Le TLN est entièrement assemblé et testé
en usine, puis expédié comme une seule unité
sur le site d'installation. Le TLN ferré se composait
de huit cadres et nécessitait beaucoup plus de câblage
d'installation pour interconnecter ces cadres. Cela nécessitait
également plus de tests de l'unité fonctionnelle
assemblée, car les tests en usine des cadres séparés
étaient plus limités
Figure 9-64. Réduction de la taille du commutateur remreed
par rapport aux deux commutateurs ferreed équivalents
(a) et réduction correspondante des circuits de commande
et de leurs interconnexions câblées et liées
(b).
6. 7 Maintenance centralisée
L'interface entre l'ESS n° 1 et les techniciens de
maintenance se fait au pupitre de commande principal (MCC).
À cet emplacement se trouve une machine à écrire
de maintenance sur laquelle les messages de panne sont imprimés
et les messages d'interrogation et correctifs sont saisis. Tant
que le SSE est suffisamment opérationnel pour communiquer
sur cette liaison, il peut être considéré
comme le principal canal de communication de maintenance. En
tant que sauvegarde au cas où le système deviendrait
inutilisable, le panneau d'affichage et de commande fonctionne
indépendamment de l'ESS pour surveiller l'état
des principales unités fonctionnelles et pour permettre
la reconfiguration manuelle des unités en double. Avec
ces commandes, l'artisan peut essayer de construire un système
opérationnel lorsque l'ESS ne peut pas le faire automatiquement.
L'expérience des premières installations ESS a
montré que les problèmes étaient suffisamment
rares pour que la présence continue des artisans les
plus qualifiés n'était pas nécessaire,
et qu'un dépannage adéquat allait souvent au-delà
de la formation des artisans moins qualifiés. Cela a
conduit à la centralisation et à la concentration
des compétences au sein du centre d'assistance technique
(CAT)
6.7.1 Centre d'assistance technique (CAT)
Le téléimprimeur de maintenance peut être
commandé à distance via une liaison de données
sur une boucle dédiée ou commutée pour
un fonctionnement sans surveillance, et diverses alarmes peuvent
être actionnées en conjonction avec le téléimprimeur
pour déclencher l'alerte en cas de problème mineur
ou difficultés majeures.
Lorsque le nombre d'installations ESS dans une compagnie de
téléphone en activité augmentait, ces connexions
à distance pouvaient être placées à
un seul endroit, connu sous le nom de TAC. Le TAC serait doté
d'artisans hautement qualifiés qui seraient alors beaucoup
plus fréquemment exposés aux problèmes
et deviendraient aptes à relier les problèmes
aux expériences antérieures et à les corriger
rapidement. Les artisans guidaient par téléphone
la personne la moins expérimentée quant aux actions
de dépannage et de réparation à entreprendre,
ou envoyaient un réparateur si le bureau n'était
pas surveillé. Cette amélioration a réussi
à réduire le nombre et l'étendue des difficultés
de bureau qui nécessitaient les efforts encore plus qualifiés
des ingénieurs de contrôle de l'ingénierie
des produits de Western Electric ou des ingénieurs de
développement des Bell Labs.
Cependant, il existait toujours des situations qui nécessitaient
l'accès au panneau de commande et d'affichage de la maintenance ;
si une difficulté survenait et ne pouvait pas être
résolue par la liaison téléimprimeur, l'envoi
d'un artisan pourrait prolonger une panne totale du bureau pendant
plusieurs heures.
Cela a conduit naturellement à l'étape suivante
: la possibilité d'observer et d'utiliser à distance
le panneau de commande et d'affichage via une liaison de données
de qualité vocale.
6.7.2 Switching Control Center (SCC)
Des expériences à Chicago en 1972 utilisant la
télécommande et l'affichage ont conduit au Switching
Control Center (SCC), qui a remplacé le TAC et a stimulé
la planification d'outils analytiques supplémentaires.
L'étape suivante a été l'ajout d'un mini-ordinateur
pour aider le personnel d'artisanat du SCC. Le mini-ordinateur
surveillerait les messages entrants, les enregistrerait sur
une bande magnétique pour une récupération
ultérieure, et détecterait et mettrait en évidence
les messages qui nécessitaient l'attention du personnel
de sécurité. Il a également permis aux
artisans de parcourir les messages sur un écran à
tube cathodique en faisant défiler les commandes et de
trier et filtrer chronologiquement les messages pour aider à
détecter des modèles parmi de longues séquences
d'impressions de problèmes. De brefs messages de téléimprimeur
peuvent être complétés par des messages
plus explicites comme une aide supplémentaire pour l'artisan,
et des programmes d'analyse spécifiques déterminent
automatiquement les modèles dans les messages de panne
de réseau. En incorporant un mini-ordinateur dans le
sec, il est devenu possible de desservir de nombreux autres
types de systèmes de contrôle à programme
enregistré, tels que TSPS, n ° 2 et 3 ESS, système
d'interception automatique (AIS), n ° 101 ESS, etc. Le premier
sec avec le système de mini-ordinateur a commencé
à fonctionner à Miami, en Floride, en juin 1974.
L'introduction du contrôle par programme enregistré
dans le bureau central a fourni une détection automatique
des problèmes et une localisation par défaut supérieures
à celles obtenues pour les systèmes de commutation
non SPC. L'ESS obtient un avantage substantiel en termes de
dépenses de maintenance par rapport à la barre
transversale n ° 5 et aux systèmes électromécaniques
antérieurs. La concentration d'artisans qualifiés
et l'automatisation supplémentaire des tests et de l'analyse
des tests fournis avec le sec réduisent encore les dépenses
de maintenance, améliorent la localisation des problèmes
et fournissent une assistance plus experte pour récupérer
les pannes du bureau central.
Au chapitre 11, section 3.3.4, une description d'un SCC pour
la barre transversale n ° 5 est donnée, mais les
améliorations de son efficacité de maintenance
sont limitées par l'accès de test intégré
à la barre transversale n ° 5 .
6.8 Circuits interurbains améliorés pour l'ESS
n° 1
Même si de nombreuses fonctions de circuits interurbains
avaient été placées dans le logiciel pour
l'ESS n° 1, de nouveaux relais, bobines et transformateurs
miniaturisés, ainsi que de meilleurs dispositifs à
semi-conducteurs, ont permis d'autres améliorations spectaculaires
de la taille et du coût des les circuits interurbains
du SSE n° 1. Les circuits de distribution et de balayage
associés ont également été améliorés
pour obtenir une réduction de taille de trois à
sept fois et une réduction des coûts et de l'intervalle
d'installation. Ces améliorations ont été
introduites sur le terrain à partir du printemps 1976
à Salt Lake City, UtahLa Fig. 9-66 montre le châssis
de circuit Universal Trunk (UT) amélioré.
Les cadres UT ont réduit de 25 % l'espace au sol
requis pour un ESS
6.8.1 Circuits de ligne réseau HiLo
Bien que 4 fils ! des réseaux ferrés ont été
conçus et sont utilisés dans le réseau
n ° 1 ESS AUTOVON pour la transmission à péage,
ils sont relativement importants et la production a été
limitée à cette application. Pour répondre
au besoin d'un service à 4 fils, une alternative innovante
a été proposée pour une utilisation avec
le réseau remreed. Le réseau remreed, étant
moins d'un quart de la taille du réseau ferreed, a considérablement
réduit le couplage capacitif et magnétique inhérent
entre la pointe et l'anneau et entre les paires dans les voies
vocales du réseau.
Le nouveau circuit interurbain (voir Fig. 9-67) séparait
la paire en voies unidirectionnelles distinctes. En utilisant
une impédance élevée à l'extrémité
de transmission, la diaphonie inductive est inhibée ;
un récepteur à faible impédance inhibe
la diaphonie à couplage capacitif, d'où le nom
HiLa. Cette technique réduit la diaphonie due à
la transmission déséquilibrée à
un niveau comparable à celui obtenu avec une transmission
équilibrée à 4 fils. L'approche HiLa a
introduit la commutation à 4 fils pour les applications
en tandem et à péage dans l'ESS n ° 1, à
partir d'avril 1977 à Sioux Falls, Dakota du Sud
6. 9 Le processeur 1A
À la fin des années 1960 et au début des
années 1970, plusieurs efforts ont été
lancés pour augmenter la capacité de transport
d'appels de l'ESS n° 1.
Une approche consistait à réécrire les
parties du programme qui étaient de grands utilisateurs
du temps réel du processeur. Un autre était d'augmenter
l'efficacité de l'interconnexion du réseau avec
le réseau de liaison de service (voir la section 6.1
de ce chapitre). Le troisième était d'explorer
la possibilité de fournir un nouveau processeur pour
l'ESS n° 1 en utilisant des technologies plus récentes
- un contrôle central plus rapide et des schémas
d'accès à la mémoire plus rapides. Au cours
de cette étude, il a également été
reconnu qu'un puissant .

Figure 9-66. Cadres de coffre universels pour ESS n ° 1.
Les innovations technologiques ont abouti à une unité
plus petite (à gauche) remplaçant son prédécesseur
(à droite) pour réduire l'espace au sol requis
de 25 %. (Symposium Record, International Switching Symposium,
Kyoto, Japon, octobre 1976.) suffisamment de processeurs pourraient
desservir le SSE interurbain proposé, et éviter
ainsi la nécessité d'un réseau complexe
de multitraitement de processeurs du SSE n° 1 (voir le chapitre
12). Plusieurs architectures de processeur ont été
envisagées, y compris des variantes de technologies de
mémoire. Le développement de ce processeur pour
plusieurs applications a été autorisé par
Western Electric en 1970
Un schéma fonctionnel du processeur 1A est illustré
à la Fig. 9-68

Figure 9-68. Schéma fonctionnel du processeur lA, qui
exécute les instructions quatre à huit fois plus
rapidement que l'ancien contrôle central ESS n ° 1
Bien que cela ne soit pas représenté sur la figure,
la redondance est fournie pour toutes les principales unités
de sous-système et les bus d'interconnexion. Une paire
de commandes centrales est microsynchronisée et l'exécution
de chaque instruction est adaptée. Chaque commande centrale
est composée de 50 000 portes de circuit intégrées
et peut exécuter des instructions quatre à huit
fois plus rapidement que son prédécesseur, la
commande centrale n° 1. La mémoire principale se
compose de deux matrices de modules de mémoire à
noyau magnétique de 32 000 mots décrits précédemment
pour la mémoire de programmes et la mémoire d'appels.
Les mémoires de mémoire de base fonctionnent selon
un cycle système de 1,4 microsecondes et la sauvegarde
est fournie avec une ou deux pièces de rechange itinérantes
(à l'exception de certaines informations critiques où
la duplication complète est conservée). Le schéma
de rechange itinérant plus flexible est intrinsèquement
plus fiable que le schéma de duplication complète
fixe. Étant donné que les modules de mémoire
de base ne conservent pas leurs informations lorsque l'alimentation
est coupée et que les programmes peuvent être écrasés,
la sauvegarde du programme est assurée sur des mémoires
à disque à tête fixe à grande vitesse.

Figure 9-67. Le circuit de jonction HiLo, introduit en 1976,
permettait la commutation à 4 fils dans les applications
tandem et péage ESS n ° 1. (Symposium Record, International
Switching Symposium, Kyoto, Japon, octobre 1976.) .
Le processeur 1A avec mémoires à noyau magnétique
n'occupe que 40 % de l'espace au sol de son prédécesseur.
Sa taille compacte et son câblage interconnecté
entre unités permettent un assemblage et un test complets
du processeur en usine, et un plan d'étage fixe simplifie
l'ingénierie de bureau.
Le processeur 1A a été conçu pour deux
applications : en tant que successeur du processeur central
de commande et de signal de l'ESS n° 1 dans ses applications
locales et en tandem, et en tant que processeur pour le très
grand nouveau bureau de péage, l'ESS n° 4. La structure
de commande du processeur 1A est conçue pour fonctionner
directement avec le programme périphérique ESS
n ° 1 via un processus de conversion logicielle. Cela permet
la réutilisation étendue du logiciel ESS n °
1 avec un minimum d'écriture, de débogage et de
documentation supplémentaires. Un nouveau programme de
processeur commun est requis, mais ce logiciel est utilisé
à la fois dans l'ESS n° 1A et l'ESS n° 4. L'ESS
n ° 4 est entré en service pour la première
fois en janvier 1976 et le premier ESS n ° 1A en octobre
1976, tous deux à Chicago, Illinois. Dans cette dernière
application, le processeur 1A a une capacité de transport
d'appels maximale de 240 000 appels par heure, soit plus du
double de celle de l'ESS n°1.
Étant donné que le processeur 1A est directement
compatible avec le système périphérique
ESS n°1, le processeur 1A peut être installé
ultérieurement dans les installations ESS n°1 existantes.
Étant donné que le processeur 1A peut gérer
plus de deux fois plus d'appels par heure chargée que
son prédécesseur, un processeur 1A d'une modernisation
peut étendre les grands bureaux ESS n° 1 beaucoup
plus loin avant qu'une deuxième entité ne soit
nécessaire.
On estime que la grande capacité de l'ESS n° 1A réduira
le nombre total de grands ESS requis d'ici 1990 de 1 600 à
1 300. Un grand ESS n° 1A peut remplacer plusieurs systèmes
plus anciens, économisant ainsi jusqu'à 25 % de
la jonction.
Les travaux sur ce projet ont commencé en 1973 et la
première rénovation a été effectuée
dans le bureau de San Francisco Folsom Street le 20 janvier
1978. Les processeurs remplacés sont ensuite réutilisés
dans le cadre des nouveaux bureaux ESS n° 1 à d'autres
endroits.
Pour correspondre à la capacité accrue du processeur,
les réseaux de liaison de ligne et de liaison interurbaine
ont été augmentés dans leur nombre et leur
taille maximum. 9-69 montre la relation entre le processeur
et le réseau en fonction de la durée d'attente
de l'appel à l'heure chargée.
Figure 9-69. Les réseaux line link et trunk link ont
été étendus pour gérer un trafic
téléphonique supplémentaire (courbe du
haut), correspondant ainsi à la plus grande capacité
du processeur lA ]. (Symposium Record, International Switching
Symposium, Kyoto, Japon, octobre 1976.)
Le processeur et le réseau sont jumelés pour des
appels de trois minutes, ce qui correspond à la moyenne
des appels locaux dans le système Bell. 86 Les SSE n°
1 et n° 1A utilisent le réseau remreed avec les circuits
interurbains HiLo pour fournir des interconnexions spatiales
à 4 fils. En conséquence, les ESS n° 1 et
n° 1A sont conçus pour fournir des combinaisons de
service local/tandem/péage dans les zones où un
bureau central moderne est nécessaire et pour lesquelles
l'ESS n° 4 est trop grand pour être économique.
6.10 Systèmes de mémoire améliorés
Comme indiqué ci-dessus dans la section 6.4, une mémoire
à noyau magnétique de 32 000 mots a été
introduite en 1971 pour réduire le coût de la mémoire
d'appels n° 1 du SSE. Lorsqu'elle est connectée à
des circuits d'accès plus rapides, cette même mémoire
a servi, à partir de 1976, à la fois de module
de stockage de programmes et de module de stockage d'appels
pour le processeur 1A. La mémoire centrale a réalisé
des réductions substantielles de taille, de puissance
et de coût par rapport au prédécesseur de
la feuille de ferrite. La technologie avait progressé
au début des années 1970 au point où une
mémoire centrale beaucoup plus petite semblait capable
de réaliser une autre réduction de taille et de
coût. Cependant, les mémoires à semi-conducteurs
devenaient également plus attrayantes (un tiers de l'espace
et un cinquième de la puissance du cur 32K) et
ont remporté le concours pour être la prochaine
génération de mémoire principale pour ESS.
La mémoire semi-conductrice a été utilisée
pour la première fois dans un ESS n° 1A en juillet
1977, dans le bureau de Wilmington, Delaware.
Les mémoires à bulles magnétiques ont également
été étudiées comme un remplacement
possible des mémoires à disque dans le processeur
1A au début des années 1970, mais à cette
époque, elles n'avaient pas d'avantage économique.
L'intérêt demeure de trouver une mémoire
de masse à semi-conducteur économique pour rivaliser
en termes de coût avec les mémoires à disque
rotatif. La fiabilité inhérente plus élevée
des dispositifs qui n'ont pas de pièces mobiles est un
facteur de motivation.
L'utilisation de faisceaux laser dans une très grande
mémoire holographique a également été
explorée - essentiellement une mémoire photographique
avec le potentiel d'un très grand stockage et d'un accès
aléatoire à grande vitesse. Ce travail a commencé
au début des années 1970, mais n'a pas atteint
le stade de compétitivité économique.
6.10.1 Le rôle du SPC dans le service de téléphonie
mobile
L'utilisation importante des systèmes radio mobiles privés
remonte à 1921, à commencer par le service de
police de Detroit. Au fil des ans, la Federal Communications
Commission a accordé des spectres radio supplémentaires
pour augmenter les licences privées à plus de
huit millions d'utilisateurs (et huit autres millions sur CB).
Ces systèmes ne se connectent pour la plupart pas au
réseau téléphonique. À partir de
1946, le Bell System a inauguré un système à
trois canaux à Saint-Louis. Au cours des années
suivantes, des fréquences supplémentaires ont
été attribuées, des améliorations
ont été apportées au passage du service
manuel à l'automatique, et des liaisons ont été
ajoutées entre les unités mobiles et les canaux
disponibles. Cependant, seulement 143 000 clients sont desservis
par Bell et les transporteurs publics radio (RCC). Il y a des
dizaines de milliers de commandes en attente pour les systèmes
de téléphonie mobile connectés à
l'opérateur, même si le tarif est dix à
vingt fois supérieur à celui du service téléphonique
résidentiel.
Parce que le temps d'attente est si long, il y en a beaucoup
d'autres qui ont besoin de ce type de service mais qui n'ont
pas pris la peine de s'ajouter à la liste d'attente.
Depuis 1947, Bell System a exprimé à la Commission
fédérale des communications, dans un certain nombre
de dossiers d'examen, son intérêt pour un système
de téléphonie mobile à grande échelle.
Dans le dossier 1926, Bell a présenté en 1971
une nouvelle version du système cellulaire, qui réutilise
un groupe de fréquences de base dans des cellules hexagonales
non adjacentes.
Lorsque l'unité mobile se déplace de cellule en
cellule, sa connexion est déplacée d'un émetteur-récepteur
à l'autre sous le contrôle d'un système
de commutation de central téléphonique.
L'ESS n° 1 a été choisi comme centre de commutation
de téléphonie mobile (MTSO), car elle possède
la capacité logicielle d'attribuer des cellules et des
fréquences lorsqu'un appel est "transféré"
de cellule à cellule.
En outre, le MTSO doit localiser la cellule pour les départs
et fournir des commodités supplémentaires aux
clients mobiles. Initialement, l'intention était de combiner
les services locaux et mobiles dans le même centre de
commutation. En 1975, la FCC a donné le feu vert au système
Bell pour un essai sur le terrain de développement du
système cellulaire, mais le bureau de commutation se
limiterait à gérer uniquement les appels vers
et depuis les unités mobiles. Un ESS n ° 1, situé
à Oakbrook, dans l'Illinois, a été mis
en place pour faire fonctionner quelques cellules et unités
mobiles. Le succès de l'essai devrait conduire à
un test de service plus important et, avec l'approbation de
la FCC, à un service commercial.
VII. NON. 2 DÉVELOPPEMENT DU SYSTÈME LOCAL
DU SSE
Le développement de l'ESS n ° 2 était une
extension évolutive des développements de l'ESS
n ° 101 et n ° 1.
En juillet 1961, lors du développement du n ° 101
ESS, la possibilité d'étendre ce système
pour fournir des services de bureau central améliorés
a été notée. Les premières idées
comprenaient une refonte du processeur n ° 101 et une augmentation
de la capacité de mémoire pour lui permettre d'avoir
une gamme d'applications plus large, y compris la desserte de
plus grandes unités de commutation PBX et également
de téléphones principaux, via des unités
de commutation à distance..
7.1 Le système initial
En réponse aux demandes de l'ingénierie AT&T,
une étude a été entreprise en 1963 par
A. Feiner, W. Ulrich et FS Vigilante d'un petit système
de commutation électronique à utiliser dans des
arrangements à 2 fils et comme bureau à 4 fils
à utiliser dans CONUS AUTOVON.
La conception du processeur comprenait des instructions d'un
seul mot et d'un demi-mot pour conserver la mémoire du
programme, des instructions spéciales pour imbriquer
efficacement les sous-programmes et une unité d'entrée
/ sortie autonome pour effectuer la numérisation et d'autres
opérations répétitives entrelacées
sur une base de "cycle-stealing" avec le programme
d'appel. La périphérie utilisait un réseau
ESS n ° 1 et un appareil de circuit interurbain dans une
configuration plus petite et plus économique que celle
de l'ESS n ° 1. Par exemple, le nombre de contrôleurs
de réseau a été réduit, le réseau
a été simplifié en un réseau unilatéral
à quatre étages où les lignes et les troncs
sont apparus sur une trame de réseau combiné ligne-tronc,
et la variété des concentrations de réseau
a été réduite, ce qui simplifiait matériel
et logiciel . D'autres simplifications ont été
proposées avec l'utilisation du magasin de programmes
de torsion électriquement inscriptible (PBT) pour
éviter le coût d'un graveur de carte magnétique
et les dépenses continues associées de l'écriture
de carte requise du aimant permanent à
torsion (PMT) utilisé dans No 1 ESS. D'autres
propositions comprenaient des bus de communication simplifiés,
étant donné que la taille physique du bureau serait
beaucoup plus petite que l'ESS n° 1 et, en raison d'un nombre
total de composants inférieur, des dispositions de reconfiguration
simplifiées pour le bus de communication et les unités
fonctionnelles. L'ESS n° 2, comme le système a été
nommé plus tard, devait fournir un service à utiliser
pour 10 000 lignes et 25 000 appels par heure chargée
et desservir jusqu'à 2 000 lignes réseau dans
l'application AUTOVON. Des études de comparaison de prix
ont montré que l'ESS n°2 se comparait favorablement
crossbar n°5 à partir de 600 lignes, avec des économies
substantielles entre 3 000 et 10 000 lignes. À cette
époque, les magasins PBT rencontraient de graves problèmes
de conception, et il a finalement été décidé
que l'application n°2 ESS AUTOVON ne serait pas économiquement
intéressante. Les travaux sur cette partie du projet
ont été arrêtés en décembre
1966. La conception du bureau à 2 fils s'est poursuivie,
en utilisant le PMT et les mémoires de feuille de ferrite.
En 1968, un modèle de laboratoire de système à
2 fils était en service aux laboratoires d'Indian Hill,
dans l'Illinois, et en novembre 1970, le premier bureau a été
mis en service à Oswego, dans l'Illinois. Un schéma
fonctionnel de la version de production de l'ESS n° 2 est
illustré à la Fig. 9-70.
À l'été 1976, 200 installations de l'ESS
n ° 2 équipées pour un million de lignes étaient
en service. Le processeur ESS n ° 2 a également servi
d'unité de contrôle pour une autre application,
le système d'interception automatique (AIS), qui est
décrit au chapitre 10, section III.

Figure 9-70. Schéma fonctionnel de l'ESS n ° 2 illustrant
le réseau unilatéral avec des réseaux de
terminaux de réseau communs pour les lignes, les circuits
interurbains et les circuits de service.
7.1.1 Version transportable (n° 2A ESS)
Reconnaissant que les coûts de construction augmentaient
rapidement, les ingénieurs des Bell Labs ont conçu
des modules transportables du n° 2 (désignés
n° 2A ESS) pour une installation rapide dans des zones rurales
ou suburbaines.
La Fig. 9-71 montre les modules ESS n° 2A en cours de transport
de l'usine au site d'installation.

Figure 9-71. Transportable n°2A ESS. Les unités sont
assemblées en usine avec des câbles connecteurs.
Installé sur une fondation préfabriquée,
le système fournit rapidement le service pour 3000 lignes.
Trois de ces modules d'équipement, chacun de 12 pieds
de large sur 48 pieds de long, peuvent contenir l'équipement
de commutation et les batteries d'un bureau de 3 000 lignes.
Des modules supplémentaires offrent une capacité
de 15 000 lignes, un service d'alimentation et un centre d'administration
en option.
Le système complet est assemblé en usine avec
des câbles connecteurs entre les modules. Le module peut
être rapidement installé sur une fondation préfabriquée
et branché pour une installation rapide et efficace sur
le site. Des panneaux de façade peuvent être installés
pour offrir un extérieur plus agréable.
Le premier ESS n ° 2A est entré en service à
Sun Valley, Nevada en novembre 1972.
7.2 La commande centrale 3A et l'ESS n° 2B
Bien que réussi, l'ESS n° 2 n'était pas
économique en dessous de plusieurs milliers de lignes
par rapport à la communauté « pas à
pas », même si l'ESS n° 2 offrait beaucoup plus
de capacités. Le processeur ESS n ° 2, pour respecter
ses calendriers de développement, a dû renoncer
à la logique de circuit intégré monolithique
et à la mémoire PBT.
De plus, le réseau ESS n° 2 pourrait s'étendre
au-delà de 10 000 lignes pour atteindre 20 000, mais
la capacité de traitement des appels du processeur ESS
n° 2 limitait la taille pratique dans presque tous les bureaux
à 10 000 lignes ou moins.
Plusieurs efforts de conception exploratoire indépendants
ont été entrepris pour fournir le contrôle
d'un très petit bureau. Les idées de conception
ont été fusionnées en une seule commande
microprogrammée qui est devenue le 3A CC (commande centrale),
le processeur de l'ESS n ° 3. La capacité de microprogrammation
du nouveau processeur, ainsi que les avantages de prix et de
taille obtenus grâce à l'utilisation d'une logique
de circuit intégré et de mémoires à
semi-conducteurs, l'ont rendu attrayant pour plusieurs applications
de commutation.
Bien que des contrôles redondants aient été
généralement utilisés, ces processeurs
disposaient de capacités d'auto-vérification étendues
et n'employaient pas de techniques d'appariement pour la détection
des erreurs.
Une version de circuit intégré de la logique d'entrée
/ sortie autonome de l'ESS n ° 2 a été ajoutée
au 3ACC, étendant la largeur des mots de données
de 16 à 24, et la mémoire du microprogramme a
été réglée pour émuler les
instructions du processeur n ° 2 ESS . Avec ces changements,
l'ESS n ° 2 a été à la fois considérablement
réduit en coût et augmenté en capacité.
La nouvelle configuration, l'ESS n ° 2B, a été
mise en service pour la première fois à Acworth,
en Géorgie, en février 1976.
Le système Acworth était en fait un ESS n °
2C un agencement transportable du n ° 2B. Le premier ESS
n° 2B a été mis en service à Elgin,
Illinois en juin 1976. Étant donné que le nouveau
processeur émule directement les programmes ESS n°
2, une grande partie de l'investissement logiciel dans l'ESS
n° 2 est conservée avec un minimum d'efforts de test
supplémentaires. de l'intégrer dans l'ESS n°2B.
Le processeur 2B peut être installé ultérieurement
dans un ESS n° 2 afin que les ESS n° 2 existants aient
la possibilité de doubler leur capacité avant
de s'épuiser.
La première mise à niveau d'un processeur 2B a
été effectuée à Northbrook, Illinois
en avril 1977.
Le processeur 2B a abouti à la classification comme fabrication
abandonnée (MD) du processeur ESS n ° 2 en 1977.
Encore une fois, on peut noter le raccourcissement du cycle
de vie des processeurs de commutation téléphonique
dans ce cas à moins d'une décennie. Le 3ACC a
également été employé, à
partir de 1976, dans un réseau privé spécial
qui gérait les transactions par carte de crédit.
Cette application est notée au chapitre 13, section 5.4.
Une troisième application concernait le système
de traduction électronique n ° 5, qui offrait une
capacité de programme stocké pour le crossbar
n ° 5. (Voir le chapitre 11, section 1.14.2 pour une description
de l'ESS n° 5.)
7.3 Centrex et autres développements de fonctionnalités
Le premier programme générique pour l'ESS n°
2 était le L0-1 bureau local mis en service en 1970 avec
182 fonctions résidentielles, d'affaires, de traitement
des appels, d'administration de la maintenance, de trafic et
de facturation. Cela se compare favorablement aux 124 fonctionnalités
du programme ESS n ° 1 initial.
Le deuxième programme générique, EF-1 (Extended
Features-1) est entré en service en février 1974,
à Naperville, Illinois. EF-1 a ajouté 128 fonctionnalités,
dont la plupart étaient des fonctionnalités d'exploitation
et de maintenance Centrex. Le service Centrex de l'ESS n °
2 a été fourni pour la première fois au
centre de recherche AMOCO à Naperville, Illinois en avril
1974.
En raison de la différence d'environnement d'exploitation
entre l'ESS n ° 1 et l'ESS n ° 2 (boucles plus longues,
plus de développement de porteuse T), plusieurs fonctionnalités
sont apparues sur l'ESS n ° 2 qui n'avaient pas été
ajoutées à l'ESS n ° 1 à la fin de
1976. Des circuits spéciaux d'amplification d'extension
de gamme et d'amplification de batterie ont été
placés dans les liaisons du réseau B pour être
connectés à de longues boucles. En concentrant
les prolongateurs de portée à l'intérieur
du réseau, le nombre de prolongateurs a été
réduit par rapport à celui requis s'ils étaient
attachés à chaque longue boucle. Un prolongateur
plus puissant, qui adaptait sa compensation en fonction de l'état
de la boucle, a ensuite été ajouté. Ces
circuits, plus tard connus sous le nom de CREG (extension de
gamme concentrée avec gain), ont été utilisés
pour la première fois dans le bureau de North Madison,
Connecticut, qui est entré en service en août 1976.
Une deuxième caractéristique est la combinaison
des banques de canaux T Carrier D3 et No. 2 circuits principaux
ESS en une seule unité fonctionnelle pour éliminer
la signalisation, les composants et le câblage redondants.
Cette fonctionnalité est entrée en service à
Lake Villa, Illinois en novembre 1977.
|
sommaire
La commutation temporelle aux Etats-Unis
Le développement de ESS N°4 a commencé vers
1970, à Naperville, Illinois toujours sous la direction
de Henry Earle Vaughan .
AT&T Long Distance était le principal client du commutateur.
Billy Oliver, vice-président d'AT&T, a dirigé le
développement du point de vue du client.
Les systèmes de commutation spatiale précédents
, principalement le commutateur Crossbar n ° 4, utilisaient la
signalisation vocale analogique. La décision de passer à
un format vocal numérique était controversée
à l'époque, tant d'un point de vue technique qu'économique.
Néanmoins, des visionnaires tels que Vaughn et Oliver ont reconnu
que le réseau finirait par devenir numérique, nécessitant
des technologies de commutation numérique.
Le Nokia N4E-N1B (Nouveau ESS 4) est le commutateur de nouvelle génération
. Le N4E-N1B comprend les logiciels 4E APS et 4ESS, mais remplace
le processeur 1B et les unités périphériques
. Le N4E-N1B est basé sur la plate-forme Alcatel- Lucent (désormais
Nokia)
Le dernier ESS N°4 a été
installé dans la banlieue d'Atlanta, GA en 1999 en tant que tandem
de péage pour AT&T. Au plus fort de la durée de vie
du produit en 1999, AT&T employait 145 commutateurs ESS 4 dans son
réseau longue distance, et plusieurs appartenaient à diverses
sociétés d'exploitation régionales de Bell (RBOC).
1982 Le ESS 5 est arrivé sur le marché sous le
nom de Western Electric No. 5 ESS. Il a commencé son service
à Seneca, dans l'Illinois, le 25 mars 1982, et était
destiné à remplacer le système de commutation électronique
numéro un (ESS 1 et ESS 1A ) et d'autres systèmes électromécaniques
dans les années 1980 et 1990. Le ESS 5 a également été
utilisé comme commutateur téléphonique de classe
4 ou comme commutateur hybride de classe 4/classe 5 dans des marchés
trop petits pour le ESS 4. Environ la moitié de tous les bureaux
centraux américains sont desservis par des commutateurs ESS 5.
Il est également exporté à l'international et fabriqué
sous licence en dehors des États-Unis.
La version ESS-2000, introduite dans les années
1990, a augmenté la capacité du module de commutation
(SM), avec plus de modules périphériques et plus de
liaisons optiques par SM vers le module de communication (CM). Une
version de suivi, le 5ESS-R / E, était en développement
à la fin des années 1990 mais n'a pas atteint le marché.
La technologie ESS 5 a été transférée
à la division AT&T Network Systems lors de l'éclatement
de Bell System en 1984. La division a été cédée
par AT&T en 1996 sous le nom de Lucent Technologies , et après
être devenue Alcatel-Lucent en 2006, elle a été
acquise par Nokia en 2016.
À partir de la fin des années 2010 et
au début des années 2020, AT&T remplace les anciens
commutateurs ESS 4 par des commutateurs N4E-N1B, et ajoute également
de nouveaux commutateurs N4E-N1B dans des endroits où il n'y
avait pas de ESS 4 auparavant. Il est supposé que ces nouveaux
commutateurs N4E-N1B prennent en charge les fonctions de classe 4
qui étaient auparavant gérées par des commutateurs
ESS 5 agissant comme des « tandems de périphérie
».
L'effort de développement de ESS 5 a nécessité
cinq mille employés, produisant 100 millions de lignes de code
source système, principalement en langage C , avec 100 millions
de lignes de fichiers d'en-tête et de makefiles . L'évolution
du système s'est déroulée sur 20 ans, tandis
que trois versions étaient souvent développées
simultanément, chacune prenant environ trois ans à développer.
Le ESS 5 était à l'origine uniquement américain
et le marché international a abouti à un système
et une équipe de développement complets, parallèlement
à la version américaine.
sommaire
|