|
LES SYSTEMES LEDUC et
BARTELOUS
Lors de l'exposition
de Paris en 1881 en plus du système automatique
américain Connolly, deux inventeurs
Leduc (français) et Bartelous (belge), ont également
présenté des machines de commutation automatique, qui n'ont
également jamais été utilisées à cette
date, mais le système Bartelous a été mis en service
à Bruxelles en 1886 avec 19 abonnés. (lire la suite).
sommaire
En France dépôt du Brevet INPI
138097 le 21.04.1882 ; BARTELOUS
Jacques-Victor-Michel ; (26 images magnifique document en français)
Le système français LEDUC a été détaillé
dans "La lumière électrique du 1er avril 1882 "
|
APPAREILS LEDUC ET BARTELOUS
Nous avons vu que lappareil Connolly est destiné
à constituer un bureau central automatique, fonctionnant
sans lintervention daucun employé pour mettre
en relation, entre eux, un certain nombre dabonnés
formant un réseau, peu étendu, il est vrai, mais complet
et indépendant.
Lappareil de M. Leduc a une destination moins générale
; il a pour but de mettre en communication avec un bureau central
C, semblable à ceux qui existent actuellement, un groupe
dabonnés formant une sorte de réseau secondaire
L greffé sur le réseau principal.
Il est destiné à permettre, en nemployant entre
L et C quun ou deux fils de ligne :
1° Au bureau central de correspondre à volonté
avec chacun des abonnés du réseau secondaire L;
2° A chacun des abonnés de L de correspondre avec le
bureau central et par conséquent avec tous les abonnés
qui y sont reliés ;
3° A deux quelconques des abonnés de L'de correspondre
entre eux.
Pour cela tous les appareils dabonnés
sont reliés dune part au sol et dautre part par
lintermédiaire de lappareil automatique à
la ligne qui va au bureau central C. La pile est placée dans
ce dernier bureau et cest de là que lemployé
fait manuvrer lappareil automatique pour mettre en relation
directe avec la ligne et isoler du reste du réseau secondaire,
soit labonné qui .lappelle, soit celui que lon
appelle dun point quelconque du réseau principal.
Le manipulateur à laide duquel lemployé
manuvre ainsi lappareil automatique est, comme dans
lappareil précédent, un manipulateur à
émission de courants interrompus successifs. Nous le décrirons
plus loin.

Lappareil automatique ou plus exactement le commutateur automatique
est représenté schématiquement dans les fig.
1 et 2. Sur un axe a quun mouvement dhorlogerie tend
à faire tourner dans le sens indiqué parla flèche
(fig. 1) est fixée dabord une roue dentée R.
Un échappemènt à ancre, commandé par
les mouvements de larmature A dun électro-aimant
E, règle les mouvements de la roue R daprès
les courants envoyés dans lélectro E par le
manipulateur du bureau central (fig. 3).
 |
Le même axe porte une tige terminée
parmi doigt de contact isolé d qui peut se soulever
légèrement de bas en haut, mais est maintenu
baissé par un ressort. En outre la tige du doigt porte
une vis de contact t' qui met la partie supérieure
mobile en contact avec le massif, quand cette partie se trouve
dans sa position normale. Il résulte de cette disposition
quaussitôt que le doigt rencontre sur son passage
un obstacle, il se soulève et interrompt le contact
avec t'.
Or lextrémité du doigt parcourt la circonférence
dun disque débonite c sur laquelle sont
fixées des touches métalliques /, /..., en nombre
égal à celui des dents de la roue R. A chacune
de ces touches aboutit un des fils de ligne du réseau
L et elles communiquent également à des contacts
à ressort g, g..
Quand la roue R est au repos, lextrémité
m du doigt d pousse un levier qui fait appuyer sur tous les
contacts g une plaque q. Tous ces contacts et par suite toutes
les lignes communiquent alors avec le doigt d et comme celui-ci
se trouve alors sur la touche de repos L qui le soulève,
le contact t' est interrompu et toutes les lignes sont reliées
au circuit général de lappareil. Du doigt
d, le courant passe dans un petit électro-aimant Hughes
H et de là dans lélectro-aimant E, doù
il va à la ligne du bureau central.
|
Par conséquent si, ce bureau envoie un certain
nombre de courants sur la ligne, il y aura déclanchement dun
nombre égal de dents de la roue R et le doigt d passera sur
autant de touches L ; on pourra donc, par lenvoi dun nombre
convenable de courants, amener d sur telle touche quon voudra
et mettre le bureau central en relation avec une quelconque des lignes
secondaires.
Au moment où cette communication sera établie, lextrémité
m du levier nétant plus repoussée par le doigt,
la communication de ce dernier avec les contacts g est supprimée
et la ligne sur la touche de laquelle se trouve le doigt est seule
dans le circuit.
Pour quil y ait concordance entre les mouvements du manipulateur
et ceux du doigt, il faut que la roue R parte toujours dun point
fixe et revienne à ce point après chaque opération.
Dans ce but, la roue R est munie dune goupille T, qui dans la
position de repos, bute contre un arrêt k formant lextrémité
de larmature dun électro-aimant Hughes H intercalé
dans le circuit. Cet électro est construit de telle sorte quil
ne soit affecté que par des courants inverses de ceux qui parcourent
ordinairement le circuit. Or le premier courant quenvoie le
manipulateur est un courant négatif, tous les suivants étant
supposés positifs. Ce premier courant déclanche donc
la roue R et celle-ci en tournant, par le jeu dune piècep,
remet au contact larmature de H. De cette façon, quand
la conversation téléphonique est terminée, lemployé,
en ramenant son manipulateur au repos, ramènera la roue au
repos et sa goupille viendra forcément buter contre k.
Une manette N en communication avec la ligne peut être mise
en contact avec une série de blocs de cuivre communiquant les
uns avec les autres en dessous du socle sur lequel ils sont fixés.
Ces blocs communiquent en même temps avec une pile dont lautre
pôle est au sol. Mais entre le premier et le second bloc est
placé un ressort que la manivelle vient toucher et qui fait
commutateur. De cette façon, chaque fois que la manivelle touche
un bloc, un courant est envoyé dans la ligne, .il fait avancer
dune dent la roue dentée R, mais le premier courant envoyé,
par suite du jeu du commutateur, est de sens inverse des suivants,
et cest celui-là qui déclanche lélectro-aimant
de Hughes H, et permet le départ de la roue R.
Dans la vue densemble de la fig. 4, lappareil
Leduc est représenté sous sa dernière forme.
Fig.4
On voit en B le mouvement dhorlogerie qui met en mouvement
laxe o (a des fig. 1 et 2) la roue r (R) et le doigt c (d).
E est lélectro-aimant de Hughes et E' lélectro-aimant
qui commande la roue r, seulement son armature, au lieu dagir
sur un échappement à ancre, commande un échappement
à coulisse figuré en M H qui offre plus de sécurité.
Les contacts g, au lieu dêtre disposés circulairement
autour de laxe, sont placés en une ligne horizontale
au-dessus du disque fixe et cest une barre équilibrée
par la pièce J qui vient faire contact avec eux, dès
que le doigt est à sa position de repos. D nest autre
chose quun index qui suit les mour vements du doigt et les
indique sur un cadran extérieur.
Dans la pratique, labonné dun
réseau secondaire appelle donc toujours lemployé
du poste central et celui-ci, pour le mettre en relation avec un
des abonnés dun autre réseau secondaire, fait
manuvrer lappareil de ce dernier. Quand uu abonné
veut correspondre avec un autre appartenant au même réseau,
cela peut avoir lieu avec un seul appareil : les différentes
lignes 1, 2, 3, 4, sont reliées à la terre, à
travers une résistance relativement grande. Si maintenant,
,par exemple, labonné 2 veut correspondre avec labonné
4, il demande au bureau central davertir 4 que 2 le demande
et de remettre ensuite lappareil au repos. 2 et 4 en prenant
le téléphone sont en court circuit et peuvent sentretenir
sans subir linfluence des dérivations formées
par les circuits des autres abonnés ; mais ce procédé
ne garantit pas le secret delà conversation. Cest pourquoi
il est préférable demployer deux appareils conjugués
et un doublefil. Dans ce cas, 2 demande au bureau davertir
4 ; l'employé appelle 4, laisse 2 sur le premier appareil
et met 4 sur le deuxième, en établissant la liaison
au bureau entre les deux.
Le second appareil nest pas un inconvénient,
il permet pendant que 2, par exemple, cause avec un des abonnés
de B, avec 2', par exemple, il permet, disons-noufe, à 1,
3, 4 de sentretenir avec un autre abonné quelconque.
M.Leduc a, dailleurs, modifié son appareil et établi
; un petit commutateur mobilé à laide duquel
le bureau peut relier dans un seul appareil deux quelconques des
abonnés.
Construit dans ces conditions, lappareil Leduc nous semble
se trouver dans dassez bonnes conditions de fonctionnement
et, avec la tâche relativement restreinte qui lui est imposée,
il est possible quil rende des services dans la pratique.
Quant à lappareil de M. Bartelous,
légèrement postérieur à
celui de M. Leduc, il contient les principaux organes de ce dernier
et nen diffère pas bien sensiblement. Nous nous contenterons
dindiquer que les disques de contacts sy trouvent en
double de manière à faciliter les communications.
sommaire
M. Bartelous ne tarda pas à répondre
par un courrier :
Bruxelles, le 12 avril 1882.
Monsieur le directeur,
Larticle qui a été consacré aux Bureaux
téléphoniques automatiques dans votre numéro
du 1er avril et dans lequel est décrit un système
combiné par M. Leduc, se termine par la phrase suivante
: « Quant à lappareil de M. Bartelous, légèrement
postérieur à celui de M. Leduc, il conient les
principaux organes de ce dernier et nen diffère
« pas bien sensiblement..... »
Je dois à ce sujet vous demander une rectification, car
les renseignements qui ont été fournis à
lauteur de larticle sont inexacts à
tous égards.
Mon brevet belge pour mon commutateur automatique est du 22
juillet 1880, et celui de M. Leduc na été
pris que le 19 novembre de la même année.
La date officiellement constatée de mon invention est
donc antérieure de 4 mois.
Je vous envoie avec la présente une lettre de M. Bède
qui constate même que, dès le mois de mars ou avril
de la même année, je lui avais soumis lin projet
de bureau téléphonique auxiliaire; comme vous
le verrez M. Bède déclare quil désirait
en faire lapplication au bureau central de lExposition
nationale belge en juin 1880 et que des considérations
particulières lont seules empêché
de mettre ce projet à exécution.
Si donc au point de vue théorique qui est certes le point
principal dans une pareille question, mes droits à lantériorité
ils peuvent être contestés, je puis cependant les
revendiquer également au point de vue de lexécution
matérielle.
En effet, dès le 2 août 1880 je faisais commencer
la construction dun modèle de mon commutateur et
cet appareil a été soumis à des expériences
pratiques le 18 novembre suivant. M. Leduc qui, sur la recommandation
dun de. mes amis, sest adressé au constructeur
même qui travaillait pour moi, na fait commencer
lexécution dun premier modèle que
le 6 décembre 1880.
Or, mon premier appareil, basé sur les principes décrits
dans mon brevet, contenait tous les organes de celui que jai
fait construire plus tard pour lexposition de Paris. Il
se composait entre autres organes :
1° de disques en matière isolante portant sur leur
circonférence des contacts métalliques ;
2° daiguilles rencontrant cescontacta pour rétablissement
de communications exclusives à donner à un abonné
avec le bureau central ou à 2 abonnés du groupe
auxiliaire entre eux;
3° dun peigne rectiligne aux dents métalliques
flexibles duquel aboutissaient les fils de tous les abonnés
et dune tringle venant en contact avec ce peigne pour
la transmission de leurs appels au bureau central.
Cette dernière disposition nest mentionnée
en aucune manière dans le brevet de M. Leduc, bien quil
soit pris quatre mois après le mien, et elle nétait
pas employée dans le premier modèle quil
a fait construire. Mais il a adopté un organe à
peu près analogue dans le dernier appareil quil
a fait exécuter et dont la construction na été
commencée que le 11 avril 1881.
Ce changement est du reste indiqué dans la description
même que vous avez publiée et dans laquelle il
est dit : «.Les contacts g au lieu dêtre disposés
circulairement autour de laxe, sont placés en une
ligne horizontale.... »
Je reconnais du rèste quà part la similitude
de certains organes pour lesquels toutefois jai droit
à réclamer la priorité, et à patt
la ressemblance inévitable de certaines dispositions
matérielles résultant de la fabrication de deux
appareils, destinés au même but, par le même
constructeur, nos deux systèmes de communication automatique
sont différents dans leur fonctionnement.
Aussi, je ne vous aurais pas adressé la présente
rectification si larticle sétait borné
à la description de lappareil de M. Leduc. Mais
la phrase finale que jai citée en commençant,
est de nature à faire peser sur moi un soupçon
de contrefaçon contre lequel je dois hautement protester
puisque, comme vous le voyez, il est complètement injustifié.
Agréez, etc.
V. Bartelous |
|
sommaire
Bartelous 1, rue du Persil â Bruxelles
Commutateur susceptible d'être manuvré à
distance
Les deux systèmes automatiques
de Bartelous
Dans un livre de William Henry PREECE, on trouve
la description de ces deux systèmes.
Premier système. Celui présenté en 1879 à
l'exposition de Paris en 1881.
Cet appareil, inventé par Mr. Bartelous, de Bruxelles, a été
aménagé pour un service à double fil et un service
simple.
Le système qui emploie un fil double est représenté
sur les Fig.266, 267 et 268.

La figure 266 montre la station automatique. Fig.267 la station centrale
et Fig.268 la station de l'abonné.
 
Le tableau automatique est constitué de deux disques circulaires
isolants A A', sur la circonférence desquels sont disposés
des contacts métalliques i, 2, 3 i', 2', 3'. A partir de ces contacts,
i, i' ; 2, 2'; 3, 3'.départ des lignes doubles joignant les différents
bureaux d'abonnés n° 1, n° 2, n° 3 ; sur chaque fil
de ligne est en outre établi un shunt cr ds dont chacun débouche
sur une bande métallique flexible r, s^ t, disposée en forme
de peigne sur une pièce transversale isolante G.
Perpendiculaires au centre des disques parallèles A A', se trouvent
deux axes X X, Y Y, dont le dernier porte une aiguille c ; un mouvement
de rotation par impulsions successives peut être imprimé
à ces axes par des moyens qui seront expliqués plus loin.
Lorsqu'un tel mouvement est imprimé à l'axe Y Y, l'aiguille
c est successivement amenée en contact avec les points 1, 2, 3.
L'axe XX porte deux aiguilles B B' ; l'extrémité qui porte
l'aiguille B traverse le disque A de telle sorte que cette aiguille tourne
également avant ce disque, dans un plan plus voisin de lui que
l'aiguille C, de sorte qu'elle rencontre également les contacts
1, 2, 3. l'aiguille b', placée à l'autre extrémité
de l'axe XX, tourne devant le disque A', et y rencontre les contacts 1',
2', 3'.
Cet axe porte une tige v v, qui lui est parallèle, et munie d'une
série de pointes qui, lorsque l'appareil est au repos, prennent
appui contre les bandes r, s, /, montées sur la pièce transversale
G. Mécaniquement l'aiguille c participe aux mouvements de l'axe
Y Y ; tandis que les deux aiguilles B et B' et la tige V V se déplacent
en conjonction avec X X. Électriquement l'aiguille b est reliée
à l'axe x x, l'aiguille C à l'axe Y Y ; mais l'aiguille
b' est isolée de l'axe qui la porte, et est reliée, par
un contact à friction H et un conducteur / /, à l'axe Y
Y.
Les deux axes sont mis en mouvement rotatif à partir du central
téléphonique au moyen d'une batterie p' (Fig.267), dont
le courant peut être inversé.
Ce courant est acheminé vers le tableau automatique (Fig.266) par
le fil a.
Lorsque, par exemple, on envoie un courant continu ou positif, il agit
sur un relais polarisé R (Fig. 266), de manière à
fermer le circuit d'une batterie locale p par l'intermédiaire de
l'électro-aimant E.
Lorsqu'un courant traverse cet électro-aimant, il attire son armature,
sur laquelle est monté un levier L, qui transmet l'action à
une roue à rochet D sur l'axe X X, et celle-ci lui communique son
mouvement à cette dernière.
Si le courant est de sens inverse, ou négatif, il agit sur le même
relais R de manière à fermer le circuit de la même
batterie locale p par l'intermédiaire d'un électro-aimant
e', dont l'action est transmise par le levier l' à l'axe Y Y.
Ces courants sont envoyés soit par une clé Morse M, complétée
par un interrupteur (Fig. 267) et un indicateur indiquant les positions
relatives des aiguilles B b' et C à la station automatique distante,
soit par un manipulateur automatique (représenté en Fig.
269) muni d'une clé Morse M et d'un mécanisme d'horlogerie,
qui fait tourner une aiguille rigide.
Ce dernier peut, au moyen d'une goupille, être arrêté
en n'importe quelle position sur un cadran gradué, dont les divisions
correspondent à celles des disques A a'. Lorsque la goupille est
retirée et réinsérée dans une position quelconque,
et que la touche M enfoncée, le mouvement de l'horlogerie transmet
de la pile P des courants en nombre égal à celui des divisions
sur lesquelles l'aiguille s'est déplacée sur le cadran ;
et ces courants, comme nous l'avons déjà dit, provoquent
un déplacement analogue des aiguilles du tableau automatique à
distance.
Dans la disposition représentée par les Fig. 266, 267 et
268, les postes d'abonnés, qui peuvent être de tout système
même avec appels magnétiques, ne sont sujets à aucune
modification.
On ajoute seulement à chacun un petit interrupteur à double
sens in, ni' in", dont la fonction sera facilement comprise en se
référant à la figure 268.
Au n° i et au n° 3, les interrupteurs in' et in'" ferment
le circuit par le fil de retour, sans aller à la terre ; tandis
qu'au n° 2 le circuit se termine à la terre.
Avant de décrire la manipulation de l'appareil, il convient de
mentionner qu'en plus des contacts 1 , 2, 3 . le disque A porte trois
autres contacts, marqués + , et respectivement.
La première, sur laquelle l'aiguille C s'arrête au repos,
est reliée à la masse, et n'a que la moitié de la
longueur des contacts i, 2, 3, de sorte qu'elle ne rencontre pas l'aiguille
B. Les deux autres contacts, notés
0, sont placés de part et d'autre du premier, sont également
à mi-longueur, mais sont disposés de manière qu'ils
ne puissent rencontrer que B, et non C.
Ces deux contacts 0 sont reliés chacun à un contact similaire
sur le disque a' ; il n'y a cependant aucun contact correspondant au +
sur cette dernière.
Supposons maintenant qu'un abonné (le n°2 par exemple) souhaite
appeler le central.
Il tourne la poignée de son interrupteur vers la gauche (comme
indiqué sur la figure), et envoie le courant d'appel. Celui-ci,
partant de la terre, parcourt le générateur, suit le fil
de ligne par g jusqu'à d (fig. 266), et, le contact en 2 étant
ouvert, traverse la bande s, et le point correspondant de la tige v v^
et arrive à l'axe X X. Ce dernier est, au moyen d'un contact à
friction F, relié au fil b b b, qui est relié à une
sonnerie d'appel au central, et de là va à la terre.
L'appel ayant ainsi été reçu au poste central, l'opératrice
constate le nom ou le numéro de l'abonné appelant ; puis
par les moyens indiqués ci-dessus, il amène l'aiguille B
sur le contact n°2 du disque A. En même temps l'aiguille B'
se sera déplacée en 2' sur le disque a', et les pointes
de la tige v v auront quitté le contact des bandes flexibles r,
s, t.
A partir de ce moment, la communication entre le central et l'abonné
n°2 sera exclusive en faveur de ce dernier.
Il aura été établi, à partir du tableau, au
moyen du fil b b b, du contact à friction F, de l'aiguille B, du
fil 2 y d g, et mis à la terre par l'interrupteur après
avoir parcouru l'instrument au N°2 ( Figs.266 à 268).
Supposons maintenant que l'abonné n°2 souhaite parler à
l'abonné n°3, qui est relié au même standard automatique.
En décrivant le mode opératoire dans ce cas, nous montrerons
en même temps comment la station centrale peut appeler n'importe
quel abonné, ainsi que comment s'effectuent les doubles connexions
pour un même groupe d'abonnés. On commence l'opération
au moment où, l'appel du n° 2 ayant été reçu
au poste central, le numéro de cet abonné et celui du correspondant
recherché ont été connus.
L'opérateur va maintenant procéder à l'appel de ce
dernier.
Il le fait par les moyens décrits ; il déplace les aiguilles
B et B' sur les contacts 3 et 3' des disques A et A', et envoie un courant
d'appel dans b b b.
Ce courant passe à travers ladite ligne, le ressort F, l'aiguille
B, la ligne Z ^ ^ A jusqu'à l'abonné n°3, et de là
à travers le commutateur m'" et le fil de retour, q k 3',
vers la station centrale (Figs.266 à 268).
Du point 3' où l'aiguille b' a été amenée,
le courant suit cette aiguille, le ressort H, le conducteur / /, l'axe
Y Y et l'aiguille c arrêtée par le contact +.
Cette dernière étant reliée à la terre, le
circuit est ainsi bouclé, et le courant d'appel envoyé dans
la ligne bbb agit sur la sonnerie d'appel du N°3.
L'abonné n°3 ayant répondu à l'appel, le courant
de la batterie p' au poste central s'inverse, et peut maintenant être
utilisé pour actionner l'aiguille C.
Ce dernier est ainsi amené au contact 2 du disque A, et le circuit,
au lieu de se terminer à la terre par la position de l'aiguille
c sur le contact +, se prolonge maintenant au-delà de cette aiguille
par le fil 2 y d g, et va à la terre par l'interrupteur m' , après
avoir transité par l'instrument de l'abonné n°2.
A la réception du signal de dégagement, la station centrale
ramène les différentes parties de l'appareil à leurs
positions de repos.Il ne reste plus qu'à expliquer l'utilisation
des contacts et 0' 0' sur les disques A et A'. Leur but est de contrôler
à distance la position de B b' et c.
Une référence aux diagrammes montrera que les différentes
aiguilles se déplaçant sur ces points provoquent en ligne
b b b des prises et des ruptures ; de sorte qu'en plaçant une pile
et un galvanomètre sur la ligne b b b, on puisse vérifier
ces différents changements, et contrôler à distance
la position des aiguilles.
sommaire
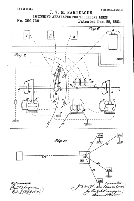
Deuxième système
Brevet 1883 US 290,730 Dec 25,
Jacques V M Bartelous "Switching apparatus for telephone lines
"..
Il s'agit d'un système à un seul fil, représenté
sur les Fig.269, 270 et 271.

L'appareil (Fig.270) contient toujours les deux axes, l'axe Y Y portant
l'aiguille C, et l'axe X X ne portant qu'une seule aiguille et la tige
v v.
Les deux axes sont tous deux reliés à la ligne b b bhy Y
b b et Y b' b' .
Il n'y a aussi qu'un seul disque A portant les contacts I, 2, 3, ... auxquels
sont reliées les lignes d'abonnés, et auxquels répondent
les aiguilles B et c.
Il y a aussi trois divisions supplémentaires, +, 0, mais il n'y
a pas de contact au point +, et les contacts sont en liaison directe avec
la terre.
Les shunts sur les lignes d'abonnés débouchent sur les réglettes
r, s, t de la pièce transversale G.Fig.270, Comme dans le premier
système, nous avons ici aussi un relais R et les électro-aimants
E e' avec leurs leviers L \J .
L'arrangement général peut maintenant être représenté
par le diagramme, Fig.272.
On voit que, lorsque l'appareil est au repos, les lignes des abonnés,
sans exception, bifurquent de la ligne b b b ^ du fait qu'elles sont reliées
à la tige v v et à l'axe X x.
Aucun de ces bureaux ne pourrait donc envoyer de courant d'appel au poste
central, car, en pratique, la ligne b b b^ qui relie ce dernier au standard
automatique A, est plus longue et, par conséquent, offre une résistance
électrique beaucoup plus grande que celle du poste central. la
résistance combinée des lignes Ai, A2, A3, etc.
Un nouveau principe a donc dû être introduit pour le système
unifilaire, et il consiste en l'ajout de résistances supplémentaires
r', R'', r'" sur les lignes d'abonnés. Ces résistances
sont ajustées de manière à ce qu'un courant soit
envoyé depuis l'une des stations. Le n°3 par exemple, et passant
par la ligne 3A jusqu'au point commun de connexion, s'y retrouve dans
les lignes auxiliaires Ai, A2, A3, avec une résistance suffisamment
élevée pour permettre à une petite partie du courant
de passer seulement. passer dans chacune des lignes.
La ligne b b b, en revanche, qui présente désormais une
résistance relativement beaucoup plus faible, laissera passer une
quantité de courant suffisante jusqu'au poste central pour y faire
sonner la sonnette d'appel, même si les courants dans les lignes
auxiliaires ne seront pas suffisamment forts. pour répondre aux
appels des autres postes.
Afin d'obtenir de bons résultats pratiques, les résistances
sont connectées de telle manière qu'elles puissent être
court-circuitées par une simple pression sur un bouton, pendant
que l'abonné envoie son courant d'appel, et, de même, que
le décrochage du téléphone en vue de la conversation
les retire du circuit.
Le fonctionnement du système sera maintenant facilement compris
en se référant aux chiffres, l'abonné n°2, par
exemple, souhaite appeler.
Il appuie sur le bouton d'appel et court-circuite ainsi sa résistance.
Le courant passe par g d s, tige V V, axe x x, ressort F, ligne b b b,
sonnerie d'appel S, jusqu'à la prise de terre du tableau de la
station centrale.
L'opérateur amène l'aiguille B sur le contact 2, la tige
V V quitte le contact des bandes r, s, t, et le circuit s'établit
par b b b,Y B, et la ligne 2 X d g.
Si l'abonné n°2 veut le n°3, l'opératrice du poste
central appelle ce dernier en amenant l'aiguille B sur le contact 3 et
en envoyant le courant d'appel par b' b b, F B et la ligne ^ z e Ji, au
poste n° 3. Dans cette position, les autres lignes sont déconnectées
et le courant d'appel, passant exclusivement à la ligne 3, est
suffisamment fort pour vaincre la résistance R'".
C'est le mode d'appel d'un abonné dans tous les cas.
Pour compléter la communication avec le n° 2, le courant, comme
dans le premier système, est inversé à la station
centrale, de manière à la faire agir sur l'axe Y Y, et à
amener l'aiguille C sur le contact 2.
Les abonnés nos 2 et 3 pourront désormais communiquer après
avoir court-circuité leurs résistances respectives en décrochant
leur téléphone, et le signal de libération pourra
être donné au poste central lorsque leur conversation sera
terminée.
Les contacts servent, comme dans le premier système,
à contrôler à distance la position des aiguilles au
moyen d'un galvanomètre.
Il faut remarquer que les modifications produites dans les phénomènes
électriques consistent, non seulement en des prises et des coupures
du circuit, mais encore en des variations très considérables
de la résistance de ce dernier.
Ainsi la position de repos donne lieu à une très forte déviation
du galvanomètre, car elle correspond à une dérivation
de courant à travers toutes les lignes dérivées.
Il convient également de noter qu'avec l'un ou l'autre système,
aucun appel ne peut être effectué vers la station centrale
par les abonnés d'un groupe dès qu'une des stations est
en communication.
Dans le premier système, l'abonné, averti de cet état
de fait par le fait que sa sonnerie d'appel n'a pas sonné en réponse
à son appel, peut se mettre dans ce qu'on peut appeler une attitude
d'attente en tournant la poignée de son interrupteur. à
gauche. Si maintenant l'opératrice du poste central, après
avoir remis tous les appareils à l'état de repos, envoie
un courant en ligne, ce courant agira sur la sonnerie d'appel de l'abonné
en attente, et l'informera ainsi que le la ligne est claire.
Dans le second système, le même résultat peut être
obtenu en ajoutant à chaque bureau une goutte annonciatrice au
moyen de laquelle, dès l'émission du signal, la résistance
supplémentaire est court-circuitée.
Dans ce cas également, un courant envoyé depuis la station
centrale, après la remise au repos de l'appareil, fera tomber la
goutte.
sommaire
Mentionnons enfin que M. Bartelous s'occupe désormais des derniers
détails d'un système encore plus complet que les précédents.
Ce système contient trois ou quatre fils entre la station centrale
et le standard automatique.
De ces quatre fils, l'un est la ligne de travail, le second est une ligne
d'appel, à laquelle sont connectés tous les bureaux des
abonnés à l'état de repos.
Quant aux communications, elles s'établissent au moyen d'un troisième
fil, ou au moyen du troisième et du quatrième fil.
Dans ce dernier cas, deux communications distinctes peuvent être
établies simultanément.
Les détails et les croquis de ce système n'ont pas encore
été publiés.
Le standard automatique de M.Bartelous a été adopté
par la Compagnie Téléphonique Belge.
A Bruxelles, la longueur des lignes de liaison avec la gare centrale
est de 7 kilomètres, avec une résistance de 350 ohms.
19 abonnés sont regroupés, la résistance supplémentaire
s'élevant à 2 000 ohms.
Avec des distances plus courtes et moins de résistance, jusqu'à
vingt-cinq personnes pourraient être regroupées.
Il est particulièrement applicable dans les districts périphériques
où le nombre d'abonnés n'est pas suffisamment grand pour
payer les dépenses d'un central ordinaire, ainsi que pour le service
du dimanche et de nuit dans les grands centraux.
En 1886 en Belgique il y avait 5 bureaux auxiliaires
du réseau de Bruxelles sont desservis par des commutateurs
automatiques du système Bartelous.
sommaire
Brevet 1883 US
290,730 Dec 25, Jacques V M Bartelous "Switching apparatus for
telephone lines "..
 



sommaire
|