Né au Mans (Sarthe) le 22 juin
1843, sa famille est originaire de la « Franche-Montagne
», petite province qui était autrefois enclavée
dans le canton actuel de Monbéliard.
Les barons de Maiche furent chargés, pendant près
de huit siècles, de la défense de la frontière
française contre linvasion des suisses ; le château
de Maiche était leur résidence.
Vers 1570, ils émigrèrent dans le Maine et se fixèrent
au Mans, où se continua la descendance de la branche aînée,
dont Louis Maiche était le représentant en ligne
directe
Louis Maiche manifesta, dès son adolescence, des dispositions
et des aptitudes remarquables à l'étude des sciences
naturelles.
Dès qu'il avait acquis les premières
notions d'un principe de physique, sa grande facilité d'induction,
jointe à une faculté spéciale d'assimilation
le conduisait immédiatement à toutes les applications
et à toutes les conséquences pratiques qui en découlaient
; et il ne passait d'une expérience primordiale à
une expérience complémentaire qu'après avoir
réussi à déterminer toute l'action et tous
les effets de la première.
A 18 ans il monte à Paris pour gagner
sa vie comme apprenti pâtissier puis chocolatier dans le
marais. Rapidement il reprend ses études au Conservatoire
national des Arts et Métiers en cours du soir, parallélement
il commence par déposer son premier brevet le 1er décembre
à Paris alors que en 1862 il n'a que 19 ans : brevet
56483
du 1er décembre 1862 "Système de pile électrique",
fabricant de chocolat Adresse : Paris, 4, rue Saint-Louis-au-Marais,
75056 . Ce brevet sera suivi d'un certificats d'addition
le 15.février 1864.
Il entrera ensuite au Collège de France de la Sorbonne
ou il découvre la mécanique la physique et la chimie.
|
|
sommaire
Le brevet suivant 65786
du 7 janvier 1865 est pour le "bronzage des métaux",
puis un autre le 24 septembre 1866 brevet 73021
pour un "Procédé de dorure de l'alluminium". A
PARIS il a constaté la présence de l'or natif en quantité
notable dans un grand nombre de morceaux de quartz et de silex composant
les graviers de la Seine, dont on se sert communément pour garnir
les routes, les cours et les jardins, aux environs de Paris. Plusieurs
échantillons sont assez riches pour que l'or soit visible à
l'il, il fait aussi un brevet de tamisage, séparation de
l'amidon des autres matières ... L.Maiche
s'intéresse à tout mais l'argent ne rentre pas beaucoup.
En 1867 Il créa ensuite un procédé
dextraction de lamidon du riz par la force centrifuge, qui
est universellement employé.
Après 7 ans de cours du soir, Louis est devenu Ingénieur
et rejoint sa famille qui était retournéeà Côte,
en Haute-Saone.
Pourtant il retourne souvent au Mans car il fréquentait Charlotte
Arnouillau. Il se marièrent en janvier 1872.
Maiche continuera à construire différents modèles
de piles, le 12 février 1874 nouveau Brevet 102068
"Appareil producteur de lélectricité, dit pile
électrolyte".
Louis décide de revenir dans la Sarthe pour exploiter
son invention sur l'amidon grâce aux fonds de famille de sa femme
et de son beau frère Jules Clément. Les deux hommes achètent
un terrain à Foucauge et y construisent une usine près de
la rivière l'Huine.
Ils céent la société "Louis Maiche et Arnouillau".
Ayant acheté une machine à vapeur pour l'usine, Louis cherche
rapidement à en améliorer le rendement, et déposa
même un brevet 111770
le 14 mars 1876 "Appareil d'alimentation des générateurs
à vapeur".
Lees affaires marchent et pour protéger plus durablement son invention
il dépose un brevet 126316
le 5 seeptembre 1878 pour "Un système d'extration de l'amidon
du riz".
Ses travaux de recherche reprennent
et le 20 février 1877 L.Maiche émet un Brevet ° 117030
"Pile électrique dite : pile à dépolarisation
catalytique".
puis le 22 octobre 1878 : Brevet 127069
"Système de pile électrique" , la pile "dépolarisante
catalytique".
 
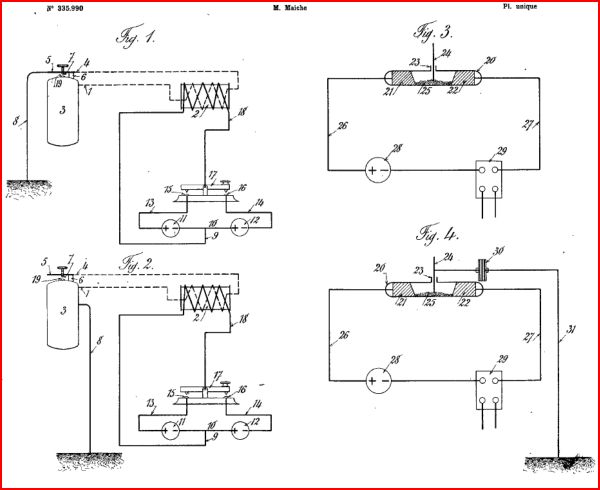
La pile télégraphique Maiche a vivement
excité lattention des électriciens.
La dépolarisation seffectue par la combinaison de loxigène
de lair avec lhydrogène de leau, sous l'influence
de charbons platinés humides, renfermés dans un vase en
porcelaine plongeant légèrement dans de leau acidulée.
Une petite coupe en porcelaine, disposée au-dessous du vase poreux,
contient un peu de mercure, sur lequel repose le zinc.
Des conducteurs en platine transmettent le courant à deux bornes
fixées à un couvercle en ébonite qui recouvre le
bocal, et sert de support à tout le système.
Le résultat se résume ainsi : usure du zinc réduite
à ses dernières limites ; dépolarisation indéfinie
ne coûtant rien ; constance rigoureuse ; grande propreté.
Pour la télégraphie, les sonneries, les signaux, etc., on
peut dire que cest la pile par excellence. Sa force électro-motrice
est égale à 1,250, celle de Daniel étant égale
à 1,000.
Lumière éléctrique à
domicile : Le système de régénération
des piles, imaginé par M. L. Maiche.
Ce système nau aucun rapport direct avec les appareil dits
« accumulateurs», M. Maiche a pour but de fournir la lumière
électrique à domicile de la manière suivante, qui
est des plus simples : Étant donné une pile capable de produire
cette lumière électrique (500 bougies, par exemple), cette
pile, sans odeur, nayant besoin daucun entretien, est enfermée
dans un endroit quelconque de lappartement, ou même de la
cave.
Pour séclairer, il suffît de tourner un commutateur,
et la pile fonctionne sur toute espèce de lampe électrique.
Elle finirait par sépuiser après huit ou dix heures
de travail, mais un simple fil conducteur la met en rapport avec une usine
électrique, installée plus ou moins loin, laquelle transmet
à la pile, par ce même conducteur, un courant électrique
inverse. Ce courant régénère la pile, pendant la
journée, la remet dans son état primitif, et la rend ainsi
propre à servir de nouveau sans délai. Cette pile se régénère
ainsi indéfiniment, au fur et à mesure quon la
utilisée.
On voit, par le rapide exposé que nous venons de faire, tout lintérêt
que présente lexposition de M. Maiche.
L. Maiche infatigable enchaine travaux et expérimentations
de tous ordres, mais il s'est surtout intéressé aux
applications de l'éléctricité , Piles, Moteurs,
Téléphones, Télégraphes, Lumière ...
Sa collection de plus de 300 brevets, représente
une somme de labeur des plus considérables.
sommaire
1878 sera une année marqaunte pour L.Maiche avec l'annonce
de l'invention de Bell en 1876 "le téléphone"
et de son arrivée en France fin 1877.
Cet interêt pour le téléphone continue
au Mans, le 28 décembre 1877 ou le conseil général
de la Sarthe organise une séance de présentation du téléphone
par M.Bouttevin, maire de Mayet qui a eut la chance d'assister
aux expériences faites par A.Breguet et A.Niaudet à l'école
des mines de Paris. L.Maiche ne manqua pas d'y assister :
|
Rapports et délibérations /
Conseil général de la Sarthe de 1877 PREMIÈRE
SÉANCE
...
« Je désire maintenant, Messieurs, vous entretenir
incidemment d'une nouvelle invention qui est probablement appelée
à détrôner le télégraphe : je
veux parler du téléphone.
« Imaginez un instrument enbois, de
dimension et de forme semblables à celles d'une patère
destinée à recevoir l'attache d'un rideau, à
ceci près qu'au lieu d'être terminée par une
pointe ou un bouton, notre patère sera terminée par
un hémisphère creux destiné à recueillir
les sons qu'on émettra devant lui. Supposez en outre que
dans cette patère on ait ménagé un trou cylindrique
central allant d'une extrémité à l'autre, et
vous avez le châssis de l'appareil. Le reste est non moins
simple. Au fond de l'hémisphère d'avant est placée
une plaque de fer étamé, de mince épaisseur,
bouchant lé trou. Derrière cette plaque, un barreau
aimanté est maintenu dans l'axe, et autour d'un de ses pôles
est nroulée une petite bobine portant un fil dont l'un des
bouts communique avec la terre, et dont l'autre
va à l'appareil récepteur. Ce dernier appareil est,
d'ailleurs, exactement semblable à celui que je viens de
décrire. Chacun sert indifféremment d'expéditeur
et de îrécepteur. Pour envoyer, on parle devant lui;
pour recevoir, on met l'hémisphère auprès de
son oreille.
«M. Bréguet, l'habile constructeur
d'appareils électriques, a installé, il y a quelques
jours à peine, le nouvel engin à l'École des
mines pour le soumettre à l'essai. 158 km de fil reliaient
les deux postes, qui se trouvaient donc dans les mêmes conditions
que si une distance de 158 km les eût séparés.
L'expérience a pleinement réussi. La netteté,
la hauteur, les intonations de la voix humaine, son timbre sontconservés
: seule, l'intensité est diminuée, ce qui n'est pas
étonnant si l'on songe aux résistances passives et
aux causes de perte des forces vives mises en jeu au départ,
transformation des ondes sonores en ondes électriques; sur
le trajet, la résistance du fil; à l'arrivée,
transformation inverse des ondes électriques en ondes sonores.
Aussi, sur ce point, un perfectionnement devra être introduit
encore pour amplifier le son.
« Devant une pareille découverte,
nous pensons, Messieurs, que dans l'intérêt de nos
petites lignes télégraphiques, il serait bon d'inviter
l'administration à prendre des renseignements précis
sur l'application de cette invention.
Nous croyons que les dépenses seraient de beaucoup moins
élevées si l'on pouvait substituer le téléphone
au télégraphe ; elles le seraient moins comme installation
et surtout comme manutention, puisque tout le monde pouvant se servir
de cet instrument, il ne serait pas nécessaire de faire des
études spéciales pour transmeltre les correspondances.
« L'intéressé lui-même
pourrait correspondre directement avec son commettant, ce qui lui
permettrait de donner à sa pensée des développements,
dans lesquels il lui serait quelquefois difficile d'entrer en les
faisant passer par un tiers.
« Il y a dans cette invention, Messieurs,
toute une révolution dans la science télégraphique;
aussi nous vous prions d'engager l'administration à faire
diligence pour s'enquérir si on peut en faire l'application
immédiate, ou s'il faut mieux attendre des expériences
plus concluantes. »
...
|
Mais M.Bouttevin était trop en avance sur son temps car 12
ans plus tard , le préfet de la Sarthe déclare encore "
en ce qui concerne la Préfecture, je reconnais que le téléphone
est absolument inutile".
Téléphone
Roosvelt-Breguet "Pour la France", avec
sa notice

Poutant en janvier 1878, Louis Seguin directeur de la Compagnie
du Gaz du Mans, pris l'initiative de faire relier des téléphones
Bell entre son usine et la mairie, afin de faire intervenir rapidement
les pompiers municipaux en cas d'incendie à l'usine.
L'inauguration eut lieu le 14 janvier, en présene de Seguin,
Bouttevin, des personnalités ... et Cornélius
Roosvelt en personne, détenteur de la licence des téléphones
Bell en France . |
sommaire
A cette date, il n'y avait que de rares installations de
la sorte, en point à point et en passant par la voie publique,
il fallait une autorisation préfectorale et l'aval de l'administration
des Télégraphes pour utiliser les liaisons télégraphiques,
et le seul matériel de licence Bell autorisé à être
installé est celui de Roosvelt. Les journaux comme l'avenir de
la Sarthe et le journal de la Sarthe ont rapidement commentés cette
manifestation.
1877 dans la Sathe, Léon Bédorez et de La Guérinière
sont désignes comme délégués pour représenter
la Société à la réunion des Sociétés
savantes des départements. Bédorez est professeur
du lycée du Mans : et a participé à cette première
installation, il en profita pour acheter une paire de téléphone
Bell auprès de C.Roosvelt et les installera dans son lycée
pour relier deux pièces éloignées.
A son tour le 18 Janvier 1878 il organise une conférence
pour les membres de la Socièté d'Agriculture, Sciences et
Arts de la Sarthe. (Bulletin de la société
d'agriculture, sciences et arts de la sarthe 1878)
Pour L.Maiche présent
à toutes ces conférences et expériences, cela le
pousse à se pencher sur cette nouvelle technologie, à étudier
les modèles existants ou présentés dans la presse
scientifique. Partant du principe que le transmetteur Bell n'est pas très
performant et que le principe du micro de Hughes est prométeur,
le 15 septembre 1878 il ne tarda pas à fabriquer un prototype
qu'il appela : l' Electrophone .
Cette fois il ne déposa pas de brevet, il revendiquera plus tard
l'antériorité de sa découverte sur celle de Louis
John Crossley alors que cela n'était pas possible car la revue
"l'Electricité du 20 juillet 1878" relate l'expérience
faite à Halifax autours de mars 1878.
Quelques mois plus tard Maiche met au point son premier microphone à
charbon à contact tangentiels et en dépose le brevet :
Le 5 novembre 1879 Brevet 133462
pour "un appareil électrique dit Electrophone".
(Revue
la lumière électrique)
Nouveau téléphone, dit téléphone
Louis Maiche 135873
02.04.1880 ; MAICHE Louis Yvré-l'Evêque Le Mans (72386) (72181)
; (3 pages)
sommaire
C'est en 1880 que la presse scientifique, présente
l'électrophone (vu dans Lélectricité
N°19 du 5 octobre 1880)
Le système de communications
téléphoniques imaginé par M. Louis Maiche
se compose de deux appareils qui sont tous deux semblables à
celui que nous allons décrire et qui sont mis en rapport à
une distance quelconque par un fil télégraphique.
Lélectrophone de ce physicien se compose dune boite
en bois AA ayant environ 25 centimètres de côté,
devant laquelle se place la personne qui veut parler.
 
Lintérieur de cette caisse est doublé
dune seconde caisse en verre B, isolée de la première
pur une épaisse couche de ouate CC ; cest cette caisse
en verre qui reçoit les ondes sonores produites par la parole
et transforme le mouvement vibratoire de lair en action mécanique
se résumant par une différence de pression sur deux
billes en charbon D, qui fixées à deux charnières
E E reçoivent le courant électrique dune pile
composée dun ou deux éléments et transmettent
les différences dintensité résultant
des différences de pression à un téléphone
Identique situé à une distance quelconque et servant
de bobine dinduction au moyen des conducteurs ordinaires.
La bobine dinduction, les boules en
charbon et les conducteurs qui les relient sont disposés
de manière à navoir jamais besoin dêtre
touchés ni réglés. Lappareil, tel quil
est sur le dessin, peut fonctionner indéfiniment sans aucune
espèce de réparation et entre toutes les mains.
A gauche se trouve un petit bouton G, semblable
à ceux des sonneries électriques dappartement.
Quand on parle à une distance de la
cloche en verre, qui peut aller jusquà plusieurs mètres,
celle-ci vibre à lunisson de lair, et ses vibrations
se transforment instantanément et complètement en
effets mécaniques se traduisant par des différences
de pression des deux boules en charbon, lesquelles déterminent
dans la bobine les courants induits qui peuvent être recueillis
à la station darrivée de la même manière
quils ont été produits, cest-à-dire
à laide de la bobine de Ruhmkorff du récepteur.
Les mouvements moléculaires du verre,
dont la surface est cent fois plus grande que celle du disque vibrant
dun téléphone ordinaire, acquièrent une
grande intensité en se concentrant ou se totalisant sur le
point où reposent les boules en charbon.
Lintensité des effets ainsi accumulés
permet de donner aux boules en charbon et aux pièces qui
les supportent des dimensions et un poids qui assurent une parfaite
stabilité et dispensent de toute espèce de réglage,
en se plaçant bien au-dessus de toutes les causes de dérangement.
Il ny a plus rien là qui rappelle
le microphone, et cependant la sensibilité de lappareil
est si grande quune résistance de quinze cents kilomètres
nempêche pas dentendre distinctement les battements
dune montre et le souffle de la respiration.
Parmi les expériences les plus intéressantes qui ont
eu lieu sur lélectrophone, nous citerons lessai
qui a été fait entre la Chambre des députés
et le Sénat ; un autre entre le Bureau central des lignes
télégraphiques de Paris et celui de Versailles.
Deux autres postes sont établis dans les conditions les moins
favorables qui puissent se présenter, sans que le résultat
en soit influencé en quoi que ce soit. Lun relie les
forges dAntoigné (Sarthe) à la gare de
Monbizot ; lautre, partant également des forges
dAntoigné, relie cet établissement avec les
bureaux de M. Chappée, leur propriétaire, situés
au Mans, à une distance de 28 km environ.
Le fil est disposé sur les poteaux ordinaires qui supportent
les fils de lÉtat et ceux de la Compagnie du chemin
de fer de lOuest.
Le voisinage de ces fils na rien de nuisible ; le retour se
fait par la terre comme dans les installations télégraphiques
ordinaires.
Dans latelier de M. Louis Maiche, que nos abonnés
pourront visiter, à notre recommandation, en nous en adressant
la demande, nous avons pu entendre une conversation en intercalant
dans le circuit un morceau de bois blanc dune épaisseur
dun décimètre, et même une cloche de verre,
sans que le son de la voix fût très notablement diminuée.
Pour exécuter ces belles et curieuses expériences,
il faut appliquer de chaque côté de la substance intercalée
une feuille détain semblable à celle dun
condensateur.
Cette circonstance montre admirablement lextrême facilité
que les courants dinduction ont à se propager malgré
les obstacles dont leur route est semée.
Elle permet de concevoir lespérance
que le courant téléphonique ainsi constitué
puisse être utilisé pour faire franchir à la
parole humaine des mers profondes.
|
sommaire
Peu après le 23 mars 1880 L.Maiche dépose
un autre Brevet 135 725 pour "un genre d'Eléctrophone"
.
Il se fait représenté par un cabinet spécialisé
de l'ingénieur Charles Thition. Ce nouvel appareil est équipé
de son microphone à charbons et de deux récepteurs Bell
classiques.
En 1878, C.Thirion organise les congrès et conférences de
l'Exposition universelle de Paris. Il s'occupe particulièrement
comme secrétaire général, du Congrès de la
Propriété industrielle.
Le premier téléphone Maiche
Louis décide d'équiper son transmetteur (microphone) d'un
téléphone de sa fabrication et le construit avec Aurélien
Baranger du Mans.
Le 2 avril 1880 L.Maiche dépose le brevet 135873
pour "Un nouveau téléphone dit Louis Maiche".

C'est un récepteur de type Bell modifié en employant un
aimant à deux branches . Une branche est formée d'un barreau
cylindrique en acier supportant une rondelle en fer doux à son
éxtrémité. L'autre branche est un tube d'acier dont
la base repose sur la rondelle de fer, la partie supérieure du
tube sert de support à la lame vibrante. Tout ceci est enfermé
dans une enveloppe en bois avec deux bornes recevant les fils extérieurs.
Brevet du 24 juin 1881
La Société
de l'éléctrophone au nom de Société
Louis Maiche et Compagnie de l'éléctrophone est
crée le 21 juillet 1880 au capital de 20000 francs.
Suivra le 2 aout 1880, un brevet
Si les expériences précédentes sont réussies,
ce n'est pas parfait en utilisant les fils télégraphiques,
les bruits d'induction de la télégraphie deviennent vite
génants .
Rien n'arrête L.Maiche, il se penche sur ces problèmes et
fini par déposer deux autres brevets :
- 15 septembre1880 brevet 135725
pour un "Système de transmission des depêches éléctriques"
- 19 octobre 1880 brevet 139234
pour un "Système d'extintion des courants induis qui se développent
dans les lignes télégraphiques"
Fin 1880 L.Maiche réalise des expériences sur de grandes
distance entre Calais et Douvres et Douvre et Londres.
En 1881 le 1er janvier Louis
Maiche est fait officier de la légion d'honneur pour ses travaux
sur la pile électrique.
Maiche est prêt pour faire des expériences pupliques, le
5 février 1881, il présente son appareil à une soirée
organisée par le contre-amiral Mouchez directeur de l'Observatoire
de Paris,
Le 12 février 1881 , Grande salle du Palais de la bourse
de Paris, il est invité à présenter son appareil
à une manifestation organisée par Adolphe
Cochery ministre des P&T avec l'aide A.Breguet.
Le lendemain Mangon direceteur du Conservatoire des Arts et Métiers,
organise à son tour d'autres expériences. parmis les appareils
exposés figure l'éléctrophone de L.Maiche.
En l'espace de quelques jours, Maiche est devenu un savant reconnu par
le tout PARIS !
Pour se préparer à la future Exposition Internationale de
l'Electricité de Paris, Louis Maiche se remet au travail et va
déposer plusieurs brevets en quelques mois.
- Amélioration du microphone avec la cloche en verre pour revenir
à une lame vibrante en fer munie d'une rondelle en charbon qui
constitue le premier contact, le deuxième sera produit par une
boule en charbon.
Ce sera l'objet du brevet 141445
du 2 mars 1881 pour "Un appareil téléphonique dit Eléctrophone
multiplicateur".
Reste quelques soucis de bruits résidents et voila un brevet le
5 mars 1881 pour "Un système de transmission des courants
électriques".
Encore une nouvelle version d'un appareil contenant le microphone à
2 boules, avec une bobine qui sert à la fois d'induction et de
sonnerie, la boite est toujours cubique avec cette fois un pavillon sur
une face avant. Il
dépose le 19 juillet 1881, le brevet 144023
pour "Un appareil micro-téléphonique" qui sera
exposé à l'Exposition universelle de Paris.
Appareil micro-téléphonique
sommaire
Le premier microphone à contacts
multiples a été publié par Louis Maiche
dans le Kosmos les mondes du 26 septembre 1878.
Le 16 novembre 1878 près de deux mois après M.Hopkins
dans le scientifique américan publiait la description
d'un autre microphone composé, mais ce n'est qu'au 1er février
1879 que Crossley décrit sa prmière combinaison
de microphones de Hugues.
Le brevet Maiche pour l'emploi de charbons cylindriques diposés
horizontalement pour obtenir les contacts tangentiels est du 5
novembre 1879, et par un certificat d'addition du 22 décembre
1879, l'inventeur indique l'emploi de séries de charbons disposés
parallélement ou en dérivation.
Le premier brevet Ader est seulement du 19 mars 1880 et ce
n'est que dans un certificat d'addition du 10 juillet 1880 que l'on
retrouve l'emploi de charbon cylindriques et l'assemblage en dérivation
indiqués dans les brevets MAICHE
|

|
Et en 1881 à l'Exposition universelle de Paris,
Louis Maiche présentait son Electrophone et ses nombreux
appareils divers.
SOCIÉTÉ DE L'ÉLECTROPHONE
L. MAICHE & C ie PARIS 3,
RUE LOUIS LE GRAND PARIS
M. L. Maiche, dont les découvertes scientifiques et industrielles
sont bien connues, expose toute une série dappareils,
qui se distinguent par un caractère de frappante originalité
et une grande fécondité de conception. De nombreux problèmes,
parmi les plus complexes de la science électrique, ont été
abordés par lui avec une véritable hardiesse, et sont
résolus sous nos yeux de la manière la plus heureuse.
Chacun deux ayant une importance pratique considérable,
nous allons les examiner en détail et séparément
:
Électrophone. (Transmetteur de la parole à grandes
distances.)
Cet appareil est exposé dans la grande galerie du premier étage,
où deux postes ont pu être établis à chacune
de ses extrémités. Il fonctionne au milieu du bruit
des machines, du piétinement et des conversations des promeneurs,
sans quaucune précaution ait été prise
pour se soustraire à ces inconvénients. Ces conditions
fâcheuses ont été choisies à dessein pour
démontrer au public la supériorité de lappareil.
Nous avons été frappés par la hauteur du ton
et la netteté de la voix transmise; malgré les bruits
environnants, pas un mot dune lecture rapide à voix basse
ne nous a échappé. Il nétait pas nécessaire
de sapprocher de lappareil pour parler, nous pouvions
même lui tourner le dos. Cest certainement, suivant lopinion
de toutes les personnes présentes, le plus puissant des appareils
connus.
Mais cest surtout en vue des longues distances que M. Maiche
a combiné les différentes parties de son électrophone.
On sait que la transmission de la parole sur les lignes télégraphiques,
présente des difficultés de toutes natures; M. Maiche
les a surmontées avec un rare bonheur. Les journaux scientifiques
ont relaté les essais de son appareil, faits de Calais à
Douvres et de Douvres à Londres, dans laprès-midi,
à lheure où le service des lignes télégraphiques
est le plus actif : on sait que ces expériences ont eu le succès
le plus complet. La conversation sest effectuée entre
ces points pendant plusieurs heures, librement, et sans interruption.
Pour obtenir ce résultat, il fallait, entre autres difficultés,
supprimer les bruits dinduction produits parles fils conducteurs
les uns sur les autres, sous linfluence de lenvoi de dépêches
télégraphiques dans les lignes voisines, bruits qui
sont assez hauts pour couvrir la voix.
Suppression de linduction. Une expérience
extrêmement curieuse est faite sous nos yeux, en vue de démontrer
lefficacité des moyens employés par M. Maiche
pour anéantir ces bruits dinduction, et laisser subsister
la voix dans toute sa plénitude. On se sert dun câble
renfermant trois fils isolés. Dans lun de ces fils, passe
le courant interrompu dune pile; le deuxième est mis
en rapport avec un téléphone ordinaire, dans lequel
on entend un bourdonnement insupportable; le troisième est
celui qui relie, entre eux, deux électrophones. Le bruit produit
par le courant interrompu de la pile, et qui est entendu avec tant
de force dans le deuxième fil, nest plus perçu
dans le troisième (qui est cependant voisin du premier au même
degré que le deuxième), il se trouve complètement
anéanti, et le tic-tac dune montre, placée près
de lun des électophones, est clairement et seul entendu
à lautre poste, bien que des résistances équivalant
à plusieurs milliers de kilomêtres aient été
interposées dans le circuit.
Transmission et reçeption de plusieurs voix sur un seul
fil. M. Maiche nous fait aussi voir la transmission et la
réception simultanée de plusieurs voix sur une même
ligne. Au départ, deux personnes parlent en même temps.
A larrivée, deux personnes écoutent. Chacune de
ces deux personnes entend séparément la voix quelle
veut entendre, et sans aucun mélange. Dans les appareils télégraphiques
Duplex, on utilise le temps perdu entre lenvoi de chaque signal.
Ici, rien de semblable : les voix sont mélangées sur
la ligne et se séparent à larrivée.
Condensateur expéditeur de la parole. Lutilisation
du condensateur (un simple cahier de papier) comme expéditeur
de la parole est toute une révélation. Il est employé
seul, cest-à-dire sans le secours daucun téléphone,
microphone ou bobine. On avait déjà réussi à
se servir du condensateur comme récepteur, mais jusquà
présent, personne navait imaginé de lutiliser
comme transmetteur. La découverte de M. Maiche sur ce point
est certainement grosse pour lavenir, le condensateur présentant
sur le microphone des avantages pratiques marqués. Nous ne
nous étendrons pas davantage sur ce sujet; nous nous contentons
den signaler toute limportance, et de mentionner les résultats
très surprenants obtenus par M. Maiche.
M. Maiche expose aussi, dans cet ordre didées,
une collection des appareils dits « électrophones »,
quil a imaginés jusquà présent, et
qui ont subi peu à peu les transformations qui ont abouti au
type actuel. Nous remarquons, entrautres, lappareil breveté
en 1878.
Cest une caisse sonore, transmettant les vibrations du son à
une série de charbons cylindriques disposés dune
manière spéciale.
Cette disposition des charbons multiples avait donné lieu,
dans lorigine, à quelques critiques, cependant elle forme
la base des imitations que constituent certains appareils actuels
très prônés. M. Maiche y a substitué depuis
ses dispositions actuelles qui, suivant lui, sont bien préférables.
Télégraphie. On sait de quelle utilité
sont ces relais qui permettent lenvoi de dépêches
à de très grandes distances.
Le système exposé par M. Maiche permet la transmission
de ces dépêches à des distances illimitées.
Pour le démontrer, M. Maiche fait fonctionner un récepteur
ordinaire de Morse au moyen dun seul élément de
pile, même le plus faible, en employant pour résistance
le vide dun tube de Geisler. Chaque signal qui simprime
à larrivée paraît dabord sous la forme
dune lueur dans le tube, ce qui permet
au public de « voir passer » la dépêche.
Pile inusable. La pile télégraphique Maiche
a vivement excité lattention des électriciens.
La dépolarisation seffectue par la combinaison de loxigène
de lair avec lhydrogène de leau, sous l'influence
de charbons platinés humides, renfermés dans un vase
en porcelaine plongeant légèrement dans de leau
acidulée. Une petite coupe en porcelaine, disposée au-dessous
du vase poreux, contient un peu de mercure, sur lequel repose le zinc.
Des conducteurs en platine transmettent le courant à deux bornes
fixées à un couvercle en ébonite qui recouvre
le bocal, et sert de support à tout le système. Le résultat
se résume ainsi : usure du zinc réduite à ses
dernières limites ; dépolarisation indéfinie
ne coûtant rien ; constance rigoureuse ; grande propreté.
Pour la télégraphie, les sonneries, les signaux, etc.,
on peut dire que cest la pile par excellence. Sa force électro-motrice
est égale à 1,250, celle de Daniel étant égale
à 1,000.
Lumière éléctrique à domicile.
Il nous reste à parler du système de régénération
des piles, imaginé par M. L. Maiche.
Ce système nau aucun rapport direct avec les appareil
dits « accumulateurs» M. Maiche a pour but de fournir
la lumière électrique à domicile de la manière
suivante, qui est des plus simples : Étant donné une
pile capable de produire cette lumière électrique (500
bougies, par exemple), cette pile, sans odeur, nayant besoin
daucun entretien, est enfermée dans un endroit quelconque
de lappartement, ou même de la cave. Pour séclairer,
il suffît de tourner un commutateur, et la pile fonctionne sur
toute espèce de lampe électrique. Elle finirait par
sépuiser après huit ou dix heures de travail,
mais un simple fil conducteur la met en rapport avec une usine électrique,
installée plus ou moins loin, laquelle transmet à la
pile, par ce même conducteur, un courant électrique inverse.
Ce courant régénère la pile, pendant la journée,
la remet dans son état primitif, et la rend ainsi propre à
servir de nouveau sans délai. Cette pile se régénère
ainsi indéfiniment, au fur et à mesure quon la
utilisée.
On voit, par le rapide exposé que nous venons de faire, tout
lintérêt que présente lexposition
de M. Maiche. Cet intérêt explique laffluence de
public que lon remarque dans cette partie du Palais. Nous regrettons
que le cadre qui nous est imposé ne nous permette pas de nous
étendre davantage sur le côté technique de chacune
des inventions que nous venons dénumérer. Mais
nos lecteurs auront pu néanmoins se rendre compte de la grande
importance pratique de ces travaux considérables, et ceux qui
auront été à même de les examiner sur place
partageront certainement les impressions que nous avons exprimées
au début de cet article. |
Vers la fin de l'exposition de 1881, L.Maiche présente
même un nouveau dispositif pour supprimer l'induction en plaçant
la bobine au niveau du cental téléphonique.

Suivra le 3 décembre 1881 le brevet 146 190 pour "Un système
d'établissement des circuits téléphoniques".
Louis Maiche recevra une médaille d'or pour sa pile à l'issue
de l'Exposition Universelle de Paris de 1881.
Autre article dans le journal télégraphique
du 25 décembre 1881
L'Exposition internationale d'électricité,
par M. ROTHEN, Directeur-adjoint des télégraphes suisses.
M. Maiche s'est beaucoup occupé de perfectionner les téléphones.
Nous avons déjà eu l'occasion de parler dans le Journal
télégraphique, vol. IV, page 805, d'une de ses inventions.
Elle figurait à l'Exposition comme réminescence historique,
mais l'objet principal de l'exposition de M. Maiche était un
transmetteur microphonique quadruple.
Le microphone ressemble beaucoup à celui de Blake. Quatre de
ces microphones sont disposés en carré, chacun muni
de son embouchure. Quand on parle devant la boîte, les, vibrations
de l'air agissent simultanément sur les quatre microphones
et il en résulte une augmentation proportionnelle de l'effet.
Nous avons essayé ce microphone sur de véritables lignes,
par exemple, entre le Palais de l'Industrie et la rue de Grenelle,
et nous avons pu constater qu'il rend très-dis-tinctement les
articulations de la voix. M. Maiche s'occupe aussi d'autres questions
concernant la téléphonie telles que la suppression de
l'induction et nous avons pu nous convaincre, sur la ligne sus-mentionnée
où le même câble contenait d'autres fils fonctionnant
avec appareils Morse, qu'il était effectivement difficile de
constater les effets de l'induction.
De l'examen des appareils de M. Maiche il nous a paru que si, comme
nous n'en doutons pas, ils peuvent être perfecttionnés,
ils sont appelés à avoir de l'avenir. |
Dès 1882
la Société Générale
des Téléphones, la souveraine, sinquiéte
des trops nombreux constructeurs qui commençaient à proposer
des téléphones pour les installations domestiques et à
lui faire de l'ombre.
1883 la SGT décide de leur faire
un procès pour contrefaçon pour essayer d'enrayer
cette concurence.
La SGT est représenté par Armengaud Jeune, ingénieur
conseil et administrateur de la société, et J.E.Engrand
avoué de 1ere instance auprès du tribunal de la Seine. Suivirent
des saisies descriptives chez certains constructeurs et fait assigner
devant le tribunal de la Seine des sociétés dont : La Société
anonyme Maison Bréguet; Maiche, Lenczewski, Journaux, De Locht-Labye
, Beillahache, M portevin fils... Mildé fils, la Société
du gaz de nice , Bert et D'Arsonval, D'Argy ...
A.Jeune expert en brevet tend à prouver que les appareils dérivent
des brevet français d'Edison pour l'emploi du micro à charbon
et de la bobine d'induction.
1885 l'affaire de contrefaçon de 1882 intentée par
la SGT refait surface.
Les avocats de la SGT produisent un document pour instruire le futur procès
( à lire dans la lumière électrique du 21 mars 1885),
pour Louis Maiche la conclusion est sans appel "Ce parleur de M.Maiche
reproduit tous les caractères distinctifs du système Edison";
L.Maiche ne peut pas luter contre la mauvaise foi de la puissante et souveraine
SGT. Et c'est pareil pour les autres sociétés poursuivies
: La Société anonyme Maison Bréguet; Lenczewski,
... Bert et D'Arsonval, d'Argy, Mildé ....
Cela entraina la faillite de Locht Labye ainsi que d'autres constructeurs.
Voila Maiche saisis pour contrefaçon mais
il ne tarde pas à publier un mémoire justificatif dans la
presse, expliquant que la découverte du microphone à charbon
est reconnue à M.Hugues et pas à Edison ...
1885 l'affaire de contrefaçon
de 1883 intentée par la SGT refait surface.
Les avocats de la SGT produisent un document pour instruire le futur procès
( à lire dans la lulière électrique du 21 mars 1185),
la conclusion est sans appel "Ce parleur de M.Maiche reproduit tous
les caractères distinctifs du système Edison"; L.Maiche
ne peut pas luter contre la mauvaise foi de la puissante et souveraine
SGT.
sommaire
Pas tout à fait satisfait de ces dernières
créations, L.Maiche fit encore quelques amélioratoins.
Il commence par remplacer le bouton de sonnette par un commutateur de
son invention : lorsque le commutateur est relevé, le courant circule
dans le téléphone et permet d'écouter la conversation;
lorsqu'on parle devant le micro, on appuie sur le commutateur et le courant
passe vers le fil de ligne sans s'atténuer en passant à
travers les téléphones. C'est assez contraignant alors il
imagine une solution sans servitude .
C'est le brevet 150 765 du 25 aout 1882 pour "Un nouveau système
de transmission".
Puis il tavaille ensuite sur la façon d'enroulement des fils sur
la bobine d'induction, ce sera un certificat d'addition 144 023 du 16
juin 1882.
Pour terminer cette phase, il revise l'aspect esthétique
de son appareil pour proposer un modèle en acajou vernis comme
ceux de la concurence à cette époque.
1882 L'Electophone vertical
Conservant le principe du microphone à 2 boules, Maiche
ajoute un troisième contact, chacun ayant sa propre bobine d'induction
et sa propre pile, le brevet est déposé le 19 avril 1882 no
148 512 pour "Un nouvel appareil téléphonique".
Afin de pouvoir commercialiser un appareil haut de gamme, Maiche
s'associe avec Ladislas Lenczwski qui fabrique des instruments de
précision et d'électricité et qui a développé
une branche "téléphones" pilotée par Abdank
Abakanowicz. (D'arsonval faisait également construire ses modèles
chez Lenczwski).
Les trois hommes mettent au point en avril 1882 un magnifique appareil en
noyer.
 
Eléctrophone vertical, brevet du 2 mars 1881. Consultez
le catalogue Maiche 1885
Brevet déposé le 19 avril 1882 no 148512
pour "Un nouvel appareil téléphonique".
Pour encore améliorer les récepteurs qui se dérèglent
facilement du fait que le barreau aimanté est fixé sur le
manche en bois qui a tendance à se déformer, il décide
de fixer le barreau sur une cuvette métallique, le réglage
définitif peut se faire grâce à un pas de vis.
Cela donne un autre brevet 150 018 du 8 juillet pour "Un système
de montage du barreau aimenté dans les téléphones"

avec écouteur Lenczwski.
Ultime aménagement dans le but de simplifier la construction de l'appareil
et d'en faciliter le montage et en augmenter la puissance avec un certicat
d'addition le 6 septembre 1882, touche finale, un manche modifié,
avec une bonette élégante en ébonite noire.
Suivra quelques jours plus tard le nouvel "Eléctrophone pupitre"
Pupitre avec un nouveau transmetteur. Disposition
protégée par un certificat d'addition 133462
du 31 aout 1882.

Maiche fait construire tous ses ses modèles par l'entreprise
Lenczwski jusqu'en janvier 1883, son successeur sera la Société
de Branville.
Ces téléphones luxueux et plus couteux que
ceux de la concurence, sont toutefois appréciés par les particuliers
désirant faire une installation privée.
Une station revient à 150 francs, 100 francs pour l'appareil mural
et 30 francs pour les deux téléphones récepteurs, 10
francs pour la sonnerie et 10 francs pour deux éléments de
pile . L'entretien est proposé à 30 francs par an.
C'est en 1882 que A.Cochery émet un décret qui permet l'établissement
et l'usage des lignes télégraphiques d'intérêt
privé. Ce qui permet de pouvoir relier des lignes privées
au réseau télégraphique de l'état ou bien de
relier entre eux deux établissements privés. Les frais d'établissement
sont de 250 francs par km de ligne, les frais d'entretien sont de 20 francs
par an et par km de ligne. L'état prélève un droit
d'usage de la ligne de 15 francs par an et par km de ligne.
sommaire
En 1883 après la reconstruction de Hotel
de ville de Paris, l'architecte émet un appel d'offre pour équiper
cet édifice en moyen de communication ... C'est Ch. Mildé
qui remporte l'affaire et propose 45 téléphones Mildé-D'Argy,
46 postes Mildé pour les téléphones internes
à bon marché et 15 postes Maiche pour pour grande
distance avec un tableau à plusieurs directions, 4 piles et une
sonnerie.
Pour améliorer la gestion de fin de conversation, L.Maiche préconise
l'installation d'un galvanomètre sur l'équipement placé
au poste central téléphonique. Le 28 aout 1883, brevet 157275
est déposé pour "Indicateur de la fin de conversation
dans les installations téléphoniques".
En 1884 L.Maiche n'ayant pas réussi à imposer ses appareils
sur les premiers réseaux exploités par l'état (la
préférence a été la maison Breguet), il continue
à améliore ses modèles pour proposer 3 nouveaux modèles
dans son catalogue de 1884.
  
Le cataloque propose les différents téléphones, piles
et accéssoires disponible :
- Elécrophone pupitre, 100 fr
- Elécrophone vertical, 100 fr
- Elécrophone portatif, 100 fr
- Téléphone Maiche, 15 fr (écouteur)
- Sonnerie d'appel, 12 fr
- Bureau central à guichet, 35 fr
- Pile pour la parole, 5 fr
- Pile Maiche type 1, 5.5 fr
- Pile type 2, 3 fr
Version 1885

Consultez
un catalogue d'appareils téléphoniques de la maison MAICHE
1886 C'en est pas fini avec les téléphones,
Louis Maiche conçoit un téléphone avec avertisseur
: brevet 176192
du 17 mai 1886 pour "Un système de téléphone
avec avertisseur ou appel magnétique" . C'est un recepteur
à anneau avec une petite bobine autour de la pièce métallique
afin de crééer un bourdonnement servant de signal d'appel.
Puis il propose une amélioration pour pouvoir régler la
plaque vibrante en vue d'avoir la meilleure audition possible. C'est le
brevet du 12 novembre 1886 N° 179615
pour "Des perfectionnements dans les appareils de communications
téléphoniques".

sommaire
1885 L'exposition d'Elétricité de
l'Observatoire de Paris est remplacée par une importante exposition
sur l'électricité organisée par l'amiral Mouchez
et Georges Berger. Cette exposition est ouverte par le Président
de la république le 21 mars.
1885, dans le "Panthéon de l'industrie"
on pouvait lire :
|
...
Nous n'avons pas ici l'intention d'énumérer toutes
les inventions auxquelles L.Maiche a attaché son nom et pour
lesquelles il a pris des brevets par centaines. Nous mentionnerons
toutefois, parmi les plus remarquables, celles qui rentrent particulièrement
dans notre cadre industriel, telles que :
Le bronzage électro-chimique d'usine et la dorure de l'aluminium
; un alimentateur d'eau pour les chaudières à vapeur
qui a l'avantage de maintenir dans les générateurs
un niveau d'eau rigoureusement constant.
Nous avons à peine besoin de signaler, parmi les découvertes
spéciales qui lui ont assigné une si, grande place
au nombre des électriciens, la pile Maiche, qui est
aujourd'hui connue de tout la monde, et qui remplace avantageusement
les meilleures piles employées jusqu'alors. Elle est applicable
à la télégraphie, à la téléphonie,
aux sonneries d'appel, aux signaux de chemins, de fer.
Citons encore le condensateur téléphonique, pour la
transmission de la parole ; le relai radiométrique, le microphone
radiométrique, appareils d'une grande sensibilité
; un système télégraphique propre à
la reconstitution des courants trop faibles par des effets d'induction,
etc., etc., etc.
Mais ce qui sera comme le chef-d'uvre
de Maiche et ce qui restera comme une des plus belles conceptions
de nos temps modernes, c'est l'Eleclrophone Maiche qui remplace
aujourd'hui avec tant de supériorité tous les appareils
téléphoniques ou microphoniques créés
à cette époque.
Nous avons même cru devoir, à cet égard, consacrer
à cet appareil merveilleux, que l'on peut considérer
comme la plus importante découverte du dix-neuvième
siècle, une étude spéciale que nos lecteurs
trouveront plus loin.
D'un pareil ensemble de travaux, qui suffiraient
à la gloire d'une vie tout entière, il nous sera bien
permis de conclure à une nouvelle série de découvertes
prochaines appelées à révolutionner le monde.
Nous l'avons dit, L.Maiche est un jeune, il n'a que quarante ans;
une longue carrière lui reste à parcourir, et l'aurore
du vingtième siècle, qui le trouvera encore sur la
brèche, sera pour cet infatigable travailleur , arrivé
déjà à l'apogée de la gloire scientifique,
le signal de son apothéose.
Déjà récompensé
de ses admirables découvertes par une première distinction
académique, L.Maiche ne tardera pas, nous en avons l'assurance,
à appeler sur lui l'attention du Gouvernement. La France
n'aura payé sa dette à la plus modeste et à
la plus vaillante de ses illustrations scientifiques, que lorsqu'elle
aura placé sur la poitrine de Maiche la croix de chevalier
de la Légion d'honneur.
Lélectrophone Louis Maiche
Depuis qu'Alexandre Graham Bell a inventé
le téléphone, c'est à-dire depuis quelques
années seulement, cet appareil a rendu tant de services au
commerce, à l'industrie et aux particuliers eux-mêmes
qu'il est devenu aujourd'hui une véritable
nécessité sociale. Mais il en a été
de cette invention comme de tant d'autres qui, loin d'être
parfaites du premier coup, ont subi progressivement des améliorations
et des perfectionnements qui en ont rendu la pratique de plus en
plus facile, de plus en plus accessible à la vulgarisation.
En effet, si l'on s'était arrêté
à la découverte de Bell, si elle n'avait été
compl'étée, en 1878, par l'invention du microphone
de Hughes, il fut resté pour ainsi dire impossible de correspondre
à de grandes distances; la transmission de la voix par le
téléphone seul manquant absolument d'ampleur, de sonorité
et de netteté.
Même ainsi complétée l'invention
laissait encore à désirer; et c'est à un Français,
un électricien des plus distingués, M. Maiche, que
revient l'honneur d'avoir trouvé la meilleure solution, grâce
à la création d'un appareil auquel il a attaché
son nom : l'Electrophone Maiche. C'est ainsi, du moins, qu'il faut
désigner ses transmetteurs et récepteurs téléphoniques
perfectionnés, dont il a fait un tout absolument pratique
et parfait.
Or, il est arrivé à M. Maiche
ce qui arrive généralement à tous les inventeurs
; la priorité de sa découverte lui a été
contestée ; et pourtant il n'est que Mondes,
le microphone à contacts multiples. Le 16 novembre de la
même année, c'est-à-dire deux mois après,
M. Hopkins publiait, dans le Scientific American, la description
d'un microphone à plusieurs charbons; enfin le 1er février
1879, Crossley décrit le merveilleux
appareil dans lequel il semble avoir résumé toute
la somme de ses facultés de conception et de son talent d'inventeur.
L'Eleclrophone, en effet, sorti tout entier
de ses mains, et nous pourrions dire de son cerveau, a été
par lui porté à un tel degré de perfection
qu'il peut défier désormais toute comparaison avec
les appareils téléphoniques ou microphoniques actuellement
connus.
Tous ces instruments peuvent avoir leurs qualités
spéciales et nous ne saurions refuser à chacun d'eux
sa part d'utilité incontestable ; mais nous ne pouvons oublier
que l'électrophone qui, à lui seul, résume
toutes les perfections de ses congénères en les complétant
par les sciences propres, est aussi leur aîné, par
priorité d'invention et de brevet, ainsi que nous venons
d'en énoncer les preuves.
Ennemis en principe de tous les monopoles,
nous ne saurions admettre que chaque inventeur, même dans
un ordre de faits analogues, ne puisse avoir sa place légitime
au soleil; mais, dans l'espèce, il est absolument inadmissible
que ceux qui sont arrivés les derniers avec des appareils
analogues mais moins complets, moins perfectionnés, prétendent
interdire à la Société
de l'électrophone l'exploitation d'un brevet authentique
dont la priorité ne saurait être douteuse et dont les
avantages sont incontestables.
La combinaison des contacts microphoniques dans les transmissions
téléphoniques, est, en effet, l'uvre de M. Maiche
et la propriété absolue de la Société
de l'électrophone.
Ce qui est certain, c'est que cette excellente
application de la transmission de la parole à distance a
révolutionné l'industrie, qu'elle a rendu dans les
grands établissements, les usines, les maisons de commerce,
les administrations, les plus grands services, qu'elle a facilité
et multiplié les transactions, qu'elle
a été, en un mot, un élément de richesse,
une source de fortune pour toutes nos grandes entreprises.
On conçoit en effet tout le parti qu'on
peut tirer de l'installation d'un électrophone faisant communiquer
un château à une usine, un bureau à ses dépendances,
une entreprise centrale à tous les ateliers ou chantiers
qu'elle dirige ; on comprend également son utilité
dans les grands hôtels, les maisons de commerce, les habitations
particulières, pour les instructions, les ordres à
donner, pour annoncer les visiteurs du rez-de-chaussée à
tous les étages supérieur, etc., etc., etc.
A côté de ces installations à
des distances relativement courtes, il convient de faire remarquer
que les appareils Maiche, grâce à leurs principes et
aux soins apportés à leur bonne construction, grâce
enfin aux heureuses proportions des bobines d'induction alliées
aux microphones, jouissent d'une puissance considérable qui
permet de pratiquer des transmissions téléphoniques
à 350 kilomètres et au-dessus sur des lignes ordinaires
à fil unique avec retour par la terre.
Nous devons même rappeler, à
cet égard, que c'est M. Maiche qui le premier a indiqué
l'emploi des lignes en cuivre pour la transmission téléphonique
à grande distance, et qu'il a pris un brevet spécial
pour cette application.
Ajoutons, à titre de renseignement,
que les téléphones récepteurs, système
Maiche, se font remarquer par un ensemble de dispositions réunissant
à une incomparable sensibilité une solidité
très grande et un prix de revient extrêmement réduit.
Le succès a d'ailleurs couronné
les efforts méritoires et le talent de l'inventeur; car aujourd'hui
les électrophones et les téléphones Maiche
sont adoptés partout dans les grands établissements
industriels, dans les administrations, notamment au ministère
des postes et télégraphes, à l'usine Menier
de Noisiel, dans les maisons Cahen d'Anvers, Rothschild et baron
de Hirsch, de Paris, etc., etc., etc.
|
sommaire
De nouveaux perfectionnements :
Pas démotivé L.Maiche se remet à l'ouvrage et
le 22 juillet 1885 il dépose un brevet 170262
pour "Des perfectionnements dans les postes téléphoniques"
, téléphone à deux crochets commutateur, le récepteur
secondaire se trouve en court-circuit lorsqu'il est raccroché.
Paul de Branville en profite pour proposer un nouvel appareil à
pupitre moins haut que le précedent; c'est le brevet 170263
pour " Un système de téléphone à pôle
et bobines multiple dit polytéléphone Maiche ".
Pour ce récepteur, l'aimant est recourbé et permet de tenir
le téléphone comme celui de C.Ader.
P. de Branville émet l'idée de négocier
avec la SGT afin de continuer à commerialiser les appareils Maiche
et D'Arsonval, à verser des droits et à poser sur chaque
appareil une plaque ou sera mentionné CONCESSIONNAIRES DE LICENCE
DE LA STE GLE DES TELEPHONES POUR LES BREVETS EDISON.
L'appareil est équipé de deux téléphones Maiche
et un crochet commutateur à droite, à gauche il sera fixe.
A partir de la la SGT satisfaite retire sa plainte.
version 1885

sommaire
Les auditions téléphoniques
Depuis 1883, le Musée Grévin inaugure
dans ses locaux les «auditions téléphoniques»
qui relient le musée à l'Eldorado et permettent aux visiteurs
d'entendre le spectacle en direct.
PARIS Tous les soirs de 8h. à 11h.
1ere audition, le concert de l'Eldorado
Après l'exposition de 1881, les visiteurs ont pu découvrir
et apprécier le théatrophone de Ader diffusant des auditions
de l'opéra de Paris, le musée Grevin se met à la
page pour offrir aux Parisiens d'autres styles de divertissement.
Des lignes équipées de transmetteurs Ader sont placés
entre le musée Grevin et le café concert l'Eldorado boulevard
de Strasbourg.
Rapidement dés 1884 le musée Grevin souhaite relier les
théatres des Nouveautés et des variétés en
sollicitant L.Maiche . L'affaire est faite en septembre Maiche installe
son système de transmission simultanée de sons de diverses
espèces. système applicable aux auditions téléphoniques
qui fut breveté le 10 octobre 1883 N° 157957
. Le jounal le Gaulois du 21 septembre 1884 annonce cette nouvelle.

Chemin faisant il augumente encore la sensibilité de son micro
à charbon pour présenter une nouvelle disposition de rangées
de 24 bâtons, dans le certificat d'addition du 19 mars 1885.
sommaire
1886 C'en est pas fini avec les téléphones, il conçoit
un téléphone avec avertisseur : brevet 176192
du 17 mai 1886 pour "Un système de téléphone
avec avertisseur ou appel magnétique" . C'est un recepteur
à anneau avec une petite bobine autour de la pièce métallique
afin de crééer un bourdonnement servant de signal d'appel.
Puis il propose une amélioration pour pouvoir régler la
plaque vibrante en vue d'avoir la meilleure audition possible. C'est le
brevet du 12 novembre 1886 N° 179615
pour "Des perfectionnements dans les appareils de communications
téléphoniques".
  
En 1888 Louis Maihe est est fait Officier de l'Instruction
puplique
1889 L.Maiche participe à
l'exposition universelle de Paris sans grande retombée.
petit à petit l'intérêt pour le téléphone
diminue d'année en année.
Pourtant le 15 mai 1891 il dépose un brevet 213501
pour "Un système transmetteur microphonique à courant
direct". puis un second brevet le 25 mai 1891 N° 213683
pour "Un dispositif d'appareil microtéléphonique".
Travail inutile car les transmetteurs et récepteurs Maiche sont
refusés par l'Etat lors de l'agrément du 1er janvier 1893.
|
1893 Rappel sur la Normalisation de la fabrication
des appareils de téléphone :
L'abaissement des taxes après la notianalisation de 1889,
eut pour conséquence une augmentation considérable
dans le nombre des abonnements.
Chaque constructeur d'appareils électriques voulut avoir
son modèle de téléphone. Beaucoup cherchèrent
à produire à bon marché. Il en résulta
que, si les appareils avaient bel aspect, si les parties visibles
étaient soignées, les organes cachés n'étaient
pas toujours d'un fini irréprochable. « Du moment que
l'appareil fonctionne bien, disait-on dans Les milieux intéressés,
cela suffit. » Non, cela ne suffit pas, et l'Administration
chargée des réparations, tant pour son compte que
pour celui des abonnés, ne pouvait se désintéresser
de la question. Aussi, le 10 juin 1892, adressait-elle aux
constructeurs un programme auquel ils devaient se conformer, à
dater du 1er janvier 1893, sous
peine de voir prononcer l'interdiction de l'emploi de leurs appareils
sur le réseau .
« 1° Toutes les vis entrant dans la construction des appareils
téléphoniques devront être faites avec des tarauds
fabriqués avec un jeu qui sera établi par les soins
du Dépôt central des Télégraphes et dont
un exemplaire sera remis aux constructeurs qui en feront la demande.
« 2° Les contacts à butée seront absolument
proscrits et remplacés par des contacts à frottement.
« 3° Il y aura lieu de supprimer les boudins qui sortent
des joues des bobines d'induction. Noyer dans ces joues des plots
métalliques sur lesquels on prendra les communications avec
les circuits de la bobine.
« 41 Ne faire usage que de paillettes d'acier, avec contacts
platinés, pour les ressorts de communication.
« 5° Le ressort antagoniste du crochet mobile devra fonctionner,
d'une façon normale, sous des poids de 200 à 600 grammes
attachés au crochet.
« 6° Les vis à bois seront remplacées par
des vis à métaux ou par des boulons. Les têtes
des boulons seront munies d'un pied et les écrous refendus,
pour permettre le serrage au tournevis.
« 7° Toutes les communications seront établies
en fil de cuivre, recouvert d'un isolant avec tresse de coton ou
de soie et terminé par des poulies en laiton. La tresse sera
rouge pour le circuit primaire, bleue pour le circuit secondaire,
jaune pour le circuit d'appel et des trois couleurs pour les fils
communs à plusieurs circuits.
« 8° Les bornes auront la disposition et porteront les
indications : L1+L2 pour les fils de lignes, S1+S2 pour
la sonnerie d'appel, ZS+CS aux pôles - et + de la pile d'appel,
ZM+CM aux pôles - et + de la pile du microphone.
« 9° On n'emploiera, pour les joues des bobines d'induction,
que du bois de buis, bien sec et bien sain. (Depuis, l'emploi de
l'ébonite a été autorisé.)
« 10° Les cordons souples seront attachés sur les
récepteurs à des bornes extérieures.
« 11° Les membranes des récepteurs seront vernies.
» Enfin, l'Administration, sans en faire une obligation, conseille
l'adoption des dispositions suivantes :
11 - 1° Fendre les têtes des boutons pour permettre le
serrage au tournevis.
11 - 2° Placer le crochet commutateur à gauche, ce qui
permet à la personne qui se sert du téléphone
d'avoir la main droite libre..
11 - 3° Ne plus faire usage, pour les bobines des récepteurs,
de bobines en bois qui se fendent, et employer, au contraire, des
joues métalliques soudées sur le noyau, en veillant
à ce que cette carcasse métallique soit bien isolée
du fil qu'elle supporte.
|
Rapidement il faut remettre les Eléctrophones en
conformité en remplaçant la clé d'appel par un bouton
poussoir, en modifiant le micro et en changeant le commutateur, puis en
remplaçant le récepteur par un nouveau modèle à
anneau, le reste ne change pas.

Pendant toutes ces années, parallélement
aux évolution du téléphone que nous venons de voir,
L.Maiche s'intéressa à bien des domaines que nous citerons
sans trop de détail.
- le travail sur la vapeur
- Chercheur d'or
- les pierres précieuses
- l'art du bronze
- la lumière électrique
- les moteurs et dynamos électriques
- la télégraphie
- les appareils de mesure
- la destruction des insectes
- des jumelles à grand éclairage
- l'épuration des eaux
...
En 1897 Louis Maiche est elevé au grade de commandeur
de l'Ordre du Lion et du Soleil
En 1898 Il est fait chevalier de troisième classe de l'ordre de
Saint Anne de Russie.
En 1899 le 2 février Louis Maiche reçoit la Légion
d'honneur.
sommaire
Louis Maiche a alors 56 ans et va se consacrer à
la téléphonie sans fil
Avant 1900, la transmission par
les ondes est déjà bien appropriée par
les scientifiques, la TSF et la télégraphie sans fil en
seront les premières à en bénéficier.
Cest en 1890 que M. Branly invente son tube à limaille
Ce tube perfectionné par Popoff, puis par Marconi,
fut appelé « lil électrique ».
LItalien G. Marconi, en sappuyant sur les travaux de
Hertz, Branly et Popov, réalise en 1895 la première
liaison télégraphique sans fil, incluant
linscription des signaux Morse à la sortie du récepteur.
Dès 1896 il dépose son premier brevet et frappe les
imaginations en transmettant au-dessus de la Manche un télégramme,
dans lequel il rend dailleurs hommage aux travaux dÉdouard
Branly.
En 1897, au mois de juillet, Marconi fait la démonstration
de son invention à Rome; de lAmirauté il communique
avec le roi Humbert au Quirinal. La même année se forme la
« Wireless Telegraph and Signal Company
Limited Marconi » pour lexploitation du brevet
en tous pays, sauf lItalie et ses dépendances. La première
station Marconi est construite à Needles « Ile de W ight
».
Lenthousiasme pour la nouvelle technologie est international. E.
Ducretet et G. Ferrié en France, A. Popov en Russie, A. Slaby en
Allemagne, Fessenden ou Alexanderson aux États-Unis fabriquent
des équipements de plus en plus performants.
C'est ainsi que de son laboratoire de Biot, dans
les Alpes-Maritimes, M. Marconi envoie ses dépêches
jusqu'en Corse avec une rapidité merveilleuse. Il arrive même
il transmettre simultanément plusieurs messages, ce qui, dans l'ordre
pratique, constitue un progrès dont l'importance n'échappera
à personne, puisqu'il démontre, pour l'invention nouvelle,
la possibilité de rendre les mêmes services que rend actuellement
le télégraphe avec fils.
L.Maiche travail sur le sujet mais en servant de la terre comme
conducteur des courants télégraphiques et téléphoniques.
Il dépose son premier brevet avec son fils Charles et un
dénommé Martenne le 18 juin 1900, brevet
301343
pour un nouveau système de transmission des courants élecriques
par le sol.
En 1900 Dans la revue La socièté
française du 3 août 1900 , on lisait :
LA TÉLÉPHONIE SANS
FIL (par le sol)
Au moment où la télégraphie sans fil, à
peine libérée de l'empirisme tâtonnant du début,
s'apprête à entrer définitivement dans la pratique
courante, voici qu'il lui surgit une rivale, sur laquelle on ne devait
compter guère. Cette rivale, qui s'inspire d'un principe tout
différent, c'est la téléphonie sans fil.
On peut bien souligner ces quatre mots, car
ils sont gros d'une révolution. Songez plutôt qu'il s'agit
de la possibilité de communiquer verbalement à distance,
comme on communique effectivement par téléphone, avec
cette petite différence que les fils sont supprimés,
et qu'il n'y a plus entre les interlocuteurs d'autre lien matériel
que le sol où posent leurs pieds!
Cette oeuvre inattendue, plus étourdissante
peut-être, dans sa simplicité, que les merveilles des
ondes hertziennes et de la radioconduction, n en est encore sans doute
qu'aux premiers balbutiements, car elle est née d'hier, et
nous ne sommes peut-être pas, au moment où j'écris
ces lignes, douze à la connaître. Mais il suffit qu'elle
soit signée Maiche du nom
de l'un des hommes qui, depuis cinquante ans, auront remué
le plus d'idées, résolu le plus de problèmes,
transmué le plus d'utopies en réalités tangibles
pour être assurée d'aller loin.
Voici, au surplus, ce qu'il m'a été
donné à moi-même, pas plus tard qu'avant-hier,
de voir ou plutôt d'entendre et dont je puis, de compte à
demi avec un ancien ministre d'une nation amie, personnellement porter
téinoignage.
Nous sommes dans la forêt de Saint-Germain,
à un peu moins d'un kilomètre de la maison où
est disposé l'appareil transmetteur, préalablement mis
en communication par un câble métallique, analogue à
la chaîne d'un paratonnerre, avec la terre. Nous pénétrons
dans le fourré et nous enfonçons dans le sol, n'importe
où, mais de préférence dans l'endroit le plus
humide, deux pieux de fer reliés entre eux par un fil conducteur,
de 25 ou 30 mètres l'un de l'autre. Nous attachons ensuite
à l'un de ces pieux le cordon souple d'un récepteur
téléphonique ordinaire. C'est tout la ligne je parle
par métaphore la ligne est constituée, vous n'avez plus
qu'à approcher le cornet de l'oreille pour ouïr ce qui
se passe. je dirais « au bout du fil ». s'il y avait un
fil ! J'ai pu ainsi reconnaître, avec son timbre et son accent,
une voix d'homme comptant « un », « deux »,
« trois N, » quatre », etc., jusqu'à «
deux cents ». J'ai pu également distinguer le bruit rythmique,
mais presque imperceptible, plus léger que le tic tac d'une
montre, d'un style plongeant à intervalles réguliers
dans un godet plein de mercure sous l'action d'un mouvement d'horlogerie.
La démonstration était faite.
C'était bien par la terre que le son, sous les espèces
et apparences d'un courant électrique, mesurable en milliampères
et en microfarads, avaitpassé. On savait déjà
sans doute que la terre pouvait, dans un circuit électrique,
jouer le rôle de fil de retour. Mais que la terre seule, sans
le concours d'aucun ni d'aller, pût véhiculer un courant
avec la précision et la fidélité d'un càble
aérien ou souterrain, c'est ce qu'il était réservé
à M. Maiche de découvrir et de mettre à profit.
Ce qui est plus étonnant peut-être,
et plus extraordinaire encore, c'est que ces courants ne s'étalent
pas, à l'exemple des ondes hertziennes en nappes circulaires
et concentriques. Ils cheminent en droite ligne, suivant une trajectoire
déterminée, tant et si bien que, pour les utiliser,
il faut avoir soin de se mettre sur leur passage. A droite et à
gauche, en effet, de la zone où ils circulént, fût-ce
même à beaucoup plus courte distance, on n'entend plus
rien. Ils sont comparables à ces faisceaux de lumière
qu'on peut, au moyen d'un réflecteur, diriger tour à
tour vers tous les points de l'horizon, en laissant dans l'ombre tout
ce qui n'est pas compris dans le cône
d'illumination.
La téléphonie sans fil, qui oriente
et canalise ses messages à son gré, et vise le destinataire
comme on vise une cible, a donc cette supériorité sur
la télégraphie sans fils sa glorieuse sur ainée
de savoir où elle va et de ne pas laisser flotter ses secrets
dans l'espace, à la merci des oreilles indiscrètes.
Je n'ai pas le droit jusqu'à nouvel ordre
d'expliquer par quels moyens infiniment simples M. Maiche réalise
ce miracle. Je dois me borner à lui donner acte qu'il le réalise.
Le téléphone tellurique-sans
fil, dont la portée est théoriquement illimitée,
ne semble pas porter, en réalité, au-delà de
100 à 1200 mètres, ce qui n'est guère, et les
sons sont peut-être encore singulièrement faibles et
confus. C'est possible, mais l'important est que le principe soit
posé, vérifié, acquis.
Au temps de faire le reste. Ce n'est pas non plus d'emblée,
si j'ai bonne mémoire, que la télégraphie sans
fil atteignit sa portée actuelle de 60 ou 80 kilomètres,
et lorsque M. Branly réussit pour la première fois
à modifier la conductibilité de son tube à
limaille d'un bout à l'autre du laboratoire de l'Institut
catholique de la rue d'Assas, il n'eut pas tort d'entunuer l'hosanna.
Je doute même que les premiers essais du téléphone
(avec fils) de Graham Bell aient été plus suggestifs
et plus concluants que nos hâtives expériences de dimanche
dans les taillis de Saint-Germain.
|
Les journaux de Paris du 5 octobre 1900 annoncent
quun savant bien connu à lépoque, habitant Saint-Germain,
Monsieur Louis Maiche, a construit un appareil quil appelle le
diffuseur grâce auquel les communications télégraphiques
et téléphoniques sont établies de façon parfaite.
sommaire
1er juillet 1901 Toujours en France Pilsoudzki, colonel
du génie, associé avec Popp organisent une expérience
de télégraphie sans fil alors que L.Maiche avait déjà
fait une transmission téléphonique sans fil en passant par
le sol.
( pour info en 1879 : Victor Popp crée la Compagnie des Horloges
Pneumatiques. Avec lautorisation de la ville de Paris, Monsieur
Popp monte un réseau dair comprimé pour faire fonctionner
les horloges publiques, notamment celles des gares. En envoyant une pulsation
toutes les minutes, la société mettra tout Paris à
la même heure)
Deux postes de télégraphie sans fil, fournis par Ducretet,
sont installés dans le jardin d'une villa au Vésinet,
à une distande de 600 m.
Les deux savants réussissent à transmettre par la terre
des dépêches Morse ...
A lire dans le Petit Parisien du 15 juillet 1901, un article de
Jean Frollo
A TRAVERS L'ESPACE
Les progrès de la science et de ses applications se poursuivent
à une allure qui, souvent, déconcerte la pensée,
et, avant même que l'esprit public ait eu le temps de s'habituer
complètement aux découvertes qui ont apporté
dans notre vie à tous de si profondes modifications, les chercheurs,
reprenant leur marche en avant, s'attaquent à des problèmes
qu'il nous eût, il y a quelques années seulement, paru
téméraire de poser.
C'est ainsi que le télégraphe
et le téléphone électriques, ces deux facteurs
décisifs de l'existence moderne, par qui, dans l'ordre politique
et dans l'ordre financier, les conditions de la vie civilisée
ont été au dix-neuvième siècle transformées
et rénovées, pourraient bien, au dire de quelques-uns,
passer, au cours du siècle qui commence, au rang des vieux
outils qu'on montre aux curieux dans les musées, avec un respect
attendri et ironique tout ensemble telle la marmite de Tout en faisant,
dans cette boutade, la part d'une exagération évidente,
il est cependant manifeste que les savants ne se contentent plus des
instruments actuels. Le fil conducteur, ce trait d'union presque idéal,
leur semble aujourd'hui un intermédiaire trop pesant et trop
matériel. Ils veulent en trouver un autre, ou, plus exactement,
ils veulent s'affranchir de tout intermédiaire. Le seul qu'ils
acceptent, c'est l'espace même qu'ils ont à traverser.
Hier dans les airs, aujourd'hui par le sol, ils entendent transmettre
directement la pensée humaine, et ils lui demandent, partie
d'un point, d'arriver en un autre, sans emprunter l'aide du fil métallique,
où jusqu'ici nous pensions qu'il fût nécessaire
de la canaliser. Les expériences de télégraphie
sans fil ne datent pas d'hier, et plus d'une fois nos lecteurs
ont eu l'occasion d'admirer la simplicité du principe sur lequel
elles reposent et l'importance des résultats auxquels elles
ont abouti. Je n'y reviendrai donc que pour mémoire.
La chose en elle-même est d'ailleurs assez
simple. Supposez que vous puissiez régler suivant une gradation
convenue les petites étincelles qui jaillissent d'une bobine
de Ruhmkorff. Supposez d'autre part que les décharges électriques
ainsi produites, et que les savants appellent des ondes parce qu'elles
se propagent dans toutes les directions, à la façon
des cercles concentriques qu'une pierre lancée dans une eau
tranquille y détermine, supposez, dis-je, que ces décharges
soient recueillies à distance et s'enregistrent dans un appareil
récepteur, vous vous ferez une idée très exacte
du principe de la télégraphie sans fil.
C'est ce principe qui a dirigé
les travaux, tant en France qu l'étranger, de MM. Branly, Popoff,
Ducretet et Tissot.
C'est lui qui a reçu cette année même, grâce
aux expériences de M. Marconi, sa consécration définitive.
Désormais, il est en effet établi qu'avec un générateur
d'ondes d'une suffisante puissance on peut télégraphier
jusqu'à 200 kilomètres de distance. C'est ainsi que
de son laboratoire de Biot, dans les Alpes-Maritimes, M. Marconi envoie
ses dépêches jusqu'en Corse avec une rapidité
merveilleuse. Il arrive même il transmettre simultanément
plusieurs messages, ce qui, dans l'ordre pratique, constitue un progrès
dont l'importance n'échappera à personne, puisqu'il
démontre, pour l'invention nouvelle, la possibilité
de rendre les mêmes services que rend actuellement le télégraphe
avec fils.
On pourrait dire, il est vrai, que l'utilité
de cette modification n'est pas évidente et que le système
auquel nous sommes accoutumés par une expérience de
près d'un demisiècle suffit à nos besoins. La
plus simple réflexion nous prouvera que cette thèse,
qui a été produite parce que tout progrès suscite
des adversaires, est impossible à soutenir.
La télégraphie sans fil a, dans
les relations maritimes, une importance capitale. Pour ne citer qu'un
exemple récent et qui est encore dans l'esprit de tous, le
naufrage de la Russie en a démontré l'intérêt.
Certains, je le sais, ont fait observer qu'en l'espèce, si
les marins du bâtiment échoué eussent été
exercés à se servir du vocabulaire de signaux à
bras qu'on enseigne dans les écoles de timonerie, les communications
entre le navire et la terre eussent été facilement établies.
Mais ce qui était possible dans le cas de la Russie pourrait
ne pas l'être dans d'autres, et la limite même, dans laquelle
les signaux à bras sont utilisables, strictement déterminée
par celle même du regard humain restera toujours fort étroite.
Aussi bien, la preuve n'en est plus à
faire, et tout récemment un savant étranger, M. Popoff,
la fournissait en termes décisifs. Il s'agissait d'un cuirassé
russe, le Général Amiral d'Apraxine, bloqué par
les glaces dans le golfe de Finlande. Pour organiser le sauvetage,
il fallait de toute nécessité assurer avec la terre
les communications. M. Popoff, en très peu de jours, les établit
et bientôt elles furent régulièrement transmises
à l'état-major de la Marine pendant les trois mois que
durèrent les travaux, 440 télégrammes furent
échangés; la plus longue dépêche, qui comptait
cent huit mots, fut celle qui annonça le sauvetage du cuirassé.
On avouera que c'est là pour une découverte la meilleure
des justifications et que celle-ci est passée définitivement
du terrain de la spéculation pure sur celui de l'action pratique.
C'est précisément ce qu'il fallait démontrer.
Je ne surprendrai d'ailleurs personne en disant
que ce terrain même a paru bientôt trop étroit
aux inventeurs et qu'ils ont voulu l'élargir.
C'est ce que viennent de tenter il y a quelques jours, deux
savants, MM. Pilsoudski et Victor Popp qui, laissant de côté
la télégraphie par l'air, ont cherché à
transmettre à travers le sol, les ondes chargées
par eux, de porter au loin la pensée.
Frappés de ce fait que les expériences de M. Marconi
n'avaient eu lieu que sur mer et que d'autre part, sur terre, les
ondes électriques sont gênées par les obstacles
de toute sorte, toits, arbres, collines qui s'interposent sur leur
passage, ces deux savants ont pensé que peut-être le
sol, dans ses couches profondes, se prêterait, mieux que l'air,
à la transmision des messagers et, c'est pour s'en rendre compte
qu'ils ont le 1er juillet organisé au Vésinet, dans
le département de Seine-et-Oise, un dispositif des plus ingénieux
et que je décrirai brièvement.
Dans deux villas distantes de cinq cents mètre
environ l'une de l'autre, ils ont installés leurs appareils
d'une part un transmetteur, de 1 autre un récepteur, tous les
deux du type de ceux qu'on emploie chez M. Marconi pour la télégraphie
marine.
Une plaque métallique enfoncée dans la terre et un condensateur
soigneusement isolé du sol constituent d'un côté
comme de l'autre tout le mécanisme. Les dépêches
sont envoyées absolument comme dans la télégraphie
sans fil.
On produit des étincelles et on règle les signaux en
appuyant plus ou moins. Et à l'arrivée, les ondes s'enregistrent,
sous la forme de petits traits, sur une bande de papier qui se déroule.
La transmission s'opère en langage Morse avec une netteté
parfaite, et les dépêches envoyées sont très
exactement reçues.
Il est vrai que le principe même de l'expérience
est contesté par les savants et que certains d'entre eux prétendent
qu'il n'est pas du tout démontré que ce soit par le
sol, et non pas à travers l'atmosphère, que s'opère
la transmission. Nous ne saurions prendre parti dans ce docte débat,
quelle que soit d'ailleurs la vérité, et soit qu'il
s agisse d'une découverte nouvelle, soit que nous soyons seulement
en présence d'un appareil nouveau appliquant un principe connu,
il nous semble que l'importance pra- tique n'en est pas diminuée,
et cette importance, on l'avouera, est tout à fait considérable.
Quel est en effet le gros inconvénient
du système Marconi. C'est d'être fort encombrant et surtout
très visible avec ses deux grandes antennes, il domine la ville
où il est installé, et il serait, en cas de guerre,
une cible toute désignée aux coups de l'artillerie.
Avec l'autre appareil, rien de semblable n'est à craindre dans
une place assiégée, on peut l'installer sans que personne
au dehors s'en doute et, au prix de quelques précautions, l'autre
poste pourra être sans trop de peine organisé et manié
en dehors des lignes ennemies dans quelque cave isolée.
De cette façon le problème des communications est résolu.
Le cercle d'investissement est rompu et, si le blocus matériel
est maintenu, le blocus moral est impossible.
C'est là, je le reconnais, aller, comme on dit,
plus vite que les violons, et la jeune découverte, dans son
état actuel, ne donne pas encore ces brillants résultats.
Mais ses pareilles poussent vite et celle-ci, qui n'a que quinze jours,
mérite assurément que nous lui fassions crédit.
Telle qu'elle est, elle constitue le plus étonnant peut-être
des progrès qu'on pût concevoir.
C'est cette révolution pacifique et d'ailleurs
modeste que. le colonel Pilsoudski et M. Victor Popp viennent de
préparer, sous les ombrages d'une paisible villa du Vésinet.
Il nous semble qu'elle valait la peine d'être signalée
et que l'avenir qui lui est réservé nous conseillait
d'accorder à ses débuts une bienveillance attentive
dont nous espérons tous qu'elle nous récompensera
en ajoutant notre vie quelques facilités et quelques charmes
de plus.
JEAN FROLLO
Extrait
de Google book Louis Maiche 
Ce récit est parfaitement détaillé à
cette adresse : Les
« premiers pas » de la télégraphie tellurique
au Vésinet (1901)

|
sommaire
Les perfectionnements se succédent :
En 1901 : Maiche émet 7 autres brevets
19 février Brevet 308265
Système de transmission de signaux télégraphiques
et téléphoniques.
1er mars Brevet 308638
Dispositif de mise à terre pour transmission de courants électriques
particulièrement pour la télégraphie et la téléphonie
22 avril Brevet 310169
Système de transmission des courants télégraphiques
et téléphoniques.
19 juillet Brevet 312825
Système de transmission télégraphique et téléphonique
par triple dérivation.
12 août Brevet 313432
Dispositif de mise à terre pour transmissions ordinnaires télégraphique
et téléphonique applicable également à la
télégraphie et la téléphonie dites sans fil.
31 août Brevet 313915
Nouveau moyen permettant d'augmenter le nombre des récepteurs ou
l'intensité dans un seul recepteur des courants téléphoniques
ou télégraphiques .
18 octobre Brevet 313916 Nouvelle disposition de bobine d'induction.
sommaire
L.Maiche en sera le premier à se faire connaître.
Du 16 au 18 janvier 1902, au château de Marchais près
de Laon, situé dans un immense parc 1600 hectares appartenent à
son Altesse Sérénissime, le Prince Charles III de Monaco
qui suit avec intérêt les progrès de la télégraphie
sans fil.
Pendant 3 jours, Maiche et ses collaborateurs, son chef de laboratoire
Emile Jardin, le baron Henri Hulot, secrétaire de la Société
Géographique de Paris et Heni Farjas, directeur de la revue universelle,
vont procéder aux essais devant le Prince de Monaco, son aide de
camp Jean de Gail, la baronne de Gail, le compte de Dax, secrétaire
général de la Société des Ingénieurs
civils, Paul Farjas, Fernad Fos, journaliste du Monde Illustré,
le capitaine X, de la revue Armée et Marine et Emile Guarini, journaliste
scientifique.
Dans le système préconisé par M. Maiche, chaque station
contient un fil isolé, dit fil de base, dont la longueur varie
avec la distance à laquelle doivent être transmis les signaux
et se termine à chaque extrémité par une plaque métallique
d'une certaine dimension, enterrée auütant que possible dans
une couche relativement humide, Sur chacun de ces fils, en un point quelcouque.
se trouvent intércalés les appareils transmetteurs et récepteurs,
consistant en un groupe de piles fournissant le courant à un appareil
appelé diffuseur, pour les signaux phoniques; ces piles sont reliées
en même temps à l'appareil transmetteur et au récepteur,
se composant soit dun téléphone, soit d'un manipulateur
Morse; à chaque poste peut être
installé un relais téléphonique. Elffectués
avec des appareils établis pour fonctionner avec une pertée
de 400 m avec des fils de base de 15 à 90 m, soit dune longueur
égale environ au vingtième de la portée, les essais
furent néanmoins poussés successivement à 500, 3500
et 7000 m, en prenant des fils de base de plus en plus longs, Jusqu'à
3 500 m les signaux téléphuniques ou tèlègraplniques
ont été parfaitement nets et elairs. À 7000 m, les
signaux n'étaient plus perçus que d'une façon indistincte,
mais les signaux télegraphîques avaient conservé leur
netteté. Toutelois, la proportion duns laquelle il avait fallu
augmenter la longueur de la base s'était accrue. En elfet, elle
avait été portée, pour les expériences relatives
aux distances de 3 500 et 7000 m à environ 400 à 450 m,
soit un rapport de 1/15 à 1/18,
D'autres essais seront prochainement exécutés, lun
des postes étant installé à bord du yacht «
La Princesse Alice » du prince de Monaco
Le 16 janvier 1902, L.Maiche réalise la première
communication avec le Prince de Monaco lui même situé à
une distance de 1500 métres de distance.
Le soir même Louis envoie une dépêche télégraphique
au directeur du Monde Illustré, qui la transmet à son journaliste
Fernand Fos.
le monde illustré du 25 janvier 1902, voici le récit
:
|
TÉLÉPHONIE ET TÉLÉGRAPHIE
SANS FIL
Parmi les problèmes scientifiques qui préoccupent
lesprit public à laube du nouveau siècle,
il en est peu daussi passionnant que la télégraphie
sans fil. Nos lecteurs sont familiers avec la théorie des
ondes herziennes. Ils savent quon peut transmettre des dépêches
à travers les couches dair, grâce à des
décharges électriques successives. Ils savent aussi
que cette intéressante invention doit trop souvent lutter
contre les variations atmosphériques ou la trop forte chaleur.
Je suis heureux de pouvoir aujourdhui leur parler dune
autre invention ayant le même but scientifique et utilitaire,
mais y arrivant par dautres moyens qui suppriment les gros
inconvénients que nous venons de signaler. Ce nest
pas dhier que datent les premières expériences
de transmission sans fil en utilisant les ondes souterraines qui
ne sont sujettes à aucune perturbation climatérique
et permettent, par cela même, dobtenir un service régulier
et constant.
Dès 1867, M. Maiche communiquait à M. Dumoncel, alors
sous-directeur des Postes et Télégraphes, depuis membre
de lInstitut, le résultat dexpériences
sur la télégraphie sans fil par la terre, réussies
à faible distance.
En 1877 et en 1878, nouvelles tentatives permettant de communiquer
des signaux à une distance dune centaine de mètres.
Le principe de la transmission sans fil était trouvé.
Nb M. Maiche possède plus de 300 brevets
dont les principaux ont trait à 1'extraction de 1'amidon
du riz, à la pile Maiche qui est devenue classique, à
la stérilisation économique de leau qui lui
valut la croix de chevalier de la Légion d'honneur, etc.
Parmi les procédés secrets quon lui doit, il
faut citer la fabrication artificielle du vrai : ubis, les verres
doptique pratiquement achromatiques, etc.
Le premier échange de conversation
date de 1893.
Ces constatations ont été refaites trois ans plus
tard devant sir Willarn Crookes, à Saint-Germain,
sur trente mètres, à travers plusieurs murs et fondations.
En 1899, essais à plus longue distance, dans la forêt
de Saint-Germain, sur six cents mètres. Signaux
télégraphiques, réception téléphonique,
tout réussit également bien. Quelques mois plus tard,
en janvier 1901, nouvelles expériences de transmission
sur huit cents mètres, dont il est rendu compte par la presse
politique et la presse spéciale. On les renouvelle et avec
un semblable succès au mois doctobre de la même
année.
Enfin, en novembre 1901, sur la Seine, à Poissy,
linventeur sattache à obtenir une communication
dune grande intensité à tel point que les personnes
présentes déclarent quelles entendent mieux
que dans le téléphone ordinaire,
avec des voix pures, sans aucun son métallique et sans aucune
« friture ».
Depuis quelque temps, nous avions été prévenus
que les expériences allaient passer du domaine du laboratoire
dans celui de la pratique, les ondes souterraines pouvant être
désormais projetées à longue distance. Jeudi
soir, le directeur du Monde Illustré me communiquait une
dépêche datée du château de Marchais (Aisne),
où S. A. S. le prince de Monaco, en ami toujours sûr
des savants, donnait la plus complète clés hospitalités
à M. Maiche.
Le jour même, sur une distance de 1500 mètres, on avait
pu télégraphier et téléphoner sans fil.
Cétait la victoire ! Et le télégramme
se terminait par ces mots : « Venez. Nous recommencerons «
demain sur 3500 mètres. »
Loffre, si tentante, ne pouvait se refuser. Aussi, le lendemain,
prenai-je le premier train pour Liesse-Gizy, dans la banlieue de
Laon, avec M. Farjas qui, depuis plus dune année, est
le dévoué collaborateur de M. Maiche dans toutes ses
expériences, le comte de Dax, secrétaire général
de la Société des ingénieurs civils, et M.
Paul Farjas. En compagnie si instructive, les deux heures de route
me parurent courtes et deux vigoureux postiers nous eurent bientôt
menés à la somptueuse demeure, providence du pays.
M. Maiche nest pas loin. Nous le trouvons au Long Pont, une
maison de garde où il a établi un de ses deux postes.
Linventeur, tout joyeux encore du succès de la veille
où il avait pu échanger, à 1500 mètres,
des conversations téléphoniques et télégraphiques,
le matin même, à quelques instants avant notre arrivée,
réussi à expédier et à recevoir la parole
humaine à 3 kil 500 de distance, de la ferme de Marengo à
Long Pont, espace séparé par une petite colline et
un bois.
Le chateau de Marchais et le schéma d'un poste
La pièce où se trouvent les appareils est la salle
commune du brigadier des gardes du prince, où rien na
été dérangé ni bousculé, les
piles et autres instruments étant déposés sur
une seule petite table.
Rien ne paraît plus simple. Comme vous le voyez, nous
dit M. Maiche, lappareil ressemble plutôt à un
poste de campagne quà une installation télégraphique.
Il se compose dune modeste batterie de piles, dun ensemble
de sept volts environ, fournissant un vingtième dampère,
ou un tiers de watt, et vous savez quil faut plus de 700 watts
pour faire ùn cheval-vapeur. La batterie est mise en communication
avec une caisse denviron deux décimètres cubes
dans laquelle se trouve un fil enroulé dune manière
spéciale, aboutissant à une sorte de petit tambour,
désigné sous le nom de diffuseur. Un simple microphone
et un récepteur téléphonique complètent
lappareil. Il faut de plus ajouter à cet ensemble des
organes primordiaux, deux fils conducteurs qui en partent, sortent
de la maison par la porte laissée ouverte et vont, lun
à droite, lautre à gauche, aboutir chacun, à
350 mètres environ, à une lame de cuivre de un mètre
carré plongeant dans leau, mais qui aurait pu être
aussi bien enfoncée dans le sol. Mon système de ligne
se réduit donc à deux « terres » à
chaque station, sans aucune autre espèce de conducteur entre
lune et lautre. Pendant que M. Maiche nous fournit ces
intéressantes explications, nous restons sous une impression
de surprise, jallais écrire de quasi-incrédulité,
devant des résultats si stupéfiants obtenus avec des
moyens dapparence aussi simple. Mais la foi rayonne dans les
regards de M. Maiche et nous ne pouvons douter de la victoire de
Marengo qui va se renouveler pour nous dans quelques minutes, derrière
le rideau des collines brumeuses. Pendant que les chevaux, maintenant
reposés, sébrouent joyeusement, la caravane
sest complétée.
Aux voyageurs venus de Paris se joignent le baron J. de Gail, aide-de-camp
du prince, la baronne de Gail et le baron Henri Hulot. M. Maiche
reste au poste de Long Pont et nous voici en route pour Marengo
où nous arrivons après vingt minutes de trot allongé.
La maison sert dhabitation à un garde du prince en
costume très pittoresque, complet kaki avec grand feutre
à poil bourru, relevé sur le côté gauche
par une touffe de poil de sanglier.
Le
Marengo, poste d'expérience
Le poste télégraphique et téléphonique,
en tout semblable à celui de Long Pont, a été
installé par les soins de M. Emile Jardin, le chef de laboratoire
de M. Maiche, qui nous attend sur le seuil de la porte.
Presque aussitôt, à travers les tourbières du
terrain de chasse, un cavalier apparaît, de belle prestance,
la cartouchière en bandoulière, le fusil en travers
de la selle, très simplement vêtu dun costume
de chasse qui rappelle celui des gardes : cest le prince de
Monaco. Il vient, comme les jours précédents, comme
le matin, en passionné de science, suivre les expériences
dont son esprit cultivé a compris toute limportance.
Il avait dailleurs reçu, la veille, le premier message
téléphonique que M. Maiche avait envoyé à
1.500 mètres à travers le sol. Daccueil très
simple, très cordial, le prince nous fait part de sa grande
satisfaction : Figurez-vous, Messieurs, quaprès
le succès obtenu hier, M. Maiche hésitait à
répondre à mon désir dessayer détablir
une communication à 3.500 mètres. Il mobjectait
que la puissance de lappareil nétait pas calculée
pour une semblable distance et quil ne savait pas au juste
jusquoù il pourrait atteindre. Jai dû lui
faire une douce violence, mettant à sa disposition une voiture
pour rapprocher, si besoin en était, le poste récepteur
jusquà rétablissement de la communication.
Lissue heureuse de lexpérience de ce matin a
donné raison à mon audace scientifique. Le baron de
Gail, qui partage la confiance du prince, attire notre attention
sur limportance quil y aurait à installer une
ligne télégraphique reliant Tombouctou, sur le Niger,
aux postes de lExtrême-Sud Algérien à
travers le Sahara et à utiliser dans ce but le système
de M. Maiche.
A ce moment, le baron Henri Hulot, qui a établi la communication
avec M. Maiche, nous prie de prendre place devant lappareil,
ce que nous faisons tour à tour, le prince de Monaco, la
baronne de Gail et chacun de nous. Pour ma part, jentends
très nettement les signaux télégraphiques,
espacés comme il avait été convenu. Le son
arrive clair, distinct. Les personnes qui nont pas assisté
aux expériences de la veille et de la matinée, se
regardent émerveillées. Cela tient du prodige.
Et létonnement croît encore quand, aux signaux,
succède la voix humaine, tout aussi compréhensible
quau téléphone ordinaire. De là-bas,
si loin, derrière la colline, partent des ondes sonores.
Leur nombre, qui varie de 5.000 à 15.000 par seconde, traverse
sans ségarer en route limmensité de la
masse terrestre qui nous sépare. Chacune delle est
de lordre des infiniment petits et aucune delle nest
perdue !
Nous continuons léchange des transmissions, chiffres,
signaux, phrases, et jai le plaisir, après trois quarts
dheure de stupéfiantes communications, de clore la
conversation, en adressant à M. Maiche, au moyen de son appareil,
les vives félicitations du Monde Illustré.
La nuit est presque venue. Et nous rentrons au château, dans
le recueillement silencieux qui suit toujours les fortes émotions.
Avant de quitter le château, où nous attendait une
collation dans la splendide salle à manger de lancienne
demeure des ducs de Lorraine, le prince de Monaco veut bien nous
annoncer quil met à la disposition de M. Maiche,
son yacht, la Princesse Alice, qui lui servit si souvent pour
ses recherches sous-marines, pour y continuer très prochainement
ses expériences en Méditerranée.
Le lendemain de notre retour à Paris, nous apprenions, par
une dépêche officielle, que M. Maiche, à laide
des mêmes appareils et sans en augmenter la puissance électrique,
avait pu renouveler, en présence du prince de Monaco, les
mêmes expériences que nous venons de décrire,
à une distance de sept kilomètres.
Fernand Fos.
|
sommaire
Témoignage du capitaine X, de la revue Armée
et Marine du 9 février 1902
| La télégraphie et la
téléphonie sans fil Communications
par la terre et par l'eau. Applications en campagne.
On a beaucoup parlé,
depuis quelques mois, de la téléphonie sans fil. On
a surtout beaucoup raconté... Une nouvelle sensationnelle
avait couru le monde : un signal, disaient les journaux anglais,
avait été transmis à travers l'Atlantique !...
Puis, peu à peu, le calme s'est f'ail et, si l'on en croit
les dernières communications de la presse quotidienne, la
nouvelle était au moins prématurée.
L'avenir dira quelles seront les applications
pratiques de la télégraphie sans fil par les ondes
herziennes.
Au poinl de vue militaire, son utilisation
parait encore problématique pour plusieurs raisons :
1" Les transmissions, tributaires des
variations atmosphériques et de la température, sont
irrégulières ;
2" Les dimensions des antennes les rendenl
trop visibles en cas de guerre, et le poids du matériel présente
de gros Inconvénients pour les transports ;
3° L'énorme quantité d'énergie
électrique employée constitue un danger permanent
pour les télégraphistes militaires, souvent inexpérimentés,
qui seraient chargés des transmissions.
Personne n'ignore l'importance du rôle que
doit jouer, dans la prochaine guerre, le service de la télégraphie
militaire. Chaque armée, chaque corps d'armée, reliés
entre eux, avec les divisions d'avant-garde et avec le services
de l'arrière, pourront, si ce service est convenablement
assuré, éviter bien des surprises, bien des fatigues
surtont.
Tel qu'il est organisé, il fonctionne aussi bien que possible,
mais les Installations sonl longues à établir, en
raison des kilomètres de fils qui doivent être déroulés,
puis enroulés à chaque stationnement. A tel point
que, bien souvent, ainsi qu'on a pu s'en rendre compte aux grandes
manoeuvres, on a du renoncer, faute de temps, à établir
des communications télégraphiques, que remplaçaient
avantageusement des vélocipédes, des estafettes ou
des postes de correspondance.
On peut donc trouver mieux que ce qui existe
aujourd'hui et c'est aux savants qui poursuivent l'étude
du problème de la télégraphie sans fil qu'il
appartiendra de doter l'armée de l'outil idéal qui
lui manque encore pour assurer facilement ses communications rapides.
Les très intéressantes expériences
que nous avons eu la bonne fortune de suivre dernièrement,
à Marchais, près de Laon, nous ont donné l'impression
que nous étions très près d'atteindre cet idéal.
Il ne s'agit plus ici des ondes herziennes,
mais d'une tout autre méthode, d'un moyen simple et pratique
de télégraphier et de téléphoner sans
lil, par la terre el par l'eau, en employant une source d'électricité
très faible et un appareil assez peu volumineux pour être
porté à la main.
C'est à M. Louis Maiche, ingénieur
civil cl savant bien connu, que revient l'honneur de cette découverte
considérable.
Depuis longlemps déjà M. Maiche étudiait le
phénomène de la transmission des ondes électriques
par le sol et les résultats qu'il obtient aujourd'hui ne
sonl que la juste conséquence de plus de trente années
de recherches et de travaux incessants.
En 1867, en effet, il faisait connaître officiellement à
M. du Moncel, alors sous-directeur des posles et télégraphes,
le résultat de ses premières expériences sur
la télégraphie sans fil, par la terre. Dix ans plus
tard, en 1877 el 1878, il confirmait ses premiers essais par la
transmission des signaux à 100 mètres environ et communiquait
ce résultat à la Société des sciences
et des arts de la Sarthc, dont il faisait partie.
Poussant plus loin celte étude, et passant de la télégraphie
à la téléphonie, il obtenail en 1893 un premier
échange de conversation sur une trentaine de mètres,
à travers plusieurs murs et fondations, expérience
renouvelée, en 1806, en présence de sir William Crookcs,
à SaintGermain,
C'est par un procédé, dont l'analogie nous parait
assez curieuse, qu'un autre chercheur français, dont les
récentes expériences étaient relatées
ici même, la semaine dernière, constata, à la
même distance, la réalisation d'un phénomène
du même ordre.
Dès 1890, les travaux de M. Louis Maiche prenant plus d'importance,
il transporta ses appareils dans la forêt de Saint-Cermain
et, progressivement, avec un succès constant, il porta ses
transmissions télégraphiques et tcléphoniques
de 600 à 800 mètres et enfin à 1200 mètres.
Au mois de novembre dernier, sur la Seine, à Poissy, il échangeait
avec son chef de laboratoire et plusieurs personnes présentes,
des conversations complètes, la voix arrivant avec son timbre
naturel et la plus grande netteté.
Pour entre définitivement dans la pratique, il fallait à
l'inventeur des terrains plus vastes, une circonstance heureuse
s'offrit à lui.
S. A. S. le prince de Monaco, qui suivait avec intérêt
les progrès de la télégraphie
sans fil, avait eu connaissance des procédés spéciaux
employés par M. Maiche. Avec la bienveillance
si encourageante qu'il réserve aux savants et aux chercheurs,
il mit gracieusement à la disposition de l'inventeur son
domaine de Marchais, dont l'étendue se prêtait merveilleusement
à une démonstration définitive.
Les expériences se sont poursuivies
pendant trois jours, avec un plein succès, en présence
du prince, de son aide de camp, le baron Jean de Gail, de la baronne
de Gai] et de plusieurs invités. L'inventeur élait
accompagné de son chef de laboratoire, M. Jardin, el de ses
collaborateurs, M. Henri Farjas et le baron Henry Hulot.
Deux postes furent installés à
la hâte. A la fois transmetteurs et récepteurs, ils
se composaient chacun d'une batterie de piles d'une énergie
électrique de 7 volts.et d'un vingtième d'ampère,
reliée à l'appareil proprement dit, lequel comprenait
une bobine, un vibrateur ou diffuseur, un manipulateur Morse pour
l'expédition des signaux, un microphone pour la transmission
de la parole et un récepteur téléphonique.
L'appareil est mis en communication avec deux
fils aboutissant de part et d'autre à des plaques de cuivre
qui sont, suivant la nature du terrain, plongées dans l'eau
ou enfoncées dans le sol, transmettant ainsi les courants
électriques à la masse terrestre environnante qui
les absorbe et les propage au loin suivant une
loi d'un ordre tout nouveau prévue par M. Maiche, qu'il a
bien voulu nous expliquer et qui nous a paru un des points les plus
saillants de son système.
Nous ne nous étendrons pas sur les
premières conversations téléphoniques échangées
à Marchais, à des distances progressives, qui ont
permis de transmeltre la parole de là façon la plus
nette, ainsi que l'ont constaté toutes les personnes présentes,
à 1500 et à 3500 mètres; nous examinerons surtout
la dernière épreuve, la plus intéressante,
selon nous, au point de vue militaire, tant à cause de la
rusticité de l'installation qu'en raison de la distance franchie.
Le fragment de la carte d'état - major
au cinquante millième qui est reproduite ici donne l'ensemble
de la région où cette expérience eut lieu.
Sept kilomètres séparaient les deux postes, choisis,
l'un (poste n° 2), à la ferme de Marengo, à l'est
de Marchais, l'autre (poste n° 1), à l'ouest, aux confins
du domaine, en pleine forêt de Samoussy, et. entre eux s'étendaient
des obslacles de toutes sortes : bois, lignes d'eau, village, etc.

Les environs de Marchais, où ont eu lieu
les expériences de téléphonie sans fil. (D'aprés
carte de l'élat-major.)
Le Prince était à Marengo, pour contrôler
les résultats avec les amis de l'inventeur,. M. Maiche et
le baron de Gail étaient au poste n" 1.
Nous avons pu assister personnellemsnt à l'installation
de ce poste. Une simple carte et une boussole ordinaire ont permis
d'orienter les plaques dans la direction de Marengo avant de les
enfoncer dans le sol au moyen d'une petite tranchée; un escabeau
fut placé dans un endroit quelconque pour recevoir les appareils...
et c'était tout !
A l'heure fixée (trois heures quarante),
les premiers signaux téléphoniques partis de Marengo
arrivaient nettement à l'oreille, tantôt longs, tantôt
courts, et l'inventeur répondait aussitôt par d'autres
signaux reçus de la même façon au poste n"
2.
Cette épreuve semble décisive
et nous pensons que le moment n'est plus éloigné où
le matériel actuel de nos télégraphistes mililaires
cédera la place à plus léger que lui.
Ce sera, à coup sûr, une amélioration
importante, dont on pourra étudier les avantages aux grandes
manoeuvres, mais, si l'on envisage la question à un point
de vue plus large, plus français peut-être, en raison
de ses conséquences immédiates, on est amené
à examiner la possibilité d'une
utilisation prochaine de ces nouveaux procédés pour
relier le Sud algérien avec les poslcs trop isolés
de notre domaine africain.
Ce sujet était d'ailleurs de circonstance, car le baron J.
de Gail, capitaine de cavalerie, qui créa jadis le peloton
des méharistes soudanais, fut le premier qui eut l'idée
d'appliquer la télégraphie sans fil à la traversée
du Sahara.
Cette idée fait encore aujourd'hui l'objet do ses préoccupations
et il en entrevoit les suites avec plus de confiance, depuis qu'il
a constaté par lui-même, au posle téléphonique
de la forêt de Samoussy, l'avenir réservé à
une découverte dont les premiers résultais lui ont
paru considérables, eu égard à la faiblesse
des moyens mis en oeuvre.
On pourrait, pour commencer, relier entre
eux les différents postes du Soudan et du Congo qui n'ont
actuellement aucun moyen de communication rapide, puis il appartiendrait
à une mission d'étude de déterminer la meilleure
voie à suivre pour établir la ligne saharienne.
Celle-ci ne s'écarterait pas beaucoup
sans doute de l'itinéraire des caravanes qui descendent du.Touatà
Tombouctou par Akabli, Bou-Bernous, Gucttara, les rives de l'ouled
Salem, Taodeni et Araouan.
C'est là une idée bien française,
car elle affranchirait notre Ouest africain des câbles étrangers
dont elle ne peut se passer aujourd'hui; c'est en même temps
une idée pratique et nous souhaitons de tout coeur qu'elle
puisse se réaliser bientôt.
Capitaine X...
|
sommaire
Tous les journaux s'emparent rapidement de ses travaux , comme nous le
décrivont ci dessous.
En France dans le Bulletin mensuel / Association
des abonnés au téléphone on peut lire l'article
:
|
La nouvelle téléphonie.
Louis Maiche.
Par ces temps d'inventions plus sensationnelles les unes que les
autres, où l'on voit les omnibus marcher sans chevaux et
les aéroplanes lutter de vitesse avec les pigeons voyageurs,
les esprits les plus fermes ont tendance à ne considérer
que le fait du jour et à négliger les origines des
inventions qui frappent le plus.
C'est ainsi que, pour les expériences delà téléphonie
sans fil faites â la Tour Eiffel par MM. Colin et Jeance,
personne n'a songé à repérer le" terrain
parcouru.
C'est cependant un travail intéressant si nous en jugeons
par le plaisir qu'il nous a procuré et nous espérons
que les lecteurs du Bulletin de l'Association des abonnés
au téléphone le partageront.
De toutes les recherches auxquelles nous nous sommes livrés,
il apparaît bien nettement que la priorité de la téléphonie
sans fil appartient à Louis Maiche.
En effet, en 1893, il obtenait une communication téléphonique
sans fil à une distance qui n'excédait pas, il est
vrai, 30 mètres et cela à travers des obstacles
accumulés. Poursuivant ses expériences, Louis Maiche
arrivait à parler à 1.500 mètres dans la forêt
de Saint-Germain en présence de MM. Emile Gautier, le ministre
des finances du Brésil et plusieurs autres notabilités.
Le Figaro publiait le compte
rendu des expériences qui fut reproduit dans toute la presse.
En 1902, les 16, 17, 18 janvier, au château de Marchais (Aisne),
Louis Maiche téléphona sans fil à 7 kilomètres,
en présence de S. A. S. le prince de Monaco, de soft aide
de camp le baron de Gail, du baron Hulot et du secrétaire
général de la Société des Ingénieurs
civils.
Les communications étaient obtenues
par un système de mise à terre.
Profitant du navire la Princesse Alice, à Toulon, pour y
installer une station à bord, en laissant un fil dans l'eau,
il communique avec une station à terre basée à
Ajaccio avec son fils Charles. Par le même procédé,
Louis Maiche parvint peu après à communiquer entre
Toulon et Ajaccio à la distance de 314 kilomètres
en se servant de la mer pour la transmission des ondes.
Suivirent expérimentations et brevet jusqu'en 1906.
sommaire
En septembre 1906,
L.Maiche réussi à téléphoner
sans fil, sans antennes, sans mise à terre.
Le Matin, dans son numéro du 7 septembre,
rendait compte des expériences :
Téléphonie
sans fil "Le dernier cri de la, science".
Un jeune savant est en train de réaliser une grande idée
il établit des relations téléphoniques entre
Tôulon et Ajaccio sans fil
conducteur.
Lorsque, il y a un peu moins de trente; ans, le savant
américain Graliam Bell réussit, pour la première
fois, à faire entendra sa voix d'une pièce à
une autre dans son appartement, on crut que ces merveilleuses expériences
ne sortiraient jamais du domaine des curiosités de laboratoire.
On sait cependant combien fut rapide la fortune de l'industrie téléphonique,
combien éclatante la révolution sociale que créa
le téléphone.
Quelque étonnante que soit cette découverte,
que le grand physicien anglais, lord, Kelvin, appelle la «merveille
des merveilles », on se l'explique aisément; on comprend
encore la télégraphie sans fil, où des étincelles,
partant d'un point, communiquent; à l'éther des ondulations
qui se transmettent de proche en proche pour reproduire au loin.
des signes conventionnels mais imaginer que deux personnes puissent
se parler, à distance sans qu'un fil les relie, sans que
la terre même serve de lien conducteur, faire en un mot de
la téléphonie sans fil comme on fait de la télégraphie
sans fil, n'est-ce pas vraiment prodigieux ?
C'est ce prodige que nous avons. vu hier dans le calme jardin d'une
charmante villas sur les coteaux de Saint-Germain. Mince
et agile, la figure, barrée d'une moustache blanche, la barbe
en pointe, M, Maiche, qui,en ces derniers trente, ans a remué
un nombre considérable d'idées et fait de remarquables
travaux dans le domaiine de la chimie et de l'électricité,
ainsi, que sur la stérilisation de l'eau, nous montra ses
nouveaux appareils.
Ils sont d'une simplicité remarquable. Sur
une table, placée dans le jardin, un appareil téléphonique
relié à une batterie de piles, composée seulement
de trois éléments et à une bobine d'induction
particulière construite par M. Maiche. Le courant, électrique
passe dans un cadre formé de l'enroulement de fils isolés.
C'est tout.
Une installation analogue est disposée dans le cabinet
de travail de M. Maiche, qui donne sur la rue, à l'extrémité
opposée de la maison et du jardin. Plusieurs épaisseurs
de murs des portes et des fenêtres séparent les deux
postes situés à une trentaine de mètres de
distance.
Alors, on peut causer. Dans le récepteur
téléphonique, approché de mon oreille, j'entendis
compter un, deux, trois. jusque trente, des chiffres dit au hasard,
les modulations d'un sifflet. La voix, qui parvenait ainsi à
travers l'espace, était affaiblie et lointaine, mais elle
était d'une netteté parfaite les sons, d'une pureté
remarquable que ne connaissent point toujours les appareils téléphoniques
ordinaires. La preuve était faite.
Je demandai alors à M. Maiche quelques détails;
Il me les donna volontiers.
Il y a cinq ans environ, à Saint-Germain,
puis au château de Marchais, chez la prince de Monaco, j'ai
procédé à des expériences de télégraphie
et de téléphonie sans fil en me servant de la terre
comme lien conducteur. Ces essais furent assèz concluants,
On a pu communiquer à plus de trois kilomètres de
distance.
Un an après ce sont Ià des expériences inédites
j'ai pu, ajoute M.Maiche, faire des communications téléphoniques
entre Toulon et Ajaccio, à plus due trois cents kilomètres,
de distance, en servant dé la mer pour la transmission des
ondes électriques mais les expériences nouvelles auxquelles
vous venez d'assister me semblent plus importantes. Elle sont
à leur début, certes, et la distance que la parole
peut franchir ne dépasse pas trente ou quarante mètres,
mais les appareils dont je me sert sont d'une puissance infinie,
et nul perfectionnement n'a encore été fait.
Les utilisations pratiques de ce nouveau moyen de communication
sont des plus nombreuses.
Une application ne pourrait-elle être faits
aux sous-marin. Aujourd'hui, aucun moyen de communication ne peut
être établi entra des sous-marins. Ni la télégraphie
avec ou sans fil ni la téléphonie ne peuvent les mettre
en relation s'ils sont au fond de la mer. La téléphonie
sans fil peut remédier à cet inconvénient qui
peut avoir son importance en temps de guerre, lorsqu une flottille
de sous-marins doit manuvrer dans les mêmes eaux et
participer à une attaque commune.
Cette découverte est à ses débuts,
nous disait son inventeur il est possible que la téléphonie
sans fil, hier un jouet, arrive, comme sa soeur aînée,
la télégraphie sans fil, à des résultats
importants et pratiques.
Le Matin est heureux de pouvoir annoncer le premier que la science
a fait un nouveau progrès et. que cette merveilleuse découverte
est due à un savant français.
|
Maiche crée sa dernière société
la Société Générale
de Téléphonie sans fil
le 17 avril 1907, avec des captaux Anglais.
sommaire
Vu aussi dans la presse, avec un peu d'humour :
En 1906
Dans le journal Jean qui rit : un amusant dialogue avec
une demoiselle téléphone, de Léon Valbert
Un jeune savant français, M.Maiche est en train de réaliser
une grande idée : il établit des relations téléphoniques
entre Toulon et Ajaccio sans fil conducteur
Dans la Lanterne, un article reprend le même dialoque : TÉLÉPHONE
SANS FIL de Léon Valbert
Un jeune savant français, M. Maiche, est en
train de réaliser une grande idée : il établit
des relations téléphoniques entre Toulon et Ajaccio
sans fil conducteur.
A la première lecture de cette information,
soucieux de la compléter pour les lecteurs du Supplément,
je me suis précipité sur l'appareil téléphonique
de la rédaction et j'ai tourné le moulin à café.
Une sonnerie stridente a répondu à mon appel (au bout
d'une petite demi-heure). J'ai appliqué fébrilement,
les récepteurs contre mes esgourdes. Après quoi :
MOI. - Aliô, allô ! Vous êtes
là, mademoiselle ?
LA DEMOISELLE DU TÉLÉPHONE. -
Allô, allô ! jTecoute ! - - - --
Moi. - Comment ?
LA DEMOISELLE DU TÉLÉPHONE.
Pardon ! Je voulais dire : « J'écoute»
quel numéro demandez vous ?
Moi. Aucun
l LA DEMOISELLE DU TÉLÉPHONE. Alors pourquoi
me sonnez-vous, espèce de fourneau ?
Moi. Permettez, mademoiselle. Je ne demande
aucun numéro parce que c'est avec vous même que je voudrais
entrer en communication.
LA DEMOISELLE DU TÉLÉPHONE.
Ah ! bon. Eh bien ! c'est entendu. Venez me prendre ce soir, à
la sortie du bureau, rue Gutenberg : vous me reconnaîtrez facilement.
J'ai un panama à plume, comme Polaire, un petit boléro
comme la beme Otéro, une trotteuse en laine flocon comme la
Lune et des chaussettes bleues comme Paméla.
Moi. Vous êtes fort aimable, mon
enfant, et je ne doute point que vous soyez charmante ainsi. mais
la communication que je désire obtenir de vous est une communication
exclusivement téléphonique.
LA DEMOISELLE DU TÉLÉPHONE, vexée.
A votre aise. Mais vous ne savez pas ce que vous perdez. Enfin.qu'est-ce
qu'il y a polir votre service.
Moi. Voibà. Vous avez lu sans
doute que plusieurs savants s'occupent à résoudre ce
problème : supprimer les fils télégraphiques
et téléphoniques qui dénaturent fâcheusement
les paysages. Vous citerai-je Marconi. ?
LA DEMOISELLE DU TÉLÉPHONE.
Et mèche
Moi. Et Maiche, vous l'avez dit. Ce savant
a, paraît-il, résolu la partie la plus difficultueuse
de la question : la téléphonie sans fil. Jusqu'à
présent, pour téléphoner sans fil, y avait pas
mèche. Mais, maintenant qu'il y a Maiche, y a mèche
!
LA DEMOISELLE OU TÉLÉPHONÉ.
sur que ce Maiche-là n'est pas moche
Moi. Sans compter qu'on voit assez souvent
des mèches qui filent pour se féliciter de rencontrer
enfin un Maiche sans fil !
LA DEMOISELLE DU TÉLÉPHONE. -
Seulement, si c'est tout ce que vous avez à me raconter, j'vas
vous le couper, le fil
Moi. Non, non. une minute encore. Il
faut absolument que je vous demande votre avis, mademoiselle, sur
une modification qu'entraînera nécessairement l'adoption,
qu'on peut prévoir prochaine. de la téléphonie
sans fil.
LA DEMOISELLE DU TÉLÉPHONE.
Et c'est ?
Moi. C'est qu'à ce moment on ne
vous appellera plus seulement : « Les demoiselles du téléphone
». mais on dira de vous : « Les demoiselles du tédéphone
sans fil. »
LA DEMOISELLE DU TÉLÉPHONE.
Qu'est-ce que vous en savez, vieux cochon ?
La communication est interrompue brusquement.
|
A peine un an plus tard, ne supportant plus les investisseurs
Anglais , il se retire des affaires, la société est dissoute,
mais L.Maiche resera comme le pionnier de la téléphonie
sans fil.
En 1910 Louis Maiche tombe malade et décède le 22 février
1910; il n'a alors que 67 ans.
sommaire
En Amérique, un article du Auckland Star du
6 mars 1907 présentait l'inventeur français Louis
Maiche
Dans cet article, M. Maiche décrit comment tout a commencé
:
Mes premiers essais ont eu lieu en 1867, mais ils concernaient davantage
la télégraphie sans fil, et ce n'est qu'en 1893 que j'ai
échangé une conversation par téléphone sans
fil à une distance de 30 mètres ...

Dans Google Book, "le The Christian Work and the Evangelist,
Volume 82"
|
Un peu plus tôt, le
New York Times avait également publié
un article sur M. Maiche et son invention du téléphone
sans fil.
Dans l'article, l'inventeur évoque ses expériences
réussies avec la télégraphie et décrit
ensuite son travail avec le téléphone sans fil :
« J'ai alors utilisé le sol comme
moyen de transmission.
La découverte d'aujourd'hui me permet de supprimer tous les
moyens visibles de communication et de projeter les mots dans une
direction donnée sans risquer de les rayonner ailleurs; et,
plus intéressant encore, je le fais avec une dépense
infinitésimale d'électricité, tandis que, comme
vous le savez bien, d'autres systèmes télégraphiques
et téléphoniques sans fil dépensent d'énormes
quantités d'électricité rayonnaient dans toutes
les directions. "
Une fois perfectionné, mon appareil peut
être utilisé pratiquement à un coût insignifiant.
Pour le moment, il en est encore au stade du laboratoire et de l'expérimentation.
Vous voyez", dit M. Maiche, " que
nos expériences ont réussi malgré tous les obstacles.
Ni l'eau, ni les rochers, ni la glace ne peuvent interférer.
Tout ce que le télégraphe considère comme des
barrières insurmontables, nous le franchissons facilement.
Tout ce que nous avons fait jusqu'à présent, c'est de
pouvoir converser distinctement jusqu'à une distance d'un peu
plus de 1 800 pieds. Mais une fois le caractère pratique de
la théorie établi, alors le mécanisme doit être
perfectionné. "
"Elle se perfectionne jour après
jour ... et nous semble appelé à un destin très
différent, non comme aide à la guerre, mais comme aide
à la paix, comme sauveur de la vie humaine. |
Dans l'article d'Auckland Star, M. Maiche
donne quelques exemples de l'utilisation future de son téléphone
sans fil :
| " Imaginez deux paquebots naviguant dans un
brouillard. Avec mon petit appareil le capitaine peut dire la direction
prise par l'autre navire. En cas d'accident d'un sous-marin, mon appareil
permettrait à l'équipage en danger de communiquer avec
le remorqueur de convoi sans craindre le rupture d'une ligne comme
dans le cas d'une bouée téléphonique. Les mineurs
ensevelis après un désastre comme celui de Courrières
pouvaient communiquer avec l'équipe de sauvetage. Deux corps
d'armée effectuant une attaque de nuit pouvaient rester en
contact permanent sans risque d'interruption. Le citoyen ordinaire
pourrait l'avoir dans son salon, et ne dépendrait plus des
caprices du central téléphonique. " |
Les deux articles comprennent également quelques
descriptions techniques de l'utilisation du nouveau téléphone
sans fil de M. Maiche.
Il est possible que les théories de l'inventeur français
n'aient pas eu autant de succès qu'il le pensait lui-même.
sommaire
Maiche n'est pas le seul à travailler dans ce domaine, Citons Villot,
Pilsoudzki ...
Le téléphone tellurique-sans fil
D'autres Brevets (plus techniques) seront publiés comme
cette série (traduction google sans correction)
FR335990 Nouveau mode de transmission et de réception sans
fil des signaux électriques 22 février 1904
L'objet de la présente invention est un nouveau
procédé de transmission et de réception de signaux
électriques sans fil.
Le moyen essentiel sur lequel repose le système est la production
transmet la position et utilise l'électricité du récepteur
de position se manifestant sous une nouvelle forme que l'on peut qualifier
de "vibration électrostatique" et qui est obtenue comme
cela sera expliqué plus loin par la modification d'un inducteur
à étincelle. Un des caractères distinctifs de cette
nouvelle manifestation de l'électricité est qu'elle peut
être transmise dans l'espace sans les antennes auxiliaires et au
sol à toutes les distances, et, sous la même forme que le
son, la lumière et la chaleur, c'est-à-dire sans pôles.
|
L'inductance étant en communication avec
une source d'alimentation, une batterie par exemple, et un interrupteur
spécial qui sera décrit ci-dessous, chaque interruption
doit naître dans le courant d'induit donnant une étincelle,
et c'est cette dernière qui se transforme en " vibrations
électrostatiques. " L'armature de sortie du fil de bobine
après le dernier enroulement extérieur, est à
cet effet reliée à une grande surface métallique
qui peut être exposée à l'air. Cette surface
peut être constituée soit par un cylindre creux ou
plein, soit par une ou plusieurs feuilles de fer, de cuivre ou de
tout autre métal usuel plus ou moins épais. La surface
est de préférence arrondie aux coins ou garnie d'une
bordure tout autour pour éliminer les pointes, comme dans
les machines électrostatiques conductrices.Il devrait être
d'environ un mètre carré par watt du courant circulant
dans l'inducteur. L'autre extrémité de l'armature
est reliée à une vis de réglage dont la pointe
k en platine ou en or se trouve à côté d'un
bouton, également en or ou en platine, porté sur la
grande surface.
Les FIG. 1 et 2 des dessins annexés montrent
deux dispositions qui peuvent être adoptées 5 h pour
la préparation de la station émettrice.
les FIG. 3 et 4 montrent deux provisions et un récepteur.
|
 |
Une extrémité du fil d'armature de la bobine
-j est reliée au cylindre 3 arrondi à ses extrémités,
et l'extrémité k du fil est reliée à la plaque
5 montée sur le support isolant 6 qui est fixé au cylindre
3. La plaque 5 est traversée par une vis de pression 55 prévue
au-delà de la pointe 7 en or ou en platine. L'extrémité
du fil induit k est celle par laquelle commence à rouler sur une
bobine. Le fil 8 communique avec la terre ou la plaque 5 (Fig. I) est
le cylindre 3 (Fig. A).
sommaire
GB190727157 Améliorations et relatives aux
transformateurs électriques. 29 octobre 1908
Comprend un grand nombre d'enroulements enroulés sous la forme
d'un câble a sur un châssis sans noyau b, et conduits aux
bornes 1 ... 10 et, adaptés pour être connectés en
quantité ou en tension au moyen d'un commutateur de sorte que trois
circuits indépendants ou plus peuvent être réalisés.
SPÉCIFICATION COMPLÈTE.
 |
La présente invention concerne les transformateurs
électriques de la classe décrite par les cahiers des
charges N ° 821901 (Amberg), z1854 (Swinburne) et 4 / I83 (Clerc)
et elle concerne en particulier l'agencement des enroulements.
L'invention est représentée sur les
dessins annexés;
Figs. 1 et 2, montrent respectivement une
coupe et une vue de face du transformateur amélioré.
Le transformateur qui n'a pas de noyau magnétique,
est simplement constitué d'un nombre convenable de fils isolés,
10 par exemple, qui sont unis pour former un câble a qui est
enroulé autour d'un cadre b. Les extrémités
du câble font saillie à travers deux trous du cadre
et les extrémités de chaque fil sont reliées
aux bornes 1 à 10 et 11 à 101 respectivement. Sur
les dessins, sont représentées 20 bornes, dont les
dix premières correspondent aux débuts des 10 fils,
et les dix autres correspondent aux extrémités des
mêmes fils.
On obtient ainsi un enroulement d'un certain
nombre de fils identiques qui sont tous enroulés en parallèle
et simultanément et qui peuvent être reliés
au moyen d'un commutateur de manière à former des
groupes à «faire varier selon les besoins; de sorte
qu'il se constitue ainsi trois circuits ou plus qui sont entièrement
indépendants l'un de l'autre et dont la longueur peut être
variée à volonté.
En joignant commodément les extrémités
libres de certains des fils, un enroulement primaire de faible résistance
est obtenu avec les fils du même assemblage pour la quantité,
tandis qu'un ou plusieurs des enroulements secondaires sont joints
pour la tension, fournissant ainsi toute résistance requise.
La construction du transformateur au moyen
d'un grand nombre de fils séparés offre de nombreux
avantages parmi lesquels la facilité de connecter les fils
séparés à volonté pour constituer les
circuits; l'agencement permettant de dériver un circuit supplémentaire
en tout point desdits circuits; et l'indépendance réciproque
de ces circuits à grand nombre
|
sommaire
GB190721535 Améliorations et relatives aux
transformateurs électriques. 28 mai 1908
Les transformateurs pour la télégraphie et la télégraphie
sans fil sont fabriqués sans noyau magnétique, de faible
profondeur mais de grand diamètre. Ils ont l'enroulement primaire
e enfermé dans l'enroulement secondaire c, g, mais séparé
de celui-ci par une isolation d, f. Les enroulements peuvent être
formés en sections et couplés dans n'importe quel ordre
au moyen d'un commutateur.
|
SPÉCIFICATION COMPLÈTE.
La présente invention concerne les transformateurs électriques
dont la construction est améliorée pour obtenir des
courants d'induction de très courte périodicité.
Les courants, dont la durée est extrêmement
courte, possèdent des propriétés particulières
qui sont particulièrement utiles lorsqu'ils sont appliqués
en télégraphie et en téléphonie sans
fil.
Des transformateurs sans noyau magnétique
et avec l'enroulement secondaire enroulé autour du primaire,
ou avec l'enroulement primaire enfermé dans un matériau
isolant autour duquel est enroulé l'enroulement secondaire
de sorte que l'ensemble forme un câble, ont été
fournis, et mon invention est limitée à la forme et
la construction du transformateur comme indiqué ci-après.
Mon transformateur électrique amélioré
contient son fil primaire dans un câble des fils secondaires
sous la forme d'une seule bobine de faible épaisseur mais
de très grand diamètre, mètre, ladite bobine
ou câble étant appliqué à un corps de
transformateur en forme d'anneau.
Le dessin ci-joint montre mon transformateur électrique
amélioré.
La figure 1 est une coupe selon la ligne AB de la figure 2 et La
figure 2 est un plan du transformateur en forme d'anneau.
Comme on le verra sur les dessins, le transformateur
a est de diamètre comparativement grand qui peut être
de plusieurs mètres.
Sur le dessin, le transformateur est représenté de
section circulaire, il pourrait cependant être de section
carrée ou autre. Ce transformateur est très court
car tous les fils de l'enroulement sont situés à sa
périphérie dans un creux ou une rainure b approprié.
|
 |
Pour la fabrication du transformateur, je place autour
de la jante de ce type de roue ou de cadran: a, une première couche
de fil secondaire qui est recouverte d'un isolant approprié d et
sur cet isolant le fil primaire e est enroulé qui est recouvert
par un autre couche de matériau isolant f. Les deux couches isolantes
d et f sont connectées de manière à ce que les fils
primaires e soient bien isolés,et la bobine est alors terminée
par application d'un enroulement extérieur de fil secondaire g,
ce dernier entourant le primaire de manière à former un
câble. De cette manière, on obtient un anneau de grand diamètre
qui est composé des fils secondaires c, g qui renferment un noyau
de fils primaires e convenablement isolés et entièrement
entourés et lequel anneau est appliqué à un corps
de transformateur en forme d'anneau ayant une rainure périphérique.
de section transversale appropriée.g qui renferme un noyau de fils
primaires e convenablement isolés et entièrement entourés
et lequel anneau est appliqué sur un corps de transformateur en
forme d'anneau ayant une rainure périphérique de section
transversale appropriée.g qui renferme un noyau de fils primaires
e convenablement isolés et entièrement entourés et
lequel anneau est appliqué sur un corps de transformateur en forme
d'anneau ayant une rainure périphérique de section transversale
appropriée.
L'appareil comprend quatre bornes h, dont deux servent
à la fixation des extrémités des fils secondaires,
les deux autres servant à la fixation des extrémités
de l'enroulement primaire.
On pourrait disposer plusieurs câbles ou anneaux indépendants
dans chacun desquels les fils secondaires entourent entièrement
les fils primaires et dans ce cas chacune des bornes serait remplacée
par un commutateur multiple permettant de relier les différents
fils secondaires ainsi que les différents primaires. fils soit
pour la tension, soit pour la quantité selon l'effet à obtenir.
sommaire
GB190721252 Améliorations liées à
la télégraphie et à la téléphonie sans
fil. 21 novembre 1907
Les circuits d'émission et de réception
d'une station pour un système inductif de téléphonie
ou de télégraphie sont agencés comme indiqué.
Une bobine a, constituée de quelques spires de fil épais,
est utilisée seule en émission, mais est connectée
en série avec une bobine b, constituée d'un grand nombre
de spires de fil fin, pour la réception; le circuit de la bobine
b est rompu automatiquement, lors de la transmission, au moyen d'une clé
Morse c. Le circuit de la bobine a comprend une batterie n et un microphone
o pour la téléphonie, ou un interrupteur pour la télégraphie,
et la bobine b est reliée à un téléphone h.
|
On connaît des systèmes de télégraphie
et de téléphonie sans fils de liaison qui utilisent,
à la place des ondes hertziennes, les phénomènes
d'induction distante au moyen de vibrations électriques de
très courte durée, mais de grande amplitude. Avec
de tels systèmes, un seul et même enroulement est utilisé
pour l'envoi et la réception de la fourrure; pour l'envoi
il est mis en circuit avec une source d'électricité
(pile, accumulateur, etc.) et avec un microphone ou un interrupteur
destiné à produire les vibrations en question. Le
même enroulement est mis en circuit avec un téléphone
récepteur pour recevoir les courants qui sont induits en
a. distance de l'enroulement émetteur de l'autre station.
Il est évident que ce single coil ne peut
pas aussi bien servir à l'envoi qu'à la réception.
Pour bien transmettre, il doit être fait de fil épais
et court, tandis que pour bien recevoir, il doit être fait
de fil long et fin.
Ce serait évidemment le plus simple de doter
chaque station de deux bobines différentes dont l'une sert
d'émetteur et l'autre de récepteur, mais le lucre
est une autre difficulté à considérer; pour
la réception, la bobine longue et mince doit être fermée
par le téléphone et dans cette condition elle absorberait
presque toute l'énergie qui devrait être envoyée
par l'émetteur.
La présente invention tourne vers un procédé
spécial de montage des pièces constituant un poste
afin de surmonter la difficulté mentionnée ci-dessus;
en outre, la méthode spéciale de montage permet de
joindre les deux bobines l'une derrière l'autre pour la réception,
ce qui augmente considérablement la puissance de réception
de la station.
Le dessin annexé représente schématiquement
une station selon la présente invention.
|
 |
a est le fil inducteur qui sert à transmettre la
fourrure; ce fil est épais et relativement court. b est l'enroulement
induit pour recevoir les vibrations induites de l'enroulement inducteur
de la station émettrice; cet enroulement est constitué d'un
fil fin d'une longueur considérable. c est un. Morse-manipulateur
dont le levier est relié par le contact laissé avec une
extrémité du fil a, son connecteur e est par le contact
f relié par l'une des extrémités du fil; le fil g
qui relie le contact f au fil b comprend le récepteur téléphonique
h, l'autre connecteur i de l'appareil Morse est connecté par borne
avec les extrémités libres des deux fils a et b qui sont
réunis en ce point. Le fil de liaison m qui sert à cet effet,comprend
la batterie n et le microphone o.
On comprend aisément qu'en position de repos
de la clé Morse (comme représenté sur les dessins)
les deux bobines et b forment un circuit fermé sur le téléphone
h. Cette position est la position de réception. Pour la transmission,
la touche est enfoncée et mise en contact avec le connecteur grâce
à quoi la bobine b est ouverte tandis que la bobine a est fermée
sur le microphone et la batterie.
Il est entendu que la station décrite sert
à la transmission de sons. Pour la transmission de signaux télégraphiques,
le microphone o est remplacé par un interrupteur-vibreur approprié
et l'appareil est actionné par la touche Morse comme d'habitude.
sommaire
GB190712529 Améliorations et relatives à
la télégraphie et à la téléphonie inductives.
12 mars 1908
Dans un système de télégraphie ou
de téléphonie par induction magnétique, les bobines
sont placées verticalement et la même bobine est utilisée
pour l'émission et la réception. La bobine b est enroulée
sur un cadre a de toute forme appropriée, qui peut être doublé
de fer. Une borne de la bobine b est connectée à une touche
f dont un contact est connecté via un microphone p et une batterie
o à l'autre borne d de la bobine. Un téléphone m
est connecté aux bornes de la bobine par un autre contact de la
touche f, et son circuit est normalement terminé pour recevoir
des messages téléphoniques ou télégraphiques.
La télégraphie est effectuée en manipulant le kev
f pour compléter le circuit de la batterie o; au téléphone,
la touche est enfoncée et le microphone p est utilisé.Un
alternateur haute fréquence peut être utilisé à
la place de la batterie o, et un écran composé de feuilles
de papier imbibées de paraffine, de vernis ou de colle peut être
placé derrière le cadre.
 |
La présente invention concerne des perfectionnements
dans cette classe de télégraphie et de téléphonie
à induction magnétique dans laquelle la transmission
est effectuée entre des bobines de fil similaires au niveau
des stations de réception et d'émission.
L'invention se caractérise par le fait que les émetteurs
et récepteurs sont réversibles, l'organe de transmission
des ondes étant le même que l'organe qui reçoit
les ondes.
Sur le dessin, un schéma d'une station selon
le système actuel est représenté.
L'émetteur et le récepteur des
ondes électriques sont constitués d'un. cadre en bois
(a) de dimensions assez grandes; par exemple 4 mètres carrés
pour une distance de 20 kilomètres. Sur le dessin, le cadre
est représenté comme étant carré mais
il peut être de toute autre forme géométrique
ayant pour centre un rectangle un losange, un cercle, etc. La paroi
du cadre est munie d'une rainure (b) dans laquelle une isolation
un fil conducteur est placé qui est connecté aux bornes
(c) et (d). Ce fil est enroulé a. faire varier le nombre
de fois autour de la trame pour qu'elle soit de longueur suffisante
en fonction de la puissance de transmission requise de l'appareil.
Le cadre (a) doit être de dimensions suffisamment
grandes pour éviter que les courants générés
en sens opposés sur les côtés du cadre ne tendent
à se neutraliser.
Chaque station comprend en plus un manipulateur
Morse (e), dont le commutateur est connecté à l'une
des bornes (c) du châssis (a) par le fil, ses bornes (r) et
(h) étant connectées à l'autre borne ( d) du
cadre (a).
|
Un récepteur téléphonique ordinaire
(m) est inséré dans, le circuit (k) qui mène de la
borne (h.) Du manipulateur au châssis, et dans l'autre circuit (n),
reliant la borne (g) du manipulateur avec. le cadre, une batterie (o) est
insérée près du cadre et un microphone (p) est inséré
près du manipulateur.
Lorsque le manipulateur (c) est au repos (position
représentée sur le dessin) la station est prête à
recevoir les émissions, le circuit électrique (a, c, i, f,
m, k, d, a) entourant le châssis et le téléphone -être
fermé. Il suffit de tenir le téléphone contre l'oreille
pour percevoir tous les courants qui sont induits dans le cadre (a).
Le téléphone (m) est mis hors circuit
lorsque le commutateur (f) est enfoncé, tandis que le circuit sera
fermé sur le châssis (a.) Et la batterie (o). La station est
ainsi devenue émettrice 11, la batterie envoyant des courants variables
dans la trame en fonction de la nature de la transmission à effectuer.
Pour télégraphier selon l'alphabet Morse on manipule le commutateur
(f) de la manière habituelle, le téléphone (m) de l'autre
poste permettant de percevoir distinctement les points et les tirets. L'opérateur
donne simplement un contact pour le point et deux contacts se succédant
rapidement pour un tiret. Dans ce cas le microphone (p) est superflu mais
il ne dérange pas. Quand cependant on veut téléphoner,le
contact (g) doit être maintenu fermé et on parle devant ou
dans le microphone (p); le téléphone (in.) de l'autre station
reproduira les sons.
La source d'électricité (o) peut être
une batterie ou un générateur électromagnétique
donnant des courants alternatifs de haute fréquence. Les courants
qui sont ainsi envoyés dans la trame (a) de la station émettrice
n'ont aucun effet appréciable sur les récepteurs télégraphiques
qui pourraient être fournis à cette station; ils n'influencent
même pas l'aiguille de l'aimant en raison de leur mauvais état.
Pour établir la communication entre deux stations,
les deux cadres (a) doivent être placés dans des plans parallèles,
perpendiculaires à la ligne qui relierait leurs centres, ce qui peut
être effectué par divers moyens. L'action (si l'un des cadres
sur l'autre est effectué à travers quelque obstacle que ce
soit, aucune connexion à la terre ou à l'air n'est nécessaire.
L'action réciproque des cadres peut être
augmentée en garnissant le fond de la rainure (b) sur toute sa longueur
avec une tôle douce, la garniture étant continue ou interrompue.
Le châssis deviendra ainsi une sorte d'électro-aimant dont
la proportion est juste l'inverse de ceux généralement utilisés.
Pour communiquer à de très grandes distances,
plusieurs cadres (n,) sont assemblés, les fils étant assemblés
en série ou pour tension.
L'efficacité peut être considérablement
augmentée et le sens de transmission localisé en évitant
la dispersion sur les côtés ou derrière le châssis,
au moyen d'un écran épais composé de feuilles de papier
superposées imbibées de paraffine; le papier pourrait également
être imprégné de vernis, de colle ou de tout autre matériau
équivalent.
sommaire
GB190126600 Améliorations des systèmes
télégraphiques et téléphoniques et s'y rapportant.
6 novembre 1902
Se rapporte à la disposition des circuits dans
les systèmes télégraphiques et téléphoniques.
Sur la figure 1, un microphone b est représenté sur une
ligne principale a, et au niveau de la station de réception est
connecté au milieu d'une batterie divisée f, g, deux récepteurs
l, m étant connectés entre la batterie et la terre. Lorsque
des bobines d'induction sont utilisées, deux primaires séparées
remplacent les récepteurs de la figure, et le récepteur
utilisé est placé dans un secondaire commun. Dans une autre
modification, l'émetteur est ponté sur deux circuits fermés
parallèles, comprenant des primaires et des batteries, le secondaire
formant le circuit de ligne.
La présente invention concerne les systèmes
télégraphiques et téléphoniques et a pour
objet certaines améliorations ci-après plus particulièrement
mentionnées et enfin signalées dans les revendications.
Comme cela est bien connu, afin d'éviter une surchauffe des appareils
de réception et d'émission dans les installations téléphoniques
ou télégraphiques, il est nécessaire d'empêcher
un courant très fort de les traverser. Il peut cependant, dans
certains cas, être nécessaire de fournir des courants d'énergie
variable dans des limites assez grandes, et cette invention a pour objet
de fournir un dispositif simple qui permettra aux courants de toute force
de passer à travers des appareils télégraphiques
et téléphoniques sans la moindre risque de détérioration
de ces appareils.
|
Afin que mon invention puisse être facilement
comprise et mise en uvre, je vais maintenant la décrire
entièrement en référence aux dessins annexés
dans lesquels sont schématisés plusieurs méthodes
de réalisation de mon. invention en pratique.
Sur les dessins: la figure 1 montre le principe
de mon agencement amélioré, et les figures 2 et 3
sont des agencements modifiés.
Mon système amélioré consiste
essentiellement en une ligne a de toute longueur convenable dans
laquelle est interpolé un microphone b ou un autre appareil
de transmission approprié. Une extrémité de
cette ligne est reliée à la masse en c et l'autre
extrémité est connectée en d à un fil
e adapté pour mettre en communication les pôles opposés
des deux sources d'électricité de puissance égale,
que, pour plus de clarté, j'ai représenté deux
piles simples f et g. Ces deux batteries sont respectivement reliées
à la terre en h et i. Dans les fils de terre j et k sont
des récepteurs télégraphiques ou téléphoniques
interpolés l, m, de toute construction convenable. Dans l'exemple
représenté sur le dessin, les récepteurs et
m sont indiqués comme étant des récepteurs
téléphoniques.
Ayant ainsi décrit la disposition générale
du système, je vais maintenant expliquer la fonction des
divers appareils du système.
En supposant que le fil a est inexistant et
que la communication de la batterie f et g avec la terre a été
établie, un courant passe du pôle positif de la batterie
f à la terre par le fil puis revient à travers le
fil k, batterie 9 et enfin à travers le fil e jusqu'au pôle
négatif de la batterie f. Ainsi, un circuit fermé
est établi. En admettant maintenant que le fil a soit connecté
au fil e en d et que l'émetteur b fonctionne, le courant
unique généré dans le cas précédent
sera remplacé, par deux courants qui circulent dans le même
sens.
L'un de ces courants part du pôle positif
de la batterie f à travers le fil passant par la terre de
h à c en passant par l'émetteur b, fil a et fil e
jusqu'au pôle négatif de la batterie f.
L'autre courant part du pôle positif
de la batterie 9 à travers les 'fils e et a, l'émetteur
b, à travers la terre de c à i et le fil k au pôle
négatif de la batterie g.
|
 |
On voit ainsi que le fil a et l'émetteur b sont traversés
simultanément par deux courants égaux en sens inverse.
Sur la figure 2 j'ai représenté un émetteur
télégraphique ou touche b mais la disposition générale
du système est la même que celle précédemment
décrite à l'exception que les fils j et k forment les conducteurs
primaires des transformateurs n et o. Le conducteur secondaire p, commun
aux deux transformateurs, conduit, vers l'appareil récepteur q,
par exemple un instrument récepteur télégraphique.
Chaque contact éjecté avec la touche
b produit, comme expliqué précédemment une double
dérivation agissant par soustraction d'intensité sur les
deux transformateurs n et o, produit un courant induit qui est reproduit
en totalité dans l'appareil récepteur q. Dans le cas d'une
transmission téléphonique, la clé doit être
remplacée par un microphone comme représenté sur
la figure 1, tandis que de plus le récepteur q serait également
un récepteur téléphonique.
En prolongeant le même principe je peux, comme
indiqué sur la figure 3, remplacer les deux fils de terre par deux
conducteurs et k réunis en r après avoir traversé
les transformateurs x et o. Le courant induit peut alors être acheminé
vers l'instrument récepteur t sur deux lignes, ou comme dans l'exemple
précédent sur une ligne s et deux prises de terre u et v,
placées plus ou moins éloignées l'une de l'autre.
On remarquera que le microphone b fait partie des
conducteurs neutres.
Il agit exactement comme sur la figure 1. Les différences
de résistance produites par ses vibrations influencent les deux
bobines x et o, et il est facile de comprendre que, quelle que soit l'intensité
des deux sources électriques f et g, le microphone n'est jamais
exposé au risque de surchauffe du fait qu'il est parcouru par deux
courants égaux dans des sens opposés.
On comprendra ainsi que les émissions seront
rendues perceptibles dans les récepteurs par les différences
d'intensité du courant électrique; les différences
étant dues aux différences de résistance du conducteur
neutre qui, en recevant deux courants égaux en sens opposés,
ne s'en ressent pas beaucoup.
sommaire
GB190117711 Améliorations relatives à
la transmission des signaux télégraphiques et téléphoniques.
19 février 1901
Les circuits locaux de chaque station sont doublement
mis à la terre en e, f, j, k symétriquement autour d'une
ligne droite joignant les stations. Les terres peuvent être formées
de pots poreux contenant de l'eau dans lesquels les extrémités
des conducteurs sont immergées, ou des fossés profonds remplis
de coke gazeux peuvent être utilisés. Les écrans isolants
peuvent être placés dans des fossés profonds creusés
derrière la terre.
La présente invention concerne un procédé
amélioré de transmission de signaux électriques télégraphiques
et téléphoniques d'un point à un autre sans l'emploi
de fils reliant les deux points.
Dans mon système de transmission amélioré,
les deux pôles de la station d'émission sont mis à
la terre et les deux conducteurs, sur lesquels l'appareil de réception
est monté, sont également tous deux mis à la terre;
les signaux émis par l'appareil émetteur sont transmis à
la station de réception uniquement par la terre.
Afin que mon invention puisse être facilement et
clairement comprise, j'ai représenté dans le dessin annexé,
à titre d'exemple uniquement, une vue schématique de mon
appareil dans son ensemble.
 |
Comme montré sur le dessin, la station émettrice
comprend un émetteur dont l'une des bornes est électriquement
connectée à l'un des pôles d'une source d'électricité
b tandis que l'autre pôle communique avec la terre; le deuxième
pôle de la source d'électricité est également
acheminé vers la terre et avec cet objet les deux conducteurs
cd se terminent par deux pots poreux ef noyés dans le sol
et remplis d'eau.
La station de réception comprend un récepteur
9 tel qu'un téléphone par exemple, les conducteurs
hi qui sont mis à la terre par l'intermédiaire de
deux pots poreux jk similaires à ceux de la station émettrice.
Les pots poreux de la station de réception
doivent être disposés sur une ligne parallèle
à celle qui relie les deux pots poreux de la station d'émission,
et ils doivent être équidistants d'un axe passant par
le point médian de cette ligne et perpendiculairement audit
axe. .
Les pots poreux peuvent avantageusement être
remplacés par des fossés profonds creusés dans
la terre humide, remplis de charbon gazeux ou de coke et contenant
en leur centre une plaque de carbone bon conducteur, sur laquelle
sont respectivement fixés les fils de transmission et de
réception.
Lorsque le contact est établi par manipulation
l'émetteur a, le circuit électrique passant par la
source d'électricité b, le conducteur c, le pot poreux
e relié à la terre à l'autre pot poreux f le
conducteur d et l'émetteur a, est fermé. Le courant
ainsi produit provoque un changement d'état du sol; tout
autour des pots poreux se produit un rayonnement électrique
dont la polarité est celle du conducteur correspondant; sa
densité diminue à mesure qu'elle s'éloigne
du point de départ. Ce rayonnement est infini par rapport
à l'espace si rien ne gêne son passage.
Le rayonnement s'étend d'autant plus
loin que la distance entre les deux pots poreux de la station émettrice
est plus grande.
Ces rayonnements, à partir respectivement des pots poreux
ef créent ainsi deux zones dont l'une est positive et l'autre
négative, dont l'intersection constitue la ligne% absolument
neutre. Il en découle que les pots poreux de la station de
réception doivent être disposés de chaque côté
de l'axe neutre, car si ces deux connexions à la terre étaient
du même côté, elles collecteraient toutes deux
du fluide de même polarité, et dans ces conditions
le récepteur ne serait traversé par aucun courant.
|
Afin de collecter le maximum de courant à la station
de réception, les deux pots de réception poreux doivent
être aussi près que possible équidistants de l'axe
neutre, comme si l'un des deux pots poreux est plus proche que l'autre,
la différence de séparation de celui ce qui est le plus
éloigné est non seulement perdu mais préjudiciable
car il provoque des résistances inutiles sans rien ajouter à
l'effet.
L'expérience a démontré que
la disposition qui fournit le maximum de réception est celle qui
consiste à disposer les pots poreux du récepteur au même
intervalle que sépare les pots poreux de la station émettrice.
Pour installer ma méthode de transmission
électrique, il faut tout d'abord tracer une droite ay reliant les
deux stations et ensuite produire sur chacune de ces stations une ligne
partant de cette ligne xy à angle droit, ladite perpendiculaire
les lignes sont de longueur égale.
Les appareils d'émission et de réception
peuvent être disposés en tout point approprié sur
le conducteur qui relie les pots poreux.
Afin que l'ensemble du rayonnement émis puisse
être utilisé à la station de réception, la
propagation de ce rayonnement est empêchée (à la station
d'émission du côté opposé à celui sur
lequel la station de réception est située en enfouissant
dans le sol un écran isolant l qui peut être en verre, en
tissu goudronné, en ébonite ou autre, ou en creusant un
fossé suffisamment profond avec ou sans écran isolant.
Chaque fois que le contact est établi à
l'émetteur a, un coup sec est audible à `` le téléphone
récepteur g ; un deuxième coup se fait entendre lorsque
le circuit est coupé.
Il est évident qu'il peut être agencé
à la fois au niveau de la station d'émission et de réception
des appareils d'émission et de réception de la plus grande
sensibilité possible, soit pour servir de relais à des fins
télégraphiques, soit pour recevoir et enregistrer directement
les signaux; par exemple un siphon d'encre monté sur un cadre galvanométrique,
ou tout autre dispositif approprié.
Ma méthode de transmission permet également
la transmission de la parole; il suffit de remplacer l'émetteur
par un microphone ordinaire interposé soit directement sur le circuit,
soit disposé sur le primaire d'une bobine d'induction, dont le
fil secondaire se termine à chaque extrémité des
deux pots poreux.
On comprendra bien entendu qu'en pratique chaque
station comprend à la fois un émetteur et un récepteur.
sommaire
GB190108906 Améliorations relatives à
la transmission des courants électriques 30
avril 1901
Les systèmes télégraphique et téléphonique
sont agencés avec le fil de ligne a connecté au point central
d'une batterie c, c, dont les pôles opposés sont mis à
la terre et shuntés par une touche de circuit normalement fermé
g ou un microphone. Les connexions à la terre se font à
travers des cellules non polarisables f, f, contenant par exemple deux
plaques de cuivre immergées dans une solution de sulfate de cuivre.
Le récepteur est ponté entre une terre et un interrupteur
h par lequel l'émetteur est normalement connecté à
la ligne. Le microphone peut être inséré dans le primaire
d'une bobine d'induction dont les deux secondaires s'opposent et sont
connectés aux deux masses et ligne. Les deux prises de terre peuvent
être rapprochées par le récepteur et basculer dans
le primaire de la bobine d'induction,de sorte que cette bobine agit à
la fois pour recevoir et pour émettre selon la position de l'interrupteur
h. Le microphone est disposé dans le primaire d'une seconde bobine
d'induction.
La présente invention concerne des améliorations
dans la transmission des courants électriques et est plus particulièrement
adaptée pour les lignes télégraphiques et téléphoniques,
grâce à quoi la condensation dans le câble est évitée,
tout en "écoutant" la ligne en un point quelconque de
celle-ci, à cet effet. il est impossible de déterminer la
signification du message en cours de transmission.
Mon système de transmission amélioré
comprend un seul fil de ligne entre les deux stations et branché
à ces deux stations au point zéro d'un circuit dont les
deux extrémités sont reliées à la terre ou
à la mer; le courant fourni à chaque station par une source
locale d'électricité étant envoyé à
travers le circuit au moyen de tout appareil de transmission commode,
(tel qu'une clé Morse, un microphone ou autre) soit directement
soit par induction.
Chaque station est équipée parmi d'autres
appareils, avec un appareil de réception constitué d'un
instrument clé connecté au fil de ligne et permettant au
courant envoyé dans la ligne depuis la station d'émission,
de passer dans un conducteur menant directement à l'un des fils
en cours d'exécution. à la terre et auquel est connecté
le récepteur proprement dit.
Afin d'éviter la polarisation des fils de
terre, chacun de ces fils est connecté à un conducteur conduisant
à une lame de cuivre ou autre lame métallique immergée
dans une solution saline impolarisable dans laquelle est disposée
une seconde lame similaire connectée à la terre ou à
la mer.
Dans les dessins d'accompagnement: La figure 1 est
un schéma montrant mon système amélioré appliqué
à la télégraphie
|
La figure 2 est un schéma montrant la même
chose appliquée à la téléphonie. La
figure 3 montre le système de la figure 2 avec un courant
induit. ' La figure 4 montre une disposition modifiée.
Sur toutes les figures, les mêmes lettres
de référence désignent les mêmes pièces.
En référence à la figure 1 les deux stations
sont reliées par un seul fil de ligne a, ramifié au
point zéro b de la batterie formée des différents
éléments c dont les pôles d'extrémité
sont reliés à la terre, ou à la mer, par un
conducteur de conduisant à une plaque de cuivre ou autre
f métallique immergée dans un liquide de bonne conductivité,
comme par exemple une solution d'un sulfate de cuivre, dans laquelle
une autre plaque de cuivre f1 est placée reliée à
la terre, ou à la mer par un conducteur d1.
|
 |
Un appareil émetteur g de toute construction commode,
tel qu'un instrument Morse- key, est connecté avec les deux pôles
d'extrémité de la batterie de telle manière que dans
sa position de repos, il ferme le circuit de ce dernier en établissant
un court-circuit afin qu'aucun courant ne passe, (ou tout au plus très
faible) à travers la ligne de fil a ou à travers les fils
de terre.
Pour envoyer un courant à la station de réception,
la touche 9 est enfoncée après quoi le court-circuit est interrompu
et le courant est amené à passer simultanément à
travers le fil de ligne a et les fils de terre d dl ee *. Le fil de ligne
est en réalité traversé par deux courants dans des
directions opposées, de sorte qu'il est dans un état apparemment
neutre, et donc aucune interception des messages ne peut être effectuée
pour la raison que si un récepteur est interpolé, en tout
point de . la ligne, ledit récepteur recevrait deux courants dans
des sens opposés qui se neutraliseraient.
Chaque station est également équipée
d'un appareil de réception constitué d'un commutateur h connecté
au fil de ligne a et permettant, lorsqu'il est enfoncé, le courant
de l'émetteur de passer dans un fil i menant directement à
l'un des fils de terre (d1 pour exemple) et dans lequel est interpolé
l'instrument récepteur j.
Pour recevoir des signaux envoyés depuis la
station émettrice, il est nécessaire que le levier de commutation
h soit maintenu enfoncé, de manière à faire passer
le courant de la station émettrice dans le fil en liaison avec l'instrument
récepteur.
Les connexions peuvent également être
établies de telle manière que lorsque le commutateur h est
dans sa position normale, il coupe le fil (et connecte le fil avec la partie
dudit fil qui mène à l'autre station; dans ce cas, pour émettant
un signal, il est nécessaire d'appuyer au préalable sur le
levier de commutation h pour rétablir la continuité du fil
de ligne et l'opérateur agit alors sur le levier à clé
g comme indiqué ci-dessus.
Mon agencement s'applique également aux messages
téléphoniques comme cela sera maintenant expliqué en
référence à la figure 2, l'instrument émetteur
g est dans ce cas remplacé par un microphone g1 et l'instrument récepteur
j est remplacé par un récepteur téléphonique
j 1 le fonctionnement de l'agencement est exactement le même que celui
décrit ci-dessus.
Les vibrations du microphone coupent le court-circuit
et le courant provenant de la source locale d'électricité
passe alors sur le fil de ligne a et les fils de terre d d1 c el comme indiqué
précédemment.
Le message téléphonique est reçu
de la même manière que précédemment grâce
à l'intervention du commutateur h qui fait passer le courant, émis
depuis la station émettrice; à l'instrument de réception
téléphonique jl.
Le fil de ligne peut également être actionné
par des courants d'induction a3 est indiqué à la figure 3.
Le circuit local dans lequel l'appareil émetteur
(par exemple, le microphone g1) est inséré comprend un enroulement
primaire k entourant un noyau central en fer doux, ou faisceau de fils,
1 qui est en outre pourvu de deux enroulements secondaires mm dans des directions
opposées. Le fil de ligne a est connecté à chacun de
ces enroulements secondaires aux deux extrémités m1 n1 de
polarité opposée et les extrémités opposées
ms p2 sont connectées aux fils de terre ddc posés de la manière
déjà expliquée.
Lors du fonctionnement de l'appareil émetteur
ou en parlant dans le microphone 0 par exemple, des courants d'induction
sont générés dans les enroulements secondaires mn et
ils affectent alors l'appareil récepteur jl au niveau de la station
de réception comme déjà indiqué.
L'enroulement primaire et les deux enroulements secondaires
peuvent avoir les trois fils enroulés dans le même sens sur
le noyau de fer doux et les deux extrémités des circonvolutions
primaires sont connectées au circuit local dans lequel est interpolé
l'émetteur tandis que deux extrémités de polarités
opposées de les circonvolutions secondaires sont reliées à
la ligne et les deux osiers à la terre comme expliqué précédemment.
Dans mon arrangement de transmission amélioré,
les deux fils de terre à `` chaque station doivent être plus
séparés l'un de l'autre, plus la distance est longue entre
les deux stations de sorte que la résistance de la terre entre lesdits
fils de terre soit suffisante pour provoquer l'unique ligne-fil à
traverser par la plus grande quantité possible de courant.
Afin de réduire au maximum la distance entre
les fils de terre, le début de l'unique fil a et les fils rl rl 'menant
à la terre sont avantageusement à rm distance de l'instrument
émetteur et de l'instrument récepteur respectivement au poste
télégraphique ou téléphonique et permettent
ainsi de rapprocher les deux liaisons à la terre des deux stations
télégraphiques ou téléphoniques.
La station télégraphique ou téléphonique
est alors divisée et l'instrument émetteur est relié
à l'aimant avec ses prises de terre et son fil de ligne a 'par deux
fils conducteurs kl k2 reliés aux extrémités des convolutions
k qui génèrent des courants d'induction dans les enroulements
secondaires mn ( Figure 4).
Le courant envoyé dans les fils conducteurs
k1 k2 et. passant par les circonvolutions k peut être lui-même
un courant induit généré dans la bobine k3 lorsqu'un
courant provenant de la source d'électricité c traverse le.
bobine primaire o par l'action du microphone émetteur gl par exemple.
Dans le cas où `` la distance de la station
d'émission télégraphique ou .téléphonique
de ses connexions à la terre n'est pas trop excessive, le courant
traversant les conducteurs k1 1.:2 au lieu d'être un courant d'induction
peut être fourni directement par la source d'électricité
de cette station, et naturellement l'instrument émetteur, (microphone
ou 'clé), et la source d'électricité sont alors placés
directement dans le circuit; 1 k2.
Un interrupteur A interposé dans le conducteur
kl permet de couper le circuit en conduisant à la bobine secondaire
k3 et de fermer le circuit pour le conducteur i conduisant au conducteur
k 2 dans lequel est interpolé 'l'instrument récepteur j.
Ainsi la bobine k est soit inductrice, soit induction
selon qu'il y a émission ou réception.
Il doit être bien entendu que mon système
de transmission est entièrement indépendant de la nature de
l'appareil télégraphique ou téléphonique utilisé
avec celui-ci, et que la source d'électricité aux stations
peut être de tout type convenable, soit dérivée d'une
batterie, d'accumulateurs, dynamo, machine magnéto-électrique
ou similaire.
SPÉCIFICATION COMPLÈTE.
Cette invention vise à améliorer la
transmission des courants électriques et est plus particulièrement
adaptée pour les lignes télégraphiques et téléphoniques,
grâce à quoi la condensation dans le câble est évitée,
tout en "écoutant" la ligne en tout point de celle-ci,
dans le but de déterminer le but du message en cours de transmission
est rendu impossible.
Mon système de transmission amélioré
comprend un seul fil de ligne entre les deux stations et ramifié
à ces deux stations au point zéro d'un circuit dont les
deux extrémités sont reliées à la terre ou
à l'ensemble; le courant fourni à chaque station par une
source locale d'électricité étant envoyé à
travers le circuit au moyen de tout appareil de transmission commode (tel
qu'un microphone à clé Morse ou autre) soit directement
soit par induction.
Chaque station est équipée, entre
autres appareils, d'un appareil de réception composé d'un
instrument à clé connecté, avec le fil de ligne et
permettant au courant envoyé dans la ligne de la station émettrice,
de passer dans un conducteur menant directement à l'un des fils
reliés à la terre et auxquels est connecté le récepteur
proprement dit.
Afin d'éviter la polarisation des fils de
terre, chacun de ces fils est connecté à un conducteur conduisant
à une lame de cuivre ou autre lame métallique immergée
dans une solution saline impolarisable dans laquelle est disposée
une seconde lame similaire connectée à la terre ou à
la mer.
Afin que mon invention puisse être clairement
comprise et facilement mise en uvre, je vais maintenant la décrire
plus en détail en faisant référence aux dessins accompagnant
ma Spécification provisoire dans lesquels:.
La figure 1 est un diagramme montrant mon système
amélioré appliqué à la télégraphie.
La figure 2 est un schéma montrant la même
chose appliquée à la téléphonie.
La figure 3 montre le système de la figure
2 avec un courant induit.
La figure 4 montre une disposition modifiée.
Sur toutes les figures, les mêmes lettres
de référence désignent les mêmes pièces.
En se référant à la figure
1, les deux stations sont reliées par un seul fil de ligne a ramifié
au point zéro b de la batterie formée des différents
éléments c de «dont» les pôles d'extrémité
sont reliés à la terre, ou à la mer, par un conducteur
de conduisant à une plaque de cuivre ou autre f immergée
dans un liquide de bonne conductivité, comme par exemple une solution
de sulfate de cuivre, dans laquelle une autre plaque de cuivre f1 est
placée reliée à la terre, ou à la mer par
a. conducteur d1 e1.
Un appareil émetteur q de toute construction
convenable, tel qu'un instrument à clé Morse, est connecté
aux deux pôles d'extrémité de la batterie de telle
manière qu'en position de repos il ferme le circuit de cette dernière
en établissant un court-circuit afin qu'aucun courant ne passe,
(ou tout au plus très faible) à travers la ligne de fil
a ou à travers les fils de terre.
Pour envoyer un courant à la station de réception,
la touche g est enfoncée, après quoi le court-circuit est
interrompu et le courant est amené à passer simultanément
à travers le fil de ligne a et les fils de terre d dl e el. Le
fil de ligne est en réalité parcouru par deux courants dans
des sens opposés, de sorte qu'il est dans un état apparemment
neutre, et donc la non-interception des messages peut être effectuée
pour la raison que si un récepteur est interpolé en tout
point de la ligne , ledit récepteur recevrait deux courants dans
des sens opposés qui se neutraliseraient
Chaque station est également équipée
d'un appareil de réception constitué d'un commutateur h
relié au fil de ligne a et le permettant, lorsqu'il est enfoncé.
le courant de l'émetteur pour passer dans un fil i conduisant directement
à l'un des fils de terre (d1 par exemple) et dans lequel est interpolé
l'instrument récepteur j.
Pour recevoir des signaux émis par la station
émettrice, il est nécessaire que le levier de commutation
h soit maintenu enfoncé, de manière à faire passer
le courant de la station émettrice dans le fil i en liaison avec
l'instrument récepteur.
Les connexions peuvent également être
établies de telle manière que lorsque le commutateur h est
dans sa position normale, il coupe le fil 'a et relie le fil i à
la partie dudit fil qui mène à l'autre poste; dans ce cas,
pour émettre un signal, il est nécessaire d'appuyer au préalable
sur le levier de collecteur h afin de rétablir la continuité
du fil de ligne et l'opérateur agit alors sur le levier à
clé comme indiqué ci-dessus.
Mon agencement s'applique également aux messages
téléphoniques comme cela sera maintenant expliqué
en référence à la figure 2. L'instrument émetteur
g est dans ce cas remplacé par un microphone 1 et l'instrument
récepteur j est remplacé par un récepteur téléphonique
il le fonctionnement de l'agencement est exactement le même que
celui décrit ci-dessus.
Les vibrations du microphone coupent le court-circuit
et le courant de la source locale d'électricité passe sur
le fil de ligne a et les fils de terre d d1e e1 comme indiqué précédemment,
Le message téléphonique est reçu
de la même manière que précédemment grâce
à l'intervention du commutateur h qui fait passer le courant émis
de la station émettrice à l'instrument de réception
téléphonique j1.
Le fil de ligne peut également être
alimenté par des courants d'induction comme indiqué sur
la figure 3.
Le circuit local dans lequel se trouve l'appareil
émetteur (par exemple, le microphone g1). est inséré,
un enroulement primaire k entourant un noyau central en fer doux ,, ou
faisceau de fils, 1 qui est en outre pourvu de deux enroulements secondaires
mn dans des sens opposés. Le fil de ligne a est connecté
à chacun de ces enroulements secondaires aux deux extrémités
en n1 de polarité opposée et les extrémités
opposées m2 n2 sont connectées aux fils de terre clt c ex
de la manière déjà expliquée.
Lors du fonctionnement de l'appareil émetteur
ou lors de la prise de parole dans le microphone par exemple, des courants
d'induction sont générés dans les enroulements secondaires
mn et ils affectent alors l'appareil de réception 1 au poste de
réception comme déjà indiqué. L'enroulement
primaire et les deux enroulements secondaires peuvent avoir les trois
fils enroulés dans le même sens sur le noyau de fer doux
et les deux extrémités des circonvolutions primaires sont
connectées au circuit local dans lequel est interpolé l'émetteur
tandis que deux extrémités de polarités opposées
de les circonvolutions secondaires sont reliées à la ligne
et les deux autres à la terre comme expliqué précédemment.
Dans ma transmission améliorée, arrangez
le. deux fils de terre à chacun. la station doit être d'autant
plus éloignée l'une de l'autre que la distance est longue
entre les deux stations pour que la résistance de la terre entre
lesdits fils de terre soit suffisante pour faire traverser le seul fil
de ligne par la plus grande quantité possible de le courant.
Afin de réduire au maximum la distance entre les
fils de terre, le début du fil de ligne unique a et les fils d
d1 menant à la terre sont avantageusement écartés
à distance avant l'instrument émetteur et l'instrument récepteur
respectivement au niveau télégraphique ou téléphonique.
et permettre ainsi de rapprocher les deux liaisons terrestres des deux
stations télégraphiques ou téléphoniques.
La station télégraphique ou téléphonique
est alors divisée et l'instrument émetteur est relié
à l'aimant avec ses prises de terre et le fil de ligne z par deux
fils conducteurs k 'k2 reliés aux extrémités des
convolutions qui génèrent des courants d'induction dans
les enroulements secondaires mn (Figure 4).
Le courant envoyé dans les fils conducteurs
k1 k2 .et, traversant les circonvolutions k peut être lui-même
un courant induit généré dans la bobine k3 lorsqu'un
courant provenant de la source d'électricité c traverse
la bobine primaire ou par l'action de l'émetteur microphone f /
I par exemple.
Dans le cas où la distance de la station
émettrice télégraphique ou téléphonique
à ses prises de terre n'est pas trop excessive, le courant traversant
les conducteurs k le2 au lieu de. étant un courant d'induction
peut être fourni directement par la) source, d'électricité
de cette station, et l'instrument émetteur naturellement (microphone
ou clé) et la source d'électricité sont alors placés
directement dans le circuit leI kS.
Un interrupteur Il interpolé dans le conducteur
k1 permet de couper le circuit en conduisant à la bobine secondaire
k3 et de fermer le circuit pour dans le conducteur i conduisant au conducteur
3 dans lequel est interpolé l'instrument récepteur j1.
Ainsi la bobine k est soit inductrice, soit induction
selon qu'il y a émission ou réception.
Il doit être bien entendu que mon système
de transmission est entièrement indépendant de la nature
de l'appareil télégraphique ou téléphonique
utilisé avec celui-ci, et que la source d'électricité
aux stations peut être de toute nature convenable,
sommaire
GB189706773 Améliorations des connexions des
instruments téléphoniques et télégraphiques
aux lignes conductrices. 15 mars 1897
Les lignes télégraphiques et téléphoniques
sont agencées de telle sorte que toute paire de lignes portant
des instruments puisse être utilisée comme fil ou retour
pour un autre ensemble d'instruments sans interférence. Ainsi,
à titre d'exemple, quatre circuits métalliques transportent
individuellement quatre ensembles d'instruments séparés
mais peuvent avoir des circuits A et B, C et D, utilisés comme
d'autres circuits métalliques, ou A et B peuvent former un conducteur
et C et D un retour pour un septième circuit métallique.
La spécification décrit les instruments téléphoniques
utilisés sur les circuits métalliques et les instruments
télégraphiques ou téléphoniques insérés
dans les circuits de retour à la terre. La figure 1 montre une
paire de lignes L <1>, L <2> formant un circuit métallique
et pouvant être utilisées comme ligne avec un retour de terre
par L <3>, L <3>, les lignes L <2>étant connecté
à la boucle au centre de la bobine secondaire S ', S <2>
de la bobine d'induction X. L'instrument récepteur est représenté
dans un pont, tel que Z. Les positions des instruments émetteurs
T et récepteurs R peuvent être inversé. Chaque côté
d'une boucle métallique peut également être utilisé
comme ligne avec un retour de terre.
La présente invention concerne la connexion d'instruments
téléphoniques et télégraphiques à des
lignes conductrices de telle sorte que plusieurs messages téléphoniques
et télégraphiques puissent être transmis simultanément
sans interférer les uns avec les autres.
 |
La figure 1 des dessins annexés montre schématiquement
des connexions pour un téléphone et également
pour un autre téléphone ou télégraphe
à une double ligne conductrice. La figure 2 montre une modification.
La figure 3 montre comment sept ensembles de connexions peuvent
être appliqués à quatre doubles lignes conductrices.
La figure 4 montre les connexions pour un téléphone
et un télégraphe à une seule ligne avec retour
de terre. La figure 5 montre les connexions
pour téléphoner sur deux lignes télégraphiques
dont l'une forme un retour métallique.
En se référant d'abord à
la figure 1, les deux lignes Ll L2 sont à chaque extrémité
connectées comme montré en X à travers deux
bobines secondaires égales 8 1 et s 2 enroulées avec
une bobine primaire P qui est en circuit avec un émetteur
téléphonique T et une batterie locale B.
Les lignes L1 L2 sont ainsi reliées
aux bobines secondaires 8 1 s 2 que les courants induits dans les
lignes par l'émetteur téléphonique sont toujours
de sens opposés.
Le récepteur téléphonique
R, comme montré en Z, est en circuit avec une bobine secondaire
8 3 enroulée avec une bobine primaire p reliant les deux
lignes L1 L2.
En un point l intermédiaire des bobines
s1 s2 une troisième ligne L3 est connectée, cette
ligne étant utilisée pour la transmission téléphonique
ou télégraphique. Lorsque l'un ou l'autre des émetteurs
téléphoniques T est utilisé, les courants induits
traversent la bobine primaire p provoquant ainsi l'action des récepteurs
R. Mais si un courant circule par L3, il doit circuler dans des
sens opposés à travers 8 1 et s2, et donc dans le
même sens le long des lignes L1 L2 afin qu'il ne puisse pas
influencer les récepteurs R ni les émetteurs T. A
chaque extrémité une ligne L3 peut être connecté
comme indiqué par Y, Fig.2, au point la intermédiaire
à deux bobines primaires égales p1 p2 qui relient
les lignes Ll LO et sont enroulées avec le secondaire S3
de chaque récepteur téléphonique R.
Avec des connexions ainsi disposées,
tout courant circulant dans le même sens à travers
les bobines pl p 2 actionne les récepteurs téléphoniques
R, tandis qu'un courant de L3 circule dans des sens opposés
à travers les bobines pl p 2 et est donc inefficace sur les
récepteurs R. En combinant plusieurs émetteurs ordinaires
T et plusieurs des agencements de récepteur marqués
Y sur la figure 2 avec un certain nombre de lignes doubles comme
montré sur la figure 3, un certain nombre de messages peuvent
être envoyés sur ces lignes sans interférer
les uns avec les autres.
|
En se référant ainsi à la figure 3,
l'émetteur 1 fonctionne sur la paire de lignes Ll de la manière
habituelle, l'une de ces lignes servant de retour métallique.
De la même manière, l'émetteur 2 fonctionne sur la paire
L2, l'émetteur 4 sur la paire L 4 et l'émetteur 5 sur la paire
L 5. Là encore, l'émetteur 3 fonctionne à travers la
paire de lignes L 3 et les deux paires L 1 et L 2, une de ces paires servant
de retour métallique.
De la même manière, l'émetteur
6 fonctionne à travers la paire de lignes L 6 et à travers
les deux paires L 4 L 5. Enfin l'émetteur 7 fonctionne à travers
les paires de lignes L 7 et à travers les deux paires L 3 et L 6
et le. quatre paires L 1 L 2 L 4 et L 5, deux de ces paires telles que L
4 et L 5 servant de retour métallique.
Il est évident que ce système peut être
dupliqué et redoublé de sorte qu'un émetteur peut être
amené à fonctionner sur 8 paires ou 16 paires de lignes ou
autre multiple de 4.
Comme le montre la figure 4, un téléphone
et un télégraphe sont connectés à une ligne
L ayant retour de la terre. Dans ce cas, X et Z sont les agencements téléphoniques
ainsi marqués sur la Fig.1, K est la clé, C la batterie et
D le récepteur pour télégraphier dans la connexion
de Z à la terre il y a une résistance réglable F pour
équilibrer celle de la ligne . Comme montré sur la figure
5, deux ensembles des connexions télégraphiques illustrées
sur la figure 4 et deux lignes Ll L2 qui peuvent être tous deux à
un endroit ou chacun à un endroit différent avec retour de
terre sont combinés avec un agencement téléphonique.
L'émetteur T par son primaire P induit des
courants dans les secondaires $ 1 89 à la fois dans le même
sens et donc dans des sens opposés dans les lignes Ll L2. Les courants
étant de même sens en p1 et p2 agissent sur les secondaires
1 3 des récepteurs 1 ,. Les courants du télégraphe
gi se divisant en 11 passent dans des sens opposés à travers
sl et pl et n'affectent donc pas les récepteurs téléphoniques.
Et de même les courants du télégraphe K2 sont inefficaces
sur les récepteurs.
Dans un souci de clarté, les bobines primaire
et secondaire ont été présentées sous la forme
de nombreuses lignes côte à côte.
Il doit être entendu cependant qu'ils sont enroulés
dans chaque cas sur une seule bobine.
Dans les Fig. 3,4 et 5, les dispositions ne sont représentées
qu'à une seule extrémité des lignes conductrices.
Il doit être entendu cependant qu'ils sont symétriquement
répétés à l'autre extrémité comme
le montrent les Fig. 1 et 2.
SPÉCIFICATION COMPLÈTE.
La présente invention concerne la connexion
d'instruments téléphoniques et télégraphiques
à des lignes conductrices de telle sorte que plusieurs messages
téléphoniques et télégraphiques puissent être
transmis simultanément sans interférer les uns avec les
autres.
La figure 1 des dessins accompagnant mon cahier
des charges provisoire montre schématiquement les connexions pour
un téléphone et également pour un autre téléphone
ou télégraphe à une double ligne conductrice. La
figure 2 montre une modification. La figure 3 montre comment sept ensembles
de connexions peuvent être appliqués à quatre doubles
conducteurs. lignes: La figure 4 montre les connexions pour un téléphone
et un télégraphe à une seule ligne avec retour de
terre. La figure 5 montre les connexions pour téléphoner
sur deux lignes télégraphiques dont l'une forme un retour
métallique.
1 . En se référant d'abord à
la figure 1, les deux lignes Ll L2 sont à chaque extrémité
connectées comme montré en X à travers deux bobines
secondaires égales s1 et 8 2 enroulées avec une bobine primaire
P qui est en circuit avec un émetteur téléphonique
T et une batterie locale B.
Les lignes Ll L 2 sont connectés de telle
sorte aux bobines secondaires 8 1 s '"que les courants induits dans
les lignes par l'émetteur téléphonique sont toujours
en sens inverse.
Le récepteur téléphonique R,
comme montré en Z, est en circuit avec une bobine secondaire s3
enroulé avec une bobine primaire p de haute résistance reliant
les deux lignes L1 L2.
Au point intermédiaire des bobines sr s 2
est connectée une troisième ligne L3, cette ligne étant
utilisée pour la transmission téléphonique ou télégraphique.
Lorsque l'un ou l'autre des émetteurs téléphoniques
T est utilisé, les courants induits traversent la bobine primaire
p, provoquant ainsi l'action des récepteurs R. Mais si un courant
circule par L3, il doit circuler dans des sens opposés à
travers sl et s2, et donc dans le même sens le long des lignes Ll
L2 afin qu'il ne puisse pas influencer les récepteurs It ni les
émetteurs T.A chaque extrémité une ligne L3 peut
être , connecté comme indiqué par Y, figure 2, au
point intermédiaire à deux bobines primaires égales
p1 p2 qui relient les lignes L1 L2 et sont enroulées avec le secondaire
8 3 de chaque récepteur téléphonique R.Avec des connexions
ainsi agencées, tout courant circulant dans le même sens
à travers les bobines yx actionne les récepteurs téléphoniques
R, tandis qu'un courant de L3 circule dans des sens opposés à
travers les bobines p1 p2 et est donc inefficace sur les récepteurs
R. En combinant plusieurs émetteurs ordinaires T et plusieurs des
agencements récepteurs marqués Y sur la figure 2 avec un
certain nombre de lignes doubles comme montré sur la figure 3,
un certain nombre de messages peuvent être envoyés sur ces
lignes sans interférer les uns avec les autres.En combinant plusieurs
émetteurs ordinaires T et plusieurs des agencements de récepteur
marqués Y sur la figure 2 avec un certain nombre de lignes doubles
comme montré sur la figure 3, un certain nombre de messages peuvent
être envoyés sur ces lignes sans interférer les uns
avec les autres.En combinant plusieurs émetteurs ordinaires T et
plusieurs des agencements de récepteur marqués Y sur la
figure 2 avec un certain nombre de lignes doubles comme montré
sur la figure 3, un certain nombre de messages peuvent être envoyés
sur ces lignes sans interférer les uns avec les autres.
Ainsi en référence à la figure
3 l'émetteur 1 fonctionne sur la paire de lignes L 1 de manière
usuelle, l'une de ces lignes servant de retour métallique. De la
même manière l'émetteur 2 fonctionne sur la paire
L 2, l'émetteur 4 sur la paire L 4 et l'émetteur 5 sur la
paire L 5. Là encore, l'émetteur 3 fonctionne à travers
la paire de lignes L 3 et les deux paires L 1 et L 2, l'une de ces paires
servant de retour métallique.
De la même manière, l'émetteur
ti fonctionne à travers la paire de lignes JLA b et à travers
les deux paires L 4 L 5. Enfin l'émetteur 7 fonctionne à
travers les paires de lignes L 7 et à travers les deux paires L
3 et L 6 et les quatre paires L 1 L 2 L 4 et L 5, deux de ces paires telles
que L 4 et L 5 servant de retour métallique.
Il est évident que ce système peut
être dupliqué et redoublé de sorte que) un émetteur
peut être amené à fonctionner sur 8 paires ou 16 paires
de lignes ou autre multiple de 4.
Comme le montre la figure 4, un téléphone
et un télégraphe sont connectés à une ligne
L ayant retour de la terre. Dans ce cas, X et Z sont les agencements téléphoniques
ainsi repérés sur la figure 1, K est la clé, C la
batterie et D le récepteur pour la télégraphie.
Dans la connexion de p à la terre, il existe une
résistance réglable F pour équilibrer celle de la
ligne. Comme montré sur la figure 5, deux ensembles des connexions
télégraphiques illustrées sur la figure 4 et deux
lignes Ll L2 qui peuvent être à la fois à un endroit
ou chacune à un endroit différent avec retour de terre sont
combinés avec un seul agencement téléphonique.
L'émetteur T par son primaire P induit des
courants dans les secondaires sl S2 à la fois dans le même
sens et donc dans des sens opposés dans les lignes L1 L2. Les courants
étant de même sens en pI et pS agissent sur les secondaires
i1 des récepteurs It.
Les courants du télégraphe K1 se divisant
en 1 1 passent en sens opposés par sl et I> I et n'affectent
donc pas les récepteurs téléphoniques. Et de même
les courants du télégraphe K2 sont inefficaces sur les récepteurs.
Les connexions de p1 et p2 à la terre peuvent
avoir des résistances appropriées comme montré en
F sur la figure 4.
Par souci de clarté, les bobines primaire
et secondaire ont été représentées sous la
forme de nombreuses lignes côte à côte.
Il doit être entendu cependant qu'ils sont
enroulés dans chaque cas sur une seule bobine.
Sur les figures 3, 4 et 5, les agencements sont
représentés à une seule extrémité des
lignes conductrices.
Il doit être entendu cependant qu'ils sont
répétés symétriquement à l'autre extrémité
comme le montrent les figures 1 et 2.,
sommaire
FR382386 Perfectionnements aux bobines d'induction
5 février 1908
La présente invention concerne une bobine d'induction
améliorée afin d'obtenir des courants d'induction dans des
périodes très courtes. Ces courants, dont les durées
sont extrêmement courtes 5, bénéficient de propriétés
particulières qui trouvent application principalement dans la télégraphie
et la téléphonie sans fil.
Cette bobine d'induction se caractérise
par l'absence du noyau magnétique et du mode d'enroulement
de l'inducteur et de l'armature sur une bobine de courte longueur,
mais d'un très grand diamètre, la bobine d'inductance
étant pratiquement noyée au 1er mai le bobinage d'induit.
Le schéma de dessin annexé représente par exemple
une bobine d'induction selon la présente invention.
figure. 1 est une coupe selon la ligne A-B de
la Fig. 2;
figure. 2 est un plan.
Comme le montrent ces dessins, cette bobine a un très
grand diamètre pouvant aller jusqu'à plusieurs mètres;
26 dessine le rond, mais il pourrait également être carré
ou affecter toute autre forme polygonale. Cette bobine est très
longue car tous les fils d'enroulement sont logés à
sa périphérie dans une rainure b appropriée;
on comprendra par 3o que l'on commence à enrouler sur le rebord
de ce genre de poulie une première couche de fil induit E puis
recouverte d'un isolant approprié et d on enroule sur cette
couche isolante le fil inducteur E qui est recouvert d'une autre 35
couche isolée; on réuuïi uêUi les couches
isolantes d et f, de manière à isoler les inductances
e et termine la bobine par un enroulement externe en fil d'armature
g. ko
On réalise de cette manière un
anneau de gros diamètre composé de fils induits c, g,
contenant un noyau central d'un fils d'inductances adéquatement
isolés.
La machine comporte quatre bornes 5 h dont deux
sont utilisées pour fixer les extrémités de l'enroulement
d'induit et les deux autres extrémités de l'enroulement
d'inducteur.
On peut disposer plusieurs fils induits et fils
plus inducteurs; dans ce cas, chaque borne 5o h sera remplacée
par un interrupteur multiple qui réunira les différentes
armatures allumées, et les différentes inductances allumées,
en tension ou au contraire en quantité, suivant les effets
que l'on souhaite obtenir. |
 |
sommaire
FR377785 Dispositif de transmission téléphonique
14 septembre 1907
Système de transmission téléphonique
de montage de chaque émetteur de station et / ou de récepteurs
en série et pour amener les deux stations par trois fils de ligne,
y compris 5o premier deux respectivement ensemble les pôles des
deux stations et le troisième est monté dérivation
en un point de chaque station prise entre les émetteurs et le ou
les récepteurs, un voire deux de ces trois fils peuvent être
remplacés par des atterrissages équivalents.
La présente invention propose un moyen d'augmenter la distance
à laquelle il est possible d'appeler ou d'augmenter l'intensité
du son émis à une distance 5 donnée.
 |
Lors de l'installation d'une ligne téléphonique
ordinaire, il est d'usage d'amener les deux postes à l'aide
de deux fils, un pour le second tour pour le retour; en-10 il n'y
a pas d'induction de peur des lignes voisines, une reliant les deux
stations par un fil seul et retour par le sol à chaque station.
figure. 1 du dessin annexé montre la disposition
la plus simple 15 d'une ligne régulière à deux
fils; il y en a un à chaque poste de téléphone
magnétique, a1 rencontré par les deux fils des lignes
c et d; lorsque vous parlez au téléphone, le téléphone
est un récepteur 30 a1 et vice versa; cette disposition est
tout à fait satisfaisante du point de vue de la transmission
proprement dite, mais elle présente l'inconvénient
évident que les deux parties ne peuvent pas interrompre l'interférence,
chacune écoutant nécessairement pendant que l'autre
parle.
Pour pallier cet inconvénient, il a tout
de suite proposé d'avoir à chaque poste émetteur
un téléphone ou a 1 et un récepteur ou téléphone
b bl, permettant 3 aux deux interlocuteurs de parler tout en écoutant.
Cette solution souffre d'un inconvénient du point de vue
de la transmission; en fait, comme le montre la Fig.2, les quatre
téléphones a, b, a}, bx 3 sont montés en série
sur la ligne cd, de sorte que le son émis par un émetteur
a ou a1 voyage nécessairement en plus intéressant
b1 ou b récepteur les deux autres téléphones
du circuit. Le circuit téléphonique h présente
donc inutilement une résistance élevée qui
réagit de manière désavantageuse soit sur la
longueur possible de la ligne cd, soit sur l'intensité du
son transmis à une longueur de ligne donnée.
La présente invention a pour objet un dispositif
easy positif h permettant de remédier aux inconvénients
tant des deux systèmes de transmission selon les figures
1 et 2 que de réaliser un nouveau système de transmission
téléphonique offrant à la fois les avantages
des 5 deux systèmes connus.
Comme le montre la figure 3, cette invention consiste
simplement à disposer entre les deux stations un troisième
fil de ligne e se terminant à chaque station entre l'émetteur
téléphonique 5 tor a ou a1 et le téléphone
récepteur b ou bl. Dans ces conditions le mur envoyé
par "sera entièrement reçu par b1 sans franchir
inutilement b et a1 la résistance et inversement la parole
transmise par a1 sera entièrement reçue par b."
|
La nécessité d'une ligne à trois
fils c, d, e 5 est requise lorsque la ligne est autour d'autres transmissions;
mais lorsqu'il est isolé, il peut simplifier la transmission comme
le montre la Fig. k ou 5.
Selon la Fig. 6, la ligne filaire dérivée
o-tion e est supprimée et remplacée par une masse f et f1
prise à chaque station entre l'émetteur et le récepteur.
Dans des cas particuliers, il est même possible
de réduire la ligne à un seul fil e en '5 avec chaque station
deux atterrissages g, h et # 1, h1), le récepteur et l'émetteur
étant chacun disposés station en série entre les
deux atterrissages; dans ces conditions, les deux conducteurs c et d sont
formés par o la masse et il n'y a plus un seul fil de ligne e.
Dans ce qui précède, pour simplifier
la description et les dessins, nous avons supposé l'utilisation
exclusive de téléphones magnétiques; 5 La Fig. 6
montre le schéma de circuit dans le cas des téléphones
à induction. Dans ce cas chaque position i comprend une batterie,
un microphone émetteur et primaire k d'une bobine d'induction,
montés en série o sur un circuit fermé; le circuit
de ligne c, d comprend des écouteurs en série b, b et b1,
b1 et côté et ll de la bobine. Dans ce
Si l'invention consiste à attacher le fil
de ligne e dérivé entre les deux récepteurs b, b
ou i1, A1 d'une part et le secondaire ou ll 35 d'autre part, comme le
montre la fig. 6.
Le résultat de ces dispositions se résume
à la possibilité de quadrupler l'intensité de la
réception pour une longueur de ligne donnée, ou la longueur
de la ligne Zio en conservant la même intensité.
Nouveau mode de transmission sans fils des courants
télégraphiques et téléphoniques en employant
comme conducteurs la terre et l'eau
FR320267 5 décembre 1902
Pour comprendre notre invention, il est bon de se rappeler
que dans une ligne télégraphique ordinaire un fil, plus
ou moins isolé, d'un point à un autre, communique avec la
terre à chaque extrémité. Une source d'alimentation;
et une unité émettrice est prise en sandwich entre la ligne
de départ et la terre. À l'arrivée, un récepteur
communique également avec la ligne et la terre.
On sait que chacun des poteaux supportant la ligne laisse
passer une petite quantité de puissance qui se perd dans le sol.
Une grande quantité de courant est maintenant perdue plus 1 grand
5que la distance entre les stations est elle-même plus grande et,
par conséquent, le nombre de pôles est plus élevé.
La perte peut devenir considérable, sans empêcher les transmissions.
Il peut même arriver que le fil ao sans être rompu, traîne
sur terre là pendant une certaine longueur de fils'parcours et
continue à permettre le courant d'un passage à un autre,
quoique très faiblement, l'expérience
nous a prouvé que le conducteur non isolé pourrait même,
pour certaines distances, être simplement placé au sol et
que les transmissions seraient néanmoins possibles.
on est capable de continuer, transmettre des signaux
est grandement augmenté si, à chaque extrémité,
le fil non isolé touchant le sol, se rencontre dans un fil bien
isolé qui prolonge la ligne jusqu'à une masse jusqu'au point
où sont donc émetteurs et récepteurs.
On comprend que le sol à l'extrémité
d'une partie isolée oblige le courant de retour à s'enfoncer
dans les profondeurs de la terre ho et que, par conséquent, il
y a un point de fermeture infiniment petit où le fil non isolé
touche le sol. En d'autres termes, la perte subie au contact du sol, le
fil non isolé, est encore inférieure à chaque extrémité
du fil non isolé, donc un fil isolé du sol à une
plus grande distance.
Par conséquent, si le fil de plomb, au lieu
du fer, est constitué d'un matériau beaucoup moins conducteur,
le charbon, par exemple, tout serait de la même manière.
Nous avons également reconnu que même lorsque le fer, le
charbon ou tout autre matériau similaire, sont remplacés
par de l'eau placée, du sel si possible, et, par conséquent,
par une étendue de mer ou toute autre partie de mer dont la disposition
géographique se prête à ce genre d'installation.
Lorsqu'il s'agit de franchir un bras de mer, le
prolongement de ligne isolé est placé de préférence
dans le sens de la ligne droite passant par les deux points à relier.
Dans le cas d'une transmission sur un rôle,
les ligues isolées seront perpendiculaires à la ligne droite
joignant les deux stations.
Les lignes isolées ne seront pas trop longues
et, par conséquent, fourniront non seulement d'un océan
à l'autre, mais entre deux points à l'intérieur des
terres. L'épaisseur de la couche d'eau salée étant
à des profondeurs encore plus grandes, seulement environ l'épaisseur
de la masse terrestre, les proportions restent entre l'eau et la terre
adéquate pour que l'eau joue exactement le même rôle
que le conducteur non isolé touchant le sol.
Pour rendre nos explications aussi claires
que possible, nous avons schématisé, dans le dessin
annexé, une installation dans laquelle notre invention est
appliquée.
A est la mer (Fig. I) et 13 b sont les deux rives, c et d les deux
stations, e et f isolées, et les plaques situées dans
l'eau, i et il met à jour la terre.
On voit que la mer est une extension isolée des fils e et f,
et qu'elle joue le rôle d'un conducteur non isolé reposant
sur le plancher.
Pour clarifier comment 3 o opère la propagation
des courants électriques, nous supposons une ligne isolée
(Fig. A) à moins de deux m et n mis à la terre. Si le
courant se déplace dans la direction du llèche, l'électricité
arrivant à terre dans n sphères fleuries 3.) concentriques
o, p, q, etc., tous les points de chaque sphère recevant simultanément
la même quantité d'électricité si le milieu
de propagation est uniforme. Être à la terre en r donc
recevoir le courant le long de la terre m, r et si cette terre est
reliée par une ligne par t, s la terre à une autre,
même très proche d'elle, le courant trouvant moins de
résistance dans la ligne isolée au milieu ( Jun sépare
les deux réseaux terrestres, suivra cette ligne, comme indiqué
en llèche a. Il sera ainsi possible d'établir une communication
sans fil entre tout point de la ligne / sur lequel se trouvent des
appareils émetteurs, et tout point sur la ligne T qui sera
récepteurs appareds .
Pour établir simultanément sur
chacune des ligues et t, un émetteur de position et un récepteur
nécessiteront que la ligne soit de la même longueur que
la ligne 1, JJ comme indiqué sur la figure 3.
Si le support s'avère être deux
fois plus conducteur entre h et r entre m et n d'une part, et entre
r et s d'autre part, les lignes l et t peuvent avoir la moitié
de la longueur de la distance entre les points n et r (fig.û).
Bien sûr, les transmissions basées
sur le principe que nous avons indiqué, peuvent être
faites en prenant comme con bo différents producteurs, non
seulement la terre et l'eau de mer, mais la terre et l'air, la terre
dans ce cas, agissant comme un meilleur conducteur apporté
par l'air; le fil isolé de la terre conduit à l'air
à chaque poste 7. tion à une distance plus ou moins
éloignée en fonction de la distance que cela prendrait.
Il est évident que cette dernière disposition, la mer
et l'eau douce remplacent avantageusement la terre. 7 ° |
 |
En résumé, nous revendiquons comme propriété
exclusive, le nouveau procédé, décrit ci-dessus,
la transmission sans courants télégraphiques et téléphoniques,
ledit mode de transmission consistant à faire passer dans un milieu
conducteur le courant émis par la station de base et à recevoir
à l'arrivée dans ce courant un fil isolé de longueur
appropriée, qui sont pris en sandwich les récepteurs et
aboutissant à un deuxième milieu dont la conductivité
spécifique est inférieure à celle du premier milieu,
mais passe la quantité totale d'électricité en raison
de sa masse qui est supérieure à ce premier milieu, un isolé
fil, sur lequel les dispositifs de transmission conduisent également
dans le second support, de sorte que le premier support est une extension
de deux lignes isolées, et le second support fait office de fil
de retour,les deux lignes isolées à utiliser à la
fois pour l'expédition et pour la réception.
sommaire
Un nouveau mode de transmission et de réception des courants
télégraphiques et téléphoniques sans autre
conducteur que la terre ou l'eau
FR318007 3 octobre 1902
Dans un circuit électrique composé d'une
source d'alimentation et d'un conducteur métallique dont les extrémités
sont mises à la terre, ce qui ferme le circuit, la terre agit comme
5 conducteur non seulement une ligne droite entre les deux paliers, mais
sur une étendue presque infinie ; Cependant, avec une densité
de puissance décroissant proportionnellement à la distance.
Si des parties du sol sont de meilleurs conducteurs
que d'autres (à cause de l'humidité, de la salinité
de l'eau ou de toute autre cause), le courant passe de préférence
à travers ces parties en décrivant des courbes ou des virages
comme le fait une rivière qui suit les pentes du terrain.
Il s'ensuit que si, sur une partie du terrain servant
de conducteur de retour, elle crée artificiellement une meilleure
ligne conductrice que la terre, elle sera traversée par le courant
de préférence à toute autre partie inférieure
conductrice.
L'effet est beaucoup plus complet et permet de capter
le courant et de constater son existence lorsque la meilleure ligne conductrice
est isolée de la terre et communique avec elle par ses extrémités.
Le courant qui aurait traversé le terrain en trouvant un sage pas
plus facile par le fil suit de préférence et restaure beaucoup
plus rapidement la neutralité électrique du sol. Il est
isolé en coupant la ligne en tout point qui peut être inséré
au cours des instruments courants (récepteurs télégraphiques
ou téléphoniques) qui peuvent détecter son existence.
On comprend que si la ligne artificielle isolée
est un très bon conducteur, si ses extrémités sont
reliées à des surfaces métalliques suffisamment grandes
en contact avec le sol, la fermeture du circuit amènera la masse
à être dans un état de neutralité électrique
absolue.
Dans ces conditions, si un courant électrique
est envoyé par intermittence dans la ligne métallique, chargez
la terre, pour chaque émission, une certaine quantité d'électricité
se décharge instantanément dans la ligne artificielle isolée.
L'expérience a montré que ces phénomènes
peuvent se produire même lorsqu'il n'y a presque pas d'écart
entre la station émettrice des deux atterrissages ou entre deux
plaques qui collectent la diatribe de couleur traversant la ligne isolent
la station de réception, à la condition qu'à chaque
station les plaques qui mènent à les deux plages sont soigneusement
isolées l'une de l'autre au moyen d'une séparation isolante
suffisamment épaisse pour qu'aucun effet d'induction ou de condensation
l'une sur l'autre ne puisse se produire, et assez grande par rapport aux
dimensions des plaques pour éviter que le courant ne se referme
sur lui-même trop près du commencer. Le courant est tellement
obligé de s'épanouir «à droite et à
gauche des atterrissages, et le point où les ondes électriques
positives et négatives commencent à atteindre est considérablement
lié.Je peux encore augmenter l'effet recherché en minimisant
la fermeture actuelle sur elle-même grâce à un certain
nombre de parois isolantes disposées sous les plaques pour éviterferme-i
o ture du circuit par la profondeur de la terre, du côté
opposé à celui où la transmission doit être
reçue et, si nécessaire, au-dessus des plaques.
En général, les plaques seront placées
verticalement de part et d'autre d'une paroi isolante, leurs plus petites
dimensions étant tournées dans la position opposée.
Je peux aussi utiliser un large tube isolant divisé
en deux par une paroi épaisse normale aux générateurs
isolés. Les plaques seront placées dos à dos de part
et d'autre de cette cloison à l'intérieur du tube et mises
en communication avec le conducteur extérieur par l'intermédiaire
de fils isolés .
Le tube peut être rectiligne, ou être
constitué de deux parties formant entre elles un angle correctement
calculé pour que le circuit fermé par la terre se fasse
presque entièrement dans le 3 o où le courant est envoyé.
Il est évident que l'installation est complétée
par des émetteurs et des récepteurs télégraphiques
ou téléphoniques qui peuvent être quelconques, comme
source d'électricité.
Je revendique comme ma nouvelle propriété
exclusive ci-dessus décrite la transmission et la réception
des courants télégraphiques et téléphoniques
sans autre conducteur que la terre ou l'eau, ledit système de séparation
des deux paliers à chaque position par un matériau isolant
établi pour éviter la production de phénomènes
d'induction de condensation et du circuit se fermant sur ou par la profondeur
de la terre, et forcer l'air à s'épanouir à droite
et à gauche, de sorte qu'ils puissent commencer à se rapprocher
et à s'éloigner de la station émettrice, les deux
mis à la terre de chaque position peuvent ainsi sans inconvénients,
se déplacer vers un une autre jusqu'à ce qu'ils s'adaptent
de chaque côté du même mur isolant.
sommaire
|