1938, Ericsson
lance un commutateur appelé commutateur XY, d'une capacité de 100 lignes, utilisé dans les centraux privés et les petites stations publiques.

La première station américaine utilisant le commutateur XY a été mise en service en 1947.
 
Peu après la guerre, en 1946

Ericsson signa un accord de licence avec la société de télécommunications américaine Stromberg-Carlsson, qui utilisait le commutateur XY pour les stations téléphoniques rurales.


Ces opérations étaient cependant trop modestes pour permettre à Ericsson de se lancer sur le marché américain.



Ericsson a également envisagé d'acheter une partie de Stromberg-Carlsson, mais ces projets ont été abandonnés après négociations.
Ericsson concepteur de Pabx en était un des plus grands fournisseur.


sommaire

Bien avant la solution proposée par Ericsson de 1938, en 1896 Freudenberg avait inventé un un commutateur fantaisiste, brevet américain numéro 556 007, mars 1896, dont les caractéristiques générales sont illustrées dans la figure ci-dessous (extrait du brevet) .
Il utilisait certains des principes d'un système ferroviaire. Le commutateur était contrôlé par l'abonné mais n'utilisait pas de cadran (pas encore inventé). Il s'agissait d'un commutateur à points croisés XY rudimentaire avec une ressemblance grossière avec un commutateur à barres croisées mais avec des barres fixes.


1938 Ericsson automatique système
Telefonaktiebolaget L.M. Ericsson a développé un nouveau système téléphonique automatique, appelé système XY, ce nom étant dérivé du nouveau sélecteur XY pas à pas de 100 lignes utilisé dans ce système ; En ce qui concerne le sélecteur et la conception multiple, cependant, il est basé sur les mêmes principes qui ont fait du célèbre sélecteur 500 lignes d'Ericsson l'un des plus fiables et des mieux adaptés qui existent actuellement.
Diverses commandes de standards ruraux et PABX selon le système XY sont actuellement en cours de fabrication et ces standards seront mis en service avant la fin de l'année en cours.
Il y a maintenant quinze ans que le système téléphonique automatique Ericsson avec sélecteurs de 500 lignes a été introduit et depuis lors, il a largement démontré qu'il possédait d'excellentes qualités de service combinées à un faible coût d'entretien. Les centraux selon ce système sont désormais en service pour un total de plus d'un million de lignes d'abonnés. Le sélecteur Ericsson 500 lignes est un sélecteur motorisé doté d'un champ multiple de fils nus disposés sous forme de cadres. Ces cadres multiples sont montés rigidement dans les racks de sélecteurs, tandis que les sélecteurs, quant à eux, peuvent être glissés les uns sur les autres dans le rack où ils sont connectés au moyen de fiches et de vérins.
Seul le nombre de sélecteurs correspondant au trafic existant doit être monté et le nombre de sélecteurs peut être facilement ajusté pour suivre les fluctuations du trafic. Une simple manipulation suffit à leur dépose pour inspection, celle-ci étant grandement facilitée par le fait que le sélecteur est construit sur une plaque de base plane où toutes les pièces sont facilement accessibles pour examen et nettoyage. Le multiple à fils nus s'est non seulement révélé être la construction multiple la plus économique et, en raison de l'absence de points de soudure, la plus efficace, mais il a également été démontré que les contacts établis entre les racleurs mobiles des sélecteurs et les fils multiples sont extrêmement bons et qu'il n'y a pas de perturbations de contact.

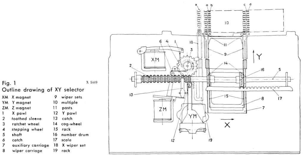
Le nouveau sélecteur désormais conçu par Ericsson repose sur les mêmes principes de construction que le sélecteur 500 lignes. Sa capacité est cependant plus petite, soit 100 lignes ; en outre, il est gradué en décimales et piloté étape par étape. La raison pour laquelle il est appelé sélecteur XY est que les essuie-glaces — lors du réglage du sélecteur sur une certaine position — se déplacent dans deux directions rectilignes distinctes à angle droit l'une par rapport à l'autre, c'est-à-dire le long des coordonnées x et y d'un système de coordonnées à angle droit.
Il est destiné à être utilisé dans des standards et des centraux de plus petite taille où le sélecteur de 500 lignes — en raison de sa plus grande capacité ou du fait qu'il est contrôlé par un registre — n'est pas le plus approprié. Le sélecteur XY n'est cependant pas la seule caractéristique du système XY, ces tableaux étant également par ailleurs conçus selon des principes absolument modernes et, dans une certaine mesure, entièrement nouveaux. Ils sont alimentés par un courant de travail de 24 V.

Le Sélecteur XY

Dans le système XY, le même type de sélecteurs sert de recherche de ligne, de sélecteur de groupe et de connecteur. Lors du réglage du sélecteur, les essuie-glaces effectuent deux mouvements séparés perpendiculaires l'un à l'autre, voir la figure 1. Ils avancent d'abord le long de la face du multiple, le mouvement X, puis entrent dans la section multiple sélectionnée, le Mouvement Y. Afin d'obtenir ces deux mouvements le sélecteur est équipé de deux cliquets, un pour le mouvement X et un pour le mouvement Y, ceux-ci étant actionnés au moyen d'aimants pas à pas, l'aimant X et l'aimant Y. Le retour en position d'origine des essuie-glaces s'effectue au moyen d'un ressort qui est libéré par un aimant de rappel spécial, l'aimant Z.
Le mécanisme du sélecteur, qui est assemblé sur une plaque de base plate rectangulaire I/O X 275 mm, correspond en principe à celui du sélecteur Strowger.
Ainsi, un manchon denté monté dans des roulements sur la plaque de base avance dans sa propre direction axiale, entraînant avec lui le chariot d'essuyage ; le manchon denté est alors entraîné en rotation au moyen de l'aimant Y, mais les racleurs - contrairement à ce qui est le cas dans le sélecteur Strowger - ne suivent pas le mouvement de rotation, mais sont plutôt avancés perpendiculairement à la direction axiale au moyen de d'un agencement à crémaillère et pignon et entrer dans le multiple de fils. Les cliquets des aimants X et Y sont actionnés par entraînement direct.


Le cliquet 1 de l'aimant A' n'actionne pas directement le manchon denté 2, ce mouvement étant transféré sur une roue à rochet J, qui est solidaire d'une roue pas à pas 4 dont les dents s'engagent dans des rainures circulaires du manchon denté. Pour chaque pas de rotation de la roue pas à pas, le manchon denté avance vers la droite d'une distance égale à l'espacement des rainures, soit 5 mm, mouvement dans lequel il glisse sur l'arbre 5. Un ressort en spirale autour de l'axe du pas à pas La roue tente de ramener la roue à sa position de départ, mais en est empêchée par le loquet 6. Au cours de son mouvement pas à pas vers la droite, la douille dentée pousse vers l'avant un chariot auxiliaire 7 qui glisse sur la plaque de base de la roue. sélecteur. Le chariot auxiliaire porte un chariot d'essuyage, à une extrémité duquel sont montés les essuyeurs p. Ainsi, ces racleurs suivent le mouvement pas à pas du manchon denté et se déplacent selon le multiple 10, c'est-à-dire. c., ils effectuent le mouvement X. Les essuie-glaces a, b et c. d sont respectivement regroupés par paires de chaque côté du chariot 8. Ces ensembles d'essuyage forment des ensembles facilement démontables. Chaque racleur est constitué d'un double ressort en argent allemand, complètement isolé sauf aux points de contact au moyen d'un matériau isolant moulé, ces points de contact — lorsque le jeu d'essuie-glaces est en position de repos — s'appuyant contre des piliers en ivoire / / , montés sur le chariot auxiliaire 7. Les essuie-glaces obtiennent du courant à travers un câble flexible entouré d'une spirale protectrice en métal.
Le mouvement du cliquet 12 sur l'aimant Y est transféré directement aux dents axiales du manchon denté ; pour chaque pas du cliquet, le manchon denté tourne par conséquent d'un pas. L'arbre tubulaire 5 suit ce mouvement de rotation, à l'intérieur de l'arbre est placé un ressort en spirale qui tente de ramener le manchon denté dans sa position de départ, mais en est empêché au moyen du loquet 13. Au-dessus du chariot d'essuie-glace 8, le manchon denté est muni de deux roues dentées 14 qui engagent deux crémaillères correspondantes 75 sur le chariot.
Lorsque le manchon denté et par conséquent également les roues dentées tournent, le chariot se déplace perpendiculairement à la direction axiale et les racleurs sont forcés dans le multiple de fil, ;'. c, ils effectuent le mouvement Y. L'engrenage est choisi de manière à ce que les racleurs avancent de 3 mm pour chaque pas de rotation, 3 mm étant la distance entre les fils dans une section multiple. Lorsque les essuie-glaces ab avancent de part et d'autre des fils dans une section ab, les essuie-glaces cd avancent de part et d'autre des fils dans une section cd correspondante.
La pression de contact pour chaque racleur est d'au moins 30 g par double ressort, c'est à dire. c'est-à-dire au moins 15 g par contact.

Le sélecteur est équipé d'un certain nombre de groupes de ressorts qui effectuent les opérations de commutation nécessaires et sont actionnés par le manchon denté dans ses positions initiale et finale pour le mouvement X ainsi que pour le mouvement Y.
L'action de ralliement du balai est assurée par l'aimant Z, dont l'armature libère les deux cliquets 13 et 6 ; le ressort dans l'arbre 5 ramène ensuite le manchon denté à la position de départ du mouvement Y, après quoi le ressort autour de l'axe de la roue pas à pas fait reculer cette roue, ramenant ainsi le manchon denté à la position de départ du mouvement X .
Le mouvement numérique des racleurs est obtenu au moyen d'impulsions sur les aimants pas à pas, le mouvement libre des détecteurs de lignes et des sélecteurs de groupe étant obtenu grâce à des contacts auto-coupants de construction spéciale disposés sur les aimants pas à pas. La vitesse de fonctionnement s'élève à 40 pas/s dans le mouvement X et à plus de 50 pas/s dans le mouvement 1'.
Le manchon denté est muni d'un tambour chiffré 16 pour indiquer la position dans laquelle sont réglés les essuie-glaces, ce tambour chiffré se déplaçant - lors du mouvement A' - le long d'une échelle // fixée sur la plaque de base. Pendant le mouvement Y, le tambour numérique tourne de sorte qu'un certain nombre soit en position juste au-dessus du numéro d'échelle indiqué. Ainsi la position des essuie-glaces est directement indiquée au moyen de ces deux chiffres.
Dans certains sélecteurs, comme les détecteurs de lignes par exemple, un test doit avoir lieu pendant le mouvement A' afin de savoir dans quel dixième groupe, c'est à dire. c, dans quelle section multiple se trouve un appel. De tels sélecteurs sont donc pourvus d'un jeu de racleurs X spécial 18 fixé à une crémaillère ig qui est en prise par un pignon sur l'axe de la roue pas à pas 4. Lorsque la roue pas à pas tourne pendant le mouvement A, le jeu de racleurs A est avancé. dans une section de fil de contact spéciale, appelée section A, un pas pour chaque étape que les essuie-glaces a, b, c et d parcourent devant les multiples sections.
Lorsque l'ensemble d'essuie-glaces A atteint un fil désigné par appel dans la section A, le courant vers l'aimant A est interrompu et les essuie-glaces s'arrêtent devant la section multiple dans laquelle se trouve l'appel.


Le multiple Fig. 3 est constitué de sections de fils nus de fil de bronze de 1 mm. Dans chaque section, il y a deux conducteurs pour chaque ligne, les fils a, b et c, d respectivement. Il est donc composé de deux couches de onze fils chacune, par exemple onze fils a dans une couche et onze fils b dans l'autre.
Les fils sont supportés et maintenus au moyen de bandes isolantes en bakclite, moulées directement sur les fils avec un espacement égal à celui des sélecteurs.
La onzième paire de fils de chaque section n'est pas utilisée pour une connexion de ligne mais uniquement à des fins d'indication. Les longueurs des sections sont adaptées à différents types de tableaux et peuvent varier de deux à cinquante espacements de sélecteurs. Certaines lignes d'une même section peuvent être divisées en coupant les fils, voir Fig. 6. Si des contacts individuels pour chaque sélecteur sont souhaités, la section est dotée de bandes isolantes supplémentaires entre les bandes standard, les fils sont coupés à chaque point d'appui.

Dix sections placées les unes à côté des autres forment le champ ab du multiple et dix autres sections à côté des premières forment le champ cd du multiple, voir Fig. 1. Ainsi, pour un sélecteur à quatre points, le multiple entier se compose de vingt de ces sections. Dans certains standards automatiques, il est souhaitable que les sélecteurs puissent établir des connexions vers certaines lignes de départ sans sélection numérique préalable d'une certaine direction de départ. Ceci peut être accompli avec un sélecteur XY en complétant le multiple avec une section ab et cd à la position de départ du mouvement X, voir Fig. 1. Le multiple de ces sélecteurs sera alors composé de vingt-deux sections. Les sélecteurs avec un jeu de racleurs X doivent également avoir la section X coopérante, de la même construction que les autres sections. Du fait que le multiple est réalisé avec les deux fils parlants d'une même ligne placés très près l'un de l'autre, des multiples à fils nus très longs peuvent être utilisés sans risque de diaphonie entre les différentes lignes au-delà des valeurs autorisées.

Montage des sélecteurs dans le rack
Les sélecteurs sont placés dans le rack les uns au-dessus des autres avec un espacement ne dépassant pas 40 mm. Afin que ce montage soit aussi simple et précis que possible, des cellules de rack spéciales en aluminium moulé sous pression ont été construites, chaque cellule étant conçue pour recevoir deux sélecteurs, l'un au-dessus de l'autre, voir Fig. 4.
Le nombre requis de cellules, d'une hauteur de 80 mm, est monté les unes au-dessus des autres sur le rack, formant ainsi une baie de sélection continue entourant les sélecteurs sur trois côtés, voir Fig. 5. Lorsqu'elle est mise en place, la plaque de base du le sélecteur coulisse sur des réglettes à l'intérieur de la cellule. Lorsque le sélecteur est complètement inséré, un ressort de chaque côté de la plaque du sélecteur s'enclenche sous les broches sur les côtés de la cellule et verrouille le sélecteur en position de travail. Lorsque les ressorts sont enfoncés comme le montre la figure 4, le sélecteur est libéré et peut facilement être retiré de la cellule. Les façades des cellules sont fermées au moyen de couvercles transparents moulés qui sont glissés et maintenus en position au moyen de ressorts situés à l'extérieur des cellules. Grâce aux couvercles, il est possible de noter les positions sur lesquelles sont réglés les sélecteurs ; les couvercles protègent également les sélecteurs de la poussière. Les cellules et les couvercles rendent l'ensemble de la baie de sélection pratiquement étanche à la poussière.
La plaque de base du sélecteur est dotée de trois pattes le long du bord arrière ; voir la figure 4, qui s'insèrent dans les ouvertures correspondantes à l'arrière de la cellule.
L'ergot du milieu détermine la position latérale du sélecteur, tandis que les deux ergots extérieurs reposent contre les supports situés à l'arrière de la cellule, voir Fig. 6, déterminant ainsi la position du sélecteur par rapport à l'arrière de la cellule. Les multiples sections sont montées directement contre cette face arrière, les bandes de bakélite des sections étant à une extrémité formées comme des crochets, voir la figure 3, qui s'insèrent dans des fentes sur la face arrière des cellules. Les sections sont maintenues pressées contre les cellules au moyen de barres métalliques sur lesquelles sont appliquées des bandes de caoutchouc, les barres étant fixées aux supports et les bandes de caoutchouc appuyant contre l'extrémité arrière des bandes de bakélite. Ainsi, une localisation exacte du sélecteur et du multiple l'un par rapport à l'autre est automatiquement obtenue.
Le câble de connexion est soudé à une extrémité de la section multiple. Lorsque la capacité totale des sélecteurs n'est pas requise, il n'est pas nécessaire de monter toutes les sections multiples, car de nouvelles sections peuvent être introduites selon les besoins ; ils sont fournis avec le câble de liaison déjà soudé.
Les sélecteurs sont munis de cordons à 20 conducteurs et de fiches, ces dernières étant branchées sur des prises fixées sur le rack, ou sur des prises disposées sur la bande métallique sur laquelle sont montés les relais de commande des sélecteurs.


Ensembles de relais
Les relais nécessaires au fonctionnement des sélecteurs sont disposés en ensembles, fig. 7, montés à côté des sélecteurs avec le même espacement vertical que ceux-ci, fig. 8.
Les sélecteurs sont montés à droite et les relais sont positionnés à gauche sur le rack. Les jeux de relais contiennent une ou deux rangées de relais standard Ericsson, de condensateurs, etc. À l'extrémité avant droite de chaque jeu est monté une prise pour effectuer la connexion nécessaire à la fiche du sélecteur et à l'arrière se trouvent une ou plusieurs fiches qui, lorsque l'ensemble est mis en place dans le rack, s'insère dans des vérins montés en permanence sur le rack. Les relais sont câblés sur la face arrière du poste où le câblage est protégé par un capot en tôle qui recouvre l'ensemble du câblage, ce capot étant maintenu en place au moyen de deux vis. Sur la face avant, les relais, etc. sont protégés par un couvercle amovible en tôle.
Ainsi, le jeu de relais forme une unité bien protégée et étanche à la poussière. Une bandelette de test comprenant deux prises de test, une clé découpée et une lampe témoin est montée à l'extrémité droite du jeu de relais et est accessible de l'extérieur par un trou dans le couvercle.

Supports
Les racks pour les tableaux XY sont d'une construction entièrement nouvelle. Ils ne sont pas constitués de formes standard en acier de construction, c'est-à-dire. c'est-à-dire des cornières ou des poutres en U, mais sont constituées de fine tôle emboutie soudée dans une construction très rigide et légère. La tôle est pressée en forme de canal avec les bords des ailes pliés comme suit P ; la hauteur de l'âme est de 120 mm et les ailes de 40 mm, l'épaisseur du matériau étant de 2,5 mm. Un tel support pèse environ la moitié seulement du type utilisé jusqu'à présent. Cette construction permet de monter et de câbler les rayonnages à l'état fini en usine et de les transporter dans cet état jusqu'au chantier de montage, c'est-à-dire. c, fourni avec tout le câblage permanent, multiple etc. Les sélecteurs et jeux de relais sont emballés
séparément. Lorsque le tableau est monté sur place, il suffit d'insérer les sélecteurs et les jeux de relais dans le rack et de les connecter au moyen des fiches et des jacks, et de connecter les lignes d'arrivée. Les racks ainsi que les jeux de relais reçoivent une couche attrayante et protectrice d'émail aluminium gris.

sommaire

1939 Les évolutions
Sur la base du nouveau système téléphonique automatique à sélecteurs de 100 lignes, système XY, décrit ci dessus en 1938, Telefonaktiebolaget L.M. Ericsson a conçu une série de centraux automatiques privés, avec des capacités de 60 à 180 postes et 7 à 30 lignes d'échange respectivement.

Les nouveaux centraux offrent toutes les facilités de trafic aujourd'hui exigées par un central privé moderne, tandis qu'un certain nombre d'avantages pratiques, des améliorations ont été introduites.
Dans leur conception et leur apparence, les nouveaux échanges Ericsson XY diffèrent considérablement des précédents.
Dans la série Ericsson de PABX automatiques, les plus grands, sont fabriqués sur le système téléphonique automatique Ericsson 500 . Compte tenu de la grande capacité des sélecteurs, ce système, piloté par une machine et actionné par un registre, est extrêmement bien adapté aux grandes installations, comme en témoignent les centaines d'installations de ce système actuellement en service.
Toutefois, pour les installations de petite ou moyenne taille, le nouveau système Ericsson XY est préférable. Celui-ci est piloté étape par étape et fonctionne avec des sélecteurs 100 lignes de conception assez nouvelle, bien que suivant pour l'essentiel les mêmes principes que ceux qui ont fait leurs preuves depuis tant d'années dans les sélecteurs 500 lignes.

Les PABX Ericsson, système XY, répondent à toutes les exigences qui peuvent être imposées aux PABX modernes. Une caractéristique distinctive, comme dans les centraux plus importants, est que les instruments d'extension sont des instruments téléphoniques tout à fait standards, sans touches supplémentaires ; les instruments sont connectés au central via des circuits bifilaires ordinaires sans mise à la terre, de sorte que le réseau de circuits est bon marché et fiable.
Les appels sortants vers le réseau téléphonique public s'obtiennent sur les lignes du central en composant le 0 sur le poste. Les appels entrants sont traités de manière semi-automatique par un opérateur qui s'occupe d'un ou plusieurs postes d'opérateur, ceux-ci étant de la même forme que les instruments téléphoniques Ericsson standard mais occupant un peu plus de place. Lorsque les postes de l'opérateur ne sont pas occupés, les lignes d'échange sont basculées vers un ou plusieurs postes qui gèrent alors le trafic entrant. Les appareils de connexion P. B. X. pour le trafic interne ne sont mis en service ni pour les appels externes sortants ni pour les appels externes entrants.
Au moyen d'un simple recâblage dans le P.B.X., les extensions peuvent être interdites aux appels sortants ou à la fois sortants et entrants. Pendant qu'un appel externe est en cours, il est possible qu'un poste, au moyen du cadran, fasse une demande à un autre poste ou à un abonné du central public.
Après consultation, le demandeur peut transférer l'appel vers un autre poste, à condition qu'il ne soit pas bloqué par un simple raccrochement de combiné. Certains postes, par exemple ceux destinés aux cadres supérieurs, peuvent être dotés d'une facilité de connexion même si un appel est en cours. De cette façon, ils ont la préférence sur les autres trafics. Les P. B. X peuvent être équipés d'équipements supplémentaires pour les appels automatiques à code, les conférences téléphoniques, etc.

Conception
Les P. B. X automatiques d'Ericsson, système XV, sont constitués d'un rack en tôle d'aluminium laqué et entièrement soudé, d'une construction entièrement nouvelle donnant une grande légèreté, dans lequel tous les appareils connectés en permanence sont montés et câblés en usine ; le rack renferme les appareils et les protège de la poussière et des influences extérieures. Les appareils de connexion, les sélecteurs et les jeux de relais, forment des groupes du modèle 'plug-in' ; ils sont donc faciles à insérer et à retirer du rack. Par conséquent, il n'est pas nécessaire au début de doter le central d'un nombre d'appareils plus grand que celui requis pour les besoins existants, mais il peut, à mesure que le nombre d'extensions et le trafic augmentent, être progressivement étendu jusqu'à sa pleine capacité. Cela signifie que les centraux peuvent être utilisés avantageusement dans des installations qui, lors de leur première mise en service, sont considérablement plus petites que ne l'indiquent les chiffres de capacité des centraux ; on évite ainsi un remplacement ultérieur coûteux des échanges lorsque l'élargissement est nécessaire.
Chaque rack, se compose à droite d'un panneau de sélection contenant le nombre requis de sélecteurs multiples, et d'un panneau de relais à gauche monté avec des jeux de relais des deux côtés.
Les sélecteurs sont des sélecteurs XY à quatre fils avec des multiples à fils nus. Ils peuvent être insérés et retirés des compartiments montés dans le panneau de sélection, ceux-ci formant une unité séparée. Les sélecteurs sont reliés par des fiches aux prises des jeux de relais correspondants, montés à gauche des sélecteurs, ou aux prises montées dans le rack entre les sélecteurs et les jeux de relais. Les sélecteurs sont pourvus de couvercles transparents à travers lesquels il est facile d'observer le réglage des sélecteurs, et qui protègent les sélecteurs de la poussière. Tous les sélecteurs d'un échange sont exactement de la même construction ; le relais.-set auquel un sélecteur est couplé détermine s'il doit agir comme chercheur de ligne, sélecteur final ou sélecteur de ligne d'échange.
Le multiple à fil nu, appartenant au sélecteur est monté à l'arrière du compartiment du sélecteur de telle manière qu'un bon centrage entre le sélecteur et le multiple soit obtenu. Le multiple se compose d'un certain nombre de cadres multiples, chacun comprenant des fils nus de 2X11" noyés dans des bandes isolantes en bakélite, ceux-ci servant de supports et de dispositifs de fixation pour les cadres. Les multiples cadres sont placés parallèlement les uns aux autres, garantissant que le multiple est très stable, prend peu de place et est facile à observer.
du multiple est recouvert d'une plaque, complétant ainsi la protection contre la poussière du sélecteur et du multiple.
(Echange = commuateur téléphonique)
Exchange AHD 22 et Exchange AHD 24
Les jeux de relais de commande des sélecteurs ainsi que les jeux de relais communs sont amovibles et sont connectés par fiche et jack au rack. Ils sont recouverts à l’arrière et à l’avant de capots pour protéger de la poussière. Ils sont réalisés en simple ou double rangée selon le nombre de relais requis. Les ensembles de relais de ligne comprennent chacun des relais de ligne et de coupure pour dix postes et sont câblés de manière fixe dans le rack. Ils sont équipés de borniers dont l'arrière est utilisé pour souder le relais et l'avant pour doter les extensions de diverses facilités de trafic, telles que priorité, restriction totale ou semi-restriction des appels publics, etc. les ensembles sont également protégés contre la poussière par des couvercles à l'avant et à l'arrière.
Les dispositifs de connexion sont installés dans le rack de manière à obtenir une grande accessibilité et uniformité des différents types. En haut devant, sont installés les jeux de relais pour les liaisons internes, et en dessous se trouve la liaison auxiliaire avec les détecteurs de ligne à droite. Grâce à cette liaison auxiliaire, il est possible d'obtenir un appel sortant au central même si toutes les liaisons internes sont occupées. Au-dessous de la liaison auxiliaire se trouvent les jeux de relais pour les lignes d'échange avec leurs sélecteurs à droite. Les ensembles relais de la liaison auxiliaire et des lignes d'échange sont en double rangées, chacun occupant ainsi verticalement l'espace de deux sélecteurs. Par conséquent, les sélecteurs de ligne d'échange ne sont insérés qu'un espace sur deux. Les espaces de sélection inoccupés sont utilisés pour les sélecteurs finaux des liaisons dont les fiches sont connectées à des prises fixes dans le rack entre les panneaux de relais et de sélection, tandis que les autres sélecteurs sont connectés à des prises sur les postes de relais correspondants.
A l'arrière du rack, les jeux de relais de ligne pour les extensions sont montés au-dessus, avec un panneau de fusibles en dessous. Ils sont connectés en permanence au rack. En dessous de ceux-ci, un certain nombre de jeux de relais amovibles comprenant l'équipement pour les appareils communs et l'instrument de commutation sont montés sur l'arc, et au bas du rack se trouve une unité détachable comprenant la sonnerie et ses accessoires.

Les différents modèles
La série Ericsson du système P. B XY se compose actuellement de cinq tailles, qui sont toutes uniformément construites et diffèrent les unes des autres simplement en ce qui concerne la hauteur et le nombre de casiers.
Lors du choix de la taille, il convient de tenir compte non seulement du nombre maximum d'extensions, mais également de la capacité de trafic du central en termes de liaisons et de lignes de central.
Exchange AHD 26

Exchange AHD 22, Fig. 1, est conçu pour un maximum de 60 extensions, 6 liaisons et 7 lignes d'échange. Les besoins en trafic dans des échanges de cette taille sont particulièrement variables. Dans certaines installations, le trafic interne est important, alors que seules quelques lignes d'échange sont nécessaires. Dans ce cas, un nombre relativement grand de jeux de relais de ligne avec les détecteurs de ligne et les sélecteurs finaux requis sont fournis, mais seulement quelques jeux de relais de ligne d'échange avec les sélecteurs nécessaires. Dans un autre cas, un petit nombre d'extensions mais 5 à 6 lignes d'échange peuvent être nécessaires. Dans ce cas, le central est équipé d'un petit nombre de relais de ligne et de liaisons. L'espace pour les ensembles relais non installés est comblé par des plaques de recouvrement.

Exchange AHD 24, Fig. 1, est conçu pour un maximum de 90 extensions, 10 liaisons et 10 lignes d'échange. Il est conçu pour les installations où l'on estime que pendant un certain temps les extensions ne dépasseront pas 90 et le nombre de lignes d'échange ne dépassera pas 10. Pour les installations à fort trafic d'échange public, ce PAOX trouve un emploi même avec un petit nombre d'extensions. , puisque le central AHD 22, compte tenu de sa faible capacité en matière de circuits d'échange publics, n'est pas suffisant pour un futur élargissement.

Exchange AHD 26, Fig. 2 et 3, est conçu pour un maximum de 90 extensions, 10 liaisons et 15 lignes d'échange. Il diffère du central AHD 24 uniquement en ce qu'il peut accueillir 15 équipements de circuits publics au lieu de 10. Par conséquent, il est utilisé pour les installations avec un trafic d'échange public extrêmement important. Il peut être complété, si nécessaire, par des dispositifs pour 5 autres circuits publics pour le trafic sortant uniquement. Etant donné qu'un appareil de commutation ne comporte que des dispositifs pour 10 circuits publics, il faudrait alors utiliser deux appareils de commutation.


L'échange AHD 32, Fig. 4, est conçu pour un maximum de 180 extensions, 20 lignes filaires et 20 circuits d'échange publics. Il se compose de deux racks, dont un rack de 90 lignes A H D 26, qui est équipé uniquement de postes relais de ligne pour les 80 postes du premier groupe, mais avec les séries de numéros 20—99. L'autre rack contient les postes relais de ligne pour les 100 postes du deuxième groupe, avec les séries de numéros 100—199. Ainsi, dans un central P.B. de 180 lignes, les postes sont divisés en deux groupes, chacun connecté à un multiple de recherche de ligne. Les liens au nombre de 10 au maximum appartiennent à chaque groupe. Les sélecteurs finaux et les sélecteurs de lignes d'échange public appartenant aux liaisons ne peuvent accéder directement qu'aux 80 postes compris dans le premier groupe. Pour le trafic vers les extensions du deuxième groupe, un étage de sélection final supplémentaire est requis. Ces sélecteurs finaux, au nombre de 18 au maximum, avec leurs jeux de relais sont situés sous la liaison auxiliaire du deuxième groupe, tandis que 15 équipements de ligne d'échange sont installés dans le rack du premier groupe et 5 dans celui du deuxième groupe. Le rack du premier groupe est construit de telle sorte qu'il fonctionne comme une unité indépendante qui peut ensuite être étendue par le rack du deuxième groupe. Il est également possible sans grande modification de transformer un central P.B. AHD 26 de 90 lignes, lorsqu'il devient trop petit, en un central de 180 lignes. Dans ce cas, les postes 10 à 19 doivent être transférés vers le deuxième groupe.

Exchange AHD 34 est conçu pour un maximum de 180 extensions, 20 liaisons et 30 circuits d'échange. Il est construit de la même manière que l'échange AHD 32, mais le rack est 400 mm plus haut. Cela permet d'accueillir 20 équipements de ligne d'échange dans le rack du premier groupe et 10 dans celui du deuxième groupe. Ce type est conçu pour les installations ayant un trafic public extrêmement important.
Si le nombre de postes dans un central P.B. de 180 lignes doit être augmenté, un autre rack peut être ajouté, contenant un troisième groupe d'extensions. Les postes 20 à 29 doivent alors être transférés du premier au troisième groupe et le nombre total de postes sera ainsi de 270, avec la série de numéros JO à 299.

Ensemble de l'opérateur

Le traitement des appels entrants sur le central est semi-automatique et aucun standard spécial avec cordons et multiples n'est donc nécessaire. Le fonctionnement s'effectue au moyen du poste de commande, Fig. 6, qui, en plus du combiné et du cadran comprend des dispositifs de commande séparés pour les lignes d'échange d'E/S ainsi qu'un clavier et des touches et lampes communes.
Pour chaque ligne centrale, il y a un voyant d'appel, une touche de répondeur, un voyant lumineux et une touche d'appel série. Le clavier facilite et accélère le travail de l'opérateur.

Le cadran est utilisé lorsque l'opérateur est invité par un poste à appeler un abonné à un central automatique ; il constitue une réserve pour le clavier. Le poste de commande est relié par fiche et jack à une applique murale qui contient des interrupteurs individuels de nuit pour les lignes publiques.
Si le nombre de lignes d'échange dépasse 10, deux ou trois postes d'opérateur sont prévus, chacun ayant son propre opérateur pour les périodes de pointe. Lorsque le trafic est faible, tous les appels peuvent être concentrés sur un seul opérateur.

Distribution

Les relais de ligne du central sont dotés, sur le côté du couvercle, de vis-étriers pour la connexion des liaisons d'extension. Si l'on désire doter le central de distribution, comme cela arrive souvent, ces pinces sont utilisées comme côté échange dans une distribution, fig. 7, dont le côté ligne est formé de pinces sur un cadre spécial, monté à l'extérieur de le rack à côté des postes de relais de ligne. Le fil de liaison est tiré directement entre le côté échange et les pinces côté ligne. L'ensemble de la distribution est protégé par un capot étanche à la poussière.

Centrale électrique
Tous les PABX sont construits pour une tension de fonctionnement de 24 V. Ils peuvent être dotés d'une centrale électrique composée d'un accumulateur et d'un redresseur avec contrôle automatique de la charge, montés sur une plaque de base commune reposant sur des roulettes légères. L'installation est protégée par des couvercles étanches à la poussière et est si basse qu'elle peut être glissée sous les rayonnages des centraux AHD 2.2 et AHD 24, qui sont pour cette raison équipés de pieds hauts, voir Fig. I. Pour ces deux types, par conséquent, aucun espace spécial n’est requis pour la centrale électrique.

Installation
Une attention particulière a été apportée pour rendre l'installation sur place aussi simple et rapide que possible. Les centraux sont expédiés de l'usine prêts à l'emploi avec tous les équipements connectés en permanence, tels que les multisélecteurs, les relais de ligne, les prises, etc., ainsi que le câblage y afférent.
Les travaux d'installation se limitent donc au raccordement des circuits d'extension, de l'instrument de commutation et de la centrale électrique.

Distribution
Le raccordement des lignes d'extension et du central public, qui constituent l'essentiel de l'installation, est facilité par la particularité que les bornes de ces lignes, tant du côté du central que du côté de la ligne, se trouvent à l'extérieur du rack. De cette façon, le risque de perturbation accidentelle des appareils P. B. X. et du câblage fixe est minimisé.
Les dispositifs de connexion détachables sont expédiés soigneusement emballés dans des caisses séparées. Cela garantit que les perturbations de leur réglage pendant le transport sont réduites au minimum, de sorte qu'un travail de test fastidieux n'est pas nécessaire après que les dispositifs de connexion ont été insérés à leur place dans le central.

Propriétés de travail
Les échanges sont construits de telle sorte qu'une variation de la tension de fonctionnement de 22 à 28 V est autorisée. La résistance de ligne des liaisons d'extension ne doit pas dépasser 1 000 ohm et la résistance de fuite à la terre ne doit pas être inférieure à 15 000 ohm. Si les caractéristiques des lignes sont plus favorables que ne l'indiquent ces valeurs limites, les centraux fonctionneront avec une fiabilité satisfaisante avec des variations de tension plus importantes que celles indiquées ci-dessus. La résistance de ligne et la résistance de terre admissibles pour les circuits publics sont en règle générale déterminées par les propriétés de la bourse principale et ne peuvent donc généralement pas être donnés.
La consommation de courant s'élève à environ 0,25 A pour un appel interne et env. 0,45 A pour un appel public. L'atténuation de fonctionnement des commutateurs à 800 c/s ne dépasse pas 0,06 néper et leur atténuation de diaphonie n'est pas inférieure à 10 néper.

Propriétés du trafic
Le schéma de principe, figure 8, montre le principe de la constitution schématique des centraux avec au maximum 90 extensions. Il est similaire pour les échanges comportant 180 extensions et ne diffère que dans la mesure où un deuxième étage de sélection finale est introduit pour le trafic vers les extensions du deuxième groupe.

Trafic interne
Lors de l'appel, l'extension obtient une connexion avec un lien interne désengagé via son chercheur de ligne. Le poste entend la tonalité de réponse et compose le numéro requis, après quoi le sélecteur final est réglé sur le poste requis. Si cette option est désactivée, un signal d'appel périodique est envoyé et l'appelant entend une sonnerie. Lorsqu'un abonné appelé répond à l'appel, la sonnerie est coupée et la connexion est établie.
Les deux extensions ont une alimentation actuelle distincte. Lorsqu'un des postes raccroche son combiné, la liaison utilisée est immédiatement déconnectée, sur laquelle le poste se désengage et peut effectuer un nouvel appel. L'autre poste reçoit une tonalité d'occupation de son équipement de ligne jusqu'à ce que le combiné soit raccroché.
La liaison est libérée et une tonalité d'occupation est émise lorsqu'un poste occupé est appelé ou si l'appelant n'effectue pas de numérotation dans un certain délai.
Certaines extensions, par exemple, les instruments du personnel supérieur peuvent être marqués d'une manière spéciale, par laquelle ils obtiennent la priorité. Lorsqu'un tel poste appelle un poste occupé, le lien n'est pas libéré, mais il est commuté de telle manière que le poste prioritaire est connecté à l'appel en cours. Une faible tonalité d'occupation est alors émise et audible par les haut-parleurs. Lorsque celui de ceux qui ne sont pas requis raccroche son combiné, le poste prioritaire est immédiatement mis en connexion normale avec le poste souhaité, ceci se traduisant par la cessation de la faible tonalité d'occupation. Si par contre la personne recherchée raccroche par erreur son combiné, elle est appelée, sans autre intervention du poste prioritaire, de la même manière que s'il s'agissait d'un appel normal.

Les liens des centraux sont construits par impulsion, ce qui permet le couplage des liens avec d'autres centraux, des automatismes pour les conférences téléphoniques, la recherche de personnel, etc. Les liens peuvent également être réalisés pour fournir un numéro d'appel commun à plusieurs postes. Un tel numéro de groupe peut être inclus dans chaque dizaine. Si un numéro de groupe est appelé, la recherche de groupe s'effectue sur tous les circuits ; si par contre un numéro individuel du groupe est appelé, une telle chasse n'a pas lieu.

Trafic externe

L'équipement d'échange public est aménagé pour le trafic dans les deux sens sur les lignes d'échange. En standard, ils sont prévus uniquement pour le raccordement aux centraux CB automatiques ou manuels, mais peuvent être complétés également pour le raccordement aux centraux LB, auquel cas ils peuvent être utilisés pour les trois systèmes. (CB = Batterie centrale, LB = Batterie locale).
Habituellement, ils ne nécessitent aucun autre signal que le signal d'appel du central principal et sont bloqués pendant un court intervalle après la fin d'une communication, de sorte que la déconnexion est sûre d'avoir eu lieu avant qu'un nouvel appel sortant puisse être effectué. Ils peuvent toutefois être construits pour fonctionner avec un signal de libération provenant du centre principal, auquel cas le poste n'est libéré qu'après que la déconnexion ait eu lieu au centre principal. Dans ce cas, le blocage ci-dessus n'est pas nécessaire à la fin d'un appel.
Un simple réagencement des connexions sur le bornier des relais de ligne permet de rendre les extensions ouvertes, ou interdites ou semi-interdites au trafic des échanges publics. Une extension interdite est coupée du trafic entrant et sortant, une extension semi-interdite pour le trafic sortant uniquement. Ces derniers peuvent toutefois obtenir un échange d'appel en le commandant auprès de l'opérateur.

Trafic sortant
Les appels sortants sont obtenus en composant o après avoir reçu la tonalité d'une liaison interne. Le poste appelant est ensuite marqué dans le multiple du sélecteur de ligne du central public sur le chercheur de ligne du lien, voir Fig. 9. Un sélecteur de ligne du central public désengagé recherche le poste, après quoi la liaison occupée est libérée et le poste est connecté directement au central public. ligne sur ce sélecteur. Le lien interne n’est donc occupé que pendant une durée assez courte. Si le central public est automatique, le numéro requis est alors composé de la manière habituelle après avoir entendu la tonalité du central ; si l'échange est manuel le numéro est demandé à l'opérateur. Si toutes les lignes du central public sont occupées, la liaison est libérée et le poste reçoit une tonalité d'occupation.
Pour éviter l'impossibilité d'obtenir un appel sortant lorsque toutes les liaisons internes sont occupées alors que des lignes d'échange public inoccupées sont disponibles, les centraux PABX sont équipés d'une liaison auxiliaire qui ne peut gérer que le trafic sortant.
Lorsque toutes les liaisons normales sont occupées, l'appel est connecté à cette liaison auxiliaire. Si le poste compose le numéro d'un poste, la liaison auxiliaire est libérée et le poste appelant reçoit une tonalité d'occupation ; cependant, si l'on compose o, le poste est connecté de la manière ordinaire à la ligne publique, après quoi la liaison auxiliaire est libérée. Dans les deux cas, il n’est donc occupé que pour une courte période.

Trafic entrant
A l'arrivée d'un appel, le voyant d'appel de la ligne publique s'allume sur le poste de l'opératrice et un signal se fait entendre. L'opératrice décroche son combiné, sur lequel le signal cesse, et elle appuie un instant sur la touche répondeur de la ligne téléphonique. Le voyant d'appel s'éteint mais le voyant de la ligne d'échange affiche une lumière clignotante pour indiquer que la ligne d'échange est en cours de commutation. L'opérateur entre en conversation avec l'abonné au réseau public. Le numéro du poste souhaité est frappé sur le clavier, après quoi le sélecteur de ligne du réseau public est réglé sur la ligne de poste souhaitée. Un voyant de connexion commun indique si l'extension est engagée ou désengagée.
Si l'extension est débrayée, ce voyant de connexion brille de manière fixe et l'extension sonne automatiquement. La sonnerie diffère de la sonnerie de trafic interne, en ce sens que chaque signal est composé de deux signaux courts rapprochés ; cela donne une sonnerie distinctive aux appels publics. L'opératrice informe l'abonné appelant que le poste a sonné et raccroche son combiné, sur lequel le voyant du central passe au fixe, indiquant que l'abonné appelant attend une réponse. Il s'éteint lorsque le poste répond à l'appel.
Si l'extension est engagée, le voyant de connexion commune clignote. L'opérateur informe l'abonné appelant que le poste est occupé et déconnecte l'appel. Si toutefois l'abonné appelant souhaite attendre que le poste soit libre, l'opérateur met l'appel en attente en raccrochant le combiné. Lorsque le poste est inoccupé, il est automatiquement appelé. S'il s'agit d'un appel public urgent, l'opérateur peut intervenir dans le déroulement de l'appel et proposer le nouvel appel au poste, en observant au préalable si l'appel en cours est interne ou externe. Immédiatement, l'opérateur rejoint une extension, ce qui est indiqué par un signal tic-tac. Tous les appels, y compris les appels publics, peuvent être interrompus. Lorsqu'une ligne publique est coupée, un nouvel appel est obtenu qui est traité par l'opérateur de la manière habituelle.
L'opératrice peut, pendant qu'une ligne du central public est en attente, s'y connecter en appuyant sur la touche répondeur et annoncer que le poste souhaité ne répond pas. Elle peut alors déconnecter l'appel, laisser l'abonné continuer à attendre ou le connecter à un autre poste.Une fois qu'un poste a répondu, l'opérateur est déconnecté de l'appel et le travail sur l'appel est terminé.
Aucun signal lumineux n'est allumé, mais en appuyant sur une touche spéciale, l'opératrice peut allumer les lampes témoins des lignes du central occupées par les appels.
Si un poste souhaite être connecté par l'opérateur à un abonné dans le central public, l'opérateur est d'abord appelé sur une ligne de poste se dirigeant vers l'instrument de commutation et l'appel souhaité est commandé. L'opérateur appuie un instant sur le répondeur d'une ligne gratuite, se connecte au central et compose le numéro souhaité, ou demande le numéro à l'opérateur du central public selon le cas. L'appel est transféré vers le poste comme pour les appels entrants.
Il n'est pas nécessaire que l'opératrice pose le combiné chaque fois qu'elle quitte une ligne publique, il lui suffit d'appuyer sur la touche répondeur d'une autre ligne téléphonique à traiter.
Enquête

L'enquête est lancée lorsque le poste prend le premier chiffre du cadran, généralement , après quoi la connexion entre la ligne du central public et le poste est interrompue, mais le signal de libération n'est pas envoyé au central, voir Fig. 10 ci contre.
Le poste est ensuite connecté à une liaison interne et le numéro souhaité est composé. À la fin de l'appel de demande, la connexion est rétablie avec l'abonné du réseau public en composant le I. Si la personne interrogée maintient le combiné décroché, le demandeur peut alterner entre la ligne du réseau public et le poste demandé en composant le i encore et encore. . L'enquête peut être effectuée auprès de tous les abonnés connectés au central P.B., même à ceux qui sont bloqués, et en plus des abonnés du central public sur une autre ligne, si vous le souhaitez. Les postes qui ont la préférence ou la priorité dans le trafic interne ont le même privilège d'enquête. appels
.
Transfert
Un appel public peut être automatiquement transféré vers un autre poste qui n'est pas totalement interdit. Dans ce cas, une enquête est d'abord effectuée ; lorsque le poste demandé répond, l'appel demandé est transféré simplement en raccrochant le combiné ; peu importe que le demandeur ait eu en dernier lieu des liens avec la personne interrogée ou avec l'abonné au marché public. Le sélecteur de ligne d'échange public se déplace de manière à ce que la ligne d'échange entre en connexion directe avec la ligne demandée, après quoi la ligne filaire occupée est déconnectée. Le transfert peut être répété plusieurs fois.

Rappel de l'Abonné
Si un poste en effectuant une demande ou un transfert manipule mal, raccroche le combiné avant que le poste demandé ne réponde, le demandeur n'est pas déconnecté de la ligne du central public mais est rappelé et, lorsqu'il répond, il sera en connexion directe avec le central public. abonné, qui ne peut donc pas rester en attente sans aucune connexion à un poste. Puisque c'est le poste fautif et non l'opérateur qui est réappelé, l'opérateur n'est pas gêné par un travail supplémentaire en raison d'une manipulation incorrecte de la part des postes. .
Référence à l'opérateur

Un poste qui est en conversation sur une ligne publique peut se référer à l'opératrice en prenant deux impulsions sur le cadran, généralement 2, après quoi le voyant d'appel de la ligne locale s'allume. L'opératrice répond à l'appel, se connecte au poste et reçoit les informations. Si nécessaire, le poste peut attendre la réponse de l'opérateur. Il n'est pas nécessaire que le poste attende la réponse de l'opératrice, mais le combiné peut être raccroché dès que la référence a été faite. L'extension est alors déconnectée du public ligne d'échange. Dans ce cas, l'appel est traité par l'opérateur comme s'il s'agissait d'un appel entrant normal.

Appels en série

Si un abonné au réseau public souhaite communiquer successivement avec plusieurs postes, il en informe l'opérateur qui appuie alors sur la touche d'appel en série de la ligne du central. Le résultat est que la ligne du central n'est pas libérée lorsqu'un appel est terminé, mais que l'opérateur est rappelé à nouveau et répond avec le répondeur.
Commutation de nuit
Pendant la partie de la journée où le poste de l'opérateur n'est pas surveillé, toutes les lignes publiques entrantes peuvent être commutées de nuit vers un ou plusieurs postes. La commutation de nuit s'effectue lorsque l'opératrice appuie sur un interrupteur de nuit de son poste lorsqu'elle le quitte. Si elle néglige de le faire, la commutation de nuit est automatique si l'appel ne reçoit pas de réponse dans un certain délai. Dans la boîte murale de l'instrument de commutation se trouvent 10 touches de commutation de nuit séparées, de sorte que n'importe quelle ligne publique puisse être commutée de nuit même pendant la journée pendant que les autres sont gérées par l'opérateur. Pendant la commutation de nuit, un appel entrant fait sonner le poste auquel le fil du central public est connecté, s'il est débrayé. L'appel est répondu de la manière habituelle, comme s'il était commuté par un opérateur. Par consultation et transfert, l'appel peut être transféré vers tout autre poste du P. B. X. qui n'est pas bloqué. Le poste de commutation est prioritaire lors du basculement d'un appel commuté de nuit, même s'il n'est pas prioritaire sur les appels ordinaires. Si le poste commuté de nuit est occupé lors d'un appel depuis le central public, les interlocuteurs entendent une faible sonnerie. Le poste commuté de nuit doit alors mettre fin à la conversation le plus rapidement possible afin de recevoir la sonnerie de la ligne publique.

sommaire

Alfred Stromberg
, inventeur, est né à Stockholm, en Suède, le 9 mars 1861. Il a passé sa jeunesse dans les environs de cette ville. En 1876, il a commencé à travailler dans le domaine de l'électricité et, en 1879-1880, il a été responsable d'une grande partie de l'installation du central téléphonique de Stockholm.
Plus tard, il a été responsable de la construction et de l'installation d'un grand nombre de centraux dans toute la péninsule scandinave et au Danemark.
En 1884, Stromberg arrive aux États-Unis et travaille avec Bell en Pennsylvanie et dans l'Illinois, où on lui attribue un certain nombre d'inventions.
En 1885, M. Stromberg, ayant quitté la Suède pour le Nouveau Monde, a rejoint la Bell Telephone Co., à Chicago. Il est resté au service des instruments et de la construction de cette entreprise jusqu'en 1890, période durant laquelle il a réalisé plusieurs inventions, dont certaines sont encore utilisées par la Bell Company. M. Stromberg prit ensuite en charge le fonctionnement pratique du système d'alarme antivol de la Chicago Electric Protective Co. À ce poste, il réalisa un certain nombre d'améliorations et d'inventions, et l'entreprise fonctionne désormais sous le nom de « système Stromberg ».
En 1886, M. Stromberg a épousé Mlle Ella Johnson, également originaire de Stockholm. Ils ont un fils et trois filles. La résidence familiale se trouve au 2305 Sheridan Road.
Lorsque les brevets fondamentaux sur la téléphonie expirèrent en 1894,
En 1894, Stromberg revient à la téléphonie et Western Telephone Construction Company (plus tard AT&T) à Chicago, l'un des premiers fabricants indépendants, où il rencontre Androv Carlson.
Androv Carlson avait un parcours similaire à celui de Stromberg mais avait sept ans de plus. Carlson est né le 9 mai 1854 à Tommared, paroisse de Karl Gustav (aujourd'hui paroisse de Kungsäter), Älvsborg Län, Suède et est décédé le 28 septembre 1925 à Chicago, comté de Cook, Illinois.
Ses parents, Carl et Anna Britta Johanson, étaient des agriculteurs et sont décédés sur le domaine. Le fils a émigré en 1880, débarquant à Philadelphie, puis à Chicago. Devenu agité, il a passé trois ans dans différentes régions du pays, avant de finalement retourner à Chicago, où il résida depuis. et a trouvé un emploi chez Deering Harvester Works, puis dans diverses entreprises d'électroménager, comme la Chicago Telephone Company.
M. Carlson a épousé en 1886 Christine Hillstrom, avec qui il a eu huit enfants, dont trois garçons et deux filles vivent encore. La famille réside dans une élégante maison au 2693 Sheridan Road.

Les Stromberg et les Carlson vivaient sur N. Sheridan Road, Chicago, Illinois. Il s’agissait d’un quartier à la mode au bord du lac, connu sous le nom de « Gold Coast ». Stromberg et Carlson sont devenus multimillionnaires.

En 1894, le brevet d'Alexander Graham Bell pour le téléphone expirait. Stromberg et Carlson, employés de Chicago de l' American Bell Telephone Company , ont chacun investi 500 $ pour créer une entreprise destinée à fabriquer des équipements, principalement des postes d'abonnés, destinés à être vendus à des compagnies de téléphone indépendantes .

Tous les deux pensaient pouvoir fabriquer un meilleur instrument et en 1895 ils ouvrent la Stromberg-Carlson Telephone Manufacturing Company. Alfred Stromberg fut le premier président de l'entreprise basée sur les inventions et les idées pratiques des partenaires.
Carlson était gérant la fabrication et Stromberg responsable du marketing. la Stromberg-Carlson Telephone Co. s'est rapidement bâti une réputation d'équipement fiable et de prix stables.

En 1901, le directeur général par intérim de la Kellogg Switchboard & Supply Company , Wallace De Wolf, a aidé les dirigeants du fabricant d'équipement téléphonique rival Western Electric dans une tentative de rachat de Stromberg-Carlson.
En juin 1901, l'entreprise acheta l'usine de sept étages située à l'angle des rues Jackson et Clinton. Ce bâtiment, ainsi que le bâtiment adjacent de quatre étages précédemment acquis, leur offraient des installations de qualité supérieure pour répondre à la demande croissante de leurs produits.
En 1903, l'entreprise fut fusionnée avec plusieurs grandes entreprises de l'Est, disposant désormais d'un capital de 20 000 000 $ et employant 2 500 personnes.

En 1901, l'entreprise comptait 1 200 hommes et son chiffre d'affaires mensuel s'élevait à 200 000 $.
En 1902 Leur renommée en tant que fabricant de qualité s'est rapidement répandue et, l'entreprise a déménagé à Rochester, New York. Stromberg était un inventeur et un dirigeant d'entreprise exceptionnel dans le domaine de la fabrication de téléphones.

Une âpre lutte entre les actionnaires s’ensuit et la tentative de rachat échoue. Stromberg-Carlson s'est réincorporée en tant que société de l'État de New York en 1902, où la loi de l'État protégeait mieux l'entreprise contre les tentatives de rachat.

En 1904, Stromberg-Carlson a été achetée par Home Telephone Company , un fournisseur de services relativement important basé à Rochester, New York . Les nouveaux propriétaires ont rapidement transféré toutes les opérations de Stromberg-Carlson à New York , principalement dans la région de Rochester. L'entreprise s'est diversifiée pour devenir un important fabricant d'électronique grand public, notamment des téléphones domestiques, des récepteurs radio et, après la Seconde Guerre mondiale, des téléviseurs. L'entreprise s'est également impliquée dans l'industrie de la radiodiffusion, en acquérant WHAM , la plus ancienne station de Rochester, et en la reconstruisant en une centrale de grande puissance ; l'une des trois premières stations de radiodiffusion FM aux États-Unis, et peut-être la plus ancienne encore en activité, maintenant connue sous le nom de WBZA, datant de 1939 ; et l'un des diffuseurs de télévision pionniers du nord de l'État de New York, maintenant connu sous le nom de WROC-TV

M. Stromberg a pris sa retraite de l'entreprise et fut président de la Goldberg Motor Car Devices Mfg. Co., située au 1253 Michigan Ave. Son ancien associé, Androv Carlson, toujours associé à ses côtés. Il mourut en 1913.
M. Carlson trésorier de la Goldberg Motor Car Devices Mfg. et pris sa retraite.

Années 1930 Le système XY Stromberg-Carlson, est un commutateur électromécanique "flat motion" assez similaire à la commutation Strowger .
Le « sélecteur XY » a été inventé sous licence LM Ericsson de Suède à la fin des années 1940 et repensé pour les applications de commutation américaines.
Années 1950 Le système XY est devenu très populaire auprès des compagnies de téléphone indépendantes financées par la REA (RURAL ELECTRIFICATION ADMINISTRATION) et a surclassé tous les autres fournisseurs dans les applications de moins de 1 000 lignes .
Le plus grand XY jamais en service a été installé à Anchorage, AK, par RCA Corporation pour l'US Air Force. Acheté plus tard par Anchorage Telephone Co, il a finalement atteint plus de 10 000 lignes.

Peu après la deuxième mondiale guerre, en 1946 Ericsson signa un accord de licence avec la société de télécommunications américaine Stromberg-Carlsson, qui utilisait le commutateur XY pour les stations téléphoniques rurales.

En 1955, Stromberg-Carlson fut rachetée par General Dynamics . En un an, ses trois stations de radiodiffusion avaient été vendues à différents acheteurs.

En 1970, Stromberg-Carlson a livré le premier PBX CrossReed au nouveau Disney World à Orlando en Floride. Au cours des 10 années suivantes, plus de 7 000 CrossReed ont été livrés dans le monde.

Au cours des années 1970, Stromberg-Carlson a développé l'un des premiers (ou peut-être le tout premier) système PBX entièrement numérique, appelé DBX.
Le premier DBX a été installé à Export, en Pennsylvanie, en 1977 et comprenait 960 ports. La société a ensuite développé le DBX-240 ; DBX-1200 et DBX-5000.
Au cours de cette même période, ils ont développé un certain nombre de technologies et de produits de pointe, notamment le premier système de commutation numérique AUTOVON et le premier système de communication numérique de commande et de contrôle.

En 1982, General Dynamics a vendu ses activités Stromberg-Carlson. Les systèmes de clés Stromberg ont été vendus à ComDial ; la division PBX/DBX a été vendue à United Technologies et la division Central Office a été vendue à Plessey du Royaume-Uni. Plessey a vendu l'unité commerciale de central téléphonique numérique à Siemens en 1991.
La nouvelle société, Siemens Stromberg-Carlson, est devenue le troisième fournisseur de commutateurs de central téléphonique aux États-Unis, avec une base installée combinée de cinq millions de lignes d'accès. Ils ont continué à fabriquer le central numérique Siemens ainsi que l'EWSD Siemens à partir de l'usine de Lake Mary, déplaçant la production de l'EWSD de New York vers la Floride.

En 2006, la ligne de central numérique de Siemens Stromberg-Carlson a été vendue à GENBAND , une société de réseaux de nouvelle génération basée au Texas.

sommaire

Les systèmes de numérotation XY offrent la méthode de téléphonie à numérotation moderne la plus polyvalente et la plus facilement étendue pour la ville ou le village. Les standards téléphoniques payants n°3 sont destinés à un service à l'échelle nationale.

Pour répondre à la demande croissante d'un service de numérotation rapide et fiable. Stromberg-Carlson propose un système à commande par interrupteur moderne et extrêmement polyvalent qui répond pleinement aux besoins de service dans diverses conditions de fonctionnement dans les nombreuses installations réparties dans tout le pays.

Les systèmes téléphoniques automatiques de type plus ancien nécessitent un programme d'entretien sur site difficile et des réparations et ajustements fréquents sont nécessaires pour maintenir le central en premier état de fonctionnement.
La majeure partie de cet ajustement de "modification d'installation" a été éliminée dans le système étape par étape XY.


STROMBERG-CARLSON Fichier pdf de présentation du système "Central Office Equipment"

Fundementals Of XY Dial Systems
pdf "Document très détaillé sur le fonctionnement"

La signalisation, les messages vocaux ... étaient spécifiques, écoutez

sommaire

1953 Système Ericsson - AHD 90 - XY PAX 1953 Popular
pdf
1953 Ericsson - AHD 94 - XY PAX 1953
pdf

Stromberg-Carlson a produit plusieurs systèmes de commutation uniques, notamment :

1- Le XY, que nous venons de voir, est un commutateur "flat motion" logiquement similaire à la commutation Strowger .
Le « sélecteur XY » n'a pas été inventé par SC, mais sous licence de LM Ericsson de Suède à la fin des années 1940 et repensé pour les applications de commutation américaines (Ericsson l'a utilisé pour le PABX et une très petite application d'échange rural).

2 - Le CrossReed 400/800/1600, un PBX à logique filaire à commande électronique avec extension jusqu'à 2 400 ports ; remarquable pour sa vitesse de tonalité rapide et son premier visiophone au monde.

3- ESC, est un des premiers commutateurs à lames électroniques à logique filaire avec une matrice similaire à l'AE EAX., mais n'acait cependant pas un contrôle par programme stocké. Il se distinguait cependant par sa vitesse de numérotation rapide. (ESC-1, ESC-2, ESC-3 et ESC-4)

4- Stromberg a créé le DBX-1344/5136, le premier PBX entièrement numérique. Il utilisait un microprocesseur LSI/PDP-11 dans les premiers modèles. La gamme de produits a été vendue à plusieurs reprises et a finalement été achetée par les employés. La nouvelle société, Digital Voice Corp, a ajouté les lignes DBX-288 et Excalibur et s'est développée jusqu'à atteindre plus de 32 000 ports et 128 000 répertoires dans Excalibur.

5 - Bureau central numérique, un commutateur temporel similaire au DMS-10.
Le central numérique Stromberg-Carlson a été le premier système de commutation numérique de bureau local de classe 5 installé aux États-Unis. Stromberg-Carlson a mis son commutateur (prototype de laboratoire) en service en juillet 1977 à Richmond Hill, en Géorgie . Ce commutateur était le bureau « REA FIELD TRIAL » de SC, mais n'a jamais été accepté par la compagnie de téléphone (Coastal Utilities Inc) et a été remplacé par un Northern Telecom DMS-10 au début des années 1980.


Typical xy installation in a Large City (documentation)

sommaire