Émil Berliner, né Emile Berliner
à Hanovre (Basse-Saxe) le 20 mai 1851 et mort à
Washington (district de Columbia) le 3 août 1929, est un
ingénieur allemand naturalisé américain.
Travaillant dabord comme imprimeur puis comme commis dans
un atelier de tissage, il peut dès lors illustrer ses talents
dinventeur en développant une nouvelle machine
à tisser.
Cest sous linfluence dun de ses amis que le
jeune Émile décide de traverser locéan
Atlantique.
Passionné par la science et les nouvelles découvertes,
il fréquente assidûment les nombreuses bibliothèques
et particulièrement celle du Cooper Institute où
il sadonne particulièrement aux recherches concernant
lélectricité et lacoustique.
|
|
sommaire
À la fin des années 1860, une série
dévénements ont conduit à lémigration
de Berliner dAllemagne.
La première était l'annexion de Hanovre par la Prusse en
1866. La domination prussienne entraîna le renouvellement des attitudes
antisémites qui s'étaient assouplies au cours des deux décennies
précédentes.
De plus, à la fin de la décennie, Berliner avait atteint
l'âge de la majorité pour le service militaire.
Heureusement, son éducation au Samson-Schule était telle
qu'il réussit l'examen pour l'Einjährige-Freiwillige, ce qui
lui permit de faire du bénévolat pendant un an seulement
dans l'armée prussienne au lieu d'être enrôlé
pour trois ans.
L'examen lui-même était en quelque sorte un symbole de statut
pour les jeunes hommes de la classe moyenne qui bénéficiaient
d'une certaine éducation. Pour Berliner, comme pour dautres,
le service bénévole dune durée dun an
constitue une alternative plausible sil fait face à la conscription
de larmée prussienne.
Contrairement à beaucoup de volontaires dun an, Berliner
na pas cherché cette option comme une année charnière
pour lenseignement supérieur ou comme un moyen de repousser
les examens. Cependant, la famille berlinoise a fait ses propres projets
pour lui.
En 1869, Nathan Gotthelf, un ami de la famille qui avait immigré
aux États-Unis, est revenu pour une visite à Hanovre. Au
cours de la visite, les parents de Berliner ont fait en sorte qu'Emile
immigre avec Gotthelf aux États-Unis et travaille à Washington,
DC, dans un magasin de produits secs dans lequel Gotthelf était
partenaire.
Ainsi, en avril 1870, juste avant le déclenchement de la guerre
franco-prussienne, Berliner monte à bord du Hammonia à Hambourg,
en Allemagne, et effectue le voyage de deux semaines à travers
l'océan Atlantique.
Le Hammonia a accosté à Hoboken, New Jersey, et Berliner
a fait une demi-journée de visite à New York avant de prendre
un train pour Washington. Il est arrivé dans la capitale le 12
mai 1870 et a commencé à travailler comme clerc. été
contracté au magasin de marchandises sèches de Gotthelf.
C'est pendant ses premières semaines à Washington que Berliner
a ajouté le «e» à son prénom,
Emile, pour l'angliciser.
Berliner travailla chez Gotthelf, Behrend and Company pendant trois ans,
au cours desquels il améliora son anglais et étudia le piano
et le violon.
Certains ont postulé que ses études musicales pourraient
plus tard susciter lintérêt de Berliner dans le domaine
naissant de lacoustique.
Cest en 1876, lors de lexposition anniversaire
du centenaire de la Révolution américaine à Philadelphie,
quil découvre une invention due à Alexandre
Graham Bell qui lintéresse
au plus haut point : le téléphone.
Ayant installé un espace de travail dans sa chambre
du troisième étage au 812 Sixth Street NW, au coin de Behrend
and Co., Berliner a commencé à mener des expériences.
Le 8 avril 1877, Berliner entreprend des expériences avec un émetteur
constitué dune petite caisse en bois, dont le fond est remplacé
par une feuille métallique : une vis réglable vient buter
au centre de cette membrane, formant le diaphragme. Un fil relie ce dernier
à une des bornes de la batterie, un deuxième raccorde la
vis à lautre borne. Il fait ses premiers essais en enroulant
une des extrémités du fil servant au circuit à une
des branches dun diapason qui, une fois excité, transmettait
la note émise sur la membrane. Aussitôt, Berliner en déduit
: « Si cette membrane était capable de reproduire un son
musical, elle devait, en toute logique, pouvoir reproduire des mots, lorsque,
à la place dun courant alternatif simple, un courant modulé
plus complexe interviendrait pour linfluencer .
En quelques mois, il avait inventé les prototypes du microphone
et du transformateur qui permettraient au téléphone de Bell
de devenir un outil de communication pratique et de permettre à
la Bell Telephone Company non seulement de
triompher de son principal rival commercial, la Western
Union Telegraph Company. un monopole à part entière.
sommaire
C'était une connaissance de Berliner, le télégraphiste
Alvin S. Richards, qui l'a mis par inadvertance sur le chemin qui
a abouti au prototype de microphone. Berliner a décidé d'apprendre
la télégraphie dans l'espoir que cela lui donnerait un aperçu
de la téléphonie, ce qu'il a fait.
Richards a expliqué à Berliner quun contact électrique
plus ferme (cest-à-dire un appui plus fort sur la touche
télégraphique) entraînait un message plus clair car
plus de courant passait sur le contact.
Cétait lépiphanie de Berliner en ce qui concerne
le microphone. «Je suis rentré chez moi avec une humeur très
attendue», a-t-il raconté plus tard. «Je savais que
je l'avais. Aussitôt que je grimpais un diaphragme, établissais
un contact avec un bouton en acier et le polissais de manière à
assurer un contact propre. Ensuite, j'ai commencé à l'ajuster
jusqu'à ce que le galvanomètre indique le courant. Puis
j'ai pressé doucement. Je trouvais que chaque fois que je pressais
contre lui, le galvanomètre déviait un angle plus grand.
Je savais alors que le principe était juste ».
Cependant, ce que Berliner avait développé, c'était
un appareil qui ne dépendait pas d'un contact ferme, comme beaucoup
d'autres l'avaient supposé, mais de contacts lâches avec
des pressions variables.
Micro Berliner 4 mars 1877.
En 1877, Émile Berliner, de Washington, D.C., déposa
une objection et, plus tard la même année, déposa
une demande de brevet pour un transmetteur. Ce brevet reposait sur un
principe exposé dans des articles publiés en 1856, 1864
et 1874 par le scientifique français Du Moncel : si la pression
entre deux corps conducteurs faisant partie dun circuit électrique
augmente, la résistance du trajet entre eux diminue, et inversement,
si la pression entre eux diminue, une augmentation correspondante de la
résistance se produit.
Le transmetteur de Berliner est illustré en principe à la
figure ci dessus qui reproduit la figure principale de son brevet
désormais célèbre.
Sur cette figure, A représente le diaphragme vibratoire métallique,
au centre duquel repose la bille métallique C, portée par
une vis à oreilles B, montée dans le support d. La pression
de la bille C contre la plaque A peut être réglée
en tournant la vis à oreilles. Le diaphragme et la bille forment
les bornes ou électrodes d'un circuit, comprenant une batterie
et un instrument récepteur.

Les figures ci dessus présentent deux vues différentes d'une
réplique exacte du modèle original de Berliner, tel que
déposé au bureau des brevets. Sa construction était
très sommaire. Le diaphragme était une pièce circulaire
en étain ordinaire et la pièce de contact, une vis à
bois en fer bleui. Le fonctionnement de cet instrument (qui, au mieux,
n'a jamais été satisfaisant ni commercial) est le suivant :
lorsque le diaphragme vibre, la pression au point de contact, a (figure
du haut), augmente ou diminue, faisant ainsi varier la résistance
du contact et provoquant des ondulations correspondantes dans le courant.
En 1877, les compétences en anglais de Berliner
sétaient améliorées au point où il avait
suffisamment confiance en lui pour écrire son propre
brevet pour le nouveau design de microphone .
Une demande de caveat était beaucoup moins coûteuse
à déposer qu'une demande de brevet. Son objectif principal
était de documenter l'existence d'une nouvelle invention afin d'empêcher
un inventeur rival d'obtenir un brevet sur la même idée.
Le 8 avril 1877, Berliner rédigea une première ébauche.
Il fit une autre copie de son avertissement le 12 avril 1877 et le déposa
auprès du United States Patent Office le 14 avril 1877.
Il commença ainsi : «Ce qui suit est une description de mon
appareil nouvellement inventé pour transmettre le son de toute
sorte au moyen d'un fil ou de tout autre conducteur d'électricité,
à quelque distance que ce soit. »
Berliner a ensuite divisé sa description du microphone en sept
parties qui traitaient de l'appareil physique et de la théorie
avait fait.
Dans la dernière partie, elle-même divisée en sept
sous-sections, Berliner a décrit exactement ce que l'instrument
pouvait faire et ses applications pratiques possibles, y compris en tant
qu'émetteur.
Deux semaines plus tard, Thomas Edison
déposait une demande de brevet pour un émetteur et,
dans les années suivantes, d'autres revendiqueraient la préséance
en inventant l'émetteur.
Bien que le caveat de Berliner à légard du microphone
ait déclaré que lappareil serait capable de transmettre
le son sur un fil «à une distance quelconque», la réclamation
serait restée sans fondement sil navait pas produit
une seconde invention essentielle à la téléphonie.
Le même mois, il a écrit et déposé son
caveat pour le transmetteur à diaphragme, il a également
inventé le transformateur audio.
Pour lessentiel, Berliner a ajouté une bobine à induction
au circuit de lémetteur, ce qui a amplifié le courant
et permis à lémetteur de fonctionner sur de plus longues
distances.
C'était une solution simple et éloquente. Bien qu'il ait
confiance en sa capacité à décrire son travail dans
un but de mise en garde, Berliner a compris que pour les demandes de brevet
elles-mêmes, il lui fallait un avocat spécialisé en
brevets.
À cette fin, il a engagé James L. Norris. Sous les auspices
de Norris, Berliner déposa une demande de brevet pour son
microphone le 4 juin 1877. Quatre mois plus tard, le 16 octobre 1877,
Berliner demanda un brevet pour son transformateur. Le 15 janvier 1878,
il reçut le numéro de brevet 199,141 pour le transformateur.
sommaire
Ce nouveau cycle dexpérimentations nous amène
finalement à la découverte du microphone et aux inévitables
controverses qui ont accompagné lattribution de la paternité
de linvention. Les « disputes » entre David Edwards
Hughes et Thomas Alva Edison, à ce sujet, feront la « une
» de la presse scientifique au cours de lannée 1878
(lÉlectricien, lEnglish Mechanic, Telegraphic Journal,
Scientific American, La Lumière électrique, Nature, etc.).
Les articles relatent dans les moindres détails les attaques violentes
dEdison, qui accuse Hughes de piraterie, de plagiat et dabus
de confiance. Dans une lettre envoyée au journal anglais Nature,
du 30 juillet 1878, Sir William Thomson écrivait :
« Au plaisir que le public a éprouvé
en prenant connaissance de ces magnifiques découvertes qui, sous
le nom de téléphone, de microphone et de phonographe, ont
tant étonné le monde savant, est venu se mêler dernièrement,
très inutilement, jai besoin de le dire, un des incidents
les plus regrettables qui puissent se produire. Il sagit dune
réclamation de priorité accompagnée daccusations
de mauvaise foi, qui a été lancée par M. Edison contre
une personne dont le nom et la réputation sont depuis longtemps
respectés dans lopinion publique. [
] Les magnifiques
résultats présentés, au commencement de lannée,
par M. Hughes avec son microphone, ont été décrits
par lui-même sous une forme telle, quil est impossible de
mettre en doute quil nait travaillé sur son propre
fonds et en dehors de toutes les recherches de M. Edison quil navait
pas le plus petit intérêt à sapproprier.
»
Au-delà de cette âpre polémique, une
constatation demeure irréfutable : le transmetteur téléphonique
dEdison et le microphone de Hughes reposent exactement sur le même
principe physique, cest-à-dire la transformation du son en
oscillations électriques. À partir dun tel acquis,
ils ont découvert que la pression exercée au point de contact
entre deux corps conducteurs appuyés lun sur lautre,
pouvait influer considérablement sur lintensité électrique
développée. Le travail en parallèle des deux inventeurs,
portant sur le même principe, sorientait cependant vers des
buts divergents. Pour Hughes, dont les premières expériences
datent de décembre 1877, il sagissait avant tout de trouver
un instrument capable de transformer un son très faible en un son
très fort. Son secret résidait dans lutilisation dun
morceau de charbon de cornue pouvant vibrer sous les actions les plus
faibles et transmettre ainsi le courant dune manière intermittente.
Grâce au contact que ce charbon effectuait sur dautres charbons
et à la pression exercée sur tous les points de contact,
il était possible « damplifier» les sons. Par
analogie avec le microscope, il lui donne en janvier 187822 le nom de
« microphone ». En réalité, un tel instrument
avec une telle configuration technique ne pouvait véritablement
se comporter comme un microscope, mais « à une époque
où le téléphone ne parlait pas haut», ces résultats
demeuraient extraordinaires.
sommaire
U.S. Patent
199141 Telephone . the transmitter, déposé October 1877,
accordé le 15 January 1878
"Microphone du 4 mars 1877, utilisé dans les procès
en 1879. Toujours transmettant aujourd'hui le tic-tac d'une montre et
tout autre son."
Système de batterie de Berliner 1877
Puis, le 16 mars 1878, Berliner subit un revers lorsque le commissaire
aux brevets déclara une ingérence dans sa demande de brevet
de microphone / émetteur, ce qui signifiait qu'il y avait une question
de priorité en raison d'une multiplicité d'inventeurs, dont
Thomas Edison, affirmant premiers droits.
Les questions concernant la validité de la demande de Berliner,
et qui devrait recevoir le brevet pour lémetteur, ont finalement
été décidées par la Cour suprême des
États-Unis, treize ans plus tard.
Le retard lui-même et sa longueur deviendraient un point de discorde.
Au moment où l'affaire a été portée devant
le tribunal, Berliner aurait de puissants intérêts financiers
de son côté.
Berliner et un des premiers mifcros
À la fin du XIXe siècle, l'industrie de la téléphonie
était largement ouverte à la concurrence. La Bell
Telephone Company, qui fait ses débuts, sest opposée
à la Western Union Telegraph Company,
qui cherchait à étendre son quasi-monopole sur la télégraphie
à longue distance pour englober les services téléphoniques
locaux.
Les deux sociétés, ainsi que d'autres parties intéressées,
se sont tenues au courant des dernières évolutions technologiques
et juridiques dans le domaine, chacune cherchant à se dépasser.
Après que Western Union ait acheté lémetteur
Edison, qui était supérieur à celui de Bell,
il a bondi dans la course pour conquérir le marché américain.
Avec une capitalisation denviron 40 millions de dollars en 1876
(environ 839 millions de dollars en 2010), Western
Union détenait un énorme avantage sur la minuscule
société Bell.
Berliner avait observé la concurrence entre les deux sociétés
et avait décidé qu'en tant qu'individu, il ne pouvait espérer
concurrencer les sociétés.
Il a choisi de jeter son sort avec Bell depuis que Western Union avait
déjà courtisé Edison.
Moins d'une semaine après avoir obtenu le brevet de transformateur,
il a écrit une lettre à la Telephone Company de New York,
une filiale de Bell Telephone, lui offrant ses inventions pour 12 000
dollars (environ 271 000 dollars en 2010).
La compagnie la refusé, mais une nouvelle correspondance
entre Berliner et la filiale de Bell a abouti à une exposition
à New York de Berliner sur des inventions devant des dirigeants
de la Telephone Company de New York intéressés par ses inventions
mais trop timides pour les acheter. Néanmoins, les responsables
de la Telephone Company of New York ont décrit plus tard les appareils
de Berliner à Gardiner G. Hubbard, le beau-père dAlexander
Graham Bell et le premier président de la Bell Telephone Company.
sommaire
Bell Telephone a tardé à réagir aux
efforts de lobbying de Berliner, mais il l'a finalement fait au début
de 1878 lorsque Thomas A. Watson, ancien assistant d'Alexander Graham
Bell et surintendant de Bell Telephone, s'est personnellement rendu à
Washington pour inspecter les inventions de Berliner. émetteur.
«Après une brève vingt minutes, il a conclu sa visite
avec les mots:« Nous le voudrons, M. Berliner. Vous entendrez parler
de nous dans quelques jours. »
Après des mois de négociations, Berliner a vendu
son brevet de transformateur et les droits de son émetteur et brevet
de microphone à Bell Telephone pour 50 000 $ (environ 1,1 million
de dollars). 2010 $).
Il a également travaillé pour Bell Telephone en tant quingénieur
en chef de la société, dabord à New York, puis
à Boston .
Le dur labeur et les négociations ont toutefois eu des répercussions
sur Berliner. Il a eu une dépression nerveuse peu après
sêtre joint à Bell Telephone et a passé six
semaines à Washington, à lhôpital Providence
de D.C.
Ironiquement, quand il a finalement pu reprendre ses fonctions chez Bell
Telephone en janvier 1879, la première tâche de Berliner
était de travailler sur un design de microphone / émetteur
modifié par un inventeur différent, Francis Blake.
Le transmetteur Blake fonctionnait mieux que le modèle Berliner
mais nécessitait un ajustement presque constant. La double ironie
dans le fait que Berliner, plutôt que Blake, travaillait à
améliorer lappareil était que ce dernier avait également
subi une dépression nerveuse et était incapable de modifier
son appareil pour Bell.
En six semaines, Berliner a résolu le problème avec lémetteur,
permettant une production de masse pouvant aller jusquà 200
par jour. Il a personnellement supervisé la fabrication des 20
000 premiers émetteurs.
Pourtant, le travail se révéla stressant et en 1879, Berliner
subit une deuxième crise et fut confiné pendant un certain
temps au Massachusetts General Hospital avant de récupérer
au New Hampshire.
Les expériences désagréables d'Emile
Berliner avec des hommes d'affaires américains l'ont amené
plusieurs fois en Europe pour profiter de ses créations. Il est
retourné en Allemagne pour la première fois en été
1881.
Pendant ce temps, il a convaincu son frère aîné, Jacob,
de former un partenariat commercial avec son frère cadet, Joseph,
dans la société Telephon-Fabrik J.
Berliner, à Hanovre. Joseph avait également
immigré aux États-Unis et avait trouvé un emploi
grâce à la relation dEmile avec la Williams
Company, qui fabriquait des téléphones Bell.
Joseph revint à Hanovre sur les conseils dEmile et utilisa
son ancienne association avec la compagnie Williams pour obtenir du matériel
téléphonique pour Telephon-Fabrik.
Les efforts dEmile Berliner pour aider ses frères à
créer une entreprise en Allemagne témoignent de son caractère
entrepreneurial inné et montrent son intérêt pour
les bénéfices potentiels de ses inventions.
À son retour des États-Unis dAllemagne,
Émile décida de sen sortir seul, même sil
restait associé à Bell Telephone.
Dans les années 1880, Berliner reçoit un certain
nombre de brevets, dont un pour un revêtement de sol que
Berliner appelle un tapis de parquet (brevet numéro 284 268).
En 1899 et à nouveau en 1900, il a reçu des brevets supplémentaires
sur cette idée en apportant des améliorations à la
conception
Huit ans plus tard, en 1888, Berliner revint triomphalement en Europe
pour donner des conférences et faire la démonstration de
son phonographe. Berliner a reçu un accueil de héros. Il
était devenu célèbre en Allemagne et en France.
Il avait acquis une notoriété non seulement parce que la
communauté scientifique lavait reconnu comme linventeur
du microphone, du transformateur et du téléphone, mais aussi
parce que ses frères avaient si bien commercialisé le téléphone.
La production et la distribution du téléphone étaient
devenues une entreprise hautement rémunératrice.
Alors que Berliner poursuivait de nouveaux intérêts dans
les années 1880 et 1890, le nombre de poursuites engagées
contre son brevet démetteur et dautres sociétés
détenues par la société Bell sétendait
à plus de 600 affaires.
Au moment où Bell Telephone et Western Union ont instauré
la paix au sein de lentreprise, la question du brevet démetteur
avait pris toute son ampleur. Berliner, et donc Bell Telephone, a reçu
le numéro de brevet
463,569 pour lémetteur le 17 novembre 1891.
U.S. Patent 463,569
Combined Telegraph and Telephone (microphone), déposé June
1877, accordé 17 November 1891
Le lendemain de la publication du brevet, léditorialiste
de Boston Globe a déclaré: «Nous pensons quil
est prudent de dire que ce brevet Berliner a une valeur commerciale supérieure
à celle du brevet Bell Telephone original.»
Le retard, parce que le brevet était en instance, donnait à
American Bell plus de temps pour consolider son monopole, et ils persuadèrent
le gouvernement fédéral de prendre des mesures.
Le 1 er février 1893, le gouvernement des États-Unis engagea
une action contre American Bell Telephone Company et Berliner, bien que
Berliner se soit depuis longtemps retiré de la société
pour faire annuler le brevet.
Le 3 janvier 1895, une cour de circuit a effectivement annulé le
brevet, mais le décret a été annulé en appel
le 18 mai 1895.
Laffaire a été portée devant la Cour suprême
des États-Unis, dont la décision rendue le 10 mai 1897.
Ainsi, le travail pionnier dEmile Berliner dans le domaine de la
téléphonie a été officiellement reconnu par
la plus haute cour du pays.
sommaire
Pendant ce temps Berliner déposa d'autres Brevets
qui concernent le téléphone :
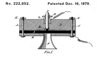
U.S. Patent 222,652
Telephone (carbon diaphragm microphone), déposé
August 1879, accordé December 1879
U.S. Patent 224,573 Microphone
(loose carbon rod), déposé September 1879, accordé
February 1880


U.S. Patent 225,790
Microphone (spring carbon rod), déposé Nov 1879, acordé
March 1880
Il continua à travailler sur des transmetteurs téléphoniques
et à Vienne en 1883, lors de l'un de ses nombreux voyages
en Europe, il exposa l'émetteur ci-dessus. C'était un raffinement
de la version qu'il avait conçue pour la compagnie Bell, qui avait
été remplacée par le Blake.
Un cylindre arrondi de carbone dur presse sous une pression de ressort
contre une plaque de carbone fixée au diaphragme.
Le diaphragme est légèrement amorti par un autre ressort.
L'ensemble est cylindrique et compact, et peut être intégré
dans un combiné plutôt difficile.
Un émetteur Berliner était en fait utilisé dans un
certain nombre de téléphones portables, mais ses performances
sont peu connues.
Cela a dû être suffisant, comme cela apparaît sur les
téléphones français, allemands et danois.
Bien que l'émetteur soit essentiellement un Blake-Berliner amélioré,
il a été utilisé brièvement dans les zones
où la société Bell n'avait pas de brevets. Il convient
de noter que dans cet émetteur, Berliner a supprimé le contact
métallique et utilisé deux contacts en carbone.
Cela aurait mis l'émetteur en conflit direct avec le brevet Edison
aux États-Uni
En 1898 alors qu'il était En Allemagne, Berliner s'est de nouveau
impliqué dans les téléphones.
La situation juridique en Europe était différente de celle
des États-Unis, et de nombreux émetteurs étaient
en train dêtre créés qui auraient eu des problèmes
juridiques aux États-Unis. Le transmetteur à granulés
de carbone était largement utilisé, mais pour l'émetteur.
Berliner avait inventé une version en 1893 qui présentait
l'émetteur horizontalement et alimentait le son dans un diaphragme
à la base.
 
Cela a permis de produire un émetteur efficace largement utilisé
par les fabricants d'Europe occidentale.
On l'appelait l'émetteur universel de Berliner. Il est étonnamment
similaire à une version inversée du brevet original dEdison
et il nest pas surprenant que certains dentre eux portent
la mention "Utilisation sans licence en vertu dun brevet américain".
American Bell aurait pu l'utiliser, mais leur production était
bloquée dans le Blake Berliner. Ils n'avaient pas les ressources
pour se rééquiper pour un autre émetteur.
L'émetteur Univeral s'est avéré un bon substitut
aux émetteurs Blake en Europe et a continué sa production
pendant environ six ans.
Berliner a créé la Berliner Telephone
Company à Upper Thames Street, à Londres, pour améliorer
ses ventes, mais la préférence générale pour
les équipements de Bell ou les nouveaux combinés était
difficile à battre.
Liste d'autres
brevets pris par Berliner 
sommaire
Brevets téléphone en France :
- perfectionnements apportés aux microphones
et transmetteurs téléphoniques 134481
08.01.1880 ; BERLINER Emile Paris (75056) ; (17 pages)
- perfectionnements apportés dans les transmetteurs-microphones,
appliqués à la téléphonie 160930
13.03.1884 ; BERLINER Paris (75056) ; (6 pages)
- perfectionnements apportés dans les appareils téléphoniques
174835
17.03.1886 ; BERLINER Paris (75056) ; (7 pages)
- perfectionnements dans les diaphragmes pour téléphones,
gramophones et appareils semblables 280472
10.08.1898 ; BERLINER SANDERS Paris (75056) ; (15 pages)
- perfectionnements apportés aux micro-téléphones
304512
13.10.1900 ; TELEPHON-FABRIK ACTIENGESELSCHAFT VORMALS J. BERLINER Paris
(75056) ; (7 pages)
- commutateur pour téléphones et autres appareils électriques
308475
26.02.1901 ; TELEPHON-FABRIK ACTIENGESELSCHAFT VORMALS J. BERLINER Paris
(75056) ; (10 pages)
sommaire
Berliner sera très prolifique en modèles
de téléphones, avec ses microphones adaptés au fil
du temps.
  
 
  
sommaire
Au moment où le procès intenté contre le transmetteur
téléphonique a commencé à être entamé
devant les tribunaux, Berliner s'est engagé dans une entreprise
tout aussi révolutionnaire que la téléphonie.
Ses travaux en téléphonie, et peut-être ses études
musicales antérieures, l'ont progressivement intéressé
à créer une meilleure machine parlante.
Son travail dans ce domaine la amené, une fois de plus, en
rivalité avec Thomas Edison.
Edison a développé la première machine parlante à
l'automne 1877. Elle était équipée d'un diaphragme
et d'un stylet montés sur un cylindre enveloppé dans du
papier d'aluminium sur lequel le stylet inscrivait une rainure verticale
continue lorsque le cylindre était tourné à la main.
Edison a nommé l'appareil un phonographe. Il était
tellement sûr que son invention serait commercialement viable qu'il
créa la Edison Speaking Phonograph Company
près d'un mois avant de recevoir un brevet américain pour
le dispositif le 19 février 1878.
Chichester Bell (cousin d'Alexander Graham Bell) et Charles Tainter
améliorèrent l'invention d'Edison. L'aspect le plus important
de leur machine parlante était l'utilisation d'un cylindre de cire,
plutôt qu'un cylindre recouvert d'une feuille d'étain, sur
lequel inscrire la rainure.
Leur machine, pour laquelle ils ont reçu un brevet le 4 mai
1886, est connue sous le nom de graphophone.
C'est à ce stade du développement de lappareil que
Emile Berliner a entrepris de créer sa nouvelle machine à
parler.
Au cours de l'hiver 1887-1888, Berliner
et son assistant, Werner Suess, ont perfectionné et breveté
une idée que d'autres, y compris Edison, avaient rejetée.
Ils ont développé un appareil qui enregistrait et jouait
du son sur un disque en utilisant un groove continu horizontal
plutôt que vertical. Berliner a nommé son invention le gramophone.
Le brevet U.S. Patent 372,786
Gramophone (horizontal recording), original filed May 1887, refiled
September 1887, issued November 8, 1887
 
Cependant, avant de pouvoir garantir la viabilité commerciale de
son invention, Berliner devait dabord garantir la qualité
des enregistrements sur lesquels le son était enregistré.
Son idée était de recouvrir un disque de zinc d'une substance
convenant à la gravure.
Le disque serait alors immergé dans de l'acide, ce qui rongerait
le métal où le stylet enregistreur avait tracé une
rainure.
Il a fallu des mois d'essais et d'erreurs avant de trouver le revêtement
approprié, «un film mince et gras qui réagissait au
stylet et qui était pourtant imperméable à l'acide».
Berliner a enregistré ses premiers disques en mars 1888 et en mai.
Le 16 décembre 1888, il donna à sa machine parlante sa première
démonstration publique.
Le site qu'il a choisi était le prestigieux Franklin Institute
à Philadelphie. La démonstration a été un
succès et a placé le gramophone en concurrence directe avec
le phonographe et le graphophone, bien que la technologie des phonographes
triompherait définitivement sur le marché plusieurs années
auparavant.
sommaire
Brevet qui sera suivi d'autres brevets :
U.S. Patent 382,790 Process of Producing Records of Sound (recorded on
a thin wax coating over metal or glass surface, subsequently chemically
etched), filed March 1888, issued May 1888
U.S. Patent 548,623 Sound Record and Method of Making Same (duplicate
copies of flat, zinc disks by electroplating), filed March 1893,
issued October 1895
U.S. Patent 564,586 Gramophone (recorded on underside of flat, transparent
disk), filed November 7, 1887, issued July 1896
La gravure horizontale signifie qu'on grave à profondeur égale
mais le sillon doit alors faire son onde en largeur, ce qui peut prendre
plus de place sur le disque, contrairement aux disques Edison
à gravure verticale (spirale parfaite à profondeur variable).
Cest par ce brevet quil deviendra célèbre.
Il présente pour la première fois en public ce projet de
gramophone au mois de mai 1888 au Franklin Institute de Philadelphie.
Il commence alors à fabriquer des disques en quantités importantes.
Il enregistre aussi pour de nombreux artistes.

Le gramophone est commercialisé pour la première
fois en 1893, par une compagnie fondée par Berliner et quelques
amis, sous le nom de United States Gramophone Company.
sommaire
Deux années se sont écoulées lorsquune
nouvelle compagnie voit le jour à linitiative dimportants
hommes daffaires.
Ce sont les débuts de la Berliner Gramophone Company.
Mais les ventes de gramophones sont peu élevées et la compagnie
doit à tout prix moderniser le gramophone.
Ce qui est fait la même année. Le système à
manivelle est remplacé par un moteur à ressort. Mais peu
à peu, linvention de Berliner va circuler de mains en mains,
chacun voulant sapproprier la part la plus importante.
Ainsi trois sociétés gèrent linvention : la
Berliner Gramophone Company, qui fabrique le gramophone et le disque
horizontal, la United States Gramophone Company,
qui gère les droits des brevets, et enfin la
Seamans National Gramophone, qui s'occupe du marketing et
de la publicité.
Pendant un séjour en Allemagne, le grand Helmholz,
à qui l'Empereur avait attribué le titre Excellenz, vint
personnellement chez Berliner avec une foule de savants éminents
pour une soirée d'écoute de son phonographe.
Le mécanisme, qui employait à lépoque des disques
de zinc gravés pour la reproduction du son, a été
reconnu par la communauté scientifique comme indéniablement
bien supérieur au dispositif dEdison et à son utilisation
de cylindres de cire.
Émile Berliner se présenta devant la Société
technique de Francfort-sur-le-Mein, le même groupe de physiciens
devant lequel Phillip Reis avait manifesté son téléphone
vingt-deux ans plus tôt.
Le début du XXe siècle est marqué
par de nombreux ennuis pour linventeur allemand.
Seaman essaie de sapproprier les ventes et, par une série
de manipulations, il arrive à faire retirer le gramophone des ventes
aux États-Unis. Berliner quitte alors les États-Unis et
sa ville de Philadelphie pour aller sinstaller à Montréal,
choix loin dêtre anodin puisque les liaisons avec Philadelphie
était fréquentes.
La société connaît alors une sorte dapogée,
jusquà atteindre deux millions de disques vendus durant lannée
1901.
À la suite de la Première Guerre mondiale, la société
connaît une formidable expansion et lusine de Berliner constitue
lune des plus modernes de Montréal.
En 1924, la Victor Talking Machine Company
rachète la société.
Berliner est lauréat de la médaille Franklin en 1929 en
récompense de ses travaux dans le domaine de l'enregistrement du
son.
La gravure horizontale de Berliner a ensuite dominé
seule l'industrie de la musique jusqu'à ce que la gravure stéréo
réconcilie l'horizontal et le vertical dans un même sillon,
pendant plusieurs décennies.
Ensuite le disque compact a éliminé à la fois l'utilisation
de l'horizontal et du sillon, en le remplaçant par une gravure
pointillée en spirale, sans variabilité horizontale, lue
sans aiguille, et inspirée des ordinateurs
sommaire
|