|
Thomas Alva
Edison
Thomas Alva Edison, né le 11 février
1847 à Milan dans l'Ohio et mort le 18 octobre 1931
à West Orange dans le New Jersey, est un inventeur, un
scientifique et un industriel américain.
Fondateur de la General Electric,
l'une des premières puissances industrielles mondiales,
il est un inventeur prolifique (plus de 1 000 brevets) et controversé.
Pionnier de l'électricité, de la télégraphie
du téléphone, diffuseur, vulgarisateur, il est également
l'un des inventeurs du cinéma et de l'enregistrement du
son.
Il est parfois surnommé « le sorcier de Menlo Park
», ville rebaptisée Edison en son honneur en 1954.
Thomas Alva Edison est le septième et dernier fils de Samuel
Edison (1804-1896), Canadien d'origine néerlandaise, qui
dut fuir le Canada pour avoir participé aux rébellions
de 1837-1838 et qui fut tour à tour brocanteur, épicier,
agent immobilier, charpentier.
Sa mère, Nancy Elliot (1810-1871), ancienne institutrice,
était également Canadienne mais d'origine écossaise.
Le père de Nancy était un héros de la guerre
d'indépendance des États-Unis.
Thomas Alva Edison est le cadet d'une famille modeste qui le stimule
intellectuellement et politiquement.
|
|
sommaire
On peut discerner les fondements de sa réussite
dans sa jeunesse et ses débuts de carrière. Plus tard, il
(et d'autres) raconta des histoires de malices et de mésaventures,
mais tout porte à croire qu'il s'agissait d'un garçon curieux,
vivant dans un environnement intellectuellement stimulant. Les villes
de son enfance Milan, dans l'Ohio (1 500 habitants), où
il naquit le 11 février 1847 ; et Port Huron, dans le Michigan
(3 000 habitants), où la famille s'installa en 1854 bien
que petites, étaient des centres locaux de commerce et d'industrie,
et Edison s'imprégna de la culture des artisans et des ateliers.
Sa mère, Nancy, avait apparemment enseigné à l'école,
et son père, Samuel, homme politique zélé et libre
penseur, possédait une bibliothèque qu'Edison était
encouragé à lire. Il fréquenta brièvement
l'école à Port Huron, pendant deux périodes, mais
sa mère lui donna principalement des cours à la maison.
« Ma mère m'a appris à lire de bons livres rapidement
et correctement », dira-t-il plus tard, « et comme cela m'a
ouvert un vaste monde littéraire, j'ai toujours été
très reconnaissant pour cette formation précoce. »
Parallèlement, il apprenait l'esprit d'entreprise de son père,
dont les nombreuses carrières comprenaient la spéculation
foncière, la fabrication de bardeaux et le maraîchage. Les
mêmes qualités entrepreneuriales attribuées à
son père furent plus tard appliquées à Edison : «
un tempérament vif, toujours optimiste face aux choses »
et « une intuition des plus optimistes quant à tout projet
qui lui passait par la tête ».
Connu sous le nom d'Al dans sa jeunesse, son premier travail
consistait à aider au jardin familial. Mais comme « biner
le maïs sous un soleil de plomb n'est pas attrayant », il trouva
un autre emploi dès que l'occasion se présenta.
En 1854, alors qu'il est âgé de 7 ans, sa famille
s'installe à Port Huron dans le Michigan.
«Thomas, fit durement le maître décole, vous
ne serez jamais quun sot ! » Sous le poids de cette sombre
prophétie, lélève courba le front et pleura.
Puis comme, au retour de la classe, ses larmes coulaient encore
grosses larmes intarissables dun bambin de huit ans sa mère
linterrogea. Au récit de lenfant, blessée dans
sa fierté maternelle, elle bondit jusque chez le maître décole
et lui cria : « Monsieur, mon fils est moins sot que vous ! Désormais,
instruit par mes soins, il se passera de vos leçons. »
Cette scène avait lieu vers 1855, dans le petit bourg de
Port-Huron (État de Michigan), où Thomas Alva Edison venait
darriver avec les siens. À Port-Huron, le père, assez
peu entendu en affaires, mais réputé pour son « humour
» ; la mère, originaire comme son mari du Canada, où
elle avait été institutrice ; enfin Thomas, gamin bizarre,
renfermé et étourdi, dont sa mère vantait lintelligence
docile, ouverte surtout aux choses scientifiques, mais que tout le village
appelait un « bêta ».
Ne le voyait-on pas sans cesse rôder parmi les chantiers et les
quais et poser aux ouvriers mille questions oiseuses sur leur travail
ou leurs outils ? « A quoi sert ceci ? Comment démonte-t-on
cela ? » Aidé par sa mère qui lui donne des cours
à la maison, il complète alors sa formation de base en parfait
autodidacte, lisant des grands auteurs comme Charles Dickens ou Shakespeare,
et dévorant tous les livres de science que sa mère lui apporte,
notamment l'ouvrage de physique expérimentale School of Natural
Philosophy de Richard Green Parker9. Il fréquente assidûment
la bibliothèque de Détroit : « Si mes souvenirs sont
exacts, je commençai par le premier livre du rayon du bas pour
dévorer ensuite tout le reste, l'un après l'autre. Je n'ai
pas lu quelques livres ; j'ai lu la bibliothèque entière».
En 1857, âgé de 10 ans, Thomas possède
déjà un vrai petit laboratoire de chimie dans le sous-sol
de la maison de ses parents pour développer son intelligence et
ses capacités, en reproduisant les expériences de School
of Natural Philosophy.
Fin 1859, le Grand Trunk Railroad fut prolongé
de Port Huron à Détroit, et Edison trouva un emploi de «
boucher-confiseur », vendant des confiseries, des journaux et des
magazines. À ce poste, il fit rapidement preuve d'un sens de l'entrepreneuriat.
Il employa des jeunes garçons pour vendre des légumes et
des magazines à Port Huron et écrivit, imprima et vendit
un journal à bord du train.
En 1859, âgé de 12 ans, Thomas obtient la concession
exclusive de vendeur de journaux, boissons, cigares, cigarettes, bonbons,
dans le train de la « Grand Trunk Railway » qui fait l'aller-retour
quotidien Port Huron-Detroit, en utilisant ses premières économies
pour acheter des produits chimiques à la pharmacie locale.
Il en profite pour vendre dans les gares des fruits et légumes.
Avec l'argent gagné et l'aide de quatre assistants, il s'achète
vers 1862 une presse d'imprimerie d'occasion qu'il installe dans un wagon
à bagages pour la rédaction et l'impression (durant les
trajets) de son propre mini-journal hebdomadaire le Weekly Herald, premier
à paraître à bord d'un train, tiré à
400 exemplaires.
Le 6 avril 1862, Edison annonce à ses voyageurs lecteurs, grâce
à un ami télégraphiste de Détroit, les nouvelles
de la bataille de Shiloh.
La même année, il s'intéresse également au
télégraphe du train, inventé en 1838 par Samuel Morse.
Il est autorisé à aménager son laboratoire de chimie
dans son wagon à bagages-imprimerie. Il poursuit ses expériences
durant les haltes de 5 heures à Détroit. Une embardée
du train renverse un flacon de phosphore et provoque un incendie, ce qui
lui vaut son renvoi immédiat avec cependant ses premiers 2 000
dollars de gain commercial, fièrement gagnés.Âgé
de 13 ans, il attrape la scarlatine dont il ressort pratiquement sourd,
même si Edison forge sa légende en racontant qu'il eut une
surdité partielle de l'oreille gauche après qu'un cheminot
l'eut empoigné par les oreilles (autre version qu'il donne : l'eut
giflé) alors que son laboratoire de chimie prenait feu.
Dès lors, ce handicap influence fortement son caractère,
comme il l'explique lui-même : « J'étais exclu de cette
forme particulière des relations sociales qu'on appelle le bavardage.
Et j'en suis fort heureux... Comme ma surdité me dispensait de
participer à ces bavardages, j'avais le temps et la possibilité
de réfléchir aux problèmes qui me préoccupaient».
Ce comportement renfermé sur la pensée et la réflexion
influence aussi l'orientation de ses recherches. Son désir d'améliorer
le sort de l'humanité décuple son avidité pour la
lecture, en particulier pour les ouvrages de chimie, d'électricité,
de physique et de mécanique. « Ma surdité m'avait
appris que presque n'importe quel livre peut être agréable
ou instructif».
La guerre de Sécession faisait rage, et lorsque
la bataille de Shiloh fut relatée dans le Detroit Free Press, Edison
persuada le rédacteur en chef de lui donner des exemplaires supplémentaires
à crédit, puis fit télégraphier les titres
aux arrêts prévus du train. L'affluence était telle
et la demande si forte qu'il augmenta régulièrement le prix
à chaque gare, vendant tous les journaux avec un bénéfice
appréciable. Il est clair que le jeune Al avait déjà
appris de précieuses leçons sur le pouvoir du télégraphe
et de la presse.
Edison poursuivit ses études tout en travaillant
à bord du train. Il lut à la bibliothèque publique
de Détroit pendant son escale quotidienne, réalisa des expériences
de chimie dans un fourgon à bagages et apprit les rudiments de
la télégraphie. À 15 ans, il sauva le jeune fils
de l'opérateur télégraphique James MacKenzie de la
trajectoire d'un wagon de marchandises en marche, et MacKenzie le récompensa
en lui donnant des leçons. Après avoir pratiqué intensivement
tout l'été, Edison trouva un emploi à temps partiel
dans la télégraphie à Port Huron.
Les messages reçus sur le télégraphe
Morse initial étaient inscrits sous forme d'une série de
points et de traits sur une bande de papier qui était décodée
et lue. La surdité partielle d'Edison ne constituait donc pas un
handicap. Cependant, les récepteurs étaient de plus en plus
souvent équipés d'une touche sonore, permettant aux télégraphistes
de « lire » les messages par clics. La transformation de la
télégraphie en art auditif laissa Edison de plus en plus
désavantagé au cours de ses six années de carrière
de télégraphiste itinérant dans le Midwest, le Sud,
le Canada et la Nouvelle-Angleterre . Débordant d'ingéniosité
et de perspicacité, il consacra une grande partie de son énergie
à améliorer l'équipement embryonnaire et à
inventer des dispositifs facilitant certaines tâches que ses limitations
physiques rendaient difficiles. En janvier 1869, il avait suffisamment
progressé avec un télégraphe duplex (un appareil
capable de transmettre deux messages simultanément sur un seul
fil) et une imprimante , qui convertissait les signaux électriques
en lettres, pour abandonner la télégraphie pour se consacrer
pleinement à l'invention et à l'entrepreneuriat.
Edison employé télégraphiste
Toujours en 1862, à 15 ans Thomas sauve héroïquement
Jimmie MacKenzie, un enfant de trois ans qui manque se faire écraser
par un train, Jimmie étant le fils de J.U. MacKenzie, chef de gare
à Port Huron.
Pour le remercier, l'officier accepte de lui apprendre l'alphabet morse
et l'utilisation de son télégraphe durant deux mois de formation.
Cette nouvelle compétence-passion lui permet de trouver un emploi
de télégraphiste à Memphis.
Son directeur remarque qu'Edison lit ou dort pendant son travail, il lui
ordonne d'envoyer toutes les demi-heures un message morse pour attester
qu'il travaille. Comme il a consacré le loisir de ses journées
à lire et à étudier, notre veilleur est souvent pris,
durant son service, dinvincibles assoupissements, dont les conséquences
risquent dêtre redoutables. « Désormais, lui
dit alors son chef irrité, vous me télégraphierez
la lettre A toutes les demi-heures ! » « Bien ! » répond
le délinquant. Le lendemain, il a établi entre son appareil
et un mouvement dhorlogerie le raccord nécessaire qui, automatiquement,
envoie la lettre demandée et assure au dormeur la paix et limpunité
Un jour, ce directeur se présente à la cabine de télégraphie
pour constater qu'Edison l'a dupé en automatisant le transmetteur.
En 1866, âgé de 19 ans, il emménage à
Toronto au Canada et trouve un emploi d'assistant-télégraphiste
à la Western Union Company.
Thomas Edison n'a pas inventé le monde moderne. Il a cependant
assisté à sa création, une figure marquante de l'organisation
et de la croissance des marchés nationaux américains, des
réseaux de communication et d'énergie, ainsi que de l'industrie
du divertissement. Cent cinquante ans après sa naissance
et soixante-six ans après sa mort son nom est synonyme de
créativité inventive, et sa lampe électrique est
le symbole d'une idée brillante, adorée des dessinateurs
et des publicitaires. Ses 1 093 brevets américains demeurent inégalés.
C'est un hommage à ses talents d'inventeur, d'homme d'affaires
et de promoteur que beaucoup pensent que nous devons notre mode de vie
à ses idées.
Qu'est-ce qui a fait le succès extraordinaire d'Edison
? Il était, de tous points de vue, un inventeur brillant, mais
de nombreux autres inventeurs contemporains brillants et brillants, aujourd'hui
largement oubliés : Elisha Gray et George Phelps dans la télégraphie
; Emile Berliner dans la téléphonie et l'enregistrement
sonore ; Edward Weston dans l'instrumentation électrique ; Elihu
Thomson, Frank Sprague et Nikola Tesla dans l'énergie électrique
et l'éclairage. Edison les a tous surpassés par l'étendue
de ses réalisations et la renommée publique qu'il a acquise.
Il a élargi la notion d'invention pour inclure bien plus que la
simple concrétisation d'une idée dans un artefact fonctionnel.
Sa vision englobait ce que le XXe siècle appellerait l'innovation
: invention, recherche, développement et commercialisation. De
plus, il a combiné une créativité prodigieuse avec
un sens aigu de l'influence naissante de la presse populaire, et c'est
là que réside la clé de sa stature historique.
En 1868, âgé de 21 ans, expert en télégraphie,
Thomas est embauché comme opérateur-télégraphiste
de nuit à la Western Union Company de
Boston et travaille en parallèle sur plusieurs projets d'inventions
dont une machine de comptage automatique de vote qui n'est pas retenue
par le Congrès des États-Unis car jugée trop rapide
Il en déduit un de ses futurs grands principes de base : «
Never invent something that people don't want » (ne jamais inventer
quelque chose dont les gens ne veulent pas).
En 1869, il tente sa chance à New York, où il trouve
une chambre de bonne dans les sous-sols de la chaufferie de la Bourse
de New York à Wall Street. Il dort à côté du
téléscripteur qui transmet les cours de l'or sur les marchés
financiers, et étudie cette machine de près.
Il aide un jour le télégraphiste de la Western Union à
résoudre une panne importante et se voit proposer une confortable
place d'assistant de l'ingénieur en chef de la Western Union de
New York, aux appointements de 300 dollars, avec pour mission d'améliorer
le téléscripteur de la Bourse de New York. Parallèlement,
il étudie à la Cooper Union qui lui permet, grâce
à des cours gratuits, d'augmenter ses connaissances en chimie.
Edison installe ses ateliers aux numéros 10 et 12 de Ward Street,
à Newark, dans le New Jersey. Enfin, il devient propriétaire
de sa propre usine, qui se spécialise dans la production de matériel
télégraphique et l'amélioration de la vitesse d'exécution
de la machine à écrire.
Outre ses travaux sur la plume et la presse électriques, future
machine à polycopier, il améliore en 1871 le fonctionnement
de la machine à écrire brevetée par Christopher Scholes,
à la demande de l'Automatic Telegraph Company.
La "Gold and Stock Telegraph Company" était une société
constituée à New York en août 1867 pour exploiter
le téléscripteur boursier d'Edward Calahan. Le 27 août
1869, elle acquit la Gold and Stock Reporting Company, y compris les brevets
d'Edison détenus par la société.
En février 1870, Edison commença à travailler sous
contrat avec des dirigeants de la société. Deux de ses sociétés,
American Printing Telegraph et Financial and Commercial Telegraph, furent
acquises par la Gold and Stock en 1870. Le 26 mai 1871, Edison signa un
contrat de cinq ans comme électricien-conseil et inventeur pour
Gold and Stock. Au même moment, Western Union prit le contrôle
de la société.
Une page détaille le travail d'Edison
en télégraphie.
Le 25 décembre 1871, il épouse Mary Stilwell,
une des employées de son laboratoire, âgée de quinze
ans, qui décède prématurément à l'âge
de 28 ans, laissant Thomas veuf avec trois enfants : Marion Estelle
Edison, Thomas Alva Edison Jr. et William Leslie Edison
.
Il se remariera à Mina Miller en 1886, avec qui il
aura trois autres enfants : Madeleine Edison, Charles Edison
et Theodore Miller Edison.
L'American Automatic Telegraph Company était une
société probablement créée en août 1875
par des investisseurs de l'Automatic Telegraph Company d'origine afin
de contester l'utilisation des brevets d'Edison sur les systèmes
automatiques par l'Atlantic and Pacific Telegraph Company sans compensation
adéquate. Edison céda ses brevets à la nouvelle société
en décembre 1875.
sommaire
Edison patron d'entreprise
L'inventeur américain amène quelques perfectionnements
à l invention révolutionnaire du téléphone,
avant de quitter son atelier de Newark en 1875 pour Menlo Park dans le
New Jersey. Ainsi est baptisé son laboratoire de recherche industrielle.
Près de New York, il travaillera désormais avec l'aide d'une
équipe restreinte, dont chaque membre possède son logement
sur le site, à inventer et à innover.
Déposé le 05 septembre 1876 Brevet
192 296 "Acoustic Télégraph" accordé
le 10 Octobre 1876
Déposé le 4 Mars 1876, du Brevet
198 087 puis le Brevet 198
088 "Téléphonie Télégraph"
le 11 décembre 1877
suivi du Brevet 198 089
"Téléphonic Or Electro Harmonic Télégraphs"
le 11 décembre 1877.Industriel en 1878, lors d'une partie
de pêche au lac Battle dans la Sierra Madre, État du Wyoming,
Edison observe à quel point les fibres d'un morceau de bambou (de
sa canne à pêche), jeté au feu, brillent sans se désintégrer.
Cette observation lui inspire l'idée d'utiliser un filament fortement
chauffé par un courant électrique à l'intérieur
d'une ampoule hermétique, de laquelle on a enlevé l'air
par une pompe à vide, pour produire de la lumière.
1878 Le phonographe
Avant de s'interesser aux téléphones de Edison ou la
lampe, le phongraphe a été une de ses plus grandes
invention.
Le Français Édouard-Léon Scott de Martinville
avait déjà enregistré des sons sur papier en 1857,
inventant ainsi la phonautographie, enregistrement visuel sans possibilité
de reproduction. En avril 1877, un autre inventeur français, Charles
Cros, adresse à l'Académie des sciences, un mémoire
décrivant le principe d'un appareil de reproduction des sons, qu'il
nomme paléophone, et réussit un enregistrement, mais
bute à son tour sur le problème de la reproduction de ces
sons, visiblement enregistrés mais que l'on ne peut écouter.
Les deux chercheurs n'ont pas trouvé le moyen adéquat pour
résoudre ce problème, il leur manque ce qui ferait d'eux
les inventeurs de l'enregistrement sonore ; ils n'en sont que les précurseurs.
Au même moment, Edison achève la mise au point de son phonographe,
capable non seulement d'enregistrer mais aussi de restituer toute forme
de sons dont la voix humaine. Les premiers phonographes sont munis d'un
cylindre phonographique d'acier en rotation, couvert d'une feuille d'étain,
et la gravure est effectuée par une aiguille d'acier transformant
les sons reçus en vibrations verticales qui tracent un sillon continu,
le porte-aiguille se déplaçant horizontalement le long du
cylindre. L'enregistrement, limité au début à une
ou deux minutes, est lu par la même aiguille dont les vibrations
sur un diaphragme mince sont amplifiées par un cornet acoustique.
Le cylindre est remplacé plus tard par une galette de cire durcie
après enregistrement.
En France dans La
Semaine du Clergé
du 10 Octobre 1877 figure le premier article relatif à
l'invention du phonographe, signé Le Blanc. Sous le pseudonyme
de ce chroniqueur scientifique se cache l'abbé Lenoir, un ami de
Charles Cros. Pour la première fois, le mot phonographe est employé
pour désigner l'invention décrite quelques mois plus tôt
par le poète dans son pli cacheté adressé le 18 avril
1877 à l 'Académie des Sciences.
La même année que Charles Cros, le 17 juillet 1877, Thomas
A Edison décrit un appareil qui enregistre un message télégraphique
sur du papier qui ensuite pouvait être envoyé de nouveau
par télégraphie. Il en conclut qu'un message téléphonique
peut être enregistré de la même manière.
On a là l'exemple d' une fécondation croisée de deux
techniques, celle du télégraphe et du téléphone.
Le matin suivant, il se rend compte qu'il n'enregistre pas seulement un
message mais un son.
18.- Juillet 1877 - Esquisse d'un " appareil parlant " 
Une fois esquissé, il fera réalisé le prototype par
son assistant John Kruesi du 4 au 6 décembre 1877. Thomas A Edison
teste alors la nouvelle machine en chantant "Mary had a little lamb."
A sa grande surprise, la " machine parlante " répèta
la chanson.
Il en fit ensuite la démonstration dans les bureaux du Scientific
American à New York City qui relate l'évènement dans
son édition du 22 décembre 1877. Auparavant, Thomas A Edison
avait déposé sa demande de brevet le 19 décembre
1877 pour son "phonographe".
Le brevet fut accepté le 17 fèvrier 1878 et décrivait
un appareil très simple.

Archives Edison "
The Edison papers "
Antoine Bréguet,
dans la Revue des deux mondes de juillet-août 1878 sur «
La Transmission de la parole : le phonographe, le microphone, laérophone
», insiste sur laptitude du Nouveau Monde à concevoir
mais surtout mettre en uvre les avancées du progrès
technique.
" Aux Etats-Unis, tout devient franchement commerce
Thomas Edison est peut-être lexemple le plus frappant de notre
époque dun physicien prodigieusement fécond qui nest
jamais tenté de recherches abstraites
Nous avions annoncé, il y a déjà plus de six mois,
quun appareil capable denregistrer les sons de la voix humaine
était sur le point de faire son apparition. Cette prophétie,
alors presque téméraire, sest réalisée
aujourdhui. Plusieurs esprits distingués soccupaient
à la fois de trouver une solution de ce séduisant problème.
Cest à lAmérique que revient la gloire davoir
présenté le premier phonographe, le seul encore pour le
moment. Il est difficile de concevoir un appareil plus simple que celui
dEdison."
Mai 1880 obtention du brevet sur le "Phonograph" Brevet
227 679
A propos de ces deux inventions le Téléphone et le
Phonographe il y a un beau récit d'un journaliste Maurice
Dreyfous à Paris, en 1913
" Ce
qu'il me reste à dire : un demi siècle de choses vues
et entendues (1848-1900)" :
...
J'étais installé rue de la Bourse depuis fort peu de
temps, lorsque je reçus la visite d'un jeune journaliste prodigieusement
débrouillard, qui était accompagné d'un Américain
à grosses lunettes d'or, parlant fort mal le français,
lequel avait nom Roosevelt.
Tous deux m'invitèrent à venir voir, dans une boutique
située juste en face de chez moi, un instrument bizarre, que
Roosevelt désignait sous le nom de plume électrique.
(Il prononçait « le ploume électric ».)
C'était la plus stupide de toutes les inventions. Elle consistait
en une sorte de petite batterie électrique actionnant une aiguille,
prise dans un tube. On écrivait en tenant le tube comme un
porte-plume. L'aiguille toujours en mouvement piquait d'une série
de petits trous un papier sur lequel, on étendait, au moyen
d'un. rouleau de l'encre d'imprimerie. Grâce à ce dispositif,
on pouvait faire un nombre indéfini de copies.
C'est cet objet inepte que le groupe d'Américains installé
rue de la Bourse considérait comme des plus extraordinaires
et destiné à les enrichir.
Ce groupe d'Américains comportait trois personnages principaux
: Roosevelt déjà nommé, Graham
Bell, que les autres avaient l'air de considérer
comme un personnage de médiocre importance, et enfin, un homme
actif, insinuant, toujours en vedette, aimable, empressé, qui
n'était ni grand ni petit, plutôt gras que maigre.
Alors que les autres jargonnaient à peine le français,
il le parlait à peu près bien, mais avec un accent difficile
à définir, ni anglais, ni allemand, ni français
non plus. Il parlait pour eux tous, il était le metteur en
uvre de toute l'aventure.. Il n'avait pas le sol, et il eût
été très difficile de lui assigner une profession
définie. Il se targuait vaguement du titre de docteur en médecine,
mais il ne se parait jamais de ce titre dans ses relations qui, alors,
n'étaient pas très étendues. Il se contentait
de s'appeler, avec une aimable simplicité, Cornélius
Herz.
A côté de la plume électrique, il y avait trois
inventions :
1 - Une lampe électrique au charbon dont l'un des charbons
était en forme de tige comme celui des appareils de démonstration,
en usage dans les laboratoires d'étude, tandis que l'autre,
là résidait la nouveauté était en forme
de pion de damier. Un mouvement d'horlogerie l'animait d'un va-et-vient
et la largeur de la surface productrice d'étincelles multipliait
les ressources d'incandescence. Nos inventeurs comptaient beaucoup
sur cette lampe je crois que leurs espoirs ont été déçus.
Tout au moins a-t-elle eu l'avantage de servir de guide aux ingénieurs
qui ont créé les lampes électriques au charbon
encore en usage aujourd'hui.
2 - Il y avait bien aussi, dans la boutique où nos inventeurs
exhibaient la plume électrique, un drôle de joujou,
une drôle de mécanique.
Au moyen d'un cornet, d'une sorte de porte-voix retourné, on
envoyait des paroles sur un petit appareil posé sur un cylindre
bardé comme un perdreau d'une pâte sur laquelle on collait
une feuille d'étain très mince.
Tout en parlant dans le cylindre, on tournait une petite manivelle
qui faisait reculer le cylindre à mesure qu'on parlait. Puis,
cette première manuvre étant terminée,
on actionnait la manivelle dans le sens opposé, et la mécanique
répétait, avec une voix de polichinelle essoufflé,
ce qu'on venait de dire dans le cornet récepteur.
Ces messieurs comptaient sur cette amusante machine pour l'exploiter
sur les champs de foire.
Ils l'avaient, dès le premier jour, appelée phonographe.
3 - Enfin, dans la même boutique, se trouvait un petit
appareil dont ses importateurs voyaient vaguement l'application pratique.
Il se composait d'une paire de tubes de bois surmontés d'une
rondelle qui leur donnait l'aspect d'une patère de rideaux.
Tout un mécanisme spécial s'y trouvait enfermé,
les deux appareils étaient reliés entre eux par un fil
métallique, recouvert de soie.
On mettait l'un d'eux devant sa bouche, et l'autre à l'oreille
du voisin, le voisin, alors, entendait ce qui avait été
dit dans l'autre tube.
C'était encore un joujou. Toutefois ce joujou, présenté
à l'Académie des Sciences par l'illustre Bréguet,
avait déjà été pris au sérieux
dans le monde savant. Lorsque l'Académie des Sciences fut appelée
à le voir, il n'en existait que deux exemplaires.
C'était le téléphone de Graham Bell.
Elle le reçut avec une curiosité froide et défiante.
Au sortir de la séance, Graham Bell n'eut rien de mieux à
faire que de le replacer dans la boutique de la rue de la Bourse,
où il fonctionna pour la joie des voisins.
A quelques jours de là, Graham Bell et Cornelius Roosevelt,
flanqués de l'inévitable Cornelius Herz, tout joyeux,
me racontaient le succès d'une première expérience
qu'ils venaient d'exécuter entre une maison de la rue Vivienne,
et une maison de la place de la Bourse située à une
centaine de mètres de celle-ci. C'est là que fut donné
le premier coup de téléphone qui ait retenti en France,
et peut-être même en Europe.
Cornélius Herz se démena, intrigua jusqu'à ce
qu'il eût abordé le ministre compétent, et obtenu
de lui l'autorisation de se servir des lignes télégraphiques
pour faire un essai de conversation entre Versailles et Paris. L'expérience
réussit, on causa entre le palais de Versailles, et le cabinet
du Ministre. Le lendemain, l'invention. du téléphone
était lancée.
Il ne restait plus qu'à la vulgariser pour arriver à
l'exploiter. C'était là une grosse affaire.
Cornelius Herz s'y employa, avec intelligence et ténacité.
Il ne se faisait point faute de chercher, partout où il le
pouvait, les gens qui consentiraient à s'abonner au téléphone,
même en payant très bon marché. Il n'en trouvait
guère.
Le phonographe réussit beaucoup plus facilement que
le téléphone. Le jeune journaliste qui marchait de pair
avec la troupe d'Américains, eut l'idée ingénieuse
d'organiser des auditions du phonographe dans une salle du boulevard
des Capucines, ordinairement consacrée à des conférences.
La première représentation du phonographe est restée
pour lui et pour moi quelque chose de mémorable.
La stupéfaction des invités, en entendant cette mécanique,
qui parlait toute seule, fut bien l'une des impressions les plus bouffonnes
que jamais des hommes aient ressenties.
Un employé spécial faisait un boniment qu'il commençait
chaque fois en ces termes
« Monsieur le phonographe, parlez-vous français ? »
L'appareil ripostait en nasillant Oui,monsieur. Oui, oh! alors c'est
très bien! » Nos auditeurs se tordirent de rire, mais
leur gaîté devint délirante lorsqu'on eut placé
des chanteurs de l'Opéra devant l'appareil et quand la mécanique
proclama, sur l'air de Guillaume Tell, et avec des accents de baryton
traduits par Polichinelle A mon pays je dois la vie, Il me devra la
liberté
Le tout se terminait par un couac et par un bruit de friture spécial
et jusqu'alors inconnu.
Pendant tout l'hiver, chaque soir, moyennant dix ou vingt sous par
personne, le phonographe proclama, devant des salles pleines, qu'il
parlait français ; qu'il était très bien et qu'il
avait été inventé par Edison.
Puis chose assez curieuse pendant bien des années, les représentations
de phonographes furent abandonnées aux seuls tenanciers des
baraques foraines.
Quant au téléphone, il a subi bien des transformations,
mais il n'en reste pas moins que l'appareil de Graham Bell, en sa
forme primitive ou à peu près, existe encore d'une façon
courante dans certains postes téléphoniques.
On eut bien vite oublié la quasi indifférence qui l'a
accueilli à son début au temps où Roosevelt et
ses partners coiffés de leur idée « du ploume
électric» ne le présentaient qu'en seconde ligne.
Maurice Dreyfous Paris, 1913 |
En 1879-1880, en rivalité directe avec l'Anglais
Joseph Swan, Edison expérimente et brevète
l'ampoule électrique à base de filament en bambou du Japon
sous basse tension électrique à l'intérieur d'une
ampoule de verre vidée de son air, après avoir testé
6 000 substances végétales qu'il a fait récolter
dans le monde entier, disposant d'un budget de 40 000 dollars. Sans être
les inventeurs de l'ampoule électrique, l'équipe d'Edison
et celle de Joseph Swan ont apporté des contributions essentielles
au développement industriel de l'ampoule à incandescence.
sommaire
LE MICROPHONE A CHARBON
En France on a découvert les travaux de Edison
à travers le livre " LE TÉLÉPHONE LE MICROPHONE
ET LE PHONOGRAPHE PAR
LE COMTE TH . DUMONCEL" en 1878
Le téléphone de M. Edison. L' un des premiers et
des plus intéressants perfectionnements apportés au téléphone
de Bell, est celui qui a été combiné dans la première
moitié de l'année 1876 par M. Edison. Ce système
est, est à la vérité, plus compliqué que celui
que nous avons étudié précédemment, car il
met à contribution une pile, et l'appareil transmetteur est différent
de l'appareil récepteur ; mais il est moins susceptible d'être
influencé par les causes extérieures et permet des transmissions
à plus grande distance. Le téléphone de M. Edison
, comme celui de M. Gray, dont nous avons déjà eu occasion
de parler, est fondé sur l' action de courants ondulatoires déterminés
par des variations de résistance d' un médiocre conducteur
interposé dans le circuit, et sur lequel réagissent les
vibrations d' un diaphragme devant lequel on parle.
Seulement, au lieu d'employer un conducteur liquide qui ne peutjamais
être utilisé pratiquement, M. Edison a cherché à
mettre à contribution les corps solides semi-conducteurs. Ceux
qui lui offrirent le plus d'avantages , à ce point de vue, furent
le graphite et le charbon , surtout le charbon résultant du noir
de fumée comprimé. Ces substances, en effet, étant
introduites dans un circuit entre deux lames conductrices dont l'une est
mobile , sont susceptibles de modifier la résistance de ce circuit
dans le même rapport à peu près que la pression qui
est exercée sur elles par la lame mobile, et l' on conçoit
que pour obtenir avec ce système les courants ondulatoires nécessaires
à la reproduction des sons articulés, il suffisait d'introduire
un disque de plombagine ou de noir de fumée entre la lame vibrante
d' un téléphone et une lame de platine mise en rapport avec
la pile. La lame du téléphone étant mise en communication
avec le fil du circuit, il devait résulter des vibrations de cette
lame devant le disque de charbon, une série de pressions croissantes
et décroissantes, donnant lieu à des effets correspondants
dans l' intensité du courant transmis , et ces effets devaient
réargir d'une manière analogue aux courants ondulatoires
déterminés par l'induction dans le système de Bell
. Toutefois, pour obtenir de très-bons résultats , plusieurs
dispositions accessoires étaient nécessaires, et nous représentons
( fig. 26) l' une des dispositions qui ont été données
à cette partie du système téléphonique de
M. Edison.

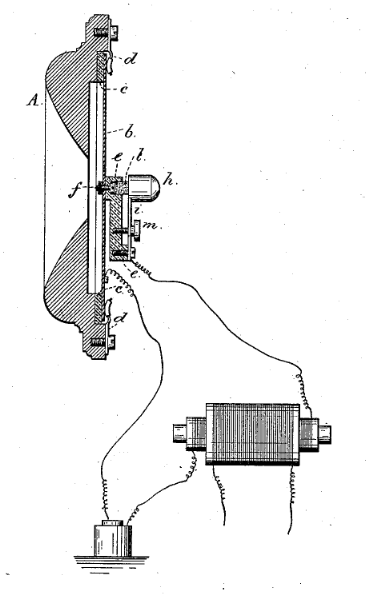
Dans cette figure, l' appareil est vu en coupe, et il se rapproche beaucoup
, quant à la forme , du téléphone de Bell . L L'
est la lame vibrante, O O , l'embouchure, M le trou de cette embouchure,
N N N la cage de l' appareil qui est construite ainsi que l'embouchure
en ébonite et qui présente au-dessous de la lame une avité
assez spacieuse et un trou tubulaire qui est creusé dans le manche.
A sa partie supérieure, ce tube est continué par un rebord
cylindrique muni d' un pas de vis sur lequel est vissée une petite
bague présentant une saillie intérieurement, et c'est à
l'intérieur de ce tube que se trouve disposé le système
rhéostatique. Celui-ci se compose d'abord d' un piston E , adapté
à l'extrémité d' une longue vis E F, dont le bouton
F en tournant permet de faire avancer ou reculer le piston d' une certaine
quantité. Au-dessus de ce piston , se trouve adaptée une
lame de platine trèsmince A reliée par une lamelle flexible
et un fil à un bouton d' attache P . Une autre lame B, exactement
semblable, est reliée avec le bouton d'attache P , et c'est entre
ces deux lames qu'est placé le disque de charbon C. Ce disque est
constitué avec du noir de fumée de pétrole comprimé,
et sa résistance est d'un ohm ou de 1 00 mètres de fil télégraphique.
Enfin un disque d'ébonite est appliqué sur la lame de platine
supérieure B , et un tampon élastique composé d'
un morceau de tube de caoutchouc G et d'un disque de liége H, est
interposé entre la lame vibrante LL et le disque B , afin que les
vibrations de cette lame ne soient pas arrêtées par l'obstacle
rigide constitué par l'ensemble du système rhéostatique.
Quand ces différentes pièces sont en place, on règle
l'appareil au moyen de la vis F, et ce réglage est facile puisqu'il
suffit de la serrer ou de la desserrer jusqu'à ce que le téléphone
récepteur donne son maximun de son .
Dans un nouveau modèle représenté ( fig. 27), et
qui a fourni les meilleurs résultats pour la netteté des
transmissions, la lame vibrante LL est main
tenue et appuyée contre les disques du conducteur secondaire en
charbon C , par l' intermédiaire d' un petit cylindre de fer A
au lieu d' un tampon en caoutchouc, et la pression est réglée
par une vis placée au-dessous de e . L'embouchure E de l'appareil
est plus saillante, et le trou plus large . Enfin il n'y a plus de manche
à l'appareil dont l'enveloppe est en fonte nickelée. Le
disque rigide b qui appuie sur la première lame de platine p est,
d' un autre côté, en aluminium au lieu d'être en ébonite.
Le téléphone récepteur ressemble assez à celui
de . Bell. Il présente néanmoins quelques différences
que l' on peut reconnaître par l' inspection de la fig 28 .
Ainsi l'aimant N S' est recourbé en fer à cheval, et la
bobine magnétisante E recouvre seulement un des pôles N ;
ce pôle occupe précisément le centre de la lame vibrante
LL, tandis que le second pôle est près du bord de cette lame.
Les dimensions elles-même de la lame sont considérablement
réduites ; sa surface est à peu près celle d' une
pièce de cinq francs, et elle est enclavée dans une espèce
de rainure circulaire qui la maintient dans une position parfaitement
déterminée. En raison de cette disposition, le manche de
l'instrument est en bois plein, et l' espace vide où se trouve
le système électro-magnétique est un peu plus développé
que dans le modèle de Bell ; mais l'on s'est arrangé de
manière à éviter les échos et à en
faire une sorte de caisse sonore apte à amplifier les sons. La
disposition du système électro-magnétique par rapport
à la lame vibrante doit évidemment augmenter aussi la sensibilité
de l'appareil, car le pôle S étant en contact intime avec
la lame LL , celle-ci se trouve polarisée et peut recevoir beaucoup
plus énergiquement les influences magnétiques du second
pôle N, qui en est
distant de l'épaisseur d' une forte feuille de papier.
Dans les deux appareils de M. Edison ( récepteur et transmetteur)
la partie supérieure CC correspondante à la lame vibrante,
au lieu d'être fixée par des vis sur la partie attenante
au manche, est vissée sur cette partie elle-même, ce qui
permet de démonter beaucoup plus facilement l'instrument.
M. Edison a , du reste, beaucoup varié la forme de ses appareils,
et aujourd'hui leur enveloppe est en métal avec une embouchure
d'ébonite en forme d'entonnoir. Ayant constaté, comme du
reste l'avait fait avant lui M. Elisha Gray, que les courants induits
sont plus favorables aux transmissions téléphoniques que
les courants voltaïques , M. Edison transformales courants de pile
passant par son transmetteur en courants induits, et cela en leur faisant
traverser le circuit primaire d' une bobine d'induction bien isolée
; le fil de ligne était alors mis en communication avec le fil
secondaire de la bobine. Nous rapporterons plus tard des expériences
qui montreront les avantages de cette combinaison; pour le moment, nous
ne faisons que la signaler, car elle fait aujourd'hui partie intégrante
de presque tous les systèmes de téléphones à
pile. ...
Parmi les documents intéressants déposés
au Laboratoire Orange figure une lithographie, de la taille d'un dessin
de brevet ordinaire, intitulée « Premier téléphone
enregistré ».
Cette affirmation remonte à l'époque de la guerre et de
la controverse acharnée quant à l'invention du téléphone.
L'appareil présenté, fabriqué par Edison en 1875,
était en réalité inclus dans une réserve déposée
le 14 janvier 1876, un mois avant Bell ou Gray.
Il représente un petit solénoïde, dont l'extrémité
du piston est fixée à la membrane d'une chambre de résonance.
Edison affirme que, bien que l'appareil puisse être utilisé
comme magnétotéléphone, il ne l'a pas inventé
pour transmettre la parole, mais comme appareil d'analyse des ondes complexes
issues de divers sons. Il a été fabriqué dans le
cadre de ses recherches sur les télégraphes harmoniques.
Il n'a pas testé l'effet des ondes sonores produites par la voix
humaine avant l'arrivée de Bell quelques mois plus tard ; Mais
il découvrit alors que cet appareil, fabriqué en 1875, pouvait
servir de téléphone.
Dans ses témoignages et ses déclarations publiques, Edison
a toujours attribué à Bell le mérite de la découverte
de la transmission de la parole articulée en parlant contre un
diaphragme placé devant un électro-aimant ; il convient
toutefois de noter ici, en passant, le fait curieux qu'il avait effectivement
produit un appareil capable de parler, avant 1876, et qu'il était
donc très proche de Bell, qui fit un grand pas en avant.
La valeur et l'importance du travail d'Edison dans le développement
du transmetteur à charbon se trouvent clairement dans la décision
du juge Brown de la Cour d'appel des États-Unis, siégeant
à Boston, le 27 février 1901, déclarant nul le célèbre
brevet Berliner du système téléphonique Bell. Le
brevet de Bell de 1876 était d'une portée universelle, à
laquelle seul le principe de la rupture, s'il était applicable,
aurait pu échapper.
Il y était souligné que Bell avait découvert le grand
principe selon lequel les ondulations électriques induites par
les vibrations d'un courant produit par des ondes sonores peuvent être
représentées graphiquement par la même courbe sinusoïdale
qui exprime les vibrations sonores originales elles-mêmes ; ou,
en d'autres termes, qu'une courbe représentant les vibrations sonores
correspondra précisément à une courbe représentant
les impulsions électriques produites ou générées
par ces mêmes vibrations sonores comme, par exemple, lorsque
ces dernières frappent un diaphragme faisant office d'armature
d'un électro-aimant, et qui, par un mouvement de va-et-vient, crée
les impulsions électriques par induction. En clair, les impulsions
électriques correspondent en forme et en caractère à
la vibration sonore qu'elles représentent.
Ce principe, réduit à une « revendication »
de brevet, a régi l'art aussi fermement qu'une bulle papale a permis
à l'Espagne de dominer le monde occidental pendant des siècles.
La revendication est formulée ainsi : « La méthode
et l'appareil de transmission télégraphique de sons vocaux
ou autres, tels que décrits ici, en provoquant des ondulations
électriques de forme similaire aux vibrations de l'air accompagnant
lesdits sons vocaux ou autres, sensiblement comme indiqué. »
Il fallut cependant longtemps avant que le caractère inclusif de
cette concession sur tous les téléphones possibles ne soit
compris ou reconnu, et les litiges pour et contre le brevet durèrent
toute sa durée de vie. Au départ, la valeur commerciale
du téléphone était peu appréciée du
public, et Bell eut les plus grandes difficultés à réunir
des capitaux ; mais parmi les inventeurs clairvoyants, il y eut immédiatement
une « ruée vers les mines d'or ». Le premier appareil
de Bell était médiocre, les résultats étant
décrits par lui-même comme « insatisfaisants et décourageants
», ce qui était presque aussi vrai pour les appareils qu'il
exposa au centenaire de Philadelphie.
Les nouveaux venus, comme Edison, Berliner, Blake, Hughes, Gray, Dolbear
et d'autres, apportèrent une mine d'idées, une ingéniosité
mécanique et une capacité d'invention qui firent bientôt
du téléphone l'une des avancées les plus remarquables
du siècle et l'un des apports les plus précieux aux ressources
humaines. L'uvre d'Edison fut, comme toujours, marquée par
une infinie variété de méthodes ainsi que par la
capacité à saisir l'élément essentiel du succès
pratique. Chacun des six millions de téléphones en service
aux États-Unis, et des millions d'autres dans le monde, porte l'empreinte
de son génie, car ces appareils portaient autrefois son nom. Pendant
des années, son nom fut apposé sur chaque appareil téléphonique
Bell, et ses brevets furent un pilier de ce que l'on a appelé le
« monopole Bell ».
Parlant de ses propres efforts dans ce domaine, M. Edison déclare
: En 1876, je repris mes expériences pour la Western Union et
M. Orton. Cette fois, il s'agissait du téléphone. Bell inventa
le premier téléphone, composé du récepteur
actuel, utilisé à la fois comme émetteur et comme
récepteur (de type magnéto). On tenta de le commercialiser,
mais il échoua en raison de sa faible intensité et des bruits
parasites qui parvenaient sur ses fils pour diverses raisons. M. Orton
souhaitait que je m'en empare et que je le commercialise. Ayant également
travaillé sur un système télégraphique utilisant
des diapasons, en même temps que Bell et Gray, je connaissais bien
le sujet. Je me lançai et produisis rapidement l'émetteur
à charbon, aujourd'hui universellement utilisé.
Des tests furent effectués entre New York et Philadelphie,
puis entre New York et Washington, en utilisant les lignes Western Union
classiques. Les bruits étaient si forts qu'on n'entendait plus
un mot avec le récepteur Bell utilisé comme émetteur
entre New York et Newark, dans le New Jersey. M. Orton, W.K. Vanderbilt
et le conseil d'administration assistèrent aux tests et y participèrent.
La Western Union les installa ensuite sur des lignes privées. M.
Theodore Puskas, de Budapest, en Hongrie, fut le premier à proposer
un central téléphonique, et peu après, des centraux
furent établis. Le service téléphonique fut confié
à Hamilton McK. Twombly, le gendre le plus compétent de
Vanderbilt, qui en fit un succès. La compagnie Bell, de Boston,
lança également un central, et la bataille fit rage : la
Western Union piratait le récepteur Bell, et la compagnie de Boston
piratait l'émetteur Western Union. À cette époque,
je voulais qu'on s'occupe de moi. J'ai laissé entendre ce désir.
Puis M. Orton me fit appeler. Il avait appris que les inventeurs ne faisaient
pas d'affaires. par la procédure habituelle, et j'ai conclu qu'il
clôturerait le dossier immédiatement. Il m'a demandé
combien je voulais. J'avais décidé que cela valait certainement
25 000 $, si jamais cela pouvait servir à quelque chose pour un
travail à la gare centrale ; c'était donc la somme que je
voulais obtenir avec obstination. Pourtant, le travail avait été
facile, et ne nécessitait que quelques mois, et j'étais
un peu hésitant et incertain. Je lui ai donc demandé une
offre. Il a immédiatement dit qu'il me donnerait 100 000 $. «
D'accord », ai-je dit. « Il est à vous à une
condition : vous ne payez pas la totalité en une seule fois, mais
me payez 6 000 $ par an pendant dix-sept ans », soit la durée
du brevet. Il a semblé ravi de le faire, et le dossier a été
clôturé. Mon ambition était environ quatre fois supérieure
à mes capacités commerciales, et je savais que je dépenserais
rapidement cet argent en expérimentations si j'obtenais la totalité
en une seule fois, alors j'ai arrangé les choses pour que ce ne
soit pas possible. J'ai ainsi économisé dix-sept ans. d'inquiétude
à cause de cet accident vasculaire cérébral."
Ainsi sont relatées avec modestie les débuts d'Edison dans
l'art du téléphone.
Avec son émetteur à charbon, il a introduit le principe
précieux de la variation de la résistance du circuit émetteur
en fonction des variations de pression, ainsi que la pratique essentielle
de l'utilisation de la bobine d'induction pour augmenter la longueur effective
du circuit de communication. Sans ces principes, la téléphonie
moderne n'aurait pas existé et ne pourrait pas exister. Mais Edison,
en téléphonie comme dans d'autres domaines, fut remarquablement
fécond et prolifique.
Ses premières inventions, réalisées en 1875-1876,
perdurent pendant de nombreuses années, notamment toutes sortes
d'instruments à charbon : le téléphone à eau,
le téléphone électrostatique, le téléphone
à condensateur, le téléphone chimique, divers téléphones
à magnéto, le téléphone à inertie,
le téléphone à mercure, le téléphone
à pile voltaïque, le transmetteur musical et l'électromotographe.
Tous furent effectivement fabriqués et testés.
En bref, la différence essentielle entre le téléphone
de Bell et celui d'Edison, c'est ceci : avec le les vibrations sonores
frappent un diaphragme en acier disposé à côté
du pôle d'un électroaimant à barreau, par lequel le
diaphragme agit comme une armature, et par son les vibrations induisent
de très faibles impulsions électriques dans la bobine magnétique.
Ces impulsions, selon la théorie de Bell, correspondent en forme
aux ondes sonores et passant sur les la ligne alimente la bobine magnétique
à l'extrémité réceptrice, et par la variation
du magnétisme provoque l'apparition du diaphragme récepteur
vibrait de la même manière pour reproduire les sons. Un seul
appareil est donc utilisé à chaque extrémité,
effectuant la double fonction d'émetteur et de récepteur.
Avec le téléphone, on utilise un circuit fermé sur
lequel est constamment circulant un courant de batterie, et inclus dans
ce circuit est un paire d'électrodes, dont l'une ou les deux sont
en carbone. Ces les électrodes sont toujours en contact avec une
certaine valeur initiale pression, de sorte que le courant circulera toujours
sur la circuit. L'une des électrodes est connectée au diaphragme
sur lequel les ondes sonores frappent, et le la vibration de ce diaphragme
provoque la pression entre les électrodes qui doivent être
modifiées en conséquence, et ainsi les effets d'une variation
du courant, entraînant la production de impulsions qui actionnent
l'aimant récepteur. Autrement dit, avec le téléphone
de Bell, les ondes sonores elles-mêmes génèrent les
impulsions électriques, qui sont donc extrêmement faibles.
Avec le téléphone Edison, les ondes sonores actionnent un
circuit électrique à valve, pour ainsi dire, et permettent
des variations dans un courant de toute force désirée.
Une deuxième distinction entre les deux téléphones
est la suivante :
Avec l'appareil de Bell, les impulsions électriques très
faibles générées par la vibration du diaphragme transmetteur
passent sur toute la ligne jusqu'à l'extrémité réceptrice,
et en conséquence, la longueur autorisée de la ligne est
limitée à quelques kilomètres dans des conditions
idéales. Avec le téléphone d'Edison le courant de
la batterie ne circule pas sur la ligne principale, mais traverse le circuit
primaire d'une bobine d'induction, par quelles impulsions correspondantes
d'un potentiel énormément plus élevé sont
envoyés sur la ligne principale jusqu'au destinataire.
Par conséquent, la ligne pourrait s'étendre sur des centaines
de kilomètres.
La décision dEdison dutiliser le carbone sappuie
sur ses efforts pour comprendre les subtilités du des câbles
du télégraphe quil a vu en Angleterre en 1873. Afin
de mener des expériences en laboratoire, il construit des câbles
artificiels utilisant des rhéostats à haute résistance
constitués de tubes de verre remplis de carbone. Il a constaté
que ses câbles artificiels n'étaient pas fiables car la résistance
du carbone variait en raison du bruit et du mouvement, mais ce type de
résistance variable sensible était exactement ce dont il
avait besoin pour le téléphone.
Au fur et à mesure que les ondes sonores déplaçaient
le diaphragme, la pression sur le bouton changeait, modifiant ainsi la
résistance du courant.
Toujours dans le livre " LE TÉLÉPHONE
LE MICROPHONE ET LE PHONOGRAPHE PAR LE COMTE TH . DUMONCEL",
Comme on devait s'y attendre, des réclamations de priorité
devaient être la conséquence de la grande faveur qui a accueilli
l'invention de M. Hughes, et même en dehors de la réclamation
de M. Edison sur laquelle nous avons exprimé notre opinion *, nous
en trouvons plusieurs autres qui montrent que, si quelques effets du microphone
ont été découverts à différentes époques
avant M. Hughes, on n'y avait prêté qu'une très-médiocre
attention puisqu'ils n'ont même pas été publiés
, De ce nombre sont celles de M. Wentwork. Lacelles-Scott enregistrée
dans l' Electrician du 25 mai 1878, et celle de M. Weyher présentée
à la Société de Physiques de Paris au mois de juin
dernier ; mais elles n'ont guère d'importance, attendu que les
dates auxquelles remontent les expériences de ces savants sont
encore postérieures à celles des premières expériences
de M. Hughes ; celles-ci datent, en effet, du commencement de décembre
1877 , et ont même été montrées en janvier
1878 aux fonctionnaires de la Submarine Télégraph Company,
ainsi que le publie M. Preece dans une lettre
adressée aux différents savants.
* Nous reproduisons ci-dessous une lettre que sir William Thomson
a publiée au sujet de cette discussion :
« Monsieur,
Au plaisir que le public a éprouvé en prenant connaissance
de ces magnifiques découvertes qui , sous le nom de téléphone,
de microphone et de phonographe, ont tant étonné le monde
savant, est venu se mêler dernièrement, très-inutilement,
j'ai besoin de le dire, un des incidents les plus regrettables qui puissent
se produire. Il s'agit d' une réclamation de priorité accompagnée
d'accusation de mauvaise foi , qui a été lancée par
M. Edison contre une personne dont le nom et la réputation sont
depuis longtemps respectés dans l'opinion publique.
« Avant de faire intervenir le public dans une semblable affaire,
M. Edison aurait dû évidemment discuter sa réclamation
avec M. Preece qui était, depuis l'origine de toutes ses inventions
, en correspondance avec lui ; ou bien encore, il aurait pu, en s' adressant
directement aux journaux publics, établir sa réclamation,
en montrant avec calme la grande similitude qui pouvait exister entre
son téléphone à charbon et le microphone de M. Hughes
qui l' avait suivi . Le monde scientifique aurait alors pu juger le débat
avec calme, il aurait pu s' y intéresser et examiner sainement
ce qu'il pouvait y avoir de commun entre les deux inventions. Mais, par
son attaque violente dans les journauxcontre MM . Preece et Hughes , et
en les accusant de piraterie, de plagiat et d' abus de confiance, il a
ôté tout crédit à sa réclamation aux
yeux des personnes compétentes. Rien d'ailleurs n'était
moins fondé que ces accusations . M. Preece fit lui-même
la description détaillée du téléphone à
charbon de M. Edison à la réunion de l' Association britannique
qui eut lieu à Plymouth, en août dernier ; il en fit ressortir
le mérite, et les journaux publics en rendirent compte d'après
sa communication. Les magnifiques résultats présentés,
au commencement de l' année, par M. Hughes avec son microphone,
ont été décrits par lui-même sous une forme
telle, qu' il est impossible de mettre en doute qu' il n'ait travaillé
sur son propre fonds et en dehors de toutes les recherches de M. Edison
qu'il n' avait pas le plus petit intérêt à s'approprier.
« Il est vrai que le principe physique appliqué par M. Edison
dans son téléphone à charbon et par M. Hughes dans
son microphone est le même; mais il est également le même
que celui employé par M. Clérac , fonctionnaire de l'administration
des lignes télégraphiques françaises, dans son tube
à résistance variable qu' il avait donné à
M. Hughes et à d'autres en 1 866 pour des usages pratiques importants,
appareil qui , du reste dérive entièrementde ce fait signalé
il y a longtemps par M. du Moncel, que l'augmentation de pression entre
deux conducteurs en contact produit une diminution dans leur résistance
électrique."
Poursuivons : Edison a finalisé la forme de la disposition
du diaphragme et des boutons en février suivant.
Les boutons en carbone des premiers téléphones Edison commercialisés
par Western Union ont tous été fabriqués au laboratoire
Menlo Park. Le noir de fumée était produit au laboratoire
en tant que sous-produit sur les cheminées en verre de lampes à
pétrole qui brûlaient continuellement dans un petit hangar.
Le noir de fumée a ensuite été enlevé de la
vitre et enfoncé dans des boutons.
Dans le livre de James Baird McClure, "Edison and His Inventions
1890 " à propos du téléphone on peut lire comment
Edison raconte ses recherches :
« Ma première tentative de construction
d'un téléphone articulé », explique
M. Edison, « a été réalisée
avec l'émetteur Reiss et l'un de mes récepteurs résonants.
Mes expériences dans ce domaine, qui se sont poursuivies jusqu'à
la production de mon téléphone à charbon actuel,
couvrent plusieurs milliers de pages de manuscrit. Je ne décrirai
cependant ici que quelques-unes des plus importantes.
Lors de l'une de mes premières expériences, j'ai intégré
un émetteur Reiss simplifié, doté d'une vis en
platine face au diaphragme, dans un circuit contenant vingt éléments
de batterie et le récepteur résonant, puis j'ai placé
une goutte d'eau entre les pointes ; les résultats, cependant,
lorsque l'appareil était en fonctionnement, n'étaient
pas satisfaisants : l'eau se décomposait rapidement et
un dépôt de sédiments restait sur le platine. »
J'ai ensuite utilisé des disques fixés au diaphragme
et à la vis, avec quelques gouttes d'eau intercalées
et retenues par capillarité. Cependant, la décomposition
rapide de l'eau, impure, s'est poursuivie, et les mots sont sortis
du récepteur très confus. Diverses solutions acidulées
ont ensuite été essayées, mais les sons confus
et les décompositions ont été les seuls résultats
obtenus. Avec de l'eau distillée, je n'ai rien obtenu, probablement
parce qu'à l'époque j'utilisais des diaphragmes en fer
très épais, comme j'ai obtenu depuis de bons résultats ;
ou peut-être parce que mon oreille n'était pas encore
habituée à cette fonction et que je ne savais donc pas
quoi rechercher. Si tel était le cas, cela illustre bien le
fait observé par le professeur Mayer, à savoir que nous
ne parvenons souvent pas à distinguer les sons faibles dans
certains cas lorsque nous ne savons pas à quoi nous attendre.
De l'éponge, du papier et du feutrage, saturés de diverses
solutions, ont également été utilisés
entre les disques, et des lames de couteau ont été substituées
à ces dernières sans meilleur résultat. Des pointes
immergées dans des cellules électrolytiques furent également
testées, et les expériences avec diverses solutions,
dispositifs, etc. se poursuivirent jusqu'en février 1876, date
à laquelle j'abandonnai les fluides décomposables et
tentai de faire varier la résistance du circuit proportionnellement
à l'amplitude de vibration du diaphragme en utilisant une multitude
de pointes de platine, de ressorts et de bobines de résistance,
tous conçus pour être contrôlés par les
mouvements du diaphragme. Aucun de ces dispositifs ne fut efficace.
Au printemps 1876 et durant l'été suivant, je tentai
d'exploiter la grande résistance de fines couches de plomb
et de pierre à huile blanche d'Arkansas, sur du verre dépoli,
et c'est là que je réussis pour la première fois
à transmettre par fil de nombreuses phrases articulées.
Des ressorts fixés au diaphragme et de nombreux autres dispositifs
ont été conçus pour couper ou interrompre plus
ou moins le circuit du film de plombagine, mais les perturbations
que ces dispositifs eux-mêmes provoquaient dans les vibrations
réelles du diaphragme empêchaient l'obtention de résultats
pratiques.
Un de mes assistants poursuivit cependant les expériences sans
interruption jusqu'en janvier 1877, date à laquelle j'appliquai
la propriété particulière des semi-conducteurs
de faire varier leur résistance avec la pression, une propriété
que j'avais découverte en 1873 lors de la construction de rhéostats
pour câbles artificiels, utilisant du carbone, du plombagine
et d'autres matériaux en poudre, dans des tubes de verre.
Pour réaliser cette application, je construisis un appareil
muni d'un diaphragme portant en son centre un ressort élastique,
revêtu de platine. Devant celui-ci, je plaçai, dans une
coupelle fixée à une vis de réglage, des bâtonnets
de plombagine brut, combinés en proportions variables avec
des poudres sèches, des résines, etc. J'obtins ainsi
un téléphone produisant un son puissant, mais dont l'articulation
était assez médiocre ; une fois familiarisé
avec sa sonorité particulière, on n'éprouvait
cependant que peu de difficulté à comprendre une conversation
ordinaire. Après avoir mené une longue série
d'expériences avec des matériaux solides, je les ai
finalement abandonnés et les ai remplacés par des touffes
de fibres conductrices, constituées de soie enduite de plombagine
et d'autres semi-conducteurs. Les résultats étaient
alors bien meilleurs, mais si le volume sonore restait important,
l'articulation n'était pas aussi nette que celle du magnétotéléphone
du professeur Bell. De plus, l'instrument nécessitait des réglages
très fréquents, ce qui constituait une caractéristique
critiquable.
Après examen, la différence de résistance produite
par la variation de pression sur le semi-conducteur s'est avérée
extrêmement faible, et il m'est venu à l'esprit que,
comme une variation aussi minime dans un circuit de grande résistance
n'était qu'un facteur négligeable, dans le circuit primaire
d'une bobine d'induction, où une légère variation
de résistance serait un facteur important, cela me permettrait
d'obtenir immédiatement des résultats nettement meilleurs.
L'expérience, cependant, échoua en raison de la grande
résistance des semi-conducteurs alors utilisés.
Après de nouvelles expérimentations dans diverses directions,
j'ai été amené à croire que si je pouvais
réduire la résistance normale du semi-conducteur à
quelques ohms, tout en modifiant sa résistance par la pression
exercée par la membrane vibrante, je pourrais l'utiliser dans
le circuit primaire d'une bobine d'induction.
Arrivé à cette conclusion, j'ai construit un émetteur
dans lequel un bouton en matériau semi-conducteur était
placé entre deux disques de platine, dans une sorte de coupelle
ou de petit récipient. La connexion électrique entre
le bouton et les disques était maintenue par la légère
pression d'un tube en caoutchouc de 1,6 cm de diamètre et 1,6
cm de long, fixé à la membrane et reposant également
contre le disque extérieur. Les vibrations du diaphragme ont
ainsi pu produire la pression requise sur le disque de platine et
ainsi faire varier la résistance du bouton inclus dans le circuit
primaire de la bobine d'induction.
On a d'abord utilisé un bouton en plombagine massif, tel qu'il
est employé par les électrotypistes, et les résultats
obtenus ont été jugés excellents : tout
ce qui était transmis était assez distinct, mais le
volume sonore n'était pas supérieur à celui du
magnétotéléphone.
Afin d'obtenir des disques ou des boutons qui, avec une faible résistance
normale, pouvaient également, par une légère
pression, varier considérablement à cet égard,
j'ai immédiatement essayé une grande variété
de substances, telles que des oxydes conducteurs, des sulfures et
d'autres conducteurs partiels, parmi lesquels une petite quantité
de noir de fumée prélevé dans une lampe à
pétrole fumante et conservé comme curiosité en
raison de sa couleur noire intense.
Un petit disque fabriqué avec cette substance, placé
dans le téléphone, a donné d'excellents résultats :
l'articulation était distincte et le volume sonore était
plusieurs fois supérieur à celui des téléphones
fonctionnant selon le principe de la magnéto. Des recherches
ont rapidement démontré que la résistance du
disque pouvait varier de trois cents ohms à une fraction d'ohm
par simple pression, et que les meilleurs résultats étaient
obtenus lorsque la résistance de la bobine primaire, dans laquelle
le disque de carbone était inclus, était de six dixièmes
d'ohm et la résistance normale du disque lui-même de
trois ohms.
M. Henry Bentley, président de la Local Telegraph Company de
Philadelphie, qui a effectué une série exhaustive d'expériences
avec un ensemble complet de cet appareil sur les fils de la Western
Union Telegraph Company, a effectivement réussi à l'utiliser
sur un fil de 1160 kilomètres de long et a constaté
qu'il s'agissait d'un instrument utilisable sur des fils de 160 à
320 kilomètres, malgré le fait que ces derniers étaient
placés sur des poteaux avec de nombreux autres fils, ce qui
provoquait des courants induits suffisamment puissants pour détruire
complètement l'articulation du magnétotéléphone.
J'apprends également qu'il a constaté que l'instrument
était utilisable, lorsqu'il était intégré
à un circuit Morse, avec une batterie de huit ou dix stations
équipées d'un appareil Morse ordinaire. et que plusieurs
stations intermédiaires pouvaient échanger des affaires
téléphoniques sur un fil relié à un quadruplex
sans perturber ce dernier, et ce malgré l'action des puissants
courants inverses du quadruplex sur les diaphragmes du récepteur.
Il semblerait donc que le volume sonore produit par la voix avec cet
appareil compense largement le bruit causé par de telles actions.
En expérimentant avec mon téléphone afin de déterminer
s'il était possible de se passer du tube en caoutchouc reliant
le diaphragme au disque rhéostatique, tube qui présentait
des inconvénients en raison de sa tendance à s'aplatir
sous l'effet de vibrations continues, nécessitant ainsi un
réajustement de l'appareil, j'ai découvert que mon principe,
contrairement à tous les autres dispositifs acoustiques de
transmission de la parole, ne nécessitait aucune vibration
du diaphragme ; en fait, les ondes sonores pouvaient être
transformées en pulsations électriques sans l'intervention
d'aucun mécanisme. Voici comment je suis arrivé à
ce résultat :
Jai dabord remplacé le tube en caoutchouc reliant
le diaphragme aux disques par un ressort spiralé denviron
un quart de pouce de longueur, contenant quatre spires de fil. Jai
cependant constaté que ce ressort produisait une sonorité
musicale qui interférait quelque peu avec les effets produits
par la voix. Mais, dans lespoir de remédier à
ce défaut, jai continué à utiliser des
ressorts spiralés de fil plus épais, ce qui ma
permis de constater que larticulation devenait à la fois
plus claire et plus forte. Finalement, jai remplacé les
ressorts, progressivement rendus de plus en plus rigides, par une
substance solide, et jai obtenu des résultats très
nettement améliorés. Il mest alors venu à
lesprit que tout cela nétait quune question
de pression, et quil nétait pas nécessaire
que le diaphragme vibre. J'ai donc installé un diaphragme lourd,
d'un pouce et trois quarts de diamètre et d'un seizième
de pouce d'épaisseur, et j'ai solidement fixé le disque
et la plaque de carbone ensemble, de sorte que cette dernière
ne vibre pas aux sons les plus forts. Après essai, mes suppositions
se sont confirmées : l'articulation était parfaite
et le volume sonore était si puissant qu'une conversation chuchotée
à un mètre du téléphone était clairement
entendue et comprise à l'autre bout du fil. C'est donc la disposition
que j'ai adoptée pour mon appareil actuel, que j'appelle le
téléphone à charbon, afin de le distinguer des
autres. Les accessoires et connexions de cet appareil pour les circuits
longs sont illustrés à la figure 3.
fig 3
A est une bobine d'induction dont le fil primaire, P, d'une résistance
de plusieurs ohms, est placé autour du fil secondaire, au lieu
d'être à l'intérieur de celui-ci comme c'est habituellement
le cas. La bobine secondaire, J, en fil plus fin, a une résistance
de 150 à 200 ohms, selon la tension requise ; et le récepteur
téléphonique, R, est simplement constitué d'un
aimant, d'une bobine et d'un diaphragme. Un pôle de l'aimant
est relié au bord extérieur du diaphragme, et l'autre,
qui porte la bobine de fil d'environ 77 ohms de résistance
et est intégré à la ligne principale, est placé
juste en face de son centre.
« P R. » est le relais de signalisation dont
le levier, actionné par le courant provenant d'une station
éloignée sur la ligne à laquelle l'appareil est
connecté, ferme un circuit local contenant la sonnerie d'appel
vibrante, B, et donne ainsi l'alerte lorsqu'une communication vocale
est souhaitée.
Outre son rôle de commande de la sonnette d'appel, la batterie
locale B sert également à envoyer le signal d'appel.
S est un interrupteur dont le levier, placé en o, entre m et
«, déconnecte l'émetteur T et la batterie locale
E de la bobine A, laissant ainsi ce relais polarisé P R libre
de réagir aux courants de la station distante. Cependant, lorsque
cette station est sollicitée, le levier S est tourné
vers la gauche sur « et enfoncé plusieurs fois rapidement.
Le courant de la batterie locale traverse ainsi la bobine primaire
de A, induisant ainsi, à chaque fermeture et fermeture du circuit,
de puissants courants dans le secondaire j, qui passent dans la ligne
et actionnent la sonnette d'appel distante.
Une fois les signaux d'appel échangés, les deux stations
terminales placent leurs interrupteurs à droite sur m, introduisant
ainsi l'émetteur à charbon dans la ligne. leurs circuits
respectifs. La variation de pression produite par la parole contre
le diaphragme de l'un ou l'autre émetteur sert alors, comme
indiqué précédemment, à faire varier la
résistance du charbon et ainsi à produire des variations
correspondantes dans les courants induits. Ces derniers, agissant
à travers l'appareil récepteur, reproduisent à
la station distante ce qui a été dit dans l'appareil
émetteur.
fig 4
Pour les lignes de longueurs modérées, disons de un
à trente milles, une autre disposition, illustrée à
la figure 4, peut être avantageusement utilisée. La bobine
d'induction, la clé, la batterie et les téléphones
récepteurs et émetteurs portent les mêmes lettres
que dans la gravure précédente et sont en tous points
similaires à l'appareil représenté ; l'interrupteur
S, cependant, diffère quelque peu de celui déjà
décrit, mais est conçu pour une fonction similaire.
Lorsqu'une fiche est insérée entre 3 et 4, seuls le
relais ou avertisseur sonore R, la batterie E et la touche K sont
inclus dans le circuit principal, ce qui constitue la configuration
normale de l'appareil pour la signalisation. La batterie, généralement
composée d'environ trois éléments de type Daniell,
sert également de batterie locale et principale. Lorsqu'une
fiche est insérée entre 1, a et 4, l'appareil est disponible
pour la communication téléphonique. J'ai également
constaté, sur des lignes de 1 à 20 miles de longueur,
que l'appel ordinaire peut être supprimé et remplacé
par un dispositif simplifié.
fig 5
Ce dernier consiste simplement en un récepteur téléphonique
ordinaire, sur le diaphragme duquel repose un levier libre L, comme
illustré à la figure 5. Lorsque les courants induits
par la station distante agissent sur le récepteur R, le diaphragme
de ce dernier est mis en vibration, mais ne peut, à lui seul,
produire qu'un son relativement faible. Cependant, lorsque le levier
repose en son centre, un bruit aigu et pénétrant est
produit par les rebonds constants et rapides du levier, qui convient
ainsi parfaitement aux appels dans les stations où le bruit
est relativement faible.
Parmi les diverses autres méthodes de signalisation que j'ai
expérimentées, je peux citer la production d'une note
par la voix dans un petit téléphone Reiss ; l'utilisation
d'une anche auto-vibrante dans le circuit local ; et une roue
dentée à plusieurs engrenages, disposée de manière
à interrompre le circuit lorsqu'elle est mise en mouvement.
J'ai également utilisé des courants continus et induits
pour libérer le mécanisme d'horlogerie et ainsi déclencher
un appel. Lors de mes précédentes expériences
acoustiques, j'ai utilisé des diapasons dont les vibrations
devant des aimants provoquaient des courants électriques dans
les bobines entourant ces derniers.
Pour l'action ultérieure de ces courants sur des diapasons
similaires à une station intermédiaire, des cloches
ont été sonnées, et des signaux ont été
émis.
fig 6
La figure 6 illustre un tel dispositif. A et R sont deux diapasons
magnétisés, ayant la même fréquence de
vibration et placés à deux stations terminales. Des
électro-aimants m et niy sont placés en face d'une des
branches des diapasons à chaque station, tandis qu'une cloche,
C ou D, est placée en face de l'autre. Les bobines de l'aimant
sont connectées respectivement au fil de ligne et à
la terre. Lorsqu'une des diapasons est mise en vibration par une clé
de mise en marche prévue à cet effet, les courants produits
par l'approche et le retrait de l'une de ses branches magnétisées
vers l'aimant passent dans la ligne et vers les stations suivantes
où leur action fait vibrer la seconde diapason avec une amplitude
constamment croissante, jusqu'à ce que la cloche soit frappée
et le signal donné.
fig 7
Un autre appareil d'appel que j'ai utilisé est représenté
à la figure 7. Dans ce dispositif, deux petits pendules magnétiques,
dont les fréquences de vibration sont identiques, sont placés
devant des électro-aimants distincts, dont les hélices
se rejoignent dans le circuit principal. Lorsque l'un des pendules
est mis en mouvement, les courants générés par
ses oscillations avant et arrière devant l'électro-aimant
passent dans la ligne et, à la borne opposée, agissant
par l'intermédiaire de l'hélice, font vibrer le second
pendule à l'unisson du premier.
fig 8
La figure 8 illustre un type de téléphone électrostatique
fonctionnant par rapprochement ou retrait du diaphragme contenu en
A ou B d'un électrophore fortement chargé en C ou D.
Les vibrations du diaphragme émetteur perturbent la charge
aux deux extrémités de la ligne, produisant ainsi des
sons faibles. Une isolation parfaite est toutefois nécessaire,
et les deux appareils peuvent être utilisés à
la fois pour l'émission et la réception, mais les résultats
sont forcément très faibles.
fig 9
La figure 9 illustre un autre type de téléphone électrostatique.
Dans ce dispositif, des piles de Deluc, composées d'environ
20 000 disques chacune, sont contenues dans des tubes de verre,
A et B, et montées sur des supports en verre, en bois ou en
métal. Les diaphragmes, reliés électriquement
à la terre, sont également placés en face d'un
pôle de chaque pile, tandis que les pôles opposés
sont reliés par le conducteur de ligne. Toute vibration de
l'un ou l'autre diaphragme est donc susceptible de perturber l'état
électrique des disques voisins, comme dans les téléphones
à électrophores. Par conséquent, les vibrations,
produites par la voix dans un instrument, engendrent des changements
électriques correspondants dans l'autre, reproduisant ainsi
ce qui a été dit dans l'embouchure du premier.
Ce dispositif permet d'obtenir d'excellents résultats, et il
n'est pas nécessaire que l'isolation soit aussi parfaite que
pour les appareils à électrophores.
fig 10
La figure 10 montre un type de téléphone électromécanique,
au moyen duquel j'ai tenté de transmettre des impulsions électriques
d'intensité variable afin de reproduire des paroles à
distance. De petites bobines de résistance (i, 3, 3, etc.)
étaient disposées avec des ressorts de connexion à
proximité d'un levier à face de platine (B), en liaison
avec le diaphragme (A), de sorte que tout mouvement de ce dernier
provoquait l'insertion ou la déconnexion d'une ou plusieurs
bobines du circuit primaire d'une bobine d'induction (C), dont le
nombre variait bien sûr avec l'amplitude de la membrane vibrante.
Des courants induits, dont l'intensité correspondait aux variations
de résistance, étaient ainsi envoyés sur la ligne
et pouvaient alors agir sur un téléphone récepteur
ordinaire. En disposant les ressorts en tournesol autour d'un levier
circulaire, des phrases articulées ont été transmises
par cette méthode, mais les résultats étaient
très durs et désagréables.

La figure 11 montre une forme de téléphone à
eau, dans laquelle une double cellule était utilisée
afin d'obtenir une variation considérable de résistance
pour les très légers mouvements du diaphragme. Le fonctionnement
de l'appareil est facilement compréhensible grâce à
la gravure, où l'on voit un fil en forme de U, dont le coude
est relié au diaphragme et dont les extrémités
plongent dans les cellules séparées, faisant ainsi partie
du circuit lorsque la ligne est raccordée à l'instrument
en a et e.
Je mène actuellement des expériences avec un téléphone
thermoélectrique, qui semble prometteur. Dans ce dispositif,
une thermopile sensible est placée devant un diaphragme en
ébonite à chaque extrémité d'un fil de
ligne, dans le circuit duquel sont intégrés des instruments
de réception à faible résistance. Le principe
de fonctionnement de l'appareil repose sur la variation de température
produite dans le diaphragme vibrant,
qui, comme je l'ai constaté, diminue considérablement
lorsque ce dernier avance, et augmente également proportionnellement
lors du retour.
Les ondes sonores sont ainsi converties en ondes de chaleur présentant
des variations caractéristiques similaires, et j'espère
pouvoir, grâce à l'utilisation de thermopiles plus sensibles,
transformer ces ondes de chaleur en courants électriques suffisamment
puissants pour produire un téléphone pratique basé
sur ce nouveau principe.
Avant de conclure, je dois mentionner un fait intéressant lié
à la transmission téléphonique, découvert
lors de certaines de mes expériences avec le magnétotéléphone :
un disque de cuivre peut remplacer le diaphragme en fer aujourd'hui
universellement utilisé. Ce même fait, je crois, a également
été annoncé par M. W. H. Preece à la Société
de physique de Londres.
Si une pièce de cuivre, disons d'un seizième de pouce
d'épaisseur et de trois quarts de pouce de diamètre,
est fixée au centre d'un diaphragme en ébonite, l'effet
devient très marqué et l'appareil est encore plus sensible
que lorsque le diaphragme est entièrement en cuivre. La cause
du son est sans doute due à la production de très faibles
courants électriques dans le disque de cuivre.
Cette description de M. Edison montre que le téléphone
à charbon n'a pas été l'uvre d'un seul
jour, mais de plusieurs années, pendant lesquelles il a travaillé
avec une patience et une ténacité remarquables. Le génie
de cet instrument réside dans le bouton à charbon. C'est
le facteur essentiel, non seulement du téléphone, mais
aussi du tasimètre et des autres inventions de M. Edison. Il
compte parmi les plus grandes découvertes du XIXe siècle.
Grâce à ces appareils, il est possible qu'un coup de
tonnerre fasse le tour du monde, et dans un avenir proche, de meilleurs
résultats seront certainement obtenus. Grâce à
ce même bouton merveilleux du tasimètre, la chaleur d'une
étoile télescopique est enregistrée avec précision,
et pourtant l'étoile fixe la plus proche se trouve à
plus de trente trillions de kilomètres de la Terre. Si ce n'est
pas la pierre philosophale, elle est certainement à ses côtés,
grâce à ses formidables capacités de transformation.
M. Edison a récemment inventé un nouveau récepteur
téléphonique, sans aimant. Il est basé sur le
principe de l'électro-motographe,
décrit ailleurs dans ce volume. Grâce à ce nouveau
récepteur, le volume du message transmis est augmenté
de manière à être entendu distinctement à
cinq mètres de l'instrument. On espère que cette nouvelle
invention permettra de communiquer par le câble transatlantique,
et que cela deviendra une réalité quotidienne entre
les grandes villes du pays. Il introduit également un «
double émetteur ».
... |
A. Edison, de Menlo Park, dans le New Jersey, a inventé
un téléphone qui, comme celui de Gray, repose sur le principe
de la variation de l'intensité du courant d'une pile en fonction
de la montée et de la descente de la voix. Faire varier la résistance
contrôlée par le diaphragme pour obtenir ce résultat
n'était pas chose aisée. Cependant, grâce à
des expérimentations constantes, M. Edison a finalement découvert
que, correctement préparé, le carbone possédait la
remarquable propriété de modifier sa résistance sous
l'effet de la pression, et que les rapports de ces variations correspondaient
d'ailleurs exactement à la pression.
La figure illustre
de manière pratique et aisée la diminution de la résistance
de cette substance ainsi soumise. L'appareil se compose d'un disque de
carbone, de deux ou trois piles et d'un galvanomètre tangentiel,
ou autre forme de galvanomètre. Le carbone C est placé entre
deux plaques métalliques reliées au galvanomètre
et à la pile dans un seul circuit, traversé par le courant
de la pile. Lorsqu'un poids donné est placé sur la plaque
supérieure, le carbone est soumis à une pression définie,
indiquée par la déviation de l'aiguille du galvanomètre
d'un certain nombre de degrés. À mesure que le poids augmente,
la déviation augmente de plus en plus, de sorte qu'en notant soigneusement
les déviations correspondant à l'augmentation progressive
de la pression, nous pouvons suivre à loisir les différentes
variations de résistance. Voici donc la solution : en faisant
vibrer un diaphragme avec des degrés de pression variables contre
un disque de carbone, faisant partie d'un circuit électrique, la
résistance du disque varierait en fonction précise de la
pression, ce qui entraînerait une variation proportionnelle de l'intensité
du courant. Ce dernier posséderait ainsi toutes les caractéristiques
des ondes vocales et, par réaction avec un électro-aimant,
pourrait les transférer à un autre disque, le faisant vibrer
et reproduisant ainsi une parole audible.
Cette
figure montre le téléphone construit par M. Edison.
Le disque de carbone est représenté par la partie noire,
E, près du diaphragme, AA, placée entre deux plaques de
platine, D et G, connectées au circuit de la batterie, comme indiqué
par les lignes. Un petit morceau de tube en caoutchouc, B, est fixé
au centre du diaphragme métallique et appuie légèrement
sur une pièce d'ivoire, C, placée directement sur l'une
des plaques de platine. Ainsi, chaque mouvement du diaphragme est immédiatement
suivi d'une pression correspondante sur le carbone et d'une variation
de résistance de ce dernier, comme décrit précédemment.
L'utilisation du caoutchouc susmentionné vise à amortir
le mouvement du disque, de manière à l'immobiliser presque
immédiatement après la cessation de la cause qui l'a mis
en mouvement ; les interférences avec l'articulation, que
la vibration prolongée du métal tend à produire en
raison de son élasticité, sont ainsi évitées,
et le son est clair et distinct. Il est évident que tout électro-aimant,
correctement équipé d'un diaphragme en fer, peut servir
d'instrument récepteur pour cet appareil.
Cette figure montre un téléphone émetteur-récepteur
et un boîtier contenant la pile.
Dans le dernier type d'émetteur introduit par M. Edison, le diaphragme
vibrant est totalement supprimé, car on a constaté que de
bien meilleurs résultats sont obtenus en le remplaçant par
une plaque métallique rigide. Avec l'ancien diaphragme vibrant,
l'articulation produite dans le récepteur est plus ou moins atténuée,
en raison des légères variations de pression provoquées
par le disque vibrant, probablement dues à un amortissement tardif
des vibrations après leur mise en route. Dans le nouveau dispositif,
cependant, l'articulation est si claire et si bien rendue que même
un murmure peut être facilement transmis et compris. La plaque inflexible,
bien sûr, ne sert, en raison de sa surface relativement importante,
qu'à concentrer une partie considérable des ondes sonores
sur le petit disque ou bouton de carbone ; Pour un effort donné
de la part du locuteur, une pression bien plus forte est ainsi exercée
sur le disque que celle obtenue en utilisant uniquement sa petite surface.
La meilleure substance découverte jusqu'à présent
pour ces disques est le noir de fumée, tel qu'il est produit par
la combustion d'hydrocarbures légers. M. Edison a cependant découvert
que le plombagine, l'hyperoxyde de plomb, l'iodure de cuivre, le charbon
actif en poudre pour cornue à gaz, l'oxyde noir de manganèse,
le phosphore amorphe, les métaux finement divisés et de
nombreux sulfures peuvent être utilisés. De fait, des touffes
de fibres, enduites de divers métaux par voie chimique et pressées
pour former des boutons, ont également été utilisées,
mais elles sont toutes moins sensibles que le noir de fumée et
ont donc été abandonnées au profit de ce dernier.
Poste Edison simple avec sa batterie d'alimentation
et poste Edison plus élaboré : Dans ce dispositif, la planchette
d'acajou porte au milieu une petite étagère C pour y poser les deux téléphones
par leur partie plate. La sonnerie S est mise en action par un parleur
électro-magnétique P qui peut servir, par l'adjonction d'une clef Morse
M au système, à l'échange d'une correspondance en langage Morse, si les
téléphones faisaient défaut, ou pour l'organisation de ces téléphones
eux-mêmes.

Au-dessous de ce parleur, est disposé un commutateur à bouchon D pour
mettre la ligne en transmission ou en réception, avec ou sans sonnerie,
et enfin au-dessous de la planchette étagère C, est disposée, dans une
petite boîte fermée E, la bobine d'induction destinée à transformer les
courants voltaïques en courants induits.
Quand le commutateur est placé sur réception, la ligne correspond directement
soit au parleur, soit au téléphone récepteur, suivant le trou dans lequel
le bouchon est introduit; quand, au contraire, il est placé sur transmission,
la ligne correspond au circuit secondaire de la bobine d'induction. Dans
ces conditions, la manœuvre ne peut plus être automatique; mais comme
ce genre de téléphone ne peut être appliqué avec avantage que pour la
télégraphie et que ce sont alors des personnes habituées aux appareils
électriques qui en font usage, cette complication ne peut présenter d'inconvénients.
Avec le téléphone, comme avec les instruments télégraphiques
ordinaires, il existe bien sûr une limite au-delà de laquelle
l'appareil ne peut être rendu pratiquement utilisable, mais dans
la plupart des cas, cette limite est atteinte plus tôt pour le téléphone
que pour les autres instruments utilisés pour la transmission télégraphique.
L'une des raisons de ce phénomène est probablement que les
pulsations de courant générées par la membrane vibrante
se succèdent avec une rapidité bien supérieure à
celles transmises à la ligne par une manipulation manuelle ordinaire,
ce qui réduit le temps de charge et de décharge de la ligne,
et le phénomène de retard inductif se manifeste donc plus
rapidement dans le premier cas.
Une autre raison, cependant, et peut-être la principale, est que
les perturbations créées par l'action inductive des courants
électriques dans les fils voisins se combinent aux signaux et les
brouillent tellement dans de nombreux cas qu'il devient totalement impossible
de les distinguer. Il est donc nécessaire, lorsque l'on souhaite
parler à longue distance, ou sur des fils proches de lignes Morse,
soit d'employer un moyen pour neutraliser ces perturbations, soit d'augmenter
le volume de l'articulation afin qu'elle soit audible au-dessus de ce
mélange confus de nombreux sons. L'un des meilleurs moyens suggérés
jusqu'à présent pour surmonter cette difficulté est
l'utilisation de circuits métalliques pour le téléphone.
Les deux fils formant un seul circuit sont placés très près
l'un de l'autre, de manière à rendre l'action inductive
pratiquement identique dans chacun. Les courants résultants se
neutraliseraient ainsi, laissant le téléphone parfaitement
libre.
On affirme que les perturbations inductives que nous venons d'observer
sont beaucoup moins marquées avec le téléphone de
M. Edison qu'avec tous les autres, car les signaux ou les sons du premier
sont produits par des courants plus forts, et les appareils récepteurs
sont moins sensibles aux courants fugitifs que l'on rencontre toujours
sur les lignes télégraphiques.
Conçu en novembre 1877 , le 19 décembre
1877 Edison dépose un brevet à Paris no 121 687 pour
"des perfectionnements dans les instruments pour contrôler
par le son, la transmission des courants électriques et de la reproduction
des sons correspondants au lointain" .
 
M. Edison a récemment inventé un répéteur
téléphonique, conçu pour être utilisé
en conjonction avec son appareil afin d'augmenter sa portée. Les
principaux éléments sont représentés à
la figure suivante.
I est une bobine d'induction, dont le secondaire est connecté à
la ligne principale L', où doit s'effectuer la répétition ;
C est un émetteur à charbon, intégré à
la pile B dans le circuit primaire, et actionné par l'aimant M
plutôt que par la voix. Les variations de courant produites par
la parole contre le disque de l'instrument à l'extrémité
émettrice de la ligne, font agir cet aimant sur le diaphragme de
l'émetteur, produisant ainsi différents degrés de
pression sur le disque de charbon, modifiant ainsi sa résistance.
Une variation correspondante du courant de la bobine primaire se produit,
donnant naissance à une série de courants induits dans le
secondaire, qui passent dans la ligne et, en atteignant le récepteur
à la borne opposée, sont transformés en son audible.
Nous n'avons pas encore personnellement expérimenté cet
appareil, mais s'il peut être rendu légèrement aussi
efficace que les téléphones à charbon ordinaires,
qui ont déjà permis de maintenir des conversations sur plus
de huit cents kilomètres de lignes télégraphiques,
ses avantages devront tôt ou tard être mis à profit.
Au lieu de la magnéto et de la sonnerie d'appel, déjà
décrites en rapport avec le téléphone, une batterie
et une sonnerie vibrante peuvent être utilisées, et le sont
parfois, à des fins de signalisation.
La figure illustre les
connexions d'un tel dispositif.
Le fil de ligne est relié à l'extrémité arrière
d'un interrupteur à bouton-poussoir à quatre points, S.
Le contact avant droit mène à l'une des extrémités
des hélices qui entourent l'aimant de la sonnerie, et dont l'extrémité
opposée est en liaison métallique avec le levier de l'armature.
En position normale, ce levier est maintenu par un ressort spiral contre
la butée arrière, reliée à un fil relié
à la terre. Le point central avant de l'interrupteur communique
avec un pôle d'une pile, E, dont le pôle opposé est
relié au fil de terre, et le point gauche est relié à
un ou deux téléphones, T, également reliés
à la terre.
Lorsque l'appareil n'est pas utilisé, l'interrupteur est laissé
sur le contact de droite, de sorte que le courant provenant de la ligne
puisse circuler librement à travers les hélices, le levier
d'armature et la butée arrière jusqu'à la terre.
Le noyau de fer doux est ainsi rendu magnétique et attire l'armature,
mais après un court déplacement de celle-ci, il quitte le
ressort faisant partie de la butée arrière, coupant ainsi
le circuit. Le magnétisme des noyaux disparaît alors et l'armature
est ramenée en arrière afin de fermer à nouveau le
circuit. Une nouvelle attraction se produit alors, et le processus se
poursuit ainsi alternativement tant que la pile est maintenue à
la station éloignée. Chaque attraction provoque donc un
coup distinct sur la cloche, et comme la magnétisation et la démagnétisation
sont extrêmement rapides, les coups se succèdent avec une
rapidité suffisante pour maintenir une sonnerie continue. Si l'on
a besoin de l'opérateur du poste distant, l'interrupteur est placé
sur le contact central, ce qui permet au courant de la batterie E de passer
sur la ligne, déclenchant ainsi la sonnerie du poste distant. L'interrupteur
est ensuite tourné à nouveau vers la droite. Si le signal
a été détecté, le correspondant distant accuse
réception de sa batterie, ce qui déclenche la sonnerie du
poste initial. Les deux interrupteurs sont ensuite tournés vers
la gauche, ce qui permet de mettre les téléphones en circuit
et de les rendre disponibles pour l'échange de correspondance.

Cette figure illustre un dispositif combinant le Morse et le téléphone,
très pratique dans de nombreux cas.
Lorsque l'interrupteur est placé sur le contact droit, l'appareil
Morse est en circuit et peut alors être utilisé pour les
échanges commerciaux habituels. L'appareil Morse répond
également à un appel pour attirer l'attention d'un correspondant
lorsqu'il est sollicité ; la batterie locale a été
omise sur le schéma. Lorsque l'interrupteur est tourné vers
la gauche, seuls les téléphones sont en circuit.
Avant de quitter ce sujet, il convient de mentionner plus particulièrement
un point trop intéressant pour être négligé.
Il s'agit des diverses caractéristiques ou formes d'action qui
interviennent dans la transmission de la parole articulée et qui,
dans le fonctionnement du téléphone parlant, illustrent
parfaitement la corrélation des forces, ou leur convertibilité
mutuelle. Lorsque nous parlons dans un téléphone, les efforts
musculaires exercés sur les poumons poussent l'air à travers
le larynx, à l'intérieur duquel se trouvent deux membranes
appelées cordes vocales. Celles-ci peuvent être contractées
ou relâchées à volonté par l'action de certains
muscles et, mises en vibration par le passage de l'air, produisent une
série d'ondes sonores ou de pulsations aériennes, dont la
hauteur varie selon la tension ou le relâchement des cordes. L'impact
de ces pulsations sur la membrane métallique produit à son
tour des vibrations correspondantes de cette dernière, qui, comme
nous l'avons vu, se trouve à proximité immédiate
des pôles d'un aimant permanent. Ainsi, l'action inductive de la
membrane sur l'aimant est activée, et une série de courants
électriques sont générés dans l'hélice
environnante. Le conducteur intermédiaire les achemine jusqu'à
la station distante, où leur action ultérieure contribue
à la production de magnétisme. La membrane réceptrice,
mise en vibration par les attractions qui en résultent, répond
avec une précision fidèle aux vibrations initialement produites
à l'extrémité émettrice de la ligne, et reproduit
ainsi les ondes sonores qui atteignent l'oreille et nous donnent la sensation
du son. Nous avons donc ici, d'abord, les effets mécaniques de
l'action musculaire convertis en électricité, puis en magnétisme,
et enfin de nouveau en action mécanique. Cependant, à chaque
transformation, une partie de l'énergie est perdue, dans la mesure
où elle est utilisable ; et, par conséquent, les ondes
sonores qui atteignent l'oreille, bien que d'une hauteur et d'une qualité
identiques à celles initialement produites par les organes vocaux,
voient néanmoins leur amplitude, dont seule dépend la puissance,
fortement diminuée par la quantité d'énergie perdue
lors de la transformation.
|
Edison Exhibits
Vous pouvez accèder aux archives Edison à cette
adressse :
https://edisondigital.rutgers.edu/folder/TI2-F?sort_by=created&sort_order=asc&page=1
Les archives du Parc historique national Edison (ENHP) contiennent
sept volumes reliés et une brochure relatant les procédures
de l'Office des brevets relatives aux revendications contradictoires
concernant l'inventeur du téléphone.
Quatre de ces volumes contiennent le compte rendu d'un ensemble
d'interférences intitulé « Cas A à L
» et « Cas n° 1 ». Les parties en litige étaient
Thomas Edison, Alexander Graham Bell, Elisha Gray, A. E. Dolbear,
J. W. McDonough, George B. Richmond, William L. Voelker,
J. H. Irwin et Francis Blake, Jr. Bien que les déclarations
préliminaires d'Edison aient été déposées
en septembre 1878, son témoignage n'a été recueilli
qu'en 1880. Ce compte rendu a été imprimé en
1881.
Le deuxième volume contient les pièces d'Edison, notamment
des photolithographies de dessins de laboratoire, des brevets et
des demandes de brevet, ainsi que des articles de journaux et de
revues. Les dessins portent des numéros de pièces
correspondant à un système de numérotation
des pages et des volumes utilisé par Edison et son avocat
en brevets, Lemuel W. Serrell, en 1880, lorsque les notes techniques
et les dessins d'Edison furent numérotés et examinés
en vue d'une éventuelle inclusion comme pièces dans
ces interférences. Nombre des documents de cette série
numérotée n'ont pas été sélectionnés
comme pièces ; ils sont conservés dans les archives
du Parc historique national Edison. (Voir Carnets non reliés,
volumes 8 à 18.)
|
sommaire
Edison inventa un instrument très similaire
au téléphone à charbon :
Lors d'une expérience réalisée en novembre 1877,
Edison utilisa une bande de papier poreux entre deux électrodes,
dont le diaphragme. Le papier était maintenu humide en le suspendant
dans un récipient rempli d'eau. On constata que le papier offrait
une résistance variable sous pression et, bien sûr, ne se
tasseait pas. De plus, cette méthode n'était pas pratique,
car elle devait être montée à plat pour maintenir
l'eau dans le récipient.
Contrairement au Telefon de Reis, le contact ne se faisait pas par intermittence,
mais dépendait de la variation de pression, fournissant ainsi un
signal continu. Il était en réalité trop sensible
pour être utilisé dans un téléphone, car il
captait également toutes sortes de bruits de fond. .
fig 1 fig
2
Le 27 juin 1877, Edison essaya un pot rempli de carbone, avec une électrode
de carbone au fond et une autre, le diaphragme, au-dessus. L'espace entre
les deux était rempli de noir de fumée, une poudre de carbone
très molle. Bien que très simple, le dispositif fonctionnait
bien et démontrait la faisabilité du principe de résistance
variable. Cependant, le problème de tassement, le carbone se tassant
au fond du pot, diminuait l'efficacité de l'émetteur. Bien
que l'émetteur fonctionnait, il commençait à présenter
certains problèmes qui allaient compromettre son développement
en un instrument performant .
La différence essentielle étant que le carbone est remplacé
par du papier absorbant, humidifié avec de l'eau. Ce semi-conducteur,
comme le carbone, change de résistance sous l'effet de variations
de pression. Le papier est maintenu humide par capillarité grâce
à une bandelette dont l'extrémité plonge dans un
réservoir d'eau. La figure 2 du téléphone conçue
le 27 juin 187, montre une forme de téléphone à transmission
au carbone, ne nécessitant aucun réglage et fonctionnant
bien malgré sa simplicité de construction.
Il se compose essentiellement d'une plaque de métal posée
au fond d'un récipient creux et portant un bloc de carbone préparé,
sur lequel est posée une seconde plaque métallique légère.
Le poids de la plaque supérieure assure une pression initiale,
que l'on fait varier en parlant dans l'ouverture du récipient.
Le bloc de carbone peut être remplacé par un disque de tissu
dont les pores ont été remplis de plomb noir pulvérisé.
Grâce à ce traitement, le tissu devient légèrement
conducteur.
fig 3 fig
4
L'instrument ainsi modifié est représenté à
la figure 3 (conçue le 20 septembre 1877).
À la figure 4 (conçue le 12 août 1877), le plombagine
pulvérisé P flotte sur le mercure M et est comprimé
entre la surface du mercure et un bloc métallique fixé au
centre du diaphragme.
fig 5
Une autre forme d'émetteur Edison est illustrée en figure
5, conçue le 5 juillet 1877.
Le charbon C repose sur le diaphragme, qui, dans cet instrument, est une
plaque horizontale formant le sommet d'une chambre de vocalisation, l'embouchure
étant sur le côté. Trois fines cordes fixent le charbon
à la structure du diaphragme et l'empêchent de se déplacer
lorsque celui-ci vibre. Cet instrument ressemble en apparence au téléphone
Reiss, et en principe, il serait très similaire si, en vibrant,
le charbon ne quittait jamais la plaque sur laquelle il repose, mais ne
libérait simplement, l'espace d'un instant, sa pression. Il est
évident que la résistance du circuit dépend de la
connexion électrique entre le charbon et le diaphragme, et que
cette connexion dépend de la pression du charbon, qui varie constamment
lorsque le diaphragme vibre. Cet appareil est trop sensible aux bruits
parasites pour être utile en téléphonie.
sommaire
30 septembre 1877 Le téléphone à
inertie
Une autre forme de téléphone fonctionnant
selon un principe très similaire est illustrée par la figure
6 ; on lappelle le téléphone à inertie,
bien quil soit difficile de dire que son action soit uniquement
due à linertie.
fig 6 et 7
Le charbon C est placé entre deux plaques métalliques, dont
lune est fixée au diaphragme, et lautre est maintenue
par une vis dans un cadre, lui-même fixé au diaphragme par
des supports isolants. En vibration, cest lensemble du système
qui se déplace, et non la plaque P seule, comme dans un transmetteur
à charbon ordinaire. M. Edison explique son mode daction
par la variation de la pression exercée par le charbon sur les
plaques pendant la vibration. Ainsi, après un mouvement vers la
droite, le diaphragme sarrête brusquement et le charbon appuie,
par inertie, sur la plaque P. Un avantage du magnétotéléphone
par rapport aux premiers modèles de téléphone de
M. Edison est que sa membrane ne touche rien et peut donc vibrer en toute
liberté. En revanche, la membrane du téléphone à
charbon, utilisée avant l'adoption de la plaque rigide non vibrante
actuelle, exerce une pression considérable sur le charbon, provoquant
ainsi de fausses vibrations.
Dans la forme illustrée à la figure 7 (conçue le
25 juin 1877), cette difficulté est évitée. La membrane
porte une armature, A, en fer doux, qui fait face à l'aimant B
sans le toucher. A et B sont les pôles opposés du même
aimant, connectés en P et polarisés par un circuit local.
L'aimant B exerce une pression sur le charbon en C, la pression étant
réglée par la vis S. L'attraction entre A et B varie en
fonction de la distance qui les sépare. Lorsque, en vibrant, A
se rapproche de B, l'attraction augmente rapidement et B diminue sa pression
sur C.
Lors d'un mouvement en sens inverse, l'attraction diminue et B, attiré
par le ressort S, augmente sa pression sur C.
Au cours de l'année écoulée, le téléphone
articulé ou parlant a suscité un intérêt et
une attention très larges, non seulement aux États-Unis,
mais aussi en Europe. Il a déjà été largement
utilisé ici sur plusieurs de lignes courtes et promet de devenir
d'application quasi universelle à court terme. Son extrême
simplicité et la fiabilité de son fonctionnement en font
l'un des appareils électriques les plus pratiques.
En Allemagne, il a été intégré au système
télégraphique du pays et, là-bas, comme dans d'autres
pays étrangers, il est également largement utilisé
à diverses fins privées, pour établir des communications
avec l'intérieur des terres.
fig 8
Un dispositif similaire est illustré à la figure 8 (Conçu
le 10 avril 1877).
Le diaphragme porte une armature, A, qui, par son mouvement, modifie le
potentiel de deux électro-aimants.
Ces variations de magnétisme amènent une barre, située
dans leur champ magnétique, à reproduire les vibrations
initiales. Les extrémités de la barre sont maintenues par
la force magnétique contre deux pièces de carbone, c et
c. Ces pièces et la barre forment le circuit primaire d'une bobine
d'induction. La résistance du circuit diminue lorsque la barre
est tirée vers le haut et augmente lorsqu'elle descend.
De toutes les substances testées dans le téléphone
pour augmenter et diminuer la résistance du circuit par l'effet
des vibrations sonores, le noir de fumée issu des hydrocarbures
plus légers s'avère le plus efficace. Il est essentiel que
le noir de fumée soit déposé à la température
la plus basse possible et que la flamme de la lampe ne puisse pas jouer
sur le dépôt ; sinon, le produit est très résistant
et totalement inadapté à cet usage. Le noir de fumée
commercial de la meilleure qualité laisse difficilement passer
le courant, tandis que celui obtenu par le procédé décrit
ici n'offre qu'une faible résistance.
Le noir de fumée, tel qu'il sort de l'appareil de combustion, est
déposé sur une plaque blanche, et les parties présentant
une teinte brune sont extraites de la masse ; le reste est ensuite
broyé au mortier, placé dans un grand moule et soumis à
une pression de plusieurs milliers de livres. Le gâteau ainsi pressé
est repulpé et comprimé plusieurs fois. Enfin, il est pesé
par tranches de trois cents milligrammes et moulé en boutons, comme
ceux que l'on voit dans le téléphone.
La raison pour laquelle le noir de fumée ainsi moulé est
supérieur à tout autre matériau s'explique de manière
satisfaisante lorsque l'on considère que, de toutes les substances
finement divisées obtenues par action mécanique ou précipitation
chimique, c'est au microscope qu'il présente le plus grand nombre
de particules, ou, en d'autres termes, qu'il est le plus finement divisé.
Il est bien connu que l'augmentation et la diminution de la résistance
de tout bouton en matière conductrice finement divisée,
soumis à une pression, sont entièrement dues au contact
d'un nombre plus ou moins grand de particules à la jonction ou
aux surfaces. De plus, on sait que le téléphone est extrêmement
sensible à la moindre variation de résistance dans le circuit ;
ainsi, si un bouton en charbon de cornue à gaz, composé
de particules inélastiques, peu nombreuses (comparativement au
noir de fumée), est utilisé dans un téléphone,
la production d'une onde par augmentation progressive de la pression est
obtenue par le nombre croissant de particules mises en contact avec les
plaques de surface. Or, ces particules sont si peu nombreuses et si grosses,
et souvent plusieurs particules agrégées dans le charbon
de cornue, que l'onde, au lieu d'être pure, est rude et grinçante.
Cette onde peut être représentée graphiquement par
une ligne dentelée inclinée à 45°, les points
représentant la perturbation du courant par l'effet des particules
elles-mêmes. Si l'on remplace le bouton de charbon de cornue à
gaz par un bouton de graphite, composé de particules beaucoup plus
petites, sans agrégats comme le premier, les ondes seront représentées
par la ligne ci-dessus, mais les points seront à peine perceptibles,
et ces espaces, si infimes, sont hors de portée du téléphone.
On obtient ainsi une onde pure, mais ces espaces affaiblissent l'onde
dans son ensemble par leur effet sur l'auto-induction du récepteur
téléphonique. Dans le cas du noir de fumée, les particules
sont infiniment plus fines que celles du graphite, et de plus, le bouton
est relativement élastique ; la ligne représentant
la forme de l'onde sera donc parfaitement droite, bien qu'il y ait théoriquement
des espaces. Ces espaces étant infiniment petits comparés
au graphite ou à tout autre matériau conducteur, non seulement
on évite les sons durs, mais on obtient une onde plus forte, grâce
à l'absence d'espaces et à leur effet sur l'auto-induction
de l'aimant. Le noir de fumée, une fois moulé en boutons,
possède une autre propriété qui le distingue de tout
autre matériau conducteur : son élasticité.
Par exemple, si lon soumet des boutons de matériaux différents
à une pression, la plus grande différence de résistance,
pour un poids donné, se produira sur le bouton noir de fumée ;
de même, si lon augmente le poids de tous les boutons, on
atteindra un point où tout poids supplémentaire cessera
de réduire sensiblement la résistance, sauf dans le cas
du noir de fumée, dont la résistance continue de diminuer
sous leffet du poids supplémentaire longtemps après
que les autres boutons ont cessé dêtre affectés,
car toutes les particules susceptibles dentrer en contact le seront
sous un léger poids, en raison de sa nature inélastique.
M. Edison a tenté dobtenir une approximation du nombre de
points de contact sur le bouton noir de fumée actuellement utilisé.
Pour y parvenir, il a d'abord placé sous le microscope un réseau
de diffraction de Rutherford comportant 17 291 lignes réglées
sur un métal spéculaire dans un espace de 2,5 cm, et à
côté de celui-ci un bouton de noir de fumée. Puis,
en passant de l'un à l'autre, il a calculé qu'il y avait
pas moins de 10 000 000 de points à la surface du bouton,
presque tous constamment utilisés lorsqu'ils étaient soumis
aux vibrations sonores. Si le réseau de Rutherford avait été
réglé dans les deux sens, il y aurait eu 298 000 000
de points, et il ne fait aucun doute qu'un bouton de platine réglé
deux fois de cette manière donnerait de bons résultats au
téléphone, mais n'égalerait pas le noir de fumée,
en raison de son manque d'élasticité.
L'élasticité du bouton en noir de fumée présente
un autre avantage : elle permet d'exercer une pression initiale considérable
sans réduire sensiblement sa sensibilité. L'appareil est
donc moins susceptible de se dérégler que ceux utilisant
un bouton inélastique, où la pression initiale doit être
extrêmement légère pour conserver sa sensibilité.
Ainsi réglé, un son fort provoque une coupure du circuit.
Les sons sont durs et désagréables, et laissent apparaître
des étincelles qui, à terme, enrobent l'armature métallique
et la rendent impropre à l'utilisation. Le seul défaut,
si l'on peut dire, du bouton en noir de fumée est sa friabilité.
Mais l'expérience de M. Edison prouve que si le téléphone
est fabriqué de manière appropriée, de sorte qu'aucune
de ses parties, sous l'effet des ondes sonores, ne vibre et ne heurte
le bouton, il durera des mois et, autant que l'on puisse en juger, durera
aussi longtemps que l'instrument qui le maintient. En revanche, si l'instrument
est conçu de manière à ce que les armatures puissent
heurter le bouton, ou si la pression initiale est très légère
et que l'instrument subit une violente secousse (par exemple, en tombant
au sol), le bouton risque de se fissurer, mais même dans ce cas,
le volume sonore n'est pas sensiblement diminué. M. Edison a tenté
de durcir ces boutons en mélangeant du noir de fumée avec
du sucre, du goudron et d'autres substances avant le moulage, puis en
les soumettant à une température élevée après
le moulage. Ce traitement les rend durs mais inélastiques, et pourtant
bien supérieurs à toutes les autres substances qu'il a testées.
La valeur des différentes substances utilisées comme boutons
dans le téléphone est indiquée ci-dessous.
La première mentionnée est la meilleure, et les suivantes,
dans l'ordre indiqué :
noir de fumée, hyperoxyde de plomb, iodure de cuivre, graphite,
gaz de carbone, noir de platine.
Les matériaux finement divisés qui ne s'oxydent pas à
l'air, tels que l'osmium, le ruthénium, le silicium, le bore, l'iridium
et le platine, donnent des résultats proportionnels à cette
fine division, mais nombre d'entre eux sont de si bons conducteurs qu'il
est nécessaire de leur mélanger un matériau non conducteur
très fin avant le moulage.
M. Edison a testé tous les oxydes, sulfures, iodures conducteurs
et presque tous les métaux finement divisés, à divers
degrés de divisibilité et en mélange avec diverses
substances. Les liquides contenus dans des boutons poreux de matériaux
non conducteurs finement divisés rendent ces particules conductrices
et, par conséquent, agissent de la même manière, mais,
bien sûr, en raison de la formation de gaz, de la polarisation,
etc., ils sont indésirables.
M. Edison a très tôt expérimenté le procédé
consistant à utiliser plusieurs morceaux de semi-conducteur au
lieu d'un seul. Il a constaté, en général, que la
multiplication des surfaces de contact augmentait l'intensité du
son, mais que l'articulation était également altérée.
Ces instruments sont depuis connus sous le nom de microphones, bien qu'il
soit peu probable que des sons faibles aient jamais été
amplifiés grâce à eux au point d'être facilement
reconnus à distance de leur source.
fig 9 fig
10 et 11
La figure 9 montre l'une des premières formes, inventée
par M. Edison le 1er avril 1877. Quatre morceaux de charbon de bois sont
utilisés, C, C, etc., chacun soutenu par un ressort vertical, comme
à Sand S'. Le morceau de charbon de bois le plus proche du diaphragme
heurte un disque de carbone fixé au centre du diaphragme. Les fils
primaires d'une bobine d'induction sont reliés au diaphragme et
au ressort S. Le circuit est ensuite complété par les semi-conducteurs.
D'autres formes sont présentées aux figures 10 et 11.
La première comporte deux charbons séparés par une
plaque de métal. La seconde comporte trois morceaux de charbon
contigus.
La figure 12 (conçue le 21 septembre 1877) illustre un microphone
composé de dix plaques de soie ; un mélange de dextrine
et de noir de fumée ayant été préalablement
incorporé dans les pores.
fig 12 et 13
La figure 13 (conçue le 7 juin 1877) montre cinquante disques,
D, dont la surface est protoxydée par le fer, enfermés dans
un tube de verre.
Une nouvelle forme d'émetteur utilisée par M. Edison dans
ses expériences est présentée à la figure
14 (conçue le 12 août 1877). Le semi-conducteur est un ensemble
de petits fragments de liège recouverts de plombagine. Il peut
être utilisé avec ou sans diaphragme.
fig 14 fig
15
L'instrument représenté à la figure 15 (conçu
le 24 août 1877) agit à la fois comme émetteur et
récepteur, ce dernier étant découvert par M. Chas
Batchelor, assistant de M. Edison. Le carbone solide de l'émetteur
est ici remplacé par des fibres de soie recouvertes de graphite.
Son action réceptrice est probablement due à l'attraction
de courants parallèles ; le volume de l'ensemble se contracte
lors du passage d'un courant à travers F.
En mai 1878, M. Hughes, de Londres, publia des expériences intéressantes,
basées sur la découverte par M. Edison de la résistance
variable des conducteurs solides soumis à une pression.
fig 16 fig
17
Dans la Fig. 16 : A est un tube de verre rempli dun mélange
détain et de zinc métalliques, communément
appelé poudre dargent blanc. Cette poudre est légèrement
comprimée par deux bouchons de charbon gazeux insérés
à leurs extrémités, auxquels sont fixés des
fils électriques, une pile B et un galvanomètre G étant
connectés. Les bouchons sont scellés à leur place
en les recouvrant de cire à cacheter ordinaire. En saisissant ce
tube par ses deux extrémités et en exerçant une contrainte
de traction en les tirant en sens inverse, mais dans le sens de sa longueur,
laiguille du galvanomètre est déviée dans un
sens. En poussant les extrémités lune vers lautre,
de manière à exercer une contrainte de compression, laiguille
du galvanomètre est instantanément déviée
dans le sens opposé. Dans ce cas, les particules métalliques
finement divisées constituant le contenu du tube sont rapprochées
par compression et davantage séparées lors de l'extension.
La résistance du circuit varie ainsi, augmentant le courant dans
un premier temps et le diminuant dans un second temps. Si ce point de
vue est correct, le mouvement inverse de l'aiguille du galvanomètre
ne peut être qualifié de déviation, mais de retour
à zéro, s'arrêtant à la position qui représente
l'intensité du courant traversant ses bobines lorsque le tube est
étendu. Cette expérience à elle seule constituerait
un exemple remarquable de la merveilleuse sensibilité du téléphone
en tant que détecteur d'infimes variations de force électrique,
car il est difficile d'imaginer l'augmentation infime de la longueur ou
de la capacité d'un tube de verre d'environ 7,5 cm de long lorsqu'on
le tire avec les doigts. Mais ce tube sensible est bien plus délicat
que ne le montre cette dernière expérience. Il est si sensible
qu'il est capable de capter les vibrations sonores et, par ses propres
vibrations sous leur influence, de transmettre, par un fil électrique,
à un téléphone distant, des courants ondulatoires
capables de reproduire tous les sons qui les ont produits, avec une perfection
encore plus grande que celle obtenue si un téléphone était
l'instrument émetteur. En fixant l'un de ces tubes à une
petite caisse résonnante, comme illustré à la figure
17, on obtient l'un des téléphones électriques articulés
les plus simples jamais fabriqués. Il ne consiste en rien d'autre
qu'un tube de verre rempli d'une poudre dont la conductivité électrique
peut être modifiée par des variations de compression, des
fils étant acheminés aux deux extrémités,
et ce petit appareil étant fixé à une petite boîte
ouverte à une extrémité, qui sert d'embouchure à
l'instrument.
Les fils sont reliés à un téléphone distant
et sont équipés d'une batterie de trois petites piles Daniell.
Avec ce simple téléphone, les sons sont si forts qu'il est
possible de chanter dans un instrument et d'entendre simultanément
chanter depuis une station éloignée dans un autre. Ce montage
duplex avec un seul circuit fonctionne parfaitement, l'une des communications
n'interférant en aucune façon avec l'autre. Lorsqu'on utilise
un bâton de charbon végétal pur, tel qu'utilisé
par les artistes, à la place du tube, aucun effet n'est produit,
car sa très haute résistance en fait un parfait non-conducteur.
Mais en le chauffant jusqu'à incanlescence et en le plongeant brusquement
dans un bain de mercure, il s'imprègne de minuscules particules
de ce métal et, dans cet état, peut être utilisé
presque aussi bien qu'un tube de poudre métallique composée.
De même, le charbon de bois imprégné de perchlorure
de platine peut être utilisé avec avantage, que ce soit sous
forme de bâtonnet ou de poudre contenue dans un tube.
M. Hughes, en expérimentant diverses substances, est arrivé
à la conclusion que, quel que soit le conducteur utilisé,
il ne doit pas être homogène par nature, de sorte que l'augmentation
ou la diminution de pression, en produisant une union plus ou moins étroite
entre ses particules conductrices, a la propriété de faire
varier l'intensité du courant transmis, lui conférant un
caractère ondulatoire. Un tube contenant de la grenaille de plomb
propre présentera ce phénomène, mais au bout d'un
certain temps, suite à la formation d'un oxyde isolant à
la surface de chaque grenaille, il cesse de véhiculer le courant.
On peut le faire en immergeant la grenaille dans un bain non oxydant.
Avec un milieu tel que le naphte, le défaut pourrait être
corrigé, mais des substances bien meilleures que la grenaille peuvent
être trouvées pour les expériences.
fig 18
La figure 18 représente une vue en perspective d'une petite boîte
en bois ouverte à une extrémité, ressemblant aux
boîtes utilisées comme résonateurs pour les diapasons.
Une taille pratique est de 25 cm de large, 25 cm de long et 18 cm de profondeur.
Sur cette boîte se trouve un petit tube de verre ouvert aux deux
extrémités et fixé avec de la cire à cacheter.
Dans le tube se trouvent plusieurs morceaux de charbon de bois de saule
métallisés au fer. Pour préparer ce charbon, prenez
des bâtonnets de charbon de bois et placez-les sans serrer dans
une boîte en fer munie d'un couvercle amovible. Portez ensuite lentement
la boîte à blanc. Cela a pour effet d'éliminer l'eau
éventuellement retenue dans les pores du charbon, remplacée
par de la vapeur de fer. De ce fait, une fois refroidis, les bâtonnets
de charbon sont chargés de fer et présentent un anneau métallique
prononcé. De petits morceaux de charbon métallisé
sont placés dans le tube de verre et pressés fermement les
uns contre les autres jusqu'à ce qu'il soit plein et qu'une partie
du charbon dépasse à chaque extrémité, comme
illustré sur la figure. Les fils d'un circuit téléphonique
sont enroulés autour de ces extrémités saillantes,
puis les extrémités du tube sont scellées avec de
la cire à cacheter. Cet appareil, aussi simple soit-il, constitue
un émetteur téléphonique d'une sensibilité
remarquable. En portant un téléphone magnéto-électrique
ordinaire à l'oreille (avec une pile branchée), on entend
avec une netteté parfaite le simple frottement du doigt sur le
boîtier, la trace d'un crayon ou le pas d'une mouche domestique
se promenant sur ou à proximité. Cet instrument est si sensible
que les sons inaudibles à l'oreille deviennent clairs dans le téléphone.
Une montre posée sur le boîtier restitue tous les sons de
son fonctionnement : le grincement des roues, le tintement sonore
du ressort et le plus infime tic-tac des engrenages. Les mots prononcés
dans le boîtier résonnent avec la puissance d'une trompette
dans le téléphone, et le souffle du souffle ressemble au
rugissement du vent dans une forêt.
fig 19
fig 20
La figure 19 représente une autre forme d'émetteur basée
sur les mêmes principes. A est un petit morceau de pointe de charbon,
comme celle utilisée dans l'éclairage électrique,
monté sur un bras métallique pivotant sur le montant C.
Deux de ces montants sont fixés à la plaque de bois, un
de chaque côté du bâton de charbon. A D est un petit
bloc de charbon métallisé reposant sur un isolant (cire
à cacheter). X et Y sont les deux fils d'une ligne téléphonique.
Cet appareil illustre l'effet d'une pression variable sur la résistance
électrique. En soulevant l'extrémité inférieure
de la masse de charbon, le circuit est coupé. En appuyant sur le
charbon, la résistance électrique varie avec la pression,
aussi minime soit-elle. La pression exercée par les vibrations
sonores, même causées par le pas d'une mouche ou la pression
d'un doigt, provoque de si grandes variations de l'état électrique
de la ligne que, lorsque le combiné téléphonique
est placé près de l'oreille, ces infimes mouvements sont
distinctement audibles.
La figure 20 représente une fine planche de pin d'environ quinze
centimètres carrés, posée verticalement sur un support
approprié. On y fixe, à l'aide de cire à cacheter,
deux morceaux de charbon gazeux ordinaire, C, C.
Dans chaque morceau est creusée une coupelle peu profonde, entre
laquelle est soutenu un fuseau vertical de charbon gazeux, A, dont les
extrémités pointues touchent à peine les coupelles.
Ce fuseau est placé dans un circuit téléphonique
en enroulant les fils autour des coupelles en carbone, comme le montre
le dessin. Les paroles prononcées devant cette table d'harmonie,
même à plusieurs mètres de distance, sont distinctement
audibles dans le téléphone. Ces émetteurs, aussi
rudimentaires et grossiers qu'ils puissent paraître, démontrent
clairement qu'un progrès considérable a été
réalisé en téléphonie. Des instruments de
construction plus fine permettent d'obtenir des résultats encore
plus remarquables. Les structures mécaniques ordinaires, comportant
de nombreux joints, comme une petite machine ou une petite chaîne,
agglutinées, fonctionnent presque aussi bien que les substances
mentionnées. Dans ces cas particuliers, les phénomènes
sont probablement dus au fait que le courant électrique lui a conféré
un caractère ondulatoire en étant transmis à travers
un circuit contenant un certain nombre de ce que l'ingénieur télégraphiste
appellerait des défauts, dont l'intensité varie en fonction
des variations de pression entre les différentes parties de la
structure conductrice. Cela peut paraître étrange, et pourtant
c'est un fait : si l'on place deux clous ordinaires dans un circuit
téléphonique, que l'on les isole l'un de l'autre, puis que
l'on place un troisième clou dessus pour fermer le circuit, on
obtient immédiatement un émetteur performant. Les vibrations
sonores, tombant sur le clou, sont reproduites dans le téléphone
avec une netteté saisissante. La figure 96 illustre un tel émetteur.
Deux clous ordinaires, A, sont fixés à une planche horizontale ;
les fils X et Y y sont reliés, reliant une batterie, B, et un téléphone,
de telle sorte que les clous constituent la seule interruption du circuit,
qui peut être fermée en posant un matériau conducteur
dessus. Lorsqu'un troisième clou est posé sur les deux autres,
il apparaît clairement que (un cylindre ne pouvant toucher qu'un
autre cylindre dont l'axe ne lui est pas parallèle en un seul point)
le circuit électrique présente une connexion très
imparfaite aux points de contact entre les clous, et c'est à cette
connexion défectueuse que la sensibilité de ce dispositif
est due.
Dans les comptes rendus d'expériences publiées avec le microphone,
on a souvent affirmé que les sons infimes sont amplifiés
par celui-ci, de la même manière que les objets infimes sont
amplifiés par le microscope. Une brève réflexion
montrera cependant qu'il n'y a pas de réelle analogie entre le
fonctionnement des deux instruments. Le son entendu dans l'instrument
récepteur du microphone lorsqu'une mouche se déplace sur
la planche sur laquelle est placé l'émetteur n'est pas le
bruit des pas de la mouche, pas plus que le coup d'une puissante cloche
électrique n'est le son amplifié des doigts de l'opérateur
tapotant légèrement et, parfois, de manière inaudible
sur la touche. Cette vision des choses explique aisément pourquoi
le microphone n'a pas répondu aux attentes de nombreuses personnes
qui, dès sa première utilisation, annonçaient avec
enthousiasme que, grâce à lui, nous pourrions entendre de
nombreux sons de la nature jusqu'alors totalement inaudibles.
Plusieurs téléphones inventés par M. Edison peuvent
être classés comme des téléphones à
court-circuit ou à coupure. Leur principe de fonctionnement peut
être résumé ainsi : en vibrant, le diaphragme
coupe du circuit des résistances proportionnelles à lamplitude
des vibrations.
fig 21 fig 22
Un émetteur construit selon ce principe est illustré à
la figure 21 (conçue le 20 mars 1877). Un levier métallique,
L, vibrant dans un plan vertical, repose à une extrémité
sur une bande de soie carbonisée, C, qui fait partie du circuit
primaire de la bobine dinduction I. Au cours de ses vibrations,
le levier coupe du circuit des parties de la soie, le courant le traversant
temporairement. Un autre émetteur fonctionnant sur le même
principe, mais de construction très différente, est illustré
à la figure 22 (conçue le 21 août 1877).
Un fil fin W de haute résistance est enroulé autour dun
cylindre dans une rainure en spirale. Le fil fait partie du circuit primaire
de la bobine C. Un ressort métallique S, de forme elliptique, est
fixé d'un côté au diaphragme, tandis que l'autre côté
appuie contre le fil non isolé du cylindre. En se déplaçant
vers la droite, le diaphragme aplatit le ressort, le faisant ainsi subir
un plus grand nombre de spires que s'il se déplaçait en
sens inverse. La résistance du circuit dépend donc de la
position du centre du diaphragme. L'inconvénient de cette disposition
est qu'elle supprime une spire entière, voire aucune, du circuit,
ce qui rend le courant plus intermittent que pulsatoire.
fig 23 fig 24
Sur la figure 23 (conçue le 21 octobre 1877), un ressort similaire
repose sur une étroite bande de métal, à la surface
d'une plaque de verre.
Le film, représenté en perspective en F, est constitué
d'une fine bande de la surface argentée d'un miroir ; le reste
du métal bruni a été retiré.
Une autre forme de téléphone à court-circuit est
illustrée sur la figure 24 (conçue le 1er novembre 1877).
Un ressort spiral, W, est enroulé autour d'un cylindre, le diaphragme
appuyant sur la dernière spire, de sorte que, en vibrant, les spires
se rapprochent ou s'éloignent les unes des autres. Un très
léger mouvement du diaphragme suffit à rapprocher les premières
spires ; et, en général, le nombre de spires ainsi
en contact dépend de l'amplitude du mouvement du diaphragme. Le
fil est intégré au circuit primaire d'une bobine d'induction,
de sorte que la résistance du circuit fluctue lorsque le diaphragme
vibre. Ce fil a également été utilisé comme
primaire de la bobine d'induction elle-même, avec de meilleurs résultats.
sommaire
le 30 juillet 1877, Edison dépose
un autre brevet qui montre l'utilisation de la bobine d'induction
pour amplifier le courant microphonique.
Avec les téléphones à pile, le problème est plus complexe, à cause
de l'emploi d'une pile qui doit être commune à deux systèmes d'appareils,
et de la bobine d'induction qui doit être intercalée dans deux circuits
distincts.
Comme le signal microphonique ne couvrait pas de grandes ditances, c'est
aussi Edison qui trouve le moyen de solutioner
ce handicap en introduisant une bobine d'induction .Ce principe
du microphone et de la bobine d'induction va se généraliser
et contribera au développement du téléphone dans
le monde entier.

Western Union commercialisait ses téléphones
par l'intermédiaire de ses filiales : The American Speaking Telephone
Company et The Gold and Stock Telegraph Company. Elles vendaient des téléphones
utilisant le téléphone à carbone d'Edison comme émetteur,
couplé au téléphone à couronne unique de Phelps
comme récepteur. Le téléphone de Gray était
également couplé à l'émetteur d'Edison. L'usine
new-yorkaise de Western Union, dirigée par Phelps, fabriqua des
appareils télégraphiques et téléphoniques
de 1877 à 1879.
sommaire
LES TÉLÉPHONES À CONDENSATEUR
Des téléphones dans lesquels la charge statique, plutôt
que l'intensité du courant, varie en fonction des paroles, ont
également été testés avec succès par
M. Edison. Les modèles illustrés aux figures 25 et 26 (conçus
les 9 février et 10 décembre 1877) ne diffèrent que
par leur construction, et non par leur principe.
fig 25 fig
26
Le premier est constitué d'une chambre de vocalisation circulaire
avec embouchure en V. Cette chambre est entourée de plaques, reliées
entre elles et au sol. Ces plaques sont libres de vibrer et sont représentées
sur la figure en coupe, en P'. Juste derrière chacune d'elles se
trouve une plaque similaire à celle en P, maintenue en son centre
par une vis de réglage.
Les plaques de la rangée extérieure sont reliées
électriquement entre elles et à la batterie qui les relie
à la ligne. Lorsque la rangée intérieure de plaques
vibre sous l'effet d'un son, la distance entre elles varie et modifie
leur capacité statique.
fif 27 fig 28
Sur la figure 27, les plaques sont disposées comme dans un condensateur
ordinaire. Une pression initiale est exercée sur elles par une
vis logée dans le cadre solide de l'instrument. Le diaphragme,
en vibrant, fait varier la distance entre les plaques ; cela modifie
leur charge statique et affecte également la tension électrique
de la ligne.
La résistance d'un conducteur dépend de sa forme. Si un
bloc de métal isométrique est étiré pour former
un fil, sa résistance peut être indéfiniment augmentée.
Ce fait est à la base de plusieurs téléphones ingénieux
inventés par M. Edison.
Celui de la figure 28 (conçu le 17 août 1877) est d'une construction
extrêmement simple. Un globule de mercure, M, repose sur une plaque
métallique légèrement concave. Une aiguille du diaphragme
en indente la surface supérieure et, en vibrant, modifie légèrement
la forme du globule. Cette modification, bien que très faible,
suffit à faire varier considérablement la résistance
du courant téléphonique.
Une caractéristique particulière d'un globule de mercure
est de changer de forme lorsqu'il est traversé par un courant.
M. Edison a appliqué ce phénomène au récepteur
téléphonique illustré à la figure 104 (conçu
le 19 août 1877). Le globule de mercure M est placé, avec
une solution conductrice, dans un tube en U. Les courants provenant d'un
transmetteur, traversant le contenu du tube, allongent le mercure. Cela
agite le liquide et fait vibrer le flotteur F, fixé au centre du
diaphragme.
30 Avril 1878 Brevet
203 013 "Speaking Telegraph" 
Le 30 avril 1878 Brevet
203 014 "Speaking Télégraph"
puis le brevet 203 014 "Telephon
Call Signal" suivi
du brevet 203 016

sommaire
LE TÉLÉPHONE À PILE VOLTAÏQUE.
fig 29 fig
30
Nous avons représenté sur la figure 29 (conçue le
25 août 1877) un appareil appelé téléphone
à pile.
Un morceau de liège, K, fixé au diaphragme, appuie sur une
bande de platine, elle-même fixée à une plaque de
cuivre. Cette dernière est l'une des plaques terminales d'une pile
voltaïque ordinaire. L'autre plaque terminale appuie sur le cadre
métallique de l'appareil. Lorsque la pile est intégrée
à un circuit téléphonique fermé, elle fournit
un courant continu. L'intensité de ce courant dépend de
la résistance interne de la pile et de sa polarisation, qui sont
modifiées par la vibration du diaphragme.
Un récepteur pratique et particulier utilisé par M. Edison
est représenté sur la figure 30 (conçue le 30 août
1877). Il est semblable au téléphone magnéto ordinaire,
sauf que le diaphragme circulaire est remplacé par une fine bande
de fer dont les bords ont été pliés pour le rigidifier.
Nous le mentionnons simplement parce qu'il démontre qu'il n'est
pas indispensable d'utiliser un diaphragme circulaire.
fig 31
Un téléphone nouveau et purement mécanique est illustré
par la figure 31 (conçue en août 1877).
Au lieu d'un fil de ligne, on utilise le gaz d'éclairage contenu
dans des conduites de gaz. Ce calcul est effectué uniquement pour
de courtes distances, car il est essentiel que le gaz utilisé dans
les bureaux communiquant soit tiré de la même conduite principale.
Sur la figure, P représente la conduite principale. Les téléphones
sont représentés en T et T'. L'instrument est simplement
un cône fixé par son sommet à la conduite de gaz à
la place du brûleur. L'extrémité la plus large est
fermée par un fin diaphragme circulaire. Les vibrations sont transmises
d'une conduite à l'autre par l'intermédiaire du gaz.
sommaire
Le phonographe et le téléphone, combinés, forment
un instrument appelé téléphonographe, (conçue
le 17 août 1877) est une représentation.
Le tambour du phonographe est représenté en coupe. Le diaphragme,
au lieu d'être mis en vibration par la voix, est mis en vibration
par les courants qui parcourent l'hélice H et qui proviennent d'une
station éloignée.
Il s'agit d'une simple combinaison des deux instruments, comme le montre
le schéma ci-joint. Le tambour du phonographe est représenté
en coupe. Le diaphragme, au lieu d'être mis en vibration par la
voix, est mis en vibration par les courants qui traversent l'hélice
H et proviennent d'une station distante. L'objectif de ce nouvel instrument
est d'obtenir un enregistrement des paroles prononcées au bureau
distant, qui peut être converti en son si nécessaire. Cet
instrument confère une signification supplémentaire au phonographe.
Le 10 décembre 1878 Brevet
210 767 Edison dépose le brevet du microphone à charbon
. Il se compose d'un bouton de poudre de carbone molle comprimée,
de la taille d'une pièce de dix pence, placée entre deux
disques de laiton, contre l'un desquels appuie un diaphragme de fer.
La parole dans l'embouchure fait vibrer le diaphragme et produit des variations
de la résistance.
(photos de l'original).
|
Edison, Lettre à Tracy Edson, Menlo Park,
16 juillet 1879
Mon cher Monsieur Edson
Votre faveur d'hier est à portée de
main.
J'ai fabriqué de nombreux récepteurs neufs, dont plusieurs
modèles se sont tous révélés défectueux.
J'en ai fabriqué 50 de différents types pour un coût
compris entre 15 et 1 800 $, puis je les ai tous jetés. Je
souhaite être satisfait de l'appareil avant qu'il ne me quitte,
ce qui me permettra d'économiser de l'argent par la suite.
Bien sûr, comme je dois recevoir 1 $ pour chaque appareil
utilisé par l'entreprise, j'ai intérêt à
les lui remettre au plus vite. Tant que j'ai vu une occasion de
les améliorer, j'ai continué à travailler.
Je compte livrer d'ici deux semaines un modèle d'appareil
qui fonctionnera parfaitement avec votre système de central
téléphonique et qui vous donnera entière satisfaction.
Très sincèrement.
TA Edison
1. Edson avait demandé : « Où
est le problème qui nous empêche d'obtenir certains
de vos nouveaux récepteurs ? Est-ce notre faute ? Ne pouvez-vous
pas nous en fabriquer, ou nous empêcher de les faire fabriquer
? » Les notes de Stockton Griffin pour cette réponse
figurent au verso de la lettre d'Edson. George Walker avait formulé
une demande similaire concernant le récepteur le 14 juillet,
lorsqu'il avait écrit à Edison qu'il avait entendu
« des comptes rendus incendiaires à leur sujet dans
les journaux et de la part de personnes ayant visité votre
usine ; un homme a rapporté que vous aviez engagé
toute votre équipe dans la construction de 500 appareils
pour l'Europe. Il me semble que nous devrions bénéficier
d'au moins un échantillon, avant que le marché extérieur
ne soit approvisionné. » La réponse d'Edison
du 16 juillet à la lettre de Walker est similaire à
ce document, sauf qu'il nie expressément avoir fabriqué
500 appareils et déclare en outre n'avoir « envoyé
que 4 téléphones insatisfaisants en Europe »
2. Edison envoya six récepteurs à Gold et Stock le
16 août et rapporta à Arnold White deux jours plus
tard que dix instruments fonctionnaient de manière satisfaisante.
|
9 décembre 1879
brevet 222 390 "Carbon Téléphone "

En 1885, Edison a développé un émetteur
de carbone amélioré pour la Bell Telephone Company, qui
utilisait des granules de charbon anthracite torréfié plutôt
que du noir de fumée. La conception de base d'Edison a continué
d'être couramment utilisée jusqu'à l'apparition des
téléphones numériques dans les années 1980.
Résolvant un problème alors considéré
comme insurmontable, et par l'adaptabilité de ses principes à
des difficultés apparemment insurmontables apparues ultérieurement
dans d'autres domaines, cette invention est l'une des plus remarquables
parmi les nombreuses inventions d'Edison au cours de sa longue carrière
d'inventeur.
L'objectif principal recherché était la répétition
de signaux télégraphiques à distance, sans galvanomètre
ni relais électromagnétique, afin de contourner les revendications
du brevet Page. Cet objectif a été atteint avec le dispositif
décrit dans le brevet de base d'Edison n° 158 787,
délivré le 19 janvier 1875, en remplaçant
la présence et l'absence de magnétisme par des frottements
et des antifrictions dans un relais de régulation.
On notera, entre parenthèses, à l'intention du lecteur profane,
qu'en télégraphie, le dispositif appelé relais est
un instrument récepteur contenant un électroaimant adapté
pour réagir au faible courant de ligne. Son armature se déplace
en fonction des impulsions électriques, ou signaux, transmis à
distance et, en réponse, fonctionne mécaniquement pour fermer
et ouvrir alternativement un circuit local séparé, équipé
d'un avertisseur sonore et d'une puissante batterie. Utilisé à
des fins de véritable relais, les signaux reçus à
distance sont à leur tour répétés sur la section
suivante de la ligne, la puissante batterie locale fournissant le courant
nécessaire. Comme cela provoque une forte répétition
des signaux d'origine, le relais constitue une méthode économique
pour étendre un circuit télégraphique au-delà
des limites naturelles de la puissance de sa batterie.
À l'époque de l'invention d'Edison, il n'existait aucune
autre méthode connue que celle qui vient d'être décrite
pour la répétition des signaux transmis, limitant ainsi
l'application de la télégraphie au plaisir de ceux qui pourraient
détenir un brevet contrôlant le relais, sauf sur les circuits
simples où une seule batterie suffisait. La découverte antérieure
d'Edison sur le frottement différentiel des surfaces par décomposition
électrochimique fut alors adaptée par lui pour produire
un mouvement à l'extrémité d'un circuit sans l'intervention
d'un électroaimant. En d'autres termes, il inventa un instrument
télégraphique doté d'un vibrateur commandé
par décomposition électrochimique, remplaçant une
armature vibrante actionnée par un électroaimant, ouvrant
ainsi une voie artistique entièrement nouvelle et insoupçonnée.
27 avril 1877 : Edison dépose des demandes de brevet pour le téléphone.
Les brevets américains (n° 474 230, 474 231 et 474 232) ont
été accordés à Edison en 1892, malgré
les revendications concurrentes d' Alexander Graham Bell , Emile Berliner
, Elisha Gray , Amos Dolbear , JW McDonagh, GB Richmond, WLW Voelker,
JH Irwin et Francis Blake Jr. L' émetteur à granules
de carbone d'Edison et le récepteur électromagnétique
de Bell sont utilisés, avec des améliorations, par le système
Bell pendant de nombreuses décennies par la suite.
W.L. Voelker
et Irwin très peu connus pour des travaux sur le téléphone,
entrèrent en litige avec Edison en 1883.
Premier central téléphonique en Europe
21 août 1879 Ce jour ùarque l'histoire
du téléphone, le premier central téléphonique
d'Europe, de la Telephone Company Ltd, ouvrait à Londres. Située
au 36 Coleman Street, la Telephone Company Ltd avait une capacité
de 150 lignes et comptait à son ouverture environ 8 abonnés.
Des centraux téléphoniques ont également été
ouverts par la société plus tard dans l'année à
Glasgow, Manchester, Liverpool, Sheffield, Édimbourg, Birmingham
et Bristol.
L'Edison Telephone Company of London Ltd fut enregistrée
le 2 août avec un capital de 200 000 £ pour exploiter les
brevets téléphoniques d'Edison. Le premier central téléphonique
de la société fut officiellement inauguré le 6 septembre
au 11 Queen Victoria Street, à Londres, avec dix abonnés
utilisant des émetteurs à charbon et des récepteurs
à craie.
Fin février suivant, avec deux autres centraux en service, la société
comptait 172 abonnés.
Le tarif annuel était de 12 £, contre 20 £ pour la
Bell Company.
Cette année, lorsqu'on lui a demandé si
le téléphone serait un instrument d'avenir largement adopté
par le public, M. William Preece (plus tard Sir
William Preece), du service des ingénieurs des Postes, a répondu
: « Je ne pense pas. » Interrogé plus longuement, il
a ajouté : « J'imagine que les descriptions que nous recevons
de son utilisation en Amérique sont un peu exagérées
; mais certaines conditions en Amérique nécessitent davantage
l'utilisation d'instruments de ce type qu'ici. Nous avons ici une surabondance
de messagers, de coursiers et autres personnes de ce genre. »
Les archives de Edison contiennent
de la correspondance, des accords, des rapports, des statuts, des procès-verbaux
et d'autres documents relatifs aux activités de l'Edison
Telephone Co. of Europe, Ltd., société détentrice
de brevets constituée à New York en 1879, et de la Société
du Telephone Edison, société française créée
le 1er janvier 1879.
Nombre de ces documents concernent les tentatives de fusion de trois sociétés
françaises concurrentes : la Société du Telephone
Edison, la Société du Telephone Gower et la Soulerin Co.
Une grande partie de la correspondance est signée par Theodore
Puskas, agent d'Edison pour l'Europe continentale, et par Joshua
F. Bailey,
représentant européen de la Western Electric Manufacturing
Co. Des documents connexes sont disponibles dans le registre des procès-verbaux
de l'Edison Telephone Company of Europe, Ltd. (Collection
Archives de la société).
Le téléphone sur le principe de l'électromotographe
.
Les effets curieux et réellement très-avantageux que M.
Edison avait obtenus avec son électro-motographe, lui donnèrentl'idée,
dès le commencement de l'année 1877 , d'appliquer le principe
de cet appareil au téléphone pour la reproduction des sons
transmis, et il a obtenu des résultats tellement intéressants
que l'auteur d'un article sur les téléphones , publié
dans le Telegraphic Journal du1 5 août 1877 , présente cette
invention comme l'une des plus belles du dix-neuvième siècle.
Ce qui est certain, c'est qu'elle semble avoir donné naissance
au phonographe qui , dans ces derniers temps , a fait tant de bruit
et a tant étonné les savants .
Pour concevoir cet instrument, Edison utilisa un principe qu'il avait
découvert quelques années auparavant.
Dans son brevet américain n° 221 957, daté du 25
novembre 1879, il déclare :
Le mécanisme particulier sur lequel repose cette invention a
été breveté par moi
le 19 janvier 1875 et numéroté 158 787.
J'ai également déposé une demande d'application de
ce procédé à la téléphonie le 20 juillet
1877, n° 141, dans laquelle une bande de papier se déplace
sous un point relié au diaphragme. Cette caractéristique
n'est donc pas revendiquée de manière générale
ici. La présente demande porte plus particulièrement sur
des dispositifs qui rendent l'invention parfaitement utilisable dans le
commerce et la rendent fiable et efficace.
L'instrument produit dans un délai aussi court constituait donc
davantage un développement qu'une nouvelle invention.
Près de deux ans auparavant, il avait déposé une
demande de protection pour l'application de ce « procédé
particulier » à la téléphonie, mais uniquement
pour un téléphone musical doté d'un contact à
ouverture et fermeture analogue à celui de Reis. Pressé
de proposer un récepteur indépendant, Edison s'est rapidement
mis au travail pour finaliser l'instrument sous une forme pratique.
Le principe
illustré à la figure est le suivant : peut être
brièvement décrit :
Edison a constaté qu'un stylet relié à l'un des pôles
d'une pile, tiré sur une bande de papier posée sur une surface
métallique, était soumis à l'effet de frottement
lorsque la touche faisant partie du circuit était ouverte et qu'il
en était exempt lorsque la touche était fermée.
Il a appliqué ce principe de mouvement à distance comme
alternative à l'armature et au ressort d'un instrument télégraphique.
Son utilité était davantage liée à l'invention
et au brevet qu'à la pratique, de sorte que l'électro-motographe,
comme il l'appelait, était peu connu.
Cet instrument, dans sa forme la plus simple, consiste en un diaphragme
mis en vibration par les variations de frottement entre une bande métallique
et un cylindre rotatif préparé chimiquement, sous l'effet
des variations d'intensité d'un courant électrique passant
au point de contact entre la bande métallique et le cylindre. Dans
sa forme la plus simple, l'appareil consiste en un cylindre composé
de craie et d'hydrate de potassium additionné d'une petite quantité
d'acétate de mercure, moulé autour d'un rouleau ou d'une
bobine en laiton à bride, dont les surfaces en contact avec le
mélange sont revêtues de platine, lequel est maintenu humide.
Sur la circonférence supérieure du cylindre, qui tourne
sur un axe horizontal, une bande métallique est pressée
avec une pression ferme et uniforme au moyen d'un ressort réglable.
La partie de la bande qui appuie sur le cylindre est revêtue de
platine, et l'extrémité opposée est fixée
à un diaphragme de mica de quatre pouces de diamètre, solidement
fixé par sa circonférence. Le cylindre est relié
à l'élément en cuivre d'une pile, et la bande au
pôle en zinc, un téléphone émetteur étant
intégré au circuit. Si, en l'absence de courant, le cylindre
tourne à vitesse uniforme en s'éloignant du diaphragme,
le frottement entre le cylindre et la bande entraîne l'attraction
du diaphragme vers l'intérieur, c'est-à-dire vers le cylindre,
et le diaphragme prend une position fixe dépendant de sa propre
rigidité et du frottement entre le cylindre et la bande.
Cependant, dès qu'un courant traverse l'instrument, le frottement
diminue et le diaphragme revient en arrière grâce à
son élasticité sans résistance, la variation du frottement
étant proportionnelle à la variation de l'intensité
du courant électrique ; Cette combinaison est si merveilleusement
sensible que les variations d'intensité du courant électrique
provoquées par la voix humaine parlant contre un téléphone
à charbon produisent instantanément les variations de frottement
correspondantes, et le diaphragme répète les mots, mais
beaucoup plus fort qu'à l'origine, à la station distante.
Le Récepteur
Motographe. Conçu le 23 novembre 1877
La figure ci dessus est une vue en perspective de l'appareil, qui est
en réalité trois instruments en un, combinant un émetteur,
un récepteur et une sonnette d'appel, et qui, de ce fait, présente
une apparence quelque peu complexe.
La partie supérieure, quant à elle, constitue entièrement
la sonnette d'appel et le dispositif de signalisation, qui permettent
d'attirer l'attention de l'autre station et de recevoir les appels. Cet
appareil ne diffère en rien d'une sonnette électrique ordinaire,
dotée d'une touche et d'un interrupteur permettant de la mettre
en circuit.
Devant le boîtier, en fonte, se trouve le grand diaphragme, mais
celui-ci présente lui aussi une apparence plus complexe, car le
téléphone à charbon est fixé devant et concentriquement
à celui-ci. Si l'émetteur et la sonnette d'appel étaient
retirés, l'apparence extérieure du récepteur se résumerait
à une boîte rectangulaire, percée d'un trou de quatre
pouces sur sa face avant émaillée au mica, et dotée
d'une petite manivelle de treuil dépassant du côté
droit.
 
L'agencement intérieur est illustré à la figure ci
dessus à gauche, qui est une vue arrière de l'intérieur.
A représente le cylindre de craie monté sur l'arbre horizontal
B B, qui, grâce à une roue droite et un pignon, peut être
mis en rotation à vitesse modérée en tournant la
manivelle du treuil W. L'axe B, tournant vers l'intérieur, est
soutenu par le long palier à bossage illustré sur la figure,
qui fait partie du support en fonte H H, auquel sont fixées toutes
les pièces de l'appareil, à l'exception du diaphragme et
de sa bande de liaison. Dis le diaphragme, constitué d'un disque
de mica épais de quatre pouces de diamètre, et C une bande
métallique fixée en son centre, pressée fermement
contre la partie supérieure du cylindre par le ressort rigide S,
dont la pression est régulée par la vis E. G est un arbre
de renvoi, que l'on peut faire tourner légèrement en appuyant
sur un levier fixé à l'extérieur du boîtier.
Ce mécanisme permet de soulever, grâce à un levier
à fourche, un rouleau amortisseur contre la surface du cylindre
de craie, et ainsi de compenser occasionnellement les pertes d'eau par
évaporation. Lorsqu'il n'est pas utilisé, le rouleau repose
dans un bac d'eau T et ne doit être soulevé qu'occasionnellement,
lorsque le cylindre est trop sec, pour obtenir les meilleurs résultats.
Lorsque cet instrument est connecté à un téléphone
au carbone, dont la puissance de la batterie ne dépasse pas deux
piles Fuller, tout son émis dans l'émetteur est non seulement
parfaitement reproduit par le diaphragme en mica, mais son son est tellement
amplifié qu'il constitue ce qui, dans un haut-parleur, serait considéré
comme une voix inhabituellement forte.
M. Edison a constaté que cet instrument, comme le récepteur
magnétique, produit des résultats bien plus satisfaisants
lorsqu'il fonctionne sur un circuit à induction que lorsqu'il est
connecté directement à l'émetteur au charbon. Il
adopte donc le principe consistant à placer l'instrument récepteur
en circuit avec le fil secondaire d'une bobine d'induction, l'émetteur
et la pile étant sur le circuit primaire.
Le caractère ondulatoire conféré au courant voltaïque
par sa transmission à travers le disque de charbon, dont la résistance
varie continuellement sous l'influence des vibrations sonores, produit
par induction un courant ondulatoire correspondant dans le circuit secondaire
de la bobine d'induction. Ce courant variable, transmis par le fil de
ligne à l'instrument récepteur, en faisant varier l'intensité
de la décomposition électrochimique entre le cylindre de
craie et la pointe de platine qui appuie dessus, provoque une variation
correspondante du coefficient de frottement entre les deux surfaces.
Le secret de la grande puissance de cet instrument, qui lui permet de
parler d'une voix distincte dans une grande pièce, réside
dans le fait que le mouvement mécanique du diaphragme est produit
par des moyens mécaniques locaux, tels qu'un mécanisme d'horlogerie
ou une rotation manuelle, et non par le courant électrique, comme
dans tous les autres récepteurs téléphoniques. Le
courant électrique contrôle simplement le moment où
cette force mécanique est exercée et son intensité.
On peut le comparer mécaniquement à un accouplement à
friction, ou à un embrayage, par lequel une machine est entraînée
par une machine à vapeur et qui peut à tout moment transmettre
la pleine puissance du moteur à la machine, ou, en faisant varier
le frottement, n'en transmettre qu'une partie.
Brevet 231.704 Electro-Chemical
Receiving-Telephone 31 aout 1880

Edison a aussi fabriqué un modèle mural pour les
Usa.

LE DERNIER TÉLÉPHONE D'EDISON
La forme, n'est pas la seule modification. Dans le premier
téléphone électrochimique, le cylindre de craie était
humidifié par un rouleau mobile qui trempait le fluide d'excitation
et l'humidifiait. Ce rouleau mobile est désormais supprimé,
et le cylindre de craie est enfermé dans un boîtier en ébonite,
visible à l'extrémité du bras mobile. Une fois humidifié,
le cylindre reste dans cet état indéfiniment, le boîtier
étant pratiquement étanche à l'air. Le petit arbre
parallèle au bras en fer traverse le côté du boîtier
et porte le cylindre de craie. À l'extrémité opposée
se trouve un petit pignon mû par une vis sans fin, dont la manivelle
est actionnée par le doigt. La membrane de l'instrument récepteur
est recouverte par la face avant du boîtier, à l'exception
d'une petite partie centrale, largement suffisante pour la sortie du son.
Le bras qui soutient l'instrument récepteur est articulé,
ce qui permet de le relever verticalement lorsque le téléphone
n'est pas utilisé.
L'émetteur est logé dans le boîtier rectangulaire
fixe ; son embouchure est légèrement saillante, et la membrane,
en mica, est soutenue par un cadre métallique et des ressorts à
l'intérieur du couvercle. Cet émetteur est très différent
des émetteurs au carbone, aujourd'hui si largement utilisés
aux États-Unis. Il est extrêmement simple et ne nécessite
pas de réglages fréquents, tout en étant aussi sensible
que les émetteurs existants.
25 Novembre 1879 Brevet 221 957

Un bras en ébonite est fixé au centre du
diaphragme en mica par un petit boulon, relié à un pôle
de la pile par une feuille métallique ou un fil de cuivre très
fin. La tête de ce boulon, plaquée platine, est profondément
enfoncée dans le bras en ébonite. Cette même cavité
contient également un crayon de carbone, tel qu'on en utilise pour
les bougies électriques. Le carbone s'insère librement dans
la cavité et est arrondi à ses deux extrémités.
Son extrémité extérieure est comprimée par
un ressort plaqué platine, fixé à l'extrémité
extérieure du bras en ébonite. Le ressort porte à
son extrémité libre, exactement en face du morceau de carbone,
un poids en laiton, et la pression du ressort sur le carbone est réglée
par la petite vis de réglage. Un fil métallique ou un morceau
de feuille de cuivre, relié au ressort, complète un circuit
électrique comprenant le primaire d'une bobine d'induction contenue
dans le boîtier rectangulaire. Le fil secondaire de la bobine d'induction
est relié à la ligne téléphonique, et une
bobine tertiaire, qui enveloppe le secondaire, est reliée au cylindre
en caoutchouc et en craie de l'appareil récepteur. Sous le boîtier
de l'émetteur se trouvent deux touches : celle de droite sert
à la signalisation, celle de gauche à la fermeture du circuit
tertiaire lors de la réception d'un message.
Le cylindre de l'appareil récepteur est constitué de craie
précipitée solidifiée par une forte pression. Le
fluide utilisé pour saturer la craie est une solution diluée
de phosphate disodique d'hydrogène. M. Edison a découvert,
par une longue série d'expériences, que la solution employée
doit être celle d'un alcali ou le phosphate d'un alcali, et le phosphate
disodique d'hydrogène s'est révélé supérieur
à tous les autres.
Le fonctionnement de ce téléphone sera compris en se référant
à la description du premier téléphone électrochimique.
La vibration du diaphragme de l'appareil émetteur fait varier la
résistance entre le carbone et les deux électrodes, de sorte
qu'un courant variable ou ondulatoire traverse le primaire de la bobine
d'induction ; Ceci, bien sûr, produit un courant secondaire
d'intensité variable dans le fil secondaire de la bobine d'induction,
lequel, étant en circuit avec le fil secondaire de la bobine d'induction
d'un instrument distant, produit un courant dans le fil tertiaire enroulé
autour de la seconde bobine. Le courant tertiaire traverse le cylindre
de craie et le caoutchouc recouvert de platine. Lorsque le cylindre de
craie tourne, le frottement du caoutchouc varie en fonction de la variation
des courants primaire, secondaire et tertiaire. Le caoutchouc recouvert
de platine est relié au diaphragme, et le frottement du caoutchouc
est suffisant, lorsqu'un faible courant passe, pour tirer le diaphragme
vers l'avant lorsque le cylindre tourne ; mais lorsque la moindre
augmentation de courant traverse la bobine primaire, le courant tertiaire
induit transforme la surface de frottement de la craie en une surface
sans frottement, et le diaphragme revient en arrière. Tout cela
est nécessaire pour décrire une seule vibration du diaphragme,
dont des milliers sont nécessaires pour prononcer une seule phrase.
Il n'est pas nécessaire que le courant soit interrompu pour produire
l'effet désiré dans le récepteur. En effet, il est
probable qu'une rupture absolue ne se produise jamais dans l'utilisation
courante du téléphone. Ce système utilise une sonnette
d'appel ordinaire pour donner l'alarme. Ce téléphone est
inégalé en termes de volume sonore et ne nécessite
pas d'électroaimant pour sa construction. Le système est
protégé par le brevet Bell, et les améliorations
d'Edison appartiennent à l'American Bell Telephone Company.

Cette figure montre une cabine téléphonique contenant un
émetteur Edison et un récepteur bipolaire Gray. Cet appareil
fut l'une des modifications les plus efficaces du téléphone
Bell introduites aux États-Unis. L'autre figure représente
la disposition des circuits du système Edison.
Ce modèle fut présenté au publique
dans le journal le 'Scientific American, New York, le 27
Septembre, 1879
Quelques semaines après que nous ayons décrit le téléphone
électrochimique du professeur Edison comme il était apparu
pour la première fois sous une forme pratique; depuis lors, il
a subi une succession de changements jusqu'à ce qu'il ait finalement
pris la forme compacte et commode indiquée dans la gravure qui
l'accompagne.
La forme, cependant, n'est pas le seul changement. On se souvient que
dans le premier téléphone électrochimique, le cylindre
à craie était rempli d'humidité par un rouleau mobile
plongeant dans le fluide excitant et le remplissant d'humidité.
On se débarrasse maintenant de ce rouleau mobile, et le cylindre
de craie est incliné dans une boîte de vulcanite, vue à
l'extrémité du bras mobile. Une fois humidifié, le
cylindre reste dans cet état pendant une durée indéterminée,
car la boîte est pratiquement étanche.
Le petit arbre parallèle au bras de fer traverse le côté
de la boîte et porte le cylindre de craie. À l'extrémité
opposée se trouve un petit pignon entraîné par une
vis sans fin dont la manivelle est tournée par le doigt. Le diaphragme
de l'instrument de réception est recouvert par l'avant du boîtier,
à l'exception d'une petite partie centrale qui est tout à
fait suffisante pour la sortie du son.
Le bras qui supporte l'instrument récepteur est articulé
de manière à pouvoir être soulevé verticalement
lorsque le téléphone n'est pas utilisé.
L'émetteur est contenu dans la boîte rectangulaire fixe;
son embout buccal se projette légèrement et le diaphragme
en mica est soutenu par un cadre métallique et des ressorts à
l'intérieur du couvercle du boîtier. Cet émetteur
est tout à fait différent des émetteurs de carbone
actuellement si largement utilisés dans ce pays, et il sera nouveau
pour beaucoup de nos lecteurs; mais c'est l'un des premiers et meilleurs
téléphones ou microphones du professeur Edison.
 |
Il est extrêmement simple et ne nécessite
pas d'ajustements fréquents, alors qu'il est tout aussi sensible
que les formes d'émetteur existantes.
Les détails de sa construction seront compris par la Fig.
2. Un bras de vulcanite est fixé au centre du diaphragme
en mica au moyen d'un petit boulon, qui est relié à
un pôle de la batterie par un morceau de feuille métallique
ou très mince. fil de cuivre. La tête de ce boulon
est en forme de platine et s'enfonce profondément dans le
bras de vulcanite, la même cavité contenant également
un morceau de crayon de carbone, comme celui utilisé pour
les bougies électriques. Le carbone s'adapte librement à
la cavité et est arrondi aux deux extrémités.
Son extrémité externe est pressée par un cylindre
de craie à face de platine et le caoutchouc à surface
de platine.
Le cylindre de craie tourne sur la variation du frottement du caoutchouc
en fonction de la variation des courants primaire, secondaire et
tertiaire.
Le caoutchouc à surface de platine est relié au diaphragme
et le frottement du caoutchouc suffit, quand aucun courant ne passe,
pour tirer le diaphragme vers l'avant lorsque le cylindre est tourné;
mais quand le moindre courant est envoyé à travers
la bobine primaire, le courant tertiaire induit transforme la surface
friclionale de la craie en une surface sans frottement et le diaphragme
revient en arrière. Tout cela pour décrire une seule
vibration du diaphragme, dont des milliers sont nécessaires
pour prononcer une seule phrase. Il n'est pas essentiel que le courant
soit rompu pour produire l'effet dans le récepteur. Il est
probable qu'une rupture absolue ne se produise jamais dans l'utilisation
normale du téléphone.
Une sonnerie d'appel ordinaire est adoptée dans ce système
pour déclencher une alarme.
Ce téléphone est sans égal pour le volume de
la voix et un électro-aimant n'est pas nécessaire
dans sa construction
|
TÉLÉPHONE COMMERCIAL BRITANNIQUE
Le 10 juillet, Edison avait apporté plusieurs modifications importantes
à la conception des appareils téléphoniques qu'il
avait envoyés en Grande-Bretagne fin février. Le premier
modèle avait été construit pour des démonstrations,
tandis que le nouveau était destiné à un usage commercial.
La modification la plus visible concernait l'emplacement du récepteur.
L'un des critères de laboratoire pour juger de l'efficacité
du récepteur était la distance d'audibilité des conversations,
mais les qualités sonores du récepteur de l'électromotographe
empêchaient apparemment d'entendre les signaux plus faibles dans
une pièce bruyante.
Le récepteur fut donc déplacé de la cabine téléphonique
à l'extrémité d'un bras articulé pouvant être
placé au niveau de l'oreille de l'auditeur. Cette conception, apparue
au cours de la première semaine de juillet, fut rendue possible
grâce à une nouvelle composition de craie qui restait humide
indéfiniment après avoir été mouillée.
Edison découvrit qu'il pouvait maintenir l'humidité des
craies en les plaçant dans un récipient hermétique
en ébonite, sans rouleau mouilleur ni réservoir d'eau. Les
premiers modèles du nouveau récepteur à bras oscillant
plaçaient la manivelle permettant de faire tourner la craie sur
le boîtier du récepteur, reliée à l'arbre du
récepteur par une vis sans fin ; plus tard, l'arbre fut repositionné
et relié directement à la manivelle. L'un de ces modèles
a peut-être été utilisé dans une commande du
10 juillet pour « deux nouveaux récepteurs à
bras oscillants ». Le même jour, cependant, Batchelor
ordonna à l'atelier de « fabriquer un nouveau récepteur
avec un mouvement de vis sans fin pour entraîner l'articulation
du bras », suggérant que la manivelle devait être
placée à la base du bras et reliée à la craie
par une vis sans fin et un arbre, comme le montre un plan mesuré
du 12 juillet pour un modèle de l'Office des brevets.
Le 10 juillet également, une autre commande fut passée
pour un récepteur doté d'un « mouvement d'horlogerie
et d'un volant d'inertie », similaire à celui décrit
dans la demande de brevet déposée par Edison le 17 juillet
(brevet américain n° 231 704).
Les téléphones commerciaux expédiés
en Angleterre à la mi-juillet avaient la manivelle à la
base du bras, reliée à la craie par une vis sans fin et
un arbre. Deux modifications supplémentaires ont également
été apportées au nouveau récepteur.
Brevet
Croqui du du 7 juillet de Charles Batchelor représentant le récepteur
boulonné au bras, la craie étant tournée par une
manivelle montée directement sur l'arbre.
Un bloc en caoutchouc, fixé à l'extrémité
d'une vis à oreilles, a remplacé l'ancien système
de ressort de tension afin de maintenir la pression entre le ressort de
contact métallique et la craie. Le récepteur lui-même
a été placé dans le circuit tertiaire d'une bobine
d'induction.
En juillet, le nouvel émetteur à inertie a remplacé
l'émetteur Edison standard, et l'embouchure en bois a été
remplacée par une embouchure en caoutchouc. Fin septembre, l'émetteur
à inertie a été abandonné au profit d'un retour
à l'émetteur à charbon standard, couramment utilisé
aux États-Unis, dont le bouton en charbon est maintenu dans une
coupelle fixée sur le corps de l'émetteur.
(Un boîtier en ébonite contenait le récepteur, constitué
d'un diaphragme en mica d'où sortait le ressort de contact. Ce
ressort glissait sur la surface du cylindre de craie rotatif sous la pression
du bloc en caoutchouc, réglée par une vis à oreilles.)
Le modèle de brevet trouvé à l'Edison Institute,
Dearborn, Michigan, pour le brevet américain Edison n° 231 704
est basé sur le dessin de ce brevet, qui montre la manivelle sur
le boîtier. Une version légèrement différente
du dessin du modèle du brevet du 12 juillet apparaît dans
le brevet britannique Edison n° 5 335 (1879).
Il existe également deux dessins mesurés réalisés
par John Kruesi en août
Lun des premiers modèles commerciaux, identifié par
son embouchure en bois, se trouve au Science Museum de Londres. On ignore
si linstrument présenté possède un transmetteur
à inertie ou un transmetteur à charbon standard.
Le Scientific American a décrit et illustré un instrument
équipé d'un émetteur à inertie dans son numéro
du 27 septembre 1879. Cependant, lorsque le dessinateur de laboratoire
Samuel Mott a réalisé des dessins couleur mesurés
en octobre 1879, l'émetteur à inertie avait été
supplanté. « Le dernier téléphone d'Edison ».
Dessins de Charles Batchelor, datés du 12 juillet, pour un modèle
de l'Office américain des brevets, montrant le nouveau récepteur
sur un bras oscillant.

Dessin de Samuel Mott doctobre 1879 avec lavant du téléphone
ouvert pour montrer la bobine dinduction, et dessin de Samuel Mott
doctobre 1879 montrant lémetteur à carbone standard
qui a remplacé lémetteur à inertie ; il est
connecté à la bobine dinduction.
Correspondances
|
À Edward Johnson [Menlo Park,] 21 juillet
1879
Monsieur
Je vous ai expédié samedi quatre instruments qui,
j'en suis absolument certain, vous donneront entière satisfaction.
Ils ont le mérite d'être simples, pratiques et bon
marché, et ne risquent absolument pas de tomber en panne.
Vous constaterez que la craie est maintenant dans un récipient
parfaitement fermé. La craie est un phosphate de soude, et
de toutes les substances, c'est la seule parfaite. Elle semble absolument
parfaite et dure plusieurs jours à l'air libre. Le sel est
parfaitement neutre et ne s'altère pas. Vous constaterez
peut-être une cristallisation à la surface de la craie
à la réception, car je crains qu'elle n'ait été
trop imbibée. Ils fonctionnent de la même manière,
qu'ils soient mouillés au quart ou complètement. Nous
préparons une solution concentrée de phosphate de
soude, que nous diluons avec la moitié de l'eau, puis nous
l'humidifions avec un pinceau à lettres. La surface est la
plus lisse de toutes les craies et ne change jamais, sauf si nous
la satureons trop, ce qui provoque sa cristallisation. Avec le récepteur
tel qu'il a été livré, nous gagnons toute la
marge possible. Avec l'ancien appareil, il était difficile
d'entendre à cause de la distance, mais avec celui-ci, nous
obtenons le même volume sonore. La poignée est plus
facile à manipuler et l'ensemble est meilleur. Nous en enverrons
huit autres la semaine prochaine : quatre auront un autre type
de poignée et des boîtiers en acajou poli, et quatre
autres contiendront l'émetteur téléphonique
à inertie, indéréglable, réglable en
une seconde, coûtant 20 centimes et capable de chuchoter à
7,5 mètres de distance et de communiquer à 7,5 cm.
Par la suite, nous enverrons la moitié d'un émetteur
à inertie et la moitié d'un émetteur standard
jusqu'à épuisement des émetteurs Bergmann.
À ce moment-là, nous pourrons connaître votre
choix.
Pour la première fois, je me sens parfaitement à l'aise
avec le téléphone. Nous allons en installer deux à
New York la semaine prochaine, en standard. Vous savez que je ne
le ferais pas si je n'étais pas entièrement satisfait.
S'il y a des cristallisations, épongez-les simplement à
l'eau et tout ira bien. Je parie ma vie que ces craies n'auront
pas besoin d'être humidifiées plus de deux fois par
an.
Batchelor vous donne plus de détails.
Très sincèrement
T. A. Edison Griffin
- Le 18 juillet, Charles Batchelor a donné
instruction à l'atelier du laboratoire de « modifier
quatre téléphones destinés à l'Angleterre
afin d'y intégrer une bobine primaire de 40 ohms, une secondaire
de 150 ohms et une tertiaire de 400 ohms, et de fabriquer un nouveau
boîtier et un nouveau socle adaptés. Il a fallu installer
une charnière sur le dessus du boîtier afin que nous
puissions accéder à l'émetteur pour le régler.»
L'atelier a exécuté la commande le samedi 19 juillet.
- Dans son article sur le nouveau téléphone d'Edison,
Scientific American notait que le réservoir et le rouleau
utilisés auparavant pour humidifier les craies avaient été
supprimés et remplacés par « le cylindre
de craie enfermé dans une boîte en ébonite
à l'extrémité du bras mobile. Une fois humidifié,
le cylindre reste dans cet état indéfiniment, la boîte
étant pratiquement hermétique.»
- La brosse était utilisée pour humidifier une feuille
de papier de soie dans un cahier typographique afin que l'encre
d'une lettre ou d'un autre document puisse y être transférée
pour en faire une copie. La feuille humide et l'original étaient
placés entre des feuilles huilées (afin d'éviter
le transfert d'encre sur les autres pages du cahier), puis le cahier
fermé était placé sous pression dans une presse
typographique afin de transférer une partie de l'encre de
l'original sur le papier de soie.
Charles Batchelor à Edward Johnson [Menlo Park], 31 juillet
1879
Cher Johnson,
Nous avons bien reçu votre lettre et sommes heureux d'apprendre
que vous avez fait un bon voyage.
Nous vous envoyons aujourd'hui les huit instruments promis dans
ma dernière lettre : ils sont tous équipés
d'émetteurs à inertie, mais pas de plombagine. Nous
y avons inséré un petit morceau de charbon de bois
provenant d'une bougie Jablochkoff. Ils sont tout simplement immenses
et leur beauté réside dans le fait que vous pouvez
parler soit dans l'embouchure, soit à quinze centimètres
de distance, tout en conservant la même clarté et le
réglage. Sur les quatre derniers instruments de ce lot, équipés
d'embouchures en caoutchouc, vous constaterez que le ressort de
pression en caoutchouc est muni d'une goupille vissée dessus.
Nous avons constaté que cela donne de meilleurs résultats
qu'un condensateur, c'est pourquoi nous vous avons envoyé
un certain nombre de broches pour les installer. Nous vous avons
également envoyé un certain nombre de charbons émetteurs,
même si je ne vois pas pourquoi vous en aurez besoin. Nous
vous envoyons également huit boutons de craie supplémentaires,
qui n'ont pas été mouillés du tout. Edison
vous demande de bien vouloir livrer deux instruments complets à
Puskas, car seuls six de ces huit sont facturés à
Londres. Nous vous en fournirons bientôt un grand nombre.
Cordialement.
- Edison télégraphia à Gouraud ce jour-là :
« Expédié aujourd'hui, lot de téléphones,
c'est tout simplement parfait. Télégraphe via Drexel :
sept mille cinq cents pour 500 $. Paiement différé.
Téléphones, les fabricants exigent une avance et un
paiement immédiat.» Gouraud répondit qu'il avait
immédiatement demandé à la maison Drexel de
Londres de créditer Edison de 8 000 $. Cet arrangement
était conforme à la suggestion de Gouraud dans une
lettre du 15 juillet, dans laquelle il conseillait également
à Edison de « conclure vos contrats pour mille
dollars au lieu de 450, car plusieurs centaines seront nécessaires
pour la création des sociétés provinciales »,
qui incluaient désormais une future entreprise de Glasgow.
Lorsqu'il accusa réception de cette lettre le 29 juillet,
Edison déclara : « Je dois déterminer
le style qui sera adopté, car j'envoie différents
styles et je ne sais pas encore lequel conviendra à vos clients. »
- Batchelor a observé le 25 juillet : « Nous
constatons que le carbone très dur, tel que celui utilisé
dans les bougies Jablochkoff, est le meilleur pour la transmission,
permettant une communication claire, que lon parle dans le
microphone ou à distance. » Le 29 juillet, il
rédigea de longues instructions pour la préparation
des huit instruments en vue de leur expédition. Il indiquait
à John Kruesi : « Les quatre téléphones
à inertie équipés de petites bougies Jablochkoff
sur votre bureau sont en bon état et peuvent être emballés
immédiatement. Les quatre téléphones à
émetteur Bergmann sur létabli de [Charles] Flammer
doivent être équipés de nouveaux boîtiers,
avec des téléphones à inertie en mica épais
et des bandes de connexion collées aux diaphragmes
Dans les téléphones à inertie, fabriquez des
boutons-poussoirs Jablochkoff et arrondissez-les aux deux extrémités.»
- Dans ses instructions écrites, Batchelor indiquait à
Kruesi que les téléphones « devaient être
équipés d'un embout en caoutchouc, provenant des téléphones
Bergmann, vissé dans le bois
au lieu de façonner
le bois en forme d'embout ».
- Kruesi a rédigé un bon de commande vers le 15 juillet
pour la fabrication de 100 boutons et leur envoi « à
Johnson avec la prochaine livraison de téléphones
», qui comprenait également 50 sondeurs Bunnell.
- Batchelor a donné instruction à Kruesi : « Nadressez
rien à Puskas ».
|
sommaire
LE MICRO-TASIMETRE.
Le micro-tasimètre est le fruit des expériences d'Edison
avec son téléphone à charbon.
Après avoir expérimenté des diaphragmes de différentes
épaisseurs, il a constaté que les meilleurs résultats
étaient obtenus avec les diaphragmes les plus épais. À
ce stade, il a rencontré une nouvelle difficulté. Le bouton
de charbon était si sensible aux changements d'état que
la dilatation de la poignée en caoutchouc du téléphone
rendait l'instrument inarticulé, et finalement inopérant.
Des poignées en fer ont été remplacées, avec
un résultat similaire, mais avec la particularité supplémentaire
de produire des sons musicaux et grinçants distinctement audibles
dans l'appareil récepteur.
Edison attribuait ces sons au mouvement des molécules de fer entre
elles pendant la dilatation. Il les appelle « musique moléculaire ».
Pour éviter ces perturbations dans le téléphone,
la poignée a été supprimée, mais elle avait
grandement contribué à révéler l'extrême
sensibilité du bouton de charbon, et cette découverte a
ouvert la voie à l'invention de ce nouvel et merveilleux instrument.

Le micro-tasimètre est représenté en perspective
sur la figure en coupe sur la figure ci dessus, ainsi que le plan de disposition
dans le circuit électrique. L'instrument se compose essentiellement
d'un cadre rigide en fer servant à maintenir le bouton de charbon,
placé entre deux surfaces de platine, l'une fixe et l'autre mobile.
L'instrument se compose essentiellement d'un cadre rigide en fer supportant
le bouton de carbone, placé entre deux surfaces en platine, l'une
fixe et l'autre mobile, et d'un dispositif de maintien de l'objet à
tester, de sorte que la pression résultant de sa dilatation agisse
sur le bouton de carbone.
Deux tiges robustes, A et B, dépassent de la base rigide C.
Un disque en ébonite, D, est fixé à la tige A par
la vis à tête en platine E, dont la tête repose au
fond d'une cavité circulaire peu profonde au centre du disque.
Dans cette cavité, et en contact avec la tête de la vis E,
est placé le bouton de carbone F. Sur la face extérieure
du bouton se trouve un disque en feuille de platine, en communication
électrique avec la pile. Une coupelle métallique, G, est
placée en contact avec le disque de platine pour recevoir une extrémité
de la bande de matériau utilisé pour faire fonctionner l'instrument.
La borne B se trouve à environ dix centimètres de la borne
A et comporte un galet suiveur à vis H portant une coupelle I,
entre laquelle est placée une bandelette de la substance dont on
souhaite démontrer l'extensibilité. La borne A est en communication
électrique avec un galvanomètre, lequel est relié
à la batterie. La bandelette de la substance à tester est
soumise à une légère pression initiale, ce qui dévie
l'aiguille du galvanomètre de quelques degrés par rapport
au point neutre. Lorsque l'aiguille s'immobilise, sa position est notée.
La moindre dilatation ou contraction ultérieure de la bandelette
est indiquée par le mouvement de l'aiguille du galvanomètre.
Une fine bandelette de caoutchouc dur, placée dans l'instrument,
présente une extrême sensibilité : elle se dilate
sous l'effet de la chaleur de la main, de sorte qu'elle déplace
de plusieurs degrés l'aiguille d'un galvanomètre ordinaire,
qui n'est absolument pas affectée par une thermopile placée
face à un fer rouge. Dans cette expérience, la main est
maintenue à quelques centimètres de la bande de caoutchouc.
Une bande de mica est sensiblement affectée par la chaleur de la
main, et une bande de gélatine, placée dans l'instrument,
se dilate instantanément sous l'effet de l'humidité d'un
morceau de papier humide tenu à deux ou trois pouces de distance.
Pour ces expériences, l'instrument est disposé comme illustré
à la figure 291, mais pour des opérations plus délicates,
il est relié à un galvanomètre à réflexion
de Thomson, et le courant est régulé par un pont de Wheatstone
et un rhéostat, de sorte que la résistance des deux côtés
du galvanomètre soit égale et que le faisceau lumineux du
réflecteur tombe sur 0° de l'échelle. Cette disposition
est illustrée à la figure 290, et le principe est illustré
par le schéma de la figure 293. Ici, le galvanomètre est
en g, et l'instrument en ii est réglé, par exemple, sur
une résistance de dix ohms. En a, b et e, la résistance
est la même. Une augmentation ou une diminution de la pression exercée
sur le bouton de carbone par une dilatation ou une contraction infinitésimale
de la substance testée est indiquée sur l'échelle
du galvanomètre.
Le bouton de carbone peut être comparé à une valve :
lorsqu'il est comprimé, même légèrement, sa
conductivité électrique augmente, et lorsqu'il se dilate,
il perd partiellement son pouvoir conducteur.
La chaleur dégagée par la main, tenue à quinze ou
vingt centimètres d'une bande d'ébonite placée dans
l'instrument, disposé comme décrit précédemment,
suffit à dévier le miroir du galvanomètre et à
projeter le faisceau lumineux hors de l'échelle. Un corps froid
placé près de la bande d'ébonite transportera le
faisceau lumineux dans la direction opposée.
Une pression inappréciable et indétectable par d'autres
moyens est clairement indiquée par cet instrument. M. Edison propose
d'appliquer le principe de cet instrument à de nombreux usages,
parmi lesquels les thermomètres, baromètres et hygromètres
délicats.
 
La figure montre en perspective la dernière version du microtasimètre
d'Edison, ou mesureur de pression infinitésimale.
L'intérêt de cet instrument réside dans sa capacité
à détecter de faibles variations de température.
Ceci est réalisé indirectement. Le changement de température
provoque la dilatation ou la contraction d'une tige de vulcanite, ou d'un
autre matériau, ce qui modifie la résistance d'un circuit
électrique, en faisant varier la pression qu'elle exerce sur un
bouton de carbone intégré au circuit.
Lors de l'éclipse totale de Soleil du 29 juillet 1878, cette méthode
a permis de démontrer avec succès l'existence de chaleur
dans la couronne. Elle permet également de déterminer la
dilatation relative de la matière due à l'élévation
de température.
L'autre figure présente les parties importantes en coupe, offrant
un aperçu de sa construction et de son fonctionnement.
La substance dont la dilatation doit être mesurée est représentée
en A. Elle est fermement fixée en B, son extrémité
inférieure s'insérant dans une fente de la plaque métallique
M, qui repose sur le bouton de charbon. Ce dernier est intégré
à un circuit électrique, qui comprend également un
galvanomètre délicat. Toute variation de longueur de la
tige modifie la pression exercée sur le charbon et modifie la résistance
du circuit.
Ceci provoque une déviation de l'aiguille du galvanomètre ;
un mouvement dans un sens indique une dilatation de A, tandis qu'un mouvement
opposé indique une contraction. Pour éviter toute déviation
pouvant résulter d'une variation de puissance de la pile, le tasimètre
est inséré dans un bras du pont de Wheatstone, tandis que
le galvanomètre est utilisé dans le fil du pont.
Afin de déterminer la valeur exacte de la dilatation, en décimales
de pouce, la vis S, située devant le cadran, est tournée
jusqu'à reproduire la déviation précédemment
provoquée par le changement de température. La vis actionne
une seconde vis, faisant monter ou descendre la tige, et la distance exacte
parcourue par la tige est indiquée par l'aiguille N, sur le cadran.
L'instrument peut également être utilisé avantageusement
pour mesurer les variations d'humidité de l'atmosphère.
Dans ce cas, la bande de vulcanite est remplacée par une bande
de gélatine, qui change de volume en absorbant l'humidité.
La sensibilité de l'appareil à la chaleur est remarquable
et dépasse de loin celle de tout autre appareil. Lorsqu'il est
réglé avec une sensibilité modérée,
la chaleur de l'aiguille placée en ligne avec le cône du
tasimètre à une distance de neuf mètres provoque
la sortie du point lumineux du galvanomètre de l'échelle.
sommaire
L'AÉROPHONE.
L'aérophone, une invention de M. Edison pour amplifier le son,
a déjà suscité un intérêt considérable,
bien qu'il ne soit pas encore perfectionné.
Son objectif est d'augmenter le volume des paroles sans altérer
la netteté de l'articulation.
Le fonctionnement de l'instrument est le suivant :
Le son amplifié provient d'un grand diaphragme, mis en vibration
par de la vapeur ou de l'air comprimé. La source d'énergie
est contrôlée par le mouvement d'un second diaphragme vibrant
sous l'influence du son à amplifier.
L'instrument se compose de trois parties distinctes :
- Une source d'énergie ;
- Un instrument de contrôle de l'énergie ;
- Un diaphragme vibrant sous l'influence de l'énergie.
La première partie est généralement de l'air comprimé,
fourni par un réservoir. Il est nécessaire qu'il soit à
pression constante.

La seconde partie, illustrée en coupe à la figure ci dessus,
est constituée d'un diaphragme et d'un embout, comme ceux utilisés
dans le téléphone. Un cylindre creux est fixé par
une tige au centre du diaphragme. Le cylindre et sa chambre E vibrent
donc avec le diaphragme. Un mouvement vers le bas permet à la chambre
de communiquer avec la sortie H, un mouvement vers le haut avec la sortie
G. L'air comprimé entre en A et remplit la chambre, qui, en position
normale, n'a pas de sortie. Chaque vibration vers le bas du diaphragme
condense ainsi l'air dans le tuyau C, permettant simultanément
à l'air de B de s'échapper par F. Un mouvement vers le haut
condense l'air de B, mais ouvre I.

La troisième et dernière partie est représentée
en coupe à la figure ci-ddessus. Elle est constituée d'un
cylindre et d'un piston P, comme ceux utilisés dans un moteur ordinaire.
La tige du piston est fixée au centre d'un grand diaphragme D.
Les tuyaux C et B sont les prolongements de ceux désignés
par les mêmes lettres à la fig. 34. Le tuyau C communique
avec une chambre du cylindre et le tuyau B avec l'autre. Le piston, se
déplaçant sous l'effet de l'air comprimé, actionne
également le diaphragme, dont le nombre et la durée des
vibrations sont identiques à ceux du diaphragme de l'embouchure.
L'intensité du son émis par le tube directeur F dépend
de la taille du diaphragme et de la force qui le fait bouger. La première
est très grande, et la seconde peut atteindre plusieurs centaines
de livres de pression.

Cet instrument est représenté sur la figure ci dessus. M.
Edison affirme que 90 % de l'énergie provenant de la batterie est
utilisée par son intermédiaire. La pièce maîtresse
de la machine est un diapason de grandes dimensions, vibrant environ 35
fois par seconde, et portant sur chaque bras un poids de 15 kg. L'amplitude
des vibrations est d'environ 0,8 mm, et les vibrations sont entretenues
par deux très petits électro-aimants placés près
de l'extrémité de chaque bras. Ces aimants sont connectés
en circuit entre eux et à un commutateur actionné par l'un
des bras. De petites branches partent des bras de fourche pour aboutir
à un boîtier contenant une pompe miniature à deux
pistons, un fixé à chaque bras. Chaque coup de pompe soulève
une très faible quantité d'eau, compensée par la
rapidité des coups. M. Edison propose de comprimer l'air avec le
moteur harmonique et de l'utiliser comme moteur pour propulser les machines
à coudre et autres machines légères. Ce moteur semble
considérablement en avance sur les autres moteurs électriques
et, grâce à lui, l'électricité pourrait devenir
une précieuse force motrice.
sommaire
1879
Edison s'intéressa également sérieusement
pour la première fois à l'énergie et à la
transmission électriques. Il entama une correspondance avec Adolph
Sutro au sujet de la production d'hydroélectricité sur la
rivière Virginia, au Nevada, afin d'alimenter les moteurs de ventilation
et de drainage des puits des mines de Comstock Lode, situées à
plusieurs kilomètres de là. Francis Upton effectua des calculs
détaillés pour différentes configurations d'un tel
système. Edison dirigea des recherches sur de petits moteurs électriques
conçus sur le principe de sa dynamo pour les machines à
coudre, les ascenseurs et les petits ateliers, il sollicita des fabricants
de machines à coudre pour leur fournir du matériel permettant
de tester les petits moteurs. Upton commença à tester les
moteurs début septembre et poursuivit cette activité par
intervalles.
Avec les progrès de la lumière électrique,
Edison et Charles Batchelor consacrèrent beaucoup de temps et d'efforts
au téléphone. Ils apportèrent plusieurs modifications
importantes au modèle adopté en février. Début
juillet, ils testèrent avec succès une nouvelle composition
pour le bouton à craie du récepteur de l'électromotographe.
Une douzaine de nouvelles craies furent incluses dans le premier lot de
téléphones envoyé en Angleterre le 9 juillet (ce
lot comprenait également le premier standard téléphonique
d'Edison). Comme la nouvelle craie ne semblait pas sécher, Edison
supprima le réservoir d'eau de la cabine téléphonique
et déplaça le récepteur de la cabine vers un bras
pivotant afin de le placer facilement contre l'oreille de l'utilisateur.
Ce modèle devint la norme pour son téléphone commercial
en Angleterre, avec des modifications mineures ultérieures au mécanisme
de rotation de la craie. À la mi-juillet, il décida également
d'utiliser un autre type d'émetteur à charbon, basé
sur des modèles expérimentaux réalisés en
1877. Ce dispositif, appelé émetteur à inertie, était
plus sensible et ne semblait jamais nécessiter de réglage.
Edison promit de l'intégrer dans la moitié des téléphones
envoyés à Londres afin qu'Edward Johnson puisse tirer ses
propres conclusions, mais il confia à Johnson le 21 il se sentit
pour la première fois « parfaitement satisfait » du
téléphone.
Johnson rapporta en août que les nouvelles craies
ne résistaient pas bien. Edison et Batchelor élaborèrent
une nouvelle théorie de l'action chimique à l'intérieur
des craies et suggérèrent en conséquence un nouveau
protocole d'humidification avant leur mise en service. Johnson se plaignit
également du manque de fiabilité de l'émetteur à
inertie, qui devait être fréquemment ajusté. Après
de nouvelles expériences, Edison décida en septembre de
l'abandonner et d'utiliser à la place son émetteur à
charbon standard.
Début septembre, Edison avait signé un contrat
pour la fabrication de trente téléphones par semaine (plus
tard cinquante), qui devaient être assemblés au laboratoire
et expédiés en Angleterre. La compagnie de téléphone
lui demanda de se dépêcher encore davantage, car la demande
publique d'instruments depuis une démonstration à la presse
s'élevait à « des centaines par jour ». 8 On
lui demanda également de fabriquer cinquante standards téléphoniques
pour Londres et des entreprises de Liverpool et de Manchester. Fin septembre,
il commença à embaucher une demi-douzaine d'inspecteurs
pour superviser l'installation et la maintenance de tout cet équipement.
À cette époque, Edison était également
pressé de construire des instruments de réception pour la
Gold and Stock Telegraph Co. Il en fabriqua un petit nombre en juillet
et en promit plusieurs autres pour une exposition à l'American
Institute en septembre, mais ne se lança pas dans une production
à grande échelle pour le marché américain.
Il promit également des téléphones pour démonstration
au Japon, en prévision de la vente de ses droits en Extrême-Orient.
Fin août, Edison reçut de son avocat un avis
l'informant que l'Office des brevets avait déclaré six nouveaux
cas d'interférence de brevets impliquant des transmetteurs téléphoniques
à charbon. Des cas d'interférence individuels similaires
avaient déjà été déclarés en
janvier, février et le 6 août, ce dernier concernant un transmetteur
à inertie. Edison s'arrangea pour reporter à octobre la
date limite de réponse officielle à ces six cas. Dans un
autre dossier, Grosvenor Lowrey proposa à Edison de lever des fonds
pour des expériences sur la lumière électrique en
vendant ses droits sur d'autres pays étrangers, mais rien n'en
sortit à ce moment-là. Edison approuva en août un
projet de l'Edison Speaking Phonograph Co. visant à fabriquer au
moins cinq cents petits phonographes destinés à être
vendus comme jouets.
Edison semble avoir embauché moins d'hommes durant cette période
que durant les mois précédents, bien que des archives incomplètes
rendent cette information difficile à établir. On sait qu'il
a recruté Albert Herrick, un assistant de laboratoire qui travaillait
principalement sur l'éclairage électrique. Il a également
passé une annonce pour un souffleur de verre à temps plein
et a embauché Ludwig Böhm, un artisan hautement qualifié
qui avait travaillé avec Heinrich Geissler à Bonn, en Allemagne.
Böhm est arrivé vers le 20 août et, en quelques semaines,
fabriquait des modèles expérimentaux de pompes à
vide. Samuel Mott, un dessinateur, a peut-être commencé au
début de l'été (ou dès octobre) à réaliser
des dessins de brevets. Durant l'été, Francis Upton a commencé
à assumer les responsabilités d'auteur qu'Edison lui avait
déléguées. Il a révisé les parties
techniques de trois articles sur les inventions d'Edison, écrits
pour Scribner's Monthly par un journaliste new-yorkais. Il a également
aidé Edison à rédiger une lettre au rédacteur
en chef de la revue britannique Engineering au sujet des tests de dynamo
effectués par John Hopkinson ; la lettre a été publiée
au nom d'Upton .
sommaire
Exposition Internationale de l'Electricité à
Paris
1er mai 1878 : le
Maréchal Mac Mahon, président de la République inaugure
l'Exposition universelle de Paris
Entre le palais du Trocadéro et un autre palais hâtivement
bâti sur le champ de Mars, la galerie des machines, la galerie du
travail, l'exposition sur l'histoire de l'industrie abritent les merveilles
du « siècle de l'industrie ».
Le stand de la firme Edison, fort de ses quelques premiers succès
dans le domaine de l'éclairage, remporte un grand succès
lors de l'Exposition Internationale de l'Electricité à Paris,
en août 1881, qui fut pour Edison un tremplin médiatique
inespéré. Il installa pour cette occasion 1000 lampes qui
éclairaient en même temps et furent, sans conteste, une des
attractions de cette manifestation. A cette occasion, est également
présentée aux visiteurs une dynamo géante.
Dans un coin de la section électricité, un petit dispositif
pour le moment n'attire guère l'attention. On l'appelle le téléphone.
La commission chargée de mettre en place la section d'électricité
de l'Exposition a même failli l'oublier.
Pourtant les représentants commerciaux des inventeurs américains
Bell et Edison s'activent. Ils ont déposé
des brevets en Europe et rassemblent des capitaux pour monter des sociétés
de Téléphone. Ils adressent au ministre des P. et T. des
demandes de concession en bonne et due forme.
Les démonstrations emportèrent l'adhésion des journalistes
mais pas celui du public qui était plutôt interessé
par le phonographe d'Edison.
Le 5 décembre 1878 La Société
du Téléphone Edison est fondée à linitiative
de Tivadar Puskas représentant des intérêts de Thomas
Edison en Europe.
Le 5 Aout 1879 Brevet
218 166 "Magnéto Electric Machine", la fameuse "magnéto"
qui équipera beaucoup d'appareils dans le monde.
En France : Une concession d'exploitation de téléphone,
est accordée le 8 septembre 1879 à M. Alfred Berthon
avec le système Edison. Son siège
était au 45 avenue de l'opéra. Obtentention
de concession pour les villes de Paris, Lyon, Marseille,
Bordeaux, Nantes et Lille.
Dans un premier temps, la socièté choisit de concentrer
ses efforts sur Paris.
La compagnie installe chez ses abonnés le téléphone
à pupitre imaginé par George Phelps : les récepteurs
sont des Phelps, le microphone à charbon est celui dEdison.
 |
Un modèle singulier, trouvé en France,
avec un écouteur Phelps pony-crown et un microphone
Edison comme l'appareil ci dessus. un boitier plus tardif
.
Constructeur Gimé et Cie Paris
Le « poney-crown » était peut-être
une version réduite, qui peut-être avec une seule barre
(Prescott 1878 p 601-602)
|
Le téléphone
à couronne Phelps était une forme de magnéto, utilisant
des aimants en barreaux incurvés disposés de manière
à ressembler à une couronne. Dans sa lettre du 12 juin,
Glass avait demandé à Edison un émetteur portatif
au carbone à utiliser avec ses récepteurs Phelps, car les
instruments étaient disponibles chez Gold and Stock à San
Francisco.
Septembre 1879 Edison avait des raisons d'être
moins optimiste quant à la situation du téléphone
en France. Sur l'insistance de Joshua Bailey, il envoya deux instruments
complets à Paris en juillet afin de capitaliser sur l'intérêt
du public pour la jeune entreprise Edison. Peu après, cependant,
il commença à recevoir des allégations selon lesquelles
Theodore Puskas, un associé de confiance et partenaire de la future
entreprise, avait l'intention de vendre ses parts à une entreprise
de téléphonie concurrente. Une avalanche d'accusations,
de démentis et de contre-allégations paralysa les efforts
visant à organiser légalement l'entreprise et assombrit
ses perspectives pendant des mois. Certaines des accusations concernaient
Charley Edison, qui avait ignoré son ordre de rentrer chez lui
et semblait avoir noué des liens avec un groupe concurrent.
Courrier De Joshua Bailey Paris 7 juillet 1879.
Cher Monsieur,
Nous avons bien reçu votre télégramme annonçant
l'envoi des Motographes dans dix jours, et nous vous en avons envoyé
un autre aujourd'hui pour vous informer de leur expédition.
Il est crucial pour nous d'avoir le Motographe en main, car cela nous
permettrait d'attirer l'attention du public et nous aiderait dans
nos démarches. Avant-hier, les téléphones ont
été installés au ministère des Télégraphes,
dans le bureau correspondant en France à la salle d'opération
située au dernier étage du bâtiment de la Western
Union. Nous les avons utilisés avec grand succès en
présence de tous les chefs de bureau de l'administration entre
Versailles et le bureau. Chacun de ces agents s'est assis à
tour de rôle au téléphone, a conversé avec
les agents à Versailles et, en se levant, a déclaré
: « Parfait, parfait ! » C'est le seul cas où un
téléphone ait pu fonctionner dans de telles conditions.
Le Gower, le Bell et le Siemens ont échoué lamentablement
à tous ces tests. Le fil qui nous a été fourni
était un simple fil de câble télégraphique.
Nous poursuivons actuellement notre demande de câble télégraphique
et de concession, et une réponse favorable nous est promise.
Nous militons également activement pour l'organisation du central
téléphonique et prévoyons de mettre en service
notre premier instrument d'ici la fin de la semaine prochaine. Notre
expérience avec votre neveu n'est pas satisfaisante. Nous constatons
que, depuis qu'il est à notre service, il est en contact avec
le groupe Herz et, d'après ce que nous avons compris, a accepté
un engagement avec eux. 3 En lui parlant de cette affaire il y a quelques
jours et en faisant référence au contrat que nous avions
conclu avec lui pour six mois, il s'est montré un excellent
avocat en affirmant qu'il avait bien conclu un accord avec nous, mais
que cet accord nous engageait, et non lui. Nous pensons que cela témoigne
davantage de sa perspicacité juridique que de son sens de l'honneur.
Je vous prie d'agréer, Monsieur, l'expression de mes sentiments
distingués.
J.F. Bailey |
Georges Alexis Godillot était un marchand parisien
et l'un des premiers associés, avec Théodore Puskas et Joshua
Bailey, au développement commercial du téléphone
en France.
George Walker écrivit à Samuel White de Paris le 30 août
après avoir passé une journée avec Joshua Bailey
et s'être entretenu avec Rousseau, qu'il décrivit comme «
un petit avocat pragmatique et perspicace ». La description des
événements par Walker est plus concise, mais essentiellement
identique à celle donnée par Rousseau. Il dit également
à White qu'il approuvait la recommandation de Rousseau selon laquelle
une procuration d'Edison à Bailey était « absolument
nécessaire pour protéger vos intérêts et ceux
d'Edison ».
Edison avait déjà connaissance des troubles à Paris.
La première indication fut un câble de Bailey du 1er août
conseillant : « N'envoyez pas de câble ni n'écrivez
à qui que ce soit au sujet du téléphone français
ou européen avant d'avoir reçu les lettres postées
aujourd'hui. » Aucune lettre de lui à cette date n'a été
retrouvée, mais le 4 août, il écrivait : « Trois
ou quatre jours de plus permettront de démêler une intrigue
qui se trame, et dont
Je n'aime pas écrire avant d'être
certain de tous les faits. » Puis, le 11 août, Enos Barton
extraya pour Edison une lettre de George Beetle rapportant que «
le consortium Herz, qui contrôle une moitié des intérêts
dans le téléphone de Gower pour l'Europe, a récemment
acquis les deux tiers des intérêts de l'Edison Telephone
Co. pour la France » et « s'occupe actuellement des questions
de district téléphonique à Paris, et a l'autorisation
du gouvernement d'installer des lignes aériennes et souterraines
à cette fin.
Courrier De Constant Rousseau Paris, le 2 septembre 1879
Cher Monsieur,
En qualité de conseiller juridique de la société
Alexis Godillot j'ai eu l'honneur d'être consulté dès
le début de l'affaire du Téléphone qui porte
votre nom, et j'ai été chargé de rédiger
les statuts dont vous avez connaissance après que les négociations
préliminaires nécessaires eurent eu lieu et auxquelles
j'ai naturellement dû constamment prendre part.
Plus particulièrement, j'ai été et je suis toujours
le conseiller de Messieurs Brancy, Chatard, et Berthon, et bien que
je ne puisse pas dire que je sois le conseiller particulier du Dr
Evans , j'ai assisté chez lui à de nombreuses conférences
avec les messieurs ci-dessus et M. Bailey quant à la voie à
suivre par la Société en vue de la position future que
la Société est à juste titre en droit de compter
en France.
Je suis toujours le Conseiller de la Société actuelle
et participe à presque toutes les Conférences ayant
pour objet la transformation de la Société en une Société
au Capital de 3.500.000 francs.
En raison de ma participation aux Conférences, les Membres
de la Société, spécialement MM. Bailey, Berthon
et Chatard, m'ont demandé de vous informer de certains incidents
qui, s'ils ne sont pas insurmontables, devraient néanmoins
être portés à votre connaissance afin d'obtenir
votre aide pour les aplanir.
J'ai déjà eu l'honneur de m'entretenir de ces faits
8ici avec M. Walker pendant son séjour à Paris et il
était également d'avis que vous devriez être informé
de ce qui se passe.
Voici les incidents en question :
Il paraît que Messieurs Alexis Godillot et Brancy ont vendu
leurs parts dans la Société à un certain Monsieur
Pellorce; jusqu'à présent cependant aucun document régulier
n'a été notifié à la Société
et par conséquent nous devons toujours considérer Messieurs
Alexis Godillot et Brancy comme étant toujours parties à
celle-ci.
Bien que conseiller juridique de Messieurs Alexis Godillot et Brancy,
je n'ai pas agi pour eux dans cette négociation entre eux et
Monsieur Pellorce ; mais pour Monsieur Berthon et accessoirement pour
Monsieur Chatard, j'ai fait appel à ce Monsieur Pellorce.
Ce M. Pellorce, qui est un agent financier, souhaitait acheter au
pair les actions de ces messieurs, mais ne voulait pas préciser
quel était le but qu'il visait.
J'ai donc rompu toutes négociations, ne voulant pas laisser
mes clients traiter les yeux bandés et voyant qu'ils pourraient
ensuite se rendre compte qu'ils avaient été vendus.
Il a depuis été établi que ce M. Pellorce n'est
ni plus ni moins que l'agent financier de la Gower Telephone Co.,
dont M. Rosevelt est l'un des associés. M. Rosevelt est l'ami
de M. Puskas, qui entretient des relations suivies avec ces parties.
Ces relations ont incité M. Puskas à adopter une ligne
de conduite pour le moins suspecte. Par exemple, M. Puskas a incité
M. Berthon à vendre sa part à M. Pellorce et lui a même
offert une prime s'il acceptait de la vendre. La Gower Telephone Co.,
selon M. Puskas, est très supérieure ; la compagnie
créée pour l'exploiter éclipsera la Edison Telephone
Co., etc. ! Les quelques faits ci-dessus vous permettront de comprendre
comment les transactions des autres associés, MM. Berthon,
Bailey, Chatard et Evans, se limitent nécessairement à
des précautions et sont entourées de doutes .
Maintenant, M. Puskas est-il un associé au sens où il
devrait l'être comme avec les autres associés, ou est
- il au contraire devenu l'instrument de MM. Rosevelt & Pellorce,
et n'est-il pas plus intéressé par la compagnie Gower
que par Edison ?
Quoi qu'il en soit, il est certain qu'à l'heure actuelle, alors
que des tentatives sont menées pour réaliser la transformation
de la Société, il est nécessaire de se prémunir
contre tout événement que M. Puskas pourrait fomenter.
Dans l'incertitude où il nous place, n'est-il pas judicieux
d'avoir en main une autre procuration de votre part à M. Bailey,
afin que, si M. Puskas s'opposait à ce moment-là à
un obstacle, celui-ci puisse être levé et la transformation
de la Société possible. L'opération a été
menée sans tenir compte du pouvoir que vous aviez précédemment
accordé à M. Puskas. Je n'ai pas besoin d'ajouter que
les intérêts pécuniaires de M. Puskas ne seraient
pas affectés. Je joins le formulaire de pouvoir nécessaire
pour se préparer à tout obstacle, comme indiqué
ci-dessus .
M. Bailey n'utilisera ce pouvoir qu'en cas de nécessité,
et il ne l'utiliserait pas si M. Puskas agissait en accord avec tous
les autres membres de la Société. Je suis, cher Monsieur,
votre très obéissant serviteur
Rousseau |
Bailey envoya à Edison son premier rapport complet
sur les événements concernant la société française
dans une longue lettre détaillée du 5 septembre. Selon lui,
la situation s'aggrava après que la Société eut reçu
l'autorisation de commencer la construction de lignes téléphoniques
fin août. Puskas et Pellorce refusèrent de contribuer aux
coûts de construction ou au cautionnement exigé par le gouvernement,
et Bailey ne laissa espérer aucune contribution du fonds de roulement
nécessaire à la constitution de la Société
en société anonyme. Bailey critiqua longuement le «
mépris
de Puskas pour toutes les obligations d'honneur et
contractuelles », mais promit : « Face à ses complots,
ses obstructions et sa violence, nous sommes désormais assurés
d'un brillant résultat. » Il énonça plusieurs
plans pour réunir les fonds nécessaires à la création
de la nouvelle société, affirmant : « En livrant la
bataille ici, nous la livrons en réalité pour tout le continent,
et le prestige du succès ici nous assure le succès ailleurs
.
Lettre de Joshua Bailey, Paris, 17 octobre 1879, 1826
Mon cher Monsieur,
Le 10 courant, je vous ai écrit brièvement pour vous
informer qu'un accord avait été conclu pour la fusion
des trois compagnies de téléphone ayant débuté
leurs activités en France.1 Une proposition a été
formulée il y a près de quatre semaines par le Crédit
Mobilier et Erlanger, qui s'intéressent à la compagnie
de téléphone de Gower, pour une fusion des deux compagnies.
Cette proposition était à l'étude depuis dix
jours. Elle proposait que les trois compagnies soient réunies
autour d'un capital commun, réparti équitablement entre
elles. Il y a deux semaines, nous avons participé à
la réunion finale consacrée à l'examen de cette
proposition et l'avons rejetée pour deux raisons : premièrement,
elle visait une opération boursière importante et non
une exploitation sérieuse de la compagnie de téléphone,
et deuxièmement, le partage des intérêts proposé
ne nous semblait pas aussi équitable. Le lundi suivant, j'ai
rendu visite à M. Rosevelt et lui ai exposé les raisons
de notre refus de fusion. J'ai insisté pour l'adoption d'une
politique différente et proposé une répartition
des intérêts à 45 % pour Edison, 30 % pour Gower
et 25 % pour Blake. Cette proposition a été acceptée
le 10, avec une légère modification : 44 1/4
pour Edison, 31 1/2 pour Gower et 24 1/4 pour Blake. Un
point que je considère comme plus important que le ratio de
répartition des différents intérêts dans
le plan adopté est que le contrôle de la Société
reste entièrement entre les mains des détenteurs des
brevets et qu'un conseil d'administration a été mis
en place, garantissant ainsi une gestion non spéculative. Les
intérêts d'Erlanger & Crédit Mobilier sont
en retrait, avec seulement trois représentants sur un conseil
d'administration de 12 membres, les 9 autres étant déterminés
à assurer une gestion économique et à promouvoir
le téléphone sans tenir compte des opérations
boursières. M. Rosevelt a collaboré avec moi pour obtenir
l'adoption de ce plan et il est probable que nous collaborerons dans
toute l'Europe suite à cette opération. Si les personnes
intéressées aux États-Unis par la Edison Telephone
Company of Europe Limited acceptent les bases évoquées,
nous proposons de constituer une société mixte à
Paris, dotée d'un capital de 2 millions de francs, pour opérer
dans tous les pays du continent. Nous ferons appel aux États-Unis
à deux ou trois experts supplémentaires et apporterons
le matériel nécessaire à la mise en service immédiate
des centraux téléphoniques dans les principales villes
d'Espagne, d'Italie, d'Autriche, d'Allemagne et de Belgique. Le partage
proportionnel proposé entre nous est de 60 % pour l'Edison
et de 40 % pour le Gower. Je ne pense pas que cette proposition représente
correctement la valeur des deux téléphones, mais les
gens de Gower ont fait beaucoup de bruit, sont actifs et sont tenus
de participer à l'exploitation du téléphone dans
ces pays. Il ne fait aucun doute qu'il sera plus profitable pour nous
de nous unir et d'être libérés de l'opposition
du seul groupe de personnes qui, jusqu'à présent, a
activement promu le téléphone en Europe. Pour un capital
de 3 000 000 de francs, je pense que nous devrions céder
près de la moitié de nos brevets, mais nous pourrions
commencer immédiatement, et à grande échelle,
l'exploitation dans un nombre suffisant de villes de chaque pays pour
nous donner l'importance nécessaire pour maintenir notre position
dans le secteur à l'avenir. Jusqu'à présent,
je n'ai pu effectuer aucune démarche hors de France en raison
des circonstances liées à M. Puskas dont je vous ai
déjà parlé. Je n'entrerai pas dans les détails
des événements survenus depuis le rapport que j'ai fait
dans mes lettres de la fin août et du 1er septembre. Je dirai
simplement que l'ignorance de M. Puskas en affaires n'a d'égale
que sa fourberie et sa trahison, qu'il est totalement inapte à
s'occuper d'une affaire comme celle que nous menons et que sa présence,
à quelque titre que ce soit, n'est qu'une entrave. Il a totalement
perdu la confiance de toutes les personnes liées à notre
société et n'est pas plus apprécié de
ceux à qui il a tenté de nous vendre. Tout ce qui a
été fait au cours des deux derniers mois l'a été
contre son opposition ou à son insu. J'ai télégraphié
hier pour exposer les points du projet de fusion, signaler que M.
Puskas crée des problèmes et demander que la procuration,
dont le Dr White m'a informé dans sa lettre de septembre, me
soit transmise sur demande, soit transmise. M. Puskas m'a déclaré
avant-hier qu'il s'opposerait à toute tentative de fusion à
moins d'être nommé au conseil d'administration et a également
proposé que la nouvelle société s'appelle Edison
Telephone Coy. Concernant la première proposition, aucune personne
liée à l'une ou l'autre des trois sociétés
n'accepterait de siéger à un conseil d'administration
dont M. Puskas serait membre. Concernant la seconde, il nous serait
très agréable, tout comme nous sommes convaincus que
M. Edison apprécierait que les sociétés concurrentes
acceptent de prendre le nom de notre société, et c'est
ce que j'ai proposé lors des premiers entretiens. Il a été
suggéré en réponse que le nom de M. Edison soit
associé à ceux des autres personnes, ce qui, d'un point
de vue commercial, était tout à fait juste. Cependant,
je ne pense pas que cette proposition plaise autant à M. Edison
que celle de la compagnie Gower, qui a abandonné les noms de
toutes les sociétés intéressées et en
a choisi une autre, à savoir la Société Générale
de Téléphones, et j'ai accepté cette dernière.
La souscription du capital de la nouvelle compagnie se fera entièrement
à huis clos, sans appel public à l'épargne, et
nul ne doute, parmi les acteurs de l'opération, que les actions
généreront une prime importante dès leur première
émission. Un tiers environ des 8 millions sera mis en vente,
la majeure partie étant détenue par les souscripteurs
à titre d'investissement. Les personnes concernées estiment
que les actions actuellement émises vaudront 200 ou 300 francs
pour cent dans les 12 mois à compter de la date actuelle. La
raison en est que les trois compagnies détiennent ensemble
les seules concessions accordées par le gouvernement pour l'exploitation
du téléphone en France, et la quasi-totalité
des installations connues aujourd'hui pouvant être utilisées
dans le réseau central. Il est quasiment certain que le gouvernement
n'accorderait aucune concession supplémentaire, même
si un autre téléphone performant était mis en
service. Les lignes de Paris doivent être posées dans
les égouts, et l'administration municipale et l'administration
nationale des Télégraphes sont très jalouses
de laisser des intrus les emprunter. La situation équivaut
à un quasi-monopole du téléphone en France.
D'ici un mois, nous commencerons la création de centraux téléphoniques
à Lyon, Bordeaux, Marseille et Lille. Outre le réseau
central, la demande pour une application téléphonique
isolée est déjà énorme et dépasse
nos moyens de production actuels. Nous allons immédiatement
construire une usine de téléphones et commencer à
produire des téléphones pour applications isolées
ainsi que pour des systèmes centraux. M. Rosevelt et moi avons
travaillé ensemble en parfaite harmonie ces deux dernières
semaines, et c'est entièrement grâce à la manière
dont il a accueilli mes propositions que la fusion a pu se concrétiser.
Lui et moi avons rencontré de nombreuses difficultés
avec certaines personnes de nos sociétés respectives.
M. Berthon, de notre propre compagnie, s'est fermement opposé
à la fusion, car nous avons refusé de lui confier le
poste d'administrateur. Nous avons cependant pris des mesures immédiates
pour mettre la compagnie en liquidation et, hier, il a exprimé
son acceptation de la fusion. Le Dr Evans a plus que doublé
sa participation dans la nouvelle société, tout comme
M. Chatard, l'autre associé commanditaire restant parmi nous.
Nous avons repris la part de M. Godillot qu'il avait cédée.
M. Rosevelt a souscrit
200 000 francs sur les 427 000, le reste étant pris
en charge par le Dr Evans, M. Chatard et plusieurs personnes influentes
que, pour une raison ou une autre, nous souhaitons avoir en relation
directe avec nous. Je regrette qu'autant de temps ait été
écoulé pour
conclure l'affaire française, mais le résultat justifie
tout le temps passé à l'obtenir. Concernant les actions
qui nous reviennent, je souhaite obtenir vos instructions quant à
savoir si je dois autoriser leur vente ou les conserver.
Conformément aux statuts de la nouvelle Société,
toutes les actions seront syndiquées pour une période
de six mois ; chaque détenteur d'actions devra indiquer
s'il souhaite les vendre ou les conserver.
S'il choisit de conserver ses actions, il ne pourra effectuer aucune
vente pendant cette période de six mois. S'il choisit de vendre,
la vente est organisée par un comité composé
d'une personne de chacune des trois sociétés.
Notre représentant au sein de ce comité du syndicat
sera M. Chatard, un financier compétent, et chacune des autres
sociétés sera représentée par un banquier
afin que la composition du comité garantisse la bonne gestion
des actions.
Je conserverai les actions qui me reviennent.
La seule circonstance qui me laisse planer un doute quant à
l'avenir de notre entreprise en France est la possibilité d'une
prise de participation du gouvernement. Cependant, cela est peu probable
compte tenu de la fusion qui a eu lieu, qui exerce une influence politique
considérable, et des capitaux nécessaires à son
développement maximal. Il serait judicieux que vous m'indiquiez
par câble, dès réception de cette lettre, si vous
souhaitez vendre ou conserver. Dans le premier cas, veuillez indiquer
« vendre » et dans le second « conserver »,
et j'agirai conformément à vos instructions. Si vous
acceptez la proposition de fusion pour les autres pays d'Europe mentionnée
ci-dessus, M. Rosevelt se rendra en Italie cet hiver et je me rendrai
en Autriche avec l'intention de rejoindre l'Allemagne au début
du printemps. Nous prendrons probablement des dispositions pour une
collaboration avec la Belgique par l'intermédiaire d'un tiers,
parallèlement à nos activités en Autriche et
en Italie. L'Allemagne sera un terrain très difficile compte
tenu de l'attitude du gouvernement.
Concernant M. Puskas, en ce qui concerne M. Rosevelt ou moi-même,
je ne pense pas qu'il soit possible que nous ayons des relations avec
lui ou que nous consentions à travailler avec lui. Je suis
convaincu que les déclarations qui ont été faites
suffisent à démontrer qu'il ne s'agit pas d'une aversion
personnelle, mais de la perte totale de confiance que sa conduite
a entraînée, non seulement dans ses qualités professionnelles,
mais aussi dans ses mensonges et ses prétentions à la
confidentialité. Si vous acceptez la proposition de fusion
dans les conditions proposées ci-dessus, veuillez télégraphier
la mention « acceptée ». Si vous ne l'acceptez
pas, veuillez télégraphier la mention « indésirable ».6
Je vous prie d'agréer, mes salutations distinguées.
J. F. Bailey.
Mon adresse par télégramme est : « Héraclite,
Paris » |
Au mois de mars 1880, 24 abonnés sont raccordés
et 150 ont signé une promesse dabonnement.
Texte dune annonce publiée dans les journaux de lépoque
:
Abonnez-vous au téléphone Il y a déjà
à Paris quelques abonnés au téléphone. La
Société des Téléphones Edison, 45, Avenue
de lOpéra, annonce quelle reçoit les abonnements
au tarif de 600 francs payables 50 francs par mois, labonnement
comporte la pose et lentretien des fils et appareils.
Edison transmitter and a 'pony-crown' receiver
En France le 27 mars 1880, La Banque Franco-Égyptienne
fonde la Société Française
des Téléphones (Système Edison
et autres), en rachetant la Société Berthon et Cie.
Au mois doctobre 1880, 240 abonnés sont raccordés
et 330 sont en attente de construction ; le bureau central est situé
au 45, avenue de lOpéra, et deux bureaux auxiliaires fonctionnent.
La société installe chez ses clients lappareil à
pupitre Edison-Phelps mais reçoit de nombreuses plaintes du fait
du fonctionnement très délicat du microphone Edison qui
demande de fréquents déplacements chez les clients pour
le remettre en état.
sommaire
1879 Tableau Edison de commutation
manuelle à six chevilles, fabriquée par la Edison
Telegraph Company de Londres Limited, Londres.
Chaque carte a été conçue pour recevoir 24 lignes
d'abonnés elle nécessite un opérateur pour établir
les connexions entre deux lignes téléphoniques.
L'interrupteur ou connecteur consistait en un ensemble de barres horizontales
et un ensemble de barres verticales.
Chaque ligne téléphonique était connectée
à l'une des barres verticales.
Le téléphone de l'opérateur était connecté
au bout de la barre.
Des chevilles sont insérées dans les points de croisement
pour permettre la connexion électrique de deux téléphones.
Tableau fabriquée par la Edison Telegraph
Company de Londres Limited, Londres.
En Angleterre La deuxième société la
compagnie de téléphone Edison de Londres Ltd a
été enregistrée le 2 août avec un capital de
£ 200.000
Le premier centre de la société a officiellement ouvert
ses portes le 6 septembre au 11 Queen Victoria Street, à Londres,
avec dix abonnés qui utilisaient des émetteurs de
carbone et des récepteurs à craie.
À la fin du mois de février, alors que la compagnie avait
deux autres circonscriptions en activité, elle desservait 172
abonnés.
Le tarif annuel était de 12 £ contre 20 £ facturé
par la compagnie Bell.
La compagnie de téléphone Edison de
Glasgow, Ltd. a été créée le 28
octobre 1879 pour commercialiser le téléphone Edison
à Glasgow et dans ses environs.
Elle a été absorbé par la Edison Telephone Company
de London, Ltd. le 5 mai 1880.
Edison Telephone Company of London, Ltd.
Certificat RARE n ° 5 magnifiquement gravé de la Edison
Telephone Company de Glasgow Limited, publié en 1880. Ce document
historique est orné dune bordure ornée dune
vignette du nom de la société. Cet article est signé
à la main par les administrateurs et le secrétaire de la
société et a plus de 125 ans. Après la fusion,
la Edison Telephone Company de London, Ltd. est devenue United
Telephone Company, Ltd le 13 mai 1880.
1880 La Edison Telephone Company de Londres a publié
son premier annuaire le 23 mars.
Après quelques litiges en matière de brevets, la Telephone
Company Ltd et l'Edison Telephone Company de London Ltd ont été
fusionnées le
13 mai 1880 pour former la United
Telephone Company avec un capital de 500 000 £.
La nouvelle société, qui contrôle désormais
les brevets de Bell et d'Edison, reflète la situation aux États-Unis.
Annuaire Londres 1880
Le taux de droit annuel de la nouvelle société était
de 20 £.
La première ligne téléphonique principale a été
ouverte entre Leeds et Bradford le 29 janvier.
En 1879, M. William Preece du bureau d'ingénierie
de la Poste, lorsqu'on lui a demandé si le téléphone
serait un instrument du futur qui serait largement repris par le public,
a répondu "je ne pense pas". Interrogé plus loin,
il dit: «Je crois que les descriptions que nous avons de son usage
en Amérique sont un peu exagérées; mais il y a des
conditions en Amérique qui nécessitent l'utilisation d'instruments
de ce genre plus qu'ici. Ici nous une surabondance de messagers, de messagers
et de choses de ce genre. " Le principe de
l'ampoule électrique avait été auparavant établi
et expérimenté sans suite industrielle par l'Écossais
James Bowman Lindsay en 1835.
sommaire
Edison n'a pas que des amis, il est écrit en 1880
dans "La lumière électrique"
LES INVENTIONS DE M. EDISON
Il y a un proverbe qui dit : qui veut trop prouver ne prouve rien. On
pourrait peut-être lappliquer aux inventions de M. Edison.
Sil fût resté sur la gloire quil sétait
acquise par la réalisation du phonographe, et qu'il neût
pas empiété dune manière un peu trop visible
sur les travaux des autres, sil eût été plus
modéré, plus sérieux dans lexposé de
ses découvertes, on naurait pas été rechercher
ce quon pouvait opposer à une réputation acquise en
si peu de temps et à si grand bruit, et le mot de humbug naurait
pas été prononcé à côté de son
'inm comme il lest depuis quelque temps.
Mais livresse où lont plongé lenthousiasme
damis maladroits et les calculs de certains spéculateurs
hardis qui ont voulu exploiter son nom, la empêché
de voir quil sexposait à éveiller la défiance
et quil faisait un tort considérable à sa réputation.
Aujourdhui on se demande ce qua fait en définitive
de si important M. Edison, et il sélève dans son propre
pays, aussi bien quen Europe, des protestations fâcheuses
qui nauraient pas eu lieu sil avait exhibé ses inventions
avec moins de tapage. Déjà sa querelle avec M. Hughes lui
avait fait bien du tort en 1878, et les trois échecs quil
a subis avec ses lampes électriques auxquelles sont venus se brûler
bon nombre de moutons de Panurge, ne lui ont pas fait des admirateurs
sérieux.
La plupart des spécialistes des deux mondes sont devenus sceptiques
à son endroit, et sans parler de M. Preece qui traite de ridicule
la soi-disant invention de M. Edison, M. Sawyer, habile électricien
des Etats-Unis, le dépeint par les appréciations suivantes.
« Mes attaques, dit-il, ont été provoquées
par suite de la continuelle appropriation quil se fait des inventions,
des autres, non pas que je prétende quil nait rien
fait par lui-même et quil nait pas rendu quelques services
à la science; mais il ne sensuit pas que tout ce quil
dit soit certain, et ce que je veux établir, cest quil
nest pas ce quil dit être, un électricien.
» Ce jugement nest pas le seul du même genre émis
sur lui aux Etat-Unis, et beaucoup de journaux de ce pays sont remplis
de plaisanteries à son sujet, tout en laccusant toujours
de travailler sur les inventions des autres.
Nous nen dirons pas davantage sur ces appréciations, et nous
allons maintenant citer des faits, en analysant celles de ses expériences
qui ont fait le plus de bruit quoiquelles ne soient pas les plus
importantes. Toutefois, avant de commencer, nous ne pouvons nous empêcher
dadmirer cette naïveté de certains journalistes qui
croient à la science infuse, et qui simaginent quun
nom reste à la postérité parce que les journaux en
auront fait beaucoup de bruit à certaine époque ! ! ! Quils
se reportent à larticle publié dans ce journal sur
les articles à sensation, et ils verront que les découvertes
qui restent ne sont pas celles qui ont été les plus carillonnées.
Un trait caractéristique de M. Edison èst de semparer
dune découverte faite en dehors de lui, dy apporter
quelques perfectionnements, et den faire ensuite tant de bruit que
le bon public croit quil en est lauteur. Voici, à ce
sujet, ce quon dit dans le Times de Chicago du 26 décembre
1879 « jusquà lépoque de linvention
du téléphone, beaucoup dinventions de M. Edison furent
brevetées, et on ne sen occupa guère, mais, à
ce moment, MM. Bell et Gray ayant découvert le téléphone,
M. Edison vit dans cette invention un moyen dattirer lattention,
il y apporta quelques perfectionnements quil fit breveter presque
au moment où ces inventions commencèrent à se faire
jour ; et comme il en fit faire beaucoup de bruit dans les journaux de
New-York, son intention fut proclamée au loin, et de cette manière
son nom s'est trouvé si bien associé à la découverte
du téléphone que sur-cinq personnes quatre lui attribuent
linvention de lappareil lui-même. » Or, voici
la vérité sur cette invention.
Lorsque le 14 février 1876, MM. Gray et Bell eurent fait breveter
leur téléphone, M. Edison vit de suite limportance
de cette découverte, et, conformément à son habitude,
il chercha à la perfectionner. Prévoyant que le système
magnéto-électrique de Bell ne pourrait pas fournir des transmissions
faciles sur de longues lignes, il sattacha au téléphone
A pile de M. Elisha Gray, et au lieu de faire produire les courants ondulatoires
nécessaires au fonctionnement des récepteurs téléphoniques
par la variation de résistance dune couche liquide mise en
relation avec le diaphragme du transmetteur téléphonique
dans lequel on parlait, il les demanda aux variations de résistance
qui sont déterminées dans un corps médiocrement conducteur
soumis à des pressions différentes, et qui sont en rapport
avec les vibrations effectuées par le diaphragme transmetteur.
De tous ces corps médiocrement conducteurs, le noir de fumée
légèrement aggloméré lui parut présenter
les meilleures conditions, et cest ainsi qu'il combina son transmetteur
téléphonique à charbon, que beaucoup de personnes
croient constituer un véritable téléphone. Or, ce
quil y avait de nouveau dans cet appareil, était la variation,
de conductibilité du charbon avec la pression exercée sur
lui, et cette propriété avait été non-seulement
découverte par M. du Moncel dès lannée 1856
et étudiée par lui en 1864, 187a, 1875 et 1876, mais encore
appliquée en 1865 à un rhéostat à charbon
par M. Clérac, fonctionnaire des lignes télégraphiques
françaises. La part de M. Edison, dans linvention du téléphone
à charbon, consiste donc dans lapplication au téléphone
de Gray du principe découvert par M. du Moncel, principe qui a
été également mis à contribution dans le microphone
par M. Hughes, comme il en est convenu lui-même (Cest ce
qui a fait dire à M. Hughes que s'il était le pire du microphone,
M. du Moncel en était le grand-pére)
Nous ne parlerons pas de la querelle regrettable qui sest élevée
alors entre M. Hughes et M. Edison, et qui na pas tourné
à lavantage de ce dernier. Il ny a donc, par le fait,
dans le téléphone à charbon de M. Edison, que la
combinaison de deux découvertes attîêrieures.
Il est vrai que, depuis, il a combiné un récepteur téléphonique
tout à fait original qui était fondé sur lapplication
au téléphone dun appareil très-curieux auquel
il avait donné le nom délectro-molographe et qui 1
donné, dans ces derniers temps, des effets très-importants.
Certains détracteurs de M. Edison ont prétendu encore quil
sétait inspiré du téléphone à
frottement de M. E. Gray, mais nous pensons que cette assertion nest
pas exacte, car lèleclro-motographe de M. Edison qui était
employé comme relais, était connu en Amérique dès
lannée 1872, et cest certainement une de ses inventions
les plus intéressantes. Il est vrai que, pour faire fonctionner
son nouveau téléphone, il a été obligé,
malgré lassurance quil avait donnée de la supériorité
de son transmetteur téléphonique à noir de fumée,
de recourir à un système de transmetteur microphonique analogue
à celui de M. Blake.
Telle est la part qui revient à M. Edison dans la découverte
du téléphone.
Nous ne parlerons pas de plusieurs inventions publiées, à
grand son de trompe dans les journaux sous le nom de microtasimtère,
rhéostat à charbon, mégaphone, etc. Le journal américain
le Tintes, de Chicago, en parle de cette manière : « Aucune
de ces inventions na plus fait parler delle depuis leur mise
au jour, et nen fera probablement plus parler; elles ont été
rejoindre lautomate joueur déchecs, lautomate
fumeur, et lhomme vapeur. » Il est certain que le principe
même du téléphone à charbon qui est appliqué
au microtasimètre pour mesurer la chaleur, ne comporte pas des
conditions de précision assez grandes pour convenir à des
appareils de mesure ; on peut en juger par larticle inséré
dans le numéro du Ier janvier de ce journal; cependant un officier
de larniée nous a assuré que le mégaphone avait
une importance plus grande que ne le dit le journal américain.
Arrivons maintenant au phonographe, celle des inventions de M. Edison
qui a fait le plus de bruit et qui méritait certainement le plus
den faire. Bien quon ait prétendu que cet appareil
avait été exécuté trois jours seulement avant
un autre appareil semblable imaginé par un inventeur de lAmérique
occidentale, nous croyons quil a été combiné
et exécuté sous la propre inspiration de M. Edison; mais
nous sommes obligé de dire que cette idée avait été
émise avant lui par M. L. Scott pour linscription de la parole,
par M. Cros pour la répétition de la parole daprès
les traces fournies. M. Cros a pu en effet exhiber un pli cacheté
déposé à lAcadémie des sciences le 30
avril 1877, et dans lequel la disposition et le but du phonographe sont
nettement indiqués. Sans doute ce nétait qu'une idée
sans commencement dexécution, mais le principe de cet appareil
y est nettement exposé ; néanmoins, on peut dire que cest
M. Edison qui a obtenu le premier la reproduction de la parole. Au point
de vue scientifique et de la curiosité, cétait une
découverte capitale ; elle a en effet occupé le monde entier,
et on a cru au premier moment quelle serait fertile en applications
utiles ; mais aujourdhui, on doit reconnaître quelle
nen a réalisé aucune, si bien que ces appareils ne
sont plus regardés aujourdhui que comme de simples instruments
de physique ou des jouets denfant. Cest pourtant, comme nous
le disions, lun des plus beaux titres de gloire de M. Edison.
Nous arrivons maintenant à ses travaux sur la lumière électrique,
et ici commence une ère de déceptions qui a été
aussi fâcheuse pour lui que pour le public, qui a voulu spéculer
sur la réputation que linvention du phonographe avait faite
à son auteur. Nous le voyons alors sattacher à la
solution du problème de la division de la lumière électrique
en partant du système de lincandescence ; mais il se trouva
alors naviguer dans une mer explorée depuis longtemps et passer
des lampes à platine incandescent aux lampes à charbon incandescent,
ne faisant que modifier les systèmes connus depuis longtemps, tantôt
le système de Changy imaginé dès lannée
1858, tantôt les systèmes King, Lodyguine, Sawyerman, etc.,
et donnant, comme solution définitive, la lampe à incandescence
à charbon de papier carbonisé. Or, il se trouve même
à ce point de vue en face de plusieurs inventeurs qui ont déjà
employé des charbons de papier. Cest, dun côté,
M Swann qui prétend les avoir appliqués à des lampes
à incandescence il y a une quinzaine dannées, et les
avoir même taillés en fer à cheval, sans avoir obtenu
des résultats durables; cest, dun autre côté
M. Sawyerqui, dans un article inséré dans le journal Sun
les revendique de la manière suivante : « Ma réclamation
contre M. Edison avait pour cause la nouvelle qui mavait été
donnée, que quelques-uns de ses amis avaient vu dans mon laboratoire,
quelques mois avant lannonce pompeuse de sa lampe, une lampe à
fer A cheval de. charbon exactement semblable à celle quil
signale dans ses dernières communications. Il y a à peu
près un an que jexpérimente cette lampe, et jen
ai pu reconnaître les défauts, même en employant un
charbon plus dur que ne lest le papier carbonisé. Une douzaine
de ces lampes furent construites, et le fer à cheval de charbon
ne dura pas plus dune heure. Une de ces lampes a été
déposée chez MM. Ar-noux et Hockhausen (2 Howard Street,
à New-York) pour établir mes droits de priorité.
La non-réussite de ce système nous décida, il y a
près d'un an, à ne pas dépenser 3 s livres pour prendre
un brevet. Ceût été perdre notre argent. »
Nous devons toutefois ajouter que la lampe de M. Edison devait être
dans de meilleures conditions, puisque, d'après le dire de témoins
oculaires, ses lampes ont pu durer plusieurs jours; cependant les derniers
journaux dAmérique nous ont appris que des défauts
venaient de sy déclarer, et quon les attribuait A l'imperfection
du vide qui saltérait avec le temps et le travail de ces
lampes. Nous pourrons, du reste, être fixés dici à
peu de temps sous ce rapport; mais il nen est pas moins vrai que
cette lampe ne présente en somme rien de nouveau et que nous avions
raison de protester contre tout ce tapage des journaux fait évidemment
dans un intérêt pécuniaire.
Quant à la pratiquabilité de cette lampe, elle serait loin
dêtre démontrée, quand bien même sa marche
serait parfaite. Les prix de revient que lon connaît sont
loin d.'êtrc satisfaisants, et rien ne doit étonner en cela,
car, daprès M. Edison lui-même, la résistance
des fers A cheval de charbon serait de 141 A 143 ohms. Or, combien de
lampes aussi résistantes pourraient traverser le courant dune
machine ordi maire pour fournir une somme de lumière convenable
dans lapplication (Daprès les renseignements venus
dAmérique, une force de un cheval ne pourrait alimenter que
8 becs de 16 candies, et par conséquent ne fournirait quune
lumière totale de 128 candies ou 12 becs carcel. Or, avec la lumière
Werdcrmann, on pourrait obtenir, pour la meme force, deux becs représentant
une lumière de 120 becs au moins.).
Comme je le disais au commencement de cet article, les meilleures inventions
de M. Edison ne sont pas celles qui ont fait le plus de bruit. Son électro-motographe
est une belle conception, et ses systèmes de télégraphes
duplex et quadruplex sont réellement intéressants. Toutefois,
son système quadruplex na pas bien fonctionné dans
lorigine, et il a fallu le compliquer de plusieurs dispositifs accessoires.
En cela, il a été aidé par de véritables électriciens
qui lui ont fourni les renseignements scientifiques qui lui manquaient.
On ne peut, du reste, exiger dun homme qui a imaginé tant
de choses, une science spéciale sur chacune, et A trente-deux ans,
sans une instruction première approfondie, on ne peut lui demander
la maturité et lexpérience qui sont le propre dun
âge avancé.
On peut donc dire, malgré notre critique, que cest un inventeur
très-sérieux qui promet beaucoup pour l'avenir.
Quil nous soit permis, en terminant, de nous extasier sur les prétentions
américaines que le New-York-Herald résume ainsi par ces
mots : « M. du Moncel accuse les Américains de voler les
cervelles européennes, comme sils nen avaient pas assez
eux-mêmes... et A revendre. » Ce mot seul dépeint
le caractère américain et nous dispense de tout commentaire.
Il est vrai que le Courrier des Etats-Unis nest pas-tout à
lait de cet avis et nous donne raison, ce qui nempêchera pas
certaines personnes daccepter avec enthousiasme ce brevet dincapacité
accordé à la vieille civilisation !... Fiat lux.
Nelius
sommaire
Partout dans le monde le téléphone s'implante, comme
par exemple :
en 1881 - Alexander Graham Bell et Thomas Edison fondent la Compagnie
de téléphone oriental de New York et Angle-Indian
Telephone Company Ltd. Ces sociétés sont autorisées
à vendre des téléphones dans dautres pays tels
que le Grèce, la Turquie, lInde, le Japon et la Chine.
On ne sait pas quand la compagnie Oriental Bell Telephone a été
dissoute, mais certaines des lignes téléphoniques installées
sont longtemps restées fonctionnelles. En 1881, l'exposition
internationale d'Électricité de Paris porte Thomas Edison
au rang de « symbole international de la modernité et du
progrès social scientifique »
En cet été 1881, Paris mérite, plus que jamais, son
surnom de « ville-lumière ».
Du 15 août au 15 novembre, le Palais de lIndustrie, sur les
Champs Elysées, accueille la première Exposition internationale
dElectricité.
Trois ans après la fameuse Exposition universelle, la capitale
française a décidé de mettre en valeur les grands
génies de cette fin de siècle. Elle déroule le tapis
rouge aux champions de lélectricité.
Le public, les journalistes et les dirigeants politiques et économiques
ont de quoi être ébahis. Sur scène, se succèdent
les innovateurs les plus inspirés. Et se dévoilent les inventions
les plus avant-gardistes. Le tramway électrique de Werner Von Siemens,
le téléphone dAlexandre Graham Bell, une voiture électrique
de Gustave Trouvé
Et, clou du spectacle, les ampoules
électriques à incandescence de lingénieur et
entrepreneur américain Thomas Edison.
Ce sont ses ampoules révolutionnaires qui éclaireront le
grand escalier de lexposition, lieu le plus emblématique
et spectaculaire.
Comme un coup de foudre avec la France, cette rencontre parisienne donnera
à Edison loccasion de lier de premiers contacts commerciaux.
A cette époque, lélectricité, chère
et mal maîtrisée, néclaire quune poignée
de bâtiments prestigieux dans la capitale.
Son invention les Français le comprennent pourrait
démocratiser la lumière électrique.
Ainsi, une fois lExposition internationale terminée, l
« Edison light company » maintient
ses contacts avec la France.
Et Paris non plus na pas oublié Thomas Edison, qui recevra
la croix de Commandeur de la Légion dHonneur en 1889.
Son entreprise, devenue General Electric en 1892, ouvrira un bureau parisien
juste après sa création.
Comme une officialisation des débuts dune longue histoire
commune entre GE et la France. Toujours en téléphonie :

17 janvier 1882 Brevet 252 442 "Téléphon"

3 mai 1882 Brevet 474 230 "Speaking
Télégraph" 17 octobre 1882 Brevet
266 022 "Telephone" nouvelle forme du microphone à
charbon
Telephone
basé sur le brevet britannique n° 2396, obtenu par Edison en
1878.
sommaire
Le 12 janvier 1882, Pearl Street Stationil inaugure la
Edison's central station de Holborn Viaduct à Londres puis fait
une exposition à Crystal Palace à Londres. Puis le 4 septembre
1882, il présenta un sytème complet d'éclairage électrique
et d'énergie pour une partie de Manhattan alimentée par
la centrale électrique à courant continu de forte puissance
de Pearl Street Station dans le district de Wall Street.
Suit la construction de la première centrale hydroélectrique,
sur la Fox River à Appleton, dans le Wisconsin. En 1882, celle-ci
dessert 431 immeubles, soit plus de 10.000 lampes.
L'Edison Electric Light Company connaît malgré tout des difficultés
financières. Se multiplient en effet les installations autonomes,
donc non reliées à une "centrale", une idée
qui s'impose progressivement. Cette situation difficile impose le développement
de nouvelles structures commerciales. Des vendeurs vont parcourir les
Etats-Unis et démarcher pour le compte de la compagnie, qui édite
un Bulletin chaque décade.
En novembre 1882, il ferme le laboratoire de Menlo Park
et installe un laboratoire de recherche d'inventions dans l'usine Bergmann
and Company à New York City, à l'angle de la 17e rue et
de Avenue B.
Thomas Edison poursuit ses recherches, tentant par là même
de diversifier la production de son entreprise. Il s'intéresse
ainsi à la mise au point d'un chemin de fer électrique léger.
Celui-ci pourrait répondre au problème qui se pose notamment
dans les plaines du Middle West du transport des céréales.
Une voie expérimentale est même installée à
Menlo Park, grâce au financement qu'attribue à l'ingénieur
la Northern Pacific Railroad. Celui-ci fait bientôt défaut
à Thomas Edison, qui, faute de temps, se désintéresse
de l'entreprise.
En septembre 1884, Edison reprit ses recherches sur la technologie téléphonique
en tant que consultant auprès de l'American Bell Telephone Company.
Edison n'avait pratiquement pas travaillé sur les téléphones
depuis l'été 1879, bien qu'il ait déposé une
demande de brevet conjointe avec Sigmund Bergmann pour un émetteur
amélioré en novembre 1883 (brevet américain n°
337 254). Ses travaux dans ce domaine furent stimulés par une conversation
en septembre 1884 avec son vieil ami Ezra Gilliland, responsable des travaux
expérimentaux chez American Bell et directeur du département
mécanique. Gilliland se souviendra plus tard que, lors de leur
rencontre à l'Exposition électrique de Philadelphie en septembre,
Durant les trois derniers mois de l'année, Edison se consacra principalement
à ses recherches sur la téléphonie pour American
Bell.
Fin septembre 1884 , Sa première demande de brevet téléphonique,
déposée le 24 septembre mais seulement le 15 décembre
(brevet américain 438 304), portait sur le problème de la
signalisation sélective entre abonnés et centrales.
Il concentra son attention sur deux problèmes clés : la
transmission longue distance et la signalisation sélective.
Il déposa deux autres brevets pour la signalisation sélective
le 19 décembre.
Dans les archives un document contient deux des rares dessins relatifs
aux recherches d'Edison sur ce sujet durant l'automne 1884 ; d'autres
datent de la mi-octobre et du début décembre. La figure
A semble être liée au brevet américain 347 097 d'Edison,
l'une des deux applications sur la signalisation sélective qu'il
a réalisées le 19 décembre 1884. Edison utilisait
un contrôleur de circuit local pour commander un indicateur de signal
sonore ou visuel pour chaque téléphone. Chaque contrôleur
de circuit réagissait à une intensité de courant
différente provenant de l'instrument de signalisation. Ces contrôleurs,
dont deux sont représentés à droite de la figure
A, étaient constitués d'un galvanomètre dont l'aiguille
se trouve devant une série de contacts et dont les bobines sont
en ligne. Chaque contrôleur de circuit possédait soit autant
de contacts qu'il y avait d'instruments sur la ligne, soit un seul contact
placé de manière à ne réagir qu'à un
courant particulier. Le poste de signalisation utilisait un appareil,
tel qu'une résistance réglable, pour contrôler l'intensité
du courant envoyé sur la ligne. Le dispositif de signalisation
ne s'activait que lorsque le circuit local était fermé par
l'aiguille du galvanomètre touchant le contact approprié.
Dispositif de commande de circuit de signalisation sélective,
avec galvanomètre, issu du brevet américain 347 097 d'Edison.
Fig A Patent
347 097
Dans l'autre application exécutée par Edison le 19 décembre
(délivrée sous le brevet américain 340 708), il a
remplacé le galvanomètre par un dispositif électromécanique
qui utilisait un relais polarisé pour déplacer un contact
jusqu'à ce qu'il touche la bonne butée, ferme le circuit
et active le dispositif de signalisation.
Ses travaux sur l'amélioration des émetteurs et des répéteurs
visaient à optimiser le fonctionnement des nouvelles lignes longue
distance de Bell. Parallèlement, le développement des réseaux
locaux de l'entreprise exigeait de meilleures méthodes de signalisation
pour chaque abonné. John Ott, son assistant de longue date, fut
son principal assistant pour ses recherches sur la téléphonie,
mais sa fille Marion apporta également son aide en laboratoire
lors de certaines expériences sur les émetteurs début
octobre. Tout en travaillant sur ces problèmes pour American Bell,
Edison négociait les termes de son contrat avec l'entreprise, notamment
la résolution des droits de Western Union sur ses inventions téléphoniques.
Les questions contractuelles restaient en suspens à la fin de l'année,
malgré le voyage d'Edison à Boston juste avant Noël
pour finaliser son accord avec l'entreprise. Ce voyage faisait partie
de plusieurs voyages qu'Edison effectua à Boston cet automne dans
le cadre de ses travaux sur la téléphonie. C'est également
en décembre qu'Edison et Ezra Gilliland ont commencé à
discuter du développement du système de télégraphie
ferroviaire qui deviendrait un sujet de recherche soutenu pour Edison
l'année suivante . À l'automne, la passion d'Edison pour
le théâtre l'a amené à collaborer avec des
impresarios afin de développer des effets d'éclairage spécifiques
pour leurs salles, elles aussi éclairées par des plantes
isolées Edison. En octobre, il a demandé à l'usine
de lampes de traiter ses lampes de 100 bougies afin qu'elles produisent
200 bougies pour l'« effet scénique » du studio Koster
& Bial récemment rénové.
Lettre de Ezra Gilliland à Theodore Vail Boston,
9 décembre 188 1 84 a
Cher Monsieur
Les factures ci - jointes de Bergman and Co. concernent des travaux effectués
sur des modèles utilisés par M. Edison dans ses expériences
pour notre société, au cours des mois d'octobre et de novembre,
dans le cadre de l'accord que nous avons conclu avec lui.
J'ai examiné attentivement les expériences et testé
l'appareil, et je suis heureux d'annoncer qu'il progresse considérablement
dans l'amélioration de notre émetteur longue distance et
qu'il a également produit un répéteur téléphonique
très satisfaisant. Il a également fabriqué une sonnerie
individuelle, fonctionnant selon un principe entièrement nouveau,
et lors d'un essai en laboratoire, elle fonctionne admirablement, étant
simple de construction et rapide.
Dix abonnés peuvent être sélectionnés et appelés
en cinq secondes. L'appareil nécessite bien sûr un essai
pratique sur une ligne en service, et je recommande qu'il soit chargé
de fabriquer suffisamment d'instruments pour équiper une ligne,
afin de pouvoir le tester minutieusement. Si vous le souhaitez, je vous
donnerai une description complète de l'appareil et vous expliquerai
son principe de fonctionnement. Selon les termes du contrat entre notre
société et M. Edison, le montant qu'il doit consacrer aux
modèles et aux expériences est limité. Aucun plan
précis n'a été établi quant à la manière
dont ces travaux seront menés. Je pense qu'ils devraient être
placés sous la supervision de ce département, et j'aimerais
recevoir des instructions à ce sujet. Cordialement,
ET Gilliland Surintendant du Département Mécanique.
Le succès de la ligne téléphonique
à circuit cuivre-métal pour le service longue distance a
suscité d'autres innovations visant à améliorer le
service. Selon A.S. Hubbard, directeur de la Wisconsin Telephone Company,
qui a examiné l'état de la téléphonie longue
distance en 1885, les « remèdes les plus naturels et les
plus généraux » pour améliorer la transmission
longue distance étaient « un émetteur plus puissant
et un récepteur moins sensible ; un récepteur qui ne sera
affecté que par le courant particulier régulé par
l'émetteur fonctionnant en conjonction avec lui ». Edison
a également déposé une demande de brevet conjointe
avec Gilliland pour une méthode d'isolation électrique du
récepteur afin d'améliorer ses performances. Cependant,
il a principalement concentré ses travaux expérimentaux
sur l'amélioration de l'émetteur au carbone et sur l'utilisation
d'un émetteur comme répéteur afin de surmonter l'atténuation
du signal sur une longue ligne .
Deux années après le décès de son épouse,
en 1884, il se marie, en secondes noces, avec Mina Miller, fille d'un
industriel fortuné, qui lui donnera trois enfants. Ensemble, ils
vivront dans les décennies qui suivent à Glenmont, une villa
construite à Orange, dans les faubourgs de Newark. A partir de
1885, Edison s'engage sur la voie du combat juridique, destiné
à protéger ses inventions, plagiées et utilisées
sans son accord.
Quinze années plus tard, le coût de ces procédures
atteint deux millions de dollars! A cette époque, Edison est en
passe de perdre la "bataille du courant" - technique, économique
et même politique - qui l'oppose à un de ses anciens collaborateurs,
Nikola Tesla. Ce dernier, partisan du courant alternatif, est à
juste titre convaincu que celui-ci permettra un transport plus efficient
de celle qui se présente comme l'énergie de l'avenir.
En 1887, Edison s'installe à West Orange dans le New Jersey,
près de New York, il déclare : « Je vais rendre l'électricité
si bon marché que seuls les riches pourront se payer le luxe d'utiliser
des bougies
Thomas Edison se lie avec des hommes d'affaires parmi les plus riches
de New York et fonde l'Edison Electric Light Company, qui deviendra en
1889 l'Edison General Electric Company
, puis la General Electric en 1892.
En 1887, Edison s'installe à West Orange dans le New Jersey
près de New York, pour multiplier par neuf la taille de ses laboratoires
de recherche, sur un immense complexe industriel comportant 14 bâtiments,
dont 6 consacrés à la recherche et au développement,
une usine de fabrique d'ampoules, une centrale de production électrique,
une bibliothèque et plus de 5 000 employés sur le siteDès
1888, Edison se consacre également à la recherche
sur l'image photographique animée, dont les aboutissements ultimes
seront en 1891 les premiers « films » Edison et en 1895 les
premières projections de « vues photographiques animées
» des frères Lumière, en passant par les premières
projections sur grand écran des dessins animés qu'Émile
Reynaud a inventés en 1892 et qu'il a nommés pantomimes
lumineuses.
En 1889, Edison visite l'exposition universelle de Paris, où
il expose son phonographe à la galerie des machines.
Le Figaro est la pour raconter ce passage en Europe ;
Il rencontre aussi Gustave Eiffel, qui lui fait visiter la tour Eiffel.
Il assiste à la séance du 19 août de l'Académie
des sciences, à qui il offre un phonographe.
L'éminent ingénieur est donc reçu par Le Figaro lors
d'une fête somptueuse.
Les invités sont nombreux: «Nos amis s'étaient accrus
des amis d'Edison et des Parisiens de marque, désireux de saluer
et de voir de près l'illustre savant. C'est assez dire qu'on s'est
serré les coudes.» Le cadre: «Une serre tout embaumée
et toute fleurie, où le soleil est remplacé par la lumière
électrique- le soleil d'Edison».
Des spectacles variés se succèdent: une pantomime interprétée
par la Comédie française, du chant, de la musique
Mais, le clou du programme, c'est le fameux phonographe d'Edison. «En
convive galant, il a voulu porter son plat au festin où on l'avait
convié. Ce plat, c'était le phonographe». L'engin
retransmet un témoignage d'admiration et de sympathie en l'honneur
d'Edison qualifié «d'un des princes de ce monde par droit
de génie».
Edison est ainsi sous le charme: «Admirable soirée! nous
a-t-il dit en prenant congé de nous. Je suis enchanté, ravi!».
Pour toute la rédaction du Figaro, cette reception fut mémorable.
Cette visite reste celle dont Le Figaro est le plus fier: elle représente
comme «un symbole de la fraternité des lettres et des sciences»
En 1889, lors de ses essais de prises de vues photographiques animées,
Edison installera côte à côte, sur le même cylindre
tournant de son phonographe, un graveur de sons et un appareil de prise
de vues sur une feuille de papier enduite de bromure d'argent.
Il pensera ainsi à tort avoir trouvé la solution
des prises de vues animées sonores (sans désynchronisation).
Les versions suivantes du phonographe sont à la base de l'Industrie
de la musique enregistrée.
Encore pour le téléphone : 7 Mars 1893 Brevet
492 789 "Telephone Speaking" 
sommaire
Mémorandum de Theodore Vail au comité exécutif
d'American Bell Telephone Co. Boston, le 15 octobre 1884
Messieurs,
Conformément à vos souhaits, j'ai eu un entretien avec M.
Edison lors de mon dernier séjour à New York. Après
de longues consultations, M. Edison a finalement accepté l'arrangement
suivant :
Il consacrerait environ la moitié de son temps à la société,
moyennant une rémunération annuelle de 6 000 $. Il possède
un laboratoire, dont les dépenses s'élèvent à
:
Louer . . . . . . . . . . 2500,00
Mécanicien . . . . . . 1500,00
Mécanicien . . . . . . 1200,00
Garçon . . . . . . . . .600,00
.............................5800,00 $
Toutes les expériences réalisées dans ce laboratoire
seront effectuées par lui-même ou ses assistants, la société
ne devant être facturée qu'au temps consacré. À
cela s'ajouteront les frais liés aux maquettes réalisées
à la manufacture Bergmann, à laquelle le laboratoire est
rattaché. Ces maquettes seront rémunérées
au tarif horaire de 60 ¢. M. Edison accepte toutefois que, incluant
la moitié du temps consacré au laboratoire, le total des
dépenses hors honoraires ne dépasse pas 4 000 $ par an,
sauf si la société lui demande d'engager des dépenses
spéciales ou d'effectuer des travaux nécessitant des dépenses
extraordinaires .
J'ai expliqué à M. Edison que ce qui précède
était conditionné à la conclusion d'un accord avec
la Western Union Telegraph Company (1). J'ai rendu visite au Dr Green
le même jour et lui ai fait part de notre souhait. Il a déclaré
qu'il consentirait à une cession par la Gold & Stock Telegraph
Company du contrat entre cette compagnie et M. Edison, la G & ST Company
assumant toutefois le paiement des 6 000 $ par an qu'elle lui verse actuellement.
Il a ajouté qu'il porterait l'affaire devant la commission juridique
et qu'il me ferait connaître le résultat .
En ce qui concerne les inventions ou améliorations non brevetables,
celles-ci nous appartiendront sans compensation. Toutes celles qui sont
brevetables seront brevetées et nous aurons la possibilité
de les acquérir à un prix à convenir. À défaut
d'accord sur un prix, la question sera soumise à l'arbitrage. Nous
nous réservons le droit de refuser toute invention au prix fixé
par les arbitres, auquel cas celle-ci appartiendra à M. Edison.
Si une invention est adoptée pour un usage autre que la téléphonie,
M. Edison devra obtenir une licence de notre part.
Cordialement.
Theo N Vail 7 Général Man'r.
(1) L'American Bell Telephone Co. a été créée
en 1880 dans le cadre de la recapitalisation de la National Bell Telephone
Co. La réorganisation a permis à National Bell de remplir
son accord de 1879 pour acheter les droits et instruments téléphoniques
de Western Union. National Bell était elle-même issue de
la fusion, en 1879, de la New England Telephone Co. et de la Bell Telephone
Co. d'origine.
-Western Union était propriétaire des brevets téléphoniques
existants et futurs d'Edison en vertu d'un accord signé le 31 mai
1878. La société devait verser à Edison un salaire
annuel de 6 000 $ et rembourser ses frais d'expérimentation et
de brevets pendant dix-sept ans. Un projet d'accord non daté entre
Edison, American Bell et Western Union prévoyait que Western Union
accorderait à American Bell une licence générale
pour les brevets déjà détenus par Edison et pour
ses futurs brevets, comme si American Bell avait fait partie du contrat
de 1878, convenant qu'« ABT Co. bénéficie désormais
des avantages liés aux inventions d'Edison et assume les obligations
qui en découlent ». Ce projet pourrait être celui joint
par Oscar Madden, directeur général adjoint d'American Bell,
dans une lettre du 25 octobre 1884 à Vail pour connaître
l'avis de Charles Buckingham, avocat de Western Union, sur l'accord proposé,
voir sa lettre du 1er novembre 1884 à Clarence Cary, un autre avocat
de Western Union. Edison a envoyé un autre projet d'accord avec
sa note du 3 janvier à Tomlinson. On ignore si et quand un accord
entre Western Union et American Bell concernant les brevets téléphoniques
d'Edison a été conclu. Cependant, au début de 1887,
American Bell versait à Edison un salaire de 500 $ par mois (6
000 $ par an) et continua à effectuer de tels paiements jusqu'en
1907.
- Norvin Green était président de la Western Union depuis
1878 et a également été premier président
de l'Edison Electric Light Co.
- La Gold and Stock Telegraph Co., filiale de Western Union, était
responsable des activités téléphoniques de Western
Union et payait les redevances téléphoniques d'Edison. La
société contrôlait également les brevets téléphoniques
canadiens d'Edison.
- Norvin Green a rendu compte de sa rencontre avec Vail au Comité
juridique de Western Union le 15 octobre. Le comité a voté
pour renvoyer la question de l'attribution de « l'option sur les
inventions et améliorations téléphoniques de M. Edison
garanties à Gold and Stock Telegraph Co. par son contrat avec M.
Edison en date du 31 mai 1878 » à Green et au directeur général
et vice-président John Van Horne « avec pouvoir ».
Procès-verbal du Comité juridique de Western Union.
- Theodore Newton Vail, cousin du pionnier du télégraphe
Alfred Vail, fut surintendant du service postal des chemins de fer américains
avant de devenir directeur général de la Bell Telephone
Co. en 1878. Il occupa ce poste jusqu'en 1885. Il devint le premier président
de l'American Telephone & Telegraph Co. lors de sa constitution en
1885 en tant que fournisseur de services longue distance du réseau
Bell. Il prit sa retraite en 1889, mais reprit la présidence d'AT&T
en 1907.
sommaire
Les Brevets EDISON
Pendant 62 ans, 1 093 brevets qui lui sont accordés. De plus, entre
500 et 600 demandes ont été refusées ou abandonnées.
Au plus fort de son activité créatrice en 1882, 106 brevets
lui sont accordés, dans le domaine de l'électricité
ou de la lumière. Sa société emploie plus de 35 000
personnes dans un « empire industriel » qui est fondé
sur l'utilisation de l'électricité dans le monde entier.
Travailleur acharné, Edison se concentre tellement
sur ses travaux qu'il ne passe que peu de temps auprès de sa famille.
Il évite la plupart des situations sociales, d'autant que sa surdité
lui évite les bavardages. Sa détermination et son esprit
procédurier sont souvent vécus comme tyranniques par ses
employés et son entourage.
Lors de la Première Guerre mondiale, Edison conçoit et fait
fonctionner des usines chimiques et il est nommé président
du comité consultatif de la marine américaine.
sommaire
La société Ediswan et la création
de General Electric
Affiche (crédit : fonds Swan du Discovery Museum, Newcastle).
Rappelons que en 1879-1880, en rivalité directe avec l'Anglais
Joseph Swan, Edison expérimente et brevète l'ampoule
électrique à base de filament en bambou du Japon sous basse
tension électrique à l'intérieur d'une ampoule de
verre vidée de son air
En 1883, lEdison & Swan United Electric Light
Company voyait le jour. Baptisée familièrement Ediswan,
elle commercialisait des lampes à filaments de cellulose, inventés
par Swan en 1881. Les différentes variantes du filament de cellulose
simposèrent à l'industrie, notamment grâce à
un procédé de fabrication breveté par Lewis H. Latimer
lors de ses travaux à la US Electric Lighting Company, sauf précisément
à la société de Thomas Edison, qui continuera d'utiliser
des filaments de bambou jusquà sa fusion avec Ediswan en
1892, pour former Edison General Electric : désormais, les ampoules
à incandescence utiliseront des filaments de cellulose, jusqu'en
1906 (système Auer au tungstène).
En 1886, la société Ediswan établit son usine dans
un moulin de jute à Ponders End, au nord de Londres. C'est dans
cette usine qu'à partir de 1916, Ediswan fabrique les premiers
postes radio à triode britanniques. Elle constitue ainsi le noyau
de ce qui deviendra la zone industrielle de Brimsdown, où pendant
des décennies va se concentrer la manufacture de triodes, de tube
cathodiques, etc. Ainsi, le faubourg londonien d'Enfield devient lun
des hauts-lieux de lindustrie électronique britannique pendant
la plus grande partie du XXe siècle. Ediswan a été
absorbé à la fin des années 1920 par British Thomson-Houston.
sommaire
L'automobile électrique
Voiture fabriquée
par Edison
Edison travaille en 1902 avec son collègue Waldemar Jungner autour
dune batterie pour automobile avec le couple Nickel-Fer, les deux
métaux étant immergés dans une solution alcaline.
Cette batterie résiste bien au temps et aux décharges ;
malheureusement, elle peine à dégager une forte énergie
en peu de temps. Un avantage néanmoins sur les batteries plomb-acide,
courantes à cette époque : elle est moins coûteuse.
Edison, en fervent promoteur des voitures électriques, décide
de prouver lautonomie de sa batterie : en 1910, il participe à
une course automobile dendurance, dune longueur de 1000 miles,
avec la Bailey Electric Phaeton. Cependant, la Bailey ne parvient pas
à suivre le rythme des automobiles à essence. En 1915, le
constructeur Bailey abandonne la voiture électrique, tandis quEdison
se détourne également du projet.
sommaire
L'inventeur américain a affirmé que la batterie au nickel-fer
était incroyablement solide et pouvait se recharger deux fois plus
vite que les batteries au plomb-acide. Il a même passé un
accord avec le constructeur automobile Ford Motors pour produire ce véhicule
électrique censé être plus efficace. Mais la batterie
nickel-fer avait quelques problèmes. Elle était plus grosse
que les batteries au plomb-acide utilisées et elle était
également plus chère.
De plus, lorsqu'elle est chargée, elle libère de l'hydrogène,
ce qui à l'époque était considéré comme
préoccupant et pouvait être dangereux.
Malheureusement, au moment où Edison a réussi à construire
un prototype plus raffiné, les véhicules électriques
disparaissaient et les voitures alimentées par des combustibles
fossiles gagnaient du terrain car elles pouvaient parcourir de plus longues
distances au lieu de devoir s'arrêter pour se recharger. L'accord
d'Edison avec Ford Motors est resté inachevé, bien que sa
batterie ait continué à être utilisée dans
certains créneaux tels que la signalisation ferroviaire, où
sa taille encombrante n'était pas un obstacle.
En 1930, âgé de 83 ans, il mène encore des
tests sur 17 000 plantes pour produire de la gomme synthétique.
La même année, il dépose son dernier brevet.
En 1931, à l'âge de 84 ans, alors qu'il poursuit inlassablement
ses travaux, il meurt sur son site de West Orange.
Thomas Edison en 1878.
Décorations et hommages
1878 : chevalier de la Légion d'honneur (France).
1889 : commandeur de la Légion d'honneur (France).
1892 : Albert Medal de la Royal Society of Arts de Grande-Bretagne.
1895 : prix Rumford pour ses travaux sur l'électricité.
1915 : médaille Franklin pour ses contributions à l'amélioration
du bien-être de l'humanité.
1917 : prix d'honneur décerné par la reine d'Espagne pour
une personnalité philanthrope (Espagne).
1928 : médaille d'or du Congrès des États-Unis pour
« le développement et l'application d'inventions qui ont
révolutionné la civilisation au cours du siècle passé
».
1930 : Oscar d'honneur.
1954 : la ville de 100 000 habitants de Menlo Park dans le New Jersey
est renommée Edison en son honneur.
sommaire
Après le télégraphe et le téléphone,
revenons sur les autres recherches de Edison et réalisation sur
la reproduction du son et de l'image
Le téléphonoscope la rumeur attribuait cette invention,
sous le même nom, à Thomas A. Edison.
En fait, Thomas Edison avait bien inventé un téléphonoscope,
mais ce nom avait fait travailler l'imagination, puisqu'il s'agissait
de ce que nous nommons aujourd'hui un mégaphone.
Dessins du véritable téléphonoscope d'Edison.
Paru le 17 May 1878 dans "Technical Notes and Drawings" (Edison
Papers at Rutgers University, by courtesy of Swann Galleries).
George du Maurier, "Edison's Telephonoscope", Punch, 9 December
1878.
Premier dessin d'Edison 'un telephonoscope, 2 April 1878, Edison Laboratory
Notebook.

Dessins du véritable téléphonoscope d'Edison,17 May
1878 in Technical Notes and Drawings (Edison Papers at Rutgers University,
by courtesy of Swann Galleries).
Edison est bien l'inventeur d'un téléphonoscope,
qu'il présente à un de ses correspondants, Uriah Painter,
dans une lettre (perdue) du 5 mai 1878 , et que Painter propose immédiatement
de faire breveter, dans une lettre du 13 mai 1878. Mais il s'agit d'une
sorte de double cornet acoustique, permettant de transmettre des conversations
sur une distance de 1 à 2 miles. Edison avait fait un premier dessin
sur un carnet de note le 2 avril 1878. Le 10 mai, il fit des schémas
en vue d'une demande de brevet. Les dessins apparaissent dans un ensemble
intitulé "Laboratory Notebooks", réunis dans Notes
and Drawings by Edison, propriété de Swann Galleries qu'Edison
aurait présenté à l'artiste James E. Kelly en mai
1878.
Le projet de telephonoscope est cité dans le Boston Globe dès
le 24 mai 1878. Il apparaît aussi dans un ouvrage sur le phonographe
paru en 1878.
L'instrument fut ensuite connu sous le nom de mégaphone. Edison
étudiera par la suite les applications pour les mal-entendants
sous le terme d'auriphone. Divers articles sont parus dans
la presse américaine début juin 1878 sur le megaphone, aussi
appelé Edison's Ear Telescope.
Avant Robida, le dessinateur anglais George du
Maurier propose dans Punch's Almanack for 1879 (Punch du
9 décembre 1878) un dessin Edison's Telephonoscope,
qui est aussi un appareil de vision à distance. On y voyait un
couple, dans un salon à Londres, en visioconférence avec
leur fille jouant au tennis à Ceylan.

Dans l'Almanach for 1879 de Punch (paru le 8 décembre 1878), George
du Maurier fait écho à la rumeur selon laquelle Edison venait
de mettre au point le téléphonoscope,
censé permettre la communication visuelle à distance.
Le dessin de Du Maurier représente un couple de parents qui, assis
dans leur fauteuil, regardent leur fille jouer au tennis à Ceylan
et dialoguent avec elle. 'Notons que la jeune femme jouant au tennis est
un thème récurrant dans Punch en 1878). Comme le père
s'enquiert, en chuchotant, de la jolie compagne de sa fille, celle-ci
lui promet une présentation en fin de partie.
Voici le texte de la légende :
(Every evening, before going to bed, Pater and Materfamilias set up
an electric camera obscura over their bedroom mantel-piece, and gladden
their eyes with the sight of their Children at the Antipodes, and converse
gaily with them through the wire.)
Paterfamilias (in Willow Place): Beatrice, come closer, I want to
whisper.
Beatrice (from Ceylon): Yes, Papa dear.
Paterfamilias: Who is that charming young lady playing on Charlies
side!
Beatrice: Shes just come over from England, Papa. Ill
introduce you as soon as the games over!
Traduction :
(Tous les soirs, avant d'aller se coucher, le Père et la Mère
de famille installent une chambre noire électrique au-dessus de
la cheminée de leur chambre, se réjouissent de la vue de
leurs Enfants aux Antipodes et conversent gaiement avec eux par le fil.)
Le Père (de Willow Place) : « Béatrice, approche,
je veux te murmurer. »
Béatrice (de Ceylan) : « Oui, mon cher Papa. »
Le Père : Qui est cette charmante jeune femme qui joue aux côtés
de Charlie !
Béatrice : « Elle arrive d'Angleterre, papa. Je te la présenterai
dès que le match sera terminé ! »
Resituer le dessin de du Maurier dans son contexte
Ivy Roberts a reconstitué, dans un très intéressant
article, le devenir de l'appareil durant le second semestre 1878. Elle
suggère le concept de «folklore technologique» pour
rendre compte des rumeurs, du ouï-dire et des commentaires des journalistes
qui ont contribué à la construction de représentations
culturelles du téléphone et de la lumière électrique.
«Edisons Telephonoscope» représente «discovery
mania» en négociant entre les prétentions exagérées
de linvention et le rejet satirique des nouvelles technologies pour
elles-mêmes. Elle encourage les historiens des médias à
nuancer la perspective présentiste, qui associe le dessin de du
Maurier à un écran de télévision ou électronique,
avec le point de vue du lecteur contemporain, qui aurait compris la représentation
non pas comme une prophétie mais comme une spéculation et
une critique. de la technologie. Selon Roberts, "En associant le
téléphone, un appareil spéculatif, au personnage
de l'inventeur américain Thomas Edison, l'illustration de George
Du Maurier fait la satire de la façon dont chacune de ces nouvelles
inventions a fait monter la barre. Il signifie l'absurdité du progrès
technologique futuriste et insinue une attitude sceptique à l'égard
de la surenchère technologique."
Le scepticisme et les moqueries vis à vis des annonces d'Edison
semble avoir commencé lorsque The New York Daily Graphic publie
le 16 mai 1878 un article évoquant la discovery mania, article
qui sera reproduit dans de nombreux quotidiens locaux.

"The discovery mania...", The New York Daily Graphic, 16 May
1878
Le téléphonoscope
d'Edison mentionné dans The Daily Evening Traveller, 23 May 1878
Une variante : le Telescopophone, The Sun, June 7 1878
Cet article fait suite à une annonce d'Edison, dans le Chicago
Tribune qu'il se faisait fort de mettre au point une "oreille artificielle",
affirmation implicite de sa philosophie des prothèses sensorielles.
Le journal new-yorkais en profitait pour ironiser sur la possibilité
d'un oeil artificiel (ce à quoi rêvait déjà
un journaliste du Scientific American en mai 1876 après la présentation
de l'oeil électrique au sélénium des frères
Siemens)...
A peine quinze jours après l'annonce du telephonoscope par le Boston
Globle, plusieurs journaux, dont The Sun dans l'article "Edison Outdoing
himself", le 7 juin 1878 - moquerie, simple erreur de transcription
- parlent de telescopophone. Dès le lendemain The Sun rectifie
le tir : le titre de l'article est "Edison's 'ear telescope"
et l'inventeur explique que telescopophone n'est pas le nom de l'appareil,
mais que celui-ci s'appelle megaphone. Fuite ou coïncidence, le terme
megaphone apparaissait déjà dans une satire "A New
Phone" publiée le 4 juin par The Burlington Hawk-Eye (Iowa).
Les critiques sur le caractère peu opérationnel de l'appareil
se multiplient.
En septembre 1878, Edison présente son ampoule électrique
et ses théories sur l'intérêt de développer
l'énergie électrique, ce qui entraîne bientôt
l'electric light mania, qui se propage en Angleterre et fait la joie des
caricaturistes. Selon Roberts, le dessin de du Maurier, mais aussi les
autres dessins de l'Almanak for 1879 de Punch doivent se comprendre dans
ce contexte. Roberts avance l'idée que les lecteurs de Punch, en
voyant le dessin du telephonoscope étaient bien au courant des
déboires d'Edison avec son appareil. Le dessin de du Maurier offre
l'avantage de fournir un cadre à l'écran, à une époque
où le cinématographe n'existe pas encore. Dès le
début du 20ème siècle, le dessin sera cité
comme une anticipation de la télévision. (Voir en particulier
"Du Maurier's Cartoon in London "Punch" 34 Years ago Anticipated
Edison", The Sun, New York, March 16, 1913).
Le dessin de Du Maurier va assurer le succès du terme téléphonoscope
dans le sens d'appareil de vision à distance.
"Telephonoskopikokosmos", Manchester Evening News 4 October
1879.
sommaire
Le mythe d'Edison et de ses trois appareils de vision
à distance : téléphonoscope,
telephote et kinetograph
Le mythe du "sorcier de Menlo Park"
L'attribution fantaisiste de l'invention du téléphonoscope
n'est qu'une illustration parmi d'autres du véritable mythe qui,
dès la fin des années 1870, entoure le "sorcier de
Menlo Park".
Wyn Wachhorstt a bien montré que ce mythe se constitue
dès les années 1877-1878, après l'invention du phonographe,
la "machine qui fait parler les morts", autour d'un certain
nombre d'anecdotes biographiques répétées à
l'envi mais aussi d'associations à des mythes pré-existants
(le magicien, Prométhée, Faust, Napoléon, le Professeur...).
L'attribution à Edison de pouvoirs surnaturels dans ses capacités
d'inventeurs est souvent illustrée par des plaisanteries telles
que celle publiée le 1er avril 1878 par le New York Daily Graphic
où on le crédite de l'invention d'une machine qui va "nourrir
la planète entière en fabriquant des biscuits, de la viande,
des légumes et du vin à partir de l'air, de l'eau ou de
la terre". La couverture de la même publication, le 19 juillet
1879 représente l'inventeur en magicien, En juillet 1880, le magazine
londonien Design and Work, ironise sur le fait que l'on attend toujours
le diaphote annoncé par Edison (cité dans The Operator,
July, 15, 1880).
Edison en magicien, The Daily Graphic, 19 July 1879.
Albert Robida, directeur et principal auteur et illustrateur
du magazine La Caricature, est un des plus imaginatifs pour jouer du mythe
. La couverture du n°1 de cet hebdomadaire, paru le 3 janvier 1880,
croise d'ailleurs habilement le mythe d'Edison avec celui d'Emile Zola
: sous le titre "Nana-Revue" une pulpeuse Nana rousse se penche,
d'une manière assez allusive, sur un "photo-phonographe".
Dans le n°2, du 10 janvier 1880, on trouve, parmi les "Prédictions
pour l'année 1880" :
SCIENCES - Le savant Edison poursuivra ses recherches: il inventera la
télé-claque, pour donner des gifles à distance, le
phono-revolver, pour duels, et trouvera enfin, après des années
de recherche, le télémaire, pour marier les Américains
célibataires, toujours plus occupés, avec les plus lointaines
neautés de toutes les parties du monde. Plus de temps perdu, grâce
à cet admirable instrument, on s'abonne à la Société
des télémaires internationaux et, crac ; on est époux
!
Parmi les inventions destinées à révolutionner le
monde en 1880, nous devons mentionner aussi le télétramway,
toujours Edison, qui supprime les omnibus et les chevaux et permet d'expédier
les voyageurs comme de simples dépêches.
En France, le mythe d'Edison est notamment véhiculé
par le magazine L'Illustration mais aussi par Le Figaro. Le roman L'Eve
future de Villiers de l'Isle Adam - dont la première publication
sous forme de feuilleton commence dans Le Gaulois en septembre 1880 -
se présente explicitement comme un exercice sur ce mythe. Edison
y est présenté comme l'inventeur de l'andréide, pure
entité "magnéto-électrique" .
( Villiers de l'Isle-Adam, dont l'oeuvre s'inscrit dans le mouvement,
issu du romantisme, de critique du positivisme scientifique, s'était
documenté de manière assez précise sur les travaux
d'Edison avant d'écrire son roman. On ne trouve pas dans l'Eve
future de référence à un éventuel appareil
de transmission des images à distance. Pour une analyse de ce roman,
voir NOIRAY, J., Le romancier et la machine dans le roman français
(1850-1900). Tome II, Jules Verne - Villiers de l'Isle Adam, Librairie
José Corti, Paris, 1982.).
Albert Robida, directeur et principal auteur et illustrateur
du magazine La Caricature, est un des plus imaginatifs pour jouer du mythe.
La couverture du n°1 de cet hebdomadaire, paru le 3 janvier 1880,
croise d'ailleurs habilement le mythe d'Edison avec celui d'Emile Zola
: sous le titre "Nana-Revue" une pulpeuse Nana rousse se penche,
d'une manière assez allusive, sur un "photo-phonographe".
Dans le n°2, du 10 janvier 1880, on trouve, parmi les "Prédictions
pour l'année 1880" :

Albert ROBIDA: "Nana-Revue", La Caricature, n°1, 3 janvier
1880. "Le fidélimètre d'Edison", La Caricature,
n°25, 19 juin 1880
Le n°5 de La Caricature du 31 janvier 1880 évoque dans "Edison
for ever" l'invention de la lampe électrique.
Le n°25, du 19 juin 1880, se délecte d'une "Nouvelle et
merveilleuse invention d'Edison : le fidélimètre",
appareil permettant aux maris de mesurer à distance le degré
de fidélité de leurs épouses. Un Edison souriant,
en extension, est représenté en couverture et les cinq lettres
de son nom répétées à l'envi.
Dans le n°49, un article de Higrec, "
Le téléphodore" attribue à Edison l'invention
d'un appareil permettant la transmission à distance des odeurs
.
"Le téléphodore,
La Caricacture", n°49, 4 décembre 1880
La réaction d'Edison au canular du dioscope
(décembre 1881)
La première intervention publique d'Edison est une réaction
au canular du dioscope, lancé début octobre 1881 par le
quotidien londonien Daily Telegraph et qui s'était rapidement propagé
aux Etats-Unis. Selon ce canular, le dioscope, présenté
dans le cadre du Congrès international d'électricité
de Paris, permet la transmission à domicile, par fil, de captation
de spectacle.
Le canular a probablement été inspiré
par la démonstration de télé-photographie réalisée
par l'électricien anglais Shelford Bidwell. En décembre
1881, une déclaration d'Edison sur la démonstration de Bidwell
et la rumeur du dioscope est rapportée par diverse journaux. L'article
le plus ancien que nous avons pu identifier est le "Another Wonderful
Invention" de The Courier Journal, 27 December 1881 (Louisville,
Kentucky), mais il est probable que celui-ci se base sur un article paru
dans un organe new-yorkais.
"Mr Edison, in reply to a question as what he thought of the dioscope,
said : "The ready imagination of the French has tinetured most that
has appeared in the papers regarding Mr. Bidwell's invention, but I must
admit that he has attained whatever success he claimed for his instrument.
Still, not enough is promised to justify the wild rumors that orevail
in some quarters. In turning sound into electricity you are able to move
matter, but to turn light into electricity is a very different thing,
especially as it would be necessary to transmit all the hues of a picture
or a scene of an opera. Still, it is not an unreasonable plan, nor one
impossible of accomplishment. But should it succeed, what good would it
do ? It has no commercial value, but is merely a luxury. Until satisfied
that I can do some good, I am unwilling to tackle such a thing, but as
soon as I al convinced that it can be useful, I shall want nothing better".
L'inventeur reconnaît le succès de son collègue
britannique mais indique qu'on est loin des rumeurs sur les capacités
du dioscope, qu'il attribue à la fantaisie des journalistes français.
Selon lui, la transformation de la lumière en électricité
est beaucoup plus complexe que celle du son. Le projet n'est cependant
absurde et pourrait même être réalisable. Cependant
Edison n'en voit pas l'utilité et la valeur commerciale et ne se
penchera sur cette question que lorsqu'il sera convaincu de son utilité.
La liste "Things doing and to be done" du 3
janvier 1888

Première page de la liste "Things doing and to be done"
d'Edison, datée du 3 janvier 1888.
Si l'on ne repère pas dans les archives Edison
de véritable dossier sur des travaux relatifs à la vision
à distance, on pourra néanmoins noter que sur sa fameuse
"things doing and to be done" du 3 janvier 1888 apparaissent
des termes qui peuvent laisser à penser que la diffusion à
distance des images ont effectivement fait partie de ses préoccupations
quelques mois avant son voyage en Europe. On trouve en effet dans la liste
des termes tels que photograph mirror, photograph relay, photograph telephone
practical, cable photograph,
Edison a commencé à travailler sur l'image
animée avec son assistant W.K.L. Dickson vers 1887 (5) En février
1888, il a reçu la visite d'Edward Muybridge et il semble que les
deux hommes aient discuté de la possibilité de combiner
le Zoopraxinoscope et le phonographe. Le 8 octobre 1888 rédige
un caveat où il annonce son projet de mettre au point un appareil
permettant la reproduction des images en mouvement, ce qu'il appelle un
kinetoscope et charge son assistant Dickson de travailler sur ce projet.
La déclaration au Boston Journal, 12 mai 1889
: le projet de "far-sight machine"
Texte de l'article
"Edison's Latest", Boston Journal, May 12, 1889
Le 12 mai 1889, le Boston Journal publie les déclarations
d'Edison concernant ses projets pour l'Exposition universelle de 1892,
dont il était alors envisagé qu'elle se tienne à
New York, et qui en définitive aura lieu à Chicago. L'inventeur
annonce qu'il travaille sur pas moins de soixante-dix inventions différentes.
"Une des plus particulières et qui promet de grand résultats
est ce que j'appelle une machine à voir au loin (a far-sight machine).
Au moyen de celle-ci, j'espère être en mesure d'accroître
la portée de la vision par centaines de miles, de manière
telle qu'un homme à New York puisse voir les images de ses amis
à Boston avec une facilité similaire à celle de voir
une performance en scène. Ce serait une invention valable pour
une place proéminente à l'Exposition internationale et j'espère
l'avoir perfectionné bien avant 1892. Mais ce n'est pas tout. Je
puis en toute tranquillité annoncer de nombreuses améliorations
aux inventions électriques, de différentes espèces
qui vont intéresser et instruire les visiteurs de toutes les parties
du monde".
Cette déclaration d'Edison, peu citée par ses biographes,
a cependant été largement reproduite ou citée par
la presse professionnelle et par la presse américaine (notamment
Electrical Review, 25 May 1899 ; Scientific American, 1st June 1889 La
déclaration au Boston Journal arrive en Angleterre un mois plus
tard et suscite un certain scepticisme "Was Mr. Edison in the
Earnest ?" titre la St James Gazette (12 June 1889). "We confess
that a declaration attributed to Mr. Edison by the Electrical Review rather
tries our faith. (...) If this be acomplished the modest request 'Yeah
gods annihilate but time and space and make two lovers happy' will not
need to be repeated. By the aid of the phonograph or the telephone and
the 'long night machine' Edwin and Angelina will be made happy at low
cost" écrit The NottinghamEvening Post (13 June 1889). "Mr
Edison, who has become more deaf than ever...", titre la Freeman's
Journal, Dublin, Friday 21 June 1889. En juillet, le magazine satirique
britannique publie des dessins sur la "far sight" machine"
du Profesor Goaheadison qui permet de voir entre "Schicago and Borston".
Les coupures de presse dans le scrapbook tenu par son assistant Bachelor
confirment l'intérêt de l'inventeur pour la vision à
distance.
La déclaration d'Edison sur le téléphote à
Paris en juillet 1889

"Conversations for the Times. Professor Goadheadison's Latest",
Fun, 3 July 1889
En France, le mythe d'Edison atteint son apogée
à l'occasion de la visite que fait l'inventeur à l'occasion
à l'Exposition universelle de 1889.
Edison visite l'Exposition universelle de Paris en août 1889 et
son guide n'est autre qu'Etienne Marey, qui lui fait visiter l'Exposition
française de photographie (où exposent entre autres Nadar
et les frères Lumière) et lui montre les résultats
qu'il avait obtenu avec son chronophotographe.
Avant l'arrivée d'Edison, Le Figaro et l'édition
parisienne du New York Herald rendent compte, le 23 juillet, d'un pli
qui aurait déposé à l'Académie des sciences
par un inventeur français, M. Courtonne, présentant les
principes d'un téléphote concurrent de celui d'Edison. Cette
information sera largement reprise dans la presse française et
états-unienne, sans qu'il soit possible d'identifier avec précision
ce M. Courtonne.
Une rumeur circule, dès avant l'arrivée
d'Edison à Paris selon laquelle il arrivait "avec le téléphote
dans la poche". Dans l'article "Sa Majesté Edison",
dans le Figaro du 8 août 1889, dans lequel il compare l'inventeur
à Zeus, Georges Robert écrit : "Edison a inventé
le téléphone, le phonographe, une lumière qui détrône
cette vielle lune cassée qui promène depuis des siècles
ses morceaux sur nos têtes. Il invente le téléphote.
Il fait tout pour nos. Ne faisons nous rien pour lui ?" Le journaliste
paraît bien informé : "Il travaille à une talking
doll, poupée qui parlera pendant une heure. Il vient d'achever
son séparateur de minerai de fer et il espère inventer un
bateau volant. Il ferait au dedans le vide par la compression de l'air,
qui actionnerait deux ailes. Enfin, il s'occupe du téléphote,
qui, justement retarde son arrivée parmi nous".
Lors de son arrivée au Havre, le 11 août,
Gaston Calmette observe l'enthousiasme du public : "Tous impatients
de saluer enfin Edison, le grand chercheur auquel la science moderne doit
ses progrès les plus surprenants, Edison qui n'est jamais venu
sur le continent européen et qui, chaque année, jette sur
ce vieux monde qui ne le connaît pas quelques-unes de ses découvertes
sublimes : hier, la lampe électrique incandescente et le téléphone,
aujourd'hui, le microphone et le phonographe; demain peut-être,
le téléphote, cet instrument merveilleux au moyen duquel
on pourra voir à dix mille lieues la personne qui vous parlera
!" Calmette rapporte même un entretien avec le Dieu : "Quand
on l'interroge sur le téléphote, il répond que ses
travaux sont en excellente voie et qu'avant un an il en fera connaître
les résultats. En attendant, il va créer une Société
des phonographes analogue à la Société des téléphones"
(Le Figaro, 12 août 1889).
"G. Calmette, "Edison en France", Le Figaro, 12 août
1889.
Le 13 août, l'édition parisienne du New York Herald rapporte
un entretien que son journaliste a obtenu avec Edisoon dans son appartement
de l'Hotel du Rhin. Sous le sous-titre "A Seeing Machine", une
des questions porte explicitement sur la possible invention par Edison d'"une
machine à l'aide de laquelle un homme à New York pourrait
voir ce que faisait sa femme à Paris", comme une sorte de reprise
du fidélimètre de Robida. Edison répond en riant :
"Je ne sais pas si ce serait un réel bienfait pour l'humanité.
Les femmes protesteraient." Mais Edison confirme qu'il travaille sur
la question et que ce sera sa priorité en rentrant aux Etats-Unis
: "Cette invention-là serait utile et pratique et je ne vois
pas pourquoi elle ne deviendrait pas bientôt une réalité,
et une des premières choses que je ferai en rentrant en Amérique
sera d'établir cet appareil entre mon laboratoire et mes ateliers
de téléphone." De manière étonnante (car
on ne trouve pas de trace ailleurs de cela), il affirme avoir déjà
obtenu "des résultats satisfaisants en reproduisant des images
sur cette distance, qui est seulement d'un millier de pieds". Et de
manière tout aussi étonnante, il affirme qu'il serait ridicule
de parler de la possibilité de se voir de New York à Paris,
ce que la rotondité de la terre empêcherait de faire !
Le 16 août, Le Figaro rend compte de cette conversation.
"Une conversation avec
Edison" (extrait), Le Figaro, 16 août 1889
The Brooklyn Citizen, en date du 7 octobre 1889, sous
le titre "Edison's Talk" fait référence à
l'entretien de Paris, et évoque, avec un certain scepticisme son
annonce de l'importance de son entreprise au pavillon américain
de l'Exposition universelle. "Au sujet d'autres propositions, nous
ne sommes pas aussi sûrs. Il adore titiller ses auditeurs avec des
déclarations extraordinaires, mais tellement extraordinaires sont
les choses qu'il a faites qu'on n'est sage à ne pas se prononcer
trop avant entre faits et plaisanteries. Il confie qu'il est en train
de travailler sur un instrument qui transportera sur la distance l'apparence
aussi bien que la voix d'une personne qui parle, ou, en d'autres mots
qui soumettra la photographie à la transmission électrique
de manière telle qu'on puisse voir aussi bien qu'entendre son propre
correspondant à des milliers de miles de distance. Pour surprenante
que soit cette proposition, elle ne l'est guère plus que le phonographe
ou le téléphone. De fait, cette proposition serait seulement
une modification du téléphone. Celui-ci enregistre les variations
des impulsions de l'air, ce qui produit sur l'esprit, à travers
l'oreille, l'impression du son. Le téléphote transportera
les impulsions beaucoup plus délicates de la lumière. La
différence entre les deux est la longueur d'ondes, mais leur relation
est établie de nombreuses manières bien que jamais autant
que par le fait que l'appareil auditif et l'appareil occulaire dans la
tête d'un homme sont interchangeables, en tout cas en ce qui concerne
les nerfs de transport et qu'ils sont analogues dans la méthode
de recevoir et de transmettre des sensations. Cela ne devrait surprendre
personne si dans un siècle on puisse voir l'illumination de la
cathédrale Saint-Pierre à partir d'un bureau de téléphote
(telephote office) à Brooklyn".
Si tel est bien ce qu'Edison a dit, il n'y a rien de très
original par rapport à ce qui s'écrivait depuis 1877 et
le délai annoncé (un siècle) indiquait clairement
qu'il y avait beaucoup du concept à la réalité. La
rumeur de son invention va pourtant se propager. Dans l'article "Le
téléphote" paru dans Le magasin pittoresque (1889),
C.Colin rend compte de l'attribution intempestive à Edison de l'invention
d'un appareil permettant de transmettre les images à distance.
Il est piquant de constater qu'un historien contemporain tel que Jacques
Perriault, pourtant heureux précurseur de l'"archéologie
de l'audio-visuel", se base sur l'article de Colin pour attribuer
à son tour l'invention du téléphote à Edison.
("Nous terminerons par une autre invention de T.A. Edison, qui montre,
à son tour, combien les modèles technologiques de ces hommes
étaient en avance sur leur époque".)
The Star, Beattie, Kansas,
16 August 1889
L'Illustration,
14 septembre 1889
Edison's Talk",
Brooklyn Citizen, 7 octobre 1889
Après Paris, Edison part pour Berlin, puis Heidelberg et repasse
à Londres avant de s'embarquer pour les Etats-Unis. On retrouve
dans les clippings des archives d'Edison un article de l'édition
du 23 septembre 1889 du New York Herald faisant suite à un entretien
avec Edison, victime d'un refroidissement à Londres mais très
satisfait de son séjour à Paris. Interrogé sur ses
projets projets, il élude la question, mais indique que ses prochains
travaux ne sont pas sans rapport avec l'électricité.
Le 6 octobre, Edison est de retour à New York et
commente pour les journalistes les résultats de son voyage. L'Exposition
de Paris l'a enthousiasmé, mais il indique n'avoir rien appris
en matière d'électricité. Il confirme qu'il travaille
sur un appareil qui permettrait de voir son interlocuteur au téléphone,
mais qu'il n'est pas sûr qu'il y ait un marché, or il ne
s'intéresse qu'aux inventions qui ont un débouché
commercial. Ce pragmatisme a surpris ses interlocuteurs européens.
Hertz, Liesegang et Marey
Ses déclarations au Pittburgh Dispatch, 7 octobre 1889 nous apprennent
qu'il a rencontré le Professeur Hertz. Celui-ci a publié
deux ans auparavant ses premiers articles sur les effets photoélectriques
de deux étincelles. Il indique que celui-ci conduit des recherches
abstraites qu'il n'est pas possible d'expliquer à un public non
familiarisé, mais Edison reconnaît que le professeur allemand
"va nous expliquer ce que c'est que l'électricité"
Il était cependant bien trop tôt en 1889 pour que soit évoquée
l'hypothèse de la transmission d'images, et mêmes de sons,
par les ondes hertziennes, dont Hertz n'avait pas encore démontré
le potentiel.
Il est possible qu'en Allemagne, Edison ait aussi rencontré le
chimiste Raphaël Eduard Liesegang Celui-ci, deux ans plus tard, va
lui dédier sa brochure Beiträge zum Problem des elektrischen
Fernsehen. Probleme der Gegenwart, la première publication en allemand
entièrement consacrée à la vision à distance.
Liesegang cite la déclaration d'Edison au New York Herald. Il semble
qu'une correspondance ait existé entre les deux hommes en 1889-1890
et qu'Edison se soit intéressé au Phototel proposé
par Liesegang et même quil ait cherché à acquérir
l'appareil de télévision (Fernsehapparat) du chimiste allemand.
C'est du moins ce qu'atteste un article paru dans la Deutsche Allgemeine
Zeitung du 1er novembre 1939. C'est également en 1890 que Liesegang
déposera aux Etats-Unis une demande de brevet pour son phototel.
En 1890, Liesegang déposera une demande de brevet aux Etats-Unis
pour son Phototel.
La nouvelle du projet d'Edison arrive en Italie via la publication allemande
Electro Techniker (Il Progresso, Rivista italiana di scienze naturale,
10 Aprile 1891, p.49)
A Paris, Edison a également été stimulé
par ses discussions avec Etienne-Jules Marey, Edison déposa quatre
caveats relatifs à un appareil de cinéma. La quatrième,
déposée le 2 novembre 1889, est relative à l'utilisation
de film sensible et transparent, perforés des deux côtés
"comme sur les bandes du télégraphe automatique de
Wheatstone". Dès le 2 septembre 1889, Dickson a commandé
à George Eastman des rouleaux de films. Les historiens du cinéma
dans cette évolution des travaux d'Edison, l'influence des recherches
françaises.
L'annonce du 12 mai 1891 du kinetograph comme appareil
de vision à distance
Le troisième épisode se joue dans le contexte de la préparation
de la Columbian World Exhibition qui doit se tenir à Chicago en
1893 pour célébrer le 400ème anniversaire de l'arrivée
de Christophe Colomb.. L'inventeur se rend à Chicago pour la préparation
de l'événement et, le 12 mai, rencontre les journalistes,
qui lui demandent quelles seront les inventions qu'il apportera à
l'Exposition..
Le premier article semble être celui du Chicago Evening Post du
12 mai 1891. De nombreux articles de presse rendent compte des déclarations
d'Edison, de manière plus ou moins complète. Les plus complets
sont ceux de The Wichita Daily Eagle (24 mai 1891), The Wheeling Intelligence,
(25 mai 1891) et Washington Post (27 juin 1891).
En combinant le contenu des différents articles, il est à
peu prêt possible de reconstituer la communication de l'inventeur
dans ses détails.
Edison annonce qu'il devrait venir à l'Exposition
avec "deux ou trois choses à montrer qui je pense seront une
surprise et plairont aux visiteurs du département Electricité
de l'Exposition, dont, en tout cas, je suis convaincu qu'elle sera un
grand succès. Deux de ces inventions ne sont pas encore prêtes
pour être décrites ni même caractérisées.
La troisième, cependant, est quasi parfaite et je n'hésite
pas à dire quelque chose à son sujet. Elle comprendra des
éléments à la fois du téléphone et
du phonographe, et sera égale, et même dépassera la
somme de leurs mystères combinés. Mais l'invention n'aura
pas de valeur commerciale. Elle aura plutôt une valeur sentimentale.
Elle n'est pas encore parfaite. Quand elle le sera, elle vous surprendra.
J'espère être capable par cette invention de projeter (to
throw upon) sur une toile (canvas) l'image parfaite de n'importe qui et
de reproduire ses paroles. Ainsi, si Madame Patti devait chanter quelque
part, l'invention mettra son image complète (full-lenght picture)
sur la toile de manière si parfaite qu'elle permettra de distinguer
chaque détail et expression de son visage, de voir toutes ses actions,
et d'écouter la ravissante mélodie de sa voix incomparable.
L'invention fera pour l'oeil ce que le phonographe a fait pour la voix,
et reproduira la voix tout aussi bien; n fait de manière plus claire.
J'ai déjà perfectionné l'invention à un point
tel qu'il est possible de représenter (picture) un combat professionnel
(prize-fight), les deux hommes sur le ring et l'intensité des visages
intéressés de ceux qui les entourent. Vous pouvez entendre
le son des coups, les acclamations d'encouragement et les hurlements de
déception. Et quand l'invention aura été perfectionnée,
ajoute M.Edison avec une trace de lueur d'enthousiasme sur son visage,
un homme pourra être assis dans sa bibliothèque à
la maison, et disposant d'une connexion électrique avec un théâtre,
il verra reproduit sur son mur ou sur un morceau de toile les acteurs
et entendra tout ce qu'ils disent. La seule chose que l'invention requière
est la finesse de reproduire les caractéristiques et les expressions.
C'est mon intention de tenir prêt pour l'Exposition mondiale une
telle combinaison heureuse de la photographie et de l'électricité
de manière à permettre un homme de s'asseoir dans son propre
salon et de voir représenté (depicted) sur un rideau (curtain)
devant lui les formes des interprètes dans un opéra sur
une scène distante, et d'entendre la voix des chanteurs. Quand
le système sera perfectionné, ce qui j'espère sera
le cas pour l'exposition, les muscles du visage du chanteur, chaque regard
de son oeil et chaque expression seront vues. Chaque couleur dans les
vêtements des interprètes sera également reproduite.
De plus, le spectateur, assis au coin du feu, verra chaque personne dans
la pièce bouger de sa position d'une manière naturelle,
juste comme si elles étaient les vraies personnes elles-même.
Je peux placer un appareil de manière telle qu'il dominera (command)
un coin de rue et après l'avoir laissé enregistré
(register) les vues des passages (passing sights) durant un laps de temps,
je peux les projeter (cast) sur une toile de manière telle qu'ils
transportent (carry) ainsi chaque caractéristique et mouvement
des passants, même les tics sur les visages pourront être
vus et si un de vos amis passe durant ce laps de temps, vous pourrez le
savoir. L'invention sera appelée kinetograph. La première
partie du mot signifie "mouvement" et la seconde 'écrire"
et les deux ensemble signifient la représentation (portrayal) du
mouvement. L'invention combine la photographie et la phonographie".
De cette déclaration, il ressort plusieurs éléments
qui sont généralement occultés dans les histoires
du cinéma. Tout d'abord l'idée d'Edison est bien que le
kinetograph doit fournir une image projetée, sur une toile, un
rideau ou un écran. Certes, le kinetoscope d'Edison ne réalisera
pas ce projet, qui implique que le spectateur se penche sur une boîte
pour regarder des images microscopique, et il faudra attendre C. Francis
Jenkins et les frères Lumière, pour assister à de
véritables projections. Ensuite, l'idée est bien qu'il y
ait transmission des spectacles (d'opéra, de théâtre,
de sport) pour une consommation à domicile. Certes, l'idée
n'est pas neuve. Elle avait été formulée dès
1878 par le polonais Julian Ochorowicz (qui citait également la
cantatrice Adelina Patti), par Albert Robida en 1882 dans son roman Le
Vingtième Siècle ou encore, en 1888, par Edward Bellamy
dans sa dystopie Looking Backward: 20001887. .Mais il est important
de noter que la réflexion d'Edison a évolué par rapport
à sa déclaration de 1889, qui parlait plutôt d'un
complément visuel à la téléphonie, mais pas
de transmission de spectacles. Notons enfin qu'Edison parle bien de transmissions
en couleurs, ce qui est une innovation complète par rapport à
l'état de la photographie à cette date.
Bien sûr, la proposition jetée en pâture aux journalistes
est exagérée, mais elle a le mérite de définir
un programme, que finalement d'autres réaliseront.
Les réactions dans la presse à ces déclarations,
entre le 12 et le 27 mai (date du dévoilement des caractéristiques
du kinetograph) sont très diverses. The Philadelphy Inquirer -
qui qualifie l'appareil de photo-phonograph - imagine la disparition des
théâtres, le problème que cela posera pour les jeunes
amoureux contraints de regarder les spectacles en famille, et évoque
la possibilité de diffuser les sermons. The Marville Times fait
de la surenchère et annonce qu'Edison a mis au point un appareil
qui permet d'entendre les sons qui sont émis sur le soleil. "Bientôt
ce gars communiquera avec les habitants de la lune" (13 mai 1891).
Le Prof. Wiggins, expert en prédictions météorologiques
annonce qu'il écrit un roman qui décrira la vie sur Jupiter
et qui intégrera l'invention d'Edison (The Helena Independent,
24 mai 1891). La possibilité de regarder les combats sportifs à
distance va supprimer un tas de problème pour la police, ironise
le Saint Paul Daily (19 mai 1891). "Les amoureux pourront s'entendre
et se voir à distance, mais cela n'aura aucun charme, à
moins de trouver un autre stratagème" observe The Morning
Call (21 mai 1891). De même The Wahpeton Times écrit : "A
moins que la machine de M. Edison ne transmette l'odeur du blend de whisky,
des oignons et du chou brûlé, les clients des pugilats se
plaindront de ce qu'une indéfinissable essence manque pour la jouissance
complète des démolitions à longue distance"
(28 mai 1891).The Sedalia Weekly Bazoo note la concurrence que le kinetograph
va représenter pour les photographes "The man with the kodak
may begin to tremble for his occupation" (26 mai 1891).
En France, un billet du journal Le Mot d'ordre (28 mai
1891) compare cet appareil annoncé au téléphonoscope
qu'Albert Robida avait décrit dans Le Vingtième siècle
(1882). Dans Le Monde illustré (23 mai 1891), Pierre Véron
reprend la thématique classique du spectacle à domicile,
mais regrette que cet "inouïsme" ne sera pas disponible
avant sa mort. Le 1er novembre 1891, Ernesto Mancini, chroniqueur scientifique
de L'Illustrazione italiana, constate que, contrairement à ce qui
avait été annoncé, l'appareil du thaumaturge Edison
ne répond pas à l'objectif annoncé de la vision à
distance.
Mais divers commentateurs sont d'emblée séduits
par la proposition : "Si Edison réalise ses promesses à
l'Exposition mondiale, le mot "surprise" pourra être rayé
du dictionnaire. Les gens ne considérerons plus rien comme impossible"
(Pittsburg Dispatch, 27 mai 1891). The Morning Call (21 mai 1891) évoque
"la réalisation des rêve des auteurs spéculatifs
qui ont décrit la vie telle qu'elle sera dans les siècles
à venir" et The Indianapolis Journal évoque le roman
de Bellamy, dont Edison va réaliser l'utopie (14 mai 1881). Pour
The Wheeling Daily Intelligencer (25 mai 1891), "Edison n'est pas
un jongleur et quand il dit quelque chose, il sait de quoi il parle. Un
dispositif (contrivance) qui apporte un combat de boxe dans les plus humbles
chaumières marquera une avance remarquable pour notre civilisation".
Les plus enthousiastes auront certains dû déchanter,
malgré la nouveauté de l'appareil, lorsque le kinetograph
sera présenté.
L'article paru dans le numéro daté de mai
1891 de la revue Phonogram est cité par les historiens du cinéma
(C. Musser, L.Mannoni) comme la seule source relatant la première
présentation du kinetoscope à bande pelliculaire perforée,
qui eût lieu le 20 mai 1891 lors d'une visite du Women's Club au
laboratoire d'Edison à West Orange, soit huit jours après
l'annonce faite le 12 mai à Chicago. Le 28 juin 1891,
"Bavardage",
Le mot d'ordre, 28 mai 1891
Edison communique finalement à la presse la description technique
du kinetograph et son "téléphone cosmique". Les
deux articles les plus souvent cités par les historiens sont ceux,
plus détaillés, parus dans The Sun, du 28 mai 1891, qui
publie un schéma de l'appareil et dans le Scientific American du
20 juin 1891, qui propose la première photographe d'un ruban de
pellicule.
Le kinetograph.
Schéma paru dans The Sun, 28 mai 1891.
Le 31 juillet 1891, Edison formule les demandes de brevet du kinetoscope
et du kinetograph. Une nouvelle présentation aux journalistes a
lieu le 29 avril 1893 et la première démonstration officielle
a lieu le 9 mai 1893 à la réunion annuelle du Départment
de physique du Brooklyn Institute of Arts and Sciences.
Le kinetograph
dit '1889" (en réalité datant probablement de 1891).
"Le téléphote n'a jamais existé que dans
l'imagination des news-paper men"
Le 28 avril 1893, dans son laboratoire de West Orange, Edison reçoit
l'envoyé du Figaro, l'écrivain et bibliophile Octave Uzanne.
Les deux hommes ont sympathisé lors de la visite de l'inventeur
à Paris, en 1889. Peut-être Uzanne avait-il évoqué
à cette occasion le génie prospectif de son ami Albert Robida,
qui, dans Le Vingtième siècle (1882) avait poussé
beaucoup plus loin que Du Maurier la déclinaison des usages possibles
du téléphonoscope ?
Uzanne, qui visiblement ignore les articles de la presse américaine
de mai 1891, demande à Edison si le kinetographe est la même
chose que le téléphote. La réponse, qui paraît
dans Le Figaro du 9 mai 1893 est cinglante.
Le 12 février 1896, Edison expérimente
la diffusion de photographies par rayons X sur câble téléphonique
Dans les versions précédentes de cette page, j'écrivais
: "L'interview de Uzanne est la dernière évocation
par Edison que nous connaissions des questions liées à la
vision à distance. Probablement a-t-il pris conscience que la transmission
des images était prématurée et qu'il fallait d'abord
perfectionner le kinetograph et assurer la production de films. Mais a-t-il
pour autant cessé de s'intéresser à la question ?"
L'examen des articles de presse consacrés aux recherches menées
par Edison sur les rayons X, dès janvier 1896, m'a permis de mettre
en évidence un fait ignoré par les biographes d'Edison et
par les historiens de la téléphotographie et de la télévison
: le 12 février 1896, Edison a expérimenté la transmission
d'images par rayons X sur un câble téléphonique. Cette
expérience n'a donné aucun résultat probant, mais
elle est la première d'auutres investigations sur une telle hypothèse,
que d'autres explorerons : H.L. Smith (février 1896), J.G. Vine
(févrer 1896), F.L. Close (1896), Robert D'Unger (1896), Elias
E. Ries (1896), Huber (1896), René Darmezin (1906), Adriano Nisco
(1924).
Edison mettra au point au printemps 1896 un fluoroscope, qui permet d'observer
le corps humain par rayons X sans recours à une plaque photographique
et qui est un des premiers appareils permettant d'observer le mouvement
en direct. Cet appareil rencontrera une forte audience dans la presse.
A l'automne 1896 Edison proposera un télégraphe autographique,
qui permet la transmission de dessins par télégraphe. Comme
il le reconnaîtra lui-même, cet appareil n'est qu'un perfectionnement
du modèle de Caselli.
L'apport d'Edison au développement de la télévision
selon Vladimir Zworykin
Dans son livre Television. The Electronic of Image Transmission, Vladimir
Zworykin, l'inventeur de la télévision cathodique, crédite
Edison d'avoir découvert en 1883 qu'un courant négatif pouvait
circuler à partir d'un filament incandescent dans une ampoule sous
vide. Il a obtenu en 1984 le brevet US307 031, le premier brevet américain
pour un appareil électronique. appareil). Edison ouvrait ainsi
la voie aux recherches sur les émissions thermioniques, développées
par O.W. Richardson (Prix Nobel de Physique 1928) qui allaient permettre
le perfectionnement des tubes à vide en vue de leur utilisation
en T.S.F.. et dans la télévision électronique. (ZWORYKIN
and MORTON, 1940) . Les physiciens parlent à ce sujet de l'"effet
Edidon". Sur l'histoire de l'effet Edison, voir Harold Gardiner BOWEN,
The Edison Effect, Thomas A. Edison Foundation, ca; 1951)
La relance du mythe en février 1904
En février 1904, un article du London Mail, qui va avoir une
diffusion internationale, Edison aurait fait dans les jours précédents
une nouvelle annonce d'un système de vision à distance par
fil et couple le mythe d'Edison avec celui de Jan Szczepanik, qui date
de 1898 et que l'on aurait pu croire éteint après le fiasco
de l'annonce de la démonstration de son Telelectroscope à
l'Exposition universelle de Paris.
Il serait d'ailleurs intéressant de savoir si Edison, en 1898,
s'est intéressé au Telelectroscope de Jan Szczepanik, que
Mark Twain avait surnommé l"Edison autrichien". Plusieurs
articles sur cet appareil sont parus dans la presse américaine,
et on n'imagine mal que Mark Twain, qui avait rencontré et soutenu
Szczepanik à Vienne, n'ait pas évoqué ses travaux
lorsqu'il rencontra son ami Edison. Et qu'a pensé du téléphote
du français Rignoux qui fit la une du Scientific American Supplement
le 22 mai 1915 ? Et comment reçut-il, en 1925, les succès
de C. Francis Jenkins dans la diffusion d'images à distance par
son Radiovision, ce même Jenkins, de vingt ans son cadet, qui, dès
1894 avait obtenu un brevet pour son Phantoscope et avait été
un des principaux challengers sur le marché des techniques cinématographiques
?
Faute de documents indiquant une évidence d'éventuels travaux,
il faut bien admettre que l'apport d'Edison est ténu. La publication
des archives Edison est en cours aux Etats-Unis, mais il s'agit d'un projet
immense. Les archives Edison représentent environ quatre millions
de pages. L'édition intégrale n'en est qu'à son cinquième
volume, correspondant aux écrits d'Edison en 1879....
En attendant, le mythe continue : Internet, qui est également
le moyen le plus efficace de propager les mythes (et les bêtises)
fournit la possibilité à un quidam d'écrire que "Plus
récemment, les découvertes de Thomas Edison, conjuguées
à celles de Constantin Senlecq donnaient naissance au tube cathodique,
déjà baptisé "télévision"
lors de l'exposition universelle de 1900."
Le Kinétographe et kinétoscope. Les premiers films du
cinéma.
Dès 1888, Edison se consacre également à
la recherche sur l'image photographique animée, dont les
aboutissements ultimes seront en 1891 les premiers « films »
Edison et en 1895 les premières projections de « vues photographiques
animées » des frères Lumière, en passant par
les premières projections sur grand écran des dessins animés
qu'Émile Reynaud a inventés en 1892 et qu'il a nommés
pantomimes lumineuses.
En 1889, lors de son passage à l'Exposition universelle
de Paris, il déclare s'intéresser à un projet de
transmission à distance des images, mais rien n'atteste de travaux
importants dans ce domaine.
Avec son ingénieur électricien William Kennedy Laurie Dickson,
Thomas Edison travaille d'abord sur un modèle de caméra
qui utilise un cylindre tournant, selon une technique bien rodée
avec le phonographe.
Ce cylindre est en verre transparent et directement enduit de bromure
dargent, puis enfermé dans une boîte étanche
à la lumière.
Un objectif se déplace sur une vis sans fin, recevant la lumière
du sujet visé et la dirigeant sur le cylindre en rotation.
Un obturateur à pales provoque lenregistrement espacé
des instantanés selon le procédé du stroboscope.
Le cylindre est ensuite plongé dans les bains de traitement successifs
et en ressort sous forme de négatif aux valeurs inversées
: noir pour blanc, blanc pour noir.
Pour obtenir un rétablissement de ces valeurs et permettre la manipulation
des clichés, une feuille de papier photosensible est enroulée
autour du cylindre en verre que lon éclaire de lintérieur.
Selon la technique du tirage contact, les différents photogrammes
sont ainsi reportés sur cette feuille qui peut ensuite être
découpée.
Ses essais sont visibles à lil nu, image par image,
mais comme les essais à la même époque de Louis Aimé
Augustin Le Prince, ou ceux d'Étienne-Jules Marey, le procédé
sur papier ne permet pas de visionner les images photographiques en mouvement,
le support étant opaque et fragile.
Dickson tourne ainsi trois essais : Monkeyshines, No. 1, No. 2 et No.
3. « Des silhouettes blanches s'agitent sur un fond noir et sont
généralement aussi inhumaines que des pantins. On peut les
comparer à des ombres chinoises en négatif. », écrit
l'historien du cinéma Georges Sadoul.En 1889, Edison se
procure le film souple en celluloïd (nitrate de cellulose), inventé
par John Carbutt, et commercialisé par l'industriel George Eastman
sous la forme de rouleaux de 70 mm de large, sans perforations.
Avec Dickson, il découpe le film en trois rouleaux de 19 mm de
large qu'il dote d'une seule rangée de perforations rectangulaires
arrondies, dont il dépose plusieurs brevets internationaux.
Selon les directives et croquis d'Edison, Laurie Dickson et son aide,
William Heise, développent un nouveau modèle de caméra,
le kinétographe, dont il dépose de nombreux brevets internationaux.
C'est la première caméra de l'histoire, munie d'une seule
optique, et entraînée par un moteur électrique.
On la charge avec une bobine de pellicule 19 mm à défilement
horizontal d'environ 17 mètres de longueur, dont le passage se
fait dans l'appareil en moins d'une minute.
L'unique rangée de perforations est située en bas des photogrammes,
à raison de six perforations par image.
Les photogrammes sont circulaires, dernier rappel des jouets optiques,
et ont un diamètre denviron 12 mm.
Les premiers essais sont ensuite visionnés sur le kinétoscope,
une machine de visionnement individuel, développée par Dickson,
dont Edison dépose un brevet valable seulement aux États-Unis,
la machine lui paraissant n'être qu'un premier pas vers une autre
invention qui en découlerait, alliant à l'image un son enregistré,
un projet qui lui tient particulièrement à cur.
Il rêve en effet de coupler au phonographe une machine qui permettrait
denregistrer limage dun chanteur ou dun orchestre
interprétant une chanson ou un air dopéra.
Son rêve va dans le sens d'un besoin général à
la fin du XIXe siècle de transporter la voix et l'image : il existe
des salles de téléphonie, les parlors (parloirs) dans le
monde anglo-saxon, où l'on diffuse, avant que la T.S.F. n'existe,
des journaux parlés mais aussi des opéras en direct hors-salle
au moyen de « téléphones » à cornet non
électriques, des systèmes à tubes, identiques aux
systèmes de communication embarqués entre ponts sur les
navires. « On pourrait ainsi assister à un concert du Metropolitan
Opera cinquante ans plus tard alors que tous les interprètes auraient
disparu depuis longtemps»
En 1891, Edison organise devant un public exclusivement féminin,
des militantes de la Federation of Womens Clubs (en), le visionnement
de l'un des essais,
Le Salut de Dickson (Dickson Greeting). Cet essai dure moins de dix secondes
mais comme il est disposé en boucle dans la machine, il peut être
vu et revu indéfiniment.
L'accueil de ce premier public du cinéma, qui consacre Le salut
de Dickson comme premier film du cinéma présenté
au public, est enthousiaste, ainsi que les éloges de la presse.
C'est Edison qui a l'idée d'adopter le mot anglais film
pour désigner les bobinesx impressionnés.
Mais l'industriel et ses employés ne sont pas entièrement
satisfaits de ces essais, l'image est jugée trop petite et manque
de définition au visionnement, surtout quand le cadre est large.
Ils décident alors de découper la bande Eastman de 70 mm
par son milieu, créant deux galettes au format 35 mm de large,
qu'ils font défiler cette fois verticalement dans la caméra
en la munissant d'une seule rangée de quatre perforations rectangulaires
sur l'un des bords.
Encore une fois, le résultat est décevant par manque de
stabilité. La dotation d'une seconde rangée de perforations
est décidée : l'entraînement est alors parfait, chaque
photogramme est encadré de huit perforations, quatre de chaque
côté.
Ce format, à quelques aménagements de détail près,
est celui qui existe encore aujourd'hui. « Edison fit accomplir
au cinéma une étape décisive, en créant le
film moderne de 35 mm, à quatre paires de perforations par image.
»
sommaire
L'ampoule électrique
En 1888, Edison fonde l'Edison
General Electric Company
Thomas Edison se lie avec des hommes d'affaires parmi les plus riches
de New York et fonde l'Edison Electric Light Company,
qui deviendra en 1889 l'Edison General Electric
Company », puis la General Electric
en 1892.
Industriel en 1878, lors d'une partie de pêche au lac Battle dans
la Sierra Madre, État du Wyoming, Edison observe à quel
point les fibres d'un morceau de bambou (de sa canne à pêche),
jeté au feu, brillent sans se désintégrer.
Cette observation lui inspire l'idée d'utiliser un filament fortement
chauffé par un courant électrique à l'intérieur
d'une ampoule hermétique, de laquelle on a enlevé l'air
par une pompe à vide, pour produire de la lumière.
Le principe de l'ampoule électrique avait été auparavant
établi et expérimenté sans suite industrielle par
l'Écossais James Bowman Lindsay en 1835. En 1879-1880, en rivalité
directe avec l'Anglais Joseph Swan, il expérimente et brevète
l'ampoule électrique à base de filament en bambou du Japon
sous basse tension électrique à l'intérieur d'une
ampoule de verre vidée de son air, après avoir testé
6 000 substances végétales qu'il a fait récolter
dans le monde entier, disposant d'un budget de 40 000 dollars.
Sans être les inventeurs de l'ampoule électrique, l'équipe
d'Edison et celle de Joseph Swan ont apporté des contributions
essentielles au développement industriel de l'ampoule à
incandescence.
Ampoule
électrique de Thomas Edison (1879).
Le Brevet
Laboratoire d'Edison, équipé des premières ampoules
électriques.
Lewis Howard Latimer, ingénieur de l'Edison Company,
remédie au problème majeur de l'ampoule à filament
de bambou, qui grille au bout de 30 heures. En 1881, il dépose
avec son ami Joseph V. Nichols un brevet portant sur la première
ampoule à incandescence avec filament de carbone puis obtient,
seul, en 1882, un brevet pour son procédé de fabrication
et de montage de filaments de carbone. Il est le seul Noir dans léquipe
de recherche scientifique dEdison, et la présence d'un Afro-Américain
à un poste d'ingénieur est une nouveauté qu'il faut
souligner. Latimer est chargé de l'installation du système
de la lumière électrique publique à Philadelphie,
ainsi quà Montréal au Québec.
Puis il est envoyé à Londres, où il crée et
dirige un département de lampes à incandescence pour la
Maxim-Weston Electric
Light Company. William Hammer, un des ingénieurs de Thomas
Edison, découvre à partir de cette invention l'effet Edison
: émission d'électrons par un filament chaud qui conduit
à l'invention des lampes de radio qui sont à la base de
l'électronique moderne et de la radiophonie, bien qu'Edison ne
croie pas en l'avenir de la radiodiffusion.
En 1880, Edison illumine le 1er janvier toute la rue, la bibliothèque
et le laboratoire de Menlo Park avec une dynamo et 40 ampoules électriques
basse tension. Il fonde en octobre avec l'aide de grands financiers, sa
propre fabrique d'ampoules de l'Edison Electric Light Company. De mai
à juin, il dépose une série de 33 brevets de «
distribution complète d'éclairage électrique domestique
», de générateurs électriques, conducteurs
électriques, moteurs électriques, fusibles, etc. Il améliore
les brevets de ses prédécesseurs tels que Joseph Swan, Henry
Woodward, James Bowman Lindsay et William Sawyer.
En 1881, l'exposition internationale d'Électricité de Paris
porte Thomas Edison au rang de « symbole international de la modernité
et du progrès social scientifique ».
Plaque suspendue
à l'entrée des maisons à louer ou des hôtels
pour indiquer la présence d'un éclairage électrique
Menlo Park Il développe et commercialise
pour 40 000 dollars son télégraphe multiplexé automatique
breveté, le Edison Universal Stock Printer, pouvant transmettre
et imprimer simultanément plusieurs cours de valeurs boursières.
En 1874 avec les 40 000 dollars ainsi récoltés, il fonde
son « empire industriel » de « Menlo Park », doté
de laboratoires de recherche à Newark dans le New Jersey, près
de New York. En janvier 1880, selon divers journaux dont le New York Herald,
il aurait déclaré : « Je vais rendre l'électricité
si bon marché que seuls les riches pourront se payer le luxe d'utiliser
des bougies ».
Laboratoire à West Orange dans le New Jersey
1879 Si Edison perd en grande partie le contrôle de son entreprise,
la création de cette société anonyme lui permet de
disposer de capitaux.
Ceux-ci ont jusqu'ici fait cruellement défaut à celui qui
est désormais une célébrité mondiale. Deux
années plus tard, l'industriel américain reçoit un
accueil triomphal à l'Exposition universelle à Paris. Avec
ses collaborateurs, il modernise son phonographe, qui se trouve muni d'un
moteur électrique et emploie la cire pour ses enregistrements.
Parmi les possibles développements de l'invention, citons la poupée
parlante! Celle-ci fait l'objet de multiples démonstrations publiques,
en Europe notamment, devant la Reine Victoria, le Kaiser Guillaume
Au tournant du siècle cependant, le disque remplace progressivement
le cylindre pour l'enregistrement de la musique. Et une fois encore, l'inventeur
est dépassé par ses concurrents qui apportent à son
innovation l'amélioration nécessaire, alors que ce dernier
se contente de croire en l'efficience de son uvre originelle.
En 1887, Edison s'installe à West Orange dans le New Jersey,
près de New York.
En août 1889, il visite l'exposition universelle de Paris, où
il expose son phonographe dans la galerie des machines.
Il rencontre aussi Gustave Eiffel, qui lui fait visiter la tour Eiffel
et à qui il offre un phonographe Class M. Il assiste à la
séance du 19 août de l'Académie des sciences, puis
le 10 septembre 1889, il envoie la dédicace suivante à Gustave
Eiffel « À M. Eiffel, le courageux constructeur de ce
gigantesque et original spécimen dingénierie moderne,
de la part de celui qui a le plus grand respect pour tous les Ingénieurs,
y compris le Grand Ingénieur, le Bon Dieu »
Centrale et chaise électrique
Le 4 septembre 1882, l'Edison Electric Light
Company fonde la première centrale électrique à
charbon du monde, la Pearl Street Station, à base de 6 dynamos
Jumbo, pour produire du courant continu dans le quartier de Wall Street
à Manhattan, d'une capacité de 1 200 lampes pour éclairer
85 maisons, bureaux ou boutiques. Moins d'un an plus tard, d'autres centrales
toujours plus puissantes éclairent plus de 430 immeubles new-yorkais
avec plus de 10 000 ampoules. C'est ensuite le tour de Londres.
En 1884, Edison, fervent partisan du courant continu,
se sépare de son employé Nikola Tesla, un des pionniers
du courant alternatif qui peut être acheminé sur de plus
longues distances que le courant continu, grâce à l'utilisation
de transformateurs électriques.
Les deux hommes ne peuvent s'entendre. Edison use de ses relations afin
de discréditer Tesla aux yeux de l'opinion publique, ce dernier
se mettant alors au service de George Westinghouse qui persuade les industriels
de s'équiper en courant alternatif. Edison tente une campagne de
lobbying en faisant des démonstrations publiques d'électrocution
de différents animaux, pour prouver le danger du courant alternatif.
Ces démonstrations conduisent à l'invention de la chaise
électrique et à l'adoption progressive de l'électrocution
comme moyen d'exécuter les condamnés à mort. Edison
embauche à cet effet Harold P. Brown qui achète un générateur
alternatif pour électrocuter William Kemmler.
Malgré les recours juridiques de George Westinghouse, l'exécution
a bien lieu mais Edison ne parvient cependant pas à imposer le
mot « westinghousé » au lieu d'« électrocuté
» dans le langage public.
Le nécrophone
Thomas Edison croyait que les esprits devaient tous avoir des attributs
matériels et qu'on pouvait capter leur présence avec des
instruments ultrasensibles. Il construisit et testa son appareil avec
des spirites au début des années 1920. L'appareil fut nommé
« nécrophone » ou appareil nécrophonique.
Cet appareil était censé permettre de communiquer avec les
morts, en enregistrant leur voix et leurs sons. Ce projet d'appareil n'est
pas toutefois directement nommé par Edison sous cette appellation,
mais par le philosophe français Philippe Baudoin, réalisateur
de l'émission quotidienne La Grande Table sur France Culture.
Origine du projet : En 1878, Thomas Edison rencontre Henry Olcott
et Helena Blavatsky, fondateurs, à New York, en 1875, de la Société
théosophique, une association internationale prônant la renaissance
du « principe théosophique ancien » selon lequel toutes
les religions et philosophies possèdent un aspect d'une vérité
plus universelle et dont un des buts est d'« étudier les
lois inexpliquées de la nature et les pouvoirs latents dans l'homme
» tout en prônant que « l'âme de l'homme est immortelle
».
Edison adhère aux idées théosophiques
en avril 1878 en raison de son intérêt personnel pour les
forces occultes et son désir de les détecter
Principes de fonctionnement
Dans un article paru en 1920 dans The American
Magazine, Thomas Edison se déclare convaincu que les scientifiques
sont plus aptes et capables pour parvenir à communiquer avec le
monde des esprits. Il déclare notamment dans ce journal :
« Il existe deux ou trois types d'appareils
qui devraient rendre la communication plus simple. Je suis actuellement
engagé dans la construction de l'un de ces appareils. » Il
reste cependant très évasif sur la nature exacte de son
appareil.
Toutefois, l'inventeur américain se base
sur une conception personnelle du fonctionnement du cerveau humain. Selon
lui, le corps des êtres vivants serait constitué d'une myriade
d'unités de vies minuscules (la théorie cellulaire a été
formulée pour la première fois en 1839 par le botaniste
allemand Matthias Jakob Schleiden et l'histologiste allemand Theodor Schwann)
et que certaines évolueraient dans certaines zones du cerveau afin
de constituer l'âme de l'individu. Toujours selon Edison, celle-ci
resterait intacte au moment du décès de la personne. Afin
d'entrer en contact avec cette zone supposée être le siège
de l'âme, l'inventeur américain préconise d'inventer
un microscope spécifique. Cette zone qu'il estime se situer vers
l'aire de Broca serait donc, elle aussi, composée de ces minuscules
entités avec lesquelles on pourrait entrer en contact selon un
système évoquant le phonographe, mais Edison ne va pas plus
loin dans l'idée et l'invention reste inachevée .
Thomas Edison en évoque le principe dans
le dernier chapitre dénommé « Le Royaume de l'Au-delà
», de son livre de mémoires, lui-même dénommé
Mémoires et Observations, paru pour la première fois en
1948. Une sorte de pacte est d'ailleurs intervenu entre Edison et son
assistant, William Walter Dinwiddie, selon lequel le premier des deux
qui viendrait à décéder s'engage à tenter
d'envoyer un message au survivant.
sommaire
La fin du siècle voit d'ailleurs le génial
Edison échoué dans une autre des grandes entreprises qui
lui tient à cur, la réalisation d'images parlantes
et animées. En 1891 en effet, il fait breveter son kinétoscope,
une grande boite en bois équipée de huit bobines de films
et munie d'un viseur permettant au spectateur de voir les images. Deux
années plus tard, un studio d'enregistrement, la Black Maria, une
fois encore le premier du genre, est installé dans la cour de son
laboratoire de West Orange. Peu après, ont lieu les premières
projections publiques. Le 14 avril 1894, à New York, une galerie
entière de kinétoscope est ainsi ouverte aux curieux émerveillés.
En France cependant, les frères Lumière invente le cinématographe.
Studios de cinéma
En 1893, Edison fait construire par William K.L. Dickson le premier
studio de cinéma, la « Black Maria », et fait enregistrer
en quelques années plusieurs dizaines de films grâce au kinétographe.
Il équipe les « Kinetoscope Parlors » (les premières
salles de cinéma, à visionnement individuel, après
le sous-sol du musée Grévin qui accueille dès 1892
les pantomimes lumineuses dessinées sur pellicule mais projetées
sur grand écran par Émile Reynaud).
Si Edison a pris soin de protéger le kinétographe par de
nombreux brevets internationaux, paradoxalement son kinétoscope
est protégé sur le seul territoire des États-Unis.
Il est aussitôt l'objet de nombreuses contrefaçons dans le
monde entier. « À ce moment-là, il était bien
entendu déjà trop tard pour protéger mes intérêts.
», écrit Edison dans ses mémoires.
Dickson entre en conflit avec son employeur. Il estime que les kinétoscopes,
dont il est pourtant le principal inventeur, ne sont qu'une première
étape vers ce qu'il pense être l'aboutissement des recherches
: un appareil permettant la projection sur un écran, ce qui ne
pose aucun problème technique insurmontable à partir du
moment où le principal, l'avancée intermittente de la pellicule,
a été obtenu dès la conception du kinétographe.
Mais Edison s'oppose fermement à cette idée.
Ce qu'il a toujours voulu, c'est coupler le son et l'image, il ne croit
pas à l'exploitation des films devant un public assemblé.
Cela se résumerait, selon lui, à « tuer la poule aux
ufs d'or », l'exploitation des films avec le kinétoscope
est alors florissante.
La brouille entre les deux hommes est inévitable, Dickson organise
son départ et entre secrètement au service de Woodville
Latham dont le rêve est justement d'arriver à projeter les
films Edison sur grand écran.
Latham se présente d'abord à Edison comme un simple client
désireux d'acheter les productions filmées de l'Edison Manufacturing
Company.En 1894, une démonstration commerciale du kinétoscope
est organisée à Paris, à laquelle assiste Antoine
Lumière, le peintre dont les fils, Auguste et Louis, seront
célébrés par la postérité sous le nom
des frères Lumière et selon certains auteurs crédités
seuls de l'invention du cinéma.
La recherche aboutit en 1895 à la conception du cinématographe
Lumière, une machine plus aboutie que le couple kinétographe/kinétoscope
et que le Théâtre optique d'Émile Reynaud, ce qui
lui assure un succès mondial éclipsant les procédés
de ses prédécesseurs partout dans le monde.
Edison est alors bien forcé de reconnaître son erreur et,
pour rattraper le temps perdu, se contente d'acheter à un autre
inventeur le brevet d'un appareil de projection qu'il présente
en 1896 au public américain comme « la dernière merveille
», le Vitascope.
Bien que d'autres dispositifs aient vu le jour dans cette même période,
comme la boucle de Latham et le bioscope, c'est en définitive le
cinématographe qui allait assurer le succès des projections
de vues photographiques animées. En 1896, Georges Méliès,
entre autres cinéastes, reprend le dessin des perforations rectangulaires
du film 35 mm mises au point par Edison et Dickson, et qui, elles, font
l'objet de brevets internationaux.
En 1902, lorsque Méliès investit aux États-Unis
en faisant ouvrir un bureau par son frère, Thomas Edison fait saisir
par la justice américaine la moitié des copies du film Le
Voyage dans la Lune, adapté du célèbre roman de Jules
Verne, De la Terre à la Lune.
Edison pensait se rembourser ainsi le « manque à gagner par
contrefaçon » du kinétoscope et des perforations Edison,
sur le seul Georges Méliès, dont la tentative d'implantation
aux États-Unis échoua.
Pourtant ce n'est pas ce qui explique sa faillite 21 ans plus tard, en
1923, date à laquelle sa société, la Star Film, dépose
son bilan.
Pour certains auteurs, Thomas Edison est accusé d'être à
l'origine de la déconfiture de Georges Méliès, mais
en vérité, cette accusation ne repose sur aucune source.
En effet, Méliès et Edison avaient conclu un accord qui
mit fin à leur querelle.
Cette publicité
papier provient d'un magazine du 1er août 1949. Phone Ediphone est
en vedette dans cette annonce Edison.
"Vous prenez du bon temps assis derrière votre bureau, détendu,
parlant de vos idées dans un instrument qui a libéré
votre secrétaire pour dautres tâches".
sommaire
Années 1890, la société d'Edison
fusionne avec la Thomson-Houston Company, qui
donne naissance à un géant industriel, la General
Electric Company.
L'inventeur, qui espère toujours s'enrichir, se lance lui dans
l'exploitation d'une carrière de minerai de fer, au Nord du New
Jersey. A proximité, est construite une usine de traitement et
de fabrication de briquettes. L'affaire tourne court, car on découvre
peu après les gisements de la montagne Mesabi au Minnesota. Par
chance, en 1898, Edison met à jour une autre carrière, de
roches à ciment cette fois-ci. Dix années plus tard, après
avoir construit en 1902 une usine à ciment, il dépose un
brevet de construction de maisons en béton, projetant même
de fabriquer en série habitations et meubles!
L'inventeur, qui a cédé à l'Italien Marconi un de
ses brevets concernant les ondes hertziennes, apprend en 1899 que celles-ci
viennent de franchir la Manche. La radio naîtra avec le nouveau
siècle. Edison s'intéresse à présent à
la mise au point d'une automobile électrique, convaincu que la
vapeur à fait son temps.
S'il rencontre Henri Ford, qui devient son ami, ce dernier à d'autres
convictions quant au mode de traction du futur véhicule. Qu'importe.
En 1904, Edison met sur le marché américain ses batteries
accumulatrices, qui permettent d'atteindre les 40 Km/h avec une autonomie
de 160 Km de distance. Mais, là encore, le moteur à explosion
l'emportera rapidement.
Avec l'entrée en guerre des grandes nations commerçantes
et industrielles en Europe, Thomas Edison doit faire face à de
nouvelles difficultés Ses principaux circuits d'approvisionnements
en matières premières sont coupés. Ainsi manque t-il
du phénol nécessaire à la fabrication des disques
à phonogramme. A l'âge de soixante-sept ans, l'inventeur
déplore également l'incendie de son laboratoire de West
Orange, le 14 décembre 1914.
Une fois encore, il se relèvera. A l'appel de Josephus Daniels,
secrétaire du Département de la Marine, Edison est nommé
président du Comité consultatif de la Marine. Après
la déclaration de guerre des Etats-Unis aux Empires centraux, en
1917, il consacre entièrement son temps et pendant deux années
entières à ses recherches en matière d'armement.
Ses premiers travaux portent ainsi sur l'acoustique et la détection
des sous-marins, l'arme anti-blocus employée par les Allemands,
de ses torpilles.
Le 24 janvier 1918, ses anciens collaborateurs fondent
une Amicale des Pionniers d'Edison, qui se destine à propager et
à entretenir la légende. Deux années plus tard, celui-ci
reçoit la médaille d'or du Congrès, suprême
récompense pour un Américain.
Enfin, en 1929, son ami Henri Ford organise les célébrations
du Jubilé d'or de la Lumière à Dearborn, dans le
Michigan. A cette occasion, le laboratoire de Menlo Park est reconstitué,
qui servira désormais de musée du plus célèbre
des inventeurs. Il est inauguré le 21 octobre en présence
du président Hoover.
Au cours de l'été 1931, l'état de
santé de Thomas Edison se dégrade. Atteint de diabète
et d'urémie, il décède le 18 octobre, à West
Orange dans le New Jersey, à l'âge de quatre-vingt quatre
ans. Trois jours plus tard, l'Amérique rend hommage à l'un
de ses grands pionniers. L'ensemble du pays est plongé une minute
dans l'obscurité, clin d'il à celui qui demeure l'inventeur
de la lumière électrique.
Il aura à cur d'industrialiser ses inventions
au sein de ses propres compagnies. Celles-ci seront regroupées
dès 1892 en une seule du nom de General Electric qui est encore
aujourd'hui l'une des plus grandes entreprises du monde.
sommaire
En savoir un peu plus sur Edison
L'histoire du développement de l'émetteur téléphonique,
du phonographe, de la lampe à incandescence, de la dynamo, des
systèmes de distribution électrique des centrales, du chemin
de fer électrique, du broyage du minerai, du ciment, du cinéma
et d'une foule d'inventions mineures est consignée dans les carnets
de laboratoire de Edison.
Un coup d'il rapide à quelques pages de ces documents permettra
d'illustrer, quoique de manière limitée, la rigueur de la
méthode d'Edison. Il est à noter que ces références
peuvent être très sommaires et doivent être considérées
comme un simple éclairage sur le sujet lui-même. Par exemple,
le problème complexe d'un émetteur téléphonique
pratique a donné lieu à une série d'expériences
des plus exhaustives. Edison a suggéré des combinaisons
d'une variété presque infinie, incluant des gommes, des
composés chimiques, des huiles, des minéraux et des métaux
; et ses assistants ont reçu de longues listes de matériaux
à tester en se référant à des normes prédéterminées
d'articulation, de niveaux de puissance et de perfection des sifflements.
Les carnets contiennent des centaines de pages montrant que des milliers
d'expériences ont été tentées et validées.
Des remarques telles que « NG » ; « Assez bien »
; « Sifflement correct, mais absence d'articulation » ; «
Cliquetis » ; « Articulation, chuchotement et sifflement corrects
» ; « Meilleur ce soir jusqu'à présent »
; et d'autres sont notées en regard des différentes combinaisons
au fur et à mesure des essais. On peut ainsi suivre l'enquête
à travers un labyrinthe d'expériences qui ont conduit à
l'invention réussie de l'émetteur à bouton-poussoir
en carbone, l'appareil essentiel pour donner au téléphone
l'articulation et la perfection nécessaires.
Parmi les nombreuses rubriques de l'oeuvre d'Edison, parcourons les premiers
paragraphes :
1- L'ère de l'électricité
2 - L'ascendance d'Edison
3 - Enfance à Port Huron, Michigan
4 - Le jeune opérateur télégraphique
5 - Des années difficiles dans le Centre-Ouest
6 - À propos de cet appareil, M. Edison remarque
7 - Travail et invention à Boston
8 - Le symbole boursier
9 - Télégraphie automatique, duplex et quadruplex
10 - Le téléphone, le motographe et le microphone
Les autres paragraphes de son oeuvre ne sont pas détaillés
sur ce site dédié au téléphone :
Le phonographe
L'invention de la lampe à incandescence
Souvenirs de Menlo Park
Une chasse mondiale aux matériaux filamentaires
Inventer un système d'éclairage complet
Introduction de la lampe électrique Edison
La première gare centrale d'Edison
Autres stations anciennes le mètre
Le chemin de fer électrique
Travaux de broyage magnétique du minerai
Ciment Portland Edison
Films cinématographiques
Le développement de la batterie de stockage Edison
Inventions diverses
La méthode d'Edison pour inventer
Le Laboratoire d'Orange et le Personnel
Edison dans le commerce et la fabrication
1- L'ère de l'électricité
L'année 1847 marqua une période d'acquisitions
territoriales considérables pour le peuple américain, avec
des gains incalculables à sa richesse actuelle et potentielle.
Grâce à un compromis rationnel avec l'Angleterre dans le
conflit concernant la région de l'Oregon, le président Polk
avait obtenu en 1846, pour une colonisation paisible, trois cent mille
kilomètres carrés de forêts, de terres fertiles et
de pêcheries, y compris toute la belle vallée du Columbia.
Notre « politique active du Pacifique » datait de cette époque.
La mélodramatique guerre du Mexique succéda rapidement et
avec force, et février 1848 vit un autre vaste territoire au sud
de l'Oregon et à l'ouest des Rocheuses être rattaché
par traité aux États-Unis. Ainsi, en environ dix-huit mois,
une région aussi vaste que l'Union des Treize États à
la fin de la guerre d'Indépendance fut intégrée au
domaine national, en vue d'un développement et d'une exploitation
rapides. De plus, à l'intérieur de ses frontières
se trouvait tout le grand champ aurifère américain, juste
à la veille de la découverte, car Marshall avait détecté
les particules brillantes dans le canal du moulin au pied de la Sierra
Nevada neuf jours avant que le Mexique ne cède ses droits en Californie
et dans tout l'arrière-pays vague et reculé faisant face
à Cathayward.
Tout aussi capitale fut l'époque en Europe, où
la tentative d'assurer des opportunités d'expansion et une plus
grande liberté individuelle prit une forme bien différente.
L'ancien système de gouvernement absolutiste s'effondrait rapidement,
et les trônes antiques chancelaient. La lave rouge des profonds
incendies révolutionnaires suintait par de nombreuses fissures
incandescentes dans la croûte politique, et toutes les couches sociales
furent ébranlées. Que les violentes insurrections du milieu
de la cinquième décennie aient échoué et se
soient éteintes n'était pas surprenant, car les dépôts
dominants de traditions et de conventions étaient épais.
Mais le recul montre que de nombreuses réformes et changements
politiques furent accomplis, même si ce processus impliqua l'exil
de nombreux esprits ardents en Amérique, où ils devinrent
des hommes d'État, des inventeurs, des journalistes et des financiers
de premier plan. En 1847 également, la Russie entamait sa formidable
marche vers l'est, en Asie centrale, au moment même où la
France consolidait ses premières conquêtes sur le littoral
de l'Afrique du Nord. En Angleterre, la ferveur féroce du mouvement
chartiste, avec sa rhétorique violente sur les droits de l'homme,
s'est atténuée et s'est généralisée
dans de nombreux projets pratiques d'amélioration sociale et politique,
constituant dans leur ensemble un changement très profond dans
tous les domaines de la vie nationale.
C'est à cette époque que naquit Thomas Alva
Edison, et ses liens avec cette époque et avec les événements
des soixante dernières années constituent le sujet de ce
récit. Outre l'intérêt personnel que suscite cette
carrière pittoresque, si typiquement américaine, l'uvre
du « Franklin du XIXe siècle » touche, sous un angle
plus large, au bien-être et au progrès de l'humanité.
Il est toujours difficile de déterminer l'impact d'une invention
isolée, et l'enquête devient d'autant plus complexe lorsque
des inventions de premier ordre se sont succédées à
une vitesse fulgurante. Mais il est évident qu'avec Edison, on
a affaire à une figure centrale de cette grande époque qui
vit l'invention et la mise en pratique du télégraphe, du
câble sous-marin, du téléphone, de l'éclairage
électrique, du chemin de fer électrique, du tramway électrique,
de la batterie d'accumulateurs, du moteur électrique, du phonographe
et de la télégraphie sans fil ; et que l'influence de ces
derniers sur les affaires mondiales n'a jamais été surpassée
par celle d'autres avancées similaires dans les arts et les sciences.
Ces pages traitent de la part d'Edison dans le grand travail du dernier
demi-siècle pour réduire les distances, communiquer l'intelligence,
diminuer le travail, améliorer l'éclairage, enregistrer
pour toujours la voix humaine ; et au nom du génie inventif, on
peut faire valoir que ses résultats bienfaisants et ses dons à
l'humanité se comparent à tout ce qui peut être attribué
à un homme d'État, un guerrier ou un écrivain créatif
de la même période.
Du point de vue du progrès inventif, la première
moitié du XIXe siècle s'était déroulée
de manière très profitable lorsque Edison fit son apparition
chaque année étant marquée par une réalisation
notable dans les arts et les sciences, promettant un succès rapide
et abondant dans le commerce et l'industrie. Il y avait exactement quatre
décennies de navigation à vapeur sur les eaux américaines.
Le réseau ferroviaire progressait à un rythme annuel de
près de 1 600 kilomètres. Le gaz était devenu un
moyen d'éclairage courant dans les grandes villes. Les métiers
à tisser, les outils et les presses à imprimer étaient
partout libérés du lent travail manuel. Les premières
photographies avaient été prises. Le chloroforme, le protoxyde
d'azote et l'éther avaient été mis au service du
médecin pour sauver des vies, et le revolver, le fulmicoton et
la nitroglycérine avaient été ajoutés aux
moyens de tuer. De nouveaux métaux, produits chimiques et éléments
étaient devenus disponibles en grande quantité, les gaz
avaient été liquéfiés et solidifiés,
et la gamme de chaleur et de froid utiles s'était indéfiniment
étendue. La lampe de sûreté avait été
donnée au mineur, le caisson au constructeur de ponts, le métal
antifriction au mécanicien pour les roulements. On savait déjà
vulcaniser le caoutchouc et galvaniser le fer. L'application des machines
aux champs de récolte avait commencé avec l'embryon de la
moissonneuse, tandis que la bicyclette et l'automobile étaient
annoncées par des prototypes primitifs. L'expansion gigantesque
de l'industrie sidérurgique était préfigurée
par le passage du bois au charbon dans les fourneaux. La machine à
coudre avait apporté avec elle, comme l'allumette à friction,
l'une des influences les plus profondes qui avaient modifié la
vie domestique et l'avaient rendue différente de celle de toutes
les époques précédentes.
Même en 1847, peu de ces choses avaient perdu leur
originalité ; la plupart nen étaient quà
leurs débuts. Mais cest lorsquon se penche sur lélectricité
que lon perçoit la richesse et létat vierge
dun nouveau royaume de découvertes infinies. Le mot «
utilisation » ou « application » est peut-être
plus approprié que celui de découverte, car alors, comme
aujourdhui, une richesse infinie de phénomènes observés
par des expérimentateurs de Gilbert à Franklin et Faraday
attendaient linvention qui seule pouvait les rendre utiles à
lhumanité. Le XVIIIe siècle, vivement curieux et incessamment
actif dans ce domaine de recherche fascinant, navait, après
tout, pas laissé beaucoup dhéritage, ni en termes
de principes ni dappareils. Laimant et la boussole ; la machine
à friction ; la bouteille de Leyde ; la nature des conducteurs
et des isolants ; lidentité de lélectricité
et de léclair dorage ; lutilisation des paratonnerres
; les effets physiologiques dun choc électrique tels
étaient lessentiel de lhéritage dont les philosophes
étaient les seuls héritiers. Nombre des observations enregistrées
étaient porteuses de possibilités. Mais ces quelques appareils
constituaient le maigre ensemble d'outils avec lequel le XIXe siècle
s'est attelé à la tâche d'acquérir les arts
et les commodités qui font désormais partie intégrante
de « l'alimentation quotidienne de la nature humaine » et
qui font que l'Américain moyen paie aujourd'hui plus cher son service
électrique que son pain.
Avec la première année du nouveau siècle,
Volta inventa la pile chimique pour produire de l'électricité.
Un célèbre tableau italien le représente exhibant
son appareil devant le jeune conquérant Napoléon, puis ravissant
à la péninsule ses trésors d'art antique et fondant
un empire éphémère. À un tel moment, ce don
de l'Italie spoliée au monde était une noble revanche, déclenchant
d'innombrables forces et mécanismes bienfaisants. Pour la première
fois, l'homme disposait d'une source d'électricité stable
et sans effort. Les résultats utiles obtenus auparavant grâce
au courant d'une machine à friction n'étaient guère
supérieurs à ceux obtenus grâce au vol d'une fusée.
Si l'appareil à friction est encore utilisé en médecine,
il est, au même titre que la hache de silex et le briquet à
amadou, en termes d'obsolescence industrielle. Aucun art ni métier
ne pouvait s'appuyer sur lui ; aucune diminution du travail quotidien
ni augmentation du confort quotidien ne pouvaient être assurés
par lui. Mais la petite batterie, avec ses plaques métalliques
en solution faible, s'est révélée un réservoir
permanent d'énergie électrique, sûr et contrôlable,
dont on pouvait tirer des réserves à volonté. Ce
qui était sauvage était devenu domestiqué ; les récoltes
régulières remplaçaient les récoltes aléatoires
dans les fourrés ou les prairies ; le risque de panne d'électricité
était à jamais écarté.
Immédiatement, de nouveaux procédés
d'une valeur inestimable apparurent ; de nouvelles méthodes furent
suggérées. Presque tous les arts électriques actuellement
utilisés virent le jour au cours des vingt-cinq années suivantes,
et si les plus répandus dépendent aujourd'hui de la dynamo
pour leur énergie électrique, certains des plus importants
restent fidèles à la source la plus ancienne. La batterie
elle-même subit bientôt des modifications, et de nouveaux
types apparurent : la batterie à accumulation, la batterie à
double fluide et la batterie sèche. Diverses analogies indiquèrent
ensuite l'utilisation de la chaleur, et la cellule thermoélectrique
apparut, incarnant l'application d'une flamme à la jonction de
deux métaux différents. Davy, auteur de la lampe de sécurité,
projeta un courant électrique à travers l'espace entre deux
bâtons de charbon, et l'arc voltaïque, ancêtre de l'éclairage
électrique, projeta ses rayons lumineux sur un monde ébloui.
La décomposition de l'eau par action électrolytique fut
reconnue et devint la base de la communication à distance, avant
même l'époque de l'électro-aimant. Les liens qui unissent
l'électricité et le magnétisme, par leur relation
et leur interaction, furent découverts, et les travaux de Faraday
sur l'induction donnèrent au monde à la fois la dynamo et
le moteur. « Attelez votre chariot à une étoile »,
disait Emerson. Faraday avait directement relié les roues de l'industrie
à tous les gisements de charbon et à toutes les chutes d'eau.
Non seulement il était désormais possible de convertir l'énergie
mécanique en électricité à moindre coût
et en quantités illimitées, mais l'électricité
démontra aussitôt son omniprésence comme force motrice.
Elle propulsa les bateaux, tracta les voitures et même imprima des
journaux. La galvanoplastie devint un art, et la télégraphie
prit son essor des deux côtés de l'Atlantique.
À la naissance d'Edison, en 1847, la télégraphie,
sur laquelle il allait laisser une empreinte si indélébile,
avait à peine commencé à être acceptée
par le public. En Angleterre, Wheatstone et Cooke avaient introduit un
imposant télégraphe à aiguille magnétique.
En Amérique, en 1840, Morse avait déposé son premier
brevet pour un télégraphe électromagnétique,
dont le principe domine encore aujourd'hui l'art. Quatre ans plus tard,
le message mémorable « Qu'a fait Dieu ! » fut envoyé
par la jeune Miss Ellsworth sur ses circuits, et Washington, incrédule,
fut informé par télégramme de la décision
de la Convention démocrate de Baltimore de nommer Polk. En 1847,
des circuits étaient déjà tendus entre Washington
et New York, grâce à une entreprise privée, le gouvernement
ayant refusé d'acheter le système Morse pour 100 000 dollars.
Tout était rudimentaire et primitif. Les poteaux étaient
distants de soixante mètres et pouvaient à peine supporter
un fil à linge. Le fil de cuivre fin et nu cassait à la
moindre provocation, et le circuit était hors service pendant trente-six
jours au cours des six premiers mois. Les petits isolateurs en verre constituaient
des cibles séduisantes pour les sportifs ignorants. Les tentatives
pour isoler le fil de la ligne se limitaient à l'enduire de goudron
ou de cire pour le plus grand bien des abeilles du quartier. En 1847,
la ligne télégraphique la plus à l'ouest se trouvait
à Pittsburg, avec un fil de fer à trois brins monté
sur des isolateurs carrés en verre, protégés par
un petit toit en bois. Dans ce bureau, où Andrew Carnegie était
messager, les aimants utilisés pour recevoir les signaux envoyés
à l'aide de puissantes piles à acide nitrique pesaient jusqu'à
soixante-quinze livres chacun. Heureusement, l'entreprise était
modeste au départ, jusqu'à ce que le nouvel appareil, principalement
utilisé par les joueurs de loterie, ait prouvé son utilité.
Puis vint le grand essor. En l'espace d'une vingtaine d'années,
les fils télégraphiques couvraient tout le pays occupé
d'un réseau, et la première grande industrie électrique
connut un succès retentissant, offrant à ses pionniers les
premières grandes fortunes de l'électricité. Ce fut
une lutte acharnée pour survivre, au cours de laquelle un homme
comme le fondateur de l'Université Cornell se réjouissait
de prendre son petit-déjeuner à New York avec un quart de
dollar ramassé sur Broadway.
2 - L'ascendance d'Edison
THOMAS ALVA EDISON est né à Milan, dans
l'Ohio, le 11 février 1847. Cet État, qui rivalise avec
la Virginie comme « mère des présidents », possède
manifestement d'autres titres de distinction du même genre. Pour
des détails pittoresques, il serait difficile de trouver une histoire
plus remarquable que celle de la famille Edison avant son arrivée
dans la Western Reserve. Cette histoire incarne l'idéalisme américain,
l'agitation, la liberté d'opinion et l'adaptation facile aux conditions
de vie des pionniers. Les ancêtres Edison, arrivés de Hollande
en 1730, étaient, autant que l'on puisse en juger, les descendants
de grands meuniers du Zuyder Zee et obtinrent des lettres patentes de
propriété le long de la rivière Passaic, dans le
New Jersey, près de la maison que M. Edison fonda dans les Orange
Mountains cent soixante ans plus tard. Ils débarquèrent
à Elizabethport, dans le New Jersey, et s'établirent d'abord
près de Caldwell, dans cet État, où l'on peut encore
trouver des tombes de la famille. Le président Cleveland naquit
dans ce paisible hameau. Il est curieux que, dans la famille Edison, le
nom ait toujours été prononcé avec le son «
e » long, comme c'est naturellement le cas en néerlandais.
La famille prospérait et devait jouir de la confiance du public,
car on retrouve le nom de Thomas Edison, fonctionnaire de banque sur l'île
de Manhattan, signant une monnaie continentale en 1778. D'après
les archives familiales, cet Edison, arrière-grand-père
de Thomas Alva, atteignit l'âge avancé de 104 ans. Mais tout
n'allait pas pour le mieux et, comme cela s'est souvent produit auparavant,
les opinions politiques du père et du fils étaient radicalement
différentes. Le mouvement loyaliste qui a amené tant d'Américains
en Nouvelle-Écosse après la guerre d'Indépendance
entraîna avec lui John, le fils de ce fervent Continental. C'est
ainsi que Samuel Edison, fils de John, naquit à Digby, en Nouvelle-Écosse,
en 1804. Sept ans plus tard, John Edison, qui, en tant qu'émigré
loyaliste ou de l'Empire-Uni, avait droit, en vertu des lois canadiennes,
à une concession de six cents acres de terre, se dirigea vers l'ouest
pour prendre possession de cette propriété. Il traversa
l'État de New York dans des chariots tirés par des bufs
jusqu'au canton isolé et primitif de Bayfield, dans le Haut-Canada,
sur le lac Huron. Bien que le voyage eût lieu par un doux mois de
juin, il fut inévitablement semé d'embûches et de
privations ; mais la nouvelle demeure était située dans
une région agricole fertile, et cette intéressante famille
nomade s'y sédenta de nouveau.
John Edison a quitté Bayfield pour s'installer
à Vienne, en Ontario, sur la rive nord du lac Érié.
M. Edison nous offre un souvenir intéressant du vieil homme et
de son environnement à cette époque canadienne. À
l'âge de cinq ans, mon père et ma mère m'emmenèrent
à Vienne. Nous fûmes conduits en calèche de Milan,
dans l'Ohio, jusqu'à une gare, puis jusqu'à un port du lac
Érié. De là, nous fûmes conduits par une péniche,
remorquée par plusieurs passagers, jusqu'à Port Burwell,
au Canada, de l'autre côté du lac. De là, nous fûmes
conduits jusqu'à Vienne, non loin de là. Je me souviens
parfaitement de mon grand-père tel qu'il était à
sa mort, à 102 ans. En plein jour, il était assis sous un
grand arbre devant la maison, face à une route très fréquentée.
Sa tête était entièrement recouverte d'une épaisse
chevelure blanche, et il mâchait sans cesse du tabac, saluant ses
amis qui passaient. Il se servait d'une très grande canne et marchait
de sa chaise jusqu'à la maison, refusant toute aide. Je l'observais
de loin et ne pouvais jamais m'approcher de lui. Je me souviens de grandes
pipes, et surtout d'une cruche à mélasse, d'une malle et
de plusieurs autres objets venus de Hollande.
John Edison vécut longtemps, comme son père,
et atteignit l'âge avancé de 102 ans, laissant à son
fils Samuel le soin de prendre en charge les destinées de la famille,
sans pour autant être riche. On sait peu de choses sur la jeunesse
du père de T.A. Edison, jusqu'à ce qu'on le découvre
gérant d'un hôtel à Vienne, qu'il y épousa
une institutrice (Mlle Nancy Elliott, en 1828) et qu'il prenne une part
active à la vie politique troublée de l'époque. Il
mesurait 1,83 m, était d'une grande vigueur physique et possédait
une telle force de caractère qu'il devint capitaine des forces
insurgées se ralliant sous les bannières de Papineau et
de Mackenzie. Les premières années du règne de la
reine Victoria furent marquées par un effort tardif au Canada pour
mettre en avant le principe selon lequel il ne devrait pas y avoir d'impôt
sans représentation ; et ce descendant de ceux qui avaient quitté
les États-Unis par désapprobation d'une telle doctrine,
s'y associa avec ferveur.
On a dit du comte Durham, qui pacifia le Canada à
cette époque et établit le système de gouvernement
actuel, qu'il avait bâti un pays et ruiné une carrière.
Mais les mesures de répression immédiates, appliquées
avant l'adoption d'une politique libérale, furent brutales et sévères,
et Samuel Edison vit lui aussi sa carrière ruinée sur le
sol canadien, notamment sous l'administration Durham. L'exil aux Bermudes
avec d'autres insurgés était moins attrayant que les périls
d'une fuite vers les États-Unis. Un départ précipité
fut effectué en secret depuis le théâtre des troubles,
et des traditions romantiques relatent son palpitant voyage de deux cent
quatre-vingt-deux milles vers la sécurité, effectué
presque entièrement sans nourriture ni sommeil, à travers
une région sauvage infestée d'Indiens hostiles. C'est ainsi
que la famille Edison fut rapatriée par un épisode politique
pittoresque, et que le grand inventeur reçut un lieu de naissance
en terre américaine, tout comme Benjamin Franklin lorsque son père
quitta l'Angleterre pour Boston. Samuel Edison laissa cependant derrière
lui, au Canada, plusieurs frères, qui vécurent tous jusqu'à
l'âge de quatre-vingt-dix ans ou plus, et dont il reste des descendants
dans la région.
Après quelques pérégrinations désordonnées
d'un an ou deux le long des rives du lac Érié, parmi les
villes prospères qui naissaient alors, la famille, ayant perdu
sa maison canadienne et en quête d'un autre lieu de repos, arriva
à Milan, dans l'Ohio, en 1842. Ce joli petit village offrait alors
de nombreux attraits pour un Chicago potentiel. Le réseau ferroviaire
de l'Ohio était encore en construction, mais la Western Reserve
était déjà devenue un vaste champ de blé,
et d'énormes quantités de céréales en provenance
des comtés du centre et du nord cherchaient à être
expédiées vers les ports de l'Est. La rivière Huron,
se jetant dans le lac Érié, était navigable à
quelques kilomètres du village et offrait un débouché
admirable. De grands greniers furent établis et connurent un tel
succès que les capitaux locaux furent tentés de participer
au projet de construction d'un canal de halage reliant Lockwood Landing
jusqu'à Milan. La pittoresque vieille mission morave, ancienne
colonie indienne d'une centaine d'habitants, devint subitement l'un des
plus grands ports céréaliers du monde, rivalisant avec l'Odessa
russe. Plusieurs entrepôts à grains, ou silos rudimentaires,
furent construits le long du canal, et les produits de la région
affluèrent aussitôt, arrivant dans des chariots tirés
par quatre ou six chevaux, chargés de cent boisseaux. Pas moins
de six cents chariots arrivèrent bruyamment, et jusqu'à
vingt voiliers chargèrent trente-cinq mille boisseaux de céréales
en une seule journée. Le canal pouvait être navigué
par des embarcations de deux cents à deux cent cinquante tonnes,
et la demande pour ce type de navires conduisit rapidement au développement
d'une industrie navale florissante, pour laquelle les abondantes forêts
de la région fournissaient le bois nécessaire. Preuve de
cette activité, six cotres fiscaux furent lancés dans ce
port à cette époque faste de son apogée.
Samuel Edison, polyvalent, d'humeur enjouée et
toujours optimiste, semble donc avoir planté son tente avec un
jugement avisé. Il avait de nombreuses occupations à sa
disposition, et plus d'une entreprise retenait son attention ; mais il
consacrait principalement son énergie à la fabrication de
bardeaux, pour lesquels la demande était forte localement et le
long du lac. Le bois canadien était principalement utilisé
dans cette industrie. Le bois était importé en « billes
», ou pièces de un mètre de long. Une bille permettait
de fabriquer deux bardeaux ; elle était sciée à la
main, puis fendue et rabotée. On n'utilisait que du bois de première
qualité, et ces bardeaux survivaient largement à ceux fabriqués
à la machine grâce à leur coupe transversale. Une
maison à Milan, sur laquelle certains de ces bardeaux furent posés
en 1844, était encore en excellent état quarante-deux ans
plus tard. Samuel Edison réussissait bien dans ce métier
et employait plusieurs hommes, mais il trouvait occasionnellement d'autres
débouchés pour son activité commerciale et son esprit
spéculatif.
La mère d'Edison était une femme séduisante
et très instruite, dont l'influence sur son caractère et
son intelligence fut profonde et durable. Née dans le comté
de Chenango, dans l'État de New York, en 1810, elle était
la fille du révérend John Elliott, pasteur baptiste et descendant
d'un ancien soldat révolutionnaire, le capitaine Ebenezer Elliott,
d'origine écossaise. Le vieux capitaine était un homme raffiné
et pittoresque. Il combattit pendant toute la longue guerre d'Indépendance
sept ans puis semble s'être installé à
Stonington, dans le Connecticut. C'est là qu'il retrouva sa femme,
« grand-mère Elliott », Mercy Peckham, fille d'un quaker
écossais. Puis vint la résidence dans l'État de New
York, suivie d'un déménagement définitif à
Vienne, car le vieux soldat, tout en percevant sa pension à Buffalo,
vécut dans la petite ville canadienne et y mourut, à plus
de cent ans. La famille était manifestement d'une grande culture
et d'une profonde religiosité, car deux oncles et deux frères
de Mme Edison appartenaient également au même ministère
baptiste. Jeune femme, elle devint enseignante au lycée public
de Vienne et rencontra ainsi son mari, qui y résidait. La famille
ne compta jamais plus de trois enfants, deux garçons et une fille.
Le prénom du frère aîné d'Edison, William Pitt,
en hommage au grand homme d'État anglais, témoigne de son
milieu canadien. Son frère et sa sur faisaient tous deux
preuve d'un talent considérable. William Pitt Edison, dans sa jeunesse,
était si habile avec son crayon qu'on proposa de l'envoyer à
Paris pour y étudier les beaux-arts. Plus tard, il fut directeur
des lignes de tramway locales de Port Huron, dans le Michigan, un domaine
qui l'intéressait vivement. Il possédait également
une belle ferme près de cette ville et, pendant ses problèmes
de santé à la fin de sa vie, contraint de passer la plupart
de son temps à l'intérieur, il se consacra presque exclusivement
au dessin. Des observateurs intimes de Thomas A. Edison ont noté
que, lorsqu'il discute d'un projet ou d'une idée nouvelle, son
premier réflexe est de prendre n'importe quel morceau de papier
et d'en faire des dessins. Ses volumineux carnets sont une montagne de
croquis. Mme Tannie Edison Bailey, sa sur, avait, en revanche, un
grand talent littéraire et consacrait une grande partie de son
temps à l'écriture.
Le grand inventeur, dont l'endurance de fer et la volonté
austère lui avaient permis d'épuiser tous ses collègues
par un travail soutenu durant des journées pénibles et des
nuits blanches, n'était pas du tout robuste dans son enfance et
paraissait fragile. Il avait une tête anormalement grosse mais bien
formée, et on raconte que les médecins locaux craignaient
qu'il ne souffre de troubles cérébraux. En fait, en raison
de sa prétendue fragilité, il ne fut pas autorisé
à aller à l'école pendant quelques années,
et même lorsqu'il y alla un court moment, les résultats ne
furent guère encourageants sa mère s'indigna vivement
en apprenant que l'instituteur avait parlé de lui comme d'un «
idiot » à un inspecteur. Le jeune homme eut, en effet, une
chance extraordinaire d'avoir une mère à la fois aimante,
instruite et ambitieuse, capable elle-même, grâce à
son expérience d'institutrice, de lui donner une éducation
supérieure à celle que l'on pouvait lui offrir dans les
écoles locales de l'époque. Il est certain que sous ce régime
simple se développèrent des habitudes d'étude et
un goût pour la littérature qui perdurent encore aujourd'hui.
S'il y a jamais eu un homme qui a déchiré le cur des
livres, c'est bien Edison, et ce qu'il a lu une fois n'est jamais oublié
s'il est utile ou digne d'être soumis à l'épreuve
de l'expérimentation.
Mais dès cette époque, un amour plus profond
pour les processus mécaniques et l'étude des forces naturelles
se manifesta. Edison a déclaré n'avoir jamais vu dans aucun
livre une affirmation sur de telles choses qu'il n'ait involontairement
contestée et voulu démontrer comme juste ou erronée.
Enfant, les scènes animées du canal et des entrepôts
à grains le passionnaient, mais le travail sur les chantiers navals
exerçait une fascination irrésistible. Ses questions étaient
si incessantes et innombrables que la curiosité pénétrante
d'un esprit exceptionnellement fort était considérée
comme un manque de compréhension. Le père lui-même,
homme d'une ingéniosité et d'un talent non négligeables,
rapporte que l'enfant, bien que capable de l'épuiser par des questions
interminables, était souvent décrit comme manquant de perspicacité
ordinaire. Cette apparente stupidité est pourtant un trait commun
du génie juvénile.
Les tendances constructives de cet enfant, dont son père
disait un jour qu'il n'avait jamais connu l'enfance au sens ordinaire
du terme, se remarquèrent très tôt dans son goût
pour la construction de petites routes en planches avec les débris
des chantiers et des moulins. Sa mémoire extraordinairement précise
se manifesta par sa facilité à apprendre toutes les chansons
des bûcherons et des ouvriers du canal avant même l'âge
de cinq ans. Un incident raconte comment il fut trouvé un jour
sur la place du village, recopiant laborieusement les enseignes des magasins.
Sa sur décrit un événement très caractéristique
survenu à l'âge de six ans : il avait remarqué une
oie couvant ses ufs et le résultat. Peu après, il
disparut. Peu après, après des recherches angoissées,
son père le retrouva assis dans un nid qu'il avait fabriqué
dans la grange, rempli d'ufs d'oie et de poule qu'il avait ramassés,
essayant de les faire éclore.
L'un des souvenirs les plus marquants de M. Edison remonte
à 1850. À l'âge de trois ou quatre ans, il aperçut
six chariots bâchés, appelés « goélettes
des prairies », campés devant sa maison et assista à
leur départ pour la Californie. L'enthousiasme suscité par
les découvertes d'or se fit donc sentir à Milan, et ces
chariots, chargés de tous les biens matériels de leurs propriétaires,
furent observés à l'abri des regards durant leur long voyage
par ce gamin fasciné, dont les découvertes ultérieures
allaient inciter de nombreux autres argonautes à explorer les royaumes
aurifères de l'électricité.
Un autre souvenir marquant de cette période concerne
sa première prise de conscience du sombre mystère de la
mort. Un jour, il partit se baigner dans le ruisseau avec le fils de l'homme
le plus riche de la ville. Peu après leur entrée dans l'eau,
l'autre garçon disparut. Le jeune Edison attendit sur place pendant
une demi-heure ou plus, puis, à la tombée de la nuit, il
rentra chez lui, perplexe et seul, mais silencieux quant à l'incident.
Environ deux heures plus tard, alors que l'on recherchait le garçon
disparu, un homme se présenta au domicile des Edison pour s'enquérir
avec anxiété de la personne avec laquelle il avait été
vu pour la dernière fois. Edison raconta toutes les circonstances,
avec le douloureux sentiment d'être impliqué d'une manière
ou d'une autre. Le ruisseau fut aussitôt dragué, puis le
corps fut retrouvé.
Edison l'a échappé belle à plus d'un
titre. Bien sûr, il est tombé dans le canal et a failli se
noyer ; rares sont les jeunes Milanais dignes de ce nom qui ont échappé
à ce genre de situation. Une autre fois, il a affronté un
danger plus inédit : il est tombé dans le tas de blé
d'un silo à grains et a failli s'étouffer. Tenant l'extrémité
d'une lanière de patin pour qu'un autre garçon la raccourcisse
à la hache, il a perdu le bout d'un doigt. Le feu n'était
pas non plus sans danger. Il a allumé un feu dans une grange, mais
les flammes se sont propagées si rapidement que, bien qu'il ait
réussi à s'échapper, la grange a été
entièrement détruite et il a été fouetté
publiquement sur la place du village en guise d'avertissement aux autres
jeunes. On se souvient également d'une rencontre dangereuse avec
un bélier qui l'a attaqué alors qu'il était occupé
à déterrer un nid de bourdons près de la clôture
d'un verger. L'animal l'a projeté contre la clôture et s'apprêtait
à le frapper à nouveau lorsqu'il a réussi à
se laisser tomber par-dessus bord et à s'échapper. Il était
gravement blessé et contusionné, et une quantité
non négligeable darnica était nécessaire pour
ses blessures.
Entre-temps, le petit Milan avait atteint l'apogée
de sa prospérité et avait été soudainement
privé de son commerce céréalier florissant par le
nouveau chemin de fer Columbus, Sandusky et Hocking ; en fait, le court
canal était l'un des derniers efforts de ce type dans ce pays pour
concurrencer les nouveaux moyens de transport. Partout, la cloche des
locomotives sonnait le glas du transport fluvial efficace, avec des résultats
si désastreux qu'en 1880, sur les 7 190 kilomètres de canal
de fret américain, qui avaient coûté 214 000 000 $,
pas moins de 2 048 kilomètres avaient été abandonnés,
et sur les 4 180 kilomètres restants, une grande partie ne payait
pas les frais. Le court canal de Milan souffrit avec les autres et, aujourd'hui,
il est presque entièrement détruit, en partie caché
par des jardins potagers, une simple dépression herbeuse au pied
d'une vallée sinueuse et peu profonde. D'autres chemins de fer
ont également empêché toute concurrence supplémentaire
du côté du canal, car une branche du Wheeling et du lac Érié
traverse désormais le village, tandis que le Lake Shore et le Michigan
Southern s'étendent à quelques kilomètres au sud.
Les propriétaires du canal eurent bientôt
l'occasion de regretter d'avoir dédaigné les avances de
promoteurs ferroviaires entreprenants désireux d'atteindre le village,
et les conséquences de l'isolement commercial se firent rapidement
sentir. Il devint vite évident pour Samuel Edison et sa femme qu'il
fallait abandonner la confortable maison en briques sur la falaise et
reprendre la lutte pour la fortune ailleurs. Cependant, ils étaient
aisés et, en 1854, ils s'installèrent à Port Huron,
dans le Michigan, où ils occupèrent une grande maison coloniale
située au cur d'une ancienne réserve de fort gouvernemental
de quatre acres, surplombant la vaste étendue de la rivière
Sainte-Claire, juste après sa sortie du lac Huron. C'était
à bien des égards une propriété idéale,
à laquelle la famille a toujours éprouvé un profond
attachement, mais le lien avec Milan n'a jamais complètement disparu.
La vieille maison natale d'Edison est toujours occupée (en 1910)
par M. SO Edison, demi-frère du père d'Edison, homme doté
d'un talent inventif remarquable. Il joua un rôle important dans
l'industrie des fourneaux à fer de l'Ohio et fut pendant un temps
associé au commerce du fer avec le père du défunt
président McKinley. Parmi ses inventions, on peut citer une machine
à fabriquer du combustible à partir de paille de blé
et un appareil à fumée.
Ce berceau d'Edison est resté la petite maison
en briques, simple et imposante, qu'elle était à l'origine
: un étage, avec des pièces aménagées au rez-de-chaussée.
Construite à flanc de colline, son sous-sol s'ouvre sur la cour
arrière. Elle était initialement chauffée par des
grilles à charbon ouvertes, ce qui n'était peut-être
pas tout à fait adapté aux hivers rigoureux, compte tenu
de l'altitude et de l'exposition nord-est, mais un grand fourneau constitue
l'une des innovations les plus récentes. Milan elle-même
ne diffère pas matériellement des petites villes de l'Ohio
de son époque ou de celles créées plus tard, mais
l'aspect vénérable des grands ormes qui bordent les pelouses
soignées témoigne de son ancienneté. C'est en effet
un petit village extrêmement propre et confortable, avec des maisons
soignées, principalement en ossature bois, et des rues pavées
qui se croisent à angle droit. On n'y trouve pas de pauvres ; du
moins, tout le monde semble aisé. Si une atmosphère tranquille
règne dans la ville, on y croise peu de oisifs. Certains habitants
s'occupent des affaires locales ; Certains sont occupés à
l'agriculture et à la viticulture ; d'autres travaillent dans la
forge toute proche, à Norwalk. Les magasins et les lieux de divertissement
sont regroupés autour de la place, où il y a amplement de
place pour faire du stop lorsque les commerces du samedi s'arrêtent.
L'animation intermittente rappelle alors l'époque où le
jeune Edison courait avec curiosité parmi les attelages de six
ou huit chevaux qui apportaient le grain. Cette place est encore couverte
de beaux arbres de la forêt primitive et abrite en son centre un
magnifique monument aux soldats de la guerre de Sécession, vers
lequel convergent quatre allées pavées. C'est une ville
agréable et sans prétention, qui chérit avec une
grande fierté son association avec le nom de Thomas Alva Edison.
Compte tenu de l'ascendance hollandaise d'Edison, il est
assez singulier de le voir porter le nom d'Alva, car le duc espagnol d'Alva
était notoirement le pire tyran jamais connu aux Pays-Bas, et ses
méfaits occupent de nombreuses pages poignantes de la célèbre
histoire de Motley. En fait, Edison doit son nom au capitaine Alva Bradley,
vieil ami de son père et célèbre armateur sur les
Grands Lacs. Le capitaine Bradley est mort il y a quelques années
riche, tandis que son ancien associé, tout aussi doué pour
gagner de l'argent, n'a jamais pu le conserver longtemps (à la
différence du banquier révolutionnaire new-yorkais dont
son fils a hérité son autre nom, « Thomas »)
3 - Enfance à Port Huron, Michigan
La nouvelle maison trouvée par la famille Edison
à Port Huron, où Alva passa sa brève enfance avant
de devenir télégraphiste et de parcourir tout le Midwest
à cette époque, fut malheureusement détruite par
un incendie juste après la fin de la guerre de Sécession.
Une maison plus petite, mais peut-être plus confortable, fut alors
construite par le père d'Edison sur une propriété
qu'il avait achetée dans le village voisin de Gratiot. C'est là
que sa mère passa le reste de sa vie, souffrant d'une invalidité
confirmée, jusqu'à sa mort en 1871. Par conséquent,
les photos et les cartes postales, vendues en grande partie aux chasseurs
de souvenirs comme étant la maison de Port Huron, ne représentent
pas réellement l'endroit où se sont déroulés
les événements mentionnés ici.
Les biographes populaires, se basant sur le fait qu'Edison
a débuté sa carrière comme vendeur de journaux, ont
souvent prétendu que ces premières années avaient
été passées dans la pauvreté et les privations,
comme c'est souvent le cas pour les « vendeurs de journaux »
qui pullulent et crient leurs journaux dans nos grandes villes. S'il paraît
dommage de détruire cette idée fausse, suggérant
une ascension héroïque des profondeurs vers les sommets, rien
n'est plus faux. Socialement, la famille Edison occupait une position
élevée à Port Huron à une époque où
la richesse et l'activité générale étaient
relativement plus importantes qu'aujourd'hui. À son apogée,
la ville était un important centre forestier et bourdonnait de
l'industrie de nombreuses scieries. Une quantité incroyable de
bois y était produite chaque année, jusqu'à ce que
les forêts avoisinantes disparaissent et, avec elles, l'industrie.
La richesse de la communauté, largement investie dans ce commerce
et dans les entreprises de transport associées, s'est rapidement
accumulée et a été dépensée sans compter
pendant cette période de prospérité dans le comté
de St. Clair, apportant avec elle un niveau de confort domestique élevé.
Les Edison partageaient tout cela à égalité.
Ainsi, contrairement aux histoires largement répandues,
les Edison, bien que peu riches, vivaient dans l'aisance, avec une ferme
bien fournie et un grand verger dont ils tiraient également leur
subsistance. Samuel Edison, après s'être installé
à Port Huron, devint négociant en céréales
et en aliments pour animaux, et s'y consacra pendant de nombreuses années.
Il fut également actif dans l'industrie du bois dans le district
de Saginaw, entre autres. Il était difficile pour un homme au tempérament
aussi changeant et agité de se consacrer à une seule occupation
; en fait, s'il avait été moins visionnaire, il aurait été
plus prospère, mais n'aurait peut-être pas eu un fils aussi
doué de perspicacité et d'imagination. Un exemple de ces
caprices optimistes qui le poussèrent à consacrer sans cesse
temps et argent à des projets qui n'auraient pas séduit
un homme moins optimiste fut la construction sur sa propriété
d'une tour d'observation en bois de plus de trente mètres de haut,
dont le sommet était atteint péniblement par un escalier
en colimaçon, moyennant le paiement de vingt-cinq cents. Il est
vrai que la tour offrait une jolie vue, de terre comme d'eau, mais le
colonel Sellers lui-même aurait pu imaginer cette entreprise comme
une source potentielle de revenus stables. Au début, peu de visiteurs
essoufflés gravissaient les longues volées de marches menant
à la plateforme venteuse. Durant les deux premiers mois, le père
d'Edison empocha trois dollars et se sentit extrêmement déprimé
par cette perspective. Le jeune Edison et sa famille restèrent
seuls aux plaisirs solitaires du belvédère et au plaisir
du télescope qui l'équipait. Mais un beau jour, une excursion
arriva d'une ville de l'intérieur pour voir le lac. Ils pique-niquèrent
dans le bosquet, et six cents d'entre eux montèrent dans la tour.
Par la suite, la compagnie ferroviaire commença à promouvoir
ces excursions, et les recettes annuelles financèrent l'observatoire.
On pourrait penser que, plongé dans les affaires
et préoccupé par des projets de ce genre, M. Edison était
responsable de la négligence de l'éducation de son fils.
Mais il n'en était rien. Les conditions étaient particulières.
C'est à l'école publique de Port Huron qu'Edison reçut
tout l'enseignement scolaire régulier dont il avait jamais bénéficié
seulement trois mois. Il aurait pu y passer tout le trimestre,
mais, comme nous l'avons déjà noté, son professeur
l'avait trouvé « dérangé ». Il était
toujours, selon ses propres souvenirs, en queue de peloton et en était
presque venu à se considérer comme un idiot, tandis que
son père nourrissait de vagues inquiétudes quant à
sa stupidité. En réalité, Mme Edison, une enseignante
d'une compétence et d'une force hors du commun, n'avait pas une
très haute opinion des méthodes et des résultats
moyens des écoles publiques. Elle était à la fois
impatiente d'entreprendre l'instruction de son fils et ambitieuse pour
l'avenir d'un garçon dont elle savait, par expérience pédagogique,
qu'il était réceptif et réfléchi à
un degré très inhabituel. Avec elle, il trouvait l'étude
facile et agréable. La qualité de la culture de ce foyer
simple mais raffiné, ainsi que le caractère intellectuel
de ce jeune homme sans instruction, peuvent être déduits
du fait qu'avant l'âge de douze ans, il avait lu, avec l'aide de
sa mère, Déclin et chute de l'Empire romain de Gibbon, Histoire
d'Angleterre de Hume, Histoire du monde de Sears, Anatomie de la mélancolie
de Burton et le Dictionnaire des sciences ; et avait même tenté
de déchiffrer les Principia de Newton, dont les mathématiques
dépassaient résolument les capacités de l'enseignant
comme de l'élève. De plus, Edison, comme Faraday, n'a jamais
été mathématicien et n'a guère eu d'intérêt
personnel pour l'arithmétique au-delà de ce qu'on appelle
« mental ». Il a dit un jour à un ami :
« Je peux toujours embaucher des mathématiciens, mais pas
eux. » Son père, d'ailleurs, a toujours encouragé
ces goûts littéraires et lui versait une petite somme pour
chaque nouveau livre maîtrisé. Il est à noter que
la fiction ne figure pas dans la liste ; mais elle n'était pas
totalement exclue de la bibliothèque familiale, et Edison l'a appréciée
toute sa vie, en particulier les uvres d'écrivains comme
Victor Hugo, dont l'admiration enthousiaste peut-être aussi
pour son imagination lui a valu le surnom de « Victor Hugo
Edison » par ses collègues.
À cette époque, l'électricité
ne pouvait intéresser un jeune esprit. La télégraphie
rudimentaire représentait ce qu'on en savait concrètement,
et à ce sujet, les livres lus par le jeune Edison n'étaient
pas excessivement informatifs. Même si cela n'avait pas été
le cas, le penchant du garçon d'à peine dix ans se porta
vers la chimie, et cinquante ans plus tard, on ne constate aucun changement
de prédilection. Dire qu'Edison est devenu électricien par
hasard peut paraître hérétique, mais il est indéniable
que, pour ce brillant et éminent chef de file de l'électricité,
s'évader dans le domaine de la chimie a toujours l'allure d'une
agréable escapade scolaire. L'une des premières histoires
de son enfance relate l'incident où il fit avaler à un jeune
employé de la famille une grande quantité de poudre de Seidlitz,
persuadé que les gaz produits lui permettraient de voler. Les souffrances
de la victime attirèrent l'attention, et la mère d'Edison
manifesta son mécontentement en actionnant l'interrupteur situé
derrière la vieille horloge de parquet de Seth Thomas. Le résultat
désastreux de cette expérience ne découragea nullement
Edison, qui attribua l'échec au jeune homme plutôt qu'à
la force motrice. Dans la cave de la ferme des Edison, le jeune Alva construisit
bientôt un équipement chimique, premier d'une longue série
de laboratoires. Le mot « laboratoire » avait toujours été
associé aux alchimistes par le passé, mais comme pour «
filament », ce jeune homme sans instruction y appliqua une praticabilité
iconoclaste bien avant de comprendre l'importance de cette nouvelle approche.
Goethe, dans sa légende de Faust, dépeint le philosophe
traditionnel ou conventionnel dans son laboratoire, un chercheur âgé,
chancelant et à la barbe grise, qui ne rajeunit que par une intervention
diabolique et resterait sénile sans elle. Dans le laboratoire d'Edison,
aucune transformation aussi étrange n'était nécessaire,
car le philosophe possédait la jeunesse, une énergie ardente
et une détermination pragmatique qui ne se résoudrait à
aucun déni de l'objectif d'une uvre réellement bénéfique
pour l'humanité. Edison et Faust sont véritablement les
extrêmes de la pensée et de l'accomplissement philosophiques.
La maison de Port Huron vit ainsi le premier laboratoire
d'Edison. Le garçon commença ses expériences vers
l'âge de dix ou onze ans. Il reçut un exemplaire de Parker's
School Philosophy, un livre élémentaire de physique, et
il tenta presque toutes les expériences qu'il y trouvait. Le jeune
Alva, ou « Al », comme on l'appelait, manifesta ainsi très
tôt sa grande passion pour la chimie. Dans la cave de la maison,
il rassembla pas moins de deux cents bouteilles, glanées dans des
paniers aux quatre coins de la ville. Elles étaient soigneusement
rangées sur des étagères et toutes étiquetées
« Poison », afin que personne ne puisse les manipuler ou les
déranger. Elles contenaient les produits chimiques avec lesquels
il expérimentait constamment. Pour d'autres, cette diversion était
à la fois mystérieuse et dénuée de sens, mais
il s'était rapidement familiarisé avec tous les produits
chimiques disponibles dans les pharmacies locales et avait testé
avec satisfaction nombre des affirmations rencontrées dans ses
lectures scientifiques. Edison a confié qu'il s'était parfois
demandé comment il n'était pas devenu chimiste analytique
au lieu de se concentrer sur l'électricité, pour laquelle
il n'avait initialement pas de grandes prédispositions.
Privé de l'usage d'une grande partie de sa cave,
lassé du désordre permanent qui s'y trouvait et quelque
peu inquiet des conséquences, sa mère demanda un jour au
garçon de tout ranger et de remettre de l'ordre. L'idée
de perdre tous ses biens était si angoissée que sa mère
céda, mais insista pour qu'il installe un cadenas et garde le laboratoire
embryonnaire fermé en permanence, sauf lorsqu'il y était.
Ce fut fait. Ce travail lui permit de se familiariser très tôt
avec la nature des piles électriques et leur production de courant.
Apparemment, il passait la majeure partie de son temps libre à
la cave, car il ne participait pas aux jeux des garçons du quartier.
Son ami et principal compagnon, Michael Oates, était un garçon
d'origine hollandaise, bien plus âgé que lui, qui effectuait
les tâches ménagères et qui pouvait être recruté
comme aide-ménagère pour les expériences du jeune
explorateur, comme celle sur les poudres de Seidlitz.
De telles activités engloutissaient très
rapidement le maigre argent de poche du garçon. Il n'allait pas
régulièrement à l'école et avait lu tous les
livres à sa portée. C'est ainsi qu'il devint vendeur de
journaux, surmontant les réticences de ses parents, et surtout
de sa mère, en faisant valoir qu'il pourrait ainsi gagner tout
ce dont il avait besoin pour ses expériences et obtenir gratuitement
des journaux et des magazines. De plus, il pourrait consacrer ses loisirs
à Détroit à la bibliothèque publique. Il sollicita
(en 1859) le privilège de vendre des journaux sur les trains du
Grand Trunk Railroad, entre Port Huron et Détroit, et obtint la
concession peu de temps après, au cours de laquelle il fit ses
preuves dans sa tâche de vendeur de journaux.
Edison avait, en effet, déjà acquis une
certaine expérience commerciale dès l'âge de onze
ans. Les quatre hectares de la réserve offraient un excellent potentiel
pour la culture maraîchère, et le chef de famille polyvalent
ne pouvait s'empêcher de tenter sa chance dans ce secteur. Un grand
« jardin maraîcher » fut aménagé, où
Edison travailla avec assiduité avec l'aide du jeune Hollandais,
Michael Oates, celui qui avait mené l'expérience de vol.
Ces garçons disposaient d'un cheval et d'une petite charrette,
et chaque matin, en saison, ils chargeaient des oignons, de la laitue,
des pois, etc., et traversaient la ville.
De cette source, Mme Edison reçut jusqu'à
600 dollars en un an. Le garçon était infatigable, mais
pas vraiment passionné par l'agriculture. Au bout d'un moment,
je me suis lassé de ce travail, car biner le maïs sous un
soleil de plomb est peu attrayant, et je ne m'étonnais pas qu'il
ait contribué à la construction de villes. Bientôt,
le Grand Trunk Railroad fut prolongé de Toronto à Port Huron,
au pied du lac Huron, puis à Détroit, à peu près
au même moment où éclata la guerre de Sécession.
À force de persévérance, j'obtins de ma mère
la permission de prendre le train local comme vendeur de journaux. Le
train local reliant Port Huron à Détroit, soit une distance
de soixante-trois milles, partait à 7 heures du matin et arrivait
à 21 h 30. Après plusieurs mois de voyage en train, j'ouvris
deux magasins à Port Huron : l'un pour les périodiques,
l'autre pour les légumes, le beurre et les baies de saison. Deux
garçons y tenaient une part des bénéfices. J'ai rapidement
fermé le magasin de périodiques, car on ne pouvait pas faire
confiance au garçon qui en était responsable. J'ai tenu
le magasin de légumes pendant près d'un an. Peu après
l'ouverture du chemin de fer, un express partait de Détroit le
matin et revenait en Le soir. J'ai reçu l'autorisation de mettre
un vendeur de journaux dans ce train. Un wagon, relié à
ce train, était prévu pour les bagages et le courrier américain,
mais il est resté longtemps inutilisé. Chaque matin, je
faisais charger deux grands paniers de légumes du marché
de Détroit dans le wagon postal et les envoyais à Port Huron,
où le garçon les apportait au magasin. Ils étaient
bien meilleurs que ceux cultivés localement et se vendaient facilement.
On ne m'a jamais demandé de payer le fret, et je ne peux toujours
pas expliquer pourquoi, si ce n'est que j'étais si petit et travailleur,
et que l'audace de m'approprier un wagon postal américain pour
faire du fret gratuit était si monumentale. Cependant, j'ai continué
ainsi longtemps, et j'achetais en plus du beurre aux fermiers le long
de la ligne, ainsi qu'une quantité considérable de mûres
en saison. J'achetais en gros et à bas prix, et je permettais aux
épouses des mécaniciens et des agents de train de bénéficier
de la réduction. Au bout d'un certain temps, un train d'immigrants
quotidien fut mis en service. Ce train comptait généralement
de sept à dix wagons remplis de Norvégiens, tous à
destination de l'Iowa. Minnesota. Dans ces trains, j'employais un garçon
qui vendait du pain, du tabac et des bonbons. À mesure que la guerre
progressait, la vente de journaux quotidiens devint très rentable,
et j'abandonnai le magasin de légumes.
Les heures de travail étaient longues, mais le
travail n'était pas particulièrement pénible, et
Edison trouva bientôt le temps de s'adonner à son passe-temps
favori : l'expérimentation chimique. Son train quitta Port Huron
à 7 heures du matin et fit son voyage vers le sud jusqu'à
Détroit en environ trois heures. Il restait donc dans cette ville
de 10 heures du matin jusqu'en fin d'après-midi, heure à
laquelle le train partait pour arriver à Port Huron vers 21 h 30.
Le train était composé de trois wagons : bagages, fumeurs
et passagers ordinaires ou « dames ». Le wagon à bagages
était divisé en trois compartiments : un pour les malles
et les colis, un pour le courrier et un pour fumeurs. À cette époque,
le compartiment fumeurs n'était pas utilisé, car il n'était
pas ventilé. Il fut donc confié au jeune Edison, qui non
seulement y conserva ses papiers et ses marchandises en tant que «
boucher de bonbons », mais le fit bientôt équiper d'une
extraordinaire variété d'appareils. Il y avait beaucoup
de loisirs dans les deux trajets quotidiens, même pour un garçon
travailleur, et il trouva ainsi le temps de transférer son laboratoire
de la cave et de le réinstaller dans le train.
Ses revenus étaient excellents si bons,
en fait, qu'il gagnait souvent huit ou dix dollars par jour, et qu'un
dollar revenait chaque jour à sa mère. Ainsi subvenant à
ses besoins, il se sentait en droit de dépenser tout bénéfice
restant en produits chimiques et en appareils. Et il le dépensa,
car, ayant accès à Détroit et à ses grands
magasins, où il s'approvisionnait, et à la bibliothèque
publique, où il pouvait étancher sa soif d'informations
techniques, Edison consacrait tout son temps libre et son argent à
la chimie. Le pays n'aurait certainement pas pu offrir à ce moment-là
un exemple plus frappant de la quête passionnée du savoir
malgré les difficultés que ce vendeur de journaux d'à
peine quatorze ans, avec ses bocaux et ses éprouvettes installés
dans un fourgon à bagages.
Cet équipement étonnant ne se limitait pas
aux piles et aux bouteilles. Ce même petit espace de quelques mètres
carrés fut bientôt transformé par ce jeune homme précoce
en bureau de rédaction. Le déclenchement de la guerre de
Sécession donna un essor considérable à la demande
de journaux, ce qui le poussa à envisager de publier son propre
journal local, consacré à l'actualité de ce tronçon
de la Grand Trunk Road. Une petite presse à imprimer, autrefois
utilisée pour les notes d'hôtel, fut récupérée
à Détroit, ainsi que des caractères d'imprimerie,
dont une partie fut placée dans le train afin que la composition
puisse se poursuivre pendant les moments de loisir. Pour quelqu'un d'aussi
mécaniste qu'Edison, il était facile d'apprendre les rudiments
de l'art de l'imprimerie, et c'est ainsi que naquit le Weekly Herald,
dont il était à la fois compositeur, pressier, rédacteur,
éditeur et marchand de journaux. Seuls un ou deux exemplaires de
ce journal sont aujourd'hui disponibles, mais son apparence peut être
jugée d'après le fac-similé réduit présenté
ici. L'ouvrage était vraiment réussi pour un jeune homme
dont la date indique qu'il avait moins de quinze ans. Le style littéraire
est soigné, on y trouve seulement quelques fautes d'orthographe
insignifiantes, et l'auteur est attentif aux nouvelles et aux potins intéressants.
Le prix était de trois cents l'exemplaire, ou huit cents par mois
pour les abonnés réguliers, et le tirage dépassait
les quatre cents exemplaires. Ce n'était en aucun cas le fruit
d'une simple curiosité publique, mais témoignait de la valeur
du journal en tant que véritable journal, auquel de nombreux employés
des chemins de fer le long de la ligne contribuaient volontiers. En effet,
grâce au télégraphe ferroviaire, Edison pouvait souvent
imprimer des nouvelles récentes et importantes, d'origine locale,
que les journaux réguliers éloignés, comme ceux de
Détroit, dont il était vendeur de journaux, ne pouvaient
obtenir. Il n'est pas étonnant que ce petit journal astucieux ait
reçu l'approbation et le patronage de l'ingénieur anglais
Stephenson lors de l'inspection du réseau du Grand Tronc, et qu'il
ait été remarqué par un contemporain aussi éminent
que le Times de Londres comme le premier journal au monde à être
imprimé sur un train en marche. Le jeune propriétaire gagnait
parfois jusquà vingt à trente dollars par mois grâce
à cette entreprise journalistique unique.
Mais tout ce travail supplémentaire exigeait de
l'attention, et Edison résolut la difficulté de s'occuper
également du commerce de vendeur de journaux en engageant un jeune
ami, qu'il forma et traita généreusement comme doublure.
Le travail était souvent abondant pour tous deux au début
de la guerre, lorsque les nouvelles de la bataille suscitaient une vive
excitation et de fortes ventes de journaux. Edison, avec une perspicacité
innée déjà si remarquable, télégraphiait
aux agents des gares et leur demandait de signaler les événements
de la journée au front, de sorte qu'à chaque gare, des acheteurs
impatients attendaient. Il se souvient notamment de l'émotion provoquée
par la grande bataille de Shiloh, ou Pittsburg Landing, en avril 1862,
à laquelle Grant et Sherman participèrent, où Johnston
périt et où le bilan fut effroyable de 25 000 morts et blessés.
En décrivant son action entreprenante ce jour-là,
Edison dit que lorsqu'il est arrivé à Détroit, les
panneaux d'affichage des bureaux du journal étaient entourés
d'une foule dense, qui lisait avec stupeur la nouvelle selon laquelle
il y avait 60 000 tués et blessés, et que le résultat
était incertain :
Je savais que si le même engouement se manifestait dans les différentes
petites villes le long de la route, et particulièrement à
Port Huron, les ventes de journaux seraient importantes. J'ai alors eu
l'idée de télégraphier les nouvelles à l'avance.
Je suis allé voir l'opérateur du dépôt et,
en lui donnant le Harper's Weekly et d'autres journaux pendant trois mois,
il a accepté de télégraphier à toutes les
gares le message affiché sur le panneau d'affichage. Je l'ai copié
en toute hâte, et il l'a envoyé, en demandant aux agents
de l'afficher sur les tableaux noirs utilisés pour annoncer l'arrivée
et le départ des trains. J'ai décidé qu'au lieu des
cent journaux habituels, je pourrais en vendre mille ; mais n'ayant pas
assez d'argent pour acheter ce nombre, j'ai décidé, en désespoir
de cause, de voir le rédacteur en chef lui-même et d'obtenir
son crédit. Le grand journal de l'époque était le
Detroit Free Press. Je suis entré dans le bureau portant la mention
« Éditorial » et j'ai dit à un jeune homme que
je souhaitais voir le rédacteur en chef pour une affaire importante
importante pour moi, en tout cas. On m'a conduit dans un bureau
où se trouvaient deux hommes, et j'ai expliqué ce que j'avais
fait concernant la télégraphie. Je voulais mille journaux,
mais je n'avais d'argent que pour trois cents, et je voulais du crédit.
L'un des hommes refusa, mais l'autre dit au premier porte-parole de me
les donner. Cet homme, j'appris plus tard, était Wilbur F. Storey,
qui fonda plus tard le Chicago Times et devint célèbre dans
le monde de la presse. Avec l'aide d'un autre garçon, je trimballai
les journaux jusqu'au train et commençai à les plier. La
première gare, Utica, était petite, où je vendais
généralement deux journaux. J'aperçus une foule sur
le quai et crus à une excursion, mais dès mon arrivée,
ce fut la cohue ; je réalisai alors que le télégraphe
était une invention formidable. J'y vendis trente-cinq journaux.
La gare suivante était Mount Clemens, aujourd'hui une station thermale,
mais alors une ville d'environ mille habitants. J'y vendais généralement
six à huit journaux. Je décidai que si je trouvais une foule
correspondante, la seule chose à faire pour corriger mon manque
de jugement et ne pas en acheter davantage serait d'augmenter le prix
de cinq à dix cents. La foule était là. et j'augmentai
le prix. Dans les différentes villes, il y avait foule. À
Port Huron, j'avais l'habitude de sauter du train à environ un
quart de mile de la gare, là où le train ralentissait généralement.
J'avais tiré plusieurs chargements de sable jusqu'à cet
endroit pour sauter dessus, et j'étais devenu un expert. Le petit
Hollandais avec le cheval m'a rejoint à cet endroit. Lorsque le
chariot approcha des abords de la ville, une foule nombreuse m'accueillit.
Je criai alors : « Vingt-cinq cents pièce, messieurs ! Je
n'en ai pas assez pour tout le monde ! » J'ai tout vendu et gagné
ce qui était pour moi alors une somme d'argent colossale.
De tels épisodes augmentèrent considérablement
ses revenus, mais n'augmentèrent pas nécessairement ses
économies, car il était alors, comme aujourd'hui, un dépensier
invétéré tant qu'il pouvait se procurer de nouveaux
appareils ou fournitures pour ses expériences. De fait, le laboratoire
mobile fut rapidement encombré de ce type d'équipement,
la plupart des produits chimiques coûteux étaient achetés
à crédit, et l'analyse qualitative de Fresenius servit de
base à des tests et des études incessants. George Pullman,
qui possédait alors un petit atelier à Détroit et
travaillait sur son wagon-lit, fabriqua à Edison de nombreux appareils
en bois pour ses produits chimiques, à la grande joie du jeune
homme. Malheureusement, un changement soudain survint, lourd de conséquences.
Un jour, le train, roulant à 45 km/h sur une voie ferrée
mal posée, fut brusquement projeté hors de la perpendiculaire
dans une violente embardée, et, avant qu'Edison ne puisse le rattraper,
un bâton de phosphore fut projeté de son étagère,
tomba au sol et s'enflamma. La voiture prit feu, et le jeune homme, consterné,
tentait encore d'éteindre l'incendie lorsque le conducteur, un
Écossais colérique, qui faisait également office
de bagagiste, accourut sur les lieux avec de l'eau et sauva sa voiture.
À l'arrivée à la gare de Mount Clemens, l'arrêt
suivant, Edison et tout son matériel, laboratoire, imprimerie,
furent promptement expulsés par le conducteur furieux. Le train
démarra alors, le laissant sur le quai, en larmes et indigné,
au milieu de ses biens précieux mais ruinés. C'était
une sorte de lynchage ; mais compte tenu de la responsabilité,
cet acte du conducteur relevait parfaitement de ses droits et de ses devoirs.
C'est à la suite de cet incident qu'Edison a acquis
la surdité qui l'a atteint toute sa vie, un violent coup de poing
infligé par un conducteur irrité et brûlé étant
la cause directe de son infirmité. Bien que cette surdité
soit considérée comme une grande affliction par la plupart
des gens et qu'elle ait entraîné d'autres problèmes
graves, M. Edison l'a toujours considérée avec philosophie
et a déclaré récemment à ce sujet :
Cette surdité m'a été très utile à
plusieurs égards. Dans un bureau télégraphique, je
n'entendais que l'instrument directement sur la table à laquelle
j'étais assis, et contrairement aux autres opérateurs, je
n'étais pas gêné par les autres instruments. De nouveau,
lors de mes expériences sur le téléphone, j'ai dû
améliorer l'émetteur pour pouvoir l'entendre. Cela a rendu
le téléphone commercial, car le récepteur magnéto
de Bell était trop faible pour être utilisé commercialement
comme émetteur. Il en était de même pour le phonographe.
Le principal défaut de cet instrument était la mauvaise
restitution des harmoniques en musique et des consonnes sifflantes dans
la parole. J'ai travaillé plus d'un an, vingt heures par jour,
dimanche compris, pour que le mot « specie » soit parfaitement
enregistré et reproduit sur le phonographe. Une fois cela fait,
je savais que tout le reste était possible, et c'était un
fait. Encore une fois, mes nerfs ont été préservés.
Broadway est aussi calme pour moi qu'un village de campagne l'est pour
une personne ayant une audition normale.
Attristé, mais pas totalement découragé,
Edison reconstitua bientôt son laboratoire et son imprimerie à
domicile, malgré les craintes et les objections de la famille après
cet épisode, à cause d'un incendie. Mais Edison promit de
n'importer aucun document dangereux. Il ne cessa pas la publication du
Weekly Herald. Au contraire, il prospéra dans ses deux entreprises
jusqu'à ce qu'il soit persuadé par le « diable de
l'imprimeur » du Port Huron Commercial de modifier le caractère
de son journal, de l'agrandir et de le publier sous le nom de Paul Pry,
une appellation heureuse pour cette entreprise ou d'autres similaires
dans le domaine du journalisme mondain. On ne trouve plus d'exemplaires
de Paul Pry aujourd'hui, mais on sait que son style était clairement
personnel, que les ragots étaient sa spécialité,
et qu'il offensait grandement les personnes dont les particularités
ou les peccadilles étaient discutées avec franchise et enjouement
par les deux garçons. À un moment donné, le ressentiment
de la victime d'une telle publicité non désirée fut
si intense qu'il s'empara d'Edison et jeta le jeune rédacteur en
chef, effrayé, dans la rivière Sainte-Claire. Le nom de
ce violateur de la liberté de la presse fut par la suite soigneusement
exclu des colonnes de Paul Pry, et cet incident fut peut-être l'un
de ceux qui provoquèrent bientôt l'abandon du journal. Edison
était passionné par ce travail et, sans les fortes influences
d'autres milieux, il aurait probablement continué à travailler
dans le secteur de la presse écrite, où il était,
sans conteste, le plus jeune éditeur et rédacteur en chef
de l'époque.
Avant de conclure cette période de sa carrière,
il convient de noter qu'elle offrit à Edison de nombreuses opportunités
favorables. À Détroit, il pouvait passer de nombreuses heures
à la bibliothèque publique, et il est établi qu'il
commença à se familiariser avec son contenu en s'attaquant
courageusement à une section et en essayant de la lire d'un bout
à l'autre, rayon par rayon, quel que soit le sujet. D'une certaine
manière, cela évoque curieusement la méthode sérieuse
et énergique d'« attaque frontale » avec laquelle l'inventeur
s'est depuis attaqué à tant de problèmes dans les
arts et les sciences.
Les ateliers d'usinage du Grand Trunk Railroad à
Port Huron attiraient beaucoup le jeune homme, qui semble y avoir passé
une bonne partie de son temps. Celui qui allait jouer un rôle important
dans l'évolution de la locomotive électrique moderne était
fasciné par le mécanisme de la locomotive à vapeur
; dès qu'il en avait l'occasion, Edison voyageait en cabine avec
le conducteur de son train. Il se familiarisa parfaitement avec les subtilités
du foyer, de la chaudière, des soupapes, des leviers et des engrenages,
et n'aimait rien tant que conduire lui-même la locomotive pendant
le trajet. Lors d'un voyage, alors que le conducteur dormait tandis que
son remplaçant enthousiaste pilotait le train, la chaudière
s'est « amorcée » et un déluge a submergé
le jeune conducteur, qui est resté à son poste jusqu'à
la fin du trajet et de l'épreuve. Cela a peut-être contribué
à gâter un conducteur de locomotive, mais a contribué
à faire de lui un grand maître de la nouvelle force motrice.
« La vapeur est à moitié anglaise », disait
Emerson. On est tenté de dire que l'électricité courante
est à moitié américaine. Le récit de l'incident
par Edison lui-même est très risible :
La locomotive faisait partie d'un lot loué au Grand Trunk par la
Chicago, Burlington et Quincy. Elle était ornée de fanfares
brillantes, les boiseries étaient magnifiquement peintes et tout
était parfaitement poli, comme c'était la coutume jusqu'à
ce que le vieux Commodore Vanderbilt l'arrête sur ses routes. Après
avoir parcouru une quinzaine de kilomètres, le chauffeur ne pouvait
plus garder les yeux ouverts (cela faisait suite à une danse nocturne
de la confrérie des cheminots), et il accepta de me laisser conduire
la locomotive. Je pris les commandes, réduisant la vitesse à
environ douze miles à l'heure, et conduisis le train de sept wagons
à destination, à la jonction du Grand Trunk, sans encombre.
Mais un événement inhabituel se produisit. J'étais
très inquiet pour l'eau, et je savais que si elle baissait, la
chaudière risquait d'exploser. Je n'avais pas parcouru trente kilomètres
qu'une boue noire et humide jaillit de la cheminée et recouvrit
chaque partie de la locomotive, y compris moi-même. J'allais réveiller
le chauffeur pour en déterminer la cause lorsqu'elle s'arrêta.
Puis je m'approchai d'une station où Le pompier allait toujours
au chasse-neige, ouvrait le réservoir d'huile du bac à vapeur
et versait de l'huile. Je commençais la procédure lorsqu'à
l'ouverture du réservoir, la vapeur s'échappa avec un bruit
terrible, me faisant presque tomber du moteur. Je réussis à
refermer le réservoir et retournai dans la cabine, convaincu que
la machine s'en sortirait sans huile. J'appris plus tard que le mécanicien
coupait toujours la vapeur lorsque le pompier allait huiler. Je ne m'en
rendis pas compte. Mon sens de l'observation s'en trouva grandement amélioré.
Juste avant d'atteindre le carrefour, une autre coulée de boue
noire se produisit, et la machine tout entière était un
spectacle à couper le souffle à tel point que lorsque
je m'arrêtai dans la cour, tout le monde se retourna pour la voir
en riant aux éclats. J'en conclus que la boue était due
au fait que j'avais transporté tellement d'eau qu'elle s'était
déversée dans la cheminée, ce qui avait lavé
toute la suie accumulée.
Un après-midi, environ une semaine avant Noël,
le train d'Edison dérailla près d'Utica, une gare de la
ligne. Quatre vieux wagons de la Michigan Central, aux seuils pourris,
s'effondrèrent dans le fossé et tombèrent en morceaux,
répandant figues, raisins secs, dattes et bonbons sur la voie et
aux alentours. Détestant voir autant de gaspillage, Edison essaya
d'économiser le plus possible en mangeant sur place, mais en conséquence,
« notre médecin de famille s'amusa comme un fou avec moi
à ce sujet ».
Un incident absurde décrit par Edison jette une
lumière vive sur la liberté et la facilité des premiers
voyages en train et sur l'extravagance du Sud de l'époque :
En 1860, juste avant le début de la guerre, un après-midi,
à Détroit, deux beaux jeunes hommes, accompagnés
d'un domestique noir, arrivèrent au train. Ils achetèrent
des billets pour Port Huron, terminus du train. Après avoir quitté
le carrefour juste à l'extérieur de Détroit, j'apportai
les journaux du soir. Arrivé face aux deux jeunes hommes, l'un
d'eux me demanda : Mon garçon, qu'est-ce que tu as ?
Je répondis : Des journaux. D'accord. Il
les prit et les jeta par la fenêtre, puis, se tournant vers l'homme
noir, il dit : Nicodème, paye ce garçon. J'ai
communiqué la somme à Nicodème, qui a ouvert une
sacoche et m'a payé. Les passagers ne savaient que penser de la
transaction. Je suis revenu avec les journaux et magazines illustrés.
Ils ont été saisis et jetés par la fenêtre,
et on m'a dit de récupérer mon argent auprès de Nicodème.
Je suis ensuite revenu avec tous les vieux magazines et romans que je
n'avais pas pu vendre, pensant que ce serait peut-être trop pour
eux. J'étais petit et mince, et la pile me dépassait la
tête, c'était tout ce que je pouvais porter. J'avais préparé
une liste et je connaissais la somme au cas où ils me mordraient
à nouveau. Quand j'ai ouvert la porte, tous les passagers ont éclaté
de rire. Je me suis dirigé droit vers les jeunes hommes. L'un d'eux
m'a demandé ce que j'avais. J'ai répondu : « Des magazines
et des romans. » Il les jeta aussitôt par la fenêtre,
et Nicodème s'installa. Puis je rentrai avec des noix de noyer
concassées, puis des boules de pop-corn, et enfin des bonbons à
la mélasse. Tout s'envola. Je me sentais comme Alexandre le Grand
! Je n'avais plus aucune chance ! J'avais tout vendu. Finalement, je fixai
une corde à ma malle, qui avait à peu près la taille
d'un coffre de charpentier, et commençai à la tirer du fourgon
à bagages au wagon voyageurs. C'était presque trop pour
mes forces, mais je finis par la mettre devant ces hommes. J'ôtai
mon manteau, mes chaussures et mon chapeau, et les déposai sur
le coffre. Puis il demanda : « Qu'as-tu, mon garçon ? »
Je répondis : « Tout ce que je peux me permettre est à
vendre, monsieur. » Les passagers ont ri aux éclats. Nicodème
m'a payé 27 dollars pour cette dernière vente et a tout
jeté par la portière, à l'arrière de la voiture.
« Ces hommes étaient du Sud, et j'ai toujours eu un faible
pour les gentlemen du Sud. »
Alors qu'Edison était vendeur de journaux dans
le train, on lui demanda un jour de se rendre au bureau de la compagnie
EB Ward, à l'époque le plus grand armateur de bateaux à
vapeur sur les Grands Lacs. Le capitaine de leur plus grand bateau était
décédé subitement, et ils souhaitaient transmettre
un message à un autre capitaine qui vivait à environ quatorze
miles de la gare de Ridgeway, sur la ligne de chemin de fer. Ce capitaine
avait pris sa retraite, avait acquis une terre forestière et en
avait défriché une partie. M. Ward offrit à Edison
15 $ pour aller le chercher, mais comme la région était
sauvage et qu'il ferait sombre, Edison proposa 25 $, afin de pouvoir se
faire accompagner par un autre garçon. Les conditions furent acceptées.
Edison arriva à Ridgeway à 20 h 30, sous la pluie et dans
une obscurité totale. Trouvant difficilement un autre garçon
volontaire, il partit en mission dans la nuit noire. Les deux garçons
portaient des lanternes, mais la route était un sentier accidenté
à travers une forêt dense. La région était
sauvage, et il était courant de voir des peaux de cerfs, d'ours
et de ratons laveurs clouées sur les façades des maisons
pour sécher. Edison avait lu des articles sur les ours, mais ne
se souvenait plus s'ils rôdaient de jour ou de nuit. Plus ils avançaient,
plus ils devenaient craintifs, et chaque souche dans la forêt dévastée
ressemblait à un ours. L'autre garçon proposa de se réfugier
dans un arbre, mais Edison refusa, prétextant que les ours pouvaient
grimper et que le message devait être délivré cette
nuit-là pour permettre au capitaine de prendre le train du matin.
D'abord une lanterne s'éteignit, puis l'autre. Nous nous sommes
adossés à un arbre et avons pleuré. Je pensais que
si jamais je m'en sortais vivant, j'en saurais plus sur les habitudes
des animaux et tout le reste, et que je serais prêt à affronter
toutes sortes de mésaventures en entreprenant une telle entreprise.
Cependant, l'obscurité intense dilatait nos pupilles au point de
les rendre très sensibles, et nous distinguions à peine
par moments les contours de la route. Finalement, juste au moment où
une faible lueur du jour apparaissait, nous sommes entrés dans
la cour du capitaine et avons transmis le message. De toute ma vie, je
n'avais jamais vécu une nuit aussi horrible, mais j'en ai tiré
une bonne leçon.
Edison raconte un incident amusant de cette période.
« Quand j'étais enfant, raconte-t-il, le prince de Galles,
feu le roi Édouard, arriva au Canada (1860). De grands préparatifs
furent faits à Sarnia, la ville canadienne située en face
de Port Huron. Presque tous les garçons, moi y compris, se rendirent
sur place pour assister à l'événement. La ville était
drapée de drapeaux à profusion, et des tapis étaient
disposés sur les passages piétons pour que le prince puisse
y marcher. Il y avait des arches, etc. Une tribune fut construite au-dessus
du niveau général, où le prince devait être
reçu par le maire. Voyant tous ces préparatifs, je me faisais
une idée très haute du prince ; mais lorsqu'il arriva, je
le pris pour le duc de Newcastle, le duc étant un bel homme. Je
compris vite que je me trompais : le prince était un jeune adolescent
qui ne répondait pas aux attentes. Plusieurs d'entre nous exprimèrent
leur conviction qu'un prince n'était pas grand-chose, après
tout, et dirent que nous étions profondément déçus.
Car ce garçon fut fouetté. Bientôt, les Canadiens
attaquèrent les Yankees, et nous fûmes tous sévèrement
battus. Moi, Moi-même, j'ai eu un il au beurre noir. Cela
m'a toujours dissuadé de ce genre de cérémonie et
de folie. Il est certainement intéressant de noter que, plus tard,
le prince pour qui Edison a enduré l'ignominie d'un il au
beurre noir a généreusement compensé dans une lettre
gracieuse accompagnant la médaille d'or Albert décernée
par la Royal Society of Arts.
Un autre incident de la période est le suivant
:
Après avoir vendu des journaux à Port Huron, où je
n'arrivais souvent qu'à 21h30, je rentrais rarement avant 23h ou
23h30. À mi-chemin entre la gare et la ville, et à moins
de sept mètres de la route, dans un bois dense, se trouvait un
cimetière militaire où trois cents soldats étaient
enterrés, suite à une épidémie de choléra
survenue à Fort Gratiot, tout près, bien des années
auparavant. Au début, nous fermions les yeux et faisions courir
le cheval devant ce cimetière. Si le cheval marchait sur une brindille,
mon cur faisait un violent bond, et il est étonnant que je
ne souffre pas d'une valvulopathie. Mais bientôt, cette course du
cheval devint monotone, et au bout d'un moment, toute peur des cimetières
disparut complètement de mon organisme. J'étais dans l'état
de Sam Houston, le pionnier et fondateur du Texas, qui, disait-on, ne
connaissait pas la peur. Houston habitait assez loin de la ville et rentrait
généralement tard le soir, devant traverser un cyprès
sombre. Un marais au-dessus d'une route en velours côtelé.
Une nuit, pour tester sa prétendue intrépidité, un
homme se posta derrière un arbre et s'enveloppa dans un drap. Soudain,
il affronta Houston, et Sam s'arrêta et dit : « Si tu es un
homme, tu ne peux pas me faire de mal. Si tu es un fantôme, tu ne
veux pas me faire de mal. Et si tu es le diable, reviens avec moi ; j'ai
épousé ta sur ! »
On ne saurait toutefois déduire de certaines des
déclarations précédentes que le garçon était
d'un esprit exclusivement studieux. Il appréciait alors, comme
aujourd'hui, vivement la plaisanterie, sans aucune aversion particulière
pour la forme pratique. Un incident de l'époque est pertinent :
Après le déclenchement de la guerre, un régiment
de soldats volontaires était cantonné à Fort Gratiot,
la réserve s'étendant jusqu'à la limite de notre
maison. Presque chaque nuit, nous entendions un appel, tel que «
Caporal de la Garde, n° 1 ». Cela se répétait
de sentinelle en sentinelle jusqu'à la caserne, où le caporal
de la garde n° 1 venait voir ce qu'on voulait. Le petit Hollandais
et moi, de retour de la ville après avoir vendu nos journaux, avons
pensé nous occuper des affaires militaires. Alors, une nuit, alors
qu'il faisait très sombre, j'ai appelé le caporal de la
garde n° 1. La deuxième sentinelle, pensant que c'était
la sentinelle terminale qui criait, a répété l'appel
à la troisième, et ainsi de suite. Cela a fait parcourir
au caporal un demi-mille, pour finalement découvrir qu'il s'était
fait avoir. Nous l'avons essayé trois nuits ; mais la troisième
nuit, ils étaient surveillants, ont attrapé le petit Hollandais,
l'ont emmené au cachot du fort et l'ont enfermé. Ils m'ont
poursuivi jusqu'à la maison. Je me suis précipité
à la cave. Dans un petit appartement, il y avait deux barils de
pommes de terre et un troisième presque vide. J'ai versé
ces restes dans les autres barils, je me suis assis et j'ai tiré
le baril sur ma tête, cul en l'air. Les soldats avaient réveillé
mon père, et Ils me cherchaient avec des bougies et des lanternes.
Le caporal était absolument certain que j'étais entré
dans la cave, ne voyait pas comment j'avais pu en sortir et voulait savoir
auprès de mon père s'il n'y avait pas de cachette secrète.
Sur l'assurance de mon père, qui affirmait qu'il n'y en avait pas,
il dit que c'était tout à fait extraordinaire. J'étais
content qu'ils partent, car j'étais à l'étroit et
les pommes de terre qui avaient été dans le tonneau étaient
pourries et extrêmement nauséabondes. Le lendemain matin,
on me trouva au lit et mon père me donna une bonne fessée,
la première et la seule que je reçusse de lui, bien que
ma mère ait conservé une fessée derrière la
vieille horloge Seth Thomas dont l'écorce était usée.
Les idées de ma mère et les miennes divergeaient parfois,
surtout lorsque je m'essayais et que je faisais des erreurs. Le jeune
Hollandais fut libéré le lendemain matin.
4 - Le jeune opérateur télégraphique
« Lorsque j'étais vendeur de journaux sur
les chemins de fer », raconte Edison, « je me suis beaucoup
intéressé à l'électricité, probablement
en fréquentant les bureaux télégraphiques avec un
ami qui avait des goûts similaires aux miens. » On notera
également qu'il utilisait le télégraphe pour alimenter
son petit journal et diffuser ses nouvelles spéciales sur la guerre
de Sécession le long de la ligne. L'étape suivante était
naturelle, et comme ses connaissances en chimie lui permettaient de «
mettre en place » ses piles, les difficultés pour obtenir
l'appareil résidaient principalement dans les circuits et les instruments.
Les jeunes Américains d'aujourd'hui, s'ils ont l'esprit mécanique,
sont enclins à la télégraphie ou à la téléphonie
amateur, mais ils ont rarement, voire jamais, à construire une
partie du système. À l'époque où Edison était
encore jeune, la situation était bien différente, et le
matériel télégraphique était difficile à
obtenir. Mais lui et son « ami » disposaient d'une ligne reliant
leurs maisons, construite en fil de poêle ordinaire. Les isolateurs
étaient des bouteilles fixées sur des clous enfoncés
dans des arbres et de courts poteaux. Le fil magnétique était
enveloppé de chiffons pour l'isolation, et des morceaux de laiton
à ressort servaient de clés. Avec l'idée de sécuriser
le courant à moindre coût, Edison appliqua le peu qu'il savait
sur l'électricité statique et fit des expériences
sur des chats, qu'il traita vigoureusement comme des machines à
friction jusqu'à ce que les animaux s'enfuient, consternés.
Edison tira alors sa première grande leçon sur la valeur
relative des sources d'énergie électrique. La ligne fut
cependant mise en service et, outre les messages échangés
par les garçons, Edison s'entraîna ingénieusement.
Son père insista pour que le coucher soit à 23 h 30, ce
qui ne laissait qu'un court répit après la longue journée
de train. Mais chaque soir, lorsque le garçon rentrait chez lui
avec une liasse de journaux invendus en ville, son père veillait
pour lire les « consignés ». Edison, sous un prétexte
quelconque, laissa donc les journaux à son ami, mais suggéra
qu'il pourrait obtenir des nouvelles de lui par télégraphe,
petit à petit. Le projet intéressa son père et fut
mis à exécution : les messages furent écrits et remis
à la lecture. Cela produisit un bon entraînement chaque soir,
jusqu'à minuit et 13 heures, et dura quelque temps jusqu'à
ce que M. Edison consente à ce que son fils veille un temps raisonnable.
Les papiers furent ensuite rapportés à la maison, et les
garçons s'amusèrent à leur guise jusqu'à ce
que la ligne soit interrompue par une vache errante dans le verger. Entre-temps,
de meilleurs instruments avaient été acquis et les rudiments
de la télégraphie étaient déjà bien
maîtrisés.
Le train mixte sur lequel Edison était employé
comme vendeur de journaux effectuait le transport des marchandises et
les manuvres à la gare de Mount Clemens, y consacrant généralement
environ une demi-heure. Un matin d'août 1862, alors que les manuvres
étaient en cours et qu'un wagon chargé venait d'être
poussé hors d'une voie de garage, Edison, qui flânait sur
le quai, aperçut le petit fils du chef de gare, M. JU Mackenzie,
jouer avec le gravier de la voie principale, sur laquelle le wagon, sans
serre-frein, approchait rapidement. Edison laissa tomber ses journaux
et sa casquette et se précipita vers l'enfant, qu'il souleva et
mit en sécurité sans perdre une seconde, lorsque la roue
du wagon heurta son talon ; tous deux furent blessés au visage
et aux mains par le gravier sur lequel ils tombèrent. Les deux
garçons furent recueillis par les ouvriers du train et portés
jusqu'au quai. Le père, reconnaissant, proposa aussitôt d'enseigner
au sauveteur, qu'il connaissait et appréciait, l'art de la télégraphie
ferroviaire et d'en faire un opérateur. Inutile de préciser
que la proposition fut acceptée avec empressement.
Edison trouva le temps de se consacrer à ses nouvelles
études en confiant à un de ses amis le travail de vendeur
de journaux du train pendant une partie du trajet, se réservant
le trajet entre Port Huron et Mount Clemens. Il était déjà
bien qualifié pour un débutant, comme en témoigne
sa maîtrise du code Morse, l'alphabet télégraphique,
et la possibilité d'apporter à la gare un joli petit jeu
d'instruments qu'il venait de terminer de ses propres mains dans une armurerie
de Détroit. Il s'agissait probablement d'un exploit unique parmi
les opérateurs ferroviaires de l'époque ou des époques
ultérieures. L'exercice de l'étudiant consistait principalement
à acquérir les signaux spéciaux utilisés dans
le travail ferroviaire, notamment les chiffres et les abréviations
utilisés pour gagner du temps. Certains d'entre eux sont entrés
dans l'argot de l'époque, « 73 » étant bien
connu comme l'expression de compliments ou de vux des télégraphistes,
tandis que « 23 » est un message d'accident ou de décès,
et a acquis une signification populaire plus large en tant que synonyme
de « hoodoo ». Tout cela était facile pour Edison,
qui avait, de plus, comme le montrait son Herald, une familiarité
inhabituelle avec le mouvement des trains le long de cette portion de
la route du Grand Trunk.
Le jeune homme passa trois ou quatre mois agréablement
et fructueusement à ce programme d'études, et Edison s'y
enthousiasma, y ??consacrant pas moins de dix-huit heures par jour. Il
installa ensuite une petite ligne télégraphique reliant
la gare au village, sur une distance d'environ un mile, et ouvrit un bureau
dans une pharmacie ; mais l'entreprise était naturellement très
modeste. L'opérateur télégraphique de Port Huron,
connaissant ses compétences et souhaitant intégrer le Corps
télégraphique militaire des États-Unis, où
la solde était élevée à l'époque de
la guerre de Sécession, réussit à convaincre son
beau-frère, M. M. Walker, que le jeune Edison pouvait occuper ce
poste. Edison connaissait bien sûr les opérateurs le long
de la route et au terminal sud, et prit ses nouvelles fonctions très
facilement. Le bureau était situé dans une bijouterie, où
l'on vendait également des journaux et des périodiques.
Edison y était présent jour et nuit, y dormant. Je suis
devenu très précieux pour M. Walker. Après avoir
travaillé toute la journée, je travaillais aussi au bureau
la nuit, car un « rapport de presse » arrivait sur l'un des
fils jusqu'à 3 heures du matin, et je le copiais du mieux que je
pouvais pour devenir plus rapidement compétent. L'objectif d'un
télégraphiste rural était de pouvoir prendre des
nouvelles. M. Walker a essayé de convaincre mon père de
me faire un apprentissage à 20 dollars par mois, mais ils n'ont
pas accepté. J'ai alors postulé pour un emploi de télégraphiste
au Grand Trunk Railroad, et on m'a proposé un poste de nuit à
Stratford Junction, au Canada. » Apparemment, son ami Mackenzie
l'a aidé dans cette démarche. Le poste était rémunéré
25 dollars par mois. Sa famille n'a soulevé aucune objection sérieuse,
car la distance avec Port Huron n'était pas grande et Stratford
était proche de Bayfield, la vieille maison d'origine des Edison
; il y avait donc sans doute des amis, voire de la famille, dans les environs.
C'était en 1863.
M. Walker était un homme observateur qui, depuis,
a installé plusieurs systèmes d'adduction d'eau et obtenu
plusieurs brevets. Il décrit ce garçon de seize ans comme
étant absorbé par ses expériences et ses lectures
scientifiques, et plutôt indifférent, de ce fait, à
ses fonctions d'opérateur. Ce bureau n'était pas particulièrement
occupé, avec un salaire mensuel de 50 à 75 dollars, mais
même les messages reçus restaient non transmis pendant qu'Edison
était à la cave, en train de résoudre un problème
chimique. Le directeur le voyait parfois étudier un article dans
un journal comme le Scientific American, puis disparaître pour acheter
quelques articles pour ses expériences. Revenant de la pharmacie
avec ses produits chimiques, on ne le revoyait plus que lorsqu'il en avait
besoin, ou jusqu'à ce qu'il ait vérifié par lui-même,
si possible, de manière spontanée, si ce qu'il avait lu
était exact ou non. Une fois son expérience terminée,
tout intérêt s'envolait, et les bocaux et les fils étaient
abandonnés à leur sort. De la même manière,
Edison utilisait librement les outils d'horloger posés sur la petite
table de la vitrine, et y emportait les pinces à fils sans trop
se soucier de leur valeur, contrairement aux outils d'un monteur de lignes.
Son unique objectif était d'agir rapidement ; et cette même
témérité, presque irréfléchie, face
à tout ce qui lui tombait sous la main, tout en ressentant la ferveur
d'une nouvelle expérience, a été observée
à toutes les étapes de la carrière de l'inventeur.
On se souvient de l'imprudence de Palissy, lorsque, pour faire fondre
l'émail de ses poteries, il utilisa les meubles de sa maison comme
bois de chauffage.
M. Edison remarque qu'il y avait très peu de différences
entre le télégraphe de l'époque et celui d'aujourd'hui,
si ce n'est l'usage généralisé du vieux registre
Morse, dont les points et les traits étaient enregistrés
sur des bandes de papier découpées, que l'on pouvait lire
et vérifier ultérieurement à loisir si nécessaire.
Il explique : « Les télégraphistes ne savaient pas
expliquer son fonctionnement, et j'essayais toujours de les convaincre
de le faire. Je pense qu'ils n'y parvenaient pas. Je me souviens que la
meilleure explication que j'ai obtenue m'a été fournie par
un vieux réparateur de lignes écossaises employé
par la Montreal Telegraph Company, qui exploitait les lignes de chemin
de fer. Il disait que si vous aviez un chien comme un teckel, assez long
pour relier Édimbourg à Londres, si vous lui tiriez la queue
à Édimbourg, il aboierait à Londres. Je pouvais comprendre
cela, mais je n'ai jamais réussi à comprendre ce qui passait
par le chien ou par le fil. » Aujourd'hui, M. Edison est tout aussi
incapable de résoudre le mystère profond de la transmission
électrique. Et il n'est pas le seul. Lors du banquet donné
pour célébrer son jubilé en 1896 comme professeur
à l'Université de Glasgow, Lord Kelvin, le plus grand physicien
de notre temps, a admis, les larmes aux yeux et une note tragique dans
la voix, que lorsqu'il s'agissait d'expliquer la nature de l'électricité,
il en savait aussi peu que lorsqu'il avait commencé comme étudiant,
et qu'il avait presque l'impression que sa vie avait été
gâchée alors qu'il essayait de s'attaquer au grand mystère
de la physique.
Un autre épisode de cette période est curieux
dans la mesure où il révèle la ténacité
avec laquelle Edison a toujours conservé certaines de ses possessions
les plus anciennes avec un sentiment dattachement personnel :
« Alors que je travaillais à Stratford Junction »,
raconte-t-il, « un conducteur de train m'a dit que dans la gare
de marchandises de Goodrich se trouvaient plusieurs caisses de vieilles
batteries défectueuses. Je m'y suis rendu et j'ai trouvé
plus de quatre-vingts éléments de la célèbre
batterie à acide nitrique Grove. L'opérateur, qui était
également agent, lorsque je lui ai demandé si je pouvais
récupérer les électrodes de chaque élément,
en feuille de platine, m'a donné son accord sans hésiter,
pensant qu'elles étaient en étain. Je les ai toutes retirées,
soit plusieurs onces. Le platine, même à cette époque,
était très cher, coûtant plusieurs dollars l'once,
et je ne possédais que trois petites bandes. J'ai été
ravi de cette acquisition, et ces bandes et les débris retravaillés
sont encore utilisés aujourd'hui dans mon laboratoire, plus de
quarante ans plus tard. »
C'est à Stratford que l'inventivité d'Edison
s'est manifestée pour la première fois. Les horaires de
travail d'un opérateur de nuit s'étendent généralement
de 19 h à 7 h. Pour garantir son attention pendant son service,
il est souvent prévu que l'opérateur envoie le signal «
6 » au bureau du régulateur toutes les heures, de 21 h jusqu'à
sa relève par l'opérateur de jour. Edison savourait les
occasions d'étude et d'expérimentation que lui offraient
ses longues heures de liberté diurne, mais il avait besoin de sommeil,
comme tout jeune homme en bonne santé. Confronté à
la nécessité d'envoyer ce signal de veilleur pour prouver
qu'il était éveillé et en service, il construisit
une petite roue munie d'encoches sur sa jante et la fixa à l'horloge
de telle sorte que le veilleur de nuit puisse la mettre en marche lorsque
la ligne était calme. À chaque heure, la roue tournait et
envoyait avec précision les points nécessaires au «
sixing ». L'invention fut un succès, le dispositif étant,
en effet, similaire à celui des boîtes aux lettres modernes
; Mais on s'aperçut bientôt que, malgré la régularité
du signalement, « Sf » ne pouvait être émis,
même si un message de train était envoyé immédiatement
après. Une détection et une réprimande arrivèrent
en temps voulu, mais elles ne furent pas prises très au sérieux.
Un grave accident le chassa peu après du Canada,
même si le jeune homme ne pouvait guère en être tenu
responsable. Edison raconte : « Ce travail de nuit me convenait
parfaitement, car je pouvais avoir toute la journée pour moi. J'avais
la faculté de dormir sur une chaise à tout moment, quelques
minutes à la fois. J'apprenais mon métier au garde de nuit,
afin de pouvoir dormir une demi-heure de temps en temps entre deux trains,
et si la gare était appelée, le veilleur me réveillerait.
Une nuit, j'ai reçu l'ordre de retenir un train de marchandises,
et j'ai répondu que je le ferais. Je me suis précipité
pour trouver le signaleur, mais avant que je puisse le trouver et régler
le signal, le train est passé. J'ai couru au bureau du télégraphe
et j'ai signalé que je ne pouvais pas le retenir. La réponse
a été : « Merde ! » Le régulateur de
train, sur la foi de mon message selon lequel je retiendrais le train,
avait autorisé un autre à quitter la dernière gare
en sens inverse. Il y avait une gare plus basse près du carrefour
où dormait le conducteur de jour. Je m'y suis rendu à pied.
La nuit était noire, je suis tombé dans un ponceau et j'ai
perdu connaissance. Grâce à la vigilance des deux conducteurs
de locomotive, qui se voyaient approcher sur la voie unique et rectiligne,
rien de plus terrible n'est arrivé que la convocation du conducteur
insouciant devant le directeur général à Toronto.
Arrivé au bureau du directeur, son procès pour négligence
fut heureusement interrompu par l'appel de deux Anglais ; et tandis que
leur conversation se poursuivait, Edison se glissa discrètement
hors de la pièce, se précipita au dépôt de
marchandises du Grand Trunk, trouva un conducteur de train de marchandises
qu'il connaissait et qui conduisait un train de marchandises pour Sarnia,
et ne fut satisfait que lorsque le traversier de Sarnia l'eut de nouveau
débarqué sur la côte du Michigan. Le Grand Trunk doit
toujours à M. Edison le salaire qui lui était dû au
moment où il s'est ainsi retiré de son service, mais la
réclamation n'a jamais été formulée.
Au cours du même hiver 1863-1864, alors qu'il se
trouvait à Port Huron, Edison eut une nouvelle occasion de faire
preuve d'ingéniosité. Un embâcle avait rompu le câble
télégraphique léger posé dans le lit de la
rivière jusqu'à Sarnia, interrompant ainsi les communications.
La rivière, large de 1,2 km, était infranchissable à
pied ; le câble ne pouvait pas non plus être réparé.
Edison suggéra aussitôt d'utiliser le sifflet à vapeur
de la locomotive et, en manipulant la valve, convertit les brefs et longs
sifflements aigus en code Morse. Un opérateur sur la rive de Sarnia
comprit rapidement la signification de cet étrange sifflement,
et des messages furent ainsi transmis par radio par-dessus les glaces
flottantes. On raconte que de tels signaux étaient également
échangés par les télégraphistes militaires
pendant la guerre, et Edison en avait peut-être entendu parler ;
quoi qu'il en soit, il fit preuve d'ingéniosité et de ressources
en appliquant cette méthode pour répondre à la nécessité.
Il est intéressant de noter qu'à cet endroit, le Grand Tronc
possède désormais son tunnel St. Clair, à travers
lequel les trains sont tirés sous le lit de la rivière par
des locomotives électriques.
Edison avait alors inconsciemment entamé les vagabondages
qui le menèrent pendant les cinq années suivantes à
travers les États du Centre, et qui auraient pu ruiner la carrière
de tout individu moins persévérant et travailleur. Cette
période de sa vie correspondait aux années de voyage de
l'artisan allemand, et constituait un moyen facile de satisfaire son goût
du voyage sans risquer les privations. Aujourd'hui, le télégraphiste
est peu tenté de se rendre dans des régions éloignées
du pays pour gagner sa vie à la clé. Les rangs sont bien
pourvus partout, et ces dernières années, le télégraphe,
en tant qu'art ou industrie, a connu une expansion relativement faible,
principalement grâce au développement de la téléphonie.
Ainsi, si des postes se libèrent, les opérateurs sont nombreux,
et les salaires sont restés si bas qu'ils ont provoqué une
ou deux grèves redoutables et coûteuses, qui, malheureusement,
ne tenaient pas compte des conditions économiques de l'offre et
de la demande. Mais à l'époque de la guerre de Sécession,
il y avait une grande pénurie de manipulateurs habiles de la clé.
Environ mille cinq cents des meilleurs opérateurs du pays étaient
au front, du seul côté fédéral, et plusieurs
centaines d'autres s'étaient engagés. Cela créa une
grave pénurie, et un opérateur nomade se rendant dans n'importe
quel centre télégraphique était assuré de
trouver une place libre. À la fin de la guerre, la majorité
de ceux qui avaient servi dans les deux armées opposées
restèrent à la clé dans un contexte plus pacifique,
mais le développement rapide des réseaux commerciaux et
ferroviaires suscita une nouvelle demande, et pendant un temps, il sembla
presque impossible de former de nouveaux opérateurs assez rapidement.
En quelques années, cependant, le téléphone connut
un essor fulgurant, à partir de 1876, attirant certains des esprits
les plus aventureux du télégraphe ; et l'influence dissuasive
du téléphone sur le télégraphe s'était
fait sentir dès 1890. L'expiration des principaux brevets téléphoniques
de Bell, cinq ans plus tard, accentua encore plus fortement le frein qui
avait été mis sur la télégraphie, alors que
des centaines et des milliers de compagnies de téléphone
« indépendantes » s'organisèrent alors, jetant
un vaste réseau de lignes à péage sur l'Ohio, l'Indiana,
l'Illinois, l'Iowa et d'autres États, et offrant des moyens de
communication bon marché et instantanés sans aucune nécessité
de l'intervention d'un opérateur.
On constate que les temps ont radicalement changé
depuis qu'Edison est devenu télégraphiste, et qu'à
cet égard, un chapitre de l'histoire de l'électricité
est définitivement clos. Il fut un temps où cet art offrait
une carrière à part entière à tous ses praticiens,
et où les jeunes hommes ambitieux et de bonne famille étaient
impatients de débuter, même comme messagers, et prêts
à subir l'épreuve d'un apprentissage rigoureux, convaincus
d'accéder à des postes à responsabilités et
à la rentabilité. Parallèlement, les opérateurs
ont toujours eu la perspicacité de considérer le télégraphe
comme un tremplin vers d'autres carrières. Un jeune homme brillant
entrant aujourd'hui dans le service télégraphique trouve
précieuse l'expérience qu'il peut y acquérir, mais
il se rend vite compte qu'il n'existe pas suffisamment de postes officiels
bien rémunérés pour donner sa chance à chaque
homme méritant une fois qu'il aura maîtrisé les fondamentaux
de l'art. Il estime donc que rester à la pointe de la technologie
implique soit la stagnation, soit la dégradation, et qu'après,
disons, vingt-cinq ans de pratique, il aura perdu du terrain par rapport
à ses amis qui ont débuté dans d'autres métiers.
Le métier d'opérateur, appris sans grande difficulté,
est très attrayant pour un jeune homme, mais un poste clé
n'est pas fait pour un homme d'âge mûr. Ses services, à
de rares exceptions près, perdent de leur valeur avec l'âge
et la tension nerveuse l'épuise. Au contraire, les hommes exerçant
d'autres professions constatent généralement qu'ils s'améliorent
et progressent avec l'expérience, et que l'âge apporte de
plus grandes récompenses et opportunités.
La liste des Américains célèbres
diplômés de la Key est véritablement extraordinaire,
et il n'est pas un domaine de notre vie nationale où ils ne se
soient distingués. Le contraste, à cet égard, entre
eux et leurs collègues européens est très significatif.
En Europe, les systèmes télégraphiques sont tous
gérés par l'État, les opérateurs ont des possibilités
de promotion très limitées et, au mieux, la transition d'un
type d'emploi à un autre n'est pas aussi aisée qu'au Nouveau
Monde. Mais aux États-Unis, nous avons vu Rufus Bullock devenir
gouverneur de Géorgie et Ezra Cornell gouverneur de New York. Marshall
Jewell était ministre des Postes du cabinet du président
Grant, et Daniel Lamont secrétaire d'État sous celui du
président Cleveland. Le général T. T. Eckert, ancien
président de la Western Union Telegraph Company, était secrétaire
adjoint à la Guerre sous le président Lincoln ; et Robert
J. Wynne, par la suite consul général, était ministre
adjoint des Postes. Une très grande proportion des présidents
et des dirigeants des grands réseaux ferroviaires sont d'anciens
télégraphistes, notamment MM. WC Brown, président
du New York Central Railroad, et Marvin Hughitt, président du Chicago
& North Western Railroad. Dans le monde industriel et financier, on
compte notamment Theodore N. Vail, président du réseau téléphonique
Bell ; LC Weir, ancien président de l'Adams Express ; AB Chandler,
président de la Postal Telegraph and Cable Company ; Sir W. Van
Home, associé au développement canadien ; Robert C. Clowry,
président de la Western Union Telegraph Company ; DH Bates, directeur
du télégraphe de Baltimore & Ohio pour Robert Garrett
; et Andrew Carnegie, le plus grand maître de forges que le monde
ait jamais connu, ainsi que son plus grand philanthrope. Dans le journalisme,
on compte des leaders comme Edward Rosewater, fondateur de l'Omaha Bee
; W.J. Elverson, du Philadelphia Press ; et Frank A. Munsey, éditeur
d'une demi-douzaine de grands magazines. George Kennan a acquis une renommée
littéraire, tandis que Guy Carleton et Harry de Souchet ont connu
le succès comme dramaturges. Ces exemples ne sont que des exemples
parmi des centaines d'hommes qui, après avoir travaillé
au sein de l'État, sont devenus des leaders reconnus dans divers
domaines d'activité.
Mais le vagabondage n'a jamais favorisé la formation
d'habitudes stables. Les jeunes hommes qui erraient ainsi à travers
le pays, d'un bureau télégraphique à l'autre, étaient
souvent de brillants opérateurs, réputés pour leur
rapidité d'envoi et de réception, mais ils manquaient de
discipline, n'étaient pas soumis aux contraintes de la vie familiale
et étaient si bien payés qu'ils pouvaient s'adonner librement
à la débauche s'ils le souhaitaient. Soumis à une
tension nerveuse pendant des heures au bureau, nombre d'entre eux se mirent
malheureusement à boire et, après avoir mis fin à
un engagement en ville par une débauche qui leur fermait les portes
du bureau, ils s'en allaient vers la ville la plus proche, où,
ayant trouvé du travail, ils réitéraient l'exploit.
À une certaine époque, ces hommes étaient si nombreux
et si visibles qu'ils constituaient un type que le public était
disposé à accepter comme représentatif de la communauté
télégraphique ; mais lorsque les conditions qui l'avaient
créé cessèrent d'exister, l'« opérateur
vagabond » entra également dans l'histoire. C'est pourtant
parmi de tels personnages qu'Edison fut en grande partie jeté dans
ces premiers jours de dérive sans but, pour apprendre peut-être
quelque chose de leur philosophie de vie nonchalante, partageant le lit
et la nourriture avec eux dans toutes sortes de conditions défavorables,
mais maintenant toujours une abstinence stoïque, et ne ressentant
jamais autre chose qu'un vif regret pour le gaspillage de tant de véritables
capacités et de gentillesse de la part de ces chevaliers errants
de la clé dont le destin inévitable aurait si facilement
pu être le sien.
Une telle classe ou un tel groupe d'hommes peut toujours
être représenté par un type individuel, et celui-ci
est assurément le mieux incarné par Milton F. Adams, l'un
des premiers et plus proches amis d'Edison, auquel nous ferons référence
dans les chapitres suivants, et dont la vie fut si riche en aventures
qu'il pourrait bien être considéré comme le Gil Blas
moderne. Cette carrière mérite certainement d'être
racontée comme « une autre histoire », pour reprendre
l'expression de Kipling. Edison dit de lui : « Adams faisait partie
de ces opérateurs qui ne se contentaient jamais de travailler longtemps
au même endroit. Il avait le goût du voyage. »
Après avoir profité de l'hospitalité à Boston
en 1868-1869, sur le sol de ma chambre d'entrée, qui était
un paradis pour l'entomologiste, alors que la pension elle-même
fonctionnait selon le système banting de réduction de chair,
il est venu me voir un jour et m'a dit : « Au revoir, Edison ; j'ai
soixante cents et je pars pour San Francisco. » Et il y est allé.
Comment, je ne l'ai jamais su personnellement. J'ai appris plus tard qu'il
avait trouvé un emploi là-bas, et qu'en moins d'une semaine,
les télégraphistes avaient déclenché une grève.
Il s'était procuré une grosse torche et avait vendu des
médicaments brevetés dans les rues la nuit pour soutenir
les grévistes. Puis il est parti au Pérou comme associé
d'un homme qui possédait un grizzly et qu'ils proposaient de le
faire affronter un taureau dans les arènes de cette ville. Le grizzly
a été tué en cinq minutes, et le projet a échoué.
Adams a ensuite traversé les Andes et a créé un bureau
d'études de marché à Buenos Aires. Cela n'a pas payé,
alors il a ouvert un restaurant à Pernambouc, au Brésil.
Là-bas, il a très bien réussi, mais un problème
est survenu (comme toujours pour un nomade), alors il est allé
au Transvaal et a dirigé un panorama intitulé « Paradis
perdu » dans les kraals cafres. Cela n'a pas payé, et il
est devenu rédacteur en chef d'un journal ; puis il est allé
en Angleterre lever des fonds pour un chemin de fer dans la colonie du
Cap. Ensuite, j'ai entendu parler de lui à New York, alors qu'il
venait d'arriver de Bogota, États-Unis de Colombie, muni d'une
procuration et de 2 000 dollars d'un natif de cette république,
qui avait déposé un brevet pour tendre une courroie afin
de l'empêcher de glisser sur une poulie un dispositif qu'il
considérait comme une invention nouvelle et remarquable, mais qui
était utilisé depuis l'invention des machines. J'ai alors
proposé à Adams un poste de représentant en appareils
électriques. Il s'en est vite lassé et je l'ai perdu de
vue. Adams, évoquant cet épisode, raconte que lorsqu'il
demanda le remboursement de ses frais de transport pour Saint-Louis, Edison
sortit de sa poche un billet de ferry pour Hoboken et dit à ses
associés : « Je lui donne ça, et il arrivera sans
encombre. » C'était aux débuts de l'éclairage
électrique ; mais jusqu'à présent, les pérégrinations
de ce génie polyvalent de la clé n'ont jamais cessé
d'un hémisphère à l'autre, de sorte que, comme M.
Adams lui-même le fit remarquer aux auteurs en avril 1908 : «
La vie a été quelque peu variée, mais jamais monotone.
»
Il n'en demeure pas moins que, tout au long de cette période,
Edison, tout en étant lui-même un véritable Ismaël,
n'a cessé d'étudier, d'explorer, d'expérimenter.
Évoquant ce début de carrière, il mentionne un fait
curieux qui éclaire son application incessante. « Devenu
télégraphiste », dit-il, « je me suis longtemps
exercé à lire rapidement les textes imprimés, et
j'ai acquis une telle expertise que je pouvais saisir le sens d'une ligne
entière d'un coup. Cette faculté, je crois, devrait être
enseignée à l'école, car elle semble facile à
acquérir. On peut alors lire deux ou trois livres par jour, alors
que si l'on ne perçoit que chaque mot à la fois, la lecture
devient laborieuse. »
5 - Des années difficiles dans le Centre-Ouest
En 1903, lorsqu'il accepta le poste d'électricien
honoraire à l'Exposition internationale de Saint-Louis de 1904,
pour commémorer le centenaire de l'achat de la Louisiane, M. Edison
parla dans sa lettre du Centre-Ouest comme d'une « région
où, jeune télégraphiste, j'ai passé de nombreuses
années pénibles avant de migrer vers l'Est ». Cette
période d'essai ne prit fin qu'en 1868, et pendant sa durée,
les pérégrinations d'Edison le menèrent de Détroit
à La Nouvelle-Orléans, puis, entre autres, à Indianapolis,
Cincinnati, Louisville et Memphis, dont il visita certaines à deux
reprises lors de ses pérégrinations pour trouver du travail.
Du Canada, après les épisodes relatés dans le chapitre
précédent, il se rendit à Adrian, dans le Michigan,
et Edison raconte ce qui s'y passa de manière caractéristique
de ses pérégrinations des années suivantes :
Après avoir quitté mon premier emploi à Stratford
Junction, j'ai obtenu un poste d'opérateur sur le Lake Shore et
Michigan Southern à Adrian, dans le Michigan, au bureau du surintendant
de division. Comme d'habitude, j'ai opté pour le « tour de
nuit », que la plupart des opérateurs détestaient,
mais que je préférais, car cela me donnait plus de temps
pour expérimenter. J'avais obtenu du chef de gare une petite pièce
et j'avais ouvert mon propre atelier. Un jour, l'opérateur de jour
a voulu descendre, et j'étais de service. Vers 9 heures, le surintendant
m'a remis une dépêche qu'il a dite très importante
et que je devais déposer immédiatement. Le fil était
alors très chargé, et j'ai demandé si je pouvais
forcer l'entrée. J'ai reçu l'ordre de le faire, et agissant
sur ordre du surintendant, j'ai forcé l'entrée et essayé
d'envoyer la dépêche ; mais l'autre opérateur ne l'a
pas permis, et la lutte a continué pendant dix minutes. Finalement,
j'ai pris possession du fil et j'ai envoyé le message. Le surintendant
du télégraphe, qui vivait alors à Adrian, s'est rendu
à « Mon collègue, qui travaillait tous les jours à
son bureau de Toledo, se trouvait ce jour-là au bureau de Western
Union, en centre-ville et c'était le surintendant qui me
posait vraiment problème ! Une vingtaine de minutes plus tard,
il arrivait, furieux, et je fus renvoyé sur-le-champ. Je l'ai informé
que le surintendant général m'avait demandé d'entrer
par effraction et d'envoyer la dépêche, mais celui-ci a immédiatement
désavoué toute l'affaire. Leurs familles étaient
proches, j'étais donc sacrifié. Ma foi en la nature humaine
en a été légèrement ébranlée.
»
Edison se rendit ensuite à Toledo et obtint un
poste à Fort Wayne, sur le chemin de fer Pittsburg, Fort Wayne
et Chicago, désormais loué au réseau de Pennsylvanie.
C'était un emploi de jour, et il ne l'appréciait guère.
Deux mois plus tard, il partit pour Indianapolis, où il arriva
à l'automne 1864. Il fut d'abord affecté à la gare
Union, pour un salaire de 75 dollars par mois, pour la Western Union Telegraph
Company, dont il fut alors membre et avec laquelle il allait entretenir
des relations étroites et importantes pendant une grande partie
de sa vie. Le surintendant Wallick semble l'avoir traité avec générosité
et lui avoir prêté des instruments, une gentillesse grandement
appréciée. Vingt ans plus tard, l'inventeur rendit visite
à son ancien employeur et, ensemble, ils visitèrent l'endroit
où l'appareil emprunté avait été monté
sur une planche brute dans le dépôt. Edison ne resta cependant
pas longtemps à Indianapolis : il démissionna en février
1865 et se rendit à Cincinnati. Ce transfert était peut-être
dû à des problèmes causés par l'une de ses
premières inventions, qui incarnait ce qu'un expert a qualifié
de « probablement le système de connexions le plus simple
et le plus ingénieux pour un répéteur ». Son
ambition était de prendre des « reportages de presse »,
mais constatant, même après une longue pratique, qu'il «
se cassait » fréquemment, il ajusta deux registres Morse
de gaufrage : l'un pour recevoir le texte de presse, l'autre pour répéter
les points et les traits à une vitesse inférieure, afin
que le message puisse être copié tranquillement. Ainsi, il
ne pouvait être ni pressé ni « cassé »
à la réception, tout en produisant un texte d'une netteté
et d'une clarté exceptionnelles. Tout allait bien tant que les
conditions étaient normales, mais lorsqu'une pression inhabituelle
survenait, le petit système prenait du retard, et les journaux
se plaignaient de la lenteur avec laquelle les reportages leur parvenaient.
Il est facile de comprendre qu'avec un texte reçu à un rythme
de quarante mots par minute et traité à vingt-cinq mots
par minute, un encombrement ou un retard important en résultait,
et les journaux étaient plus soucieux des nouvelles que d'une écriture
soignée.
6 - À propos de cet appareil, M. Edison remarque
:
Nous avons travaillé ensemble pendant plusieurs
nuits, mon compagnon réglant l'appareil et moi reproduisant. L'opérateur
habituel allait au théâtre ou faisait la sieste, ne terminant
le reportage qu'après 1 heure du matin. L'un des journaux s'est
plaint d'une mauvaise qualité de rédaction vers la fin du
reportage c'est-à-dire de 1 heure à 3 heures du matin
et a demandé à l'opérateur qui s'occupait
du reportage jusqu'à 1 heure du matin c'est-à-dire
nous-mêmes de tout reprendre, le texte étant alors
parfaitement irréprochable. Cela a conduit à une enquête
du directeur, et le stratagème a été interdit.
« De nombreuses années plus tard, j'ai utilisé
cet instrument pour transférer des messages d'un fil à un
autre, simultanément ou après un intervalle de temps donné.
Il s'agissait d'un disque de papier dont les empreintes formaient une
spirale en volute, exactement comme sur les phonographes à disque
actuels. C'est cet instrument qui m'a donné l'idée du phonographe
lorsque je travaillais sur le téléphone. »
Arrivé à Cincinnati, où il trouva
un emploi au service télégraphique commercial de la Western
Union pour un salaire de 60 dollars par mois, Edison fit la connaissance
de Milton F. Adams, déjà surnommé « prince
facile », le télégraphiste typique dans toute sa sociabilité
et son génie. À propos de cette époque, M. Adams
raconte :
Je me souviens très bien de l'époque où Edison est
arrivé pour trouver un emploi. C'était un jeune homme d'environ
dix-huit ans, à la tenue vestimentaire peu engageante et aux manières
plutôt grossières. J'avais vingt et un ans et j'étais
plutôt rustre. Il était assez maigre à l'époque,
et son nez proéminent lui donnait un air napoléonien, même
si cette curieuse ressemblance ne m'avait pas frappé sur le moment.
Les garçons ne l'appréciaient pas beaucoup, et il était
solitaire. J'ai sympathisé avec lui, et nous sommes devenus proches.
En tant qu'opérateur, il n'avait pas de supérieurs et très
peu d'égaux. La plupart du temps, il jouait avec les piles et les
circuits, et imaginait des solutions pour rendre le travail de télégraphie
moins pénible. Il rompait également la monotonie du travail
de bureau en aménageant les circuits de piles pour faire des farces
à ses collègues opérateurs et pour lutter contre
la vermine qui infestait les locaux. Il installait dans la cave ce qu'il
appelait son « paralyseur à rats », un dispositif très
simple composé de deux plaques isolées. Les deux plaques
étaient séparées les unes des autres et reliées
à la batterie principale. Elles étaient disposées
de telle sorte que lorsqu'un rat passait dessus, les pattes avant d'une
plaque et les pattes arrière de l'autre fermaient le circuit, et
le rat quittait la vie, électrocuté.
Peu après l'arrivée d'Edison à Cincinnati,
la guerre de Sécession prit fin et le président Lincoln
fut assassiné. Il était naturel que les télégraphistes
s'intéressent de près à cette lutte générale,
car non seulement ils traitaient toutes les informations qui s'y rapportaient,
mais nombre d'entre eux y participèrent personnellement, à
un moment ou à un autre. Par exemple, l'un des opérateurs
du bureau de Cincinnati était George Ellsworth, télégraphiste
de Morgan, le célèbre guérillero sudiste, qui l'accompagnait
lors de son raid en Ohio et fut capturé près de la frontière
de Pennsylvanie. Ellsworth lui-même s'en sortit de justesse en traversant
l'Ohio à la nage, aidé d'une mule militaire. On peut pourtant
apprécier la froideur avec laquelle certains hommes travaillaient,
d'après une anecdote que M. Edison raconte à propos de cette
terrible nuit du vendredi 14 avril 1865 : « J'ai remarqué,
dit-il, une foule immense se rassemblant dans la rue devant les bureaux
d'un journal. J'ai attiré l'attention des autres opérateurs
sur la foule, et nous avons envoyé un messager chercher la cause
de cette agitation. Il est revenu quelques minutes plus tard et a crié
: « Lincoln a été tué. » Instinctivement,
les opérateurs ont regardé les visages les uns après
les autres pour voir qui avait reçu la nouvelle. Tous les visages
étaient impassibles, et chacun a affirmé n'avoir rien compris
à la fusillade. « Regardez vos dossiers », a dit le
patron à l'homme chargé des dossiers de presse. Nous avons
attendu quelques instants, l'air perplexe, puis l'homme a brandi une feuille
de papier contenant un bref compte rendu de l'assassinat du Président.
L'opérateur avait travaillé si machinalement qu'il avait
traité la nouvelle sans la moindre idée de sa signification.
» M. Adams raconte qu'au moment où la ville était
en fête à cause de la fin de la guerre, le nom de l'assassin
fut reçu par télégraphe, et on remarqua avec horreur
qu'il s'agissait du frère d'Edwin Booth et de Junius Brutus Booth
ce dernier jouant alors au vieux Théâtre National.
Booth fut emmené en toute hâte dans un lieu retiré,
et le lendemain matin, la ville, si illuminée par les banderoles
toute la nuit, était drapée de deuil.
Les divertissements d'Edison à Cincinnati étaient
principalement ceux déjà observés. Il lisait beaucoup,
mais consacrait la plupart de ses loisirs à l'expérimentation.
M. Adams remarque :
Edison et moi étions passionnés de tragédie. Forrest
et John McCullough jouaient au Théâtre National, et lorsque
notre capital le permettait, nous allions voir ces éminents tragédiens
jouer alternativement Othello et Iago. Edison appréciait toujours
beaucoup Othello. Hormis une visite occasionnelle au jardin Loewen «
outre-Rhin », avec un verre de bière et quelques bretzels,
le tout dégusté au son de l'excellente musique d'un orchestre
allemand, le théâtre était le summum de notre ingénieuse
distraction.
Le bureau de Cincinnati, en tant que point central, semble
avoir attiré de nombreux jeunes opérateurs talentueux qui
y ont accédé à des postes à plus hautes responsabilités.
Certains d'entre eux se sont distingués par leurs compétences
et leur polyvalence. M. Adams raconte cette histoire intéressante
à titre d'illustration : « LC Weir, ou Charlie, comme on
l'appelait alors, agent de la Adams Express Company, avait la capacité
remarquable de prendre des messages et de les recopier avec vingt-cinq
mots de retard sur l'expéditeur. Un jour, il entra dans la salle
d'opération et, passant devant une table, entendit Louisville appeler
Cincinnati. Il tendit la main vers la touche et répondit. Mon attention
fut attirée par le fait qu'il s'éloigna après avoir
répondu, et que l'expéditeur était un bon expéditeur.
Weir demanda froidement un stylo, et lorsqu'il s'assit, l'expéditeur
avait juste un message devant lui, avec date, adresse et signature. Charlie
commença et, d'une belle grande écriture ronde, recopie
le message. L'expéditeur poursuivit sa route et, après avoir
terminé avec six messages, referma sa touche. Lorsque Weir eut
terminé avec le dernier, l'expéditeur commença à
penser qu'après tout, il n'y avait pas eu de destinataire, car
Weir ne s'était pas « débranché », mais
avait simplement donné son accord. Il devint par la suite président
de l'Adams Express et fut assurément un opérateur remarquable.
» La salle d'opération en question se trouvait au cinquième
étage de l'immeuble, sans ascenseur.
C'étaient les débuts du syndicalisme télégraphique,
et ce mouvement ne s'éteindra probablement jamais complètement
dans ce métier qui a toujours fait preuve d'une telle solidarité.
Pendant qu'Edison était à Cincinnati, une délégation
de cinq opérateurs syndicaux est venue de Cleveland pour former
une section locale, et l'occasion s'est révélée très
conviviale. La nuit est tombée, mais les syndicalistes brillaient
par leur absence, même si plusieurs circuits ne toléraient
pas les retards et réclamaient à cor et à cri leur
attention huit syndicalistes locaux étant absents. Le télégramme
de Cleveland était particulièrement sollicité, et
Edison, presque seul au bureau, s'y consacra toute la nuit et jusqu'à
3 heures du matin le lendemain, heure à laquelle il fut relevé.
Il gagnait auparavant 80 dollars par mois et gagnait sa
vie en copiant des pièces de théâtre. Son classement
était celui d'un opérateur de « prise » ou de
niveau inférieur ; mais il était déterminé
à se hisser au rang des opérateurs de premier ordre et avait
conservé l'habitude d'aller au bureau le soir pour « copier
la presse », remplaçant volontiers tout opérateur
désireux de s'absenter quelques heures ce qui signifiait
souvent toute la nuit. Évoquant cette épreuve particulière,
à laquelle il s'était ainsi inconsciemment préparé,
Edison raconte :
Mon exemplaire paraissait correct vu dans son ensemble, car je pouvais
écrire une ligne parfaitement droite sur la large feuille, non
réglée. Il n'y avait pas de fioritures, mais les lettres
individuelles ne supportaient pas un examen attentif. Quand je ne comprenais
pas un mot, je n'avais pas le temps de réfléchir à
ce que c'était, alors j'en faisais un illisible à compléter,
faisant confiance aux imprimeurs pour le deviner. Je savais qu'ils pouvaient
tout lire, même si M. Bloss, rédacteur en chef de l'Inquirer,
faisait une si mauvaise copie qu'un de ses éditoriaux fut affiché
sur le panneau d'affichage du bureau du télégraphe, avec
une offre d'un dollar à quiconque pourrait « lire vingt mots
consécutifs ». Personne ne l'a jamais fait. Une fois terminé,
j'étais trop nerveux pour rentrer chez moi, alors j'ai attendu
le reste de la nuit le directeur de jour, M. Stevens, pour voir ce qui
allait advenir de cette formation syndicale et de mes efforts. C'était
un homme austère, et j'avais peur de lui. J'ai reçu les
journaux du matin, qui sont sortis à 4 heures du matin, et l'article
de presse était parfaitement lisible, ce qui m'a beaucoup surpris.
Je suis allé travailler sur mon télégramme habituel
de jour pour Portsmouth, dans l'Ohio, et l'excitation était grande,
mais on ne m'a rien dit, et M. Stevens n'a pas non plus examiné
le texte sur le crochet du bureau, que j'observais avec grand intérêt.
Cependant, vers 15 heures, il s'est dirigé vers le crochet, a pris
le paquet et l'a examiné dans son ensemble sans l'examiner en détail,
ce dont je lui ai été reconnaissant. Puis il l'a remis sur
le crochet, et j'ai su que tout allait bien. Il s'est approché
de moi et m'a dit : « Jeune homme, je veux que vous travailliez
sur le télégramme de Louisville de nuit ; votre salaire
sera de 125 dollars. » C'est ainsi que je suis passé de la
classification de simple employé à celle d'« homme
de première classe ».
Mais à peine cette promotion obtenue, il reprit
ses pérégrinations vers le sud, tandis que son ami Adams
se dirigeait vers le nord, sans qu'aucun des deux ne rencontre de difficulté.
« À cette époque, les jeunes gens disposaient de facilités
de déplacement extraordinaires. Il leur suffisait généralement
de monter dans un train et de déclarer au conducteur qu'ils étaient
opérateurs. Ensuite, ils pouvaient aller aussi loin qu'ils le souhaitaient.
Les opérateurs étaient peu nombreux et recherchés
partout. » C'est ainsi qu'Edison se dirigea vers le sud, jusqu'à
Memphis, dans le Tennessee, où le service télégraphique
était alors soumis à la loi militaire, même si les
opérateurs recevaient 125 dollars par mois. Là encore, Edison
commença à inventer et à améliorer les appareils
existants, ce qui l'obligea une fois de plus à « passer à
autre chose ». L'histoire peut être racontée dans son
langage concis :
Je n'étais pas l'inventeur du répétiteur automatique,
mais pendant mon séjour à Memphis, j'en ai travaillé
sur un. Apprenant que l'opérateur en chef, un protégé
du surintendant, tentait tant bien que mal de relier New York et La Nouvelle-Orléans
pour la première fois depuis la fin de la guerre, je redoublai
d'efforts et, un matin, à 2 heures, je les parvins à communiquer.
Le bureau de l'Avalanche de Memphis se trouvait dans le même bâtiment.
Le journal en eut vent et envoya des messages. Une chronique parut le
matin même à ce sujet ; mais lorsque je me rendis au bureau
l'après-midi pour prendre mon service, je fus renvoyé sans
explication. Le surintendant refusa même de me donner un laissez-passer
pour Nashville, et je dus donc payer mon billet. Il me restait si peu
d'argent que je faillis mourir de faim à Decatur, en Alabama, et
dus rester trois jours avant de poursuivre ma route vers Nashville, au
nord. Arrivé dans cette ville, je me rendis au bureau du télégraphe,
réunis assez d'argent pour acheter un peu de nourriture et obtins
un laissez-passer pour Louisville. J'étais accompagné d'un
compagnon qui était Je me suis également retrouvé
sans emploi. Je suis arrivé à Louisville par un froid glacial,
avec du verglas dans les caniveaux. Je portais un cache-poussière
en lin et je n'étais pas très beau à voir, mais j'ai
tout de suite trouvé un poste, travaillant sur un dépêche
de presse. Mon compagnon de voyage a eu moins de succès à
cause de son « passé ». Ils avaient des limites, même
à cette époque où le service télégraphique
était si démoralisé.
Certains souvenirs de M. Edison sont intéressants
car ils portent non seulement sur le service télégraphique
« démoralisé », mais aussi sur les conditions
dont le Nouveau Sud a dû sortir tout en travaillant à son
salut :
Le télégraphe était encore sous contrôle
militaire, n'ayant pas été remis à ses propriétaires
d'origine, la Southern Telegraph Company. Outre les effectifs réguliers,
il y avait une force supplémentaire de deux ou trois opérateurs,
et quelques-uns en panne, qui nous pesaient, car le prix du logement était
élevé. L'un de ces épaves était pour moi une
grande source d'inquiétude. Il arrivait à toute heure et
jetait de l'encre partout ou faisait beaucoup de bruit. Une nuit, il alluma
un feu dans la cheminée et commença à jeter des cartouches
de pistolet dans les flammes. Elles explosèrent, et je fus touché
à deux reprises par les balles, laissant une marque noire et bleue.
Une autre nuit, il rentra et prit dans le bâtiment un paquet de
papier à lettres avec « États confédérés
» imprimé en tête. C'était un excellent opérateur
et il écrivait d'une belle écriture. Il prenait une feuille
de ce papier, écrivait un « A » majuscule, puis une
autre feuille et composait le « A » différemment ;
et ainsi de suite dans l'alphabet, froissant à chaque fois le papier
dans sa main et le jetant sur le Il continuait ainsi jusqu'à ce
que la pièce soit presque entièrement remplie jusqu'à
la table. Puis il abandonnait.
À cette époque, tout était «
ouvert ». La désorganisation régnait en maître.
Il n'y avait aucune direction. Le soir, un compagnon et moi allions déjeuner
dans un faro-bank magnifiquement meublé. Tout était gratuit.
Il y avait plus de vingt salles de keno en activité. L'une d'elles,
que j'ai visitée, se trouvait dans une église baptiste :
l'homme à la roue était en chaire et les joueurs sur les
bancs.
Pendant mon séjour, le directeur du bureau télégraphique
fut arrêté pour une raison que je n'ai jamais comprise et
incarcéré dans une prison militaire à environ 800
mètres du bureau. Le bâtiment, haut de quatre étages,
était bien visible depuis le bureau. Il était tenu au secret.
Un jour, pensant qu'il était peut-être enfermé dans
une pièce face au bureau, j'ai passé mon bras par la fenêtre
et j'ai continué à lui faire des signes par le mouvement
du bras. J'ai essayé plusieurs fois pendant deux jours. Finalement,
il s'en est aperçu et, passant son bras à travers les barreaux
de la fenêtre, il a établi la communication avec moi. Il
a ainsi envoyé plusieurs messages à ses amis et a été
libéré.
Une autre histoire curieuse racontée par Edison
concerne un collègue opérateur en service de nuit à
Chattanooga Junction, à l'époque où il était
à Memphis :
Lorsqu'on apprit que Hood marchait sur Nashville, un soir, un Juif entra
au bureau vers 23 heures, tout excité, ayant entendu la rumeur.
Étant un gros cantinier, il voulait envoyer un message pour sauver
ses marchandises. L'opératrice déclara que c'était
impossible que l'ordre avait été donné de
ne pas envoyer de messages privés. Le Juif voulut alors corrompre
mon ami, qui refusa obstinément, prétextant, comme il l'expliqua
au Juif, qu'il risquait d'être traduit en cour martiale et fusillé.
Finalement, le Juif obtint 800 dollars. L'opératrice lui fit jurer
le secret et envoya le message. Or, il n'y avait aucun ordre concernant
les messages privés, et le Juif, l'apprenant, se plaignit au capitaine
Van Duzer, chef des télégraphes, qui enquêta sur l'affaire
et, bien que refusant de licencier l'opératrice, le licencia pour
une durée indéterminée. Van Duzer était si
indulgent que si un opératrice était licenciée, il
lui suffisait d'attendre trois jours avant de retourner s'installer sur
le perron de Van. Duzer était resté toute la journée
au bureau, et il serait repris. Mais Van Duzer jura de ne jamais céder
dans ce cas. Il dit que si l'opératrice avait pris 800 $ et envoyé
le message au tarif normal, soit vingt-cinq cents, tout se serait bien
passé, car le Juif aurait été puni pour avoir tenté
de corrompre un opérateur militaire ; mais quand l'opératrice
avait pris les 800 $ et envoyé le message à vide, il n'a
pas pu le supporter et il n'a jamais cédé.
Une troisième histoire typique de cette période
concerne un message chiffré destiné à Thomas. M.
Edison le raconte ainsi :
« Quand j'étais opérateur à Cincinnati et que
je travaillais pendant un certain temps sur le fil de Louisville la nuit,
un homme sur le fil de Pittsburg a crié : « DI cipher »,
ce qui signifiait qu'il y avait un message chiffré du Département
de la Guerre à Washington et qu'il arrivait et il a crié
« Louisville ». J'ai immédiatement appelé cet
endroit. C'était juste au moment du changement d'équipe
au bureau. Je n'arrivais pas à joindre Louisville, et le message
chiffré a commencé à arriver. Il a été
pris par l'opératrice de l'autre table directement du ministère
de la Guerre. C'était pour le général Thomas, à
Nashville. J'ai appelé pendant une vingtaine de minutes et les
ai informés que je n'arrivais pas à joindre Louisville.
J'ai continué pendant une quinzaine de minutes encore, et je les
ai informés qu'il n'y avait toujours pas de réponse de Louisville.
Ils ont alors prévenu le ministère de la Guerre qu'ils ne
parvenaient pas à joindre Louisville. Nous avons alors essayé
de le joindre par tous les moyens possibles, mais en vain à ce
bureau. Bientôt, un message du ministère de la Guerre est
arrivé, demandant de faire venir immédiatement le directeur
du bureau de Cincinnati. Il a été amené au bureau
et plusieurs messages ont été échangés, dont
j'ignorais bien sûr le contenu, mais l'affaire semblait très
grave, car ils craignaient le général Hood, l'armée
confédérée, qui tentait alors de marcher sur Nashville
; et il était très important que ce message chiffré
d'environ mille deux cents mots soit transmis. Il fallait immédiatement
joindre le général Thomas. J'ai continué à
appeler jusqu'à minuit ou 13 heures, mais pas de Louisville. Vers
13 heures, l'opératrice du bureau d'Indianapolis a réussi
à joindre une opératrice sur une ligne reliant Indianapolis
à Louisville par la voie ferrée, qui est passée par
hasard à son bureau. Il s'est arrangé avec cette opératrice
pour obtenir un relais de chevaux, et le message a été envoyé
via Indianapolis à cette opératrice qui avait loué
des chevaux pour porter les dépêches à Louisville,
découvrir le problème et les transmettre sans délai
au général Thomas. À cette époque, la communauté
télégraphique était plutôt démoralisée
et la discipline très laxiste. On a découvert quelques jours
plus tard qu'il y avait trois opérateurs de nuit à Louisville.
L'un d'eux était allé à Jeffersonville, était
tombé de cheval et s'était cassé la jambe. Il était
hospitalisé. Par une coïncidence remarquable, un autre homme
avait été poignardé dans une salle de keno et était
également hospitalisé, tandis que le troisième opératrice
était allée à Cynthiana pour voir un médecin.
« Lhomme a été pendu et a été
abandonné près du train. »
Je pense que la piste de recherche la plus importante est la production
d'électricité directement à partir du carbone. Edison
Le jeune Edison resta à Louisville environ deux
ans, un séjour assez long pour un nomade. C'est là qu'il
perfectionna ce style d'écriture vertical particulier qui, après
avoir débuté avec lui dans la télégraphie,
devint par la suite un véritable engouement auprès des professeurs
d'écriture et dans les écoles. Il dit de cette forme d'écriture,
dont un exemple récent est donné ci-dessus :
J'ai développé ce style à Louisville en prenant des
nouvelles de presse. Mon fil était connecté au côté
« aveugle » d'un répéteur à Cincinnati.
Ainsi, si je ratais un mot ou une phrase, ou si le fil fonctionnait mal,
je ne pouvais pas m'introduire et obtenir les derniers mots, car l'homme
de Cincinnati n'avait aucun appareil pour m'entendre. Je devais accepter
ce qui venait. Lorsque j'ai obtenu le poste, le câble traversant
l'Ohio à Covington, reliant la ligne à Louisville, présentait
une fuite variable, ce qui provoquait de violentes fluctuations de l'intensité
du courant de signalisation. J'ai contourné ce problème
en utilisant plusieurs relais, chacun avec un réglage différent,
actionnant plusieurs sondeurs, tous reliés à une seule plaque
de sondage. Le cliquetis était fort, mais je pouvais le lire assez
facilement. Lorsqu'en plus de cette fuite infernale, les fils au nord
de Cleveland fonctionnaient mal, il fallait une grande dose d'imagination
pour comprendre ce qui était envoyé. L'imagination demande
un temps considérable pour s'exercer, et comme les informations
arrivaient à un rythme soutenu, Avec trente-cinq à quarante
mots par minute, il était très difficile d'écrire
ce qui allait arriver et d'imaginer ce qui n'allait pas arriver. Il était
donc nécessaire de devenir un écrivain très rapide,
alors j'ai commencé à trouver le style le plus rapide. J'ai
découvert que le style vertical, avec chaque lettre séparée
et sans fioritures, était le plus rapide, et que plus la lettre
était petite, plus la rapidité était grande. Comme
je traitais en moyenne huit à quinze colonnes de reportages par
jour, il ne m'a pas fallu longtemps pour perfectionner cette méthode.
M. Edison a conservé ce style décriture
caractéristique jusquà nos jours.En réalité,
les conditions à Louisville à cette époque n'étaient
guère meilleures qu'à Memphis. La salle d'opération
du télégraphe était dans un état déplorable.
Elle se trouvait au premier étage d'un immeuble délabré
de la rue principale de la ville, avec la salle des batteries à
l'arrière, derrière laquelle se trouvait le bureau de l'agent
de l'Associated Press. Le plâtre avait disparu au tiers du plafond.
Un petit poêle, utilisé occasionnellement en hiver, était
relié à la cheminée par un tuyau tortueux. Le bureau
n'était jamais nettoyé. Le tableau de commande des fils
mesurait environ 90 cm². Les connexions en laiton étaient
noires de vieillissement et subissaient les effets de la foudre, ce qui,
pour le jeune Edison, semblait particulièrement prédestiné
à Louisville. « La foudre frappait les fils », dit-il,
« avec une explosion semblable à un coup de canon, rendant
ce bureau inadapté à un opérateur cardiaque. »
Autour des murs crasseux se trouvaient une douzaine de tables, les extrémités
contre le mur. Ils avaient à peu près la taille de ceux
que l'on trouvait dans les hôtels de campagne d'antan pour y ranger
la cuvette et le pichet. Les fils de cuivre reliant les instruments au
standard étaient petits, cristallisés et pourris. La salle
des batteries était remplie de vieux registres, de liasses de messages
et d'une centaine de piles à l'acide nitrique, disposées
sur un support au centre de la pièce. Ce support, ainsi que le
sol, étaient presque entièrement rongés par l'action
destructrice du puissant acide. Aussi sinistre et intransigeant que le
dise la description, il était typique de l'équipement de
ces temps reculés du télégraphe, à la fin
de la guerre.
Pour illustrer jusqu'où les télégraphistes
pouvaient aller à une époque où ils étaient
si demandés, Edison raconte l'histoire suivante :
Lorsque j'ai pris mes fonctions, il y avait une grave pénurie d'opérateurs.
Une nuit, à 2 heures du matin, un autre opérateur et moi
étions de service. Je prenais un rapport de presse, tandis que
l'autre travaillait sur le fil de New York. Nous avons entendu un lourd
bruit de pas dans l'escalier branlant. Soudain, la porte s'est ouverte
avec violence, la délogant d'un de ses gonds. Surgit alors l'un
de nos meilleurs opérateurs, qui travaillait de jour et était
d'un naturel très calme, sauf en état d'ébriété.
C'était un grand ami du directeur du bureau. Ses yeux étaient
injectés de sang et hagards, et une manche de son manteau avait
été arrachée. Sans nous remarquer, il s'est approché
du poêle et l'a renversé d'un coup de pied. Le tuyau est
tombé, disloqué à chaque jointure. Il était
à moitié rempli de suie extrêmement fine, qui s'est
envolée et a rempli la pièce entièrement. Cela lui
a procuré un moment de répit. Lorsque l'atmosphère
s'est suffisamment éclaircie pour qu'il puisse voir, il a fait
le tour du poêle et a écarté toutes les tables du
mur, les empilant dessus. Il arracha ensuite le panneau de contrôle
du mur. Il y parvint enfin, mais lorsqu'il céda, il tomba avec
le panneau et, heurtant une table, se coupa, se couvrant de sang. Il se
rendit ensuite dans la salle des batteries et fit tomber toutes les batteries
par terre. L'acide nitrique commença bientôt à se
mélanger au plâtre de la pièce en dessous, qui servait
de salle de réception publique pour les messagers et les comptables.
L'excès d'acide se répandit et grignota les livres de comptes.
Après avoir tout terminé à sa satisfaction, il partit.
J'ai dit à l'autre opérateur de ne rien faire. Nous laisserions
les choses telles quelles et attendrions l'arrivée du directeur.
Entre-temps, connaissant tous les fils alimentant le panneau, j'ai installé
un ensemble d'instruments temporaires afin de régler les affaires
de New York et de recevoir le reste des articles de presse. À 19
heures, le jour même, des hommes commencèrent à arriver.
On leur dit de descendre et d'attendre l'arrivée du directeur.
du gérant. À 20 heures, il est apparu, a fait le tour, est
entré dans la salle des batteries, puis est venu me voir en me
demandant : « Edison, qui a fait ça ? » Je lui ai dit
que Billy L. était arrivé plein d'eau gazeuse et avait inventé
la catastrophe devant lui. Il a fait des allers-retours pendant environ
une minute, puis, s'approchant de ma table, a baissé le poing et
a dit : « Si Billy L. recommence, je le congédie. »
Inutile de préciser que d'autres opérateurs ont abusé
de ce genre de discipline, et j'ai reçu de nombreux appels la nuit
suivante, mais aucun n'a eu des conséquences aussi dévastatrices.
C'était un aspect de la vie tel qu'il se présentait
au jeune opérateur sensible et observateur de Louisville. Mais
il y avait un autre aspect, plus intellectuel, dans le contact avec le
journalisme et ses dirigeants, et dans l'information recueillie presque
inconsciemment sur les mouvements politiques et sociaux de l'époque.
M. Edison s'en souvient avec une grande satisfaction. « Je me souviens
», dit-il, « des discussions entre le célèbre
poète et journaliste George D. Prentice, alors rédacteur
en chef du Courier-Journal, et M. Tyler, de l'Associated Press. Je crois
que Prentice était le père du texte humoristique du journal
américain. C'était un poète, très instruit
et un orateur brillant. Il était très mince et petit. Je
ne pense pas qu'il pesait plus de soixante-dix kilos. Tyler était
diplômé de Harvard et avait une élocution très
claire. Contrairement à Prentice, il était corpulent. Après
l'impression du journal, Prentice venait généralement au
bureau de Tyler et commençait à parler. Ayant entendu, dans
le bureau de Tyler, les disputes sur l'immortalité de l'âme,
etc., j'ai demandé à M. Tyler la permission d'entrer et
d'écouter la conversation, après avoir terminé la
publication, ce que j'ai fait à maintes reprises par la suite.
Une chose que je n'ai jamais pu comprendre, c'est que Tyler avait un buffet
rempli d'alcools et, généralement, de crackers. Prentice
versait. Je buvais un demi-verre de ce qu'ils appellent du whisky de maïs,
j'y trempais les crackers et je les mangeais. Tyler le prenait sans manger.
Une seule cuillère à café de ce truc m'endormait.
M. Edison jette également un éclairage curieux
sur l'origine de la chronique comique dans le journal américain
moderne, le télégraphe donnant à une nouvelle blague
ou à une bonne histoire l'ubiquité et l'instantanéité
d'un événement historique important :
À cette époque, les opérateurs de presse de tout
le pays, en cas de baisse de régime, envoyaient des blagues ou
des anecdotes le jour même de la collecte ; elles étaient
ensuite copiées et affichées sur le tableau d'affichage.
Cleveland était le bureau d'origine de la « presse »,
qu'il recevait de New York et envoyait simultanément à Milwaukee,
Chicago, Toledo, Détroit, Pittsburg, Columbus, Dayton, Cincinnati,
Indianapolis, Vincennes, Terre Haute, Saint-Louis et Louisville. Cleveland
passait d'abord à Milwaukee s'il avait quelque chose. Si oui, il
l'envoyait, et Cleveland nous le répétait à tous.
Ainsi, toute blague ou anecdote provenant de cette région était
connue partout le lendemain. Les journalistes venaient copier tout ce
qui pouvait être publié, soit environ 3 %. J'en avais aussi
un assez gros album, mais je l'ai malheureusement perdu.
Edison raconte une anecdote amusante sur ses propres occupations
à cette époque. Lecteur invétéré, il
avait du mal à se procurer suffisamment de littérature pour
sa consommation personnelle et avait l'habitude d'acheter des livres aux
enchères et chez les brocanteurs. Un jour, dans une salle des ventes,
il se procurait une pile de vingt volumes non reliés de la North
American Review pour deux dollars. Il les fit relier et livrer au bureau
du télégraphe. Un matin, libre comme d'habitude à
3 heures, il partit d'un pas rapide, dix volumes sur l'épaule.
Il se retrouva bientôt la cible d'une fusillade. Lorsqu'il s'arrêta,
un policier essoufflé le saisit à la gorge et lui ordonna
de laisser tomber son paquet et de s'expliquer, le considérant
comme un personnage suspect. Il ouvrit le paquet en montrant les livres,
au grand dam de l'agent, qui s'imagina avoir surpris un cambrioleur en
train de s'enfuir dans la ruelle sombre avec son butin. Edison expliqua
qu'étant sourd, il n'avait entendu aucune interpellation et avait
donc continué sa route ; et le policier fit remarquer en s'excusant
que c'était une chance pour Edison qu'il ne soit pas un meilleur
tireur.
Cet incident est curieusement révélateur
du caractère de cet homme, car il faut admettre que si les télégraphistes
littéraires ne sont pas rares, rares sont ceux qui dépenseraient
leurs maigres économies pour se procurer les anciens numéros
d'une revue volumineuse à une époque où la tragédie,
la bière et les bretzels sont bien plus alléchants. Au fil
de ses voyages, Edison a préservé ces livres et les possède
aujourd'hui dans sa bibliothèque de Llewellyn Park, à Orange
Mountain, dans le New Jersey.
Après avoir quitté Louisville pendant un
certain temps, Edison se dirigea vers le nord jusqu'à Détroit,
mais, comme le célèbre duc d'York, il y retourna bientôt.
La discipline plus stricte instaurée après le régime
insouciant de la ville sudiste n'était peut-être pas étrangère
à cette agitation, qui se manifesta de nouveau à son retour.
La fin de la guerre avait laissé le Sud en un théâtre
de destruction et de désolation, et nombre d'hommes qui avaient
combattu avec courage et courage eurent du mal à se résigner
à la lourde tâche de la reconstruction. Il leur semblait
préférable de laisser tomber le mal et de chercher un autre
climat où les conditions seraient moins pénibles. À
cette époque, on parlait beaucoup, à tort et à travers,
de la vie ensoleillée et de la richesse facile de l'Amérique
latine, et sous son influence, de nombreux Sudistes « non reconstruits
» partirent pour le Mexique, le Brésil, le Pérou ou
l'Argentine. Les télégraphistes étaient naturellement
en contact avec ce mouvement, et l'imagination fertile d'Edison était
facilement enflammée par l'idée radieuse de toutes ces vagues
possibilités. Il abandonna à nouveau son emploi régulier
et, avec deux jeunes amis optimistes, se rendit à La Nouvelle-Orléans.
Ils envisageaient d'occuper un poste dans les télégraphes
du gouvernement brésilien, car une annonce avait été
insérée dans un journal annonçant la recherche d'opérateurs.
Ils avaient programmé leur départ de Louisville de manière
à prendre un vapeur spécialement affrété,
qui devait quitter La Nouvelle-Orléans à destination du
Brésil à une date précise, afin de transporter un
grand nombre de Confédérés et leurs familles, dégoûtés
des États-Unis et qui allaient s'installer au Brésil, où
l'esclavage était encore en vigueur. Edison et ses amis arrivèrent
à La Nouvelle-Orléans juste au moment de la grande émeute,
où plusieurs centaines de Noirs furent tués et où
la ville était aux mains de la foule. Le gouvernement avait saisi
le vapeur affrété pour le Brésil, afin d'acheminer
des troupes du fleuve Yazoo à La Nouvelle-Orléans pour mettre
fin aux émeutes. Les jeunes opérateurs se rendirent donc
dans un autre bureau maritime pour se renseigner sur les navires à
destination du Brésil. Ils rencontrèrent un vieil Espagnol
assis sur une chaise près du bureau de l'agent maritime, à
qui ils expliquèrent leurs intentions. Ayant vécu et travaillé
en Amérique du Sud, il affirma avec force, en agitant son doigt
jaune et osseux, que la pire erreur qu'ils pourraient commettre serait
de quitter les États-Unis. Il ne partirait sous aucun prétexte,
et eux, jeunes Américains, regretteraient toujours d'avoir abandonné
leur pays natal, dont la liberté, le climat et les opportunités
étaient incomparables au monde. Un conseil aussi sincère
ne pouvait être dédaigné, et Edison reprit la route
du Nord. On ne peut s'empêcher de se demander ce qui aurait pu arriver
à Edison lui-même et au développement de l'électricité
s'il avait fait ce plongeon dans les tropiques.On se souvient que, lors
d'une crise similaire, le jeune Robert Burns envisagea sérieusement
de quitter l'Écosse pour les Antilles. Son refus fut certainement
bénéfique pour la poésie écossaise, à
laquelle il contribua plus tard par tant de vers immortels ; et probablement
pour lui-même, même s'il mourut en savant. Il est tout simplement
impossible d'imaginer Edison mettant au point le phonographe, le téléphone
et la lampe à incandescence sous le climat tropical qu'il recherchait.
Quelques années plus tard, il apprit que ses deux compagnons s'étaient
rendus à Vera Cruz, au Mexique, et y étaient morts de la
fièvre jaune.
Le travail reprit bientôt à Louisville, où
le vieux bureau délabré occupé à la fin de
la guerre avait été troqué contre un autre, beaucoup
plus confortable et luxueux. Comme auparavant, Edison fut chargé
de la rédaction des rapports et se souvient très bien avoir
reçu le message présidentiel et le veto du président
Johnson au projet de loi du District de Columbia. Dès réception
du document, il le divisa en paragraphes de manière à ce
que chaque imprimeur ait exactement trois lignes, ce qui permit une mise
en place très rapide dans les rédactions du journal. Cela
lui valut la gratitude des rédacteurs, un dîner et tous les
échanges de journaux qu'il souhaitait. Les récits d'Edison
sur les folies et les débauches des autres employés de nuit
dans ces bureaux à la gestion peu rigoureuse permettent de comprendre
combien un minimum de persévérance dans le travail était
apprécié. Un jour, Edison fit office de trésorier
pour ses compagnons ivrognes, tenant les enjeux, pour ainsi dire, afin
que les réserves d'alcool durent plus longtemps. L'un des plus
doux du groupe prit ombrage de la parcimonie du trésorier et le
jeta à terre. Les autres membres du groupe s'en prirent alors à
l'agresseur et le malmenèrent si violemment qu'il dut passer trois
semaines à l'hôpital. À un autre moment, deux de ses
compagnons, qui partageaient l'hospitalité temporaire de sa chambre,
brisèrent la plupart des meubles et allèrent se coucher
bottes aux pieds. Puis sa bonhomie se révolta. « J'ai senti
que c'était une forme d'hospitalité à outrance, alors
je les ai sortis et les ai laissés par terre pour qu'ils se rafraîchissent
de leur transe alcoolique. »
Dans l'ensemble, Edison semble avoir été
plutôt à l'aise et heureux à Louisville, s'entourant
de livres et d'appareils expérimentaux, et rédigeant même
un traité sur l'électricité. Mais sa soif de connaissances
et de nouveautés lui a une fois de plus causé sa perte.
Les instruments des élégants nouveaux bureaux étaient
fixés à leur place, et il était strictement interdit
aux opérateurs de les retirer ou d'utiliser les piles, sauf pour
leur travail habituel. Cette interdiction n'avait guère d'importance
pour Edison, qui n'avait accès qu'à ceux de l'entreprise.
« Une nuit, raconte-t-il, je suis allé dans la salle des
piles pour me procurer de l'acide sulfurique pour mes expériences.
La bonbonne s'est renversée, l'acide s'est écoulé,
a traversé le bureau du directeur en contrebas et a dévoré
son bureau et toute la moquette. Le lendemain matin, je fus convoqué
devant lui et on m'a dit que l'entreprise recherchait des opérateurs,
et non des expérimentateurs. J'étais libre de prendre ma
paie et de filer. »
Edison est un homme très studieux, un amoureux
et un lecteur insatiable des livres, ce que ses proches savent bien ;
mais on s'étonne souvent de sa mine d'informations diverses. Cela,
on le verra, s'explique en partie par ses années de travail comme
journaliste de presse. Il dit à ce sujet :
Lors de mon deuxième séjour à Louisville, ils avaient
déménagé dans un nouveau bureau, et la discipline
était désormais bonne. J'ai accepté le poste de journaliste.
En fait, j'étais un très mauvais expéditeur, et j'ai
donc fait de la prise de nouvelles une spécialité. Les journalistes
m'autorisaient à venir après l'impression à 3 heures
du matin et à obtenir tous les échanges que je souhaitais.
Je les rapportais chez moi et les déposais au pied de mon lit.
Je ne dormais jamais plus de quatre ou cinq heures, de sorte que je me
réveillais à neuf ou dix heures et lisais ces journaux jusqu'à
l'heure du dîner. Je me tenais ainsi informé et, grâce
à leurs activités, je connaissais chaque membre du Congrès,
les commissions dont il faisait partie, ainsi que l'actualité et
les prix des produits du pain sur tous les marchés primaires. J'étais
bien mieux placé que la plupart des opérateurs pour faire
appel à mon imagination et compléter les mots ou les phrases
manquants, fréquents à cette époque où les
fils électriques étaient pourris et mal isolés, surtout
les nuits d'orage. Dans ces cas-là, je devais parfois fournir un
cinquième du texte purement Je n'ai fait que deviner, mais
je ne me suis fait avoir qu'une seule fois. Il y avait eu une sorte de
convention en Virginie, dont John Minor Botts était la figure de
proue. L'excitation était grande, et deux votes avaient eu lieu
lors de la convention ces deux jours-là. Il ne faisait aucun doute
que le vote du lendemain se déroulerait d'une certaine manière.
Un violent orage s'est levé vers 22 heures, et mon fil a très
mal fonctionné. Puis, tous les signaux ont cessé ; j'ai
alors déchiffré les mots « Minor Botts ». Le
message suivant concernait New York. J'ai rédigé un paragraphe
sur la convention et le déroulement du vote, comme j'en étais
certain. Mais le lendemain, j'ai appris qu'au lieu d'un vote, la convention
avait été ajournée sans décision jusqu'au
lendemain.
De la même manière, c'est à Louisville
que M. Edison a eu un aperçu de la manière dont les grands
discours politiques sont plus fréquemment rapportés que
le public ne le soupçonne :
L'Associated Press avait un sténographe qui accompagnait le président
Johnson lors de son célèbre tour de piste dans un train
privé, où il prononçait des discours passionnés
pour défendre sa conduite. Cet homme m'a chargé de rédiger
les notes de sa lecture. Il est arrivé chargé et au bord
de l'incohérence. Nous avons commencé, mais environ toutes
les deux minutes, je devais rayer des paragraphes entiers et insérer
les mêmes propos, exprimés différemment et mieux.
Il changeait fréquemment de mots, toujours pour améliorer
le discours. Je ne comprenais pas cela, et lorsqu'il a eu terminé,
et que j'avais copié environ trois colonnes, je lui ai demandé
pourquoi ces changements, s'il lisait ses notes. "Mon Dieu",
a-t-il dit, "si ces politiciens publiaient leurs discours au fur
et à mesure, beaucoup de sténographes se retrouveraient
au chômage. Les meilleurs sténographes et les personnes bien
placées sont celles qui peuvent transformer un discours décousu
et incohérent en un discours d'une qualité remarquable."
De retour à Cincinnati pour y entamer son deuxième
mandat d'opérateur, Edison trouva le bureau dans de nouveaux locaux
et avec une gestion nettement améliorée. Il fut de nouveau
affecté au service de nuit, à sa grande satisfaction. Il
loua une chambre au dernier étage d'un immeuble de bureaux, acheta
un lit de camp, un poêle à pétrole, un tour à
pied et quelques outils. Il fit la connaissance de M. Sommers, directeur
du télégraphe du chemin de fer de Cincinnati et Indianapolis,
qui l'autorisa à emporter les appareils hors d'usage qu'il désirait
et qui n'étaient d'aucune utilité pour l'entreprise. Un
jour, il eut l'occasion de laisser libre cours à son sens de l'humour,
toujours vif, avec Sommers. « Sommers était un homme plein
d'esprit », dit-il, « et passionné d'expérimentation.
Nous avons travaillé sur un relais télégraphique
autoréglable, qui aurait été très précieux
si nous l'avions pu obtenir. Je suis rapidement devenu propriétaire
d'une bobine d'induction Ruhmkorff d'occasion, qui, bien que ne produisant
qu'une petite étincelle, tordait les bras et saisissait les mains
d'un homme, l'empêchant de lâcher l'appareil. Un jour, nous
sommes descendus à la rotonde du chemin de fer de Cincinnati et
d'Indianapolis et avons relié le long réservoir de lavage
de la pièce à la bobine, une électrode étant
reliée à la terre. Au-dessus de ce local se trouvait un
toit plat. Nous avons percé un trou dans le toit et avons pu voir
les hommes entrer. Le premier homme, en entrant, a trempé ses mains
dans l'eau. Le sol étant mouillé, il a formé un circuit,
et ses mains ont remonté. Il a réessayé, avec le
même résultat. Il s'est alors adossé au mur, l'air
perplexe. Nous avons supposé qu'il attendait quelqu'un d'autre.
Ce qui se produisit peu après, avec le même résultat.
Puis ils sortirent, et la salle fut bientôt bondée, avec
une effervescence considérable. Diverses théories furent
avancées pour expliquer ce curieux phénomène. Nous
avons pris un immense plaisir à ce sport. Il faut se rappeler que
c'était il y a plus de quarante ans, à une époque
où l'enseignement de l'électricité n'existait pas
encore et où les possibilités de plaisanteries étaient
rares. Aujourd'hui, parmi une telle foule de travailleurs, il y aurait
forcément au moins un étudiant d'une école du soir
ou d'un cours par correspondance qui expliquerait le mystère sans
détour.
On a noté la présence d'Ellsworth au bureau
de Cincinnati et son service auprès du guérillero confédéré
Morgan, pour lequel il écoutait les fils fédéraux,
lisait les messages militaires, en envoyait de faux et se livrait à
de graves méfaits. Il est bien connu qu'un opérateur reconnaît
un autre à la façon dont il émet ses signaux
c'est son style d'écriture. Ellsworth possédait une habileté
remarquable à imiter ces particularités, ce qui lui permettait
de tromper facilement les opérateurs de l'Union. Edison raconte
que, d'apparence calme, Ellsworth, après l'excitation des combats,
trouva la douceur d'un bureau télégraphique odieuse et qu'il
devint un « tireur » peu recommandable dans le Panhandle du
Texas, où il fut tué. « Nous avons rapidement fait
connaissance », raconte Edison à propos de cette période
à Cincinnati, « et il voulait que j'invente une méthode
secrète pour envoyer des dépêches, afin qu'un opérateur
intermédiaire ne puisse pas intercepter le fil et le comprendre.
Il m'a dit que si cela était possible, il pourrait le vendre au
gouvernement pour une grosse somme d'argent. Cela me convenait, et je
me suis lancé et j'ai réussi à fabriquer un tel instrument,
qui contenait en lui le germe de mon quadruplex, aujourd'hui utilisé
dans le monde entier, permettant l'envoi simultané de quatre messages
sur un seul fil. Le temps que je réussisse à faire fonctionner
l'appareil, Ellsworth disparut subitement. Bien des années plus
tard, j'ai réutilisé ce petit appareil pour le même
usage. À Menlo Park, dans le New Jersey, j'avais mon laboratoire.
Plusieurs fils Western Union y étaient branchés et je les
utilisais pour des expériences nocturnes. Un jour, je me suis assis
près d'un instrument que j'avais laissé branché pendant
la nuit. J'ai vite découvert qu'il s'agissait d'un fil privé
entre New York et Philadelphie, et j'ai entendu, parmi tant d'autres choses,
un message qui m'a surpris. Une semaine plus tard, j'ai eu l'occasion
J'étais sur le point d'aller à New York et, me rendant au
bureau du locataire du fil, je lui ai demandé s'il n'avait pas
envoyé tel ou tel message. L'expression qui se dessina sur son
visage était saisissante. Il m'a demandé comment j'avais
eu connaissance d'un tel message. Je lui ai expliqué les circonstances
et lui ai suggéré de chiffrer ces communications ou d'installer
un sondeur secret. À la suite de cet entretien, je lui ai installé
mon vieil appareil de Cincinnati, qui a ensuite été utilisé
pendant de nombreuses années.
Edison ne fit pas un très long séjour à
Cincinnati cette fois-ci, mais retourna chez lui après un certain
temps à Port Huron. Bientôt las de l'oisiveté et de
l'isolement, il lança « un appel de Macédoine »
à son vieil ami « Milt » Adams, qui se trouvait à
Boston et qu'il souhaitait rejoindre s'il pouvait trouver rapidement du
travail dans l'Est.
Edison lui-même donne les détails de ce déplacement
mouvementé, lorsqu'il se rendit à l'Est pour grandir avec
le nouvel art de l'électricité :
J'avais quitté Louisville une deuxième fois
et je suis rentré chez mes parents. Après un séjour
à la maison, je me suis senti agité et j'ai pensé
que j'aimerais travailler dans l'Est. Sachant qu'un ancien opérateur
nommé Adams, qui avait travaillé avec moi au bureau de Cincinnati,
était à Boston, je lui ai écrit que je voulais un
emploi là-bas. Il m'a répondu que si je me présentais
immédiatement, il pourrait me trouver au bureau de Western Union.
J'avais aidé les télégraphistes du Grand Trunk Railroad
en leur fournissant un nouvel appareil lorsqu'ils avaient perdu l'un des
deux câbles sous-marins qu'ils avaient de l'autre côté
du fleuve, ce qui a permis au câble restant de fonctionner aussi
bien que s'ils en avaient deux. Je pensais avoir droit à un laissez-passer,
ce qu'ils m'ont accordé ; et je suis parti pour Boston. Après
avoir quitté Toronto, une terrible tempête de neige s'est
levée et le train a été enseveli sous la neige dans
une tranchée. Après y être restés vingt-quatre
heures, les agents ont fabriqué des raquettes avec des éclisses
de clôture et sont partis chercher de la nourriture, ce qu'ils ont
fait à environ 800 mètres de là. Ils ont trouvé
une auberge en bord de route, et par À l'aide de raquettes, tous
les passagers furent conduits à l'auberge. Le train arriva à
Montréal avec quatre jours de retard. Plusieurs passagers et moi-même
nous rendîmes au quartier général militaire pour témoigner
en faveur d'un soldat en permission, avec deux jours de retard, ce qui
était un problème grave chez les militaires, apprit-on.
Nous le fîmes de bon cur, car ce soldat était un excellent
conteur et faisait passer le temps rapidement. J'y rencontrai un télégraphiste
nommé Stanton, qui me conduisit à sa pension, la plus morne
que j'aie jamais connue. Personne n'avait à manger à sa
faim ; les draps étaient trop courts et trop fins ; il faisait
-28 degrés et l'eau de lessive était complètement
gelée. La pension était bon marché, à seulement
1,50 $ par semaine.
Stanton m'a dit que le bétail, accompagnant habituellement
les pensions des opérateurs, était absent ; il pensait que
le froid intense les avait fait hiberner. Stanton, alors que je travaillais
à Cincinnati, a quitté son poste et est parti travailler
à Julesburg, ville d'élevage de bétail à l'époque,
très rude, sur l'Union Pacific. Je me souviens l'avoir accompagné
en train, sans jamais m'attendre à le revoir. Six mois plus tard,
alors que je travaillais pour la presse à Cincinnati, vers 2 heures
du matin, une grande boîte en fer-blanc a été jetée
au milieu de la salle d'opération. Elle a fait un bruit de pistolet,
et nous avons tous sursauté. Stanton est entré. «
Messieurs », a-t-il dit, « je reviens d'un voyage d'agrément
au-delà du Mississippi. Toute ma fortune est contenue dans ma mallette
de voyage métallique, et vous êtes les bienvenus. »
La valise contenait un col en papier. Il s'assit et je remarquai qu'il
portait une couverture en laine autour du cou et que son manteau était
bien boutonné. La nuit était d'une chaleur intense. Il ouvrit
alors son manteau et révéla qu'il n'avait que la peau nue.
« Messieurs, dit-il, vous avez devant vous un opérateur qui
a atteint la limite de la pauvreté. » Non loin de la limite
de la pauvreté se trouvait Edison lui-même, lorsqu'il débarqua
à Boston en 1868 après cette épreuve hivernale.
Ce chapitre est excessivement long, mais il ne saurait
se terminer sans citer une haute autorité concernant le service
du corps télégraphique militaire, si souvent évoqué.
Dans ses Mémoires, le général Grant, décrivant
les mouvements de l'armée du Potomac, insiste sur le service de
ses télégraphistes et déclare :
Rien n'était plus parfait que l'organisation et la discipline de
ce corps d'hommes courageux et intelligents. Des fils isolés étaient
enroulés sur des bobines, deux hommes et une mule étant
affectés à chaque bobine. Le bât était muni
d'un râtelier semblable à un chevalet de scie, placé
transversalement, de sorte que la roue puisse tourner librement ; un chariot
était équipé d'un opérateur télégraphique,
d'une batterie et d'instruments pour chaque division, corps d'armée
et mon quartier général. Les chariots étaient également
chargés de lampadaires munis d'un piquet de fer à chaque
extrémité pour soutenir les fils. Dès que les troupes
étaient en position pour entrer dans le camp, les hommes installaient
leurs fils. Ainsi, en quelques minutes, soit plus de temps qu'il n'en
faut à une mule pour parcourir la longueur de sa bobine, la communication
télégraphique était établie entre tous les
quartiers généraux de l'armée. Aucun ordre n'était
jamais nécessaire pour établir le télégraphe.
7 - Travail et invention à Boston
Milton Adams travaillait au bureau de la Franklin Telegraph
Company à Boston lorsqu'il reçut l'appel d'Edison de Port
Huron. Avec son impétuosité habituelle, il se mit aussitôt
à la tâche pour trouver un poste à son ami. Aucun
poste n'étant disponible au bureau de Franklin, Adams se rendit
au bureau de la Western Union et demanda au directeur, M. George F. Milliken,
s'il ne souhaitait pas un opérateur qui, comme le jeune Lochinvar,
venait de l'Ouest. « Quel genre de copie fait-il ? » fut sa
réponse prudente. « J'ai passé la lettre d'Edison
par la fenêtre pour qu'il l'examine. Milliken la lut, et une expression
de surprise se dessina sur son visage lorsqu'il me demanda s'il pouvait
la retirer de la ligne comme ça. Je lui répondis qu'il le
pouvait certainement, et que personne ne pouvait le piéger. Milliken
répondit que s'il était ce genre d'opérateur, je
pouvais le faire venir, et j'écrivis à Edison de venir,
car j'avais un poste pour lui au siège de la Western Union. »
Entre-temps, Edison avait obtenu son laissez-passer pour le Grand Trunk
Railroad et passa quatre jours et quatre nuits en voyage, souffrant d'un
froid et d'une faim extrêmes. L'arrivée de Franklin à
Philadelphie trouve son pendant dans les débuts très modestes
de l'ami d'Adams à Boston.
Il ne fallut que cinq minutes à Edison pour obtenir
le poste, car le surintendant Milliken, un excellent télégraphiste,
découvrit rapidement les superficialités et comprit qu'il
n'avait pas affaire à un jeune opérateur ordinaire. Edison
lui-même raconte ce qui s'est passé :
Le directeur m'a demandé quand j'étais prêt à
aller travailler. « Maintenant », ai-je répondu. On
m'a alors dit de revenir à 17 h 30, et à cette heure précise,
je suis entré dans la salle d'opération principale et ai
été présenté au directeur de nuit. Le temps
étant froid et mes vêtements étant mal habillés,
mon apparence particulière a provoqué beaucoup d'hilarité,
et, comme je l'ai appris plus tard, les opérateurs de nuit avaient
discuté de la façon de « proposer une mission sur
le geai de l'Ouest laineux ». On me donna un stylo et on me confia
la dépêche n° 1 de New York. Après une heure d'attente,
on me dit de me rendre à une table spéciale et de prendre
un rapport spécial pour le Boston Herald. Les conspirateurs s'étaient
arrangés pour que l'un des expéditeurs les plus rapides
de New York envoie la dépêche et « sale » le
nouveau. Je m'assis sans méfiance à la table, et le New-Yorkais
démarra lentement. Il accéléra bientôt, et
je m'y adaptai facilement. Cela mit mon rival en éveil, et il déploya
ses meilleures capacités, qui furent cependant bientôt atteintes.
À ce moment-là, je levai les yeux par hasard et vis les
opérateurs me regarder par-dessus l'épaule, le visage rayonnant
de joie et d'excitation. Je compris alors qu'ils cherchaient à
me piéger, mais je me tins tranquille. Le New-Yorkais commença
alors à bafouiller ses mots, les rassemblant et les accrochant
; mais j'étais habitué à ce style de télégraphie
pour prendre des rapports, et je ne fus pas le moins du monde déconcerté.
Finalement, quand je crus que le plaisir était passé, «
Assez loin, et ayant presque terminé la spéciale, j'ouvris
discrètement la clé et dis, télégraphiquement,
à mon ami new-yorkais : « Dis, jeune homme, change de pied
et envoie avec l'autre pied. » Cela fit s'effondrer le New-Yorkais,
qui passa le travail à un autre homme pour terminer. »
Edison détestait prendre des nouvelles de presse,
car c'était un travail régulier et continu, qui interférait
avec les études et les investigations qui pouvaient être
menées dans les intervalles de la télégraphie commerciale
ordinaire. Il n'était en aucun cas paresseux. S'il ne s'intéressait
guère aux tâches routinières d'un bureau télégraphique,
il nourrissait une profonde curiosité pour les principes fondamentaux
de l'électricité qui rendaient la télégraphie
possible, et il nourrissait un désir et une foi inébranlables
en sa capacité à améliorer l'appareil qu'il manipulait
quotidiennement. L'atmosphère intellectuelle de Boston était
propice au développement du génie profond de ce jeune homme
timide, gauche et studieux, totalement indifférent aux vêtements
et à l'apparence, mais prêt à dépenser jusqu'au
dernier dollar en livres et en matériel scientifique. Il est notoire
qu'il acheta un jour un costume neuf pour trente dollars à Boston,
mais le dimanche suivant, alors qu'il expérimentait avec des acides
dans son petit atelier, le costume fut abîmé. « Voilà
ce que je gagne pour avoir investi autant d'argent dans un nouveau costume
», dit laconiquement le jeune homme, ravi d'acquérir un ouvrage
complet de Faraday à la même époque. Adams raconte
que lorsqu'Edison rapporta ces livres à 4 heures du matin, il lut
sans relâche jusqu'au petit-déjeuner, puis déclara
avec enthousiasme : « Adams, j'ai tant à faire et la vie
est si courte, je vais me dépêcher. » Et il partit
aussitôt chercher son petit-déjeuner. Edison lui-même
raconte : « C'est à Boston que j'ai acheté les ouvrages
de Faraday. Je crois que j'ai dû essayer à peu près
tout ce qu'il y avait dans ces livres. Ses explications étaient
simples. Il n'utilisait pas les mathématiques. C'était un
maître expérimentateur. Je ne pense pas qu'il y ait eu beaucoup
d'exemplaires des ouvrages de Faraday vendus à l'époque.
Les seuls à s'intéresser à l'électricité
étaient les télégraphistes et les opticiens qui fabriquaient
des appareils scolaires simples pour démontrer les principes. »
L'une de ces entreprises était Palmer et Hall, dont le catalogue
de 1850 présentait une locomotive électrique miniature fabriquée
par M. Thomas Hall, exposée en service l'année suivante
à la Charitable Mechanics' Fair de Boston. En 1852, M. Hall réalisa
pour le Dr AL Henderson, de Buffalo (New York), une maquette de ligne
de chemin de fer avec moteur électrique, ligne télégraphique
et signaux électriques, ainsi qu'une figurine actionnant automatiquement
les signaux à chaque extrémité. Il s'agissait en
réalité du premier exemple de trains mus par des signaux
télégraphiques, une pratique aujourd'hui si courante et
universelle qu'elle n'appelle aucun commentaire. Pour illustrer à
quel point certaines méthodes fondamentales peuvent peu évoluer
en cinquante ans, notons que Hall transportait le courant jusqu'à
son minuscule wagon par douze pieds de rail, utilisant le rail comme conducteur,
tout comme Edison le fit plus de trente ans plus tard lors de ses expériences
historiques pour Villard à Menlo Park ; et comme le font aujourd'hui
une grande partie des systèmes de tramway américains.
C'est parmi ces gens pragmatiques et investigateurs qu'Edison
se sentait parfaitement à l'aise. Un autre homme remarquable de
ce genre, qu'Edison rencontra, était feu M. Charles Williams. Après
avoir débuté sa carrière dans le domaine de l'électricité
dans les années 40, il était au sommet de son activité
de fabricant d'appareils à son arrivée à Londres.
Par la suite, en tant qu'associé d'Alexander Graham Bell, il eut
la distinction d'être le premier fabricant mondial de téléphones.
Edison fréquentait régulièrement son atelier de Court
Street. Des réparations et des expériences télégraphiques
étaient constamment effectuées, notamment sur les premiers
télégraphes d'alarme incendie[1] de Farmer et Gamewell.
Avec l'aide de l'un des hommes présents probablement George
Anders , Edison transforma en modèle fonctionnel sa première
invention, un enregistreur de votes, premier brevet Edison, dont les documents
furent signés le 11 octobre 1868 et déposés le 1er
juin 1869 sous le numéro 90 646. Le but de ce dispositif particulier
était de permettre qu'un vote à la Chambre nationale des
représentants soit pris en une minute environ, les listes complètes
étant fournies de tous les membres votant des deux côtés
de toute question. M. Edison, en rappelant les circonstances, dit :
Roberts était l'opérateur télégraphique qui
a financé le projet à hauteur de 100 dollars. Une fois terminée,
l'invention a été transportée à Washington.
Je crois qu'elle a été présentée devant une
commission ayant un lien avec le Capitole. Le président de la commission,
après avoir constaté sa rapidité et sa perfection
de fonctionnement, a déclaré : Jeune homme, s'il existe
une invention au monde dont nous ne voulons pas ici, c'est bien celle-ci.
L'une des armes les plus puissantes dont dispose une minorité pour
empêcher les mauvaises lois est l'obstruction parlementaire, et
cet instrument l'empêcherait. J'ai pu constater la vérité,
car en tant qu'opérateur de presse, j'avais suivi des kilomètres
de procédures parlementaires, et aujourd'hui encore, on perd énormément
de temps à chaque session de la Chambre à appeler bêtement
les députés par leur nom, à enregistrer puis à
additionner leurs votes, alors que toute l'opération pourrait être
effectuée en un instant en appuyant simplement sur un bouton à
chaque pupitre. Cependant, pour ce qui est de l'obstruction parlementaire,
les méthodes actuelles sont tout à fait admirables.
Edison décida dès lors de consacrer ses
facultés inventives uniquement à des objets répondant
à une demande réelle et sincère, répondant
aux besoins réels de l'humanité. Ce premier brevet fut déposé
pour lui par le regretté Carroll D. Wright, futur commissaire du
Travail des États-Unis et publiciste réputé, alors
avocat spécialisé en brevets à Boston. Il décrit
Edison comme un homme rustre, mâchant plutôt que fumeur de
tabac, mais débordant d'intelligence et d'idées.
[1] Le schéma général d'un système télégraphique
d'alarme incendie comprend un central téléphonique auquel
un nombre quelconque de postes d'aiguillage peut envoyer un avis d'incendie
dans le district concerné. Le central téléphonique
appelle alors les pompiers les plus proches et prévient les pompiers.
Ces alarmes incendie peuvent être déclenchées automatiquement
ou par des opérateurs, et sont parfois associées à
une grande cloche ou un sifflet d'alarme. Certains postes peuvent être
actionnés par le public ; d'autres nécessitent des clés
spéciales. Le mécanisme du poste est généralement
à cliquet, à mouvement pas à pas, comme dans les
postes d'appel des messagers de district.
L'esprit curieusement pratique, quoique imaginatif, d'Edison
exigeait des réalités sur lesquelles travailler, des choses
qui font partie de « l'alimentation quotidienne de la nature humaine
», et il revint bientôt à la télégraphie,
un domaine dans lequel il était destiné à réussir
et sur lequel il allait régner en maître en tant qu'inventeur.
Il ne négligea cependant pas la chimie, mais s'y adonna librement,
bien que nous n'ayons aucune trace que ces travaux aient été
autre chose, à cette époque, que la réalisation des
expériences décrites dans les livres. Les bases étaient
posées pour les remarquables connaissances chimiques qui, plus
tard, répondirent avec succès à tant de problèmes
épineux dans le domaine de la chimie, notamment la lampe à
incandescence et la batterie d'accumulateurs. Il raconte l'histoire suivante
au cours de ses expériences chimiques : « J'avais lu dans
un article scientifique la méthode de fabrication de la nitroglycérine
et j'étais tellement enthousiasmé par ses propriétés
extraordinaires que j'ai décidé d'en fabriquer. Nous avons
testé ce que nous considérions comme une très petite
quantité, mais les résultats ont été si terribles
et inattendus que nous avons été alarmés, réalisant
que nous avions en notre possession un énorme éléphant
blanc. À 6 heures du matin, j'ai placé l'explosif dans une
bouteille de salsepareille, j'y ai attaché une ficelle, je l'ai
enveloppée dans du papier et je l'ai délicatement jetée
dans l'égout, à l'angle des rues State et Washington. »
L'associé était un homme qu'il avait trouvé en train
de fabriquer des appareils électriques pour des tours de passe-passe.
À cette époque, comme peut-être ailleurs,
au bureau télégraphique de Boston, des opérateurs
étudiaient pour entrer à l'université ; certains
étaient peut-être déjà inscrits à l'université
Harvard. Cette situation n'était pas rare à une certaine
époque ; le premier ingénieur électricien diplômé
de l'université Columbia, à New York, poursuivit ses études
comme opérateur de nuit et sortit brillamment premier de sa promotion.
Edison dit de ces érudits qu'ils étalaient leurs connaissances
avec une certaine liberté, et qu'il prenait plaisir à fréquenter
les librairies d'occasion de Cornhill pour étudier les questions
qu'il pouvait leur poser dès qu'il en avait l'occasion. Avec ceux
qui étaient de service de nuit, il recevait son déjeuner
de minuit d'un vieil Irlandais surnommé « le pâtissier
», qui apparaissait régulièrement avec ses marchandises
à minuit. Le bureau était situé au rez-de-chaussée
et avait été un restaurant avant d'être occupé
par la Western Union Telegraph Company. Il était littéralement
infesté de cafards, qui vivaient entre le mur et le panneau qui
courait à l'étage, et qui revenaient après le déjeuner.
Ils étaient si gênants sur ma table que j'ai collé
deux bandes de papier aluminium au mur de mon bureau, reliant l'une au
pôle positif de la grosse batterie alimentant les fils et le pôle
négatif à l'autre bande. Les cafards qui remontaient le
long du mur passaient par-dessus les bandes. Dès qu'ils franchissaient
les deux bandes avec leurs pattes, un éclair de lumière
se produisait et les cafards se transformaient en gaz. Cet appareil électrocutant
automatique a tellement attiré l'attention, et a occupé
une demi-colonne dans un journal du soir, que le directeur m'a fait arrêter.
Le lecteur se souviendra qu'une campagne similaire contre les rats avait
été menée par Edison lorsqu'il était dans
l'Ouest.
À cette époque, Edison a échappé
de justesse à une blessure qui aurait facilement pu écourter
sa carrière, et il semble avoir provoqué le problème
plus ou moins innocemment en utilisant un peu de chimie élémentaire
:
« Après avoir passé plusieurs mois
à Boston », raconte-t-il, « à travailler sur
le fil n° 1 de New York, on m'a demandé de travailler sur le
fil de presse, appelé la « route du lait », car de
nombreuses villes y prenaient simultanément des presses. Le bureau
de New York avait signalé d'importants retards sur le fil, dus
à des opérateurs qui interrompaient constamment, ou «
cassaient », comme on disait, pour faire répéter des
mots qu'ils n'avaient pas réussi à saisir ; et New York
prétendait que Boston était l'un des pires contrevenants.
C'était une position assez difficile pour moi, car si j'acceptais
le rapport sans le casser, cela prouverait l'incompétence de l'opérateur
précédent de Boston. Les résultats ont suscité
une certaine rancur chez l'opérateur. Il a été
remis sur le fil, et ses résultats se sont nettement améliorés
par la suite. Il semble que le garçon de bureau était de
mauvaise humeur envers cet homme. Un soir, il m'a demandé si je
pouvais lui expliquer comment réparer une clé pour qu'elle
ne « casse » pas, même si le disjoncteur était
ouvert, et aussi pour qu'elle ne soit pas facilement détectée.
Je lui ai dit de piquer une plume d'encre sur les pointes de platine,
car il y avait suffisamment de sucre. pour le rendre suffisamment épais
pour résister lorsque l'opérateur essayait de le casser
- le courant traversant toujours l'encre de sorte qu'il ne pouvait pas
le casser.
La nuit suivante, vers 1 heure du matin, un opérateur,
sur le fil de presse, alors que je me tenais près d'une imprimante
de la Chambre pour l'étudier, a sorti un isolant en verre, qu'il
a utilisé à l'envers comme bouteille d'encre, et l'a lancé
violemment sur moi, me manquant de peu la tête. J'aurais certainement
été tué si je n'avais pas raté ma cible. La
cause du problème était que cet opérateur faisait
de son mieux pour ne pas le casser, mais, contraint, il a ouvert sa clé
et s'est rendu compte qu'il n'y parvenait pas. L'affaire de presse est
arrivée immédiatement, et il n'a pas pu l'arrêter.
Le garçon de bureau avait mis l'encre quelques minutes auparavant,
lorsque l'opérateur avait tourné la tête pendant une
accalmie. Il m'a instinctivement accusé d'être la cause du
problème. Plus tard, nous sommes devenus bons amis. Il prenait
ses repas au même endroit que moi. Son principal objectif dans la
vie semblait être d'acquérir l'art de vomir des pots de lessive
et de les rattraper sans les casser. Environ un tiers de son salaire était
consacré à payer des pots.
Un jour, une demande parvint au bureau de la Western Union
Telegraph à Boston, émanant de la directrice d'une école
privée pour jeunes filles. Elle souhaitait que quelqu'un soit envoyé
à l'école pour présenter et décrire le télégraphe
Morse à ses « enfants ». La vie et l'uvre de
Morse, né à Charlestown, à un kilomètre et
demi de la ville natale de Franklin, ont toujours suscité un vif
intérêt à Boston, et cette demande d'une petite conférence
sur le télégraphe de Morse était tout à fait
naturelle. Edison, toujours prêt à gagner un peu d'argent
pour ses expériences et déjà reconnu comme l'opérateur
le plus informé du bureau, accepta l'invitation. Adams décrit
ainsi la situation :
Nous avons rassemblé deux sondeurs, une batterie et du fil sonique,
et à l'heure convenue, nous l'avons appelée pour la démonstration.
Sa salle de classe mesurait environ six mètres sur six, sans compter
la petite estrade. Nous avons installé la ligne entre les deux
extrémités de la salle, Edison prenant la scène tandis
que j'étais à l'autre bout. Tout étant prêt,
la directrice a été priée de faire entrer ses enfants.
La porte s'est ouverte et une vingtaine de jeunes femmes élégamment
vêtues sont entrées, dont aucune n'avait moins de dix-sept
ans. Quand Edison les a vues, j'ai cru qu'il allait s'évanouir.
Il m'a appelé et m'a demandé de venir sur scène pour
lui expliquer les mystères du système Morse. Je lui ai répondu
que je pensais qu'il était au bon endroit et lui ai conseillé
de se concentrer sur son exposé sur les points et les traits. Toujours
modeste, Edison était si bouleversé qu'il pouvait à
peine parler, mais il a finalement réussi à dire que, comme
son ami M. Adams avait plus d'audace que lui, nous changerions de place
et qu'il ferait la démonstration pendant que j'expliquerais. Tout
le monde s'est retourné pour voir où se trouvait le conférencier.
Je suis monté sur scène, j'ai dit quelque chose, et nous
avons échangé quelques messages. Je suppose que c'était
satisfaisant ; nous avons reçu l'argent, ce qui était notre
principal objectif.
Edison raconte lhistoire dune manière
similaire, mais insiste sur le fait que cest lui qui a sauvé
la situation :
J'ai réussi à dire que j'utiliserais l'appareil et que M.
Adams donnerait les explications. Adams était tellement gêné
qu'il est tombé sur un pouf. Les filles ont ri, ce qui a accru
sa gêne au point qu'il ne pouvait plus dire un mot. La situation
était si désespérée que, pour une raison que
je n'ai jamais pu expliquer, j'ai pris mon temps et j'ai parlé
et expliqué mieux que jamais auparavant ni depuis. Je peux parler
à deux ou trois personnes ; mais lorsqu'il y en a plus, elles dégagent
une influence inconnue qui paralyse mes cordes vocales. Cependant, je
me suis tiré d'affaire, et à maintes reprises par la suite,
lorsque j'ai rencontré par hasard avec d'autres opérateurs
des jeunes filles sur le chemin du retour de l'école, elles souriaient
et hochaient la tête, à la grande stupéfaction des
opérateurs, qui ignoraient tout de cet épisode.
Une autre histoire amusante de cette période dimpécuniosité
et de difficultés financières est racontée ainsi
par Edison :
Mon ami Adams travaillait à la Franklin Telegraph Company, concurrente
de la Western Union. Adams fut licencié et, comme ses finances
avaient atteint le zéro absolu, je m'engageai à le laisser
dormir dans ma chambre de couloir. J'avais généralement
des chambres de couloir, car elles étaient bon marché et
j'avais besoin d'argent pour acheter du matériel. J'avais aussi
le plaisir de sa compagnie chaleureuse à la pension de famille,
à environ un kilomètre et demi de là, mais au prix
de quelques appareils. Un matin, alors que nous nous hâtions d'aller
prendre notre petit-déjeuner, nous arrivâmes à Tremont
Row et aperçumes une foule nombreuse devant deux petits magasins
d'ameublement pour hommes. Nous nous arrêtâmes pour comprendre
la cause de cet engouement. Un magasin avait placardé une pancarte
en vitrine sur laquelle était écrit : « Trois cents
paires de bas reçues ce jour-là, cinq cents la paire
aucun lien avec le magasin d'à côté. » L'autre
magasin a alors installé une pancarte annonçant avoir reçu
trois cents paires, au prix de trois centimes la paire, et précisant
qu'il n'avait aucun lien avec le magasin d'à côté.
Personne n'est entré. La foule ne cessait de grossir. Finalement,
lorsque le prix a atteint trois paires pour un centime, Adams m'a dit
: « Je n'en peux plus ; donnez-moi un centime. » Je lui ai
donné cinq sous, et il est entré à coups de coude
; jetant l'argent sur le comptoir, le magasin étant rempli de vendeuses,
il a dit : « Donnez-moi trois paires. » La foule était
essoufflée, et la jeune fille a pris une boîte et en a sorti
trois paires de chaussettes pour bébé. « Oh ! »
a dit Adams, « je veux une taille homme. » « Eh bien,
monsieur, nous n'autorisons pas à choisir sa taille pour cette
somme. » Et la foule a hurlé ; ce qui a interrompu les ventes.
On a généralement supposé qu'Edison
n'avait commencé à travailler sur le téléscripteur
qu'après son arrivée à New York, peu après.
Mais il déclare : « Après le vote-registrator, j'ai
inventé un téléscripteur et lancé un service
de téléscripteur à Boston ; j'avais trente ou quarante
abonnés et je travaillais depuis une salle au-dessus de la Bourse
de l'or. C'était environ un an après l'arrivée de
Callahan à New York. » Le moins que l'on puisse dire, c'est
que cela témoignait d'une grande habileté et d'un esprit
d'entreprise de la part du jeune homme. Les transactions sur l'or pendant
et après la guerre de Sécession avaient introduit les indicateurs
d'or, bientôt suivis par les « témoins d'or »,
dont le premier fut introduit à New York en 1867. Le succès
de ce nouveau type d'appareil, encore rudimentaire, fut immédiat.
Quatre fabricants s'employèrent rapidement à répondre
à la demande des courtiers ; et la Gold & Stock Telegraph Company,
créée pour exploiter le système, porta bientôt
son capital de 200 000 à 300 000 dollars, versant des dividendes
de 12 % sur ce dernier montant. Dès la première année,
le capital fut de nouveau porté à 1 000 000 $, et des dividendes
de 10 % furent versés facilement sur cette somme. Il va sans dire
que ces faits furent rapidement connus des opérateurs, parmi lesquels,
bien sûr, furent recrutés les nouveaux employés ;
et produire un nouveau téléscripteur était une ambition
commune aux plus ingénieux. Dès le début, chaque
phase du développement électrique et même chaque
étape de la mécanique s'accompagna du phénomène
bien connu de l'invention ; à savoir, la tentative de nombreux
individus de perfectionner, d'affiner, voire de réinventer, là
où un ou deux esprits audacieux ouvraient la voie. Les chiffres
de capitalisation et de profit mentionnés plus haut étaient
relativement plus élevés dans les années 60 qu'aujourd'hui
; et pour les jeunes opérateurs impressionnables, ils représentaient
une richesse illimitée. Edison fut cependant à peu près
le seul à Boston dont l'histoire retient un résultat tangible
dans ce nouvel art ; et il aspira bientôt aux perspectives plus
vastes de la télégraphie à New York. Son ami Milt
Adams partit vers l'Ouest, animé d'un enthousiasme insatiable pour
cette vie errante et ces aventures sans but dont Edison, pourtant si sérieux,
avait déjà largement assez. Conscient qu'il devait chercher
du soutien à New York pour ses efforts, Edison, profondément
endetté pour ses inventions embryonnaires, mais animé d'un
grand espoir et d'un grand courage, franchit alors une nouvelle étape
décisive dans sa carrière. Il possédait une expérience
et une pratique de son art bien plus avancées que tout autre télégraphiste
de son époque, et avait, de plus, acquis une connaissance non négligeable
des affaires courantes. On a déjà évoqué plus
haut son invention d'un téléscripteur à Boston et
la création d'un circuit de cotation boursière. Ce n'était
pas tout, et pour conclure ce chapitre, on peut citer quelques autres
travaux et leurs dangers expérimentaux :
J'ai également installé des lignes privées,
sur lesquelles j'utilisais un instrument à cadran alphabétique
pour la télégraphie entre les entreprises, précurseur
de la téléphonie moderne. Cet instrument était très
simple et pratique, et n'importe qui pouvait s'en servir après
quelques minutes d'explication. Je les ai fait fabriquer chez M. Hamblet,
qui possédait une petite boutique où il expérimentait
des horloges électriques. M. Hamblet fut le père et l'initiateur,
des années plus tard, du système télégraphique
de distribution horaire de la Western Union. Mon laboratoire servait de
quartier général aux hommes, ainsi qu'aux outils et aux
fournitures nécessaires à ces lignes privées. Elles
étaient installées à moindre coût, car j'utilisais
les toits des maisons, tout comme le faisait la Western Union. Il ne m'est
jamais venu à l'idée de demander la permission aux propriétaires
; nous nous contentions d'aller au magasin, etc., en disant que nous étions
télégraphistes et que nous voulions accéder aux fils
sur le toit ; et la permission était toujours accordée.
Dans ce laboratoire, j'avais une grande bobine d'induction
que j'avais empruntée pour faire quelques expériences. Un
jour, j'ai attrapé les deux électrodes de la bobine et elle
m'a bloqué la main, m'empêchant de la lâcher. La batterie
était sur une étagère. Le seul moyen de me libérer
était de reculer et de tirer sur la bobine, afin que les fils de
la batterie arrachent les cellules de l'étagère et coupent
ainsi le circuit. J'ai fermé les yeux et tiré, mais l'acide
nitrique m'a éclaboussé le visage et a coulé dans
le dos. Je me suis précipité vers un évier, à
moitié assez grand, et je me suis glissé de mon mieux. Je
me suis tortillé pendant plusieurs minutes pour permettre à
l'eau de diluer l'acide et de calmer la douleur. Mon visage et mon dos
étaient striés de jaune ; la peau était complètement
oxydée. Je ne suis pas sorti dans la rue pendant deux semaines,
car mon visage était dans un état épouvantable. La
peau, cependant, s'est détachée et une nouvelle peau l'a
remplacée sans dommage.
8 - Le symbole boursier
« Les lettres et les chiffres utilisés dans
le langage de la bande », a déclaré un spéculateur
boursier bien connu de Boston, « sont très peu nombreux,
mais ils annoncent la ruine de quatre-vingt-dix-neuf millions de façons.
» Il ne faut cependant pas en déduire que le téléscripteur
moderne ait quoi que ce soit à voir avec la création ou
la perte de fortunes. En 1825, les journaux londoniens publiaient régulièrement
des rapports boursiers quotidiens, et New York a rapidement suivi l'exemple.
Dès 1692, Houghton publiait à Londres une revue hebdomadaire
des transactions financières et commerciales, sur laquelle Macaulay
a basé le récit vivant de la spéculation boursière
au XVIIe siècle, relaté dans sa célèbre histoire.
L'omniprésence du téléscripteur a permis de diffuser
instantanément les informations sur l'évolution du marché
boursier, permettant ainsi aux courtiers, investisseurs et joueurs de
connaître la situation exacte à chaque minute, à des
milliers de kilomètres de distance. L'existence de telles installations
mérite d'être admirée plutôt que déplorée.
L'information est vitale pour Wall Street, et il n'existe pas d'homme
vivant sur qui les agissements de Wall Street soient sans effet. L'histoire
financière des États-Unis et du monde, telle qu'elle est
illustrée par les cours des obligations d'État et des valeurs
mobilières, est racontée quotidiennement depuis quarante
ans sur ces étroites bandes de papier, dont les milliers de kilomètres
sont parcourus chaque année par les seuls « tickers »
de New York. Il est vrai que le récit de cette petite machine bavarde,
gravée en abréviations cabalistiques sur la bande, peut
conduire un homme au bord de la folie, de joie ou de désespoir
; mais si l'on doit en blâmer un homme, il le doit à l'esprit
spéculatif américain et non à l'ingénieux
mécanisme qui lit et enregistre les battements du pouls financier.
Edison arriva à New York en 1868, avec sa première
imprimante, qu'il tenta en vain de vendre. De retour à Boston,
il construisit sans hésiter un télégraphe duplex.
« Vers la fin de mon séjour à Boston », raconte-t-il,
« j'obtins un prêt de 800 dollars pour construire un télégraphe
duplex particulier permettant d'envoyer simultanément deux messages
sur un seul fil. L'appareil fut construit, et je quittai mon emploi à
la Western Union pour me rendre à Rochester, dans l'État
de New York, afin de le tester sur les lignes du télégraphe
Atlantique et Pacifique entre cette ville et New York. Mais l'assistant
à l'autre bout du fil ne put rien comprendre, malgré ma
description très détaillée de la procédure
à suivre. Après une semaine d'essais, j'abandonnai et rentrai
à New York avec quelques centimes en poche. » Ainsi, lui
qui n'avait jamais spéculé en bourse de sa vie était
destiné à faire fortune en fournissant aux autres les instruments
nécessaires pour mettre en évidence, dans toute une grande
ville, les fluctuations momentanées des actions et des obligations.
Personne n'aurait pu être plus démuni que lui lorsque le
bateau à vapeur l'a débarqué à New York en
1869. Il était endetté et ses rares biens, livres et instruments,
durent être abandonnés. Il était proche de la famine.
M. WS Mallory, son associé de longue date, le cite directement
à ce sujet :
Il y a quelques années, nous avons eu une négociation commerciale
à New York qui nous a obligés, M. Edison et moi, à
visiter la ville cinq ou six fois en un laps de temps relativement court.
Nous avions l'habitude de quitter Orange vers 11 heures du matin et, à
notre arrivée à New York, de déjeuner avant d'aller
aux rendez-vous, généralement fixés à 14 heures.
Nous avons déjeuné plusieurs fois chez Delmonico, Sherry
et d'autres établissements similaires, mais un jour, en route,
M. Edison m'a dit : « J'ai déjeuné plusieurs fois
avec vous ; aujourd'hui, je vais vous inviter à déjeuner
et vous offrir le meilleur déjeuner que vous ayez jamais eu. »
À notre arrivée à Hoboken, nous avons pris le ferry
du centre-ville pour traverser l'Hudson. Arrivés du côté
de Manhattan, M. Edison nous a conduits chez Smith et McNell's, en face
du marché de Washington, un établissement bien connu des
New-Yorkais de longue date. Nous sommes entrés et, dès que
le serveur est apparu, M. Edison a commandé des dumplings aux pommes
et une tasse de café. Il a dévoré sa part du déjeuner
avec le plus grand plaisir. Puis, aussitôt terminé, il s'est
rendu au comptoir des cigares et en a acheté. Alors que nous marchions
pour nous rendre au rendez-vous, il m'a raconté le souvenir suivant
: lorsqu'il a quitté Boston et décidé de venir à
New York, il n'avait que l'argent nécessaire pour le voyage. Après
avoir quitté le bateau, sa première pensée a été
de prendre son petit-déjeuner ; mais il n'avait pas d'argent pour
se le procurer. Cependant, en passant devant un salon de thé en
gros, il a vu un homme goûter du thé. Il est donc entré
et a demandé au « dégustateur » s'il pouvait
en prendre. L'homme le lui a offert, et c'est ainsi qu'il a obtenu son
premier petit-déjeuner à New York. Il connaissait un télégraphiste
ici. Il comptait sur lui pour obtenir un prêt afin de tenir le coup
jusqu'à ce qu'il obtienne un poste. Dans la journée, il
réussit à localiser cet opérateur, mais il découvrit
qu'il était lui aussi sans emploi, et que le mieux qu'il pouvait
faire était de lui prêter un dollar, ce qu'il fit. Cette
petite somme lui servait à la fois de nourriture et de logement
jusqu'à ce qu'il puisse trouver du travail. Edison raconta qu'à
cause du temps passé et de l'exercice de marche qu'il avait dû
faire pour retrouver son ami, il avait très faim et qu'il avait
sérieusement réfléchi à ce qu'il devait acheter
comme nourriture, et au type de nourriture qui lui serait le plus satisfaisant
et nourrissant. Résultat : chez Smith et McNell, il opta pour des
quenelles aux pommes et une tasse de café, après quoi il
ne mangea jamais rien de plus appétissant. Il ne fallut pas longtemps
avant qu'il ne se remette au travail et puisse vivre normalement.
Pendant la guerre de Sécession, avec l'augmentation
considérable de la dette nationale et du volume de la monnaie papier,
l'or avait atteint une prime élevée ; et, comme toujours,
ses fluctuations de prix déterminaient la valeur de toutes les
autres marchandises. Cela a conduit à la création d'une
« salle de l'or » à Wall Street, où le métal
précieux pouvait être négocié ; tandis que
pour les transactions boursières, il existait également
le « Regular Board », l'« Open Board » et la «
Long Room ». Consacrée à un seul objet, mais principal,
de spéculation, la « salle de l'or » était le
centre de toute l'activité financière et des jeux de hasard
de l'époque, et ses cotations régissaient les échanges
et le commerce. Au début, des annotations à la craie sur
un tableau noir suffisaient, mais constatant leur insuffisance, le Dr
SS Laws, vice-président et actuel président de la Bourse
de l'or, a conçu et introduit ce qui a été communément
appelé « l'indicateur de l'or ». Cet indicateur indiquait
simplement le cours de l'or en vigueur ; mais comme ses cotations variaient
d'un instant à l'autre, il était, au sens littéral
du terme, « le point de mire de tous les regards ». Un indicateur
donnait sur la salle de l'or ; l'autre donnait sur la rue. À l'intérieur
de la salle, le cadran était facilement visible, en haut du mur
ouest, et la machine était manipulée par M. Mersereau, le
greffier officiel du Conseil de l'or.
Le docteur Laws, qui devint plus tard président
de l'Université d'État du Missouri, était un inventeur
aux talents et aux réalisations hors du commun. Dans sa prime jeunesse,
il gagnait sa vie dans une usine d'outillage et, apparemment grâce
à ses économies, il partit pour Princeton, où il
étudia l'électricité auprès du célèbre
Joseph Henry. Au début de la guerre, en 1861, il était président
de l'un des collèges synodaux presbytériens du Sud, dont
les bâtiments passèrent aux mains du gouvernement. Parti
pour l'Europe, il retourna à New York en 1863 et, s'intéressant
aux questions financières avec un parent, il se lia rapidement
à la Bourse de l'or, qui fut alors organisée. Le mécanisme
indicateur qu'il mit au point était électrique, commandé
au centre par deux clés de fermeture de circuit, et constituait
un prototype de tous les télégraphes à impression
pas à pas modernes et plus récents, dont dépend la
diffusion des informations financières. Le tambour de l'indicateur
pouvait être actionné dans les deux sens, appelés
mouvements d'avance et de recul, et était divisé et gradué
en huitièmes. Il s'engrenait dans un tambour « unité
», tout comme les indicateurs de vitesse et les cyclomètres.
Quatre pulsations électriques étaient nécessaires
pour déplacer le tambour sur la distance séparant les fractions.
Le fonctionnement général était simple et, en temps
normal d'activité, le mécanisme et le registrateur étaient
à la hauteur de toutes les urgences. Mais il est évident
que le registre devait être transporté aux bureaux des courtiers
et autres lieux par des messagers ; et les retards, la confusion et les
erreurs suggérèrent bientôt au docteur Laws l'intérêt
de disposer de plusieurs indicateurs répartis en des points aussi
dispersés, commandés par un émetteur principal, et
de se passer de régiments de garçons bruyants. Il obtint
ce privilège de distribution et, démissionnant de la bourse,
se consacra exclusivement au « Gold Reporting Telegraph »,
qu'il fit breveter et pour lequel, fin 1866, il avait acquis cinquante
abonnés. Ses indicateurs étaient de petites boîtes
oblongues, à l'avant desquelles se trouvait une longue fente permettant
aux cadrans, lors de leur passage, d'afficher les chiffres constituant
la cotation ; Les cadrans ou roues étaient disposés horizontalement,
se chevauchant, comme sur les caisses enregistreuses modernes que l'on
trouve aujourd'hui sur la plupart des trolleybus. On comptait bientôt
trois cents abonnés ; mais le succès même de ce dispositif
suscita concurrence et amélioration. M. EA Callahan, un ingénieux
opérateur de télégraphe-imprimeur, comprit que cette
idée recelait des possibilités inépuisables. Sa clairvoyance
et son inventivité firent de lui le père du téléscripteur,
et il fut ainsi, comme Laws, l'un des premiers à saisir et à
exploiter le principe fondamental de la « gare centrale »
comme source universelle d'approvisionnement. M. Callahan a relaté
la genèse de son invention de manière intéressante
:
En 1867, à l'emplacement de l'actuel Mills Building, sur Broad
Street, en face de l'actuelle Bourse, se trouvait un vieux bâtiment
qui avait été démoli pour subvenir aux besoins de
ses occupants, tous engagés dans le commerce de l'or et des actions.
Il possédait une entrée principale donnant sur la rue et
un couloir par lequel on accédait aux bureaux de deux importantes
maisons de courtage. Chaque maison disposait de sa propre armée
de jeunes hommes, de douze à quinze ans, dont la tâche consistait
à vérifier les dernières cotations des différentes
places boursières. Chacun se consacrait à une action particulièrement
dynamique. Se bousculant pour pénétrer dans ces espaces
exigus, criant les prix à la porte et se repoussant pour les suivants,
cette cohue faisait de cette porte un refuge des plus désagréables
contre une averse d'avril. Je fus tout simplement projeté dans
la rue. Je pensai naturellement qu'une grande partie de ce bruit et de
cette confusion pourraient être évités et que les
cours pourraient être fournis par un système de télégraphie
ne nécessitant pas l'emploi d'opérateurs qualifiés.
L'idée du téléscripteur date de cet incident.
L'idée première de M. Callahan fut de distribuer
les cours de l'or. À cette fin, il conçut un « indicateur
». Celui-ci se composait de deux cadrans montés séparément,
chacun entraîné en rotation par un électroaimant,
de sorte que les chiffres souhaités étaient amenés
à une ouverture dans le boîtier renfermant l'appareil, comme
dans le système Laws. Chaque axe, avec son cadran, était
muni de deux roues à rochet, l'une inversée par rapport
à l'autre. L'une servait à actionner le levier de propulsion,
muni d'un cliquet s'insérant dans les dents de la roue à
rochet inversée lors de son mouvement vers l'avant. Il était
ainsi impossible à l'un ou l'autre cadran de dépasser sa
limite par l'effet de l'élan. Apprenant que le docteur Laws, avec
l'aide habile de FL Pope, agissait déjà dans le même
sens, M. Callahan, avec une ingéniosité débordante,
transforma son indicateur en un « ticker » capable d'imprimer
un enregistrement. Le nom de ce « ticker » lui vint de la
remarque fortuite d'un observateur pour qui le bruit était la caractéristique
la plus frappante du mécanisme. M. Callahan retira les deux cadrans
et, remplaçant les roues de caractères, retourna les mouvements
face à face, de sorte que chaque roue puisse imprimer ses caractères
sur une bande de papier sur deux lignes. Trois fils toronnés reliaient
le bureau central à chaque instrument. L'un alimentait la roue
alphabétique, un autre la roue des chiffres, et un autre le mécanisme
assurant l'encrage et l'impression sur la bande. Callahan innova encore
en isolant les fils de son circuit, bien que le coût fût alors
quarante fois supérieur à celui d'un fil nu. On comprendra
que des électro-aimants étaient l'organe d'actionnement
du téléscripteur. L'appareil était placé sous
un élégant abat-jour en verre et monté sur une étagère.
Vingt-cinq instruments étaient alimentés par un seul circuit,
et les cotations étaient fournies par une « centrale »
située au 18 New Street. La Gold & Stock Telegraph Company
fut rapidement créée pour fournir aux courtiers ce système,
qui fut très rapidement adopté dans tout le quartier financier
de New York, à la pointe sud de l'île de Manhattan. Les cotations
étaient transmises par télégraphe Morse depuis le
parquet de la Bourse jusqu'à la « centrale », puis
distribuées aux abonnés. Le succès du système
d'information sur les actions fut immédiat.
C'est à ce moment-là qu'Edison arriva à
New York et, selon ses propres dires, trouva refuge pour la nuit dans
la salle des batteries de la Gold Indicator Company, après avoir
postulé pour un poste d'opérateur à la Western Union.
Il dut attendre quelques jours, et pendant ce temps, il saisit l'occasion
d'étudier les indicateurs et le transmetteur général
complexe dans le bureau, commandés depuis le clavier de l'opérateur
de la Bourse de l'or. Ce qui se passa ensuite fut à l'origine de
nombreuses histoires inexactes, mais il est suffisamment dramatique pour
être raconté par M. Edison lui-même : « Le troisième
jour de mon arrivée, alors que j'étais assis au bureau,
l'appareil général complexe, qui servait à transmettre
toutes les lignes et qui faisait un bruit infernal, s'arrêta brusquement
avec fracas. En deux minutes, plus de trois cents garçons
un garçon de chaque courtier de la rue montèrent
précipitamment les escaliers et envahirent la longue allée
et le bureau, qui pouvait à peine accueillir une centaine de personnes,
criant tous que le fil de tel ou tel courtier était hors service
et qu'il fallait le réparer immédiatement. Ce fut le chaos,
et le responsable devint si excité qu'il perdit le contrôle
de toutes ses connaissances. Je me rendis à l'indicateur et, après
l'avoir examiné minutieusement, je compris où se trouvait
le problème et le trouvai. L'un des innombrables ressorts de contact
s'était cassé et était tombé entre les deux
roues dentées, arrêtant l'appareil ; mais ce n'était
pas très visible. Alors que je sortais pour informer le responsable
de la situation, le docteur Laws est apparu, la personne la plus excitée
que j'aie jamais vue. Il a demandé à l'homme la cause du
problème, mais celui-ci est resté sans voix. J'ai osé
lui dire que je savais ce qui se passait, et il a dit : « Réparez-le
! Réparez-le ! Faites vite ! » J'ai retiré le ressort
et remis les roues de contact à zéro ; les hommes de la
chaîne, de la batterie et de l'inspection se sont dispersés
dans le quartier financier pour régler les instruments. En deux
heures environ, tout fonctionnait à nouveau. Le docteur Laws est
venu me demander mon nom et ce que je faisais. Je le lui ai expliqué,
et il m'a invité à venir dans son bureau privé le
lendemain. Son bureau était rempli de piles de livres traitant
tous de métaphysique et de sujets connexes. Il m'a posé
de nombreuses questions sur les instruments et son système, et
je lui ai montré comment il pouvait simplifier les choses. Il m'a
ensuite demandé de le rappeler le lendemain. À mon arrivée,
il m'a immédiatement annoncé qu'il avait décidé
de me confier la direction de l'ensemble de l'usine et que mon salaire
serait de 300 dollars par mois ! C'était un saut si brutal par
rapport à tout ce que j'avais vu auparavant que cela m'a quelque
peu paralysé pendant un moment. Je pensais que c'était trop
pour durer, mais j'ai décidé d'essayer d'être à
la hauteur de ce salaire si vingt heures de travail acharné par
jour suffisaient. J'ai conservé ce poste, apporté de nombreuses
améliorations, conçu plusieurs téléscripteurs,
jusqu'à ce que l'or & Stock Telegraph Company a fusionné
avec Gold Indicator Company.« Certainement, peu de changements de
fortune ont été plus soudains et plus dramatiques dans une
carrière notable que celui-ci, qui a ainsi placé un jeune
homme mal vêtu, négligé, à moitié affamé
et impatient dans une position de telle responsabilité à
une époque où les fluctuations du prix de l'or à
chaque instant signifiaient fortune ou ruine pour des milliers de personnes.
Edison, âgé d'à peine vingt et un
ans, était un observateur attentif des événements
qui l'entouraient. « Wall Street » est toujours une étude
intéressante, mais jamais sa période de l'histoire ne fut
plus agitée et sensationnelle qu'à cette époque.
L'arrivée d'Edison à New York coïncida avec une spéculation
active sur l'or, qui, on peut le dire, lui fournit une occupation ; elle
fut bientôt suivie par la tentative de M. Jay Gould et de ses associés
de monopoliser le marché de l'or, précipitant la panique
du Vendredi noir, le 24 septembre 1869. Garantissant ses droits d'importation
sur le métal précieux et contribuant ainsi à créer
une tension artificielle sur le marché de l'or, le gouvernement
avait pris l'habitude de redresser la situation en vendant un million
d'or chaque mois. Le métal fut ainsi remis en circulation. Le président
Grant était persuadé que la situation générale
et la circulation des récoltes seraient améliorées
si la vente d'or était suspendue temporairement ; et, cette décision
prise, il alla rendre visite à un vieil ami en Pennsylvanie, loin
des chemins de fer et des télégraphes. Le pool Gould avait
acquis 10 millions de dollars d'or et en avait rapidement fait grimper
le prix, passant de 144 à 200, leur objectif. Le Vendredi noir,
ils en achetèrent 28 millions de dollars supplémentaires
à 160, et le prix continua de grimper. Les intérêts
financiers et commerciaux du pays étaient paniqués ; mais
le pool persévéra dans ses efforts pour s'accaparer l'or,
avec un profit de plusieurs millions en cas de succès. Cédant
à des demandes frénétiques, le président Grant,
de retour à Washington, poussa le secrétaire au Trésor
Boutwell à injecter 4 millions de dollars d'or sur le marché.
Le soulagement fut immédiat, le coin était brisé,
mais le mal était fait. Les remarques d'Edison jetèrent
un éclairage saisissant sur cet épisode extraordinaire :
« Le Vendredi noir », dit-il, « nous avons vécu
une expérience passionnante avec les indicateurs. Les partisans
de Gould et Fisk s'étaient emparés de l'or et avaient fait
grimper les cours plus vite que l'indicateur ne pouvait le suivre. L'indicateur
était composé de plusieurs roues ; sur la circonférence
de chaque roue se trouvaient les chiffres ; et une roue comportait les
fractions. Il fonctionnait comme un compteur ordinaire : une roue faisait
dix tours, et au dixième, elle faisait avancer la roue adjacente
; et celle-ci, après avoir fait dix tours, faisait avancer la roue
suivante, et ainsi de suite. Le matin du Vendredi noir, l'indicateur affichait
une prime de 150, alors que les offres des agents de Gould dans la salle
de l'or étaient de 165 pour cinq millions ou une fraction. Nous
avions un presse-papiers près de l'émetteur (pour accélérer
le processus), et à une heure, nous avions atteint la bonne cotation.
L'excitation était prodigieuse. New Street, comme Broad Street,
était bondée de gens excités. Je me suis assis au
sommet de la cabine télégraphique de la Western Union pour
observer la foule déferlante et déchaînée.
Un homme est venu me voir. J'ai pris un crayon et j'ai essayé d'écrire
un message à Boston. Le premier trait est parti net ; il était
si excité qu'il a demandé à l'opératrice d'écrire
le message pour lui. Dans l'excitation, Speyer, le banquier, est devenu
fou et il a fallu cinq hommes pour le retenir ; tout le monde a perdu
la tête. L'opératrice de Western Union est venue me voir
et m'a dit : « Secoue, Edison, on va bien. On n'a plus un centime.
» J'étais très heureux parce que nous étions
pauvres. Ces moments sont très agréables pour un homme pauvre,
mais ils sont rares.
Cette description dégage un calme et un détachement
qui ont habité le narrateur même dans les moments les plus
angoissés de sa carrière. Déterminé à
voir tout ce qui pouvait l'être, il quitta son perchoir sur la cabine
télégraphique pour se diriger vers le quartier général
plus isolé des forces de la piscine. Un de mes amis était
opérateur au bureau de Belden et Company, au 60 Broadway, siège
social de Fisk. M. Gould travaillait dans les bureaux d'Erie, au Grand
Opera House, en centre-ville. L'entreprise Smith, Gould et Martin, sur
Broad Street, était l'autre succursale. Toutes étaient reliées
par des fils. Gould semblait être aux commandes, Fisk étant
le directeur du centre-ville. Fisk portait un manteau en velours côtelé
et un gilet très particulier. Il était très joyeux
et semblait joyeux et enjoué. Une douzaine d'hommes élégants
étaient assis dans la salle. Tous avaient le teint cadavérique.
Il y avait un panier de champagne. Des centaines de garçons se
précipitaient pour payer les chèques, tous libellés
à l'ordre de Belden et Company. Lorsque James Brown, de Brown Brothers
et Company, franchit le pas en vendant cinq millions d'or, tous les paiements
furent annulés par Smith, Gould et Martin ; mais ils continuèrent
à recevoir des chèques chez Belden et Company. Pendant un
certain temps, jusqu'à ce que la Bourse ait vent du jeu. Il y avait
une sorte de complot avec les gens du gouvernement que je n'ai pas pu
déchiffrer, mais j'ai entendu des messages qui m'ont ouvert les
yeux sur les ramifications de Wall Street. L'or est tombé à
132, et il nous a fallu toute la nuit pour ramener l'indicateur à
ce niveau. Toute la nuit, les rues étaient noires de monde. Chaque
bureau de courtier était brillamment éclairé toute
la nuit, et tout le monde était à l'uvre. La chambre
de compensation de l'or avait été submergée, et tout
était confus. Personne ne savait s'il était en faillite
ou non.
À cette époque, Edison aimait plutôt
les cafés modestes et mentionne en avoir visité un :
Sur le fil de New York n° 1, où je travaillais à Boston,
il y avait un opérateur nommé Jerry Borst à l'autre
bout du fil. C'était un récepteur de premier ordre et un
expéditeur rapide. Nous avons imaginé un plan pour maintenir
ce fil : il a donc changé une lettre de l'alphabet et je m'y suis
vite habitué ; et finalement, nous en avons changé trois.
Si un opérateur essayait de recevoir des appels de Borst, il n'y
parvenait pas ; Borst et moi travaillions donc toujours ensemble. Borst
parlait moins que tous les opérateurs que j'ai connus. Ne l'ayant
jamais vu, je suis allé le voir à New York. C'est moi qui
parlais. Il écoutait, se caressait la barbe et ne disait rien.
Le soir, je me suis rendu dans un restaurant ouvert toute la nuit à
Printing House Square, au sous-sol : Oliver's. Les rédacteurs de
nuit, dont Horace Greeley et Henry Raymond, du New York Times, y prenaient
leur déjeuner de minuit. Lorsque j'y suis allé avec Borst
et un autre opérateur, ils m'ont montré deux ou trois hommes
alors célèbres dans le monde de la presse. La nuit était
intensément chaude et serrée. Après avoir déjeuné,
et en arrivant sur le trottoir, Borst ouvrit la bouche et dit : «
C'est un endroit formidable ; une assiette de gâteaux, une tasse
de café et un bain russe, pour dix cents. » Cela a représenté
environ la moitié de sa conversation pendant deux jours.
Les travaux d'Edison sur l'indicateur d'or l'avaient rapproché
de M. Franklin L. Pope, le jeune ingénieur télégraphiste
alors associé au docteur Laws, devenu par la suite expert et rédacteur
technique distingué, qui devint président de l'American
Institute of Electrical Engineers en 1886. Chacun reconnut les talents
particuliers de l'autre et, à peine une semaine après les
célèbres événements du Vendredi noir, l'annonce
de leur partenariat parut dans le Telegrapher du 1er octobre 1869. Il
s'agissait de la première « carte professionnelle »,
si l'on peut dire, jamais émise en Amérique par une société
d'ingénieurs électriciens, et elle est reproduite ici. Il
est probable que cette publicité, l'une des plus importantes du
Telegrapher et paraissant fréquemment, ne fut pas payée
au tarif plein, car l'éditeur, M. J.N. Ashley, devint associé
de la société, et non un simple « associé dormant
» lorsqu'il s'agissait de partager les bénéfices,
parfois considérables. Afin de se rapprocher de son nouvel ami
Edison, il logea quelque temps chez Pope à Elizabeth, dans le New
Jersey, menant une vie ardue dans l'exercice de ses fonctions. Associé
à Pope et Ashley, il poursuivit ses travaux sur les imprimantes
télégraphiques avec un succès remarquable. «
Pendant que j'étais chez eux, j'ai conçu une imprimante
permettant d'imprimer les cours de l'or au lieu de les indiquer. Les lignes
furent mises en service et l'ensemble fut vendu à la Gold &
Stock Telegraph Company. Mes expériences se déroulaient
toutes dans le petit atelier d'un certain Docteur Bradley, situé
près de la gare du Pennsylvania Railroad à Jersey City.
Chaque soir, je partais pour Elizabeth par le train de 1 h du matin, puis
je marchais 800 mètres jusqu'à la maison de M. Pope et me
levais à 6 h pour prendre mon petit-déjeuner afin de prendre
le train de 7 h. Cela continua tout l'hiver, et il m'arrivait souvent
de me retrouver presque gelé dans le trajet d'Elizabeth. »
Ce Docteur Bradley semble avoir été le premier aux États-Unis
à effectuer des mesures électriques précises avec
le galvanomètre, mais c'était un expérimentateur
de la vieille école qui allait travailler pendant des années
sur un instrument sans valeur commerciale. Il était également
extrêmement colérique, et lorsqu'un jour le fil de connexion
refusa de sortir d'une des bornes de connexion d'un galvanomètre
neuf et coûteux, il jeta l'instrument par terre et sauta dessus.
Il devait cependant être un homme original, comme en témoigne
sa tentative de vieillissement du whisky par l'électricité,
tentative qui a été répétée à
maintes reprises depuis. « Son passe-temps à l'époque
où j'étais là », raconte Edison, « était
le vieillissement du whisky brut en le traversant de forts courants électriques.
Il avait disposé vingt bocaux avec des électrodes en platine
maintenues en place par du caoutchouc dur. Lorsque tout fut prêt,
il remplit les cellules de whisky, connecta la batterie, verrouilla la
porte de la petite pièce où elles étaient placées
et donna l'ordre formel de ne laisser entrer personne. Il disparut ensuite
pendant trois jours. Le deuxième jour, nous avons remarqué
une odeur nauséabonde dans la boutique, comme celle d'un animal
mort. Le lendemain, le médecin arriva et
Remarquant l'odeur,
il demanda ce qui était mort. Nous pensions tous que quelque chose
s'était infiltré dans sa cave à whisky et était
mort. Il l'ouvrit et fut presque terrassé. Le caoutchouc dur qu'il
utilisait était, bien sûr, plein de soufre, et celui-ci,
attaqué par l'hydrogène naissant, avait produit des torrents
d'hydrogène sulfuré, déplaçant tout l'air
de la pièce. L'hydrogène sulfuré est, comme chacun
sait, le gaz dégagé par les ufs pourris.
Un autre aperçu de cette période de développement
est offert par un article intéressant sur le télégraphe
boursier, paru dans l'Electrical World du 4 mars 1899, rédigé
par M. Ralph W. Pope, célèbre secrétaire de l'American
Institute of Electrical Engineers, qui, dans sa jeunesse, entretenait
des liens étroits et actifs avec ce secteur de l'industrie électrique.
Dans son article, il mentionne le fait curieux que le docteur Laws, au
début, recevant les cotations des bourses, se méfiait tellement
du système Morse qu'il installa de longues lignes de tubes sonores,
considérant ce dispositif comme plus efficace et plus sûr
qu'un fil télégraphique. Concernant les relations de l'époque,
M. Pope remarque :
La rivalité entre les deux entreprises aboutit à une consolidation
: lentreprise du docteur Laws fut absorbée par la Gold &
Stock Telegraph Company, tandis que limprimeur de titres Laws fut
relégué à la casse et au musée. La concurrence
dans ce domaine ne cessa cependant pas. MM. Pope et Edison inventèrent
une imprimante à un fil et lancèrent un système d«
imprimeurs dor » dédiés uniquement à
lenregistrement des cours de lor et des changes en livres
sterling. Ce système était destiné plus particulièrement
aux importateurs et aux courtiers en devises, et était fourni à
un prix inférieur à celui du service dindicateurs
La construction et léquipement de lignes télégraphiques
privées furent également entrepris. Cette activité
fut ensuite absorbée par la Gold & Stock Telegraph Company,
qui était probablement à cette époque au sommet de
sa prospérité. Lorganisation financière de
lentreprise était particulière et méritait
dêtre soulignée. Chaque abonné à une
machine payait 100 $ pour avoir le privilège dobtenir un
instrument. Pour le service, il payait 25 $ par semaine. En cas de retraite
ou de faillite, il pouvait transférer son « droit »,
et les employés étaient constamment à laffût.
Des droits achetables, dont la vente pouvait être réalisée
avec profit. Il était parfois rentable de convaincre un homme qu'il
n'était pas réellement propriétaire de la machine
installée dans son bureau
La Western Union Telegraph Company
acquit la majorité de ses actions, et le général
Marshall Lefferts fut élu président. Un service de lignes
privées fut créé, et l'entreprise, reprise de Pope,
Edison et Ashley, connut un essor rapide.
À ce moment-là, le général
Lefferts, en tant que président de la Gold & Stock Telegraph
Company, demanda à Edison de travailler à l'amélioration
du téléscripteur boursier, fournissant l'argent ; et le
célèbre téléscripteur « Universal »,
largement utilisé à l'époque, en fut l'un des résultats.
M. Edison donne une image saisissante de l'effet surprenant sur sa fortune
: « J'ai fait de nombreuses inventions ; l'une d'elles était
le téléscripteur spécial utilisé pendant de
nombreuses années hors de New York, dans les grandes villes. Cela
était extrêmement simple, car ils ne disposaient pas des
experts que nous avions à New York pour gérer les choses
compliquées. Le même téléscripteur était
utilisé à la Bourse de Londres. Après avoir fait
de nombreuses inventions et obtenu des brevets, le général
semblait impatient de clore l'affaire. Un jour, j'ai présenté
et mis en uvre un dispositif efficace grâce auquel, si un
téléscripteur se déréglait dans le bureau
d'un courtier et commençait à imprimer des chiffres incohérents,
il pouvait être remis à l'unisson depuis la gare centrale,
ce qui a épargné le travail de nombreux hommes et bien des
ennuis au courtier. Il m'a appelé dans son bureau et m'a dit :
« Maintenant, jeune homme, je veux clore l'affaire de vos inventions.
Combien pensez-vous recevoir ? » J'avais décidé que,
compte tenu du temps et du rythme effréné que je mettais
à travailler, j'aurais droit à 5 000 $, mais que je pourrais
me contenter de 3 000 $. Quand le moment psychologique est venu, je n'ai
pas osé annoncer une somme aussi importante, alors j'ai dit : «
Eh bien, Général, si vous me faisiez une offre. »
Puis il a dit : « Que diriez-vous de 40 000 $ ? » J'ai failli
m'évanouir. J'avais peur qu'il n'entende mon cur battre.
J'ai réussi à lui dire que je trouvais cela juste. «
D'accord, je vais faire rédiger un contrat ; revenez dans trois
jours le signer et je vous donnerai l'argent. » Je suis arrivé
à l'heure, mais j'avais longuement réfléchi à
la question. La somme me semblait très importante pour l'ampleur
du travail, car à l'époque, j'en évaluais la valeur
en fonction du temps et des efforts fournis, et non de la valeur de l'invention
pour les autres. Je pensais qu'il y avait quelque chose d'irréel
là-dedans. Pourtant, le contrat m'a été remis. Je
l'ai signé sans le lire. Edison reçut alors le premier chèque
qu'il ait jamais reçu, un chèque de 40 000 dollars tiré
sur la Bank of New York, à l'angle de William Street et de Wall
Street. En se rendant à la banque et en déposant le chèque
au guichet du caissier, on lui fit quelques brèves remarques qu'il
ne comprit pas, étant donné sa surdité. Le chèque
lui fut rendu et Edison, s'imaginant un instant avoir été
trompé, sortit « sur les grandes marches pour laisser s'évaporer
ses sueurs froides ». Il retourna ensuite auprès du général,
qui, avec sa secrétaire, en rit bien, lui indiqua que le chèque
devait être endossé et envoya un jeune homme avec lui pour
l'identifier. La cérémonie d'identification eut lieu devant
le caissier, qui se réjouit de l'incident.Edison reçut la
somme en liasses de petits billets « jusqu'à ce qu'il semble
y avoir un pied cube ». Ignorant qu'il était victime d'une
farce, Edison rangea gravement l'argent dans les poches de son pardessus
et dans toutes ses autres poches. Il se rendit ensuite à Newark
et passa la nuit à garder l'argent, de peur qu'il ne soit volé.
Il chercha de nouveau de l'aide le lendemain matin. Le général
éclata de rire et, après avoir dit au commis que la farce
ne devait pas être prolongée, il lui permit de déposer
les billets à la banque et d'ouvrir un compte.
Ainsi, en un temps incroyablement court, Edison était
passé de la pauvreté à l'indépendance ; il
avait profondément impressionné les personnalités
importantes par son originalité et son talent, et avait mis au
point des inventions précieuses, s'extirpant d'un bond du bourbier
de la médiocrité et de la corvée étouffante
du travail manuel. Mieux encore, il était entreprenant, l'un de
ces leaders et pionniers que le monde recherche sans cesse ; et, pour
reprendre sa propre critique, il avait « un tempérament trop
optimiste pour garder son argent en isolement ». Avec un calme absolu,
il saisit l'occasion, commença à acheter des machines, loua
un atelier et trouva du travail. S'installant rapidement dans un atelier
plus grand, situé aux 10 et 12 Ward Street, à Newark, dans
le New Jersey, il obtint d'importantes commandes du général
Lefferts pour la construction de téléscripteurs et employa
cinquante hommes. Avec l'essor de son activité, il forma une équipe
de nuit et fut son propre contremaître pour les deux équipes.
Une demi-heure de sommeil, trois ou quatre fois par jour, lui suffisait
à cette époque, où les inventions se succédaient
avec une rapidité fulgurante, et où il travaillait avec
l'énergie fulgurante et éruptive d'un volcan, lançant
sans cesse de nouvelles idées avec un effet spectaculaire sur les
arts auxquels elles se rapportaient. Edison a toujours eu pour théorie
que nous dormons beaucoup trop ; mais d'un autre côté, il
n'a jamais, avant bien plus de cinquante ans, connu ni pratiqué
la moindre modération dans son travail ni dans sa consommation
de café fort et de cigares noirs. De plus, bien que d'un naturel
tendre et bienveillant, il n'a jamais hésité à user
les hommes aussi librement qu'un Napoléon ou un Grant, ne voyant
dans une invention complète ou un dispositif perfectionné
que le but, pour lequel tout le reste devient secondaire. Il donne un
aperçu saisissant de ses premières méthodes de fabricant
: « Presque tous mes hommes travaillaient à la pièce,
je leur permettais de gagner de bons salaires et ne réduisais jamais
leurs salaires jusqu'à ce que les salaires atteignent des sommets
absurdes à mesure qu'ils gagnaient en expertise. Je ne tenais pas
de comptabilité. J'avais deux hameçons. J'inscrivais toutes
les factures et tous les comptes que je devais à l'un ; et les
notes de tout ce qui me revenait, à l'autre. Lorsque certaines
factures arrivaient à échéance et que je ne pouvais
pas fournir de billets pour me procurer de l'argent, je donnais un billet.
À l'échéance, un messager de la banque venait avec
le billet et un protêt épinglé dessus pour 1,25 $.
Ensuite, j'allais à New York obtenir une avance, ou je payais le
billet si j'avais l'argent. J'ai conservé cette méthode
de donner des billets pour mes comptes et de faire protêter tous
les billets pendant deux ans, et pourtant mon crédit était
bon. Tous les magasins avec lesquels je faisais affaire étaient
toujours ravis de me fournir des marchandises, peut-être par admiration
pour ma méthode de travail, qui était certainement nouvelle.
» Au bout d'un moment, Edison fit appel à un comptable, dont
les caprices le firent regretter l'ancienne méthode, primitive.
« Les trois premiers mois, je lui demandai de vérifier les
comptes pour savoir combien nous avions gagné. Il déclara
3 000 $. J'ai offert un dîner à certains de mes hommes pour
fêter ça, mais on m'annonça deux jours plus tard qu'il
avait fait une erreur. »et que nous avions perdu 500 $ ; puis quelques
jours plus tard, il est revenu me voir et m'a dit qu'il était complètement
embrouillé, et il a découvert que nous avions gagné
plus de 7 000 $. » Edison a changé de comptable, mais n'a
plus jamais comptabilisé de réel profit avant d'avoir payé
toutes ses dettes et d'avoir les bénéfices à la banque.
À cette époque, l'usine travaillait principalement
sur des téléscripteurs, principalement l'« Universal
», dont douze cents exemplaires furent utilisés à
une époque. Edison entretint un lien étroit avec cet appareil
tant qu'il dura. Dans une critique de l'art des téléscripteurs,
M. Callahan déclarait, avec des éloges plutôt réticents,
qu'« un téléscripteur de l'époque actuelle
(1901) serait considéré comme impraticable et invendable
s'il n'était pas équipé d'un dispositif d'unisson
», et il poursuit : « Le premier unisson sur les téléscripteurs
boursiers fut celui utilisé sur l'imprimeur Laws.[2] C'était
un mécanisme rudimentaire et insatisfaisant, qui nécessitait
de doubler la pile pour le faire fonctionner. Sa durée de vie fut
brève. L'unisson Edison comprenait un levier dont l'extrémité
libre se déplaçait en spirale ou en vis sans fin sur l'axe
de la roue typographique jusqu'à ce qu'il rencontre une goupille
à l'extrémité de la vis sans fin, obstruant ainsi
l'axe et laissant les roues typographiques au point zéro jusqu'à
leur libération par le levier d'impression. Ce dispositif est trop
connu pour nécessiter une description plus détaillée.
Il ne s'applique à aucun instrument utilisant deux roues typographiques
à mouvement indépendant ; mais il est utilisé sur
presque tous les autres instruments, voire tous. » Le téléscripteur
a bénéficié de la passion de nombreux inventeurs
brillants GM Phelps, H. Van Hoevenbergh, AA Knudson, GB Scott,
SD Field, John Burry et demeure largement utilisé, un appareil
pour lequel aucun substitut ni concurrent n'a été trouvé.
À New York, les deux grandes bourses ont jugé nécessaire
de posséder et d'exploiter un service de téléscripteur
au seul bénéfice de leurs membres ; et jusqu'à présent,
le processus d'amélioration s'est poursuivi, stimulé par
le volume croissant d'affaires à déclarer. Il est significatif
du travail d'Edison, aujourd'hui obscurci et masqué par les progrès
ultérieurs, qu'il ait reconnu dès le début l'importance
vitale de l'interchangeabilité dans la construction de cet appareil
délicat et sensible. Mais les difficultés de ces débuts
étaient presque insurmontables. M. R. W. Pope dit des machines
« Universal » qu'elles étaient simples, robustes et
généralement satisfaisantes, mais ajoute : « Ces instruments
étaient censés être fabriqués avec des pièces
interchangeables ; mais en réalité, les cas où ces
pièces s'adaptaient étaient très rares. Le manuel
d'instructions préparé à l'usage des inspecteurs
stipulait : « Les pièces ne doivent être ni modifiées
ni pliées, car elles sont fabriquées avec précision
et interchangeables. » Les difficultés rencontrées
pour les ajuster correctement ont sans doute donné lieu à
une histoire selon laquelle M. Edison aurait affirmé qu'il existait
trois degrés d'interchangeabilité. Cela signifiait : premièrement,
les pièces s'ajustent ; deuxièmement, elles s'ajustent presque
; troisièmement, elles ne s'ajustent pas et ne peuvent pas être
ajustées. »
[2] C'est moi qui l'ai inventé aussi. TAE
Cet atelier ancien illustre la profonde influence qu'Edison
a exercée sur le monde de l'électricité. Trois hommes,
autrefois riches ou influents, travaillaient à un même établi.
L'un d'eux était Sigmund Bergmann, un temps associé d'Edison
dans ses projets d'éclairage aux États-Unis, et aujourd'hui
directeur et principal propriétaire d'une usine d'électricité
à Berlin employant dix mille personnes. Le suivant était
John Kruesi, futur ingénieur de la grande usine General Electric
de Schenectady. Le troisième était Schuckert, qui quitta
l'atelier pour fonder le petit domaine de son père à Nuremberg,
y resta et fonda des usines d'électricité, qui devinrent
les troisièmes plus grandes d'Allemagne, leur propriétaire
mourant très riche. « Je leur ai donné une bonne formation
en matière d'horaires de travail et de travail acharné »,
dit leur ancien maître ; et cela est tout aussi vrai pour de nombreux
autres employés d'entreprises portant le nom d'Edison ou constituées
sous des brevets Edison. Il est curieusement significatif à cet
égard que, sur les vingt et un présidents de la société
nationale, l'American Institute of Electrical Engineers, fondée
en 1884, huit aient été intimement liés à
Edison à savoir Norvin Green et FL Pope, en tant que collègues
de travail de l'époque dont nous parlons aujourd'hui ; Frank J.
Sprague, TC Martin, AE Kennelly, SS Wheeler, John W. Lieb, Jr. et Louis
A. Ferguson ont tous été, à un moment ou à
un autre, au service d'Edison. On a dit un jour que si un célèbre
professeur américain était assis à une extrémité
d'une bûche et un étudiant à l'autre, on retrouvait
les éléments d'une université prospère. Il
est tout aussi vrai qu'avec Edison et les nombreux hommes issus de son
école austère et pleine d'efforts, l'Amérique a toujours
été le berceau du génie électrique.
9 - Télégraphie automatique, duplex et
quadruplex
Le jeune fabricant s'est lancé dans une activité
de toutes sortes, occupé également par ses propres projets
et inventions, qui ont rapidement suivi des pistes de recherche si diverses
qu'il n'est plus facile ni nécessaire pour l'historien de les traiter
toutes dans un ordre chronologique. On peut se faire une idée de
son activité incessante en constatant qu'il a ouvert pas moins
de trois ateliers à Newark entre 1870 et 1871, et qu'à sa
tête, il a également été engagé par
les dirigeants de l'Automatic Telegraph Company de New York, qui avait
un réseau à Washington, pour l'aider à sortir de
ses difficultés.
Peu après l'ouverture du grand atelier (10 et 12 Ward Street, Newark),
j'ai loué un local à l'inventeur d'un nouveau fusil. Je
crois que c'était le Berdan. Quoi qu'il en soit, ce fusil fut adopté
par l'armée britannique. L'inventeur employait un outilleur, le
meilleur et le plus talentueux que j'aie jamais vu. J'ai remarqué
qu'il travaillait presque 24 heures sur 24. C'est ce genre d'emploi que
je recherchais. Il gagnait 21,50 $ par semaine et était également
rémunéré pour ses heures supplémentaires.
Je lui ai demandé s'il pouvait gérer l'atelier. «
Je ne sais pas ; essayez ! » m'a-t-il répondu. « D'accord,
je vous donne 60 $ par semaine pour faire les deux équipes. »
Il s'y est mis. Ses capacités d'exécution étaient
supérieures à celles de n'importe quel autre homme que j'aie
jamais rencontré. Sa mémoire était prodigieuse, sa
conversation laconique et ses mouvements rapides. Il a doublé la
production en trois mois, sans augmenter sensiblement la masse salariale,
en augmentant la vitesse de coupe des outils et en utilisant divers appareils.
Lorsqu'il avait besoin de repos, il s'allongeait sur un établi,
dormait vingt ou trente minutes et se réveillait frais et dispos.
Comme c'était précisément ce que je pouvais faire,
j'ai naturellement éprouvé une grande fierté à
avoir un tel homme à la tête de mon travail. Mais presque
tout est lié à cela. Il a disparu un jour, et bien que j'aie
envoyé des hommes partout où il était probable qu'on
puisse le retrouver, il n'a pas été découvert. Au
bout de deux semaines, il est arrivé à l'usine dans un état
lamentable, tant au niveau des vêtements que du visage. Il s'est
assis et, se tournant vers moi, m'a dit : « Edison, c'est inutile,
c'est la troisième fois ; je ne supporte pas la prospérité.
Remets mon salaire et donne-moi un emploi. » J'ai été
très désolé d'apprendre que c'était le whisky
qui avait ruiné une telle carrière. Je lui ai donné
un emploi subalterne et je l'ai gardé longtemps.
Edison s'était alors définitivement lancé
dans cette carrière d'inventeur qui a profondément marqué
les archives de l'Office des brevets des États-Unis. Depuis son
premier brevet en 1869 jusqu'à l'été 1910, pas moins
de 1 328 brevets distincts ont été déposés
en son nom, soit en moyenne trente-deux par an et un tous les onze jours
environ ; le nombre de brevets délivrés étant sensiblement
le même. L'apogée de son activité inventive fut atteinte
vers 1882, année où pas moins de 141 brevets furent déposés
et soixante-quinze lui furent accordés, soit près de neuf
fois plus qu'en 1876, année où l'invention en tant que profession
fut adoptée par ce génie prolifique. Il est bien entendu
que même ces chiffres ne reflètent pas la pleine mesure de
l'invention réelle, car à chaque étape et dans chaque
procédé, de nombreuses découvertes n'ont pas été
brevetées, mais sont restées des « secrets commerciaux
». Et en outre, dans pratiquement tous les cas, linvention
brevetée est issue dune à une douzaine, voire plus,
de formes évoluant progressivement de la même idée.
Un Anglais du nom de George Little avait mis au point
un système de télégraphie automatique qui fonctionnait
bien sur les lignes courtes, mais qui s'est avéré inefficace
sur les circuits plus longs, pour lesquels les méthodes automatiques
sont les mieux adaptées. Le principe général des
télégraphes automatiques ou rapides, à l'exception
des télégraphes photographiques, consiste à préparer
le message à l'avance, pour l'expédition, en perforant d'étroites
bandes de papier opération qui peut être réalisée
soit à la main, soit à la machine à écrire.
Un certain groupe de perforations correspond à un groupe de points
et de traits Morse pour une lettre de l'alphabet. Lorsque la bande ainsi
préparée passe rapidement dans une machine émettrice,
un contact électrique se produit à chaque perforation, permettant
au courant de la batterie de circuler dans la ligne et de transmettre
ainsi les signaux correspondants. À l'extrémité distante,
ces signaux sont parfois reçus sur un enregistreur à encre
sous forme de points et de traits, voire de lettres dactylographiées
; Mais dans de nombreux systèmes plus anciens, comme celui de Bain,
l'enregistrement aux vitesses les plus élevées était
effectué par des moyens chimiques, une tache révélatrice
apparaissant sur la bande de papier en mouvement à chaque impulsion
de courant entrant. Des solutions d'iodure de potassium étaient
fréquemment utilisées à cette fin, donnant un enregistrement
bleu net, mais s'estompant trop rapidement.
Le système Little était équipé
d'un appareil de perforation actionné par des électroaimants
; son émetteur était entraîné par un petit
moteur électromagnétique ; et l'enregistrement était
réalisé par décomposition électrochimique,
l'élément d'écriture étant un minuscule rouleau
de platine au lieu du stylet en fer plus courant. De plus, un type de
fil spécial avait été mis au point pour le circuit
unique de trois cents kilomètres entre New York et Washington.
Il s'agirait du premier fil « composé » conçu
pour la télégraphie ou d'autres applications de signalisation,
l'objectif étant d'obtenir une plus grande légèreté,
une résistance textile et une conductivité élevée.
Il était composé d'une âme en acier, entourée
d'un ruban de cuivre enroulé en spirale, et étamé
jusqu'au fil central. Mais les résultats obtenus furent médiocres
et, dans l'urgence, les parties intéressées se tournèrent
vers Edison.
M. EH Johnson décrit les conditions :
Le général W.J. Palmer et quelques associés new-yorkais
avaient adopté le système automatique Little et dépensé
une somme considérable pour son développement. Pensant l'avoir
mis en pratique, ils obtinrent de Tom Scott, du Pennsylvania Railroad,
qu'il envoie son surintendant du télégraphe pour l'examiner
et rédiger un rapport. Bien sûr, il refusa. Le syndicat fut
consterné par ce rapport, et dans cette situation critique, le
général Palmer pensa que l'homme qui l'avait impressionné,
connaissant tout par ses récits télégraphiques, lui
permettrait de passer ses heures solitaires dans les plaines du Colorado,
où ils travaillaient ensemble à la construction du chemin
de fer. Cet homme c'était moi fut donc convoqué
à New York pour apaiser leur chagrin, si possible. Mon rapport
indiquait que le système était fondamentalement solide,
qu'il contenait les prémices d'une bonne chose, mais qu'il fallait
le peaufiner. Le général Palmer était associé
au colonel Josiah C. Reiff, alors agent des obligations de l'Est pour
le Kansas Pacific Railroad. Le colonel était toujours inventif
et ne faillit pas dans cette affaire. Il connaissait un jeune homme qui
travaillait bien pour Marshall Lefferts, un génie de l'invention,
et un véritable passionné de travail. Il s'appelait Edison
et possédait un atelier à Newark, dans le New Jersey. Il
est venu et m'a été confié afin d'échanger
des idées et de me faire un rapport sur ses compétences
en la matière. Ce fut ma première rencontre avec Edison.
Il a confirmé mes vues sur le système automatique. Il en
a perçu les possibilités, ainsi que les principaux obstacles
à surmonter, à savoir la lenteur du fil et la nécessité
d'améliorer mécaniquement l'appareil. Il a accepté
le poste à une condition : que Johnson reste et apporte son aide,
car « c'était un homme d'idées ». M. Johnson
a donc obtenu trois mois de congé de la construction ferroviaire
du Colorado, et n'a jamais revu le Colorado depuis.
S'attachant aux difficultés de l'énergie
habituelle, Edison conçut un nouvel appareil et résout le
problème à tel point que lui et ses assistants réussirent
à transmettre et enregistrer mille mots par minute entre New York
et Washington, et trois mille cinq cents mots par minute vers Philadelphie.
Une transmission manuelle classique par clé ne dépasse pas
quarante à cinquante mots par minute. En bref, la principale contribution
d'Edison au développement commercial de l'automatique reposait
sur l'observation que, sur une ligne de longueur considérable,
les impulsions électriques s'allongent considérablement,
ou ralentissent, en raison d'un phénomène appelé
auto-induction, qui, en Morse ordinaire, est dans une certaine mesure
corrigé par des condensateurs. Mais avec l'automatique, l'objectif
était de traiter des impulsions se succédant vingt-cinq
à cent fois plus rapidement qu'en Morse, et tenter de recevoir
et d'enregistrer intelligiblement une succession de signaux aussi fulgurante
aurait semblé impossible. Mais Edison découvrit qu'en utilisant
un shunt autour de l'instrument récepteur, avec un noyau en fer
doux, l'auto-induction produisait une inversion momentanée et instantanée
du courant à la fin de chaque impulsion, donnant ainsi une définition
parfaitement nette à chaque signal. Cette découverte mit
fin à la lenteur et permit d'atteindre des vitesses élevées
sur des lignes relativement longues. Mais les travaux d'Edison sur l'automatique
ne s'arrêtèrent pas à cette suggestion fondamentale
: il reprit et perfectionna la construction mécanique des instruments,
ainsi que des perforateurs, et suggéra également de nombreux
produits chimiques électrosensibles pour les récepteurs,
si bien que le télégraphe automatique, presque entièrement
grâce à ses travaux personnels, fut placé sur le plan
de la faisabilité commerciale. La longue série de brevets
qu'il a déposés dans cet art illustre de manière
intéressante le développement d'un système complet,
non pas, comme c'est généralement le cas, par de nombreux
inventeurs travaillant sur des périodes considérables, mais
par un seul homme développant les étapes successives à
une vitesse fulgurante.
Ce système fut mis en service commercial, mais
l'entreprise, désormais encouragée, accepta volontiers de
laisser Edison concrétiser son idée d'un système
automatique qui imprimerait le message en caractères romains gras
plutôt qu'en traits et points ; ce qui accélérerait
la transmission du message après sa réception en salle d'opération,
car il était évidemment nécessaire, pour tout message
reçu en caractères Morse, de le recopier en script avant
de le remettre au destinataire. Un grand atelier fut loué à
Newark, équipé de machines d'une valeur de 25 000 dollars,
et Edison en reçut la pleine responsabilité. Il y construisit
leur appareil original, amélioré, et poussa ses expérimentations
sur le système de lettres si loin que, lors d'un essai, entre New
York et Philadelphie, trois mille mots furent envoyés en une minute
et enregistrés en caractères romains. M. D.N. Craig, l'un
des premiers fondateurs de l'Associated Press, s'intéressa à
cette entreprise, dont le président était M. George Harrington,
ancien secrétaire adjoint au Trésor des États-Unis.
À cette époque au début des
années 1970 M. Craig avait amené de Milwaukee un
certain M. Sholes, qui possédait une maquette en bois d'une machine
à laquelle on avait donné le nom alors nouveau et inconnu
de « machine à écrire ». Craig s'intéressa
à la machine et confia le modèle à Edison pour qu'il
le perfectionne. « Cette machine à écrire s'est avérée
difficile à commercialiser », explique Edison. « L'alignement
des lettres était épouvantable. Une lettre dépassait
d'un seizième de pouce des autres ; et toutes les lettres avaient
tendance à dévier. J'ai travaillé dessus jusqu'à
ce que la machine donne des résultats satisfaisants. [3] Certaines
furent fabriquées et utilisées dans les bureaux de la société
Automatic. Craig était convaincu qu'un jour, toutes les lettres
commerciales seraient écrites à la machine à écrire.
Il mourut avant cela ; mais cette machine fit petit à petit son
chemin. La machine que j'ai mise au point pour le marché est aujourd'hui
connue sous le nom de Remington. C'est à cette époque que
j'ai eu l'idée de concevoir un appareil permettant d'envoyer simultanément
quatre messages sur un seul fil sans interférence. J'avais alors
cinq ateliers, et les expérimentations sur ce nouveau système
m'occupaient beaucoup ; au moins, je ne m'ennuyais pas. »
[3] Voir l'illustration sur la page opposée, montrant la reproduction
du travail effectué avec cette machine.
M. Patrick B. Delany, inventeur reconnu dans le domaine
de la télégraphie automatique et multiplex, alors chef opérateur
de la Franklin Telegraph Company à Philadelphie, dresse un portrait
très intéressant de M. Edison à cette époque.
Sa remarque à propos d'Edison : « son ingéniosité
inspirait confiance, et les financiers hésitants se raidirent lorsqu'on
apprit qu'il allait développer la télégraphie automatique
» témoigne de la manière dont le jeune inventeur avait
déjà acquis une solide assise. Il poursuit :
Edward H. Johnson, du Denver & Rio Grande Railway, fut recruté
pour contribuer à l'introduction pratique de la télégraphie
automatique sur une base commerciale. C'est à cette époque,
en 1872, que je rejoignis l'entreprise. D'assez bons résultats
furent obtenus entre New York et Washington, et Edison, indifférent
aux difficultés théoriques, entreprit de tester des vitesses
élevées entre New York et Charleston, en Caroline du Sud.
Le fil composé était relié à l'une des lignes
Southern & Atlantic reliant Washington à Charleston à
des fins expérimentales. Johnson et moi nous rendîmes à
Charleston pour mettre en uvre les plans d'Edison, qui étaient
rapidement dévoilés par télégraphe chaque
nuit depuis un loft du Lower Broadway, à New York. Nous ne pouvions
obtenir le fil qu'une fois toutes les affaires réglées,
généralement vers minuit, et pendant des mois, aux heures
creuses, ce fil était soumis à plus d'acrobaties électriques
que n'importe quel autre fil jamais connu. Une fois les expériences
terminées, le système d'Edison fut mis en service commercial
régulier entre New York et Washington ; il fonctionna très
bien. Si le fil unique ne s'était pas cassé environ une
fois sur deux Un jour, l'entreprise aurait été un succès
financier ; mais de l'humidité s'est infiltrée entre le
ruban de cuivre et le noyau d'acier, déclenchant une réaction
galvanique qui a rapidement détruit l'acier. La démonstration
a cependant été suffisamment concluante pour inciter Jay
Gould à signer un contrat pour payer environ 4 000 000 $ en actions
pour les brevets. Le contrat n'a jamais été honoré
pour ce qui est des 4 000 000 $, mais Gould en a fait bon usage pour prendre
le contrôle de la Western Union.
L'une des personnes les plus importantes liées
à l'entreprise automatique était M. George Harrington, dont
nous avons parlé plus haut, et avec lequel M. Edison avait noué
d'étroites relations confidentielles, de sorte que les inventions
réalisées étaient détenues conjointement,
en vertu d'un acte de partenariat couvrant « toute invention ou
amélioration pouvant être utile ou souhaitée en télégraphie
automatique ». M. Harrington avait été assuré
dès le départ par Edison que, si le perforateur Little ne
produisait en moyenne que sept ou huit mots par minute, ce qui était
insuffisant à des fins commerciales, il pourrait en concevoir un
produisant cinquante ou soixante mots, et que, si la solution Little pour
la bande réceptrice coûtait entre 15 et 17 dollars le gallon,
il pourrait fournir une solution ferrique ne coûtant que cinq ou
six cents le gallon. À tous égards, Edison réussit
et, en peu de temps, le système fut un succès. « M.
Little avait retiré son perforateur obsolète, sa résistance
inefficace et sa solution chimique coûteuse, pour céder la
place au perforateur d'Edison, à la résistance et aux dispositifs
d'Edison, et à la solution d'Edison qui coûtait quelques
centimes le gallon. Mais », poursuit M. Harrington dans une déclaration
mémorable, « les efforts inventifs de M. Edison ne se limitèrent
pas à la télégraphie automatique et ne cessèrent
pas avec l'ouverture de cette ligne vers Washington. » Tout cela
conduisit au quadruplex.
Flattés par leur succès, MM. Harrington
et Reiff, qui détenaient avec Edison les brevets étrangers
du nouveau système automatique, conclurent un accord avec les autorités
postales et télégraphiques britanniques pour un essai du
système en Angleterre, prévoyant son adoption probable en
cas de succès. Edison fut envoyé en Angleterre pour faire
la démonstration, en 1873, et rendit compte au colonel George E.
Gouraud, ancien associé de M. Harrington au Trésor américain,
désormais associé à la nouvelle entreprise. Muni
d'une petite sacoche de vêtements, de trois grandes caisses d'instruments
et d'un brillant collègue télégraphiste nommé
Jack Wright, il embarqua sur le Jumping Java, comme on l'appelait avec
humour, de la compagnie Cunard. La traversée fut difficile et le
petit Java justifia sa réputation en sautant partout dans l'océan.
« À table », raconte Edison, « il n'y avait jamais
plus de dix ou douze personnes. Je me demandais à l'époque
comment il était rentable de naviguer sur un paquebot avec si peu
de monde ; mais lorsque nous sommes arrivés en eau calme et avons
pu apercevoir les champs verdoyants, j'ai été stupéfait
de voir le nombre de personnes présentes. Il y en avait certainement
deux ou trois cents. J'ai appris plus tard qu'ils allaient principalement
à l'Exposition universelle de Vienne. Je n'ai pu monter sur le
pont que deux jours plus tard, et un de ces jours, un homme a été
gravement blessé au cuir chevelu après avoir été
projeté contre la paroi métallique d'un petit fumoir érigé
au-dessus d'une écoutille de fret. »
Arrivé à Londres, Edison installa son appareil
au siège de Telegraph Street et envoya son compagnon à Liverpool
avec les instruments nécessaires. La condition du test était
qu'il envoie depuis Liverpool et reçoive à Londres, et enregistre
à une cadence de mille mots par minute, soit cinq cents mots envoyés
toutes les demi-heures pendant six heures. On lui fournit un fil et des
piles pour fonctionner, mais un essai préliminaire démontra
rapidement son échec. Le fil et les piles étaient de mauvaise
qualité, et l'un des hommes désignés par les autorités
pour surveiller l'essai fit remarquer calmement et amicalement :
« Vous n'aurez pas beaucoup de spectacle. Ils vont vous donner
un vieux fil du canal de Bridgewater, si mauvais qu'on ne peut pas le
faire fonctionner, et beaucoup de piles de sable à
Liverpool. »[4] La situation était plutôt déprimante
pour le jeune Américain, qui se retrouvait ainsi confronté,
pour la première fois, au conservatisme inflexible et à
l'opposition au changement qui caractérisent tant la vie et les
méthodes officielles en Europe. « Je l'ai remercié
», raconte Edison, « et j'espérais lui rendre la pareille
d'une manière ou d'une autre. Je savais que j'étais dans
une situation difficile. J'avais séjourné dans un petit
hôtel de Covent Garden, le Hummums!, et je n'avais rien reçu
d'autre que du rosbif et des plies, et mon imagination était en
plein délire. Il me fallait des pâtisseries. Ce soir-là,
j'ai trouvé une pâtisserie française dans High Holborn
Street et j'ai fait le plein. Mon imagination s'est réveillée.
Tôt le matin, j'ai vu Gouraud, je lui ai exposé mon cas et
lui ai demandé s'il accepterait l'achat d'une batterie puissante
à envoyer à Liverpool. Il a dit « Oui ». Je
suis immédiatement allé chez Apps on the Strand et lui ai
demandé s'il avait une batterie puissante. Il a répondu
que non ; que tout ce qu'il avait, c'était la batterie Tyndall
de la Royal Institution, qui, selon lui, ne servirait à rien. Je
l'ai vue cent piles et, ayant obtenu le prix cent
guinées je me suis précipité chez Gouraud.
Il m'a dit « Allez-y. » J'ai télégraphié
à l'homme à Liverpool. Il est venu, a fait livrer la batterie
à Liverpool et s'est installé. et prête, deux heures
seulement avant le début du test. L'un des principaux facteurs
de réussite du système était la mise à la
terre de la ligne à l'extrémité émettrice
via un aimant, et le courant supplémentaire ainsi transmis à
la ligne servait à affiner les ondes d'enregistrement. Cette nouvelle
batterie était suffisamment puissante pour faire passer un courant
puissant à travers l'aimant sans diminuer sensiblement l'intensité
du courant de la ligne.
[4] La batterie au sable est désormais obsolète. Dans ce
type de batterie, la cellule contenant les élémentsas filled
with sand, which was kept moist with an electrolyte.
Dans ces conditions plus favorables, le test fut un succès.
« L'enregistrement était impeccable, et pas une seule remarque
ne fut faite dans la colonne « temps perdu ». » On demanda
alors à Edison s'il pensait pouvoir obtenir une vitesse supérieure
à celle des câbles sous-marins avec ce système, par
rapport aux méthodes classiques, et il répondit qu'il aimerait
bien avoir l'occasion de l'essayer. À cette fin, vingt-deux cents
kilomètres de câble brésilien, alors stockés
sous l'eau dans des réservoirs aux usines de Greenwich de la Telegraph
Construction & Maintenance Company, près de Londres, furent
mis à sa disposition de 20 heures à 6 heures du matin. «
Cela me convenait parfaitement, car je préférais travailler
de nuit. J'ai démonté et installé mon appareil, puis,
pour avoir une idée préliminaire de la distorsion du signal,
j'ai envoyé un seul point, qui aurait dû être enregistré
sur mon papier automatique par une marque d'environ un trente-seconde
de pouce de long. Au lieu de cela, il mesurait vingt-sept pieds de long
! Si jamais j'avais eu la moindre vanité, elle a disparu de mes
bottes. J'ai travaillé sur ce câble plus de deux semaines,
et le mieux que je pouvais faire était deux mots par minute, ce
qui ne représentait qu'un septième de la vitesse garantie
du câble une fois posé. Ce que j'ignorais à l'époque,
c'est qu'un câble spiralé, en raison de l'induction, était
infiniment moins performant que lorsqu'il était posé droit,
et que ma vitesse était aussi bonne, sinon meilleure, qu'avec le
système normal ; Mais personne ne m'a rien dit. » Alors qu'il
effectuait ces tests, le colonel Gouraud vint lui rendre visite un soir
à l'usine isolée, passa une veillée avec lui et,
au petit matin, voulut du café. Il n'y avait qu'une seule petite
auberge à proximité, fréquentée par des dockers
et des employés des savonneries et des cimenteries une bande
de rudes gens et ils s'y rendirent au lever du jour dès
que les autres clients étaient partis travailler. « L'endroit
avait un bar et six tables nues, et était tout simplement infesté
de cafards. Les seules choses que je pouvais obtenir étaient du
café fait de pain brûlé, avec un gâteau de mélasse
brun. J'en ai commandé pour Gouraud. Le goût du café,
les insectes, etc., étaient trop forts. Il s'est évanoui.
Je lui ai donné une forte dose de gin, ce qui l'a ranimé.
Il est retourné à l'usine et a attendu jusqu'à six
heures, heure à laquelle les hommes du jour sont arrivés,
et ont télégraphié pour demander une voiture. Il
a perdu tout intérêt pour les expériences après
cela, et j'ai reçu l'ordre de retourner en Amérique. »
Edison affirme cependant que l'automatique fut finalement adopté
en Angleterre et utilisé pendant de nombreuses années ;
il y est d'ailleurs toujours utilisé. Mais ils prirent tout ce
qui était nécessaire à son système, et il
« n'en a jamais tiré un centime ».
Un travail acharné fut aussitôt repris à
la maison sur la télégraphie duplex et quadruplex, comme
s'il n'y avait eu ni interruption ni découragement pour des points
de vingt-sept pieds de long. Un indice de son activité est fourni
par le fait qu'en 1872, il avait déposé trente-huit brevets
dans la catégorie de la télégraphie, et vingt-cinq
en 1873 ; plusieurs d'entre eux concernaient des méthodes duplex,
sur lesquelles il avait expérimenté. Le premier appareil
avait été construit plusieurs années auparavant,
comme le montre une curieuse nouvelle parue dans le Telegrapher du 30
janvier 1869 : « TA Edison a démissionné de son poste
au bureau de la Western Union à Boston et se consacrera à
la diffusion de ses inventions. » Oh, la suprême et splendide
confiance de la jeunesse ! Six mois plus tard, comme nous l'avons vu,
il avait déjà fait ses preuves, et le même journal,
en octobre 1869, pouvait affirmer : « M. Edison est un jeune homme
doté d'un talent mécanique exceptionnel, allié à
de solides connaissances et une solide expérience en électricité
scientifique. Il a déjà inventé et breveté
un certain nombre d'inventions précieuses et utiles, parmi lesquelles
on peut citer le meilleur instrument de double transmission jamais mis
au point. » Pas mal pour un novice de vingt-deux ans. Il est donc
naturel, après ses travaux sur les indicateurs, les télégraphes,
les télégraphes automatiques et les machines à écrire,
de le retrouver à la télégraphie duplex, si tant
est qu'il l'ait abandonnée entre-temps. L'une des caractéristiques
de la méthode d'invention d'Edison a toujours été
de travailler simultanément dans plusieurs domaines. Aucune piste
de recherche n'a jamais suffi à occuper pleinement ses pensées
; autrement dit, il a trouvé le repos en passant d'un domaine de
travail à un autre, sans aucun loisir ni passe-temps, et sans en
avoir besoin. On peut aussi dire qu'une fois entré dans ce domaine,
M. Edison n'a jamais abandonné aucun domaine de recherche. Il peut
changer de ligne d'attaque ; il peut abandonner temporairement le sujet
; mais tôt ou tard, les carnets ou l'Office des brevets témoigneront
de l'émergence d'une pensée latente sur le sujet. Son attention
s'est déplacée chronologiquement, et par évolution,
d'un problème à un autre, et certains résultats se
sont avérés définitifs ; mais l'intérêt
de l'homme pour la chose ne s'éteint jamais. Personne ne perçoit
plus clairement que lui le fait que, dans l'interaction des arts, une
industrie en façonne et en aide une autre, et qu'aucune invention
ne vit pour elle-même.
La voie vers le quadruplex passa par les travaux sur le
duplex, suggéré pour la première fois par Moses G.
Farmer en 1852, puis élaboré par de nombreux inventeurs
ingénieux, notamment Stearns aux États-Unis, avant qu'Edison
ne s'y intéresse à nouveau. Les différentes méthodes
de transmission multiple à savoir l'envoi simultané
des deux communications en sens inverse sur le même fil, ou l'envoi
simultané des deux dans la même direction laissèrent
libre cours à l'ingéniosité. L'ouvrage de Prescott,
Elements of the Electric Telegraph, un ouvrage de référence
à l'époque, décrivait « une méthode
de transmission simultanée inventée par T.A. Edison, du
New Jersey, en 1873 » et en disait : « Sa particularité
réside dans le fait que les signaux sont transmis dans un sens
en inversant la polarité d'un courant constant, et dans le sens
opposé en augmentant ou en diminuant l'intensité de ce même
courant. » C'est là que résidait l'origine du quadruplex
d'Edison. Il est également noté qu'« Edison a inventé
en 1874 une méthode de transmission simultanée par courants
induits, qui a donné des résultats expérimentaux
très satisfaisants ». L'intérêt pour le duplex
en tant que domaine d'invention a cependant diminué avec l'émergence
du quadruplex, car si l'un doublait la capacité d'un circuit, le
second créait trois « fils fantômes », quadruplexant
ainsi la capacité de fonctionnement de toute ligne à laquelle
il était appliqué. Comme on l'aura compris, le principe
du quadruplex consiste à exploiter la ligne avec deux courants
provenant de chaque extrémité, différents en intensité
ou en nature, de sorte qu'ils n'affectent que les instruments adaptés
à ces courants et à aucun autre ; et en disposant l'appareil
récepteur de manière à ce qu'il ne soit pas affecté
par les courants transmis depuis son extrémité de la ligne.
Ainsi, en combinant des instruments réagissant uniquement aux variations
d'intensité du courant provenant de la station distante avec des
instruments réagissant uniquement aux changements de direction
du courant provenant de la station distante, et en regroupant deux de
ces instruments à chaque extrémité de la ligne, on
obtient le quadruplex. Quatre opérateurs émetteurs et quatre
récepteurs sont occupés à chaque extrémité,
soit huit au total. Outre d'autres avantages matériels, on estime
que le quadruplex Edison a permis d'économiser au moins 15 à
20 millions de dollars sur le seul coût de construction de la ligne
en Amérique.
Le quadruplex n'a généralement pas la même
efficacité que quatre fils séparés. Cela est dû
au fait que lorsqu'un des opérateurs récepteurs est contraint
de « déconnecter » l'opérateur émetteur
pour une raison quelconque, cette « déconnexion » interrompt
le travail de huit opérateurs, au lieu de deux comme ce serait
le cas avec un seul fil. L'efficacité du quadruplex, lorsque l'appareil
est en bon état de fonctionnement, dépend donc entièrement
de l'habileté des opérateurs qui le manipulent. Mais cela
ne diminue en rien l'ingéniosité nécessaire à
son invention. À propos du problème posé, Edison
déclara quelques années plus tard à M. Upton, son
assistant en mathématiques, qu'« il considérait toujours
qu'il ne travaillait que d'une pièce à l'autre. Il n'était
donc pas perturbé par la longueur du fil ni par la notion de distance.
»
On conçoit aisément les immenses difficultés
que pose la mise en pratique d'un tel système, surtout si l'on
se souvient que la « ligne » elle-même, qui traverse
des centaines de kilomètres de territoire, est soumise à
toutes sortes de conditions atmosphériques et que sa capacité
à transporter le courant varie d'un instant à l'autre. On
se souvient aussi que le quadruplex nécessite à chaque extrémité
une ligne dite « artificielle », qui doit avoir la même
résistance que la ligne de travail et varier en fonction de ses
variations. À ce stade, d'autres projets germaient dans son esprit
; mais le quadruplex l'absorbait. « Ce problème était
extrêmement difficile et compliqué, et je consacrais toute
mon énergie à sa solution. Il exigeait un effort mental
particulier, comme imaginer huit objets différents se mouvant simultanément
sur un plan mental, sans aucune preuve de leur efficacité. »
Il n'est guère étonnant qu'une fois informé, il ait
dû payer 12,5 %. en plus, si ses impôts à Newark n'étaient
pas payés immédiatement, il oubliait son propre nom lorsqu'on
le lui demandait soudainement à l'hôtel de ville, perdait
sa place dans la file d'attente et, l'heure fatale sonnant, devait finalement
payer la surtaxe !
Une invention aussi importante que le quadruplex ne pouvait
pas rester longtemps sans lendemain, mais son introduction s'est heurtée
à de nombreuses difficultés, dont certaines sont mieux décrites
par les propres mots de M. Edison :
Vers 1873, les propriétaires de l'Automatic Telegraph
Company entamèrent des négociations avec Jay Gould pour
l'achat des lignes entre New York et Washington, ainsi que des brevets
du système, alors en exploitation. Jay Gould contrôlait alors
l'Atlantic & Pacific Telegraph Company, était en concurrence
avec la Western Union et s'efforçait de faire baisser le cours
de l'action Western Union en Bourse. C'est à cette époque
que j'inventai le quadruplex. Je souhaitais intéresser la Western
Union Telegraph Company à ce projet, en vue de le vendre, mais
sans succès, jusqu'à ce que je conclue un accord avec le
chef électricien de l'entreprise, afin qu'il soit reconnu comme
co-inventeur et reçoive une partie du prix. À cette époque,
j'étais très à court d'argent et j'en avais plus
besoin que de gloire. Cet électricien semblait plus désireux
de gloire que d'argent, ce fut donc une affaire facile. J'apportai mon
appareil et on me donna une pièce séparée avec un
sol en marbre un sol, soit dit en passant, très dur pour
dormir et je commençai les finitions.
Après deux mois de travail acharné, j'ai
obtenu un détachement régulier de huit opérateurs,
et nous avons réussi à faire fonctionner correctement d'une
pièce à l'autre grâce à un câble reliant
Albany et retour. Dans certaines conditions météorologiques,
un côté du quadruplex fonctionnait très mal, et je
n'avais pas réussi à déterminer la cause du problème.
Un jour, lors d'une réunion du conseil d'administration de l'entreprise,
je devais effectuer un test de démonstration. Le jour J arriva.
J'avais sélectionné les meilleurs opérateurs de New
York, qui connaissaient bien l'appareil. Je m'étais arrangé
pour qu'en cas d'orage et de tremblement du côté défectueux,
ils fassent de leur mieux et laissent libre cours à leur imagination.
Ils envoyaient de vieux messages. Vers 13 heures, tout a dérapé,
car il y avait un orage près d'Albany, et le côté
défectueux a commencé à trembler. M. Orton, le président,
Wm. H. Vanderbilt et les autres directeurs sont arrivés. J'avais
le cur qui battait la chamade. Je payais un shérif cinq dollars
par jour. de suspendre le jugement qui avait été rendu contre
moi dans une affaire à laquelle je n'avais prêté aucune
attention ; et si le quadruplex n'avait pas fonctionné devant le
président, je savais que j'aurais des ennuis et que je pourrais
perdre mon équipement. Le New York Times publia le lendemain un
compte rendu complet. On me versa 5 000 $ en paiement partiel pour l'invention,
ce qui me rassura, et je pensais que l'affaire serait réglée.
Mais M. Orton partit pour une longue tournée à peu près
à la même époque. J'avais payé toutes les expériences
sur le quadruplex et épuisé l'argent, et je me retrouvai
à nouveau dans une situation difficile. Entre-temps, j'avais introduit
l'appareil dans les usines de l'entreprise, où il connut un grand
succès.
À cette époque, le surintendant général
de la Western Union était le général T.T. Eckert
(qui avait été secrétaire adjoint à la Guerre
sous Stanton). Eckert négociait secrètement avec Gould pour
quitter la Western Union et prendre la direction de l'Atlantic & Pacific
la compagnie de Gould. Un jour, Eckert me fit venir dans son bureau
et me renseigna sur des questions financières. Je lui dis que M.
Orton était parti, me laissant sans ressources, et que j'étais
dans une situation difficile. Il me dit que je ne gagnerais plus jamais
un centime, mais qu'il connaissait quelqu'un qui serait prêt à
l'acheter. Je lui parlai de mon arrangement avec l'électricien
et lui dis que je ne pouvais le vendre en entier à personne ; mais
que si j'en obtenais assez, je vendrais toutes mes parts . Il semblait
penser que son parti accepterait. J'avais un ensemble de quadruplex dans
mon atelier, au 10 et 12 Ward Street, à Newark, et il s'arrangea
pour qu'il vienne le lendemain soir voir l'appareil. Le lendemain matin,
Eckert vint donc avec Jay Gould. et me le présenta. C'était
la première fois que je le voyais. Je leur ai montré et
expliqué l'appareil, puis ils sont partis. Le lendemain, Eckert
m'a fait appeler et on m'a conduit chez Gould, près de l'hôtel
Windsor, sur la Cinquième Avenue. Il avait un bureau au sous-sol.
C'était le soir, et nous sommes entrés par l'entrée
des domestiques, car Eckert craignait probablement d'être surveillé.
Gould est entré aussitôt et m'a demandé combien je
voulais. J'ai dit : « Fais-moi une offre. » Puis il a dit
: « Je te donne 30 000 $. » J'ai dit : « Je vendrai
tous mes intérêts pour cet argent », ce qui était
plus que ce que je pensais pouvoir obtenir. Le lendemain matin, je me
suis rendu avec Gould au cabinet de ses avocats, Sherman et Sterling,
et j'ai reçu un chèque de 30 000 dollars. Gould m'a fait
remarquer que j'avais acquis le bateau à vapeur Plymouth Rock,
car il l'avait vendu 30 000 dollars et venait de recevoir le chèque.
Une violente dispute a éclaté entre la société
de Gould et la Western Union, ce qui a entraîné de nouveaux
litiges. L'électricien, à cause du témoignage en
question, a perdu sa gloire. Le juge n'a jamais statué, mais a
pété les plombs quelques mois plus tard.
Il s'agissait évidemment d'une démarche
particulièrement astucieuse de la part de M. Gould pour obtenir
un intérêt dans le quadruplex, comme facteur dans sa campagne
contre la Western Union, et comme étape décisive vers son
contrôle de ce système, par la fusion ultérieure qui
incluait non seulement l'Atlantic & Pacific Telegraph Company, mais
aussi l'American Union Telegraph Company.
M. Gould nétait pas non plus moins reconnaissant
de la valeur du système automatique dEdison. Faisant référence
à des sujets qui seront abordés plus loin dans le récit,
Edison dit : « Après cela, Gould me demanda de l'aider à
installer le système automatique de la compagnie Atlantic &
Pacific, dont le général Eckert avait été
élu président, la compagnie ayant racheté l'Automatic
Telegraph Company. J'ai beaucoup travaillé pour cette compagnie,
fabriquant des appareils automatiques dans mon atelier de Newark. À
cette époque, j'ai inventé un système de cabines
téléphoniques de district, créé une compagnie
appelée Domestic Telegraph Company et commencé à
installer le système à New York. J'ai eu beaucoup de mal
à obtenir des abonnés, après avoir essayé
plusieurs démarcheurs, qui, l'un après l'autre, n'ont pas
réussi à en obtenir. Alors que j'étais sur le point
d'abandonner, un opérateur d'essai nommé Brown, qui travaillait
sur le fil du télégraphe automatique entre New York et Washington,
qui passait par mon atelier de Newark, m'a demandé la permission
de le laisser essayer de voir s'il ne parvenait pas à obtenir des
abonnés. J'avais très peu confiance en sa capacité
à en obtenir, mais je pensais lui donner une chance, car il était
certain de sa réussite. Il s'est lancé, et les résultats
ont été surprenants. En un rien de temps, En un mois, il
avait acquis deux cents abonnés, et l'entreprise était un
succès. Je n'ai jamais vraiment compris pourquoi six hommes avaient
échoué, tandis que le septième avait réussi.
L'hypnotisme en était peut-être la cause. Cette entreprise
a été vendue à la compagnie Atlantic & Pacific.
Dès 1872, Edison avait déposé une demande de brevet
pour des postes d'aiguillage de messagers de district, mais celui-ci ne
fut délivré qu'en janvier 1874, un autre brevet étant
accordé en septembre de la même année. Dans ce domaine
d'application du télégraphe, comme dans d'autres, Edison
fut un pionnier, son seul prédécesseur étant le fécond
et ingénieux Callahan, célèbre pour son téléscripteur.
Le premier président de la Gold & Stock Telegraph Company,
Elisha W. Andrews, avait démissionné en 1870 pour se rendre
en Angleterre afin d'introduire le téléscripteur à
Londres. Il vivait à Englewood, dans le New Jersey, et la nuit
même où il avait fait ses valises, sa maison fut cambriolée.
Le lendemain matin, M. Andrews rendit visite à son ami le plus
proche pour obtenir ne serait-ce qu'une paire de bretelles. Il regretta
son impossibilité, car les cambrioleurs étaient également
passés par là. Un troisième et un quatrième
amis du quartier furent contactés avec la même réponse
décourageante : une histoire de spoliation massive. M. Callahan
entreprit immédiatement d'élaborer un système de
protection pour Englewood ; mais à ce moment-là, une servante,
qui avait vécu de nombreuses années dans une famille des
Heights de Brooklyn, devint soudainement folle et retint une veuve âgée
et sa fille prisonnières pendant vingt-quatre heures, sans eau
ni nourriture. Cet incident conduisit à une extension du concept
de protection, et très vite, un système fut installé
à Brooklyn, comptant une centaine d'abonnés. De là
naquit à son tour le système de messagerie de district.car
il était aussi facile d'appeler un messager que de donner l'alerte
incendie ou d'appeler la police. Aujourd'hui, aucune grande ville américaine
ne manque d'un tel service, mais son rôle a été fortement
limité par l'introduction du téléphone.
Pour en revenir au télégraphe automatique,
il est intéressant de noter que tant qu'Edison y fut associé
comme providence de surveillance, il accomplit un travail remarquable,
ce qui rend d'autant plus remarquable l'abandon ultérieur de la
télégraphie automatique ou « télégraphie
rapide ». Le Standard Telegraph in America de Reid en témoigne
de manière étonnante en 1880 : « L'Atlantic &
Pacific Telegraph Company comptait vingt-deux stations automatiques. Celles-ci
comprenaient les principales villes du littoral, Buffalo, Chicago et Omaha.
Pendant près de deux ans, la majeure partie du trafic direct fut
transmise de cette manière. Entre New York et Boston, deux mille
mots par minute étaient envoyés. Le papier perforé
était préparé à la cadence de vingt mots par
minute. Quels que soient ses inconvénients, ce système permit
à l'Atlantic & Pacific Company de gérer un trafic bien
plus important en 1875 et 1876 qu'elle n'aurait pu le faire avec son nombre
limité de fils dans l'état où il se trouvait alors.
» M. Reid note également, comme preuve irréfutable
de la parfaite praticabilité du système, qu'il a traité
avec un succès total le message présidentiel du 3 décembre
1876, long de 12 600 mots. Ce long message a été déposé
à Washington à 1 h 05 et délivré à
New York à 2 h 07. Les 9 000 premiers mots ont été
transmis en quarante-cinq minutes. Les bandes perforées ont été
préparées en trente minutes par dix personnes et dupliquées
par neuf copistes. Mais aujourd'hui, près de trente-cinq ans plus
tard, la télégraphie en Amérique repose encore pratiquement
sur la transmission manuelle !
Edison donne quelques aperçus très intéressants
de cette période et de son association avec Jay Gould. Pendant
que j'étais occupé à installer le système
automatique, j'ai beaucoup vu Gould et je me rendais fréquemment
à son bureau en ville pour lui donner des informations. Gould n'avait
aucun sens de l'humour. J'ai essayé à plusieurs reprises
de lui raconter ce qui me semblait être une histoire drôle,
mais il n'y voyait aucun humour. J'étais un grand amateur d'histoires
et j'en avais une sélection raffinée, toujours fraîche,
avec laquelle je pouvais généralement mettre quelqu'un en
émoi. Un après-midi, Gould a commencé à expliquer
le grand avenir de l'Union Pacific Railroad, qu'il contrôlait alors.
Il a reçu une carte et une quantité impressionnante de statistiques.
Il a persévéré pendant plus de quatre heures et s'est
montré très enthousiaste. Pourquoi m'expliquer cela à
moi, un simple inventeur, sans capital ni réputation, je n'ai pas
compris. Il avait un il particulier, et j'ai conclu qu'il y avait
une pointe de folie quelque part. Cette idée a été
renforcée peu après lorsque la Western Union a augmenté
le loyer mensuel des téléscripteurs. Gould en avait un dans
son bureau, qu'il surveillait constamment. Il l'a fait enlever, à
sa grande joie. Un inconvénient, car le prix avait été
avancé de quelques dollars ! Il s'en est insurgé. Cela m'a
semblé anormal. Je pense que le succès de Gould était
dû à un développement anormal. Il possédait
certainement un trait de caractère indispensable à tout
homme qui aspire à la réussite : il collectait toutes sortes
d'informations et de statistiques sur ses projets, et disposait de toutes
les données. Ses liens avec des personnalités officielles,
dont j'étais conscient, m'ont surpris. Sa conscience semblait atrophiée,
mais cela tient peut-être au fait qu'il affrontait des hommes qui
n'en avaient jamais eu. Il travaillait sans relâche jusqu'à
minuit ou une heure du matin. Il ne tirait aucun orgueil à bâtir
une entreprise. Il ne recherchait que l'argent. Que l'entreprise soit
un succès ou un échec lui importait peu. Après avoir
écrasé la Western Union par l'intermédiaire de son
concurrent et épuisé M. Vanderbilt, ce dernier s'est retiré
du pouvoir, et Gould est entré en fonction, a consolidé
son entreprise et a pris le contrôle de la Western Union. Il a ensuite
résilié le contrat avec les responsables de l'Automatic
Telegraph, qui n'ont jamais touché un centime. pour leurs fils
ou leurs brevets, et j'ai perdu trois ans de dur labeur. Mais je ne lui
en ai jamais voulu, car il était très compétent dans
son domaine, et tant que ma contribution était fructueuse, l'argent
était pour moi une considération secondaire. Lorsque Gould
a obtenu la Western Union, j'ai compris qu'aucun progrès supplémentaire
en télégraphie n'était possible, et je me suis tourné
vers d'autres domaines. » En réalité, le général
Eckert était conservateur, voire réactionnaire, et, comme
beaucoup d'autres directeurs télégraphiques américains,
il avait des préjugés contre la « télégraphie
automatique », et il a rejeté toutes ces améliorations.
L'histoire de l'électricité a été
marquée par des litiges remarquables ; mais aucun ne fut plus extraordinaire
que celui évoqué ici, né du transfert de l'Automatic
Telegraph Company à M. Jay Gould et à l'Atlantic & Pacific
Telegraph Company. Les conditions acceptées par le colonel Reiff
de M. Gould, le 30 décembre 1874, prévoyaient que la société
de télégraphe acheteuse porterait son capital à 15
000 000 $, dont 4 000 000 $ pour les intérêts d'Automatic
Telegraph au titre de leurs brevets, contrats, etc. L'action se négociait
alors à environ 25 $, et lors de la consolidation ultérieure
avec la Western Union, elle est entrée à environ 60 $ ;
le prix d'achat réel n'était donc pas inférieur à
1 000 000 $ en espèces. Un accord privé et écrit
avait été conclu avec M. Gould prévoyant qu'il recevrait
un dixième du « résultat » pour le groupe Automatic,
ainsi qu'un dixième des bénéfices ultérieurs
obtenus aux États-Unis et à l'étranger. M. Gould
a personnellement racheté et donné de l'argent et des obligations
pour un ou deux intérêts individuels sur la base susmentionnée,
y compris celui de Harrington, qui, en sa qualité de représentant,
a exécuté des cessions pour M. Gould. Mais les paiements
ont ensuite été interrompus, et les autres propriétaires
se sont retrouvés sans aucune indemnisation, bien que tous leurs
biens et brevets aient été intégralement repris par
Atlantic & Pacific, et ne les aient plus jamais quittés. Des
tentatives de règlement ont été faites en leur faveur,
et ont traîné en longueur, apparemment en raison du blocage
des plans par le général Eckert, qui s'était quelque
peu offusqué d'une transaction effectuée sans sa participation
active à tous les détails. Edison, devenu, aux termes de
cet accord, électricien de l'Atlantic & Pacific Telegraph Company,
a témoigné de l'attitude hostile du général
Eckert à son égard, alors président. Dans une lettre
imagée de Menlo Park à M. Gould, datée du 2 février
1877, Edison se plaint avec la plus grande vigueur et la plus grande passion
de son traitement, « qui, cumulé, fut pour moi une longue
et ininterrompue déception » ; il rappelle à M. Gould
les promesses qui lui avaient été faites le jour du transfert
de la participation d'Edison dans le quadruplex. La situation était
exaspérante pour le jeune inventeur, actif et dynamique, qui, de
plus, « devait vivre » ; elle le conduisit à reprendre
son travail pour la Western Union Telegraph Company, qui ne fut que trop
heureuse de le retrouver. Entre-temps, le groupe Automatic, attristé
et perplexe, resta impayé, et ce n'est qu'en 1906, sur la base
d'une facture déposée près de trente ans auparavant,
que le juge Hazel, de la Cour d'appel des États-Unis pour le district
sud de New York, donna raison aux plaignants et ordonna une reddition
de comptes. Le tribunal a jugé qu'il y avait eu appropriation abusive
des brevets, y compris ceux relatifs à l'automatique, au duplex
et au quadruplex, tous inclus dans l'accord général en vertu
duquel M. Gould avait déposé son appât alléchant
de 4 000 000 $. En fin de compte, cependant,le plaignant n'a rien eu à
montrer de toute sa lutte, car le maître qui a fait la comptabilité
a fixé les dommages à un dollar !
Outre la grande valeur du quadruplex, permettant d'économiser
des millions de dollars grâce à une part dont Edison reçut
30 000 dollars, l'automatique lui-même est décrit comme d'une
utilité considérable par Sir William Thomson dans son rapport
de jury à l'Exposition universelle de 1876, recommandant son prix.
Ce physicien éminent de son époque, devenu plus tard Lord
Kelvin, était un expert en télégraphie, ayant fait
parler le câble océanique, et il voyait dans l'« automatique
américain » d'Edison, présenté par la société
Atlantic & Pacific, un système des plus méritoires et
utiles. Avec l'aide de M. E.H. Johnson, il effectua des tests approfondis,
emportant avec lui à l'Université de Glasgow les résultats
surprenants qu'il obtint. Son rapport officiel se termine ainsi : «
Le shunt électromagnétique à noyau de fer doux, inventé
par M. Edison, exploitant la découverte du professeur Henry sur
linduction électromagnétique dans un circuit unique
pour produire une inversion momentanée du courant de ligne au moment
où la batterie est déconnectée et ainsi couper net
les traces chimiques au moment opportun, est le secret électrique
de la grande vitesse quil a atteinte. Les principales particularités
du télégraphe automatique de M. Edison, brièvement
exposées en conclusion, sont : (1) le perforateur ; (2) le contacteur
; (3) le shunt électromagnétique ; et (4) la solution de
cyanure ferrique de fer. Il mérite dêtre salué
comme une avancée majeure dans la télégraphie terrestre.
» Lattitude ainsi révélée envers les
travaux de M. Edison ne changea jamais, si ce nest que ladmiration
grandit au fur et à mesure que de nouvelles inventions furent présentées.
Jusquà sa mort, Lord Kelvin entretint une amitié des
plus chaleureuses avec son collaborateur américain, dont il fit
ainsi la connaissance du génie à Philadelphie, dans lentourage
de Franklin.
Il est difficile de donner une idée précise
de l'activité des ateliers de Newark durant ces années d'angoisse
et de harcèlement, mais le fait qu'à une certaine époque,
pas moins de quarante-cinq inventions différentes étaient
en cours de développement donne une idée de l'activité
incandescente de l'inventeur et de ses assistants. Les heures étaient
littéralement interminables ; et un jour, alors qu'une commande
était en cours pour une grande quantité de téléscripteurs,
Edison enferma ses hommes jusqu'à ce que la machine soit parfaite
et « tous les bugs éliminés », ce qui signifiait
soixante heures de lutte ininterrompue contre les difficultés.
Les problèmes et les inventions n'étaient pas tous liés
à la télégraphie. Au contraire, l'esprit d'Edison
accueillait presque toute nouvelle suggestion comme un soulagement au
travail régulier. Ainsi : « Vers la fin de 1875, dans l'atelier
de Newark, j'ai inventé un appareil pour multiplier les copies
de lettres, que j'ai vendu à M. AB Dick, de Chicago, et qui, depuis,
a été universellement répandu dans le monde entier.
On l'appelle le « miméographe ». » J'ai également
inventé des dispositifs et introduit le papier paraffine, aujourd'hui
universellement utilisé pour emballer les bonbons, etc. Le polycopié
utilise un stylet pointu, utilisé comme pour écrire avec
un crayon à mine, que l'on déplace sur une sorte de papier
préparé résistant placé sur une plaque d'acier
finement rainurée. L'écriture est ainsi tracée au
moyen d'une série de minuscules perforations dans la feuille, à
partir desquelles, comme un pochoir, des centaines de copies peuvent être
réalisées. De tels pochoirs peuvent être préparés
sur des machines à écrire. Edison a développé
ce principe sous deux autres formes l'une pneumatique et l'autre
électrique cette dernière étant essentiellement
un moteur alternatif. À l'intérieur du corps du stylo électrique,
un petit piston, portant le stylet, se déplace d'avant en arrière
à une vitesse très élevée, en raison de l'attraction
et de la répulsion des bobines de fil solénoïdes qui
l'entourent ; et, guidé par la main de l'écrivain, le stylo
enregistre ainsi son écriture dans une série de minuscules
perforations dans le papier. Le courant d'une petite pile suffit à
alimenter le stylo, et le pochoir ainsi réalisé permet de
réaliser des centaines de copies du document. En fait, jusqu'à
trois mille copies ont été réalisées à
partir d'un seul pochoir ronéotypé de ce type.
Le stylo électrique
Après avoir constaté l'incroyable quantité de duplications
de documents nécessaires aux commerçants, avocats, compagnies
d'assurance et autres professions similaires, Edison perçut le
besoin potentiel d'un appareil de copie à grande vitesse. Pour
y répondre, il inventa le stylo électrique, utilisant un
système de perforation inspiré du télégraphe
imprimeur .
Edison et son associé Charles Batchelor observèrent que
la perforation du papier par cet appareil laissait une marque en dessous,
due à sa solution chimique. Edison exploita cette propriété
et conçut le stylo électrique en conséquence.
Le développement du stylo électrique eut lieu durant l'été
1875. Le brevet américain n° 180,857
pour l'impression autographique fut délivré à Thomas
Edison en 1876 ; il couvrait le stylo, la presse à dupliquer et
ses accessoires .
Brevet du stylo à pochoir de Thomas Edison.
l s'agissait de l'une des premières inventions de Menlo Park, mise
au point en 1875 et brevetée en août 1876 avec l'aide de
son assistant britannique, Charles Batchelor.
Ce stylo, alimenté par une pile, pouvait effectuer 50 perforations
par seconde sur le papier, créant ainsi un pochoir du dessin ou
de l'écriture à réaliser sur plusieurs couches de
papier. Ces couches étaient ensuite encrées sur une presse
à plat, où un rouleau imprégnait le papier d'encre
à travers les perforations. Ce procédé permettait
de réaliser de nombreuses copies simultanément, à
la manière d'un photocopieur primitif. Edison affirmait pouvoir
produire plus de 5 000 copies en une seule fois.
En 1887, Edison s'associa à Albert Blake Dick pour commercialiser
le « miméographe », un appareil de copie utilisant
la presse à plat du stylo électrique ; toutefois, le stylo
électrique lui-même n'était pas inclus dans ce produit.
Cette version du stylo d'Edison resta populaire jusqu'aux années
1960, lorsque les photocopieurs modernes rendirent progressivement cette
technologie obsolète. Edison autorisa l'utilisation de son nom
à des fins marketing, témoignant ainsi de sa renommée
et de sa popularité en tant qu'inventeur.
Son stylo électrique qui faisait partie d'un ensemble
complet pour reproduire des documents et des dessins manuscrits, fut le
premier appareil de bureau à moteur électrique relativement
sûr produit et vendu aux États-Unis.
10 - Le téléphone, le motographe et le
microphone
Une invention majeure a sa propre histoire dramatique.
Son développement est jalonné d'épisodes riches d'un
intérêt humain. Les périodes de lutte acharnée,
les aventures audacieuses sur des sentiers inconnus, les affrontements
entre prétendants rivaux, sont très semblables à
ceux qui marquent la révélation et la conquête d'un
nouveau continent. À la fin de l'époque des découvertes,
on constate que l'humanité dans son ensemble a réalisé
un nouveau grand progrès ; mais, dans les premières étapes,
on a surtout observé les vicissitudes confuses de la fortune de
chaque pionnier. Le grand art moderne de la téléphonie a
ainsi connu, à ses débuts, son évolution et son statut
actuel de moyen de communication universel, tous les éléments
de surprise, de mystère, de création rapide de richesses,
d'interludes tragiques et de batailles colossales qui peuvent éveiller
l'imagination et captiver l'attention du public. Et dans cette nouvelle
industrie électrique, en posant ses bases essentielles, Edison
a de nouveau été l'une des figures dominantes.
Dès 1837, l'Américain Page découvrit
le curieux fait qu'une barre de fer, magnétisée et démagnétisée
à de courts intervalles, émettait des sons dus aux perturbations
moléculaires de sa masse. Philipp Reis, simple professeur allemand,
appliqua ce principe à la construction d'appareils de transmission
du son ; mais il fut précédé dans la compréhension
de cette idée par Charles Bourseul, un jeune soldat français
en Algérie, qui, en 1854, sous le titre « Téléphonie
électrique », donna dans un journal illustré parisien
une description brève et lucide :
Nous savons que les sons sont produits par vibrations et sont rendus perceptibles
à l'oreille par ces mêmes vibrations, reproduites par le
milieu intermédiaire. Mais l'intensité des vibrations diminue
très rapidement avec la distance ; de sorte que même avec
l'aide de tubes sonores et de trompettes, il est impossible de dépasser
des limites assez étroites. Supposons qu'un homme parle près
d'un disque mobile suffisamment flexible pour ne perdre aucune des vibrations
de la voix ; que ce disque établisse et interrompe alternativement
la connexion avec une batterie ; vous pouvez avoir à distance un
autre disque qui exécutera simultanément les mêmes
vibrations
Toute personne valide peut utiliser ce mode de transmission,
qui ne nécessite aucun appareil autre qu'une batterie électrique,
deux disques vibrants et un fil.
Cela servirait admirablement à une description
du téléphone Bell, sauf qu'il mentionne distinctement l'utilisation
de la méthode de la fermeture et de la fermeture (c'est-à-dire
où le circuit est nécessairement ouvert et fermé
comme en télégraphie, bien que, bien sûr, à
un rythme énormément plus élevé), qui ne s'est
jamais avérée pratique.
À notre connaissance, Bourseul n'avait pas le sens
pratique pour mettre sa propre suggestion à l'épreuve et
ne construisit jamais de téléphone. Vers 1860, Reis construisit
plusieurs appareils téléphoniques électriques, tous
imitant plus ou moins l'oreille humaine, avec son tube auditif, son tympan,
etc., et des exemplaires de ces appareils furent exposés au public
non seulement en Allemagne, mais aussi en Angleterre. De nombreux témoignages
attestent que non seulement les sons musicaux, mais aussi les mots et
phrases isolés étaient effectivement transmis avec un succès
médiocre et occasionnel. Il était cependant impossible de
maintenir les appareils en état de fonctionnement plus de quelques
secondes, car l'invention reposait sur le principe du circuit ouvert/fermé
: le circuit s'ouvrait et se rompait à chaque fois qu'un son générateur
d'impulsions le traversait, provoquant le mouvement du diaphragme frappé
par les ondes sonores. Reis lui-même ne semble pas avoir été
suffisamment intéressé par les merveilleuses possibilités
de l'idée pour la concrétiser, faisant remarquer à
l'homme qui lui avait acheté ses instruments et outils téléphoniques
qu'il avait montré la voie au monde. En réalité,
ce n'était pas la bonne méthode, bien qu'un monument érigé
à sa mémoire à Francfort le désigne comme
l'inventeur du téléphone. Comme l'a déclaré
un juge américain lors d'un premier litige concernant l'invention
du téléphone, un siècle de Reis n'aurait pas permis
au monde de découvrir l'art téléphonique à
usage public. Après Reis, bien d'autres ont tenté de concevoir
des téléphones à ouverture et fermeture pratiques,
et tous ont échoué ; leur succès les aurait pourtant
rendus très utiles pour contester le brevet de Bell. Mais la méthode
était un bon point de départ, même si elle n'indiquait
pas la véritable voie. Si Reis avait été disposé
à expérimenter avec son appareil pour qu'il ne se ferme
et ne se ferme pas, il aurait probablement été le véritable
père du téléphone, lui donnant d'ailleurs son nom.
Il n'était pas nécessaire de claquer la porte. Il suffisait
de la maintenir fermée et de faire claquer doucement le loquet.
Il convient de noter au passage qu'Edison, lors de ses expériences
avec l'émetteur Reis, a immédiatement reconnu le défaut
causé par l'action de fermeture et de fermeture, et a cherché
à maintenir l'écartement en utilisant d'abord une goutte
d'eau, puis plusieurs. Mais l'eau s'est décomposée, et le
défaut irréparable est resté présent.
Le téléphone Reis fut introduit en Amérique
par le Dr PH Van der Weyde, physicien réputé de son époque.
Il l'exposa devant un auditoire de spécialistes à la Cooper
Union, New York, en 1868, et le décrivit peu après dans
la presse spécialisée. L'appareil attira l'attention, et
le professeur Joseph Henry en fit acquérir un ensemble pour la
Smithsonian Institution. Le célèbre philosophe le montra
et l'expliqua à Alexander Graham Bell, alors que ce jeune et persévérant
génie écossais cherchait de l'aide et des données
sur la télégraphie harmonique, sur laquelle il travaillait,
et sur la transmission des sons vocaux. Bell reprit immédiatement
et avec énergie l'idée abandonnée par ses deux prédécesseurs,
et atteignit son objectif. En 1875, Bell, étudiant et professeur
de physiologie vocale, doté de compétences exceptionnelles
pour identifier des méthodes de transmission de la parole réalisables,
construisit sa première paire de téléphones magnéto
à cet effet. En février 1876, il déposa son premier
brevet de téléphone, qui fut délivré en mars.
La première publication sur le téléphone parlant
moderne fut une communication lue par Bell devant l'Académie américaine
des arts et des sciences à Boston en mai de la même année
; c'est à l'Exposition universelle de Philadelphie que le public
commença à le découvrir. Il fut immédiatement
accueilli avec enthousiasme et acclamations scientifiques, perçu
comme une invention remarquablement nouvelle et remarquable, même
s'il fut d'abord considéré davantage comme un jouet scientifique
que comme un appareil commercial.
Par une extraordinaire coïncidence, le jour même
où la demande de brevet de Bell était déposée
à l'Office des brevets des États-Unis, une mise en garde
y fut déposée par Elisha Gray, de Chicago, concernant l'idée
spécifique de transmettre la parole et de la reproduire dans un
circuit télégraphique « par un instrument capable
de vibrer en réponse à tous les tons de la voix humaine,
et par lequel ils sont rendus audibles ». De cet incident naquit
une lutte et une controverse dont les échos se font encore entendre
quant aux droits légaux et moraux des deux inventeurs. On affirma
même que l'une des revendications les plus importantes de Gray,
celle relative à un émetteur à batterie liquide,
avait été subrepticement « incorporée »
dans la demande de Bell, ne couvrant alors que le téléphone
à magnéto. Il fut également affirmé que le
dépôt de la mise en garde de Gray était antérieur
de quelques heures à celui de la demande de Bell. Toutes ces questions,
portées devant les tribunaux américains, furent écartées,
le brevet Bell étant largement maintenu dans toute son étendue
et sa plénitude remarquables, englobant un art entier ; Mais Gray
était aigri et chagriné, et exprima jusqu'au bout sa conviction
que l'honneur et la gloire lui revenaient. Le chemin de Gray vers le téléphone
était naturel. Charpentier quaker ayant étudié cinq
ans à l'Oberlin College, il se lança dans l'invention électrique
et mit au point de nombreux dispositifs ingénieux dans le domaine
télégraphique, notamment l'annonciateur à aiguille,
désormais universel pour les hôtels, etc., le télégraphe
pratique, les relais à réglage automatique, les imprimantes
pour lignes privées ce qui aboutit à son célèbre
système « harmonique ». Ce système reposait
sur le principe selon lequel un son produit en présence d'une anche
ou d'un diapason réagissant au son et agissant comme l'armature
d'un aimant en circuit fermé, créerait, par induction, des
impulsions électriques dans le circuit et inciterait un aimant
distant doté d'une armature accordée de manière similaire
à produire la même tonalité ou note. Il découvrit
également que, sur le même fil et au même moment, une
autre série d'impulsions correspondant à une autre note
pouvait être envoyée grâce à un second jeu d'aimants,
sans aucune interférence avec la première. En intégrant
le principe à un appareil, avec un clavier et des anches vibrantes
devant ses aimants, le docteur Gray put non seulement transmettre de la
musique grâce à son télégraphe harmonique,
mais alla même jusqu'à envoyer neuf messages télégraphiques
différents au même instant, chaque ensemble d'instruments
dépendant de sa note sélectionnée, tandis que n'importe
quel bureau intermédiaire pouvait capter le message lui-même
en accordant simplement ses relais sur la note clé requise. Théoriquement,
le système pouvait être divisé en un nombre quelconque
de notes et de demi-tons. En pratique, il servit de base à de véritables
travaux télégraphiques, mais il n'est plus utilisé
aujourd'hui. Chacun comprendra cependant qu'il ne fallut pas longtemps
à un esprit aussi perspicace et ingénieux pour aboutir au
téléphone, concurrent redoutable de Bell, qui avait également,
comme Edison,J'ai travaillé assidûment dans le domaine des
télégraphes acoustiques et multiples. Rétrospectivement,
la lutte pour atteindre cet objectif à ce moment précis
est l'un des événements les plus marquants de l'histoire
de l'électricité.
Parmi les documents intéressants déposés
au Laboratoire Orange figure une lithographie, de la taille d'un dessin
de brevet ordinaire, intitulée « Premier téléphone
enregistré ». Cette affirmation remonte à l'époque
de la guerre et de la controverse acharnée quant à l'invention
du téléphone. L'appareil présenté, fabriqué
par Edison en 1875, était en réalité inclus dans
une réserve déposée le 14 janvier 1876, un mois avant
Bell ou Gray. Il représente un petit dispositif solénoïde,
dont une extrémité du piston est fixée au diaphragme
d'une chambre de résonance. Edison affirme que, bien que l'appareil
puisse être utilisé comme magnétotéléphone,
il ne l'a pas inventé pour transmettre la parole, mais comme appareil
d'analyse des ondes complexes issues de divers sons. Il a été
fabriqué dans le cadre de ses recherches sur les télégraphes
harmoniques. Il n'a pas testé l'effet des ondes sonores produites
par la voix humaine avant l'intervention de Bell quelques mois plus tard
; Mais il découvrit alors que cet appareil, fabriqué en
1875, pouvait servir de téléphone. Dans ses témoignages
et ses déclarations publiques, Edison a toujours attribué
à Bell le mérite de la découverte de la transmission
de la parole articulée par la parole contre un diaphragme placé
devant un électro-aimant ; il convient toutefois de noter ici,
en passant, le fait curieux qu'il ait effectivement produit un appareil
parlant avant 1876, et qu'il soit donc très proche de Bell, qui
a franchi une étape supplémentaire. La valeur et l'importance
du travail d'Edison dans le développement du transmetteur à
charbon se trouvent clairement illustrées par la décision
du juge Brown de la Cour d'appel des États-Unis, siégeant
à Boston, le 27 février 1901, qui a déclaré
nul le célèbre brevet Berliner du système téléphonique
Bell.[5]
[5] Voir Federal Reporter, vol. 109, p. 976 et suiv.
Le brevet de Bell de 1876 était d'une portée
universelle, à laquelle seul le principe de la rupture, s'il était
applicable, aurait pu échapper. Il y était souligné
que Bell avait découvert le grand principe selon lequel les ondulations
électriques induites par les vibrations d'un courant produit par
des ondes sonores peuvent être représentées graphiquement
par la même courbe sinusoïdale qui exprime les vibrations sonores
originales elles-mêmes ; ou, en d'autres termes, qu'une courbe représentant
les vibrations sonores correspondra précisément à
une courbe représentant les impulsions électriques produites
ou générées par ces mêmes vibrations sonores
comme, par exemple, lorsque ces dernières frappent un diaphragme
faisant office d'armature d'un électro-aimant, et qui, par un mouvement
de va-et-vient, crée les impulsions électriques par induction.
En clair, les impulsions électriques correspondent en forme et
en caractère à la vibration sonore qu'elles représentent.
Ce principe, réduit à une « revendication »
de brevet, a régi l'art aussi fermement qu'une bulle papale a permis
à l'Espagne de dominer le monde occidental pendant des siècles.
La revendication est formulée ainsi : « Le procédé
et lappareil de transmission télégraphique de sons
vocaux ou autres, tels que décrits ici, en provoquant des ondulations
électriques de forme similaire aux vibrations de lair accompagnant
lesdits sons vocaux ou autres, sensiblement comme indiqué. »
Il fallut cependant longtemps avant que le caractère inclusif de
cette concession sur tous les téléphones possibles ne soit
compris ou reconnu, et les litiges pour et contre le brevet durèrent
toute sa durée de vie. Au départ, la valeur commerciale
du téléphone était peu appréciée du
public, et Bell eut les plus grandes difficultés à obtenir
des capitaux ; mais parmi les inventeurs clairvoyants, il y eut immédiatement
une « ruée vers les mines dor ». Le premier appareil
de Bell était médiocre, les résultats étant
décrits par lui-même comme « insatisfaisants et décourageants
», ce qui était presque aussi vrai pour les appareils quil
exposa au centenaire de Philadelphie. Les nouveaux venus, comme Edison,
Berliner, Blake, Hughes, Gray, Dolbear et d'autres, apportèrent
une mine d'idées, une ingéniosité mécanique
et une capacité d'invention qui firent bientôt du téléphone
l'une des avancées les plus remarquables du siècle et l'un
des apports les plus précieux aux ressources humaines. L'uvre
d'Edison fut, comme toujours, marquée par une infinie variété
de méthodes ainsi que par la capacité à saisir l'élément
essentiel du succès pratique. Chacun des six millions de téléphones
en service aux États-Unis, et des millions d'autres dans le monde,
porte l'empreinte de son génie, car ces appareils portaient autrefois
son nom. Pendant des années, son nom fut apposé sur chaque
appareil téléphonique Bell, et ses brevets furent un pilier
de ce que l'on a appelé le « monopole Bell ». Parlant
de ses propres efforts dans ce domaine, M. Edison déclare :
En 1876, je repris mes expériences pour la Western
Union et M. Orton. Cette fois, il s'agissait du téléphone.
Bell inventa le premier téléphone, composé du récepteur
actuel, utilisé à la fois comme émetteur et comme
récepteur (de type magnéto). On tenta de le commercialiser,
mais le succès fut catastrophique en raison de sa faible intensité
et des bruits parasites qui parvenaient sur ses fils pour diverses raisons.
M. Orton souhaita que je m'en empare et que je le commercialise. Ayant
également travaillé sur un système télégraphique
utilisant des diapasons, en même temps que Bell et Gray, je connaissais
bien le sujet. Je me lançai et produisis rapidement l'émetteur
à charbon, aujourd'hui universellement utilisé.
Des tests furent effectués entre New York et Philadelphie,
puis entre New York et Washington, en utilisant les lignes Western Union
classiques. Les bruits étaient si forts qu'on n'entendait plus
un mot avec le récepteur Bell utilisé comme émetteur
entre New York et Newark, dans le New Jersey. M. Orton, W.K. Vanderbilt
et le conseil d'administration assistèrent aux tests et y participèrent.
Western Union les installa ensuite sur des lignes privées. M. Theodore
Puskas, de Budapest, en Hongrie, fut le premier à proposer un central
téléphonique, et peu après, des centraux furent établis.
Le service téléphonique fut confié à Hamilton
McK. Twombly, le gendre le plus compétent de Vanderbilt, qui en
fit un succès. La compagnie Bell, de Boston, lança également
un central, et la bataille fit rage : la Western Union piratait le récepteur
Bell, et la compagnie de Boston piratait l'émetteur Western Union.
À cette époque, je voulais qu'on s'occupe de moi. J'ai laissé
entendre ce désir. Puis M. Orton me fit appeler. Il avait appris
que les inventeurs ne faisaient pas d'affaires. par la procédure
habituelle, et j'ai conclu qu'il le clôturerait immédiatement.
Il m'a demandé combien je voulais. J'avais décidé
que cela valait certainement 25 000 $, si jamais cela pouvait servir à
quelque chose pour un travail à la gare centrale ; c'était
donc la somme que je voulais maintenir et obtenir obstinément.
Pourtant, le travail avait été facile, et ne nécessitait
que quelques mois, et j'étais un peu hésitant et incertain.
Je lui ai donc demandé une offre. Il a immédiatement dit
qu'il me donnerait 100 000 $. « D'accord », ai-je dit. «
Il est à vous à une condition : vous ne payez pas la totalité
en une seule fois, mais me payez 6 000 $ par an pendant dix-sept ans »,
soit la durée du brevet. Il semblait ravi de le faire, et le brevet
a été clôturé. Mon ambition était environ
quatre fois supérieure à mes capacités commerciales,
et je savais que je dépenserais bientôt cet argent en expérimentations
si je l'obtenais en une seule fois, alors j'ai corrigé le problème.
J'ai économisé dix-sept ans. dinquiétude à
cause de cet accident vasculaire cérébral.
Ainsi sont relatées avec modestie les débuts
d'Edison dans l'art du téléphone. Avec son émetteur
à charbon, il a introduit le principe précieux de la variation
de la résistance du circuit émetteur en fonction des variations
de pression, ainsi que la pratique essentielle de l'utilisation de la
bobine d'induction pour augmenter la longueur effective du circuit de
communication. Sans ces principes, la téléphonie moderne
n'aurait pas existé et ne pourrait pas exister.[6] Mais Edison,
en téléphonie comme dans d'autres domaines, fut remarquablement
fécond et prolifique. Ses premières inventions, réalisées
en 1875-1876, perdurent de nombreuses années plus tard, notamment
toutes sortes d'instruments à charbon : le téléphone
à eau, le téléphone électrostatique, le téléphone
à condensateur, le téléphone chimique, divers téléphones
à magnéto, le téléphone à inertie,
le téléphone à mercure, le téléphone
à pile voltaïque, le transmetteur musical et l'électromotographe.
Tous furent effectivement fabriqués et testés.
[6] En bref, la différence essentielle entre le
téléphone de Bell et celui d'Edison est la suivante : avec
le premier, les vibrations sonores frappent un diaphragme en acier disposé
à proximité du pôle d'un électroaimant en barreau.
Le diaphragme agit alors comme une armature et, par ses vibrations, induit
de très faibles impulsions électriques dans la bobine magnétique.
Ces impulsions, selon la théorie de Bell, correspondent par leur
forme aux ondes sonores. En passant sur la ligne, elles alimentent la
bobine magnétique à l'extrémité réceptrice
et, en faisant varier le magnétisme, font vibrer le diaphragme
récepteur de manière similaire pour reproduire les sons.
Un seul appareil est donc utilisé à chaque extrémité,
remplissant la double fonction d'émetteur et de récepteur.
Avec le téléphone d'Edison, on utilise un circuit fermé
sur lequel circule en permanence un courant de batterie, et ce circuit
comprend une paire d'électrodes, dont l'une ou les deux sont en
carbone. Ces électrodes sont toujours en contact avec une certaine
pression initiale, de sorte que le courant circule toujours dans le circuit.
L'une des électrodes est reliée au diaphragme sur lequel
les ondes sonores frappent. La vibration de ce diaphragme fait varier
la pression entre les électrodes en conséquence, ce qui
provoque une variation du courant, produisant des impulsions qui actionnent
l'aimant récepteur. Autrement dit, avec le téléphone
de Bell, les ondes sonores génèrent elles-mêmes les
impulsions électriques, qui sont donc extrêmement faibles.
Avec le téléphone d'Edison, les ondes sonores actionnent
une sorte de valve électrique et permettent des variations de courant
à l'intensité souhaitée.
Une deuxième distinction entre les deux téléphones
est la suivante : avec l'appareil Bell, les très faibles impulsions
électriques générées par la vibration de la
membrane émettrice traversent toute la ligne jusqu'au récepteur
; par conséquent, la longueur de ligne autorisée est limitée
à quelques kilomètres dans des conditions idéales.
Avec le téléphone d'Edison, le courant de la batterie ne
circule pas sur la ligne principale, mais traverse le circuit primaire
d'une bobine d'induction, qui envoie des impulsions correspondantes de
potentiel considérablement plus élevé sur la ligne
principale jusqu'au récepteur. Par conséquent, la ligne
peut atteindre des centaines de kilomètres de longueur. Aucun système
téléphonique moderne utilisé aujourd'hui ne présente
ces caractéristiques : la résistance variable et la bobine
d'induction.
Le principe de l'électromotographe fut utilisé
par Edison de multiples façons, tout d'abord en télégraphie
à cette époque. Le célèbre brevet Page, déposé
à l'Office des brevets depuis des années, venait d'être
délivré et était considéré comme une
arme redoutable. Il concernait l'utilisation d'un ressort rétractable
pour dégager le levier d'armature de l'aimant d'un télégraphe,
d'un autre relais ou d'un avertisseur sonore, et contrôlait ainsi
l'art de la télégraphie, sauf dans les circuits simples
:
« Il n'existait aucun moyen connu de contourner ce brevet »,
remarque Edison, « et son détenteur finirait par contrôler
l'utilisation de ce qu'on appelle le relais et le sondeur, un élément
vital pour la télégraphie. Gould attaquait la Western Union
en Bourse, perturbant ses contrats ferroviaires, et, informé par
ses avocats de la grande valeur de ce brevet, il l'acheta. Dès
que M. Orton apprit cela, il me fit appeler pour m'expliquer la situation
et me demanda de me mettre immédiatement au travail afin de voir
si je ne pouvais pas contourner le brevet ou trouver un autre moyen d'y
parvenir si Gould le maintenait. La tâche semblait ardue, car il
n'existait aucun moyen connu de déplacer un levier à l'autre
extrémité d'un fil télégraphique, sauf à
l'aide d'un aimant. J'ai dit que je m'y mettrais ce soir-là. En
faisant des expériences quelques années auparavant, j'avais
découvert un phénomène très particulier :
si l'on frottait un morceau de métal relié à une
pile sur un morceau de craie humide posé sur un métal relié
à l'autre pôle, lorsque le courant passait, La friction était
considérablement réduite. Lorsque le courant était
inversé, la friction était considérablement accrue
par rapport à ce qu'elle était en l'absence de courant.
Me souvenant de cela, j'ai remplacé l'aimant par un morceau de
craie entraîné par un petit moteur électrique et,
en connectant un sondeur à un doigt métallique posé
sur la craie, j'ai rendu caduque la revendication de combinaison de Page.
Un moyen jusqu'alors inconnu a été introduit dans l'art
électrique. Deux ou trois appareils ont été fabriqués
et testés par l'expert de l'entreprise. M. Orton, après
m'avoir fait signer la demande de brevet et l'avoir déposée
à l'Office des brevets, a voulu la vendre immédiatement.
Il m'a demandé mon prix. Je lui ai de nouveau dit : « Faites-moi
une offre. » Il m'a de nouveau proposé 100 000 $. J'ai accepté,
à condition qu'il me paie 6 000 $ par an pendant dix-sept ans.
Ce fut fait, et ainsi, avec l'argent du téléphone, j'ai
reçu 12 000 $ par an pendant cette période de la Western
Union Telegraph Company.
Un an ou deux plus tard, le motographe réapparut
dans l'uvre d'Edison, de manière curieuse. Le téléphone
était en cours de développement en Angleterre, et Edison
avait conclu des accords avec le colonel Gouraud, son ancien associé
dans le domaine du télégraphe automatique, pour représenter
ses intérêts. Une société fut créée,
un grand nombre d'instruments furent fabriqués et expédiés
à Gouraud à Londres, et les perspectives étaient
prometteuses. Puis, une menace de poursuites judiciaires de la part des
propriétaires du brevet Bell survint, et Gouraud comprit qu'il
ne pouvait pas poursuivre son projet sans éviter d'utiliser ce
qui était présenté comme une contrefaçon du
récepteur Bell. Il télégraphia à Edison pour
demander de l'aide, qui lui répondit de tenir bon :
« J'ai eu recours à nouveau », raconte
Edison, « au phénomène que j'avais découvert
des années auparavant : le frottement d'une électrode frottante
passant sur une surface de craie humide était modifié par
l'électricité. J'ai conçu un récepteur téléphonique
qui fut plus tard connu sous le nom de « téléphone
à haut-parleur » ou « récepteur à craie
». Il n'y avait pas d'aimant, simplement un diaphragme et un cylindre
de craie comprimée de la taille d'un dé à coudre.
Un fin ressort, relié au centre du diaphragme, s'étendait
vers l'extérieur et reposait sur le cylindre de craie, où
il était pressé avec une pression égale à
celle qu'exercerait un poids d'environ six livres. La craie était
tournée à la main. Le volume sonore était très
élevé. Une personne parlant dans l'émetteur à
charbon de New York avait sa voix tellement amplifiée qu'elle pouvait
être entendue à mille pieds de distance dans un champ à
Menlo Park. Cet excès de puissance était dû au fait
que cette dernière provenait de la personne qui tournait la manivelle.
La voix, au lieu de fournir toute la puissance comme avec le récepteur
actuel, se contentait de la contrôler, tout comme un ingénieur
actionnant une soupape commanderait un puissant moteur.
J'ai fabriqué six de ces récepteurs et les
ai confiés à un expert sur le premier paquebot. Ils ont
été accueillis et testés, et peu après, j'en
ai expédié une centaine de plus. Au même moment, on
m'a ordonné d'envoyer vingt jeunes hommes, après leur avoir
appris à devenir experts. J'ai organisé un échange,
autour du laboratoire, de dix instruments. J'allais ensuite les dérégler
de toutes les manières possibles : couper les fils de l'un, court-circuiter
un autre, endommager le réglage d'un troisième, mettre de
la saleté entre les électrodes d'un quatrième, et
ainsi de suite. Un homme était envoyé sur chaque appareil
pour trouver le problème. Lorsqu'il parvenait à le trouver
dix fois de suite, en cinq minutes chacune, il était envoyé
à Londres. Une soixantaine d'hommes furent sélectionnés
pour en obtenir vingt. Avant que tous soient arrivés, la compagnie
Bell, constatant que nous ne pouvions être arrêtés,
entama des négociations pour un regroupement. Un jour, je reçus
un télégramme de Gouraud m'offrant « 30 000 »
en échange de ma participation. Je répondis que j'accepterais.
Lorsque le projet arriva, je fus stupéfait de découvrir
qu'il était destiné à 30 000 £. Je pensais
que cétait des dollars.
En ce qui concerne cette conclusion singulière
et heureuse, Edison fait quelques commentaires intéressants sur
lattitude des tribunaux envers les inventeurs et la différence
entre les tribunaux américains et anglais :
Les hommes que j'ai envoyés ont été
utilisés pour établir des centraux téléphoniques
sur tout le continent, et certains d'entre eux sont devenus riches. C'est
parmi cette foule londonienne que Bernard Shaw a été employé
avant de devenir célèbre. Le téléphone à
craie a finalement été abandonné au profit du récepteur
Bell, plus simple et moins cher. De longs litiges avec de nouveaux venus
ont suivi. Mon brevet sur le transmetteur de carbone a été
maintenu, préservant ainsi le monopole du téléphone
en Angleterre pendant de nombreuses années. Le brevet de Bell n'a
pas été confirmé par les tribunaux. Sir Richard Webster,
aujourd'hui juge en chef d'Angleterre, était mon avocat et a maintenu
tous mes brevets en Angleterre pendant de nombreuses années. Webster
possède une capacité extraordinaire à comprendre
les choses scientifiques ; et son discours devant les tribunaux était
d'une lucidité incarnée. Son cerveau est très organisé.
Mon expérience avec les juristes m'a appris que les sujets scientifiques
leur sont désagréables, et il est rare dans ce pays, en
raison du système judiciaire en matière de brevets, qu'un
juge atteigne réellement le cur du litige, et les inventeurs
obtiennent rarement une décision franche et entièrement
fondée sur leurs convictions. En faveur. La faute en incombe, à
mon avis, presque entièrement au système selon lequel des
témoignages de plusieurs milliers de pages portant sur tous les
sujets imaginables, dont beaucoup n'ont aucun lien possible avec l'invention
litigieuse, sont présentés à un juge surmené
en une heure ou deux d'argumentation, appuyés par plusieurs centaines
de pages de mémoires. Le juge est alors censé extraire une
part de justice de cette masse de déclarations contradictoires,
aveugles et trompeuses. C'est une impossibilité humaine, aussi
compétent et impartial soit-il. En Angleterre, la situation est
différente. Là, les juges sont face à face avec les
experts et autres témoins. Ils recueillent les témoignages
de première main, et seulement ce dont ils ont besoin. Il n'y a
pas de mémoires et d'arguments interminables, et l'affaire est
tranchée sur-le-champ, quelques mois peut-être après
le dépôt du procès, au lieu de plusieurs années
plus tard, comme ici. Et en Angleterre, lorsqu'une affaire est définitivement
tranchée, elle est réglée pour tout le pays, alors
qu'ici, ce n'est pas le cas. Ici, un brevet ayant été maintenu,
par exemple à Boston, peut devoir être J'ai plaidé
à nouveau à New York, puis à Philadelphie, et ainsi
de suite pour tous les circuits fédéraux. De plus, il me
semble que les litiges scientifiques devraient être tranchés
par un tribunal composé d'au moins un ou deux scientifiques
des hommes capables de comprendre l'importance d'une invention et les
difficultés de sa réalisation si l'on veut que justice
soit rendue à un inventeur. Je pense également que ce tribunal
devrait avoir le pouvoir de convoquer et d'interroger tout expert reconnu
dans l'art concerné, susceptible de témoigner des faits.Pour
ou contre le brevet, au lieu d'essayer de déduire la vérité
des fastidieux essais d'experts engagés, dont les dépositions
ne sont en réalité que des arguments sous serment. L'essence
même des procès en matière de brevets est généralement
très simple, et je suis convaincu qu'un juge raisonnable, assisté
d'un ou plusieurs conseillers scientifiques, pourrait, en quelques jours
tout au plus, interroger tous les témoins nécessaires, entendre
tous les arguments nécessaires et trancher un procès en
brevet ordinaire d'une manière plus juste que ce qui est actuellement
possible, moyennant des dépenses cent fois supérieures et
des mois et des années de préparation. Et je suis convaincu
que le temps consacré au tribunal serait considérablement
réduit, car si un juge s'efforçait de lire les volumineux
dossiers et mémoires, ce travail à lui seul nécessiterait
plusieurs jours.
En tant que juges, les inventeurs ne seraient pas très
aptes à trancher correctement un point de droit complexe ; et dun
autre côté, il est difficile de concevoir comment un avocat
puisse trancher correctement un point scientifique complexe. Certains
inventeurs se plaignent de notre Office des brevets, mais mon expérience
personnelle avec lOffice des brevets ma appris que les examinateurs
sont impartiaux et intelligents, et quils ont généralement
raison lorsquils refusent un brevet. Je pense cependant que tout
le problème réside dans le système en vigueur dans
les tribunaux fédéraux pour juger les litiges en matière
de brevets, et dans le fait incontestable que les juges fédéraux,
à quelques exceptions près, ne comprennent pas les questions
scientifiques complexes. Afin dassurer luniformité
entre les différents circuits fédéraux et de corriger
les erreurs, il a été proposé de créer une
cour centrale dappel en matière de brevets à Washington.
Jy crois ; mais cette cour devrait également comprendre au
moins deux scientifiques, qui ne seraient pas aveugles aux sophismes des
experts rémunérés.[7] Des hommes dont les inventions
auraient créé des millions de dollars de richesse ont été
ruinés et empêchés de gagner suffisamment dargent
pour poursuivre leur carrière de créateurs de richesses
pour le bien commun, tout simplement. parce que les experts ont trompé
le juge avec leurs déclarations trompeuses.
[7] Pour illustrer la nature déroutante des preuves d'experts dans
les affaires de brevets, le lecteur sera probablement intéressé
à lire les extraits suivants de l'opinion du juge Dayton, dans
le procès de Bryce Bros. Co. contre Seneca Glass Co., jugé
devant la Cour de circuit des États-Unis, district nord de la Virginie-Occidentale,
rapporté dans The Federal Reporter, 140, page 161 :
« Sur la validité de ce brevet, de nombreux
débats et opinions contradictoires, techniques, déroutants
et presque hypercritiques ont été soulevés, tant
dans les témoignages que dans les plaidoiries et conclusions complètes
et pertinentes des avocats. L'expert Osborn du défendeur, après
avoir exposé minutieusement ses qualifications supérieures,
sa formation en mécanique et sa grande expérience, reprend
en détail les revendications du brevet et démontre, à
sa grande satisfaction, qu'aucune d'entre elles n'est nouvelle ; qu'elles
ont toutes été appliquées, sous une forme ou une
autre, dans quelque vingt-deux brevets antérieurs et dans deux
autres machines non brevetées, à savoir celles de Central
Glass et de Kuny Kahbel ; que la machine dans son ensemble n'est qu'un
« agrégat d'éléments mécaniques bien
connus que tout concepteur qualifié utiliserait pour la construction
d'une telle machine ». Ceci, dans des conditions normales, réglerait
certainement l'affaire sans l'ombre d'un doute ; car ce témoin
est un homme très sage et érudit en la matière, et
très positif. Mais l'expert Clarke se présente pour le demandeur
et, après avoir exposé avec la même minutie ses qualifications
supérieures, sa formation en mécanique et sa grande expérience,
qui semblent égales à tous égards à celles
de l'expert Osborn, il examine en détail les revendications du
brevet et démontre, à sa grande satisfaction, que toutes,
à une exception près peut-être, sont nouvelles, témoignent
d'un génie inventif et constituent des avancées notables
par rapport à l'état de la technique. De la manière
la plus lucide, et même fascinante, il analyse toutes les pièces
de cette machine, la compare aux autres, établit des distinctions,
souligne les mérites de celle en litige et les défauts de
tous les autres, examine la vingtaine de brevets cités par Osborn
et, de la manière la plus polie, mais la plus nette qui soit, démontre
que l'expert Osborn ne savait pas de quoi il parlait, et résume
l'affaire en déclarant que cette « invention de M. Schrader
» incorporé dans le brevet en litige, un écart radical
et large par rapport à la machine Kahbel (admise de tous côtés
comme étant la plus proche approche antérieure de celle-ci),
« une avancée distincte et importante dans l'art de graver
la verrerie, et généralement une machine à cet effet
qui a impliqué l'exercice de la faculté inventive au plus
haut degré. »
On pourrait difficilement trouver un désaccord
plus radical et irréconciliable entre experts sur le même
sujet. Il en va de même pour les témoignages. Si l'on considère
le défendeur, la machine de la Central Glass Company, et plus particulièrement
la machine Kuny Kahbel, construite et utilisée des années
avant la délivrance de ce brevet, et non brevetée, est tout
aussi performante, efficace et pratique que celle-ci, et capable de produire
un travail tout aussi parfait et d'une aussi grande variété.
En revanche, si l'on considère celle du demandeur, on est amené
à la conclusion que ces machines antérieures, fruit du même
esprit, ne constituaient que des avancées progressives, passant,
pour ainsi dire, de l'obscurité la plus totale à la pleine
lumière inventive, qui lui a permis de comprendre la solution du
problème posé par cette machine brevetée. Les défauts
des machines antérieures sont minutieusement exposés, et
les témoins du demandeur affirment clairement qu'elles ne sont
ni pratiques ni rentables.
Mais ce n'est pas tout le problème auquel nous
sommes confrontés dans cette affaire. Les avocats des deux parties,
avec un courage indomptable qui force l'admiration, un courage qui les
a conduits à une somme considérable d'études, d'investigations
et de réflexions, qui en fait les a tous rendus experts, ont décortiqué
ce dossier de 356 pages imprimées avec précision, appliqué
tous les principes et lois mécaniques aux faits tels qu'ils les
perçoivent, et, de plus, ont fouillé les livres de droit
et cité un nombre considérable de cas, plus ou moins pertinents,
pour illustrer leurs prétentions respectives. Les tribunaux ne
trouvent rien de plus difficile que d'appliquer un principe abstrait à
toutes les catégories de cas qui peuvent se présenter. Les
faits de chaque affaire créent si fréquemment une exception
à la règle générale que celle-ci doit être
respectée plutôt dans sa violation que dans son respect.
Par conséquent, après un examen attentif de ces affaires,
il n'est pas critique envers les tribunaux de dire que les deux parties
ont trouvé une autorité abondante et à peu près
égale pour étayer leurs prétentions respectives,
et, en conséquence, les avocats ont soumis, dans leurs mémoires,
un total de 225 affaires rigoureusement recevables. « Des pages
imprimées, dans lesquelles ils ont clairement, et pourtant avec
une certitude quasi mathématique, démontré, d'une
part, que cette machine Schrader est nouvelle et brevetable, et, d'autre
part, qu'elle est ancienne et non brevetable. Dans ces circonstances,
il serait inutile et vain pour moi d'entrer dans une discussion technique
plus approfondie des problèmes mécaniques en jeu, dans le
but de convaincre l'une ou l'autre des parties de son erreur. Dans des
cas aussi complexes que celui-ci, certains incidents apparaissent généralement
plus éloquents que les témoignages, et je me propose d'en
aborder quelques-uns maintenant. »
M. Bernard Shaw, éminent auteur anglais, a dressé
un tableau saisissant et amusant de l'introduction du téléphone
d'Edison en Angleterre. Il décrit l'appareil comme « une
invention bien trop ingénieuse, un téléphone d'une
efficacité si fulgurante qu'il hurlait vos communications les plus
confidentielles dans toute la maison, au lieu de les chuchoter discrètement
». Jeune homme, Shaw travaillait pour la compagnie de téléphone
Edison et était très attentif à son environnement,
participant souvent à des démonstrations publiques de l'appareil
« d'une manière qui, j'en suis convaincu, a fait la réputation
de M. Edison ». Le portrait des hommes envoyés d'Amérique
est saisissant :
Tant que la compagnie de téléphone Edison subsista, elle
encombra le sous-sol d'une imposante pile de bureaux de Queen Victoria
Street d'artisans américains. Ces hommes, aveuglés et romantiques,
me donnèrent un aperçu du prolétariat qualifié
des États-Unis. Ils chantaient des chansons sentimentales désuètes
avec une émotion sincère ; et leur langage était
effrayant, même pour un Irlandais. Ils travaillaient avec une énergie
féroce, sans commune mesure avec le résultat obtenu. Résolus
à affirmer leur virilité républicaine en refusant
de recevoir des ordres d'un Anglais au chapeau haut de forme dont la politesse
rigide dissimulait sa conviction qu'ils étaient des personnes inférieures
et ordinaires, ils insistèrent pour être asservis par un
contremaître américain, libre et égal, avec de véritables
serments américains. Ils méprisaient profondément
l'ouvrier britannique, habilement lent, qui travaillait le moins possible
pour son salaire ; ne se pressait jamais ; et vouaient un profond respect
à celui dont le respect pouvait lui ouvrir les poches. Faut-il
ajouter qu'ils étaient méprisés par ce même
Britannique ? « L'ouvrier était-il un groupe de jeunes adultes
excentriques qui se battaient pour le bien de leur employeur au lieu de
veiller à leurs propres intérêts ? Ils adoraient M.
Edison, le considérant comme le plus grand homme de tous les temps
dans tous les domaines possibles des sciences, des arts et de la philosophie,
et exécraient M. Graham Bell, l'inventeur du téléphone
rival, comme son adversaire satanique ; mais chacun d'eux avait (ou avait
l'intention d'avoir) sur le point d'achever une amélioration du
téléphone, généralement un nouvel émetteur.
C'étaient des créatures libres d'esprit, d'excellente compagnie,
sensibles, gaies et profanes ; des menteurs, des fanfarons et des arnaqueurs,
avec un air de faire fredonner la vieille Angleterre, qui ne les quittait
jamais, même lorsque, comme cela arrivait souvent, ils se débattaient
avec des difficultés de leur propre fait, ou se débattaient
dans des impasses d'où ils devaient être récupérés
comme des moutons égarés par des Anglais sans imagination
pour se tromper. »
M. Samuel Insull, qui devint par la suite secrétaire
particulier de M. Edison et figura parmi les chefs de file du développement
de la fabrication électrique américaine et de l'art des
centrales électriques, était également au courant
de la situation londonienne ainsi décrite. Il était alors
secrétaire particulier du colonel Gouraud et, pendant la première
demi-heure, opérateur téléphonique amateur du premier
central expérimental installé en Europe. Il prit des notes
lors d'une réunion au cours de laquelle les affaires de l'entreprise
furent discutées par des personnalités influentes comme
Sir John Lubbock (Lord Avebury) et le très honorable E.P. Bouverie
(alors ministre), qui ne voyaient dans le téléphone qu'un
auxiliaire permettant de diffuser rapidement dans les journaux du lendemain
matin les débats nocturnes au Parlement. « Je me souviens
d'un autre incident », raconte M. Insull. C'était lors d'une
célébration de l'une des Sociétés Royales
à Burlington House, Piccadilly. Nous avions une ligne téléphonique
qui traversait les toits jusqu'au sous-sol du bâtiment. Je crois
qu'elle rejoignait le laboratoire de Tyndall, rue Burlington. En entrant,
les dames et les messieurs ont naturellement voulu observer cette grande
curiosité : le téléphone à haut-parleur ;
en fait, tout téléphone était une curiosité
à l'époque. M. et Mme Gladstone sont passés. Je m'occupais
du téléphone côté Burlington House. Mme Gladstone
a demandé à l'homme au téléphone s'il savait
si c'était un homme ou une femme qui parlait ; et la réponse
est venue d'une voix assez forte : c'était un homme !
Accompagné de M. EH Johnson, représentant
d'Edison, M. Charles Edison, neveu de l'inventeur, se rendit en Angleterre
pour promouvoir cette entreprise de téléphonie. Il mourut
à Paris en octobre 1879, à moins de vingt ans. Stimulé
par l'exemple de son oncle, ce brillant jeune homme s'était déjà
fait remarquer comme étudiant et inventeur. À dix-huit ans
seulement, il obtint, lors d'un concours public, le contrat d'installation
d'un système télégraphique complet d'alarme incendie
pour Port Huron. Quelques mois plus tard, il fut accueilli avec enthousiasme
par son oncle à Menlo Park et, après avoir travaillé
sur le téléphone, il fut envoyé à Londres
pour contribuer à son introduction. Il y fit la connaissance du
professeur Tyndall, présenta le téléphone à
l'ancien roi d'Angleterre et gagna l'amitié de l'ancien roi des
Belges, avec qui il entreprit le projet d'établir une communication
téléphonique entre la Belgique et l'Angleterre. Au moment
de sa mort prématurée, il était occupé à
installer le quadruplex Edison entre Bruxelles et Paris, étant
l'une des rares personnes alors en Europe à connaître le
fonctionnement de cette invention.
Pendant ce temps, l'art téléphonique connaissait
un développement fulgurant en Amérique. En mars 1878, s'adressant
aux « capitalistes de l'Electric Telephone Company » sur l'avenir
de son invention, Bell décrivait avec une clairvoyance prophétique
et une clarté remarquable l'avènement du central téléphonique
moderne. Comparant cela à la distribution du gaz et de l'eau, il
déclara :
« De la même manière, il est concevable que des câbles
téléphoniques puissent être posés sous terre
ou suspendus en hauteur, communiquant par des fils de dérivation
avec des habitations privées, des maisons de campagne, des magasins,
des usines, etc., les reliant par le câble principal à un
bureau central, où le fil pourrait être connecté à
volonté, établissant une communication directe entre deux
endroits de la ville... De plus, je crois qu'à l'avenir, des fils
relieront les sièges sociaux des compagnies de téléphone
dans différentes villes ; et un homme dans une partie du pays pourra
communiquer de bouche à oreille avec un autre dans un endroit éloigné.
»
Tout cela s'est produit. Le professeur Bell a également
suggéré comment y parvenir en « employant un employé
dans chaque central téléphonique pour connecter les lignes
selon les instructions ». Il a également indiqué les
deux méthodes de tarification téléphonique : un abonnement
fixe et une taxe ; et a mentionné la pratique, aujourd'hui en vigueur
sur les lignes longue distance, de la facturation horaire. De fait, cette
« centralisation » a été tentée en mai
1877 à Boston, avec les circuits du système d'alarme anti-intrusion
Holmes, reliant ainsi quatre établissements bancaires ; tandis
qu'en janvier 1878, le central téléphonique Bell de New
Haven, dans le Connecticut, a été inauguré, «
le premier central téléphonique commercial entièrement
équipé jamais établi pour le service public ou général
».
Tout au long de cette période formatrice, Bell
avait conservé et introduit le téléphone à
magnéto, désormais utilisé uniquement comme récepteur
et très mal adapté à la fonction vitale de transmetteur
vocal. À partir d'août 1877, la Western Union Telegraph Company
s'orienta dans l'autre sens et, en 1878, avec son alliée, la Gold
& Stock Telegraph Company, créa l'American Speaking Telephone
Company pour introduire l'appareil Edison et créer des centraux
téléphoniques dans tout le pays. Dans cette guerre, la possession
d'un bon transmetteur à batterie joua un rôle crucial en
faveur de la Western Union, car l'expansion réelle de toute l'industrie
en dépendait ; mais quelques mois plus tard, le système
Bell disposa également de son propre transmetteur à batterie,
ce qui contribua à rétablir l'équilibre. À
la fin de la même année, un litige en matière de brevets
fut engagé, qui fit clairement ressortir les mérites de
Bell, grâce à son brevet, comme inventeur original et premier
du téléphone électrique parlant ; et la Western Union
Telegraph Company conclut un accord avec son rival. Un célèbre
contrat daté du 10 novembre 1879 montrait que, grâce aux
brevets d'Edison et d'autres brevets de contrôle, la Western Union
Company avait déjà mis en service quelque quatre-vingt-cinq
centraux et fabriqué de grandes quantités d'appareils téléphoniques.
En contrepartie de son retrait volontaire du secteur téléphonique,
la Western Union Telegraph Company, en vertu de ce contrat, percevait
une redevance de 20 % sur tous les revenus téléphoniques
du réseau Bell pendant la durée de validité des brevets
de Bell ; elle bénéficiait ainsi d'un revenu annuel de plusieurs
centaines de milliers de dollars pendant quelques années, principalement
grâce à son modeste investissement dans les travaux d'Edison.
Elle recevait également plusieurs milliers de dollars en espèces
pour les appareils Edison, Phelps, Gray et autres appareils disponibles.
Elle s'assurait également 40 % du capital des réseaux téléphoniques
locaux de New York et de Chicago ; et, enfin, et ce n'est pas le moins
important, elle exigeait des intérêts de Bell qu'ils s'engagent
à rester en dehors du secteur télégraphique.
En mars 1881, aux États-Unis, seules neuf villes
de plus de dix mille habitants et une seule de plus de quinze mille habitants
étaient dépourvues de central téléphonique.
L'industrie prospérait sous l'effet de la concurrence, et son absence
freinait considérablement sa croissance ; en effet, à l'expiration
du brevet de Bell en 1893, le nombre total de postes téléphoniques
en service aux États-Unis n'était que de 291 253. Pour citer
un communiqué officiel de Bell :
La brève mais vigoureuse concurrence de Western Union fut une sorte
de bénédiction. Le simple fait que deux groupes distincts
s'investissent activement dans l'organisation et la mise en place de centraux
téléphoniques concurrents dans tout le pays facilita grandement
la diffusion de l'idée et la croissance de l'entreprise, et familiarisa
la population avec l'utilisation du téléphone comme moyen
d'affaires. De plus, l'âpreté de la concurrence, qui s'étendit
aux agents et employés des deux sociétés, provoqua
une expansion rapide, mais inattendue, des centraux téléphoniques
des grandes villes, et une augmentation correspondante de leur importance,
de leur valeur et de leur utilité.
La véracité de cette affirmation fut immédiatement
démontrée en 1894, après l'expiration des brevets
Bell, par l'explosion d'une nouvelle concurrence dans les réseaux
ruraux « indépendants » et les lignes à péage
traversant des régions peu peuplées travaux pour
lesquels l'appareil et les méthodes d'Edison étaient particulièrement
adaptés, mais contre lesquels l'influence du brevet Edison fut
invoquée. Les données recueillies par le Bureau du recensement
des États-Unis en 1902 montraient que l'ensemble du secteur avait
fait des bonds de géant en huit ans et comptait 2 371 044 postes
téléphoniques en service, dont 1 053 866 étaient
totalement ou nominalement indépendants de Bell. En 1907, une augmentation
encore plus notable fut constatée, et les chiffres du recensement
pour cette année-là incluaient pas moins de 6 118 578 postes,
dont 1 986 575 étaient « indépendants ». Ces
six millions d'instruments, chacun utilisant le principe du transmetteur
à charbon, étaient regroupés en 15 527 centraux publics,
conformément aux prévisions de Bell trente ans auparavant,
et fournissaient plus de onze milliards de communications. La valeur capitalisée
de l'installation s'élevait à 814 616 004 $, le revenu annuel
avoisinait les 185 000 000 $ et employait 140 000 personnes. Si Edison
n'avait rien fait d'autre, sa participation à la création
d'une telle industrie lui aurait valu une place de choix parmi les inventeurs.
Ce chapitre est forcément bref dans ses références
à de nombreux points et détails extrêmement intéressants
; certains lecteurs pourront le trouver incomplet dans ses références
aux travaux d'autres hommes qu'Edison, dont l'influence sur la téléphonie
en tant qu'art a également été considérable.
En réponse à cette critique pertinente, on peut souligner
qu'il s'agit de la vie d'Edison, et de personne d'autre ; et que même
l'analyse de ses seules réalisations dans ces différents
domaines nécessiterait plus de place que ne le permettent les auteurs.
Nous avons cependant tenté de retracer le cours des événements
et de présenter les faits avec impartialité. La controverse
qui a jadis suscité une vive émotion autour de l'invention
du microphone, mais qui s'est éteinte depuis longtemps, témoigne
des difficultés qu'il y a à rendre justice à tous.
Une histoire classique décrit ainsi le microphone :
Un appareil fabriqué aux débuts du téléphone
par le professeur Hughes, d'Angleterre, pour rendre distinctement audibles
les sons faibles et indistincts, dépendait, pour son fonctionnement,
des variations de résistance des contacts lâches. Cet appareil,
appelé microphone, n'était en réalité qu'une
des nombreuses variantes possibles de l'émetteur téléphonique.
Par exemple, l'émetteur granulaire d'Edison était une variante
de microphone, tout comme l'émetteur d'Edison, utilisant un bouton
de carbone massif. En effet, même la pointe de platine, qui, dans
la première version de l'émetteur Reis, était pressée
contre le contact en platine cimenté au centre du diaphragme, était
un microphone.
À une époque où la plupart des gens
s'étonnaient à l'idée d'entendre, à l'aide
d'un « microphone », le bruit d'une mouche à des kilomètres
de distance, l'antériorité de l'invention d'un tel appareil
était vivement contestée. Pourtant, sans vouloir ôter
quoi que ce soit au brillant Américain Hughes, dont l'appareil
télégraphique est toujours utilisé dans toute l'Europe,
il convient de souligner que ce passage attribue à Edison au moins
deux formes originales, dont celles suggérées par Hughes
n'étaient que de simples variations et modifications. À
ce sujet, M. Edison lui-même remarque : « Après avoir
envoyé un de mes hommes à Londres spécialement pour
montrer à Preece l'émetteur à charbon, et où
Hughes l'avait vu et entendu pour la première fois, un mois plus
tard, il est revenu avec le microphone, sans même que je le reconnaisse.
Les dates publiées montreront que Hughes est arrivé après
moi. »
Edison a également exploité d'autres manières
la propriété particulière du carbone de modifier
sa résistance au passage du courant, selon la pression à
laquelle il est soumis, que ce soit en surface ou par une plus grande
cohésion de la masse. Une route non stabilisée, recouverte
de quelques centimètres de poussière ou de cailloux, offre
une résistance appréciable aux roues des véhicules
qui la parcourent ; mais si la surface est maintenue dure et lisse, l'effet
est tout autre. De même, le carbone, qu'il soit solide ou sous forme
de poudre finement divisée, offre une forte résistance au
passage de l'électricité ; mais si le carbone est comprimé,
les conditions changent, la résistance à l'électricité
dans le circuit étant moindre. Pour son système quadruplex,
M. Edison a exploité cette propriété dans la construction
d'un rhéostat, ou boîtier de résistance. Il est constitué
d'une série de disques de soie imprégnés d'un enduit
de plombagine et bien séchés. Les disques sont comprimés
au moyen d'une vis réglable ; de cette manière, la résistance
d'un circuit peut varier sur une large plage.
De la même manière, Edison a développé
un relais à pression ou à charbon, adapté au transfert
de signaux d'intensité variable d'un circuit à un autre.
Un relais ordinaire est constitué d'un électro-aimant inséré
dans la ligne principale pour la télégraphie, qui met en
jeu une batterie locale et un circuit de sondeur, reproduisant dans le
circuit local les signaux envoyés sur la ligne principale. Le relais
est réglé sur les courants les plus faibles susceptibles
d'être reçus, mais les signaux reproduits sur la sondeur
par l'intermédiaire du relais sont, bien sûr, tous d'intensité
égale, car ils dépendent de la batterie locale, qui n'a
que ce travail constant à effectuer. Lorsqu'il est souhaitable
de reproduire les signaux dans le circuit local avec les mêmes variations
d'intensité que celles reçues par le relais, le relais à
pression à charbon Edison prend en charge cette tâche. Les
pôles de l'électro-aimant dans le circuit local sont évidés
et remplis de disques de charbon ou de plombagine en poudre. L'armature
et les pôles à pointe de charbon de l'électro-aimant
font partie du circuit local ; et si le relais est actionné par
un courant faible, l'armature ne sera que faiblement attirée. Le
charbon étant à peine comprimé, il offrira une résistance
considérable au flux de courant de la batterie locale, et par conséquent,
le signal sur le sondeur local sera faible. Si, au contraire, le courant
entrant sur la ligne principale est fort, l'armature sera fortement attirée,
le charbon sera fortement comprimé, la résistance du circuit
local sera proportionnellement réduite, et le signal entendu sur
le sondeur local sera fort. Ainsi, on verra, par un autre jonglage astucieux
avec l'agent volontaire, le charbon, pour lequel il a trouvé tant
d'utilité, qu'Edison est capable de transférer ou de transmettre
exactement, au circuit local, le courant de la ligne principale dans toutes
ses plus infimes variations.
Dans ses recherches visant à déterminer
la nature du phénomène du motographe et à découvrir
d'autres sources de production de courant électrique, Edison a
mis au point un appareil très ingénieux et quelque peu déroutant,
appelé « pile à craie ». Il se compose d'une
série de cylindres de craie montés sur un axe tourné
à la main. Un ressort à revêtement en palladium est
appuyé contre chacun de ces cylindres, et des ressorts similaires
entrent en contact avec l'axe entre chaque cylindre. En connectant tous
ces ressorts en circuit avec un galvanomètre et en faisant tourner
rapidement l'axe, on obtient une déviation notable de l'aiguille
du galvanomètre, indiquant la production d'énergie électrique.
La raison de ce phénomène ne semble pas avoir été
déterminée.
Enfin, dans cette belle et ingénieuse série,
vient le « tasimètre », un instrument d'une sensibilité
extrême à la chaleur. Son nom vient du grec ancien, car cet
appareil sert principalement à mesurer des différences de
pression extrêmement infimes. Une bande de caoutchouc dur aux extrémités
pointues repose perpendiculairement sur une plaque de platine, sous laquelle
se trouve un bouton de carbone, lui-même sous une autre plaque de
platine. Les deux plaques et le bouton de carbone forment un circuit électrique
contenant une pile et un galvanomètre. La bande de caoutchouc dur
est extrêmement sensible à la chaleur. La moindre chaleur
transmise provoque une dilatation invisible, augmentant ainsi la pression
de contact sur le bouton de carbone et produisant une variation de résistance
du circuit, immédiatement enregistrée par la petite aiguille
oscillante du galvanomètre. Cet instrument est si sensible qu'avec
un galvanomètre délicat, il peut détecter la chaleur
transmise par la main d'une personne à une distance de dix mètres.
La suggestion d'utiliser un tel appareil dans les observations astronomiques
survient immédiatement, et il convient de noter que dans un cas,
la chaleur des rayons lumineux provenant de l'étoile lointaine
Arcturus a donné des résultats.
Pour compléter son oeuvre, consulter le site de
sa biographie
très détaillée
sommaire
LE BUG
Saviez-vous qu'Edison a inventé le terme «
bug » pour désigner un problème technique ?
La première utilisation documentée de ce terme pour désigner
un problème technique se trouve dans l'Oxford English Dictionary,
qui cite une lettre à l'éditeur du numéro du 15 septembre
1875 de la revue Operator : « Le plus gros « bug » à
ce jour a été découvert dans l'annonciateur électrique
d'un hôtel américain. » Cependant, la phrase commence
ainsi : « Les « bugs » sur le « quad » sont
tous très bien à leur manière, mais
»
Ce que l'OED n'a pas compris, c'est que cette utilisation du terme «
bug » a été inventée par Edison en lien avec
son télégraphe quadruplex.
En 1874, Edison inventa le télégraphe quadruplex,
qui transmettait quatre messages, deux dans chaque direction, sur un seul
fil. En septembre 1875, le quadruplex était largement utilisé
par la Western Union. L'une de ses caractéristiques principales
était ce qu'Edison appelait un « piège à insectes
».
Peu de traces des travaux expérimentaux d'Edison
sur le quadruplex apparaissent dans les carnets de notes existants. Ce
n'est qu'avec le compte rendu plus complet de ses expériences au
laboratoire de Menlo Park, qu'il commença à exploiter en
avril 1876, que nous le voyons utiliser les termes « punaise
» et « piège à punaises ».
Durant l'été 1876, Edison utilise le terme « punaise
» pour décrire les problèmes rencontrés par
d'autres systèmes télégraphiques pour l'envoi de
messages multiples, ainsi que le nouvel appareil qu'il baptisa «
électromotographe », fruit de ses travaux sur les enregistreurs
pour télégraphes automatiques.
Edison's "Bug Trap"
La première version d'un piège à micros (non encore
nommé) figure dans la mise en garde du brevet d'Edison datant de
début août 1873. Le terme apparaît pour la première
fois dans le témoignage d'Edison en avril 1877 lors d'un litige
concernant la propriété de son quadruplex. À peu
près à la même époque, il commença à
l'utiliser dans des carnets décrivant les dispositifs du quadruplex
et de son système expérimental sextuplex permettant d'envoyer
six messages. Les « pièges à micros » représentaient
l'une des stratégies inventives clés d'Edison. Lorsqu'il
ne parvenait pas à éliminer la cause d'un problème,
il cherchait un arrangement qui en rendait les effets insignifiants.
L'année suivante, Edison commença à utiliser le terme
« bug » pour décrire les problèmes techniques
rencontrés lors de ses expériences téléphoniques.
Dans une lettre du 13 mars 1878 adressée au président de
la Western Union, William Orton, Edison écrivait :
Vous aviez en partie raison, j'ai bien trouvé un "bug"
dans mon appareil, mais il n'était pas dans le téléphone
proprement dit. Il était du genre "callbellum". L'insecte
semble trouver les conditions de son existence dans tous les appareils
d'appel des téléphones.
Et écrivant à William Preece à propos de son téléphone
le 19 mai 1878, Edison notait : « Si la charge statique est le bug,
je demanderai une compensation. »
Bugs dans le récepteur
À l'automne 1878, son neveu Charles Edison devint le principal
expérimentateur du récepteur et la première personne
du laboratoire, autre qu'Edison, à utiliser ce terme dans un carnet.
Exaspéré par le dysfonctionnement de l'appareil, il dessina
un « insecte à double face » et écrivit plusieurs
allusions humoristiques aux insectes. Il décrivit également
un appareil permettant de résoudre ces problèmes sous le
nom de « Boog Troup ».
Peu de temps après avoir commencé à travailler sur
l'éclairage électrique, Edison a écrit une lettre
(datée du 13 novembre 1878) dans laquelle il a fourni la meilleure
description de son utilisation du bug pour décrire les problèmes
techniques :
Il en a été ainsi dans toutes mes inventions. La première
étape est une intuition, qui surgit brusquement. Puis les difficultés
surgissent. Puis ceci donne, cela."Insectes".
Des mois d'observation, d'étude et de travail intenses sont nécessaires
avant que le succès commercial - ou l'échec - ne soit certainement
atteint.
Certains associés d'Edison commencèrent
à adopter ce terme en lien avec ses travaux sur l'éclairage
électrique. Dans une lettre du 3 novembre 1878 à Edison,
son ami George Barker, professeur à l'Université de Pennsylvanie,
se plaignait du retard d'Edison à lui fournir une de ses nouvelles
lampes pour une conférence. Il lui demandait : « Avez-vous
trouvé un insecte dans la lampe ? C'est la raison pour laquelle
vous ne voulez pas que je la montre ? » Un autre visiteur du laboratoire,
Addison Burk, commentant une communication sur la lampe d'Edison présentée
lors de la réunion du Franklin Institute du 21 janvier 1880, déclara
: « M. Edison appelle toutes les difficultés des insectes.
»
La production commerciale de lampes, qui débuta
à l'automne 1880, était particulièrement vulnérable
aux microbes.
En avril 1881, Francis Upton écrivait depuis la fabrique de lampes
: « Il ne se passe guère de jour sans qu'un nouveau microbe
n'apparaisse. »
Des problèmes à la fabrique de lampes exigeaient parfois
l'attention d'Edison. Par exemple, en février 1882, le secrétaire
d'Edison, Samuel Insull, rapporta qu'il était passé à
l'usine « très souvent ces derniers temps et m'a dit il y
a quelques minutes qu'il pensait avoir trouvé le microbe radical
dans la lampe. » À Paris, où Charles Batchelor avait
établi une fabrique de lampes européenne, des microbes firent
également leur apparition. Par exemple, en juillet 1882, il déclara
à Edison : « J'ai trouvé un microbe qui, j'en suis
sûr, se trouve dans le verre. » Charles Clarke, ingénieur
en chef d'Edison Electric, avertit Edison d'un « gros microbe dans
les douilles en laiton de Bergmann », qui provoquait un court-circuit.
D'autres bugs apparurent lors de l'exposition du nouveau système
électrique d'Edison à Paris et à Londres.
En novembre 1881, alors qu'Edward Johnson préparait l'exposition
d'Edison à l'Exposition de Crystal Palace à Londres, il
prévoyait d'améliorer le bilan de sa précédente
exposition à l'Exposition de l'Électricité de Paris,
expliquant : « Le point sur lequel Paris a échoué
le plus manifestement était la fiabilité. Je privilégie
donc ce bug plus que tout autre, bien qu'il en existe d'autres presque
aussi importants. » En réponse à la lettre de Johnson,
Edison lui fit savoir :
Les courroies sont susceptibles de glisser, vous devez donc vous assurer
que toutes vos courroies sont bien serrées, car c'est un mauvais
bug lorsque vous faites fonctionner les machines dans plusieurs arcs,
car si certaines courroies sont lâches, les autres machines feront
tout le travail et ce sera comme mettre 100 lumières sur une machine.
Des problèmes surgirent également à la gare de Pearl
Street.
Peu après son ouverture en septembre 1882, Edison dut repenser
l'accouplement de ses dynamos Jumbo afin que les moteurs à vapeur
qui les actionnaient fonctionnent ensemble. Dans son rapport à
Charles Batchelor, qui dirigeait l'entreprise d'éclairage Edison
à Paris, Samuel Insull écrivit : « Maintenant que
ce bug a été éradiqué, il semble que les machines
de la gare centrale fonctionneront parfaitement. » Alors qu'Edison
commençait à installer de nouvelles gares en 1883, des bugs
apparurent également. Écrivant depuis la première
de ces nouvelles gares à Sunbury, en Pennsylvanie, William Andrews
écrivit à Edison au sujet d'un « bug dans les connexions
des dynamos » et lui envoya un plan pour une nouvelle méthode
de connexion des dynamos de rechange, lui demandant : « Veuillez
les examiner et voir si vous pouvez y trouver un bug. »
Le terme fait partie du génie électrique
La première utilisation du terme « bug » apparaît
dans un article de James Ashley, rédacteur en chef du Journal of
the Telegraph .
- Ancien associé d'Edison au sein du cabinet Pope, Edison &
Co., Ashley était devenu un ennemi acharné d'Edison dès
1874, lorsqu'il commença à surnommer l'inventeur «
le professeur de duplicité et de quadruplicité ».
Dans son article de mai 1877 intitulé « Inventions et inventeurs
de la télégraphie électrique », Ashley notait
que « les bugs sont généralement nombreux dans les
nouvelles inventions
Cela a été démontré
de manière convaincante par l'adaptation pratique des inventions
duplex et quadruplex. Les bugs découverts et éliminés
constitueraient une vaste collection entomologique (métaphorique)
».
- Au milieu des années 1880, le piège à insectes
d'Edison est apparu dans des livres et des articles sur le quadruplex
et un autre inventeur a même breveté une amélioration
des « pièges à insectes » pour les instruments
de réception télégraphique.
- À la fin de la décennie, Edwin Houston a défini
à la fois les insectes et les pièges à insectes dans
son Dictionnaire des mots, termes et expressions électriques de
1889 :
Bug. Terme initialement réservé à la télégraphie
quadruplex pour désigner tout défaut de fonctionnement de
l'appareil. Ce terme n'est pas employé, dans une certaine mesure,
pour les défauts de fonctionnement des appareils électriques
en général.
- Puis, dans son Standard Electrical Dictionary de 1892 , Thomas O'Conor
Sloane fut le premier à décrire « bug » comme
« tout défaut ou problème dans les connexions ou le
fonctionnement d'un appareil électrique » et « bug
trap » comme « une connexion ou un arrangement pour surmonter
un « bug ». » Mais il nota également que ces
termes étaient censés provenir de la télégraphie
quadruplex ...
Plus tard le "Bug" est revenu dans le langage informatique,
comme plantage ou défaut de fonctionnement.
sommaire
|