Alexander Graham BELL

Le téléphone aux Etats-Unis Première partie

Bell est un scientifique, un ingénieur et un inventeur britanno-canadien, qui est surtout connu pour l'invention du téléphone, pour laquelle l'antériorité d'Antonio Meucci a depuis été officiellement reconnue le 11 juin 2002 par la Chambre des représentants des États-Unis.

Alexandre Bell est né à Édimbourg en Écosse le 3 mars 1847, il avait deux frères : Melvin James Bell (1845-1870) et Edward Charles Bell (1848-1867), tous deux morts de la tuberculose.
Son père Alexander Melville Bell était professeur, et sa mère était Eliza Grace Symonds.

Pour ceux qui préfèrent découvrir en image, voir le film The Story of Alexander Graham Bell (1939)


Il a reçu son éducation primaire de ses parents et de tuteurs, comme c’était alors la coutume. Héritant du talent musical de sa mère ce dernier a affirmé, plus tard dans sa vie, qu’il se souvenait d'avoir toujours joué du piano. Enfant, il pouvait jouer à l’oreille et improviser au piano pendant de longues périodes.
Alexandre, alors âgé de 10 ans, réclama à son père de pouvoir porter un deuxième prénom, comme ses frères.
Son père accepta et lui permit, à l'occasion de son 11e anniversaire, le deuxième prénom "Graham".
Il choisit ce prénom en raison deson admiration pour Alexandre Graham, un interne Canadien soigné par son père, qui devint un ami de la famille.


Alexander Graham Bell (rangée arrière, quatrième à partir de la gauche) et ses camarades de classe de la Royal High School, Édimbourgh, Écosse, 1858.

Assis au premier plan, Alexander Melville Bell et son épouse, Eliza Grace (née Symonds). Ils sont entourés de leurs fils, de gauche à droite : Alexander Graham, Melville James et Edward Charles, 1860.
Ses études à la McLaren’s Academy et au Royal High School, sont loin d’être brillantes. Il aime la musique, la botanique et l’histoire naturelle, matières qui ne figurent pas au programme scolaire, et il déteste intensément le latin et le grec, alors piliers de l’enseignement formel. Avant de quitter l’école secondaire en 1862, il a déjà réalisé sa première invention : un système pour faciliter l’enlèvement des cosses dans un moulin à grain, basé sur le principe d’une brosse à ongles.

Alexander Graham Bell, à l’âge de 15 et 17 ans. La photographie de gauche a été prise par son père, à leur maison de campagne, Milton Cottage, Trinity, Édimbourgh, 1862.
La même année, Graham et ses frères aident leur père, Alexander Melville Bell, lors de démonstrations publiques du Visible Speech – un code de symboles indiquant la position et l'action de la gorge, de la langue et des lèvres lors de l'émission de divers sons. Autour de cette période, Graham s’inscrit également comme étudiant-enseignant à Weston House, une école de garçons près d'Édimbourg, où il enseigne la musique et l'art oratoire en échange d'enseignements sur d'autres matières. Plus tard, après des études à l'Université d'Édimbourg, il est devient enseignant à plein temps. Il trouve également le temps de se qualifier pour des études à l'Université de Londres et d'utiliser le Visible Speech pour enseigner à une classe d'enfants ayant une déficience de l’audition. Tout en menant une série d'expériences sur la voix et les sons, il ne peut pas écarter de son esprit la possibilité de « télégraphier » la parole, bien qu'il n'ait aucune idée de comment le faire. Ce n'est qu'en 1867 qu'il s’intéresse à l'électricité et installe un fil télégraphique de sa chambre à celle d'un ami.
Des symboles du Visible Speech inventé par Alexander Melville Bell, pour enseigner la production de mots aux enfants ayant une déficience de l’audition.

Puis, en 1870, un malheur bouleverse la famille Bell. Le plus jeune frère de Graham était déjà mort de la tuberculose et maintenant, son frère aîné, Melville James, succombe à la même maladie. Les médecins font savoir que Graham présente également des facteurs de risques importants. Son père n’hésite pas et sacrifie sa carrière d'enseignant à Londres pour s'embarquer avec sa famille pour le Canada. Six jours après leur arrivée au pays, le 18 août 1870, la famille achète une maison à Brantford, en Ontario, aujourd'hui connue sous le nom de Bell Homestead.

sommaire

Beaucoup d'inventions marquèrent la vie d'Alexander Graham Bell : les travaux exploratoires en télécommunications optiques, l'hydroptère en aéronautique.
En 1888, il devint l'un des membres fondateurs de la National Geographic Society


Le mot téléphone
remonte à 1845. Il était donné à un appareil imaginé par le capitaine John Taylor, "un instrument puissant destiné à transmettre des signaux, pendant le brouillard, à l’aide de sons produits par de l’air comprimé traversant des trompettes". Puis en 1854, le même nom a été appliqué au système de langage musical imaginé par Sudre.
Les découvertes de ces dernières années ont considérablement modifié et précisé le sens de ces deux mots, en le réservant aux appareils qui servent à la transmission de la voix à distance. Le téléphone Bell n’est pas dû, comme d’aucuns pourraient le croire, à la découverte fortuite d’un heureux inventeur. Bell avait connaissance des travaux de ses devanciers, parmi lesquels il cite Page, Marrion, Beatson, Gassiot, De la Rive, Meucci, Guillemin, Wertheim, etc, et s était livré à de laborieuses études sur l’acoustique, en collaboration avec son père.
Bell commença par l’étude des sons des voyelles, fit des expériences parallèles à celles de Helmholtz sur la reproduction artificielle des voyelles au moyen de diapasons électriques, combina un harmonica électrique à clavier et un Morse à audition ou sounder. C’est à partir de ce moment que commencèrent sérieusement ses recherches sur les téléphones électriques, et notamment sur la nature des courants engendrés par des actions différentes. On lui doit la découverte des courants ondulatoires, sur laquelle il basa la théorie de son merveilleux appareil.

Mais avant à partir de 1832, plusieurs inventeurs contribuent par leurs travaux à la conception du télégraphe électrique dont le diplomate russe Pavel Schilling, l’Anglais William Fothergill Cooke, un jeune servant dans l’armée des Indes, et Charles Wheatstone, un physicien.
En mai 1837, Cooke et Wheatstone
brevetèrent un système télégraphique utilisant un certain nombre d'aiguilles sur un tableau pouvant être déplacées pour indiquer les lettres de l'alphabet ....
En Angleterre, le télégraphe expérimenté par la compagnie de chemin de fer Great Western ne souhaitant pas financer un système qu'elle considérait encore comme expérimental, elle avait insisté pour son usage exclusif de la ligne et avait refusé à Cooke l'autorisation d'ouvrir des bureaux publics de télégraphe. Mais le nouvel accord signé par Cooke autorisait le chemin de fer à utiliser le système gratuitement en échange du droit pour Cooke d'ouvrir des bureaux publics, établissant pour la première fois un service de télégraphie public. Un tarif forfaitaire était fixé (à la différence de tous les services télégraphiques ultérieurs facturant par nombres de mots) d'un shilling, mais de nombreuses personnes ne payaient ce shilling que pour voir cet étrange équipement.
À partir de ce moment, l'utilisation du télégraphe électrique a commencé à se développer sur les nouveaux chemins de fer construits à partir de Londres. Le chemin de fer Londres - Blackwall (une autre installation à traction par cordes) était équipé du télégraphe Cooke et Wheatstone lors de son ouverture en 1840, et de nombreux autres suivirent ....
L
a vision d’un entrepreneur a donné naissance au télégraphe qui a déclenché la révolution de l’information.
En 1832, après un voyage en Europe, sur le Sully, navire qui ramène l'américain Samuel Morse et son assistant Alfred Vail, Morse s'inspirant des travaux de ses prédécesseurs (notamment André-Marie Ampère, François Arago) invente un système simple et robuste de télégraphe électromécanique, qu'il baptisa « télégraphe enregistreur »
Le télégraphe fut perfectionné par Morse, Vail et un collègue, Leonard Gale, pour devenir mécanique en 1837.
Le 20 juin 1840, un brevet est accordé à Morse pour l'invention du télégraphe électrique pour lequel son assistant Alfred Vail (qui jouera un rôle très important dans l'histoire du téléphone) invente un code original de transmission, le code Morse, via la transcription en une série de points et de traits des lettres de l'alphabet, des chiffres et de la ponctuation courante. Le point est une impulsion brève et le trait une impulsion longue ...
Le télégraphe électrique ne tarde pas à se répendre dans le monde entier comme le moyen le plus rapide de communication.
Samuel Morse fait construire en 1843 la première ligne télégraphique entre Baltimore et Washington, puis contribue à fonder la « Western Union Telegraph » qui deviendra l'ATT sous la direction de Vail.
De son côté Charles Wheatstone produit un télégraphe automatique (ancêtre du Télex) qui transmet jusqu'à 190 mots par minute.
La première ligne télégraphique commerciale fut construite entre Washington D.C. et New York au printemps 1846 par la Magnetic Telegraph Company. L'essor commercial de la télégraphie commence : le premier câble trans-manche fonctionne entre Douvres et Calais en 1851.
En 1866, la première liaison transatlantique durablement opérationnelle est réalisée entre l'Irlande et les États-Unis via Terre-Neuve.

Alors qu'il vivait à Salem, Bell informa Thomas Sanders de ses idées sur la télégraphie multiple et le laissa même l'aider à fabriquer des appareils expérimentaux. Bell rencontra le deuxième de ses soutiens en avril 1872 à l'Institut Clarice pour les sourds-muets lorsqu'il montra au président de cette école, Gardiner G. Hubbard, ce qu'il avait accompli avec les élèves en un court mois et lui fit part de ce qu'il prévoyait de faire pour Le reste de sa visite. Non seulement tout s'est déroulé « à merveille », mais cela a aussi marqué le début d'une amitié qui allait s'avérer mutuellement avantageuse.
Thomas Sanders Gardiner Greene Hubbard

Thomas Sanders
A cette époque Bell visita plusieurs écoles pour sourds de la région de Boston et, en 1873, il devint professeur de physiologie vocale et de mécanique de la parole. Il commença également à donner des cours particuliers à des élèves sourds et attira l'attention de Sanders, qui l'engagea pour son fils sourd-muet de 6 ans, George. De 1873 à 1876, Bell travailla avec le fils Sanders et vécut avec lui chez la grand-mère de George à Salem, dans le Massachusetts. Bell et Sanders devinrent des amis proches, et Bell se rendait souvent chez les Sanders à Haverhill, où il mena nombre de ses expériences pour inventer le téléphone. Sanders était propriétaire de la Sanders Leather Company, une entreprise florissante du secteur de la chaussure à Haverhill. Son entreprise avait mis au point un procédé de découpe à grande échelle des semelles de chaussures en cuir, évitant ainsi aux fabricants de chaussures de devoir les découper eux-mêmes. Sanders s'intéressa aux expériences de Bell sur la transmission du son et devint finalement le principal bailleur de fonds du développement du téléphone.
Gardiner Greene Hubbard était un avocat, financier et leader communautaire américain. Il fut l'un des fondateurs de la revue Science; et un défenseur de l'éducation à la parole orale pour les sourds. Il s'installe d'abord à Cambridge et rejoint le cabinet d'avocats de Boston Benjamin Robbins Curtis . Là, il est devenu actif dans les institutions locales. Hubbard a aidé à établir une usine d'adduction d'eau de la ville de Cambridge, a été l'un des fondateurs de la Cambridge Gas Co. puis a ensuite organisé un système de tramway entre Cambridge et Boston. Hubbard a également joué un rôle central dans la fondation de la Clarke School for the Deaf à Northampton, Massachusetts . Ce fut la première école orale pour sourds aux États-Unis, et Hubbard en resta administrateur pour le reste de sa vie.
Hubbard est entré sur la scène nationale en devenant un partisan de la nationalisation du système télégraphique (alors un monopole de la Western Union Company) sous la direction du service postal américain , déclarant dans un article : « Les changements proposés dans le système télégraphique ». On ne prétend pas que le système postal soit exempt de défauts, mais qu'il élimine bon nombre des graves maux du système actuel, sans en introduire de nouveaux ; et que la balance des avantages prédomine grandement en faveur du système postal. tarifs bon marché, installations accrues, pouvoirs limités et divisés du système postal.
À la fin des années 1860, Hubbard a fait pression sur le Congrès pour qu'il adopte le projet de loi américain sur le télégraphe postal, connu sous le nom de projet de loi Hubbard. Le projet de loi aurait créé la US Postal Telegraph Company qui serait connectée au bureau de poste américain , mais le projet de loi n'a pas été adopté.
Pour bénéficier du projet de loi, Hubbard avait besoin de brevets qui dominaient des aspects essentiels de la technologie télégraphique, tels que l'envoi simultané de plusieurs messages sur un seul fil télégraphique. C'est ce qu'on appelait le « télégraphe harmonique » ou télégraphie acoustique.

Bien que Bell et Hubbard s'intéressaient tous deux à la télégraphie, leurs premiers échanges se limitaient probablement à l'éducation des sourds.

L'idée de la télégraphie multiple était née dans l'esprit de Bell avant qu'il ne s'installe définitivement aux États-Unis. Pendant deux années, il travailla sur ses expériences télégraphiques à Boston et à Salem, essayant de mettre au point un appareil parfait capable de transmettre simultanément plusieurs messages sur un seul fil télégraphique. Durant ses vacances d'été au Canada en 1874, Bell non seulement réfléchit à la télégraphie multiple, mais conçut également une méthode permettant d'envoyer des discours articulés par fil télégraphique. Il avait en effet conçu les éléments fondamentaux du téléphone parlant, et il ne restait plus qu'à mettre la théorie en pratique.
Il semble probable qu'après son retour du Canada, Bell ait confié à Sanders son concept du téléphone, sa confiance en la télégraphie multiple. Parce que Bell doutait que la transmission soit audible et aussi parce que le concept n'était encore qu'une théorie non testée, contrairement à la télégraphie multiple de Bell, Sanders n'a peut-être pas été impressionné. Quoi qu'il en soit. Les expériences télégraphiques multiples les plus récentes de Bell étaient si prometteuses que, Sanders proposa de payer tous les frais d'obtention de brevets et de construction d'instruments, en échange de la moitié de ses intérêts. La gratitude de Sanders pour le travail de B. Bell a également joué un rôle dans cette offre. Bell parla pour la première fois à Hubbard de ses exportations télégraphiques. Un soir, alors qu'il rendait visite à la famille Hubbard, il accepta de jouer du piano pour eux. Au milieu de sa prestation, Bell s'arrêta, se retourna, demanda si Hubbard savait que le piano répéterait une note chantée et fit une démonstration du phénomène. Bell a ensuite expliqué que ce principe de vibration sympathique l'avait conduit à un appareil capable de transmettre simultanément plusieurs messages phonétiques sur un seul fil.
(C'est que les musiciens appellent "L’oreille absolue" qui est la faculté de reconnaître ou savoir nommer, à l'écoute d'un son, une ou plusieurs notes sans avoir eu besoin d'entendre au préalable une note identifiée servant de référence. Cette faculté est associée à une perception fine de la justesse. Cela implique que tout l'apprentissage musical ait été effectué avec une référence (diapason) précise et invariable. Elle implique aussi une liaison entre les fonctions cérébrales liées à l'audition et celles liées au langage, qui permettent de donner un nom à ces sons.)

Le lobbying enthousiaste de Hubbard mena le projet à la limite du succès en 1874. Il était si proche du succès qu'il était prêt à risquer non seulement sa fortune, mais aussi celle de son pays. Il fut cependant bloqué par la défense vigoureuse de la Western Union menée par son président, William Orton.
Lors d'une audition au Sénat ce printemps-là, Orton a nié que Western Union ait sacrifié des avancées technologiques à des fins de profits élevés et a souligné la récente acquisition par son entreprise du système Duplex de Steen, qui doublerait le nombre de messages transmis. Hubbard a réagi en prédisant que de nouveaux développements permettraient la transmission simultanée de quatre, voire de huit messages. Peu de temps après, Western Union a également acquis le système Quadruplex d’Edison, contredisant ainsi l’argument de Hubbard.

Tel était l'état des choses lorsque Bell indiqua qu'il travaillait sur un système de télégraphie multiple qui surpasserait les méthodes existantes.
Après avoir consulté l'Office des brevets pour une anticipation possible de l'idée de la télégraphie biharmonique, Hubbard fit à Bell une offre : une aide financière pour ses expériences en échange d'une participation de moitié dans l'invention. Mais Bell avait déjà conclu un accord similaire avec Sanders. Il l'accepta, à condition qu'un arrangement puisse être trouvé avec son premier partenaire
Pour optimiser les liaisons en cuivre/laiton, Hubbard et son associé Thomas Sanders, financent des expériences pour le développement du télégraphe multiple, ce qui amena divers brevets et conduira Alexander Graham Bell à l'invention du téléphone.
Hubbard était alors un des fondateurs de la Clarke Schools for Hearing and Speech, la première école orale pour les sourds aux États-Unis, située à Northampton.

Autre acteur important dans cette aventure est Holmes père qui a démarré une entreprise commérciale en 1849 à Boston, et le fils Edwin Holmes en tant que vendeur d'articles ménagers et entrepreneur, a acquis des compétences qui l'ont aidé plus tard à établir l'industrie des alarmes incendie et antivol. L'alarme électrique a été brevetée en 1853 par le révérend Augustus Russell Pope de Somerville, Massachusetts.
Edwin Thomas Holmes
a acquis les droits de brevet de Pope en 1857 pour 1 500 USD et a fabriqué l'appareil dans son usine de Boston, Massachusetts . Il a commencé à les vendre en 1858. Puis il repris l'entreprise de son père après sa mort .
Au début, les gens étaient craintifs et sceptiques quant à l'utilisation de l'électricité pour les alarmes, et l'affaire ne marchait pas bien. Par conséquent, en 1859, à la recherche d'un nouveau et plus grand marché, Holmes a déménagé son entreprise à New York, qui était alors perçue comme un endroit où « tous les cambrioleurs du pays avaient élu domicile ». En 1866, il y a installé 1 200 alarmes domestiques et a commencé à commercialiser avec succès auprès des entreprises commerciales. En 1877, c'est à cette date que Holmes et Bell vont entrer en relation, Holmes sera la première personne à avoir un téléphone à domicile. Holmes deviendra le principal fabriquant des téléphones Bell.

sommaire

Alexander Graham Bell est hautement redevable à son grand-père paternel Alexander qui, ne voulant pas devenir cordonnier comme on l’était dans sa famille de père en fils, avait quitté le Fifeshire (Ecosse) pour faire carrière dans un domaine alors nouveau, l’élocution.
Passionné par le métier d’acteur, il avait perfectionné sa diction et s’était installé à Dundee, en 1826, pour enseigner l’élocution à temps plein. Il s’intéressa bientôt aux troubles du langage, en particulier au bégaiement, et commença à écrire un manuel sur le sujet. Alors que sa femme était allée à Édimbourg pour livrer le manuscrit, une de leurs connaissances découvrit qu’elle avait une liaison. Après leur divorce, Alexander s’établit à Londres avec leur plus jeune fils, Alexander Melville, en 1834.
L’année suivante, il y publia The practical elocutionist, livre dans lequel il indiquait les groupes de mots et les accents par des symboles semblables à des virgules, jetant ainsi les bases d’un système de visualisation du langage en même temps que celles d’une vocation qui intéresserait trois générations de Bell.

En 1838, soit peu après le remariage de son père, Alexander Melville Bell, épuisé par ses longues heures de travail comme assistant d’un marchand drapier de Londres, fut envoyé à Terre-Neuve pour se refaire une santé. Il habita chez un ami de la famille à St John’s et trouva un emploi de commis dans une entreprise de navigation. Il aida ses collègues à obtenir la réduction de leur semaine de travail et organisa cours et pièces de théâtre. De plus, il commença à traiter des bègues, selon les méthodes de son père, avec un succès qui lui valut une certaine reconnaissance publique.
De retour en Angleterre en 1842 il se lança avec son père dans des études originales sur la physiologie des organes vocaux.
En voyage à Édimbourg l’année suivante, il fit la connaissance d’Eliza Grace Symonds, une miniaturiste anglaise de dix ans son aînée.
Dans des souvenirs rédigés à l’intention de ses petits-enfants, il écrirait : « Je ne suis pas tout à fait tombé amoureux dès la première rencontre, mais j’ai été frappé dès la première rencontre. » Attiré par cette femme cultivée, il admettait avoir aussi éprouvé de la sympathie pour elle, d’autant plus qu’elle était partiellement sourde. Leur longue et tendre union soutiendra Alexander Graham Bell toute sa vie.

Le couple, marié en 1844, s’installa à Édimbourg. L’année suivante, Alexander Melville Bell y publia son premier ouvrage, The art of reading, dont il se servit dans ses conférences sur l’élocution. Il lut également en public des extraits des œuvres « impies » de Charles Dickens, pratique à laquelle les autorités de sa paroisse lui demandèrent de mettre fin. Bell changea plutôt de paroisse. La prospérité apportée par l’intérêt croissant que suscitaient ses conférences permit au couple d’emménager dans un spacieux appartement de la rue Charlotte Sud, où naquit Alexander.
Le jeune "Aleck", comme on l’appelait, fit ses premières classes auprès de ses parents. Son père, qui sut reconnaître sa passion pour les collections de spécimens naturels, l’intéressa à la biologie. Sa mère lui transmit son amour de la musique. Aleck avait, semble-t-il, un véritable don pour jouer d’oreille, don qu’il perdit, selon lui, en apprenant à lire la musique. Les leçons du distingué pianiste Benoît-Auguste Bertini lui inspirèrent pendant un moment le désir de devenir musicien. Si ce désir s’estompa, l’expérience n’en fut pas moins utile : « Je suis porté à croire [...] que ma passion précoce pour la musique m’a bien préparé à l’étude scientifique des sons », écrirait-il dans son autobiographie.

Par un curieux hasard du destin, Melville Bell, le père d'Alexander Graham Bell, aperçut l'Euphonia (machine de Faber) à Londres en 1846 et en ressortit profondément impressionné. Bell père à cette époque était un étudiant en acoustique, particulièrement intéressé par la production de la parole. Toujours intrigué par le souvenir de l'appareil de Faber, il emmena son fils Alexander Bell, alors âgé d'environ seize ans, en 1863, voir la « machine à parler » du scientifique britannique Charles Wheatstone, celle que Joseph Henry avait jugée inférieure à celle de Faber.
Après la visite, Melville mit Alexander et son frère au défi de construire eux-mêmes une telle machine.
Cette année-là, ils commencèrent à travailler sur le projet et réussirent rapidement à faire crier « Maman » leur machine parlante.
En 1857, Aleck commença à fréquenter l’école, la Hamilton Place Academy.
Dès son plus jeune âge, Bell disposait d'une grande curiosité pour le monde qui l'entourait, il fit ainsi collection d'espèces de plantes et réalisa déjà ses premières expériences. Son meilleur ami était Ben Herdman, un voisin, dont la famille travaillait dans un moulin. Alexandre et Ben allaient souvent au moulin. Le jeune Alexandre demanda ce qui devait être amélioré au moulin. On lui expliqua que le blé devait être décortiqué à l'aide d'un procédé complexe et laborieux. Alexander, à l'âge de 12 ans, construisit un appareil qui combinait des palettes tournantes et un ensemble de brosses à ongles, inventant ainsi une simple machine pour le décorticage du grain. Cette machine fut utilisée avec succès, et ce pendant plusieurs années. En retour, John Herdman donna aux deux garçons un petit atelier où « inventer ».
Bell montra également très jeune un vif intérêt, et un talent, pour l'art, la poésie et la musique, intérêts encouragés par sa mère. Il apprit le piano sans professeur ni manuel, et devint le pianiste familial. Bien que d'un naturel calme et introspectif, il faisait couramment des "blagues vocales" et de la ventriloquie pour divertir la famille. Bell fut très affecté par la surdité graduelle de sa mère (elle commença à perdre l'audition quand Bell avait 12 ans) et apprit un petit manuel de langue des signes. Ainsi, il pouvait s'asseoir à côté d'elle et converser silencieusement dans le salon familial. Il développa également une technique de parler par des sons clairs et modulés directement sur le front de sa mère, ce qui lui permettait d'entendre son fils relativement clairement. La préoccupation de Bell au sujet de la surdité de sa mère, le conduisit à étudier l'acoustique.

sommaire

Sa famille était depuis longtemps associée à l'enseignement de l'élocution : son grand-père, M. Alexandre Bell, à Londres, son oncle à Dublin et son père à Édimbourg étaient professeurs de diction. Son père a publié énormément à ce sujet, et nombre de ses travaux sont encore bien connus actuellement, surtout son "The Standard Elocutionist", apparu dans 168 éditions britanniques et vendu à plus de 250 000 exemplaires aux États-Unis . Dans ce traité, son père explique les méthodes qu'il a développées pour apprendre aux sourds-muets (appellation de l'époque) à articuler les mots et lire sur les lèvres des autres afin de comprendre les messages qui leur étaient adressés. Le père d'Alexandre lui avait expliqué ainsi qu'à ses frères de ne pas seulement écrire mais aussi identifier chaque symbole et le son l'accompagnant. Alexandre devint si doué qu'il fut l'assistant de son père lors de démonstrations publiques où il étonna l'assistance par ses facultés à déchiffrer les symboles du latin, du gaélique et du sanskrit.

Comme ses frères, Bell reçut très jeune des cours à la maison par son père. Il fut également enrôlé très tôt à la Royal High School, Édimbourg, Écosse, qu'il quitta à l'âge de 15 ans, finissant seulement les 4 premières années. Il ne fut pas un brillant élève, sa scolarité ayant plus été marquée par l'absentéisme et des résultats ternes. Son principal intérêt restait dans les sciences, et plus particulièrement en biologie, alors qu'il traitait des autres sujets d'école avec indifférence, à la plus grande consternation de son père. Après avoir quitté l'école, Bell déménagea à Londres pour vivre avec son grand-père, Alexandre Bell. Il prit goût à l'enseignement durant les années qu'il passa avec son grand-père, grâce aux longues et sérieuses discussions mais aussi de nombreuses heures d'études. Son grand-père fit de gros efforts pour que son petit-fils parle clairement et avec conviction, qualités nécessaires pour qu'il puisse être un bon enseignant.
À l'âge de 16 ans, Bell fut nommé étudiant-professeur de diction et de musique à la Weston House Academy (Elgin, Moray, Écosse). Il était lui-même étudiant en latin-grec, mais donnait des cours pour 10 $ la session. L'année suivante, il rejoignit son frère Melville à l'université d'Édimbourg.

Après des études à l'université d'Oxford (Angleterre), Bell s’établit au Canada en 1870, puis aux États-Unis d’Amérique un an plus tard.
Il fonde en 1872 une école pour les malentendants et débute ses travaux qui aboutiront au téléphone.

Le père d’Aleck (Melville) encouragea l'intérêt de son fils pour la parole en 1863, et l'emmena à Londres voir un automate développé par Charles Wheatstone, scientifique de premier plan et chercheur en télégraphie, pour voir sa reproduction de la « machine parlante » inventée au xviiie siècle par Wolfgang von Kempelen machine qui simulait une voix humaine ainsi que la machine de Joseph Faber qui avait produit un automate (lire la page sur "la voix"). Wolfgang von Kempelen a commencé au début des années 1770 à construire une machine parlante, c.à.d. à la même époque où Gottlieb Kratzenstein commencait à s’intéresser pour la synthèse vocale à Copenhague.

Wolfgang von Kempelen fabriquait plusieurs prototypes Pour la première version il utilisait un soufflet de cuisine, une anche (roseau) de cornemuse et une cloche de clarinette. Pour la seconde version il utilisait une console d’orgue avec un clavier où les différentes touches étaient associés à des lettres. Les sons étaient produits avec des tubes de différentes formes et longueurs. Le problème était toutefois le chevauchement (co-articulation) des différents sons qui empêchait la génération de syllabes.

Wolfgang von Kempelen concluait qu’il fallait mieux comprendre le fonctionnement de l’appareil phonatoire humain pour progresser. Ce n’est qu’au début des années 1780 que son modèle réalisé lui donnait satisfaction et qu’il le présentait au public.
L'automate de Joseph Faber

La machine de Kempelen inspira Aleck et son frère Melville James (Melly), qui fabriquèrent leur propre version d’un larynx parlant .
Il obtint une copie de l'ouvrage de von Kempelen "L'homme mécanique" (en allemand) et la traduisit péniblement. Il construisit alors avec son frère Melville leur propre automate (une tête). Leur père, très intéressé par ce projet, leur paya toutes les fournitures et pour les encourager, leur promit un "prix" s'ils réussissaient ce projet. Alors que son frère construisait la gorge et le larynx, Alexandre surmonta la difficile tâche de recréer un crâne réaliste.
Ces efforts furent récompensés car il créa une tête aussi vraie que nature, capable de prononcer seulement quelques mots.
Les garçons ajustèrent précautionneusement les "lèvres" et quand un soufflet d'air forcé passa à travers la trachée, un très reconnaissable "maman" se fit entendre, au plus grand plaisir des voisins qui vinrent voir l'invention du fils Bell.
Intrigué par les résultats de cet automate, Bell continua ses expériences sur un sujet vivant, le Skye Terrier de la famille "Trouve".
Après qu'il lui apprit à faire des grognements continus, Alexandre manipula les lèvres et les cordes vocales de son chien pour produire un son brut "Ow ah oo ga ma ma". Avec un peu de volonté, les visiteurs pouvaient croire que le chien articulait "How are you grandma ?" (« Comment allez-vous grand-mère ? »). Bell était assez joueur et ses expériences ont convaincu plus d'un visiteur d'avoir affaire à un chien parlant. Quoi qu'il en soit, ces premières expériences avec les sons encouragèrent Bell à entreprendre ses premiers travaux sérieux sur le son en utilisant une fourchette modifiée pour étudier la résonance.

Les Bell recevaient chez eux bien des grands de cette époque. Alexander Graham y revit Wheatstone et rencontra des hommes comme Alexander John Ellis, le célèbre phonéticien de Londres, collègue de son père qui sera plus tard décrit comme le professeur Henry Higgins dans Pygmalion..
À 16 ans, toutefois, Aleck avait hâte de subvenir lui-même à ses besoins. Il obtint un poste de professeur stagiaire d’élocution et de musique dans une académie d’Elgin. Il écrivit un rapport sur son travail et l'envoya à Alexander Ellis,

En 1867, la tragédie frappa la famille, alors établie à Londres : le frère cadet d’Alexander Graham, Edward Charles, fut emporté par la tuberculose.
La même année, Alexander Melville Bell publia à Londres son plus important traité, Visible speech : the science of universal alphabetics.

En outre, il prit Alexander Graham comme assistant et, soucieux de diffuser son code de « langage visible », son alphabet universel et sa méthode de transcription phonétique, lui confia la tâche d’enseigner à ses élèves sourds pendant ses absences.
De 1868 à 1870, Alexander Graham (Aleck) suivit des cours d’anatomie et de physiologie au University College de Londres, mais ne se rendit pas jusqu’au diplôme. En mai 1868, son père lui avait demandé d’adapter sa méthode de langage visible pour enseigner à des enfants sourds dans une école de Kensington (Londres) pendant que lui-même ferait une tournée de conférences en Amérique du Nord avec son frère.
En route pour Chicago
au mois d’août, les deux hommes s’arrêtèrent chez un ami écossais, le révérend Thomas Henderson, à Paris, en Ontario.
Alexander Melville fut saisi par la beauté du paysage. Un an après sa conférence au Lowell Institute de Boston, le conseil scolaire de cette ville ouvrirait, sous la direction de Sarah Fuller, un externat pour les sourds où l’on mettrait à l’essai les nouvelles méthodes orales d’enseignement.
À l’été de 1869, Henderson encouragea Alexander Melville Bell, qui songeait à accepter une nouvelle invitation à Boston, à émigrer au Canada.
Les Bell envisagèrent de le faire à cause de la maladie de Melly, puis écartèrent cette idée. Melly mourut de tuberculose en mai 1870.
La famille accepta alors la proposition de Henderson. Pendant un de leurs derniers repas chez eux à Londres cet été-là, Ellis insista pour qu’Alexander Graham examine un récent ouvrage du physicien allemand Herman Ludwig Ferdinand von Helmholtz.
Après avoir lu le Traité physiologique de la musique, fondé sur l’étude des sensations auditives, le jeune homme s’exclama qu’il serait bientôt possible de « parler par le télégraphe ». Le livre l’incita également à en apprendre davantage sur l’électromagnétisme et l’électricité – ingrédients essentiels de ses futurs travaux sur le télégraphe parlant –, ce qu’il ferait dans le Nouveau Monde.
Consterné d'apprendre que le travail exploratoire avait déjà été entrepris par Helmholtz qui avait transporté des voyelles avec une fourchette modifiée semblable à la sienne, il étudia de manière approfondie le livre du scientifique allemand (Sensations of Tone).
Travaillant sur sa propre mauvaise traduction de l'édition originale allemande, Alexandre fit fortuitement la déduction qui fut la ligne directrice de tous ses futurs travaux sur la transmission du son, reportant : "Sans en connaître beaucoup sur le sujet, il me semblait que si les voyelles pouvaient être produites par de l'électricité, les consonnes pourraient également l'être, et ainsi il serait possible de reproduire la parole", et il remarqua aussi plus tard : "Je pensais qu'Helmholtz l'avait fait ... et que mon échec était seulement dû à ma méconnaissance de l'électricité.
Ce fut une erreur constructive ... Si j'avais été capable de lire l'allemand en ce temps-là, je n'aurais sans doute jamais commencé mes expériences.

Arrivés à Québec le 1er août, Bell, ses parents et la veuve de son frère partirent pour Paris, en Ontario.
Ils entendirent parler d’une maison à vendre en campagne près de Brantford et, avant la fin de la semaine, Alexander Melville Bell avait acheté Tutelo Heights, qui donnait sur la rivière Grand. Alexander Graham s’y trouva rapidement un repaire : « J’avais coutume, l’été, d’apporter une couverture, un oreiller et un bon livre dans ce petit coin douillet, écrirait-il, et de me payer le luxe de passer l’après-midi à rêvasser. »
En avril 1871, Bell quitta ses parents pour enseigner à l’école de Sarah Fuller, à Boston.
L’idée qu’on puisse apprendre à des enfants sourds à parler était nouvelle en Amérique du Nord. On estimait généralement, à l’époque, que les personnes sourdes étaient nécessairement muettes et n’avaient pas de place dans la société. Les Bell n’étaient pas d’accord avec ce point de vue et Alexander Graham réussit à démontrer, à Boston, comment utiliser les techniques du langage visible pour former les professeurs.
En quelques semaines, il parvint à enseigner aux enfants à prononcer plus de 400 syllabes. Ce progrès l’amena à faire des démonstrations à la Clarke Institution for Deaf-Mutes de Northampton ainsi qu’à l’American Asylum for the Education and Instruction of the Deaf and Dumb à Hartford, au Connecticut. La demande devint telle que, en octobre 1872, Bell ouvrit sa propre école à Boston.
Il exigeait de ses professeurs qu’ils aient « une bonne éducation à l’anglaise, une oreille juste, une connaissance pratique de l’enseignement et [soient] aimables envers les enfants ».

sommaire

Une grande partie du travail de Bell consiste en une série d'observations découlant l'une de l'autre. Son intérêt combiné pour le son et la communication donnent naissance à un intérêt pour l'amélioration du télégraphe, lui-même à l'origine de son succès avec le téléphone.
En 1860 Alfreed G Holcomb brevette le "phonetic telgraphic relay" qui au final ne sera pas reconnu comme appareil parlant.

En 1870, Elysa Gray rachète le premier partenaire de l'ancien télégraphiste Enos M. Barton (George Shawk) dans une petite entreprise de cambriolage et d'alarme incendie et ensemble, ils forment le partenariat de Gray et Barton. L'opération se déplace bientôt de Cleveland, Ohio à Chicago, Illinois, et en 1872, une participation d'un tiers est prise dans l'entreprise par la Western Union Telegraph Company.
Le nom Gray and Barton est changé en Western Electric Manufacturing Company. Elle fournit entre autres du matériel télégraphique à Western Union.

En 1872, Bell lit un article de journal portant sur une somme substantielle payée par la Western Union Company à l'inventeur d'un système de télégraphe qui pourrait transmettre deux messages en même temps sur le même fil.
Ces possibilités l'enthousiasment et, inspiré par des conférences publiques entendues au Massachusetts Institute of Technology, il cherche à reproduire certaines des expériences d'Herman Helmholtz avec le courant électrique. Le télégraphe existe déjà depuis plus de 30 ans.
Malgré la réussite du système, le télégraphe se limite à envoyer et à recevoir un message à la fois à l'aide du code Morse.
Même avant de venir au Canada, Bell est intrigué par l'idée d'utiliser un phénomène musical bien connu pour transmettre simultanément des messages téléphoniques multiples. Il sait que tout a une fréquence naturelle (la rapidité des vibrations) et que le ton dépend de la fréquence du son.
En chantant dans un piano, il découvre qu'en modifiant le ton de sa voix, il peut faire vibrer différentes cordes du piano.
Ses observations mènent à l'idée d'envoyer de nombreux messages différents sur le même fil, mais modulés par des diapasons réglés à des fréquences différentes à chaque bout du fil pour envoyer et recevoir le signal, un système qu'il appelle le « télégraphe harmonique ».

Bell avait fait la connaissance de son futur beau-père le 8 avril 1872. Important conseiller juridique en propriété industrielle,
Gardiner Greene Hubbard
était président de la Clarke Institution. Sa fille Mabel était devenue sourde à cinq ans, en 1863, à cause de la scarlatine. La rencontre avec Hubbard fut heureuse pour Bell à deux égards : Hubbard lui demanda de donner des cours particuliers à sa fille, et il était fasciné par les inventions électriques, en particulier par tout ce qui avait trait au télégraphe.
En même temps, Bell continuait de correspondre avec son père, demeuré à Brantford. Le registre de cette correspondance et de leurs conversations deviendrait crucial pour la défense de ses brevets d’invention. C’est, de fait, dans une lettre à son père le 11 novembre 1872 qu’Alexander Graham, avec son audace habituelle, explora l’extraordinaire idée d’un télégraphe qui enverrait simultanément plusieurs messages sur un même fil télégraphique.
Bell s’inspirait, cet automne-là, des conférences publiques présentées au Massachusetts Institute of Technology qui, après l’avoir amené à répéter certaines expériences de Helmholtz sur le courant électrique, le mettraient sur la piste du téléphone.
Comme l’a écrit son biographe Robert V. Bruce, Bell avait le talent, le tempérament et les connaissances nécessaires pour cette tâche. Il s’était trouvé au bon endroit au bon moment. La ville de Boston était non seulement un centre intellectuel et scientifique en pleine effervescence, mais elle était également habitée par d’entreprenants capitalistes.
La nomination de Bell comme professeur de physiologie vocale et d’élocution à la Boston University au début de 1873 l’obligea à poursuivre ses expériences sur le télégraphe multiplex la nuit.
En novembre, il commença à donner des cours à Mabel Gardiner Hubbard. Le professeur de 26 ans devint tout de suite amoureux de sa jeune élève de 15 ans. Le père de cette dernière s’enthousiasma pour le projet de télégraphe de Bell, d’autant plus qu’il y voyait un moyen de briser le monopole de la détestable Western Union Telegraph Company.
Le phonautographe . Capsule de Kœnig

Au printemps de 1874 cependant, deux nouveaux instruments scientifiques susceptibles de rendre la parole visible amenèrent Bell à s’intéresser davantage à l’acoustique : le phonautographe, inventé en France par Leon Scott, appareil doté d’une membrane qui, en vibrant à l’émission d’un son, faisait bouger un pinceau qui traçait alors des lignes sur du verre fumé ; et la capsule manométrique de Karl Rudolf Kœnig, qui analysait le son au moyen des changements produits dans la forme d’une flamme par les vibrations de l’air.
En vue de créer les conditions les plus proches de la réalité dans ses propres expériences sur le phonautographe, Bell se procura, chez un ortologiste, une oreille humaine prélevée sur un cadavre.
Avant un bref séjour à Brantford, il assista, le 13 juin, au deuxième congrès des professeurs d’articulation auprès des sourds et muets à Worcester, au Massachusetts, et fut élu président.

Du début au milieu des années 1870, Gray et Bell travaillaient initialement sur des « télégraphes harmoniques » capables d'envoyer plusieurs signaux télégraphiques sur la même ligne simultanément dans les deux sens. Edison avait déjà breveté un télégraphe multiplex simple en 1870, et en 1875 Émile Baudot de France a multiplié la vitesse de transmission par un facteur de quatre via un système de multiplexage difficile à utiliser. Même ainsi, on pensait que 30 ou 40 signaux simultanés pouvaient être faits pour occuper la même ligne télégraphique. Cette idée était si importante que Western Union avait mis en place un prix d'un million de dollars pour quiconque pourrait multiplier la capacité du réseau télégraphique.
Alors que Bell tente d'intéresser le président de Western Union, William Orton, à son invention télégraphique encore inachevée, Orton parle favorablement de «l'ingénieux ouvrier» Elysa Gray et exaspère Bell lorsqu'il lui dit que son équipement est rudimentaire en comparaison.

Le 26 juillet 1874 marque le point culminant de plusieurs mois d’expérimentations, au cours desquels le jeune inventeur Alexander Graham Bell met au point un téléphone fonctionnel à partir d’un concept décrit à son père, Melville Bell, à leur résidence familiale située près de Brantford, en Ontario. Les diagrammes et nombreuses notes de M. Bell, en plus du journal de son père, ont aidé à prouver qu’il était effectivement celui qui avait inventé le téléphone.

Dans le "Scientific-American" du 1er Aout 1874 on pouvait lire :
M. Elisha Gray, de Chicago, homme d'affaires connu comme inventeur et fabricant d'appareils télégraphiques, a mis au point un instrument grâce auquel, selon le Journal of the Telegraph, 80 fils électriques placés à une extrémité d'un fil peuvent être transmis à l'autre par l'électricité, sur des circuits de grande longueur. Il a déjà été testé, selon le Journal, sur les fils de la Western Union Telegraph Company sur un circuit de 2 400 milles, avec les résultats les plus satisfaisants. Les notes jouées sur le panneau de la partie émettrice de l'appareil étaient distinctement audibles et reproduites sans erreur, note pour note, à l'extrémité éloignée de ce long circuit.
L'appareil a été appelé par M. Gray le téléphone. L'appareil de transmission se compose d'un clavier comportant un certain nombre d'électro-aimants correspondant au nombre de touches du clavier, auxquelles sont attachées des touches vibrantes ou des anches, accordées sur une échelle musicale. Chacune de ces touches peut être mise en mouvement séparément en appuyant sur la touche qui lui correspond.
Cet instrument de transmission est muni d'un fil conducteur, l'autre extrémité étant reliée à l'appareil récepteur, qui peut être n'importe quel appareil sonore pourvu qu'il soit en quelque sorte conducteur d'électricité. Un violon, avec une bande métallique tendue entre les anneaux à un point où le chevalet de l'instrument est ordinairement placé, produira, en recevant le son transmis par le fil conducteur du piano, une mélodie très semblable en qualité à celle d'un violon ordinaire.

En France dans Le Progrès libéral : journal quotidien du 19 août 1874 il était annoncé :

LA TÉLÉPHONIE
L'iron nous communique les détails qui suivent sur une nouvelle application de la télégraphie électrique.
La télégraphie électrique, qui a déjà été la source de tant de merveilles, vient de servir à une nouvelle et bien remarquable invention.
Un citoyen de Chicago (Amérique), nommé Elisha Gray,a trouvé le moyen de faire transmettre au moyen des fils électriques, les sons d'un piano à
la salle d'un concert qui se trouvait à une distance de 2,400 milles, et il assure qu'il pourrait les faire parvenir encore plus loin. La plupart des physiciens de l'Amérique regardent ce merveilleux résultat comme le premier pas vers la voie électrique qui pourra servir à la transmission des sons produits par plusieurs instruments réunis et adaptés ensemble au moyen d'une combinaison qu'il s'agit de trouver. L'appareil inventé par Gray, qui a été nommé Téléphone, se compose de trois parties : 1° Ie l'instrument qui transmet les sons ; 2° les fils conducteurs qui se rendent à une distance déterminée ; 3° l'appareil qui reçoit les sonstransmis.
L'appareil de transmission se compose d'un clavier dont chaque clef correspond à une pierre aimantée à laquelle correspond une anche disposée
en échelle musicale ; chacune de ces anches peut être mise distinctement en mouvement en pressant la clef qui lui correspond, de sorte qu'un air quelconque peut être joué de la même manière que cela se fait sur un piano ou un melodium ordinaire. La musique, ainsi produite par l'électricité, devient tellement intelligible à distance, qu'on peut aisément, malgré le bruit des conversations, distinguer le morceau joué par l'exécutant. Le fil conducteur est attaché à cet instrument de transmission, son autre extrémité aboutissant à l'appareil de réception, lequel est formé d'un métal sonore et bon conducteur de l'éiectricité.
On pense qu'un violon ayant un mince fil de métal placé entre les cordes vers le point où se trouve habituellement le chevalet, produirait sans doute, en recevant le son transmisdu piano par le fil électrique, une note semblable à celle que donne l'instrument dans son état normal.
Donc, si cette corde métallique à être adaptée électriquement avec des fils d'une longueur de 200 m ou 500 milles dont les extrémités seront bien attachées à l'instrument de transmission, il arrivera que la personne à l'autre extrémité pourra parfaitment entendre un air joué à une distance de 500 milles ou même plus.
La longueur des fils conducteurs pourra être de deux milles ou de dix milles, pourvu que leur isolement soit ménagé de manière à empêcher la fuite du courant électrique avant d'atteindre le point de destination.

Bell et Gray ne sont pas les seuls à travailler sur le sujet, dans le "Scientific-American" du 20 novembre on pouvait lire :
Nouveau système de télégraphe .
Un nouveau système de télégraphe inventé par Paul La Cour, vice-président de l'Institut météorologique royal de Copenhague, a récemment suscité une attention considérable au Congrès télégraphique international de Saint-Pétersbourg, où l'inventeur l'a exposé. L'invention est ainsi décrite par l'inventeur : Le système ne consiste pas en une nouvelle forme d'appareil de réception et de transmission qui, grâce aux combinaisons talentueuses de Hughes, Wheatstone, Siemens et autres, a atteint un tel état de perfection que de grandes améliorations semblent improbables.
Le système de La Cour ouvre cependant un nouveau domaine à la télégraphie, en ce qu'il a construit un instrument simple, par lequel le courant électrique, en passant à travers un instrument différent, obtient des qualités différentes, par lesquelles il peut agir sur les instruments correspondants de la station réceptrice. Supposons que vingt fils conducteurs soient conduits d'un des pôles d'une batterie à travers vingt de ces instruments ; alors, en reliant chacun ou certains d'entre eux par un seul fil télégraphique, on obtient le résultat suivant, à savoir qu'un courant électrique local est produit dans les vingt fils conducteurs correspondants de la station réceptrice, exactement comme si les vingt fils conducteurs de la station émettrice étaient reliés aux vingt fils conducteurs de la station réceptrice au moyen de vingt fils télégraphiques distincts. Chacun de ces instruments contient un diapason relié à un électro-aimant et à deux bobines de fil, de sorte que le courant électrique vibre de manière isochrone dans les mesures qui correspondent aux notes des diapasons ; et ainsi les diapasons qui ont la même note que ceux des instruments de transmission sont mis en vibration, et un courant est créé dans leurs fils locaux.
Le système ci-dessus semble être identique à celui de M. Elisha Gray, de Chicago, dont nous avons publié un compte rendu dans le SCIENTIFIC AMERICAN du 1er août 1874. Il y était indiqué que l'invention avait été essayée avec succès sur un circuit de 2 400 milles sur les lignes télégraphiques de la Western Union. Des détails sur le modus operandi étaient donnés, suffisamment pour permettre à tout électricien compétent de construire un appareil sur le même plan. Il se peut que le vice-président de la Royal Meteorological Society de Copenhague n'ait pas vu le SCIENTIFIC AMERICAN, bien que nous ayons des abonnés là-bas, et que nous croyions que notre article soit archivé dans certaines bibliothèques de cette ville ; il se peut aussi qu'il soit un inventeur indépendant de l'amélioration. Mais à moins qu'il ne puisse produire des preuves d'une date d'invention antérieure à celle de M. Gray, M. La Cour devrait, en toute justice, accorder publiquement à ce dernier les honneurs de la priorité. Les électriciens attendront avec intérêt la réponse de M. La Cour à ce sujet

Le New York Time le 10 juillet 1874 publie un article sur les travaux d'Elysa Gray ou on peut y lire : transmettre la "musique via le télégraphe" et dans lequel apparait le mot téléphone bien qu'i n'y ait pas eu transmission de la parole, que "L'appareil qui a permis cette prouesse a été bpabtisé par Mr Gray le téléphone ..."

sommaire

Contrairement à l’idée répandue par les entreprises du réseau Bell, Alexander Graham Bell
ne fut ni le premier, ni le seul à imaginer le téléphone.

Aucun des travaux qui menèrent jusque-là n’aurait été possible sans les expériences de Michael Faraday sur l’électromagnétisme et l’induction.
De nombreux scientifiques avaient déjà émis l’hypothèse de la transmission électrique de la parole.
Charles Wheatstone avait déjà fait des expériences sur des tables d’harmonie. Charles Grafton Page, de Salem, avait décrit un phénomène qu’il qualifiait de musique galvanisée – le son produit par la rupture d’un circuit électrique relié à un aimant. Joseph Henry, physicien au College of New Jersey, avait écrit en 1846 qu’il était possible de fabriquer une sorte de clavier avec une glotte en caoutchouc munie d’électro-aimants qui transmettrait des mots par le télégraphe.
* Le Français Charles Bourseul avait expliqué en 1854 qu’on pourrait se servir de plaques flexibles vibrant en fonction des variations dans la pression de l’air pour ouvrir ou fermer un circuit électrique.
* L’Italien Antonio Meucci avait travaillé dans les années 1850 à des variantes primitives du téléphone.
* L’instituteur allemand Philipp Reis, qui avait inventé un émetteur capable d’envoyer des sons audibles sur un fil télégraphique, avait employé pour la première fois le mot téléphonie dans une conférence en 1861 ...
* Elisha Gray, le plus célèbre rival de Bell, qui, allié à la Western Union, essayait depuis 1866 de transmettre des sons par le télégraphe.
* Un autre prétendant moins connu, James W. McDonough de Chicago, Illinois avait la distinction peu connue d'être le seul inventeur à démanteler Alexander Bell en tant qu'inventeur original du téléphone.
Depuis 1867, il expérimentait le son produit électriquement, il a inventé un récepteur téléphonique en 1875 (photo ci contre) , avant Bell. Il se composait d'un disque de fer entraîné par un électro-aimant.
En 1876, il a déposé une demande de brevet le baptisant «Telelogue». Son application comprenait un émetteur similaire au modèle de Philip Reiss, utilisant un disjoncteur.
Le problème principal avec l'application de McDonough n'était pas le récepteur, mais son émetteur.
Bien que physiquement différent de l'émetteur de Reis, il était en principe pratiquement identique. Et si cela ne suffisait pas, McDonough a fait la même erreur que Reis a fait quand il l'a appelé un «disjoncteur», un instrument qui ferait et romprait le circuit - du moins c'est ce qu'il pensait.
Comme Reis, McDonough n'avait pas encore entendu parler du mot de microphone.
Et comme Reis, l'explication de fabrication et de rupture de McDonough serait tout aussi fatale.
La demande de brevet de McDonough s'est finalement retrouvée impliquée dans des actions d'interférence (qui revendiquent essentiellement la même invention) avec d'autres inventeurs de téléphones, dont Bell et Elisha Gray. Lorsque cela s'est produit, l'affaire a été renvoyée à l'examinateur des ingérences, dont la tâche était de déterminer, à l'aide d'auditions et de témoignages, qui avait conçu la première invention.
Aux États-Unis, dans les actions en ingérence, le brevet va à l'inventeur qui peut prouver la priorité de conception, pas nécessairement à celui qui a été le premier à déposer.

Et puis, il y avait Daniel Drawbaugh
C'était un inventeur qui vivait à Eberly Mills, près de Harrisburg, en Pennsylvanie.
Au cours de sa vie, il a acquis plus de 125 brevets pour diverses inventions. Il était un pionnier dans la pose d'isolant sur des fils électriques et avait une curiosité particulière pour l'électricité et fonda la People’s Telephone Company.
Son intérêt pour l'électricité l'a amené à expérimenter avec des téléphones dès 1861 Il aurait inventé un téléphone (date incertaine) en 1866-67, c'était un instrument qui comprenait une membrane flexible sur une tasse de thé qu'il avait reliée par un morceau de fil à un récepteur alimenté par un électro-aimant.
Personne ne l'a encouragé à protéger son invention et incapable de payer la demande de brevet. il n'a pas déposé de brevet, mais suffisamment de preuves ont été trouvées pour promouvoir une «défense» devant le tribunal au sujet de sa prétention qu'il avait inventé le téléphone. Des voisins ont témoigné qu'ils avaient entendu une transmission étouffée de mots de l'étage supérieur. Cependant, au tribunal, il a endommagé son cas en disant qu'en 1876, il avait vu l'invention de Bell à l'Exposition du centenaire de Philadelphie mais n'avait fait aucune mention de son invention plus tôt. N'admettant pas sa défaite, la Bell Telephone Company lui a proposé un règlement pour mettre fin à son litige.

En 1867, il était capable de transmettre une voix humaine qu'il démontrait à sa famille et à ses amis.

A cette époque Alexander Graham Bell serait venu voir le travail de Daniel Drawbaugh. Peu de temps après la visite de Bell, le magasin de Daniel Drawbaugh a été cambriolé et l’un de ses appareils téléphoniques a été volé. Lorsque Alexander Graham Bell reçut son brevet le 14 février 1876, Daniel Drawbaugh affirma que c’était son invention, et non celle d’Alexander Graham Bell.
Les avocats en brevets de Bell, Anthony Pollok et Marcellus Bailey sont en bons termes avec Zenas Fisk Wilber, l'examinateur de brevets en charge des inventions liées au télégraphe (Wilber a servi avec Bailey pendant la guerre civile). Wilber, un cousin du président américain Rutherford B. Hayes, aime trop le whisky - pendant un an seulement, la police de Washington, DC reçoit 20 plaintes concernant son comportement ivre et désordonné - et il emprunte librement de l'argent à Bailey (Wilber a ensuite travaillé pour Thomas Edison et a été licencié après avoir « emprunté » 1 300 $ sur un compte destiné à payer les frais de brevet d'Edison).

L'avocat de Bell, Pollock, rédige non pas une mais trois demandes de brevet différentes pour Bell, dont l'une est conçue pour "entrer en collision" avec les revendications de Gray, ce qui signifie que l'examinateur de brevets Wilber devra déclarer une "ingérence" qui pourrait lier Gray à un litige. pendant des mois ou des années. Il se trouve que l'autre demande interfère avec une autre déposée en 1864 par un électricien danois nommé Mr Paul la Cour.


Revenons en arrière :
En 1860, Philipp Reis, comme nous l'avons vu, a produit un téléphone qui pouvait transmettre des notes de musique, et même un mot ou deux zézayant ; et une dizaine d'années plus tard, M. Cromwell Fleetwood Varley, F.R.S., un électricien anglais connu, a breveté un certain nombre de dispositifs ingénieux pour appliquer le téléphone musical pour transmettre des messages en divisant les notes en signaux courts ou longs, après le code Morse, qui pourrait être interprété par l'oreille ou par l'œil en leur faisant marquer un papier en mouvement. Ces inventions n'ont pas été mises en pratique ; mais quatre ans après, Mr Paul la Cour, un inventeur danois, a expérimenté un appareil similaire sur une ligne de télégraphe entre Copenhague et Fredericia dans le Jutland. Dans celui-ci un diapason vibrant interrompait le courant qui, après avoir traversé la ligne, traversait un électro-aimant, et attirait les branches d'un autre diapason, lui faisant frapper une note comme la diapason émetteur.
En brisant la note à la station émettrice avec une touche de signalisation, le message était entendu comme une série de bourdonnements longs et courts. De plus, les bourdonnements étaient amenés à s'enregistrer sur papier en transformant le récepteur électro-magnétique en relais, qui actionnait une imprimante Morse au moyen d'une pile locale.

Nous reparlerons de ces batailles de brevet un peu plus loin dans notre leture.
Toutefois, c’est Bell qui, le premier, réussit de façon satisfaisante à transformer le son en impulsions électriques
dans un émetteur et à retransformer ces signaux en discours audible dans un récepteur. (mais l'histoire viendra nous montrer qu'il ne fut pas le premier ... )

sommaire

Revenons sur la solution qui s’imposa à Bell dans son « repaire » de Tutelo Heights le 26 juillet 1874 au moment où il venait de terminer son phonautographe.
L’inspiration lui vient, alors qu’il observe le courant de la rivière Grand. Tout à coup, le fonctionnement du tympan, le souvenir des cordes à piano activées par le son, ses expériences sur l’induction électrique, les travaux de Reis sur les courants et ceux de Bourseul sur les plaques vibrantes (qu’il connaissait par le livre de Jean-Baptiste-Alexandre Baille sur l’électricité, dont il avait lu la traduction de 1872), toutes ces idées ne firent qu’une dans son esprit. « Il [nous] serait possible, raconterait-il, de transmettre n’importe quelle sorte de son si l’on pouvait seulement provoquer une variation de l’intensité du courant comme il s’en produit dans la densité de l’air quand un son est émis. »
Sa théorie était la suivante : des anches magnétisées induiraient un courant ondulatoire qui serait transmis par fil à un électro-aimant, lequel convertirait ce courant en vibrations qui, à leur tour, se répercuteraient sur un diaphragme, reproduisant ainsi le son original. Une question demeurait : la voix humaine était-elle assez puissante pour induire le courant nécessaire ?
C’est grâce aux explications qu’il donna sur ce sujet dans une lettre à son père en novembre que Bell put revendiquer la paternité du téléphone.

De retour à Boston en septembre, Bell continua à enseigner. Pendant son séjour en Ontario, il avait participé au congrès des American Instructors of the Deaf and Dumb, à Belleville, et y avait traité de la difficulté, pour ceux qui lisent sur les lèvres, de distinguer certaines consonnes comme P et B. .
Bell a découvert qu'il pouvait utiliser ses anches vibrantes non seulement pour ouvrir et fermer rapidement un circuit comme un télégraphe, mais lorsque cette anche était déplacée dans un champ magnétique, cela générait réellement un courant ondulatoire dans le circuit.
Pour continuer ses expériences le soir et la nuit, il loua un laboratoire dans le grenier de son fournisseur de matériel électrique, Charles Williams, dont la boutique du 109 de la rue Court à Boston était un paradis pour les inventeurs.
Williams permettait également l’embauche d’assistants, et Thomas Watson collabora avec Bell à compter de janvier 1875.
Watson se souviendrait de Bell à 27 ans comme d’un « jeune homme grand [et] mince, nerveux, au visage pâle, avec des favoris noirs, une moustache à la gauloise, un gros nez ainsi qu’un front large et incliné surmonté d’une épaisse chevelure noire comme jais »

Toute cette période conduit BELL à sa découverte et à la compétition avec Elysa Gray qui travaille aussi sur un brevet de télégraphe multiplex.
Les travaux avancèrent rapidement.

Le 1er mars 1874
, Bell fit part de ses conclusions à Joseph Henry, alors directeur de la Smithsonian Institution de Washington, et lui expliqua son projet de téléphone.
La lettre de Bell à ses parents, écrite quelques semaines après avoir rencontré Henry au Smithsonian, témoigne de l'importance que le jeune scientifique attachait à cette visite. À l'époque, Henry avait cinquante ans de plus que Bell, alors âgé de vingt-sept ans. Bell décrit comment Henry « écoutait d'un air impassible, mais avec un intérêt évident pour tous, mais lorsque je lui racontai une expérience qui, à première vue, semblait sans importance, je fus surpris par l'intérêt soudain manifesté ».
Ce qui intrigua Henry, ce fut le son que Bell entendit provenant d'une bobine de fil de cuivre vide lorsqu'un courant électrique la traversa. Henry demanda à Bell de répéter l'expérience pour lui, ce qu'il fit le lendemain. Vous avez là l’embryon d’une grande invention », répondit Henry.
« Son intérêt m'encouragea tellement », écrivit Bell, « que je décidai de lui demander conseil sur l'appareil que j'ai conçu pour la transmission de la voix humaine par télégraphe. »
Bell souhaitait savoir s'il devait publier ses recherches immédiatement ou continuer à travailler sur le problème lui-même. Henry lui conseilla de le résoudre lui-même, le qualifiant de « germe d'une grande invention ». Lorsque Bell a déclaré qu'il estimait qu'il manquait des connaissances électriques nécessaires pour surmonter certaines des difficultés mécaniques de son appareil de harpe, Henry a simplement répondu : "GET IT" « Acquérez-les».
« Je ne peux vous dire à quel point ces deux mots m'ont encouragé », dit-il à ses parents. « Je vis trop souvent dans une atmosphère de découragement pour les recherches scientifiques… Une idée aussi chimérique que la télégraphie vocale semblerait à la plupart des esprits difficilement réalisable pour qu'on y consacre du temps. Je crois cependant qu'elle est réalisable et que j'ai trouvé la solution. »

L'année suivante, avec l'aide de Thomas Watson, Bell parvint à résoudre le problème.

Gardiner Greene Hubbard, cependant, n’était pas aussi enchanté et jugeait que le téléphone pouvait attendre.
Quelques jours auparavant, Gardiner Greene Hubbard et Thomas Sanders, marchand de cuir et père d’un élève de Bell, avaient signé une entente selon laquelle, en échange de leur soutien financier, ils partageraient avec Bell les profits tirés de toutes ses inventions télégraphiques.
Déçu que Bell n’ait pas encore mis au point son télégraphe multiplex, Hubbard lui lança, au printemps, un ultimatum : l’inventeur devait choisir entre Mabel et ses travaux sur la transmission électrique de la parole. Têtu, Bell refusa de choisir ; le rejet de son télégraphe multiplex par la Western Union (à cause de la participation de Hubbard) et d’importantes découvertes en téléphonie finirent de rallier Hubbard à sa cause.
Le 4 mai 1874, Bell lui écrivit qu’on pouvait compenser la faiblesse des courants induits en appliquant un autre principe de transmission : « J’ai lu quelque part que la résistance d’un fil [...] est affectée par la tension du fil. Si c’est le cas, un courant continu d’électricité passant dans un fil susceptible de vibrer devrait rencontrer une résistance variable, ce qui devrait induire une pulsation dans le courant. [... Par conséquent], on pourrait transmettre le timbre d’un son [... et] augmenter la puissance du courant [...] sans détruire les intensités relatives des vibrations. »
Cette lettre confirma que Bell avait, le premier, imaginé "la résistance variable", dernière clé de l’invention du téléphone. Il lui restait maintenant à mêler tous ces éléments.

Bien que les conseils et les suggestions de ses amis se soient révélés décourageants, et bien que découragé par sa mauvaise santé et le manque de fonds pour poursuivre ses expériences téléphoniques, l'inventeur n'a jamais permis à quoi que ce soit de détourner son ferme objectif de transformer cette merveilleuse théorie en un téléphone tangible transmettant la parole.
En 1874, Alexander Graham Bell occupa la chaire de physiologie vocale à l'Université de Boston et compléta ses cours par « une démonstration expérimentale de la possibilité de corriger le bégaiement, le zézaiement, le rauquement et autres troubles de la parole ». Devant une classe composée exclusivement d'enseignants pour sourds, envoyés à Boston par diverses institutions pour sourds aux États-Unis, il donna des cours magistraux sur l'enseignement de l'articulation aux élèves sourds, démontrant expérimentalement ses méthodes en instruisant des sourds-muets. Il dirigea également une classe de femmes désireuses de devenir professeures d'articulation dans des écoles pour sourds. Il prit également en charge l'éducation générale d'un jeune enfant sourd-muet arrivé chez lui à l'âge de cinq ans, en octobre 1872.
Il était donc facile de comprendre à quel point ses journées étaient occupées par ses obligations professionnelles, et comment tout travail d'expérimentation et de recherche devait nécessairement se dérouler tard le soir, lorsque la plupart des gens étaient déjà à la retraite. Car, si « les revenus de son travail professionnel étaient assez bons, ils constituaient son seul moyen de subsistance ». S'il abandonnait ses cours, il n'aurait plus de revenus à consacrer à ses expériences, ni même à sa subsistance.

En novembre 1874 Bell dépose un caveat à Boston et le transforme rapidement en trois demandes de brevets distincts déposés entre le 25 février et le 10 mars sous les conseils des avocats Pollok et Bailey, missionnés aussi par Hubbard de tenter de briser le monopole exercé par la Western Union.
(Un caveat était un document décrivant une invention qui n'avait pas encore fait l'objet d'une application et qui devait être transformé en demande de brevet dans un temps imparti )

Début 1875,
Thomas Watson dans le magasin de Charles Williams que Bell fréquente, à la demande de celui ci, construit un premier modèle téléphonique sur ce principe : un diaphragme qui, en vibrant dans le champ d'un électro-aimant, a produit un courant ondulatoire dans le circuit de l'aimant. Cet appareil a réussi à transmettre une sorte de sons vocaux étouffés.
Il est fascinant de lire ces découvertes car la science de l'époque n'était pas encore mature pour expliquer le phénomène et c'est pourquoi Bell s'est appuyé sur le travail de Charles G. Page pour rendre compte du son. Cette idée s’est rapidement révélée fausse par les diverses expériences qu’il a effectuées. Nous savons maintenant que la cause du "bruit de bobine" est simplement due à la force de Lorrentz subie par les fils en présence d'un champ magnétique.
Les recherches de Bell continue avec beaucoup de succès, il informe son futur beau-père Gardiner Greene Hubbard, de la possibilité du télégraphe multiple.


Un test du télégraphe multiple a été très réussi, comme le décrit Aleck (petit nom d'Alexandre Bell ) dans cette lettre à ses parents et à sa belle-sœur.

Salem à Boston

Jeudi 18 février 1875
Chers P. M. & C.
La nuit dernière a été une grande journée pour moi. Une expérience a été faite avec mes instruments qui n'a jamais été réalisée avec succès auparavant - à savoir - pour permettre aux stations intermédiaires de communiquer pendant que les messages passaient entre les stations extrêmes.
Chez Mme Sanders - quatre postes ont été construits comme suit Mme Thomas Sanders (opérant à A) a envoyé le mot «Bravo» à M. Watson à D - en même temps que M. Sanders (opérant à B) m'a envoyé le message «Good Tiding» à C.
Mme Sanders ayant le message le plus court avait terminé avant que l'autre ne soit à moitié fait - afin que tous les instruments puissent fonctionner en même temps - elle continuait à taper sur l'instrument en A - en envoyant des signaux au hasard à D - mais elle les signaux n'ont pas du tout gêné la réception de l'autre message en C.
Un télégramme reçu de M. Hubbard a retardé mon départ jusqu'à vendredi.
M. Sanders et moi descendons ensemble vers 21 h.
Je suppose que je trouverai des lettres de vous qui m'attendent.
Je suis bien préparé - et je crains - si quelque chose entrave le brevet - je serai malade.
Avec beaucoup d'amour
Aleck

A la suite d'une expérience le 19 février 1875 dans la résidence de Hubbard à Washington Bell parvient à réaliser deux transmissions avec deux recepteurs et deux émetteurs sur une seule et unique ligne en la présence de William Orton le patron de Western Union Telegraph Compagny.
Suite à ce succès en présence d'ingénieurs de la Western Union, Bell raccorde son dispositif au réseau télégraphique reliant New York à Philadelphie en rebouclant cette ligne à Philadelphie.
Les ingénieurs demandent à Bell de conserver le dispositif pour d'autres tests, mais en fin d'apès-midi lorsque Bell vient reprendre ses appareils, Orton retourne la situation et signifie clairement à Bell, qu'il ne veut pas traiter avec un chercheur indépendant préferant les travaux de son protégé Elisha Gray !!!
Hubbard vient de payer son action menée contre la Western Union Telegraph Company de détenir le monopole des communications.

Tandis que Bell poursuivait ses recherches sur l'amélioration du télégraphe, il avait appris que Joseph Henry avait déjà découvert certains des phénomènes acoustiques qu'il rencontrait auparavant. A cette époque, Joseph Henry a été Premier secrétaire du Smithsonian Institute; auparavant professeur à Princeton College; puis premier contributeur à la science d'électromagnétisme (contemporain de Ohm, Faraday , et Ampère), il avait aussi réussi à reproduire les expériences récentes du scientifique britannique Michael Faraday démontrant l'effet du magnétisme sur la lumière. Henry a astucieusement qualifié le phénomène observé par Faraday de "la plus grande découverte du siècle présent",
C'était donc une référence dans le domaine.

Bell a ensuite procédé à diverses expériences afin de mieux comprendre le phénomène et d’appuyer ses affirmations.
Le noyau de fer d'un électro-aimant a été remplacé par un noyau constitué de minces disques de fer disposés côte à côte.
Le son résultant devrait être plus fort que le noyau solide.
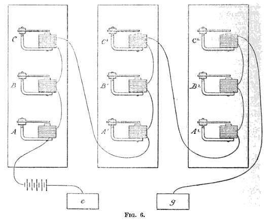
Pour prouver cette théorie, il a pris trois instruments et les a mis côte à côte, comme indiqué ci-dessous.
Selon ses attentes, le son qu'il a entendu était beaucoup plus fort que ceux émis auparavant.
Il a ensuite remplacé les trois noyaux de fer par deux clous de fer maintenus face à face.
L'intensité du son a encore augmenté
Le diapason d'un grand diapason a été modifié pour le synchroniser avec l'instrument émetteur. Lors de l'insertion de la tige de la fourche, le diapason a retenti.
Enfin, un clou en fer forgé a été placé entre deux cylindres, comme indiqué ci-dessous

Une note de musique claire a été observée, qui était similaire en hauteur à l'armature de l'instrument émetteur et également en intensité.

sommaire

À l'origine, la Bell Patent Association s'occupait principalement d'inventions télégraphiques.
Soucieux de promouvoir l'invention de Bell et les intérêts financiers de l'Association, Gardiner Hubbard organisa une manifestation devant le président Orton de la Western Union le 20 février 1875 à Washington. D.C. Orton fut suffisamment impressionné pour demander une autre démonstration du télégraphe multiple à New York, dans de meilleures conditions.
Mi-mars, le deuxième test eut lieu, mais l'attitude d'Orton envers l'invention de Bell changea soudainement. Lors d'une pause déjeuner, Orton reçut la visite d'Elisha Gray, qui présenta sa propre version du télégraphe multiple. Lorsque les tests Bell reprirent dans l'après-midi, Orton informa Bell que les instruments de Gray n'étaient pas aussi rudimentaires que les siens. De plus, Western Union refusa d'adopter l'invention, car cela serait bénéfique pour Gardiner Hubbard. Hubbard proposa de se retirer lorsqu'il apprit cela. Bell refusa. Hubbard conseilla alors à Bell de retirer son invention des bureaux de la Western Union et d'en faire la démonstration à l'Atlantic and Pacific Telegraph Company, une compagnie rivale. Orton céda alors et déclara que, même si la compagnie refusait de contribuer au développement de l'invention au profit de Hubbard, ses sentiments personnels n'empêcheraient pas son acquisition si elle était parfaite. Orton a toutefois promis de soutenir Gray si les intérêts de Bell apportaient leur invention au rival de Western Union. Afin de mieux protéger les intérêts de cette société, Orton a engagé Thomas Edison durant l'été pour enquêter sur la télégraphie harmonique.
Cet épisode était présage de difficultés futures. Hubbard, grâce à ses relations télégraphiques, avait pu organiser la rencontre entre le responsable de la Western Union et un inventeur inconnu. Pourtant, c'est aussi en grande partie grâce à l'implication de Hubbard que les résultats de la réunion furent quelque peu défavorables. Orton et la Western Union ne pouvaient oublier les premières attaques de Hubbard. C'est pourquoi, au lieu de solliciter l'aide d'un puissant acheteur potentiel, la réunion a permis de tracer les grandes lignes de la future rivalité entre les intérêts de Bell et la Western Union.
Bell a repris la tâche de perfectionner son télégraphe harmonique avec l'aide de Thomas Watson.

sommaire

Le 1er et 2 mars 1875 Alexander Graham Bell rend donc visite à Joseph Henry et lui présente son appareil capable de produire un son à partir d'un courant «ondulant».
Nous connaissons bien l'interaction d'Alexander Graham Bell avec Joseph Henry d'après la lettre qu'il a écrite à ses parents, le 18 mars 1875, Bell a expliqué cet effet à son père Melville Bell dans une lettre.

Dans cette lettre Bell décrit sa visite au Smithsonian Institute pour en apprendre davantage sur l'électricité et le magnétisme de l'un des principaux innovateurs et scientifiques américains, Joseph Henry.
Voir l'image l'extrait de la lettre Le 18 mars 1875

Au cours de cette réunion, les professeurs Henry et Bell réalisent une expérience dans laquelle ils produisent du bruit à partir d’une bobine en excitant celle-ci avec un courant électrique. Ce qui intriguait Henry était le son que Bell entendit venant d'une simple bobine de fil de cuivre lorsqu'un courant d'électricité la traversa. Henry a demandé à Bell de répéter l'expérience pour lui, et Bell l'a fait le lendemain.

Dans une conversation entre les deux scientifiques américains, Bell a mentionné son désir d'inventer un objet capable de transmettre la voix humaine à travers un fil et d'être entendu du côté destinataire.
Cependant, Bell a confié à Henry qu’il n’avait pas les connaissances requises en électromagnétisme pour concrétiser cette idée phénoménale.
La réponse concise de M. Henry était la suivante: "Comprenez-le".
On pense que cette réponse à la fois simple et historique est le motif qui a incité Bell à atteindre son objectif et à inventer ce que l’on appelle maintenant le téléphone.

Dans cette lettre voici ce que Bell a écrit : ... J'ai mis l'instrument en état de marche et il resta longtemps assis à la table, écoutant le son avec la bobine de fil contre son oreille. J'étais tellement encouragé par son intérêt que je décidai de lui demander conseil au sujet de l'appareil que j'ai conçu pour la transmission de la voix humaine par télégraphe. J'ai expliqué l'idée et dit: Que conseillez-vous de faire - publiez-le et laissez les autres le résoudre - ou tentez de résoudre le problème moi-même ? Il a dit qu'il pensait que c'était "le germe d'une grande invention" et m'a conseillé de travailler moi-même au lieu de publier. J'ai dit que je reconnaissais le fait qu'il existait des difficultés mécaniques qui rendaient le plan impraticable à l'heure actuelle. J’ai ajouté j’avais l’impression que je n’avais pas les connaissances électriques nécessaires pour surmonter les difficultés. Sa réponse laconique a été: "Comprenez-les.
Je ne peux pas dire à quel point ces deux mots m'ont encouragé. Je vis trop dans une atmosphère de découragement pour la recherche scientifique...
Une idée aussi chimérique que de télégraphier des sons de voix semblerait à la plupart des esprits assez difficilement réalisable pour perdre du temps à travailler dessus. Je pense toutefois que c'est faisable et que j'ai compris la solution du problème....

L
e 6 mars 1875 toujours pour ses travaux sur la télégraphie multiple, Bell dépose un brevet No 161 739 "Améliorations Émetteurs et récepteurs pour la télégraphie électrique" ,accordé en avril 1875 (signaux de multiplexage sur un seul fil).

Le 2 avril 1875, Bell écrivit à Joseph Henry au sujet de sa dernière observation.
Bell a supposé que le son provenant de la boucle était un effet secondaire des vibrations du fil provoquées par un courant traversant le conducteur.
Il a également expliqué comment il avait essayé et découvert une relation positive entre la résistance du fil et la puissance du son créée.
De plus, Bell a parlé d'une seconde expérience connexe.
Figure I et II ci-dessous.
Bell a dessiné un croquis à la main et a expliqué en quoi les conséquences de ce test ont contribuées à renforcer ses spéculations.

Bell a affirmé qu'il avait découvert qu'un son pouvait être généré à partir de la bobine sans compléter (fermer) le circuit dans lequel elle est placée.
Dans la figure ci-dessus, un électro-aimant (E) avec une armature vibrante (A) contre la pointe (P).
Les fils (W) et (W ') ont été placés dans une pièce séparée et connectés à une bobine (C). W sur l'enroulement en gros fil, W' sur le fin.
Après cela, un bruit emis de la bobine était distinctement entendu et l'expérience ci-dessus était reproductible à l'aide d'un condenseur en aluminium.
Un bruit plus audible et fort a été émis par le condenseur en aluminium.
Il a poursuivi l'expérience en croisant les deux fils. Cela a conduit à la création d'étincelles avec une fréquence similaire à celle de la vibration de (A).
Sa présomption était que ces effets ont été créés en raison des courants produits dans l'électroaimant et non par le courant intermittent dans la batterie.
Bell ferma la lettre en demandant si ses pensées étaient uniques.

Hubbard n'est pas particulièrement impressionné par la transmission de la voix par fil et il croit que le travail de Bell retarde le développement du télégraphe multiple. Il lance donc à Bell un ultimatum : choisir entre travailler à la transmission électrique de la voix et Mabel, sa fille et future femme du jeune homme.
Bell est résolu à avoir les deux et écrit à Hubbard le 4 mai 1875 au sujet de ses théories voulant qu'un courant d'électricité continue qui passe dans un fil en vibration devrait induire une action pulsatoire du courant.
Hubbard est conquis par la détermination de Bell et furieux du retournement de position de la Western Union,

Hubbard s'associe à Sanders et donnent à Bell le soutien financier dont il a besoin en incluant le salaire de son nouvel assistant Thomas Watson chargé de transformer les théories et croquis de Bell en appareils fonctionnels. Ensemble ils explorent l'idée d'un dispositif qui pourrait transmettre la voix sous forme électrique.
Malgré un emploi du temps chargé cumulant dans la journée les cours particuliers et les conférences destinées à promouvoir le "Langage Visuel", Bell consacre une grande partie de ses nuits à la poursuite de ses expériences en télégraphie dans le sous-sol de la maison de Salem transformée en véritable laboratoire.

Vers le milieu de 1875, Bell se laisse distraire lorsqu'il découvre qu'il peut transmettre le son. Bell comprend maintenant qu'un seul relais Reed peut recevoir des sons complexes. Elysa Gray affirmera plus tard avoir découvert un phénomène similaire en 1867, mais contrairement à Bell, Gray n'a jamais documenté ses sources.

sommaire

Du télégraphe multiplex au téléphone

Pour comprendre les choses de façon chronologique, je vous invite à lire auparavant les biographies de Reis, Gray et Meucci et de poursuivre cette belle histoire.
Courant 1875, Bell travaille avec Thomas Watson, le jeune électricien devenu son assistant, et Charles Williams qui tient un magasin d'électricité à Boston et qui loue un atelier à Bell.
Bell poursuit toujours ses essais sur le télégraphe multiplex sur un ensemble de trois stations télégraphiques, (voir schéma inclus dans le brevet) chacune contenant un transmetteurs dans une pièce et deux récépteurs dans une autre pièce. Chaque transmetteur est maintenu en vibration et oscille, les coupures plus ou moins longues forment les points et les traits du code morse ..
.

Le point de rencontre des pionniers en télégraphie EDISON, WATSON et BELL était dans le magasin de CHARLES WILLIAMS

Williams fabricant important d'instruments de télégraphe, a commencé par offrir ces services uniquement pour gagner sa vie et celle de ses machinistes.
En fin de compte, il est devenu un pionnier dans la fabrication de téléphones et l'un des premiers millionnaires téléphoniques aux États-Unis.

Edison inventeur en télégraphie à son début, a travaillé la nuit pour la Western Union et, pendant ses heures de repos, il travaillait sur ses projets à la boutique Williams.
Williams lui a donné l’espace dont il avait besoin et les crédits pour des matériaux et la main d'oeuvre d'ouvriers dont il avait besoin. Il travaillait parfois après que Williams soit rentré chez lui.
Pendant son séjour à Boston, Edison a travaillé sur un certain nombre de projets, notamment un relais à réglage automatique, une imprimante de stock et son propre télégraphe d'alarme incendie.
En octobre 1868, Edison déposa son premier brevet, un enregistreur de votes pour les organes législatifs.
En décembre 1868, il publia sa première publicité pour l'une de ses inventions et inscrivit le magasin Williams comme son adresse
Le plus célèbre des ouvriers de Charles Williams était Thomas Watson.
Au début de 1874, alors qu'il travaillait sur un appareil de Farmer's, Alexander Graham Bell entra dans le magasin de Williams et se présenta directement à Watson.
Il cherchait à modifier un émetteur et un récepteur de son télégraphe harmonique.
Sa conception consistait à envoyer 6 à 8 messages à différents simultanément sur un fil et à les recevoir sur des récepteurs accordés.

Williams


Edison pub

Watson, le nouvel assistant est recruté par Bell chez Williams.



Depuis janvier 1875, Watson est associé à Bell, (en plus de travailler avec d'autres inventeurs) pour le compte de Ch Williams.

Dans le grenier du magasin de Williams, le 2 juin 1875, Bell et Watson poursuivaient leurs expériences avec des émetteurs et des récepteurs afin d’envoyer plusieurs messages télégraphiques simultanés sur une seule ligne ...

Thomas Watson travaillait au magasin Williams depuis juillet 1872, à l'âge de 18 ans, en tant qu'apprenti .
Nous avons de la chance que Watson ait décrit l'opération. Cela nous donne un aperçu de la fabrication d’instruments télégraphiques au début des années 1870. Watson rapporte que Williams employait environ vingt-cinq hommes.
Il y avait vingt tours à main et deux tours à moteur en plus des outils à main.
Le laiton, l'acier, le bois d'oeuvre et les moulages bruts sont partout.
Les ouvriers de Williams ont commencé avec le bois brut et le métal et, au milieu de la boutique, il y avait un petit bureau qui gérait les réunions avec les clients et l'exposition des appareils.

c'est la que l'on reboucle avec l'histoire de Bell et le téléphone.







Reed téléphone (réplique), Bell's harmonic telegraph receiver

sommaire

C'est à cette époque que Bell entendit et reconnut pour la première fois un son transmis électriquement.

Le 2 juin 1875 Pendant les travaux, alors que Watson signale à Bell qu'un récepteur est resté bloqué, Bell coupe l'alimentation et demande à Watson de le débloquer, ce qu'il fit d'un geste sur, il entendit un son "Twang" de la lamelle qui se débloque. Par chance à cet instant Bell constate que l'armature du transmetteur correspondant entre en vibration alors que le circuit n'est plus alimenté, il se précipite dans l'autre pièce et demande à Watson de répèter son geste.
Watson répète l'opération sur chaque récepteur et de l'autre côté chaque transmetteur correspondant entre en vibration. Lorsque Bell approche son oreille de la bobine il perçoit un faible son.
La découverte est d'importance, elle signifie qu'un faible courant alternatif induit par la vibration de la palette d'un éléctro aimant dans le noyau légeremnt aimenté de façon résiduelle, a été suffisant pour produire des effets audibles à distance.

Configuration expérimentale : schématique de l'émetteur et du récepteur et une image rare de l'émetteur et du récepteur de Bell
Schéma de branchement de l'expérience
Ce récepteur est une version plus avancée du récepteur précédent avec un circuit reed et make-and-break.
Pour Bell cela a dissipé son doute sur le fait qu'une quantité minime de courant était suffisante pour générer des sons audibles, et il a été cité en disant: "Ces expériences," dit-il, "dissipèrent aussitôt le doute qui me trottait dans la tête depuis l'été 1874.
Immédiatement, il sentit qu'il avait la clé pour réaliser son rêve chéri depuis longtemps, celui du téléphone à conversation électrique.

Thomas Watson dira, le "Twang" de cette anche que j’ai pincée le 2 juin 1875 a marqué la naissance de l’une des plus grandes inventions modernes.

Bell déposera plus tard un brevet 178.399 "Récepteurs télégraphiques " , brevet de Bell daté d'avril 1876, délivré en juin 1876.

Petite anécdote au passage :
Lorsque Alexander Graham Bell a commencé à travailler au téléphone, Bailey conseil en brevets était associé du conseil en brevets d'Anthony Pollok au sein du cabinet d'avocats Pollok & Bailey. Le patron et futur futur père de Bell, Gardiner Hubbard, a engagé Pollok et Bailey pour travailler sur les demandes de brevet et les brevets de Bell.

L'affaire fortuite avec les anches métalliques conduit à la première tentative de Bell de fabriquer un émetteur téléphonique - le "modèle de potence", un téléphone magnéto-inductif à commande vocale. Essentiellement, c'est l'un de ses relais Reed attaché à un diaphragme ou à une membrane avec une cavité parlante dessus. Parler dans la cavité fait vibrer la membrane et ces vibrations sont traduites en un courant électrique par l'anche amortie, et qui serait envoyé à un dispositif similaire à l'autre extrémité d'un fil. Cela aurait dû fonctionner, mais les aimants de Bell étaient trop puissants, supprimant ainsi la capacité du diaphragme à vibrer. Un deuxième modèle légèrement amélioré transmet quelques "sons vocaux" faibles mais pas de parole articulée.

sommaire

Bell réalise qu'il vient de franchir une nouvelle étape et décide d'abandonner le télégraphe multiplex pour se consacrer à la transmission de la parole à distance. Il réalise alors un croquis de ce que va être son premier téléphone
et charge Watson de le réaliser.

Le 3 juin 1875 le Premier téléphone appelé "Gallows Frame " est testé par Bell et Thomas A. Watson dans une mansarde au 109 Rue de la cour. Il a transmis des sons de parole reconnaissables, mais pas le discours intelligible. Les premiers essais sont décevants.
En raison de sa ressemblance fantaisiste avec l'échafaud d'un bourreau, les historiens ont qualifié cet instrument de "Gallows Frame "

(réplique du modèle gallow)
La représentation de Watson de cette esquisse, le modèle Gallows, était simplement une version raffinée du relais Reed décrit ci-dessus. Il s’agissait essentiellement d’un relais à anche dont l’armature était collée sur une membrane ou un diaphragme en parchemin.
Avec cela, Bell espérait prouver ce que le relais à anche original avait simplement promis qu’il pouvait désormais transmettre un discours articulé sur un fil télégraphique.
Bell a connecté le modèle Gallows à plusieurs cellules d’une batterie et au relais Reed précédent. Pendant que Watson écoutait le récepteur à anche, Bell cria dans le diaphragme de l'instrument. Watson a affirmé qu'il pouvait entendre des «sons vocaux» provenant du récepteur Reed, mais il ne pouvait pas comprendre ce que disait Bell. Ils ont changé de place et Watson a crié pendant que Bell écoutait. Encore une fois, aucun discours n'a été entendu. Déçu, Bell a qualifié l’expérience d’échec.

Bell poursuivit ses travaux à Brantford en septembre. À la suggestion du médecin de ses parents, il plaça un mince disque de fer sur la membrane de parchemin et constata que le son était devenu plus audible. Puis, de retour à Boston plus tard ce mois-là, il commença à préparer le mémoire descriptif de son invention tandis que Watson perfectionnait l’appareil. Bell avait déjà vendu les droits pour les États-Unis à Hubbard et les deux hommes souhaitaient ardemment vendre les droits pour l’étranger. Étant donné que l’obtention d’un brevet en Grande-Bretagne était essentiel et que ce brevet ne pouvait leur être accordé si une autre demande était en instance d’acceptation aux États-Unis, ils attendirent pour faire breveter leur invention aux États-Unis.

Dans la foulée, il fait état de l'avancement de ses travaux dans une lettre à Sarah Fuller : " Grande déouverte en télégraphie aujourd'hui. La voix humaine transmise pour la première fois ... "

Techniquement, ces modèles Gallows auraient dû fonctionner et, paradoxalement, les modèles fabriqués des années plus tard ont effectivement fonctionné.
Le problème des deux versions originales n’était pas un problème de conception, mais de mise en œuvre.
D'après des recherches et des analyses ultérieures, il semble que la résistance des relais de Bell était trop faible pour la tension de batterie relativement élevée utilisée, ce qui entraîne un très faible rendement.
Des reproductions ultérieures ont corrigé ce problème. Malgré sa déception, Bell savait qu'en juillet 1875 il avait envoyé une sorte de "sons vocaux" sur un fil. Ces deux mots figureront plus tard dans son célèbre brevet.

À la fin du trimestre, il abandonna ses cours et, fin juillet 1875, Bell avait abandonné toute activité professionnelle, à l'exception de l'éducation du jeune garçon sourd et des conférences occasionnelles à l'Université de Boston, pour lesquelles il était rémunéré depuis longtemps, ainsi que des revenus qu'il avait consacrés à des expériences téléphoniques. Ainsi, le seul revenu qu'il percevait à la fin juillet était destiné à l'enseignement du petit garçon sourd. Il ne voulait pas abandonner ses efforts pour résoudre le problème de la transmission de la parole ; il emprunta donc l'argent que des amis généreux lui prêtaient et entreprit de démontrer la faisabilité de sa théorie.
Le monde entier sait combien il a réussi, et qu'aucune autre solution n'a été trouvée depuis.
En octobre 1875, il commença à préparer le cahier des charges pour l'Office des brevets et sa demande était prête à être déposée avant la fin de l'année. Il consulta ensuite des amis au Canada qui lui demandaient de ne prendre aucune mesure susceptible de porter préjudice aux brevets qu'ils envisageaient de prendre à l'étranger. Ces amis ne répondant pas à sa proposition, il décida finalement de ne plus attendre.
En décembre, il soumit sa demande aux avocats spécialisés en brevets de Washington ; elle fut signée et assermentée à Boston le 20 janvier 1876 et déposée au Bureau des brevets le 14 février au matin.

Au début d’octobre 1875, Bell retourna à Brantford dans l’intention d’offrir les droits à sir Hugh Allan , puissant financier et président de la Compagnie du télégraphe de Montréal.
Mais le voisin des parents de Bell et propriétaire du Globe de Toronto, George Brown ministre des États du Canada, à qui il avait demandé de le recommander à Allan, lui offrit d’acheter lui-même les droits. Il promit également de déposer la demande de brevet en Grande-Bretagne pendant son voyage à Londres, en février.

Début novembre 1875, le besoin de fonds pour subvenir à ses besoins obligea Alexander Graham Bell à reprendre son activité professionnelle. Il donna bientôt des conférences dans diverses écoles normales sur l'enseignement de l'articulation. Peu après, il créa une importante classe normale à Boston et, afin d'illustrer ses méthodes, donna des cours gratuits aux sourds-muets susceptibles de servir de sujets de démonstration.

Peu après Noël, les deux hommes conclurent une entente à Toronto et, le 25 janvier 1876, soit la veille du départ de Brown,
Bell lui remit le mémoire descriptif de son invention à New York.
Brown et un associé s’assurèrent qu’il n’y avait pas contrefaçon et déposèrent la demande de Bell le 16 février.
Brown, cependant, ne comprenait pas toute la portée des travaux de Bell et semblait douter du caractère pratique de l’invention. Sans l’avertir, il décida « de ne pas donner suite à l’affaire ».

Le 29 décembre 1875 Bell apprenant que Mr Brown n'est pas encore parti, lui fit une seconde visite à Toronto et lui remit les dessins de son appareil, avec un mémoire à l'appui de sa demande de brevet.
Bell termine la rédaction d'une nouvelle demande de brevet de télégraphe harmonique en janvier 1876. Presque après coup, il inclut une illustration du téléphone à potence développé six mois auparavant. Cela inquiète les conseils en brevets de Bell, puisque le droit des brevets interdit de déposer deux inventions sous le même brevet (un « double brevet »). Néanmoins, l'appareil téléphonique brut sera inclus dans le prochain brevet de Bell, le fameux brevet de téléphone du 7 mars 1876.
Le 22 mars 1876, un article du "New York Time"s avait imaginé la possibilité de la diffusion de concerts par téléphone.

En janvier 1876, Bell décida de dissimuler son appareillage expérimental jusqu'à l'obtention de brevets, chose impossible dans l'atelier de Williams. Il craignait d'être espionné par Elisha Gray de la Western Electric Mfg. Co., qui travaillait également dans ce domaine. Bell le 17 janvier 1876 loua deux pièces dans les combles du 5 Exeter Place, à environ 800 mètres de l'atelier de Williams. Il déménage, afin d'avoir l'usage d'une pièce au troisième étage en tant que laboratoire. Bell dormit dans l'une et Watson installa le laboratoire dans l'autre.
Watson a apporté des modifications aux instruments dans le magasin de Williams et les a ensuite transportés vers Exeter Place.
Il expérimentait encore avec le "type gallow" et d'autres formes d'émetteur magnétique et de recepteurs "telephones-reed" .
La plupart des expériences pour les deux années suivantes ont été effectuées là-bas jusqu'à ce que le téléphone soit en pleine production.

Le 25 janvier 1876, Bell, son futur beau-père Gardiner Greene Hubbard et l'avocat Pollok rencontrent à New York George Brown, un ami de la famille Bell qui était l'ancien premier ministre du Canada et rédacteur en chef du Toronto Globe. Brown a accepté de se rendre en Angleterre le lendemain pour montrer les plans de télégraphe harmonique de Bell au scientifique Sir William Thomson (connu plus tard sous le nom de Lord Kelvin) et pour obtenir un brevet auprès du British Patent Office. Brown embarqua pour l'Europe le lendemain.
De son côté, Brown devait recevoir un intérêt financier dans l'invention. Le moment était primordial - l'Office britannique des brevets exigeait qu'une invention ne soit pas divulguée avant le dépôt, donc Brown devait déposer en Angleterre, puis envoyer un télégramme transocéanique à Bell signalant que la version américaine de la demande de brevet pouvait désormais être déposée en Angleterre. Brown arrive à Londres le week-end du 5 février 1876
Mais ces savants ne trouvèrent pas que l'invention fût sérieuse, de sorte que M Brown hésitait à faire la demande du brevet.

Bell écrivait lettres sur lettres à son compatriote, pour le presser d'exécuter sa promesse.
Survint un évenement tragique, Bell reçut une dépêche télégraphique, lui annonçant que le ministre du Canada M Brown, avait été assassiné dans une rue de Londres. Il est pourtant évident qu'en 19 jours Brown n'a pas pu faire la traversée de l'atlantique et de se rendre à Londres et contacter un expert. !!!

A cette nouvelle, M. Grabam Bell, renonçant à prendre pour le moment son brevet en Europe, s'occupa de le prendre, sans autre relard, en Amérique.
Bell décida de garder son appareil expérimental à l’écart jusqu’à ce qu’il obtienne des brevets, ce qui n’était pas possible au magasin de Williams.
Il s'inquiétait des possibles espions d'Elisha Gray de la Western Electric Mfg. Co., qui travaillait également dans ce domaine.

Le vendredi 11 février, Gray, qui travaillait auparavant sur un téléphone dans un relatif secret, décide maintenant de laisser le chat sortir du sac et a l'intention de déposer une mise en garde auprès de l'Office américain des brevets le lundi 14 février (Saint-Valentin). Il donne à son assistant, William Goodridge, un dessin approximatif et quelques pages de texte décrivant l'invention, avec des instructions pour que les dessins d'avertissement soient finalisés par William Skinkle, un employé de l'avocat de Gray, William D. Baldwin (Gray et Baldwin mettraient fin à leur relation acrimonieuse des années plus tard ; Gray découvrirait que Baldwin, tout en représentant Gray contre la Bell Telephone Company, avait en fait été sur la liste de paie de Bell. Curieusement, la dernière facture de Baldwin pour ses services juridiques a été rejetée avec colère par Gray, et Baldwin n'a jamais exigé de paiement).

La meilleure preuve que le téléphone électrique que M. Graham Bel fit breveter le 14 février 1876, et auquel le tribunal américain accorda l'antériorité sur celui de M. Elisha h Gray, était un instrument sans valeur pratique, c'est qu'à peine ce brevet fut-il obtenu que l'inventeur s'empressa de le mettre de côté, et de chercher mieux".
Et il chercha avec tant d'ardeur qu'il finit par accomplir l'une des plus grandes découvertes de la physique moderne.
Il transmit la parole sans l'intermédiaire du courant électrique.

sommaire

LE BREVET : 174 465 d'émetteur-recepteur télégraphique

Heureusement pour Bell, l’impatient Hubbard, qui n’en pouvait plus d’attendre la réponse de Brown, déposa la demande de brevet aux États-Unis le 14 février, et ce, quelques heures seulement avant celle de son concurrent Elisha Gray.


Le Brevet 174,465 Document complet en pdf . Le Brevet 174,465 , Page 1 et Page 2 (clic pour agrandir) et le facsimile : maintained at the Library of Congress, of the first drawing Alexander Graham Bell made of a telephone .

Récit lu dans "Le figuier l'éléctricité"

Ecoutons M. Graham Bell nous raconter ses premiers essais, c'est-à-dire ceux qui suivirent la construction de l'oreille téléphone, imitée du premier, appareil de Philippe Reis.
« La disproportion considérable de masse et de grandeur qui, dans cet appareil, existait entre la membrane et les osselets mis en vibration par elle, attira particulièrement mon attention, et me fit penser à substituer à la disposition compli- quée que j'avais employée pour mon téléphone à transmission de sons multiples,
une simple membrane à laquelle était fixée une armature de fer.
« Cet appareil fut alors disposé comme l'indique la figure ci-contre, et je croyais obtenir par lui les courants ondulatoires qui m'étaient nécessaires . En effet, en articulant à la branche sans bobine d'un électro-aimant boiteux A une armature de fer doux, a b, reliée par une tige à une membran een or battu M, je devais obtenir, par suite des vibrations de celle-ci, une série de courants induits ondulatoires, lesquels réagissant sur l'électro-aimant d'un appareil semblable placé à distance, devaient faire reproduire à l'armature de celui-ci, a' b', les mouvements de la première armature, et par conséquent faire vibrer la membrane correspondante M' exactement comme celle ayant provoqué les courants.
« Toutefois, les résultats que j'obtins de cet arrangement ne furent pas satisfaisants , et il me fallut encore entreprendre bien des essais, qui m'amenèrent
à réduire autant que possible les dimensions et le pied des armatures et même à les constituer avec des ressorts de pendule de la grandeur de l'ongle de mon
pouce. ...

Replica of Bell's 'Patent-office' telephone of 1876, made by Science Museum Workshops, South Kensington, London, England, 1959

Les expériences avec des émetteurs à résistance variable a commencé à peu près à cette époque.

sommaire

Quelque chose motive soudainement le groupe de Bell à violer leur accord avec Brown. Ils se précipitent et déposent un dossier auprès de l'office américain des brevets avant midi le lundi 14 février, sans entendre parler de Brown ni exiger de lui un rapport d'étape.

Dépot du brevet BELL d'émetteur-recepteur télégraphique
le 14 février 1876

Voici ce qui se passa, le 14 février 1876, à Washington, au bureau des patentes américaines, récit "Le figuier l'éléctricité" .

Si le récit qui va suivre a les allures d'un roman, qu'on ne l'attribue pas à l'imagination de l'auteur, car tout ce qui se passa dans la journée du 14 février 1876, au bureau des patentes de Washington, est appuyé sur des pièces et des documents qui ont figuré en justice, à l'occasion du procès auquel donna lieu le cas sans exemple que nous allons raconter.
Ce qui se passa le 24 février 1876, dans le bureau du directeur des patentes américaines de Washington.
— Le téléphone à pile de M. Graham Bell et le téléphone à pile de M. Elisha Gray se trouvent face à face. — Un conflit judiciaire. —
Comment les tribunaux américains proclament M. Graham Bell l'inventeur du téléphone, et ce qui s'ensuivit.


Je ne saurais dire exactement comment est disposé, à Washington, le burcau des patentes, mais il ne doit pas beaucoup différer des établissements de ce genre qui sont consacrés, à peu près en tout pays, aux enregistrements officiels des demandes et des délivrances de brevets d'invention. Ils sont distribués, en général, comme il suit. Une vaste salle est divisée en un certain nombre de compartiments, servant chacun de bureau à un employé.
Les murs de cette salle sont couverts de dessins au lavis, de plans géométraux ou de planches gravées en noir et en couleur, représentant divers appareils de mécanique industrielle. De grandes bibliothèques, renfermant l'interminable collection des volumes que chaque nation consacre aux brevets expirés, s'étendent des deux cotés de la salle.
Là se trouvent les collections des brevets expirés enregistrés en France depuis 1800, et la série des patentes anglaises et américaines; ce qui, joint aux principaux recueils scientifiques d'Europe et d'Amérique, forme l'indispensable répertoire que les employés ont à consulter.
De ces employés, les uns travaillent à la correspondance, les autres copient le texte des brevets déposés par les inventeurs. Certains s'occupent à reproduire sur la planche à lavis, les plans, coupes et dessins qui accompagnent les brevets. Tandis que quelques-uns colorient, à la main, les dessins tracés à l'encre, d'autres autûgraphient des manuscrits ou gravent sur pierre ces dessins, pour en faire des tirages plus nombreux.
Au milieu delà grande salle occupée par les petits bureaux des employés, estime porte, donnant accès dans le cabinet du directeur du bureau.

Le 14 février 1876, à deux, heures de l'après-midi, le directeur du bureau des patentes américaines était occupe à expédier les affaires courantes de son service, quand on frappa à sa porte.
« Toc, toc... Entrez. »
On entra.
« C'est vous, monsieur Marcellus Bailey, dit le directeur; quel bon vent vous amène ?
— Une demande de brevet.
— De la part ?...
— De la part de M. Grabam Bell.
— De M. Grabam Bell, le professeur de l'institution des sourds-muets de Boston ?
— Précisément. — Et de quelle invention s'agit-il ?
— D'un téléphone, c'est-à-dire d'un appareil qui transmet les sons à distance
— Voici le modèle de son appareil. Voulez-vous en prendre connaissance ? »
L'agent d'affaires déposa sur un meuble le modèle du téléphone à pile de M. Graham Bell, et remit au directeur le mémoire du professeur de Boston. Le Brevet 174,465 Document complet en pdf

Le directeur commença la lecture de ce mémoire, que nous allons lire par dessus son épaule.
« Mon invention — est il dit dans le mémoire de M. Graham Bell à l'appui de sa demande de brevet — consiste dans l'emploi d'un courant électrique vibratoire, ou ondulatoire, en opposition à un courant simplement intermittent ou pulsatoire, et d'une méthode ainsi que d'un appareil pour produire une ondulation électrique sur le fil de ligne.
« On comprendra la distinction entre un courant ondulatoire et un courant pulsatoire, si l'on considère que les pulsations électriques sont produites par des changements d'intensité soudains et instantanés, et que les courants ondulatoires résultent de changements graduels d'intensité, analogues aux changements de densité occasionnes dans l'air par de simples vibrations du pendule.
Le mouvement électrique, comme le mouvement aérien, peut être représenté par une courbe sinusoïdale ou par la résultante de plusieurs courbes sinusoïdales. »
M. Graham Bell expose ensuite comment les courants ondulatoires peuvent servir à la transmission simultanée de plusieurs dépèches, et il décrit
en dernier lieu la disposition suivante :
« Un autre mode est représenté par la figure ci-jointe, dans lequel le mouvement peut être communique à l'armature par la voix humaine ou par le moyen d'un instrument musical.
« L'armature ab est attachée librement à la patte d'un électro-aimant A, et son autre extrémité est liée au centre d'une membrane tendue, M
Un cône, P, sert à faire converger les vibrations du son sur la membrane M. Quand un son est émis dans le cône, la membrane est mise en vibration, l'armature est forcée de partager ce mouvement, et ainsi des ondulations sont créées dans le circuit.
Ces ondulations sont semblables en forme aux vibrations de l'air causées par le son, c'est-à-dire qu'elles sont représentées graphiquement par des courbes semblables. Les courants ondulatoires passant par l'électro-aimant a'b' agissent sur l'armature M' pour lui faire copier le mouvement de l'armature M. On entend alors sortir du cône P' un son semblable à celui qui est émis en P. »
Nous ne donnons qu'une esquisse du portrait de M. Graiiam Bell, parce que nous n'avons pu nous procurer de photographie de l'original.
Ce profil a été fait de mémoire,
M. Graham Bell termine ainsi :
« Ayant décrit mon invention, ce que je réclame et désire assurer par la patente est ce qui suit :
« 1. Un système de télégraphie dans lequel le récepteur est mis en vibration par l'emploi de courants électriques ondulatoires, essentiellement comme il est décrit plus haut.
« 2. La combinaison, décrite plus haut, d'un aimant permanent, ou d'un autre corps capable d'une action inductive, avec un circuit fermé, de sorte que la vibration de l'un doit occasionner des ondulations électriques dans l'autre, ou dans lui même; et je le réclame, soit que l'aimant permanent soit mis en vibration dans le voisinage du fil conducteur formant le circuit, soit que le fil conducteur soit mis en vibration dans le voisinage de l'aimant permanent, soit que le fil conducteur et l'aimant permanent, tous deux simultanément, soient mis en vibration dans le voisinage l'un de l'autre.
« 3. La méthode de produire des ondulations dans un courant voltaïque continu par la vibration ou le mouvement de corps capables d'une action inductive, ou par la vibration ou le mouvement du fil conducteur lui-même, dans le voisinage de tels corps, comme il est établi précédemment. »
Ayant pris connaissance de cette demande de brevet, qui était formulée conformément aux lois et règlements de l'administration des Etats-Unis, le
directeur du bureau des patentes fit signer la demande à l'agent d'affaires de M. Graham Bell et le congédia.
Ceci se passait à deux heures.
A peine le dépositaire était-il sorti du bureau des brevets (alors que Bell est à Boston, ce ne pouvait être qur Hubbard ou les avocats Pollok ou Bailey) pour déposer le dossier de Bell, qu'un autre physicien, entra au bureau déposer au caveat portant sur la même invention.
À quatre heures, !e directeur entend de nouveau frapper à sa porte
« Toc, toc!.... — Entrez. »
On entra.
« C'est vous, monsieur Jonathan, dit le directeur ; quel bon venlvous amène ?
-- Une demande de caveat.
— De la part ?
— De la part de M. Elisha Gray.
— M. Elisha Gray, l'électricien de Chicago ?
— Lui-même.
— Et quelle invention M. Elisha Gray veut-il faire breveter ?
— Un téléphone, c'est-à-dire un appareil qui transmet la parole à distance. »
Le directeur se leva de son fauteuil, comme poussé par un ressort.
« Un téléphone ?... En ôtes-vous bien sûr ?...
— Voici le modèle de l'appareil de M. Elisha Gray, et voici ses dessins.
Voulez-vous prendre connaissance du mémoire qui accompagne tout cela ?
— Comment donc, monsieur Jonathan ; mais avec le plus grand empressement ! »
Et le directeur, excessivement intrigué, mais sans rien laisser paraître encore de ce qui lui causait un si vif étonnement, prit des mains du sieur
Jonathan le mémoire de M. Elisha Gray, et s'en donna lecture à lui-même, en accentuant bien chaque phrase.
L'honnête M. Jonathan, qui avait bien des fois rempli le même mandat qu'il accomplissait en ce moment, n'avait jamais vu le directeur du bureau des patentes américaines s'intéresser à ce point à une invention.
II en était émerveillé, et ne savait comment expliquer l'attention tout à fait nouvelle que le directeur apportait à celte affaire.
Voici le texte exact du document manuscrit qui accompagnait la demande de l'électricien de Chicago.
On reconnaîtra bien vite que la description du téléphone faite par M. Elisha Gray est autrement claire, nette et précise, que celle de M. Graham Bell, qui disserte, au lieu de décrire, qui s'égare clans des considérations de physique étrangères au sujet, et dont l'appareil a plutôt pour objet un perleclionncment à la télégraphie électrique qu'un téléphone.
En tête du mémoire de M. Elisha Gray est un dessin, qui porte pour légende : « Instruments for transmitting and receiving vocal sounds tele-
graphicalhj, caveat filed 14 February ' 1870, c'est-à-dire : Instruments pour transmettre et recevoir télégraphiquement des sons vocaux.
Caveat, enregistré le 14 février 1870.
Voici maintenant le texte de l'inventeur : « A tous ceux que cela peut concerner, qu'il soit connu que moi, Elisha Gray, de Chicago, comté de Cook et État d'illinois, ai inventé un nouveau mode de transmettre des sons vocaux télégraphiquement.
Ce qui suit en est la description. « L'objet de mon invention est de transmettre les tons de la voix humaine au travers d'un circuit télégraphique et de les reproduire à l'extrémité réceptrice de la ligne, de telle façon que des conversations effectives puissent cire tenues par des personnes se trouvant à une grande distance l'une de l'autre.
« J'ai inventé et fait breveter des méthodes de transmettre télégraphiquement des impressions ou sons musicaux, et mon invention actuelle est basée sur une modification du principe de ladite invention, qui est décrite et exposée dans des cttres patentes des États-Unis, qui m'ont été accordées le 27 juillet 1875, sous les numéros respectifs 166 095 et 166096, et, de plus, dans une demande de patente déposée par moi le 25 février 1875.
« Pour atteindre l'objet de mon invention, j'ai imagine un instrument pouvant émettre des vibrations concordant avec tous les tons de la voix bumaine, et par lequel ces tons, ou sons, sont rendus perceptibles.
« J'ai représenté sur les dessins ci-joints un appareil renfermant mes perfectionnements de la meilleure manière qui me soit connue maintenant, mais je projette différentes autres applications, ainsi que des changements dans les détails de construction de l'appareil, changements dont quelques-uns se seront nécessairement déjà présentés d'eux-mêmes à un électricien habile ou à une personne versée dans l'acoustique, à la vue de la présente application.
« La première figure de mon mémoire représente une section centrale verticale au travers de l'instrument transmetteur ;

LE TÉLÉPHONE A PRESSION D'EAU VARIABLE , DE M. Elisha Gray.
A, boite acoustique du transmetteur; B, vase de verre plein d'eau; a, diaphragme en baudruche portant une fil métallique attachée à sa partie inférieure ; b, suite de la tige métallique brisée, et communiquant avec le fil conducteur c ; T, communication avec la terre.
« La deuxième figure de mon mémoire représente une section semblable au travers du récepteur;
« La troisième figure, un dessin d'ensemble de tout l'appareil.
« Mon opinion actuelle est que la méthode la plus efficace pour obtenir un appareil capable de rendre les sons variés de la voix humaine, consiste à étendre un tympan, tambour ou diaphragme en travers d'une extrémité de la boîte qui porte un appareil produisant des fluctuations dans le potentiel du courant électrique, et par suite variant dans sa force.
« Sur le dessin ci-joint la personne qui transmet les sons est représentée parlant dans une boîte A, en travers de l'extrémité extérieure de laquelle est tendu un diaphragme a, d'une substance mince quelconque, telle que du parchemin ou de la baudruche, capable de rendre tous les tons de la voix humaine, qu'ils soient simples ou complexes.
A ce diaphragme est fixée une petite tige métallique conductrice de l'électricité, qui descend jusque dans un vase B fait de verre ou d'autre matière isolante et dont la partie inférieure est fermée par un tanipon b qui peut être métallique ou au travers de laquelle passe un conducteur c qui
l'orme en partie circuit.
« Ce vase est rempli d'un liquide possédant une grande résistance, tel que de l'eau par exemple, de sorte que les vibrations de la tige métallique qui ne touche pas entièrement le conducteur b amèneront des variations dans la résistance électrique, et par conséquent dans le potentiel du courant qui passe au travers de la tige métallique.
« Il résulte de ce mode de construction que la résistance varie constamment en concordance avec les vibrations du diapbragme, lesquelles, quoique irrégulières, non seulement en amplitude, mais aussi en rapidité, n'en sont pas moins transmises, et peuvent, par conséquent, être envoyées par une seule tige, ce qui ne pourrait pas être obtenu en établissant et eu rompant alternativement le courant là où l'on emploie des points de contact.
« J'étudie cependant l'emploi de séries de diaphragmes dans une boîte vocale commune, chaque diaphragme portant une tige indépendante et répondant à une vibration d'une rapidité et d'une intensité différentes, cas dans lequel on peut employer des points de contact montés sur d'autres diaphragmes. Les vibrations communiquées de cette façon sont transmises au travers d'un circuit électrique à la station réceptrice.
Dans ce circuit est compris un électro-aimant de construction ordinaire, agissant sur un diaphragme, auquel est fixée une pièce de fer doux.
Ce diaphragme est tendu en travers d'une boite vocale réceptrice c, quelque peu semblable à la boîte vocale correspondante A.
« Le diaphragme à l'extrémité réceptrice de la ligne reçoit alors des vibrations correspondant à celles du côté transmetteur et il se produit des sons ou mots perceptibles.
« L'application pratique évidente de mon perfectionnement sera de permettre à des personnes, postées à de grandes dislances, de converser l'une avec l'autre dans un circuit télégraphique, absolument comme elles le font actuellement en présence l'une de l'autre ou dans un porte-voix.
« Je revendique comme étant mon invention l'art de transmettre des sons vocaux ou conversations télégraphiquement par un circuit télégraphique. »
Nous ouvrirons ici une parenthèse pour dire que celte description est si précise et si complète qu'elle permettrait de construire un appareil qui pourrait certainement constituer un téléphone parlant.

En lisant avec soin la description qui précède et examinant le dessin qui accompagne le brevet de M. Elislia Gray, dessin que nous avons reproduit
exactement d'après le brevet de l'inventeur, on comprend que le jeu de cet appareil est le suivant.
La voix faisant vibrer le diaphragme a de la boîte du transmetteur A, les vibrations de ce diaphragme se communiquent à la tige métallique qui est attachée à ce diaphragme, et cette lige, en vibrant, presse plus ou moins la mince couche d'eau sur laquelle porte l'extrémité inférieure de cette même tige. Ces variations dans la compression de l'eau font varier l'intensité du courant électrique, et ces variations dans l'intensité du courant se
communiquent, par la tige métallique b, et par le fil conducteur c, au récepteur A', après avoir traversé la terre, qui sert de conducteur de retour.
Dès lors, le diaphragme du récepteur A' vibre identiquement comme le diaphragme du transmetteur, c'est-à-dire reproduit les sons de la voix qui a
fait parler le transmetteur.

C'est le principe du téléphone à pile et à conducteur de charbon que M. Edison construisit plus tard, et que nous retrouverons en son lieu.
Il importe de remarquer que le téléphone de M, Elisha Gray diffère du téléphone de Philippe Reis en deux points très importants.
Le transmetteur n'agit pas par des interruptions de contact avec la membrane animale, comme dans l'appareil du maître d'école allemand, mais par les variations de résistance offertes par un liquide au passage du courant électrique.
M. Elisha Gray insiste sur ce point, qui est, en cflèt, d'une importance capitale.
Reprenons l'entretien de nos deux personnages, que nous avons interrompu pour donner l'explication technique du téléphone de l'électricien de Chicago.

Caveat de M. Elisha Gray

Ayant lu consciencieusement, et dans son entier, le mémoire déposé par M. Elisha Gray à l'appui de son caveat, le directeur des patentes fit signer
la demande par l'agent d'affaires; puis, au lieu de le congédier, il le retint du geste. M. Jonathan, qui allait se retirer, et tenait déjà le bouton de la porte, s'arrêta, prêt à écouter de toutes ses oreilles la déclaration qu'allait lui faire l'employé supérieur.
« Vous avez sans doute remarqué, lui dit le directeur, la surprise que j'ai ressentie quand vous m'avez fait part de l'objet de votre demande.
Il me reste à vous expliquer la cause de cette surprise. Sachez donc que deux heures à peine avant que vous entriez ici, votre honorable confrère, M. Patrick, en sortait, après m'avoir remis une demande de brevet pour un téléphone, qui diffère sans doute, par son mécanisme, de celui de
M. Elisha Gray, mais qui donne, en fait, le même résultat, c'est-à-dire qui transporte la paroleà distance, par l'intermédiaire d'un courant électrique. »
Et comme M. Jonathan se récriait, le directeur tira d'un carton et mit sous ses yeux les pièces relatives à la demande de brevet de M. GrahamBell.
« Je vous communique ces pièces, monsieur Jonathan, dit le directeur, pour que vous reconnaissiez par vous-même la vérité de ce que j'avance...
Et j'ajoute que vous ne sauriez contester que la demande de M. Graham Bell n'ait l'antériorité sur celle de M. Elisha Gray, attendu qu'elle a élé déposée aujourd'hui à deux heures, et la vôtre à quatre heures seulement.
— C'est ce que je n'ai nullement l'intention de nier, répliqua le mandataire de M. Elisha Gray. IL y aura certainement procès entre nos deux inven-
teurs, et l'on ne peut savoir quelle en sera l'issue.
Quant à nous, qui n'avons été, en tout ceci, que les intermédiaires, nous ne pourrons que constater la réalité et la sincérité des faits.
Leur appréciation appartiendra au tribunal. »
Sur ces dernières paroles, le sieur Jonathan se retira. Ce qu'avait prévu notre agent d'affaires ne manqua pas, d'ailleurs, de se produire.
Comparaison des shémas Bell et Gray : Lire la petite histoire de Gray

Consulter la controverse Bell Gray et le la controverse avec Wilber nommé examinateur à l'Office des brevets.

Après enquête, le brevet sera finalement accordé à Bell, mais cela n’empêchera pas les polémiques : Zenas Fisk Wilber, employé de l’Office des brevets, déclarera avoir été soudoyé par les avocats de Bell pour favoriser le projet de Bell avant de se rétracter. Depuis, la controverse n’a jamais cessé et l’invention du téléphone, bien que communément attribuée à Alexander Graham Bell, est sujette à discussion. Dès le départ, le téléphone faisait parler.

sommaire

La loi sur les brevets de l'époque (la loi sur les brevets de 1836) stipule qu'une « ingérence » ne peut se produire que si Gray dépose sa mise en garde avant que Bell ne dépose sa demande de brevet. Les demandes de Bell et de Gray sont remises en mains propres avant midi ; les deux ensembles de documents auraient dû rester dans un panier "In" jusqu'à 15 heures, après quoi ils auraient été envoyés au bureau du greffier en chef, connectés à un "caisse buvard" (un livre comptable non chronologique répertoriant le nom de chaque demandeur ainsi que la taxe de dépôt), et transmise à un examinateur de brevets le lendemain.
Étrangement, la personne qui remet en main propre la demande de brevet de Bell (et non Bell, qui était à Boston à l'époque) exige que les documents soient immédiatement remis à l'examinateur de brevets télégraphiques Zenas Wilber dans la salle 118. Un commis obligeant fait exactement cela ( violant la procédure standard), s'arrêtant brièvement en cours de route pour entrer la demande de Bell dans le sous-main, ce qui en fait la cinquième entrée pour ce jour-là. La paperasse de mise en garde de Gray, toujours dans le panier, passe par des canaux normaux, plus lents, et devient la 39e entrée dans le buvard. Ainsi naît le mythe populaire - encouragé par les avocats de Bell - selon lequel la demande de brevet de Bell a été déposée "deux heures" avant la mise en garde de Gray (dans certaines versions de l'histoire, c'est quatre heures).

Au cours de la semaine qui suit, l'examinateur de brevets Zenas Wilber examine les deux ensembles de documents. Il voit que les revendications 1, 4 et 5 de la demande de Bell pourraient interférer avec la mise en garde de Gray et, conformément à la procédure standard, envoie une lettre à Bell et à ses avocats indiquant qu'il suspend le brevet de Bell pendant 90 jours. Gray aurait maintenant dû avoir 90 jours pour déposer une demande de brevet complète, après quoi l'examinateur déterminerait alors avec finalité si une condition d'interférence existait réellement.
Les avocats de Bell envoient ensuite une lettre à Ellis Spear, commissaire aux brevets par intérim, contenant ce qui suit :
"Nous avons demandé la date de dépôt de cette mise en garde (dans la mesure où nous avons droit à cette connaissance) et avons constaté qu'elle était le 14 février 1876, le jour même où notre demande a été déposée. Si notre demande a été déposée plus tôt dans la journée que la mise en garde, il n'y a alors aucun mandat pour la mesure prise par le Bureau.Nous suggérons qu'un examen des livres dans les chambres de l'examinateur, M. Moore [un greffier] et du greffier en chef, soit effectué en vue de trancher cette question".
Mais les avocats de Bell n'avaient pas "droit à cette connaissance" (la mise en garde interférente aurait pu arriver jusqu'à un an avant la demande de Bell) et la lettre de Wilber à leur intention n'indique pas que la mise en garde était celle de Gray. Les avocats de Bell savent déjà d'une manière ou d'une autre que l'entrée de Bell dans le sous-main était en avance sur celle de Gray. Naturellement, les avocats de Bell attirent déjà l'attention sur "les livres" pour trancher la question. Mais la procédure standard du Bureau des brevets insiste sur le fait que seule la date et non l'heure du dépôt est significative, sauf dans des circonstances exceptionnelles. Néanmoins, le jour fatidique du 25 février 1976, Ellis Spear, pour des raisons encore inconnues, viole les procédures standard qu'il suit depuis des années et ordonne à Wilber de lever la suspension de la demande de Bell. Dans toutes les années tumultueuses et litigieuses qui suivent, on ne demande jamais à Spear pourquoi il a révoqué la suspension du brevet de Bell .
Étonnamment, Bell et ses associés doivent encore surmonter plus de difficultés. Wilber trouve une autre mise en garde antérieure de Gray, déposée le 27 janvier, qui peut certainement interférer avec la demande de Bell. Wilber informe les avocats de Bell, qui demandent à Bell de venir à Washington et de voir l'examinateur de brevets Wilber en personne pour discuter des mises en garde de Grays.
Bell a un problème. La deuxième mise en garde de Gray comprend des informations sur le principe de la résistance électrique variable et décrit un dispositif de transmission de liquide, dont aucun n'est mentionné dans la demande de Bell.
Au lieu de déposer une ingérence et de demander à d'autres de régler l'affaire, l'examinateur de brevets Wilber prend sur lui de communiquer des informations concernant l'invention de Gray à Bell et de permettre à Bell d'apporter des modifications à sa demande de brevet, la première éliminant soigneusement toute interférence possible avec La mise en garde de Gray.

Quelques mois après, les deux inventeurs étaient en procès.
Le tribunal de Washington dut être fort embarrassé; car si, d'une part, la description du téléphone électrique de M. Elisha Gray était magistrale, et les effets de son appareil aussi nets qu'on pût le désirer, d'autre part, le mémoire de M. Graham Bell trahit des hésitations continuelles, et ne paraît contenir que le germe d'une invention, ayant pour objet la télégraphie électrique, plutôt qu'une invention définitive relative à la téléphonie.
Cependant le tribunal de Washington se prononça en faveur de M. Graham Bell.

Nous apprendrons plus tard que : Dans une lettre du 2 mars 1877, Graham Bell avouait à Gray qu'il a eu connaissance que son caveat avait quelque chose à voir avec la vibration d'un fil dans l'eau et qu'il entrait donc en conflit avec son propre brevet. À cette époque pourtant, l'interdiction de dépôt de Gray était encore confidentielle. En 1879, Bell déclare sous serment qu'il s'est effectivement entretenu du brevet de Gray avec Zenas Fisk Wilber, l'examinateur qui en avait la charge.

Le tribunal déposséda l'électricien de Chicago, et investit le professeur de Boston du privilège de la découverte du téléphone.
Ce qui dicta sans doute la sentence des juges américains, ce fut l'antériorité de deux heures dans le dépôt des pièces, antériorité établie en faveur de M. Graham Bell, mais surtout cette considération que M. Graham Bell avait fait une demande de brevet, en bonne et due forme, tandis que M. Elisha Gray n'avait pris qu'un simple caveat.
Il importe, en effet, de savoir qu'aux Etals-Unis, ce qui n'existe pas en France, l'inventeur qui juge que sa découverte n'est pas arrivée à maturité,
peut, avant de demander un brevet, déposer à l'Office des patentes un caveat, c'est-à-dire un mémoire manuscrit, indiquant le plan, l'objet et les
caractères distinctifs de son invention, en demandant protection pour son droit, jusqu'à ce qu'il ait mûri sa découverte.
Il paye, pour cela, une taxe de 20 dollars, dont il lui est tenu compte plus lard, s'il demande un brevet.
Si, pendant l'année qui suit le dépôt d'un caveat, l'Office des patentes reçoit une demande pour une invention semblable à celle du déposant de ce
caveat, celui-ci en est informé et peut faire opposition.
C'est parce qu'il n'avait demandé qu'un caveat que M. Elisha Gray perdit son procès. ( Consulter la controverse Bell Gray )

Quant au mérite comparatif des deux appareils, personne n'aurait hésité un instant à décerner la palme à l'instrument téléphonique de l'électricien de Chicago.

Dans la version de l'histoire de Bell, il n'était pas autorisé à voir la mise en garde de Gray. Cependant, au cours d'une enquête ultérieure du Congrès, Wilber produisit son propre récit "final" dans un affidavit daté du 6 avril 1886. L'affidavit parut dans de nombreux journaux mais fut rejeté par les membres du comité en raison des "habitudes dissolues" de Wilber et d'un précédent affidavit contradictoire. . Dans ce dernier affidavit, Wilber dit qu'il a permis à Bell (devant des témoins) de regarder la mise en garde de Gray et "a pleinement expliqué la méthode de transmission et de réception de Gray". Wilber a ensuite déclaré que Bell avait quitté le bâtiment, puis était revenu vers 14 heures. Enfin, selon Wilber, "A son départ, je l'ai accompagné dans le hall et au coin de la rue dans un couloir menant à la cour, où le professeur Bell m'a présenté un billet de cent dollars." Bell a bien sûr publié son propre affidavit niant toutes les allégations de Wilber, mais Bell ne l'a jamais poursuivi pour diffamation, et les rumeurs sur l'incident ont persisté à ce jour.
Quoi qu'il en soit, à la suite de la visite de Bell à Wilber au Bureau des brevets, le concept de résistance variable de Gray apparaît maintenant sous la forme d'une minuscule note marginale manuscrite dans la demande de brevet de Bell. Bell mentionne brièvement l'utilisation de mercure liquide comme moyen d'y parvenir, ce qui ne fonctionne pas (le concept de Gray utilise de l'eau, ce qui fonctionnera)

sommaire

Cette découverte du 2 juin 1875 révéla à Bell que ses doutes quant à la capacité du téléphone à transmettre un son audible généré magnétiquement étaient infondés. Son concept téléphonique était non seulement théoriquement correct, mais aussi réalisable. Il restait encore beaucoup d'expérimentation et de développement à faire, mais le téléphone était né.
Bell, cependant, ne put accorder toute son attention à la mise au point de cette dernière invention, car ses associés lui demandèrent de poursuivre ses travaux sur les deux télégraphes multiples, dans lesquels ils voyaient un gain pécuniaire plus immédiat.
Leur insistance dura bien au-delà du 1er mars 1876, date à laquelle un brevet fut délivré pour le téléphone. Hubbard a même fait dire à sa fille Mabel, fiancée à Bell, qu'elle ne l'épouserait pas avant qu'il n'ait terminé son travail sur le télégraphe. Ce n'est qu'à contrecœur que Sanders et Hubbard ont renoncé à leur intérêt pour la télégraphie harmonique au profit de la téléphonie. La question s'est donc nécessairement posée de savoir si le partenariat couvrait ou non le téléphone. Après la signature du protocole d'accord définissant les termes de l'Association en février 1875, il ne fait guère de doute que Sanders et Hubbard connaissaient tous deux l'idée que Bell avait du téléphone. Cela explique peut-être la conviction de Bell, telle qu'elle l'a déclaré plus tard, selon laquelle ce partenariat avec Sanders et Hubbard incluait bel et bien le téléphone. Cependant, au moment de la formation du partenariat, ni Sanders ni Hubbard ne semblaient s'être beaucoup intéressés au nouveau concept de Bell.
La différence de degré d'impression de Sanders et Hubbard par l'idée au moment de la formation du partenariat peut expliquer pourquoi Hubbard a cru plus tard que le contrat de partenariat ne couvrait pas le téléphone, Sanders a répondu que oui. Des deux, Hubbard a peut-être été plus impressionné par la télégraphie multiple de Bell au moment de l'accord, car il en avait eu connaissance moins longtemps que Sanders et avait eu moins de temps pour que son enthousiasme initial se dissipe. De plus, la connaissance par Hubbard de l'idée du téléphone, apparue peu après avoir découvert la télégraphie multiple, aurait pu lui sembler moins significative. C'était important, non seulement parce qu'il était sous-développé, mais aussi parce que de multiples télégrammes promettaient de réaliser les prédictions qu'elle avait faites lors de l'audition du Sénat sur la Western Union.

Le 3 mars 1976, le brevet n° 174 465 est délivré à A.G. Bell et il apparaît dans le numéro du 7 mars 1876 de la Gazette officielle.
Bell devint titulaire du brevet sur le téléphone, deuxième des 30 brevets qu’il obtiendrait entre 1875 et 1922. Intitulé « Améliorations en télégraphie », ce brevet serait le plus lucratif jamais accordé dans l’histoire des inventions, et l’un des plus contestés.
Dans la presse le meme jour on lisait

Quelques jours après l'obtention du brevet, BELL reprend ses essais, tous les appareils on été tansférés au dessus de l'atelier de Charles Wiliams à son domicile.

Entre le 7 et le 10 Mars 1876,
Bell et Watson réalisent une série d'expériences avec un nouveau transmetteur non pas de type éléctromagnétique comme décrit dans le brevet mais un transmetteur à résistance variable à eau acidulée entrainant une variation de résistance du circuit lorsque la membrane entre en vibration.


Watson dans ses dernières années, tenant le téléphone original. L'émetteur à micro liquide (à acide) et le schéma original dans son notebook.

Bell n’avait pas réussi à transmettre une phrase complète et audible dans son téléphone mais, fait significatif, il avait modifié la description de son invention au début de janvier pour y incorporer un émetteur à résistance variable.

Le 8 mars, lui-même et Watson reprirent leurs expériences, et le téléphone fut bientôt doté d’un porte-voix.
Replique exacte du microphone à acide


sommaire

La première conversation téléphonique de l'histoire est effectuée le 10 mars 1876, à Boston entre Bell et son assistant Watson qui se trouvait alors dans une autre pièce.
Cette transmission a eu lieu dans le laboratoire de leur grenier situé, au 5 Exeter Place.
La plaque commémorative peut être vue à proximité de Lafayette Place, près du point de croisement des rues Avenue de Lafayette et Essex.

En soirée du 10 Mars 1876 , Bell installe le recepteur dans une pièce et le transmetteur dans une autre pièce à quelques mètres. A la suite d'une nième tentative, Bell ajoute de l'acide dans le transmetteur et en renverse sur son patalon le faisant s'exclamer ;
Mr watson i want to see you
(M. Watson, j'ai besoin de vous)

De son côté Watson entend la voix de Bell dans l'appareil et se précipte dans l'autre pièce et déclare qu'il avait entendu et compris ce que Bell disait. Bell demande de répéter les mots. Watson a répondu, "Vous avez dit "M. Watson, j'ai besoin de vous" Fou de joie il se mirent à danser une danse Mohawh (tribue indienne).
...


En changeant de place Bell a pu écouter tandis que M. Watson lisait quelques passages d'un livre dans l'embouchure, les mots étaient à peine audible mais la parole venait d'être transmise pour la première fois, si on ne tient pas compte de l'histoire de Meucci
Le soir même Bell écrit à son père qu'il est enfin parvenu à transmettre la parole.


Evénements racontés par Thomas Watson


Extrait du film The Story of Alexander Graham Bell (1939)

L’exclamation n’était pas aussi élégante que le premier message télégraphique de Samuel Finley Morse – « Dieu tout-puissant ! » –, mais elle est devenue plus célèbre. Cette phrase est souvent citée sans les mots « to see ». Bell les a notés dans son carnet, mais Watson les a omis dans ses notes sur lesquelles il s’est appuyé pour la rédaction de ses mémoires, largement cités.
La question de savoir laquelle des deux villes, de Boston ou de Brantford, pouvait s’enorgueillir de l’invention du téléphone a soulevé une controverse encore plus vive
Selon l’opinion la plus répandue – et consacrée par un important livre sur l’histoire du téléphone, publié en 1985, qui décrit cet appareil comme « la grande invention yankee » –, ce serait Boston. Pour sa part, Bell croyait que les deux villes pouvaient se flatter d’une paternité commune et il s’est maintes fois prononcé sur la question.
À l’occasion d’un banquet donné en son honneur par le Bureau de commerce à Brantford en 1906, il expliqua prudemment que c’est dans cette ville que « l’idée du téléphone, les premières expériences et la solution du problème avaient vu le jour ».
Dans une lettre au Daily Expositor de la même localité en mars 1916, il affirmerait que « Brantford [pouvait] à juste titre se dire “la ville du téléphone” ».
L’année suivante, lors du dévoilement d’un monument en son honneur, il rappellerait que « le téléphone, né à Boston en 1875, a[vait] été conçu à Brantford en 1874 ».

sommaire

Sur le site carnet d'expérimentaion de A.G BELL jour après jour on peut lire les commentaires sur ses recherches qui ont servit à déposer son premier brevet.

Extrait page 40 du NOTEBOOK de Bell


Fin avril 1876
Bell laisse de côté le premier transmetteur à résistance liquide variable et revient à des expérimentations éléctromagnétiques, le concept original. Watson
a construit un ensemble d’instruments dans le magasin de Williams en utilisant du bronze plutôt que du bois et en les polissant comme des miroirs.

Suite du récit de Bell lu dans "Le figuier l'éléctricité"

... Dans ces conditions, au lieu d'articuler ces armatures, je les attachai au centre des membranes, et mon appareil fut alors disposé comme l'indique la figure suivante. »
Dans le second appareil auquel fait allusion M. Graham Bell, le courant électrique était interrompu par les vibrations d'un mince disque de fer, placé en face d'un électro-aimant. La membrane de fer vibrait par la résonnance de la voix, et ses vibrations étaient transmises par le fil de la pile à un appareil vibrant identiquement comme la membrane du transmetteur. Les sons de la voix étaient ainsi fidèlement reproduits. Les figures ci contre représentent cet appareil.
Le transmetteur se compose : d'un électro-aimant, c'est-à-dire d'une lame de fer pur parcouru par un courant électrique, qui lui communique l'aimantation, d'un disque mince de fer placé au fond de l'ouverture du pavillon. Au moyen des vis, on peut tendre plus ou moins la membrane vibrante.
Le récepteur se compose d'un électro-aimant, que les physiciens appellent électro aimant tubulaire. L'aimant a une forme cylindrique, et la bobine de fils parcourue par le courant qui lui communique l'aimantation artificielle, est renfermée à l'intérieur du cylindre. L'armature, de l'élcctro-aimant, c'est-à-dire la pièce de fer attirée par cet aimant, est placée au-dessus du cylindre, et forme comme le couvercle d'une boîte.
Cette dernière disposition de l'électro-aimant rappelle le récepteur du téléphone musical de Philippe Reis.
Ajoutons que le transmetteur pouvait fonctionner comme transmetteur et comme récepteur indifféremment, mais que le récepteur ne pouvait remplir ce double office. En d'autres termes, le transmetteur était réversible, comme on le dit aujourd'hui, mais le récepteur ne l'était pas.
Cet assemblage était assez bizarre, et l'on ne pouvait en espérer rien de bien sérieux. Mais la téléphonie est l'heureuse fille du hasard et de la fortune, et M. Graham Bell expérimentait un peu à l'aventure. Aussi, rien ne saurait donner l'idée de la surprise et de la joie qu'éprouva l'inventeur, lorsque, pour la première fois, le courant électrique traversant ce singulier système, transporta à distance les sons de la voix humaine.

Emetteur ou Transmetteur
Recepteur
Description publiés dans "L'engineering" du 22 décembre 1876. (l'intégral du journal en pdf)


Modèle présenté à l'Exposition du centenaire des Etats-Unis à Philadelphie
en juin 1876


L'émetteur (Reproduction)

Le réepteur (Reproduction)

En tant que juge à l'Exposition du centenaire de 1876 à Philadelphie, Joseph Henry soumit un rapport expliquant le fonctionnement et l'importance de l'invention de Bell. Lui et les autres juges considéraient le téléphone de Bell comme « la plus grande merveille jamais réalisée par le télégraphe ».

Les prototypes se succèdent, l'appareil devient de plus plus performant.

sommaire

Le téléphone n'ayant pas joué un rôle dans son association, Bell n'a probablement pas été impliqué rapidement dans l'accord avec Hubbard et Sanders. Sanders, quant à lui, étant moins frappé par la nouveauté de la télégraphie multiple, a peut-être été plus conscient de l'idée du téléphone. De plus, comme Bell, il a peut-être considéré la transmission électrique de la parole articulée comme une forme de télégraphie.
Résolu après sa soumission à Anthony Pollok, avocat spécialisé en brevets. Bell a conclu que, puisque Sanders et Hubbard avaient fourni les fonds ayant mené à l'invention, le téléphone devait à juste titre relever du partenariat, même s'il ne faisait pas, à proprement parler, partie intégrante du contrat. Ainsi, le 15 septembre 1876, Alexander Graham Bell a exécuté une cession de ses brevets téléphoniques 174 455 et 178 399 à Bell, Sanders et Hubbard. Aucune question ne serait posée ultérieurement concernant les propriétaires légaux du brevet téléphonique de base. La cession du téléphone de Bell plus tôt avait conduit à une erreur presque fatale. Lors d'un de ses séjours réguliers au Canada, Bell avait pris des dispositions pour que George Brown, un voisin, dépose un brevet pour un téléphone en Angleterre. La loi anglaise sur les brevets exigeait qu'aucune publication préalable des spécifications de l'invention n'ait eu lieu. Par conséquent, Bell accepta d'attendre un brevet anglais avant d'en déposer un aux États-Unis, bien qu'il ait déjà terminé son mémoire descriptif pour une telle demande en octobre 1875.
Bell et ses associés attendirent des nouvelles de Brown, qui avait embarqué pour l'Europe fin janvier 1876. Le retard dura jusqu'en février, jusqu'à ce que Gardiner Hubbard, inquiet de perdre sa priorité, prenne l'initiative et donne des instructions. Les avocats de l'Association ont demandé le dépôt du mémoire descriptif auprès de l'Office des brevets des États-Unis. En conséquence, la demande a été déposée le 3 février 1876, à l'insu de Bell et sans son consentement. Plus tard ce même jour, une déclaration d'intention de déposer un brevet a été déposée au nom d'Elisha Gray, qui partageait ses idées sur la téléphonie. L'action de Hubbard a été d'une importance cruciale. Étant donné que la demande de Bell s'est avérée plus coûteuse que la mise en garde de Gray, toute ingérence déposée contre Bell a été rapidement dissoute, ouvrant ainsi la voie à la délivrance d'un brevet.
C'est ce brevet, 174465, qui a conféré au téléphone de Bell son existence légale. Le brevet et les revendications de priorité de Bell sur son invention seraient contestés ; mais en attendant qu'elles soient maintenues, les intérêts de Bell étaient en possession d'un brevet légal leur accordant le contrôle exclusif et la disposition du téléphone. Si ce dernier avait été initialement suspendu et contraint de se soumettre à de longues procédures judiciaires, il aurait été difficile, voire impossible, pour les intéressés de Bell d'obtenir un soutien financier pour se battre, voire pour démarrer leur activité téléphonique. Pendant un tel intérim, ils auraient été à la merci d'intérêts hostiles plus puissants. une émission de télégrammes et donc la décision de Hubbard de soumettre la demande au moment opportun.

Ainsi, au printemps 1876, Bell percevait à nouveau un revenu décent et commençait à rembourser les sommes que des amis lui avaient prêtées.

sommaire

5 mai 1876 Lettre d'Alexander Graham Bell à Alexander Melville Bell et Eliza Symonds Bell,
Correspondance familiale - Bell, Alexander Graham, 1876 Documents de la famille Alexander Graham Bell, Division des manuscrits, Bibliothèque du Congrès

le 10 Mai 1876 Bell réalise une conférence devant l'Américan and Sciences de Boston à l'Athenaeum




C'est l'entousiasme.



Bell lit un article intitulé "Researches in Telephony" devant l'Académie américaine des arts et des sciences à Boston.

M. Graham Bell avait établi le transmetteur de son appareil dans une salle de l'Université de Boston servant à des conférences, et il se tenait près de ce transmetteur. Le récepteur était disposé dans une pièce située à i'élage au-dessous, et un élève écoutait ou parlait dans le récepteur.
M. Graham Bell ayant prononcé ces mots devant le transmetteur : « Comprenez-vous ce que je dis », il crut rêver lorsqu'il entendit, à travers l'instrument, cette bienheureuse réponse, un peu confuse, un peu voilée sans doute, mais enfin perceptible : « Je vous comprends ».
Quelques jours plus tard une démonstration est réalisée au MIT avec le même succès.

Le 10 mai 1876, à la demande de ses amis, il lut un exposé intitulé « Recherches en téléphonie » devant les membres de l'Académie américaine des arts et des sciences. Il y évoqua les inventions de Gray et Reis, ainsi que les découvertes de Page, Marrian, Beatson, Gassiot, De la Rive, Matteucci, Guillemin, Wertheim, Wartmann, Janniar, , Laborde, Legat, Poggendorff, DuMoncel, Delezenne, Ferguson, Paul la Cour, Helmholtz, Gore, Sullivan et d'autres, en reconnaissant à chacun leur mérite. Il décrivit ensuite son courant ondulatoire et son téléphone électrique parlant, pour lesquels des lettres de brevet avaient été accordées, et expliqua clairement à ses auditeurs que l'essentiel de ce problème ne résidait pas dans la conception d'une forme précise d'instrument ou de tube, ni dans la création d'un appareil possédant des particularités structurelles précises, ni dans la combinaison d'un certain nombre de pièces en un tout fonctionnel. Il s'agissait de faire circuler le courant électrique de telle sorte que le récepteur ne reproduise pas seulement quelques-unes, la majorité ou presque toutes les paroles prononcées qui frappent le diaphragme de l'émetteur sous forme d'ondes sonores, mais reproduise toutes et chacune des variations dans les articulations, le volume, la hauteur et la qualité, avec toutes leurs caractéristiques variables, qu'elles soient exprimées dans le plus léger murmure, dans la voix douce de la femme cultivée, dans les phrases rondes et sonores du professeur digne, ou dans les remarques rapides et abruptes de l'homme d'affaires.

A dater de ce moment le problème de la transmission de la parole par le courant électrique était résolu.
Nous sommes en Amérique, et dans ce pays les savants qui se livrent à des recherches nouvelles ont deux objectifs, qui se succèdent dans un ordre méthodique : 1° la découverte, 2° son exploitation industrielle, assurée au moyen d'un brevet d'invention.
M. Graham Bell, en construisant son téléphone à pile, dans lequel une membrane de fer vibrait à l'égal de la voix et transmettait fidèlement ces vibrations à un appareil semblable, placé à une station éloignée, avait réalisé la première partie du programme. La seconde ne se fit pas attendre.

Le 25 MAI 1876 Bell donne une conférence téléphonique devant la Société of Arts, Massachusetts Institute of Technology, Boston.

sommaire

Le téléphone va prendre son essor avec l'Exposition du centenaire de Philadelphie.

L'Exposition internationale des arts, manufactures et produits du sol et des mines était la sixième Exposition universelle et la première aux États-Unis. Elle commémorait le centenaire de la République et se tenait à juste titre à Philadelphie, l'un des berceaux de la liberté. Par conséquent, la foire était populairement connue sous le nom d'Exposition du Centenaire. Elle était composée de 200 bâtiments et de 236 acres clos destinés à l'exposition.
L'exposition était ouverte de mai à novembre 1866 ; et avant sa fermeture, environ 9 910 966 visiteurs ont parcouru son parc, visité ses nombreuses expositions et dégusté ses restaurants étrangers.
L'exposition avait pour but de présenter les nombreuses merveilles scientifiques, mécaniques et culturelles de l'époque. Le téléphone de Bell répondait certainement à cette exigence générale et avait le droit d'être exposé à Philadelphie, mais il a failli ne pas l'être. Bell était réticent à exposer ses inventions au Centenaire. Cependant, sur l'insistance de Gardiner Hubbard, membre du comité nommé par le Conseil de l'éducation du Massachusetts pour planifier l'exposition pour le Département de l'éducation et des sciences, il a cédé et a fait expédier ses instruments à Philadelphie. Hubbard commença alors à insister pour que Bell soit présent à Philadelphie afin d'assurer le succès d'une démonstration de matériel électrique et connexe qui devait être donnée en juin aux juges de la Foire. Bell se rétracta, prétextant que ses fonctions d'enseignant empêchaient une telle présence. Hubbard se tourna vers sa fille Mabel pour obtenir de l'aide. En tant que fiancée de Bell, elle disposait de moyens de persuasion dont son père ne disposait pas.
Mabel demanda à Alex (Bell) de l'accompagner jusqu'à la gare. Apparemment, elle n'avait aucune intention de partir pour Philadelphie, mais cherchait simplement à profiter de l'occasion pour épuiser la résistance de Bell. Il accepta de se joindre à lui. Peut-être sceptique quant à ses motivations, il lui rappela qu'il était inutile d'essayer de le faire changer d'avis. Il ne pouvait pas aller à Philadelphie.
Quand ils arrivèrent à la gare et qu'il vit sa pâleur et son anxiété, Bell ne put plus résister à ses nombreuses tentatives d'y aller. De plus, elle profitait d'un avantage de fête foraine. « Qui peut supporter de voir une jeune fille pleurer ? ». Alors que le train démarrait, Bell sauta à bord sans billet ni bagages.
Bell avait tellement tardé à l'exposer que lorsque son successeur et principal facteur d'instruments, Thomas Watson, acheva un ensemble spécial d'instruments, il était trop tard pour obtenir une place dans l'exposition électrique habituelle. Mais cela ne constitua pas un obstacle majeur, car Gardiner Hubbard, en sa qualité de responsable de la Foire, prit les dispositions nécessaires pour les exposer dans l'exposition pédagogique. À son arrivée à Philadelphie, Bell apprit cette complication. Hubbard suggéra que les instruments pourraient être introduits clandestinement sans trop de difficultés. Bell se sentit mal à l'aise et eut envie de retourner à Boston. Il a décidé que s'il ne pouvait pas faire entrer ces instruments ouvertement dans le couple, il ne les exposerait pas du tout : « Si je découvre que je dois faire entrer mes instruments en contrebande, je reviendrai immédiatement et je renoncerai à tout. » Le poids de la culpabilité devint si lourd que Bell alla voir Hubbard et lui fit part de ses sentiments. Il a expliqué qu'il souhaitait renouveler une demande d'espace d'exposition et qu'à défaut d'approbation, il retournerait à Boston. De plus, « J'ai dit que je ne voulais pas qu'il exerce cette influence simplement parce qu'il se sentait personnellement intéressé par moi et que je ne voulais pas faire semblant d'avoir quoi que ce soit à cacher aux juges. » Hubbard a rassuré son scrupuleux partenaire : il n'était pas nécessaire de dissimuler les instruments, ni de les faire entrer clandestinement, puisqu'il avait déjà obtenu un permis pour Bell. Il a informé Bell qu'il agirait de la sorte pour quiconque lui appartiendrait. souhaitait faire pour lui. Comme preuve supplémentaire de la légitimité de ses actions (et peut-être pour présenter à Bell un fait accompli), Hubbard apporta un catalogue répertoriant le nom de Bell et décrivant ses expositions. Bell était satisfait.
Une fois de plus, Hubbard avait défendu son point de vue contre celui de Bell, ce qui avait eu des conséquences importantes pour le téléphone.
Hubbard s'employait également à guider et à influencer d'autres développements liés au Démonstration téléphonique. À son arrivée à Philadelphie, il conseilla à Bell de se rendre à l'hôtel Grand Villa, car plusieurs juges du département d'électricité y étaient logés. En conséquence, Bell fut présenté au général H. K. Oliver et au professeur James C. Watson, et des dispositions furent prises pour qu'il rencontre Sir William Thomson, un éminent expert en électricité et juge le plus éminent du département.

Le 21 juin, Bell se présenta à Sir William alors que ce dernier examinait l'appareil téléphonique d'Elisha Gray. Thomson exprima son intérêt pour l'invention de Bell et souhaita la voir dès qu'il en aurait terminé avec Gray. Cependant, il fut tellement absorbé par l'invention qu'il fut contraint de reporter l'avant-première. Il a déclaré qu'il serait présent dans la salle d'exposition dimanche pour voir les instruments de Gray, et qu'il apprécierait que Bell les expose ensuite. En fait, Hubbard avait déjà organisé la démonstration du téléphone de Bell le dimanche 25 juin, devant Sir William, Dom Pedro (le porte-parole du Brésil) et les autres juges, immédiatement après l'inspection des instruments de Gray. Bell était mécontent du timing de la manifestation, estimant qu'elle donnerait l'impression d'une confrontation directe avec son rival, l'inventeur Elisha Gray. Ce n'était pas souhaitable à ce moment-là, car Bell n'était pas suffisamment préparé. Il lui manquait l'aide et la batterie nécessaires pour assurer son succès. Cependant, il possédait la théorie qui, il en était sûr, le soutiendrait. S'il pouvait seulement transmettre des sons vocaux, il serait assuré d'être remarqué. Au moins, il avait le lien de nationalité écossaise avec Thomson, ce que Gray n'avait pas, et cela pourrait lui être bénéfique.

À l'approche du test, les problèmes de Bell furent progressivement résolus. Il fit la connaissance d'un exposant d'orgues qui proposa de réparer l'une des instruments endommagés. L'Atlantic and Pacific Telegraph Company proposa de fournir autant d'énergie que nécessaire, compensant ainsi l'avantage dont Gray bénéficiait grâce à son association avec la Western Union. Gardiner Hubbard, bien que fatigué par la chaleur et ses efforts pour l'exposition de Bell, prit des dispositions pour obtenir une assistance avant de partir pour Cambridge. Les chances de Bell d'affronter Gray avec succès étaient désormais grandement améliorées.
Le 25 juin fut choisi comme jour d'examen des expositions électriques, car c'était un dimanche et la Foire était fermée au public. Les juges seraient ainsi libérés des foules en se déplaçant d'une exposition à l'autre, et la salle d'exposition serait également plus calme. Malgré leur relative liberté de déplacement, les juges disposaient encore d'un grand nombre d'expositions à visiter, et la chaleur qui avait contraint Gardiner Hubbard à se retirer persistait et allait s'abattre sur les juges.
Bell les suivit pendant leur tournée. Ils arrivèrent finalement à l'exposition d'Elisha Gray, bien visible près de l'une des allées principales, avec celle de la Western Electric Company. Elle comprenait un appareil de transmission de sons musicaux que Gray décrivait également comme un téléphone. Son principe n’était pas le même que celui du téléphone de Bell (courant ondulatoire) mais plutôt celui de son télégraphe harmonique (courant de rupture). Bell a trouvé la discussion de Gray intéressante, mais apparemment interminable. Lorsque Gray a finalement terminé, les juges ont décidé de reporter les examens ultérieurs des appareils électriques à un autre jour. Ils avaient décidé de ne pas procéder à l'exposition suivante, celle de Bell.
Pendant un instant, il a semblé que tout ce temps, tous ces efforts et toute cette planification avaient été vains. Bell était resté à Philadelphie le plus longtemps possible.
Ses fonctions d'enseignant à Boston ne pouvaient plus être ignorées. Il voulut quitter les lieux immédiatement.
Sans sa présence pour superviser la démonstration, ses chances de succès auraient été considérablement réduites. Bell estimait que la décision de reporter la présentation de ses téléphones signifiait que les juges ne les verraient jamais. C'est justement à ce moment-là que la défaite, le hasard, ou plus probablement le résultat d'une bonne planification, est intervenu et a sauvé la mise pour Bell et son téléphone. Hubbard avait bien choisi le jour où Bell devait faire sa démonstration, car elle devait se dérouler non seulement devant Sir William Thomson, mais aussi devant l'empereur du Brésil.
Dom Pedro avait visité Boston au début du mois et, à la demande de Bell, il avait visité l'école Horace Mann, où l'on apprenait à parler aux sourds-muets. C'est là qu'il rencontra Bell pour la première fois.
Alors que les juges commençaient à se disperser devant l'exposition de Gray, Dom Pedro s'approcha de Bell, qu'il avait reconnu dans la foule pendant le procès. Il salua Bell et l'interrogea sur les sourds-muets de Boston. Bell m'a répondu qu'ils s'en sortaient bien et je lui ai dit que j'avais une invention électrique que je voulais montrer au jury et que c'était le prochain sujet au programme. L'Empereur m'a alors pris le bras et nous sommes partis ensemble, suivis par le jury et la foule.
Alors que le groupe se dirigeait vers une salle annexe de l'une des galeries faisant partie de l'exposition éducative des Massachusetts Institute of Technology où étaient exposés les instruments de Bell, Bell expliqua que ce télégraphe harmonique pouvait être exploité à moindre coût que celui de Gray.
Lors de l'exposition, Bell fit la première démonstration de son télégraphe harmonique. Sir William et Dom Pedro réussirent à transmettre deux signaux simultanément. Ce fut le premier triomphe de Bell sur Gray, car ce dernier avait échoué dans une expérience similaire avec ses instruments. Puis Bell expliqua la théorie sur laquelle reposait le téléphone parlant et « proposa de tester la transmission de la voix humaine », même si, comme il le fit remarquer rapidement, le téléphone était encore « une invention embryonnaire ».
Bell se dirigea vers une extrémité de la galerie jusqu'à l'émetteur, qui se trouvait à environ 300 mètres du groupe de juges assis autour d'une table contenant le récepteur. Il commença à parler. Selon William Hubbard, que Bell avait envoyé à la réception pour vérifier le succès du test,
Il commença à parler. D'après William Hubbard, que Bell avait envoyé à la réception pour vérifier le succès du test, Sir William, reconnaissant la voix de l'orateur, se mit à parler et répéta : « Comprenez-vous ce que je dis ? » Bell venait de commencer à formuler cette question par téléphone. Sir William écouta à nouveau et répéta la question de Bell. Il se précipita alors vers l'émetteur et d'abord sur Bell qui criait encore dans l'instrument : « Comprends-tu ce que je dis ? » Thomson demanda à Bell de chanter ou de réciter au téléphone. il écouta et confirma de nouveau la transmission en répétant la récitation de Bell sur la mort de Hamlet : « Être ou ne pas être ». Le public répondit à ces récits par des acclamations et des applaudissements. Dom Pedro s'est alors tourné vers le récepteur. Il était tout aussi étonné que Thomson de découvrir ce qui était émis par l'instrument lorsqu'il l'a placé à son écoute. Il sauta de son siège en criant : « Mon Dieu, mais ça parle ! » Il écouta et répéta les mots avec stupéfaction et ravissement. Lorsqu'il eut terminé, le récepteur fut transmis aux autres membres du groupe, qui écoutèrent à leur tour.
Elish a Gray, le rival de Bell en télégraphie phonique et futur compositeur de téléphonie, faisait partie de ceux qui ont eu l'occasion d'écouter l'instrument de Bell. Il a écouté attentivement et a entendu un son faible et fantomatique. Il s'est souvenu plus tard : « J'ai finalement cru saisir les mots : "Oui, c'est là le hic." Je me suis tourné vers le public, répétant ces mots, et ils ont applaudi.
Quelque temps après le test, Bell et Gray ont discuté de points litigieux entre eux et ont décidé que cela pourrait être amer. « Ou bien, pour unir leurs intérêts télégraphiques afin de promouvoir la bonne fortune et la prospérité des deux.»
Sir William décida d'ajouter quelques éléments supplémentaires et le téléphone fut retiré le lendemain de l'exposition pédagogique au Pavillon des Juges. Des expériences furent menées le soir, après le départ des deux visiteurs. Bell n'était pas présent, car il était déjà parti pour Boston et ses fonctions d'enseignant, mais il apprit leur succès par un télégramme de William Hubbard : " Sir William est entièrement satisfait des expériences — jamais aussi réussies — et un grand nombre de phrases ont été comprises".
M. Thomson et le professeur Watson étaient convaincus que Bell avait fait une découverte merveilleuse et croyaient que son développement complet suivrait dans un avenir proche.

Jusqu'à la fin du printemps 1876, Gray employa aussi toute son énergie à développer son système de télégraphie multiplex en prévision de l'Exposition du Centenaire.
Ses projets pour cette exposition étaient d'une telle ampleur qu'en avril, il construisit une ligne télégraphique spéciale entre Philadelphie et New York sur les poteaux des Chemins de Fer de Pennsylvanie. Cette ligne devait servir à la démonstration du télégraphe multiplex.
L'Exposition du Centenaire marquerait le point culminant des travaux de Gray sur la télégraphie multiplex ; Gray voulait faire la preuve de ses compétences devant toutes les autorités nationales de la télégraphie.
Il effectua sa démontration en présence du jury le dernier samedi de juin. La possibilité de transmettre simultanément huit messages sur un seul fil étonna beaucoup les juges, mais c'est à l'invention d'Alexander Graham Bell, le téléphone électromagnétique, que devaient aller finalement leurs éloges. Gray assista à la démonstration de Bell, qui réussit à transmettre avec succès une partie du monologue d'Hamlet.
Après cela, Gray écrivit à son conseiller en brevet pour lui demander une copie de son caveat.
Dès la réception du document, Gray chargea son fabricant d'instruments Williams Goodridge de construire un transmetteur analogue à celui décrit dans le caveat. Goodridge exécuta ce transmetteur en juillet 1876 et l'expérimenta à l'exposition en liaison avec un des transmetteur de Gray.
Les expériences échouèrent, mais il est important de noter que c'était la première fois que Gray tentait de traduire concrètement ses anciennes idées sur la transmission de la voix. Et cette tentative venait après qu'il eut assisté à une démonstration réussie de Bell.
Pour la petite histoire : Elisha Gray, essaya le téléphone de Bell peu après. Il fut donc un des premiers utilisateur du téléphone qu'il n'avait pas réussir à fabriquer.
Le soir même il rencontra Bell à son hôtel et lui proposa une alliance, qui sera sans suite, pour éviter que leurs inventions ne tombent sous l'empire de la Western Union.

La nouvelle de ces essais réussis a circulé librement, et peu de temps après, Elisha Gray a rendu visite à Watson et l'a interrogé à leur sujet.
Gray a ensuite estimé que les juges avaient été trompés, que les transmissions avaient été effectuées par contact métallique à travers le fil plutôt que par un courant ondulatoire. Qu'il ait en outre affirmé que de tels résultats étaient théoriquement impossibles, comme l'a affirmé le professeur Wadson, ou que les résultats étaient impossibles au vu de l'explication des expériences de Bell, comme l'a soutenu Selon George B. Prescott, Gray préparait les bases de sa dernière affirmation selon laquelle il avait anticipé Bell dans l'invention du téléphone.
Malgré les avertissements de Gray, les juges étaient convaincus de la validité des affirmations de Bell, et Sir William Thomson en fit état. Par conséquent, Alexander Graham Bell a reçu un certificat d'attribution (27 septembre 1876) pour son téléphone électrique et son télégraphe multiple. Dans le « Rapport sur les attributions » (26 décembre 1876) qui accompagnait l'attribution, Sir William a écrit que lui et les autres juges avaient été à la fois étonnés et ravis de la transmission électrique de la parole qu'ils avaient vérifiés par leurs propres oreilles.
Le téléphone de Bell avait obtenu un résultat transcendantal et intéressant. Thomson conclut :
Cette transmission électrique de la parole, peut-être la plus grande merveille jamais réalisée par la télégraphie électrique, a été obtenue par des appareils simples et rudimentaires. Avec des plans un peu plus avancés et des appareils plus puissants, nous pouvons espérer avec confiance que Hr. Fell nous donnera les moyens de rendre la voix et les mots audibles grâce au fil électrique jusqu'à une oreille distante de plusieurs centaines de kilomètres.

Avant de s'embarquer pour l'Angleterre, Sir William Thomson est passé par Boston et Bell lui a donné un ensemble de téléphones comme ceux qu'il avait vus à Philadelphie, c'est à ce moment que commence l'aventure du téléphone en Europe. L'année du Centenaire se termina sur la même note.
Bien que l'exposition du centenaire sur le téléphone ne semble avoir apporté aucun bénéfice direct et immédiat aux intérêts de Bell, elle a retenu l'attention et l'intérêt de Sir William Thomson, qui, à son retour des États-Unis, a évoqué le téléphone lors du discours d'ouverture de la réunion annuelle de l'Association britannique pour le progrès de la science. Cette adresse a été publiée dans la revue scientifique britannique Nature le 14 septembre 1876, puis onze jours plus tard dans le Boston Daily Advertiser.

Dans de vieux livres, voici comment est raccontée une partie de cette fabuleuse histoire :

Comme si les étoiles de leurs cours travaillaient pour ce jeune magicien du fil parlant, l'Exposition du Centenaire de Philadelphie ouvrit ses portes exactement deux mois après que le téléphone eut appris à parler.
C'était une occasion exceptionnelle de faire connaître au monde entier ce qui avait été accompli, et heureusement, Hubbard était l'un des commissaires du Centenaire. Grâce à son influence, une petite table fut installée au Département de l'Éducation, dans un espace étroit entre un escalier et un mur, et sur cette table fut déposé le premier des téléphones.

Bell n'avait aucune intention d'aller lui-même au Centenaire. Il était trop pauvre. Sanders et Hubbard n'avaient jamais fait plus que payer son loyer et le coût de ses expériences. Après trois ou quatre années d'invention, il n'avait encore rien reçu – rien que son brevet.
Pour survivre, il avait été contraint de réorganiser ses cours et de se remettre sur pied dans sa profession négligée par ses recherches.
Mais un vendredi après-midi, vers la fin juin, sa bien-aimée, Mabel Hubbard, prenait le train pour le Centenaire ; il se rendit à la gare pour lui dire au revoir. C'est là que Mlle Hubbard apprit pour la première fois que Bell ne partirait pas.
Elle tenta de le convaincre et de le supplier, sans succès. Puis, alors que le train démarrait, laissant Bell sur le quai, la jeune fille affectueuse ne put plus se contrôler et fut prise d'une violente crise de larmes. À ces mots, Bell, sensible, tel un véritable Sir Galahad, se précipita à la suite du train en marche et sauta à bord, sans billet ni bagage, oubliant sa classe sociale, sa pauvreté et tout le reste, sauf la détresse de cette jeune fille. « Je n'ai jamais vu un homme aussi amoureux que Bell », dit Watson.
Il se trouve que cette visite impromptue au Centenaire s'avéra être l'un des actes les plus opportuns de sa vie.

Le dimanche après-midi suivant, les juges devaient effectuer une visite d'inspection spéciale, et M. Hubbard, après bien des difficultés, avait obtenu la promesse qu'ils consacreraient quelques minutes à l'examen du téléphone de Bell. À ce moment-là, il était exposé depuis plus de six semaines, sans attirer l'attention de quiconque.
Le dimanche après-midi, Bell était à sa petite table, nerveux et pourtant confiant. Mais les heures passèrent sans que les juges n'arrivent.
La journée était d'une chaleur intense et ils avaient de nombreuses merveilles à examiner. Il y avait la première lumière électrique, la première lieuse à grains, le télégraphe musical d'Elisha Gray et la merveilleuse exposition de télégraphes d'impression présentée par la Western Union Company.
Lorsqu'ils arrivèrent à la table de Bell, à travers un fouillis de pupitres et de tableaux noirs, il était 19 heures, et tous les hommes du groupe avaient chaud, étaient fatigués et affamés. Plusieurs annoncèrent leur intention de rentrer à leur hôtel.
L'un d'eux prit un combiné téléphonique, le regarda d'un air absent, puis le reposa. Il ne le porta même pas à son oreille.
Un autre juge fit une remarque désobligeante qui déclencha un rire aux dépens de Bell. Puis se produisit un événement des plus merveilleux – un incident qui ferait un chapitre des « Divertissements des Mille et Une Nuits ».

Accompagné de son épouse, l'impératrice Thérèse, et d'une assemblée de courtisans, l'empereur du Brésil, Dom Pedro de Alcantara, entra dans la salle, s'avança, les mains tendues, vers Bell, déconcerté, et s'exclama : « Professeur Bell, je suis ravi de vous revoir. »
Les juges oublièrent aussitôt la chaleur, la fatigue et la faim. Qui était ce jeune inventeur, au teint pâle et aux yeux noirs, pour être l'ami des empereurs ?
Ils ignoraient, et Bell lui-même l'avait oublié sur le moment, que Dom Pedro avait autrefois visité sa classe de sourds-muets à l'université de Boston. Il s'intéressait particulièrement à ce type d'œuvre humanitaire et avait récemment contribué à l'organisation de la première école brésilienne pour sourds-muets à Rio de Janeiro.
Ainsi, avec Dom Pedro, grand et blond, au centre, les juges et les scientifiques – ils étaient une cinquantaine au total – se lancèrent avec un enthousiasme inhabituel dans les débats de cette première exposition téléphonique.

Un fil avait été tendu d'un bout à l'autre de la pièce, et tandis que Bell se dirigeait vers l'émetteur, Dom Pedro prit le récepteur et le porta à son oreille. L'attente fut intense. Personne ne savait vraiment ce qui allait se passer, lorsque l'Empereur, d'un geste théâtral, leva la tête du récepteur et s'exclama, l'air stupéfait : « Mon Dieu, il parle ! »
Puis vint au récepteur le plus ancien scientifique du groupe, le vénérable Joseph Henry, dont les encouragements à Bell étaient si opportuns. Il s'arrêta pour écouter et, comme le dit plus tard l'un des spectateurs, personne ne pouvait oublier l'expression de crainte qui se lut sur son visage en entendant ce disque de fer parler d'une voix humaine. « Ceci », dit-il, « est plus près de renverser la doctrine de la conservation de l'énergie que tout ce que j'ai jamais vu. »
Puis vint Sir William Thomson, plus tard connu sous le nom de Lord Kelvin. Sa présence était tout à fait appropriée, car il était le plus grand électricien du monde à l'époque et avait été l'ingénieur du premier câble transatlantique. Il écouta et apprit ce qu'il ignorait lui-même : un corps métallique solide pouvait capter de l'air toutes les innombrables vibrations produites par la parole, et que ces vibrations pouvaient être transportées le long d'un fil et reproduites à l'identique par un second corps métallique. Il hocha solennellement la tête en se levant du combiné. « Ça parle », dit-il avec emphase. « C'est la chose la plus merveilleuse que j'aie jamais vue en Amérique.

Ainsi, l'un après l'autre, ce groupe d'hommes remarquables écoutèrent la voix du premier téléphone, et plus ils en savaient sur la science, moins ils étaient enclins à en croire leurs oreilles. Plus ils étaient savants, plus ils s'interrogeaient. Pour Henry et Thomson, les maîtres de la magie électrique, cet instrument était aussi surprenant que pour le commun des mortels. Et tous deux eurent la noblesse d'avouer franchement leur étonnement dans les rapports qu'ils rédigèrent en tant que juges, lorsqu'ils décernèrent à Bell un certificat de récompense. « M. Bell a obtenu un résultat d'un intérêt scientifique transcendant », écrivit Sir William Thomson. « Je l'ai entendu prononcer distinctement plusieurs phrases… J'étais stupéfait et ravi… C'est la plus grande merveille jamais réalisée par le télégraphe électrique. »

Jusqu'à près de 22 heures ce soir-là, les juges discutèrent et écoutèrent tour à tour au téléphone.
Puis, le lendemain matin, ils apportèrent l'appareil au pavillon des juges, où, pendant le reste de l'été, il fut pris d'assaut par les juges et les scientifiques. Sir William Thomson et sa femme couraient d'un bout à l'autre du fil, comme des enfants ravis.
C'est ainsi que ce petit instrument rudimentaire, jeté dans un coin perdu, devint la vedette du Centenaire. Il ne figurait que dix-huit mots dans le catalogue officiel, et là, il était acclamé comme la merveille des merveilles. Il avait été conçu dans une cave et né dans un atelier d'usinage ; et maintenant, de tous les cadeaux que notre jeune république américaine avait reçus pour son centième anniversaire, le téléphone était honoré comme le plus rare et le plus apprécié de tous.

Le retard dans l'attribution du Prix du Centenaire est en partie dû à la procrastination de Bell à renvoyer les documents nécessaires au Bureau des Prix lors du Centenaire. Le public a donc dû attendre plusieurs mois avant d'apprendre la réaction enthousiaste de Thomson au téléphone. Cela explique peut-être pourquoi le téléphone de Bell a attiré si peu l'attention de la presse pendant les semaines qui ont suivi l'exposition et la démonstration.
L'un des rares journaux à avoir mentionné le téléphone était le Boston Evening. Il décrit l'appareil téléphonique de Bell pour la transmission de sons musicaux et articulaires par télégraphe et commente brièvement : « Les expériences ont été très intéressantes et satisfaisantes quant à leurs résultats. » En effet, outre la grande excitation des juges, il semble que l'événement téléphonique soit passé inaperçu auprès du public visiteur, tout comme la presse.

En juin 1876 , Gray avait vu fonctionner le téléphone électromagnétique de Bell et, en juillet, il avait essayé le transmetteur à résistance variable décrit dans son caveat. Mais, au lieu de poursuivre ces expériences, il continua à améliorer son télégraphe multiplex.
William Orton et la Western Union n'étaient pas à la recherche d'un téléphone et ils continuaient à négocier avec Gray l'achat de son système de télégraphie multiplex.
Dans le Sientifc Américain il est dit : Inventions brevetées en Angleterre par Derlcans début juillet 1876 :
From July 4 to July 28, 1876, inclusive. ACOUSTIC TELEGRAPH . -T . A. Edison, Menlo Park, N. J.

sommaire

Sir William Thomson écrit à un journal de Londres : " je viens de trouver à l'Exposition la merveille des merveilles en télégraphie ".

Joseph Henry a continué d'appuyer les efforts de Bell pour développer le téléphone. et dans son rôle de juge à l'exposition du centenaire de 1876 à Philadelphie, Henry soumit un rapport "Alexander Graham Bell en 1876". Archives de la Smithsonian Institution (nég. N ° 9823-C ou SIA2012-1090).
Les témoignages de Henry et d'autres scientifiques éminents ont aidé à établir la crédibilité de Bell à un moment où sa situation financière était précaire.

Pendant le reste de l'année 1876, après l'essai du Centenaire, Alexander Graham Bell poursuivit ses expériences électriques. La transmission vocale réussie lors de la démonstration du Centenaire le persuada que le téléphone pouvait être mis en pratique, et Bell concentra donc ses efforts pour tenter de découvrir la meilleure construction de téléphone pour une utilisation à plus longue distance. Il quitta alors son laboratoire, où il n'avait simulé que des conditions de longue distance, pour des tests sur de véritables lignes télégraphiques.
Le premier de ces nouveaux tests eut lieu début juillet, lorsque Bell fit parler sa fiancée Mabel Hubbard sur une boucle télégraphique reliant Boston à Rye Beach, dans le Hampshire actuel, et retour à Boston. L'expérience ne fut que partiellement réussie. Bell reconnaissait la voix de Mabel, mais était incapable de la comprendre. Il entendait un jeune homme poser des questions articulées et chanter par-dessus la ligne. Néanmoins, Mabel se réjouissait d'avoir été la première personne humaine dont la voix traversait un véritable fil télégraphique.

Bell a poursuivi ses essais en conditions réelles sur le terrain les 9 et 12 juillet. Au cours de cette série d'essais, Bell réussit à transmettre plusieurs sons à New York au moyen d'un orgue à impulsion. Il tenta également de communiquer par la parole sur une boucle entre Boston et New York, mais sans succès. À la fin de cette série d'essais, Bell présenta les téléphones à Sir William Thomson, qui avait assisté à l'entretien. Ce sont ces mêmes instruments que Thomson a utilisés dans son discours à l'Association britannique pour l'avancement des sciences qui ont valu à Bell une telle publicité.
La réaction du Boston Traveler, en rapportant ces tests, était pleine d'optimisme quant à l'avenir des instruments. Il se demandait pourquoi les concerts ne pouvaient pas avoir lieu à Paris et être entendus et appréciés au Boston Music Hall. De plus, avec la perfection du téléphone parlant, pourquoi ne pourrait-il pas y avoir « des hommes distingués prononçant des discours à Washington, New York ou Londres, et un public rassemblé au Music Hall ou au Faneuil Hall pour les écouter ? »
La série suivante de tests significatifs pour le téléphone a eu lieu pendant que Bell était en vacances dans la résidence familiale de Bantford, au Canada. Au cours de ces essais, Bell réalisa plusieurs « premières » pour le téléphone, d'une importance scientifique et commerciale.
A Brandford Bell imagine qu'il serait mieux de faire une communication un peu plus longue que entre deux pièces, et comme réaliser soit même une ligne pour une expérience serait trop couteuse, il en profite pofite pour écrire à Toronto au directeur de Dominion Telegraph Thomas Swinyard, pour louer penant une heure la ligne télégraphique entre Brandford et Paris dans Ontariosur sur des lignes télégraphiques de 8 km et 68 km de long.
La permission d'utiliser cette ligne télégraphique a été accordée par Lewis B. McFarlane, un responsable télégraphique, qui adoptera une activité téléphonique en 1879, il deviendra président de la Compagnie de téléphone Bell du Canada de 1915 à 1925.
Swinyard s'exclama " encore une tête brulée ", et ajouta à l'intention du directeur de bureau de Toronto Lewis McFarlane : "à classer au paniers" . McFarlane finit par convaicre Swinyard et apporta le concours de Dominion Telegraph pour l'expérience.
Bell se servit donc d’une ligne de la Compagnie de télégraphe, qu’il brancha à la maison de son père avec du fil métallique servant à consolider les tuyaux de poêle.
Le 3 août 1876 , Bell réussit à transmettre trois voix simultanément sur un fil tendu d'une dépendance à la véranda. Bell avec deux de ses cousins a chanté les trois parties de « Bishop’s Glees ». Il explique son importance :
L’expérience est extrêmement importante car elle montre qu’avec le courant ondulatoire, un seul instrument de transmission a suffit pour un nombre quelconque de messages simultanés, tandis qu’avec le courant intermittent, il faut un instrument distinct pour chaque message envoyé. En fait, la méthode de transmission électrique ondulatoire de Bell était supérieure au système de transmission par courant continu existant actuellement utilisé dans les communications électriques.
Plus tôt le même jour, Bell avait connecté un émetteur au bureau de Brantford de la Dominion Telegraph Company avec un récepteur à Mount Pleasant, à cinq milles de là. Osant le test, Bell entendit son oncle David réciter et chanter, ainsi que plusieurs autres orateurs. Les voix étaient reconnaissables et les mots occasionnels étaient parfaitement compris.

Le premier appel interurbain au monde, depuis le magasin général de Wallace Ellis à Mount Pleasant jusqu’à Tutelo Heights, à quatre milles de là. Trois autres essais sont faits de Brandford et Mount Pleasant à 5 km, on récite des tirades, on chante .... tout marche.

Bell utilisait les fils télégraphiques de la Dominion Telegraph Company entre son bureau de Brantford et le bureau à Paris (canada).
Comme la puissance de la batterie disponible à Brantford était trop faible pour les téléphones à membrane de Bell, la Dominion Telegraph Company lui fourni l'énergie à partir de Hamilton et de Toronto, en Ontario. Bell a branché son téléphone émétteur à membrane aux fils du bureau de Brantford, puis, le récepteur (sorte de boîte en fer) au bureau de Paris.
Bell pouvait entendre les voix de Brantford en grâce aux bobines électromagnétiques à haute résistance sur chaque extrémité de la ligne, les sons étaient transmis et reçus si distinctement que Bell pouvait reconnaître les voix des haut-parleurs.
Le maire et tout le village écoutent pendant une heure Macbeth, puis l'heure de fin convenue arriva, et ils refusaient de quitter le bureau, il fallu télégraphier à la Dominion Telegraph Company pour demander une ralonge de temps sinon les fils auraient été débranchés.
Le soir du 10 août , lors d'un dîner au champagne en l'honneur de son oncle David, un récepteur a été placé à Paris, à huit kilomètres de Brantford, et Bell a été capable d'entendre des voix claires et fortes.
Il a même pu reconnaître la voix de son père, qui n'était pas prévu. Plus tard, Bell a cru que c'était la première fois que des mots et des phrases prononcés à un endroit étaient transmis électriquement et reproduits avec succès à un autre endroit, à plusieurs kilomètres de là.
Les voix, la musique et les chansons venant de la maison des Bell parvinrent jusqu’à la foule assemblée dans le magasin de chaussures de Robert White. Grâce à cet essai qui, selon le Daily Expositor, « ravit et informa l’auditoire », Bell attira encore l’attention sur lui et eut droit à un article dans le Scientific American de New York, qui paru le
09 septembre 1876, et publié dans le monde entier.
L'article consacré au téléphone de Bell, explique comment construire un appareil, le succès est foudroyant.

Voir à la page 163, (pdf) Texte sans croquis et faisant référence au téléphone à ficelle montré il y a plusieurs semaines auparavant.
The Human Voice Tramllnltted by Telegraph.
it Several weeks ago we gave a sketch and description of the thread telegraph, consisting oftwo small tin or wooden cylinders, each having a membrane stretchedover one end, the two membranesconnected by a stout thread. Twopersons may readily communicatethe sounds of the voice by means of these instruments over a thread fiftyor a hundred feet in length. The person sending speaks within one of the cylinders, which causes the membrane to vibrate; the vibration passes along the stretched thread to the membrane of the other cylinder ; which being held to the ear of the ear of the person receiving the message, the vibration is duly heard, or, in other words, the voice of the sender is made audible.
Professor Graham Bell, by a device somewhat analogous, has succeeded in transmitting the tones of the human voice by telegraph.
In stead of the thread he connects the membranes of the two cylinders or drums with the armatures of the electro, magnets, one drum being placed at each end of the telegraph wire.
In fact, he not long ago demonstrate the possibility of conveying vocal sounds by means of the ord nary telegraph wires and special appliances for transmitting and receiving thesounds. The apparatus used by Professor Bell is thus described :
Two single-pole electro magnets, each having a resistance 10 ohms, were arranged in circuit with a battery of five carbon elements-the total resistance being about 25 ohms.
A drumhead of goldbeater's skin, about 21 inches in diameter, was placed in front of each electro-magnet, and a circular piece of clock spring was glued to the middle of the membrane of each drumhead.
One of these telephones was placed in the experimental room, and the other in the basement of an adjoining house. Upon singing into the telephone thesounds of the voice were reproduced by the instrument in the distant room; and if two persons sang simultaneously, the two notes were audible at the other telephone. At the time of the lecture, an experiment was made to show the transmission of articulate speech, an assistant going into the adjoining building where one of the telephones was placed.
Several familiar questions were, it is said, understood after a few repetitions. The vowel sounds alone are those faithfully reproduced ; dipthongal sounds and rotund vowels are readily distinguished, but consonants are generally unrecognizable. Now and then, however, a sentence comes out with almost startling distinctness, the consonants as well as the vowels being clearly audible.
Professor Bell stated that telephonic effects can be produced with three varieties of currents-the intermittent, the pulsatory, and the undulatory. The first are characterized by the alternate presence and absence of electricity in the circuit ; the pulsatory current by sudden changes in intemsity, while undulatory currents are obtained by gradual changes analogous to the changes of density of air produced by vibrations of a pendulum The most recent trial of Professor Bell's instrument was at his residence, Brantford, Canada, August 11.
The Toronto Globe states that instruments were placed, one in the porch of the residence and the other in an outhouse on the grounds, and communication between these made by ten miles of wire.
Musical notes, the human voice, and songs spoken and sung before one instrument were plainly audible by placing the instrument to the ear at the other.
By this invention, too, any number of messages can be conveyed over one wire in either direction, provided they have a different pitch ; the tones of the voice can pass over the electric wire, enabling the hearer at any distance to hear distinctly what is said, and to distinguish the voice of the speaker.
On August 10 the professor had communication made with his instrument on the common telegraph wire between Brantford and Mount Pleasant (five miles), and was spoken with, while in Mount Pleasant, by Professor D. C. Bell and Mr. Griffin from the Dominion office in Brantford.
On the evening of August 12, the professor tried a new experiment, having had an instrument made so that three persons could sing different tunes or different parts of the same tune into the instrument at the same time.
The trial was perfectly successful, the different voices coming distinctly over the wire at the same time, so that they could be separately distinguished by the listener.
The practical exemplification of the lately discovered system of telephony made by the professor afforded much pleasure and information to those present.
La voix humaine retransmise par Telegraph.
il y a plusieurs semaines, nous avons donné un schéma et une description du télégraphe en fil, constitué de deux petits cylindres en étain ou en bois, chacun ayant une membrane étirée à une extrémité, les deux membranes étant reliées par un fil solide.
Deux personnes peuvent facilement communiquer les sons de la voix au moyen de ces instruments sur un fil de cinquante à cent pieds de longueur. La personne qui envoie parle dans l’un des cylindres, ce qui fait vibrer la membrane; la vibration passe le long du fil tendu jusqu'à la membrane de l'autre cylindre; la vibration étant dûment entendue ou, en d'autres termes, la voix de l'expéditeur est rendue audible.
Le professeur Graham Bell, par un dispositif quelque peu analogue, a réussi à transmettre les sons de la voix humaine par télégraphe.
Au lieu du fil, il relie les membranes des deux cylindres ou tambours aux armatures des électro-aimants, un tambour étant placé à chaque extrémité du fil télégraphique.
En fait, il a récemment démontré la possibilité de transmettre des sons vocaux au moyen de fils télégraphiques ordinaires et d’appareils spéciaux pour la transmission et la réception des sons.
L'appareil utilisé par le professeur Bell est ainsi décrit :
Deux électro-aimants unipolaires, ayant chacun une résistance de 10 ohms, ont été disposés en circuit avec une batterie de cinq éléments au carbone, la résistance totale étant d'environ 25 ohms.
Une peau de tambour peau de batteur d'or, d'environ 21 pouces de diamètre, a été placée devant chaque électro-aimant et un morceau circulaire de ressort d'horloge a été collé au centre de la membrane de chaque peau de tambour.
L'un de ces téléphones était placé dans la salle d'expérimentation et l'autre au sous-sol d'une maison voisine.
En chantant devant le téléphone, les sons de la voix ont été reproduits par l'instrument dans la pièce éloignée; et si deux personnes chantaient simultanément, les deux notes étaient audibles à l'autre téléphone.
Au moment de la conférence, une expérience a été faite pour montrer la transmission de la parole articulée, un assistant se rendant dans le bâtiment voisin où l’un des téléphones était placé.
On dit que plusieurs questions familières ont été comprises après quelques répétitions. Les voyelles seules sont celles fidèlement reproduites; les sons dipthonges (voyelle qui, au cours de sa tenue ou émission, subit une variation de timbre et qui, de ce fait, peut être considérée comme la fusion en une seule syllabe) et les voyelles rondes se distinguent facilement, mais les consonnes sont généralement méconnaissables.
De temps en temps, cependant, une phrase apparaît avec une netteté presque surprenante, les consonnes ainsi que les voyelles étant clairement audibles.
Le professeur Bell a déclaré que les effets téléphoniques peuvent être produits avec trois types de courants: les courants intermittent, pulsatoire et ondulatoire.
Les premiers sont caractérisés par la présence et l'absence d'électricité dans le circuit; le courant pulsatoire par des changements brusques d'intensité, tandis que les courants ondulatoires sont obtenus par des changements graduels analogues aux changements de densité de l'air produits par les vibrations d'un pendule
Le dernier essai de l'instrument de professeur Bell a eu lieu à sa résidence, Brantford, Canada, le 11 août .
Le Toronto Globe indique que des instruments ont été placés, l’un dans le porche de la résidence et l’autre dans une dépendance sur le terrain, et que la communication entre eux a été établie au moyen de 15 km de câbles.
Les notes de musique, la voix humaine et les chansons parlées et chantées devant un instrument étaient clairement audibles en plaçant l'instrument à l'oreille de l'autre.
Grâce à cette invention également, un nombre quelconque de messages peuvent être acheminés sur un fil dans l'une ou l'autre direction, à condition qu'ils aient une hauteur différente ; les tonalités de la voix peuvent passer sur le fil électrique, ce qui permet à l'auditeur, à n'importe quelle distance, d'entendre distinctement ce qui est dit et de distinguer la voix du locuteur.
Le 10 août, le professeur avait communiqué avec son instrument sur le fil télégraphique commun entre Brantford et Mount Pleasant (cinq milles) et le professeur DC Bell et M. Griffin du bureau du Dominion à Brantford parlaient alors qu'il se trouvait à Mount Plellant.
Le 12 août au soir, le professeur tenta une nouvelle expérience en faisant fabriquer un instrument permettant à trois personnes de chanter différents airs ou différentes parties d'un même air à la fois.
Le procédé a parfaitement réussi, les différentes voix venant distinctement sur le fil en même temps, de sorte qu'elles puissent être distinguées séparément par l'auditeur.
L'exemplication pratique du système de téléphonie récemment découvert par le professeur a procuré beaucoup de plaisir et d'information aux personnes présentes.

sommaire

Le 1er septembre 1876 Accord sur un contrat entre Thomas A. Watson et Gardiner Greene Hubbard pour lequel Watson se consacre au développement du télégraphe harmonique et le téléphone, et en retour il recoit un dixième d'intérêt pour tous les brevets de Bell.
Le contrat a été signé par Watson le 4 septembre.
L'accord au début était convenu sur un mi temps, car son employeur Williams n'a pas voulu laisser tomber l'activité de Watson à son magasin. Cette arrangement a duré "pendant quelques semaines" selon Watson.

En septembre 1876, lorsque Bell, Sanders et Hubbard parvinrent enfin à un accord sur la propriété du téléphone, Thomas A. Watson devint également membre de la Patent Association. Jusqu'alors, Watson avait été employé par Charles Williams à la fabrication de matériel électrique, mais il avait été spécialement affecté à Bell pour travailler sur le télégraphe harmonique, puis sur le téléphone. En effet, c'est Watson qui était à l'émetteur lorsque Bell entendit les premiers sons transmis par téléphone, le 2 juin. Durant la longue mission de Watson auprès de Bell, les associés furent très impressionnés par son intérêt et ses efforts en leur faveur. Ainsi, au cours de l'été 1876, à la demande de Bell, Hubbard proposa à Watson un intérêt pour l'Association. Watson fut satisfait de cette offre, car elle signifiait qu'elle était satisfaite de son travail, mais il était indécis. Le succès commercial du téléphone n'était pas évident, et j'avais un bon emploi chez Williams, gagnant un salaire de compagnon – trois dollars par jour – et déposant de l'argent à la caisse d'épargne chaque mois. J'étais en lice pour le poste de contremaître de l'établissement. Après avoir examiné l'offre pendant deux semaines, Watson a accepté, bien que toujours incertain quant à la justesse de sa décision,
Selon les termes du contrat, Watson devait recevoir dix intérêts dans les brevets 161 739,  178 399 et 174 465, après quoi ils ont été transférés à une société par actions, conformément à une Accord non daté conclu entre Bell, Sanders et Hubbard.
Sanders et Hubbard ont convenu de verser à Watson trois dollars par jour pendant qu'ils requéraient ses services. Après le 5 septembre, il devait consacrer la moitié de chaque journée à adapter, perfectionner, concevoir et fabriquer des instruments pour le développement des brevets et leur présentation au public.
Chaque fois que les partenaires le jugeaient nécessaire, Watson devait avertir Williams et commencer à travailler à temps plein. ou l'Association. De plus, les partenaires ont accepté de payer le loyer de Watson à Boston à condition qu'ils le jugent opportun et que le travail de Watson les rembourse. Sous la direction de Bell, Watson devait travailler sur les instruments de télégraphie harmonique, l'instrument autographe, la transmission de messages par courant ondulatoire et, enfin, la transmission télégraphique de messages articulés. Par la suite, une clause fut insérée stipulant que toute invention que Watson pourrait réaliser en vertu de l'accord deviendrait la propriété de toutes les parties. L'intérêt de Bell a finalement obtenu une soixantaine de brevets grâce à cette clause, et Watson a donc conclu : « Ce contrat était aussi avantageux pour Bell et ses associés qu'il l'était pour moi »
Ainsi, à la fin du mois de septembre 1876, la première étape de l'évolution juridique du système de la Bell était atteinte. Elle resterait inchangée jusqu'en 1877, lorsqu'une nouvelle étape de l'organisation juridique fut nécessaire pour permettre la commercialisation du téléphone.

Quels que soient les avantages découlant de l'obtention d'un brevet le 3 mars 1876, Alexander Graham Bell et ses associés avaient encore beaucoup à faire avant de pouvoir récolter les fruits du téléphone. Ils devaient le perfectionner et le présenter au public. Pour atteindre ce dernier objectif, leurs efforts n'étaient pas sans rappeler ceux de Samuel F. B. Morse, un précurseur dans le domaine des communications électriques.
Samuel Morse a cherché à faire racheter son invention, le télégraphe, par le gouvernement des États-Unis et à l'intégrer au système postal.
Pour y parvenir, Morse et ses partenaires ont dû sensibiliser et intéresser le public. De plus en plus, le télégraphe a été exposé à de petits groupes d'amis et de collègues universitaires, à des sociétés scientifiques et au grand public. En conséquence, la commission du Commerce de la Chambre a invité Morse à exposer cette télégraphie dans ses salles du Capitole. Malgré ces démonstrations, le Congrès a réagi très lentement à la proposition de Morse, et près de deux ans se sont écoulés sans qu'une décision définitive ne soit prise. Un historien a conclu que la raison était l'incapacité du public à comprendre l'importance de l'invention révolutionnaire et son identification du télégraphe avec « divers projets chimériques »
Il fallait du temps pour obtenir le soutien du public au télégraphe. Le Congrès a finalement accepté de subventionner la construction d'une ligne télégraphique depuis Baltimore. à Washington, D.C., à des fins de démonstration, mais n'a pris aucune autre mesure en attendant la preuve de l'utilité de l'invention. Pendant ce temps, le public, adepte de la « bonne mode américaine », s'est rué pour découvrir cette toute dernière merveille scientifique. Il se contentait de voir l'instrument et de pouvoir dire qu'il l'avait vu. La ligne Baltimore-Vashington a été utilisée pour diverses démonstrations et tests, notamment des parties d'échecs entre joueurs. ans dans les deux villes. Cette activité a rapidement dû être interrompue, car elle laissait une impression défavorable sur la communauté religieuse. Il est devenu clair que les bénéfices que Morse et ses partenaires tireraient du télégraphe devraient être le fruit de leurs propres efforts de développement commercial. Ils ont donc entrepris d'obtenir un soutien privé par le biais d'expositions publiques. Télégraphe. La première exposition s'est tenue à Boston dans l'espoir de lever des fonds pour la construction d'une ligne entre cette ville et New York. La démonstration n'ayant pas suscité beaucoup d'intérêt ni de financement, elle a été déplacée à New York. Là, les partisans de Morse pensaient que les hommes d'affaires seraient plus prompts à reconnaître l'utilité commerciale de ce télégraphe.
L'exposition pouvait avoir lieu, mais les sponsors devaient convaincre les autorités municipales que la ligne d'éclairage au-dessus des toits n'attirerait pas la foudre et ne provoquerait pas d'incendies. Ce qu'ils ont accompli lorsque le Dr Benjamin Silliman s'est porté garant de la sécurité du télégraphe et que les intérêts de Morse ont payé une redevance de cinquante dollars. Malheureusement, l'exposition de New York n'a pas été aussi réussie que celle de Boston. Non seulement elle n'a pas réussi à lever des fonds pour la construction d'une ligne Boston-New York, mais il n'a pas non plus réussi à réunir suffisamment d'argent pour couvrir les dépenses. Les partisans de Morse ont finalement été contraints d'utiliser d'autres moyens pour promouvoir la commercialisation du télégraphe.
Comme Morse, Bell a cherché à faire respecter son invention en la présentant devant des organismes scientifiques et a tenté de stimuler l'intérêt du public et le soutien financier en donnant des conférences et des démonstrations.
Il y a même eu une brève discussion avec le Congrès afin d'obtenir une appropriation, et des dispositions ont été prises pour mettre le téléphone au Capitole. Bell a également fait preuve d'une grande sensibilité à l'intérêt de la communauté religieuse pour son invention. Mais alors que Morse n'a apparemment pas réussi à susciter l'intérêt et le soutien du public par des manifestations, Bell et ses partenaires ont réussi. Grâce à ses conférences et à ses démonstrations, Bell a non seulement fait connaître au public l'existence de son téléphone et ses utilisations potentielles, mais a également contribué à stimulé la demande et a ainsi augmenté les chances de succès d'une entreprise de téléphonie.
Deux mois après avoir obtenu un brevet pour son téléphone, Alexander Graham Bell a lancé une campagne pour faire connaître son invention au monde entier. Il a commencé par la présenter à la communauté universitaire de Harvard.
Un peu plus tard, en 1876, Bell présenta un article à l'Académie américaine des arts et des sciences intitulé « Recherches en téléphonie » et présenta plusieurs de ses instruments en fonctionnement. Quinze jours plus tard, il présenta sensiblement le même article lors de la 197ème réunion de la Société des arts, tenue à l'Institut de technologie du Massachusetts à Boston. Le Boston Evening Transcript notait que « le Les expériences étaient nouvelles et réussies, et un large public a témoigné de leurs remerciements à Bell. En moins d'un mois, Bell a pleinement démontré son invention devant des groupes éminents d'universitaires et de scientifiques. Il a pleinement apprécié l'importance de cela : « Mon nom est désormais bien connu de tous les scientifiques. » Les hommes de Boston parlent de « téléphonie ». Bell envisage alors de se lancer dans la conférence publique. Il spécule qu'une conférence sur la « téléphonie » lui rapporterait argent et fortune. La première grande exposition a eu lieu à Philadelphie, lors de l'Exposition du Centenaire, le 25 juin 1876. Par téléphone, le centenaire devait jouer un rôle plus important dans le renforcement de la réputation scientifique de Bell et l'apposition d'un sceau de respect sur son invention que dans la création d'une large attention du public.

Aux USA ces démonstrations ne changèrent pas l'opinion du commanditaire Hubbard et futur beau-père de Bell, qui ne voyait toujours dans le téléphone qu'un simple jouet.
Ceci servit même plutôt à le convaincre que Bell devait cesser de « passer d'un sujet à l'autre » avec ces expériences sur le téléphone et consacrer exclusivement ses efforts à perfectionner la télégraphie multiplex.
«Si vous arriviez à faire une seule bonne invention en télégraphie, lui écrivit-il, vous pourriez doubler votre traitement actuel de professeur... et poursuivre ainsi vos expériences [sur le téléphone?] l'esprit tranquille.»
C'est seulement le 1er octobre 1876 que Bell rejeta enfin les arguments de Hubbard.
Pendant une semaine entière, il se consacra uniquement au téléphone et, après plusieurs expériences réussies, écrivit à ses parents ces mots prophétiques (qui demandaient un certain courage pour l'époque) : «Si seulement je peux continuer [à travailler sur le téléphone], notre fortune est faite.
Le succès [financier] ne fait plus aucun doute. Je sais que la fortune est entre mes mains. Je sais que le succès total est à la portée de la main.»

La démonstration de Bell à l'exposition ne modifia pas non plus les idées de Gray sur l'intérêt «pratique» du téléphone.
Après avoir fait la démonstration de son système multiplex devant les responsables de la Western Union, Gray écrivit à Hayes :
«Bell a dit tellement de choses et il en a réalisé si peu...]e travaille sur un octoplex entre Philadelphie et New York quatre messages simultanés dans chaque sens, huit à la fois. Je voudrais bien voir Bell faire la même chose avec son appareil.»
Plus tard, il écrivit à Baldwin : « Quant au télégraphe parlant de Bell, il ne suscite l'intérêt que dans les milieux scientifiques. En tant que jouet scientifique, il est beau ; mais avec un fil et dans le même temps, on peut déjà faire beaucoup plus de choses. Sa valeur commerciale est donc limitée, du moins en ce qui concerne le service télégraphique.»
Le lendemain, il écrivait de nouveau à Hayes : «... le télégraphe parlant est un bel objet du point de vue scientifique... Mais si on le considère sous l'angle commercial, il n'a aucune valeur. Avec un fil, on peut faire actuellement beaucoup plus, et la vitesse est la seule chose qui nous intéresse.
Bien sûr, une fois amélioré, il peut avoir un certain intérêt comme tube acoustique...
Tel est le verdict des hommes qui ont la pratique du télégraphe. »
Ce verdict fut traduit fin 1876 par le principal porte-parole des «hommes qui ont la pratique du télégraphe» : William Orton, président de la Western Union.
A cette époque, Bell et ses associés proposèrent, en effet, à la Western Union d'acheter leurs brevets pour la somme de 100 000 $.
Orton
refusa net. Il voulait un télégraphe multiplex, pas une «curiosité scientifique».

Le télégraphe parlant vu dans le The Scientific American Supplement for 1876.
Nous avons déjà parlé du succès remarquable du professeur Bell dans la transmission des vibrations de la voix humaine par des moyens électriques sur un fil télégraphique.
Il a récemment amélioré sa méthode de transmission, en se passant de l'utilisation de la batterie et en remplaçant le système magnéto-électrique de production du courant. Le Boston Transcript décrit une expérience récente avec le nouvel appareil, grâce à laquelle des conversations et des chants ont été menés avec succès entre Boston et Malden, à une distance de six milles. Le téléphone, dans sa forme actuelle, consiste en un puissant aimant permanent composé, aux pôles duquel sont attachées des bobines télégraphiques ordinaires en fil isolé. Devant les pôles, entourés de ces bobines de fil, est placé un diaphragme en fer. Un embout pour faire converger le son sur ce diaphragme complète en grande partie l'ensemble. Comme on le sait, le mouvement de l'acier ou du fer devant les pôles d'un aimant crée un courant électrique dans les bobines entourant les pôles de l'aimant, et la durée de ce courant électrique coïncide avec la durée du mouvement de l'acier ou du fer déplacé ou vibré à proximité de l'aimant. Lorsque la voix humaine fait vibrer le diaphragme, des ondulations électriques sont induites dans les bobines entourant les aimants, exactement analogues aux ondulations de l'air produites par cette voix. Ces bobines sont reliées au fil de ligne, qui peut être de n'importe quelle longueur, pourvu que l'isolation soit bonne. Les ondulations induites dans ces bobines parcourent le fil de ligne et, en passant par les bobines d'un instrument de construction exactement similaire à la station éloignée, sont à nouveau transformées en ondulations de l'air par le diaphragme de cet instrument.

Les expériences furent les suivantes : les téléphones ayant été reliés à la ligne télégraphique privée de la Boston Rubber Shoe Company, la conversation commença aussitôt. Posté à l'extrémité du fil à Boston, le professeur Bell demanda à M. Watson, qui se trouvait à l'extrémité à Malden, de parler à voix haute, afin de permettre à toute la compagnie de distinguer immédiatement les sons.

Cette méthode fut si efficace qu'un sourire de plaisir et de surprise se dessina sur les traits des personnes présentes. Mais pour éviter de croire que parler à haute voix était indispensable à l'intelligibilité, M. Bell expliqua que les voix douces pouvaient être entendues à travers les fils plus distinctement encore que les paroles fortes, et même un chuchotement était audible. Pour confirmer cette déclaration, M. Watson commença à parler à tour de rôle à chaque membre de la compagnie ; et après que l'efficacité de cette méthode eut été prouvée à la satisfaction de tous, il prit un journal et informa l'assemblée que l'or avait fermé la veille au soir à New York à 105-5/8. Comme il y avait un assez grand nombre d'hommes d'affaires présents, l'effet produit par cette démonstration pratique de la valeur du téléphone ne peut guère être exagéré. D'autres passages des journaux quotidiens furent alors cités et, à ce moment-là, le désir de conversation étant devenu général, M. Watson fut assailli de questions telles que : « Est-ce qu'il fait froid ou dégel à Malden ? Qui sera le prochain président ? » etc. Il était remarquable que M. Watson ait pu distinguer les voix à l'extrémité de Boston, appelant au moins un monsieur par son nom dès que ce dernier commençait à parler.

Cela dura un certain temps, jusqu'à ce qu'une dame du côté de Malden envoya à la compagnie une invitation à déjeuner par téléphone, et une réponse appropriée fut donnée par le même médium. Finalement, la compagnie de Boston fut priée de rester tranquille pendant qu'une dame à l'autre bout du fil leur transmettait les doux accents de la musique. L'assemblée écouta alors avec une attention ravie une jeune femme se mettre à chanter "The Last Rose of Summer". L'effet fut tout simplement charmant. Le son de la voix pénétra dans l'extrémité du téléphone de Boston avec une netteté égale à celle que l'on peut atteindre dans les parties les plus éloignées d'une grande salle de concert, et un vote de remerciements unanime fut envoyé par le petit instrument pratique qui avait procuré à l'assemblée une heure si agréable.

Bien que les expériences de Bell aient été remarquées par la presse canadienne et américaine, elles ne semblent pas avoir suscité un intérêt général à cette époque. Cela allait changer lorsque l'on apprit d'Angleterre le discours de Sir William Thomson à l'Association britannique.
Vers le 1er octobre, Bell commença à consacrer principalement ses efforts au téléphone et subordonna ses travaux au télégraphe multiple.
Le prochain test important démontrant l'applicabilité commerciale du téléphone a eu lieu le 9 octobre, lorsque Bell et Watson ont conversé sur la ligne télégraphique privée de la Walworth Manufacturing Company, de Boston à Cambridge, à une distance de deux miles.
Le 9 octobre 1876, un téléphone était raccordé à chaque extrémité d'un circuit télégraphique appartenant à "The Walworth Manufacturing Company", qui s'étend de leur bureau de Boston à leur usine de Cambridge, à une distance d'environ deux milles.
La batterie télégraphique de la société composé de neuf cellules de Daniell, ont été retirés du circuit et un autre élément sur dix a été substitué. "
Les sons, d'abord faibles et indistincts, sont soudainement devenus tout à fait forts et intelligibles" .
La batterie télégraphique de l'entreprise constitués de neuf cellules de Daniell, ont été retirés du circuit et un autre de dix éléments carbonés a été remplacé. Il est enregistré que « la transmission a ensuite eu lieu à travers le fil. Les sons, d'abord faibles et indistincts, sont devenus soudainement assez forts et intelligibles ».

Pour dissiper la croyance selon laquelle le téléphone ne pourrait jamais être aussi précis que le télégraphe, Watson et Bell ont enregistré séparément une partie de leur conversation. Ce record fut repris dans des colonnes du Boston Daily Advertiser le lendemain matin . Le Boston Evening Transcript déclara que le succès de l'expérience Walworth marquait une « révolution et une avancée dans le progrès mondial digne d'être classée au même titre que l'achèvement pratique du premier télégraphe imprimé... et la pose des grands câbles océaniques ». Deux jours après l'expérience, Bell communiqua les résultats à l'Académie américaine des arts et des sciences et fit une démonstration des instruments qu'il avait utilisés. Cet événement fut un nouveau triomphe public pour Alexander Graham Bell et son téléphone. Il considérait cet événement comme le « plus beau jour de ma vie… Je suis le seul lauréat à avoir jamais été applaudi [par l'Académie]. »

À la fin de l'année du centenaire, Bell a testé des téléphones équipés de diaphragmes en fer fin au lieu des diaphragmes à membrane utilisés à l'origine. Pour obtenir les meilleurs résultats, il a recherché une véritable ligne télégraphique pour le test. plutôt que les résistances artificielles utilisées dans son laboratoire. Il s'arrangea donc pour utiliser la ligne temporelle de Cambridge, qui reliait l'observatoire de Cambridge à Boston et, de là, à divers fabricants de serrures. Bell disposait ainsi, le soir où la ligne n'était pas utilisée, d'une ligne d'essai privée de quatre ou cinq milles de long. La ligne était défectueuse, mais elle offrait à Bell et Watson de bonnes preuves. Pratique pour gérer les problèmes sur les longues lignes.
Malgré les nombreux problèmes et difficultés techniques, Bell a pu écrire à ce moment-là : « Ce téléphone me rappelle un enfant, mais il grandit beaucoup plus vite. Ce qui est devant lui dans le futur, personne ne peut le dire, mais je vois de nouvelles possibilités et de nouvelles utilisations. »
Il n'était pas le seul à être optimiste. Le Boston Sunday Herald a déclaré que les possibilités futures du téléphone pouvaient difficilement être surestimées et le Boston Post a déclaré que : « L'application de cette technologie promet de révolutionner complètement le secteur de la transmission de messages par électricité entre des parties éloignées. »

Six mois après sa démonstration à l'exposition et neuf après sa première expérience réussie, Bell était enfin arrivé à convaincre Hubbard que le téléphone supplanterait un jour le télégraphe.
Encouragé par les succès et les expériences, Bell fut rapidement convaincu que le téléphone était prêt pour une utilisation commerciale immédiate. Il recevait déjà des demandes de renseignements et des offres pour l'utilisation du téléphone ; une entreprise passa même commande pour dix appareils. Mais ces propositions, ainsi que d'autres, nécessitèrent du temps pour être pleinement étudiées. Ce n'est qu'à la mi-1877 que la Patent Association commença à fonctionner. ses premiers téléphones. Il lui faudrait encore plus de temps avant de percevoir une quelconque rémunération pour de telles activités.
Le besoin d'argent de Bell persistait. En effet, l'urgence semblait croissante, car Bell désirait ardemment épouser Mabel Hubbard, mais son manque d'argent s'avérait un obstacle. Une solution toute trouvée aux besoins financiers immédiats était la conférence publique.
Dès mai 1876, Bell se proposait de donner des conférences et, dès le 1er juillet 1876, il avait reçu des offres de deux instituts de conférences, pour donner une conférence sur « l'acoustique et l'électricité ». Son empressement à donner des conférences publiques a peut-être été tempéré, cependant, par l'opposition de Mme Hubbard. Elle avait une piètre opinion des personnes engagées dans de telles activités et « l'ennuyait, car il l'appréciait ». Le bonheur de Mabel et de lui-même de rester à la maison et de s'occuper de ses affaires.

sommaire

De retour à Boston ou Bell retouve Watson, il abandonne le transmetteur voltaique et revient à l'idée initiale, il ne cesse alors de perfectionner ses prototypes et réussi à mettre au point un dispositif bidirectionnel, et en remplaçant la membrane par un disque de fer, des éléctro-aimants par des aimants permanents, l'appareil ne nécessite plus de source de courant.
L'appareil est constitué d'une bobine entourant un aimant permanent. Devant cet aimant vibre une membrane en fer doux.
Les vibrations communiquées par la parole à la membrane du transmetteur (la partie où l'on parle), entraînent des variations de flux magnétique du barreau aimanté.
Rapidement un autre modèle fera l'objet d'un nouveau brevet , la "BOX" qui est un appareil réversible, il sert aussi bien de transmetteur que de recepteur.
Brevet 119626 Perfectionnements apportés dans la téléphonie électrique ou la transmission des sons comme dépêches télégraphiques, ainsi que ...

Développer les intérêts étrangers était coûteux, et Bell s'est donc tourné vers des amis pour obtenir une aide financière. Devant l'échec de cette démarche, il s'est tourné vers sa famille. Celle-ci a d'abord proposé à ses parents et à son oncle David tout intérêt qu'ils souhaitaient pour ses brevets étrangers, à condition qu'ils prennent en charge les frais nécessaires. Il demanda alors à son père de lui fournir une garantie pour lui emprunter mille dollars.
La perspective de s'endetter perturba cependant Bell, qui décida donc de faire de son mieux sans emprunter. Il limiterait ses efforts pour obtenir des brevets en Angleterre et dans autant d'autres pays que possible, essayant de vivre avec presque rien à Boston.
Alexander Graham Bell s'irrita de ces deux conditions. J'avais souhaité l'indépendance financière, non seulement parce qu'elle lui permettrait d'épouser Mabel, mais aussi parce qu'elle m'allègerait des difficultés de la vie et me laisserait libre de suivre les idées qui m'intéressent le plus.
Bell réfléchit à sa situation et, avec ses partenaires, commença à envisager une offre de John Ponton, de Pennsylvanie, visant à lever des capitaux substantiels pour lancer commercialement le téléphone. Il reçut alors l'information d'une conférence publique selon laquelle la recommandation de « Téléphonie » avait attiré foule et applaudissements. Les conditions étaient propices à une publication publique sur la « téléphonie ».
Le jour de l'An 1877, Bell, à Washington, fut impliqué dans une interférence brevetée contre ce télégraphe harmonique. Il en profita pour faire une démonstration téléphonique devant les membres distingués de la Société philosophique de Washington. Ce fut également l'occasion de l'intervention de Gardiner Hubbard. Les efforts visant à obtenir l'aide du Congrès pour développer le téléphone ont permis de renforcer la reconnaissance professionnelle et publique de Bell et de stimuler l'intérêt des entrepreneurs pour son invention.

L'année suivante, la conscience de ses besoins financiers s'est accentuée lorsqu'il a envisagé de développer les droits étrangers sur son invention.
« Je ne vois pas pourquoi je devrais être exclu de tout avantage, sauf en Amérique, où je n'ai que trois à dix ans d'intérêt dans mes propres inventions.

sommaire

Le lundi 2 avril 1877 a lieu au "Steinway Hall" de New York un "concert par téléphone" organisé par Elisha Gray, le concurrent malheureux de Graham Bell. A vrai dire, il ne s'agissait d'un concert par téléphone, mais d'un concert utilisant une sorte de piano télégraphique à 16 touches, sur lequel le pianiste Frederick Boscowicz jouait, la plupart du temps d'une seule main, à partir des bureaux de la Western Union à Philadelphie. Le récepteur, installé sur un piano dans la salle de concert, était composé de 16 tubes de bois creux résonnants, de deux à six pieds de longueur, joints par des barres de bois. Un électro-aimant, recevant le signal par télégraphe, était fixé à une des barres. Les comptes-rendus dans la presse donnèrent des avis mitigés sur l'audition. Les tonalités étaient perçues, mais les notes les plus hautes étaient faibles. Le timbre était assez similaire à celui d'un orgue et l'ennui naissait assez vite. Ce concert n'était pas le premier du genre : selon The Journal of the Telegraph, (15 mars 1877) Elisha Gray avait déjà fait une démonstration le 6 février 1877 à Milwaukkee (avec une liaison à partir de Chicago), mais le concert du Setinway Hall fut le plus couvert par la presse et donna lieu à une intéressante fantaisie dans l'hebdomadaire satirique Puck.
Animé par le dessinateur d'origine autrichienne Joseph Ferdinand Keppler (1838-1894), Puck s'est amusé de ce concerta avant même qu'il n'ait lieu, en publiant le 30 mars 1877, c'est-à-dire le même jour que le New York Sun publiait son canular de l'electroscope, un article et un dessin de Keppler, "A telephonic suggestion"
Article et dessin posent la question de l'absence de présence physique des interprètes dans ce type de concert : "Si on nous retire le privilège de voir les chanteurs dont les voix sont entendues de loin, nous devrions néanmoins disposer de leur présentation contrefaite (counterfeit presentments). Le seul inconvénient - il doit y avoir des inconvénients pour chaque chose - est que quelques rusés spéculateurs pourrait nos tromper en affichant la voix d'un ténor de troisième catégorie avec une image de Wachtel et qui, sauf les plus critiques d'entre nous, serait capable de percevoir la différence, quand la gorge qui gazouille les notes est à autant de miles de distance ?"
Il s'agit d'une des toutes premières, sinon la première, caricatures consacrées au téléphone. A la différence du canular de l'électroscope, il ne propose pas encore un équivalent du téléphone, mais il indique un manque : un spectacle musical sans voir les interprètes est incomplet et ce manque nécessite d'être comblé par une représentation picturale.

sommaire

Sur le vieux continent, c'est d'abord en Angleterrre, le 7 septembre 1877 lors de la réunion à Glasgow de l'Association britannique pour l'avancement de la science, transcrite intégralement par le London Times le lendemain et par La nature le 14, que WH Preece éléctricien du "British Post-Office" et Sir W.Thomson, montrent le téléphone que Bell avait donné à Sir W.Thomson à à Boston.
le 1er octobre, The Telegraphic Journal en a donné davantage de détails. Des images n'apparaîtront que le 22 décembre, lorsqu'un autre magazine britannique, Engineering, publiera des dessins de l'émetteur et du récepteur.

Dans la revue LA NATURE 27 AVRIL 1878 en France, Bell écrit un article sur ses travaux :
Il y a bien des années, mon père, Alexandre Melville-Bell, d’Edimbourg, appelait mon attention sur le mécanisme de la parole; il avait fait de longues études sur ce sujet. Plusieurs d'entre vous peuvent se rappeler l’invention de mon père; elle consistait en un moyen de représenter d’une manière admirablement exacte les positions des organes vocaux, dans la formation des sons. Nous entreprîmes ensemble de nombreuses expériences nous cherchâmes d’abord à découvrir le mécanisme des éléments anglais et étrangers de la parole. Je me souviens surtout d’une recherche dans laquelle nous nous trouvâmes engagés, concernant les relations musicales des sons de voyelles. Quand des sons de voyelles sont
émis, il semble que chaquevoyelle possède une hauleur de ton propre; en prononçant certaines voyelles successivement, l’on peut distinctement percevoir une échelle musicale. Nous nous proposâmes de déterminer la hauteur de ton naturelle à chaque voyelle. Des difficultés inattendues nous firent obstacle; plusieurs voyelles semblaient posséder une double hauteur; probablement la hauteur de la résonnance de l’air dans la bouche, et la hauteur de la résonnance de l’air contenu dans la cavité postérieure de la langue, cavité comprenant le pharynx et le larynx.

J’imaginai un expédient pour déterminer la hauteur, et crus posséder la priorité de la découverte, qui consistait à faire vibrer un diapason devant la bouche durant les accommodations des organes vocaux prises silencieusement. Il fut constaté que chaque position de voyelle renforçait tel ou tel diapason ou plusieurs diapasons spécialement.
J’écrivis une relation de ces recherches à M. Alex. J. Ellis, de Londres. Sa réponse m’informa que les expériences relatées avaient déjà été faites par Helmholtz (Die Lehre von den Tonempfindungen traduction anglaise par Alexandre J. Ellis. —Theory of tone, Théorie de la perception des sons.) et d’une manière beaucoup plus parfaite que je ne l’avais fait. M.
Ellis me dit, en effet, que Helmholtz, non-seulement avait analysé les sons de voyelles en leurs éléments musicaux constitutifs, mais qu'il avait réalisé la synthèse de ces éléments. Helmholtz avait réussi à produire artificiellement certains sons de voyelles en faisant vibrer simultanément, par un courant électrique, des diapasons de différentes hauteurs. M. Ellis eut la bonté de m’accorder une entrevue dans le but de m’expliquer la disposition des appareils employés par Helmholtz, pour produire ces effets extraordinaires et je consacrai la plus grande partie d’une journée avec lui à l’étude de ce sujet.
A cette époque, cependant, je n’étais pas assez familiarisé avec les lois de l’électricité pour comprendre parfaitement les explications qui me furent données, mais l’entrevue eut pour effet d’appeler toute mon attention sur les sujets du son et de l’électricité, et je n’eus pas de repos avant d’être entré en possession d’un exemplaire du grand traité de Helmholtz, et d’avoir essayé, d’une manière rudimentaire et imparfaite, il est vrai, de reproduire les mêmes résultats.

En réfléchissant aux possibilités de production du son par des moyens électriques, je fus comme frappé par l’idée que le principe de faire vibrer un diapason par l’attraction intermittente d’un électro-aimant pouvait s’appliquer à la production électrique de là musique. J’imaginai donc une série de diapasons de différentes hauteurs d’intonation, et les disposai de façon à les faire vibrer automatiquement de la manière indiquée par Helmholtz, chaque diapason interrompant à chaque vibration un courant voltaïque. Et pourquoi, pensai-je, l’abaissement d’une clef, telle qu’une touche de piano, ne dirigerait-elle point le courant d’interruption de l’un quelconque de ces diapasons, au travers d’un fil télégraphique, jusqu’à une série d’électro-aimants actionnant les cordes d’un piano ou d’un autre instrument de musique? Ainsi une personne pourrait jouer du piano-diapason en un lieu, et la musique pourrait s’entendre en un autre lieu, en une ville lointaine, sur un piano électro-magnétique.
Plus je réfléchissais à cet arrangement, plus il me paraissait réalisable. Je ne voyais en effet nulle raison pour laquelle l’abaissement d’un certain nombre de clefs au point de départ du diapason ne serait pas accompagné, dans le circuit, de la production, au lieu d’arrivée, d’un plein accord perceptible sur le piano à l’unisson.
L’attrait que m’offrait alors l’étude de l’électricité me conduisit à l’étude des divers systèmes en usage en Angleterre et en Amérique. J’admirai surtout la simplicité de l’alphabet Morse et ce fait que cet alphabet pouvait être lu par la perception du son que produit son fonctionnement. Au lieu de se reporter sur les points et les traits enregistrés sur le papier, les opérateurs contractent l’habitude d’observer la durée de tic-tac des appareils, et ainsi de distinguer à l’oreille les divers signaux. La possibilité de représenter, d’une manière analogue, le point et le trait du code Morse par la durée d’une note musicale, s’empara de mon esprit. Une personne pourrait agir sur l’une des clefs du piano-diapason, dont nous avons plus haut vu l’arrangement, et la durée du son émis par la corde correspondante du piano lointain y pouvait être observée par une autre personne.
Il me sembla qu’ainsi plusieurs messages télégraphiques distincts pouvaient être simultanément transmis d’un piano-diapason jusqu’à l’autre extrémité du circuit, par des opérateurs manipulant chacun une clef différente de l’instrument. Ces messages seraient lus, me disais-je, par des opérateurs placés auprès du piano d’arrivée, chacun d’eux écoutant des signaux d’une hauteur définie de ton et ignorant tous les autres. L’on pouvait ainsi réaliser la transmission simultanée de plusieurs messages télégraphiques par un seul fil, le nombre de ces messages n’étant limité que par la délicatesse d’oreille de celui qui écoutait.

L’idée d’accroître la puissance de transmission d’un fil télégraphique de cette manière me vint à l’esprit, et ce fut ce but pratique que j’eus en vue, en commençant mes recherches sur la téléphonie électrique. Il se trouve généralement que dans le progrès de la science la complication conduit à la simplification, et qu’en faisant l’histoire d’une découverte scientifique, il est souvent utile de commencer par la fin. Lorsque je porte un regard rétrospectif sur mes recherches, je reconnais la nécessité de désigner, par des noms spéciaux, une variété de courants électriques qui peuvent produire des sons. J’appellerai votre attention sur plusieurs espèces distinctes de courants d’électricité que l’on pourrait appeler téléphoniques . Afin que les particularités de ces courants soient bien comprises, je prierai M. Frost de projeter sur l’écran une illustration graphique de ces différentes variétés. La méthode graphique de représenter des courants électriques, et que nous voyons ici, est la meilleure que l’on puisse imaginer pour étudier exactement les effets produits par diverses formes d’appareils téléphoniques. Elle m’a fait concevoir cette sorte particulière de courant téléphonique que j’appellerai ici courant ondulatoire, et qui rend possible la production artificielle du langage articulé par des moyens électriques.

Une ligne horizontale g g (fig. 1) est prise comme ligne du courant à zéro ; les impulsions d’électricité positive sont représentées au-dessus de cette ligne, celles d’électricité négative au-dessous ou bien vice versa. L’épaisseur verticale d’une impulsion électrique quelconque (b ou d) mesurée à partir de la ligne de zéro, indique l’intensité du courant électrique au point observé, et l'extension horizontale de la ligne électrique (b ou d) indique la durée de l’impulsion. Il y a neuf variétés de courants téléphoniques; il me suffira de vous en indiquer six. Les trois variétés primaires, désignées sous les noms d’intermittentes, de pulsatoires et d’ondulatoires, sont représentées par les lignes 1, 2 et 3. Des sous-variétés peuvent être distinguées sous les désignations de courants directs, ou de courants inverses, selon que les impulsions électriques sont toutes d’une sorte, ou alternativement positives et négatives. Les courants directs peuvent encore se distinguer comme positifs ou négatifs suivant que les impulsions sont d’une sorte ou de l’autre. Un courant intermittent est caractérisé par la présence et l’absence alternatives de l’électricité dans le circuit. Un courant pul- satoire résulte de changements instantanés dans l’intensité d’un courant continu, et un courant ondulatoire est un courant d’électricité, dont l’intensité varie d’une manière proportionnelle à la vitesse du mouvement d’une particule d’air durant la production du son.
Ainsi la courbe représentant graphiquement le courant ondulatoire pour un simple ton musical est celle qui exprime une oscillation simple du pendule, c’est-à-dire une courbe sinusoïdale.

Je dois faire ici la remarque que si la théorie du courant ondulatoire d’électricité est une conception dont je puis revendiquer l’origine, on connaît néanmoins des méthodes de produire des sons au moyen de courants intermittents et pulsatoires. Par exemple, il y a longtemps que l’on a fait la découverte qu’un électro-aimant émet un son lorsqu’il est subitement aimanté ou désaimanté. Lorsque le circuit dans lequel est placé cet électro aimant est rapidement fermé et ouvert, une succession de crépitations partent de l’aimant. Ces bruits produisent à l’oreille l’effet d’une note musicale, lorsque le courant est interrompu un nombre suffisant de fois par seconde.
La découverte de la musique galvanique par Page (1) , en 1837, conduisit les recherches faites en différentes parties du monde, presque simultanément dans le domaine de la téléphonie. Les effets d’acoustique produits par l’aimantation furent soigneusement étudiés par Marrian (2) , Beatson (3) , Gassiot (4) , de la Rive (5) , Matteucci (6) , Guillemin (7) . Vertheim (8) , Wartmann (9) , Janniar (10) , Joule (11) , Laborde (12) , Légat (13) Reis (14) , Poggendorf (15) , du Moncel (16) , Delezennes (17), et d’autres encore (18) .
Il faut aussi mentionner que Gore (19) obtint des notes musicales claires par le mercure ; ces notes étaient accompagnées de rides, singulièrement belles à la surface durant le cours des expériences électrolytiques. Page (20) produisit des tons musicaux dans les barres de Trevelyan par l’action du courant galvanique. Sullivan découvrit plus tard qu’un courant d’électricité est engendré par la vibration d’un fil composé partie d’un métal et partie d’un autre.

1 C. G. Page, la Production de la musique galvanique. Journal de Sillimann, 1857, XXXIII, p.396; Journal de Silli- man, 1858, xxxiii, p. 118; Bibl. univ. (nouvelle série, 1859, n, p. 598).
2 J. P. Marrian, Phil. Mag., xxv, p. 382; Inst., 1845, p. 20; Arch. de l'électricité, voy. p. 195.
3 Beatson, Arch. de l'électricité, voy. p. 197 ; Arch. des Sc. phys. et nat. (2 e série), n, p. 115.
4 Gassiot, voy. Preatise on Electricity, par de la Rive, i, p. 500.
5 De la Rive, Treatise on Electricity, i, p. 500; Phil. Mag., xxxv, p. 422; Arch. de l’élect.,-voy. p. 200; Inst., 1846, p. 85; Comptes rendus, xx, p. 1287; Compt. rend., XXII, p. 452; Pogg. ann., p. 657 ; ann. de chim. et de phys., xxvi, p. 158.
6 Matteucci, Inst., 1845; Arch. de l’élect., voy.p. 389.
7 Guillemin, Compt.rend., xxii, p. 264; Inst., 1846, p. 30; Arch. des sc. phys. et nat. (2 e série), i, p. 191.
8 G. Wertheim, Compt. rend., xxn, p. 356-544; Inst., 1846, p. 65, 100; Pogg. ann., t. XVIII, p. 140; Compt. rend., xxvi, p. 505 ; Inst., 1848, p. 142 ; Ann. de chim. et dephys., xxm, p. 305 ; Arch. des sc. phys. et nat., vin, p. 206 ; Pogg. ann., t. xxvn, p. 45; Berl Ber., IV, p. 121.
9 Elle Wartmann, Compt. rend., xxn, p. 544; Phil. Mag. (3 e série), xxviii, p. 544 ; Arch. des sc. phys. et nat. (2 e série), i, p. 419; Inst., 1846, p. 290; M. natschr. d. Ber Rad., 1846, p. 111.
10 Janniar, Compt. rend., XXIII, p. 519; Inst., 1846, p. 269; Arch. des sc. phys. et nat. (2 e série), p. 394.
11 J. P. Joule, Phil. Mag., xxv, p. 76-225; Berl Ber., m, p. 489.
12 Laborde, Comptes rendus, i, p. 692; Cosmos, XVII, p. 154.
13 Legal, Brix, ZS, ix, p. 125.
14 Reis, Téléphonie Polytech. Journ., c. t. xvm, p. 185, Bôttger's notiz, b., 1863, no 6. 5 J. C.
15 Poggendorff Pogg., Ann., XCVIII,p. 192, Berliner Monatsbar, 1856, p. 133; Cosmos, ix, p.49; Berl Ber., XII, p. 241 ; Pogg. ann., t. xxxvii, p. 159.
16 Du Moncel, Exposé, n, p. 125, et in, p. 85.
17 Delezenne, Sound produced by magnetization; Bibl. univ. (new-series), 1841, xvi, p. 406.
18 Voy. London Journ., XXXII, p. 402; Polytech. Journ., ex, p. 161; Cosmos, iv, p. 45; Gl sener, Traité général, et c. p.550; Dove, Repert., vi,p. 58; Pogg., Ann., xm, p. 411; Berl. Bern, 1, p. 144; Arch. des sc. phys. et nat.; xvi, p. 406; Khuns Encyclopédie der Physik, p. 1014-1021.
19 Gore, Proceedings of Royal Society, xn, p. 217. 8
20 C. G. Page, Vibration of Trevelyan’s bars by the galva- nic current; Silliman’s Journal, 1850, ix, p. 105-108; Sullivan ; Currents of Electricity produced by the vibration of mêlais: Phyl. Mag., 1845, p. 261; Arch. de l’élect., x, p.480.

Le courant durait aussi longtemps que l’émission d’uné note musicale et s’arrêtait immédiatement après la cessation du son. Pendant plusieurs années, mon attention se porta presque exclusivement sur les moyens d’obtenir un instrument interrupteur extrêmement rapide de circuit voltaïque et destiné à prendre la place du diapason transmetteur employé dans les recherches de Helmholtz. C’est un fait singulier que d’importantes découvertes sont souvent faites presque simultanément par plusieurs personnes en différentes parties du monde, et que l’idée de la télégraphie multiple, telle qu’il l’a développée dans les divers diagrammes montrés à la Société, paraît s’être présentée isolément tant en Amérique qu’en Europe à quatre inventeurs différents. Les détails eux-mêmes des arrangements en circuit ont une très-grande ressemblance avec ceux qu’ont proposés M. Cromwell Varley, de Londres, M. Elisha Gray, de Chicago, M. Paul Lacour, de Copenhague, et M. Thomas Edison, deRewark dans l’État de New-Jersey. Quant à la question de priorité d’invention, je ne me propose pas de la discuter.
Pour faire mieux comprendre la difficulté de l’usage d’un courant intermittent, je vous prierai de me suivre dans l'application de l'effet produit quand deux signaux musicaux de hauteurs d’intonation différentes sont simultanément dirigés le long d’un même circuit.
La figure 2 fait voir un arrangement dans lequel les tiges aa de deux transmetteurs interrompent le courant de la même pile B.

Supposons que l’intervalle musical entre les deux tiges soit une tierce majeure. En ce cas leurs vibrations sont dans la proportion de 4 à 5, c’est-à-dire que 4 vibrations de a sont faites dans le même temps que 3 vibrations de A1. A2 et B 2 représentent les courants intermittents produits, 4 impulsions de B2 étant produites dans le même temps que 5 impulsions de A2 . La ligne A2 et B2 représente l’effet résultant sur la ligne principale de la simultanéité d’action des tiges a et b , interrompant et rétablissant le même circuit. Vous voyez par le dessin que le courant résultant, tout en conservant une intensité uniforme, est moins interrompu lorsque les deux tiges sont en opération, que lorsqu’une seule tige est employée. Continuant d’approfondir la question, vous reconnaissez que si un plus grand nombre de tiges de différentes hauteurs de tons ou de différentes vitesses de vibration sont occupées simultanément à interrompre et à rétablir le même circuit, l’effet résultant sur la ligne principale est réellement l’équivalant d’un courant continu. Vous comprenez aussi que le nombre maximum de signaux musicaux pouvant simultanément être dirigés le long d’un seul fil sans confusion, dépend beaucoup delà proportion de durée du rétablissement quant à celle de l’interruption. Plus le contact est court, en même temps que plus l’interruption est longue, plus le nombre des signaux pouvant se transmettre sans confusion est grand, et vice versa. L’appareil au moyen duquel cette conclusion théorique a été vérifiée se trouve devant vous. Il consiste en une boîte ordinaire d'harmonium, dont les tiges sont actionnées par l’air de la manière habituelle. Devant chaque tige est une vis métallique contre laquelle la tige frappe en vibrant. En ajustant la vis on rend le contact long ou court. Les tiges sont reliées à l’un des pôles d’une pile, et les vis contre lesquelles elles frappent communiquent avec la ligne; des impulsions partent ainsi de la pile dans la ligne durant la vibration des tiges. Sans entrer dans des détails de calcul, vous voyez qu’avec un courant pulsatoire l’effet de transmission simultanée de signaux musicaux est presque l’équivalent d’un courant continu d'intensité minima, comme l’indique la figure 3. Si des courants ondulatoires sont employés, l’effet est différent (voyez la figure 4).

Le courant qui vient de la pile B, est formé en ondulations à la suite de faction inductive des tiges de fer ou d’acier MM', lesquelles vibrent devant les électro-aimants ed mis dans le circuit de la pile. A2 et B2 représentent les ondulations causées dans le courant par la vibration des corps aimantés et l’on voit qu’il y a quatre ondulations de B2 pour cinq de A2 . La résultante d’effet sur la grande ligne est exprimée par la courbe A2 - B 2 , somme algébrique des courbes sinusoïdales A2 et B2 . Un semblable effet est produit quand des courants ondulatoires inverses sont employés comme on le voit en la figure 5 où le courant est produit par la vibration d’aimants réunis en circuit sans une pile voltaïque.
Par les figures 4 et 5, on peut voir que l’effet de la transmission de sons musicaux de différentes hauteurs simultanément le long d’un seul fil, n’est point d’eflaccr le caractère vibratoire du courant comme dans le cas des courants intermittents et pulsatoires, mais de changer les formes des ondulations électriques. En effet, le courant est influencé précisément d’une manière analogue à celle de l’air par la vibration des corps inducteurs MM'. Il devrait donc être possible de transmettre simultanément autant de tons musicaux par un fil télégraphique que par l’air.
La possibilité de se servir de courants ondulatoires, dans un but de télégraphie multiple, m’a permis de laisser de côté tous les arrangements compliqués de circuit et d’employer une seule pile pour tout le circuit, en ne conservant que les récepteurs qui m’avaient précédemment servi.
J’ai dit que Helmholtz avait pu produire artificiellement des tons de voyelles en combinant des tons musicaux de différentes hauteurs et intensités. Nous voyons son appareil en la figure 6.

Des diapasons de différentes hauteurs sont placés entre les pôles d’électro-aimants (a1 , a2, etc.), et maintenus en vibration par l’action d’un courant intermittent qui part du diapason g. Des résonnateurs 1, 2, 3, etc , sont placés de façon à renforcer les sons, plus ou moins, selon que les orifices extérieurs sont plus ou moins élargis. On voit que dans le procédé de Helmholtz, les diapasons eux-mêmes produisent des tons d’intensité uniforme, et dont la sonorité varie par un renforcement externe. Ce qui me frappa, c’est que les mêmes résultats pouvaient être obtenus, et d’une manière beaucoup plus parfaite, en faisant vibrer les diapasons à différents degrés d’amplitude.
J’imaginai alors l’appareil de la figure 7 ; ce fut ma première forme de téléphone articulé.

Dans cette figure, une harpe à tiges d’acier est attachée aux pôles d’un aimant permanent N S. Lorsque l’une quelconque des tiges est mise en vibration, un courant ondulatoire est produit dans les bobines de l’électro-aimant ; l'électro- aimant correspondant E‘ attire les tiges de la harpe IT avec une force variable, et met en vibration celle des tiges qui se trouve à l’unisson de la tige qui vibre à l’autre extrémité du circuit. Ce n’est pas tout ; l’amplitude de vibration dans l’une des tiges détermine l’amplitude de vibration dans l’autre, car l’intensité du courant induit est déterminée par l’amplitude de la vibration inductrice, et l’amplitude de la vibration à l’extrémité de réception dépend de l’intensité des impulsions attractives. Lorsque nous chantons dans un piano, certaines cordes de l’instrument sont mises en vibration avec sympathie par l’action de la voix, et, à différents degrés d’amplitude, un son approché de la voyelle proférée part du piano. La théorie nous fait voir que si le piano avait un nombre beaucoup plus considérable de cordes, à l’octave, les sons de voyelles seraient parfaitement reproduits.
Mon idée de l’action de l’appareil, action indiquée en la figure 7, était la suivante : proférer un son dans le voisinage de la harpe H, et certaines tiges seraient mises en vibration à des amplitudes différentes. A l’autre extrémité du circuit, les tiges correspondantes de la harpe H' vibreraient avec leurs relations propres de force, et le timbre du son serait reproduit. La dépense de la construction d’un semblable appareil m’empêcha de m’engager dans cet ordre de recherches. J’ai déjà parlé d'une invention de mon père, d’un système de symboles physiologiques, pour représenter l’action des organes vocaux, et j’avais été invité par le Conseil de l’instruction publique de Boston, à faire une série d’expériences sur ce système dans l’École des sourds et muets. L’on sait que les sourds-muets sont muets parce qu’ils sont sourds, et que dans leurs organes vocaux il n’y a aucun défaut qui les empêche de parler. L’on avait donc pensé que le système de mon père, système de symboles illustrés et depuis longtemps connu sous la désignation vulgaire de langage visible, pourrait être le moyen d’apprendre à un sourd-muet à se servir de ses organes vocaux et à parler. Le grand succès de ces expériences me porta vers la recherche de méthodes de représentation graphique et optique des vibrations du son, pour l’enseignement des sourds-muets. Pendant quelque temps, je poursuivis mes expériences avec la capsule manométrique de Koenig, et avec le phonautographe de Léon Scott.
Les appareils scientifiques de l’Institut de technologie de Boston furent généreusement mis à ma disposition pour ces expériences, et il se trouva qu’à cette époque, un étudiant de l’Institut de technologie, M. Maurey, venait d’imaginer un perfectionnement du phonautographe.
Il avait réussi à faire vibrer par la voix un style de bois de la longueur environ d’un pied, fixé à la membrane du phonautographe. Par cette disposition il avait obtenu des traces agrandies sur une surface plane et noircie à la fumée. Avec cet appareil, je réussis à mon tour à produire de très-belles traces des vibrations de l’air par les vibrations de voyelles. Quelques-unes de ces traces sont indiquées dans la figure 8. Mon esprit fut frappé par cette forme perfectionnée de l’appareil, et je vis là une ressemblance remarquable entre la manière dont la pièce de bois vibrait sous l’action de la membrane du phonautographe, et celle dont les osselets de l’oreille humaine obéissaient au mouvement de la membrane du tympan. Je résolus donc de construire un phonautographe plus exactement modelé sur le mécanisme de l’oreille humaine, et, dans ce but, j’eus recours aux lumières d’un spécialiste distingué, du docteur Clarence J. Blake. Celui-ci me suggéra l’idée d’employer l’oreille humaine comme phonautographe, au lieu d’en faire une imitation artificielle. L'enclume fut retirée, et, à l’extrémité du marteau fut fixé un style en brin de foin, de la longueur d’environ un pouce. En mouillant la membrane du tympan et les osselets avec une mixture de glycérine et d’eau, on obtenait la mobilité nécessaire des parties. En chantant dans l’oreille externe, on mettait en vibration le style, et l’on obtenait des traces sur une surface plane en verre recouvert de noir de fumée, placée au-dessous du style (fig. 9).


Tandis que j’étais livré à ces expériences, je fus surpris à la vue de la disproportion remarquable qui existait entre la membrane et les os qu’elle faisait vibrer. Je pensai que si une membrane aussi mince qu’un tissu de papier pouvait gouverner la vibration d’os, qui, comparés à cette membrane, étaient d’une dimension et d’un poids immense, à plus forte raison une membrane plus grande et plus épaisse ferait-elle vibrer un morceau de fer contre un électro-aimant, et dans ce cas, la complication des tiges d’acier, que nous voyons dans ma première forme du téléphone (fig. 7), serait écarté. Un simple morceau de fer, fixé à la membrane, serait alors placé à chaque extrémité du circuit télégraphique.

Al. GRAHAM Bell.

sommaire

Parallélement depuis l'automne 1876, des expériences téléphoniques avaient lieu à l'université Brown de Providence :
En entendant parler des expériences intéressantes et de la remarquable invention de Bell, deux professeurs de l'Université Brown , Un groupe de scientifiques s'est réuni autour de Eli Whitney Blake pour travailler sur un projet particulier. Parmi eux se trouvaient le professeur John Peirce et le Dr William F. Channing, médecin et expert en électricité, fils du révérend William Ellery Channing.

Eli Whitney Blake(1836-1895), professeur de physique, est né à New Haven le 20 avril 1836. Son grand-oncle était Eli Whitney, inventeur de l'égreneuse à coton. Son père était l'inventeur du brise-pierre Blake utilisé dans la construction de routes et était également l'ami et l'aide de Morse dans les premiers jours du télégraphe. Le jeune Eli a suivi dans des poursuites scientifiques. Il est diplômé de Yale en 1857. Il a enseigné pendant un an dans une école privée à Unionville, Connecticut, puis a repris ses études à la Sheffield Scientific School. Il étudia ensuite en Allemagne à Heidelberg sous Bunsen et Kirchhoff, à Marburg sous Kolbe, à Berlin sous Dove et Magnus. Il avait prévu d'être chimiste, mais a fini par devenir physicien. Entre 1866 et 1870, il enseigna à l'Université du Vermont, à Columbia et à Cornell. En 1870, il fut nommé premier professeur de physique à l'université Brown de Providence.
Ce petit groupe savait que Bell travaillait sur la théorie selon laquelle la puissance de ses instruments était proportionnelle à leur taille. En fait, lorsque Bell a exposé ses découvertes dans l'ancien Music Hall de Providence, il avait montré de petits instruments à diaphragmes d'un pouce de diamètre, ainsi qu'un plus grand doté d'un diaphragme d'un pied. Les plus petits avaient parfaitement reproduit la musique, mais pas parfaitement la voix humaine.
Alexander Graham Bell avait breveté son téléphone après avoir soumis un modèle brut avec sa demande le 14 février 1876. Son téléphone,avec un récepteur maladroit pesant dix livres, il a été exposé à l'exposition du centenaire cet été. Bell était au courant et ennuyé par les travaux en cours jusqu'à ce qu'il apprenne qu'ils étaient menés pour des intérêts scientifiques plutôt que commerciaux. Après cela, bien qu'il les appelait avec condescendance «les expérimentateurs», il était prêt à connaître leurs progrès. À la fin de l'hiver ou au début du printemps 1877, à la maison de Rowland Hazard au n° 45 de la rue de William Ely, où vivait le professeur Blake, Blake assista à une démonstration du téléphone avec l'aide de William Ely. Le fil était tendu entre la salle de réception, juste à l'intérieur de la porte d'entrée, et le bureau à l'autre bout du long couloir, avec un téléphone à chaque extrémité. Il se trouve qu'Ely écoutait le récepteur dans le bureau, où le professeur Blake terminait sa préparation, lorsqu'il a entendu une voix familière à l'autre bout du fil et a dit : «Mon père vient d'entrer, j'entends sa voix; vous l'attendiez ?
Le professeur Blake était abasourdi et ravi, car même dans leurs envolées les plus folles, les scientifiques n'avaient pas rêvé de la possibilité de reconnaître les voix individuelles.
Le plus gros problème avec ce téléphone était la taille imposante du récepteur. William Ely peut être crédité de l'idée de remplacer l'aimant en fer à cheval par un aimant à barre de fer aimantée. Le résultat a été ce que John Peirce l'a appelé le «butterstamp» en raison de sa ressemblance avec un ustensile ménager alors utilisé pour estamper des motifs sur des morceaux de beurre. Ce récepteur a également produit des tonalités plus claires. Walter Lee Munro se souvint du matin de mai 1877 lorsque les descriptions et les illustrations du téléphone de Bell parurent dans le Providence Journal :
Le Prof. Blake entra dans la salle de conférence dans un état de grande excitation, une copie du papier à la main et s'adressa essentiellement à la classe comme suit: Messieurs, vous avez vu l'annonce du téléphone du professeur Bell dans le journal de ce matin. Vous connaissez tous l'instrument; certains d'entre vous les ont eux-mêmes fabriqués. Je veux vous dire qu'il y a quelque temps, le professeur Bell est venu de Boston pour comparer des notes avec le professeur Peirce, le Dr Channing et moi-même. Il nous a dit qu'il avait maîtrisé le principe du téléphone mais qu'il n'avait pas été en mesure de concevoir un récepteur qui ne soit pas trop encombrant à utiliser. Nous lui avons montré notre récepteur que vous connaissez tous. Je vous demande de comparer cela avec celui du professeur Bell, comme illustré dans le journal aujourd'hui. C'était l'heure de triomphe du professeur Blake, car il savait que la classe savait de quoi il parlait .

Pour Bell vendre le téléphone est la conséquence logique de son invention, il partagera les droits avec ses deux associées, Watson et Hubbard.
Une nouvelle répartition sera effectuée pour donner 10% à Watson à condition qu'il quitte son emploi chez Williams pour se consacrer à la fabrication des appareils téléphoniques. Il hésita et finit par acccepter la proposition car à cette époque, chez Williams Watson ne gagnait qu'un salaire de compagnon de 3,00 $ par jour et attendait en vain de devenir contremaître.

Hiver 1876-77 la fortune des assoiés ne suffit plus à soutenir le rythme de fabrication, Hubbard voulu offrir les droits sur le téléphone à Western Union pour 100 000 dollars, offre que la Western Union refusa.

Peu de gens considéraient l’invention de Bell comme plus qu’un simple jouet, mais il ne fallut pas longtemps pour que les gens installent des téléphones dans leurs maisons, leurs commerces et leurs villes. Bell détenait les brevets de l’équipement et les louait. Comme pour toute nouvelle technologie, des rumeurs extraordinaires sur ses capacités se répandirent alors que les téléphones apparaissaient d’abord en Nouvelle-Angleterre, avant de se propager rapidement vers l’ouest.
Le premier téléphone fit son apparition dans le Wisconsin en 1877, lorsque le banquier d'Appleton, Alfred Galpin, installa une ligne entre son domicile et sa banque. Quelques mois plus tard, il construisit un central téléphonique artisanal pour vingt-cinq téléphones à Appleton. Platteville rivalisait avec Appleton pour le titre de première ville à avoir installé le téléphone, puisqu'elle en possédait un au moins en 1878 .
En 1877, Richard Valentine installa une ligne téléphonique privée pour lui-même et une autre pour son frère à Janesville. L'année suivante, il construisit une ligne pour le rédacteur en chef du Berlin Journal et une autre pour la compagnie de chemin de fer Sheboygan and Fond du Lac à Dartford. Le directeur souhaitait une ligne reliant la gare aux tavernes situées de l'autre côté du lac Green. Valentine construisit alors l'un des premiers centraux téléphoniques du pays afin de connecter ces trois lignes. Valentine se rendit à Milwaukee pour présenter aux industriels les possibilités offertes par le téléphone afin de relier leurs entreprises, usines et entrepôts. Ces derniers ne comprirent cependant pas l'utilité du téléphone. Valentine fut la risée de la ville ...

sommaire

Zoom sur le lieu de naissance du téléphone

C'est l'endroit ou le 3 juin 1875, Alexander Graham Bell a transmis pour la première fois la parole par des fils électriques depuis cette pièce mansardée. À l'époque, cette pièce se trouvait au cinquième étage d'un immeuble appartenant à Charles Williams, Jr. au 109 Court Street (aujourd'hui le John Fitzgerald Kennedy Federal Office Building), à Boston. Lorsque l'immeuble fut démoli à la fin des années 1920, chaque pièce de bois de la pièce mansardée fut soigneusement retirée, numérotée et notée sur des plans précis. La fenêtre fut conservée intacte. Thomas A. Watson, l'assistant du Dr Bell, authentifia chacun des dessins, et les poutres, les chevrons, le revêtement et les planches de plancher furent soigneusement entreposés dans un bâtiment de la compagnie de téléphone.
En 1959, à partir des plans originaux, la pièce fut réassemblée dans le hall du bâtiment du siège de la New England Telephone and Telegraph Company au 185 Franklin Street, à Boston. Elle est ouverte au public le 3 juin, jour du 84e anniversaire de la naissance du téléphone, la pièce apparaît telle qu'elle était en octobre 1875, lorsque le Dr Bell préparait des croquis et des modèles pour le premier brevet de téléphone qui fut accordé le 7 mars 1876. Bien que le bois d'origine et les plans de réassemblage étaient facilement disponibles, des recherches approfondies s'avérèrent nécessaires pour recréer la pièce telle que le Dr Bell la connaissait. La consultation d'anciennes cartes de la ville et de dessins de bâtiments du quartier a permis de recréer la vue depuis la fenêtre de l'atelier. Le diorama est non seulement historiquement exact, mais les effets de lumière permettent de présenter l'odeur telle qu'elle apparaissait à n'importe quel moment du jour ou de la nuit. L'établi et les étagères étaient temporaires et n'ont été utilisés que pendant dix mois. En s'appuyant sur le témoignage du Dr Bell dans les affaires de brevets et sur les mémoires de M. Watson, l'établi et les matériaux qui s'y trouvaient ont été recréés. Tous les modèles et répliques ont été construits par les Bell Telephone Laboratories à partir de dessins originaux fournis par le Dr Bell. Les livres et autres documents de référenceont été assemblés après des recherches intensives. Parmi ceux-ci, on trouve le Standard Elocutionist de Bell, écrit par l'oncle du Dr Bell et son père, ainsi que la Théorie physiologique de la musique de Helmholtz en français.
Les briques composant un mur proviennent d'un bâtiment dont l'existence est connue en 1870 et sont conformes à la déclaration de M. Watson concernant leur couleur. Dans l'un des murs de la salle, une vitrine à trophées présente les objets les plus importants associés aux débuts de l'histoire du téléphone.

Parmi ces objets figurent le premier standard téléphonique au monde exploité par ET Holmes au 342 Washington Street, à Boston en mai 1877 et le premier téléphone commercial au monde qui se trouvait dans la boutique de Charles Williams et était relié au standard de Holmes. Des répliques des premiers téléphones à transmettre la parole intelligible et des reproductions du premier brevet de téléphone et des plans à partir desquels la salle a été réassemblée.

Dès le début de 1877, un premier prospectus vantait l'appareil capable de communiquer jusqu'à 20 milles. Aucune allusion n'était faite à des réseaux d'abonnement.
sommaire

En janvier 1877, alors que Bell était à Washington pour déposer son deuxième brevet de téléphone, il fit une démonstration du téléphone au Smithsonian pour Joseph Henry et ses filles. Il réitéra la démonstration le soir même, à l'invitation de Henry, devant la Société philosophique de Washington, dont Henry était président. À cette occasion, Henry parla de « la valeur et du caractère étonnant de la découverte et de l'invention de M. Bell ». Les témoignages de Henry et d'autres scientifiques éminents contribuèrent à asseoir la crédibilité de Bell à une époque où sa situation financière était précaire. Bell n'oublia pas la contribution de J.Henry. Peu de temps après la mort d'Henry en 1878, Bell organisa un service téléphonique gratuit pour la veuve d'Henry, Harriet, et ses filles.

Le test de la Boston Rubber Shoe Company, le 31 janvier, s'est déroulé selon une méthode qui allait bientôt devenir typique du format utilisé par le professeur Bell lors de sa visite publique.
Bell à Boston et Watson à six miles de là, à Malden, commencèrent la conversation en parlant à voix suffisamment forte pour que les observateurs puissent distinguer les sons. Watson s'adressa alors doucement à chacun des membres de l'équipe, répondant tour à tour aux questions qu'ils lui posaient. Il put même reconnaître certains de ses interrogateurs au son de leur voix. Watson réussit également à impressionner l'assemblée en citant divers articles de journaux, dont celui annonçant que le prix de l'or avait clôturé la veille au soir à New York à 105 £. Les hommes d'affaires présents ont ainsi pu constater l'utilité du téléphone dans leurs activités. Le point culminant est venu lorsqu'une jeune femme de Malden, une « belle cantatrice » à la voix d'une « douceur exquise », a commencé à chanter « La dernière Rose d'Été » au téléphone.
Des tests réussis comme celui-ci prédisaient que le téléphone était destiné à obtenir les « meilleurs résultats possibles » et les offres des parties intéressées n'ont pu qu'encourager Bell dans sa vision de l'avenir, mais elles n'ont en rien contribué à soulager ses besoins immédiats.

Le deuxième brevet : la box
Les avocats de Bell le pressent de rédiger des spécifications et le 15 janvier 1877, il dépose à Washington son deuxième brevet sur le téléphone incluant les différentes améliorations. Il lui est attribué le 30 janvier sous le no 186 787 dont voici une reproduction :
et ( en pdf ) Brevet 119626 Perfectionnements apportés dans la téléphonie électrique, ainsi que ...
Ce téléphone volumineux est une encore une boite disgracieuse (sauf pour les collectionneurs), de plus il n'y avait pas encore de dispositif tel qu'une sonnerie ou un avertisseur sonore pour attirer l'attention de la personne à la réception d'un appel. Il fallait taper fortement avec un crayon sur le diaphragme ou hurler devant l'embouchure. Son utilisation était désagréable: il fallait prendre la boite et crier, puis la porter à l'oreille pour écouter.
Malgré ces problèmes, Bell et son groupe ont décidé de commercialiser entièrement l'invention.
"
Photos au National Museum of Scotland" d'un appareil qui servit aux démonstrations.
il s’agissait du tout premier type de téléphone mis en vente

Bell employa comme transmetteur un aimant aussi fort que possible, composé, d'après leprincipe de Jamin, d'un certain nombre de lames minces d'acier réunies en forme de fer à cheval, comme le représente la figure ci dessous.
Septembre 1877
Contrat entre Melville Bell et l’honorable Alexander Mackenzie pour la location de deux téléphones manuels en bois et deux téléphones en forme de boîte.

Ce téléphone ressemblant à un appareil photographique a été le premier téléphone utilisé dans un cadre commercial. Deux de ces appareils, en plus de deux téléphones manuels en bois, ont été les premiers à être loués au Canada, reliant le bureau du premier ministre Alexander Mackenzie à Rideau Hall à la résidence privée du gouverneur général Lord Dufferin.

Le 12 février 1877, Bell donne une conférence téléphonée au Lycée de Salem. assité par Thomas A. Watson, à l'autre extrémité à Boston.

Plus tard dans la soirée du 12 février 1877, après la manifestation Henry M. Butchelder, un journaliste du Boston Globe, téléphone son rapport à AB Fletcher, un autre journaliste du Globe, présent à la conférence téléphonique improvisée de Boston.
Ainsi, le premier article de journal envoyé par téléphone a été imprimé dans le journal le lendemain matin.


l'intégral du scientific American du 31 Mars 1877

sommaire


Le Rutland Daily Glob
e a reproduit l’histoire du Boston Globe.
Comme vous pouvez le constater dans la coupure de presse publiée ci-dessous, le Butland Dailly Globe voyait un grand potentiel dans la technologie téléphonique.
Voici un extrait d'une histoire de Salem Focus intitulée,
“ Le premier appel interurbain “
Le 12 février 1877, Bell effectua le premier appel téléphonique longue distance de l’histoire, du lycée de Salem à Watson au Boston Globe de Boston.
Le téléphone utilisé par Bell lors de sa démonstration était ce qu'il appelait son téléphone "Interurbain".
C'était une boîte en bois d'environ dix pouces sur dix sur huit avec un trou à l'avant. L'appelant parle et écoute à travers le même trou.
Thomas Watson avait mis au point un "thumper" qui était utilisé pour signaler au récepteur l'arrivée d'un appel.
À présent, Bell tenait l'appareil et émettait un son de tapotement sur le diaphragme, lequel reproduisait à son tour le même son sur le diaphragme du téléphone de Watson à Boston.
Quelques instants plus tard, Bell entendit un son dans son téléphone indiquant que Watson était prêt pour la communication. Bell se pencha près de la boîte et parla dans l'appareil, suffisamment fort pour que son auditoire l'entende :
M. Watson, tu m'entends ?
Pendant un instant, la seule chose que l'auditoire entendit fut un craquement provenant de l'appareil récepteur. Puis une voix se fit entendre.
Oui, monsieur, je vous entends
.
Une brève pause ....
Ensuite, M. Bell, je voudrais chanter une chanson pour votre public à Salem. Es-tu prêt ?

...

 


Le "Télégraphique journal", assure du reste qu'une conversation a été échangée de cette manière entre les villes de Boston et de Salem (Massachusetts), éloignées l'une de l'autre de 18 milles, et, cette fois, si la chose est vraie, il n'y a plus qu'à s'incliner devant un résultat aussi merveilleux...

Le magazine Popular Science de décembre 1906 décrit le premier exemple de reportage téléphonique:

sommaire

Alexander Graham Bell et la commercialisation du téléphone

Début février, Bell a eu un désaccord avec son père concernant certains arrangements financiers entre eux.
Apparemment, Alexander Melville Bell a également critiqué la situation financière de son fils.
Le jeune Bell a rétorqué que ses affaires n'étaient pas « embrouillées » et qu'il possédait suffisamment d'argent pour couvrir ses dépenses. Il a expliqué qu'il pouvait gagner de l'argent grâce à ses brevets étrangers, mais qu'il préférait emprunter à intérêt et utiliser ce temps pour perfectionner le téléphone. Il a conclu : « Je n'ai pas l'habitude de mendier auprès de vous ou de qui que ce soit d'autre. Au pire, mes brevets doivent disparaître. »
Une solution partielle aux problèmes financiers de Bell était imminente. On lui avait demandé de s'adresser à l'Institut Essex de Salem, une société scientifique, le 12 février 1877. Le soir de la représentation, tous les sièges étaient combles : des hommes se tenaient dans les embrasures des portes et les allées ne se distinguaient pas des rangées habituelles de sièges. La démonstration fut un franc succès. Les Boston Globs du 13 février, dans un article. Intitulé « La première dépêche de journal à transmettre une voix humaine », M. M. a déclaré : « Les applaudissements fréquents et prolongés ont montré que le public appréciait pleinement les merveilleuses utilisations et l’expérience acquises avec ces machines.» La première conférence d’Essex a connu un tel succès que Bell a presque immédiatement commencé à négocier avec le secrétaire de l’Institut pour une nouvelle représentation. Après avoir été mis gratuitement à la disposition des membres de la Société, la seconde était de demander une admission. Bell a spéculé que cinq cents billets à cinquante centimes le rembourseraient pour une nuit de travail et qu'une ou deux conférences le rendraient indépendant de ses brevets étrangers. De plus, ces conférences le libéreraient d'un enseignement qui ne lui rapportait que cinq dollars de l'heure. Il a demandé à ses Fiancée : « Serait-ce indigne de ma dignité de voler 200 $ par nuit en donnant des conférences ? »
Des conférences de l'Institut d'Essex ont émergé, au printemps et à l'été 1877, d'une série de conférences publiques. L'objectif de Bell était de donner de l'argent aux organisateurs et de prouver la praticabilité de l'instrument. Ils ont accompli cela et bien plus encore. Les conférences téléphoniques de Bael se tenaient généralement dans des auditoriums, des salles de lycée ou des opéras de différentes tailles et qualités acoustiques. Des techniques spéciales ont été développées afin de compenser ces deux conditions et le fait que les téléphones étaient encore des instruments rudimentaires.
À chaque cours, trois ou quatre téléphones étaient utilisés : l'un était placé sur la scène et les autres étaient dispersés dans la salle, suspendus au plafond ou fixés à des poteaux. Les fils de ces instruments étaient reliés à un poteau télégraphique miniature sur scène, puis à un standard téléphonique permettant de commuter les transmissions d'un téléphone à l'autre. Le téléphone était le plus puissant disponible, mesurant quatorze ou quinze pouces de long et huit pouces de large, et contenant un énorme aimant en fer à cheval. Il était demandé aux locuteurs de crier le plus fort possible dans l'émetteur. Par conséquent, même à une distance considérable du récepteur, on pouvait enrouer la voix de l'orateur, voire ne pas comprendre ce qui était dit. Pour garantir la compréhension, « des phrases familières étaient employées et les mots étaient connus à l'avance ». .

Après la naissance du téléphone à Boston, son baptême au Bureau des brevets et son accueil royal au centenaire de Philadelphie, on pouvait supposer que la vie de Bell serait désormais paisible et agréable. Mais comme il s'agit d'histoire, et non d'imagination, il faut noter le fait très surprenant que le jeune nouveau venu ne reçut aucun accueil favorable ni aucune attention de la part du grand monde des affaires. « C'est un jouet scientifique », disaient les commerçants. « C'est un instrument intéressant, bien sûr, pour les professeurs d'électricité et d'acoustique ; mais il ne peut jamais être une nécessité pratique. Autant proposer d'installer un télescope dans une aciérie ou d'atteler un ballon à une fabrique de chaussures. »
Le pauvre Bell, au lieu d'être applaudi, fut la cible d'une pluie de moqueries. C'était un « imposteur », un « ventriloque », un « excentrique qui prétend pouvoir parler à travers un fil ». Le Times de Londres qualifia pompeusement le téléphone de dernière imposture américaine et donna de nombreuses raisons sérieuses pour lesquelles la parole ne pouvait être transmise par fil, en raison de la nature intermittente du courant électrique. Presque tous les électriciens – ceux qui étaient censés s'y connaître – déclarèrent que le téléphone était une invention impossible ; et ceux qui ne le dénoncèrent pas ouvertement comme un canular crurent que Bell avait découvert par hasard une utilisation bizarre de l'électricité, qui ne pourrait jamais avoir la moindre utilité pratique.
Bien qu'arrivé tard dans la lignée des inventeurs, Bell dut essuyer moqueries et adversités.
L'accueil réservé à son téléphone par le public lui fit sympathiser avec Howe, dont la première machine à coudre fut détruite par une foule de Boston ; avec McCormick, dont la première faucheuse fut qualifiée de « mélange entre un char Astley, une brouette et une machine volante » ; avec Morse, que dix Congrès considérèrent comme une nuisance ; avec Cyrus Field, dont le câble transatlantique fut dénoncé comme « un phénomène fou d'ignorance obstinée » ; et avec Westinghouse, traité d'idiot pour avoir proposé « d'arrêter un train avec du vent ».
L'idée même de parler à une plaque de tôle était si nouvelle et extraordinaire que l'esprit normal la répugnait. Pour l'ouvrier comme pour le scientifique, c'était incompréhensible. C'était trop étrange, trop bizarre, pour être utilisé hors du laboratoire et du musée. Personne, littéralement, ne comprenait son fonctionnement ; et le seul homme à proposer une solution claire au mystère était un mécanicien de Boston, qui soutenait qu'il y avait « un trou au milieu du fil ».
Ceux qui parlaient pour la première fois dans une "boxe telephone" ressentaient une sorte de trac. Ils se sentaient ridicules. Agir ainsi semblait absurde, surtout lorsqu'il fallait crier à tue-tête. De toute évidence, le confort que pouvait procurer ce nouveau dispositif était largement compensé par la perte de dignité personnelle ; et rares étaient ceux qui avaient assez d'imagination pour imaginer le téléphone comme faisant partie intégrante de leur travail quotidien. Le banquier disait que cela pourrait convenir aux épiciers, mais que cela ne servirait jamais au secteur bancaire ; et l'épicier disait que cela pourrait convenir aux banquiers, mais que cela ne servirait jamais aux épiciers.
Alors que Bell mettait au point son invention à Salem, un rédacteur en chef afficha le titre « Sorcellerie de Salem ». Le New York Herald écrivit : « L’effet est étrange, presque surnaturel. » Le Providence Press ajouta : « Difficile de résister à l’idée que les puissances des ténèbres y soient, d’une manière ou d’une autre, de mèche. » Et le Boston Times écrivit, dans un éditorial ironique : « On peut désormais courtiser sa femme en Chine aussi bien qu’à East Boston ; mais le plus grave dans cette invention est le pouvoir effroyable et irresponsable qu’elle confèrera à la belle-mère moyenne, qui pourra ainsi faire entendre sa voix aux quatre coins du globe. »

En 1876, des centaines de capitalistes astucieux scrutaient les villes américaines, cherchant avec perspicacité des opportunités commerciales. Mais aucun d'entre eux ne proposa à Bell d'acheter son brevet. Aucun ne se présenta pour un contrat d'État. Et aucun parlement, ni aucun conseil municipal, ne se porta volontaire pour offrir à la population un service téléphonique bon marché et efficace. Quant à Bell lui-même, il n'était pas un homme d'affaires. Dans tous les aspects pratiques des affaires, il était aussi incompétent qu'un Byron ou un Shelley. Il avait fait sa part, et il restait maintenant à des hommes aux compétences diverses de s'approprier son téléphone et de l'adapter aux usages et aux conditions du monde des affaires.
Le premier homme à entreprendre cette œuvre fut Gardiner G. Hubbard, qui devint peu après le beau-père de Bell. Lui aussi était un homme d'enthousiasme plutôt que d'efficacité. Il n'était ni riche ni expérimenté en affaires, mais il était admirablement qualifié pour introduire le téléphone auprès d'un public hostile. Son père avait été juge à la Cour suprême du Massachusetts ; lui-même était avocat et avait principalement exercé en droit. En 1876, c'était un homme d'apparence respectable, avec des cheveux blancs longs et une barbe patriarcale. C'était une figure familière à Washington et bien connue des hommes publics de son époque. Compagnon polyvalent et divertissant, tour à tour prospère et pauvre, et toujours optimiste, Gardiner Hubbard devint un élément indispensable en tant que premier agent de promotion du téléphone.
Aucun autre citoyen n'avait fait autant pour la ville de Cambridge que Hubbard. C'est lui qui avait assuré l'approvisionnement en gaz de Cambridge en 1853, l'approvisionnement en eau potable et la construction d'un tramway vers Boston. Il avait traversé le Sud en 1860 dans l'espoir patriotique d'éviter la guerre de Sécession imminente. Il avait convaincu le Parlement de fonder la première école publique pour sourds-muets, l'école qui avait attiré Bell à Boston en 1871. Et il avait été pendant des années un ardent défenseur des améliorations de la télégraphie et de la poste. Ainsi, en tant que promoteur de projets d'intérêt général, Hubbard n'était en aucun cas un novice. Sa première démarche pour capter l'attention d'une nation indifférente fut de faire grand bruit. Il comprit que cette nouvelle idée du téléphone devait être familière au public. Il parlait téléphone jour et nuit. À chaque voyage, il emportait deux de ces instruments magiques dans sa valise et faisait des démonstrations dans les trains et les hôtels. Il s'adressait à tous les hommes influents qu'il croisait. C'était un véritable « vieux marin » du téléphone. Aucun auditeur potentiel n'était autorisé à s'échapper.
Pour promouvoir cette campagne publicitaire, Hubbard encouragea Bell et Watson à réaliser une série d'exploits sensationnels avec le téléphone. Un fil télégraphique entre New York et Boston fut emprunté pendant une demi-heure et, en présence de Sir William Thomson, Bell envoya une mélodie sur la ligne de 380 kilomètres. « Entendez-vous ? » demanda-t-il à l'opératrice du côté new-yorkais. « Élégamment », répondit l'opératrice. « Quel air ? » demanda Bell. « Yankee Doodle », fut la réponse. Peu après, alors que Bell était en visite chez son père au Canada, il acheta tout le fil de poêle de la ville et le fixa à une clôture en fer forgé entre la maison et un bureau télégraphique. Puis il se rendit dans un village distant de 13 kilomètres et envoya des bribes de chansons et des citations shakespeariennes sur le fil.
Un grand nombre de personnes niaient encore la transmission de la parole par fil. Lorsque Watson discutait avec Bell lors de manifestations publiques, certains rédacteurs en chef parlaient avec scepticisme du « suppositif Watson ». Pour faire taire ces sceptiques, Bell et Watson préparèrent un test très rigoureux du téléphone. Ils empruntèrent la ligne télégraphique entre Boston et l'observatoire de Cambridge, et y branchèrent un téléphone à chaque extrémité. Puis, pendant trois heures ou plus, ils maintinrent la PREMIÈRE conversation téléphonique soutenue, chacun prenant soigneusement des notes de ce qu'il disait et de ce qu'il entendait. Ces notes furent publiées dans des colonnes parallèles du Boston Advertiser du 19 octobre 1876 et prouvèrent sans l'ombre d'un doute que le téléphone était désormais un succès.

Après cela, les événements se succédèrent rapidement. Une série de dix conférences fut organisée pour Bell, à cent dollars chacune, ce qui constituait la première rémunération qu'il recevait pour son invention. Sa première eut lieu à Salem, devant un auditoire de cinq cents personnes, et Mme Sanders, la vieille dame maternelle qui avait hébergé Bell à l'époque de son expérience, était fièrement assise à l'un des premiers sièges. Un poteau fut dressé à l'avant de la salle, soutenant l'extrémité d'un fil télégraphique reliant Salem à Boston. Watson, qui devint le premier orateur public par téléphone, envoya des messages de Boston à divers membres de l'auditoire. Un compte rendu de cette conférence fut envoyé par téléphone au Boston Globe, qui annonça le lendemain matin :

« Cette dépêche spéciale du Globe a été transmise par téléphone en présence de vingt personnes, qui ont ainsi été témoins d'un exploit jamais tenté auparavant : l'envoi de nouvelles sur une distance de seize milles par la voix humaine. »

Cette dépêche du Globe réveilla les rédacteurs en chef avec un sursaut inattendu. Pour la première fois, ils commencèrent à remarquer l'apparition d'un nouveau mot dans la langue et d'une nouvelle idée dans le monde scientifique. Aucun journal n'avait fait la moindre mention du téléphone pendant les soixante-quinze jours qui suivirent l'obtention du brevet de Bell. Aucun des nombreux journalistes qui se pressaient au centenaire de Philadelphie n'avait considéré le téléphone comme un sujet d'intérêt public. Mais lorsqu'une chronique fut envoyée par téléphone au Boston Globe, le monde entier de la presse fut en émoi. Mille plumes écrivirent le nom de Bell. Des demandes de répétition de sa conférence lui parvinrent de la part de Cyrus W. Field, le vétéran du câble transatlantique, du poète Longfellow et de bien d'autres.

Étant orateur de profession, Bell sut tirer le meilleur parti de ces occasions. Ses conférences devinrent des divertissements populaires. Elles étaient données dans les plus grandes salles. Lors d'une conférence, deux Japonais furent amenés à parler dans leur propre langue, par téléphone. Lors d'une deuxième conférence, un orchestre joua « The Star-Spangled Banner » à Boston, et fut entendu par un auditoire de deux mille personnes à Providence. Lors d'une troisième conférence, Signor Ferranti, de Providence, chanta un extrait des « Noces de Figaro » devant un auditoire bostonien. Lors d'une quatrième conférence, une exhortation de Moody et une chanson de Sankey furent diffusées sur la corde vibrante. Et lors d'une cinquième conférence, à New Haven, Bell fit seize professeurs de Yale alignés, main dans la main, et parlèrent à voix haute – un exploit qui était alors, et qui l'est encore aujourd'hui, presque inimaginable.

Le 17 mars 1877 Encouragé par ce succès, l'inventeur multiplie les essais et les démonstrations publiques comme celle réalisée sur une ligne télégraphique de la compagnie sur 9 km qui relie Boston et Malden.
3 avril 1877 - Première conversation téléphonique entre Watson à Boston et Bell à New York, sur une ligne télégraphique; conversation réussie mais extrêmement difficile

Le Le 26 novembre Bell, Watson et d'autres participent à la démonstration du "Premier appel longue distance" dans les deux sens simultanément entre Boston et Salem, sur 16 milles de lignes de télégraphe .
Dans les deux sens veut dire émission et réception sur le même fil télégraphique (l'autre etant la terre comme pour l'usage du télégraphe).

Le 3 décembre Conversation longue distance, entre Boston et North Conway, N. H., 143 milles, sur une ligne télégraphique entre Bell, Watson, Hubbard et d'autres.

sommaire

Revenons sur la période des conférences :

Une solution partielle aux problèmes financiers se présenta à Bell. On lui avait demandé de s'adresser à l'Institut Essex de Salem, une société scientifique pour une représentation, le 12 février 1877. Le soir tous les sièges étaient combles : des hommes se tenaient dans les embrasures des portes et les allées ne se distinguaient pas des rangées habituelles de sièges. La démonstration fut un franc succès. Les Boston Globes du 13 février dans un article Intitulé « La première dépêche de journal à envoyer une voix humaine par fil », il a déclaré : « Les applaudissements fréquents et prolongés ont montré que le public appréciait pleinement les merveilleuses utilisations et l'expérience acquises avec ces machines.» La première conférence d'Essex a connu un tel succès que Bell a presque immédiatement entamé des négociations avec le secrétaire de l'Institut pour une nouvelle représentation.
Comme la première conférence avait été gratuite pour les membres de la Société, la seconde était payante. Bell a spéculé que cinq cents billets à cinquante centimes pour le rembourseraient d'une nuit de travail et une ou deux conférences le rendraient indépendant de ses brevets antérieurs. De plus, ces conférences le libéreraient d'un enseignement qui ne lui rapportait que cinq dollars de l'heure. Il a demandé à sa fiancée : Serait-il indigne de ma dignité de gagner 200 $ par nuit en donnant des conférences ?
Les conférences de l'Institut d'Essex ont donné lieu à une série de conférences publiques au printemps et à l'été 1877.
Les conférences téléphoniques de Bell se déroulaient généralement dans des auditoriums, des lycées ou des opéras de tailles et de qualités acoustiques variées. Des techniques spéciales furent développées afin de compenser ces conditions et le fait que les téléphones étaient encore des instruments rudimentaires. À chaque cours, trois ou quatre téléphones étaient utilisés, l'un étant placé sur la scène pour l'usage de Bell et les autres dispersés dans la salle, suspendus au plafond ou fixés à des poteaux. Les fils de ces instruments étaient reliés à un poteau télégraphique miniature sur scène, puis à un standard téléphonique permettant de commuter les transmissions d'un téléphone à l'autre. Le téléphone était le plus puissant disponible, mesurant quatorze ou quinze pouces de long et huit pouces de large, et contenant un énorme aimant en fer à cheval. Les orateurs devaient crier le plus fort possible dans l'émetteur. Par conséquent, même à une distance considérable du récepteur, on pouvait entendre la voix enrouée de l'orateur même s'il ne comprenait pas ce qui était dit. Pour garantir la compréhension, « des phrases familières étaient employées et les mots étaient connus à l'avance ». Par exemple, Thomas Watson, l'assistant de Bell, criait : « Comment allez-vous ? » Malgré sa clarté d'expression qu'il avait développée en criant longuement et fort dans les téléphones pendant son association avec Bell, il n'était pas rare que son message sorte « hou hoc hoc » ! Mais le rythme était suffisant pour que le public pense avoir parfaitement entendu les mots.
Les téléphones sur le terrain étaient reliés par un fil télégraphique sécurisé par l'une des principales compagnies. Bien que la conférence ait été utile, les lignes de l'Union furent parfois endommagées. Elles semblent avoir généralement dépendu de celles de l'Atlantic and Pacific Telegraph Company.
Au cours de ses premières années, Bell utilisa un instrument classique et les services d'un télégraphe professionnel, en plus de son propre téléphone. Ce n'est que lorsque Bell n'eut plus peur de compter sur le téléphone comme moyen de communication.
Pour les conférences de Salem et de Providence, Bell était en contact avec Thomas Watson, qui se trouvait à son laboratoire d'Exetor Place, à Boston. Watson était entouré d'un assortiment coloré de personnalités : journalistes, musiciens, chanteurs et invités.
Les conférences duraient entre deux heures et deux heures et demie. Bell était généralement présent. Il était présenté par une personnalité scientifique, politique ou culturelle de premier plan. À New York, il a été présenté par le professeur F. A. Barnard, à Providence par le gouverneur Lippitt, et à Boston par l'ancien gouverneur Gaston.Parfois, la conférence était retardée en raison de difficultés techniques.
Bell refusait de commencer avant d'être sûr d'être en communication avec Watson. Lors de la première conférence à l'Institut d'Essex, Bell a fait attendre son public pendant quarante-cinq minutes, jusqu'à ce que les conditions soient réunies. À sa sortie, le public tapait du pied et de la canne. À un moment donné, Bell a appris que les lignes étaient inutilisables au moment même où il s'arrêtait sur scène. Il n'a eu d'autre choix que de continuer à parler jusqu'à ce qu'il reprenne contact avec Watson. En conséquence, le professeur Bell, orateur de formation et de profession, semblait mal à l'aise, ce qui a amené un journaliste à commenter qu'il était probablement plus à l'aise en laboratoire que sur une plateforme de conférence.
Des difficultés techniques survenaient parfois au cours de la présentation de Bell, le forçant à s'arrêter pour en chercher la cause. Lorsque les problèmes étaient insurmontables, la conférence se terminait plus tôt que prévu. Pendant la conférence à Lawrence, dans le Massachusetts, les problèmes étaient si importants qu'aucune manifestation n'eu lieu. Watson avait beau crier aussi fort qu'il le pouvait, il ne pouvait pas être entendu au téléphone. Cet échec a motivé un journaliste à composer le poème « Whiting for Watson », dans lequel il exprimait, entre autres, l'attitude attendue du public envers le téléphone :
Pousse un gémissement vigoureux,
Car le pain nous prendra une pierre,
Sonne ton vieux téléphone !
Sonne, frère Watson !
La performance de Bell consistait en des conférences sur divers aspects de l'expérimentation électrique, entrecoupées de démonstrations pratiques de ses divers instruments. Il commençait généralement par décrire les recherches qui avaient précédé les siennes, en reconnaissant clairement leur contribution à Page, Reiss, Gray, Wheatstone et d'autres. Puis Bell a donné son accord pour utiliser la musique, Watson a commencé les démonstrations pratiques en jouant lui-même de l'orgue ou en demandant à un assistant, Elisha Wilson, de jouer. La musique était transmise par le système « sake-and-break », c'est-à-dire à chaque fois qu'une touche était enfoncée, l'anche vibrante de l'orgue brisait et cassait le circuit électrique, selon la fréquence de sa vibration, et produisait un effet correspondant sur un instrument situé à l'extrémité de Bell.
Le répertoire comprenait des morceaux populaires, spirituels et patriotiques tels que « America », « Hail Columbia », « Mankee Doodle », « Hearer to Thoa ». Le public réagissait avec admiration et émerveillement à la musique d'orgue. Les journaux ont souvent qualifié ces sons d'« étranges et surnaturels », de « lugubres » et de « fantomatiques » et ont généralement fait écho aux sentiments du Manchester Union, qui déclarait : « La sensation produite par les premières notes de la pièce était résolument « étrange » et, si la salle avait été plongée dans l'obscurité, nous pensions vraiment que certains seraient partis sans ménagement. » Le professeur Bell expliquait ensuite que le principe utilisé dans cette transmission n'était pas nouveau, mais que son application l'était. Il pouvait servir à la transmission de nombreux messages télégraphiques sur un seul fil. Bell commentait le travail réalisé par Elisha Gray et Paul Latour dans ce domaine. Il approuvait pleinement cette distinction, mais précisait que « Le téléphone de Gray n'était qu'un simple moyen de transmettre des sons erronés, tandis que le sien servait à transmettre des sons vocaux, des paroles articulées ».
Bell a également expliqué qu'il considérait la transmission de musique comme une simple curiosité et qu'il n'avait pas pris le temps de la perfectionner. Il a donc demandé au public de bien vouloir excuser les discordances. Il a ensuite démontré l'application pratique du principe en faisant transmettre des « points et des tirets audibles… des notes différentes ». Une fois cette phase de la démonstration terminée, Bell a demandé que la batterie soit retirée de la ligne.
La conférence se poursuivit jusqu'à ce que Bell apprenne que la batterie avait été coupée. Il appelait alors Watson et tentait une conversation. Watson criait des phrases telles que « Comment allez-vous ? », « Bonsoir » et « Que pensez-vous du téléphone ?». Après cette conversation, Watson chantait généralement les gammes et quelques chansons de son répertoire limité et de son propre aveu, Thomas Watson était le chanteur par téléphone le plus célèbre, non pas parce qu'il avait étudié l'art du chant, mais parce qu'il l'avait maîtrisé au téléphone. Vers la fin de la tournée de conférences de Bell, des dispositions spéciales furent prises pour engager un chanteur professionnel ou pour le public new-yorkais distrait. L'astuce du chant par téléphone consistait pour le chanteur à serrer ses lèvres dans l'embouchure aussi fort que possible et à chanter de toutes ses forces. Lorsque Bell demandait une chanson au chanteur professionnel, Watson plaçait l'instrument près de la bouche du chanteur et « le poursuiviait sur la moitié de la pièce pour garder sa bouche près d'elle, mais il reculait et ne il ne voulut pas chanter à moins de 2,5 cm ». Le public n'entendit aucun son et Watson fut donc invité à chanter une chanson comme d'habitude.
Les conférences comprenaient également des prestations musicales plus élaborées. Lors de la conférence Boston-Providence, le chanteur d'opéra Signor Brignoli a chanté des sélections du Barbier de Séville depuis Providence par téléphone. Un journal de Boston rapporte : « Du haut de l'embouchure, un bruit s'échappa, comme si quelqu'un à un kilomètre de distance était en train d'être étouffé ; puis il disparut presque, et sa fin était incertaine, à la frontière entre la lumière du jour et l'obscurité. » Le public applaudissait, car « c'était formidable d'entendre Brignol chanter à Providence alors qu'ils étaient assis au Boston Music Hall. »
Le Quatuor suédois a connu plus de succès à une autre occasion, mais les plus grands succès au chant étaient généralement ceux de Watson.
Souvent, Bell invitait les responsables de la communauté présents dans l'auditoire à s'entretenir avec Watson ou un ami. Il n'était pas rare qu'un membre du clergé fasse partie de ceux à qui cet honneur spécial était accordé. Lors de la conférence de Providence, le révérend Bahrand a interviewé Watson sur l'état du climat à Boston à l'époque et lui a demandé s'il était au courant des résultats des élections de la veille. À New York, le Dr Artmitage a souhaité savoir si le téléphone pouvait être utilisé dans le cadre de sa profession. Il était assuré qu'il serait capable de prêcher depuis son lit de malade ou de sa chaire à ses paroissiens paresseux.
À New York, Bell a également appelé Cyrus W. Field au téléphone. Il a demandé à Watson l'heure et la météo, ainsi que son opinion sur l'intervention téléphonique de Morse. L'un des « principaux juristes » de Boston n'a pu que « dégainer ! » lorsqu'il a eu l'occasion de parler au téléphone.
Outre l'orgue, d'autres instruments usuels étaient utilisés pour la démonstration du téléphone. Une fanfare était parfois présente, mais la pratique habituelle consistait à faire appel à un compositeur de renom. La présentation la plus spectaculaire de ces compositeurs eut lieu lors de la dernière conférence de la série Boston. Thomas Watson et un compositeur étaient à Somerville, où William tenait son journal ; Bell était à Boston avec deux compositeurs, D. W. Boardman et M. Gordon ; et Frederick A. Gower était à Manchester, dans le Hampshire, avec le compositeur J. R. Lafricain. Bell demanda un air de Somerville, et celui-ci répondit avec « American Ryan », dont la note était merveilleusement distincte. Une conversation et des vocalises de Watson suivirent. Vers la fin de la démonstration, M. Boardian, à Boston, plaça sa corne au bord du téléphone et joua au profit de Manchester. La corne de Manchester joua ensuite. et M. Gordon à Boston a ensuite joué pour ses amis de Manchester... Le professeur Watson fut de nouveau sollicité, et la phrase « La Rose de Suse » était distinctement audible.
À Boston, M. Boardian a adressé son appel téléphonique à quelques membres du public pour les inviter à monter sur scène et, le cas échéant, à utiliser le téléphone. Ces offres furent donc accueillies avec enthousiasme et les invités se sont empressés de répondre. pour « l'occasion de savourer la sensation inédite d'entendre un inconnu parler et chanter dans une ville lointaine ».
Ils ont défilé devant l'instrument sur scène, plaçant leurs doigts à la bouche du récepteur. Bell a conclu sa conférence en décrivant ses propres expériences téléphoniques et en donnant une série finale de tests qui incluent généralement une invitation à quelques membres du public pour qu'ils montent sur scène et utilisent eux-mêmes le téléphone. Ces offres ont été accueillies avec enthousiasme et les invités ont réclamé avec impatience « l'occasion de savourer la sensation inédite d'entendre une étrange conversation et un chant dans cette ville lointaine ».
Le public de Bell à plusieurs reprises, eu le privilège d'assister à des dépêches téléphoniques adressées aux journaux.
La première a été envoyée après la première conférence de l'Essex Institute. Bell espérait avoir la salle pour lui et les journalistes. Il a donc essayé de décourager le public de rester après la conférence habituelle en baissant les lumières et en débranchant les instruments, mais une vingtaine d'entre eux sont restés et ont vu Bell transmettre cette dépêch : "J'ai rapporté chaque phrase à M. Watson par téléphone, et M. Watson me l'a répétée par téléphone pour être sûr de la comprendre". Un journaliste du Globe à Boston a pris la dépêche de M. Watson. Il n'y a eu aucun problème du début à la fin… La dépêche a été envoyé dans un délai bien plus court que ce qui aurait probablement été possible avec le système Morse.
Téléphoner les dépêches des journaux lorsque les conditions le permettaient était le dernier événement de la soirée.
Une fois l'opération terminée, le public est parti.
Le public assistant à la conférence de Bell était varié en taille, mais rarement en composition. Il était composé de la meilleure société, dont une très bonne proportion de femmes.
Les conférences de Bell se conformaient à ce format général, mais au fil du temps, elles sont devenues plus élaborées et des innovations ont été introduites. Une innovation majeure a eu lieu avec la conférence de New Haven-Hartford, le 2 avril 1877. Jusque-là, Bell avait donné des conférences devant le public principal, tandis que son assistant Watson émettait ses cris, ses chansons et ses « thrillers » — en termes relatifs Privatisation du laboratoire.
Le 27 avril 1877, cependant, deux démonstrations majeures ont eu lieu simultanément dans deux villes différentes. Alexander Graham Bell était sur la scène du Stiff's Opera House de New Haven, et Frederick A. Gower était sur scène au Robert's Opera House de Hartford. Watson était à égalité entre eux deux à Middletown, où il a transmis ses cris, ses chants et ses conversations.
Frederick A. Gower avait fait partie de l'équipe du Providence Evening Press et, à ce titre, avait assisté à la deuxième conférence de Bell à l'Essex Institute. Au cours de la soirée, Bell a demandé à Gower de tester le téléphone, ce qu'il a fait en conversant avec Watson. Ce fut un événement heureux, car Gower était non seulement journaliste, mais aussi président du comité des conférences du Franklin D. Roosevelt à Providence. Il proposa, et Bell accepta, qu'une conférence soit donnée à Providence. Ainsi commença l'association de Bell avec le haut en couleur Frederick Gower. C'est aussi Frederick Gower qui initia le projet de conférences téléphoniques doubles. Leur format était essentiellement le même que celui de la représentation unique de Bell.
Gower, gentleman aux manières affables et à la tenue agréable, donna une brève conférence d'introduction et des explications. Il a expliqué les principes de la téléphonie. Selon la formation technique de chacun et peut-être son désir de voir le téléphone plutôt que d'en entendre parler, la conférence de « l'intellectuel » Gower n'expliquait pas l'instrument aussi clairement qu'on le pourrait.
Gower, comme Bell, ont su tirer parti des personnalités qui assistaient à la conférence. Il les faisait asseoir sur scène. Où ils pouvaient être vus et, pendant la démonstration, ils pouvaient tester les instruments eux-mêmes.
Lors de ces représentations simultanées, Bell donnait une conférence dans la ville la plus importante, tandis que Gower « se livrait à des escarmouches » avec la ville la moins importante, Watson se situait toujours quelque part entre eux. Malgré la complexité supplémentaire de la démonstration simultanée du téléphone dans plusieurs villes, les conférences n'en furent pas moins un succès technique.
À la fin de la conférence de Boston, un journal a commenté : Les capacités exécutives qui ont rendu cette série de divertissements si unique méritent pleinement un tel succès.
Des embellissements supplémentaires ont été ajoutés aux conférences de Bell au fur et à mesure qu'il gagnait en expérience et les présentait à des publics qu'il considérait comme plus importants. Pour la conférence de Boston Bell commanda un « kaléidoscope électrique » qui rendrait visible à un large public une représentation des vibrations électriques essentielles au fonctionnement du téléphone. Il était convaincu que cela produirait des effets surprenants. Bell a également commandé une série de diapositives photo pour clarifier sa discussion sur le développement du téléphone. Ils n'ont pas toujours atteint leur objectif. Un journaliste a trouvé les chiffres « complexes et pas très intelligibles ». Malgré leurs défauts, ils offraient désormais à Bell une méthode agréable pour terminer ses conférences. Il projetait plusieurs photos comiques sur l'écran, dissipant ainsi les rires de son auditoire.
À Boston et à New York, où Bell donnait une série de trois conférences, il variait légèrement son sujet chaque soir. Le premier soir, il a donné une conférence sur l'histoire de la recherche téléphonique et la place de ses découvertes par rapport à celles des autres ; le deuxième soir, il a abordé la multitélégraphie ; et lors de la dernière conférence, il a concentré son attention au téléphone.
À chacune de ses séances, Bell prenait le temps de discuter des utilisations et du potentiel de développement du téléphone. Il envisageait un système de bureau centralisé permettant de connecter les téléphones de différents endroits au moyen d'un commutateur. Ils seraient particulièrement utiles au monde des affaires, car les hommes d'affaires pourraient effectuer leurs transactions en moins de temps qu'il n'en faut pour correspondre. Bell a spéculé que le téléphone serait loué à la minute, mais que malgré cela, ses utilisateurs obtiendraient plus de satisfaction en quelques minutes de conversation que par correspondance conventionnelle. De plus, la communication téléphonique ne laissait aucune trace, ce qui était apparemment un avantage à l'époque. De peur que le public ne conclue que le téléphone n'était qu'un outil professionnel, Bell mentionnait également son usage domestique. Il supposait que les jours de mauvais temps, Mme Smith pouvait appeler le bureau central, contacter M. Jones, le boucher, et commander un dîner sans se mouiller. Elle pouvait établir une connexion avec Mme Brown et passer toutes les deux « une heure » très agréable à s'entretenir avec Mme Robinson.
Bell a fait part de sa conviction que les possibilités offertes par ce téléphone pourraient être étendues indéfiniment. Il a prédit qu'« à l'avenir, les télégraphes et le téléphone seraient largement utilisés dans les logements, au fur et à mesure que le gaz et l'eau seraient fournis, et non plus seulement dans les maisons individuelles.
Ce premier été, Bell et Watson en avaient terminé avec leurs conférences publiques, mais cela ne signifiait pas la fin des conférences téléphoniques.

Elisha Gray, qui devait revendiquer la priorité dans l'invention du téléphone, avait pris le relais pour démontrer sa propre invention . Gray a donné une conférence début avril à New York, précédant celle de Bell de plus d'un mois. Le New York Times a souligné la demande du public pour de telles performances. L'affluence au Steinway Hall hier soir était sans précédent. Alexander Graham Bell était parmi ceux qui se sont précipités à la conférence. En réalité, l'intervention de Gray tenait plus du concert que de la conférence. Son exposition téléphonique était intercalée entre deux concerts réguliers. Par conséquent, Gray n'a pas pu donner d'explications détaillées sur ses recherches et le principe de son téléphone. À cette époque, cependant, il reconnaissait à Bell le mérite d'avoir inventé l'instrument qui transmettait la voix humaine.
À certains égards, les concerts de Gray ressemblaient à ceux de Bell. Ses émissions provenaient d'autres villes que celle où ils étaient reçus. Elles étaient fréquemment entachées de difficultés techniques. Les concerts de Gray comprenaient même de nombreuses sélections musicales identiques. Mais la similitude s'arrêtait là, car le téléphone de Gray ne servait qu'à transmettre de la musique par fil télégraphique. Les concerts de Gray étaient principalement consacrés à la présentation de « musique électrique ». Ils ne le firent plus, car le téléphone de Gray ne pouvait pas transmettre d'article.

Thomas Edison s'est également lancé dans la lecture publique avec sa version du téléphone. Ses efforts étaient plus proches de ceux de Bell, car il transmettait non seulement de la musique improvisée, mais aussi des solos et du chant.
Bell a été mis au défi non seulement pour l'invention de ce téléphone, mais aussi pour sa présentation. L'intérêt de Bell ne permettait pas à ses concurrents dans le domaine des conférences téléphoniques de rester incontestés. Frederick Gower a continué de le représenter après le départ à la retraite de Bell. Il a été qualifié pour devenir l'héritier de Bell comme conférencier téléphonique, après s'être vu confier la gestion des conférences lorsque Bell a conclu que les accords précédents s'avéraient financièrement insatisfaisants. De plus, Bell appréciait personnellement Gower.
La décision de Gower de continuer sans Bell était malvenue, car l'été était déjà arrivé et « le public en salle était souvent réduit ». Il s'occupa jusqu'à ce que le climat des conférences téléphoniques s'améliore grâce à l'obtention d'une agence générale pour la distribution des téléphones en Angleterre. Lorsqu'il reprit ses cours, Gower adopta certaines innovations et planifia « Une tournée nationale ».

En janvier 1878, Frederick Gower donna plusieurs conférences téléphoniques à Boston et dans ses environs. Il utilisa essentiellement le même format que lorsqu'il était associé à Bell. Il suspendit les téléphones, expressément destinés aux conférences, à divers endroits du public et fit intervenir des chanteurs et des cornistes. Le point culminant de la soirée fut la démonstration de la « Telephone Harp», un nouvel appareil qui était généralement admis comme étant l'émetteur téléphonique le plus efficace jamais fabriqué .
La présentation de la « Harpe téléphonique » par le gouvernement était à la fois dramatique et efficace. « Les lumières seront baissées et la harpe sera jouée à Cambridgeport. Les courants sonores seront projetés sous forme d'étincelles brillantes, passant du feu au téléphone sur le quai.»
Pour cette expérience « entièrement novatrice », Gower a utilisé des téléphones à deux mains, déjà utilisés par le président Hayes.
Le but de cette expérience était de permettre au public de voir et d'entendre la transmission de musique téléphonique. Comme tout bon chef de concert, Gower a répondu aux demandes de son public. Il a conclu ses performances en évoquant l'influence du Téléphone sur la question dominante du moment : les résultats ultimes de la pensée humaine et l'aboutissement de la destinée humaine. Il a ainsi démontré que, comme d'autres réalisations humaines, elle est en harmonie avec un objectif intelligent et créatif, et qu'elle occupe la place qui lui revient parmi les produits de l'esprit créatif.

La demande de téléphones à des fins de conférences a conduit la Bell Telephone Company, nouvellement organisée, à formuler une politique selon laquelle elle prêterait des téléphones gratuitement ou contre une location modique. Si un homme scientifique les souhaitait uniquement pour une démonstration scientifique et n'en tirait aucun profit lors des conférences, il demandait à les recevoir gratuitement. D'autres conférenciers devaient payer pour les téléphones qui leur étaient prêtés, leur location dépendant de leur capacité à faire du bien aux intérêts de Bell.
Les conférenciers téléphoniques ont eu de plus en plus recours à des présentations plus novatrices et plus élaborées. Un promoteur a organisé un concert qui s'est tenu simultanément dans sept lieux différents et a utilisé quarante et un téléphones, un nombre jamais exploité auparavant.
Il n'a pas fallu longtemps avant que le public s'intéresse aux conférences téléphoniques et aux concerts. Bien que Frederick Gower ait possédé le droit exclusif, issu des intérêts de Bell, de donner des conférences par téléphone dans l'ensemble des États-Unis, il a été contraint d'abandonner la plateforme de conférences pour d'autres activités téléphoniques. Watson avait en grande partie raison lorsqu'il se vantait que les conférences téléphoniques n'étaient tout simplement pas rémunératrices après que Bell et moi y ayons renoncé. Je doute que le public ait été plus intéressé à voir Alexander Graham Bell, l'inventeur, donner des conférences par téléphone que quiconque. Mais de plus, à mesure que les téléphones se sont répandus, ils ont perdu leur nouveauté, et l'intérêt du public pour les conférences téléphoniques. Naturellement, les conférences téléphoniques, phénomène éphémère, et plus particulièrement le succès de Bell en tant que conférence téléphonique, se sont révélés significatifs à plusieurs égards. Pour évaluer le succès de Bell, il est nécessaire de prendre en compte les performances techniques, la réaction du public et la rémunération financière.
Les démonstrations de Bell étaient souvent marquées par des difficultés. Ces problèmes découlent de la nature rudimentaire du téléphone, de la mauvaise construction des lignes téléphoniques et de l'inévitable facteur humain. Des rapports fréquents ont observé qu'un cornet à pistons « n'était que faiblement audible » ou qu'il était « difficile de dire où le son cessait et où le silence commençait ». Les sons émis par le téléphone étaient si insatisfaisants que les sons étaient décrits comme une succession de soupirs et de sifflements. Cela n'avait aucun sens pour le grand public. Dans de telles occasions, les difficultés étaient attribuées à des interférences climatiques ou électriques. Lors des multiples conférences, ces difficultés se traduisaient souvent par une meilleure réception à un endroit qu'à un autre.
Une grande partie des interférences électriques a été créée par des transmissions téléphoniques circulant sur des lignes parallèles à celles utilisées dans la démonstration téléphonique. Watson suggère même qu'une partie de cette interférence a été délibérément fomentée.
Après la première ou les deux premières conférences, les télégraphistes ont trouvé, le long de la ligne, une coupure qui faisait bourdonner leurs relais, alors que j'envoyais le courant intermittent depuis l'orgue. Chaque station de la ligne coupait son relais. C'est à cause de ces actions que Watson fut incapable de transmettre un seul son pendant la conférence de Lawrence, inspirant ainsi « En attendant Watson ». Malgré ces difficultés techniques et d'autres, les démonstrations de Bell furent généralement couronnées de succès. Le New York Tribune, après avoir relevé les déficiences du téléphone , a déclaré que « le succès de la transmission est incontestable »,les comptes rendus des journaux attestent de la satisfaction du public par des références répétées à de chaleureux applaudissements.
Ses applaudissements étaient non seulement chaleureux, mais aussi souvent involontaires, car le public réagissait aux premiers sons d'orgue. Le Mirror et American ont incarné la réactivité de la presse face aux conférences téléphoniques de Bell lorsqu'ils ont rapporté :
La soirée a été défavorable en raison de l'humidité, mais si de tels résultats peuvent être obtenus dans des circonstances défavorables, au tout début de l'invention, à quoi peut-on s'attendre lorsqu'elle sera perfectionnée ?
Le degré de réussite financière de Bell est moins clair.
Dès le début, Bell s'est toujours montré optimiste quant à l'argent qu'il espérait tirer de ses conférences. Il avait raison de penser que le succès de la première conférence de l'Essex Institute pourrait conduire à d'autres conférences dont il espérait qu'elles lui apporteraient quelque chose. Sa première conférence rémunérée, la deuxième de l'Essex Institute, lui a rapporté 149 $ de plus que ses frais, et il a rapidement commencé à demander 200 $ par conférence. Bien que la conférence de New Haven à Hartford se soit avérée être une innovation réussie, elle s'est également avérée être un « échec financier ». L'organisateur a perdu 184 $ parce qu'il a été contraint de rembourser des billets à Hartford. Apparemment, le public de Hartford a été soit mal compris, soit mal informé sur l'emplacement de Bell : il était à New Haven, et non à Hartford.
En fait, le public était souvent plus restreint à la conférence de Gower. Sous la direction du nouveau directeur de Bell, Frederick Gover, la situation allait changer, et ce fut le cas, du moins pour la première conférence de Boston, que Bell proclama comme un succès financier et « à tous égards ».
L'optimisme de Bell s'est avéré prématuré, car les trois conférenciers de Boston n'ont gagné que 150 $ de plus que leurs dépenses. C'était loin des 1 200 $ à 3 000 $ qu'il estimait recevoir d'eux en avril. Face à une telle déception, Bell a négocié avec George Vanderlip, un promoteur new-yorkais, moyennant des frais de 200 $ par conférence et la moitié des bénéfices restants pour une série de cette série.
L'accord de Bell avec Vanderlip était bon, car la première conférence à New York fut un échec en nombre, et trois cents billets durent être donnés pour la deuxième conférence. Gardiner Hubbard lui-même a distribué une centaine de billets à des personnalités éminentes, dont le premier maître, le surintendant des chemins de fer, le président de l'Union Pacific Railroad, le président de l'Adams Express Company, et d'autres. La faible fréquentation peut être due au prix d'entrée élevé et à la gestion défectueuse des affaires, comme l'a accusé le Journal of the Telegraph, à l'inefficacité de Gower en tant que directeur, ou parce que, comme M. Hubbard l'avait écrit depuis New York presque un mois plus tôt, « l'intérêt s'est complètement éteint. La curiosité est satisfaite. »
Même si Alexander Graham Bell a pu être déçu par les résultats financiers de ses conférences, comparés à ces attentes optimistes, elles ont néanmoins rapporté les premiers revenus qu'il a tirés du téléphone.
Les conférences ont peut-être aussi influencé la décision des Hubbard de ne pas retarder le mariage de leur fille avec Bell. Au milieu des conférences de Boston, ils pressèrent Bell d'épouser Mabel et de participer à ses tournées de conférences afin de pouvoir s'occuper de lui. La vente d'une partie de son brevet anglais à Juno pour 5 000 $ rendit le mariage possible.
Les démonstrations et conférences téléphoniques avec leurs participants et leur publicité contribuèrent à créer une demande supplémentaire de téléphones et de lignes téléphoniques. Conscient de cet effet, Gardiner Hubbard a ordonné à Bell, après la première conférence de l'Institut d'Essex, d'attendre une nuit avant de la répéter, de peur de stimuler prématurément une demande de téléphones qui ne pouvait être satisfaite à l'époque. Mais la conférence a suscité une « forte demande», Watson a dû abandonner la tournée pour accélérer la fabrication des téléphones.
Les cours ont interféré avec les travaux de laboratoire de Bell et Watson, mais l'utilisation du téléphone dans les cours a également créé de véritables conditions de travail et a ainsi contribué au développement du téléphone en tant qu'instrument de travail pratique.
On a le sentiment que, durant cette période de sa vie, Bell était avant tout en quête de reconnaissance. Il était non seulement en difficulté financière, mais aussi éclipsé par la richesse et le statut de ses futurs beaux-parents. Les conférences, arrivées au bon moment, semblent avoir comblé un besoin émotionnel. En témoigne le revirement de Bell sur son jugement selon lequel le jour le plus fier et le plus heureux de sa vie fut l'occasion de sa première conversation téléphonique en faveur du soir où il a informé l'Académie américaine des arts et des sciences de ce succès et a été applaudi, « la seule conférence qui ait jamais été applaudie ». Il était également ravi lorsqu'il a appris son élection à cette prestigieuse institution. « Être membre a été un atout pour les deux dernières années, au sommet de mon adhésion. » Les conférences ont fait de lui une célébrité suffisante pour qu'il soit assiégé par les chasseurs d'autographes.
L'impact des revenus de ces conférences sur ses besoins financiers immédiats et, par conséquent, sur le développement de l'activité téléphonique était d'une importance plus cruciale que la promotion du téléphone ou la guérison complète des troubles psychiques de Bell. Les conférences et leurs avantages lui ont permis d'examiner plus attentivement les propositions commerciales concernant l'avenir de la téléphonie commerciale. Les avantages de ces conférences lui ont fourni une source de financement alternative, certes temporaire, mais qui a rencontré un problème dans les négociations.
De plus, l'argent de la conférence a soulagé Mme Gardiner Hubbard de la pression qu'elle exerçait auprès de Bell pour vendre des téléphones.
Mme Hubbard était favorable à la demande de Bell pour la main de sa fille et, réalisant que le manque d'argent empêchait son mariage, elle a finalement défendu avec acharnement le projet de construire des téléphones par des milliers de personnes, aussi imparfaites soient-elles, et de les vendre. Si elle avait été à la hauteur de ces conférences, Mme Hubbard aurait sans aucun doute soutenu son point de vue.
Par conséquent, la politique de location de téléphones, avec tous ses avantages, était une option disponible ultérieurement.
Mme Hubbard apportait sa contribution en proposant des téléphones à des gens, y compris au président de l'Union Pacific Railroad. À son retour à Boston, Bell reçut lui-même deux messieurs de Detroit qui vinrent lui faire une offre pour le téléphone. D'autres essais réussis ont suscité des articles dans les journaux, comme celui du Boston Daily Advertisement, qui annonçait : « Désormais, tout ce qui est nécessaire pour communiquer entre les endroits les plus éloignés, c'est simplement une ligne de fils et de téléphones.» Ce type de publicité a stimulé encore plus d'offres.

sommaire

Le début de la commercialisation :

Cette décision de louer plus cher que de vendre était d'une importance capitale car elle a abouti à l'unité et à l'universalité du service téléphonique.
Les répercussions de la décision de Bell de devenir conférencier public se sont donc fait sentir longtemps après qu’il ait cessé de donner des conférences sur son invention.
L'intérêt commercial pour le téléphone s'est développé dès cette dernière partie de 1876, avant même qu'Alexander Graham Bell n'ait contribué à faire connaître son invention par une tournée de conférences. Au milieu de ses difficultés personnelles et financières, il fut heureusement assiégé par un grand volume de messages composés de « lettres d'étrangers, de lettres d'affaires, de lettres téléphoniques de toutes les régions du pays, d'offres d'achat du téléphone, d'offres de droit de les utiliser dans certaines régions du pays ».
En réponse à l'amélioration de l'état du téléphone et à sa propre condition personnelle, ainsi qu'à l'intérêt croissant, Bell a préconisé une application commerciale immédiate de son invention. Après réflexion, il a reconsidéré sa position et a adopté une politique plus prudente. Bien que Bell croyait que le téléphone pouvait être utilisé avec de bons résultats, il estimait néanmoins que son état actuel n'était pas le meilleur pour être placé devant le public payant : « Je pense moi-même... qu'il est préférable de continuer à perfectionner tranquillement la meilleure forme d'appareil avant de faire quoi que ce soit de pratique avec. » À l'aube de la nouvelle année 1877, Bell continuait de recevoir des demandes et des offres pour son téléphone. Certaines de ces demandes provenaient sans doute de particuliers curieux d'une nouveauté.

Nombre d'entre eux, cependant, étaient des hommes d'affaires intéressés par l'adoption du téléphone à des fins commerciales. Tels étaient deux hommes qui avaient voyagé de Detroit pour voir Bell à Easton, puis Gardiner Hubbard à Washington. Ces deux hommes d'affaires représentaient une entreprise de télégraphie de district dont l'activité principale consistait à fournir des messages sur demande transmise par voie télégraphique. Peut-être ont-ils apprécié l'impact dévastateur que le téléphone aurait sur cette catégorie d'entreprises de télégraphie s'il était à la hauteur de sa réputation de pouvoir transmettre des messages précis. Si tel était le cas, leurs plus grandes craintes (ou espoirs) auraient dû se confirmer après avoir assisté à une démonstration réussie du téléphone. Certaines des premières propositions commerciales sont directement issues des expériences et démonstrations de Bell. Le directeur du service télégraphique de l'Eastern Railroad a été impressionné non seulement par le succès de ces tests auxquels il a participé, mais aussi par le fait qu'il recevait déjà « un nombre important de candidatures pour des téléphones ». Dans au moins un cas, le désir d'exploiter commercialement le téléphone a incité les parties intéressées à accorder à Bell toutes les facilités nécessaires à ses expériences électriques.
Les demandes de renseignements et les offres sont devenues si nombreuses que Bell a fait imprimer une carte postale renvoyant toutes les personnes intéressées à son associé Gardiner G. Hubbard.
Gardiner Hubbard a consacré une attention croissante à la commercialisation du téléphone, rencontrant des agents téléphoniques potentiels et évaluant diverses propositions. Mme Hubbard elle-même a aidé en faisant une démonstration du téléphone à des connaissances influentes, dont le président de l'Union Pacific Railroad. Au vu de ces développements, Gardiner Hubbard s'est montré impatient de présenter le téléphone au public. Il a demandé l'avis d'expert de Watson sur l'état technique du téléphone, ajoutant : « On a tellement parlé du téléphone qu'il est extrêmement important de le préparer le plus rapidement possible afin que nous puissions suivre le courant. » Une partie du retard est due au désir persistant de Bell de perfectionner davantage le téléphone. Selon lui, le téléphone fonctionnerait parfaitement sur des lignes courtes de quarante ou cinquante milles et pourrait donc être disponible pour une utilisation immédiate, mais « il serait préférable de bien tester l'instrument de toutes les manières possibles, avant de le mettre entre les mains du public. »

Le 2 mars 1877, la décision d'introduire le téléphone était enfin prise. professionnellement.
Sa première application pratique a eu lieu un mois plus tard avec l'ouverture de la première ligne téléphonique extérieure.
Le 4 Avril 1877 , une ligne de trois milles de long a été mise en service entre le bureau de Boston de M. Charles Williams, Jr., et son domice 1, rue Arlington, à East Somerville, dans le Massachusetts, à environ 8 km. du laboratoire de Boston.

Peu après son arrivée à Somerville, Williams avait commencé à travailler dans la fabrication de télégraphes, ouvrant finalement sa propre usine et son bureau à Boston. Déménageant au 109 Court Street en 1862, son entreprise fournit des équipements aux grandes entreprises de télégraphe et constitue également le lieu de la recherche et des inventions ouvert à tous les pionniers comme Bell, Edison ... Watson était un des employés qui collaborait avec Bell comme on l'a vu précedement. Williams était impatient d'essayer la nouvelle invention réalisée par Bell et Watson
Modèle Bell installé : Recepteur Emetteur ou Transmetteur
En France voici ce que rapparte le Journal télégraphique de septembre 1877 :

Les résultats ainsi obtenus ont encouragé un riche particulier, M. Williams, à faire établir entre ses propriétés la première ligne expressément affectée à la téléphonie. Cette ligne dont l'étendue est de 8 kilomètres fonctionnerait très-bien et permettrait d'entretenir à cette distance une conversation aussi facilement que si les interlocuteurs se trouvaient dans la même pièce.
Les hommes de Williams ont érigé cette ligne entre Williams Shop et au 5 Exeter Place. C'était 12 fils galvanisés, d'un demi-mille de long qui couraient sur les sommets des maisons. Cette ligne resta constamment utilisée jusqu'à son abandon en juillet 1877.
Watson passa des heures la nuit à écouter les courants parasites sur cette ligne avec les récepteurs primitifs


Quant aux dispositions de l'appareil téléphonique de Bell, voici la description qu'en donne M. Cardarelli dans L'Elettricista (tome lor, page 56).
« L'appareil transmetteur se compose essentiellement d'un petit tube en laiton, d'un diamètre de 7cm. Une des ouvertures est fermée par une membrane tendue extrêmement mince au milieu de laquelle est collé à l'extérieur un petit disque de fer doux de forme ronde ou allongée. Ce petit disque est placé tout près des pôles d'un électro-aimant à une distance que des vis micrométriques permettent de régler à volonté. L'appareil est disposé de façon qu'on puisse parler dans le tube. Le fil de la bobine de l'électro-aimant communique avec la ligne et par celle-ci avec le récepteur à l'autre station. Le récepteur est également très-simple ; il se compose d'un électro-aimant à une seule bobine, enfermé dans un tube de fer qui, entre autres fonctions, a pour effet de condenser l'intensité du champ magnétique. L'ouverture du tube de fer est fermée par une feuille de fer doux très-mince fixée par un seul point au tube qui dans toutes ses autres parties peut vibrer librement.
...
Malgré les beaux résultats obtenus de nos jours avec la téléphonie, il nous paraîtrait encoire prématuré de se prononcer dès maintenant sur son application pratique et durable. L'avenir nous dira prochainement, sans doute, si ce nouveau mode de communication électrique est appelé à sortir des limites des succès de cabinet et des expériences de curiosité, pour entrer dans le domaine plus vaste de l'exploitation pratique qui subirait alors une transformation radicale.

Il s’agit du premier circuit téléphonique construit aux États-Unis.

Très lentement, ces conférences et l'activité infatigable de Hubbard repoussèrent le ridicule et l'incrédulité ; et, au cours du joyeux mois de mai 1877, un certain Emery arriva au bureau de Hubbard, venant de la ville voisine de Charlestown, et loua deux téléphones pour vingt dollars réels – la première somme jamais payée pour un téléphone. C'était le premier signe, faible, qu'une nouveauté comme le téléphone pouvait s'établir ; et jamais aucune somme n'avait paru plus précieuse que ces vingt dollars à Bell, Sanders, Hubbard et Watson. C'était le maigre premier fruit de la fortune.
Fortement encouragés, ils rédigèrent une petite circulaire qui fut la première publicité pour le téléphone. Ce document, d'une simplicité étonnante aujourd'hui, était pourtant surprenant pour un esprit de 1877. Il affirmait modestement que le téléphone était supérieur au télégraphe pour trois raisons :
(1) Aucun opérateur qualifié n'est requis, mais une communication directe peut être établie par la parole sans l'intervention d'une tierce personne.
(2) La communication est beaucoup plus rapide, le nombre moyen de mots transmis en une minute par le sondeur Morse étant de quinze à vingt, par téléphone de cent à deux cents.
(3) Aucune dépense n'est nécessaire, ni pour son fonctionnement ni pour sa réparation. Il ne nécessite ni batterie ni mécanisme complexe. Son économie et sa simplicité sont inégalées.

À cette époque, la seule ligne téléphonique au monde reliait l'atelier des Williams à Boston au domicile de M. Williams à Somerville.
Mais en mai 1877, un jeune homme nommé E.T. Holmes, qui dirigeait une entreprise d'alarmes anti-intrusion à Boston, proposa de relier quelques téléphones à ses lignes. Ami et client de Williams, il suggéra ce projet, mi-blague, mi-sérieux. Hubbard saisit rapidement l'occasion et prêta aussitôt une douzaine de téléphones à Holmes. Sans demander la permission, Holmes se rendit dans six banques et installa un téléphone dans chacune d'elles. Cinq banquiers ne protestèrent pas, mais le sixième, indigné, ordonna de retirer « ce jouet ». Les cinq autres téléphones pouvaient être reliés par un commutateur dans le bureau de Holmes, et ainsi naquit le premier central téléphonique, minuscule et rudimentaire. Il fonctionna là pendant plusieurs semaines, servant de système téléphonique le jour et d'alarme anti-intrusion la nuit. Les banquiers ne payèrent rien. Ce service leur fut offert à titre d'exposition et de publicité. La petite étagère avec ses cinq téléphones ne ressemblait pas plus aux merveilleux centraux d'aujourd'hui qu'un canot à un Cunarder, mais c'était incontestablement le premier endroit où plusieurs fils téléphoniques se rejoignaient et pouvaient être unis.



Croquis d'artiste du bureau privé de Charles Williams. dans le bureau de son usine au 109, rue Court à Boston, Massachusetts .

Dans cette scène, E.T. Holmes regarde Williams qui parle avec son téléphone.
En mai 1877, un ami de C.Williams, du nom de E. T. Holmes, qui comme on vient de le voir, exploitait une entreprise d’alarme antivol à Boston, proposa de relier quelques téléphones pour l'usage de ses fils,
Holmes était un ami et client de Williams et a lui suggéré ce plan moitié plaisanterie et moitié sérieux.
Hubbard
n'a pas tardé à saisir cette occasion et a immédiatement prêté à Holmes une douzaine de téléphones.
Sans demander la permission, Holmes se rendit dans six banques et y installa un téléphone.
Cinq banquiers ne protestèrent pas, mais le sixième ordonna indigne de faire sortir "ce jouet".
Les cinq autres téléphones pouvant être connectés via un commutateur dans le bureau de Holmes, est ainsi né le premier standard téléphonique minuscule et grossier.
Il fonctionnait pendant plusieurs semaines comme système téléphonique le jour et comme alarme anti-effraction la nuit. Aucun argent n'a été demandé aux banquiers. Le service rendu était sous forme d'exposition et de publicité. .
Donc le premier client au monde, Roswell C. Downer, banquier à Salem, le 1er mai 1877, a été relié sur une ligne privée entre son bureau au State Street à Boston et sa résidence au 170 central Street .

Mais le premier client payant sera James Emery, le 30 mai 1877, pour 20 dollars sur un bail d'un an.
Les 20 dollars, Williams les mis dans sa poche pendant un moment jusqu'à ce qu'il puisse demander à Gardiner Hubbard quoi faire, car à cette époque, seule une «association de brevets» existait, il n'y avait pas encore de socièté commerciale déclarée.
Un son audible "Thump" d'ou le nom de "Thumper".

Pour remédir au soucis de la signalisation, les téléphones de cette ligne étaient équipés du développement alors tardif connu sous le nom de "Thumper" de Watson. Dans ce dispositif, un petit marteau était monté à l'intérieur du téléphone de telle manière que le fait d'appuyer sur un bouton à l'avant du boîtier amènerait le marteau à frapper le bord du diaphragme.
Le seul avantage que ce système avait sur la méthode du crayon était d'éviter les blessures au diaphragme.

Lorsque l'appelant voulait lancer un appel, il appuyait sur le bouton (à gauche ) sur le devant, ce qui a fait que le battant heurte le diaphragme en fer. Les vibrations engendraient une grande impulsion dans la bobine, qui se rendrait au téléphone de la partie réceptrice et générerait un "coup" fort dans son diaphragme, appelant la partie réceptrice au téléphone.

En 1877, Boston était l'épicentre de l'innovation.
L’atelier d’électricité de Charles Williams Jr, à Boston, comme nous l'avons déjà cité, fabriquait des instruments de télégraphe, mais était également le lieu de prédilection des innovateurs et des inventeurs.

En 1877, l’activité d’alarme de la Holmes Burglar Alarm Company a grandi et s’est étendue à d’autres villes.
Elle s’était développée à un point tel que l’atelier Williams ne pouvait plus accueillir le volume d’affaires de Holmes.
De nouveaux ateliers ont donc été aménagés pour la fabrication d'armoires et d'appareils électriques .

COMMENT RELIER LES ABONNES ENTRE EUX ?

Il faut se souvenir pour comprendre la suite que :

1 -
Le brevet d'alarme qui avait été brevetée en 1853 par le révérend Augustus Russell Pope (1819–1858) de Somerville, dans le Massachusetts. a été acquis par Edwin Thomas Holmes pour 1500 USD et a fabriqué l'appareil dans son usine de Boston, dans le Massachusetts. Il a commencé à les vendre en 1858.
La Holmes Burglar Alarm Company va se développer rapidement sur New-York et Boston.
Au début, les gens avaient peur et étaient sceptiques quant à l'utilisation de l'électricité pour les alarmes, et l'entreprise ne s'est pas bien développée.
C'est pourquoi, en 1859, à la recherche d'un marché nouveau et plus vaste, Holmes déménage son entreprise à New York, qui est alors perçue comme un lieu où "tous les cambrioleurs du pays ont élu domicile".
En 1866, Holmes installe 1 200 alarmes sonores et commence à commercialiser avec succès auprès des entreprises. Et en 1877, il établit le premier réseau d'alarmes surveillé par une station centrale à New York et envoya son fils installer et développer ce système à Boston. Edwin Thomas a cependant découvert que le réseau pouvait utiliser les câbles téléphoniques préexistants au lieu de poser les siens. De cette manière, il a rapidement assemblé un réseau de 700 alarmes, que son père a ensuite imité à New York.

2 - que en 1863, sur ce type de réseau (télégraphique-alarme), Edward A. Calahan invente un nouvel usage pour la bourse et a créé la Gold and Stock Telegraph Company en 1867 pour exploiter cette technologie.

Gold and Stock a mis au point un système de messagerie qui envoie des instructions à destination de la bourse.
Trois ans plus tard, le président de la Gold and Stock Telegraph Company s'est réveillé en surprenant un cambrioleur dans son domicile, ce qui l'a inspiré pour créer un système d'alerte basé sur le télégraphe.
Ce système a permi de connecter 50 de ses voisins à une station centrale où toutes les boîtes d'alerte étaient surveillées.
Il existait de nombreuses petites entreprises de distribution télégraphique aux États-Unis au 19ème siècle.
En 1874, 57 entreprises de distribution télégraphique de district se sont affiliées et sont devenues "l' American District Telegraph".
(Nous le verrons plus tard qu'avec l'augmentation de l'utilisation du téléphone à la fin du 19ème siècle, l'activité de messagerie d'ADT a lentement décliné en popularité. ADT a essayé de se diversifier et de développer son activité de signalisation, tout en maintenant son activité de télégraphe en tant que principale source de revenus. ADT sera intégrée à Western Union en 1901 et a séparé son activité de messagerie de son activité principale de signalisation à cette époque. En 1909, Western Union et ADT passèrent sous le contrôle de l'American Telephone & Telegraph Company (AT & T). ADT a commencé à s'étendre dans de nouveaux domaines, tels que les alarmes incendie et les alarmes de sécurité, entre 1910 et 1930, mais a été maintenu à l'écart du secteur des alarmes Holmes d'AT & T. ADT est devenue une société cotée en bourse dans les années 1960 )


1877 Holmes connecte le nouveau téléphone Bell à son système d’alarme et le tout premier central téléphonique au monde voit le jour :


L'année suivante, le bureau central des alarmes Holmes à Boston est devenu le premier central téléphonique, les fils du système d'alarme aériens étant utilisés à des fins téléphoniques pendant les heures ouvrables. Le premier standard était une affaire simple, desservant seulement une poignée d'abonnés.
Le bureau de New York remplissait la même fonction.

Charles Glidden, un télégraphiste de l’époque, a assisté à une conférence de Bell à Huntington Hall, à Lowell. Glidden était inspiré et croyait que la téléphonie était une progression logique de la télégraphie.
Peu de temps après, le standard de Holmes a attiré l'attention du monde entier, ce qui a incité Glidden à rendre visite à la société de distribution téléphonique Holmes.
Holmes écrira dans son livre, «A Wonderful Fifty Years»; Glidden, un opérateur télégraphique, est entré et est ensuite rentré chez lui avec les droits de Lowell dans sa poche . Charles Jasper Glidden était un pionnier du téléphone américain, un financier.

Le premier réseau téléphonique du monde est celui créé en 1877 à Lowel par Ch.-J. Glidden. Ses débuts furent modestes, La « Lowel Telephone Distriect C°» commença avec 45 abonnés et un capital de 6600 dollars (30 000 f[). Le premier abonné de cette première compagnie téléphonique s'eppelait M. Wesley R, Bachelor, l'afterman E.-B, Peirce fut le second.
Holmes retira ses téléphones des banques et lança une véritable affaire de téléphonie auprès des compagnies de messagerie express de Boston.
Mais à cette époque, déjà plusieurs centraux avaient été ouverts pour les affaires courantes, à New Haven, Bridgeport, New York et Philadelphie. Un homme du Michigan était également arrivé, qui avait eu l'audace de demander une agence d'État : George W. Balch, de Détroit. Il fut si bien accueilli que Hubbard lui accorda avec joie tout ce qu'il demandait : un droit perpétuel sur tout l'État du Michigan. Balch n'eut pas à payer un centime d'avance, sauf son billet de train, et, bien avant d'avoir atteint l'âge de plusieurs années, il avait vendu son bail pour une belle fortune d'un quart de million de dollars, honnêtement gagnée grâce à son initiative et à son esprit d'entreprise.

Finalement, le Lowell Telephone Exchange, ainsi que la Boston Telephone Dispatch Company, se sont transformés en The New England Telephone and Telegraph Company. le 12 février 1878 par des investisseurs des États du Massachusetts et de Rhode Island à la demande d'un agent de Gardiner Greene Hubbard , le beau-père de l'inventeur du téléphone Alexander Graham Bell .
Le 17 février 1879, la New England Telephone and Telegraph fusionna avec la Bell Telephone Company (fondée sur la base de brevets potentiellement précieux) pour former la National Bell Telephone Company, date à laquelle Theodore Vail prit la relève. La National Bell Telephone Company fusionnera avec d'autres le 20 mars 1880 pour former l' American Bell Telephone Company ....

En août, alors que le brevet de Bell avait seize mois, 778 téléphones étaient en service. Pour Hubbard, optimiste, cela semblait être un succès. Il décida que le moment était venu d'organiser l'entreprise et créa donc un accord simple qu'il baptisa « Bell Telephone Association ».
Cet accord accordait à Bell, Hubbard et Sanders trois dixièmes chacun des brevets, et à Watson un dixième. IL N'Y AVAIT PAS DE CAPITAL. Il n'y en avait pas à acquérir. Les quatre hommes détenaient alors un monopole absolu sur le marché du téléphone ; et tous les autres étaient tout à fait disposés à le leur accorder.
Le seul homme qui avait de l'argent et osait miser sur l'avenir du téléphone était Thomas Sanders, et ce n'était pas principalement pour des raisons professionnelles. Lui et Hubbard étaient attachés à Bell principalement par sentiment, car Bell avait débarrassé le jeune fils de Sanders de son mutisme et allait bientôt épouser la fille de Hubbard.
De plus, Sanders ne s'attendait pas, au départ, à avoir besoin d'autant d'argent. Il n'était pas riche. Son entreprise, qui consistait à découper des semelles pour des fabricants de chaussures, ne valait à aucun moment plus de trente-cinq mille dollars. Pourtant, de 1874 à 1878, il avait avancé les neuf dixièmes des fonds dépensés pour le téléphone. Il avait payé le loyer de Bell, le salaire de Watson, les dépenses de Williams et le coût de l'exposition du Centenaire. Les cinq mille premiers téléphones, et plus encore, furent fabriqués avec son argent. Et tant de longs et coûteux mois s'écoulèrent avant que Sanders ne trouve un soulagement, qu'il fut contraint, bien contre sa volonté et son sens des affaires, d'étirer son crédit au bord de la rupture pour aider Bell et le téléphone. Désespérément, il signa note après note jusqu'à ce qu'il se retrouve avec un total de cent dix mille dollars. Si le nouveau « jouet scientifique » réussissait, ce dont il doutait souvent, il deviendrait le citoyen le plus riche de Haverhill ; et s’il échouait, ce qu’il craignait profondément, il serait en faillite.

sommaire

Le nouveau modèle de téléphone :

Pendant ce temps en avril 1877, Blake et Pierce construisirent le premier téléphone portable conçu par Peirce.
Il était fait de deux blocs de bois, dont l'un avait une embouchure conique de deux pouces et un trou en son centre, L'autre bloc de bois cubique, contenait un aimant en fer à cheval composé de deux aimants permanents. Il y avait une plaque de tôle éffleurant une bobine de fil isolé placée en son centre. (bobine de petit calibre pour capter les sons) . Les courants électriques générés par la bobine de fil étaient générés par les vibrations de la voix d'une personne parlant devant l'embouchure. Il pesait environ douze onces et pouvait être tenu dans une main. Selon les procédures de la Rhode Island Historical Society, c'est Peirce qui a inventé le nom "téléphone".
À la suite de cette recherche et de ces expériences, les professeurs Blake et Pierce firent une démonstration au domicile de M. Rowland Hazard, rue Williams, des téléphones ont été installés sur des fils électriques entre deux pièces, séparés d'une certaine distance.
Un grand rassemblement de personnes avait été invité à assister à l'expérience et beaucoup d'entre elles étaient complètement étonnées d'entendre les voix d'amis qu'ils avaient reconnues, mais ne se doutaient pas qu'il y en avait parmi les invités.
Le 8 avril 1877, Pierce ècrit à Bell pour l'informer des travaux qu'il mène avec Blake
Lorsque Alexander Graham Bell pris connaissance des expériences en cours dans les laboratoires de Brown et que la nouvelle de la remarquable manifestation organisée à la Hazard House de Providence lui est parvenue, il a fait exactement ce que tout inventeur ferait dans les circonstances. Il en a perdu de sommeil et a leur a écrit plusieurs lettres d'explications et de revendications .
Ont-ils tenté de tirer profit de leurs découvertes privées ? ont-ils fait appel à un avocat spécialisé en brevets pour tenter de prouver qu'ils avaient déjà revendiqué l'invention et mis au point ce qui semblait être un miracle de la science ?
Pas du tout. Ils s'étaient juste amusés et poursuivaient leurs recherches et leurs expériences.
Et quand ils eurent fini, l’un de leurs instruments, qui aurait été le premier à faire entendre le discours, fut emballé dans une boîte en carton et envoyé à M. Bell, avec leurs cartes de visite.
Peu de temps après, ils purent communiquer avec Bell, en affirmant que, dans la mesure où ils ne l'avait pas fait pour s'enrichir, mais agissaient uniquement dans le véritable esprit de la recherche scientifique
Naturellement, cette action généreuse a amené Bell immédiatement à l'université de Providence pour rencontrer ses futurs amis et s’entretenir avec eux, et à partir de ce moment, beaucoup de choses se sont produites dans l’évolution de l’appareil.
John Peirce qui était un professeur de chimie américain, un scientifique et un inventeur. a contribué à la création d'un récepteur et d'un émetteur à manche en bois utilisant un aimant permanent maintenu à l'intérieur du manche en bois plutôt que des électro-aimants qui avaient été utilisés auparavant. Les premiers modèles de téléphone avaient un seul récepteur/émetteur, mais cela était déroutant pour les utilisateurs, ainsi que peu pratique car l'appareil devait être constamment déplacé entre la bouche et l'oreille.

sommaire

Les premiers abonnés au téléphone : Vendre ou Louer , La Patent Association

À peu près au même moment où la ligne Williams était inaugurée avec succès, des préparatifs étaient en cours pour installer des téléphones sur d'autres lignes. Certaines de ces connexions visaient simplement à continuer de tester la praticabilité du téléphone, tandis que d'autres étaient clairement destinées à un usage commun.
Parmi ceux qui étaient sur le point de bénéficier d'une telle connexion figurait Roswell C. Downer, un jeune membre du cabinet bancaire Stone & Downer. Downer se distingue en effet par le fait d'être le premier utilisateur commercial.
Le 1er mai 1877 ou aux alentours de cette date, deux téléphones ont été installés sur une ligne téléphonique reliant le siège social de la société, State Street, à Boston, à la maison familiale Downer à Somerville.
Il s'agissait des premiers téléphones installés dans le cadre d'un accord de paiement pour leur utilisation. Le bail a été signé le 26 mars 1878 et prédaté au 1er juin 1877, indiquant ainsi que Downer bénéficiait d'un mois de congé. Il a également bénéficié d'une réduction substantielle sur le prix, car le tarif établi était de 10 dollars par téléphone et par an, alors qu'il ne payait que 3 dollars par instrument. Apparemment, Roswell Downer a bénéficié de cette considération pour son intérêt et son enthousiasme à promouvoir le téléphone, qui semble avoir été plus enthousiaste que son jeune frère Frank et en contraste marqué avec l'opposition de son père, a été attribué à sa jeunesse, à son agressivité et à son sens aigu du mal.
Sa connaissance de son compatriote Charles Williams a certainement dû renforcer la conviction de Roswell selon laquelle la location de deux téléphones serait pratique et lui permettrait de montrer à ses amis un appareil intéressant. L'intérêt de Roswell Downer pour le téléphone était si grand qu'il a peut-être même payé les instruments de ses propres fonds.
Le 14 mai, les frères Downer ont répondu à une question de Gardiner G. Hubbard. Ils ont noté le succès des instruments et ont exprimé une nette préférence pour le téléphone par rapport au système Morse en raison de sa rapidité et de son efficacité. Ils ont conclu : « Nous considérons certainement le téléphone comme un succès et pensons qu'il peut être utilisé en pratique avec de nombreux avantages par rapport à l'ancien système de télégraphie. »
Si Roswell Downer fut le premier à commercialiser le téléphone, James Enery, Jr. fut le premier à le payer en espèces. Les circonstances entourant la location du téléphone par Enery n'étaient pas sans rappeler celles de Roswell. C. Downer. Enery possédait déjà un télégraphe privé et s'intéressait également aux nouveautés, notamment celles de nature électrique ou mécanique. Environ deux semaines après la connexion du téléphone de Downer, Enery a installé sa ligne téléphonique entre son domicile et celui de son frère Freeman. Il a payé un an d'avance de loyer de vingt dollars pour deux instruments à Charles Williams, Jr., qui agissait comme agent pour les intérêts de Bell. La nature de cette nouvelle entreprise de téléphonie était si incertaine que Williams, ne sachant que faire du loyer, n'a pas inscrit l'argent dans ses livres de comptes avant le 8 juin, après avoir consulté Gardiner Hubbard. Enery a loué trois instruments à dix dollars, ce qui lui a donné un total de cinq instruments à un prix moyen de six dollars chacun. Comme Downer, Emery a bénéficié d'une réduction sur ses téléphones.
Enery utilisait son téléphone comme moyen de communication avec ses proches, ses partenaires commerciaux et ses associés, tous résidant dans les environs de Charlestown. Finalement, les trois frères de Dery et deux autres personnes, étaient membres de deux entreprises de vente en gros de poisson, étaient liés par téléphone.
La troisième personne à louer des téléphones était James R. Osgood, membre senior d'une maison d'édition de Boston. Son téléphone, probablement connecté en mai, reliait son bureau de Boston à University Press à Cambridge. Étonnamment, Osgood, comme ses collègues pionniers de l'utilisation du téléphone, était connu comme un homme d'affaires compétent et perspicace, qui gardait l'œil ouvert sur les nouveaux développements qui feraient progresser son entreprise. James Osgood considérait le téléphone comme une avancée technologique qui lui permettrait de gagner du temps et de l'énergie dans la gestion de ses affaires entre Eastern et Cambridge.
Il y en avait d'autres, en plus de Downer, Enery et Oegood, qui louaient des téléphones et établissaient des lignes téléphoniques pendant les derniers jours de l'existence de la Patent Association. En fait, à la fin de juin 1877, un total de 234 téléphones étaient en usage public. Parmi ces trois premiers, les utilisateurs commerciaux méritent d'être distingués car ils semblent avoir été représentatifs du type d'individus qui ont très tôt adopté le téléphone. Ces utilisateurs pionniers du téléphone étaient apparemment des individus et des hommes d'affaires curieux qui appréciaient le téléphone principalement pour son utilité dans la conduite de leurs affaires. Ces mêmes traits caractérisaient, dans une certaine mesure, les individus qui ont adopté le téléphone comme une entreprise commerciale et d'investissement.
Hubbard n'a pas tardé à capitaliser sur la satisfaction de ces premiers utilisateurs de téléphone. Il a intégré la déclaration de Downers dans une circulaire, « Le Téléphone », destinée à la diffusion générale. En outre, la circulaire contenait des déclarations de Sir William Thomson et des autres juges du Centenaire, ainsi que de George M. Wipple, secrétaire de l'Institut d'Essex, ainsi que des articles de presse de deux tests privés différents.
Cette première publicité décrivait les avantages du téléphone par rapport au télégraphe. Elle expliquait clairement qu'en utilisant un téléphone, on pouvait obtenir une communication plus rapidement (près de cent fois plus vite), de manière plus économique et sans l'intervention d'un tiers. La circulaire décrivait également la méthode par laquelle les intérêts de Bell proposaient de mettre les téléphones à la disposition du public. Ces téléphones devaient être loués, et non vendus, à des tarifs différents selon leur utilisation : vingt dollars par an pour des « fins sociales » et quarante dollars par an pour des fins commerciales. Des instruments supplémentaires placés sur la même ligne, là où la confidentialité n'était pas requise, pouvaient être vendus pour dix dollars. Le loyer devait être payé semestriellement à l'avance.
Les bailleurs ont affirmé qu'ils maintiendraient les instruments en bon état de fonctionnement sans frais pour les moins-disants, sauf en cas de négligence. Ce souci de la qualité et de l'état de l'instrument s'est également manifesté dans la directive de Hubbard à Thomas Watson, selon laquelle tous les instruments doivent être pleinement testés : « Vous n'enverrez bien sûr aucun instrument tant qu'il n'aura pas été minutieusement testé sur un circuit suffisamment longtemps pour l'essayer... et aucun, en aucune circonstance, ne doit être livré avant que vous ne soyez convaincu qu'ils fonctionneront ».
Bien que les titulaires de brevets Bell aient été principalement intéressés par la location de téléphones à cette date, ils ont indiqué qu'ils construiraient, s'ils le souhaitaient, les lignes télégraphiques nécessaires, mais ont suggéré que « tout bon mécanicien peut construire une ligne ». Toutes les demandes de renseignements devaient être adressées à Thomas A. Watson, 109 Court Street, Boston.
Outre le lancement de la location de téléphones, le titulaire de brevets L'association a commencé à prendre des dispositions formelles pour la fabrication et la distribution.
Ainsi, alors que l'existence de la Patent Association touchait à sa fin, son directeur, Gardiner Hubbard, s'est activement engagé dans un travail d'organisation et de promotion, assisté de Thomas Sanders. Alexander Graham Bell n'avait que très peu à voir avec la gestion ou le financement du téléphone aux États-Unis, car lorsque sa tournée de conférences prit fin, il épousa finalement Mabel Hubbard et tous deux partirent pour l'Angleterre.

Parmi les politiques les plus importantes formulées durant cette période par l'Association des brevets figurait celle de louer plutôt que de vendre des téléphones. Cela a été rendu possible grâce aux résultats satisfaisants de la tournée de conférences de Bell.
Compte tenu du contexte des personnes concernées et de l'état actuel de la téléphonie, la location de téléphones était une politique logique, mais pas la seule possible. L'influence de Hubbard a probablement été décisive dans l'adoption de cette politique.
Il avait engagé un avocat pour la Gordon McKay Shoe Machinery Company, qui louait ses machines à coudre les chaussures aux cordonniers, conservant ainsi le titre de propriété des machines et recevant une redevance pour chaque paire de chaussures cousue avec. De plus, Chauncy Snith, « le premier conseiller téléphonique », avait également été avocat pour la Gordon McKay Shoe Machinery Company. Il ne fait donc guère de doute que le concept de location de téléphones s'inspire de la Gordon McKay Company. Et même si c’est Gardiner Hubbard, plutôt que Chauncy Smith, qui est à l’origine de l’idée, comme cela semble probable, Smith a apporté sa contribution en encourageant son adoption.
John Ponton, un futur bailleur de fonds, a également influencé le plan de location durant cette période de formation. Selon lui, la première idée de Bell était de parcourir le pays pour présenter le téléphone et créer des agences de vente. Même si Ponton a pu se tromper en croyant être à l'origine du plan de location, son opinion selon laquelle les intérêts Bell pourraient gagner plus d'argent en louant plutôt qu'en vendant des téléphones a sans doute pesé en faveur de l'adoption finale de cette politique.
Les raisons avancées par Ponton et Smith en faveur du plan de location étaient remarquablement similaires et suggèrent une appréciation indépendante de la vulnérabilité du téléphone initial. Smith, comme l'a raconté son fils, a fait valoir qu'en raison de la nature relativement simple du téléphone et de la facilité avec laquelle il pouvait être fabriqué, il n'y aurait aucun moyen, si les instruments étaient vendus, de garder une trace des instruments qui pourraient être fabriqués et vendus illégalement, tandis que, si aucun instrument n'était vendu et qu'un registre était conservé de la disposition de chacun d'eux, la recherche et la condamnation des contrevenants seraient faciles.
Ponton se rappelle qu'il avait préconisé la location de téléphones parce que "ce qui m'avait le plus frappé à l'époque était l'extrême simplicité de votre téléphone et je n'arrêtais pas de penser à l'impossibilité de gagner de l'argent sur votre brevet en les fabriquant et en les assemblant, ce qui m'a conduit à l'idée de les louer".
Les principaux facteurs qui ont motivé la décision de louer des téléphones semblent avoir été la plus grande rentabilité et l'élément de contrôle qu'une telle politique offrait. En raison de la simplicité de construction des premiers modèles de téléphones, une attention particulière devait être portée aux contrevenants. De plus, en conservant la propriété des instruments, les intérêts de Bell pourraient effectuer les réparations et modifications nécessaires pour maintenir l'efficacité technique et fournir un service satisfaisant. Cette politique de location a permis aux promoteurs de téléphonie de contrôler leur nouvelle industrie dès ses débuts. En fin de compte, cela garantissait qu'il y aurait une radio standard des équipements et des procédures, qu'il y aurait un système téléphonique unitaire. Comme l'a expliqué Watson : « La location des téléphones nous a permis de les garder sous notre contrôle, ce qui nous a permis, plus tard, de lancer plus facilement des centraux téléphoniques dans tout le pays, d'où proviennent les services universels actuels. »
Charles Eustis Hubbard, frère de Gardiner, officier et employé de la Bell Telephone Company, a résumé succinctement la valeur de la politique de location et a exprimé ses sentiments sur la question de la responsabilité de sa suggestion lorsqu'il a écrit : « Qui a eu l'idée de louer un article breveté ? Je ne peux pas dire si notre société peut bénir la mémoire de son auteur ».
Le principe de location était si respecté qu’il était rarement violé.
Une demande d'achat d'un téléphone « en tant que relique » a été refusée, de peur de créer un précédent. Même dans ses relations avec le gouvernement fédéral, Bell n'a pas violé ouvertement cette politique. Les téléphones ont été loués au gouvernement pour la durée de vie de l'instrument ou de ses brevets, à un prix si bas que la transaction équivalait à une vente, mais le principe est resté intact.

Parmi les problèmes les plus critiques auxquels la Patent Association a été confrontée figurait la collecte de fonds.
La plus intéressante, et certainement la plus ironique, des premières tentatives de collecte de fonds liées au téléphone fut une offre faite à la Western Union Telegraph Company. L'événement s'est probablement produit à l'automne et à l'hiver 1876-1877.
En difficulté financière, Gardiner Hubbard a sollicité l'aide de la Western Union, la principale compagnie de télécommunications du pays. Il a proposé de vendre l'intégralité du brevet téléphonique pour 100 000 dollars, ce que le président William Orton a refusé. Un historien récent suggère une explication raisonnable à cette décision :
Western Union a agi avec la prudence bureaucratique habituelle. L'idée de réaliser de lourds investissements dans le développement du nouveau téléphone et de mettre au rebut son équipement actuel est également répugnante. De plus, une entreprise puissante disposait de nombreux moyens pour prendre le contrôle d'un nouveau produit, une fois sa faisabilité prouvée : par imitation, par évasion ou par des poursuites judiciaires engagées à des coûts énormes, au terme desquelles… l'invention pouvait lui revenir.
L'antipathie de longue date d'Orton envers Hubbard a certainement dû influencer sa décision, comme précédemment, de contrer la proposition d'Hubbard. L'inimitié d'Orton a également entravé les efforts d'Hubbard pour intéresser financièrement Chauncey Depew.
Hubbard, agissant en sa qualité de fonctionnaire de la Commission du Congrès pour l'amélioration du courrier et du télégraphe, avait fait la connaissance de Chauncey Depew, qui représentait la New York Central and Hudson Ftivor Railroad dans des litiges concernant le transport du courrier.
Selon Chauncey Depew, Gardiner Hubbard lui a offert un intérêt d'un sixième dans les droits de brevet du téléphone pour 10 000 dollars. Depew accepta d'examiner la proposition et, ce faisant, sollicita l'avis de son ami William Orton. Orton informa Depew que l'invention de Bell n'était pas réalisable et l'informa également que Western Union contrôlait les brevets Gray et pouvait donc « l'emporter ». Depew informa Hubbard de sa décision de ne pas investir dans le téléphone, après quoi Hubbard persuada Depew de son manque de sagesse et obtint sa promesse de retirer les 10 000 $ de la banque le lendemain et de remettre le kit entre les mains de Hubbard.
À peine étions-nous levés du dîner ce jour-là que mon ami Orton est passé nous voir. Il m'a dit : « Après que vous ayez quitté mon bureau, j'ai commencé à m'inquiéter, de peur que vous ne soyez assez stupide pour laisser Bell prendre les 10 000 $… Je veux vous expliquer plus en détail pourquoi Bell n'a pas réussi à utiliser son appareil, même s'il fonctionnait. Nous viendrions le lui reprendre, et vous perdriez les 10 000 $.»
Depew crut plus tard que le conseil d'Orton était motivé par son amitié, sa conviction sincère dans la validité des affirmations de Gray et son désir d'empêcher le groupe Bell de toucher de l'argent. Il est impossible d'établir la date précise de l'offre de Hubbard à Depew, mais il semble probable que la Western Union l'avait déjà déclinée. Peut-être commença-t-elle alors à soupçonner une erreur et que le moyen le plus simple pour M. Orton de protéger les intérêts de son entreprise était d'empêcher les gens de Bell de toucher de l'argent.
Les premiers efforts de Gardiner Hubbard pour réunir des fonds pour le téléphone, bien que très intéressants car ils préfiguraient plusieurs développements importants, n'ont jamais dépassé le stade initial. L'un d'eux est allé un peu plus loin : la proposition faite à John Ponton, rédacteur en chef du Morning Herald de Titusville (Pennsylvanie). Il est intéressant de noter que le parcours de John Ponton ressemblait à celui d'Alexander Graham Bell. Il était originaire d'Édimbourg, bien qu'il y soit né cinq ans plus tôt que Bell. Ponton a hérité d'un intérêt pour la science de son père Mungo Ponton, qui, comme Alexander Melville Bell, était membre de la Scottish Society of Arts et avait également reçu une médaille d'argent pour son travail scientifique. En effet, au cours de leur correspondance, John Ponton se rappela à juste titre avoir été « un ancien camarade de jeu et d'école d'Alexander Graham Bell ». Ponton fit la connaissance de Bell en 1876, après avoir lu un article sur le téléphone. Au cours de leur relation, Ponton suggéra qu'il pourrait être intéressant pour Bell de mener une expérience téléphonique sur une ligne reliant Titussville et Boston. Bell était favorable à cette idée. Ponton proposa également un plan lui donnant le droit d'introduire le téléphone dans les régions pétrolières de Pennsylvanie. Bell était également favorable à cette idée, mais refusa de conclure un « accord indépendant », expliquant qu'il avait cédé son brevet à « des messieurs qui se sont constitués en société pour développer et introduire » ses inventions. Dans cette offre, comme dans toutes les autres, Bell a renvoyé Ponton à l'homme chargé de la « gestion pratique » des brevets, Gardiner G. Hubbard.
En fait, Bell n'a même pas voulu envoyer d'instruments à Ponton pour commencer les essais Titusville-Boston sans le consentement de Hubbard.
La proposition de Ponton de faire de Bell un « millionnaire » était agréablement dérangeante pour l’inventeur en difficulté. Son offre de 10 000 $ à Bell pour la moitié de sa participation dans le téléphone fut dûment prise en considération par Hubbard. Hubbard a indiqué qu'il était actuellement en contact avec des parties de Providence et de Boston qui négociaient pour l'organisation d'une grande entreprise dans le but de présenter le téléphone au grand public. Cependant, en raison de l'intérêt de longue date de Ponton pour le sujet, il aurait la préférence sur les autres parties. Hubbard a noté que ces autres négociations n'avaient pas besoin d'interférer avec les accords proposés entre Ponton et la Patent Association. De plus, comme Ponton appréciait la « chaleureuse amitié » de Bell, Bell souhaitait qu'il soit « le premier à aborder l'affaire.
Les sociétés de Boston et de Providence auxquelles Hubbard faisait référence étaient E. S. Converse de la Boston Rubber Shoe Company et Henry Howard de Rhode Island. Ils étaient intéressés par le développement des brevets téléphoniques étrangers et américains de Bell.
La proposition de Howard prévoyait la création d'une société composée de personnalités telles que le secrétaire d'État Fish et Henry Adams, et contrôlant un capital de plusieurs millions de dollars pour développer le téléphone dans le monde entier. Gardiner Hubbard devait devenir président de cette société, Alexander Graham Bell, vice-président, et E. S. Converse, trésorier. Bell devait être payé 5 000 $ pour avoir consacré tout son temps au fonctionnement du téléphone. Le grand projet de Howard devait être réalisé en trois semaines.
Reconnaissant que les résultats commerciaux de la téléphonie restent « quelque peu problématiques », Howard a suggéré que l'objectif principal des actionnaires serait d'obtenir une position avantageuse pour acquérir davantage d'actions si cela s'avérait « une bonne chose ». Par conséquent, chaque souscripteur devrait avoir droit à quatre actions supplémentaires pour chaque action achetée, à un prix croissant de 10 % à une date ultérieure. En organisant cette entreprise, 10 000 $ contre s à lever immédiatement.
Les négociations de Hubbard avec Howard se soldèrent par un échec. Compte tenu de la rentabilité encore inégale de la téléphonie commerciale et du projet ambitieux proposé par Howard, cela est compréhensible. Hubbard conclut alors un accord avec John Ponton le 8 mars 1877.
L'accord prévoyait que chaque membre de l'Association des brevets cède et mette en commun un dixième de ses intérêts dans le brevet téléphonique. Neuf dixièmes de cette somme devaient être versés à Ponton dès qu'il remplirait certaines conditions spécifiées. Le reste serait conservé pour le bien commun.
Bell et Watson devaient se rendre à Titusville et mener des expériences qui satisferaient les amis de Ponton. S'ils étaient satisfaits, ces derniers devaient payer Bell 2 000 $ en espèces et 2 000 $ par mois pendant quatre mois, jusqu'à ce que 10 000 $ aient été payés. Les associés de Ponton devaient également mettre en place une ligne télégraphique et l'utiliser gratuitement pendant six mois pour leur propre entreprise privée. Par la suite, la ligne devait être utilisée par Bell à des fins expérimentales. Ponton recevrait ses neuf dixièmes lorsque la somme indiquée de 10 000 $ serait payée en totalité. Une fois le téléphone mis à la disposition du public, une société devait être constituée et Ponton et ses amis devaient ensuite verser 100 000 $ à son trésor. Ils devaient également accepter d'augmenter ce montant à 1 000 000 $, selon les besoins.
Avec l'organisation de la société, une nouvelle division des intérêts dans le brevet de téléphonie serait créée. La Patent Association transférerait le brevet à la société en échange de cinquante pour cent de ses actions. Bell, Sanders, Hubbard, Watson et Ponton diviseraient ce montant dans la même proportion que celle dans laquelle ils détenaient auparavant le brevet. Vingt-cinq pour cent des actions de la société seraient distribuées aux parties souscrivant les 100 000 $. Les vingt-cinq pour cent restants seraient détenus par la trésorerie de la société au profit des actionnaires, selon ce qui était souhaitable. Selon les termes de l'accord, John Ponton ne deviendrait alors associé dans la propriété du brevet téléphonique que lorsqu'il obtiendrait le paiement de 10 000 $ à Bell. Ponton était obligé d'aider à l'organisation de la nouvelle société, mais sa participation à la division du brevet ne dépendait pas de cette activité. Si ces efforts échouaient, les titulaires de brevets concluraient de nouveaux accords. En effet, les actionnaires de Ponton ne recevraient aucun avantage durable pour leur investissement initial puisque les actions mises de côté pour eux seraient conservées et cédées autrement.
Hubbard envisageait la création d'une société sur la base de 40 000 actions. Bell, Sanders et Hubbard détiendraient chacun 5 400 actions ; Watson et Ponton, 1 800 chacun. Deux cents actions supplémentaires seraient réparties proportionnellement entre les cinq associés. Les « sociétés Meash » recevraient 10 000 actions et les 10 000 actions restantes seraient placées dans le Trésor.
À la fin du mois de mars, Bell était déjà découragé par les arrangements de Ponton. Ponton reportait régulièrement les expériences de Titusville et Bell concluait que cet accord ne donnerait rien.
Ponton répondit qu'il avait rencontré des obstacles à Titusville.
Il recommanda à Bell d'accepter toutes les demandes de location jusqu'à ce qu'il puisse appeler Bell à Titusville. Ponton expliqua que l'adversaire de Bell, Elisha Gray, lui causait beaucoup de problèmes. Néanmoins, Ponton rassura Bell en lui disant que s'il ne pouvait pas lever de fonds d'une manière, il pouvait le faire d'une autre.
Les retards de Ponton incitèrent Bell à prendre des dispositions avec Frederick Gower pour une tournée de conférences aux États-Unis et au Canada. Hubbard se dit surpris d'apprendre que Ponton n'avait pas respecté cet accord. Hubbard était particulièrement perturbé parce qu'il croyait que les téléphones étaient prêts à être présentés au public et qu'il les considérait comme préjudiciables à toutes les parties. Sentant peut-être la futilité de son accord, il rappela à Ponton qu'à moins que leur accord ne soit bientôt respecté, il serait contraint d'en conclure d'autres. Comme Ponton l'a indiqué à Bell, sa principale difficulté résidait dans la levée des 10 000 dollars. Vingt-cinq ans plus tard, Ponton expliqua les détails du problème. Après avoir signé l'accord à New York, Ponton retourna à Titusville uniquement pour apprendre qu'une des plus grandes banques du pays avait fait faillite. Avec cet échec, les principaux investisseurs, y compris le président de la banque, n'ont pas pu réunir les 10 000 dollars nécessaires, et Ponton a donc contacté un autre banquier. Cet individu a non seulement refusé de croire aux affirmations de Ponton concernant le téléphone, mais a également suggéré d'une manière sarcastique que Ponton s'installe dans un asile d'aliénés voisin.
Le récit de Ponton était probablement exact. Il ne fait aucun doute que certains, comme le second banquier de Ponton, considéraient le téléphone comme une curiosité scientifique ou un jouet et n'en appréciaient pas la valeur en tant qu'instrument de communication pratique ou comme un bon investissement commercial. D'autres, cependant, comme le premier bailleur de fonds de Ponton, partageaient un point de vue opposé. Malgré l'idée persistante et romantique selon laquelle l'ancien point de vue était caractéristique de l'accueil réservé au téléphone lors de ses débuts, les nombreuses demandes et offres sérieuses adressées à Bell à la fin de 1876 et au début de 1877, et l'empressement de ceux qui recherchaient des agences téléphoniques, ne veulent pas contredire cela. Ponton n'a pas réussi à réunir la somme qui aurait fait de lui un associé dans le téléphone, non seulement en raison d'un retournement de situation et d'un manque de visibilité, mais aussi parce que l'accord n'était pas entièrement satisfaisant pour ses bailleurs de fonds potentiels. En mai 1877, Ponton notait : « Ce contrat est trop peu pratique pour les financiers, car il requiert trop de personnes intéressées qui prennent d'autres risques et leur accorde trop peu d'intérêt pour les risques qu'ils courent. »
Ponton suggéra à Bell et à ses associés un plan alternatif pour l'organisation d'une société. Suite au succès de Bell, En faisant la démonstration de la gratuité du téléphone à Titusville, un groupe d'investisseurs créerait une société dotée du capital libéré nécessaire. En contrepartie, Ponton recevrait une part du brevet, qui serait transférée à la société actuelle.
Les détenteurs de brevets recevraient cinquante et un pour cent des actions et les investisseurs quarante-neuf pour cent. De plus, les « intérêts financiers » auraient le droit de nommer le président, le secrétaire et le trésorier pour la première année. Le conseil d'administration serait composé de représentants de l'ensemble des actions. Ponton a imaginé que l'entreprise établirait un système de téléphonie locale utilisant des instruments loués par l'intermédiaire d'un bureau central de district où leur utilisation serait facturée au taux d'un centime par minute. Hubbard rejeta la proposition de Ponton, soulignant que l'état de la téléphonie avait déjà enregistré de grands progrès depuis la signature de l'accord initial à Kirch et que les titulaires de brevets n'accepteraient pas maintenant une telle proposition comme ils l'avaient alors faite. La Patent Association recevait de nombreuses commandes d'instruments et beaucoup seraient bientôt inopérants sur des lignes privées. En conséquence, Hubbard écrivait : « Nous garderons probablement le contrôle général entre nos mains, en incitant différentes parties dans différentes villes à introduire le brevet dans leur localité. »
Ainsi prirent fin les espoirs de John Ponton de devenir partenaire du brevet de Bell sur le téléphone. En guise de consolation, Hubbard lui proposa de prendre des dispositions avec lui pour l'introduction du téléphone à Titusville seulement. Ponton accepta plus tard.
De toute évidence, les propriétaires de brevets avaient rendu leur recherche de capitaux plus difficile en raison de l'exigence de conserver un contrôle absolu sur le développement de leur précieuse propriété. Portés, comme ils le sont désormais, par les progrès techniques et la demande croissante d'instruments, ils étaient fermement convaincus de pouvoir obtenir des capitaux à des conditions plus avantageuses que celles proposées par John Ponton. En attendant que cela soit accompli, leurs propres ressources personnelles, combinées aux revenus téléphoniques immédiats, devaient soutenir leurs efforts.
Dans ces conditions, la Patent Association a alors créé la Bell Telephone Company pour la commercialisation ultérieure du téléphone.

sommaire

Le professeur Blake a poursuivi ses expériences à Peace Dale, dans le Rhode Island, où il a créé une ligne téléphonique commode pour faciliter la tâche, entre le domicile de Rowland Hazard et celui de son frère. Cette ligne avait un quart de mille de long et était la première à être utilisée à des fins autres qu'expérimentales.

Sur ordre de Bell, Watson, passa à Williams la première commande pour 25 box et 50 téléphones (handphone) les nouveaux téléphones dont il est question maintenant.
Il y eut ensuite de nombreux scientifiques et amateurs
pour améliorer ce tout jeune téléphone de Bell, qui fabriquèrent des modèles de plus en plus performants et ingénieux.

Puis vint la première des circulaires téléphoniques. Trois pages contenaient des approbations de la presse et des scientifiques, tandis que la première page contenait les déclarations suivantes qui semblent uniques à la lumière des connaissances ultérieures
Le Téléphone
Les propriétaires du téléphone, invention d'Alexander Graham Bell, pour lequel des brevets ont été délivrés par les États-Unis et la Grande-Bretagne, sont maintenant prêts à fournir des téléphones pour la transmission de la parole articulée au moyen d'instruments distants d'une vingtaine de kilomètres. La conversation peut être facilement poursuivie après un peu de pratique et avec la répétition occasionnelle d'un mot ou d'une phrase. A la première écoute du téléphone, bien que le son soit parfaitement audible, l'articulation semble indistincte ; mais après quelques essais, l'oreille s'habitue au son particulier et n'éprouve aucune difficulté à comprendre les mots.Le téléphone doit être placé dans un endroit calme, où il n'y a aucun bruit susceptible d'interrompre les conversations ordinaires.
Les avantages du téléphone par rapport au télégraphe pour les entreprises locales sont
1. Qu'aucun opérateur qualifié n'est requis, mais que la communication directe peut s'effectuer par la parole sans l'intervention d'un tiers.
2. Que la communication est beaucoup plus rapide, le nombre moyen de mots transmis par minute par sondeur Morse étant de quinze à vingt, par téléphone de un à deux cents.
3. Qu'aucune dépense n'est requise ni pour son fonctionnement, ni pour son entretien, ni pour sa réparation. Il n’a pas besoin de batterie et ne dispose d’aucune machinerie compliquée. Il est inégalé en termes d'économie et de simplicité.
Les conditions de location de deux téléphones à usage social reliant une maison d'habitation à tout autre bâtiment seront de 20 $ par an, à des fins commerciales 40 $ par an, payable semestriellement à l'avance, avec le coût du transport express depuis Boston, New York, Cincinnati, Chicago, St. Louis ou San Francisco. Les instruments seront maintenus en bon état de fonctionnement par les loueurs, sans frais, sauf blessures résultant d'une grande négligence.
Plusieurs téléphones peuvent être placés sur la même ligne moyennant un loyer supplémentaire de 10 $ pour chaque instrument ; mais il n'est pas conseillé d'en utiliser plus de deux sur la même ligne lorsque la confidentialité est requise. Toute personne se trouvant à une distance auditive ordinaire peut entendre la voix qui appelle via le téléphone. Si un appel plus fort est nécessaire, un appel peut être fourni pour 5 $.

Des lignes télégraphiques seront construites par les propriétaires si cela est souhaité. Le prix variera de 100 $ à 150 $ le mile ; tout bon mécanicien peut construire une ligne ; Le fil n° 9 coûte 8 £ cents la livre, soit 320 livres par mile ; 34 isolateurs à 25 cents chacun ; le prix des poteaux et du montage varie selon les localités ; fil de cordage 5 $ par mile ; articles divers 10 $ par mile.
Les parties qui louent le téléphone n'engagent aucune dépense au-delà de la location annuelle et de la réparation du fil de ligne. Dans les pages suivantes figurent des extraits de presse et d'autres sources relatives au téléphone.

------------------------------------------- Gardiner G. Hubbard. -----------------------
Cambridge, Massachusetts, mai 1877.
Pour plus d’informations et adresse de commande Thomas A. Watson, 109 Court St., Boston .

Le travail de fourniture aux clients des téléphones portables, mentionnés dans la circulaire précédente, fut confié à l'assistant de Graham Bell, M. Thomas A. Watson, qui était entré au service des propriétaires du téléphone vers le 1er avril 1876. Il occupa un petit espace de bureau et beaucoup de bancs dans la petite usine de Charles Williams, au 109 Court Street, Boston. Ici, M. Watson a fabriqué et assemblé les pièces, comme les téléphones étaient nécessaires. Naturellement, des améliorations étaient à l'ordre du jour, et bientôt un magnéto-téléphone à poignée en acajou plus petit et plus attrayant fut adopté.
La rapidité avec laquelle le « jouet de Bell » a commencé à gagner la faveur du public est indiquée par la déclaration selon laquelle le 31 juillet 1877, soit moins de quatre mois à compter du jour où la première circulaire a été envoyée par M. Hubbard, 778 téléphones avaient été loués. , alors que selon toute probabilité, un nombre égal de téléphones expérimentaux avaient été fabriqués par des mécaniciens et des scientifiques qui pensaient qu'il serait facile d'améliorer la méthode de Bell. À la fin de l’année 1877, 5 491 téléphones Bell étaient en service.

Puis le développement du commerce des changes et la cession des droits territoriaux commencèrent sérieusement, et M. Hubbard visita toutes les grandes villes cherchant à intéresser des hommes éminents. Mais bien qu'il voyageât ici et là, s'efforçant d'influencer le capital pour qu'il considère favorablement le téléphone comme un investissement souhaitable, la tâche d'intéresser les investisseurs au développement des échanges locaux s'est avérée difficile, et les progrès ont été réalisés lentement aux États-Unis.
Aux États-Unis, le premier bail de droits territoriaux fut signé les 2 et 1er octobre 1877 avec la Telephone and Telegraph Construction Company, de Detroit, Michigan ; pourtant, onze mois s'écoulèrent avant qu'un central téléphonique ne soit ouvert dans cette ville.
Le deuxième bail a été attribué à la District Telephone Company de New Haven, Connecticut, et comprenait les comtés de New Haven et Middlesex. L'ancien comté s'est développé rapidement et a l'honneur d'avoir établi dans ses limites les deux premiers centraux téléphoniques commerciaux (à New Haven et à Meriden), la première mutuellecentral téléphonique (Bridgeport), le premier système de central téléphonique privé (Ansonia) et les premières lignes téléphoniques payantes régulièrement connectées aux centraux téléphoniques commerciaux en activité.

Le 12 février 1878, le territoire fut attribué à la New England Telephone Company, de Boston. Le 8 mars 1878, une licence fut accordée à l'American District Telegraph Company, de Saint-Louis, et le 3 juillet 1878, une licence fut accordée pour la ville de New York et incluant un rayon de trente-trois milles.
Le 9 juillet 1877, Hubbard fonde et organise la Bell Telephone Company et en devient président .
Cette activité a créé une forte demande de téléphones, et par. à la fin de juillet 1878, plus de 12 000 avaient été placés. Il a donc été jugé plus sage d'organiser une société plus grande et plus flexible.
Ainsi, le 30 juillet 3 878, M. Hubbard organisa la Bell Telephone Company, de Boston, sous les lois du Massachusetts, pour fabriquer, vendre et utiliser des téléphones en dehors de la Nouvelle-Angleterre, et la capitalisa à 150 000 $. M. Hubbard était administrateur, M. Sanders, trésorier, le Dr Bell, électricien, et Thomas A. Watson, surintendant. Cette société a acquis tous les brevets, propriétés et droits de son prédécesseur, la Bell Telephone Association, et son siège social est resté à l'usine Williams au 109 Court Street.
Cette deuxième société mère a conclu neuf accords formels accordant des droits exclusifs d'utilisation des téléphones Bell dans certains territoires spécifiés et a fait un si excellent travail en développant l'ouverture des centraux, que quelque 22 000 téléphones étaient en service lorsque, le 13 mars 1879, il a été a jugé plus sage d'organiser une nouvelle société mère disposant d'un soutien financier suffisant combiné à une influence personnelle et commerciale qui permettrait de gérer l'entreprise à la grande échelle qu'exigeaient les conditions de maturation.

Ainsi, la National Bell Telephone Company a été constituée en vertu des lois de l'État du Massachusetts et la société a capitalisé 850 000 $. Les bureaux exécutifs de cette société mère furent transférés à New York, en août 1878, et situés aux 66 et 68 Reade Street. Un an plus tard, l'entreprise est retournée à Boston et a obtenu des bureaux au 95 Milk Street.

sommaire

ORGANISATION DE LA COMPAGNIE DE TÉLÉPHONE BELL ET CRÉATION D'AGENCES

Tout au long du mois de juin 1877, Gardiner Hubbard et ses associés se sont activement occupés de la création officielle d'une compagnie de téléphone. Le 9 juillet 1877, la Compagnie de Téléphone Bell a vu le jour grâce à la signature d'une déclaration de fiducie par Hubbard.
Avant l'exécution de la Déclaration, les brevets 161 739, 174 465, 178 399 et 186 89 ont été cédés à Hubbard en tant que fiduciaire « pour son propre usage et pour son propre compte... jusqu'à la fin complète du terme pour lequel lesdites lettres [de brevet] ont été accordées ».
Bell a également cédé au fiduciaire « toutes les inventions et améliorations que je pourrais apporter par la suite à l'invention ». Concernant la téléphonie ou les appareils téléphoniques. En vertu de ces cessions, Hubbard, en tant que fiduciaire, contrôlait l'ensemble des brevets téléphoniques de Bell et toute créance qu'il pourrait obtenir à l'avenir. En signant la déclaration de fiducie, Gardiner Hubbard a établi les conditions juridiques dans lesquelles il devait exercer ses responsabilités de fiduciaire. La Bell Telephone Company a été décrite à plusieurs reprises comme une « association » et une « association volontaire ». Ce n'était pas une société et n'avait donc pas de capital social.
Les détenteurs de brevets ont décidé de poursuivre cette forme d'organisation, car les mérites du brevet et la nature exacte de l'avenir de l'activité téléphonique étaient incertains. De plus, le recours à des fiduciaires comme administrateurs de biens et d'entreprises était une pratique assez courante à Boston. Selon la Déclaration, l'activité de fabrication de téléphones et d'octroi de licences d'utilisation devait être gérée par le fiduciaire conformément aux directives, règles et règlements d'un conseil d'administration. Tous les fonds et biens placés sous le contrôle du fiduciaire devaient être détenus en fiducie jusqu'à leur versement à l'Association, dont les droits étaient divisés en cinq mille actions. Chaque membre de l'Association disposait d'une voix pour chaque action qu'il détenait, et l'argent était réparti au prorata par le Conseil d'administration.
Aucun membre de l'Association ne détenait le droit de contrôler les biens ou les fonds détenus par le fiduciaire ou le trésorier, sauf par l'intermédiaire du Conseil d'administration. De plus, aucun membre de l'Association ni du Conseil d'administration n'avait le pouvoir d'engager la responsabilité de l'Association.
Toutes les affaires et tous les intérêts de l'Association étaient entièrement sous la supervision et le contrôle du Conseil d'administration, qui devait être composé d'au moins trois et de plus de cinq personnes, y compris le fiduciaire.
Les membres du conseil d'administration devaient être élus par et parmi les propriétaires et ne pouvaient agir qu'en tant que conseil d'administration. Le conseil d'administration devait nommer les agents, les employés et les domestiques qui devaient effectuer toutes les activités de la société.
Il a été ordonné au Trésorier de tenir une comptabilité claire et précise, en partie double, de toutes les transactions commerciales. Ces registres et ceux du Fiduciaire devaient être accessibles aux actionnaires et au Conseil de Gérance pour inspection.
Le Fiduciaire devait agir en qualité d'agent général, sauf disposition contraire du Conseil de Gérance. Il ne pouvait disposer des biens détenus en fiducie qu'après avoir été dirigé par un groupe d'au moins sept huitièmes des actionnaires, détenus à cette fin expresse.
Contrairement à une société en nom collectif, le décès d'un membre de l'Association ne la dissolvait pas automatiquement. De plus, un héritier n'avait pas le droit de rendre des comptes ni d'engager une action en justice à cette fin. Il héritait simplement du droit au certificat du défunt et aux actions qu'il représentait, sous réserve, bien entendu, de la déclaration de fiducie.
Le fiduciaire exerçait son mandat au bon plaisir des actionnaires. Il pouvait être révoqué lorsque trois quarts des actionnaires en décideraient ainsi lors d'une assemblée spéciale.
Gardiner G. Hubbard, en tant que fiduciaire, se voyait ainsi confier la supervision générale et l'exploitation des activités de la Bell Telephone Company. La Déclaration de fiducie a officialisé les pouvoirs du dirigeant exécutif qui ont été de plus en plus exercés pendant l'existence de la Patent Association. Selon cette Déclaration, Hubbard ne jouissait pas d'un pouvoir ou d'un mandat illimité, mais ce n'était qu'une simple formalité, comme Thomas Sanders s'en est plaint plus tard.
Les certificats de propriété délivrés le 1er août 1877 étaient destinés aux propriétaires du brevet téléphonique, ou de leurs dessins, à peu près en proportion de leur intérêt initial. Mabel G. Bell a reçu 1497 actions, Alexander G. Bell 10 actions, Thomas Sanders 1497 actions, Gertrude McCurdy Hubbard 100 actions, Gardiner G Hubbard 1387 actions et Charles Eustis Hubbard 10 actions. Ce dernier a reçu ses actions « en rémunération de services professionnels », parmi lesquels la rédaction des statuts de l'association. En vertu de ses propres certificats (et de ceux de son épouse) et du contrôle qu'il exerçait sur Mabel Bell par l'intermédiaire de sa procuration, Gardiner Hubbard détenait un intérêt majoritaire dans la compagnie de téléphone Bell. Par conséquent, le consentement de Hubbard aurait été nécessaire pour sa révocation en tant que fiduciaire.
Le 1er août 1877, à midi, la première assemblée des actionnaires de la Compagnie de Téléphone Bold a eu lieu au n° 13 du Sears Building à Boston. Gardiner Hubbard, Thomas Senders, Alexander G. Bell, Thomas A. Watson et Charles Eustis Hubbard étaient présents et ils ont voté pour eux-mêmes pour le conseil d'administration. Ils ont élu à l'unanimité Thomas Sanders trésorier et Charles Eustis Hubbard greffier. Les propriétaires ont également voté un règlement intérieur spécifiant les devoirs des dirigeants et du conseil d'administration de la société. Le conseil a été chargé de nommer un électricien et un superviseur, ainsi que les autres employés nécessaires. Le conseil a également été autorisé à fixer les salaires du fiduciaire, des dirigeants et des agents de la société.
Les statuts réaffirmaient le devoir du fiduciaire de superviser l'entreprise, l'autorisaient à signer tous les baux avec l'approbation du conseil d'administration et l'obligeaient à faire un rapport écrit à chaque séance trimestrielle du conseil d'administration.
Le trésorier était chargé de la gestion de tous les fonds de la société, mais n'était pas autorisé à contracter une quelconque responsabilité sans le consentement du conseil d'administration. Compte tenu des développements récents, il est important de noter que le trésorier devait être responsable de tous les baux signés par le fiduciaire. Il devait également présenter des rapports trimestriels sur les sommes reçues et déboursées.
Le surintendant était chargé de la fabrication des téléphones et du matériel connexe. Le clerc s'acquittait des tâches inhérentes à une telle fonction.
À la levée de l'assemblée des actionnaires, le conseil d'administration s'est immédiatement réuni.
Le conseil a élu à l'unanimité Alexander Graham Bell électricien et Thomas Watson surintendant. Le fiduciaire a présenté un rapport sur la situation de la société et soumis le projet de bail à utiliser pour la location de téléphones. Avec l'adoption de la loi, le conseil d'administration a ajourné sa séance. Les archives indiquent qu'ils ne se sont plus jamais réunis officiellement.
En août 1877, l'organisation qui, pendant les onze mois suivants, allait contribuer au développement commercial du téléphone fut achevée. L'administrateur Hubbard était à sa tête, et Thomas Sanders en était le second.

Dans cette période clé, Bell a pris un congé le 11 juillet 1877, pour épouser Mabel Hubbard, l'une de ses élèves sourdes et fille de l'un de ses partenaires, Gardiner Greene Hubbard. Alexander Graham Bell, électricien, fut nommé pour perfectionner ce téléphone. En réalité, Bell et sa femme s'installèrent alors en Angleterre, où il resta dix-huit mois, ignorant totalement l'actualité téléphonique américaine.
Le lendemain, Bell concéda 75 % de ses droits canadiens à son père et le reste à Charles Williams Jr. de Boston, Massachussetts, son fabricant d’équipement. en échange, ce dernier doit fournir 1 000 téléphones sans frais. Toutefois, après cette transaction, deux enjeux importants apparaissent. D’abord, la demande en téléphones aux États-Unis, téléphones pour lesquels M. Williams avait été payé, devient tellement grande que ce dernier prend du retard dans les commandes placées par Melville Bell. Ensuite, les frais de douanes canadiennes que doit débourser Melville Bell pour chaque téléphone fabriqué aux États-Unis sont élevés. De plus, les lois concernant les brevets obligent les Canadiens à cesser l’importation de téléphones peu de temps après l’émission du brevet en 1877.

Le 1er Aout 1877 Gardiner Hubbard au conseil de direction de la compagnie du téléphone Bell rédige un rapport sur les agences désignées pour louer des téléphones.

Une circulaire de 1877 Le téléphone

Les propriétaires du téléphone, l'invention d'Alexander Graham Bell, dont les brevets ont été délivrés par les États-Unis et la Grande-Bretagne, sont maintenant prêts à fournir des téléphones pour la transmission de la parole articulée à travers des instruments distants d'au plus trente kilomètres. La conversation peut facilement être poursuivie après une légère pratique et avec la répétition occasionnelle d'un mot ou d'une phrase.
Lors de la première écoute du téléphone, bien que le son soit parfaitement audible, l'articulation semble indistincte, mais après quelques essais l'oreille s'habitue à le son particulier et trouve peu de difficulté à comprendre les mots.
Le téléphone doit être placé dans un endroit calme, où aucun bruit n'interrompt la conversation ordinaire.
Les avantages du téléphone par rapport au télégraphe pour les entreprises locales sont les suivants :
(1) qu'aucun opérateur qualifié n'est requis, mais une communication directe peut être établie par la parole sans l'intervention d'une tierce personne.
(2) Que la communication est beaucoup plus rapide, le nombre moyen de mots transmis par minute par Morse Sounder étant de quinze à vingt, par téléphone de un à deux cents.
(3) Qu'aucune dépense n'est requise ni pour son entretien, ni pour sa réparation. Il n'a pas besoin de batterie et n'a pas de machinerie compliquée. Il est inégalé pour l'économie et la simplicité.
Les conditions de location de deux téléphones à des fins sociales reliant une maison d'habitation à tout autre bâtiment seront de 20 $ par an, à des fins commerciales, de 40 $ par an, payables semestriellement à l'avance, avec les frais d'expression de Boston, New York, Cincinnati, St. Louis ou San Francisco.
Les instruments seront conservés en bon état de marche par les bailleurs, sans frais, à l'exception des blessures résultant d'une grande négligence.
Plusieurs téléphones peuvent être placés sur la même ligne moyennant une location supplémentaire de 10 $ pour chaque instrument; mais l'utilisation de plus de deux sur la même ligne où la confidentialité est requise n'est pas recommandée.
Toute personne se trouvant à une distance auditive ordinaire peut entendre l'appel vocal via le téléphone.
Si un appel plus fort est requis, un appel peut être fourni pour 5 $.
Les lignes télégraphiques seront construites par les propriétaires si désiré.
Le prix variera de 100 $ à 150 $ le mille; tout bon mécanicien peut construire une ligne; Le fil n ° 9 coûte 8 1/2 cents la livre, 320 livres aux 34 isolateurs du mile à 25 cents chacun; le prix des poteaux et le réglage varient dans chaque localité; fil de filage de 5 $ par mille; divers 10 $ par mile.
Les parties qui louent le téléphone n'encourent aucune dépense au-delà de la location annuelle et de la réparation du fil de ligne.
Sur la page suivante, vous trouverez des extraits de la presse et d'autres sources relatives au téléphone.

Gardiner G Hubbard
Cambridge, Mass, mai 1877

MM. Sanders & Hubbard ont donc prêté à M. Williams 500 dollars. Williams a commencé à livrer des téléphones à nos agents le 10 juin et depuis lors, il a livré 650 hand téléphones ... presque tous sont actuellement en service, aucun d’eux n’a été retourné ou, à notre connaissance, n’a pas donné satisfaction
...
Bell et Mabel Hubbart et s'apprêtent à partir en voyage de noce, ils embarquent pour l'Angleterre le 4 aout 1877 , Bell en profitera pour promouvoir son invention en Europe bien qu'elle soit déjà étudiée et reproduite à l'étranger simplement avec ce que l'on trouvait dans la presse de cette époque.

Thomas Watson, jusqu'alors simple « factotum général », devait superviser le développement et la fabrication des téléphones et des équipements auxiliaires. Le 10 août, il fut relevé de ses fonctions de comptable lorsque Robert W. Devonshire fut embauché à cette fin. Devonshire devint ainsi le « premier employé du téléphone ». Enfin, Charles Hubbard fut élu au poste de clerc de la compagnie. L'organisation centrale de la Bell Telephone Company était au complet.
La décision de nommer Gardiner G. Hubbard administrateur était logique. Non seulement il avait déjà fait preuve d'un excellent jugement dans plusieurs décisions clés, mais il démontrait également la personnalité et les qualités nécessaires. Il était essentiel de promouvoir le téléphone. Ce sont précisément ces qualités qui avaient contribué à l'influence de Thomas Sanders en 1871, permettant à Hubbard de devenir un partenaire à part entière avec lui et Bell. De plus, Hubbard était particulièrement bien placé dans son rôle de membre de la Commission spéciale sur le transport ferroviaire par rail pour attirer l'attention de nombreuses parties intéressées sur le téléphone.
Au cours de ses missions d'inspection auprès de la Commission, Hubbard transportait une paire de téléphones à des fins d'expérimentation et de démonstration à des personnes intéressées.
Dans une période de finances serrées, la Commission a fourni un moyen permettant d'effectuer des voyages promotionnels à peu de frais, voire gratuitement, pour la Bell Telephone Company. Comme le raconte Watson :
"Le voyage pour lequel j'ai essayé le téléphone pour la première fois dans une mine était en grande partie celui effectué par la U.S. Railway Commission, dont M. Hubbard était le président". En réalité, son seul but était de tester le téléphone.
En effet, Hubbard devint agent itinérant pour le téléphone. En juin 1877, il distribua des téléphones à des agents potentiels à Cleveland, Chicago et Pittsburgh.
L'incapacité des intérêts de Bell à lever des capitaux à des conditions acceptables influença fortement le programme que la Bell Telephone Company suivit pour promouvoir le téléphone. La décision fut prise d'encourager les intérêts locaux à développer l'activité téléphonique, en utilisant les capitaux et la population locaux, la Bell Company conservant l'autorité générale.
Le 1er août 1877, lorsque le fiduciaire Hubbard fit son rapport au conseil d'administration, des agents avaient déjà été nommés pour commercialiser le téléphone localement, et des négociations étaient en cours avec d'autres. L'analyse de ces agences et d'autres créées pendant que Hubbard était administrateur indique un certain nombre de développements importants.
Certains agents ont commencé à nouer des relations avec le téléphone par le biais de contacts avec Gardiner Hubbard, comme dans le cas de l'agence de l'Ohio et de l'Indiana et de la Wisconsin Telephone Company.
Les instruments laissés par Hubbard à cette occasion ont été testés et exposés publiquement. Ces tests et démonstrations ont parfois donné lieu à des commandes immédiates de téléphones :
"Depuis votre départ, nous avons effectué plusieurs tests avec le téléphone et ils ont été concluants. Samedi, nous avons essayé sur une ligne de chevaux, c'était un test très sévère et satisfaisant, ce qui a abouti à une commande de trois instruments. Ne pouvez-vous pas poncer une douzaine d'instruments ou plus à la fois ? ".

sommaire

LE DIFFICILE DEBUT DU TELEPHONE

Un certain nombre d'agents ont reçu leur introduction au métier de la téléphonie en tant qu'assistants de Bell au cours de certaines de ses premières expériences et conférences. Stearns et George, agent de Boston, avaient aidé à la construction d'une première ligne pour Bell, tandis que George W. Coy, qui allait plus tard rétablir le premier central téléphonique commercial, construisit les lignes nécessaires à la conférence de Bell à New Haven et l'y assista généralement.

Il semble cependant que le plus grand nombre d'agents aient découvert la téléphonie grâce à leurs propres demandes de renseignements auprès des propriétaires du brevet Bell. Certains d'entre eux, comme John Ponton de Titusville, William A. Jackson du Michigan et George S. Ladd de Californie, ont découvert le téléphone grâce à des articles de journaux. William Jackson explique :
"Durant l'été 1877, mon attention fut attirée par un article de journal rendant compte du fonctionnement du téléphone. Je m'adressai à M. Bell pour la création de l'agence du téléphone Bell pour l'État du Michigan. Le dossier fut confié à M. Gardiner G. Hubbard, et après quelques échanges de correspondance et de documents, le 1er octobre 1877, je pris en charge l'agence générale pour le Michigan.".
Nombre de ceux qui se sont renseignés sur le téléphone étaient des fabricants ou des fournisseurs de matériel électrique. Stearns et George étaient électriciens et fabricants d'appareils électriques ; G. W. Stockley était vice-président et trésorier de la Telograph Supply Company de Cleveland ; tandis que Western Electric et Davis et Watts étaient principalement fabricants et revendeurs de matériel électrique. Un nombre important d'agents potentiels étaient déjà connectés à certains réseaux de communications électriques. E. T. Koines a dirigé un système d'alarme antivol à Boston ; W illiam H. B ofinger était président de l'American District Telegraph Company (Nouvelle-Orléans) et de la New Orleans Local Telegraph Company ; C. H. Sew all était membre de l'American District Telegraph Company d'Albany ; T. B. A. David était membre de la Central District and Printing Telegraph Company de Pittsburgh ; tandis que B. F. Blackall était surintendant de la ligne d'incendie, de télégraphe et de travaux publics de Rochester et que H. R. Rhoads était surintendant des lignes télégraphiques du Pennsylvania Railroad..
Certains de ces individus ont fait appel à la Bell Telephone Company pour obtenir une agence, car ils recevaient déjà des demandes et des commandes locales de téléphones. D'autres pensaient que leurs compétences et leur expérience dans la maintenance et l'exploitation de divers types de systèmes télégraphiques leur permettraient de réussir à établir une agence téléphonique. Ainsi, C. H. Seval, de l'American District Telegraph Company d'Albany, a cité son témoignage. Avantages de l'entreprise si elle se voyait attribuer une agence : "Notre entreprise ne dispose d'aucune agence pour aucun type d'instrument, à l'exception d'une alarme anti-cambriolage, et n'en fait rien. Nous avons un homme de première classe et une bonne organisation pour développer une entreprise comme la vôtre".
Parmi les diverses entreprises à vocation électrique qui se sont renseignées sur le téléphone, les compagnies locales de télégraphe du district américain étaient les plus nombreuses. Le téléphone était un complément naturel, et finalement le successeur, des instruments déjà utilisés sur ces systèmes. Après qu'un agent potentiel eut établi un contact préliminaire avec la compagnie de téléphone Bell, il rechercha un certain nombre d'instruments pour examiner, tester et démontrer. Un certain scepticisme était naturel, car il semblait impossible de croire à toutes les affirmations faites concernant ce téléphone. Une partie intéressée a écrit :
"Notre éloignement nous a empêché d'obtenir des informations précises sur l'efficacité du système. Nous ne connaissons que ce qui a été publié dans les journaux, et la presse est rarement correcte en la matière. « Envoyez-moi, par exprès, des instruments pour deux stations, accompagnés d'instructions. Nous les paierons ou vous les retournerons en bon état, selon votre préférence. » Cela nous permettra de les tester en profondeur et de vous convaincre de ce qui peut être fait avec eux sur notre marché" .
Les derniers points du contrat d'agence sont souvent restés en suspens pendant une longue période. Hubbard a donné à ses agents potentiels l'autorisation générale de conclure la location de téléphones, mais a laissé les détails non spécifiés ou énoncés de manière ambiguë. George W. Moore, secrétaire et surintendant de l'American District Telegraph Company (Erie, Pennsylvanie), ouvrit des négociations avec Gardiner Hubbard le 16 juillet 1877, demandant des conditions de location de téléphones. Trois mois plus tard, après avoir reçu l'autorisation de créer une agence téléphonique, il écrivit à Thomas Sanders : « Je n'ai pas encore pu obtenir de déclaration quant à la part importante ou faible des loyers qui vous revient ou au montant qui revient aux agents. » Jusqu'au 6 février 1878, Moore se plaignait encore :
"Les perspectives sont bonnes, mais je ne ferai plus rien tant que je ne connaîtrai pas quelque chose de positif concernant le territoire et le pourcentage. J'ai été chassé à deux reprises du territoire d'autres agents et je n'ai aucune garantie que le mien s'étende sur plus de dix mètres carrés au-delà de mon bureau."
Thomas Watson, lors d'une visite d'inspection générale, a reconnu la validité des plaintes de Moore. Watson regrettait que l'entreprise n'ait pas pris connaissance de Moore plus tôt, car il aurait été « parmi nos meilleurs agents désormais ».
Cet état résultait de la méthode de négociation des contrats. Hubbard était responsable des négociations, mais il ne pouvait pas leur accorder toute son attention. Son temps était partagé entre la compagnie de téléphone et l'entreprise. Commission postale. MM. Richardson et Barnard, cherchant à obtenir des éclaircissements sur leur contrat, ont expliqué à Sanders comment celui-ci avait été négocié :
"Nous joignons une copie de la seule lettre que nous ayons sur ces sujets, et le rendez-vous était si vague que nous avons conclu que nous ne pouvions pas accepter l'agence sous ces deux conditions. Nous avons pris rendez-vous trois fois pour vous rencontrer, vous et M. Hubbard, et trois fois, il n'a pas pu nous rencontrer. Nous avons enfin été informés par votre M. Watson qu'il nous écouterait et nous ferait un rapport après consultation avec M. H. Nous avons demandé à recevoir ce message par courrier et M. W. a dit que nous devrions l'avoir, mais que nous devions « aller droit au but » et que tout irait bien."
Un agent a effectivement fait de la publicité et exploité son agence sans avoir reçu de contrat.
L'étendue géographique des agences variait considérablement. Celles de Charles Williams (Boston), Roosevelt et Cheever (New York), Stearns et George (Boston), Thomas Cornish (Philadelphie) et R. A. Shipman (Louisville) couvraient des villes importantes, tandis que d'autres couvraient un État entier ou une série d'États. L'agence de Frederick Gower couvrait les États de la Nouvelle-Angleterre, à l'exclusion des zones précédemment attribuées ; G. W. Stocklys comprenait l’Indiana et l’Ohio, et l’Agence du Sud de Richardson et Barnard s’occupait de certaines parties de la Caroline du Sud, de la Géorgie et de la Floride.
Les agents qui obtenaient de grands blocs de territoire les subdivisaient en sous-agents chargés de gérer l'activité téléphonique dans leurs districts. La relation entre le sous-agent et l'agent général était similaire à celle de l'agent général et de la compagnie de téléphone Bell. Hubbard a également nommé des agents avec des commissions de voyage comme Eliha Wilson qui détenait une commission pour Syracuse et les villes à l'ouest sur la ligne du New York Central Railroad. La tâche de Wilson et d'autres agents de voyages était d'établir des agences dans différentes villes, de louer des instruments et de construire des lignes reliant les immeubles de bureaux aux autres points d'affaires, et des maisons aux lieux de fabrication, afin d'habituer les gens à utiliser le téléphone. Non seulement l'étendue géographique des agences variait, mais aussi les conditions qui les régissaient. Chaque contrat différait dans les détails, mais il y avait des similitudes majeures. Les agents étaient généralement rémunérés par une commission de quarante pour cent sur la première année de location et de vingt pour cent par an. Certains agents ont réussi à obtenir une commission initiale plus élevée, comme l'ont fait G, W. Stockly et H. R. Rhoads. Ces commissions plus élevées reflétaient, en partie, la conviction de l'entreprise que des commissions plus importantes devaient être accordées aux agents qui, selon les calculs, ne recevraient qu'une petite partie. de leurs bénéfices provenant de la construction de lignes.
Ainsi, Stearns et George, de Boston, ne percevaient initialement aucune commission, car ils devaient percevoir leur salaire pour la construction des lignes. Les conditions d'emploi des agents de voyages variaient également. Elisha Wilson percevait une commission de cinquante pour cent, tandis que James Hamblet, agent du Missouri, était embauché par la Bell Telphone Company pour 2 500 dollars par an. La durée des contrats d'agence était généralement indéterminée. Aucune limite de temps précise n'était fixée pour les agences de Charles Williams, Steams et George, et de Frederick Gower, mais il était entendu qu'elles continueraient d'exister aussi longtemps que les agents donneraient satisfaction ou jusqu'à la création d'une Bell Telephone Company pour la Nouvelle-Angleterre. Si ce dernier événement se produisait dans les deux ans, ce qu'Hubbard avait anticipé dans le raid de 1877, alors ces agents recevraient un intérêt dans la compagnie de la Nouvelle-Angleterre proportionnellement à la valeur de leur activité d'agence.
Pour les agents maritimes situés hors de la Nouvelle-Angleterre, la satisfaction de la Bell Company quant à ses performances était un élément important de la durée des agences. Ainsi, la commission de voyage d'Elisha Wilson était initialement limitée à trois mois, sous réserve d'une prolongation pour bon service. Le contrat de John Ponton était d'une durée d'un an, renouvelable à la discrétion de la compagnie.
Les contrats fixaient les conditions dans lesquelles les agents devaient louer des téléphones et du matériel auxiliaire. Les conditions variaient de dix dollars par an par téléphone (Williams, Steams et George, et Gower) à trente dollars par an pour un ensemble de deux ou quatre instruments (Sawall), jusqu'à quarante dollars par an pour un ensemble de quatre téléphones (Stockly). Un ensemble de téléphones se composait généralement d'un petit instrument, utilisé comme récepteur, et d'un grand émetteur-récepteur, utilisé comme émetteur-récepteur. JJohn Ponton était spécialement autorisé à fabriquer de l'essence sur les terrains qu'il jugeait opportuns.
Ces prix ont suscité des réactions diverses de la part du public. C. H. Sewall a constaté que le public était réticent à louer le téléphone à raison de trente dollars par an « Le téléphone est un instrument très méritant. Mais je passe beaucoup de temps à argumenter sur son prix. Aucune autre objection n'a été formulée à son sujet, et beaucoup de gens en veulent manifestement et ont peur uniquement du coût».
Cependant, G. W. Stock a noté que : « Personne qui utilise le téléphone ne considère qu’il est cher à un prix raisonnable chaque année et dès que le public comprendra qu’il ne peut être obtenu qu’à ces conditions, il reconnaîtra qu’il s’agit de loin de la méthode de télégraphie la moins chère jamais mise au point. »
Malgré l'expérience de Stockly, la publicité concernant la location de téléphones indiquait les prix existants. Stockly a lui-même conclu que cette situation résultait de l'absence de tarifs uniformes. Certains ont retardé la location de téléphones, craignant de se voir proposer des prix plus bas plus tard. Ce manque d'uniformité des prix reflète en partie la reconnaissance par Bell Company des problèmes spécifiques de chaque agence, sous forme de concessions et de tarifs spéciaux. Les plaintes et la confusion suscitées par cette politique ont toutefois suscité une reconnaissance de la part de Gardiner Hubbard :
« Nos tarifs téléphoniques ont varié sensiblement selon les agences, ce qui est une erreur, même si j'en suis partiellement responsable. Nous fixerons rapidement un tarif uniforme. »
Le 15 novembre 1877, la Bell Telephone Company, dans ses Instructions aux agents n° 1, annonça officiellement sa politique de loyers uniformes. Désormais, chaque téléphone devait être loué pour dix dollars payables d'avance ; au moins une paire d'instruments devait être utilisée à chaque station. Les agents pouvaient désormais vendre des cloches d'appel pour quinze dollars chacune ou continuer à louer à plus de cinq dollars par an.
La décision exigeant des parties qu'elles utilisent deux téléphones dans chaque gare a suscité l'indignation du public et, selon Sandors, a contribué à une « paralysie » des activités de la société. Face aux pratiques concurrentielles de Western Union, la société Bell a été contrainte de reconsidérer sa politique et d'autoriser la location d'instruments uniques.
Le prix des téléphones n'était pas le seul problème auquel les agents étaient confrontés lors de la création de leurs agences. Au départ, ils devaient présenter le téléphone aux habitants de leur territoire et stimuler la demande. Chaque agent a développé sa propre stratégie pour attirer des clients. Certains tentèrent de façonner l'opinion publique en organisant des conférences et des démonstrations dans le style de celui que Bell avait lancé. James Harablet, du Missouri, utilisa des foires et des expositions, exposant le téléphone à l'exposition Saint-Joseph pendant une semaine, puis à Kansas City pendant une autre. Une telle technique exigeait vigueur et endurance. Il expliqua :
"J'ai traversé un dur siège à ces foires, et je tiens des expositions tous les soirs, ici, dans cette maison, à plus d'un kilomètre et demi de fil jusqu'au bureau du télégraphe, et je compte faire un tour demain soir à plus de trente kilomètres, jusqu'à une ville voisine."
L'introduction, peu poussée, a stimulé l'imagination et la demande du public. Les agents ont souvent attribué une réaction moins enthousiaste aux particularités de leurs clients. Thomas Cornish a mis en garde Gardiner Hubbard contre les attentes excessives de Philadelphie et de ses habitants :
"Il ne faut pas s'attendre à ce qu'une très grande activité démarre à Philadelphie. Sans travail, sans temps, sans patience, un peuple lent et étrange, mais de bonne nature, très sympathique et fiable, pas impulsif comme les hommes d'affaires new-yorkais, désireux de voir et de savoir par eux-mêmes s'ils sont satisfaits".
De même. C.P.E. Burgoyne de Virginie a adoré ses difficultés dues à la nature conservatrice des habitants du Sud, mais a trouvé l'espoir dans le fait que « lorsqu'une coutume ou une invention est une fois introduite, elle restera en vogue longtemps ».
Plusieurs agents ont tenté d'influencer l'opinion publique en obtenant le soutien du gouvernement local. La satisfaction d'un maire, d'un chef de police ou d'un surintendant des services de gaz ou d'eau serait un témoignage fort de l'utilité de ce téléphone. Ainsi, certains agents ont effectué leurs premières démonstrations téléphoniques auprès des dirigeants politiques et administratifs des villes.
Comme le professeur Bell avant eux, les agents ont connu un certain succès lors de leurs conférences et démonstrations. Il n'était pas rare que les tests soient concluants ou échouent en raison de l'état rudimentaire des instruments, d'interférences télégraphiques ou de conditions climatiques locales. "Cette interférence varie considérablement avec la météo. Par temps sec et venteux, elle est bien plus importante qu'à d'autres moments, et ce genre de temps est fréquent à Chicago. Certains jours, le crépitement de l'instrument à main est si fort, simplement à cause de cette interférence, qu'on peut l'entendre à plusieurs mètres de distance de l'instrument."
Bien que des résultats comme ceux-ci aient confirmé les idées des sceptiques quant à l'inutilité du téléphone et à la nécessité de nouvelles démonstrations, des démonstrations réussies ont atteint leur objectif et ouvert la voie à la location de téléphones. Un agent a écrit : « Je suis tout aussi satisfait de vous écrire que je rencontre les succès les plus encourageants dans mes efforts. » pour présenter le téléphone.
Au départ, le téléphone a été principalement adopté à des fins commerciales.
Les agents ont donc déployé des efforts particuliers pour dissiper l'ignorance et le scepticisme du monde des affaires à l'égard de cette application. Rétrospectivement, certaines objections des hommes d'affaires semblent étranges, voire absurdes, mais il faut se rappeler qu'elles étaient conditionnées à l'usage et aux techniques de la télégraphie.
Le président du Metropolitan Horse Rail Road était sceptique quant à l'utilité de ce téléphone pour son entreprise, car tant de personnes différentes utiliseraient cet instrument qu'il serait impossible de les enseigner à tous. D'autres s'opposaient au téléphone, arguant du risque d'inexactitude de transmission, ce qui serait un défaut fatal. Certains refusaient tout simplement d'abandonner les télégraphes à cadran, qui s'avéraient efficaces.
Une simple explication ou démonstration n’était pas toujours suffisante pour dissiper une telle incrédulité et un tel scepticisme. J. N. George n'a pu conclure un contrat avec le président du Metropolitan Horse Rail Road qu'après des efforts soutenus et une concession selon laquelle cette entreprise garantirait que les téléphones seraient « pratiques et satisfaisants » et accepterait de renoncer à ses réclamations pour les câbles et les instruments s'il en était autrement.
Le recours habituel, cependant, était de connecter les téléphones à titre expérimental. Cette politique a été lancée en 1877, date à laquelle le premier téléphone a été loué. Afin de surmonter les objections et de les faire introduire à des fins commerciales, j'ai non seulement organisé une exposition dans des lieux où les gens pouvaient les voir et les expérimenter à tout moment, mais j'ai également fait des efforts particuliers pour inciter les gens à les essayer dans leurs bureaux et leurs maisons, partout où ils se trouvaient. « Il y avait des lignes existantes, ou partout où je pouvais, sans trop de frais, les installer à cette fin.»
« J'ai toujours trouvé nécessaire… de passer beaucoup de temps à m'entraîner au téléphone avec des personnes que je souhaitais familiariser avec elles.»
La politique de mise à l'essai des téléphones s'est poursuivie jusqu'au 1er janvier 1878, date à laquelle la compagnie de téléphone Bell a publié de nouvelles instructions à l'intention des agents. La compagnie a constaté que « le téléphone n'était plus une nouveauté » et que, par conséquent, la nécessité de fournir des téléphones à l'essai avait disparu. Désormais, les loyers devaient être payés à l'avance et les agents étaient tenus responsables des loyers non perçus dans les trente jours. Les agents ont été confrontés à d'autres difficultés à mesure que les agences de location se développaient. Les progrès de W. H. Bofinger dans la location de téléphones furent entravés par une épidémie de fièvre qui fit quatre mille morts à La Nouvelle-Orléans. Les activités de la ville furent mises en quarantaine et de nombreux citoyens, y compris Bofinger, s'enfuirent, laissant leurs factures impayées. Il en résulta une perte matérielle considérable pour l'Agence de la Louisiane.
Les espoirs de John Ponton pour son agence téléphonique de Titusville furent anéantis par une « grande dépression économique ». Il expliqua : « Le prix du pétrole a chuté à environ 1,30 $ le baril contre 2,90 $ à la même époque l'année dernière, ce qui a entraîné une perte sèche pour la région d'environ 6 000 $ par jour. J'ai travaillé contre toute attente. » La situation géographique s'est avérée un facteur important dans la réussite d'un agent. C'était particulièrement vrai pour les agences situées à l'ouest du Mississippi.
Le nombre de clients potentiels dans l'Ouest était considéré comme inférieur à celui de l'Est. Selon l'analyse de George Ladd, le territoire du Pacifique constituait un champ de développement téléphonique plus restreint que celui de l'Est, car il y avait moins d'établissements manufacturiers ou d'autres entreprises impliquant des communications entre un bureau et le lieu de travail. Ladd conclut :
"San Francisco, avec ses 300 000 habitants, et Virginia City, avec ses mines et ses usines, constituent les principaux gisements. Le reste sera dispersé dans plusieurs petites villes. Au total, le gisement serait peut-être aussi vaste qu'Atlantic City, avec ses 500 000 habitants."
Hie West s'est avéré une zone difficile pour le développement téléphonique, non seulement en raison de sa population relativement clairsemée, mais aussi en raison de son éloignement de la Bell Telephone Company de Boston. Il a fallu plus de trente jours pour que les instruments expédiés de Boston arrivent à San Francisco. En conséquence, l'agent a été contraint de commander plus d'instruments que ses besoins immédiats. Cela représentait une charge particulière pour lui et d'autres agents situés dans la même zone, car la société Bell exigeait des avances sur tous les instruments expédiés. De plus, les frais de transport s'ajoutaient aux coûts de l'agent. Le problème de l'approvisionnement des agences éloignées a incité plusieurs agents à suggérer, à diverses reprises, la création d'un dépôt occidental à partir duquel les agents pourraient être approvisionnés plus efficacement. En attendant une solution, un agent a commencé à fabriquer ses propres cloches d'appel.
Certaines agences, de par leur emplacement, bénéficiaient d'avantages particuliers.
Philadelphie et son territoire adjacent, qui comprenait les deux tiers des mines de charbon de l'anthracite de l'État, offraient un champ téléphonique plus vaste que d'autres districts d'étendue comparable. Cela était dû à une loi exigeant que chacune des cinq cents mines du district dispose d'un moyen de communication orale entre l'intérieur et la surface. D'autre part, certaines agences particulièrement situées étaient confrontées à des problèmes particuliers. L'agent George C. Maynard, de Washington, D.C., a été contraint de louer des téléphones sans les contrats écrits habituels et a dû attendre les versements plus longtemps que d'habitude, car une part importante de ses affaires concernait le gouvernement fédéral et, conformément à la loi, il était interdit aux fonctionnaires de conclure des contrats ou de dépenser de l'argent au-delà de l'exercice fiscal en cours.
Les agents étaient confrontés à de nombreux problèmes découlant de leurs relations avec la société mère à Boston. L'incapacité de la Bell Telephone Company à expliquer pleinement ses décisions politiques, ainsi que les distances impliquées, a contribué à créer un système de communication médiocre. Parfois, les agents trouvaient difficile d'obtenir des réponses à leurs questions ou simplement d'être tenus informés de l'état actuel des choses. À d'autres moments, les déclarations des entreprises manquaient de clarté. L'agent Bofinger a écrit : « Votre faveur pour le 11e reçu… Je ne comprends pas votre lettre imprimée… Je n'ai pas été pleinement informé de votre plan. »
Outre les plaintes concernant les loyers élevés et les critiques occasionnelles concernant la politique de l'entreprise consistant à louer plutôt qu'à vendre des instruments, la politique que les agents devaient le plus souvent défendre était la clause insérée dans les baux téléphoniques exigeant des abonnés qu'ils reconnaissent leur responsabilité. jusqu'à la somme de cinquante dollars par instrument en cas de dommage ou de perte. Les abonnés ont jugé la clause injuste ou la valorisation des téléphones excessivement élevée et ont donc hésité ou refusé d'adopter le téléphone et de signer les baux requis. Stearns et George ont rapporté :
« Certaines parties s'y sont opposées au motif de son caractère Il est exorbitant de profiter de leur malheur d'être épuisés pour facturer autant pour un instrument aussi peu coûteux. G. W. Stock a critiqué cette politique en faisant valoir que le public « savait aussi bien que moi qu'il ne coûterait qu'environ 10 dollars à l'extérieur pour compenser la perte. »
L'explication de Sanders pour cette disposition impopulaire était qu'en cas de tentative de fraude, l'entreprise pouvait intenter une action en justice en vertu d'une loi concernant les cas de 50 $ ou plus et ainsi contraindre l'accusé à payer les frais. Dans les cas où la résistance des abonnés était très grande, Sanders a instruit Frederick Gower : « Vous pouvez endosser au verso du bail (en cas de perte par incendie, une somme ne dépassant pas cinq (5 $) sur chaque téléphone et dix (10 $) sur chaque appel sera facturée.) lorsque les parties exigent un tel endossement. » Si les agents ne cherchaient pas à obtenir des éclaircissements sur une divergence entre leurs comptes et ceux de la société de Boston, ils se plaignaient de la politique exigeant des paiements anticipés sur les appels téléphoniques reçus de Boston. Un agent a considéré cette exigence comme un reproche envers sa personnalité : « Le commerce des avances est une bonne affaire de charlatanerie… Si je ne suis pas assez honnête pour gérer votre stock sans payer d’avance, je pense que je suis trop malhonnête pour agir en tant que votre agent.»
La plainte la plus grave des agents téléphoniques, outre la menace croissante de Western Union, concernait le manque d'instruments suffisants et leur mauvaise qualité, notamment les Bells. Ces plaintes et critiques ont persisté bien au-delà de l'existence de Bell Telephone Company en tant qu'« association volontaire ». Les agents ont souffert de pénuries de toutes sortes. Le travail dans une agence a été interrompu car, pendant plusieurs semaines, une commande de fils isolés est restée sans réponse. Les pénuries les plus pressantes, cependant, concernaient les téléphones et les sonnettes d'appel.
Les installations téléphoniques ont cessé, les agents attendant les livraisons de téléphones, ou du moins une date d'exécution des commandes. Des agents désespérés ont posé des questions calmement, puis ont plaidé et parfois même cajolé : « Si vous n'envoyez pas de téléphone, Thora aura de grandes funérailles à Boston. Dupliquez ma commande. »
Boston a reçu des rapports de toutes les régions indiquant que les stocks d'instruments étaient épuisés et que davantage de téléphones auraient pu être loués si les agents avaient été approvisionnés plus rapidement.
Si nous pouvions obtenir beaucoup de téléphones, nous pourrions accélérer les choses de manière très satisfaisante. Tous les instruments dont nous disposons sont utilisés et donnent la meilleure satisfaction, et nous devrions avoir au moins cent grands instruments et autant de petits instruments dès que possible, si nous voulons répondre aux appels qui commencent maintenant à arriver sans être sollicités.
Les retards sont dangereux.
Comme solution temporaire, G. W. Stock a demandé la permission d'en fabriquer lui-même un nombre limité.
Non moins importante que la pénurie de téléphones était celle des sonnettes d'appel, sans lesquelles le téléphone lui-même n'avait que très peu d'applications pratiques. Tout au long de l'année 1877, la Bell Telephone Company a été submergée de commandes et de demandes de sonnettes d'appel. Les agents se plaignaient de ne pas pouvoir prospecter leurs districts en profondeur et de perdre des commandes en raison de leur incapacité à fournir des instruments. Les lignes téléphoniques récemment construites restaient inactives, faute de sonneries d'appel.
Ce qui était encore plus frustrant pour les agents était leur incapacité à obtenir des informations de la part de l'entreprise concernant les expéditions futures. Le 28 septembre 1877, l'agent Hamblet écrivit à la Bell Telephone Company pour demander une réponse à un télégramme qu'il avait envoyé concernant une livraison de cloches. Le 20 octobre, Hamblet remarqua : « Les jours passent et aucune cloche n'est encore arrivée », et il nota qu'il n'avait toujours pas reçu de réponse à un télégramme récent. Finalement, onze jours plus tard, en désespoir de cause, Hamblet écrivit :
"Mes employés me disent que nous perdons des clients à cause de ce retard. Ceux qui passent commande se lassent vite d'attendre et disent qu'ils annuleront les commandes si vous ne les avez pas envoyées dès réception. Je vous prie de m'écrire ou de m'envoyer un télégramme que je puisse montrer aux milliers de personnes anxieuses qui attendent. Vous n'avez aucune idée de la pression que je subis, des questions auxquelles je dois répondre et des histoires que je dois inventer. Et pourquoi tout cela est-il ainsi ? Vous pouvez et vous devez me le dire. Je vous prie d'avoir pitié de cette communauté qui souffre".
En évaluant les raisons de son échec ultérieur, James Hamblet a conclu qu'outre le mauvais temps, les routes boueuses et la dépression générale des affaires, le fait qu'il n'ait pas été doté d'instruments pendant les trois premiers mois de son mandat était également une considération importante. Lorsque les agents avaient la chance de recevoir des livraisons de cloches d'appel dans les magasins, celles-ci étaient souvent imparfaites. Malgré les améliorations apportées à la conception et à la fabrication, les cloches continuaient à être « récalcitrantes » et nécessitaient beaucoup d'attention et d'ajustements. Les agents étaient non seulement contraints de consacrer un temps précieux à les ajuster, mais ils avaient également du mal à collecter les loyers auprès des clients accablés de factures insignifiantes.
Les agents suggéraient parfois des méthodes possibles pour gérer ces retards. Hamblet demanda avec insistance qu'on lui confie la direction du département de fabrication. Il promit de rechercher d'autres entreprises capables de produire les instruments à un prix aussi bas que Boston. Lorsque la Bell Company abandonna sa politique de location de cloches et autorisa les agents à les vendre à la place, l'un d'eux indiqua qu'il chercherait d'autres fabricants d'instruments électriques capables de fournir des cloches de qualité supérieure.
Quelles que soient les conséquences, et peu importe le nombre de suggestions proposées par les agents, le problème de l'approvisionnement en quantités suffisantes de bons instruments était un problème que seule la société mère pouvait et voulait résoudre.
C'était un problème que la Bell Telephone Company devait résoudre dans le cadre de ses accords généraux de fabrication avec Charles Williams, Jr., de Boston. Les premières agences créées par Hubbard et la Bell Telephone Company avaient pour principal objectif de fournir des téléphones pour les lignes privées construites par les agents. Cependant, l'idée de connecter des haut-parleurs sur des lignes séparées a rapidement été conçue et la fonction des agences a commencé à changer.

sommaire

CONNECTER LES TELEPHONES, LE CENTRE D'ECHANGE TELEPHONIQUE

Le concept d'un système d'échange central qui permettrait l'interconnexion des utilisateurs de téléphones sur des lignes séparées était l'une des premières idées d'Alexander Graham Bell sur l'utilisation possible de son invention. Il s'y attarde régulièrement à un moment donné lors de ses conférences pour discuter de l'avenir du téléphone. "Il prévoyait un jour où Mme Smith passerait une heure avec Mme Brown, très agréablement, à déconnecter Mme Robinson grâce à un central téléphonique".
Bell prédisait que les fils téléphoniques et télégraphiques seraient généralement utilisés dans les habitations au même titre que le gaz et l'eau comme une nécessité, et non comme un luxe. Il constatait, en effet, une forte similitude entre un tel système téléphonique et le réseau existant de conduites de gaz et d'eau :
" À l'heure actuelle [18 mars 1878], nous disposons d'un réseau de canalisations de gaz parfait dans nos grandes villes.
Nous disposons de canalisations principales installées sous les rues et communiquant par des canalisations latérales avec diverses habitations, permettant ainsi aux membres de s'approvisionner en gaz et en eau à partir d'une source commune.
De la même manière, il est concevable que des câbles téléphoniques puissent être posés sous terre ou suspendus, communiquant par des fils de dérivation avec des habitations privées, des maisons de campagne, des magasins, des usines, etc., et les reliant, par le câble principal, à un bureau central où les fils pourraient être connectés à volonté, établissant ainsi une communication directe entre deux endroits de la ville."
Bien que les systèmes municipaux de gaz et d'eau aient influencé l'idée de Bell d'un système d'échange central, des exemples plus pertinents existaient déjà. Dès 1851, François Karcelin et Aristide Dumont, de Paris, avaient suggéré un plan d'intercommunication télégraphique. En 1867, un système de connexion de fils télégraphiques hippomobiles privés par l'intermédiaire d'un bureau central fut établi à Philadelphie. En 1870, son inventeur était capable d'assurer l'intercommunication d'une vingtaine de banquiers. La Gold and Stock Telegraph Company avait développé un système d'intercommunication pour les banques abonnées dès 1871.
Et en 1880, le meilleur de ces systèmes télégraphiques d'interconnexion fut mis en place par la Law Telegraph Company de New York.
Selon son inventeur, William A. Childs : " Nous avons adopté un instrument à cadran similaire au système ABC de Wheatstone ... Il y avait un bureau central avec un seul fil pour chaque abonné et un annonciateur individuel, une cloche. Le numéro était indiqué par la frappe sur la cloche de l'abonné qui appelait. [puis] nous reliont les deux abonnés."
La complexité des différents systèmes télégraphiques et les compétences nécessaires pour communiquer avec eux rendaient peu probable une utilisation intensive du système d'échange. Cependant, la simplicité d'utilisation du téléphone augmentait les chances d'une utilisation plus large du système d'échange. Bell a reconnu la possibilité que d'autres aient développé indépendamment le concept de commutation téléphonique, compte tenu des systèmes télégraphiques existants. Il a également concédé que la transition d'un central télégraphique à un central téléphonique était une conséquence naturelle. Mais par une logique irréfutable, Bell a revendiqué la priorité dans la conception du central téléphonique. Il affirmait que sa conception était antérieure à celle de toutes les autres, « car elle remonte à la création même du téléphone ». Ainsi, Bell réfutait les affirmations d'autres personnes, dont John Ponton et sa veuve, selon lesquelles ils étaient à l'origine de l'idée du central téléphonique.
Bien que le concept ait pu être celui de Bell, son exécution est tombée entre les mains d'autres.
En effet, s'adressant à un groupe d'investisseurs en Angleterre sur la rentabilité potentielle d'un système d'échange, Bell a concédé qu'il était alors impraticable. Ce discours a été prononcé en mars 1888, à une époque où plusieurs systèmes expérimentaux avaient déjà été tentés et où une bourse commerciale était en activité aux États-Unis. Apparemment, Bell ignorait cette phase du développement téléphonique américain comme il l'ignorait d'autres pendant son séjour en Angleterre.

Comme nous l'avons vu avec le premier abonné relié par le système Holmes, la première interconnexion téléphonique publique a eu lieu le 17 mai 1877, dans le bureau de Boston de Holmes.
Holmes exploitait un système d'alarme antivol et, par conséquent, avait un certain nombre de banques reliées à son bureau par fil. Il a proposé de faire la démonstration du téléphone de Bell au public de Boston en conjonction avec son système d'alarme. Hubbard demanda comment il pouvait faire cela et Holmes expliqua :
Je peux sonner à une banque depuis n'importe quel bureau et la banque peut en retour sonner à n'importe quel bureau en utilisant des téléphones et en donnant un signal préétabli à la Banque de la Bourse. Nous pourrions tous les deux actionner un interrupteur qui mettrait les téléphones en circuit et nous pourrions parler ensemble. Si vous voulez bien m'envoyer trois instruments, je pourrais les déposer à la Banque Hyde and Leather, et après avoir rendu visite à M. Benzon à la Banque de la Bourse, je pourrais appeler M. Ripley à la Hyde et Leather Bank et lui dire que M. Benzon souhaitait lui parler, ainsi qu'au troisième téléphone en circulation à mon bureau. J'ai pu entendre que leur conversation avait été fructueuse.
Le premier test ne connectait que trois parties sur deux lignes. Par la suite, Holmes en connecta trois autres, utilisant ainsi le petit standard que Charles Williams Jr. avait fabriqué à sa pleine capacité.
Bien que le système fût de grande taille et de nature expérimentale, il s'agissait d'un central téléphonique comme s'il y avait eu « mille participants au lieu d'une demi-douzaine ».
Malgré le succès de son système d'échange, Holmes n'en développa pas immédiatement l'application commerciale. Il estima qu'il serait plus rentable de mettre en place un service express, par lequel un abonné demandant un agent express téléphonerait au bureau central de Holmes, qui à son tour transmettrait le message par téléphone à un bureau d'express général. En organisant la Telephone Despatch Company, ainsi nommée parce que Holmes souhaitait distinguer son service express de son service d'alarme anti-cambriolage, et aussi parce qu'il estimait que les choses faites par téléphone « allaient être expédiées très rapidement », Holmes a raté l'occasion d'établir le premier central téléphonique commercial au monde.
Outre E. T. Holmes, plusieurs autres personnes ont expérimenté des systèmes d'interconnexion téléphonique.

En juin 1877, Thomas B. Doolittle a temporairement connecté quatre téléphones aux lignes de la Bridgeport Social Telegraph Company, qu'il avait en grande partie construite lui-même.
La Social Telegraph Company utilisait un standard téléphonique pour connecter ses abonnés. Avec la substitution des téléphones aux instruments télégraphiques, Doolittle a créé un « système téléphonique pur et simple, avec des circuits capables d'être commutés de l'un à l'autre ». Une préoccupation concernant son activité régulière d'agence téléphonique et un retard de Charles Williams dans la construction d'un standard amélioré ont empêché Doolittle d'ouvrir un central commercial régulier jusqu'en juillet 1878.

Le dernier des précurseurs importants du central téléphonique commercial fut le « système mutuel » institué durant l'été 1877 par le pharmacien de Hartford, Isaac Smith. Smith avait déjà mis au point un système de sonnerie de signalisation avec plusieurs médecins lorsqu'il lui appliqua le téléphone. Finalement, il modifia et agrandit le système afin qu'un grand nombre de médecins et de pharmaciens de la ville puissent bénéficier d'une interconnexion téléphonique via une station centrale, la pharmacie Smith. Le système de Smith démontra son utilité lorsqu'il servit à appeler la communauté médicale de Hartford lors d'une catastrophe ferroviaire à proximité, en janvier 1878.
Étant donné que le système de Smith était exclusivement réservé aux médecins et aux pharmaciens, on ne lui a généralement pas accordé la distinction d'avoir été le premier système d'échange téléphonique commercial au monde. Néanmoins, les commentateurs, qu'ils soient favorables ou non au système de Smith, affirment que ce travail de pionnier mérite une grande reconnaissance.

Le premier central téléphonique commercial au monde, permettant l'interconnexion de tous les abonnés, fut inauguré à New Haven le 25 janvier 1878 par George W. Coy. (lire la deuxième partie du téléphone aux Usa)
Coy avait acquis son expérience en contribuant à la construction d'un système télégraphique de district et en assistant le professeur Bell lors de la conférence de New Haven, où Bell fit allusion à la similitude des réseaux de gaz et d'eau avec la téléphonie.
Peu après celui de Coy, le deuxième central téléphonique commercial au monde ouvrit à Meriden, dans le Connecticut, le 31 janvier 1878. Il intégrait une copie du standard perfectionné par Coy. Dès lors, le central téléphonique devint de plus en plus l'élément clé de la téléphonie.
Les abonnés utilisaient le téléphone « nouveau et amélioré » Butterstamp, nommé d'après un gadget de cuisine et de restaurant à l'époque, utilisé pour presser un motif décoratif dans un pot de beurre.

Les démonstrations se multiplient aux quatres coins du pays, certaines villes commencent à installer des appareils;
L'un des plus prolifiques de ces inventeurs était le président de Highland Park, Elisha Gray.pour qui sa demande de brevet est parvenue au gouvernement seulement deux heures après une application similaire de celle de Bell.
La malchance de Gray a contribué à garantir que l'histoire de la téléphonie à Chicago serait longtemps dominée par des entreprises qui ont ramené leur lignée à Bell. Ces entreprises comprenaient Chicago Telephone Company, la société dominante de Chicago au tournant du XXe siècle, et Illinois Bell, qui a absorbé Chicago Telephone en 1920.
Ces deux entreprises étaient des piliers du "Bell System", le réseau téléphonique national qui était coordonné après 1900 par American Téléphone et Télégraphe (AT & T).

Bien que George Coy ait réussi à ouvrir le premier central téléphonique commercial, John Ponton fut le premier à proposer un tel projet aux propriétaires du brevet de Bell. Il fut la première personne avec qui un contrat fut conclu pour lancer le système d'échange.
Selon Watson, Ponton M. était si enthousiaste à ce sujet et à cause de la facilité avec laquelle il pouvait réunir les fonds nécessaires à l'établissement des échanges qu'il m'a fait, du moins, penser que les profits étaient sur le point de rouler.
Dès décembre 1876, Ponton discutait avec Bell d'un projet d'interconnexion des réseaux téléphoniques. Bell concluait que ce projet était « la méthode la plus réalisable pour obtenir un rendement immédiat ». C'est sans doute en raison de cette implication précoce dans le système d'échange que Ponton se crut plus tard l'inventeur de ce système. En acceptant une agence téléphonique, après son échec à devenir partenaire dans le brevet Bell, Ponton a indiqué qu'il était prêt à introduire le système d'échange sur une base locale. Il proposa de partager la moitié des bénéfices tirés d'un tel système en échange de l'accord du titulaire du brevet de lui vendre des téléphones au prix coûtant et de la cession du droit exclusif d'établir le système partout où il le jugerait possible. Il conclut : « Je pense qu'avec un centime par minute pour l'utilisation de l'instrument, les titulaires du brevet tireraient un dividende plus important que tout autre système. » Hubbard rejeta cette proposition, mais conclut un accord avec Ponton, qui entreprit d'établir un système de central téléphonique en Pennsylvanie.
En octobre 1877, Ponton publia un projet détaillé de quatre pages décrivant le fonctionnement de la succursale de Titusville du service central téléphonique de Ponton.
Il prétendait que le service central de Ponton anéantirait la distance et permettrait aux clients de converser avec leurs amis, de commander des marchandises dans n'importe quel magasin, d'envoyer un télégramme ou une lettre à n'importe quelle partie du monde, de convoquer le médecin de famille, ou d'appeler un policier, une voiture, un messager et de faire une centaine de choses « momentanément nécessaires dans les affaires ou la vie domestique ».
Le système d'échange si magnifiquement décrit devait commencer à fonctionner dès que Ponton aurait obtenu les noms de vingt-cinq abonnés. Malgré ses attentes optimistes et ses rapports préliminaires à Gardiner Hubbard, Ponton fut finalement forcé d'admettre son incapacité à démarrer le système central. Il attribuait cela à une « forte baisse du commerce » dans sa région, mais son manque de connaissances électriques et mécaniques, malgré la facilité avec laquelle il décrivait l'organisation et le fonctionnement de son système « extrêmement simple », était probablement un facteur déterminant.
Néanmoins, il espérait bientôt commencer le « noyau » du système. Les discours et les promesses de Ponton concernant le système d'échange central n'ont rien donné. Selon Watson, « Ponton avait une formidable capacité à produire du gaz à haute pression, mais son récipient était trop étroit pour le contenir. Il a lâché très tôt. »
Les associés de Bell, en particulier Gardiner Hubbard, étaient réceptifs au concept d'échange et à son application commerciale. Hubbard prit en charge son développement, en discutant avec des hommes de terrain, dont E. T. Holmes. Bien qu'une bourse commerciale fût opérationnelle dès le 1er janvier 1878 et qu'au moins douze autres fussent établies d'ici la fin de la période de confiance, l'accent principal, au départ, était mis sur le développement d'une variante du système central connue sous le nom de système de district. Même E.T. Holmes, qui avait réalisé la première interconnexion d'utilisateurs de téléphones, n'a pas immédiatement développé un véritable système d'échange.

Système Siège
Central ou Système de district ?

L'accord de Holmes avec Hubbard couvrait deux formes de systèmes centraux.
L'une d'elles consistait à exploiter un câble unique et exclusif reliant la résidence ou l'entreprise d'un abonné au siège central afin de mettre l'abonné en « communication directe » avec les abonnés du siège central.
L'autre, plus précisément un système de district, envisageait de placer un certain nombre d'abonnés sur le même circuit et de les faire téléphoner au bureau central pour les relier à un messager de la police, les pompiers, etc... L'abonné pourrait également appeler ou envoyer un message via le bureau central à n'importe quel bureau express, chemin de fer, télégraphe ou tout autre point public si de telles connexions étaient demandées.
L'abonnement à un système de district signifierait également que les utilisateurs du téléphone pourraient établir une communication entre eux sur la même ligne en signalant la partie appropriée.
En effet, l'accord de Holmes avec la Bell Telephone Company englobait toutes les formes de système de bureau central :
"D'après ce que je comprends, je dois utiliser le téléphone pour toutes les tâches du bureau central, que nous envisageons actuellement ou qui pourraient se révéler à l'avenir, grâce à l'expérience et à la connaissance que nous pourrions acquérir grâce à l'utilisation constante du téléphone dans le cadre de l'activité que nous envisageons de développer".
Ainsi, tout en dirigeant sa société de distribution téléphonique, Holmes préparait l'organisation d'un véritable système de central téléphonique qu'il entendait exploiter parallèlement à celle-ci.

Nombre de sociétés de téléphonie de district et de central téléphonique étaient issues d'agences de lignes privées. Il s'agissait d'une étape naturelle entre la construction et la location de lignes téléphoniques et la création de systèmes de district.
Il était particulièrement logique que les entreprises de télécommunication régionales, déjà présentes dans la téléphonie en tant qu'agents, adoptent également cette nouvelle technologie. En établissant un système de district permettant aux abonnés d'une même ligne de communiquer entre eux ou d'appeler une centrale pour obtenir un messager ou un autre service connexe, une entreprise de télécommunications de district n'avait qu'à remplacer ses dispositifs de signalisation par des téléphones. Bien qu'une telle politique puisse paraître logique, elle n'était pas toujours évidente ni facilement adoptée. Les intérêts des télégraphes des districts du nord de l'État de New York se sont opposés à l'utilisation générale du téléphone afin de continuer à monopoliser les affaires à leur manière. Certains responsables des districts étaient incapables de voir l'applicabilité du téléphone aux systèmes télégraphiques existants.
Un autre facteur qui a freiné la conversion des systèmes télégraphiques de district, des cabines de signalisation ou des imprimantes aux téléphones, était la réticence de certains responsables à opérer ce qui équivalait à un changement radical :
"Est-il impossible pour nous d’offrir aux citoyens l’un ou l’autre ? Est-ce la cabine ou les téléphones ? Je suis très attaché à ce système de cabine, mais… Si le téléphone doit combiner toute l'excellence des (boxes) boîtiers avec ses autres avantages, alors nous voulons être vos agents... et sortir nos boîtiers ; si, cependant, les deux peuvent être utilisés, je préférerais cela ".
G. W. Moore, surintendant de l'American District Telegraph Company d'Erie, en Pennsylvanie, a interprété l'hésitation de son supérieur à se convertir au téléphone comme étant due au fait que mettre au rebut les boîtiers A.D.T. semblait être un gaspillage.
Parfois, la Bell Telephone Company reconnaissait officiellement cette réticence à abandonner les boîtiers de signalisation. Dans son contrat avec W. H. Bofinger, il a été convenu que les téléphones remplaceraient progressivement les boîtiers de signalisation et seraient installés sur tous les nouveaux circuits une fois les stocks actuels de boîtiers épuisés.
Le prix plus élevé des téléphones s'est également avéré un facteur inhibiteur dans la substitution des téléphones aux boîtiers de signalisation. L'American District Telegraph Company du Missouri a cessé de louer des cabines de signalisation à douze dollars par an, contre vingt dollars par an pour les téléphones. Certains tarifs ont même augmenté de cent pour cent. Une compagnie de télégraphe de district pourrait essayer de maintenir ses tarifs de "Boxes telephoniques" aux anciens tarifs, mais une telle politique ne pouvait pas perdurer indéfiniment. Inévitablement, les tarifs ont alors augmenté et la Bell Telephone Company a subi des pressions pour diminuer le prix des téléphones aux compagnies de télégraphie de district.

La diffusion des systèmes téléphoniques de district n'a pas seulement résulté de l'évolution des compagnies de télégraphie de district, mais aussi des efforts directs de la Bell Telephone Company. Consciente de l'importance des centraux téléphoniques, la compagnie a commencé, dès 1878, à demander à ses agents d'inciter les compagnies de télégraphie de district à adopter le téléphone. En cas d'échec, les agents devaient tenter d'organiser leur propre système téléphonique de district. En exhortant ses agents à agir, la Bell Telephone Company a souligné que l'un des avantages du téléphone par rapport au système télégraphique de district était le suivant :
"Le message est envoyé au bureau par téléphone, avec accusé de réception, ce qui permet de gagner beaucoup de temps et d'argent, et le rend utile à de nombreuses fins, au lieu de deux ou trois appels (types de messages possibles sur les appareils télégraphiques de district)".

Parmi ses nombreuses autres fonctions, Thomas Watson entreprit, au début de 1878, la première d'une série de tournées d'inspection des agences de la compagnie. Il devait non seulement inspecter le fonctionnement des agences et l'état du téléphone, mais aussi expliquer et encourager la mise en place de réseaux de district. En tant que surintendant de la Bell Telephone Company, il était bien placé pour expliquer et donner des instructions sur la construction et le fonctionnement du réseau de district.
J'ai découvert qu'il [G. W. Stockly à Cleveland] ignorait que le système téléphonique du district avait jamais été mis en place. Il n'avait pas essayé de l'introduire dans son district, mais lorsque je lui ai expliqué comment former les circuits et tout ce qui avait déjà été fait dans ce sens dans le Nord-Est, ilt a promis de mettre en place un circuit expérimental une fois pour toutes.

Avec le développement du système de district, un nouveau type d'agence a vu le jour.
Les agents qui organisaient les systèmes de district se voyaient octroyer des licences territoriales exclusives. Afin de rendre les systèmes de district plus attractifs, la Bell Telephone Company accordait également aux agents le droit de construire des lignes privées et de louer des instruments pour celles-ci sur le territoire de leur district. Il arrivait que des agents déjà titulaires de ces droits les voient réduits ou supprimés afin de donner à la future société de district un champ d'action plus dégagé et de meilleures chances de réussite financière. Les territoires assignés aux systèmes de districts étaient des villes ou des villages dont les limites étaient définies par un rayon de longueur variable, à partir d'un point important. Le contrat de George Maynard couvrait le district de Columbia dans un rayon de dix milles autour du Capitole, ainsi que le territoire du cinquième district du phare. Davis et Watts avaient pour agence le Maryland, à l'exception d'une zone dans un rayon de dix milles autour du district de Columbia. Leur contrat leur enjoignait expressément de constituer immédiatement une compagnie de district à Baltimore.
La compagnie de téléphone Bell fournissait des téléphones aux agents à des prix et des remises variables. Les téléphones utilisés à des fins de district bénéficiaient d'une remise plus élevée, généralement de cinquante pour cent, que ceux destinés à d'autres fins.
La durée des contrats du système de district variait. Certains étaient d'une durée de six ans, d'autres de trois ans. La durée moyenne était cependant de cinq ans. Si les contrats tendaient à être des accords personnels avec des agents spécifiques et ne pouvaient être transférés ou cédés sans le consentement de la Bell Telephone Company. La Bell Telephone Company exerçait en outre une influence de contrôle sur les activités du réseau de district en conservant l'option de reprendre l'installation d'une entreprise au prix coûtant à l'expiration de son contrat.
L'entreprise de district continuerait de percevoir sa commission pendant toute la durée des baux. Dans son contrat avec E. T. Holmes, la Bell Telephone Company a accepté non seulement d'acheter les lignes de la compagnie de district au prix coûtant, mais aussi son fonds de commerce pour une somme ne dépassant pas 5 000 $.
Selon Holmes, Gardiner Hubbard expliquait que l'option d'achat avait pour but, dans ce cas précis, de permettre à la société mère de tout posséder à Boston, berceau du téléphone. Une explication plus plausible de l'application générale de ce principe est qu'il visait à permettre à la société mère de contrôler cet aspect de l'activité après son développement.
En incitant ses agents à organiser des sociétés de district, la Bell Telephone Company suggéra que le coût ne devrait pas dépasser cent dollars par mile. Sur les actions émises, la Bell Company devait recevoir « un montant égal » pour les téléphones qu'elle fournirait. Cette pratique était conforme à la pratique des propriétaires de brevets consistant à conserver une part importante du capital social des sociétés qu'elle contribuait à organiser. « Nous avons adopté comme système l'organisation des sociétés de distribution de télécommunications, dont Bell Co. conservera une partie des actions, espérant tirer un revenu considérable des dividendes, en plus des loyers. » À New York, par exemple, les intérêts de Bell ont conservé 50 % de la Telephone Company of New York. En encourageant la création d'une compagnie de téléphonie pour Philadelphie, les brevets de Bell ont demandé trois cinquièmes des actions.
Ainsi, la société mère ne se contentait pas de créer des sociétés de district, mais acquérait également des actions qui lui intéressaient, ce qui allait revêtir une importance particulière lors de la révolution ultérieure et du développement des systèmes d'échange.
De plus, elle commençait à développer une autre source de revenus, en plus des locations de téléphones, basée sur les dividendes qu'elle recevrait de ses participations dans les sociétés de district et de bourse.
Les agents spécialisés dans le développement de systèmes de district ont été confrontés aux mêmes types de problèmes que leurs prédécesseurs et collègues des agences de voyages privées. Les entreprises de district ont souffert de pénuries d'instruments, d'une mauvaise communication avec la maison mère et de la concurrence croissante de Western Union. Mais elles ont persévéré avec ténacité.

En septembre 1878, Gardiner Hubbard conseillait à une partie intéressée à établir son système téléphonique comme central, plutôt que comme système de district. Il expliqua qu'un système de central répondait à la demande publique sans nécessairement entrer en conflit avec les systèmes télégraphiques de district. Hubbard a également noté que « l'activité de messagerie, caractéristique des systèmes de télégraphie et de téléphonie de district, a peu de valeur par rapport au téléphone, et même les lignes privées sont intégrées au système général. »
Ainsi, au cours de la première année d'utilisation commerciale du téléphone, celui-ci a acquis une nouvelle utilité en lien avec le système de district. Mais même pendant ce développement, un changement d'orientation s'est opéré. Le transfert du système de district vers le central était également en cours. C'était le résultat naturel de l'évolution du système de district.
À la fin de la période de confiance, de nombreux centraux téléphoniques étaient en service dans tout le pays, de New Haven à San Francisco.
Le central téléphonique devenait de plus en plus l'élément principal de l'activité téléphonique. Nombre des politiques ultérieures de la société mère concernant les centraux téléphoniques découlaient de ses politiques concernant les compagnies de district.

sommaire

FABRICATION D'INSTRUMENTS PLUS PERFECTIONNÉS

En janvier 1877, la téléphonie était « proche d'une crise majeure » et, selon les termes du contrat de septembre, Thomas Watson fut obligé de se consacrer entièrement à la téléphonie. Non seulement il aida Alexander Graham Bell à améliorer le téléphone, mais il le seconda également dans des conférences et des démonstrations, jusqu'à ce que la demande croissante d'instruments l'oblige à revenir à l'atelier.
La demande de téléphones était cependant si forte que Watson ne pouvait plus assurer seul cette tâche, et la fabrication des instruments fut donc confiée à l'atelier d'électricité de Charles Williams Jr., à Boston.
Jusqu'alors, Watson avait construit tous les instruments utilisés à des fins expérimentales et de conférences. Désormais, sa principale responsabilité était de superviser la construction des téléphones et des équipements auxiliaires, et de les rendre conformes aux normes. Les instruments bruts fonctionnent mieux.
Watson connaissait bien l'atelier Williams, y ayant travaillé avant de rejoindre, si possible, les intérêts de Bell. C'était l'un des plus grands et des mieux équipés ateliers d'électricité du pays, et il s'était rapidement forgé une réputation de qualité de fabrication, comptant parmi ses clients inventeurs le jeune Thomas Edison. Il était donc naturel que L'atelier de Williams devrait recevoir les premières commandes pour la fabrication de téléphones.

Williams reçut sa première commande de téléphones de Bell and Hubbard en mars 1877. Dans le cadre de cet accord, Williams facturait la main-d'œuvre et les matériaux, plus un pourcentage sur ces derniers.
En mai 1877, Williams enregistra pour la première fois une commande de douze téléphones à cabine auprès de Watson, les instruments devant être fabriqués selon les spécifications.
Le 21 août 1877, Williams a émis sa première facture aux intérêts de Bell. Elle s'élevait à 6 309,83 $ et couvrait environ huit cents téléphones fabriqués jusqu'au 1er août. Williams a ensuite signé un contrat avec la nouvelle Bell Telephone Company, lui accordant une commission sur chaque instrument fabriqué. Il a également été nommé agent pour Boston et ses environs dans un rayon de dix milles.
Williams a commencé à livrer des téléphones aux agents le 10 juin 1877 et, le 1er août, il avait expédié six cent cinquante téléphones portables et "box telephones" (cabines téléphoniques).
Avec la prolifération des agences, la demande a continué de croître et, pour y répondre, Williams a accepté d'augmenter la production de vingt-cinq à cinquante téléphones par jour s'il pouvait obtenir une avance de fonds de la Bell Telephone Company. La demande, cependant, a continué à dépasser la capacité de Williams à produire et donc la capacité de la Bell Company à fournir des téléphones.
Face aux demandes incessantes des agents pour obtenir des instruments, Gardiner Hubbard a enquêté sur les efforts de Watson pour honorer les commandes et a conclu : « Il semble n’y avoir ni ordre ni système… Je pense que vous conviendrez avec moi que nous ne pouvons pas fonctionner de cette façon… Veuillez voir si les choses ne peuvent pas être plus systématiques.» Un système évident aurait consisté à honorer les demandes par ordre d’arrivée, mais Watson a reçu tellement de demandes urgentes qu’il s’est senti obligé de rationner ses téléphones entre elles. Il a expliqué : « Je suis tellement en retard qu’il m’est impossible de m’en tenir à un autre système que la répartition du produit quotidien entre les agents les plus urgents. »
Watson a largement ignoré les suggestions de Hubbard concernant la systématisation des procédures. Il était sensible aux demandes d'agents comme E. T. Holmes, qui réclamait un traitement de faveur en raison de sa position privilégiée à Boston. Hubbard s'est plaint auprès de Watson que les commandes de Boston étaient exécutées le jour même de leur réception, tandis que d'autres restaient sans réponse pendant plus d'un mois. Finalement, Hubbard a demandé à Watson d'exécuter désormais les commandes systématiquement, sans aucune dérogation, sauf sur ordre de l'entreprise.
Il ne suffira plus de répartir la production du jour entre les plus urgents, mais de suivre les règles de l'entreprise… À en juger par le passé, il n'y a aucune raison de penser que vous « rattraperez vos commandes en deux semaines environ », car les commandes reçues augmentent chaque jour davantage que les commandes exécutées.
La nouvelle politique mise en œuvre a suscité une réponse attendue de la part des agents qui bénéficiaient auparavant d’un traitement favorable. E. T. Holmes a demandé que Watson ait le droit de faire preuve de discrétion, surtout dans son cas. Mais Hubbard était ferme. Il a même demandé à Watson d'exécuter les ordres de Sam Hubbard (le frère de Gardiner) selon le principe du premier arrivé, premier servi, à moins que l'ordre ne soit « extrêmement urgent » et que V. K. T. ne soit alors tenu d'exécuter qu'une partie.
V. K. T. a appliqué strictement la règle de Hubbard et a tiré au sort. un commentaire de l'agent Thomas Cornish de Philadelphie : « Vous avez un homme de première classe en la personne de M. Watson. "J'ai fait de mon mieux pour qu'il remplisse mes commandes. Samedi, il était inflexible, ayant reçu des commandes positives de votre part, pour les remplir à tour de rôle ".
L'accord de Williams d'augmenter la production quotidienne sous réserve d'une avance de 1 000 $ de la compagnie de téléphone Bell a démontré l'étroite relation entre les parties. Plus fréquemment, Williams a accordé du crédit à l'entreprise sous pression. Ces obligations étaient un facteur majeur. responsabilité de la Bell Company. " J'ai avancé 2 500 $ de ma poche à M. William, a écrit Sanders… et il doit avoir 2 500 $ de plus mardi prochain. Pourriez-vous m'envoyer un chèque de ce montant, car sept jours après le versement de l'argent par la nouvelle compagnie [[New England Telephone Company]], nous n'aurons pas assez pour payer à M. Williams ce que nous lui devons, car ses dépenses augmentent de jour en jour".
Sanders a satisfait les demandes de Williams du mieux qu'il a pu, mais Williams avait encore « faim », expliquant qu'il n'avait aucun excédent personnel pour payer les obligations qui nous incombaient. Il avait utilisé toutes les économies qu'il possédait, plus une grande partie de ses bénéfices téléphoniques, pour agrandir ses installations de fabrication. Il a ensuite expliqué ce que la Bell Telephone Company avait en jeu :
"J'ai fait de mon mieux pour maintenir le crédit de l'entreprise et, lorsqu'on m'a demandé des factures, au lieu d'indiquer que je ne pouvais pas obtenir l'argent de la compagnie de téléphone, j'ai invoqué d'autres excuses, et aucun de mes agents de crédit n'a eu la moindre idée du montant que la compagnie me devait."
Compte tenu de cela, Williams a jugé injuste la suggestion de Hubbard selon laquelle certaines parties new-yorkaises pourraient être incitées à payer les dettes de l'entreprise en échange de droits de fabrication à New York. Williams a fait valoir :
J'ai loué des locaux supplémentaires, installé des machines supplémentaires, effectué des modifications et augmenté mes dépenses courantes expressément pour votre travail. De plus, je peux fabriquer les appareils de manière plus avantageuse et à moindre coût que n'importe quel autre établissement. Non seulement Hubbard suggérait de mettre fin à l'exclusivité de Williams en matière de fabrication avec la Bell Telephone Company, mais il commençait également à remettre en question la méthode de Williams pour fixer le prix de ses téléphones. Jusqu'à la mi-mars, Williams a continué de facturer le matériel à la Bell Company au prix coûtant majoré de cinq pour cent de commission. Concernant la main-d'œuvre, il facturait « un certain montant en avance sur ce que je payais aux ouvriers par jour ». Ce montant variait de 65 livres à 1 dollar en plus du salaire de chaque ouvrier. Cette somme servait à couvrir les frais généraux de Williams pendant la basse saison (les agents ne pouvaient pas assurer la liaison en hiver). Williams n'a pas rejeté la proposition de la Bell Company de facturer la main-d'œuvre et les stocks au coût réel majoré de 20 ou 25 pour cent, mais il a noté que les fabricants ajoutaient généralement de 33 à 50 pour cent.
L'atelier électrique de Williams produisait non seulement des téléphones, mais aussi une grande partie du matériel auxiliaire nécessaire. La Bell Company transmettait les téléphones à ses agents, mais transmettait ses commandes de magnétos et de sonnettes d'appel de district à Williams. Les agents devaient se procurer des produits électriques non spécialisés auprès de celui qui leur offrait les meilleures conditions et les meilleurs prix. La compagnie de téléphone Bell a finalement accepté d'user de son influence pour que les agents obtiennent des instruments non brevetés de Williams, à condition qu'il soit en mesure de fournir des articles de qualité acceptable et dans les meilleurs délais. Malgré l'irritation de l'entreprise face aux demandes d'argent constantes de Williams et son incapacité occasionnelle à le contraindre à rendre des comptes exacts, elle semblait généralement satisfaite de la qualité du travail effectué à l'atelier Williams.

De juin 1877 à août 1878, la Bell Telephone Company a expédié à ses agents 12 484 téléphones fabriqués dans l'atelier Williams.
Parmi ceux-ci, 932, soit un peu moins de pour 7 1/2 %, ont été retournés en raison de défauts techniques majeurs.
Il est difficile de déterminer si ce chiffre était faible ou non en raison du manque de statistiques comparables pour d'autres types d'instruments électriques, et aussi parce que les agents étaient tenus par contrat d'effectuer « toutes les réparations ordinaires » à leurs propres frais.

En août 1877 La basique BOITE "Box" s'améliore
l’inconvénient de cette forme initiale pour un usage commercial a été rapidement reconnu

Le modèle illustré à la figure ci contre a été proposé par Gower en 1878.
En plaçant les pièces polaires et le diaphragme à droite au lieu de s'aligner sur l'aimant de l'instrument était bien adapté pour se fixer à un mur, et cela constituait l'émetteur.

Le téléphone fit l’objet d’une première démonstration publique au Canada le 29 août 1877; Baker avait organisé l’événement. Le premier contrat de location d’équipement téléphonique au Canada, signé le 18 octobre, portait sur une connexion entre le domicile de Baker et ceux de deux de ses collègues. Le mois suivant, à Ottawa, Baker installa une ligne entre le bureau du premier ministre Alexander Mackenzie et Rideau Hall, la résidence du gouverneur général. Pendant encore deux ans, le père de Bell promut la commercialisation du téléphone au Canada et rechercha des agents pour les autres provinces.

Néanmoins, c'est grâce à son savoir-faire que Williams a conservé son contrat de fabrication de téléphones pour la Bell Telephone Company lorsque cette dernière a été réorganisée en société et que son siège social a été transféré à New York.
Durant la période de réorganisation, l'un des investisseurs a suggéré à Thomas Sanders qu'une analyse du coût de fabrication des téléphones pourrait indiquer que la Bell Company payait de 25 à 50 % de plus pour ses instruments que ce que la nouvelle société serait prête à payer. Il a donc insisté pour qu'aucun engagement futur ne soit pris envers Williams. Sanders a répondu que l'entreprise n'avait aucune obligation particulière envers Williams, puisqu'il dépendait personnellement de lui pour le paiement de ses factures. De plus, Williams tirait un bénéfice substantiel de sa fabrication de téléphones. Cependant, Sanders ne comprenait pas « pourquoi un tel point de vue devrait être évoqué concernant le déménagement envisagé. Les ouvriers ici semblent mieux maîtriser la fabrication des téléphones que partout ailleurs dans le monde. » En effet, Sanders considérait la supériorité des téléphones fabriqués dans l’atelier Williams, où au moins 30 000 $ avaient été investis, comme un facteur majeur du succès de la Bell Telephone Company face à une concurrence croissante.
Même Alexander Graham Bell, « avec tous les ateliers d'Angleterre à sa disposition », fut contraint de reconnaître et de se fier à la qualité supérieure du travail de l'atelier Williams. Instruit par les directeurs de l'English Telephone Company (Ltd.), Bell écrivit à Gardiner Hubbard pour lui demander des échantillons d'instruments, une estimation des conditions les plus basses auxquelles la compagnie américaine fournirait des téléphones en plus grande quantité, et les dates auxquelles elle serait prête à les livrer.
Bell s'appuya même sur les ouvriers de Williams pour réparer les téléphones qu'il avait offerts à la reine Victoria : « Je vous donne carte blanche pour faire ce que vous voulez, mais renvoyez-moi seulement des instruments pour la reine qui ne déshonoreront pas la cause du téléphone. » Même en utilisant des téléphones américains comme modèles, les ouvriers anglais ne réussirent pas très bien à construire des téléphones. Un responsable L'entreprise anglaise a été contrainte de demander à des ingénieurs américains d'examiner les copies anglaises afin de découvrir la source de leurs défauts.
Sans aucun doute, grâce à l'efficacité et à la compétence des ouvriers et de l'atelier Williams, Hubbard a pu signaler à Thomas Sanders en avril 1878 que le coût moyen des instruments avait baissé, permettant ainsi à la Bell Telephone Company de réaliser un bénéfice plus important, notamment dans la vente de cloches d'appel.
Malgré l'efficacité de la boutique de Williams, elle a continué à prendre « malheureusement du retard » dans ses commandes, causant ainsi de graves difficultés aux agents de Bell.
Hubbard demanda à Sanders de veiller à ce que les commandes soient honorées rapidement, mais Sanders ne pouvait pas faire grand-chose. Pendant une grande partie de la relation Bell-Williams, la demande dépassait la production téléphonique et Sanders écrivait à Hubbard au sujet des lourdes exigences financières de Williams : « Williams réclame de l'argent... Le jour J est arrivé et son capital ne lui permettra pas de faire un autre investissement. »
Bien que Sanders n'ait pas pu ou n'ait pas voulu reconnaître une quelconque obligation particulière de la Bell Telephone Company envers Charles Williams, probablement en raison de ses inquiétudes et de la contribution de Williams, Thomas Watson a manifesté une appréciation plus claire de la contribution de Williams lorsqu'il a écrit :
La foi de M. Williams en nous… était si importante qu'il a mis ses ressources et son crédit à rude épreuve, non seulement en agrandissant son atelier pour répondre aux exigences de notre activité en pleine croissance, mais aussi, lorsque notre trésorerie était à sec, en nous accordant suffisamment de temps pour payer nos factures.

Recherche et développement

La recherche et le développement étaient un élément important de la production de téléphones.
Au début, la quasi-totalité de ces activités était assurée par deux hommes, Alexander Graham Bell et Thomas A. Watson.
Leur méthode était primitive, bien qu'une tentative de systématisation ait été faite. Travaillant dans leur laboratoire d'Exeter Place, Bell et Watson ont cherché à améliorer le téléphone par essais et erreurs en faisant varier chaque composant. Cette approche était possible en grande partie grâce à la simplicité de construction du téléphone.
En cherchant le meilleur matériau pour le diaphragme du téléphone, par exemple, Bell et Watson ont testé toutes sortes de matériaux, y compris un morceau de plaque de chaudière et des parties d'une oreille humaine.
En novembre 1876, les concepteurs du téléphone ont atteint une impasse.
Le téléphone ne « parlait pas assez distinctement pour un usage pratique », et selon Watson, lui et Bell avaient épuisé leurs idées sur le sujet. Après avoir passé quelque temps à la bibliothèque publique, Watson a cherché l'aide d'un médium. Les informations qu'elle a diffusées étaient « absurdes », et Watson s'est donc tourné à nouveau vers une source plus orthodoxe, la bibliothèque, où il a trouvé la clé de son problème.
Avec l'introduction commerciale du téléphone au milieu de l'année 1877 et le départ de Bell pour l'Angleterre, la tâche de superviser la fabrication, les essais et l'expédition des téléphones incomba au surintendant général Watson et à un employé, Robert W. Devonshire. L'introduction commerciale du téléphone ne mit bien sûr pas fin à son développement technique, car il était encore assez rudimentaire. De plus, la concurrence croissante a nécessité davantage de recherche et d'amélioration.
Dès le début de la téléphonie commerciale, les intérêts de Bell étaient déterminés à ne mettre à la disposition du public que les meilleurs téléphones.
Cette détermination s'est manifestée non seulement par les tests continus et approfondis de ses instruments par Bell Company, mais aussi par sa politique de réparations extraordinaires, de remplacement des instruments inutilisables et d'échange des anciens modèles contre des modèles améliorés à un prix équitable. Watson a assumé la majeure partie de la tâche de perfectionner le téléphone jusqu'en septembre 1878, date à laquelle d'autres électriciens et inventeurs ont été embauchés pour le partager. Au début de 1878, Watson a effectué plusieurs voyages d'inspection dans les agences Bell. Ces formations ont non seulement fourni des informations sur le fonctionnement des agences de l'entreprise, mais ont également permis à Watson d'évaluer les performances du téléphone dans des conditions réelles de terrain. Il a également pu former les agents sur l'entretien et la maintenance de leurs instruments. Cela était particulièrement nécessaire pour les agents maritimes manquant de connaissances en électricité. À une occasion, Watson a noté dans son carnet : « J'ai disséqué les trois instruments et j'ai réussi à expliquer le réglage à Ponton. Je sais qu'il n'a rien compris à ce que j'ai dit. Il ne semble pas avoir la moindre compétence en mécanique et ne connaît rien à l'électricité. »
Watson retournait généralement à Boston avec trois problèmes à résoudre, parfois il parvenait à les corriger, parfois non.
En supervisant la production à l'usine Williams, Watson fut incité par Hubbard à adopter les dernières technologies industrielles, non seulement pour des raisons de production, mais aussi de qualité. « Chaque pièce de chaque instrument », écrivait Hubbard, « d'une même série devrait être conçue selon le même modèle et interchangeable, comme toutes les autres pièces. C'est ainsi que l'on procède à la Waltham Watch Factory, et si c'est possible avec les montres, c'est possible avec les téléphones. »
En supervisant la production à l'usine Williams, Watson fut incité par Hubbard à adopter les dernières technologies industrielles, non seulement pour des raisons de production, mais aussi de qualité. « Chaque pièce de chaque instrument », écrivait Hubbard, « d'une même série devrait être conçue de la même manière et interchangeable, comme toutes les autres pièces. C'est ainsi que procède la Waltham Watch Factory, et si cela peut être fait avec des montres, cela peut l'être aussi avec des téléphones. »
Compte tenu de la situation financière précaire des premières sociétés Bell, la décision de confier à Watson une grande partie de son temps et de ses efforts à l'expérimentation et au perfectionnement des équipements téléphoniques témoigne d'un courage certain :
"Je suis toujours en train d'expérimenter, ce qui prend presque tout le temps d'une personne et représente une dépense importante, incluse dans le coût de fabrication". Mais cela a donné des résultats. Watson a réussi à apporter de nombreuses améliorations utiles et de nouveaux appareils.
Entre septembre 1877 et avril 1881, Watson a obtenu 40 brevets américains sur des inventions téléphoniques.
Les brevets de Watson couvraient les équipements auxiliaires ainsi que les améliorations apportées au téléphone lui-même.
L'une de ses premières modifications fut la réduction de la Box téléphone à environ un quart de sa taille d'origine. « Cela a tellement simplifié l'instrument que Williams a pu le produire plus rapidement et à moindre coût. »
La réduction de la taille de la Box a été la dernière amélioration majeure de ce style d'instrument avant son remplacement.
Au printemps 1878, la Western Union était clairement établie comme un concurrent du téléphone, et l'attention de Watson se tourna alors vers la construction d'un téléphone à charbon qui pourrait défier pleinement le modèle de la Western Union.
Plus tard dans l'année, la société Bell pourrait obtenir sa propre version de ce téléphone, mais ce serait le résultat d'autres inventeurs employés par la société.

Toute discussion sur la recherche et le développement doit reconnaître les contributions des chercheurs indépendants au téléphone Bell.
Plus tard, leurs efforts ont constitué une source majeure de nouvelles technologies téléphoniques, mais même à ses débuts, ils ont contribué à leur amélioration. Un groupe d'universitaires et de scientifiques, communément appelé « les expérimentateurs » ou « les expérimentateurs de Providence », s'intéresse particulièrement à ce sujet. Ils ont effectué une grande partie de leurs recherches téléphoniques au laboratoire de physique de l'Université Brown.
Parmi les expérimentateurs figuraient Eli Whitney Blake, professeur de physique, décrit par Bell comme « un téléphoniste amateur aussi brillant qu'il soit » ; le professeur John Pierce , un riche célibataire qui a consacré sa fortune et son temps à des recherches scientifiques et à aider d'autres à faire de même ; William F. Channing, docteur en médecine, fils du célèbre divin unitarien et collaborateur au développement du télégraphe d'alarme incendie ; et plusieurs autres personnalités moins connues.
Ces expérimentateurs de Providence ont mené leurs tests et modifications du téléphone simultanément et indépendamment de celui-ci.

Lorsque Bell a appris l'existence de leurs activités, il les a avertis d'y mettre fin, se méprenant apparemment sur leurs intentions.
Cependant, lorsqu'il devint clair que Blake expérimentait avec un téléphone rudimentaire dans le cadre de ses fonctions de professeur de physique, que le groupe travaillait uniquement dans l'intérêt de la science et non pour un gain personnel, et que les expérimentateurs reconnaissaient la validité du brevet de base de Bell sur le téléphone, Bell changea d'attitude et finit par encourager leurs efforts. Bien que les expérimentateurs de Providence aient fonctionné harmonieusement en équipe, plusieurs de leurs membres ont acquis une certaine notoriété grâce à leurs réalisations individuelles. Le Dr Channing a été crédité d'avoir modifié la disposition du téléphone fixe et ainsi construit le « premier récepteur portable "Hand telephone" digne de ce nom », bien qu'il soit encore trop grand pour être saisi par une femme ou un enfant.
On attribue au professeur Pierce le mérite d'avoir démontré la faisabilité de l'utilisation d'un petit aimant dans le téléphone et d'avoir inventé l'embout buccal utilisé dans les téléphones portables. Selon l'agencement de Bell, le couvercle et l'embout buccal de projection étaient des composants séparés et distincts, tandis que Pierce a combiné le couvercle et l'embout buccal pour obtenir une « forme plus pratique ». Channing a affirmé que l’innovation de Pierce avait corrigé les gémissements du téléphone et perfectionné son articulation. Une autre modification majeure du téléphone attribuée à l'expérience de Providence fut le remplacement d'un aimant unipolaire par un aimant en fer à cheval, permettant ainsi la construction d'un véritable téléphone portable, communément appelé récepteur « butterstamp » en raison de sa forme similaire à celle des ustensiles de cuisine.

Lettre d'Alexander Graham Bell à John Peirce, du 18 mars 1878 :
page 1 - À propos de l'audience de Peirce chez Bell refusant de déposer un brevet sur l'embout convergent mis au point par Peirce.
page 2 - Bell reconnaît qu'il est redevable à Peirce pour la conception et la forme de l'embout téléphonique.
page 3 - Bell décrit la première fois qu'il a montré le téléphone électrique magnétique en dehors de son laboratoire.
page 4 - Bell explique que l'aimant en fer à cheval est préférable pour un petit téléphone portable..

sommaire

Le butterstamp ou Hand téléphone

Le 15 Mai 1877 - Bell Présente le téléphone à main (hand telephone). Mentionné dans une lettre de Theodore N. Vail à William A. Childs, président de la Law Telegraph Company. il présente au public son invention sous une nouvelle forme imaginée par le professeur Pierce : "the Hand Telephone" ou "Téléphone à Main" aussi appelé "butterstamp" car sa forme évoquait bien les tampons pour mouler le beurre.
Bell a oublié de mentionner que ce nouvel appareil était le fruit des travaux de John Pierce Clarence Eli Blake et William F. Channing de l'Université Brown

Parution tardive dans le Scientific American le 10 octobre 1877




Cette publicité de 1879 illustre le nouveau téléphone mural, créé dans le but de satisfaire aux utilisateurs qui perdaient des bouts de conversation lorsqu’ils déplaçaient le transmetteur/récepteur de la bouche à l’oreille.


Une découpure du Scientific American illustrant deux personnes utilisant des téléphones manuels en bois

De 1877 à 1902, le récepteur « butterstamp » est resté le récepteur standard, puis a été remplacé par un modèle plus efficace. Les récepteurs ont été appelés « butterstamp » parce qu'ils ressemblaient au tampon utilisé pour faire de petites mottes de beurre.

l'intégral du scientific American du 6 octobre 1877, le monde découvre le Hand Téléphone

A peu près à la même époque, le Dr Fenner H. Peckham, futur responsable de la Providence Telephone Company, a établi une communication entre son domicile du 27 Benefit Street et son bureau situé à proximité du tunnel de chemin de fer de North Main Street.
Cette ligne avait une longueur de 800 mètres et utilisait des fils télégraphiques déjà connectés entre les deux endroits.
Le premier appel à une assistance médicale jamais reçu par téléphone a été transmis sur cette ligne, un message d’urgence qui a immédiatement démontré l’énorme valeur pratique de la nouvelle invention...

Janvier 1878. Note à l'attention du rédacteur en chef du Scientific American : Bell est partout reconnu comme l'inventeur du téléphone. Que votre journal soit donc le premier à faire remonter son nom dans le temps avec sa grande invention. Appelons-le tous le " Bellophone ".
Philadelphie, Pennsylvanie.

sommaire

Dans le "Scientific American" du 9 juin 1877 on s'inqiète déjà du devenir du télégraphe.
Le téléphone parlant du professeur Bell.
Un correspondant demande : « Pensez-vous que le téléphone remplacera le télégraphe actuellement utilisé ? »
Comme cette question est posée par beaucoup de gens, nous répondrons que non. Il peut peut-être remplacer le système Morse dans une certaine mesure pour les lignes privées et autres, et peut-être pourra-t-il être utilisé pour transmettre des articles de presse ; mais pour la télégraphie commerciale régulière, il ne nous semble pas présenter, dans l'état actuel des choses, d'avantages. En premier lieu, les messages devraient être notés en sténographie par l'opératrice réceptrice, puis copiés en écriture ; et nous connaissons tous les risques d'erreur, sans parler des longs délais d'un tel système.
En outre, bien que « Auld Lang Syne », « Home Sweet Home » ou tout autre expression que nous connaissons parfaitement puisse être très facilement reconnu, il est douteux que des messages réguliers puissent être « télégraphiés » sans que de graves erreurs ne se produisent. C'est un peu comme parler à travers un petit télégraphe amoureux ou un tube parlant ordinaire. Si vous prenez grand soin de parler lentement et distinctement, et que vous avez une idée de ce qui arrive, vous pouvez généralement comprendre ce que dit une personne. Mais il nous semble que personne ne voudrait faire confiance à des messages importants, parfois impliquant la vie ou la mort, ou des milliers de dollars, envoyés de cette manière. Nous avons relaté, dans l'avant-dernier numéro, une erreur ridicule commise de cette façon. Un journaliste a télégraphié par télégramme de la police au rédacteur en chef d'un journal de Brooklyn qu'il se trouvait à l'asile de fous, où il était allé pour affaires, et qu'il ne pourrait pas revenir à temps pour l'édition de l'après-midi. Le sergent a demandé à un policier de faire le tour du bureau du journal et d'informer le rédacteur en chef que Koselowski (le journaliste) se trouvait à l'asile de fous. Le policier a mal compris le message et a signalé au rédacteur en chef que le cardinal McCloskey était fou et avait été transféré à l'asile de fous. Il n’est pas exagéré de penser que de telles erreurs se produiraient constamment si le téléphone était utilisé pour la télégraphie commerciale.
Pour les raisons évoquées ci-dessus, nous ne pensons pas que les télégraphistes doivent craindre que le téléphone ne prenne, dans une large mesure, la place du système qui leur a été transmis par le professeur Morse.

A Providence jeudi 28 juin 1877, troisième des quatre jours réservés à l'une des plus grandes célébrations de l'histoire du Rhode Island, Rutherford B. Hayes , président des États-Unis, était l'invité d'honneur de la Grande Armée de la République à un Rocky Pointclambake.
Entre les discours, les coups de canon, les feux d'artifice, les défilés, les acclamations et le tumulte général, il a été annoncé qu'une démonstration de «ce nouvel engin », appelé le téléphone, avait été organisée pour l'amusement du président et de son parti.
Après que le maire de Providence eut terminé son bref discours, le président se retira dans ce que les journaux qualifièrent alors de «salon», où l'agent du professeur Bell, M. Frederick A. Gower, avait installé un appareil téléphonique. Une connexion a été établie avec le City Hotel de Providence, et le président Hayes a expérimenté pendant quelques minutes l'envoi et la réception de messages vocaux.
C'était la première expérience du directeur général avec l'appareil, et il s'est dit satisfait des efforts «très remarquables» produits et de la facilité avec laquelle il a pu le gérer. Le gouverneur de Pennsylvanie et plusieurs autres messieurs ont essayé leurs voix et leurs oreilles avec les mêmes résultats gratifiants.
Plusieurs mois avant le premier message téléphonique présidentiel, un appel sur une distance beaucoup plus longue avait été passé lorsque le professeur Bell a parlé de Providence à M. Watson, son assistant, à Boston. Le premier essai a été réalisé à partir de l'ancienne gare Union, utilisant la ligne télégraphique Providence et Boston, mais bien que des sons puissent être entendus, le nombre de relais et la force du vent soufflant contre les fils rendaient la parole inintelligible. Mais en utilisant une nouvelle ligne télégraphique jusque dans les salles de rédaction du Star and Press sur Dyer Street, ce deuxième essai s'est avéré totalement réussi.

Extrait du Providence Journal , 29 juin 1877
Le président au téléphone
Vers 3 heures, le président a connu une nouvelle sensation. Sous la direction de M. Fred A. Gower, agent de gestion du professeur Bell, un fil téléphonique a été connecté au fil Western Union Telegraph [à Rocky Point], soumis aux fins du directeur Bradford, et une communication téléphonique établie avec le professeur. Bell à l'hôtel de la ville dans cette ville.
Le président a ensuite été invité à placer l'un des téléphones, qui ressemblait d'ailleurs à une bobine assez grande, contre une oreille, ce qu'il a fait, lorsque M. Gower a parlé dans l'autre d'un ton modéré en disant: " Prof. Bell, j'ai l'honneur de vous présenter le président des États-Unis, qui écoute à l'autre téléphone; vous comprenez ? "
Le président écoutait attentivement tandis qu'un sourire de plus en plus grand entourait ses lèvres, et l'émerveillement brillait de plus en plus dans ses yeux, jusqu'à ce qu'il prenne le petit instrument de son oreille, le regarda un moment avec surprise et remarqua: «C'est merveilleux».
Pendant ce temps, le professeur Bell a déclaré, selon M. Gower, qui écoutait au téléphone : «Monsieur le président, je suis dûment conscient du grand honneur qui m’a été conféré en présentant pour la première fois le téléphone parlant à l’attention. du président des États-Unis. Je suis situé dans l'un des salons du City Hotel, à Providence. Je vous parle à travers treize kilomètres de fil, sans utiliser de courant galvanique sur la ligne. J'espère que vous comprenez bien ce que je dis, et je serai très heureux d'entendre quelque chose de votre part en réponse, s'il vous plaît. "
À la suggestion de M. Gower, qu'il devrait parler au professeur Bell, le président a dit: «Veuillez parler un peu plus lentement.
Quelques messages supplémentaires sont passés, lorsque le président a de nouveau déclaré: «C'est merveilleux», disant qu'il pouvait très bien comprendre certains mots, mais qu'il ne pouvait pas saisir les phrases.
Le gouverneur [de Pennsylvanie] [John] Hartranft a également essayé le merveilleux petit instrument, avec à peu près la même expérience que le président, disant en réponse à une question du professeur Bell : "Je vous comprends très bien."

sommaire

Ce modèle de téléphone dit "Hand Téléphone" ou "Butterstamp" va rapidement faire le tour du monde et sera même copié juste avec les explications et photos lus dans la presse.

Partout des amateurs fabriquent des téléphones en Amérique et aussi en Europe.
Les ventes augmentèrent, début 1877 Watson avait déjà construit et vendu plus de 1000 appareils,
Le problème n'était pas un manque d'intérêt des gens mais la réaction des hommes d'affaires qui considéraient cet instrument comme un jouet.

De Thomas E.Cornish Philadelphie 1877

Une brochure rare et ancienne de 4 pages de la Philadelphia Telephone Company, faisant la promotion du nouveau et étonnant téléphone parlant .

La première version promotionnelle mérite d'être citée: «Le téléphone parlant de Bell attire l'attention du monde entier; moins de six mois après son introduction, 5000 ont été utilisés dans ce pays.
Aucune invention récente n'a été aussi bien reçue par le public, et si pleinement approuvée par la presse et il n’est pas étonnant que les résultats soient étonnants.
Avec cet instrument simple, on peut converser avec un autre, même sur plusieurs kilomètres .

Description manuscrite d'un ancien récepteur téléphonique mis au point par Alexander Graham Bell.
Source: Musées Victoria de Melbourne Australie.

Edward Symonds l’a peut-être écrite entre 1876 et 1877. Symonds était l’oncle de Bell.

Il a été acheté par Symonds lors d’une visite à la famille Bell à Brantford, en Ontario, puis emmené par Symonds en Australie.

En Australie, le téléphone suscitait beaucoup d'enthousiasme.
L’invention a été une inspiration pour commencer à travailler sur le premier téléphone australien.
Un inspecteur des douanes de Geelong, WJ Thomas, a utilisé un instrument artisanal et lié deux maisons de son quartier à la fin de 1877. Il a ensuite transmis sur une distance plus longue, entre Geelong et Ballarat, le soir du 9 janvier 1878, puis entre Geelong et Queenscliff. .
Lettre de John Peirce à Alexander Graham Bell, 7 juillet 1877 : (page 1, page 2, page 3)

La contribution précise de l’Expérience à l’art de la téléphonie a été une source constante de désaccord. Frank Leslie a rapporté que la modification du micro par Pierce a « fait du téléphone un succès pratique ». L'auteur de la nécrologie de Channing affirmait que l'arrangement de l'aimant du téléphone par Channing avait permis de surmonter une impasse importante dans le développement commercial du téléphone, et que, par conséquent, l'honneur d'avoir réussi à obtenir un téléphone performant lui revenait sans aucun doute. Il était plus important pour lui que pour le professeur Bell lui-même. Certains expérimentateurs eux-mêmes étaient perturbés par la façon dont Bell traitait leurs contributions.
À l'origine, tous les expérimentateurs avaient reconnu la validité du brevet de Bell sur son téléphone. Lors d'une réunion de la Franklin Society où le Dr Channing a exposé le téléphone de Bell et les modifications apportées par les expérimentateurs, un article de journal le citait. Il affirme avec insistance que « l'invention du téléphone est une création unique et complète du professeur Bell ». Cependant, réagissant à ce qu'il percevait comme de l'ingratitude et de l'injustice de Bell, Channing donna en 1882 un compte rendu critique des efforts d'Alexander Graham Bell pour inventer le téléphone. Ressemblant fortement au point de vue de la Western Union, Channing suggéra qu'Elisha Gray avait été la première à inventer le téléphone, en 1875, et que Bell avait réussi à obtenir un téléphone. La tente pour son téléphone était le résultat de « circonstances les plus extraordinaires ».
Les critiques contemporaines et ultérieures de Bell concernant l'expérience de Providence semblent injustifiées.
Lors d'une conférence devant la Society of Telegraph Engineers à Londres, à la fin de 1877, Alexander Graham Bell a exprimé sa dette envers les professeurs Pierce et Blake, le Dr Channing, Louis Clarke et Edson Jones, tous de Rhode Island, « qui ont mené ensemble des expériences cherchant à perfectionner la forme d'un appareil requis. » Bell a également souligné, cependant, que « beaucoup de leurs découvertes avaient été anticipées » par les siennes, y compris la construction du téléphone « butterstamp ». Il a félicité Pierce pour ses travaux visant à réduire la taille des aimants des téléphones et à inventer l'embouchure du "combiné buccal".
La Providence Press a félicité Bell pour sa reconnaissance des contributions des expérimentateurs à la téléphonie, et à travers eux, des contributions de la communauté scientifique de Providence. « C'est tout à l'honneur de M. Bell qu'il reconnaisse le travail de nos scientifiques de Providence sans réserve. »
Les participants à l'expérience et leurs défenseurs étaient très troublés par ce qu'ils considéraient comme une usurpation du crédit qui leur revenait pour la création du téléphone portable. Souvent, le Providence Journal de mai 1877 publiait un compte rendu illustré du nouveau téléphone portable de Bell, un témoin oculaire rappelant que le professeur Blake entra dans la salle de cours, très excité, un exemplaire du devoir à la main, et s'adressa à la classe en ces termes :
« Messieurs, vous avez vu l'annonce du télé phone du professeur Bell dans le journal de ce matin. Vous connaissez tous cet instrument ; certains d'entre vous en ont eux-mêmes fabriqué. Je tiens à vous dire qu'il y a quelque temps, le professeur Bell est venu de Boston pour comparer ses notes avec celles du professeur Pierce, du Dr Channing et de moi-même. Il nous a dit qu'il maîtrisait le principe du téléphone, mais qu'il n'avait pas réussi à concevoir un récepteur pas trop encombrant. Nous lui avons montré notre récepteur, que vous connaissez tous. Je vous demande de le comparer avec celui du professeur Bell, tel qu'il est photographié dans le journal d'aujourd'hui. » Le témoin oculaire a conclu : « C'était l'heure de triomphe du professeur Blake, car il savait de quoi il parlait.
Avec la publication de la conférence en anglais de Bell, Pierce lui fit part du mécontentement des participants à l'expérience quant à la manière dont il les traitait. Bell assura Pierce qu'il tenait à lui accorder, ainsi qu'aux autres participants à l'expérience Providence, le crédit « non seulement pour tout ce qui est nouveau dans vos recherches, mais aussi pour tout ce que vous prétendez, même si j'ai peut-être moi aussi inventé la même chose ». Bell a expliqué ce qu'il percevait comme étant la cause de leur malentendu concernant l'utilisation de l'aimant unipolaire dans le téléphone portable. Il croyait que la confusion résultait du manque de familiarité des expérimentateurs avec les spécifications du brevet de Bell et aussi du fait que le premier téléphone portable Bell que les expérimentateurs ont vu testé à Providence contenait un aimant en fer à cheval plutôt qu'un aimant droit testé précédemment. Ces circonstances, en particulier ces dernières, ont persuadé les participants à l'expérience Providence, selon Bell, qu'ils avaient précédé Bell en incorporant l'aimant unipolaire dans le téléphone portable.
Quels que soient ses griefs ultérieurs, Channing suggéra à la Bell Company, en novembre 1877, qu'il serait peut-être judicieux de breveter le porte-parole de Pierce afin de neutraliser certains avantages du téléphone Western Union. En avril 1878, Blake demanda le prêt de quelques téléphones Bell à des fins expérimentales, espérant ainsi « mettre la main sur quelque chose de nouveau et d'utile pour l'entreprise ».
En reconnaissance des efforts scientifiques des Experiments et de leur conduite irréprochable lors des récents conflits de la Western Union, Alexander Graham Bell proposa en 1880 que Thomas Sanders, Gardiner Hubbard, Thomas Watson et lui-même leur apportent chacun une partie de leurs parts de la Continental Telephone Company. En faisant cette suggestion, Bell estimait qu'il corrigeait une injustice commise par les sociétés Bell qui lui ont succédé en ne reconnaissant pas les efforts des expérimentateurs de Providence au nom des intérêts du téléphone Bell. Il reconnaissait que les expérimentateurs poursuivaient leurs travaux dans le but de contribuer à la perfection commerciale du téléphone. Bell a suggéré :
Si nos propres chercheurs n'avaient pas anticipé bon nombre des points ainsi communiqués, nous leur aurions été redevables de certaines des fonctionnalités les plus précieuses qui ont depuis fait du téléphone un succès.
Peu importe si les entreprises Experimentales ont contribué de manière significative ou non à la commercialisation réussie du téléphone Bell, elles étaient représentatives dans une certaine mesure de la méthode par laquelle la société Bell a acquis des améliorations et des inventions téléphoniques, c'est-à-dire grâce aux efforts de scientifiques, d'inventeurs et d'électriciens indépendants. La Bell Telephone Company était constamment à la recherche de tels individus et de leurs inventions. Hubbard a donc chargé l'agent de Bell à Philadelphie d'enquêter sur un brevet de téléphone délivré à un citoyen de Pennsylvanie :
"Je pense qu'il serait préférable de vérifier ce qu'il possède, ce qu'il fait et ce qu'il envisage de faire. S'il a réellement une longueur d'avance sur notre téléphone, nous le voulons, mais s'il s'agit simplement d'une infraction, nous voulons le savoir.
Une autre source de technologie téléphonique est venue des agents et des titulaires de licence de la société Bell, qui ont dû utiliser leurs propres ressources pour concevoir une grande partie de leurs équipements et appareils en lien avec le système d'échange en évolution. Ces agents, ainsi que Thomas Watson, des inventeurs indépendants, et plus tard des scientifiques et inventeurs de la Bell Company, en partie stimulés par le concours de la Westem Union, se sont associés pour faire du téléphone d'Alexander Graham Bell un instrument de communication amélioré et en constante évolution".

sommaire

Fin 1877 début 1878, le téléphone construit par Brown Ayres, de l'institut Stevens, d'Hoboken (États-Unis), se distingue par une organisation simple et une action énergique. le Dr Brown Ayres, était président de l'Université du Tennessee à sa mort en 1919.
C'était un homme brillant qui avait déjéà installé une ligne téléphonique en 1877 sur un fil de laWestern Union,
Son talent précoce en électricité et télécommunications lui a valu de devenir ami avec Thomas Edison et Alexander Graham Bell, qui lui ont offert l’opportunité de rejoindre le système de communication naissant de Bell alors qu’il était encore jeune.
Il a même refusé l'offre d'emploi de Bell au profit de la poursuite de sa carrière universitaire, qui l'a finalement conduit à Knoxville à la présidence de l'Université du Tennessee, où il a joué un rôle déterminant dans la planification et la conception d'un nouveau bâtiment spectaculaire qui devait être placé au sommet. de la plus haute colline sur le campus. Mais il est mort deux ans avant la fin des travaux sur The Hill.
On retouve la description de ce téléphone dans "Le téléphone le microphone et le radiophone 1825" de Swartze Théodor,
qui a certainement été inspiré de l'artile du le journal de l'université . de 1878.

Le premier commutateur téléphonique :
Même le composant électrique le plus simple d'un téléphone a été breveté très tôt et son inventeur est resté dans les mémoires des historiens.

Watson en septembre 1877 ne tarda pas à perfectionner le crochet commutateur et rendre pratique l'utilisation du téléphone de Bell

AMÉLIORATION DE LA COUPURE AUTOMATIQUE DE L'INTERRUPTEUR POUR LES TÉLÉPHONES.
Spécification faisant partie des lettres patentes n° 209 592, datées du 5 novembre 1878 ; demande déposée le 17 septembre 1877

A tous ceux que cela concerne :
Sachez que moi, THOMAS A. WATSON, de Boston, dans le comté de Suffolk et l'État du Massachusetts, j'ai inventé un perfectionnement au mécanisme de commutation ou de coupure pour les téléphones, dont ce qui suit est une spécification :
Il est d'usage, en relation avec les téléphones, d'employer un interrupteur, qui peut être changé de position pour diriger le circuit via le téléphone, ou via une cloche électrique ou magnéto-électrique, pour attirer l'attention.
Dans cette présente invention, le commutateur est rendu automatique dans son fonctionnement, il reste, lorsque le téléphone n'est pas levé pour l'utilisation, en contact avec une vis ou un point métallique connecté en circuit avec la sonnerie et la masse, et lorsqu'il est en cours d'utilisation, il reste en contact avec une autre vis ou point métallique en circuit avec le téléphone.
La figure 1 représente en élévation latérale, en traits pleins, une forme de mon mécanisme de commutation illustrant cette invention, le téléphone étant supposé être utilisé, et sur cette figure les lignes pointillées montrent le téléphone pris en charge et non utilisé. La figure 2 représente, en vue de face, l'appareil représenté sur la figure 1, avec le téléphone non utilisé. La figure 3 montre, sous forme de schéma, l'appareil dans une station lorsqu'il est utilisé comme interrupteur ; Fig. 4, un diagramme lorsqu'il est utilisé comme découpe.
La carte a, sur laquelle le mécanisme de commutation est fixé, peut avoir n'importe quelle forme ou taille appropriée. Le support téléphonique est, dans ce cas de l'invention, constitué d'un levier, b, avec des bras c et un ressort, d. Ce levier est supporté par les extrémités de vis c, munies de sièges concaves pour recevoir les pointes d'un arbre f, prolongé à travers le levier. À l'arrière du levier se trouve un ressort g, pour presser la partie métallique de fermeture du circuit 1 - de préférence un ressort - contre la vis ou le point h, relié par un fil approprié, comme en fi, à la coupelle à vis j, avec laquelle est également connecté un fil, qui s'étend jusqu'à l'une des coupelles à vis, 2, du téléphone.
Le levier b est, par le fil l, relié au fil de ligne. Lorsque le poids du téléphone est retiré du levier, ou lorsque le téléphone est mis en service, ce levier est simultanément actionné pour déplacer la partie d en contact avec la vis h, qui met le téléphone en circuit avec le fil de ligne. .
La coupelle à vis 3 du téléphone est reliée par un fil à la masse ou au fil menant au poste suivant. La coupelle à vis m est reliée à la vis o, et est également reliée par une cloche à la masse ou au fil.
Dans le diagramme, la Fig. 3,1' représente la cloche, p s son marteau, et son électro-aimant, étant utilisé avec la cloche une batterie voltaïque appropriée ou un autre générateur d'électricité.
Pour utiliser cet appareil comme découpe, les fils seront disposés comme indiqué sur le schéma de la figure 4, dans lequel le fil de ligne est représenté par la lettre l. Lorsque le téléphone est mis de côté, la partie d reposera contre la vis o, enlevant ainsi la résistance du téléphone de la ligne.
Grâce à cette invention, il est évident que le simple fait de prendre le téléphone pour l'utiliser et de le remplacer ou de le laisser tomber après utilisation change automatiquement le commutateur pour placer soit le téléphone, soit la cloche en circuit, ou actionner la partie de fermeture du circuit pour la placer. le téléphone en circuit ou le couper du circuit.
Après avoir ainsi décrit mon invention, je ferai remarquer que je ne prétends pas être le premier et original inventeur du commutateur automatique actionné par le transfert du poids du téléphone. En cela, je crois que H. L. Roosevelt avait anticipé ce phénomène ; mais
Un support de téléphone composé des cointinten.'
combinaison d'un joug 011 extrémité d'un levier du premier ordre, amené à basculer par le retrait du téléphone, avec deux points fixes, l'un faisant circuit de connexion par l'intermédiaire de l'instrument de signalisation ou d'appel, l'autre par le téléphone , sensiblement comme illustré et exposé ici.
En témoignage de quoi, j'ai signé mon nom sur cette spécification en présence de deux témoins signataires.
THOMAS A. WATSON. Les témoins: GW GREGORY, W. J PRATT.
Un mois plus tard c'est Hilborne Roosevelt, un facteur d'orgues à tuyaux à New York et l'un des fondateurs de la première compagnie de téléphone de cette ville, dépose une autre demande de brevet sur un commutateur téléphonique en octobre 1877.
Dans cette configuration, le téléphone est pendu en sens inverses par un fil, la gravité agit sur un petit contacteur.

Hilborne L. Roosevelt, "Amélioration des commutateurs téléphoniques", brevet n° 215 837, daté du 27 mai 1879 ; demande déposée le 3 octobre 1877.
Hilborne fils de Cornelius Roosevelt et donc frère de Cornelius l'agent de Bell en Europe, était également largement connu parmi les électriciens pour avoir inventé plusieurs détails du téléphone, notamment le crochet commutateur automatique, pour lequel il a reçu des redevances pendant de nombreuses années (même si Thomas A. Watson prétendait être le premier, et détenait une participation dans la Bell Telephone Company.

L'un de ses dessins de brevet est illustré, où l'interrupteur à ressort (S) entre en contact avec une goupille (P) pour terminer le circuit du récepteur lorsque le récepteur est soulevé.
Dans un autre dessin du brevet de Roosevelt, une broche (A) était incluse dans un circuit de sorte que l'interrupteur fonctionnait comme un interrupteur unipolaire à deux directions.
Dans les conceptions ultérieures, un crochet était utilisé pour maintenir le récepteur, au lieu d'une ficelle comme dans le brevet de Roosevelt; par conséquent, le commutateur est appelé commutateur à crochet ou crochet de commutateur.
Bien que la conception mécanique de nombreux interrupteurs à crochet soit très intelligente, leur fonctionnement électrique est plutôt évident.

sommaire

Le journal "LA NATURE" du 23 Mars 1878, du 27 AVRIL 1878, du 4 MAI 1878.... reproduis presque en totalité la conférence de M. Bell. faite pour la revue 'La Nature'. Ce document, inédit en France, nous paraît offrir une importance capitale ; nous le recommandons à l’attention de nos lecteurs.

31 octobre 1877 Publication du premier ouvrage :
EXTRAITS DE PROCÉDURES DE LA SOCIÉTÉ DES INGÉNIEURS TÉLÉGRAPHIQUES.
Assemblée générale extraordinaire, tenue le mercredi 31 octobre 1877 au 25, Grand George Street, Westminster par Bell.

Autre tentative de Téléphone : Assez insolite, le téléphone de Havens Paru dans le "Scientific American" du 11 Aout 1877
M. George B. Havens, de Lafayette, Indiana, a inventé une forme très simple de téléphone, que nous illustrons dans la gravure ci-jointe.
On peut dire que l'instrument remplace une « touche télégraphique », étant actionné par la voix au lieu de la main, et au lieu d'envoyer un message comme dans les instruments télégraphiques, c'est de la musique qui est transmise. Il peut être utilisé sur n'importe quelle ligne télégraphique ordinaire.
On peut dire que l'instrument est constitué d'un cylindre métallique, ressemblant à un seau d'un quart, tourné sur le côté et attaché à un bloc de bois.
En référence à la gravure, A est le bloc ou la base dans laquelle sont placées les parties fonctionnelles de l'instrument. B est la caisse de résonance en métal, et peut être en laiton, de la taille d'une mesure de quart, ouverte à l'extrémité, C, et fermée à l'autre extrémité, qui sert de vibrateur.
Devant E se trouve un étalon métallique, D, avec une vis de réglage à pointe de platine, qui est en léger contact avec le vibrateur, E. Les fils principaux, F, G, relient E et D.

L'instrument est connecté à la ligne télégraphique principale, comme un relais ordinaire, et les mélodies sont fredonnées dans l'extrémité ouverte de la boîte, B, et entendues depuis l'armature de tous les relais du circuit. De cette manière, des mélodies ont été envoyées, comme nous l'informe M. Havens, sur plus de cent milles. En parlant de l'instrument, M. Havens dit : « Seule l'armature des relais en circuit vibre. Ces vibrations sont si rapides que le levier n'a pas le temps de faire des allers-retours. Souvent, en maintenant le levier du relais enfoncé, les vibrations sont beaucoup plus fortes, et pour savoir si la musique passe, nous utilisons la clé ordinaire et l'instrument télégraphique. J'ai également pu télégraphier l'alphabet Morse avec ma voix, en émettant un son long pour un tiret et un son court pour un point. Nous rapprochons parfois les aimants du relais de l'armature pour rendre le son plus fort. » Mais ce n'était toujours pas un téléphone.

Cette même année 1877 Emile Berliner né à Hanovre, Allemagne, immigre aux États-Unis et s'est tout d'abord établi à New York, où il a effectué de petits travaux afin d'assurer sa subsistance, puis décide de déménager à Washington, D.C, car on lui avait offert un emploi de commis dans une mercerie dont le propriétaire était un compatriote allemand.
C'est durant cette période que M. Berliner a commencé à expérimenter avec la technologie associée au téléphone nouvellement inventé.
Ayant eut connaissance des travaux de Hughes sur le microphone à charbon, Berliner a conçu et breveté un émetteur ou microphone avec pastille de carbone .

Le microphone Berliner n'est à proprement parler qu'un transmetteur téléphonique du genre de celui de Pollard dont la lame vibrante est constituée par une lame de charbon sur laquelle viennent appuyer, du côté opposé à l'embouchure, une ou deux vis métalliques en rapport avec le circuit téléphonique, et qui constituent les pièces fixes du contact. On mentionne dans le brevet que ces pièces peuvent être constituées avec du charbon; de sorte que l'on pourrait admettre que ce serait M. Berliner qui aurait le premier combiné les transmetteurs à charbon.
Berliner Le 8 avril 1877 : notre chercheur expérimentait un émetteur constitué d'une petite caisse à savon en bois. Il avait remplacé le fond par une feuille métallique mince formant diaphragme, une vis réglable terminée par une bille d'acier poli venait buter au centre de cette menbranne. Un fil reliat le diaphragme à une borne de la batterie, le second joignait la vis à l'autre borne. Lorsqu'il ferma le circuit il entendit un "cloc" venant de la membrane. Il subsista alors à l'interrupteur un diapason, en enroulant une extrémité du fil du circuit à une se ses branhes. Après avoir excité le diapason, il obtent la note émise par la membrane. Berliner nota " si cette membrane était capable de reproduire un son musical, elle devait, en toute logique, pouvoir reproduire des mots, lorsque à la place d'un courant alternatif simple, un courant modulé plus complexe interviendrait pour l'influencer". En fait il avait découvert un modèle de microphone à contact imparfait.
Trop pauvre pour prendre un brevet, il deposa un caveat le 14 avril 1877 qui sera transformé en demande de brevet le 4 juin suivant.
Berliner proposa son microphone à la Bell Company qui lui acheta en septembre 1877 et le nomma conseiller technique. Mais la bell Company préferera le micro de Blake.U.S. Patent 199,141 Telephone . the transmitter, déposé October 1877, accordé le 15 January 1878
Micro Berliner 4 mars 1877

Le microphone de Berliner était sensiblement le même qu'un microphone construit et démontré publiquement par l'Allemand Philipp Reis en 1864, ainsi que par un microphone développé par l'Américain James W. McDonough, (vu un peu plus en avant) qui a déposé une demande de brevet pour son invention le 10 avril 1876.
Plus tard le microphone d'Berliner a été racheté par Alexander Graham Bell pour la somme de 100 000 $ et de 5 000 $ par année pour garder Berliner sous contrat
. Cet argent a permis à Berliner de se consacrer exclusivement à la création du gramophone, mais c'est Edison qui concrétisera le gramophone en 1878.

Reis et McDonough ont décrit à tort leurs microphones comme établissant et rompant des connexions électriques en réponse aux ondes sonores.
La communauté scientifique, ainsi que l'Office des brevets des États-Unis, ont correctement noté que la parole ne pouvait pas être transmise en établissant et en rompant des connexions électriques. En tant que tels, les microphones Reis et McDonough ont été rejetés par la communauté scientifique, et la demande de brevet de McDonough a été rejetée par le US Patent Office, car ils étaient basés sur une "fausse théorie", même si les deux microphones ont fonctionné.

Cette même année 1877 Thomas Edison a breveté un émetteur similaire, ou microphone, ce qui entrainera une certaine controverse ( à savoir à qui doit être attribué l'invention du microphone.)

Début 1877 les dirigeants de la
Western Union Telegraph Company se rendent compte que Bell en inventant le téléphone, avait créé un nouveau marché, dont il s'agissait de ne pas perdre la maîtrise. La western Union prospecta les chercheurs succcéptibles de lui fournir un autre appareil téléphonique que celui construit par Bell. Pour ce faire , elle s'adressa aux laboratoirs Edison qui se mirent aussitôt au travail.
Le 18 avril 1877, ces recherches aboutirent à la mise au point d'un émetteur téléphonique à la plombagine, D'une manière empirique, l'équipe Edison avait en effet découvert que la résistance électrique de la plombagine variait en raison inverse de la pression à laquelle elle était soumise. Une pastille de plombagine intercalée derrière la membrane vibrante d'un émetteur téléphonique permettait donc de moduler un courant électrique, en fait Edison avait inventé le microphone qu'il perfectionna par la suite en remplaçant la plombagine par du charbon en poudre.
IL est très similaire aux microphones conçus par David Edward Hughes qui restera officielemnt l'inventeur du microphone à charbon.
La décision d’Edison d’utiliser le carbone s’appuie sur ses efforts pour comprendre les subtilités du des câbles du télégraphe qu’il a vu en Angleterre en 1873. Afin de mener des expériences en laboratoire, il construit des câbles artificiels utilisant des rhéostats à haute résistance constitués de tubes de verre remplis de carbone. Il a constaté que ses câbles artificiels n'étaient pas fiables car la résistance du carbone variait en raison du bruit et du mouvement, mais ce type de résistance variable sensible était exactement ce dont il avait besoin pour le téléphone.
À la fin de 1877, Edison avait donc conçu un émetteur dans lequel un petit bouton de carbone noir de fumée était placé sous le diaphragme de l'émetteur.

De plus Edison avait compris que le téléphone devait communiquer à grande distance, ce que ne faisait pas le système Bell, alors il employa l'énergie de "la pile" et conçu aussi un système à variation de résistance
.

sommaire

CARACTÈRES ET DIFFICULTÉS DU TELEPHONE

Presque dès ses débuts, la Bell Telephone Company a dû faire face à une situation paradoxale : à mesure que ses téléphones gagnaient en popularité, sa situation financière devenait plus précaire. Face à la demande croissante, la Bell Company a dû investir davantage dans leur fabrication, mais les titulaires de brevets ont eu du mal à obtenir des capitaux supplémentaires.
Dès le 3 juillet 1877, Gardiner Hubbard informa l'avocat Anthony Pollok que le téléphone se portait très bien, avec une centaine d'appareils en service dans de nombreux endroits, et que les perspectives d'avenir semblaient prometteuses puisque des dispositions étaient prises pour la location de 2 000 téléphones à une agence de New York. Les efforts de Hubbard et de ses agents suscitèrent un intérêt public remarquable et contribuèrent à créer cette demande pour le téléphone. Il en fut de même pour des articles favorables, comme celui du Scientific American, qui déclarait : « Le téléphone a considérablement progressé, dépassant le statut de "magnifique jouet scientifique", que beaucoup qualifiaient hâtivement. »
Au 10 octobre 1877, après seulement six mois d'exploitation, la Bell Telephone Company comptait 2 000 appareils en service et, à la fin de l'année, elle avait livré 5 319 téléphones à ses agents. Le bilan de la société pour les six mois se terminant le 31 décembre 1877 indiquait des paiements de location de 8 656,93 $ et un bénéfice net total de 1 707,56 $. Un rapport ultérieur, contenant vraisemblablement des informations plus complètes, chiffrait les loyers bruts à 10 164,88 $, ce qui signifiait que les bénéfices nets des loyers étaient également plus élevés. Le 1er janvier 1888, la Bell Telephone Company était en mesure d'annoncer à ses agents qu'elle avait fabriqué et livré 5 491 téléphones. Cela indiquait à l'entreprise que le téléphone n'était plus une nouveauté et qu'elle avait donc abandonné sa politique de mise à l'essai des téléphones. Pour répondre à une demande en forte croissance, Charles Williams accepta de doubler la capacité de son usine à condition que la Bell Telephone Company lui apporte son aide en lui avançant une partie des fonds nécessaires. Mais d'où pouvaient provenir ces fonds et les autres ? En rejetant la dernière offre de John Ponton visant à fournir des capitaux, Hubbard avait décidé de faire fonctionner l'entreprise sur ses revenus courants, en payant les dépenses sur les recettes quotidiennes. Mais les dépenses pouvaient être supérieures aux recettes, et c'est effectivement le cas. Une solution évidente serait de créer une société avec des investisseurs internes capables de fournir les fonds nécessaires. Cela n'a cependant pas été immédiatement possible, car le syndic a rejeté une telle proposition :
"Je n'ai jamais réalisé la nécessité d'une entreprise dotée d'un capital important, même si je sais que cela présenterait à bien des égards un grand avantage, outre le fait de faciliter grandement la gestion de votre trésorerie. Les avantages ne m'ont pas semblé du tout proportionnels à l'ampleur de la perte. de contrôle à MM. Bell, Sanders et Hubbard".
En attendant que les revenus courants correspondent aux dépenses, ou que Hubbard reconnaisse la nécessité de créer une société dotée de capitaux, la Bell Telephone Company fut contrainte de s'appuyer sur les ressources financières de deux de ses principaux membres, Hubbard et Sanders, ainsi que sur ses revenus courants.
Malheureusement, Hubbard n'était pas en mesure d'apporter une aide financière importante.
Alors même qu'il décrivait le succès du téléphone en juillet 1877, il demandait à l'avocat Pollok de ne pas insister pour obtenir le paiement de ses frais juridiques. Bien que Hubbard fût un homme aisé et occupant une position sociale, il était tout simplement incapable de fournir l'argent. Il a écrit à Pollok :
"Mes questions d'argent sont des domaines, comme vous le savez, complètement perturbés par les circonstances défavorables de ces dernières années, et avec un très grand nombre de biens, j'ai plus besoin d'argent que si je ne possédais rien, car j'ai des dettes, des sommes importantes à payer pour les impôts et je n'ai aucun revenu foncier. "
Malgré la dernière affirmation de Hubbard selon laquelle lui et Sanders avaient contribué à hauteur de 50 000 dollars au lancement de l'entreprise de téléphonie, il n'a jamais pu tenir sa promesse de contribution. Gardiner Hubbard était enclin à se lancer dans des projets commerciaux et des promotions risquées, comme il l'avait fait avec le téléphone. Il était en difficulté financière à la suite d'une de ces entreprises, vers le printemps 1878. Avec plusieurs autres, Hubbard avait investi dans la Caledonia Coal Mining Company et la East Cambridge Land Company, et à la suite de revers, les investisseurs devaient conjointement 100 000 $.
Lubbard a dû faire appel à l'aide de son associé Thomas Sanders et de son gendre, Alexander Graham Bell.
On ne peut que se demander comment un tel revirement commercial a influencé ses décisions en tant qu'administrateur de la compagnie de téléphone. Sa situation financière difficile a certainement influencé sa relation avec Sanders.
"Certes, j'ai peut-être utilisé un langage qui semblait vous offenser gravement et qui était critique. Si c'est le cas, j'espère que vous m'excuserez et vous vous souviendrez que, depuis trois ou quatre mois, je suis soumis à une très forte pression : j'ai été constamment surmené et j'ai souffert plus que vous ne pouvez l'imaginer. De ma valeur, je suppose, je découvre que tous mes biens ont disparu, et ce, sans que ce soit de ma faute".
Presque dès le début des difficultés de l'entreprise, il s'est excusé de son incapacité à fournir des fonds. À une occasion, il expliqua à Watson qu'il n'avait pas pu recouvrir une somme due à Watson, mais que si Watson en avait besoin, il pouvait faire appel à S.S. Converse et lui demander de le lui prêter sur le compte de Hubbard. Non seulement Hubbard était incapable de fournir son argent à la compagnie, mais il ne pouvait pas non plus lui prêter son crédit. Selon Sanders, Hubbard n'avait aucun crédit. Un jour, Hubbard envoya à Sanders un billet de 7 000 $ pour liquider une dette, et lui demanda de l'apporter à J. M. Converse pour qu'il l'encaisse.

Converse a insisté pour que Sanders l'investisse et assume ainsi la responsabilité.
Comme illustration supplémentaire de la mauvaise situation financière de Hubbard, Sanders raconta que, avec la totalité des actions de la Bell Telephone Association, "j'avais donné en gage à la Banque une partie de ses billets… Un nouveau mandat à la Banque m'a contraint à reprendre non seulement ces actions, mais aussi les billets, affirmant qu'il n'avait aucune capacité financière et que le Président ne permettrait pas au Contrôleur « de trouver de telles choses dans sa banque », comme il l'a exprimé laconiquement".
Une telle situation, c'est le moins qu'on puisse dire, a déçu Thomas Sanders. L'une des raisons pour lesquelles il accepta Hubbard comme partenaire à part entière dans les inventions de Bell était que Hubbard avait été « présenté… comme un homme fortuné, influent et qui nous serait d'une grande aide pour optimiser l'utilisation de nos biens ». Une fois les premières étapes du développement du téléphone terminées, seul Sanders avait fourni les fonds. Pourtant, il continua d'assurer, avec son crédit et son argent, le respect de ses obligations financières jusqu'à ce qu'il puisse être relevé de ses fonctions. Après avoir subi les rigueurs de la gestion des finances de l'entreprise avec une trésorerie presque vide, il regretta sa décision initiale. Il écrivit à Bell : « Si j'avais su dès le départ qu'il [Hubbard] était totalement incapable de payer les dépenses de l'entreprise, j'aurais immédiatement mis fin à toute l'activité, ce que j'aurais fait en refusant de payer les factures. »
Le crédit de Sanders était meilleur que celui de Hubbard, mais avec le temps, il lui devint plus difficile non seulement de lever des fonds, mais aussi de les consacrer à la compagnie de téléphone Bell.
La crédibilité de Sanders reposait en grande partie sur son entreprise de maroquinerie à Haverhill, dans le Massachusetts, mais elle lui permettait également de lever des fonds. Ainsi, alors même que Sanders avançait 2 500 dollars de sa poche à Charles Williams, il informait Hubbard que cette entreprise de maroquinerie nécessiterait la totalité de ses liquidités ce même mois.
Sanders était découragé quant à ses chances d’obtenir un prêt de sa banque. Il désespérait de formuler cette demande, car elle nécessitait de nombreuses explications sur « une nouveauté : le téléphone » à un groupe de gentlemen conservateurs. Bien que les responsables de la banque aient indiqué qu'ils pensaient que le téléphone était une bonne chose et que l'entreprise en tirerait profit, ils n'étaient pas disposés à prêter de l'argent en utilisant le brevet comme garantie. Les banquiers ne considéraient pas le brevet comme une garantie suffisante face à la réitération constante de nos ennemis selon laquelle l'Union européenne nous ferait rapidement disparaître du brevet et de tout le reste. La banque était prête à prêter à Sanders entre dix et vingt mille dollars sur son « papier commercial à nom unique ». Sanders pouvait utiliser ces fonds comme bon lui semblait, mais la banque n'a pas considéré le téléphone comme un moyen de renforcer son crédit.
En février 1878, la menace de concurrence de Western Union rendait non seulement difficile l'attraction d'investisseurs potentiels et la gestion de l'activité téléphonique, mais commençait également à miner le crédit de Sanders.
"Mon entreprise (Sanders) a souffert, c'est-à-dire que mes titres ont été mis sur le marché à un prix élevé, du sentiment d'être largement intéressé par une entreprise fragile, et il faudra tout l'argent que j'ai avancé à Bell Co pour gérer l'entreprise à laquelle il appartient légitimement".
Sanders finit par obtenir un prêt, de son propre chef, mais se sentit obligé de rappeler à Hubbard qu'il ne pouvait pas se permettre de le céder à la compagnie de téléphone, mais qu'il en avait besoin pour sa propre entreprise. Une fois de plus, Sanders fit appel à Hubbard : « Pourriez-vous obtenir le renouvellement de notre billet de 2 500 $ arrivant à échéance ? J'ai dû utiliser 4 000 $ sur les 12 000 $ que j'ai avancés pour acheter mes billets et j'en ai besoin de plus pour soutenir mon entreprise.»
En réponse aux plaintes et aux propositions constantes de Sanders pour lever des fonds, Hubbard suggéra à Sanders de fermer son entreprise, d'investir les bénéfices dans la téléphonie et d'en faire l'œuvre de sa vie. S'il acceptait, il percevrait un salaire et des intérêts sur son argent égaux à ceux de son commerce de cuir. Si Sanders refusait, Hubbard suggéra qu'il serait judicieux de chercher un nouveau trésorier capable de fournir les fonds nécessaires. Dans un post-scriptum, il ajoutait : « Il me semble que l'affaire a déjà pris de telles proportions qu'elle devrait avoir toute l'attention d'un trésorier compétent.
Les critiques de Hubbard étaient injustes compte tenu des sacrifices de Sanders au nom de la Bell Telephone Company.
En mai 1878, Sanders avait suivi le conseil de Hubbard, pris des dispositions pour fermer son entreprise de maroquinerie et avait engagé tout son crédit et ses compétences envers la compagnie.
Le refus de Hubbard de tenir compte des propositions de Sanders de créer une nouvelle société dotée d'un capital reposait sur la théorie selon laquelle les revenus de la société fourniraient tous les fonds nécessaires et que les détenteurs de brevets n'auraient pas à sacrifier une quelconque partie de leurs intérêts dans la société. Mais comme l'a noté Sanders : « Théoriquement, c'était vrai, en pratique, j'ai été obligé de fournir l'équivalent de 30 000 $. » En réalité, cette théorie était inapplicable, car le recouvrement des coûts de production des téléphones ne se ferait que sur une période prolongée, en raison de la politique de location plutôt que de vente des instruments. Cependant, Hubbard, à juste titre, pensait que sa théorie fonctionnerait, car la demande de téléphones augmentait et que les revenus locatifs augmentaient en conséquence. Les recettes de la Bell Telephone Company sont passées de 383 $ en août 1877 à 4 682 $ en janvier 1878. Durant cette période de six mois, les loyers ont doublé, passant de 1 626,48 $ en octobre à 3 272,57 $ en novembre. Ainsi, en évaluant la situation de la Bell Company, Hubbard a conclu :
"Nous devenons plus forts chaque jour et devrions bientôt être en mesure d'affronter nos ennemis, à condition que nos amis nous aident au lieu de nous gêner. D'après ce que je comprends, nous pouvons désormais collecter suffisamment d'argent pour payer nos dépenses quotidiennes (ou presque), à condition d'exiger un prépaiement pour chaque appel téléphonique et téléphonique".
Bien que la demande d'instruments ait augmenté plus rapidement que ne l'espérait Hubbard, l'augmentation n'a pas été uniforme. Le nombre d'instruments expédiés aux agents (reflétant probablement dans une certaine mesure la demande) a fluctué d'un mois à l'autre. En décembre 1877, un total de 153 instruments a été expédié : en janvier, le nombre est tombé à 1 013, pour remonter à 1 235 en février et 1 231 en mars, puis à 839 en avril et 731 en mai. Le nombre de téléphones livrés a temporairement augmenté pour atteindre 1 202 en juin, puis est retombé à 914 en juillet, dernier mois de l'existence active de Bell Telephone en tant qu'« association volontaire ». Le nombre de nouvelles installations a diminué, tout comme les locations de l'entreprise. Par exemple, après avoir atteint un sommet de 4 682,17 $ en janvier, les recettes ont chuté à 1 804,97 $ en février.
Cette situation reflétait peut-être l'effet de la concurrence croissante de Western Union, mais plus probablement le fait que l'intérêt et la demande pour le téléphone étaient en baisse, contrairement à l'intérêt et à la demande extraordinaires de la période précédente. Les agents devaient désormais redoubler d'efforts pour gérer leurs téléphones. Face à cette situation, Sanders a été contraint de réduire ses effectifs.
Le 18 janvier 1878, il licencia douze hommes, se plaignant de recevoir peu d'argent des agents et de n'avoir « aucun ordre à proprement parler depuis le 1er janvier ».
La situation persistant, il prédit :
"La faillite totale de l'entreprise est inévitable si nous ne parvenons pas à nous procurer de l'argent. Nos agents sont paralysés dans tout le pays, et il semble qu'il n'y ait aucune possibilité d'obtenir de l'argent d'eux. Williams appelle quotidiennement des milliers de personnes, et si, en plus, nous devons payer des avocats (en référence à la possibilité d'intenter une action en justice contre la Western Union), d'où viendra l'argent ? Mais pas pour emprunter de l'argent pour l'avenir, avec quoi vais-je payer Williams et moi-même aujourd'hui ? Je dois arrêter la fabrication de téléphones si aucun arrangement n'est trouvé pour les payer".
Étant donné son optimisme, Hubbard a réagi comme on pouvait s'y attendre. Là où Sanders voyait des raisons d'être déprimé, Hubbard trouvait des raisons d'être optimiste. Il a noté que l'entreprise possédait dix mille instruments qui, bien que pouvant désormais être reproduits à un prix inférieur à leur prix d'origine, représentaient une expérience précieuse. Ni Western Union ni aucune autre entreprise ne pouvait reproduire de tels instruments à un prix inférieur à leur coût d'origine, faute d'expérience. La Bell Telephone Company disposait d'un loyer annuel net de 36 000 $ pour les téléphones, ainsi que d'autres actifs de valeur. Selon Hubbard, tous ces succès avaient été obtenus en moins d'un an, et il doutait qu'un tel exemple puisse être observé dans tout le pays pendant une période aussi longue.
Là où Anderson prétendait que les agents de l'entreprise étaient « paralysés » et dans un état de « stagnation désespérée », Hubbard soutenait que l'entreprise se portait mieux qu'elle ne l'avait jamais fait. Il a affirmé que les commandes de février étaient plus importantes que celles de tout autre mois depuis que la société était en activité.
Il ne s'agissait pas de commandes anticipées, mais d'une demande régulière d'agents qui savaient qu'ils devaient payer l'avance avant de pouvoir recevoir les instruments.
Hubbard avait prédit que la demande pour mars et avril serait plus importante que pour février, notant également que la menace d'une concurrence du syndicat des femmes avait effectivement incité les agents de Bell à agir. Tout en reconnaissant la contribution de Sanders à l'entreprise, Hubbard a néanmoins regretté la décision de Sanders de prendre la direction de l'entreprise car, a-t-il écrit :
" Je pense que la principale difficulté vient de vous-même, car l'entreprise doit de l'argent et n'a pas de trésorerie.
Vous pensez que l'entreprise est une « entreprise fragile » et je sais que vous devez exprimer le même sentiment auprès de vos interlocuteurs. Par conséquent, ils pensent qu'il s'agit d'une entreprise fragile, car c'est votre cas, et par conséquent, votre crédibilité et celle de l'entreprise sont compromises. Je ne peux m'empêcher de penser que tout cela aurait pu être évité, que l'entreprise aurait pu être maintenue relativement facilement et que son crédit aurait été préservé. Non,.. si une autre voie avait été suivie".
Les prévisions optimistes de Hubbard n'étaient pas entièrement justifiées. La demande pour mars et avril, telle que reflétée par le nombre de téléphones livrés aux agents de Bell, n'était pas supérieure à celle de février. En fait, le nombre total d'instruments livrés en avril était inférieur de quatre cents à celui du 2 février. La critique de Hubbard concernant la capacité de Sanders à obtenir du crédit pour l'entreprise semble étrange, voire injuste, venant d'un homme dont la propre cote de crédit était peu souhaitable et dont le propre frère écrirait à son sujet :
"J'ai fait tout ce qui était en mon pouvoir pour que votre papier soit décompté pour vous pendant plusieurs années et vous ne saurez jamais ce que cela a représenté pour moi de le faire… J'ai confiance que vous réunirez suffisamment d'argent pour payer vos dettes et vivre de vos revenus – et si quelque chose sort du téléphone, mettez-le de côté pour rembourser vos hypothèques".
La Bell Company n'a pas pu utiliser ses recettes actuelles pour s'acquitter de ses obligations, non seulement en raison de la baisse de la demande et des loyers, mais aussi parce que le système censé rendre cela possible ne fonctionnait pas efficacement. Sanders avait effectivement raison lorsqu'il a constaté une différence entre la théorie et son application.
Conformément aux politiques de l'entreprise, chaque agent était tenu de verser un acompte partiel sur tous les téléphones et les sonneries d'appel magnétiques reçus.
Par ses instructions aux agents, la compagnie de téléphone Bell a également ordonné à ses agents de payer les loyers à l'avance. Désormais, chaque agent était tenu personnellement responsable de tous les loyers non perçus dans les trente jours suivant la réception des appels téléphoniques. Chaque agent était également tenu de conserver un nombre suffisant d'instruments à disposition pour approvisionner les clients sans délai. Cette exigence était intéressante si l'on considère que la principale plainte des agents durant cette période résidait dans leur incapacité à obtenir l'exécution rapide de leurs commandes, mais son intention devient claire lorsqu'on apprend également qu'un agent a dû payer une avance de 2 $ par appel téléphonique et de 3 $ par appel téléphonique. Par l'instruction n° 2, la compagnie de téléphone Bell a expliqué qu'elle ne pouvait pas considérer comme personne apte à agir en tant qu'agent ou sous-agent toute personne qui ne pouvait pas payer l'avance requise pour un nombre suffisant d'instruments permettant d'exécuter les commandes sans délai.
À l'origine, c'était un système très ingénieux, appliqué même au point où la compagnie Bell envoyait un projet d'avance, payable trois jours après la date de la visite, avec chaque facture d'instruments envoyée aux agents. Mais il y avait une confusion et une opposition considérables parmi les agents. Par exemple, lors de l'établissement de la liste des actifs de la société Bell, Sanders était incertain quant à la manière de traiter une agence particulière, car : " il existe un doute concernant tous les agents, ils peuvent à tout moment refuser de payer l'avance ou le loyer et prétendre que les instruments sont devenus si courants par d'autres sources qu'ils ne souhaitent pas poursuivre l'agence".
Il y avait une autre raison à l'échec du projet de Hubbard, que Sanders considérait comme primordiale. Il était naturellement en désaccord avec l'analyse de Hubbard selon laquelle les difficultés financières de l'entreprise étaient dues à sa conduite en tant que trésorier. Selon Sanders, le problème de la collecte d'argent auprès des agents résultait du fait que Hubbard lui ordonnait fréquemment d'agir contrairement à son propre jugement. Autrement dit, Hubbard contrevenait fréquemment aux ordres de Sanders et lui ordonnait d'envoyer des instruments, le moyen par lequel Sanders devait avancer sur ses propres fonds, à des agents qu'il jugeait indignes.
Sanders affirmait :
Je ne devrais pas être tenu responsable de la gestion financière d'une entreprise dont je n'ai le contrôle que sur un seul aspect… Ne voyez-vous pas l'injustice de me rendre responsable de ce que je ne peux absolument pas faire, à moins que je refuse d'exécuter vos ordres ? Ce qu'il nous faut faire maintenant, c'est ne pas regarder en arrière, ne pas facturer ni l'un ni l'autre. Nous sommes accusés de mauvaise gestion, mais pour être honnêtes et prendre les meilleurs moyens pour nous en sortir, Hubbard a reconnu que si les agents ne respectaient pas la politique de l'entreprise concernant les avances et les loyers, et si les dépenses dépassaient les revenus courants, « nous ne pouvions nous en prendre qu'à nous-mêmes ». Mais il a continué à s'ingérer dans la gestion de la trésorerie par Sanders. Sanders a écrit à Hubbard :
Je ne peux pas imposer de règlements lorsque les parties estiment que le recours final vous appartient. Vous ne permettez pas aux agents de comprendre quels sont mes pouvoirs. Beaucoup d'argent pourrait être collecté si vous les émettez. Une circulaire informait spécifiquement tous les agents que la gestion financière était entre mes mains, sous réserve de contrats, et que ma demande d'argent devait être prise en compte. Les relations financières de Sanders avec les agents étaient certes contraignantes, mais elles se sont parfois révélées très bénéfiques, comme pour Thomas Cornish de Philadelphie. Peu après sa nomination comme agent, Cornish s'est engagé à faire tout son possible pour aider financièrement la Bell Company. Il a effectué ses paiements à temps et a même avancé des sommes importantes à la société. « Je vous ai maintenant envoyé 2 000 $… Si vous êtes toujours à court d'argent, faites-le-moi savoir. Vous pouvez compter sur moi pour tout ce qui est en mon pouvoir, pour vous et pour le téléphone. » Thomas Sanders a rarement pu s'exprimer comme il l'a fait lorsqu'il a écrit à Cornish : « Je vous suis très redevable pour la libéralité de vos avances à l'ancienne société et si ce n'était pas pour quelques cas de ce genre, j'aurais été soumis à un inconvénient personnel bien plus grand. Veuillez accepter mes remerciements.
L'ingérence de Hubbard dans l'autorité et la responsabilité de Sanders semble avoir été une habitude courante. Elle a non seulement aggravé les difficultés de Sanders, mais a également contribué à la confusion des agents, notamment en ce qui concerne les contrats, les conditions, etc.
Conformément aux statuts de la Bell Telephone Company, le fiduciaire a reçu la Il assurait la gestion générale et la supervision de toutes les entreprises, et était habilité à exécuter tous les contrats soumis au conseil d'administration. Sanders, en tant que trésorier, devait superviser et faire respecter tous ces contrats et baux. Cependant, Hubbard avait pour habitude de se contenter de présenter aux défendeurs les contrats terminés et d'exiger une exécution rapide des commandes. Il a d'abord mis en œuvre ses propres plans. t and th sn a consulté Sanders par la suite. Hubbard a même ignoré l'exigence de l'entreprise de placer des copies des contrats signés dans les archives du Trésor Sanders. Ainsi, Sanders s'est plaint :
Ce ne serait pas trop demander si vous pouviez au moins nous envoyer une copie de chaque contrat après sa signature. Il faut que nous ayons un certain consensus et il semble juste que, dans le cadre de notre conformité à nos règlements, des questions aussi importantes soient soumises à notre attention à tous.
Hubbard a souscrit aux critiques des défenseurs et a promis d'essayer de lui soumettre les projets de contrats avant leur signature. Il a écrit : « Vous devriez être consulté, car vos droits et intérêts sont les mêmes que les miens. J'ai signé les contrats généraux sans vous les soumettre, car je supposais que nous étions globalement d'accord. »
Par souci d'équité envers Gardiner Hubbard, il convient de noter qu'au moins à une occasion importante, Sanders s'est rendu coupable de ne pas l'avoir consulté. Fin décembre 1877, alors qu'il négociait avec les organisateurs de la New England Telephone Company, Sanders modifia de sa propre autorité certaines dispositions importantes du contrat sans en informer Hubbard. Constatant un fait accompli et motivé par d'autres considérations, Hubbard accepta les modifications. Ce faisant, il a expliqué :
"J'ai confiance qu'un tel conflit ne surviendra pas et qu'aucun de nous n'interférera avec le Département. Je comprends que M. Watson se rend au service de fabrication, au service financier et que je conclus tous les contrats avec les agents, les entreprises et autres personnes concernant l'intérêt général des brevets. Chacun communique avec l'autre avant de conclure tout contrat important".
Sanders a reconnu le bien-fondé de la réprimande de Hubbard, mais a défendu son action en affirmant que « l'un des objectifs a été la promotion de nos intérêts communs ».
Bien que cet incident ait amené Hubbard à entretenir une suspicion persistante à l'égard de l'organisation de la New England Telephone Company, Sanders ne semble pas avoir agi régulièrement à l'insu ou sans le consentement de Hubbard dans des affaires officielles. Hubbard, d'autre part, était enclin à agir de manière indépendante. Ila expliqué sa raison à Bell : « En tant qu'administrateur de Bell Tel & Co avant le 1er juillet, je représente les deux tiers des actions de la société. « Je n'ai pas consulté les défenseurs aussi complètement que j'aurais dû le faire. »
Un certain nombre de politiques de brevets de Bell résultaient de leurs lacunes financières. Les avances que les agents étaient tenus de verser étaient nécessaires pour couvrir les coûts quotidiens de fabrication et autres dépenses. Le recours à des agents locaux rémunérés à la commission était également motivé en partie par le manque de fonds des titulaires de brevets. Ces agents pouvaient exploiter le téléphone à titre complémentaire ou dans le cadre d'autres activités, sans que les titulaires de brevets soient responsables de leurs dépenses. La compagnie de téléphone Bell ne disposant pas de fonds suffisants, elle a obtenu sa licence. Ils devaient construire et exploiter même les précieux systèmes d'échange.
Dans une large mesure, bon nombre des politiques mises en place et poursuivies par la Bell Telephone Company répondaient à ses limitations financières.
Sanders était particulièrement sensible à la divulgation de toute information sur la situation financière de l'entreprise.
Cependant, après avoir persuadé Hubbard d'accepter de réorganiser l'entreprise, Avec de nouveaux capitaux, il est devenu nécessaire de fournir des informations aux investisseurs potentiels. Naturellement, Sanders a tenté de présenter les finances de l'entreprise sous le meilleur jour possible, allant même jusqu'à manipuler les chiffres. Les silhouettes chauves ont une si mauvaise mine que c'est l'une des raisons pour lesquelles j'ai pensé qu'il valait mieux inviter vos partenaires à venir à Boston, où ces questions pourraient être expliquées et où la nécessité de les montrer pourrait être évitée jusqu'à ce que les choses progressent davantage. Sa réticence à être franc résultait de sa conviction que trop d'informations entre de mauvaises mains pourraient mettre en danger la compagnie de téléphone Bell, ainsi que sa fortune et son crédit.
Hubbard et Sanders étaient disposés à voir la situation de l’entreprise différemment à tout moment en raison de leurs personnalités et tempéraments opposés. Les opinions de Sanders étaient largement influencées par ses intérêts financiers dans le téléphone, tandis que celles de Hubbard étaient largement influencées par son optimisme. Ainsi, en mai 1878, lorsque Sanders se plaignit que Hubbard n'avait aucune idée de la « situation déplorable » de l'entreprise, Hubbard répondit : « Je ne vois pas comment nos finances pourraient être dans un état particulièrement déplorable. »
Même lorsque les deux partenaires ont examiné les mêmes dossiers et sont arrivés à des conclusions opposées. Hubbard a contredit l'évaluation de Sanders sur les activités de la société pour février et mars. Il était convaincu que les comptes démontraient clairement l'inexactitude de la conclusion de Sanders selon laquelle les activités étaient paralysées. Sanders a rétorqué :
Vous pouvez bien sûr tirer les conclusions que vous souhaitez des chiffres et peindre un tableau aussi rose que votre imagination le suggère, mais le fait persistant, comme je l'ai toujours dit, demeure que nous devons entre 20 000 et 25 000 dollars sans aucun actif certain. Le pessimisme de Sanders l'a parfois contraint à faire des déclarations financières qu'il jugeait fausses :
M. Cheever est, je pense, suffisamment conscient de notre faiblesse financière pour ne pas la rendre souhaitable. J'ai donc fait un détour et lui ai menti en prétendant qu'il ne pensait pas que nous étions en faillite. J'espère qu'on me pardonnera les nombreuses déclarations hautes en couleur que j'ai constamment été obligé de faire pour maintenir un semblant de solidité.
Hubbard n'était pas d'accord. Un examen des comptes de la société confirmait effectivement la déclaration de Sanders à Cheever selon laquelle les loyers arrivaient suffisamment vite pour couvrir les dépenses courantes. Sanders n'avait donc pas menti. Une grande partie des difficultés rencontrées par les agents résultait de leur incapacité, parfois, à recevoir des informations claires et actualisées de leur société mère à Boston. La Bell Telephone Company en était en partie responsable, car sa direction était surchargée et divisée.
Thomas Watson était le pilier de la direction de la Bell Company. En tant que surintendant, il était principalement chargé de superviser la fabrication des instruments et de perfectionner le matériel téléphonique. Il était assisté dans ces tâches par Edward Wilson, probablement un employé de Charles Williams. Les fonctions de Watson ne se limitaient pas aux aspects techniques de la téléphonie.
En tant qu'associé de la Bell Telephone Company, d'autres tâches de gestion lui incombaient. Jusqu'en août 1877, il était responsable de la comptabilité de la société. Robert W. Devonshire fut ensuite engagé pour prendre en charge cette partie des affaires de la société. Une grande partie de la gestion quotidienne de l'entreprise restait sous la responsabilité de Watson, désormais partagée avec Devonshire. La lourde charge de travail de Watson s'expliquait par la répartition géographique des directeurs généraux de l'entreprise.
Son directeur général, Gardiner Hubbard, était principalement en poste à Washington, D.C., lorsqu'il n'était pas en mission d'inspection pour la Railway Mail Commission ou pour la compagnie de téléphone. Hubbard ne venait à Boston qu'occasionnellement. Le directeur financier, Thomas Sanders, était en partie occupé par son entreprise de maroquinerie à Haverhill, où il résidait. Il faisait fréquemment la navette jusqu'à Boston. Par conséquent, comme Watson était à Boston tous les jours, à l'exception de ses visites d'inspection occasionnelles, il est devenu le partenaire idéal pour effectuer les tâches de gestion quotidiennes.
Il nous incombait donc, à lui [Watson] et à moi, de nous occuper de la fabrication, des essais et de l'expédition des téléphones et des magnéto-sonneries, de la comptabilité, de la correspondance et de tout ce qui se présentait. Toutes les lettres d'information sur les téléphones et les sonnettes d'appel étaient adressées au surintendant général, et comme nous n'avions ni sténographe, ni dactylo, ni machine à tabuler, nous étions contraints de rédiger nos lettres, nos rapports, nos relevés, etc. à la main.
Cette division géographique compliquait naturellement le fonctionnement et la gestion de l'activité téléphonique. Par exemple, un agent a été chargé de surveiller attentivement les infractions et de les signaler à la société de Boston et à Hubbard de Washington. Une telle procédure était difficilement calculable pour favoriser la rapidité et l'efficacité. Watson, qui s'acquittait de ces nombreuses tâches, a exprimé le souhait que Hubbard et lui puissent s'entretenir quotidiennement. « Cela me donnerait une grande satisfaction et je pense que nous ferions davantage de progrès. »
Même la question cruciale de la réorganisation de Bell Telephone Company en société par actions a été retardée et compliquée par la séparation géographique des directeurs généraux de l'entreprise. Charles Eustis Hubbard a décrit succinctement cet état de fait lorsqu'il a écrit : « Il est parfaitement absurde de tenter de gérer une telle entreprise avec vous à Washington, occupé à d'autres affaires et M. Sanders à sa propre entreprise en plus de celle-ci. Il aurait fallu deux hommes forts consacrant tout leur temps, l'un aux finances, l'autre à la gestion générale. » Il est devenu évident que l'activité de l'entreprise était a déclaré qu'un directeur commercial était nécessaire.
Il est devenu évident, à mesure que l'activité de l'entreprise augmentait, qu'un directeur commercial était nécessaire. Lorsque Watson informa Hubbard que « le générateur Watson était surchargé de travail », Hubbard répondit qu'il connaissait l'homme idéal pour assumer la direction générale de l'entreprise, « une machine à vapeur de mille chevaux gaspillant ses compétences au sein du service postal ferroviaire des États-Unis ». Hubbard faisait référence à Theodore U. Vail, surintendant du service postal ferroviaire, qu'il avait appris à bien connaître en tant que membre de la commission du Congrès chargée d'enquêter sur le service postal ferroviaire. Lors d'une de ses tournées d'inspection, Watson s'est arrêté à Washington, a évalué Vail et a télégraphié à Boston son approbation et sa recommandation de l'embaucher.
La décision d'embaucher Vail pour superviser la direction générale de la Bell Telephone Company constitue un autre exemple des différences de personnalité et de style de gestion entre Gardiner Hubbard et Thomas Sanders.
La réticence de Vail à quitter la fonction publique a été surmontée lorsque le Congrès a jugé nécessaire d'en débattre. les mérites de son allocation quotidienne de 5 $.
Bien que le Congrès n'ait pas décidé de le réduire, Vail a apparemment conclu qu'il y avait peu d'espoir de progrès en matière politique.
Hubbard a proposé à Vail un poste auprès de la Bell Telephone Company au moment même où des négociations étaient menées pour réorganiser la société et sécuriser les fonds des capitaux intéressés. Vail hésitait à se joindre aux intérêts de Bell à ce moment-là, craignant comme il le faisait qu'un accord avec l'organisation actuelle ne contienne pas de garanties suffisantes si la nouvelle société concluait un accord avec Western Union. Vail n'était pas différent de nombreux agents de la Bell Company qui exprimaient des craintes quant à leur avenir si un accord était conclu avec Western Union. Hubbard a jugé imprudent d'attendre la réorganisation de l'entreprise, car cela ferait perdre beaucoup de temps précieux. Il a donc exhorté Vail à accepter immédiatement son offre et, ce faisant, il a peut-être agi sans le consentement de Sanders, puisque Sanders avait auparavant insisté pour que Vail soit embauché plus tard.
Hubbard a décrit les conditions d'emploi de Vail dans une lettre à Sanders, que ce dernier devait transmettre à Vail s'il approuvait. Dans cette lettre, Hubbard a d'abord abordé l'historique financier de la Bell Telephone Company et ses récents accords avec la New England Telephone Company. Il a ensuite proposé d'embaucher Vail comme surintendant général, avec un salaire de départ de 3 500 $ par an, plus une indemnité de déplacement, et étant entendu que si l'entreprise de téléphonie continuait de prospérer, le salaire de Vail serait porté à 5 000 $. Sanders a jugé la lettre de Hubbard inacceptable et a rédigé sa propre version. Il a omis les points dont il estimait que Hubbard était certain qu'ils n'avaient pas leur place dans un contrat commercial. La sensibilité de Sanders concernant les révélations financières de Hubbard est redevenue évidente : « Je pense que nous nous en remettons trop à lui, et bien que je ne puisse pas lui cacher quoi que ce soit qu’il soit dans mon intérêt de savoir, je pense qu’il n’est pas nécessaire de lui exposer nos conditions ni d’entrer dans des détails qui ne le concernent pas directement. »
Par conséquent, dans son projet de lettre à Vail, Sanders a omis toute référence aux conditions et arrangements financiers de la Bell Company.
Sanders était également préoccupé par les termes de l'offre salariale de Hubbard.
Dans son projet, Sanders a proposé à Vail un salaire de 2 500 $ par an, plus des frais de déplacement ne dépassant pas 5 $ par jour, étant entendu que lorsque l’entreprise le justifierait, le salaire de Vail serait augmenté à 5 000 $. Dans un post-scriptum, il a ajouté : « Si les tâches de votre bureau sont accomplies de manière satisfaisante, nous acceptons de vous verser la somme de 1 000 $, en plus de ce qui précède, à la fin de la première année. »
Sanders a expliqué à Hubbard qu'il avait énoncé les termes du salaire de Vail de cette manière parce qu'il lui semblait « plutôt indigne de lui proposer des incitations pour le pousser à accepter une augmentation de 1 000 $ par an ». Sanders pensait que Vail recevait actuellement un salaire de 2 500 $ et 5 $ par jour du gouvernement. Hubbard a reconnu qu'il s'agissait bien des termes du salaire gouvernemental de Vail, comme il le lui avait précédemment informé, mais en fait, Vail a gagné 4 325 $, a dépensé environ 800 $ en dépenses et a donc reçu un salaire net de 3 500 $. De toute évidence, Vail n'envisagerait pas d'accepter un poste téléphonique pour un salaire inférieur à son salaire actuel et à la promesse d'une augmentation à 5 000 $ si l'entreprise le justifiait. Il ne fait aucun doute que l'offre de la compagnie Bell devait être suffisamment généreuse pour compenser l'offre du directeur général des Postes d'accorder à Vail un congé de six mois et de l'envoyer en Europe pour une tournée d'inspection. Hubbard écrivait :
L'envoi de votre lettre le blesserait, car il implique une méfiance et une crainte de ne pas être satisfait de ses services. Si je ne l'avais pas fait, j'aurais immédiatement décliné le poste et je n'ai aucun doute qu'il le ferait.
Le point de vue de Hubbard était probablement correct, puisque la décision de Vail de quitter le service postal était le résultat de ce qu'il considérait comme un traitement injuste qui lui avait été accordé par le Congrès.
L'offre salariale de Sanders reflétait le fait que l'entreprise était « à court d'argent ». En effet, il essayait d'offrir à Vail le moins possible. Après que les conditions salariales de Vail eurent été fixées selon les suggestions de Hubbard, Sanders écrivit :
Je suis aussi impatient que vous de m'assurer les services de M. Vail, mais je ne voulais pas qu'il pense que nous étions si entièrement dépendants de lui. Je suis convaincu que ce salaire est assez modeste, mais je ne sais pas vraiment d'où il vient.
En acceptant l'offre de Bell Company, Vail a modifié les conditions, sous réserve de l'accord de l'entreprise, de sorte que ce salaire serait de « 3 500 $ la première année et de 5 000 $ l'année suivante si l'entreprise le justifiait, au lieu de 5 000 $ lorsque l'entreprise le justifiait. » Il a expliqué que les 3 500 $ étaient en fait inférieurs à son salaire actuel, mais que sa foi dans le succès de l'entreprise de téléphonie était telle qu'il était prêt à lui faire confiance. « Si l'entreprise ne justifie pas ce salaire dans une autre année, elle ne le justifiera jamais. » Malgré la confiance de Vail, il a demandé une garantie lui fournissant deux ans de service afin de couvrir l'éventualité d'une consolidation avec des sociétés rivales, ce qui, selon lui, se produirait sûrement si la société Bell réussissait.
Les défenseurs, pourtant prudents, ont convenu que la modification de salaire de Vail était raisonnable, mais étant donné que la société était sur le point d'être réorganisée, il a estimé nécessaire de consulter Hubbard. Lorsque Hubbard a informé Sanders qu'en conséquence après ce retard, Vail sentit qu'on se moquait de lui et que toute l'affaire allait être rouverte. Sanders approuva rapidement le nouveau contrat. Il expliqua :
"Je tenais simplement à vous préciser que tout dépendait entièrement du succès de la Société et que, bien que légalement responsable des dettes de la Société, je ne souhaitais donner à personne l'assurance que, quelles que soient les circonstances, je Je veillerais à l'exécution du contrat. J'ai simplement défini ma position au sein de la compagnie".
Par conséquent, tous les changements apportés par Vail furent intégrés par Hubbard et Sanders dans un protocole d'accord daté du 20 juin 1878.
Le 20 juillet, lors de la première réunion des directeurs de la nouvelle Bell Telephone Company, Theodore N. Vail fut dûment élu directeur général, bien qu'il ait déjà pris ses nouvelles fonctions. Malgré les désaccords profonds entre Fender et Hubbard sur les détails de l'emploi de Vail, tous deux étaient désireux de s'assurer ses talents pour le développement de l'activité téléphonique.
Tous deux étaient impatients de le voir consacrer ses compétences à l'organisation d'agences efficaces et de systèmes téléphoniques de district dans les principales villes du pays. Hubbard a déclaré à Vail : « Nous comptons sur votre capacité exécutive, votre fidélité et votre zèle inlassable, à un grand degré, pour le succès de notre entreprise. »
C'est ainsi que commença la longue et prestigieuse carrière de Theodora N. Vail, qui était censée apporter unité et direction de la gestion de la Bell Telephone Company. Les contributions de Vail aux intérêts de Bell furent variées et nombreuses, mais aucune ne fut plus importante que ses efforts pour contribuer à façonner l'organisation de la compagnie.
En effet, les contributions de Vail aux intérêts de Bell furent si importantes qu'un historien de la compagnie considérait Hubbard comme le plus grand. « Notre contribution a été de sécuriser les services de Vail pour le téléphone. » Les circonstances entourant l'embauche de Vail incarnaient le conflit de personnalités et de tempéraments entre Thomas Sanders et Gardiner G. Hubbard, et caractérisaient également, dans une large mesure, le fonctionnement de la Bell Telephone Company sous leur direction.
Plus tard, Watson a fait l'éloge de Thomas Sanders, le qualifiant d'homme « courageux et optimiste », et estimait que tous ceux qui étaient liés au téléphone étaient voués à l'échec. Je pensais que Sanders n'avait pas été un homme conservateur, car s'il l'avait été, il n'aurait jamais risqué sa fortune pour elle.
Si l'on accepte la version de Sanders de sa libéralité financière, la philosophie des affaires n'y est pour rien. Ayant pris son engagement financier envers le téléphone, il ne pouvait plus s'en retirer, mais était contraint de poursuivre son aide afin de protéger cet investissement. « Le souvenir ultérieur de Watson auprès des défenseurs était celui d'un individu joyeux et encourageant ; » Le jovial Tom Sanders ! Comme tout le monde l'aimait ! Même si les perspectives étaient décourageantes, le ciel s'est éclairci lorsqu'il est entré dans la boutique. Je peux entendre son rire résonnant maintenant !
Les souvenirs de Watson démentent les véritables sentiments de Sanders, comme l'indique sa correspondance avec Hubbard. Son récit, cependant, tend à confirmer le déni de Sanders selon lequel il aurait transmis son sentiment de désespoir et de tristesse aux personnes qu'il a rencontrées, et serait donc responsable des mauvaises perspectives financières de l'entreprise.
"En réponse à ce que vous [Hubbard] dites concernant mon opinion pessimiste sur… En tant qu'homme d'affaires, je ne peux que vous supplier de me croire lorsque je dis que je n'ai donné aucune raison extérieure de penser que je considérais le présent ou l'avenir de la B.T. Co. autrement que comme brillant".
Watson se souvenait de Hubbard comme d'un homme calme et serein en temps de crise. Hubbard dégageait une telle confiance que Watson le croyait capable de gérer l'entreprise. La confiance et l'optimisme de Hubbard contrastaient véritablement avec l'insécurité de Sanders. La caractérisation de Hubbard par Watson concorde avec celle de A. W. Rose, un employé de la Compagnie de téléphone de New York.
Lui (Sanders) et Hubbard avaient de petites disputes.
J'ai entendu Sanders lui dire une fois de se mêler de ses affaires. Il n'a rien répondu. Il était toujours digne. Il ne perdait jamais son sang-froid. Ils se disputaient souvent. Malgré les différences de tempérament, malgré les critiques mutuelles de la conduite de chacun dans ses fonctions, c'est-à-dire le regret de Hubbard que Sanders ait assumé le poste de trésorier, et l'affirmation de Sanders selon laquelle Hubbard n'était pas un homme d'affaires et ne prétendait pas l'être, les deux hommes restèrent en bons termes. Tous deux ont appelé à la fin des récriminations mutuelles et à un regard neuf sur leurs problèmes et les solutions possibles. L'âge de la réconciliation semblait apparaître chaque fois que les différences devenaient trop grandes. Hubbard écrivait à Sanders : « Vos lettres ont été franches et viriles, et il est absolument nécessaire pour notre succès et notre confort que nous soyons en permanence en parfaite harmonie et que toutes nos relations soient ouvertes et franches. »
Et Sanders pouvait écrire à propos de Hubbard : « Il chérissait la méchanceté », un jugement conforme à une évaluation antérieure selon laquelle Hubbard était généralement considéré comme « juste et honorable ».
Au milieu de leurs critiques, Sanders et Hubbard ont affirmé apprécier les sacrifices et les contributions de l’autre. Il convient de se demander dans quelle mesure Hubbard appréciait les contributions de Sanders, tout en lui attribuant les problèmes financiers de l'entreprise et en commentant : « M. Sanders est un homme aux moyens modestes, et il n'a pu payer ses dépenses réelles que grâce à quelques spéculations fortuites dans son secteur d'activité. » Les intérêts de Bell ont eu la chance que Sanders soit un homme aux moyens tout aussi modestes, car il a dû fournir environ 85 293 $ du 12 janvier 1878 au 29 juillet 1878. Au total, Sanders a avancé 110 000 $ pour les travaux expérimentaux qui ont conduit à l'invention, au développement et à l'application commerciale du téléphone.
« Il a investi 110 000 $ dans le téléphone… deux fois plus que ce que sa promesse lui avait demandé, vingt fois plus que ce qu’il avait initialement envisagé de faire, avant de récupérer un seul dollar. » Si Hubbard n'appréciait pas pleinement la contribution de Sanders, ce dernier semblait reconnaître celle de Hubbard, même s'il ne lui pardonnait pas ses fausses déclarations financières. Sanders préconisait que Hubbard soit nommé président de la Bell Telephone Company, récemment réorganisée, même s'il n'était pas financièrement solide. Sanders reconnaissait les faiblesses d'une telle décision, mais soulignait l'efficacité et la connaissance de Hubbard. Les hommes sont partout dans le pays, et l'expérience ferait plus que contrebalancer cette responsabilité.
« Il [Hubbard] a droit à un grand crédit et mérite mon admiration sans bornes pour la manière énergique, audacieuse et habile dont il a créé des agences et organisé le lancement de l'entreprise. »
Malgré toutes ses difficultés et ses crises financières, la compagnie de téléphone Bell, avec le gardien G. Hubbard comme administrateur et Thomas Sanders, a continué de fonctionner. En tant que trésorier, Sanders a mis fin à son existence active en tant qu'« association bénévole » le 1er août 1878, avec un bénéfice net de 25 000 $ et 12 484 téléphones loués à ses agents et centraux. Un fait peut-être plus important était que les problèmes financiers qui avaient tourmenté Sanders semblaient sur le point d'être résolus avec l'organisation corporative de la Bell Telephone Company.

sommaire

Résumé de la première période :

Alexander Graham Bell, n'était que l'un des nombreux à la fin du XIXe siècle à chercher à accroître la vitesse et l'efficacité des communications, d'une manière ou d'une autre. » D'autres avant lui avaient rêvé de transmettre la parole par voie électrique.
Au cours des années 1870, de nombreux esprits convergeaient vers cet objectif. Bell y parvint le premier. Son exploit fut le résultat d'une conjonction de circonstances et d'événements.
Bell était un jeune homme enthousiaste, ambitieux, intelligent et imaginatif, doté d'une ouïe exceptionnellement fine et d'un sens aigu de la justesse, d'un pianiste de formation, un homme qui connaissait les mécanismes de la parole et de l'ouïe et qui s'intéressait vivement à la télégraphie ; un homme qui vivait dans une société plus avide de communication rapide que quiconque auparavant ; un homme qui avait facilement accès à des scientifiques de premier plan, à des techniciens qualifiés, à une communauté universitaire et à une communauté de capitaux d'entreprise.
En d'autres termes, pour réussir, Bell a dû faire preuve d'un grand enthousiasme et d'une grande motivation pour le soutenir pendant les longues périodes difficiles de la recherche, lorsque les meilleurs théoriciens étaient convaincus que la transmission électrique de la parole était impossible.
Il lui fallait un sens de l'ouïe et de la hauteur aigus pour percevoir et reconnaître les faibles transmissions électriques. Il avait besoin à la fois de renseignements et d'une connaissance approfondie de l'électricité et de la télécommunication.
Enfin, il lui fallait vivre au sein d'une communauté capable de lui fournir d'autres scientifiques et techniciens, ainsi que des bailleurs de fonds prêts à miser leur fortune sur son invention achevée. À l'âge de vingt-cinq ans, Alexander Graham Bell possédait la plupart de ces qualités, et celles qu'il ne possédait pas, il allait bientôt les acquérir. Il avait un enthousiasme naturel pour la recherche scientifique et le désir de récolter les fruits d'une société technologique en plein développement qui financerait une invention accélérant les communications. Il avait le bon sens, formé par sa profession de professeur d'art oratoire. Et Alexander Graham Bell vivait à Boston, haut lieu des ressources intellectuelles et financières. Il était l'homme qu'il fallait au bon moment.
L'une des conditions du succès de Bell, son soutien financier, est né de ses travaux dans le domaine de la communication naturelle.
C'est en tant qu'enseignant auprès des sourds qu'Alexander Graham Bell a rencontré Thomas Sanders et Gardiner G. Hubbard, qui ont par la suite soutenu ses expériences en communication électrique. Bell rencontra le premier de ses futurs bailleurs de fonds, Thomas Sanders, au printemps 1871. Il venait d'arriver du Canada à Boston et enseignait à l'école de jour pour enfants sourds de Boston. Le directeur de l'école avait recommandé Thomas Sanders, un riche marchand de cuir, à son fils sourd, George, qu'il appelait professeur d'état.
Durant l'automne et l'hiver 1871-1872, les deux hommes devinrent des amis intimes, Bell rendant souvent visite à Sanders chez lui.
Comme George Sanders était trop jeune pour fréquenter l'école de jour de Boston, Bell accepta de le prendre en charge comme élève particulier. Par conséquent, en septembre 1872, George partit vivre avec sa nourrice au 35 West Newton Street, à Boston, dans la même pension que Bell. Il y resta tout l'hiver, période durant laquelle son père lui rendit fréquemment visite et découvrit que Bell expérimentait la télégraphie. Ce sont les premières expériences en télégraphie qui ont servi de base à l'invention du téléphone.
L'aménagement de la résidence de Boston s'avérant insatisfaisant, Bell s'installa avec George en octobre 1873 chez sa grand-mère paternelle à Salem. Bell se rendit à Boston pour ses études supérieures à l'Université de Boston. Bell a eu l'occasion d'utiliser le grenier de Sanders pour ses trois expériences. Alors qu'il vivait à Salem, Bell informa Sanders de ses idées sur la télégraphie multiple et le laissa même l'aider à fabriquer des appareils expérimentaux.
Bell rencontra le deuxième de ses soutiens en avril 1872 à l'Institut Clarice pour les sourds-muets lorsqu'il montra au président de cette école, Gardiner G. Hubbard, ce qu'il avait accompli avec les élèves en un court mois et lui fit part de ce qu'il prévoyait de faire pour le reste de sa visite. Non seulement tout s'est déroulé « à merveille », mais cela a aussi marqué le début d'une amitié qui allait s'avérer mutuellement avantageuse.
Bien que Bell et Hubbard s'intéressaient tous deux à la télégraphie, leurs premiers échanges se limitaient probablement à l'éducation des sourds.
Bell s'est rapidement rendu à l'asile américain de Hartford, et l'occasion d'explorer d'autres intérêts mutuels est passée.
L'idée de la télégraphie multiple était née dans l'esprit de Bell avant son installation définitive aux États-Unis en octobre 1882.
Pendant les deux années suivantes, il travailla sur ses expériences télégraphiques à Boston et à Salem, essayant de mettre au point un appareil parfait capable de transmettre simultanément plusieurs messages sur un seul fil télégraphique.
Durant ses vacances d'été au Canada en 1874, Bell non seulement réfléchit à la télégraphie multiple, mais conçut également une méthode pour transmettre des messages verbaux articulés par fil télégraphique. Il avait en effet conçu les éléments fondamentaux du téléphone parlant, et il ne restait plus qu'à mettre en pratique la théorie.
L'automne 1880 marqua un tournant important dans la carrière de Bell en tant qu'investisseur, car il disposait désormais des fonds nécessaires à la poursuite de ses expériences. Il semble probable qu'après son retour du Canada, Bell ait confié son concept du téléphone à Sanders, son confident en multitélégraphie. Parce que Bell doutait que la transmission soit audible et aussi parce que le concept n'était encore qu'une théorie non testée, contrairement à la télégraphie multiple de Bell, Sanders n'a peut-être pas été impressionné. Quoi qu'il en soit, les plus récentes expériences de télégraphie multiple de Bell étaient si prometteuses que, fin septembre ou début octobre 1888, Sanders proposa de payer tous les frais d'obtention de brevets et de construction d'instruments, en échange de la moitié de ses intérêts.
Début octobre, Bell parla pour la première fois à Hubbard de ses exportations télégraphiques. Un soir, alors qu'il rendait visite à la famille Hubbard, il accepta de jouer du piano pour eux. Au milieu de sa prestation, Bell s'arrêta, se retourna, demanda si Hubbard savait que le piano répéterait une note chantée et fit une démonstration du phénomène. Bell expliqua alors que ce principe de vibration sympathique l'avait conduit à un appareil permettant de transmettre simultanément plusieurs messages télégraphiques sur un seul fil.
Hubbard s'intéressait déjà particulièrement à la télégraphie multiple. Il avait participé à une attaque infructueuse contre la compagnie monopolistique Union Telegraph Company depuis la fin des années 1860. L'une des mesures prises a été de lui reprocher de ne pas développer la télégraphie dans son état le plus efficace et économique, en ignorant les nouvelles avancées technologiques qui permettraient une réduction des tarifs et, par conséquent, une utilisation plus large de la télégraphie.
À titre de mesure corrective, Hubbard a présenté au Congrès un plan prévoyant la création d'une nouvelle société privée, la United States Postal Telegraph Company, avec l'autorisation de construire des lignes le long des routes et itinéraires postaux. La Poste servirait d'agence de réception et de distribution des messages, tandis que la Telegraph Company se chargerait de les transmettre pour la moitié du tarif en vigueur.
Hubbard proposa de se constituer en société, ainsi qu'à ses proches et à ses amis. Le lobbying enthousiaste de Hubbard mena le projet à la limite du succès en 1874. Il était si proche du succès qu'il était prêt à risquer non seulement sa fortune, mais aussi celle de son pays. Il fut cependant bloqué par la défense vigoureuse de la Western Union menée par son président, William Orton.
Lors d'une audition au Sénat ce printemps-là, Orton a nié que Western Union ait sacrifié des avancées technologiques à des fins de profits élevés et a souligné la récente acquisition par son entreprise du système Duplex de Steen, qui doublerait le nombre de messages transmis. Hubbard a réagi en prédisant que de nouveaux développements permettraient la transmission simultanée de quatre, voire de huit messages.
Peu de temps après, Western Union a également acquis le système Quadruplex d'Edison, sapant ainsi l'argument de Hubbard.

Tel était l'état des choses lorsque Bell a indiqué qu'il travaillait sur un système de télégraphie multiple qui surpasserait les méthodes existantes.
Après avoir consulté l'Office des brevets pour une anticipation possible de l'idée de la télégraphie biharmonique, Hubbard fit à Bell une offre : une aide financière pour ses expériences en échange d'une participation de moitié dans l'invention.
Mais Bell avait déjà conclu un accord similaire avec Sanders. Il a accepté, à condition qu’un arrangement puisse être trouvé avec son premier partenaire.
Compte tenu des scandales actuels du Crédit Mobilier et de la méfiance ambiante envers les « hommes publics », Sanders a d'abord douté de la sagesse d'avoir laissé Hubbard participer aux télégraphes multiples. Mais Sanders appréciait également les talents organisationnels et promotionnels de Hubbard, et il a donc finalement accepté que les trois deviennent des partenaires égaux.
Il ne fait aucun doute que Bell a également parlé à Hubbard de sa plus récente conception, le téléphone.
Comme Sanders, Hubbard était probablement plus impressionné par les réalisations télégraphiques de Bell, peut-être comme une justification de ses propres prédictions en réfutation de celles d'Orton, et il a donc pensé principalement en termes de télégraphe plutôt que de téléphone lorsqu'il est devenu associé. Il exprima alors son opinion selon laquelle si Bell souhaitait que ses inventions aient une valeur commerciale et sociale, il devait se limiter au développement de la télégraphie multiple.
Ainsi, les trois hommes convinrent à deux reprises, en octobre 1874, que nous avancerions les fonds nécessaires à l'expérimentation, à la délivrance de brevets et au développement de l'invention, et que nous serions tous les trois propriétaires communs de tous les brevets que la C.B. détenait. La première action officielle issue de ce partenariat, que les auteurs ultérieurs ont baptisée Bell Patent Association, a été entreprise quatre mois plus tard, lorsque l'invention du télégraphe harmonique de Bell était prête à être soumise à l'Office des brevets.
Le 25 février 1875, jour de la cession, Bell a exécuté une cession de brevet qui transférait à lui-même, à Thomas Sanders et à Gardiner G. Hubbard tous ses droits, titres et intérêts dans une certaine invention pour la transmission de deux ou plusieurs messages télégraphiques.
Deux jours plus tard, le partenariat a été officialisé par un protocole d'accord.
L'accord commençait par la réaffirmation et l'amplification des termes de l'accord informel. Il a été pris note de l'invention de Bell concernant « certaines méthodes et appareils nouveaux et utiles pour la télégraphie », de sa demande de brevet et de sa cession des inventions et des améliorations ultérieures aux trois partenaires.
En retour, Sanders et Hubbard ont réaffirmé qu'ils contribueraient chacun à hauteur de la moitié aux dépenses, non seulement pour la mise au point des instruments, mais aussi pour l'obtention de brevets et la défense contre les interférences. L'accord ajoutait ensuite une disposition pour la création d'une société, si les brevets s'avéraient utiles, « dans le but de gérer et de contrôler plus facilement lesdits brevets ». Les actions seraient émises en fonction des intérêts respectifs des partenaires, un tiers à chacun.
Bell a déposé des demandes de brevet supplémentaires les 6 et 10 mars, augmentant ainsi le potentiel de la Bell Patent Association.
Ces trois demandes ont été impliquées dans une procédure d'ingérence avec un autre inventeur, Elisha Gray. Bien que tous les points d'interférence aient été finalement tranchés en faveur de Bell, seule la demande du 6 mars a été délivrée sous forme de brevet, sous le numéro 161 739.

Ainsi, six mois après que Bell, Sanders et Hubbard eurent convenu de s'associer dans un partenariat, ils disposaient de leur premier actif tangible. Il ne leur apporterait cependant aucune récompense financière, car l'invention ultérieure de Bell, le téléphone, remplacerait leurs intéressantes améliorations télégraphiques. Sur la base de l'accord verbal et du mémorandum du 27 février, Sanders et Hubbard ont fourni de l'argent pour l'équipement, les fournitures et l'assistance de Thomas A. Watson, un employé de l'atelier électrique de Char les Williams, où la plupart des équipements Bell étaient en cours de construction, mais n'a pas reçu d'argent pour son temps et son travail.
Pour subvenir à ses besoins personnels, il continua d'enseigner et ne put donc pas se consacrer pleinement à son invention, au grand dam de Gardiner Hubbard. Bell aurait vraisemblablement pu se tourner vers ses partenaires pour obtenir de l'aide, mais il ne le fit pas. Il insista pour conserver son indépendance. Même en février 1977, Bell parlait de « payer ses dépenses individuelles de sa propre poche », même si ses associés étaient légalement tenus de les payer. En cas d'urgence, Bell empruntait une petite somme à Watson, qui était moins en mesure de l'aider financièrement que ses associés. Une partie du désir d'indépendance de Bell provenait peut-être de son intimité croissante avec la famille Hubbard et de ses relations privilégiées avec Mabel Hubbard.
À l'origine, la Bell Patent Association s'occupait principalement d'inventions télégraphiques. Soucieux de promouvoir l'invention de Bell et les intérêts financiers de l'Association, Gardiner Hubbard organisa une manifestation devant le président Orton de la Western Union le 20 février 1875 à Washington. D.C. Orton fut suffisamment impressionné pour demander une autre démonstration du télégraphe multiple à New York, dans de meilleures conditions.
Mi-mars, le deuxième test eut lieu, mais l'attitude d'Orton envers l'invention de Bell changea soudainement. Lors d'une pause déjeuner, Orton reçut la visite d'Elisha Gray, qui présenta sa propre version du télégraphe multiple. Lorsque les tests Bell reprirent dans l'après-midi, Orton informa Bell que les instruments de Gray n'étaient pas aussi rudimentaires que les siens. De plus, Western Union refusa d'adopter l'invention, car cela serait bénéfique pour Gardiner Hubbard. Hubbard proposa de se retirer lorsqu'il apprit cela. Bell refusa. Hubbard conseilla alors à Bell de retirer son invention des bureaux de la Western Union et d'en faire la démonstration à l'Atlantic and Pacific Telegraph Company, une compagnie rivale.
Orton céda alors et déclara que, même si la compagnie refusait de contribuer au développement de l'invention au profit de Hubbard, ses sentiments personnels n'empêcheraient pas son acquisition si elle était parfaite. Orton a toutefois promis de soutenir Gray si les intérêts de Bell apportaient leur invention au rival de Western Union. Afin de mieux protéger les intérêts de cette société, Orton a engagé Thomas Edison durant l'été pour enquêter sur la télégraphie harmonique.

Cet épisode était présage de difficultés futures. Hubbard, grâce à ses relations télégraphiques, avait pu organiser la rencontre entre le responsable de la Western Union et un inventeur inconnu. Pourtant, c'est aussi en grande partie grâce à l'implication de Hubbard que les résultats de la réunion furent quelque peu défavorables. Orton et la Western Union ne pouvaient oublier les premières attaques de Hubbard. C'est pourquoi, au lieu de solliciter l'aide d'un puissant acheteur potentiel, la réunion a permis de tracer les grandes lignes de la future rivalité entre les intérêts de Bell et la Western Union.
Bell a repris la tâche de perfectionner son télégraphe harmonique avec l'aide de Thomas Watson.
C'est à cette époque que Bell entendit et reconnut pour la première fois un son transmis électriquement. De plus, cela se faisait sans pile.
La note musicale produite à la réception était sensiblement équivalente à celle produite à l'émission, tant en termes d'intensité que de hauteur.
Cette découverte du 2 juin 1875 révéla à Bell que ses doutes quant à la capacité du téléphone à transmettre un son audible généré magnétiquement étaient infondés. Son concept téléphonique était non seulement théoriquement correct, mais aussi réalisable. Il restait encore beaucoup d'expérimentation et de développement à faire, mais le téléphone était né. Bell, cependant, ne put accorder toute son attention à la mise au point de cette dernière invention, car ses associés lui demandèrent de poursuivre ses travaux sur les deux télégraphes multiples, dans lesquels ils voyaient un gain pécuniaire plus immédiat. Leur insistance dura bien au-delà du 1er mars 1876, date à laquelle un brevet fut délivré pour le téléphone.
Hubbard a même fait dire à sa fille Mabel, fiancée à Bell, qu'elle ne l'épouserait pas avant qu'il n'ait terminé son travail sur le télégraphe.
Ce n'est qu'à contrecœur que Sanders et Hubbard ont renoncé à leur intérêt pour la télégraphie harmonique au profit de la téléphonie.
La question s'est donc nécessairement posée de savoir si le partenariat couvrait ou non le téléphone.
Après la signature du protocole d'accord définissant les termes de l'Association en février 1875, il ne fait guère de doute que Sanders et Hubbard connaissaient tous deux l'idée que Bell avait du téléphone. Cela explique peut-être la conviction de Bell, telle qu'il l'a déclaré plus tard, selon laquelle ce partenariat avec Sanders et Hubbard incluait bel et bien le téléphone.
Cependant, au moment de la formation du partenariat, ni Sanders ni Hubbard ne semblaient s'être beaucoup intéressés au nouveau concept de Bell. La différence d'impression de Sanders et Hubbard par l'idée au moment de la formation du partenariat pourrait expliquer pourquoi Hubbard a plus tard cru que le contrat de partenariat ne couvrait pas le téléphone, tandis que Sanders pensait que oui. Des deux, Hubbard a peut-être été plus impressionné par la télégraphie multiple de Bell au moment de l'accord, car il en avait eu connaissance moins longtemps que Sanders et avait eu moins de temps pour que son enthousiasme initial se dissipe. De plus, la connaissance par Hubbard de l'idée du téléphone, apparue peu après avoir découvert la télégraphie multiple, aurait pu lui sembler moins significative. C'était important, non seulement parce qu'il était sous-développé, mais aussi parce que de multiples télégrammes promettaient de réaliser les prédictions qu'elle avait faites lors de l'audition du Sénat sur la Western Union. Le téléphone n'ayant pas joué un rôle dans son association, il n'a probablement pas été impliqué rapidement dans l'accord. Sanders, quant à lui, étant moins frappé par la nouveauté de la télégraphie multiple, a peut-être été plus conscient de l'idée du téléphone. De plus, comme Bell, il a peut-être considéré la transmission électrique de la parole articulée comme une forme de télégraphie. Résolu après sa soumission à Anthony Pollok, avocat spécialisé en brevets il a conclu que, puisque Sanders et Hubbard avaient fourni les fonds ayant mené à l'invention, le téléphone devait à juste titre relever du partenariat, même s'il ne faisait pas, à proprement parler, partie intégrante du contrat.
Ainsi, le 15 septembre 1876, Alexander Graham Bell a exécuté une cession de ses brevets téléphoniques 174 455 et 178 399 à Bell, Sanders et Hubbard. Aucune question ne serait posée ultérieurement concernant les propriétaires légaux du brevet téléphonique de base. La cession du téléphone de Bell plus tôt avait conduit à une erreur presque fatale. Lors d'un de ses séjours réguliers au Canada, Bell avait pris des dispositions pour George Brown, un voisin, aille déposer un brevet pour un téléphone en Angleterre. La loi anglaise sur les brevets exigeait qu'aucune publication préalable des spécifications de l'invention n'ait eu lieu. C'est pourquoi Bell accepta d'attendre un brevet anglais avant d'en déposer un aux États-Unis, bien qu'il ait déjà terminé son mémoire descriptif pour une telle demande en octobre 1875.
Bell et ses associés attendirent des nouvelles de Brown, qui avait embarqué pour l'Europe fin janvier 1876. Le retard dura jusqu'en février, jusqu'à ce que Gardiner Hubbard, inquiet de perdre sa priorité, prenne l'initiative et donne des instructions. Les avocats de l'Association ont demandé le dépôt du cahier des charges auprès de l'Office des brevets des États-Unis.
En conséquence, la demande a été déposée le 14 février 1876, à l'insu de Bell et sans son consentement. Plus tard ce même jour, une déclaration d'intention de déposer un brevet a été déposée au nom d'Elisha Gray, qui partageait ses idées sur la téléphonie. L'action de Hubbard a été d'une importance cruciale. Étant donné que la demande de Bell a été déposée plus tôt que la mise en garde de Gray, une ingérence déposée contre Bell a été rapidement dissoute, ouvrant ainsi la voie à la délivrance d'un brevet. C'est ce brevet, 174465, qui a conféré au téléphone de Bell son existence légale. Le brevet et les revendications de priorité de Bell sur son invention seraient contestés ; mais en attendant qu'elles soient maintenues, les intérêts de Bell étaient en possession d'un brevet légal leur accordant le contrôle exclusif et la disposition du téléphone. Si ce dernier avait été initialement suspendu et contraint de se soumettre à de longues procédures judiciaires, il aurait été difficile, voire impossible, pour les intéressés de Bell d'obtenir un soutien financier pour se battre, voire pour démarrer leur activité téléphonique. Pendant un tel intérim, ils auraient été à la merci d'intérêts hostiles plus puissants. une émission de télégrammes et donc la décision de Hubbard de soumettre la demande au moment opportun.

En septembre 1876, lorsque Bell, Sanders et Hubbard parvinrent enfin à un accord sur la propriété du téléphone, Thomas A. Watson devint également membre de la Patent Association. Jusqu'alors, Watson avait été employé par Charles Williams à la fabrication de matériel électrique, mais il avait été spécialement affecté à Bell pour travailler sur le télégraphe harmonique, puis sur le téléphone. En effet, c'était Watson qui était à l'émetteur lorsque Bell entendit les premiers sons transmis par téléphone, le 2 juin. Durant la longue mission de Watson auprès de Bell, les associés furent très impressionnés par son intérêt et ses efforts en leur faveur. C'est pourquoi, à l'été 1876, à la demande de Bell, Hubbard proposa à Watson un intérêt pour l'Association. Watson fut satisfait de cette offre, car elle signifiait qu'elle était satisfaisante pour son travail, mais il était indécis. Le succès commercial du téléphone n'était pas évident, et j'avais un bon emploi chez Williams, gagnant un salaire de compagnon – trois dollars par jour – et déposant de l'argent à la caisse d'épargne chaque mois. J'étais en lice pour le poste de contremaître de l'établissement. Après avoir examiné l'offre pendant deux semaines, Watson a accepté, bien que toujours incertain quant à la justesse de sa décision.
Selon les termes du contrat, Watson devait recevoir dix intérêts dans les brevets 161 739, 178 399 et 174 465, après leur transfert à une société par actions, conformément à un accord non daté. Accord conclu par Bell, Sanders et Hubbard
Sanders et Hubbard ont convenu de verser à Watson trois dollars par jour tant qu'ils auraient besoin de ses services. Après le 5 septembre, il devait consacrer la moitié de chaque journée à adapter, perfectionner, concevoir et fabriquer des instruments pour le développement des brevets et leur présentation au public.
Chaque fois que les partenaires le jugeaient nécessaire, Watson devait en informer Williams et commencer à travailler à temps plein pour l'Association. De plus, les partenaires ont accepté de payer le loyer de Watson à Boston à condition qu'ils le jugent opportun et que le travail de Watson les rembourse. Sous la direction de Bell, Watson devait travailler sur les instruments de télégraphie harmonique, l'instrument autographe, la transmission de messages par courant ondulatoire et, enfin, la transmission télégraphique de messages articulés. Par la suite, une clause fut insérée stipulant que toute invention que Watson pourrait réaliser en vertu de l'accord deviendrait la propriété d'un L'intérêt de Bell a finalement obtenu une soixantaine de brevets grâce à cette clause, et Watson a donc conclu : « Ce contrat était aussi avantageux pour Bell et ses associés que pour moi. »

Ainsi, à la fin de septembre 1876, la première étape de l'évolution juridique du système Bell était atteinte. Elle resterait inchangée jusqu'en 1877, date à laquelle une nouvelle étape d'organisation juridique fut nécessaire pour permettre la commercialisation du téléphone.

Quels que soient les avantages découlant du dépôt d'un brevet le 3 mars 1876, Alexander Graham Bell et ses associés avaient encore beaucoup à faire avant de pouvoir récolter les fruits du téléphone. Ils devaient le perfectionner et le présenter au public. Dans la poursuite de ce dernier objectif, leurs efforts n'étaient pas sans rappeler ceux de Samuel F. B. Morse, un précurseur dans le domaine des communications électriques.
Samuel Morse cherchait à faire racheter son invention, le télégraphe, par le gouvernement des États-Unis et à l'intégrer au système postal.
Pour y parvenir, Morse et ses partenaires ont dû susciter la sensibilisation et l'intérêt du public. De plus en plus, le télégraphe a alors été exposé à de petits groupes d'amis et de collègues universitaires, à des sociétés scientifiques et au grand public. 3 En conséquence, la commission du commerce de la Chambre a invité Morse à exposer sa télégraphie dans ses salles du Capitole.
Malgré ces démonstrations, le Congrès a réagi très lentement aux propositions de Morse, et près de deux ans se sont écoulés sans qu'une décision définitive ne soit prise. Un historien a conclu que la raison était l’incapacité du public à comprendre la signification de l’invention révolutionnaire et son identification du télégraphe avec « divers projets chimériques ». Il fallait Tine pour obtenir le soutien du public en faveur du télégraphe.
Le Congrès a finalement accepté de subventionner la construction d'une ligne télégraphique reliant Baltimore à Washington, D.C., à des fins de démonstration, mais n'a pris aucune autre mesure en attendant la preuve de l'utilité de l'invention.
Pendant ce temps, le public, adepte de la « bonne mode américaine », s'est rué pour découvrir cette dernière merveille scientifique. Il s'est contenté de voir l'instrument. et pouvoir dire qu'ils l'avaient vu.
La ligne Baltimore-Washington a été utilisée pour diverses démonstrations et tests, notamment des parties d'échecs entre joueurs des deux villes. Cette activité a rapidement dû être interrompue, car elle faisait une impression défavorable sur la communauté religieuse. Il est devenu clair que les bénéfices que Morse et ses partenaires tireraient du télégraphe ne pourraient en être que les résultats. Leurs propres efforts portèrent sur le développement commercial. Ils entreprirent donc d'obtenir un soutien privé par le biais d'expositions publiques du télégraphe. La première exposition eut lieu à Boston dans l'espoir de lever des fonds pour la construction d'une ligne entre cette ville et New York.
La démonstration ne suscitant pas beaucoup d'intérêt, elle fut déplacée à New York. C'est là que les Morse s'y intéressèrent. Les hommes d'affaires seraient plus prompts à reconnaître l'utilité commerciale de ce télégraphe.
Avant que l'exposition puisse avoir lieu, les sponsors devaient toutefois convaincre les autorités municipales que les lignes de toit au-dessus des toits n'attireraient pas la foudre et ne provoqueraient pas d'incendies. Ils y parvinrent lorsque le Dr Benjamin Silliman se porta garant de la sécurité du télégraphe et que les intérêts de Morse payèrent une redevance de cinquante dollars. Malheureusement, l'exposition de New York ne connut pas plus de succès que celle de Boston. Non seulement elle ne parvint pas à réunir les fonds nécessaires à la construction d'une ligne Boston-New York, mais elle échoua également à réunir suffisamment de fonds pour couvrir les dépenses. Les intérêts de Morse furent finalement contraints d'utiliser d'autres moyens pour promouvoir la commercialisation du télégraphe. Comme Morse, Bell a cherché à faire respecter son invention en la présentant devant des organismes scientifiques et a tenté de stimuler l'intérêt du public et le soutien financier en donnant des conférences et des démonstrations.
Il y a même eu une brève communication avec le Congrès afin d'obtenir une appropriation, et des dispositions ont été prises pour tester le téléphone au Capitole. Bell a également démontré sa sensibilité à l'intérêt de la communauté religieuse pour son invention. Mais alors que Morse n'a apparemment pas réussi à stimuler l'intérêt et le soutien du public par des démonstrations, Bell et ses partenaires ont réussi. Grâce à ses conférences et démonstrations, Bell a non seulement fait connaître au public l'existence de son téléphone et ses utilisations potentielles, mais a également contribué à stimuler la demande et a ainsi augmenté la probabilité d'une entreprise téléphonique prospère. Deux mois après avoir obtenu un brevet pour son téléphone, Alexander Graham Bell a lancé une campagne pour faire connaître son invention au monde entier. Il a commencé par la présenter à la communauté universitaire de Harvard.
Un peu plus tard, en 1876, Bell présenta un article à l'Académie américaine des arts et des sciences intitulé « Recherches en téléphonie » et exposa un certain nombre de ses instruments en fonctionnement. Quinze jours plus tard, il présenta sensiblement le même article à la 197e réunion de la Société des arts, tenue à l'Institut de technologie du Massachusetts à Boston.
Le Boston Evening Transcript a noté que « les expériences étaient nouvelles et réussies » et ont été constatées par un large public qui a voté en remerciement à Bell. En moins d'un mois, Bell avait pleinement exposé son invention à des groupes éminents d'universitaires et de scientifiques. Il en avait pleinement apprécié l'importance : « Mon nom est désormais bien connu de tous les scientifiques. » Tous les scientifiques de Boston parlent déjà de « téléphonie ». Bell commença alors à envisager de se lancer dans le domaine de la conférence publique. Il a spéculé que des cours sur la « téléphonie » lui rapporteraient de l'argent et des revenus. La première grande exposition et démonstration de Bionext eut lieu à Philadelphie, le 25 juin 1876, lors de l'Exposition du Centenaire. Bien qu'il s'agisse de la première occasion pour le public de voir et d'évaluer le téléphone, l'Exposition du Centenaire devait jouer un rôle plus important dans l'amélioration de la réputation scientifique de Bell et dans l'impression de respect qu'elle donna à son invention, plutôt que dans la création d'une large attention du public.

sommaire

LES REVENDICATIONS

La Western Union sortit de son indifférence. Il fallait mettre un terme à cette infime atteinte à ses activités.
Elle réagit rapidement et créa l'« American Speaking-Telephone Company », dotée d'un capital de 300 000 dollars et comptant parmi ses employés trois inventeurs de l'électricité, Edison, Gray et Dolbear. Forte de toute sa richesse et de son prestige, elle s'abattit sur Bell et sa petite garde du corps. Elle piétina le brevet de Bell avec aussi peu d'inquiétude qu'un éléphant peut l'être lorsqu'il piétine une fourmilière. À la stupéfaction totale de Bell, elle annonça froidement qu'elle possédait « le seul téléphone original » et qu'elle était prête à fournir « des téléphones de qualité supérieure dotés des dernières améliorations apportées par les inventeurs originaux : Dolbear, Gray et Edison ».
L'arrivée de Vail au moment critique soulignait que Bell était l'un des inventeurs les plus chanceux. Il ne fut pas privé de son invention, comme cela aurait pu facilement arriver. Un à un, des hommes compétents arrivèrent pour l'aider, dotés de toutes les compétences requises par l'évolution de la situation. La concentration des facteurs était telle que toute l'affaire semblait avoir été préparée à l'avance. À peine Bell apparut-il sur scène que ses seconds rôles, chacun à son tour, reçurent leur réplique et prirent part à l'action. Aucun de ces hommes n'aurait pu faire l'œuvre d'un autre. Chacun était unique et indispensable. Bell inventa le téléphone ; Watson le construisit ; Sanders le finança ; Hubbard le lança ; et Vail en fit une entreprise commerciale.

Le 17 novembre 1877, Western Union décida de contester le monopole de Bell dans le secteur de la téléphonie et créa à la fois l'American Speaking Telephone Co. et la Gold & Stock Telephone Company pour combiner son intérêt dans les brevets d'émetteur d'Edison avec les brevets de récepteur d'Elisha Gray, maintenant détenus. par l'Harmonic Telegraph Company. Western Union était une énorme entreprise à l'époque et a commencé à déployer des systèmes téléphoniques dans le monde entier. En théorie, la petite Bell Company n'avait aucune chance.
Une fois que les responsables de la Western Union eurent réalisé l'intérêt du téléphone, ils voulurent se lancer eux aussi dans cette affaire. Mais ils durent se passer des brevets de Bell. Fin 1877, la compagnie Western Union décida de contester la priorité de l'invention du téléphone à Bell.
Elle passa donc un accord avec Gray et fonda ses revendications sur le caveat de ce dernier.
L'histoire de la bataille juridique qui s'ensuivit est longue et confuse.
Le procès porté devant la cour itinérante des Etats-Unis se termina par un compromis aux termes duquel la Western Union renonça à ses intérêts dans le téléphone au profit de l'American Bell Telephone Company, en échange d'une participation de 20 % sur toutes les royalties et les abonnements que celle-ci percevrait jusqu'à l'expiration des brevets. Ainsi se termina l'intervention de la Western Union sur le marché du téléphone.
Mais pour Elisha Gray, les améliorations du téléphone continuaient, de même que la bataille juridique pour la priorité de l'invention.
A l'époque du compromis, en effet, Gray venait juste de réaliser l'intérêt commercial du téléphone.
Durant dix sept ans, 600 procès vont opposer les avocats de Bell aux différentes compagnies concurentes.
Après les années 1878-79, la compagnie Bell remporte des centaines de poursuites judiciaires en matière de brevets, ce qui fait la fortune d’Alexander Graham Bell avant ses 35 ans. Vous pouvez consulter divers documents , compte rendus de tribunaux sur ces litiges.

Voila comment cela ça s"est passé :
Le tribunal de Boston ayant exclu toute possibilité de contourner les droits de Bell, les tentatives d’invalidation du brevet sont apparues. Là encore, l’activité était canalisée par la configuration particulière du droit américain. Alors que la plupart des pays reconnaissaient le premier demandeur à déposer un brevet, les brevets américains étaient délivrés uniquement au « premier et véritable » inventeur – une invitation permanente, acceptée avec gratitude par le nombre croissant d'opposants à Bell, à mettre en avant les inventeurs antérieurs « découverts » après que la technologie soit devenue une entreprise en activité.
On se souvient à juste titre du litige téléphonique grâce à cette troupe de personnages hauts en couleur : des hommes comme le mécanicien Daniel Drawbaugh d'Eberly's Mills, Pennsylvanie, autoproclamé comme « l'un des plus grands génies inventifs de cette époque », qui prétendait avoir construit des téléphones en les années 1860 et le début des années 1870. Un autre prétendant, le Dr Sylvanus Cushman, affirmait qu'il l'avait fait à Racine, Wisconsin, en 1851, lorsque ses expériences électriques lui avaient soudainement permis d'entendre le coassement des grenouilles dans un marais voisin. Un troisième, le machiniste d'origine italienne Antonio Meucci, affirmait avoir inventé un télégraphe parlant alors qu'il était décorateur de théâtre à La Havane en 1849 ou 1850. Meucci avait déposé une réserve (avis d'invention) auprès de l'Office américain des brevets en 1871, mais avait Il n'a pas déposé une demande complète, a-t-il expliqué, parce qu'une explosion sur le ferry de Staten Island l'avait rendu invalide. Ces hommes et d’autres comme eux pourraient s’appuyer sur une longue histoire personnelle d’expérimentation électrique. Mais leur qualification principale était l'obscurité préalable, accompagnée d'arguments de pauvreté pour expliquer pourquoi ils n'avaient pas rendu public leurs découvertes plus tôt.
La société Bell, soucieuse de réfuter les affirmations des prétendants, a répondu en engageant l'agence nationale de détective Pinkerton pour découvrir les détails discréditants.
Toutes les compagnies de téléphone rivales n'ont pas découvert leur propre demandeur. Beaucoup ont invoqué les travaux du German Reis, dont la réputation scientifique a connu un remarquable regain d’intérêt à titre posthume au milieu des années 1880. À l'aide d'un appareil qui, comme un télégraphe, produisait et coupait alternativement un courant électrique, Reis avait transmis des sons musicaux au début des années 1860. Il n’a pas fallu grand-chose – seulement le poids d’une armature ou l’étirement plus serré d’un diaphragme – pour que le téléphone de Reis fonctionne avec le courant constant et fluctuant utilisé par Bell. Ainsi configuré et manipulé avec beaucoup de soin, le téléphone Reis pouvait parler. Sur cette base, les opposants de Bell affirmaient que Reis avait inventé le téléphone (certains prétendaient qu'il avait transmis de la parole dans les années 1860), ou, à tout le moins, que la distinction rigide établie par le tribunal de Boston entre les téléphones à courant ondulatoire et les téléphones à courant alternatif les dispositifs de freinage ont devancé la compréhension scientifique de l'électricité.
Bien que communément considérées comme des offres de crédit inventif, les contestations de la priorité de Bell étaient en fin de compte motivées par des considérations financières. Le nombre de prétendants était, comme le faisait remarquer Scientific American, « un indice fidèle de la valeur du prix ». Meucci est resté obscur jusqu'à ce qu'il soit porté à l'attention d'un syndicat de Philadelphie, dont les membres ont organisé une société soutenue par les intérêts du Baltimore & Ohio Telegraph. Cushman a attiré le soutien des conseillers municipaux de Chicago et des propriétaires de pharmacies.
Le lien le plus important s'est peut-être produit en 1879, lorsqu'un avocat en brevets de Washington, Lysander Hill, a représenté Drawbaugh et son partenaire Edgar Chellis dans un litige en matière de brevet concernant un robinet. Peu de temps après, ces hommes formèrent un partenariat pour promouvoir les réclamations téléphoniques de Drawbaugh, s'associant à des hommes d'affaires de New York, de Washington et de Cincinnati pour constituer la People's Telephone Company avec une capitalisation autorisée de 5 millions de dollars.
La People’s Company a rejoint un groupe diversifié d’entreprises de téléphonie établies au mépris du brevet de Bell. Il est impossible de les rendre tous compte ; même les 600 poursuites en contrefaçon engagées par Bell n'ont pas permis de découvrir tous les échanges de l'arrière-pays et tous les téléphones fabriqués en atelier. Cependant, les contrevenants les plus déterminés – ceux qui ont mené la lutte juridique contre Bell – ont adopté un modèle spéculatif caractéristique. Après s'être constituées avec une collection de brevets téléphoniques mineurs et une importante valorisation papier, ces entreprises ont promu des sociétés d'exploitation dans plusieurs États, dans le but de tirer profit de la vente de licences et d'actions. Ainsi, la Molecular Telephone Company, basée à New York, a autorisé une succursale à Cleveland, tandis que l'Overland Telephone Company a promu des filiales en Pennsylvanie, au New Jersey et au Kentucky.
La Panlectric Telephone Company, créée dans le Tennessee, a commercialisé ses brevets auprès de parties du Missouri, de l'Illinois, de l'Alabama, du Texas et de la région de Washington, D.C. Certaines de ces entreprises ont abouti à la construction de véritables lignes téléphoniques, tandis que d'autres sont restées sur papier.
Tous partageaient cependant un objectif commun : éviter l'inévitable poursuite en contrefaçon de Bell....

Dans cette bataille : En 1877 Amos Dolbear, diplômé de l'Ohio Wesleyan University, professeur de physique et d'astronomie
Alors qu'il était étudiant à Ohio Wesleyan, il avait fait un "télégraphe parlant" et inventé un récepteur contenant deux caractéristiques du téléphone moderne: un aimant permanent et un diaphragme métallique . Il aurait inventé le premier récepteur téléphonique à aimant permanent en 1865, 11 ans avant qu'Alexander Graham Bell ne brevette son modèle.
En janvier 1876 Dolbear apprend que Bell a déposé une demande le 15 janvier 1877 de brevet le concernant, mais ne donne pas de suite sur ce point mais Dolbear édite son livre "The Telephone" en 1877

Reproduction
P
rototype tel qui est photographié dans le livre "The Telephone" de A.E Dolbear , le premier livre sur le telephone publié en 1877.

En 1880 Dolbear déposera une demande de brevet pour un type de téléphone élétrostatique, différents du téléphone éléctromagnétique.
Il obtiendra son brevet en 1881 . Bell réagira et déposa une plainte pour contrefaçon. Au procès les avocats de Dolbear ont eut la mauvaise idée d'amener un téléphone de Reiss pour lui en donner la patérnité, ce qui priverait Bell de ce privilége. Mais l'appareil refuse de fonctionner. C'était encore un système de type télégraphique à rupture du courant et non pas courant de modulation produit par la voix.
Dans le jugement en 1883 le juge décrète que Bell a breveté la véritable idée de transmission de la parole par l'électricité ....
Bell avait il été au courant de cette améloiration et en a t'il tiré parti ?
Des échanges de courriers continueront entre Bell et Pierce : (lettre du 13 avril 1878 page 1, page 2, page 3) ... voir les archives de Bell.

Au milieu des années 1880, la question des brevets téléphoniques a dépassé le monde des avocats, des financiers et des ingénieurs pour atteindre une scène publique plus large.
Là, la réputation du brevet Bell s'est mêlée à l'une des grandes préoccupations de l'âge d'or : la corruption. Des allégations de malhonnêteté ont tourbillonné autour d'Alexander Graham Bell et du Bureau des brevets, aboutissant à l'accusation selon laquelle Bell avait obtenu son brevet par fraude. Cette affirmation sensationnelle est devenue la base d’un procès du gouvernement fédéral contre la société Bell – une intervention remarquable qui allait elle-même tourner au scandale.

Décembre 1879 vu dans le "Boston Daily Advertiser"
M. Graham Bell nous communique le renseignement suivant sur le règlement de l"affaire soumise au jugement de la Cour suprême des brevets en Amérique relative à l'invention du téléphone.
« Les intérêts rivaux qui se trouvent en présence dans les différents brevets pour téléphone, se sont enfin conciliés, et M. le professeur Bell est maître de la situation. Les actionnaires de la Compagnie nationale du téléphone Bell se sont réunis le 24 octobre et ont ratifié le compromis par lequel toutes les questions en litige doivent être considérées comme terminées : la Compagnie de la “Western UnionTelegraph", agissant au nom et pour le compte de la “Gold and Stock Telegraph Company”, de 1’ “American Speaking TéléphoneCompany” et de "l'Harmonic Telegraph Company”,consent à se retirer de l’exploitation des téléphones aux Etats-Unis, laissant le champ entièrement libre à la Compagnie, mise en possession des brevets Bell. Toutes les personnes qui ont reçu des droits d’autres Compagnies seront autorisées à s'appuyer sur ces brevets. La “Western Union” consent en outre à accorder à la “ Bell Telephone Company ’’ un cant pour cent sur les affaires télégraphiques réalisées au moyen de ses instruments, et à coopérer au développement de ses opérations.
« En vertu de ces arrangements, la “Bell Telephone Company” acquiert toutes les inventions téléphoniques d’Elisha Gray de Chicago, de Thomas A. Edison, de Georges M. Phelps et de tous ceux qui ont réuni leurs intérêts à la “Western-Union" et à d’autres compagnies alliées. Le droit de relier les systèmes téléphoniques de district ou d'échange, appartiendra exclusivement à la “ Bell Company” qui autorisera aussi la “Western Union” à employer le téléphone pour la transmission des messages télégraphiques. Le compromis ne garantit pas seulement contre tout procès et contrôle les brevets actuellement existants pour la transmission de la voix humaine, mais il établit entre la “Western Union” et la nouvelle compagnie, une communauté d’intérêts qui sera pour toutes les deux d’un prix inappréciable.
« La somme payée par Ia “BeIl Company” pour obtenir ce règlement si satisfaisant, n’est pas indiquée, mais on présume qu’elle est très-élevée, et, au point de vue commercial, c’est de l’argent bien placé. La “National Bell Telephone Company” a été fondée il y a très-peu de temps, à un capital nominal de 850,000 dollars en actions de cent dollars chacune, et la dernière vente d’actions a été sept cents dollars, bien que la compagnie n’ait pas encore payé de dividende. Les grands bénéfices réalisés ont été employés en partie à l'extension de l’entreprise, et en partie aux frais de procès qui ont menacé un instant, comme pour d'autres brevets importants, de ne laisser qu’une propriété lourde et coûteuse. Maintenant que l’affaire en litige est arrangée, et que le monde lui est ouvert, le téléphone Bell a devant lui un avenir de renommée et de fortune aussi brillant que celui qu’ont eu les grandes découvertes de notre temps.
(Boston Daily Advertiser)

sommaire

ANGLETERRE ET ALLIÉS DE NEW YORK

En février 1878, ayant désespérément besoin de fonds, la Bell Telephone Company accepta la création de la New England Telephone Company pour gérer les activités téléphoniques dans les États de la Nouvelle-Angleterre. La nouvelle compagnie supplanta alors l'ancienne agence générale dirigée par Frederick A. Gower.
Ce changement exigeait à la fois pression et diplomatie. Gower s'était vu attribuer l'agence générale pour la Nouvelle-Angleterre, à l'exclusion de Boston et d'un cercle dans un rayon de dix milles de la ville. Il avait droit à une redevance de quarante pour cent sur les loyers des premières années et de vingt-cinq pour cent sur chaque année suivante. L'agent Gower était censé garder suffisamment d'instruments à portée de main pour remplacer ceux qui étaient défectueux à tout moment et sans délai. Il devait également tenir une comptabilité régulière, établir des rapports semestriels aux titulaires de brevets, faire de la publicité pour le téléphone, déployer tous les efforts raisonnables pour introduire le téléphone et surveiller attentivement les contrefacteurs de brevets. À l'instar des autres contrats d'agents, celui de Gower prévoyait la disposition suivante :
"Les propriétaires de Bell's Telephone se réservent le droit de changer d'agent sans en indiquer le motif. . . . Il n'est ni dans l'intention ni dans l'intérêt des propriétaires d'apporter des modifications à leurs agences, et chaque agent peut compter sur l'honneur des propriétaires pour garantir qu'aucun changement ne sera apporté lorsque l'entreprise sera menée de manière approfondie et énergique par l'agent".
Dans ces conditions, Gower avait commencé à nommer des sous-agents pour son vaste territoire afin qu'ils acceptent la responsabilité de 50 $ pour les téléphones qu'ils louaient. - Comme eux, il était incapable d'obtenir la quantité et la qualité des instruments qu'il souhaitait, en particulier des cloches. Ses demandes adressées à la Bell Company faisaient écho à celles d'autres agents :
"La demande de cloches augmente de jour en jour et je ne vois pas comment la société pourrait, de manière injuste envers ses agents, ne pas prendre certaines mesures pour répondre à ce besoin pressant. Les retards actuels dans l'exécution des commandes placent les agents dans un état d'inaction qui tend à les décourager et à diminuer leur valeur à nos yeux".
Néanmoins, Gower a progressé. En septembre 1877, il a touché une commission de 90 $ et a versé environ 140 $ à la compagnie. Le mois suivant, sa commission a plus que doublé pour atteindre 194 $ et il a versé 364,35 $ à la compagnie Bell. Le 5 novembre, les loyers ont diminué, 6 mais ils ont de nouveau augmenté en décembre.
En janvier, la commission de Gower Le total des recettes s'élevait à 674,20 $, et il a versé 1 383,05 $ à la société mère.
Pendant ce temps, Gower poursuivait ses travaux sur la harpe téléphonique. Ce faisant, il suscita la colère des détenteurs de brevets Bell, qui estimaient qu'il s'attribuait injustement le mérite de son invention. Watson estimait que même si Gower l'avait inventée, il « devrait investir l'entreprise de son ingéniosité dans tout ce qui touche au téléphone ». Gower arguait que la critique de Gardiner Hubbard était injuste. En perfectionnant la harpe, expliqua-t-il, son objectif était de l'utiliser lors de conférences pour promouvoir le téléphone et renforcer Bell.

L'irritation des titulaires de brevets à l'égard de l'intérêt de Gower pour sa conférence était peut-être motivée par le fait qu'en octobre 1877, ils avaient commencé à envisager des plans pour la création de la New England Telephone Company, et que Gower demandait une participation dans le partage des actions de la nouvelle société. À l'origine, Gower pensait que Sanders, Watson et Bradley soutenaient ses revendications. Il écrivit à Hubbard :
" Compte tenu de notre entente, vous ne proposez pas, comme je le comprends parfaitement, que ma position soit compromise, mais je soumets respectueusement que le moyen le plus simple et le plus sûr de se prémunir contre ce résultat est de m'autoriser à payer. Je participerais à la division des actions dès le début de la nouvelle organisation. Cela ne coûterait que peu, voire pas du tout, à la compagnie de téléphone, ce qui me permettrait de sentir que mes efforts pour fonder l'entreprise ont été pleinement reconnus et de m'engager aussi rapidement et sérieusement que je le souhaite dans la création et l'accompagnement de la nouvelle société".
Lorsque la demande de Gower pour la division des actions fut refusée, il devint naturellement critique à l'égard de la Bell Company : « L'entreprise de Nouvelle-Angleterre se redresse et peut payer ses dépenses, et donc Hr. Hubbard accepte la proposition de M. George L. Bradley de créer une société en Nouvelle-Angleterre.
Il a conclu que la proposition visait à indemniser le cousin de Sanders pour certaines « prétendues souffrances » subies lors du développement des brevets étrangers de Bell.
Contre les critiques persistantes, Gower a défendu son travail sur la harpe et a également soutenu qu'il poussait son agence aussi loin que le permettait l'offre limitée d'instruments. Ses commandes étaient « en moyenne trois semaines en avance sur la capacité de l'entreprise à les honorer ». Gower a expliqué qu'il avait concentré son attention sur les domaines où, selon lui, la concurrence ou la contrefaçon commenceraient.
L'explication a été jugée insatisfaisante. Après avoir examiné attentivement le travail de Gower pour la Bell Telephone Company, Hubbard exprima sa déception :
« Il me semble que nous aurions accompli presque autant de choses sans agent général. En reprenant le téléphone loué par les agents de Boston, MM. Clark et Hayward, tous deux employés à mon époque, il ne reste que très peu de résultats pour votre travail. Je ne pense pas que vous ayez suffisamment d’expérience en affaires, comme le montre votre travail… pour faire une bonne et « agent efficace ou rendre justice à nous ou à vos propres capacités ».
Par conséquent, à compter du 1er janvier 1878, les relations de Gower en tant qu'agent général furent rompues par la Bell Telephone Company.
Il est difficile de dire si les raisons invoquées par Hubbard pour la révocation de Gower étaient les vraies. Les recettes de Gower avaient régulièrement augmenté et, en octobre, Sanders avait admis avoir été réconforté par la nouvelle selon laquelle Gower était revenu d'un voyage parmi ses sous-agents avec « une poche pleine d'argent ».
Il est difficile de dire si les raisons invoquées par Hubbard pour le renvoi de Gower étaient les vraies. Les recettes de Gower étaient en constante augmentation et, en octobre, Sanders avait admis avoir été réconforté par la nouvelle selon laquelle Gower était revenu d'un voyage auprès de ses sous-agents avec « une poche pleine d'argent », dont une partie servirait à payer une telle action à Charles Williams.
L'amélioration de la situation de l'agence, telle qu'indiquée par ses rapports mensuels, tend à contredire fortement les affirmations de Watson il y a de nombreuses années. que « Gower passait tellement de temps à faire de la voile qu'il ne parvenait qu'à louer très peu de téléphones.»
La Bell Company avait peut-être des attentes irréalistes quant aux bénéfices du Territoire de la Nouvelle-Angleterre.
Lorsque le successeur de Gower, la New England Telephone Company, était en activité depuis environ deux mois, Hubbard déclara également : « Ils [New England Telephone Company] n’ont pas donné de commande pour un seul téléphone qui aurait été reçu si la New England Co. n’avait pas été organisée. » Lorsque les détenteurs de brevets décidèrent de mettre fin aux services de Gower, ils furent probablement fortement influencés par l'aide financière qu'ils anticipaient dans l'organisation de la New England Company.
Pour faciliter le départ de Gower, Hubbard le pressa de reprendre les conférences téléphoniques, soulignant qu'un certain M. Johnson avait plus ou moins bien réussi à donner des conférences avec l'instrument Edison. Hubbard suggéra que Gower pourrait rendre service à Bell et à la compagnie de téléphone s'il reprenait sa carrière de conférencier. De plus, il pourrait réaliser un joli bénéfice en utilisant la harpe téléphonique comme accessoire pour une série de conférences. « Avec vos capacités supérieures de conférencier et des instruments bien meilleurs », affirmait Hubbard, « vos travaux connaîtraient un plus grand succès. »
Gower a accepté de résilier son contrat sans objection. Il considérait la volonté de Hubbard de payer ce qui était « juste et équitable » comme une forme de règlement reconnue par leur accord. En se soumettant à la décision de Hubbard, Gower souhaitait toutefois qu'il soit clairement entendu qu'il n'admettait pas la justesse des opinions de Hubbard concernant sa conduite au sein de l'agence de Nouvelle-Angleterre. Il réitéra ici son argument selon lequel il avait placé toutes les sonnettes et tous les téléphones fournis par l'entreprise, les avait encaissés et remis le plus rapidement possible et ne voyait donc pas ce qu'il aurait pu faire de plus. Il conclut par un reproche implicite :
"Merci pour votre aimable référence à ma conférence. Depuis quelques semaines, il m'apparaît de plus en plus évident que je peux et dois rendre un meilleur service à M. Bell, à moi-même et à l'entreprise qu'en « vendant » des téléphones dont la capacité est insuffisante".
Sanders, avide de fonds en perspective provenant de l'organisation de la New England Telephone Company, était ravi de la décision de Gower : « C'est un adorable garçon ! » Plus tard, le peu aimable Thomas Watson concluait : « Gower n'a pratiquement rien fait d'important dans son magnifique territoire, et il était beaucoup plus intéressé à suivre les traces de Bell. » Dans le domaine des conférences… Heureusement, son intérêt pour les conférences a permis à M. Hubbard, alors très mécontent de Gower, de le convaincre d'échanger son contrat commercial contre celui des conférences… La volonté de Gower d'opérer ce changement est une indication suffisante de son amour pour apparaître sur la scène publique.
Début janvier, Gower rédigea une lettre d'information, sur instruction de la Bell Telephone Company, informant ses sous-agents qu'en raison de l'augmentation de l'activité téléphonique, il était désormais jugé opportun de créer une société pour en prendre la responsabilité en Nouvelle-Angleterre. Par conséquent, son agence devait être fermée immédiatement. Mais les postes d'agents rapides et efficaces ne seraient pas compromis. Le 13 mars 1878, Gower soumet ses comptes définitifs à la Bell Telephone Company. Bien que le règlement des comptes ne se soit pas déroulé sans quelques désaccords, il s'est déroulé à l'amiable. Gower a continué à percevoir les loyers jusqu'à ce que la New England Telephone Company commence ses activités en février. Dans cette affaire et dans d'autres, durant la phase finale de la relation entre la Gower et la Bell Company, Gower a agi en partant du principe que, « à un moment où ses droits [à Bell] sont remis en question, un front parfaitement solide devrait être présenté par les amis de M. Bell ». Ainsi, Frederick Gower a terminé sa carrière comme agent général de la Nouvelle-Angleterre. Il est parti avec Il a exprimé publiquement son amertume et a reconnu la courtoisie uniforme qu'il avait reçue de Thomas Sanders.
Sanders avait initialement promis son argent et l'avait crédité pour le développement du téléphone, croyant que ces obligations seraient bientôt reprises par une société à capital variable. Par conséquent, il prit des mesures immédiates pour en organiser une et, en septembre 1877, il indiqua à Hubbard qu'il avait identifié des investisseurs intéressés. Sanders, protecteur des investisseurs, proposa une organisation rationnelle des intérêts de Bell, mais Hubbard rejeta le concept. Il était convaincu que les rentes couvriraient les dépenses. Hubbard refusa d'envisager autre chose qu'une société de Nouvelle-Angleterre, affirmant que les sociétés locales étaient les mieux placées pour gérer les intérêts des brevets.
Sanders dut céder et présenta donc son cousin George L. Bradley, prêt à réunir 50 000 dollars pour une nouvelle société de Nouvelle-Angleterre. « J'ai examiné cela et cela s'est avéré être notre seul moyen de nous sauver de la faillite et de la ruine », écrivit Sanders.
George L. Bradley était né à Providence. Sa famille est issue d'une famille de frères et sœurs. Son père, Charles S. Bradley, qui a également participé au financement du développement du téléphone, avait été juge en chef de la Cour suprême du Rhode Island.
Le 12 octobre 1377, Gardiner Hubbard commença à négocier les termes de l’organisation de la New England Telephone Company et ses relations avec la Bell Telephone Company. À l'origine, la Bell Company proposait la création d'une société au capital de 200 000 $, dotée du droit exclusif de louer des téléphones en Nouvelle-Angleterre, d'y construire et d'y entretenir des lignes. Quatre-vingt-dix mille dollars d'actions devaient être versés aux propriétaires de Bell et 50 000 $ d'actions devaient être vendues par George Bradley à leur valeur nominale, payables en trois versements au cours de l'année suivante. À compter du 1er janvier 1878, Bradley devait recevoir 10 000 $ d’actions pour ses efforts organisationnels, et 50 000 $ devaient être conservés en réserve et vendus au comptant, selon les besoins, aux actionnaires proportionnellement à leurs intérêts respectifs.
Douze jours plus tard, une deuxième proposition fut faite à Bradley. C'est cette proposition qui fut finalement adoptée et qui servit de base à la création de la New England Telephone Company. Cette proposition était similaire à celle du 12 octobre, sauf que 100 000 dollars d'actions devaient être versés aux propriétaires et que 3 radley devait vendre 100 000 dollars d'actions pour 50 000 dollars en espèces avant le 15 décembre. En effet, 900 actions, d'une valeur nominale de 100 dollars chacune, devaient être vendues à 55 555 dollars. afin de réunir un capital de roulement de 50 000 $ et 100 actions devaient être mises de côté pour promouvoir et démarrer la société.
En faisant ses propositions à Bradley, Hubbard souligna qu'au 1er octobre 1877, la Bell Telephone Company avait loué 2 000 téléphones et que la demande augmentait, notamment en raison des multiples usages possibles du téléphone. Hubbard était convaincu, sur la base de son expérience, que pour obtenir les meilleurs résultats en Nouvelle-Angleterre, il était nécessaire de disposer d'un capital suffisant pour construire, entretenir et louer des téléphones, ainsi que pour construire des lignes téléphoniques pour les parties qui n'étaient pas en mesure de le faire elles-mêmes. La société Bell a proposé de fournir les téléphones pour 3 $ et d'acheter les cloches d'appel actuellement disponibles pour 12 $ ; celles produites après le 1er janvier coûtent 10 $. La proposition de Hubbard dressait un tableau très optimiste de l'activité future et prévoyait de « bénéfices considérables ». Il soulignait la location actuelle de 800 téléphones à New England, pour un loyer moyen de 7,74 $ chacun, et la conviction que 1 200 instruments supplémentaires pourraient être loués dans les douze à dix-huit mois à venir, ce qui nécessiterait 300 ou 400 lignes. Hubbard a calculé un excédent net de 20 338 $ pour la première année d'exploitation, qui atteindrait 28 320 $ l'année suivante, à mesure que l'activité se développait. « À mesure que l'activité se développe, les commissions et les dépenses n'augmenteront pas à un rythme correspondant et, par conséquent, le pourcentage de bénéfices devrait augmenter régulièrement. » C'était un tableau très rosy, mais Hubbard essayait alors de recruter de nouveaux investisseurs et de vendre les propriétés de la Bell Company en Nouvelle-Angleterre.
Le problème le plus immédiat auquel Bradley était confronté était de garantir des abonnés pour l’action. Bien qu'il n'ait contacté que quelques parties, et seulement celles qui, à mon avis, soutiendront la question favorablement, il avait obtenu des gages pour la totalité du fonds de roulement avant le 6 décembre 1913.
Un problème plus grave résidait dans le désaccord entre Bradley et Hubbard concernant la représentation des intérêts de la Bell Telephone Company dans la New England Telephone Company. Hubbard souhaitait conserver le contrôle. Les relations téléphoniques ne l'ont pas disposé à considérer l'organisation de la compagnie de Nouvelle-Angleterre avec beaucoup d'enthousiasme. Il a largement coopéré avec Sanders et Bradley, compte tenu des besoins financiers de l'entreprise et de l'insistance de Sanders pour que quelque chose soit fait rapidement.
On peut déduire les véritables sentiments de Hubbard de ses instructions à Watson de ne pas remettre certains documents importants à Bradley :
« Si M. Bradley est incapable de J'en serais très heureux, car nous nous porterions mieux sans cette aide.
L'opposition de Hubbard à la New England Company a été clairement exprimée dans son accusation selon laquelle Bradley, par les termes de sa souscription d'actions, tentait de reprendre le contrôle de l'entreprise et de la diriger indépendamment de l'intérêt général de la Bell Telephone Company. Il écrivit à Bradley :
"Je pensais que la Bell Telephone Company continuerait d’assurer la gestion, sous le nom de la nouvelle société, et que vous seriez notre agent. C’était ma compréhension distincte de l’accord, et si vous aviez d’autres intentions, j’aurais été trompé. . . Si les plans de gestion de la société ne sont pas satisfaisants, il serait alors sage d’abandonner cette interprétation".
Hubbard rappela à Bradley qu'il avait déjà décliné une proposition qui lui aurait donné, à lui, le contrôle. C'était précisément pour cette raison que la moitié des actions de la société devait être placée au nom de Hubbard. En vertu de ces dispositions, rien ne pouvait porter préjudice aux intérêts de Bell. Sanders expliqua à Hubbard que les abonnés de Bradley avaient acquis ces actions, pensant qu'il s'agissait d'une nouvelle société indépendante. Il expliqua également qu'ils avaient compris que les dirigeants de la Bell Company, en tant que fiduciaires individuels, devaient détenir des actions plutôt que la société elle-même et s'unir à eux pour former la nouvelle société.
Thomas Sanders ne voyait aucun intérêt à insister sur ce point. Il connaissait presque tous les gentlemen impliqués dans l'aventure, et il savait qu'ils étaient des hommes de caractère et d'influence qui traiteraient équitablement la Bell Company. Sanders a exhorté Hubbard à ne pas retarder l'organisation de la New England Company sur cette question :
"Avec ces 50 000 dollars, apparemment, il s'agissait des garanties d'évaluation placées sur 100 000 dollars d'actions de New England Telephone, que nous avons mises à notre disposition en cas de besoin, je suis convaincu qu'aucune difficulté technique n'interviendra.
Je sais que vous avez toujours considéré cela comme une petite somme, mais il est très difficile de réunir de l'argent, surtout en cette période de crise économique, et l'argent liquide que nous obtenons ainsi vaut quatre fois plus que ce qu'il reste aujourd'hui".
George Bradley a également nié l'interprétation de Hubbard concernant la relation entre la Bell Company et la New England Company. Il a soutenu que ceux qui avaient acquis la moitié des actions de la New England Company par achat avaient tout autant le droit de déterminer les politiques de l'entreprise que ceux qui avaient acquis la moitié restante pour les droits de brevet. De plus, il semblait étrange à Bradley que Gardiner Hubbard ait voulu que la Bell Telephone Company contrôle la New England Company, qui n'avait jamais exprimé le souhait de conserver la majorité des actions. Rejetant l'accusation de Hubbard selon laquelle il tentait de prendre le contrôle de la New England Telephone Company, Bradley a réitéré sa conviction que les actions de la nouvelle société devaient être émises et détenues individuellement en fiducie par les dirigeants de la New England Telephone Company. Hubbard a accepté que les actions soient émises individuellement aux titulaires de brevets, à condition qu'ils les placent dans un pool afin qu'elles soient détenues en fiducie. une unité. De cette façon, il croyait respecter les termes de l'accord de Bradley. Hubbard expliqua que le contrat avec Bradley était contraire à son meilleur jugement, mais qu'il avait été conclu uniquement pour satisfaire les souhaits de Sanders et donner un poste à son cousin. Hubbard pensait qu'il aurait pu conclure un meilleur accord avec d'autres investisseurs, mais il avait accepté l'organisation de la New England Company car c'était le moyen le plus rapide de régler la dette de la Bell Company envers Charles Williams.
Gardiner Hubbard s'est déclaré prêt à se fier à la parole de Sanders et Watson, à ne pas se séparer de leurs actions de Nouvelle-Angleterre sans leur consentement mutuel et à voter ensemble pour des politiques dans l'intérêt de la Bell Company ; mais, a-t-il souligné, « la mort ou d'autres causes pourraient facilement survenir, ce qui vous empêcherait de conclure un accord honorifique. » Il exigea donc que certaines phases de l'activité téléphonique soient entièrement gérées et contrôlées par la Bell Telephone Company et que la New England Telephone Company prenne en charge sa part des dépenses liées au maintien du brevet téléphonique. Sanders ne partageait pas, de manière caractéristique, la compréhension de Hubbard de la situation. Il a apprécié la considération de Hubbard pour ses souhaits et son consentement à la proposition, mais il a demandé si un meilleur arrangement aurait pu être trouvé ailleurs, soulignant qu'un arrangement similaire avait déjà été refusé par leurs amis new-yorkais. Sanders a conclu : « Je n'apprécie pas que vous ayez une vision aussi sombre de ce qui semble être le tremplin vers la réussite future. » Sanders avait de bonnes raisons d'être satisfait du consentement de Hubbard à la création de la New England Company, car il estimait que la Bell Company lui devait la quasi-totalité de l'argent qu'elle recevrait de la nouvelle société.
Alors même qu'il semblait que toute opposition à la New England Company avait été surmontée, Chauncy lança une note discordante.
Smith, l'avocat en brevets de la Bell Company, qui serait chargé de la préparation du contrat de la New England Company, s'est prononcé contre la création d'une société distincte. Il a fait valoir : "Vous êtes condamné à avoir une controverse immédiate avec l'adversaire le plus puissant de ce pays de l'Union de l'Est ! et vous ne pouvez pas vous permettre de faire un pas en arrière, ce qui placerait le contrôle de l'invention dans des sociétés distinctes".
Smith a conseillé à la Bell Company d'augmenter ses actions et de les vendre au lieu d'échanger des droits de la Nouvelle-Angleterre contre des actions de la New England Company. Hubbard a approuvé la suggestion.
Charles Eustis Hubbard, frère de Gardiner, était également en désaccord avec l'idée de vendre les droits de la Nouvelle-Angleterre. Il pensait que Sanders avait tellement soif d'argent qu'il cédait « tout et n'importe quoi pour obtenir une petite partie de ces 50 000 dollars ». C. E. Hubbard a donc conseillé de retarder le transfert des droits de brevet aux investisseurs de la New England Telephone Company.
En attendant, Sanders collecterait suffisamment de recettes locatives pour répondre aux besoins immédiats, ce qui permettrait à Gardiner de maintenir sa proposition initiale à Bradley. En cas de refus de Bradley, l'accord pourrait être annulé et Gardiner pourrait procéder autrement.
Sanders a compris la sagesse d'unifier les intérêts téléphoniques et espérait que cela pourrait se réaliser. Après tout, il avait initialement suggéré un tel arrangement, mais Gardiner Hubbard l'avait refusé. Le juge C. S. Bradley a également considéré favorablement la consolidation des intérêts si un accord satisfaisant pouvait être trouvé.
Sanders pensait qu'il serait nécessaire de faire aux investisseurs de la New England Company une meilleure proposition que celle qu'ils avaient déjà acceptée :
"En ce qui me concerne, je serais enclin à leur proposer des conditions très libérales afin de former une seule entreprise pour l'ensemble du pays, organisée sur le même principe que la New England Company, exigeant des souscripteurs qu'ils collectent davantage de fonds et leur accordent un soutien substantiel. Il s'intéressait à la Bell Telephone Company".
Pendant ce temps, Sanders rappelait à Hubbard que l'argent était absolument nécessaire.
Selon Thomas Sanders, la proposition de créer une société nationale avec les investisseurs de la New England Telephone Company s'est soldée par un échec, les investisseurs ayant refusé de placer leurs fonds sous la gestion et le contrôle de Hubbard. Hubbard, à son tour, a refusé d'accepter une société nationale à d'autres conditions. Here a rejeté un plan proposé par Sanders et soutenu par les investisseurs, et ainsi la création de la New England Company a été achevée comme prévu.
Agissant conformément aux dispositions de la déclaration de fiducie, Thomas Sanders et Thomas A. Watson, représentant un tiers des intérêts de la compagnie Bell Telephone Company, ont demandé au greffier C. E. Hubbard de convoquer une assemblée extraordinaire des actionnaires afin d'examiner si les fiduciaires doivent accorder une licence de fabrication de téléphones destinés à être utilisés uniquement en Nouvelle-Angleterre à la compagnie New England Telephone Company. En conséquence, C. E. Hubbard a notifié aux actionnaires qu'une assemblée extraordinaire se tiendrait le 1er février 1888.
En raison d'une violente tempête de neige, l'assemblée a été ajournée au lendemain, 4 990 des 5 000 actions étant représentées en personne ou par procuration. (Les dix actions d'Alexander Graham Bell n'étaient pas représentées.) Les actionnaires ont voté à l'unanimité pour que le fiduciaire soit autorisé à signer l'accord avec la New England Telephone Company. Cette autorisation a été votée en contrepartie de la réception par la Bell Telephone Company de 1 000 actions entièrement libérées, soit la moitié des actions de la New England Company. Gardiner Hubbard, Thomas Sanders et Thomas Watson, agissant en qualité de fiduciaires de la Bell Telephone Company, se sont vu attribuer respectivement 600, 300 et 100 actions. Chaque fiduciaire était habilité à voter sa part des actions comme il l'entendait et aucun n'était tenu de transférer les actions en son nom sans un vote des trois quarts des actionnaires de Bell Telephone Company. Conformément à l'accord signé par Gardiner Hubbard et C. Bradley, le Trust a cédé à la New England Telephone Company la « licence complète, gratuite et exclusive » pour l'utilisation des brevets 161, 739, 174, 465, 178, 399 et 186, 787 dans les États de la Nouvelle-Angleterre. En outre, la Compagnie Bell a accepté de céder à la Compagnie de Téléphone de Nouvelle-Angleterre la licence de la Nouvelle-Angleterre relative à tout droit futur qu'elle pourrait acquérir, moyennant le paiement par la Compagnie de Nouvelle-Angleterre d'une juste et proportionnelle part du coût d'acquisition de ces nouveaux droits et intérêts. Réciproquement, la société Bell Telephone Company a eu droit à un droit de brevet similaire en dehors de la Nouvelle-Angleterre, acquis par la New England Telephone Company, après en avoir payé une partie juste et proportionnelle du coût.
Le fiduciaire a vendu et cédé tous les téléphones, les communications magnétiques et les contrats existants, qu'il possédait ou contrôlait en Nouvelle-Angleterre, au tarif de 3 $ par téléphone et de 12 $ par communication magnétique. En contrepartie, la New England Telephone Company s'engageait à employer exclusivement le fiduciaire de la Bell Telephone Company pour construire les « machines » destinées à être utilisées en Nouvelle-Angleterre, lesquelles ne devaient pas être vendues à des tiers. Elle s'engageait également à payer 3 $ pour tous les téléphones et 10 $ pour les communications magnétiques. Si le coût de fabrication devait être réduit ou augmenté à l'avenir, le prix des instruments devait être ajusté pour correspondre au coût de la main-d'œuvre et des matériaux, majoré de 15 % pour les frais généraux. Aucune modification de prix ne devait être effectuée, sauf en cas de variation d'au moins 10 % du coût. Si la Bell Company laissait des commandes non honorées pendant une période excessive, la New England Telephone Company pouvait alors trouver des moyens temporaires de combler son déficit. Les compagnies New England Telephone et Bell Telephone devaient se protéger contre l'utilisation de leurs appareils sur leur territoire respectif. Ayant toutes deux un intérêt commun dans le téléphone Bell, elles convinrent que les dépenses futures liées aux interférences de brevets et aux litiges relatifs à la validité des brevets seraient partagées, la New England Company contribuant pour un quart et les autres parties pour les trois quarts. Ainsi, les craintes de Chauncy Smith concernant la séparation des organisations furent en partie dissipées par cette disposition.
Enfin, les parties contractantes s'engagèrent à coopérer à l'établissement et à l'exploitation conjointe de lignes de raccordement. Les dépenses et les bénéfices devaient être répartis au prorata ou sur une autre base tout aussi juste et équitable.
Le 2 février 1878, jour même de la ratification du contrat de la Nouvelle-Angleterre, les signataires de l'accord d'association se réunirent afin de créer une société, la New England Telephone Company. Hubbard fut invité à en assurer la présidence. Les membres reçurent un règlement intérieur, qu'ils débattirent et adoptèrent à l'unanimité. Ce règlement était assez simple et, comme on pouvait s'y attendre, assez similaire à celui de la Bell Telephone Company. Il prévoyait la tenue d'assemblées annuelles et extraordinaires, l'élection des dirigeants, la délégation de pouvoirs et la tenue des registres. Contrairement aux règlements de la Bell Telephone Company, le trésorier de la New England Telephone Company devait déposer une caution de 20 000 $ pour l'exercice loyaux de ses fonctions. Huit administrateurs furent élus, dont Gardiner G. Hubbard, Thomas Sanders, Thomas A. Watson et Charles E. Hubbard. Thomas Sanders fut également élu trésorier à l'unanimité. Lors de la réunion du conseil d'administration, tenue immédiatement après l'assemblée générale, Gardiner Hubbard fut élu à l'unanimité président et George L. Bradley, agent général, avec un salaire annuel de 3 000 $. En effet, les dirigeants de la New England Telephone Company étaient les mêmes que ceux de la Eell Telephone Company. Charles Bradley et C. E. Hubbard reçurent l'ordre du conseil d'administration d'obtenir les statuts nécessaires à la nouvelle société.
Le 6 février, Charles Hubbard informa le conseil d'administration que le commissaire aux sociétés s'était déclaré disposé à approuver les statuts de la Nsw England Company, pour une valeur de 150 000 $ et un capital de 200 000 $, les 50 000 $ restants devant être versés en espèces.
Par conséquent, les administrateurs ont voté pour donner instruction au Trésorier et à George L. Bradley de retirer les 50 000 $.
***
Apparemment, certains souscripteurs ont hésité quant à leurs achats d'actions, car H. Saltonstall a envoyé son chèque à Sanders en lui demandant de ne pas l'utiliser avant le versement total de la souscription. « Mon objectif n'est pas de retarder le tirage du chèque, mais de considérer ma souscription d'actions comme non contraignante jusqu'à ce que le capital en espèces de 50 000 $ soit effectivement reçu, ce qui évitera toute responsabilité personnelle. »
Le Commonwealth du Massachusetts a délivré un certificat de constitution le 12 février 1878 à la New England Telephone Company. Cinq semaines plus tard, le Commissaire des sociétés délivrait un certificat de versement du capital indiquant que les abonnés avaient versé leurs 50 000 $. Ainsi, la New England Telephone Company, une société au capital social de 200 000 $ et composée de onze actionnaires, fut créée dans le but d'exercer une activité de fabrication et de location de téléphones, ainsi que de construction de lignes télégraphiques, dans les États de la Nouvelle-Angleterre.
Avec la création de la New England Telephone Company, les charges financières de Sanders, trésorier de la Bell Telephone Company, furent allégées, mais seulement temporairement. Le 20 février, il avait touché tous les fonds dus par la New England Company, à la grande indignation de certains de ses administrateurs, et il lui manquait encore des fonds pour régler l'un des billets de Williams arrivant à échéance le lendemain. Malgré cela, Sanders était optimiste, car les commandes de Nouvelle-Angleterre arrivaient plus rapidement que de toute autre région du pays. De plus, « toute l'énergie d'une entreprise vraiment puissante est désormais consacrée à cette petite section ». Hubbard contestait l'analyse de Sanders selon laquelle les progrès réalisés en Nouvelle-Angleterre résultaient des activités financières de la New England Telephone Company. Mais, réfutant l'affirmation de Sanders selon laquelle la situation financière de la Bell Company n'était pas bonne, Hubbard reconnaissait la valeur de la New England Telephone Company. Comme il l'a souligné, la Bell Telephone Company comptait parmi ses actifs 100 000 dollars d'actions de la New England Company, sur lesquelles 25 000 dollars avaient été versés en espèces et qui, selon lui, pouvaient être facilement vendues à 60 ou 70 % du prix d'achat. De plus, Sanders pouvait utiliser une partie de ces actions comme garantie pour un prêt.
Sanders reconnut plus tard que l'argent de la New England Company était non seulement le premier à être avancé pour promouvoir l'invention de Bell, mais aussi que la création de la New England Telephone Company nous avait sauvés de la ruine et avait fourni la seule base sur laquelle bâtir notre prospérité future.
Quelle que soit son importance historique, la création de la New England Company ne résolvait pas les besoins financiers à long terme de la Bell Company.
Par conséquent, les discussions reprirent concernant la réorganisation de la Bell Company, en envisageant l'inclusion éventuelle des investisseurs de la New England Company. Hubbard désapprouva les suggestions de Sanders et, au cours des négociations, réitéra son hostilité envers la New England Company et ses bailleurs de fonds. Finalement, les investisseurs de la New England vinrent en aide à la Bell Company.
La New England Telephone Company fonctionnait de manière similaire à celle de la Bell Company. Elle ne fonctionnait pas comme une société d'exploitation, mais louait plutôt des instruments à des agents et des sous-agents. La New England Company devait à la téléphonie en Nouvelle-Angleterre ce que La compagnie de téléphone Bell était chargée de la téléphonie dans le reste du pays.
La Compagnie de Nouvelle-Angleterre nommait des agents pour son territoire à des conditions très similaires à celles accordées par la Compagnie Eell à ses propres agents. Elle accordait des territoires exclusifs, exhortait les agents à faire de leur mieux pour promouvoir et introduire le téléphone, et exigeait d'eux une comptabilité précise et des rapports réguliers. La Compagnie de Nouvelle-Angleterre enjoignait à ses agents de surveiller les infractions et de les signaler, et les exhortait à ne pas déroger à ses politiques. Les agents de la Compagnie de Nouvelle-Angleterre étaient rémunérés par des commissions sur les locations de téléphones et de sonnettes. Et, comme dans les contrats de la Compagnie Bell, la pérennité des agences dépendait de « l'énergie et du succès avec lesquels vous meniez les affaires de votre entreprise ».
La politique de la Compagnie de Nouvelle-Angleterre concernant la mise en place de réseaux téléphoniques de district était également très similaire à celle de sa société mère.
Parmi les dispositions importantes adoptées par la Compagnie de Nouvelle-Angleterre figurait celle qui lui permettait d'acheter les câbles et l'équipement d'une compagnie de district à tout moment, à leur coût réel et moyennant un pourcentage de la clientèle de l'entreprise.
À l'instar de la Bell Company, la New England Telephone Company encouragea la création de compagnies de district dans les grandes villes de Nouvelle-Angleterre. Ses loyers variaient en fonction de l'utilisation des téléphones, et les agents étaient tenus de verser des avances sur les appareils dès que les commandes étaient honorées.
La New England Telephone Company, à son tour, a contribué à influencer la politique de la Bell Telephone Company. C'est elle qui a contribué à convaincre Hubbard que la location d'instruments individuels devait être autorisée. Initialement, George Bradley suggéra à Hubbard qu'il serait plus rentable de ne pas appliquer la politique exigeant deux téléphones (l'un servant d'émetteur et l'autre de récepteur) à chaque station. Hubbard était d'accord avec cette théorie, mais indiqua qu'une telle politique pourrait impliquer davantage la Bell Corporation avec l'Union des femmes et, par conséquent, être plus nuisible qu'utile. Cependant, une réunion plutôt impromptue des directeurs de la Mew England Telephone Company s'est tenue le 13 février 1878, en présence de Charles E. Hubbard, Thomas Fenders, Thomas Watson et C. S. Bradley. Ils ont voté pour donner instruction à leurs agents d'autoriser l'utilisation d'un seul téléphone par poste et de recommander simplement l'utilisation de deux téléphones au lieu d'un seul. Hubbard s'est dit surpris par l'action de la Now England Company, compte tenu de l'opposition de son État à cette politique, et plus particulièrement par le fait que le vote a été adopté sans le consulter. Il a donc demandé que ce protocole écrit soit inscrit dans les livres de la société. Hubbard s'attendait à quelque chose de similaire lorsqu'il a insisté pour que les actions de la Bell Company soient votées en bloc. C'est ce genre de comportement qui l'a poussé à se méfier des défenseurs et des investisseurs de la New England Company, et qui a rendu la réorganisation de la Bell Company plus difficile. Finalement, la Bell Company a adopté la politique de l'instrument unique, mais Hubbard a attribué ce changement au fait que la concurrence avait consenti à poursuivre une politique similaire. Il ne fait aucun doute que l'action de la New England Telephone Company a également contribué à faciliter le changement d'attitude de Hubbard.
Au cours de ses relations avec la Bell Telephone Company, la New England Telephone Company semble avoir prospéré. En commençant ses opérations avec une commande quotidienne moyenne de vingt téléphones, Bradley prévoyait de meilleures choses pour l'avenir. Watson abondait dans le même sens : « Si Bradley avait été à la position où il se trouve actuellement il y a trois mois, nous ferions de belles affaires à La New England Telephone Company »
Fin février, la New England Telephone Company avait envoyé 342 téléphones et 54 appels à ses agents, et Bradley entrevoyait la perspective de commandes plus importantes à l'avenir.En avril, cependant, Hubbard se plaignit du déclin des affaires de la New England Company. Il a cité comme preuve le fait que la New England Company n'avait commandé que 200 téléphones, tandis que le reste de l'activité de la Bell Company avait augmenté. Hubbard persistait à croire que l'organisation de la New England Telephone Company était inutile et que son adoption par Sanders était une erreur.
Malgré l'insatisfaction de Hubbard, Bradley restait optimiste. Dans l'affaire Kay, il prévoyait qu'au 1er juin, près de 2 200 téléphones seraient loués sur les 3 000 actions de la société. Il déclarait que la société réalisait un bénéfice net de 14 000 dollars par an, soit 7 % de la valeur de ses actions. « Tout bien considéré, cela me semble être une performance très satisfaisante. »
La critique de Hubbard a peut-être été indûment influencée par une controverse naissante avec la New England Telephone Company. En préconisant la réorganisation de la Bell Telephone Company, Sanders a souligné que les instruments vendus à la New England Company n'apportaient aucun bénéfice durable à la Bell Company, car chaque instrument vendu était vendu au coût réel des matériaux et de la main-d'œuvre, majoré de 15 %. Apparemment, la Bell Company a surmonté cette situation en vendant ses instruments à des prix gonflés. Il a toutefois expliqué :
Rien, à part mes conventions personnelles, n'empêche la nouvelle société de remplir son devoir d'investir dans la question des coûts. Aucune partie des dépenses courantes avant 15 ans sur le coût des matériaux et de la main-d'œuvre ne sera prise en charge par NE Co, et nous serons appelés tôt ou tard à rembourser chaque centime excédentaire sur ce montant que nous aurons perçu depuis le 25 janvier.
En effet, le 12 avril, Bradley citait ces dispositions. Les clauses du contrat relatives au prix des instruments pratiqués par la société Bell et l'opinion selon laquelle si le prix de 3 $ était supérieur à ce que Bell Telephone Company était en droit de recevoir, elle aurait dû modifier ses prix en conséquence. Répondant à la pression des actionnaires, Bell a ajusté ses prix sur les téléphones. Depuis le 2 février, la New England Telephone Company a accordé une remise de 1,25 $ sur chaque téléphone portable livré. Au 31 mai, le prix était fixé à 1,75 $ pour les téléphones portables, 3 $ pour les téléphones à cabine et 10 $ pour les sonnettes. Sanders a conclu à propos des nouveaux prix : « Je pense qu'à l'avenir, si nous sommes contraints de fabriquer aux prix de 9 %, nous ferions mieux d'abandonner la fabrication pour la New England Telephone Company et de leur permettre de fabriquer leurs propres produits. »
Un autre point qui a irrité la New England Telephone Company était le fait que la Bell Telephone Company ne lui accordait pas le statut d'agence la plus favorisée en ce qui concerne les prix des cloches d'appel. Hubbard affirmait ne voir aucune raison pour laquelle la Bell Company devrait vendre des cloches à la New England Company à des prix spéciaux accordés à certaines agences. Il défendit les actions de sa société en affirmant que certaines agences étaient confrontées à une très forte concurrence et exigeaient donc des prix spéciaux. Le 27 juillet 1878, après avoir reçu le consentement de la Bell Telephone Company, les administrateurs de la New England Telephone Company ont voté que leur société achèterait désormais Bell directement à Charles Williams ou à toute autre partie convenue. La Bell Company a également accepté de vendre à la New England Company ses téléphones au prix coûtant, à condition que la New England Telephone Company contribue. une part raisonnable du salaire de Thomas Watson .
La New England Telephone Company a poursuivi son activité jusqu'en mars 1879, période durant laquelle elle a dû faire face à de nombreux problèmes similaires à ceux rencontrés par d'autres agences et par la société mère. Bien que son organisation n'ait offert qu'un répit temporaire à Thomas Sanders, et malgré le fait qu'elle ait été la cause de frictions et de malentendus entre Sanders et Hubbard, l'organisation de la New England Telephone Company préfigurait l'organisation régionale des sociétés « associées » du futur Bell System.
De plus, grâce aux efforts de Sanders pour organiser la New England Telephone Company Compagnie d'Angleterre
La Bell Company a pu plus tard s'implanter à Boston avec un puissant élément financier.

Bell s'intéresse à New York.
La Bell Telephone Company comptait parmi ses actifs son contrat avec l'agence de New York. Ce qui confère à cette agence un intérêt particulier à cette période n'est pas seulement que ses relations contractuelles avec la Bell Company étaient uniques. et qu'elle servait d'agent pour la New England Company dans plusieurs comtés du Massachusetts et du Connecticut,4 mais aussi que Hubbard considérait les accords de New York comme une alternative plus satisfaisante pour la collecte de fonds que les propositions de Sanders pour l'organisation de la New England Telephone Company.
Les espoirs de Hubbard pour l'agence new-yorkaise étaient de longue date.
Les deux principaux dirigeants de l'agence new-yorkaise étaient Hilborne Roosevelt, cousin du père de Theodore Roosevelt, considéré comme l'un des hommes les plus respectés de New York, et Charles Cheever, infirme de naissance et membre d'une importante famille new-yorkaise.
L'affiliation de Roosevelt au téléphone résultait de sa participation à l'une des conférences de Bell.
Cheever a établi ses relations grâce à une présentation d'Anthony Pollok à Gardiner Hubbard et Alexander Graham Bell. Ensemble, Cheever et Roosevelt ont négocié et obtenu des droits d'agence exclusifs pour la ville de New York et certaines parties du New Jersey.
Ils prévoyaient une introduction rapide et systématique du téléphone, aboutissant à la mise en place d'un système de central téléphonique sur leur territoire. Les conditions obtenues par l'agence de New York étaient inhabituelles à plusieurs égards. La Bell Company fixait la commission et les prix de ses téléphones. Cependant, comme Cheever et Roosevelt pensaient pouvoir louer des téléphones à des prix plus élevés que la normale, il fut convenu qu'ils percevraient une commission de 40 % sur les téléphones loués à 20 $ et de 50 % sur toute somme excédant ce montant. De plus, la Bell Telephone Company accepta de partager les pertes résultant de remises inhabituelles sur les téléphones loués en quantité.
L'agence de New York ne devait participer à aucun coût pour la défense de la validité des brevets de Bell, comme la New England Telephone Company fut ultérieurement tenue de le faire. La caractéristique la plus particulière du contrat new-yorkais était la clause par laquelle les agents garantissaient qu'au bout de deux ans, ils paieraient au fiduciaire une somme égale au loyer de 2 000 téléphones, sous peine de résilier leur contrat. Plusieurs propositions ont été envisagées pour la création d'une société new-yorkaise. L’un envisageait la création d’une société avec un capital de 150 000 $, et un autre une société avec un capital de 300 000 $. Cependant, selon les statuts de la société, la « Electronic Corporation of New York » fut constituée avec un capital de seulement 20 000 $. Son entrée en activité était prévue le 1er août 1877 et sa fermeture le 31 août 1927.
Initialement, Kubbard pensait que les détenteurs de brevets Bell obtiendraient une participation majoritaire dans la société de New York, mais une fois constituée, la société Les locataires n'ont reçu que la moitié du capital de la société, d'une valeur de 10 000 $ en actions. Cheever et Roosevelt ont été nommés agents de la Telephone Company of New York et ont assumé la responsabilité de la location de 2 000 instruments en deux ans.
Le contrat de la Bell Company avec la New York Company reflétait le sentiment que New York représentait une zone lucrative propice au développement du secteur de la téléphonie. Hubbard, comme d'habitude, était très optimiste quant à l'avenir et très généreux dans ses éloges : « L'activité à New York vaut bien plus que celle de toutes nos autres agences réunies. » Tandis que Hubbard
ne tarissait d'éloges sur les agents new-yorkais, Sanders leur demanda de lui faire parvenir un virement pour couvrir quelque 400 instruments déjà expédiés.
Malgré cela, Hubbard était fier du choix de ses agents new-yorkais :
« Plus je vois et connais Hubbard. « Mieux encore, je suis satisfait de son agence et je doute que nous ayons pu trouver quelqu'un qui nous aurait donné une aussi bonne satisfaction. »
Roosevelt et Cheever ont rencontré les problèmes habituels dans la gestion de leur agence. Ils ont fait valoir que leurs remises devraient être plus importantes, qu'ils étaient insatisfaits de leurs appels de cloches et qu'ils se sont plaints que leurs commandes n'étaient pas traitées rapidement. Les attentes concernant l'agence de New York se révélèrent rapidement insatisfaites dans le cadre des accords existants.
En novembre 1877, Cheever proposa la création d'une nouvelle société chargée de gérer la téléphonie dans tout l'État de New York. Cette proposition ressemblait à celle envisagée pour la création de la New England Telephone Company.
Selon les termes de la proposition de Cheever, la société new-yorkaise devait être réorganisée. Avec un capital de 00 000 $, la moitié allant aux titulaires de brevets et l'autre moitié à ceux qui fourniraient un capital de 110 000 $. Quinze mille dollars devaient être avancés immédiatement à la Bell Company pour l'achat d'instruments. Bien que le plan ne soit pas entièrement acceptable pour Hubbard, il le jugeait bénéfique car il fournirait l'argent et le crédit dont il avait tant besoin. Négociations entre Hubbard et Cheever poursuivit et Hubbard rédigea même un accord détaillant les termes de la proposition de Cheever. L'opposition au plan de Cheever vint notamment de Thomas Sanders :
M. Cheever est extrêmement ambitieux dans l'élaboration d'un plan pour une entreprise, mais pour autant que je puisse me faire cette proposition, elle envisage de placer MM. Cheever et Roosevelt sur une base bien meilleure que celle prévue par l'ancien arrangement et aux dépens de la Chambre. Sanders était particulièrement perturbé par la disposition exigeant que la compagnie Bell fournisse des téléphones jusqu'à ce que les loyers s'élèvent à 20 000 $ pour sa part des actions de la compagnie réorganisée. Étant donné la théorie de fonctionnement de la compagnie Bell et ses ressources fiduciaires limitées, une proposition qui ne générait pas de revenus immédiats pouvait difficilement être mise en œuvre. être acceptable pour Sanders.
Il était toutefois disposé à reconsidérer si la New York Company acceptait de payer 3 $ pour chaque téléphone et 10 $ pour chaque sonnette, comme le faisait la New England Telephone Company.
Les négociations se poursuivirent jusqu'en mars 1878. Cheever préconisa une réorganisation de la Compagnie du Téléphone de New York, arguant qu'elle était nécessaire pour obtenir des capitaux supplémentaires. Cheever et Roosevelt refusèrent de contribuer davantage à l'entreprise de téléphone. Selon leurs estimations, ils avaient déjà avancé 18 000 dollars. Cheever conclut qu'à moins que quelque chose ne soit fait rapidement, il devrait conseiller à l'un des plus importants créanciers de la New York Company de se tourner vers la Bell Telephone Company pour obtenir un paiement.
En avril, il devint clair pour Hubbard que la Bell Telephone Company devrait reprendre l'entreprise de Cheever en main. Le 23 avril, Cheever et Roosevelt ont informé Hubbard qu'ils souhaitaient être relevés de leurs responsabilités et ont proposé de vendre leur participation dans la société pour 30 000 $. Ils ont suggéré que la Now Hnpland Telephone Company souhaitait très probablement acquérir notre champ d'activité, car ils semblent avoir beaucoup plus de courage que nous et se montrent prêts à investir. Ils étaient dans l'entreprise de leur propre localité… peut-être qu'ils aimeraient nous racheter.
Hubbard chargea alors Sanders d'informer le plus grand créancier de la New York Company de transmettre leurs factures à la Bell Telephone Company. » Il s'agissait d'une nouvelle ponction sur les ressources déjà surchargées de la société mère.
L'agence new-yorkaise a échoué pour plusieurs raisons. Malgré son évaluation optimiste initiale, Hubbard a finalement été contraint de conclure que Cheever était « malade et inapte » à prendre en charge sa propre entreprise. De plus, Hubbard estimait que Cheever n'était pas entouré d'« hommes compétents ». Ceci, combiné au fait que Cheever a essayé d'en faire trop, a lui-même expliqué dans une large mesure, du moins à Hubbard, l'échec de la compagnie de téléphone de New York. L'analyse de Sanders était probablement plus juste. Il estimait que la New York Company avait investi trop massivement dans la construction et la location de lignes plutôt que dans la location de lignes. concert avec certaines des compagnies de télégraphes du district de la ville. L'analyse des états financiers de Cheever montre en outre que la New York Company avait plus d'instruments en stock, prêtés pour essai et entre les mains de ses agents (50 £) qu'elle n'en avait loués (37 £).
Selon les termes définitifs du règlement, la Bell Telephone Company a accepté de prendre le contrôle de New York propriété et payer 14 000 $ à Cheever et Roosevelt, laissant un solde litigieux de 14 000 $ qui devait être réglé par un arbitre. La société Bell a versé à la société de New York 2 012,12 $ en espèces et trois billets de 4 666,6 $ chacun, plus les intérêts.
Hubbard proposa à la Bell Company de payer 8 000 $ sur la somme litigieuse, Cheever et Roosevelt absorbant le reste de la perte.
Le 30 juillet 1878, les documents transférant les biens de la Compagnie de téléphone de New York à la Bell Telephone Company de Boston furent officiellement signés. En contrepartie des biens cédés, la Bell Telephone Company a accepté d'assumer toutes les obligations de la Telephone Company of New York. Selon les estimations de Hubbard, la Bell Company recevait des biens d'une valeur de 18 553,30 $. Elle a ainsi subi une perte de plus de 6 000 $. Lorsque la Bell Telephone Company a débuté ses activités en tant que société en juillet 1878, elle a dû faire face à l'instabilité de la situation à New York et aux obligations financières qui en découlaient. Heureusement, elle commandait désormais les services de Theodore N. Vail, à qui l'on avait confié la responsabilité de sortir la Bell Company de son impasse new-yorkaise en y créant une nouvelle société et en s'assurant le soutien d'autres bailleurs de fonds.

sommaire

Octobre 1878 dans le "Scientic American" Hopkins décrit comment fabriquer son téléphone :
Le téléphone, bien que généralement bien connu aujourd'hui, n'est pas moins intéressant qu'il ne l'était au début. Il existe de nombreuses formes de ce merveilleux instrument, dont certaines sont très simples, faciles à construire et à utiliser, tandis que d'autres sont plus compliquées. Le principe est le même dans toutes.
Dans la gravure ci-jointe, la figure 1 représente un téléphone en service ; la figure 2 est un instrument facile à construire ; la figure 3 est une coupe verticale d'une partie du même ; la figure 4 est un téléphone de la forme Bell ; et les figures 5 et 6 illustrent les méthodes de magnétisation des barres pour téléphones.
Le téléphone représenté sur la figure 2 utilise deux aimants en U ordinaires, qui peuvent être de n'importe quelle taille pratique et peuvent être achetés dans presque n'importe quelle quincaillerie ou magasin de jouets. Un noyau de fer de 80 pieds est serré entre deux pôles similaires des aimants et est fileté pour recevoir la bobine, sur laquelle est formée une bride pour supporter le diaphragme et l'embouchure. Les extrémités du fil qui forme la bobine sont reliées aux bornes de connexion vissées dans la bride. Le disque ou diaphragme est constitué d'une plaque de ferrotype ordinaire, telle qu'on peut s'en procurer chez n'importe quel photographe.

Le téléphone représenté sur la figure 4 a un manche en bois qui contient un aimant en barre ronde, K, ayant à une extrémité une bobine, L, en fil fin isolé. Les bornes de la bobine sont reliées aux bornes de connexion, N, à l'extrémité du manche. Le disque en fer, J, est supporté dans l'embouchure près de l'extrémité de l'aimant.
Lorsque les ondes sonores frappent le disque du téléphone émetteur, le disque vibre devant l'aimant, et comme il est lui-même un aimant par induction, sa puissance change constamment pendant qu'il vibre. Lorsque la plaque se déplace vers la bobine, un courant est induit dans cette dernière, qui traverse toute la longueur du fil la reliant à un instrument distant ; lorsque la plaque revient, un courant inverse s'ensuit. Ces courants ondulants produisent dans le disque de l'instrument récepteur des vibrations similaires à celles de l'instrument émetteur.
A l'intention de tous ceux qui désirent construire un téléphone, nous avons publié dans le SUPPLÉMENT SCIENTIFIC AMERICAN, n° 142, des instructions complètes, accompagnées de dessins grandeur nature, pour la fabrication d'un téléphone fonctionnel.


SUPPLÉMENT 142 page 2261 : COMMENT FABRIQUER UN TÉLÉPHONE FONCTIONNEL. Par Georce M. Hopkins.
Comme la plupart, sinon tous les lecteurs de ce journal, connaissent le principe du téléphone articulé, et comme une compréhension approfondie du principe sur lequel il fonctionne n'est pas essentielle à la construction de l'instrument, je vais omettre les détails du principe de fonctionnement, et je vais procéder immédiatement à la description de la manière dont un téléphone peut être facilement fabriqué.
La figure 1 de la gravure de la page 2260 montre le téléphone en fonctionnement actif, un téléphone utilisant des aimants en U ordinaires.
La figure 3 est une vue en coupe détaillée du même. La figure 4 est une élévation latérale partiellement en coupe d'un téléphone qui est essentiellement le même que celui de Bell. Les figures 5 et 6 représentent des dispositifs pour magnétiser les barres des téléphones. Les figures 2, 3 et 4 représentent la taille réelle des instruments.
Le téléphone représenté sur les figures 2 et 3 est très facile à fabriquer. Les deux aimants en U, B, qui peuvent être de la taille indiquée sur la gravure, ou plus grands ou plus petits, peuvent être achetés dans presque toutes les quincailleries ou magasins de jouets, et le noyau en fer doux, A, sur lequel est placée la bobine, D, peut être fileté extérieurement et aplati pour s'adapter entre les aimants par n'importe quel forgeron ou ouvrier en fer. Le noyau en fer, A, doit avoir un diamètre de 30 pouces, et l'extrémité aplatie qui s'étend sur environ 1 pouce entre les aimants doit avoir une épaisseur de 14 pouces, et les autres pôles doivent être séparés de la même distance par un bloc de bois.
Les deux aimants sont fermement serrés ensemble par les vis, C, et la vis, qui s'étend à travers l'un d'eux dans un trou taraudé dans l'autre. Les aimants doivent être disposés avec des pôles similaires en contact avec le noyau en fer doux, A.
La bobine en bois, D, a un diamètre de 1 pouce et une longueur de 50, et a sur son extrémité extérieure une bride concave, E ayant une surface d'appui annulaire pour le diaphragme ; F. La bride a un diamètre de 244 pouces et la surface d'appui annulaire a une largeur de 1/2 pouce, ce qui laisse la partie médiane du diaphragme, qui a un diamètre de 134 pouces, libre de vibrer.
La bobine est enroulée avec 1/2 once de fil de cuivre recouvert de soie n° 36 ou n° 38, et les extrémités du fil sont fixées à de petites vis de serrage, a, qui dépassent de l'arrière de la bride concave, E.
Le diaphragme, qui est simplement un disque de fer étamé très léger ou une plaque de ferrotype, a le même diamètre que la bride, E, sur laquelle il est placé.
L'embouchure, G, est fixée à la bride, E, par trois petites vis ; le diaphragme étant fixé à trois endroits équidistants pour permettre ce mode de fixation. Le diamètre de l'ouverture de l'embouchure est de 14 pouces et l'embouchure, comme la bride, doit être concave.
La distance entre le diaphragme F et l'extrémité du noyau en fer doux A est réglée en vissant la bobine D vers le haut ou vers le bas sur le noyau. Le meilleur réglage consiste probablement à placer le diaphragme aussi près que possible de l'extrémité du noyau sans provoquer de secousses lorsque l'on parle à l'instrument.
Ce téléphone, lorsqu'il est connecté à un autre du même type au moyen de deux fils porteurs fixés dans les bornes de connexion, fonctionnera admirablement. Un seul fil peut être utilisé pour connecter une borne de connexion de chaque téléphone, l'autre borne de connexion étant connectée à la conduite d'eau ou à un fil de terre correctement connecté à de grandes plaques métalliques enterrées dans la terre constamment humide.
Le téléphone ainsi décrit est plus facile à fabriquer que celui représenté sur la figure 4, car le problème de magnétisation de l'acier est évité.
En remplaçant le noyau de fer A par un aimant en barre de 3 pouces de diamètre et de 5 pouces de long, fileté à une extrémité, on obtient un téléphone très compact et facile à régler.
Le téléphone représenté en coupe partielle sur la figure 4 se compose de 5 parties principales : la poignée H, l'embouchure I, le diaphragme J, l'aimant K et la bobine L. La poignée est percée longitudinalement au centre pour recevoir l'aimant rond K et il y a deux petits trous sur les côtés opposés de l'aimant, à travers lesquels passent les fils robustes M, qui sont soudés aux bornes de la bobine L et reliés aux vis de fixation N à l'extrémité de la poignée. La poignée H est logée pour recevoir la bobine L et possède une embouchure I et un diaphragme J qui sont de la même taille que ceux décrits précédemment.
Dans le cas présent, l'embouchure ou le capuchon est vissé sur la poignée, mais il peut être fixé avec tout autant d'avantages au moyen de petites vis, comme le montrent les figures 2 et 3.
La bobine doit être remplie d'environ 1 once. de fil de cuivre recouvert de soie n° 36 ou n° 38, et les aimants doivent être placés aussi près que possible du diaphragme sans le toucher, et lorsqu'il est correctement réglé, il est serré par une vis, O, à l'extrémité la plus petite de la poignée. L'aimant en barre, K, a un diamètre de 3 pouces 1/2 et une longueur de 6 pouces.
La connexion entre deux ou plusieurs téléphones et la connexion à la terre est effectuée de la manière décrite précédemment.
Il existe deux méthodes de magnétisation des barres que je vais décrire. La première chose à faire est de durcir et de tremper la barre. Cela se fait en la chauffant jusqu'à ce qu'elle soit rouge cerise foncé et en la plongeant dans de l'eau froide, puis en tirant la trempe jusqu'à ce qu'elle soit de couleur paille. La première méthode de magnétisation consiste à placer à chaque extrémité de la barre d'acier trempé, Q (fig. 5), un capuchon en fer doux, R, et à enfermer la barre ainsi armée dans une hélice, P, faite de trois ou quatre couches de fil de cuivre isolé n° 16, et à connecter l'hélice à 4 ou 6 piles Bunsen disposées en fonction de la quantité. L'hélice doit s'étendre jusqu'aux extrémités des capuchons en fer doux, et elle doit être déconnectée de la batterie avant de retirer l'aimant.
Une autre méthode consiste à faire passer une hélice, 8, sur la barre, T (fig. 6). L'hélice, 8, est composée d'environ 10 onces. Le fil de cuivre isolé n° 16 a un diamètre intérieur de 40 pouces et une longueur d'environ 144 pouces.
L'hélice étant connectée à une batterie de 6 cellules Bunsen, elle est tirée sur la barre d'un bout à l'autre et ramenée au milieu de la barre lorsque la batterie doit être déconnectée. Ce sont des méthodes de magnétisation faciles et peuvent être pratiquées par toute personne possédant les appareils, mais les aimants ne posséderont pas la force présentée par des aimants chargés par une puissante machine magnéto-électrique.
Le fil de la ligne téléphonique doit être isolé de la même manière que les fils télégraphiques. Pour les lignes courtes, un fil de retour doit être utilisé ; pour les lignes longues, il faudra une connexion à la terre.

Février 1878 vu dans le "Scientic American"
Utilisation du téléphone.
Les gens de 'Bell telephone' dans une ville ont adopté le système de location d'appareils à 50 $ la paire double par an pour une utilisation sur les lignes locales et refusent de les vendre aux utilisateurs.
Afin d'empêcher toute violation de leurs brevets, ils confient à des agents le soin de surveiller les tentatives de fabrication privée de l'invention dans certains districts et, en cas de détection, d'exiger du fabricant non autorisé le même loyer que s'il avait régulièrement loué son appareil. Cette méthode de gestion d'un brevet est rarement couronnée de succès. L'appareil peut être construit très facilement et pour seulement quelques cents ; c'est une telle nouveauté que des centaines de personnes le fabriqueront, ne serait-ce que pour satisfaire leur curiosité, tandis que d'autres, ayant trouvé des utilisations pour lui, continueront à l'utiliser aussi librement qu'ils le feraient pour le télégraphe. Aucun système d'espionnage ne peut tenir compte de tous ces cas, et par conséquent, il serait probablement beaucoup plus rémunérateur si l'invention était fabriquée et vendue avec un bénéfice raisonnable. C'est ce qui se fait déjà en Allemagne, nous écrit un correspondant, où le professeur Bell n'a pas de brevets et où l'on peut acheter une paire d'instruments pour six dollars. En Angleterre, le prix demandé est de 150 dollars, ce qui est évidemment excessif. Les titulaires et les propriétaires de brevets commettent une erreur en essayant de réaliser de plus gros profits en gardant leurs appareils si étroitement. Il y a plus à gagner en les laissant entrer dans l'usage le plus large possible et en faisant preuve d'une libéralité raisonnable
.

sommaire

Confrontation Western Union et Bell Company : UN GÉANT  MENACE

La construction du téléphone de Bell était relativement simple, malgré la complexité du principe scientifique qui le sous-tendait, comme l'avaient souligné Chauncy Smith et John Ponton. Par conséquent, plusieurs entreprises ont vu le jour, tentant ponctuellement de répondre à la demande de téléphones en fournissant des composants et des instructions permettant à chacun de créer son propre modèle fonctionnel.
Dès 1877, C. E. Jones & Brother de Cincinnati, fabricants et revendeurs d'équipements électriques et télégraphiques, annonçaient comment construire des téléphones et proposaient un ensemble complet de pièces détachées pour 5 $. L'entreprise a reconnu sa dette envers Alexander Graham Bell : « Le principe du téléphone est très ancien, mais son application a été inventée et brevetée par A.G. Bell de Boston. ».
Néanmoins, Hubbard déposa une plainte en novembre 1878 et l'affaire fut finalement réglée au nom des intérêts de Bell au début de 1879.
Une autre infraction précoce fut celle de L. G. Tillotson Co. de New York.
Contrairement à l'affaire Jones, l'affaire Tillotson fut réglée relativement rapidement et à l'amiable. Tillotson a proposé des composants ayant la forme exacte de ceux des modèles Bell et a décrit leur méthode d'assemblage, en utilisant même une illustration de la Bell Company.
Charles Cheever a appelé à une action juridique, arguant que « chaque jour, le retard ébranle la confiance du public quant à notre force et fait de nous de nouveaux ennemis ». Le comportement de Tillotson résultait apparemment d'un malentendu. Après avoir été informé et avoir obtenu des explications sur les droits de Bell, il a cessé ses activités illicites. Il a affirmé n'avoir eu aucune intention de mal agir et a exprimé ses regrets « à maintes reprises ». Sous la direction du conseiller juridique de Bell Company, Tillotson and Company a rédigé une lettre d'excuses publiques. Dans cette lettre, l'entreprise annonçait avoir cessé la vente de composants et demandait à ses clients de restituer les téléphones précédemment vendus et d'être remboursés. Tillotson a proposé de faire tout son possible pour indemniser la Bell Company.
Malheureusement, tous ces concurrents n'ont pas pu être traités aussi rapidement et efficacement. D'autres ont nécessité du temps, de la patience et de l'argent. Parmi eux, le plus important était Western Union, qui représentait la plus grande menace concurrentielle pour les intérêts de Bell.
La Western Union Telegraph Company a été la première à être alertée des possibilités d’une invention téléphonique dans le cadre de ses recherches sur la télégraphie harmonique. En juillet 1875, le président William Orton a présenté à Thomas Edison un résumé d'un rapport sur l'invention de Philip Reis, précurseur du téléphone. Au printemps 1876, la Western Union versait à Edison une rémunération mensuelle de 500 dollars pour effectuer des recherches sur le « télégraphe parlant ».
Lorsque les détails du téléphone de Bell furent rendus publics, Edison retourna à l'un de ses propres modèles et découvrit qu'il était également capable de transmettre des sons, bien que très faiblement. Edison pensait que sa mauvaise audition l'avait empêché d'entendre les sons indistinctement. Il écrivit plus tard : « Lorsque Bell a eu cette idée de téléphone, j’ai essayé de la modifier et le son qui sortait de l’instrument était si faible que je ne pouvais pas l’entendre. »
Selon Matthew Josephson, biographe d’Edison, Edison a reconnu avoir été largement dépassé et a continué à améliorer le téléphone, apportant ainsi sa propre contribution. En effet, les améliorations téléphoniques d’Edison allaient constituer une menace très sérieuse pour la société Bell.
La décision de la Western Union de se lancer dans le commerce téléphonique a amené un adversaire redoutable dans ce domaine : la Western Union Telegraph Company, puissante et riche. En 1876, année de la création de la Bell Patent Association, le capital de la Western Union s'élevait à 41 073 410 dollars. Ses recettes brutes pour l'exercice 1876 s'élevaient à 10 034 983,66 $ et son bénéfice net à 3 399 509,97 $.4 L'année suivante, lorsque Western Union s'est inquiétée des effets possibles du téléphone, son bénéfice net a légèrement diminué, reflétant une réduction du taux moyen de transmission. Elles s'élevaient à 3 140 127,67 $. Néanmoins, la Western Union possédait d'importantes ressources financières, comparées à celles de Bell Int'l en difficulté.
Western Union s'est officiellement lancée dans le secteur du téléphone en novembre 1877, avec la signature d'un protocole d'accord entre la Harmonic Telegraph Company et la Gold and Stock Company pour le développement et l'introduction du téléphone. La Harmonic Telegraph Company avait été créée en mai 1876 pour développer et exploiter les inventions d'Elisha Gray. La Gold and Stock Company exploite un système de télégraphie de données qui transmet diverses informations financières de la chambre de compensation de New York aux banques et institutions financières abonnées. La Gold and Stock Company avait un capital de 2 500 000 $, dont près de la moitié appartenait à la Western Union. En réalité, la Gold and Stock Company était une filiale de la Western Union.
Selon les termes du protocole d'accord, repris dans les articles officiels de l'accord du 22 décembre 1877, l'Harmonic Telegraph Company et la Gold and Stock Company ont convenu de créer l'American Speaking Telephone Company avec un capital de 300 000 $, dont les deux tiers des actions devait être émis à la Gold and Stock et un tiers à la Harmonic Telegraph Company.
La Harmonic Telegraph Company a cédé les inventions téléphoniques d'Elisha Gray à l'American Speaking Telephone Company. (AST)
Il s'agissait de dix lettres de brevet datées du 20 juillet 1875 au 28 août 1877, et comprenant un « émetteur (et récepteur) pour télégraphe électro-harmonique » et un « disjoncteur automatique pour télégraphes électro-harmoniques à impression. »
La Gold and Stock Company a cédé à l'American Speaking Telephone Company toutes ses inventions téléphoniques actuelles et futures, principalement celles qu'elle avait acquises auprès d'Amos Dolbear. Dolbear, revendiquant la priorité d'invention, accepta en septembre 1877 de déposer des brevets sur ses inventions téléphoniques et de les céder à la Gold and Stock Company, qui devait prendre en charge les frais juridiques et les dépenses d'obtention desdits brevets. La Gold and Stock Company et l'Harmonic Telegraph Company convinrent que toute future invention téléphonique qu'elles pourraient acquérir serait également cédée à l'American Company. La "Société de Téléphone Parlant" a, à son tour, cédé à la "Société d'Or et d'Actions" le « droit exclusif de fabriquer, d'utiliser, de vendre, de louer ou de concéder sous licence à des tiers » les inventions téléphoniques précédemment acquises. Les conditions devaient être fixées par l'American Company. La Société d'Or et d'Actions est ainsi devenue l'agent exclusif de l'American Speaking Telephone Company. La Société d'Or et d'Actions était tenue d'avancer les fonds et de fournir les garanties. identifier les moyens et les installations nécessaires à l’accomplissement de ses tâches.
Il était prévu qu'elle avance des fonds pour l'obtention de brevets et pour la poursuite et la défense des poursuites jugées nécessaires par les administrateurs de l'American Company, pour la protection et le développement de l'entreprise. Les droits de l'Or et des Actions se limitaient à la fabrication, à la vente, à la location et à l'octroi de licences pour la fabrication et la vente d'instruments téléphoniques. Ils n'incluaient pas la construction, la location, la vente ou l'entretien des lignes télégraphiques sur lesquelles ces instruments devaient être placés. Il est important de noter que les articles de l'accord contenaient une disposition selon laquelle il était entendu et convenu que, chaque fois que des téléphones étaient raccordés à une ligne existante appartenant à la Gold and Stock Company, le loyer de la ligne ne devait pas être augmenté au-delà du loyer fixé par l'American Corporation pour le téléphone. Lorsque les lignes téléphoniques furent érigées exclusivement, leur longueur ne devait pas dépasser celle de lignes similaires sur lesquelles seuls trois instruments télégraphiques étaient fixés. Cette disposition semble avoir été destinée à assurer la parité des tarifs téléphoniques avec ceux de Gold and Stock. Le protocole d'accord et les articles de l'accord conclus stipulaient que les souscripteurs admettraient les titulaires des brevets de Bell Telephone. Les titulaires de brevets de Bell pourraient acquérir un droit de vote d'un quart dans l'American Speaking Telephone Company. Naturellement, ils devraient accepter les mêmes conditions que les autres abonnés et, ce faisant, renonceraient à leur droit d'exercer directement l'activité téléphonique, puisque Gold and Stock était l'agent unique et exclusif d'AST Co.
Les articles de l'accord devaient rester en vigueur pendant vingt ans.
La Western Union n'était signataire ni du Mémorandum ni des articles de l'accord et, par conséquent, techniquement, n'était pas impliquée. Bien sûr, il était clair dès le départ pour toutes les parties concernées que la Western Union avait un intérêt dans le succès de l'American Company et qu'elle jouait en fait un rôle directeur dans ses activités par l'intermédiaire de la Gold and Stock Company. Les progrès d'Edison dans le perfectionnement du téléphone améliorèrent les chances de succès des concurrents de la Bell Company. En mars 1877, Edison avait obtenu des fonds supplémentaires de la Western Union et envisageait désormais l'utilisation d'un transmetteur à piles utilisant certains des principes du microphone. Un mois plus tard, il déposait son premier brevet pour un téléphone. Ainsi, l'« American Speaking Telephone Company », et par son intermédiaire la Western Union, était prête à affronter la Bell Telephone Company dans sa lutte pour la suprématie dans le domaine de la téléphonie. Non seulement l'AST possédait des droits de propriété sur les revendications de priorité de nombreux inventeurs, mais elle comptait également parmi ses collaborateurs l'un des plus grands inventeurs américains dans le domaine de la téléphonie. Par-dessus tout, la société ASTF était solidement soutenue par les ressources de la GdH& Stock-Western Union.
Les efforts des détenteurs de brevets Bell pour résoudre les conflits de revendications de brevets ont commencé dès le 18 janvier 1877, lorsque Hubbard a indiqué qu'il était prêt à un compromis avec Elisha Gray sur les interférences du télégraphe harmonique. Selon l'avocat de Gray, V. D. Baldwin, Hubbard abandonna l'idée d'unifier la théorie de Bell et les compétences pratiques de Gray. La suggestion de Hubbard resta lettre morte, et le litige concernant les inventions du télégraphe harmonique continua d'inquiéter les titulaires de brevets de Bell, et ce d'autant plus qu'il était lié à la lutte pour la Western Union.
Avant la création de la société AST, et alors qu'il négociait avec la Western Union, Elisha Gray proposait un compromis avec les intérêts de Bell. Utilisant Charles A. Cheever comme principal interlocuteur, Gray suggéra aux titulaires de brevets Bell d'échanger leurs revendications sur le télégraphe harmonique contre celles de Gray sur le téléphone. Pour renforcer sa position de négociation, Gray ajouta que ses revendications téléphoniques couvraient celles d'Edison.
Pendant que Gray négociait avec les titulaires de brevets Bell, la Western Union cherchait également un arrangement avec eux. Elle souhaitait soit créer une grande entreprise qui contrôlerait divers intérêts concurrents, soit gérer l'activité téléphonique en partenariat avec les intérêts Bell. Gray finira par rejoindre la Western Union pour créer la société AST, mais en attendant, il poursuivra des négociations séparées avec Gardiner C.
Hubbard. Cheever informa Gray de la volonté de Hubbard de « faire un sacrifice » et lui fit confiance pour sa disposition. Sous réserve de l'approbation d'Alexander Graham Bell, Hubbard accepta d'échanger les droits harmoniques de Bell contre ceux de Gray en matière téléphonique. De plus, il souhaitait que le procédé télégraphique autographique de Bell soit protégé. Hubbard souhaitait qu'il soit clairement entendu que l'accord précédent n'était conclu qu'à la condition que vous, Gray, disposiez, auprès de l'Office des brevets ou autrement, de revendications antérieures couvrant les revendications d'Edison sur l'invention du téléphone telle qu'elle est actuellement formulée par lui, et bien entendu, couvrant toutes les revendications similaires qui existent actuellement ou qui le seront à l'avenir, et qui peuvent être tentées de la même manière par quiconque.

En septembre 1877, Gray avait autorisé le président de la Western Union, Grton, à négocier en son nom. George Walker, vice-président de la Gold and Stock Company, transmit cette information à Charles Cheever, ainsi que le fait que la Western Union contrôlait également les inventions d'Edison et de Dolbear. Malgré tout, Walker était disposé à un compromis avec Bell Company si ses instruments fonctionnaient de manière satisfaisante, car la politique de G&S était de n'avoir aucun rival dans ce domaine digne d'être considéré comme un concurrent.
Alors que les deux parties réclamaient un compromis, l'avocat en brevets de Bell, Anthony Pollok, a fait valoir que les brevets de Bell étaient suffisamment solides pour être utilisés indépendamment et qu'il n'était donc pas enclin à recommander un compromis impliquant un grand sacrifice pour les intérêts de Bell. Il a préconisé une action en justice contre toute contrefaçon dès qu'il y aurait des preuves tangibles pour la justifier.
Pollok a vivement approuvé le recrutement par la société de l'éminent avocat Edward N. Dickerson, dont l'opinion, pensait-il, aurait beaucoup de poids auprès du syndicat des démocrates. Les détenteurs de brevets Bell semblaient accorder une grande confiance à la sécurisation des services juridiques clés susceptibles d'influencer la Western Union. En août, Hubbard avait tenté d'engager W. D. Baldwin, l'avocat de Gray, pour représenter les intérêts de Bell contre d'autres parties que Gray. Pendant la création de l'American Speaking Telephone Company, le président Orton, agissant par l'intermédiaire d'un tiers, proposa de créer une société avec un quart d'intérêt pour Bell et Gray et un demi-intérêt pour la Vfestern Union, représentant Edison et d'autres. Western Union a proposé de fournir tous les capitaux nécessaires et a offert des facilités pour une introduction plus large des téléphones et une protection adéquate de l'entreprise.
Cheever répondit à l'émissaire d'Orton que tout arrangement concernant le « Téléphone parlant » devrait inclure l'« Harmonic », car celui-ci possédait des caractéristiques couvrant les revendications d'Edison et celles d'autres contrevenants présents et futurs.
Cheever exhorta Hubbard à un compromis si la Western Union concluait un arrangement « équitable ». Il appréciait le fait que les litiges réduiraient le nombre d'instruments pouvant être loués et mis en vente, ce qui se traduirait par une location plus faible, une condition hautement indésirable en période de lutte concurrentielle.
Pendant qu'Orton faisait son offre à la Bell Company, Hubbard envisageait une consolidation d'intérêts avec l'American District Telegraph Company et Elisha Gray. Les titulaires de brevets Bell recevraient trois quarts d'intérêt et Gray un quart d'intérêt dans le cadre du théâtre, tandis que Gray recevrait trois quarts d'intérêt et Bell un quart d'intérêt dans les instruments Harmonic. Le 21 novembre, quatre jours après la signature du mémorandum créant l'American Speaking Telephone Company, Elisha Gray sollicita une conférence avec la Bell Company afin de régler définitivement la question d'une alliance ou d'un combat. Prétextant n'avoir pas encore conclu d'accord avec la Western Union, il accepta, « au nom de la paix », un arrangement portant à la fois sur le télégraphe harmonique et le téléphone. Lorsque Cheever proposa un compromis excluant la Western Union, Gray refusa.
En décembre, Gray informa Cheever de l'achèvement de la création de l'American Speaking Telephone Company.
Il réitéra l'offre d'un quart de participation aux titulaires de brevets Bell. La Western Union devait apporter la totalité des fonds, tandis que la Gold and Stock se chargerait de tout le travail et assumerait la direction de l'activité téléphonique, sous la responsabilité de l'American Company. Gray se montra disposé à envisager un arrangement avec la Bell Company pour les inventions harmoniques, mais les chances réelles d'un compromis séparé s'achevèrent avec la création de l'American Company.
Rétrospectivement, il semble que Gray n'ait pas été entièrement honnête dans ses relations avec la Bell Company. Il prétendit n'avoir conclu aucun accord avec la Western Union, alors qu'il en avait conclu un. Une déclaration de Gray en octobre 1877 vient également étayer ce point de vue :
"J'ai en poche une proposition du groupe Bell visant à me racheter le téléphone parlant et à abandonner simultanément toute prétention sur la fonction télégraphique multiple. La priorité a fait l'objet de nombreuses discussions entre différentes parties. Ils tiraient sur les cornes et la queue pendant que je trayais tranquillement la vache. Gray avait déjà remarqué qu'il était très occupé à équiper les lignes télégraphiques de téléphones. Je savais qu'elle était à moi et tant que je la possédais, peu importait que les autres se disputent".
Bien que Charles Cheever continuât de prôner un compromis pacifique, Hubbard commença à s'y opposer vers la fin de 1877. Il pensait que la Bell Company se renforçait de jour en jour et serait bientôt en mesure de vaincre ses ennemis. Il concéda une tendance à l'excès de sincérité, mais ajouta : « Je ne crois pas que la WU Tel Co. possède une organisation capable d'accomplir grand-chose ; l'argent n'est en aucun cas le plus important ; il faut du jugement, de l'énergie et de l'esprit d'entreprise. » Hubbard était soutenu par Thomas Watson, qui considérait la création de l'American Speaking Telephone Company et son offre à la Bell Company comme une simple étape supplémentaire dans la « politique de destruction » de la Western Union. Il ne pensait pas que les brevets de Bell gagneraient en valeur s'ils étaient fusionnés avec la Western Union. En fait, Watson était certain que si la Western Union avait contrôlé les brevets dès le départ, le nombre de téléphones actuellement en service ne serait pas dix fois inférieur. Watson concluait : « Je ne sais pas où nous allons trouver l'argent pour lutter, mais je suis prêt à sacrifier mes chances de gagner de l'argent avec le téléphone plutôt que de me soumettre à une telle imposition. »
En revanche, Thomas Sanders était d'avis qu'« il est de la plus haute importance que nous prenions toutes les mesures possibles pour éviter un procès, tout en préservant nos droits. » L'attitude plus prudente de Sanders reflétait son important investissement dans la société Bell.
Watson avait moins à perdre et pouvait donc se permettre d'être plus audacieux.
Bien que Sanders considérait la proposition d'un quart des parts de l'American Company comme injuste, il estimait que le syndicat des commerçants était prêt à en proposer une plus avantageuse. Les revendications de Bell étaient certes les plus solides, mais il refusait d'engager un procès interminable contre une puissante entreprise. Cela aurait probablement anéanti tous les bénéfices de Bell Telephone Company, voire empêché toute perception de loyers pendant cinq ou six ans, obligeant ainsi l'entreprise à épuiser toutes ses ressources avant de percevoir ses droits, si tant est qu'elle les perçoive. Sanders exhorta donc l'entreprise à proposer les meilleures conditions possibles à « cette puissante corporation ».
Sanders proposa que la Western Union crée une société de 52 000 000 d'actions, dont la Bell Company recevrait un quart ou plus d'actions, et sur laquelle la Western Union garantirait un dividende minimum de 7 %.
La Bell Company, estimait-il, avait droit à l'intégralité des bénéfices de tout ce qu'elle avait déjà accompli, et la nouvelle société, qui s'appellerait également Bell Company, devrait embaucher tous les agents actuels recommandés par les intérêts de Bell. Enfin, Sanders insista pour qu'un accord soit conclu avec Elisha Gray, par lequel la Bell Company deviendrait copropriétaire des brevets Harmonic. Sanders rappela à Hubbard :
J'espère que vous ne voyez pas l'intérêt d'un compromis, car je pense que ce serait judicieux même si leurs arguments étaient plus faibles, car une bagarre est ruineuse, s'ils sont déterminés à en avoir une, et il semble qu'ils le soient.
Sanders fut acclamé quelques jours plus tard lorsque George L. Bradley a indiqué avoir obtenu les 50 000 dollars promis pour le financement de la New England Telephone Company. De plus, les avocats de Bell ont indiqué que l'opposition ne pouvait pas s'ingérer dans la location de téléphones de la compagnie et ainsi bloquer ses revenus. Sanders a alors soutenu une lutte si la compagnie pouvait être assurée d'être approvisionnée en « nerfs de la guerre », mais a insisté pour qu'elle soit retardée le plus longtemps possible.
Il ne fait aucun doute que Hubbard, Sanders et d'autres étaient confortés dans leur croyance en la suprématie de la Bell Company par l'existence d'un certain sentiment anti-Western Union dans les milieux d'affaires. Un représentant du Pennsylvania Railroad fit part du souhait de son entreprise de voir la Bell Company triompher dans sa lutte téléphonique contre la Western Union.
À ce stade des négociations, chaque entreprise tenta de présenter l'autre comme plus disposée au compromis. Thomas Cornish informa Hubbard que la Western Union faisait circuler l'information selon laquelle la Bell Telephone Company souhaitait ardemment se joindre à elle, mais que la Western Union ne le permettrait pas. La Western Union se vantait également que les instruments de la Bell Company appartiendraient bientôt au passé. Hubbard, de son côté, affirma que c'était la Western Union qui souhaitait s'unir à la Bell Telephone Company et que c'était la Bell Company qui avait « décliné l'invitation ». Les avocats de Bell restèrent convaincus que les brevets et les revendications de Bell étaient invincibles. Pollok et Dickerson s'accordèrent à dire que la Bell Company n'avait rien à craindre d'un procès avec Western Union. Ce ne serait ni long ni coûteux.
Une nouvelle phase de négociations s'engagea à la mi-janvier 1878, caractérisée par une plus grande volonté des intérêts de Bell d'engager une action en justice. « Lorsqu'Elisha Gray rendit visite à Charles Cheever, ce dernier fut informé qu'au vu des démarches entreprises par ses bailleurs de fonds, la Bell Company se trouvait désormais dans une situation où il lui était impossible de faire la moindre proposition.» Néanmoins, la Bell Company était intéressée par un règlement à condition qu'il soit équitable et qu'il émane de l'autorité compétente et sous une forme précise. La Bell Company n'examinerait aucune nouvelle proposition. La Western Union comprenait les idées générales des titulaires de brevets Bell et une offre fondée sur celles-ci serait considérée comme acceptable. La Bell Company rejeta tout arrangement basé sur une participation d'un quart dans la société AST.
À la même époque, Cheever commença à signaler, sur la base de discussions avec William Orton et Norvin Green, président et vice-président de la Western Union, que l'opposition semblait plus encline à négocier un règlement. Il fut impressionné par les projets de Western Union visant à étendre considérablement l'introduction du téléphone. « Leurs idées sur l'utilisation du téléphone et le nombre de numéros qui seront introduits dépassent, selon eux, de loin les limites de nos rêves les plus fous. » (Peut-être Cheever était-il si impressionné qu'il imaginait une plus grande volonté de compromis de la part de Western Union.) Orton et Green avaient tous deux beaucoup à dire sur le coût du litige, et tous deux furent impressionnés par la décision de Dickerson de rejoindre la Bell Telephone Company. » Cheever conclut : « En un mot, la situation est bien plus exagérée dans tous les détails, telle qu'ils la perçoivent, que telle que nous la percevons.
Les deux parties exagérèrent leurs propres arguments. Orton expliqua à Cheever que la Western Union prévoyait d'installer un ensemble de téléphones fonctionnels dans chaque bureau de la Western Union [7500] et que la compagnie envisageait d'établir des antennes dans les magasins de campagne et les bureaux de poste, puis de les relier aux bureaux principaux de la Western Union par téléphone. Cheever informa Green que la Bell Telephone Company était prête à céder plusieurs centaines de milliers de téléphones, dont le coût ne dépasserait pas un dollar et demi à deux dollars pièce. Cheever conclut de ses négociations que, malgré les objections de la Western Union, elle garantirait un dividende, même de sept pour cent, sur les actions émises à la Bell Telephone Company. « Compte tenu de la taille et du nombre indéniables des canons dont ils disposent et de la résistance ruineuse qu'ils peuvent sans aucun doute opposer au combat », Cheever proposa la création d'une société dotée d'un capital de 3 000 000 $, qui serait réparti entre les différents groupes téléphoniques. Cette société devait verser aux titulaires de brevets Bell une redevance d'un dollar par an sur chaque téléphone loué et garantir, au bout d'un an, une redevance sur au moins vingt-cinq mille postes téléphoniques. » De plus, Cheever a demandé une garantie absolue que les intérêts de Bell bénéficieraient d'une représentation fixe au sein du conseil d'administration, qui, conformément aux statuts de la société, aurait le pouvoir d'opposer son veto à toute proposition. Étant donné que la Western Union prévoyait l'intégration possible de la société Bell dans son réseau téléphonique consolidé, et aussi parce que la Western Union n'avait pas encore loué de téléphone, Sanders pensait que la Western Union ne voulait pas se battre, mais était en fait prête à offrir aux brevets Bell tous ceux qu'elle pouvait raisonnablement demander. Il a donc insisté sur la proposition prévoyant l'émission d'un bloc d'actions qui acquerrait immédiatement une valeur marchande grâce à un dividende garanti par Western Union. Sanders a interprété l'opposition de Hubbard à cette approche comme étant le résultat de leurs tempéraments différenciés :
"Je crains que cela n'ait pas assez de poids à vos yeux, car « un tiens vaut mieux que deux tu l'auras » ne semble pas faire partie de vos maximes, à condition que l'avenir indéfini soit radieux, et que le présent semble ne pas vous importer beaucoup. Vous avez un certain mépris pour l'argent. Un atout enviable, mais guère souhaitable pour un partenaire commercial. C'est pourquoi je me sens justifié de vous le rappeler afin que vous réalisiez l'importance de sécuriser immédiatement une situation solide, laissant l'avenir se construire de lui-même".
En sécurisant une situation solide, les défenseurs ne voulaient pas dire que les détenteurs de brevets devaient sacrifier leurs perspectives d'avenir, mais plutôt qu'ils devaient être prêts à en faire un profit substantiel à ceux qui les avaient placés sur cette base.
Ainsi, les défenseurs se sont opposés à un procès ou à une lutte concurrentielle.
Il conclut qu'il serait impossible pour la compagnie Bell de parvenir à un compromis satisfaisant avec la Western Union.
Il y avait donc deux alternatives : soit vendre l'intégralité du téléphone à la Western Union (en protégeant les agents de Bell autant que possibl e), soit vendre le droit exclusif d'utiliser le téléphone à certaines fins spécifiques à la Western Union.
Sanders estimait que les détenteurs de brevets Bell ne pouvaient agir de concert avec la Western Union, car cela signifierait la fin de la compagnie de téléphone Bell. Il suggérait qu'il existait une « belle affaire » en dehors des intérêts de la Western Union et que la compagnie Bell pourrait peut-être conclure un accord commercial lui réservant le droit de propriété sur les lignes téléphoniques privées, sans interférence avec la Western Union.
Dans ses Instructions aux agents n° 3 du 1er février 1878, la compagnie Bell a informé ses agents qu'un avocat éminent avait été retenu et que des poursuites seraient engagées contre tous les contrevenants.
La compagnie Bell a tenu pour acquis que les tribunaux autoriseraient des injonctions, après quoi les contrevenants seraient contraints de lui payer des loyers. Malgré cette annonce, Cheever a réaffirmé la proposition de la Bell Company à la Western Union. La proposition était essentiellement la même que son plan du 25 janvier, sauf qu'elle prévoyait désormais la création d'une société de 2 000 000 $, dont la moitié des actions reviendrait à la Bell Company, et que la garantie pour la première année était portée à 30 000 instruments et à 60 000 pour la deuxième année. Cette proposition plus agressive reflétait en partie le conseil de Chauncy Smith selon lequel la compagnie de téléphone Bell devait assumer la position selon laquelle elle était la seule entreprise à posséder quelque chose de valeur et que tout ce qu'elle désirait de la Western Union était son amitié plutôt que son opposition. Il a également recommandé de laisser la Western Union proposer ce qu'elle souhaitait et le montant qu'elle allait offrir. Si une consolidation était proposée, la Western Union devait démontrer ce qu'elle possédait et l'autoriser à se soumettre à un contrôle.
En général, Smith conseilla à la compagnie Bell de « se retenir et de les laisser parler et montrer leur jeu – sans jamais admettre qu'ils possèdent quoi que ce soit de valeur… sauf leur amitié.»
Après avoir consulté Gardiner Hubbard, Cheever envoya, le 4 février, une proposition officielle à Norvin Green pour la fusion des intérêts téléphoniques conflictuels. Cheever a réaffirmé que Bell était l'inventeur initial du téléphone et que tous les autres fabricants de téléphones étaient des contrevenants qui seraient presque certainement considérés comme tels par les tribunaux. Il a reconnu que Western Union n'était pas d'accord avec cette interprétation, mais a attribué cela au fait que l'avocat de Western Union ne disposait pas de tous les éléments du dossier. Cheever a exprimé sa volonté de conclure un accord, car la société Bell reconnaissait les importantes facilités offertes par le syndicat des femmes et était consciente des dépenses importantes qu'impliquait nécessairement ce litige, sans compter l'effet démoralisant que cela pouvait avoir sur les clients de Bell.
En conséquence, Cheever a proposé une garantie d'un dollar sur les téléphones. Ce chiffre est basé sur le fait que les téléphones fabriqués et loués au cours des cinq derniers mois rapportaient un loyer annuel de 30 000 $.
En cédant ses activités à la Western Union, la compagnie de téléphone Bell s'attendait à recevoir une somme au moins égale à ce qu'elle gagnerait si elle conservait ces activités. Cheever a appelé à une action rapide, soulignant que Hubbard négociait pour 50 000 $ afin d'engager des poursuites. Après avoir rédigé ces propositions, Cheever a ajouté plusieurs dispositions sur les instructions de Gardiner Hubbard.
Ces dispositions soulignaient que la Bell Telephone Company était la seule à posséder des brevets pour les téléphones, et que si la Western Union louait des téléphones avant de recevoir des brevets, elle devait nécessairement apparaître comme un contrefacteur et ne serait pas disposée à attendre la décision de l'Office des brevets auprès duquel elle avait fait appel. De plus, une décision contre les brevets de Bell ne ferait qu'empêcher la société Bell de réaliser des bénéfices anticipés, tandis qu'une décision contre Western Union paralyserait ses activités télégraphiques privées et régionales.
Hubbard, par l'intermédiaire de Cheever, a menacé de conclure un accord avec d'autres sociétés télégraphiques du pays, à moins qu'un accord ne soit trouvé. Cheever a également plaidé pour un règlement à l'amiable en soulignant que la société Bell possédait trois années d'expérience précieuse et qu'il était peu probable que Western Union puisse acquérir la même expérience dans un délai plus court. Il a expliqué :
"Nous avons l'expérience commerciale, les brevets, le revenu net et les fonds nécessaires au maintien de nos brevets. La Western Union possède ses propres lignes, son capital et des machines non développées, basées sur des revendications non fondées contre notre brevet".
Les instructions de Hubbard à Cheever exigeaient une garantie sur au moins 4 000 instruments la première année et 30 000 la deuxième année.
Cheever a ignoré les chiffres de Hubbard afin de les rendre suffisamment élevés pour pouvoir être revus à la baisse si nécessaire. Hubbard a demandé qu'au moins deux représentants de Bell soient nommés au Conseil exécutif et qu'ils en assument la présidence si la Western Union contrôlait les finances. Sanders a répondu favorablement à la dernière proposition de Hubbard, bien qu'il n'ait pas approuvé que la Western Union révèle le montant que la Bell Company pourrait lever. Il estimait qu'il valait mieux faire étalage de ses ressources illimitées plutôt que de révéler des informations et de donner lieu à une éventuelle révélation de la situation financière de l'entreprise. Cinquante mille dollars
« sembleraient un peu fragile » à Western Union. Sanders a vivement encouragé
à essayer d'obtenir un demi-million de dollars d'actions garanties à sept pour cent. Il a approuvé la candidature de Hubbard à la présidence, notant :
Compte tenu de ce que vous avez fait, vos revendications méritent certainement d’être prises en considération et vous pouvez compter sur moi pour les faire valoir dans la mesure de mes capacités.
Bien sûr, cependant, je suppose que vous n’avez pas l’intention de faire une remarque en votre nom.
Cheever était favorable à une demande de redevances sur la base du montant proposé plutôt que d'une garantie de sept pour cent, estimant que Western Union concèderait davantage sous cette forme. Si une redevance était accordée sur la base de la proposition de février à Green, la société Bell recevrait plus que sept pour cent sur la base de 500 dollars d'actions.
Admettant qu'il devrait réduire légèrement ses prétentions, Cheever a jugé sa proposition raisonnable compte tenu du nombre de téléphones que la société Bell louait avec ses installations légères.
Après mûre réflexion, les comités des compagnies Gold and Stock et American Soeaking Telephone ont déclaré à l'unanimité qu'aucun élément de la proposition de Cheever de février ne pouvait être accepté sans modification. Ils estimaient que cette proposition rendait tout nouvel effort d'accommodement inutile. Cependant, Green a maintenu l'espoir de négociations en se déclarant prêt à rencontrer Cheever. Cheever s'est dit choqué par le rejet de sa proposition par Green.
Cheever espérait que l'opposition examinerait attentivement chaque point séparément et lui ferait part de ses objections. Une telle procédure, a-t-il soutenu, faciliterait l'harmonisation des idées opposées. En réalité, Cheever tentait de gagner du temps jusqu'à ce qu'Orton, absent, revienne à New York et puisse reprendre la direction des négociations. Cheever pensait qu'Orton était beaucoup plus libéral et qu'il parviendrait à un meilleur accord que le vice-président Green, car il connaissait mieux la situation et comprenait mieux la force de la position de la Bell Company. Cheever ignorait ou n'était pas conscient du malaise entre Orton et Hubbard.
Orton a traité la proposition de Cheever avec moins de mépris, mais l'a tout de même rejetée. Cheever ne s'est pas découragé, car il croyait toujours qu'Orton pouvait être persuadé.
Sanders est devenu furieux lorsqu'il a appris le contenu de l'entretien d'Orton avec Cheever. Selon Sanders, les arguments sur lesquels Orton fondait ses affirmations concernant Western Union étaient si faibles que Sanders s'est senti moins disposé que jamais à les prendre en considération. Mais Sanders était encore moins confiant quant à la capacité de l'opposition à considérer favorablement les affirmations de Bell. Sanders était particulièrement contrarié par l'attitude d'Orton : « Je ne peux m'empêcher d'être dégoûté par un homme qui prétend traiter une affaire avec une équité suprême, alors qu'il sait qu'il est mal représenté. » Conscient de son hostilité et de celle de Hubbard envers Orton, Sanders estima que Charles Cheever devait continuer à veiller aux intérêts de la Bell Company pendant les phases préliminaires des négociations. De plus, Cheever était parfaitement qualifié pour cette tâche, car il était basé à New York, siège de la Western Union, et bénéficiait de la confiance d'Orton. Sanders était convaincu que l'opposition comprenait chaque jour davantage la force de la Bell Company et souhaitait donc parvenir à un accord avec la Western Union. Sanders était également contrarié par ce qu'il considérait comme le « désintérêt » ou l'« indifférence » d'Anthony Pollok et de Chauncy Smith.
La faiblesse de la situation de la Bell Company, telle que Sanders la comprenait, résultait du « manque de liquidités solides et stables », qui ne pouvait être assuré que par la participation d'une grande partie des intérêts du titulaire du brevet. Par conséquent, Sanders se demandait s'il était préférable de partager une partie de l'activité permanente avec les seuls adversaires de la Bell Company plutôt que de la partager. Un intérêt avec des parties qui ne contribueraient qu'une petite somme à un litige dont l'issue était douteuse.
Compte tenu de la réticence de Hubbard à céder un intérêt dans les brevets à des tiers, Sanders était convaincu que Hubbard était d'accord avec lui. Cependant, Sanders ne croyait pas à l'existence d'un accord concernant la conclusion la plus rapide de ce point. Il a écrit : « Si nous sommes contraints de porter un coup, nous révélerons fatalement notre faiblesse, et si, après nos menaces, nous négligeons de porter le coup, nous ne gagnerons certainement pas de terrain. »
Craignant que la compagnie Bell n'ait exagéré sa part en formulant des exigences exorbitantes, Sanders estimait désormais qu'elle devait se contenter de 500 000 dollars d'actions garanties et de tout ce qu'elle pouvait obtenir. Il a appelé à la promotion et a insisté sur le fait que les titulaires de brevets « ne se livrent à aucun marchandage ». Bien que les craintes de Sanders l'aient incité à abandonner ses « exigences exorbitantes », l'opposition était moins disposée à faire des compromis. Après avoir rencontré Orton et Green, Cheever a conclu que la Bell Company devrait se battre un peu avant de parvenir à un accord raisonnable. Il discerna un « mouvement résolument rétrograde », car désormais la Western Union n'offrait pas plus d'un quart de participation en actions pour les brevets Bell et une garantie ne dépassant pas 20 000 $.
Même la garantie n'était pas très souhaitable sous la forme présentée. La Western Union ne la garantissait qu'au nom de l'American Speaking Telephone Company, « une partie irresponsable dont la garantie ne vaut rien ». Selon l'analyse de Cheever, la garantie n'était rien de plus qu'un dividende privilégié de quatre pour cent sur 500 000 $ d'actions. Hubbard lui-même n’était désormais plus disposé à faire des compromis. Afin de libérer la compagnie Bell du combat, il a demandé à Cheever d'informer la Western Union de son souhait de se retirer des négociations si elle ne parvenait pas à faire une meilleure proposition. Cheever s'est exécuté, affirmant qu'il était peu utile de poursuivre les négociations compte tenu de la grande différence existant entre les deux compagnies. Apparemment, Sanders n'était pas au courant de cette nouvelle évolution des négociations, car il a écrit à Hubbard pour lui demander quelle indemnisation ils demandaient au syndicat des femmes. Il était également préoccupé par les revendications de Gray et a suggéré que la compagnie Bell devrait savoir exactement où en était l'affaire à Washington avant d'engager des poursuites. Il a observé :
"Un réseau se tisse autour de nous grâce à l'immense force de l'opposition qui ne ménage aucun effort pour nous réduire à une position où nos revendications seront bien moindres qu'elles ne le sont aujourd'hui, avant de faire leur offre finale. J'ai peur que leur politique soit de retarder et d'atteindre tous ceux qui nous sont, de quelque manière que ce soit, tributaires de nous, par la corruption ou par tout autre moyen de leur part, ce qui les détournerait de nous".
En réponse à la notification de Cheever, Orton considérait les négociations comme terminées. Cependant, en raison de la « très grande expérience » de Western Union en matière de procédures judiciaires, l'entreprise hésitait à les engager jusqu'à ce que cela soit absolument nécessaire. Néanmoins, a informé Orton à Cheever, la Western Union était préparée à toute procédure susceptible d'être engagée et n'avait aucune appréhension quant au résultat. Si seulement les parties concernées pouvaient se rendre compte du coût et du temps nécessaires à de telles activités, elles pourraient utiliser leurs ressources plus efficacement. La proposition finale du Western Union a été faite par Norvin Green le 21 février 1978, le jour même où Orton a reconnu la fin des négociations formelles. Green a fait son offre en espérant qu'en cas d'accord avec Cheever, ils pourraient probablement obtenir l'accord de leurs associés. C-reen a suggéré de « partager la différence » qui existait lors de leur dernier entretien et a offert une garantie de cinq pour cent des actions. Green n'a pas pu aller plus loin que la Gold and Stock Company, et il pensait qu'il aurait du mal à convaincre Gray de l'accepter. Green a soutenu que si l'activité téléphonique indivise se révélait à la hauteur des attentes, les désaccords sur la garantie ne serviraient à rien puisque « nous obtiendrions plus que cela »,
Cheever a informé Green qu'il ne croyait pas que les titulaires de brevets accepteraient ces conditions et qu'il ne pouvait pas leur conseiller de le faire. Cheever a également offert à Orton plus de temps, s'il le souhaitait, avant de mettre fin à toutes les négociations.
Cheever informa Green qu'il ne croyait pas que les titulaires de brevets accepteraient ces conditions et qu'il ne pouvait pas leur conseiller de le faire. Cheever offrit également à Orton plus de temps, s'il le souhaitait, avant de mettre fin à toutes les négociations.
De ce fait, les négociations et les communications étaient apparemment terminées.
La Bell Company envisagea alors de se battre pour conserver son emprise sur le marché téléphonique. Sanders était mécontent de cette perspective. Compte tenu de la situation déjà précaire de l'entreprise, il se demandait où trouver les fonds nécessaires pour répondre aux exigences financières du litige. Il a suggéré que la Western Union, ou n'importe qui d'autre, aurait donné davantage pour que la moitié de la Bell Telephone Company possède un capital adéquat et soit efficacement organisée que pour une entreprise entière qu'ils considéraient comme sans stabilité ni pouvoir. Sanders a ainsi laissé entendre qu'une grande partie du problème de Bell Company. était due au refus de Hubbard de fournir ces facteurs nécessaires par le biais d'une réorganisation de l'entreprise avec de nouveaux Investisseurs.
Même si les défenseurs n'appréciaient pas cette perspective, la Bell Company se prépara à une lutte acharnée. Heureusement, elle put bénéficier de l'aide de la nouvelle compagnie de téléphone britannique Hewlett-Packard.
Poussé de tous côtés, Hubbard prit des mesures pour engager une action en justice immédiate.
En février 1878, les perspectives de victoire de la Western Union s'étaient considérablement améliorées. Il y avait un téléphone opérationnel. Après l'avoir minutieusement inspecté et disséqué, Watson a conclu :
"Il fonctionne mieux que quiconque ne l'a encore reconnu. C'est un travail remarquable et son coût doit être plus élevé que le nôtre. C'est bien sûr un téléphone simple et efficace qui fonctionne aussi bien que nos mains, pas mieux".
De plus, Edison avait déjà déposé un brevet pour son deuxième téléphone. Son téléphone utilisait un bouton en carbone noir qui, utilisé selon le principe de la résistance variable en conjonction avec une batterie, produisait de forts courants de transmission. Ces caractéristiques, associées à une bobine d'induction, promettaient d'allonger la durée de vie utile du téléphone de plusieurs centaines de kilomètres sur les instruments à magnéto de Bell.
Un autre facteur dans l'attitude durcie de la Western Union était certainement l'effet résiduel de la querelle Orton-Hubbard. Étant donné les sentiments d'Orton envers Hubbard, on ne peut que se demander dans quelle mesure Orton était enclin à régler de vieux griefs. Un commentaire d'Amos Dolbear, rapporté par Thomas Watson, tend à étayer ce soupçon : « M. Hubbard a causé des ennuis à l'Union des travailleurs du textile (WU) et ils étaient déterminés à s'asseoir sur lui cette fois-ci. » Ces facteurs, ainsi que ses avantages évidents, ont sans aucun doute incité la Western Union à rejeter ce qu'elle considérait comme des demandes injustifiées et largement exagérées de la part de la compagnie de téléphone Bell.
D'autre part, la compagnie Bell avait ses propres raisons de présenter des revendications qu'elle considérait comme justifiables et de refuser de plus en plus de compromis. La société était convaincue qu'elle détenait le brevet de base sur la téléphonie et que, tant qu'elle le détenait, elle était seule légalement autorisée à exercer cette activité. Cette conviction était renforcée par les avocats de la société, qui ont constamment soutenu que les arguments de Bell Company étaient très solides.
Malgré la situation financière précaire de la Bell Company, Hubbard était convaincu que l'entreprise était suffisamment solide pour engager le combat contre Western Union. Il avait tendance à surestimer les avantages réels et potentiels de l'entreprise. Par exemple, Hubbard accordait une grande confiance à l'expérience téléphonique de la Bell Company pour compenser les avantages de l'adversaire. Il semblait croire qu'il serait relativement simple de créer une organisation dérivée de la Western Union en utilisant les sociétés de télégraphie de district existantes. Outre sa confiance illimitée, parfois injustifiée, Hubbard était également influencé par son hostilité de longue date envers Orton et la Western Union. Par conséquent, la situation de la Bell Company semblait s'améliorer. Pour s'améliorer, il était moins enclin au compromis.
En février 1878, la Western Union et la Bell Telephone Company estimaient pouvoir remporter une lutte concurrentielle et, dans la mesure où elles étaient convaincues de leur supériorité, elles étaient peu disposées à faire des concessions qui auraient pu aboutir à un compromis.

Concurrence au niveau local
Au cours de cette première étape de négociation, Les agences Bell fonctionnaient sans réelle opposition de la part de la Western Union sur le terrain. En effet, au début de 1877, de nombreux directeurs de bureaux de la Western Union de l'Est furent sollicités et reçurent des agences téléphoniques Bell. Ces personnes pouvaient être particulièrement utiles en tant que sous-agents de Bell et sollicitées. Richardson et Barnard, agents du Sud, ont expliqué qu'il existait de nombreuses régions du Sud où les conditions ne justifiaient pas l'envoi d'agents pour construire des lignes courtes, mais que des agents de Western Union étaient présents sur place et étaient prêts à intervenir pour l'agence Bell.
Richardson et Barnard prirent soin d'utiliser ces hommes à leur avantage, et de telle sorte que la Western Union n'en tirât aucun avantage.
En novembre 1877, Hubbard ordonna à Richardson et Barnard de licencier tous les employés de la Western Union. Cet ordre reflétait le mécontentement croissant de la Bell Company face à l'utilisation du personnel de la Western Union dans ses activités téléphoniques.
La Western Union était également mécontente de sa relation indirecte avec la société Bell.
L'agent général Frederick Gower a rapporté en octobre que J. M. Fairchild, directeur de Western Union et sous-agent de Bell, avait démissionné de son poste de directeur téléphonique en réponse à une sévère réprimande du siège social de Western Union.
Fairchild avait accepté de poursuivre son activité de téléphoniste si Gower lui garantissait un salaire de 1 500 dollars. Gower a conclu qu'il pouvait recruter des hommes compétents à de meilleures conditions et a laissé partir Fair Child.
La raison pour laquelle Fair Child s'est senti obligé de « nettoyer ses affaires » des intérêts de Bell, et la raison pour laquelle les sous-agents de Western Union à Hartford et Spring Field ont également signé, était qu'ils étaient convaincus que Western Union finirait par prendre le contrôle du secteur téléphonique. De toute évidence, une connexion établie sous les auspices de Gower ne les protégerait pas du mécontentement de Western Union une fois les intérêts de Bell éliminés. Par conséquent, Fair Children a demandé au moins un an de salaire garanti.
Ainsi, alors que les deux entreprises commençaient à manœuvrer pour se positionner en prévision de leur conflit, chacune cherchait à s'assurer la loyauté absolue de ses employés. Il était tout à fait naturel que la société Bell se méfie d'un sous-agent de Western Union à son service qui n'avait pas loué un seul téléphone dans une ville de 80 000 habitants. Par conséquent, la société Bell a ordonné le renvoi des employés de Western Union de toutes ses activités, tandis que la société Bell a commencé à empêcher ses employés d'agir pour la société Bell. La Western Union s'est apparemment abstenue de louer ses propres instruments jusqu'en janvier 1878 et ne représentait donc aucune menace sérieuse pour la Bell Telephone Company ni pour ses agents. Ainsi, Gardiner Hubbard pouvait écrire en octobre 1877 avec une certaine précision : « La Bell Telephone Company possède actuellement le seul téléphone du marché. » Sanders a interprété cette situation comme une indication de la volonté de Western Union de parvenir à un règlement raisonnable plutôt que de se battre. C'était peut-être vrai, mais une raison tout aussi importante, liée à la trahison, pour laquelle Western Union a tardé à louer des téléphones, était qu'elle n'était pas préparée à le faire.
Orton expliqua à Cheever que la Western Union connaissait un retard de fabrication et que les instruments produits étaient envoyés à différents endroits comme téléphones d'essai ou d'exposition. De plus, la Western Union ne disposait pas d'un téléphone d'usine satisfaisant pour un usage public. Bien qu'Edison ait déposé un brevet pour un téléphone en avril 1877, celui-ci n'était pas encore parfait. En juillet 1878, après avoir rendu visite à Edison et testé son téléphone, l'agent de Bell, Elisha Wilson, rapporta que certains sons et mots n'étaient pas audibles, mais que les mots jaillissaient rapidement et avec une grande force. Constatant qu'Edison serait capable de « parler à tue-tête » sur n'importe quelle distance s'il parvenait à perfectionner l'article, Wilson conclut :
Ce téléphone sera sans doute utile, mais je ne pense pas qu'il soit comparable au Bell. Pour l'instant, je le considère comme une piètre invention, même s'il peut servir à imiter des sons pour représenter des mots.
Bien que la Western Union ne louât pas de téléphones, elle affichait son opposition. Elle annonçait son intérêt pour la téléphonie dans les quotidiens et se vantait de la supériorité de ses instruments, espérant dissuader les particuliers de louer des instruments Bell. Ces tactiques ralentirent les progrès de certains agents Bell. Certains abonnés, espérant des instruments moins chers ou de meilleure qualité grâce à la compétition imminente, ont reporté leur abonnement aux téléphones Bell.
Une agence Bell a écrit : « Nos agents de Charleston affirment qu'une partie de ceux qui avaient en partie convenu avec eux pour le téléphone hésitent maintenant à me louer un téléphone auprès du syndicat Western. » Le syndicat Western ne s'est pas limité aux attaques. À certains endroits, il a perquisitionné des employés de Bell. Par exemple, Elisha Wilson a été contraint d'arrêter la construction d'une ligne lorsqu'un responsable de Gold and Stock a embauché ses ouvriers qualifiés. Ces tactiques, et d'autres encore, s'intensifièrent à mesure que la concurrence s'intensifiait.
Pendant ce temps, les agents de Bell se battaient du mieux qu'ils pouvaient.
Financièrement incapables de répondre à la publicité de la Western Union dans le journal, Charles Cheever, de New York, proposa de fabriquer et d'accrocher sur Broadway, près du siège de la Western Union, une bannière proclamant en lettres grasses la primauté des brevets de Bell.
Les agents ont compris l'importance d'obtenir des emplacements stratégiques avant l'apparition de l'Union occidental. La pénurie d'instruments n'a pas amélioré leurs chances de triompher de l'opposition. Cette pénurie, combinée à la menace de l'Union soviétique, a incité Frederick Gower à adopter une stratégie ingénieuse. Il a développé son activité dans des zones ciblées.
Lorsque j'ai constaté l'insuffisance de l'offre d'instruments, je me suis concentré sur les points où l'on pouvait craindre une concurrence ou envisager des infractions. Une enquête très brève a révélé que ces points étaient d'importants centres de production, et je les promeus actuellement au détriment des quartiers éloignés, voire au mépris apparent de ceux-ci. À ce stade du concours, l'agent Thomas Cornish a pu écrire :
"Je peux dire, dans la langue du grand Daniel Webster, que je vis toujours et que chaque jour où je vis, je suis en colère à l'idée de ces hommes qui n'ont pas assez de cervelle pour inventer, mais assez pour voler. Chaque jour, nous ressentons leur influence. Nous travaillons toujours plus dur et nous prospérons toujours".
Au moment où l'Union occidentale s'apprêtait à introduire son télélephone, un accord fut conclu entre la compagnie Bell et la compagnie téléphonique. George Walker, vice-président de la Gold and Stock Company, chargea ses agents de fixer leurs prix conformément à ceux de Bell. Il estimait qu'il serait judicieux de maintenir les prix aussi uniformes que possible en vue d'une future fusion des intérêts téléphoniques. Même si les chances de négociation étaient minces. La stabilité s'étant affaiblie, Hubbard a encouragé la coopération avec Walker et le respect de l'entente. C'est pour cette raison que Hubbard s'est opposé à la politique d'utilisation d'un instrument unique jusqu'à ce que la Gold and Stock l'adopte elle-même.
Alors que les chances de compromis diminuaient et que la Western Union commençait à proposer ses téléphones, l’accord fut sélectivement ignoré. Dès le 5 février 1878, G. W. Stockly se plaignait de la concurrence de la Western Union sous forme de baisse des tarifs, mais dans le West Ham, Sam Hubbard rapportait que l'opposition avait accepté de facturer les mêmes tarifs que lui pour la construction des lignes.
Malgré l'intensité croissante de la concurrence de Western Union, la compagnie Bell continuait de croire qu'elle bénéficiait d'avantages particuliers. Outre son expérience et son activité téléphonique opérationnelle, Hubbard considérait que la meilleure qualité des téléphones et des appels Bell constituait un avantage certain par rapport à Western Union. Il prédisait que les instruments Western Union seraient bientôt en panne, ce qui causerait de gros désagréments aux clients et jetterait un discrédit sur l'ensemble de leurs opérations. La plupart des agents de Bell étaient d'accord avec Hubbard sur le fait que les instruments Western Union étaient inférieurs. Thomas Cornish, de Philadelphie, après avoir retiré un ensemble de « faux téléphones », a estimé qu'ils ne valaient pas « deux centimes pièce, pas beaucoup mieux qu'une boîte de conserve ». Sam Hubbard a confirmé la prédiction de Gardiner selon laquelle les instruments de l'Union soviétique ne dureraient pas trois mois. En fait, Sam a signalé que le moment était venu plus tôt que prévu, car les abonnés de Vfestern Union étaient déjà dégoûtés de leurs instruments et envisageaient de les changer. Ces instruments étaient si médiocres qu'un WU a sollicité Sam Hubbard ou s'est associé à lui plutôt que de faire face à ses clients.
Tous les agents de Bell n'ont pas pu signaler les incidents comme l'a fait Sam Hubbard. C.P.E.
Burgoyne a suggéré que Gardiner Hubbard sous-estimait la particularité du téléphone Phelps de la Vfestern Union. Selon Burgoyne, l'instrument de Phelps fonctionnait presque aussi bien que celui de Bell. Watson était d'accord avec ce constat : « Notre instrument était un peu le plus fort, mais l'autre était plus distinctif et l'articulation était caractérisée par l'absence totale de la qualité nasale et sonnait bien. »
Malgré de tels rapports, Gardiner Hubbard persistait à affirmer que l'opposition ne disposait pas encore de téléphones performants et que, par conséquent, le Western Union ne pouvait pas être un concurrent sérieux.
Mais Hubbard n'a pas tardé à souligner que le Western Union tentait de remédier à la situation en cherchant à prendre le contrôle du téléphone d'Edison, ce qu'il prétendait être meilleur que n'importe quel autre.
Hubbard lui-même souhaitait acquérir les droits sur le téléphone d'Edison. À cette époque, Hubbard était associé à Thomas Edison, après avoir acheté, avec George L. Bradley, Charles A. Cheever, Hillborne Roosevelt et Uriah S. Painter, le phonographe Edison. Ironiquement, au moment même où certains investisseurs de Bell avaient du mal à lever des fonds pour leurs intérêts téléphoniques respectifs, ces investisseurs consacraient leurs fonds et leur énergie à la création de l'Edison Speaking Phonograph Company. Bien que la Phonograph Company ait été créée pour capitaliser sur l'intérêt généralisé du public pour la « machine parlante » d'Edison, en concédant des licences à des lectrices et des démonstrations publiques, et également en louant les instruments, certains éléments indiquent qu'elle devait servir à promouvoir le téléphone Bell. La Phonograph Company a certainement envisagé de faire appel à des agents Bell pour exposer et louer les instruments. Il y a même une suggestion selon laquelle les investisseurs de Bell auraient pu soutenir le phonographe afin de détourner l'attention d'Edison de ses recherches sur le téléphone.Watson appréciait vivement cette possibilité :
"Il serait judicieux de détourner l'attention d'Edison du téléphone, si possible. On pourrait peut-être y parvenir en lui expliquant à quel point le phonographe et l'aurophone sont bien plus intéressants dans le monde entier que les autres. Le téléphone a fait, etc., etc.
Je crois qu'il travaillera le plus dur sur celui qui lui donne le plus de renommée".
Quoi qu'il en soit, Hubbard était suffisamment proche d'Edison pour recevoir un rapport sur le nouveau téléphone à charbon de la part de S. H. Johnson, l'assistant d'Edison. Johnson a décrit le principe du succès d'Edison et a expliqué que le téléphone à charbon d'Edison permettait une clarté absolue de l'articulation, une augmentation du courant et une maîtrise du bruit d'induction. Il conclut : « Il transmettra un murmure sur plusieurs kilomètres ou recevra et transmettra clairement les mots murmurés à l'émetteur lorsqu'il sera éloigné de 2 mètres de la bouche. »
Hubbard a répondu au rapport de Johnson en indiquant son souhait d'acheter le téléphone à charbon si la Western Union ne le faisait pas. Il pensait que les intérêts de Bell pouvaient se permettre de payer plus cher que quiconque, en raison de leur maîtrise du secteur téléphonique. Il a donc Par cœur : « Je suis prêt à lui offrir [à Edison] douze mille dollars par an et des droits d'auteur sur chaque téléphone fabriqué sous ses brevets ou ayant un intérêt dans notre entreprise. »
Hubbard s'est rendu à Menlo Park pour savoir s'il pouvait acquérir le téléphone à charbon Edison pour la Bell Telephone Company. Après l'avoir examiné, il a conclu que l'instrument constituait une contrefaçon, mais a reconnu qu'il pourrait constituer une amélioration précieuse. Il a sollicité l'avis d'expert technique de Watson. La réponse initiale de Watson fut défavorable, mais le 20 avril, il avait modifié son verdict, circonstance que Hubbard invoqua comme raison pour ne pas avoir obtenu l'instrument d'Edison.
Chauncy Smith conseilla à Hubbard de demander à Watson de modifier le téléphone d'Edison et de ne pas perdre de temps à déposer un brevet sur celui-ci.
Chauncy Smith a conseillé à Hubbard de demander à Watson de modifier le téléphone d'Edison et de ne pas perdre de temps à déposer un brevet sur celui-ci en tant qu'amélioration et non en tant qu'invention originale. Hubbard a expliqué : « H. Smith… dit… qu'Edison ne peut pas utiliser son téléphone sans contrevenir à nos droits, ni à condition qu'il obtienne un brevet. »
Puisque Watson a approuvé le téléphone d'Edison, Sanders a convenu que la société Bell devrait essayer de l'obtenir pour « une raison » Apparemment, Edison et la société Bell n'ont pas réussi à s'entendre sur les conditions. Edison a donc cédé son téléphone à la Western Union pour 6 000 $ par an, et la Western Union a assumé le risque d'obtenir un brevet. C'était bien moins que la somme que Hubbard avait indiqué vouloir offrir à Edison.
C'est peut-être là que réside la véritable raison pour laquelle la compagnie Bell n'a pas réussi à garantir les droits sur le téléphone d'Edison. Sanders a jugé les conditions d'Edison inacceptables :
"Je dois dire que les exigences de M. Edison étaient déraisonnables dans l'état actuel des affaires. Je ne sais pas où nous pourrions utiliser un téléphone Edison pour en tirer profit aujourd'hui et je pense que sa rente devrait être calculée en fonction de ses revenus".
Hubbard n'était pas d'accord avec l'évaluation de son partenaire. Il appréciait la valeur de l'innovation pour répondre au besoin de la Western Union d'un instrument, car elle ne possédait pas d'instrument répondant à un « objectif valable ».
Hubbard a également réalisé que l'instrument Edison, capable de surmonter l'induction, pouvait être utilisé pour des lignes de deux ou trois cents kilomètres de long, ce qui permettrait à la Bell Company de relier des compagnies de district dans différentes villes. Il a insisté sur le fait qu'un téléphone Edison pourrait être utilisé immédiatement sur la ligne de chemin de fer de Pennsylvanie entre New York et Philadelphie. Étant donné que la compagnie de téléphone Bell n'a pas réussi à obtenir les droits sur le téléphone d'Edison, elle a été contrainte de chercher d'autres moyens pour surmonter le succès d'Edison. Elle a finalement obtenu l'aide d'inventeurs rivaux dont les revendications pour un téléphone amélioré dataient d'avant la date d'Edison.
La compagnie de téléphonie Bell estimait que son organisation constituait un autre avantage dans sa lutte contre la Western Union. Hubbard pensait que les agents de Bell étaient plus actifs et plus énergiques parce qu'ils recevaient vingt-cinq pour cent de commission, tandis que les agents de Western Union n'en recevaient que dix pour cent. Selon l'agent de Bell, James Hamblet, la Western Union offrait peu d'incitations à ses employés pour promouvoir l'entreprise. Sam Hubbard a obtenu les services d'un employé de Western Union, en partie à cause de son mécontentement face à la manière dont il avait été traité. Thomas Watson, visitant les agences et observant d'abord la menace de Western Union, a approuvé Hubbard :
"Je ne vois aucune raison de craindre le WU pour l'instant, si nous avons des agents intelligents et respectueux, qui comprennent parfaitement le secteur et qui ont confiance en nous en tant que Co. Mais partout où nous avons un agent inefficace, le WU nous devancera certainement".
Hubbard pensait que la Western Union était handicapée parce qu'elle agissait par l'intermédiaire de la Gold and Stock Company, qui était en opposition avec diverses sociétés de télégraphie de district. C'est pour cette raison que la Bell Company proposait des termes génériques aux compagnies de district pour les inciter à devenir des agents de Bell. Hubbard résumait ce qu'il considérait comme un avantage pour sa compagnie :
« Gold and Stock » sont… nos concurrents. Le salaire total est un salaire fixe, pas aussi élevé que les salaires moyens, et pour équilibrer cela, la WU Co a récemment réduit les salaires des opérateurs de 10 %. De l'autre côté, nous avons pour objectif de créer une meilleure organisation, de rémunérer un employé plus de deux fois plus et de reverser à nos agents tous les bénéfices tirés de la construction des lignes. Vous pouvez juger, comme moi, laquelle des deux réussira à long terme. Les avantages de la Western Union sont cependant rapidement devenus évidents pour Hubbard et la Bell Company. Elle proposait des instruments à des tarifs réduits. G. W.
Stockly a rapporté qu'un responsable de Western Union suivait ses agents et proposait des réductions de prix aux clients, tout en évitant généralement tout contact avec ses clients. La baisse des tarifs de Western Union était particulièrement difficile pour les agents de Bell, car ils ne pouvaient pas réagir. Les tarifs et réductions des téléphones Bell étaient fixés par contrat et les agents n’avaient donc pas le pouvoir de les modifier.
Les Instructions aux agents, n° 3, leur rappelaient clairement qu'« aucun agent de cette société n'est autorisé à réduire les loyers ni à accorder des réductions ». Face à la concurrence des prix, Bell a dû implorer la société mère d'autoriser la baisse des tarifs. On a avancé qu'une fois l'ennemi chassé du terrain, les réductions de prix pourraient être compensées par l'augmentation du volume des locations. Comme l'a écrit un agent :
"Maintenant, j'aimerais que vous me donniez le privilège de concurrencer le WU en termes de prix. Je veux les battre sur tous les plans et, dans l'état actuel des choses, je ne peux pas le faire. Ce que je veux, c'est pouvoir dire que je proposerai des instruments aussi bon marché que ceux de la W. Union".
Le plus grand avantage de l'Union des femmes était son système de lignes télégraphiques, facilement adaptable pour une utilisation par téléphone.
Un agent de Bell a expliqué :
"Le colonel Talcot, surintendant de Danville Rr. dit qu'elle préférerait utiliser les instruments Bell, mais que la WU lui propose une ligne déjà construite et, bien sûr, il lui revient moins cher d'utiliser son téléphone avec ses installations pour les réseaux filaires etc ...".
Si la Bell Company s'estimait chanceuse grâce à son expérience dans le domaine de la téléphonie, la Western Union, avec sa longue expérience et son organisation dans la construction de lignes électriques, l'a été encore plus. Les agents de Bell ont tenté de suivre le rythme des agents de Western Union en créant des lignes de distribution, mais ont finalement admis qu'ils n'étaient pas à la hauteur de l'efficacité de l'organisation Western Union.
Western Union pourrait proposer à ses clients non seulement des téléphones à tarifs réduits, mais aussi des lignes presque gratuites. Comme l'a déploré un agent de Bell : « La WU Co. fournit des lignes téléphoniques gratuites pour les faire entrer [les téléphones d'AST Co.]. Je ne peux pas le faire. »
En essayant de capter des abonnés, la WU a fourni des cordons électriques gratuitement, forçant ainsi la Bell Company à envisager de faire de même. La Western Union proposait non seulement des tarifs avantageux, mais aussi des conditions de paiement avantageuses.
Dans certaines régions, elle autorisait les abonnés à louer des lignes au mois, tandis que la compagnie Bell exigeait des loyers annuels payés d'avance. Un agent l'a reconnu.
Si Western Union continuait à louer des téléphones, la société Bell devrait modifier ses conditions, car les abonnés ne continueraient pas à louer des lignes à des conditions aussi strictes alors que Western Union proposait des conditions plus avantageuses. « Western Union était en concurrence pour les abonnements aux centraux ainsi que pour les abonnements aux lignes privées. Elle appliquait bon nombre des mêmes tactiques que celles utilisées contre les agences de lignes privées. » Dans certains cas, Western Union a proposé de connecter gratuitement ses abonnés à un central téléphonique central pendant un an.
Cependant, les centraux Western Union offraient généralement des tarifs inférieurs à ceux de Bell. Un agent de Bell s'est plaint :
"La société WU sollicite des abonnements à un central téléphonique concurrent à 50 $ par an sur le même plan. Peu importe aux abonnés que cette entreprise n'ait pas le droit d'utiliser le téléphone, mais cela menace (du moins pour le moment) d'interférer gravement avec nos abonnements. Nous basons nos abonnements uniquement sur un bénéfice équitable, et à moins que les téléphones ne soient remis aux grands de WU, aucun bénéfice ne peut être réalisé dans un tel système. Leur motivation est évidente".
Bien que les bourses fixent leurs propres taux pour les abonnés, ces taux sont largement déterminés par le coût de leurs instruments.
Par conséquent, les agents de change demandent fréquemment une réduction du coût de leurs instruments afin de pouvoir faire face à l'opposition et maintenir leur position dominante sans perte. Dans les endroits où la Western Union a établi un véritable système d'échange central et où la Bell Company n'en avait pas ou disposait simplement d'un système de district où les appels étaient uniquement à sens unique, la Western Union a gravement compromis les chances de succès de la Bell Company.
Contrairement aux vues de Hubbard, la Western Union bénéficiait d'une position plus avantageuse, précisément en raison de son expérience et de son organisation. C'était puissant et efficace. Hubbard a rapporté que les gens avaient peur de rejoindre sa bourse centrale, car l'opposition « est dans le métier depuis si longtemps qu'il sera difficile d'obtenir un quelconque avantage sur elle ». La Western Union disposait d'un vaste réseau d'agents qu'elle pouvait utiliser pour louer des téléphones. Par conséquent, lorsque l'agent Bell fut renvoyé de l'État de New York et que son successeur tarda à arriver, la Western Union put capitaliser sur la situation. Elle indiqua que la Bell Telephone Company s'était retirée du marché. Lorsque le nouvel agent Bell arriva enfin, il fut dissout. Il a été souligné que la Western Union avait loué de nombreux instruments.
Lorsque toutes les autres tactiques ont échoué, la Western Union a pu faire appel à sa vaste influence. Bien que Hubbard ait cru pouvoir mobiliser les entreprises régionales contre la Western Union, c'est en fait la Western Union qui a exercé une forte influence sur elles, car les entreprises de télécommunication privées étaient étroitement liées à la plus grande entreprise de télécommunication du pays. L'entreprise, la Western Union, utilisait ces connexions chaque fois que nécessaire pour dissuader les entreprises de district de rejoindre les forces Bell. Une compagnie américaine de télécommunications de district utilisant les téléphones Bell a été informée que le président Orton avait décidé de ne plus bénéficier d'une connexion professionnelle avec la Western Union tant qu'elle était affiliée à la compagnie de télécommunications Bell. Cette société de district a non seulement été contrainte de rompre ses liens avec la Western Union, mais elle a également perdu le bénéfice du coût peu élevé et d'autres avantages : son site a bénéficié du partage de quartiers avec une société de télégraphie contrôlée par la Western Union. L'agent de Bell a écrit :
"Pour conclure ce contrat avec vous, nous sacrifierons notre bon marché dans ce bureau si bien situé. Les importantes dépenses que nous économisons en ayant des employés d'A&P dans notre entreprise la nuit, le dimanche, etc. Mon propre salaire sera considérablement réduit par ce changement. Tout cela, nous le faisons en nous appuyant uniquement sur notre foi en la clarté absolue de notre titre".
Une compagnie de district, souhaitant se libérer de sa connexion Vfestern Union, a entrepris l'ambitieux programme de retrait de ses lignes des pôles Vfestern Union.
L'influence de Western Union ne s'est pas limitée aux compagnies de télégraphie de district. Lorsqu'un employé des chemins de fer s'est renseigné sur la construction d'une ligne reliant plusieurs compagnies de navigation à vapeur et chemins de fer, il a été contraint de rejeter l'offre de Bell, même si elle était exactement la même que celle de Western Union. L'agent de Bell a expliqué :
"Il n'y a aucune différence de coût à prendre en compte. La Western Union a « bulldozé » les hommes du bateau à vapeur et a déclaré qu'elle leur refuserait certains privilèges s'ils ne prenaient pas leurs téléphones et, finalement, ils ont adopté les instruments de la Western Union".
Les gens ne semblent pas se soucier du droit à la justice tant qu'ils ne subissent aucune perte pécuniaire. « En cas d'échec, les agents Western Union avaient parfois recours à la force pure et simple.» Dans ce cas extrême, leur tactique préférée consistait à couper les lignes téléphoniques Bell et à détruire et interrompre les circuits.» Un employé de Bell a rappelé plus tard :
"  La compagnie de téléphone de New York avait une très grande structure sur le toit de la Sherman House…  Un jour, plusieurs de nos circuits reliés à la structure ont cessé de fonctionner. J'ai envoyé des monteurs de lignes à la recherche du problème. Ils m'ont signalé qu'ils avaient été coupés. J'étais profondément convaincu de l'auteur de ce délit, car il était un ancien monteur de lignes de Western Union, alors employé par la société Edison, et nous avions déjà eu des cas de croisement de fils. Ils n'étaient pas les seuls internes, loin de là… Certains de nos jeunes opérateurs entendaient des messages sur leurs lignes et commandaient des chariots à leurs abonnés, ce qui a généré un grand taux de satisfaction".
En concurrence avec les agents de Western Union, les responsables de Bell ont fait valoir la moralité de leur propre argument.
L'agent Burgoyne a déclaré à un abonné que s'il utilisait un instrument de Western Union, ce serait comme recevoir des biens volés. Watson, cherchant à dissuader un abonné de remplacer un instrument de Western Union par celui de la Gold and Stock Company, a décrit Western Union comme une entreprise déloyale tentant d'écraser une petite entreprise, même si c'était un « enfant sain ». « Laissant de côté la question des poursuites judiciaires, etc., je lui ai dit qu'en tant qu'homme d'affaires honorable, il ne devait pas encourager la fraude en utilisant le téléphone Western Union.»
Dans les deux cas, les abonnés ont répondu que Western Union proposait de les protéger, ainsi que les autres utilisateurs, contre toute action en justice et de payer tous les frais en cas de poursuites. Les tarifs plus bas et les garanties légales de Western Union ont rendu inefficaces les menaces de poursuites contre les contrevenants, leur arme principale, et ont parfois donné lieu à des moqueries. Parfois, la perspective d'une action en justice suffisait à effrayer dix abonnés de Western Union et à les amener à regretter leur décision, mais le résultat décrit par un agent de Bell était plus typique :
"En concurrence avec les agents de Western Union, les responsables de Bell ont fait valoir la moralité de leur propre argument. L'agent Burgoyne a déclaré à un abonné que s'il utilisait un instrument de Western Union, ce serait comme recevoir des biens volés. Watson, cherchant à dissuader un abonné de remplacer un instrument de Western Union par celui de la Gold and Stock Company, a décrit Western Union comme une entreprise déloyale tentant d'écraser une petite entreprise, même si c'était un « enfant sain ». « Laissant de côté la question des poursuites judiciaires, etc., je lui ai dit qu'en tant qu'homme d'affaires honorable, il ne devait pas encourager la fraude en utilisant le téléphone Western Union."
Dans les deux cas, les abonnés ont répondu que Western Union proposait de les protéger, ainsi que les autres utilisateurs, contre toute action en justice et de payer tous les frais en cas de poursuites. Les tarifs plus bas et les garanties légales de Western Union ont rendu inefficaces les menaces de poursuites contre les contrevenants, leur arme principale, et ont parfois donné lieu à des moqueries. Parfois, la perspective d'une action en justice suffisait à effrayer dix abonnés de Western Union et à les amener à regretter leur décision, mais le résultat le plus courant était décrit par un agent de Bell, garantissant sa position en cas d'accord avec Western Union
Les craintes des agents ont été renforcées par la lenteur de la Bell Company à instaurer une action légale :
"ils ignorent totalement l’action de la Bell Company pour protéger leurs droits et sont contraints de faire face à une concurrence des prix si malsaine que toute leur perception s’en trouve modifiée. Bien que je ne pense pas que Bell Co. conclura un quelconque arrangement avec WU qui sacrifierait ses agents, il me semble étrange que ces entrepreneurs soient autorisés à vendre leurs marchandises avec une impunité aussi apparente".
En vertu des termes de ses contrats, Bell Telephone Company était tenue de protéger ses agents contre toute contestation judiciaire. La société Bell était tenue de payer toutes les exonérations légales pour la protection de ses brevets, mais disposait d'un contrôle total sur les poursuites. Les agents, à leur tour, étaient tenus de notifier à la société mère toute contrefaçon sur leur territoire. Invoquant leurs droits et s'appuyant sur l'assurance de la société Bell qu'elle engagerait des poursuites « immédiatement », les agents ont commencé à exiger une action.
Voyant que celle-ci n'était pas imminente, les agents et les abonnés ont attribué le retard de la société Bell à son incapacité à protéger ses droits. Les agents ont vivement insisté pour que des mesures soient prises, de peur que, sans cela, la société Bell, selon eux, ne puisse survivre. Cela réduirait considérablement ses chances de succès.
Non seulement la Bell Company aurait une « armée à combattre » si elle n'agissait pas de manière décisive, mais sa force serait affaiblie. Les agents seraient peu susceptibles de développer leurs activités si la Western Union n'était pas au moins contestée. De plus,
" À moins qu'une certaine opacité ne soit donnée au fait que la Bell Co. contrôle « Les agents du téléphone sont déterminés à protéger leurs droits et ont déjà engagé des poursuites judiciaires contre la Vfestern Union Co. Vous ne pouvez pas vous attendre à obtenir des capitaux dans de nouvelles compagnies téléphoniques de district si, dès le départ, elles sont affrontées par l'ennemi en pleine force".
Hubbard et Sanders ont tous deux reconnu la nécessité d'engager rapidement une action en justice. Sanders a expliqué à un agent que l'entreprise tardait à agir afin de ne pas commettre d'erreurs lors des étapes préliminaires. Cependant, dès le début de la procédure, Sanders a exhorté Hubbard à ne pas engager les poursuites dans les circonstances actuelles de l'entreprise. Étant donné que des négociations étaient en cours pour la réorganisation de la compagnie de téléphone Bell avec capital, la loi actuelle ne créerait que désagréments et malentendus.
Le juge C. S. Bradley, figure importante de la réorganisation, doutait également de l'opportunité d'engager un procès qui risquait d'être long et coûteux sans avoir le « nerf de la guerre », d'autant plus qu'il comprenait que la Bell Company n'était pas financièrement solide. Sanders, convaincu que la Bell Company bénéficiait d'avantages particuliers, même face à la menace accrue de l'Union soviétique, continua d'insister pour que l'affaire soit retardée : "La sympathie du peuple est avec nous contre le WU... Nos agents se consacrent entièrement à l'affaire en cours, à savoir la location de téléphones, alors que le WU a divisé et diversifié ses intérêts et n'a aucun « esprit de corps ». C'est là que réside notre force jusqu'à ce que les lois appropriées soient à nouveau décidées".
Hubbard n’était pas d’accord avec Sanders. Il a exhorté à agir rapidement, car il faudrait un certain temps avant que la nouvelle Compagnie Bell puisse être organisée, et il serait injustifié d'attendre. Sanders a convenu avec Hubbard que la Compagnie Bell avait « assez longtemps jeté des pierres », mais, conformément à son tempérament, il a appelé à la prudence :
"Je suppose qu'il n'y a aucun doute quant à la formation de la Compagnie Nationale, mais tant que nous ne serons pas en poste, j'aurais peur d'engager des poursuites judiciaires. J'approuve tout à fait l'avis que vous envoyez pour publication, mais comme nous ne voulons plus proférer de menaces en l'air, ne devrions-nous pas attendre d'avoir de l'argent pour défendre nos poursuites avant de les publier".
À l'époque où Hubbard et Sanders débattaient de l'opportunité d'engager des poursuites judiciaires immédiates, un événement se produisit qui poussa de nombreux responsables du Bell à espérer qu'un procès serait inutile : le 22 avril 1878, le président William Orton, de l'Union des démocrates, décéda. L'agent Cornish commenta :
"Je n'ai pas entendu dire si la mort d'Orton était une mort naturelle ou un « remords ». Certes, son déplacement avec « notre » téléphone ne l’a pas aidé à obtenir une meilleure place au Paradis – une triste leçon pour tous ceux qui pourraient faire le mal".
Hubbard considérait que la Bell Company était renforcée proportionnellement à l'affaiblissement de la Western Union par la mort d'Orton. Il pensait que la Western Union ne trouverait pas de sitôt un dirigeant égal à Orton en termes de compétences, de connaissances ou d'appréciation du téléphone. Mais Fenders avait peut-être une appréciation encore plus claire du bénéfice de la mort d'Orton lorsqu'il écrivait :
"Je n'aime pas me réjouir d'un tel événement, mais il me semble que cela nous facilitera la tâche. Un homme puissant dans sa position et son animosité envers M. Hubbard, j'en suis convaincu, nous ont causé un grand préjudice. Il n'a jamais voulu que GGH gagne un seul dollar s'il pouvait l'aider".
Anson Stager, président de la Western Electric Company, renouvela alors ses efforts pour trouver un compromis entre la Western Union et la Bell.
Mais la Bell Company se renforçait de jour en jour, des négociations étaient en cours pour apporter de nouveaux capitaux et Hubbard rejeta donc l'offre de Stager.
Le 1er mai, Sanders se montrait optimiste : "  Tout semble prometteur, sauf l'inévitable retard qui nous ramènera dans nos affaires juridiques. "
Alors que Sanders et Hubbard étaient tous deux impatients d'engager des poursuites judiciaires contre le Life Star Union, ils continuèrent à désespérer du moment opportun. Invoquant la « situation financière déplorable » de l'entreprise, Sanders insista sur le fait qu'il était souhaitable d'attendre la création de la nouvelle Bell Company :
" Je dois protester contre la création de nouvelles obligations jusqu'à ce que nous puissions honorer nos anciennes obligations.  Hubbard a soutenu au contraire qu'il était nécessaire d'engager des poursuites afin de réunir l'argent nécessaire pour les financer, et que la société perdrait ses agents et ses locataires. Il a nié que les finances de la société étaient dans un état lamentable. Je n'ai eu qu'un seul avis concernant l'opportunité d'engager des poursuites au cours des quatre derniers mois et j'ai insisté pour qu'elles soient engagées depuis lors. Vous seriez bien plus riche que vous ne l'êtes aujourd'hui si mon conseil avait été suivi, les poursuites engagées et les frais payés. On ne peut pas faire face à nos anciennes obligations sans en contracter de nouvelles".
Bien que Hubbard fût ferme dans ses convictions, le point de vue de Sanders prévalut. Il était soutenu par C. S. Hubbard et Chauncy Smith. Le procès, la principale attaque juridique de la Bell Company contre la Western Union, ne fut intenté qu'après la réorganisation de la Bell Telephone Company en société anonyme.
La menace de concurrence pendant 1877 semble avoir été plus grande que sa réalité. Bien que les agents de Bell se soient plaints des activités de Western Union et de l'augmentation des locations de téléphones contrefaits, il semble qu'en raison de la forte demande de téléphones et de l'incapacité de Bell Company à les fournir, Western Union n'ait pas réellement nui à l'activité de Bell Company. Certes, la compagnie de téléphone Bell et ses agents n'avaient pas le champ libre qu'ils espéraient en raison du brevet de Bell, mais la perte d'activité qu'ils ont subie semble minime.
L'activité de la Bell Company a diminué au début de 1878, lorsque la Western Union a commencé à proposer sérieusement ses propres instruments. Le nombre d'instruments expédiés par Bell Company à ses agents a considérablement diminué en avril, mai et juillet, ce qui pourrait être dû à une activité accrue de Western Union, mais aussi à un réajustement des activités de l'entreprise. Un agent de Bell a expliqué :
"Je suis conscient que nous n'obtenons pas autant de commandes sur notre territoire qu'il y a quelques mois, mais cela ne signifie pas nécessairement que nous ne prenons pas en charge les affaires. Nous avons fait ce que nous pensions être la chose la plus sage à faire. Au départ, nous avons précipité le lancement de l'entreprise alors qu'elle était encore nouvelle et avant que l'opposition ne surgisse, en testant des téléphones partout où il était possible de les conserver ou de les utiliser. Résultat : nous avons loué un grand nombre de téléphones et répondu à toutes les demandes importantes. Bien sûr, le calme règne et les clients sont moins nombreux. plus difficile à sécuriser".
En effet, l'activité de Western Union aurait pu être bénéfique à la compagnie de téléphone Bell. De retour d'une tournée d'inspection, Watson rapporta en 1878 que l'opposition à Western Union était une « fraude » et qu'il estimait qu'elle servait à « stimuler la situation dans presque tous les endroits où je suis allé ». Ce point de vue constituait une raison supplémentaire pour retarder les poursuites judiciaires contre Western Union. La société Bell a expliqué : " Il n'y a que du vent de la part de nos ennemis, nos agents font tout le travail. Tant que l'efficacité de nos agents nous permet de tenir le coup, nous pouvons prendre notre temps et notre place pour porter plainte".
Néanmoins, les agents et les dirigeants étaient clairement effrayés par la présence de Western Union sur les réseaux téléphoniques, et la société mère a réagi en se préparant à engager des poursuites judiciaires et à affronter l'opposition de front. Un affrontement direct d'une importance durable a eu lieu à Chicago, où la Bell Telephone Company estimait que les enjeux étaient très importants.
L'agence de Chicago a vu le jour de manière assez similaire à d'autres agences de lignes privées.
La Western Electric Company, important fournisseur de biens électriques, a demandé à Gardiner G. Hubbard l'autorisation de louer des téléphones. Comme beaucoup d'autres agents potentiels, elle avait déjà reçu des candidatures pour des services téléphoniques.
Le développement de l'agence de Chicago, sous la direction de la Western Electric Company, était également assez similaire à celui d'autres agences. Elle était confrontée à une offre insuffisante d'instruments, à l'insatisfaction de 4 clients à l'idée de louer plutôt que d'acheter des téléphones, à des interférences électriques et à une insuffisance d'informations de la part de la compagnie Bell Telephone.
À la fin de 1877, Hubbard commença à exprimer sa crainte que la Western Electric Company ne développe pas l'activité d'agence aussi activement qu'elle le pourrait. Cette crainte, et son désir d'envoyer son propre téléphone sollicité à Chicago, pourraient provenir de ses soupçons quant aux liens étroits de l'agence avec Victoria Union, puisque Victoria Electric était affiliée à cette dernière. La Bell Company se préparait déjà à rompre de telles relations avec d'autres agences.
Western Electric s'est défendue contre les critiques de Hubbard en affirmant que ses activités d'agence étaient infructueuses en raison des problèmes électriques particuliers rencontrés lors de l'utilisation d'un téléphone dans la ville de Chicago. Bien que l'agence Western Electric n'ait pas été dissoute, Hubbard était toujours favorable à l'idée d'envoyer quelqu'un à Chicago pour travailler sur l'entreprise et partager les bénéfices avec Western Electric. Ses soupçons quant au lien entre les faibles performances de Western Electric et sa relation avec Western Union se sont renforcés lorsqu'il a appris que l'entreprise construisait des téléphones pour Western Electric. L'agent Stockly de Cleveland a écrit à Hubbard :
"Je suis très certain que la WE Co ne précipitera pas le Bell'Tel ni ne fera quoi que ce soit à ce sujet, et elle estime qu'un point aussi important devrait être occupé immédiatement. Si vous décidez de révoquer l'agence… donnez-nous une chance".

Fin décembre, Enos Barton, secrétaire de la Western Electric Company, a suggéré que, puisque sa société s'apprêtait à fabriquer activement des téléphones pour la Gold and Stock Company, il serait judicieux de fermer l'agence Bell. Il a nié avoir précédemment conclu des accords de « rouille » qui auraient empêché Western Electric de faire tout ce qui était en son pouvoir pour la Bell Company et a souligné qu'elle avait loué tous les instruments qu'elle avait pu obtenir. Le président Anson Stager a toutefois indiqué que ce secrétaire avait agi sans autorisation, exprimant ainsi son souhait de mettre fin à l'agence. Stager a expliqué que la Western Electric Company fabriquait les appareils d'Elisha Gray depuis 1874, mais qu'elle n'avait rien fait de plus et qu'elle était tenue de continuer à fabriquer les instruments de Gray jusqu'à ce qu'elle soit informée de sa disparition. Stager a assuré Hubbard que la Western Electric Company n'avait aucun intérêt direct dans le développement d'un autre téléphone que le Bell et qu'elle faisait de son mieux pour le promouvoir. Il a réaffirmé que cette agence avait été fidèle à la Bell Company, mais a ajouté que si Hubbard continuait de proposer d'envoyer son propre agent à Chicago, la Bell Company considérerait cela comme un reflet de sa capacité commerciale et de son intégrité et « préférerait abandonner l'entreprise ».
Ainsi, les choses restaient en suspens. Lorsque Watson visita l'agence de Chicago en mars 1878, il constata que la situation de l'usine Western Electric était toujours insatisfaisante. Il considérait les explications de Barton pour ne pas avoir fait plus comme de simples excuses.
Lors d'une réunion avec Stager, chaque partie a tenté de bluffer. Stager a laissé entendre que la Western Union était prête à maintenir la question du brevet devant les tribunaux pendant cinq ans, tandis que Watson arguait que le téléphone remplacerait les cabines téléphoniques d'ici trois ans.
Alors que Watson poursuivait sa tournée, il reçut de nouvelles preuves du lien étroit entre la Western Electric et la Gold and Stock Company.
La situation à Chicago resta inchangée jusqu'à la mi-septembre, lorsque Hubbard apprit que l'American District Telegraph Company allait y organiser un central téléphonique en lien avec la Western Union. Il ordonna donc à S.E. Eldred, agent général du Missouri, de partir pour Chicago et de commencer à solliciter des abonnés pour un central téléphonique Bell. Eldred fut chargé de faire appel à la compagnie d'électricité de Washington pour voir s'il pouvait compter sur elle. Il devait solliciter des fonds auprès des garde-fous si nécessaire. Hubbard a expliqué aux défenseurs : « Il s’agit d’une situation d’urgence inattendue et elle exige une action rapide et efficace de notre part. Si le syndicat des travailleurs de l’Ouest nous devance avec ce central téléphonique, nous aurons beaucoup de mal à reprendre le contrôle. »
Prétextant par la suite qu'il n'avait pas eu suffisamment de temps, Hubbard avait dépêché Eldred à Chicago sans consulter Sanders. L'action hâtive de Hubbard a déclenché un échange téléphonique qui allait sérieusement saper les finances de la Bell Telephone Company et de ses successeurs.
Presque immédiatement, la décision de Hubbard d'affronter l'opposition à Chicago a commencé à coûter cher à la Bell Company. Eldred a demandé à Sanders de cesser de solliciter ses avances sur les loyers du Missouri jusqu'à ce que l'on puisse déterminer le montant nécessaire pour Chicago. Eldred prévoyait qu'il aurait des difficultés, car Hubbard avait attendu trop longtemps avant d'agir.
Il a également prédit une rupture entre les intérêts de Bell et la Western Electric si ceux-ci refusaient de soutenir ses efforts ou mettaient des obstacles sur sa route. Dans un tel cas, il devait travailler directement pour la compagnie Bell. Dès son arrivée à Chicago, Eldred envoya un prospecteur
pour trouver des abonnés à un projet de central téléphonique Bell. Il le fit donc à l'insu de Barton. Lors de sa première discussion avec Barton, Eldred le trouva évasif quant à son aide à l'organisation du central Bell.
Barton a réitéré la volonté de son entreprise de céder son influence si Hubbard le souhaitait. Eldred a conclu : « Ce matin, j'ai appelé Barton. Je n'ai pas eu une très bonne impression de lui lors de mon appel. Je ne pense pas qu'il soit très sincère dans ses propos et qu'il soit enclin à être sournois. »
Après avoir consulté Uatson, Eldred a fixé le prix du téléphone Bell à 3 dollars par mois afin de compenser les gains réalisés par l'opposition. Cette action a incité le directeur de l'American District Telegraph Company à rendre visite à Eldred et à le presser de trouver un arrangement afin qu'aucune des deux sociétés ne gagne d'argent. Il a proposé un compromis selon lequel une redevance serait versée à l'une ou l'autre société si ses instruments n'étaient pas utilisés par l'AOT. E ldred a apprécié la nécessité de la prudence :
"Je comprends maintenant certaines de vos raisons, à la Hubbard, de vouloir laisser Chicago tranquille pour le moment. Si nous obtenons le feu vert, il faudra ouvrir un bureau et disposer de suffisamment de liquidités pour faire prospérer l'entreprise à toute vitesse… Continuer est un champ de bataille ouvert, avec des chances de succès dès le début, comme c'est déjà le cas. Début, position et capital. Si je pouvais bénéficier de l'aide de personnes compétentes, expérimentées et fiables… et du capital nécessaire, je ne douterais pas de notre réussite".
La proposition de la société ADT était donc digne d'intérêt.
Selon ses termes, les intérêts de Bell et de Western Union en bénéficieraient. Par exemple, si l'entretien d'un téléphone coûtait 1 $ par an aux compagnies de téléphone, la compagnie de district paierait 7 $ par an pour chaque téléphone utilisé, à la compagnie dont les instruments étaient utilisés et 3 $ à celle dont les instruments n'étaient pas utilisés. Barton a fait valoir que cela ne ferait aucune différence pour la compagnie de district ou pour l'une ou l'autre des compagnies de téléphone, quel que soit l'instrument utilisé. L'entreprise de district gagnerait à avoir la liberté de choisir le meilleur téléphone. Il concluait :
"De cette manière, vous seriez assuré d'un chiffre d'affaires conséquent dès le départ et gagneriez plus d'argent que vous ne pourriez en gagner avec une organisation concurrente, car une telle organisation ne pourrait espérer obtenir la moitié du marché, en raison de l'avantage que représente Am. Dist. Tel. Co. est déjà présente dans le domaine".
Hubbard a répondu que, puisque la Bell Telephone Company détenait les « antébrevets » pour le téléphone, elle ne pouvait accepter aucune condition susceptible d'interférer avec sa capacité à poursuivre les contrefacteurs. Cependant, la Bell Telephone Company pourrait percevoir toute surtaxe qui lui serait versée à titre de redevance pour l'utilisation de ses brevets.
Eldred a préconisé un compromis, arguant que les intérêts de Bell pourraient attirer un grand nombre de personnes. Si les abonnés à sa bourse s'abonnent, les taux, déjà bas, pourraient être si bas qu'ils ne pourraient plus générer de bénéfices :
"Le principe de cet ajustement me semble mauvais ; comme Bell Co détient les brevets, aucun autre ne devrait être réorganisé, mais si nous ne sommes pas assez forts pour préserver nos droits… un compromis est certainement souhaitable d'un point de vue financier".
Eldred informa Hubbard que Barter et la société ADT souhaitaient réellement un compromis. Il estimait que Barter s'efforçait de faire preuve de loyauté envers tous, une tâche très difficile puisqu'il était pris « entre deux feux ».
Les conditions semblaient réunies pour un compromis à Chicago, Barter étant certain qu'un arrangement pourrait être trouvé avec la société ADT. Anson Stager, détenant une participation dans l'ADT, était également favorable à la proposition, car il venait tout juste de placer l'entreprise en position de paiement et n'avait pas l'intention d'utiliser son argent pour mener une opération de vente au profit des intérêts de la société téléphonique.
Eldred a fait remarquer à Stager qu'un compromis devrait être trouvé rapidement, car la société Bell poursuivait son démarchage et devrait bientôt commencer la construction. Il a suggéré qu'un accord à Chicago pourrait devenir la base d'un accord national entre les intérêts téléphoniques. Watson a convenu qu'il pourrait être judicieux d'adopter le compromis de Chicago.
L'analyse de Watson sur la situation à Chicago indiquait qu'à moins qu'un compromis ne soit rapidement trouvé, Eldred aurait besoin d'au moins deux mille dollars de la compagnie de téléphone Bell pour lancer le système de central téléphonique. Il était convaincu que l'opposition accepterait n'importe quelle offre, pourvu qu'elle lui confère le monopole du central téléphonique. Chauncy Smith a également conseillé un compromis, si la proposition de Chicago était acceptable en tant que proposition commerciale et si les détails pouvaient être correctement réglés.
Pendant ce temps, les événements atteignaient rapidement leur paroxysme à Chicago. Les négociations d'Eldred avec l'opposition piétinaient et il conclut qu'il ne pouvait pas retarder l'ouverture de la bourse Bell. La société ADT construisait déjà ses lignes et Eldred loua donc un bureau pour sa bourse et se prépara à construire ses propres lignes. Hubbard accepta l'évaluation d'Eldred et lui ordonna de « tout mettre en œuvre ».
Au vu de ces décisions, Eldred a remis en question l'action de Sanders visant à obtenir 200 dollars de sa part. Eldred avait tenté de lancer l'échange sans solliciter directement les fonds de la Bell Company. Il avait plutôt utilisé les fonds qu'il contrôlait à l'agence de Saint-Louis. Il a souligné : « Si je dois continuer à verser des avances, il faut que quelqu'un me fournisse de l'argent… Vous comprenez que mes dépenses sont très lourdes actuellement et que je n'aurai aucun revenu pendant presque un mois. » Sander a demandé au comptable Robert Devonshire de faire appel à Eldred temporairement.
Eldred a fait de rapides progrès dans l'organisation de la bourse Bell. Le 16 juin, il comptait une centaine d'abonnés. Les négociations se poursuivaient, tout comme son travail sur la bourse. Il a donc demandé 501 $, ce qui, selon lui, lui permettrait de subvenir à ses besoins jusqu'à la décision finale. Les fonds non seulement étaient détournés de Saint-Louis, mais provenaient directement de Boston. Eldred a succinctement décrit la situation : « La lutte commence à s'intensifier. Fournissez-moi les fonds nécessaires et nous en sortirons gagnants. »
Les négociations avec la société ADT se sont finalement soldées par un échec. Apparemment, Stager n'était plus intéressé par un compromis. Les dépenses d'Eldred continuaient d'augmenter et, deux semaines après avoir reçu le chèque de 500 $ de Sanders, il a téléphoné à Hubbard pour lui demander 200 $ de plus.
Une société de capitaux locaux fut créée pour prendre le contrôle de la bourse Bell. Les investisseurs promirent à Eldred de recevoir les fonds nécessaires à la poursuite de ses activités, mais ne parvinrent pas à les lui fournir. Eldred a informé Hubbard : « J’ai emprunté personnellement, et si une nouvelle société ne parvient pas à fournir les fonds nécessaires, je vous contacterai par télégramme dès que je serai disposé à vous fournir les fonds nécessaires. » Malgré les assurances selon lesquelles la société de Chicago était une organisation bénéficiant d’une immense impulsion et soutenue par des hommes de pouvoir qui avanceraient tous les fonds nécessaires, Eldred a été contraint de conclure que l’organisation récemment créée n’était rien de plus qu’une « opération de bourse » et il a demandé d’urgence. Hubbard se rendit à Chicago.
Ainsi, lorsque la Bell Telephone Company cessa son existence en tant qu'« association volontaire », elle s'enlisa davantage dans le réseau de la concurrence.
Les efforts pour négocier un accord à Chicago échouèrent tout comme ils l'avaient fait au niveau national. Ironiquement, le compromis final incluait un principe de royauté similaire à celui proposé à Chicago.

sommaire

Au Canada :
Alors que Melville Bell détient 75 % des droits du brevet canadien, le reste est cédé à l’inventeur Charles Williams Jr. de Boston, Massachussetts; en échange, ce dernier doit fournir 1 000 téléphones sans frais. Toutefois, après cette transaction, deux enjeux importants apparaissent.
- D’abord, la demande en téléphones aux États-Unis, téléphones pour lesquels M. Williams avait été payé, devient tellement grande que ce dernier prend du retard dans les commandes placées par Melville Bell.
- Ensuite, les frais de douanes canadiennes que doit débourser Melville Bell pour chaque téléphone fabriqué aux États-Unis sont élevés. De plus, les lois concernant les brevets obligent les Canadiens à cesser l’importation de téléphones peu de temps après l’émission du brevet en 1877.
Il est donc évident que les téléphones doivent désormais être faits au Canada.
On décide que James Cowherd, un électricien de Brantford, ira étudier la fabrication des téléphones à l’atelier de M. Williams; en décembre 1878, M. Cowherd commence à fabriquer ses propres appareils. Comme le nombre de commandes augmente, ce dernier bâtit un nouvel atelier – le premier au Canada consacré à la fabrication de téléphones.
Portrait de James H. Cowherd, vers 1880
En 1878, James H. Cowherd bâtit le premier atelier canadien consacré à la fabrication de téléphones. Cet atelier était situé au 32, rue Wharf, à Brantford, en Ontario. Le bâtiment fut démoli en 1992.
Le 15 décembre 1878, le premier téléphone est officiellement testé, et c’est une réussite. Cette même année, la ville d’Hamilton en reçoit la première commande pour l’utilisation par la municipalité.

Facture originale d’équipement téléphonique acheté par Thomas Henderson, agent principal de la Bell Telephone Company of Canada, auprès de Charles Williams Jr., fabricant autorisé pour la National Bell Telephone Company, 1877.
James H. Cowherd a continué de fabriquer des téléphones et des équipements accessoires pour La Compagnie de téléphone Bell du Canada jusqu’à son décès soudain en février 1881, à l’âge de 31 ans. Au cours de sa vie, il aura produit plus de 2 400 téléphones.
Le téléphone passe rapidement de curiosité à objet du quotidien; en effet, de plus en plus d’utilisateurs désirent communiquer entre eux. Le premier central téléphonique au Canada (neuvième au monde et premier à l’extérieur des États-Unis) entre en fonction en 1878 à Hamilton, en Ontario. Le petit nombre d’abonnés augmente sans cesse, et bientôt, il devient possible de communiquer aux plus grandes villes du pays.
En 1878, Hugh Crossart Baker établit le premier central téléphonique au Canada à Hamilton, en Ontario.
Les abonnés du central téléphonique d’Hamilton utilisaient ce téléphone à main à la fois comme transmetteur et récepteur, en le déplaçant de la bouche à l’oreille pour parler ou écouter. Le téléphoniste opérait un standard téléphonique à sept lignes, avec dix abonnés par ligne.
Le premier annuaire téléphonique du Canada (en forme de livret), a été publié par la Toronto Despatch Company en juin 1879.

sommaire

ORGANISATION DE LA SOCIÉTÉ DE TÉLÉPHONE BELL 

LES TITULAIRES DE BREVETS COMMENCENT À PERDRE LE CONTRÔLE
Les négociations entre Gardiner Hubbard et Thomas Sanders concernant la réorganisation de la société Bell ont illustré leurs différentes approches de l'exploitation du téléphone Bell. Hubbard s'opposa aux propositions de Sanders de lever de nouveaux capitaux, estimant qu'elles l'obligeraient à abandonner une partie de son contrôle sur la direction de l'entreprise. C'est pourquoi il s'accrochait avec ténacité à la théorie selon laquelle la Bell Company pouvait fonctionner principalement sur la base des recettes courantes. Sanders, quant à lui, souhaitait impliquer de nouveaux capitaux et investisseurs, probablement parce qu'il souhaitait protéger son propre investissement et diluer le contrôle de Hubbard.
Dès la création de la Bell Telephone Company en tant qu'« association bénévole », Thomas Sanders avait ressenti le besoin d'une organisation dotée d'un capital important et avait œuvré en ce sens. Début septembre 1877, il indiqua à Hubbard qu'il connaissait un « canal » par lequel la compagnie pourrait obtenir des fonds. Les investisseurs potentiels de Sanders souhaitaient la création d'une compagnie nationale, mais Hubbard a rejeté cette idée, affirmant que les loyers couvriraient les dépenses et que la création d'entreprises locales stimulerait l'activité. Sanders a cédé et a tenté de satisfaire ses besoins financiers en soutenant l'organisation de la New England Telephone Company, créée seulement après un long débat avec Hubbard. Sous la pression croissante des affaires et de la concurrence de Western Union, Sanders n'a cessé de rappeler à Hubbard la nécessité d'une organisation financière plus solide. En réponse, Hubbard a caressé l'idée de vendre des actions de la Bell Telephone Company, décrivant la capitalisation de l'entreprise comme étant de 500 000 dollars sous la forme de 5 000 actions à 100 dollars chacune. (Cette description était inexacte puisque la société Bell était une association volontaire et n'avait pas encore été constituée en société.). Proposant de vendre 300 000 $ d'actions d'une valeur nominale à 50 % contre espèces afin d'obtenir un fonds de roulement de 150 000 $, Hubbard a demandé à l'agent Thomas Cornish de Philadelphie si ses amis seraient intéressés par un tel projet. Les actions pouvaient être vendues à si bas prix, souligna Hubbard, en raison du besoin immédiat de liquidités de Sanders. Il avertit que si les 25 000 à 30 000 dollars requis par Sanders pouvaient être réunis d'une autre manière, lui, Hubbard, serait « indisposé » à vendre des actions, même si son associé estimait qu'un important capital en espèces était indispensable.
Cornish fit des recherches, mais ne trouva personne disposé à investir. L'éloignement du siège social est une excellente excuse, et pourtant, tant de personnes ont été durement touchées par la forte baisse des stocks ferroviaires et sont quelque peu frileuses.
New York, espérant anticiper une réorganisation et estimant que l'entreprise avait désormais besoin de toute l'attention d'un trésorier compétent, Hubbard a déclaré à Sanders que si ce dernier refusait de fermer son entreprise de cuir, d'investir les bénéfices dans le téléphone et de lui accorder toute son attention, Hubbard pourrait facilement trouver une personne qui lui consacrerait toute son attention. Cheever n'était pas pressé d'accepter l'offre de Hubbard. Il en était flatté, mais craignait qu'elle ne lui demande plus d'argent qu'il n'en demandait actuellement. Il souhaitait savoir précisément combien d'argent serait nécessaire et si cet argent pouvait être investi sous forme de prêt avec le privilège de conversion en actions. Avec une telle option, il pourrait peut-être trouver des prêteurs. Si tout se passait bien, ils pourraient réaliser un profit important grâce à la conversion ; sinon, ils auraient la priorité sur les biens de l'entreprise.
En réalité, Cheever n'était pas le meilleur candidat pour le Trésor. Bien qu'il fût considéré comme le meilleur dirigeant de l'entreprise, il avait déjà exprimé sa réticence à risquer davantage d'argent dans son agence new-yorkaise, à moins, bien sûr, que les perspectives de rentabilité soient plus importantes que d'habitude.
Sanders continua d'insister sur la nécessité d'une réorganisation de l'entreprise. Il a fait valoir que l'activité stagnait, que l'emprunt ne faisait que reporter l'inévitable, que Cheever craignait de prendre des mesures compte tenu de la situation actuelle de l'entreprise et que la réorganisation aurait un effet globalement bénéfique sur les agents de l'entreprise.
"L'effet moral de savoir que nous sommes forts et non des emprunteurs renforcera nos agents, les incitant à collecter et à reverser de l'argent. Les faits réels de l'affaire sont les suivants : à ce stade, les agents d'affaires hésitent à s'impliquer avec nous".
Sanders était incapable de comprendre l'entêtement de son partenaire. En fait, tous ceux qui se penchaient sur la question, y compris Charles Eustis. Hubbard, voyaient la nécessité d'une société dotée de capitaux. Sanders était convaincu qu'en examinant attentivement la question, Gardiner Hubbard parviendrait lui aussi à la même conclusion.
Début mars, Hubbard étudiait un plan soumis par Thomas Sanders et George L. Bradley pour une telle organisation.
Elle prévoyait la création d'une société nationale, la Bell Telephone Company, dotée d'un capital de 700 000 $ et composée de 7 000 actions à 100 $ chacune. Parmi ces 7 000 actions, 3 000 devaient être émises aux titulaires de brevets Bell pour leurs droits de brevet, 3 000 à la New England Telephone Company pour ses droits et propriétés, et 1 000 actions devaient être vendues à 50 $ chacune. La nouvelle société devait acheter au fiduciaire de la Bell Telephone Company tous ses téléphones et combinés Bell en stock, en mains propres ou loués, au tarif de 3 $ par téléphone et de 10 $ par combiné. La nouvelle Bell Telephone Company reprendrait l'ensemble des contrats de l'ancienne Bell Company et de la New England Telephone Company.
Selon cette proposition, les dirigeants et les administrateurs de la nouvelle société devaient être les mêmes que ceux de la « W England Telephone Company ». Si elle était adoptée, Gardiner Hubbard serait président, le trésorier de Gardiner, George L. Bradley, agent général^ et C. S. Bradley, Vilam G. Saltonstall, Alexander Cochrane, George L. Silsbee, Gardiner Hubbard, Thomas Watson et Charles Eustis Hubbard, directeurs.
Après un examen plus approfondi, Hubbard trouva la proposition plus défavorable qu'on ne le supposait à l'origine :
"Je pense que vous [Sanders] avez dû être tellement convaincu de la nécessité absolue de lever des fonds immédiatement que vous ne l'avez pas envisagée aussi sérieusement que vous le feriez autrement. "
Sa principale objection était que le plan doublait presque la participation financière (à distinguer de la participation au brevet représentée par la Bell Telephone Company) de la New England Telephone Company dans le brevet Bell, sans que celle-ci ne contribue à un seul dollar. Selon l'analyse de Hubbard, la part financière du brevet Bell était estimée à un huitième de la totalité du brevet, ce qui lui donnerait droit à un huitième des 7 000 actions, soit 875 ; mais selon les termes de la proposition,… devait recevoir 1 500 actions (1 500 actions revenant également à la Bell Company en tant que copropriétaire de la New England Telephone Company). Hubbard s'est également plaint que les actionnaires recevraient 1 500 actions pour un huitième d'intérêt, tandis que les actionnaires de Bell ne recevraient que 3 000 actions (en plus de leurs 1 500 actions en tant que propriétaires de la New England Telephone Company) pour cinq huitièmes d'intérêt. Reste dans le brevet. En effet, les titulaires du brevet ne recevraient que deux fois plus pour cinq fois la propriété. De plus, les investisseurs avaient déboursé 55 000 $ pour un huitième du brevet, soit 50 000 $ dans la trésorerie de la Bell Company et une commission de 35 000 $ à George L. Bradley, tandis que les nouveaux investisseurs paieraient 50 000 $ pour un septième et les titulaires de brevets paieraient l’équivalent d’une commission en espèces de 10 000 $. Ainsi, pour un intérêt plus important, les titulaires de brevets Bell recevraient moins qu’auparavant. Hubbard conclut :
"  Quel que soit l'angle sous lequel je considère le nouveau plan, il me paraît extrêmement injuste envers Bell Tel Co. Il est tellement injuste que je refuse de faire un tel sacrifice des biens de M. Bell sans le consulter. "
Hubbard répliqua en proposant de créer une nouvelle société, sans inclure la New England Telephone Company, au capital de 5 500 actions, dont 1 000 devaient être vendues pour 50 000 dollars. Cette proposition était prédite. Il était convaincu que les affaires n'étaient pas aussi mauvaises que Sanders le décrivait et que l'entreprise se renforçait de jour en jour. En mars, selon l'évaluation de Hubbard de la situation de l'entreprise, la compagnie de téléphone Bell devait 23 000 $. D'après les chiffres de février, la dette nette pour mars, c'est-à-dire les dépenses sur les recettes, n'était que de 101 $. Hubbard arguait que les agents avaient obéi aux instructions. Concernant les paiements anticipés, le solde aurait été réglé.
Il pensait que les agents obéiraient aux instructions de l'entreprise par la suite et qu'il était donc confiant que les revenus futurs seraient suffisants pour couvrir les dépenses futures.
Entre-temps, la dette de l'entreprise, qui s'élevait à 25 000 $, subsistait. L'assurance de Sanders qu'il pourrait emprunter 15 000 $ lui apporterait un soulagement temporaire. Si Sanders rencontrait des difficultés pour obtenir le prêt, Hubbard indiquait qu'il était en contact avec plusieurs parties prêtes à avancer les fonds nécessaires. Hubbard a donc demandé à Sanders d'emprunter les 15 000 dollars, étant entendu que s'il ne parvenait pas à trouver un meilleur arrangement avant l'échéance du prêt, il accepterait la proposition de Sanders. Il a conclu :
" « J'espère qu'un examen attentif de l'ensemble du dossier vous redonnera confiance…  Et que vous essaierez encore une fois. J'espère et je crois que ce sera la dernière fois que vous aurez des difficultés à lever des fonds pour Bell Tel Co." .
Sanders a bien obtenu un prêt, mais pour une durée de soixante jours seulement, et non pour les quatre mois recommandés par Hubbard, et uniquement sur sa garantie personnelle qu'une entreprise dotée d'un capital suffisant d'au moins 100 000 dollars serait créée au cours de cette période. Sanders a déconseillé de « dévoiler son jeu » à quiconque sous prétexte qu'il avait de l'argent, car toute sa fortune reposait sur le téléphone. À long terme, une organisation composée d'honorables gentlemen était un capital souhaitable. Sanders craignait que Hubbard ne soit encore réticent à l'idée d'accepter des avances de particuliers simplement pour combler des besoins temporaires. Une telle politique contredirait totalement l'engagement de Sanders envers les banquiers, mais elle créerait également deux organisations rivales, avec de nombreuses conséquences indésirables, et créerait également un état de malaise persistant entre deux entités distinctes. Sanders a demandé à être autorisé à participer aux conférences de Hubbard avec des investisseurs potentiels, soulignant :
"Si vous aviez la moindre idée de l'état de sursaut suprême dans lequel vous me mettez, du péril imminent dans lequel se trouve toute notre propriété, et que vous réalisiez que je devais en porter le fardeau, vous ne me tourmenteriez plus avec ce délai, mais feriez ce qui est manifestement dans notre intérêt… une action immédiate… Absolument essentiel au maintien de notre crédit, de notre réputation commerciale, de tout…"
Tout en appelant à une organisation d'hommes honorables, Thomas Sanders s'est livré à une activité que certains pourraient considérer comme déshonorante. Dans une lettre de huit pages intitulée « Non officielle, personnelle et strictement confidentielle », adressée à MM. C. S. Bradley, M. Iliam G. Salton Stall, G. L. Bradley, A. Cochrane, G. Z. Silsbee et Henry Salton Stall, amis, actionnaires et administrateurs de la New England Telephone Company, Sanders a retracé l'histoire de sa « position particulière » en référence à Gardiner G. Hubbard.
Sanders a décrit ses premières relations avec Bell et Hubbard pour montrer aux néo-colonialistes anglais que « je suis tombé dans cette situation inconfortable non pas par stupidité apparente de ma part, mais par une série de circonstances injustifiées.» Sanders pensait qu'une explication était nécessaire, car il ne pensait pas que ces messieurs sauveraient à nouveau la compagnie Bell par une réorganisation. Ils avaient exprimé leur mécontentement à Gardiner Hubbard concernant certaines prétentions salariales de Sanders à la Kew England Company, et Sanders souhaitait dissiper tout malentendu susceptible de compromettre leurs relations futures.
Sanders a rappelé aux investisseurs la confiance qu'ils lui avaient témoignée lors de la création de la Kew England Telephone Company, lorsqu'ils étaient prêts à lui confier leur argent uniquement, et non à Hubbard.
Il a expliqué les fondements de ses réclamations salariales et a sollicité leur aide et leur patience jusqu'à ce qu'il parvienne à convaincre son partenaire déraisonnable de se rétracter. Les investisseurs pourraient l'aider à poursuivre ses projets le moment venu.
Souhaitant une compréhension équitable des futurs problèmes si une consolidation des intérêts devait se produire, Sanders commença par souligner que ce serait un acte de justice que Hubbard soit élu président. Quels que soient les défauts de Hubbard, Sanders le reconnaissait comme étant « juste et honorable ». Si Hubbard se révélait moins, Sanders serait le premier à exiger sa démission. Sanders expliquait les inconvénients d'avoir un « homme sans prestige financier à la tête de l'entreprise, l'efficacité de Hubbard et son aptitude particulière à exercer ses fonctions seraient plus que compensées.  Vous devez comprendre qu'il a été un pionnier dans l'exploitation des patients et qu'il mérite d'être pris en considération à ce titre. Ne me croyez donc pas déraisonnable en espérant que vous ne le choisirez pas. »
Sanders était prêt à renoncer à ses prétentions au Trésor si cela favorisait la réalisation de la réorganisation proposée. Néanmoins, il estimait avoir droit à un procès. S'il était jugé inapte à occuper ce poste, il promettait que son propre vote ne le maintiendrait pas en poste. Sanders a décliné toute responsabilité quant aux manquements éventuels dans les affaires de son poste actuel :
« Je dois dire, en mon nom personnel, au risque d'apparent égoïsme, que, compte tenu des outils avec lesquels j'ai travaillé, je n'ai pas commis beaucoup d'erreurs et que les résultats n'ont pas été globalement insatisfaisants. »
En demandant aux investisseurs de la Nouvelle-Angleterre de coopérer activement, Sanders leur a assuré qu'il ferait tout ce qui était juste, équitable et honorable. Il ne prévoyait aucun problème parmi les différents investisseurs après la création de la nouvelle société. Sanders a toutefois mis en garde les investisseurs : la propriété et la « façon d’esprit particulière » de Hubbard impliquaient qu’ils ne lisent pas le contenu de la lettre, même si elle pourrait leur être présentée ultérieurement. En conclusion, Sanders a reconnu :
"Je me considère extrêmement heureux d'être entre les mains de messieurs, dont beaucoup sont étroitement liés à moi par des liens d'amitié et de parenté, et j'ai confiance que nos relations mutuelles seront toujours agréables et satisfaisantes".
Hubbard n'était pas d'accord avec l'évaluation que son partenaire faisait des investisseurs de la New England Telephone Company. Il estimait qu'ils n'avaient pas droit à la description d'« honorables gentlemen », mais plutôt à celle d'« hommes d'affaires avisés ». Hubbard a sympathisé avec la demande de Sanders de participer à des conférences avec des investisseurs, car Hubbard prétendait avoir été exclu des conférences qui ont donné naissance à la New England Telephone Company.
Hubbard a rappelé à Sanders que sa fortune et son crédit étaient également liés à l'affaire du téléphone. Il réitéra ici son engagement à accepter la proposition Bradley-Sanders s'il ne parvenait pas à former immédiatement une nouvelle organisation dotée d'un capital. Bien que Hubbard persistât à croire que la Bell Company pouvait continuer à fonctionner avec ses moyens actuels, il était prêt à se plier aux souhaits de Sanders. Il rappela à Sanders que le « contrat Bradley » pour la New England Telephone Company avait également été conclu conformément aux souhaits de Sanders, même si Hubbard pensait pouvoir en obtenir un meilleur.
Le prêt de 15 000 $ fut rapidement épuisé et Sanders commença à exiger davantage de fonds. Il y avait là une raison valable et évidente pour créer rapidement une nouvelle société. Charles Eustis Hubbard soutint les demandes de Sanders pour la création d'une société nationale consolidée. Il estimait également que le capital que son frère proposait de lever était totalement insuffisant et serait anéanti presque immédiatement, notamment compte tenu du combat prévu avec l'Union de l'Est.
Dans la presse concernant son plan concernant Hubbard, Sanders a souligné que les quelques investisseurs anglais, contrairement aux candidats de Hubbard, ne posaient pas de questions financièrement embarrassantes. Leur position actuelle les incitait à accepter la Bell Company telle qu'elle était. Sanders a nié l'affirmation de Hubbard selon laquelle il avait été ignoré lors de la création de la New England Telephone Company. Sanders a également suggéré que le projet de Hubbard de vendre 1 000 des 55 % des actions pour 50 000 $ serait en réalité préjudiciable et n'était motivé que par des poursuites contre les investisseurs de New England. La seule objection de Sanders au projet de New England était qu'il ne prévoyait pas 200 000 $ au lieu de 100 000 $. Il considérait que les 1 500 actions offertes à la New England Cornuany pour céder ses droits de valeur étaient insuffisantes pour se débarrasser d'un « gêne inconfortable », et il pressa donc Hubbard d'accepter la création d'une société incluant les intérêts de New England. Sanders rappela à Hubbard son engagement d'accepter la proposition de New England s'il ne pouvait obtenir plus de 100 000 $ pour moins de 100 000 $ hors de la Nouvelle-Angleterre.
" Comme vous le dites avec justesse, nous sommes tous les deux dans le même bateau, mais ce bateau dérive à la merci du vent et de la marée, sans propulsion ni équipage, le capitaine et le second se demandent s'il est judicieux de prendre la corde que leur tend le seul navire en vue capable de les porter au large ou de les confier à un autre navire qui leur demandera moins de sauvetage. Le Périlis est grand et il me semble insensé de dériver plus longtemps".
Hubbard a expliqué que si les chiffres de l'entreprise paraissaient si mauvais, c'était parce qu'ils ne disaient pas toute la vérité. Selon lui, plus les étrangers examinaient attentivement les activités de l'entreprise, plus ils étaient satisfaits des résultats. Désespéré de créer une société nationale consolidée, Thomas Sanders écrivit à Alexander Graham Bell pour lui demander de tenter de convaincre Hubbard de son importance. Sanders décrivit les circonstances entourant la création de la compagnie de téléphone de Hew England. Il affirma que Bell connaissait lui-même la quasi-totalité des investisseurs, dont beaucoup étaient ses amis, et précisa qu'il s'agissait tous de gentlemen avec qui il aimerait s'associer. Sanders a plaidé en faveur de la société consolidée au motif que les investisseurs de la Nouvelle-Angleterre étaient les seules parties intéressées par les brevets Bell ; deux sociétés pour des régions différentes du pays pourraient donner lieu à des conflits d’intérêts ; et l'intérêt actuel des investisseurs pour les brevets permettrait de meilleurs échanges commerciaux qu'avec d'autres parties. Une division des intérêts pourrait désormais s'avérer fatale, car la société Bell ne disposerait pas de l'unité nécessaire pour combattre ses ennemis. Selon Sanders, le projet de Hubbard de créer une société dotée d'un capital rapide de 50 000 dollars nécessiterait la cession d'un montant sensiblement identique d'actions pour un montant moindre.
Sanders considérait les préjugés de Hubbard à l'égard de la New England Telephone Company comme déraisonnables. Il a expliqué que la conviction de Hubbard selon laquelle la consolidation proposée n'était qu'un plan visant à promouvoir les intérêts des investisseurs de la Nouvelle-Angleterre était inexacte, car le plan avait été conçu par George L. Bradley, C. E. Hubbard et lui-même, sans les consulter ni consulter qui que ce soit d'autre.
Sanders a réclamé une action immédiate, car il avait utilisé au maximum son argent et son crédit pour rembourser la dette de 10 000 $ de l'entreprise, et Hubbard était financièrement incapable de l'aider. Dans un post-scriptum, Sanders a ajouté :
"Je n'insisterais pas autant sur ce point s'il m'était possible d'apporter davantage d'avancées à l'entreprise… He Hubbard n'est pas un homme d'affaires, ne prétend pas l'être et ne peut donc pas apprécier le poids du fardeau que je porte et le besoin urgent de capitaux… nous sommes tous ruinés, si quelque chose ne se produit pas entre le 20 mars et le 11 mai 1878".
Eustis Hubbard, essayant de surmonter les objections de son frère Gardiner au plan original de distribution des actions de la société consolidée, s'est arrangé avec Sanders pour que les actions soient distribuées comme suit : 1 030 actions devaient être vendues ; 1 250 devaient être émises aux souscripteurs en espèces de la How England Telephone Company ; 4 750 actions. être émises à la Bell Telephone Company, dont 200 actions devaient être versées à titre de commission pour le placement de 1 000 actions. Deux cent cinquante actions supplémentaires devaient être versées aux souscripteurs en espèces. Eustis a suggéré que cette somme supplémentaire soit déduite des actions de Sanders, Hubbard et Watson, les deux principaux associés contribuant chacun à hauteur de 107 actions et Watson à hauteur de 36. Si aucun arrangement ne pouvait être trouvé, a-t-il suggéré, Sanders devrait contribuer à hauteur de 150 actions et Hubbard à hauteur de 100. Cette mesure visait à surmonter les objections de Gardiner au paiement de 1 500 actions aux souscripteurs en espèces de la New England Telephone Company. Eustis Hubbard a critiqué la proposition de son frère de vendre de nouvelles actions à 50 dollars l'action et de demander aux investisseurs de la Nouvelle-Angleterre d'échanger leurs actions contre des actions et, si nécessaire, en guise de compromis, de leur offrir une action et quart contre une action ancienne. Il a souligné que nombre de ces investisseurs avaient payé 70 dollars par action et que, même avec le plan de compromis de Gardiner, ils auraient dû échanger une action de 70 dollars contre une autre d'une valeur de 62,50 dollars.
La proposition de Gardiner, fondée sur son estimation selon laquelle la Nouvelle-Angleterre valait un quart du pays, était tout simplement inacceptable pour les investisseurs. Malgré ses critiques, Eustis était satisfait que son frère ait accepté de créer une société consolidée.
Eustis a également tenté de dissiper le malentendu de Gardiner concernant la commission sur les actions de George Bradley. Il a expliqué que Bradley devrait la partager avec lui (Eustis) et d'autres personnes qui l'aideraient à placer les actions. L'aide de Bradley serait précieuse pour persuader les Anglais de Kew d'investir davantage. Eustis conclut : « Je pense que chaque action de la nouvelle action aura dix fois la valeur boursière de l'action Bell actuelle, et ce, pour toutes les raisons. »
Sanders était si heureux de la décision de Gardiner Hubbard de créer une société consolidée qu'il refusait de discuter du partage des 250 actions supplémentaires. Pourtant, il ne comprenait pas pourquoi il devrait se séparer d'une plus grande partie de ses actions que Gardiner. De plus, alors qu'il était Ravie de voir Alexander Graham Bell conserver son intérêt, il a jugé opportun que M. Bell participe à la division, « car les brevets n'ont de valeur que dans la mesure où ils sont gérés, et la valeur commerciale de celui-ci nous a été apportée, à vous et à moi, autant que par M. Bell. »
Hubbard s'opposa à la commission sur actions de Bradley et souhaitait préserver l'intérêt de Bell, car il souhaitait diluer la force des nouveaux investisseurs et conserver le contrôle de la nouvelle société. Face aux objections de Gardiner, Eustis persuada Bradley de céder la moitié des 1 000 actions à Gardiner, qui devait les placer auprès de ses amis. Bradley recevrait toujours l'intégralité de sa commission de 200 actions.
Selon les calculs d'Eustis, la distribution proposée d'actions aux propriétaires de Bell, à l'exclusion de Sanders, plus les 500 actions que Gardiner devait placer auprès de ses amis, représenterait 3 558 actions en plus de celles des amis d'Eustis dans la New England Company. Ainsi, les brevets bénéficiaient d'une nette majorité, et si Sanders était inclus, d'une très large majorité.
Gardiner Hubbard a rejeté l'argument de Sanders selon lequel ils contribuaient tous deux à parts égales pour constituer les 250 actions. Il a estimé que toute cette affaire était inutile et n'y a consenti que par respect pour les souhaits de Sanders :
"Je pense que je concède deux fois 250 actions pour vous faire plaisir (car je la considère inutile). Je ne vois pas pourquoi M. Bell devrait contribuer, et je ne le lui demanderai ni ne le lui conseillerai. Comme M. Watson souhaite vivement apporter un changement, je pense qu'il est juste et approprié qu'il contribue en partie".
En avril 1878, Hubbard commença à éprouver de nouveaux doutes quant à la société consolidée. Il exigea un rapport financier du trésorier Sanders avant de prendre une décision définitive. Il expliqua à Bell ou lui-même qu'en toute justice, il ne pouvait accepter la proposition sans modifications essentielles. Soit les actions détenues par Sanders, M. et Mme Bell et lui-même doivent être votées en bloc, soit Bradley ne pourrait pas être choisi comme agent général.
Hubbard estimait imprudent de nommer Bradley comme agent général, car il ne possédait pas l'expérience nécessaire pour gérer des participations aussi importantes. Selon Hubbard, l'arrangement proposé prévoyait que Sanders et Bradley, cousins, contrôleraient entièrement les finances et la gestion de l'entreprise, le laissant ainsi impuissant. Ce n'était certainement pas l'intention de Sanders.
Rappelant à nouveau ses soupçons concernant la création de la New England Company, Hubbard reprocha à son associé de ne pas lui avoir fourni les rapports financiers nécessaires à une décision éclairée. Il accusait également Sanders de l'avoir induit en erreur quant à sa capacité à lever des fonds. Enfin, Hubbard affirmait avoir été mal informé des conditions de réorganisation de la Bell Company, notamment du fait que Bradley devait recevoir l'intégralité de la commission afin d'éviter que la direction de l'entreprise ne tombe entre ses mains. Hubbard suggéra donc, comme modification possible de l'accord proposé, d'élargir ses fonctions de président afin d'y inclure un pouvoir de supervision sur toutes les transactions de la société, autres que financières.
Il suggéra également que Bradley soit nommé trésorier et que Theodore Vail, ou une autre personne compétente, soit nommé agent général ou agent itinérant. Hubbard annonça également qu'il négociait avec des investisseurs new-yorkais et leur avait offert une participation dans la direction générale de la société. Il estimait que c'était la seule façon de protéger les intérêts qu'il représentait.
Eustis répondit aux objections de son frère par une lettre de sept pages dans laquelle il retraçait soigneusement l'historique des négociations, réfutait certaines critiques de Gardiner et tentait de dissiper ses idées fausses. Il exhorta de nouveau Gardiner à adopter la proposition de la Nouvelle-Angleterre, même s'il lui restait encore trente jours pour mettre au point une organisation alternative. Les dernières objections de Gardiner Hubbard seraient nécessaires dans le projet de vendre 1 000 actions contre des espèces. Initialement, George Bradley et Eustis Hubbard devaient vendre respectivement 750 et 250 actions, Bradley recevant la commission complète de 200 actions. En réponse à la demande de Gardiner de pouvoir placer 750 actions, Bradley a accepté un compromis s'il pouvait conserver la totalité de sa commission. Il permettrait à Gardiner de placer 500 actions tout en l'aidant. Il a cédé les 500 actions restantes.
Selon Eustis, Bradley a insisté pour placer 500 actions afin qu'aucune personne ne puisse détenir un intérêt majoritaire dans la société. Cette mesure n'était pas dirigée spécifiquement contre Hubbard, mais plutôt contre une personne susceptible de contrôler la majorité.
Eustis a nié avoir entendu parler auparavant du souhait de Gardiner d'inclure ses amis dans la nouvelle société. mais n'avait aucune intention de les ignorer. Eustis rappela à son frère que la proposition initiale prévoyait que la nouvelle compagnie aurait les mêmes dirigeants que la Compagnie de Nouvelle-Angleterre.
George Bradley devait être nommé agent général afin de satisfaire son père, figure emblématique des négociations, qui en avait fait une condition à la réorganisation. Eustis ne comprenait pas les objections de Gardiner. Ne pas satisfaire Bradley aurait mis en péril la réorganisation, accru les difficultés de placement des actions et incité la New England Telephone Company à hésiter à transférer ses biens à la Bell Company.
Eustis a défendu le comportement de Sanders, qui n'avait pas fourni à Gardiner des informations financières complètes.
Il a expliqué que Sanders avait agi comme il l'avait fait parce que les agents ne lui avaient pas fourni toutes les informations demandées. Il est également contesté que les communications et les négociations « aient été indûment compliquées par la séparation des principaux intéressés ».
Compte tenu du récent accord de Gardiner Hubbard, Sanders a été surpris par cette demande de modification de l'organisation proposée. Si Hubbard voulait dire que les défenseurs ne devaient pas se joindre à quiconque contre lui, alors la modification de Hubbard n'était pas une modification du tout. Si, toutefois, Hubbard voulait que Sanders se lie pieds et poings pour tout voir à travers les yeux de Hubbard, alors Sanders ne pouvait pas envisager cela un instant. Les défenseurs s'engagèrent à soutenir Hubbard pour la présidence avec tout le pouvoir qu'il pouvait raisonnablement espérer, car c'était un poste auquel il avait droit en vertu de l'intérêt qu'il représentait et de son talent reconnu. Il a expliqué que ni lui ni Bradley ne souhaitaient usurper les pouvoirs du président. Sanders a ajouté : « Pourquoi persistez-vous à considérer cela comme une conspiration visant à vous priver de pouvoir, alors qu'au contraire, cela accroît votre pouvoir par rapport à tout autre plan imaginable, envisageant n'importe quelle réorganisation ? »
Sanders était certain que Hubbard ne sacrifierait pas l'occasion présente simplement pour l'humilier, car il croyait à tort que Sanders travaillait contre lui. Néanmoins, il a protesté contre les négociations de Hubbard avec d'autres investisseurs, les jugeant injustes pour toutes les parties concernées et susceptibles d'entraîner des conséquences désastreuses. Hubbard répondit qu'il était devenu méfiant lorsque Sanders avait tardé à envoyer les rapports financiers. Il qualifia la proposition de Sanders de calculer pour prendre le contrôle de Bell et de lui-même et le donner à Sanders et à ses amis. Hubbard n'était pas sûr des intentions de Sanders, mais il était certain que les bénéfices de la réorganisation ne seraient pas proportionnels à la perte considérable subie par Bell, Sanders et lui-même. Bien que Hubbard ait continué d'insister sur le fait qu'un trésorier jouissant d'une bonne situation financière et d'un bon crédit pourrait facilement gérer l'entreprise, il a accepté une réorganisation si Sanders, après réflexion, continuait de la croire nécessaire et souhaitable. Comprenant désormais mieux la situation financière de l'entreprise, Hubbard ne pouvait accepter la proposition initiale. Il acceptait ses caractéristiques générales, mais exigeait le droit de vendre la moitié des actions de la société moyennant une commission de 20 % sur chaque action. De plus, George Bradley ne devait pas être nommé agent général pour l'ensemble du pays. Sanders pouvait décider si Bradley devait être nommé trésorier ou agent général pour la Nouvelle-Angleterre.
Selon George Bradley, le plan modifié prévoyait désormais que Hubbard serait président, avec un salaire compris entre 3 000 et 5 000 dollars, voire plus si le succès de l’entreprise le justifiait, et assurerait une supervision active des affaires de l’entreprise.
Hubbard devait diriger les agents de l’entreprise et superviser les contrats importants soumis aux administrateurs. Sanders devait rester un trésorier, son salaire et ses fonctions étant déterminés par les directeurs. George Bradley devait être nommé directeur général, étant entendu que ses fonctions se limitaient au siège social. Les directeurs de la nouvelle société devaient être les mêmes que ceux de la New England Telephone Company, sauf en cas de démission, conformément à ses statuts. Bradley devait recevoir 200 actions payées par la Bell Company à titre de commission.
Bien que Bradley ait accepté de faire de son mieux pour faire adopter le plan modifié de Hubbard, il a admis que ce serait une tâche très difficile. Les objections de Hubbard au plan de Sanders ont finalement amené Sanders à déclarer quelque chose qui le rongeait sans doute depuis longtemps : « Mon seul objectif et désir a été qu'une société soit créée, dont vous seriez à la tête, mais dans laquelle les autres actionnaires auraient voix au chapitre. Vous avez tellement essayé de manipuler les actions que votre pouvoir devrait être absolu dans chaque plan qui a été soumis ».
Bien que Sanders se méfiât d'une correspondance privée que Hubbard avait échangée avec George Bradley, il était prêt à accepter tout arrangement susceptible d'accélérer la création d'une société nationale. Il rappela à Hubbard que si leurs positions étaient inversées, Hubbard se sentirait justifié de le réprimander pour ses transactions secrètes. En réponse, Hubbard reconnut son erreur en écrivant à Bradley et nota qu'il lui avait déjà demandé de considérer la lettre retirée. Il expliqua que, bien que n'étant pas de nature méfiante, il avait parfois douté de Sanders et avait peut-être utilisé un langage critique. Cela était toutefois dû à la pression financière qu'il subissait. Hubbard lança un ton conciliant :
"Vos lettres ont été franches et viriles, et il est absolument nécessaire à notre succès et à notre confort que nous soyons en permanence en parfaite harmonie et que toutes nos relations soient ouvertes et franches. Je m’efforcerai de l’être à l’avenir".

À la mi-avril, quatre propositions de réorganisation de la Bell Telephone Company étaient à l'étude.
* La première, celle de Sanders et Bradley, prévoyait la création d'une société dotée d'un capital social de 700 000 $, dont 300 000 $ seraient cédés à la Kew England Company, 300 000 $ à la Bell Telephone Company et 100 000 $ seraient cédés au comptant. George Bradley devait recevoir 200 actions en guise de commission.
* La deuxième proposition était la modification de la première par Gardiner Hubbard.
Les actions devaient être distribuées de la même manière, sauf que Bradley et Hubbard devaient chacun vendre pour 50 000 $ d'actions et se partager équitablement une commission de 200 actions. Ce plan prévoyait également la clarification des pouvoirs et des responsabilités du président, ainsi que la création d'un comité exécutif composé de trois membres, dont l'un serait le président, chargé de ratifier les contrats importants.
* Une troisième proposition prévoyait la création d'une société à New York si Sanders rejetait le deuxième plan. Cette société devait être dotée d'un capital de 800 000 $, dont 300 000 $ d'actions seraient reversées aux propriétaires de la New England Telephone Company, 300 000 $ aux propriétaires de brevets et 200 000 $ seraient vendues à 50 % avec une commission de 20 %. Gardiner Hubbard devait être président, Theodore N. Vail agent général et les investisseurs new-yorkais devaient nommer le trésorier.
* Le quatrième plan, intitulé « Organisation en Nouvelle-Angleterre par MM. Sanders et Hubbard », prévoyait la création d'une société dotée d'un capital de 600 000 $, dont 150 000 $ en « liquidités », 150 000 $ à verser à la Bell Telephone Company pour la moitié de ses actions de la New England Telephone Company, et 300 000 $ à émettre pour le reste des brevets.

Gardiner Hubbard souhaitait réorganiser la Bell Telephone Company sans l'aide de la New England Telephone Company, comme dans le quatrième plan. Il était si désireux qu'il espérait que la New England Company rejetterait la deuxième proposition. Sanders, cependant, ne voyait aucune raison pour laquelle le deuxième plan ne serait pas adopté, car il ne différait du premier que dans la mesure où Bradley était privé (déraisonnablement, selon Sanders) de sa commission. Non seulement le dernier plan de Hubbard était inutile, mais il serait également difficile à mettre en œuvre. Sanders a affirmé que si Hubbard avait clairement signifié sa modification du plan Bradley, quelque chose aurait pu être adopté six semaines plus tôt. Il a observé : "Tout projet qui vous a attiré, dès le départ, reposait sur le fait que je me suis lié les mains et que j'étais exclu de la direction de la société. Si une société nationale devait être créée à aucune autre condition, je suis prêt à me sacrifier et je l'ai été dès le début, même si je ne comprenais pas pourquoi vous désiriez cela alors que j'ai tout fait pour promouvoir vos intérêts".
Les défenseurs ont conclu, comme Eustis avant lui, que les explications et les malentendus auraient pu être évités si les dirigeants s'étaient rencontrés en personne au lieu d'être obligés de coucher leurs propositions sur papier.
Alors même que Gardiner Hubbard prédisait la création d'une nouvelle société au mois de mai, le juge Bradley l'a informé que les habitants de la Nouvelle-Angleterre n'étaient pas disposés à signer l'accord proposé. Certains ont refusé, privilégiant la séparation et la sécurité, tandis que d'autres estimaient que les abonnés devaient contrôler l'argent versé à l'entreprise, et non les brevets. Bradley estimait que la justice et la politique interdisaient de demander à Hubbard de prendre sa retraite, mais il a demandé que les abonnés soient autorisés à assurer leurs biens et leurs intérêts communs contre toute erreur de jugement éventuelle. Il a résumé le sentiment des investisseurs de la Nouvelle-Angleterre :
"Aucune branche du droit n’est aussi sûre dans son fonctionnement que le droit des brevets. Et lorsque les détenteurs de brevets sont remboursés, leurs investissements et une somme importante, en plus, conservent presque tous les brevets, les souscripteurs risquent une centaine. Des milliers de dollars, pour la plupart perdus en cas d'échec, la meilleure affaire est celle des brevets. Aucune vente de ce type, contestée et non testée, n'a jamais été réalisée dans ce pays".
Néanmoins, Bradley a reconnu la nécessité de fonds pour poursuivre les contrevenants et d'une harmonie entre les deux parties, et s'est donc montré disposé à soutenir la dernière demande de son fils.
Les investisseurs de la Nouvelle-Angleterre n'étaient pas les seuls à refuser d'investir dans la société proposée. En avril, Hubbard avait fait appel à des agents de renseignement. dans l'entreprise au motif qu'il était important d'avoir des agents financièrement intéressés par les titulaires de brevets. Trois agents n'ont pas réagi avec enthousiasme, notamment parce que les infractions n'étaient pas contrôlées. Thomas Sanders était au moins disposé à prendre une part dans l'association proportionnelle à la responsabilité qu'il assumait. C'est à cette époque qu'il a décidé de fermer son entreprise de cuir et a donné son crédit et ses compétences à la compagnie de téléphone Bell.
Les administrateurs de la New England Telephone Company se sont opposés au projet de société consolidée, car Hubbard et Sanders avaient l'intention de conserver leurs postes de direction. Sanders a appris que ces personnes seraient disposées à doubler leur investissement potentiel, c'est-à-dire à garantir la vente de 2 000 actions pour 100 000 dollars supplémentaires au capital de la New England, si Hubbard et lui renonçaient à leurs droits. Il expliqua à Hubbard :
"On dit que M. Hubbard est un homme impraticable, et la théorie sur laquelle il s’appuie pour diriger l’entreprise le prouve. En outre, que ce soit par sa faute ou non, il semble avoir participé à toutes les entreprises dans lesquelles il s’est lancé, de sorte qu’après une vie de brillantes opportunités, il se retrouve incapable de faire face à ses obligations. M. Sanders n'a aucune expérience qui lui permette d'être à la hauteur de ce poste et fait preuve de stupidité en se plaçant dans une situation où sa confiance et son crédit sont mis en péril. À eux deux, ils ont réussi à placer l'entreprise dans une situation de grand danger".
Sanders a suggéré que lui et son associé se retirent si c'était la seule base sur laquelle la nouvelle société pouvait être créée, même s'il considérait cela comme injuste et non conforme à ses souhaits ni aux intérêts de l'entreprise. Malgré ces complications, les chances de créer une société nationale semblaient bonnes à Sanders. Pendant ce temps, George Bradley sollicitait l'autorisation de Hubbard pour introduire un nouveau plan prévoyant la création d'une société hors de la Nouvelle-Angleterre. Celle-ci devait posséder un capital social de 100 000 $, dont 300 000 $ devaient être émis à la Bell Telephone Company et 100 000 $ devaient être vendus pour 50 000 $ en espèces. Bradley offrirait aux souscripteurs de la New England Company la première opportunité d'acheter des actions. Sanders s'est opposé à certaines caractéristiques de cette proposition, mais a estimé qu'il y avait une alternative si la New England Company rejetait le plan initial. Face à l'opposition de la New England Company, Hubbard et Sanders ont concilié leurs points de vue. Sanders a écrit :
"Je pense que nous nous comprenons désormais et que, quoi qu'il arrive, nous agirons ensemble et nous ferons confiance. C'est la seule voie qui s'offre à nous et, en plus, cela nous facilitera grandement la vie à tous les deux".
Hubbard était satisfait de la proposition de Bradley, car elle témoignait de sa confiance dans la Bell Telephone Company. Hubbard pensait que lorsque les investisseurs de la New England Telephone Company réaliseraient qu'une société nationale était en cours de constitution, ils seraient impatients de la rejoindre. Dans le cas contraire, la Bell Company aurait besoin d'un capital de 50 000 $ et de 75 000 $ en espèces. Une telle organisation fournirait aux titulaires de brevets presque autant de liquidités que si la New England Company avait fusionné avec elle. Hubbard a finalement reconnu l'importance de fusionner la New England Company et la Bell Company, si possible. S'appuyant sur le dernier plan de Bradley, Hubbard a suggéré une méthode permettant d'augmenter le capital de 250 000 dollars, permettant ainsi à la New England Company de se consolider à terme avec la Bell Company.
Selon les calculs de Hubbard, si la Bell Telephone Company
émettait cinq actions pour quatre de la New England Company, non seulement le capital de la nouvelle société serait augmenté à 700 000 $, mais les actionnaires de la Nouvelle-Angleterre recevraient également une prime de vingt-cinq pour cent. Hubbard
estimait que soixante pour cent des habitants de la Nouvelle-Angleterre pourraient être attirés, forçant ainsi les réticents à se joindre à lui.6
Sanders exhortait alors à la retenue. Il pensait que si les investisseurs de la Nouvelle-Angleterre rejoignaient la Bell Company, cela reviendrait à les laisser « seuls ». Ils finiraient par comprendre l'identité de leurs intérêts avec la Bell Company, mais pour l'instant, il n'était pas judicieux de préconiser de nouveaux plans.
Hubbard exprima son accord total avec l'évaluation de la situation par Sanders, suggérant seulement que les habitants de la Nouvelle-Angleterre pourraient être contraints de rejoindre la nouvelle organisation. Malgré cette rencontre, les soupçons d'Hubbard persistèrent et il envoya un représentant, A. O. Morgan, participer aux activités de l'organisation. Morgan a expliqué :
"Concernant ma nouvelle visite à Boston, je pense que M. Hubbard pense que ni vous (Sanders), ni son propre frère, ne lui rendez pleinement justice, à lui et à ses efforts, et je suppose simplement que, s'il est disposé à discuter, il souhaite qu'une personne qui le connaît bien soit entendu".
Hubbard cherchait toujours à contrôler les actions de la Bell Company dans la New England Company en cas de réorganisation. Sanders rappela cependant au représentant de Hubbard que les parties qui contrôlaient les actions étaient toutes majeures, dotées de bon sens et d'un intérêt indivis, et qu'elles refuseraient probablement d'être placées sous tutelle.
En juin, Sanders était prêt à soumettre un autre plan pour la création immédiate d'une société sur des bases solides, qui permettrait de payer les dettes de la Bell Company, de laisser des fonds dans la trésorerie et de lever 30 000 à 50 000 dollars supplémentaires si nécessaire. Ce plan, qui prévoyait d'intéresser Vail et ses amis financièrement, a apparemment échoué.
Le 29 juin, dix personnes, dont plusieurs investisseurs de New England, se sont officiellement associées dans le but de constituer une société, la Bell Telephone Company, dotée d'un capital de 50 000 $ et de 503 actions d'une valeur nominale de 100 $ chacune. "La Société a pour objet de fabriquer et de vendre des téléphones et leurs accessoires, ainsi que de construire, d'entretenir et d'exploiter des lignes téléphoniques dans l'ensemble des États-Unis, hors de la Nouvelle-Angleterre".
Ayant rencontré quelques difficultés pour lever des fonds pour la nouvelle société, Sanders a proposé à Hubbard une nouvelle proposition.
Il a accepté de vendre 200 actions pour 10 000 $ et George Bradley a accepté de vendre 300 actions pour 15 000 $, plaçant ainsi 25 000 $ dans la trésorerie de la société. Ces cinq cents actions ont finalement été cédées comme suit : Charles Williams Jr. a acheté 123 actions parce qu’il « ne pouvait rien faire » ; Bradley a acheté 300 actions parce qu’il « voyait la ruine de la "N.E. Co" lors de la ruine de la Bell Company ; et les amis de Sanders*ont pris les 77 actions restantes afin de le loger.
Sanders a également accepté de fournir 25 000 $ pour 1 000 actions, portant ainsi le capital en espèces à 50 000 $. Ces 1 000 actions devaient être conservées et faire l'objet d'un vote par Sanders jusqu'à leur vente à 50 $ l'action. Si Bradley parvenait à céder ce bloc d'actions dans les quatre mois, il recevrait une commission. Si, à la fin de… Si, pendant six mois, les 1 000 actions restaient invendues, elles devaient être restituées à Sanders au prix de son prêt, soit 25 $ par action. Sanders offrait sa place à tout gentleman « honorable ». La commission de 200 actions sur 1 000 actions devait être reversée à la partie prêteuse si les stocks n'étaient pas vendus dans le délai prescrit. De plus, le prêteur devait recevoir un pour cent par mois pendant six mois, sauf si les actions ont été vendues avant les six mois. Aux termes de cette proposition, ni Sanders ni Hubbard ne devaient occuper aucun poste. Ils devaient accepter les statuts de la New England Telephone Company, qui prévoyaient la création d'un comité exécutif de trois personnes, dont Sanders serait membre si Hubbard en était membre, et les investisseurs en numéraire choisiraient le troisième membre. Theodore N. Vail, agissant sous les conseils et la direction de ce dernier, Le comité exécutif était chargé de gérer les affaires de l'entreprise. Son bureau devait être situé à New York, et les autres bureaux devaient être situés là où le comité exécutif le jugeait nécessaire.

Finalement, 40 000 $ du capital de 50 000 $ devaient être versés à l’ancienne Bell Telephone Company pour son usine. Trente mille dollars devaient être versés immédiatement, le solde dans six mois. Après avoir réglé les dettes de l'ancienne compagnie pétrolière, l'excédent devait être réparti entre Hubbard (6 000 $) et Watson (3 000 $ CA).1
Selon les termes de cette proposition, la direction de la compagnie devait être transférée de Gardiner Hubbard à Theodore Vail et au comité exécutif.
La proposition de Sanders est devenue « La base de la réorganisation de la compagnie de téléphone Bell. »
Le 20 juillet 1878, le fiduciaire Hubbard céda les actions 161 739, 174 65, 178 399 et 186 737 à la nouvelle la nouvelle Bell Telerhone Company en échange de 3 000 actions du capital social de la nouvelle société. Le même jour, les signataires des statuts de la société et adoptèrent un ensemble de statuts. Ceux-ci étaient essentiellement les mêmes que ceux de la New Bankland Company.
La principale exception L'article trois prévoyait la nomination d'un comité exécutif par le conseil d'administration parmi ses membres.
Ses signataires ont également élu à l'unanimité Gardiner G. Hubbard, Thomas Sanders, Thomas Watson, C. E. Hubbard, James Sturgis, Joseph H. Goodspeed et Thomas A. Eailey directeurs, ainsi que Thomas Sanders trésorier.
Ils ont également voté à l'unanimité que la nouvelle société achète au fiduciaire les biens de la Bell Company.
Les administrateurs, réunis le même jour, ont élu à l'unanimité Gardiner Hubbard président de la Bell Telephone Company. Ils ont également élu à l'unanimité Gardiner Hubbard, Thomas Sanders et George Bradley au comité exécutif, qui s'est vu conférer les pouvoirs nécessaires à la gestion de la société.
Une semaine plus tard, lors d'une réunion à laquelle participaient Gardiner Hubbard, Thomas Sanders, George Bradley, Thomas Bailey, C. E. Hubbard, Charles Williams Jr. et A. O. Morgan, un règlement supplémentaire fut adopté. Selon ce règlement, les détenteurs d'actions payées en espèces disposeraient, pendant deux ans, des mêmes droits et pouvoirs que les titulaires de brevets. Les souscripteurs en espèces initiaux devaient exprimer deux voix pour chacune de leurs actions, tandis que les détenteurs de brevets ne devaient exprimer qu'une voix pour chacune de leurs actions. Ainsi, par l'ajout du règlement treize, les détenteurs de brevets ont renoncé au contrôle absolu de leurs brevets.
Afin d'acquérir un nouveau capital, Hubbard fut donc finalement contraint de renoncer au pouvoir absolu qu'il exerçait et qu'il avait exigé comme base de sa réorganisation.
Le 14 juillet 1878, la Bell Telephone Company reçut son certificat de constitution du Commonwealth du Massachusetts.
Sanders disposait enfin d'un capital pour sa société nouvellement constituée.


Certificat n° 491. The American Bell Telephone Company. Certificat d'actions rare de 300 actions. Émis à Thomas Sanders en 1880

sommaire

FONCTIONNEMENT DE LA COMPAGNIE DE TÉLÉPHONE BELL

La réorganisation de la compagnie de téléphone Bell n'a pas eu d'impact immédiat sur le fonctionnement des agences. Les agents ont été confrontés à bon nombre des mêmes problèmes qu'auparavant. Ils ont continué à se plaindre de l'absence de sonnettes d'appel, les considérant comme un obstacle sérieux à la progression de l'activité. Bien que jamais les modèles n'aient été aussi performants, leur tissage était moins durable. Ainsi, à la fin de l'année, la Bell Company demandait à ses employés de retourner toutes les cloches défectueuses pour les remplacer par les modèles les plus récents. Ces changements prenaient cependant du temps, et les promesses de cloches de meilleure qualité ne regagnaient pas toujours la confiance des clients.
Les agents et les bureaux de change se plaignaient fréquemment des retards de livraison, des commandes d'instruments, de standards téléphoniques, d'agencements de bureaux et de formulaires commerciaux. Ces retards ont interrompu l'activité des agences et les centrales téléphoniques ont perdu des abonnés.
Lorsque la société Bell a demandé des renseignements sur l'état d'une centrale téléphonique, un licencié a répondu :
"Nous n'avons pas de centrale téléphonique et il est peu probable que nous en ayons une. Nous avons quelques éléments de standard téléphonique, mais pas de sonnettes. Les téléphones à batterie que nous avons commandés n'ont pas été expédiés… et nos clients partent pour une autre entreprise. Je ne sais pas si je peux écrire assez fort pour vous faire part de mon avis sur la question. Mais si rien n'est fait d'ici peu, je continuerai jusqu'à ce que notre argent soit épuisé, ce qui ne tardera pas à arriver, et je remettrai alors tout entre les mains des hommes qui nous ont mis à mal [Bell Co.]. Ce n'est pas de notre faute".
Les retards d'expédition ont naturellement entraîné une recrudescence des critiques à l'égard de Charles Williams Jr. Les agents qui passaient toutes leurs commandes chez Williams et qui payaient rapidement leurs factures se sentaient particulièrement lésés. Les retards persistants ont finalement contraint les agents mécontents à rechercher des fournisseurs de matériel électrique plus fiables. La réorganisation de la Bell Company n'avait pas beaucoup amélioré la situation de Charles Williams. Bien que l'ancienne Bell Company lui ait intégralement remboursé ses obligations, il manquait encore de fonds et, en août 1878, il demandait une avance de 2 000 $ à la nouvelle société afin de poursuivre ses activités de fabrication. La pénurie actuelle de Williams était due au fait qu'il avait utilisé son « capital disponible » pour acquérir une participation dans la Bell Telephone Company, récemment réorganisée.
De toute évidence, la Bell Company commençait à être mécontente des performances de Williams. Hubbard reconnaissait la nécessité de lui faire une avance, mais l'idée ne lui plaisait pas. Après avoir visité la bourse de Chicago et constaté de visu les conséquences des retards d'expédition, Hubbard insista également pour que Williams soit dépêché. Vail a demandé à Williams s'il ne pouvait rien faire pour honorer les commandes en souffrance et maintenir un stock d'instruments afin que les nouvelles commandes puissent être honorées sans délai. Williams était lui-même insatisfait de la capacité de la Bell Company à honorer ses obligations envers lui. Il s'est plaint à plusieurs reprises à Sanders de ses difficultés à obtenir une réduction sur les billets de la Bell Company.
Les exigences financières de Williams envers la Queen Elizabeth Company ont régulièrement augmenté au cours des trois derniers mois de 1878, et il s'attendait à ce qu'elles continuent à augmenter à un rythme croissant. Williams a expliqué que le solde qui lui était dû au 1er octobre était de 9 265,40 $, au 1er novembre de 11 152,82 $ et au 1er décembre de 14 172,11 $. Il prévoyait que le solde pour janvier 1879 serait de 17 000 $. Il avait besoin de trois ou quatre mille dollars immédiatement pour payer ses factures, car son crédit était compromis. La situation financière difficile de Williams résultait principalement de l’incapacité de Hubbard à fournir tous les fonds nécessaires à la conduite de l’activité manufacturière comme il l’avait promis, et en partie du fait que l’entreprise de Williams employait davantage de travailleurs.
Bien que Williams ait regretté les retards de livraison, il estimait que les agents étaient injustifiés dans nombre de leurs plaintes. Il a souligné qu'il avait récemment installé de nouvelles machines d'une valeur de 2 000 $ et augmenté le nombre d'employés travaillant sur des articles téléphoniques afin de répondre à la demande croissante. Il a proposé d'installer davantage de machines et d'embaucher des travailleurs supplémentaires, si nécessaire, pour répondre aux demandes futures. Williams a déclaré :
"En ce qui concerne les téléphones, j’ai rapidement honoré toutes les commandes… et je peux en augmenter le nombre si nécessaire.
Depuis le 7 août, j’ai expédié 1400 appels magnétique, soit une moyenne de 90 par semaine. Il y a eu un certain retard sur les cloches de district en raison de changements de style… De nouveaux outils ont dû être fabriqués pour accélérer la fabrication et réduire les coûts… en quelques jours, nous pouvons les produire très rapidement. Nous produisons les annonciateurs aussi rapidement que nécessaire… J'apprécie pleinement votre position [celle de Vails] et je ferai de mon mieux pour faire avancer ce travail".
Vail, à son tour, prétendait comprendre parfaitement les difficultés de Williams, mais soulignait que chaque agent considérait son territoire comme la clé de voûte de tout le système téléphonique et qu'il refusait donc toute excuse pour retarder le processus. Grâce à la perfection du téléphone à pile, capable de rivaliser avec la concurrence du téléphone à carbone Edison, de nouvelles pressions furent exercées sur Williams pour qu'il produise en plus grande quantité. Malgré ses propres efforts, Watson était d'avis que certains travaux téléphoniques devaient être effectués dans d'autres ateliers.
Fin décembre, Williams avait porté son effectif à 6,5 personnes et rassura Watson qu'il serait capable de produire tout le travail téléphonique souhaité. Williams s'inquiétait désormais du prix des nouveaux modèles de téléphones. Il conclut qu'il pouvait produire des téléphones pour 2,70 $ et facturerait 3,00 $ à la Bell Company. Cependant, plusieurs fabricants lui avaient indiqué qu'un bénéfice équitable serait d'environ 33 %. Par conséquent, alors qu'il souhaitait gagner 50 $ sur chaque instrument, il était prêt à partager la différence avec la Bell Company et proposa de ne facturer que 40 pence de plus que le prix coûtant. La Bell Company accepta de payer à Williams 3,10 $ à chaque téléphone fabriqué.
Malgré cet arrangement, Villiams continuait à se plaindre d'être « complètement débordé » par manque de fonds, et il rappela à Sanders de ne pas manquer de lui envoyer un virement important. Il expliqua : « J'espère que vous avez bien réglé le solde… Monsieur Sanders, j'ai une somme importante à régler chaque semaine. Votre entreprise me presse de payer Battery Telep. J'augmente mes effectifs chaque semaine pour répondre à la demande, cela demande de l'argent et des sommes importantes. Maintenez la situation en mouvement, alors faites de votre mieux pour moi. »
L'incapacité de Williams à fournir des quantités suffisantes d'instruments a poussé la Bell Company à explorer la possibilité de faire appel à d'autres fabricants dont le travail était de qualité égale et à bas prix. Bien que Vail ait estimé qu'une telle solution était absolument nécessaire, il a souhaité la limiter aux équipements auxiliaires, laissant la fabrication des commandés exclusivement à Williams. Par conséquent, lors d'une de ses tournées, Watson commença à former Post & Co de Cincinnati à la fabrication de ce type d'équipement téléphonique auxiliaire.
L'entreprise était si désireuse de participer à la production d'équipement téléphonique qu'elle commanda 1 500 $ de nouvelles machines pour effectuer le travail. Watson s'engagea à confier l'approvisionnement des agents Bell à Post & Co. et à George Bliss, qui s'apprêtait à créer une usine à Chicago. Il a également visité les installations d'un autre fabricant et, s'il les trouvait satisfaisantes, leur a demandé de fournir une autre région du pays.
Fin février, Watson a pu signaler que Post & Company avait commencé à fournir des cloches magnétiques à Cincinnati, Louisville, Nashville, St. Louis, Iowa et Chicago. Il prédit que Post & Co. et Bliss seraient en mesure d'approvisionner tout l'Ouest ; Davis Watts et Patrick A. Carter, d'autres fabricants, le Sud et une partie de l'Est ; et qu'avec l'implantation d'une usine à New York, Williams serait libre de fabriquer uniquement des téléphones et éventuellement des équipements auxiliaires essentiels.
Ces fabricants étaient tenus de respecter certaines normes et de se soumettre à la supervision générale de Bell.
Watson a également suggéré qu'ils soient tenus de signer un accord pour vendre du matériel téléphonique uniquement aux agents de Bell en échange de son aide pour les aider à démarrer. Parfois, Watson était tenu non seulement de fournir une assistance technique, mais aussi une main-d'œuvre physique : « Je traverse les mêmes difficultés chez Fost & Co. que chez Williams, lorsque j'ai commencé à fabriquer. » « Je suis prêt à me retirer et à m'investir aujourd'hui. »
La décision de la Bell Company d'accorder des licences à d'autres fabricants d'électricité a non seulement contribué à résoudre le problème d'approvisionnement, mais a également permis à l'entreprise d'évaluer plus attentivement les performances de Williams. Watson a déclaré :
"J’ai demandé à un responsable de la Fost PC Co.T de faire une offre pour les émetteurs. Il les fabriquera pour plus de 2,60 $ chacun, par lots de 5 £. Frère Williams devra venir. Je ne veux pas les fabriquer si je ne peux pas obtenir tout ce que je veux de Williams".
Lorsque les agents ne se plaignaient pas des retards de livraison des équipements, ils se plaignaient des retards de ratification de leurs contrats. Il s'agissait là aussi d'un problème ancien.
À mesure que le secteur de la téléphonie gagnait en maturité et évoluait, les systèmes de téléphonie de district et de central téléphonique ont progressivement dépassé en importance les agences de lignes privées. Les agents ne pouvaient toutefois pas s'engager dans les différentes phases de la téléphonie sans avoir préalablement soumis des propositions à la société mère et obtenu son consentement. Ainsi, la ratification et l'exécution rapides des contrats étaient essentielles au lancement des systèmes de district et d'échange. Certaines des premières agences de lignes privées ont continué à fonctionner « sans contrat » pendant une bonne partie de la période d'activité de la société Bell. Parfois, ces « ententes générales » se sont avérées bénéfiques pour la société mère, par exemple lorsqu'elle souhaitait conclure de nouveaux accords avec d'autres parties.
Les retards contractuels résultaient de plusieurs facteurs. Hubbard avait tendance à négocier des accords provisoires avec des agents par courrier, laissant les détails et l'exécution finale des contrats pour les réunions lors de ses tournées d'inspection. Les retards qui en résultaient s'avéraient parfois coûteux. Les atermoiements de Hubbard à soumettre une proposition à la société ADT d'Erie, qui envisageait de mettre en place un système d'échange, ont conduit cette société à se transformer en Gold and Stock Telegraph Company. Bien que ces dernières conditions n'aient pas été aussi favorables que celles de la compagnie Bell, elles ont été acceptées en partie en raison du manque de réactivité de la compagnie Bell face à ses demandes répétées, qu'elle ne pouvait attribuer qu'à un manque de qualité commerciale ou à une indifférence de notre part. Hubbard expliqua qu'il avait espéré visiter Érié en juillet, puis en août, mais qu'il n'était arrivé qu'en septembre. Comme il s'attendait à être à Érié bientôt, il n'avait vu aucun intérêt à réduire la proposition d'écrire, préférant, comme il le fit, rencontrer les personnalités en personne avant de faire une proposition formelle. O. E. Hadden a résumé la situation en écrivant : « L’entreprise d’Erie est un exemple de ce que l’on peut perdre à cause du retard».
Avant octobre, si un homme avait passé un peu de temps avec eux, suffisamment de temps pour comprendre leur cas, la Gold and Stock Company n'aurait jamais pu les obtenir. Je le sais.
Le deuxième facteur à l'origine des retards contractuels était la nécessité d'obtenir l'assentiment du comité exécutif de la Bell Company, composé de trois membres. Les décisions n'étaient pas toujours prises rapidement. Par exemple, bien que le Comité exécutif n'ait pas approuvé un projet de contrat de licence pour Buffalo, le rejette, préférant laisser les choses dériver.
Lorsque l'agent général Madden a fait pression sur Vail pour qu'il prenne une décision, Vail lui a conseillé d'abandonner la perspective d'investissements mécontents du retard, et si aucun autre investisseur ne pouvait être trouvé, Madden a alors décidé d'abandonner temporairement. Des flans pour un échange à Buffalo. Madden a été confronté à des retards similaires concernant Syracuse et Rochester. Dans les deux cas, la Bell Company était confrontée à la perspective de perdre l'intérêt et la coopération des capitaux locaux et de voir l'opposition intervenir dans son propre programme. Madder se plaignit :
"J'aimerais que vous (Vail) puissiez voyager parmi les agents et ressentir par vous-même le degré d'insatisfaction qui existe parmi eux, principalement parce qu'ils n'ont pas réussi à obtenir satisfaction de la part de la C.O., cela vous amènerait, j'en suis sûr, à apporter votre influence pour améliorer la situation".
Les agents et les investisseurs potentiels ont également souffert d'un manque de formation de la part de la Bell Company. La décision de transférer le siège social de la société à New York a aggravé le vieux problème d'une correspondance commerciale irrégulière entre la société mère et ses agents.
Les agents se sont plaints, comme par le passé, de l'incapacité de la Bell Company à dissiper la confusion publique concernant les fonctions des anciens agents. Les agents cherchaient souvent des informations sur les dernières politiques de l'entreprise, notamment concernant la création d'échanges : « N'ayant pas eu de vos nouvelles, je travaille bien sûr dans l'ombre. Si je parviens à lancer un échange, j'aimerais être informé des modalités de financement.»
Les visites de représentants de l'entreprise ont souvent permis de combler ces lacunes. Le chef des visiteurs était Thomas Watson, qui non seulement révisait les informations, mais réussissait également à apaiser les irritations des agents. Dam Hubbard, en Californie, se sentait particulièrement isolé et demandait fréquemment à être tenu informé des affaires de l'entreprise. Lorsqu'un représentant de Bell lui rendit visite, Sam écrivit à son frère Gardiner : « J'étais ravi de le voir. Il m'a donné de nombreuses informations concernant le secteur téléphonique, que je désirais depuis si longtemps. Je pourrai désormais ouvrir très prochainement une succursale de la District Telephone Co. »
Durant cette période de concurrence croissante et incessante au sein du syndicat, la Bell Telephone Company a commencé à exiger de ses agents qu'ils se consacrent à temps plein à l'activité téléphonique. Après avoir inspecté les dossiers de l'agent Ponton, Théodore Vail l'informa qu'il perdait ses baux à l'expiration et que, par conséquent, des agents supplémentaires étaient nommés sur son territoire. Vail expliqua :
"Je sais que vous avez fait preuve d'énergie pour présenter nos revendications… mais ce qu'il faut, c'est un agent de promotion énergique dans chaque ville. Vous ne pouvez pas louer de téléphones d'une autre manière, ni lui accorder l'attention qu'il exige avec votre autre entreprise".
À mesure que l'entreprise gagnait en maturité, des agents à temps partiel démissionnaient, des agents à temps plein étaient licenciés pour non-paiement des dépenses, et d'autres cherchaient à réduire leur territoire, préférant conserver des villes lucratives et les comtés environnants. Lors de la nomination de remplaçants, la société Bell semblait plus sélective quant aux personnes qu'elle choisissait. Il était disposé à prendre des dispositions temporaires afin de poursuivre la location de téléphones, mais cela nécessitait du temps et de la réflexion avant d'établir une relation permanente. Vail a expliqué : « Je ne peux pas, avant d'avoir vu son travail et de connaître l'homme, m'engager à conclure un contrat qui pourrait ne pas être satisfaisant pour nos directeurs de magasin. »
Les agents de Bell ont continué à rencontrer le mécontentement du public à l'égard des politiques de l'entreprise. La décision de vendre les téléphones Bells au lieu de continuer à les louer a causé beaucoup de difficultés aux agents. Alors que les jeunes du Westerland étaient de plus en plus confrontés à une concurrence sur les prix, les agents ont été contraints de demander des éclaircissements ou de déposer une plainte concernant les locations de téléphones et les frais de central téléphonique. Afin d'empêcher ses agents d'agir de leur propre chef face à une telle concurrence, Bell leur a rappelé : « En ce qui concerne la réduction des tarifs, nos instructions interdisent aux agents de louer à des tarifs autres que ceux fixés par Bell Telephone Company, et nous supprimerons toute agence qui agirait autrement. »
Cette question des prix était souvent source de désaccord entre la société mère et ses agents. Dans ses contrats, la société Bell exigeait de ses agents qu'ils paient les loyers qu'elle pouvait fixer ponctuellement. Naturellement, les agents craignaient que cette disposition ne les place dans une position désavantageuse, car la Bell Company avait le pouvoir d'augmenter les tarifs annuels « à tout moment », et ils seraient contraints de les payer, sous peine de perdre leur contrat et d'imposer des conditions indésirables.
La société mère a expliqué que ses tarifs seraient appliqués à toutes les agences en général. Elle n'était pas disposée à établir un prix général par contrat, car de telles conditions pourraient rendre économiquement impossible la location de téléphones d'un nouveau style au prix fixe. Vail a toutefois rassuré les agents concernés :
"Il est peu probable que le prix augmente un jour, mais il pourrait être souhaitable de le faire à l'avenir. Vous comprendrez que nous devrons à tout moment fixer un tarif permettant à nos agents de louer des téléphones et de réaliser un bénéfice. Sinon, notre propre bénéfice en pâtira".
Le prix des téléphones était un élément particulièrement crucial dans l'organisation des centraux téléphoniques. L'accent mis par la Bell Telephone Company sur le développement de ce secteur était en grande partie motivé par ses difficultés avec la Western Union. Gardiner Hubbard était convaincu que si son entreprise parvenait à contrôler la téléphonie par centraux, son avenir était assuré.
En août 1878, le secteur des centraux téléphoniques supplantait celui des lignes privées. Watson, écrivant à Bell en Angleterre, proclama que le système de bureau central était un succès. Il rapporta que la Bell Company comptait 500 abonnés à Chicago, dont plus de 200 étaient déjà connectés, 175 à Lowell, 30 à Albany, 30 à New Haven, et que le système commençait à fonctionner avec succès ailleurs. Watson avait prédit que d'ici un an ou deux, la Bell Company aurait un central téléphonique dans chaque grande ville des États-Unis.
Une grande partie du succès de la Bell Company en matière de central téléphonique était due à ses encouragements aux agents et aux parties intéressées à organiser des sociétés de central téléphonique.
Les agents ont été incités à entreprendre le projet, arguant qu'il n'y avait pas de meilleur retour sur investissement. La Bell Company a également demandé à ses agents généraux de consacrer leur temps, leur talent et un capital suffisant à la mise en place de systèmes d'échange partout où 100 abonnés pouvaient être recrutés.
Lors de ses tournées d'inspection, Watson a également vanté la rentabilité des centraux téléphoniques et a encouragé les agents à y investir. Plus tard dans l'année, il a déclaré : « À cette époque (février 1879), j'ai eu plusieurs conférences avec des hommes d'affaires prospères et j'ai fait de mon mieux pour les convaincre d'investir dans un central téléphonique… dans une ville indienne.» J'ai calculé des bénéfices merveilleux et je leur ai expliqué le grand succès que nous obtenions dans l'Est. Ils ont semblé incrédules lorsque je leur ai dit que dans notre Exchange de Lowell, Massachusetts, il y avait 113 abonnés déjà connectés et sur la liste d'attente ; qu'un jour, ils avaient reçu 452 appels et avaient établi 85 connexions. Ma présentation de ces faits frappants a évidemment eu un certain effet car un échange a été lancé. cette même année.
Watson a fourni une assistance technique importante pour aider les agents à mettre en place des systèmes de district et d'échange. D'autres employés de Bell ont également été chargés de cette tâche, mais les agents ont insisté pour que Watson, et « personne d'autre », soit chargé de configurer leurs échanges. La société Tie Bell a également envoyé son directeur général conseiller les organisateurs d'échanges sur les questions financières et managériales. Bien que la société Bell ait été disposée à tout mettre en œuvre pour contribuer à la mise en place de systèmes d'échange (centres téléphoniques), ses offres d'aide ne comprenaient pas d'aide financière.
Sa situation financière ne le permettait pas. Les agences de change se plaignaient souvent des loyers imposés par la Bell Telephone Company pour ses instruments. Face à la concurrence de Western Union, la société mère adoptait parfois l'expédient de renoncer au loyer des téléphones pour la première année, à l'exception de l'avance qui lui était due. - Des conditions particulières imposaient aux agents des commissions plus élevées que d'habitude afin de s'assurer leur coopération et de les soutenir dans leurs efforts.
L'entreprise a également maintenu sa politique consistant à verser des commissions plus élevées pour le loyer de la première année, puis à les réduire après l'arrivée à maturité du système d'échange. Néanmoins, la compagnie de téléphone Bell a tenté d'obtenir des conditions lui permettant de gagner un montant minimum compris entre 5 $ et 10 $ par instrument et par an. Un agent général estimait que l'exigence de la compagnie Bell d'un loyer minimum fixe le privait de son droit d'exercer son jugement en matière de fixation des conditions. Il a proposé qu'il soit autorisé à exercer son propre pouvoir discrétionnaire en la matière. Vail a expliqué que le minimum de temps requis par la Société pour chaque location était déterminé par l'expérience.
Faire des affaires pour moins cher, sauf circonstances exceptionnelles, équivaudrait à ne rien faire du tout. Concernant la discrétion accordée à l'agent, Vail a déclaré : « Je ne pourrais pas le faire si je le souhaitais… Il doit y avoir une limite, et cette limite doit être fixée aussi précisément que l'expérience de la compagnie Bell le justifie, laissant tout le reste à la discrétion des agents. »
Bien qu'il puisse sembler que la compagnie Bell ait été rigide dans sa politique exigeant un minimum de 5 $ par instrument, elle n'était pas inflexible dans son fonctionnement. Elle a autorisé l'agent Madden à proposer des téléphones à des prix et des commissions qui ne permettraient à la Bell Company que de libérer par instrument. Elle a également accepté de garantir à la Buffalo Exchange Company tout excédent supérieur à 3,00 $ dans le coût de connexion de 200 abonnés.
Les titulaires de licence ont rencontré de nombreux obstacles lors de la mise en place de leurs échanges.
Afin de mettre en place des échanges d'opposition et de stimuler l'intérêt et l'acceptation du public Vail a recommandé aux agents de recruter des citoyens et des institutions de premier plan. Hubbard a également conseillé :
Dès que vous avez 100 noms, ne serait-il pas judicieux d’imprimer une liste pour vos démarcheurs, de la transporter avec vous, de ne la donner à personne, mais de la montrer à leurs clients. Nous… trouvons judicieux de suivre un cours de commerce avec un démarcheur, tandis que d’autres aimeraient qu’il en suive un autre.
La phase d’échange téléphonique étant relativement récente, Extrêmement nouveau, il était difficile d’estimer le coût de construction d’une bourse.
De plus, une grande partie des coûts de mise en place d'un système de district dépendait de la personne responsable de la construction.
Par conséquent, les coûts de construction dépassaient souvent les estimations. Ainsi, par exemple, l'estimation initiale de la bourse de Chicago se situait entre 12 000 et 15 000 dollars. Le coût réel dépassait les 40 000 dollars.
Les échanges étaient fréquemment marqués par des désaccords avec la politique de Bell Gompany concernant la transmission de messages contre rémunération, c'est-à-dire la transmission de messages payants. Lors de l'attribution de contrats aux systèmes de district et d'échange, la société mère s'est réservée cette fonction télégraphique, tout en promettant d'autoriser les entreprises locales à y participer ultérieurement. Les litiges à ce sujet ont souvent retardé l'exécution des contrats et l'organisation des sociétés d'échange. Parfois, la Bell Company accordait ce privilège à certaines bourses, mais laissait généralement la question en suspens. Le plus gros problème auquel tous les agents étaient confrontés durant cette période était la concurrence accrue de la Western Union. La Western Union et ses alliés ont continué à s'appuyer sur leurs ressources financières supérieures et sur une organisation bien établie pour défier la Bell compagnie de téléphone et neutraliser tout avantage dont cette dernière pourrait bénéficier dans un lieu particulier. Par exemple, Sam Hubbard s'attendait à une « lutte acharnée » de la part de l'American District Cornpany lorsqu'il a commencé à établir un central téléphonique, car il serait supérieur à un système complexe de télégraphe-téléphone de district contrôlé par l'ADT. Cependant, en essayant de lever des capitaux pour son central, Hubbard a été informé qu'il était menacé par les intérêts de la Gold and Stock Company et, par conséquent, par une baisse des taux. On a dit à Hubbard : « Je perdrais tout l’argent investi dans l’entreprise Que leur entreprise n’interférerait pas avec mon entreprise tant qu’elle fonctionnait, mais que si je lançais le Tel. Ex., ils devraient nous combattre dans tous les sens .»
Un représentant de la Gold and Stock a proposé de verser à Hubbard 150 $ par mois pour ne pas mettre en service un système téléphonique Bell. Le système de télécommunication par télégraphe de district opposé permettrait également de connecter tous les clients de Hubbard sans les obliger à utiliser des instruments Gold and Stock. Cette offre reflétait la volonté et les ressources que l'opération était en mesure d'utiliser pour tenter de bloquer les progrès de l'Enfer. C'est ce même pouvoir qui a contribué à convaincre les dirigeants de l'Eric American District Company de choisir les instruments en or et en actions plutôt que ceux de la Bell Company. Après avoir enquêté sur la situation, Madden rapporta à Gardiner Hubbard : « La société A.D.T. était faible et mal préparée à faire face au mécontentement des 77 États, notamment à l’annulation du contrat de livraison de messages qui suivrait inévitablement l’utilisation de vos instruments.»
Les agents de Western Union étaient arrogants, reflétant sans doute ce qu’ils considéraient comme la puissance écrasante de leur entreprise. Un agent a déposé un appareil de l'American Telephone Company dans un bureau de police et a exigé de savoir ce que la Bell Company comptait faire à ce sujet. La Western Union a constamment fait circuler l'information selon laquelle un accord entre les parties en conflit était imminent. S. J. Hall, du central de Buffalo, a rapporté à Vail : « J'ai eu une conversation animée avec M. Tillinghash, directeur de la Western Union… Il a déclaré en présence de plusieurs personnes que la Bell Company… faisait des efforts désespérés pour fusionner avec la Western Union et qu'il pensait que cela aboutirait. J'ai nié cette déclaration, mais il a affirmé qu'elle reposait sur une connaissance personnelle et positive des faits. Comment ? »
Lorsqu'un autre agent de Bell apprit la même histoire cinq mois plus tard, il rappela à Vail et à l'entreprise que si un tel événement se produisait, ce serait une journée terrible pour les agents, car ils seraient massacrés.
L'arme principale de l'opposition était le téléphone à charbon Edison.
Les agents de Bell signalaient de plus en plus la perte d'abonnés anciens ou potentiels, car ils estimaient que l'appareil Edison était supérieur au Bell.
L'agent Cornish décrivit la frustration de son démarcheur :
"Il avait persuadé une partie d'avoir une ligne. Ils ont essayé nos lignes pendant des semaines. Ils ont dit que c'était dix fois plus fort. Cashell's J,
lui a donné [G. et S, agent] l'ordre, les garantit de tout ennui.
Les agents de Bell ont eux-mêmes décrit l'instrument Edison comme étant plus puissant et plus clair que celui de Bell et ont continué à exhorter leur société mère à agir.
Le retard de la compagnie de téléphone Bell à intenter une action contre Western Union a incité certains agents à se plaindre de ce qui semblait être une inaction.
Un agent de Bell, également membre d'une société ADT, qui envisageait d'adopter les instruments Bell, a écrit :
"Je ne souhaite pas nous impliquer dans un procès et, comme la W.U. Co. propose de nous protéger contre quiconque, bien sûr, M. Spencer [un responsable d'ADT] dit : « Utilisez-en un qui soit le plus avantageux pour nous »… Dans l'état actuel des choses, la W.U. Co. nous combat et utilise son télégraphe, et nous ne pouvons pas les arrêter, car vous ne nous protégez pas comme vous le devriez. Et s'ils acceptent de nous protéger contre vous, le résultat naturel sera pour nous de faire de notre mieux".
Les agents de Bell étaient encore limités dans leurs réponses à la concurrence. Ils n'avaient pas l'autorité nécessaire pour réduire les tarifs.

Leur arme principale résidait dans leur capacité à persuader les abonnés de la supériorité des instruments Bell ou de l'intérêt d'avoir une connexion avec une centrale Bell, ainsi que dans leur ingéniosité à équiper les agents du syndicat des femmes de l'Est pour occuper des emplacements stratégiques.
Grâce à des contacts personnels, des sous-agents de Bell ont été mis en contact avec le maire de Norwich, dans le Connecticut, qui a obtenu son propre numéro de téléphone, et a obtenu gratuitement des poteaux d'alarme chaque fois que nécessaire pour leurs propres lignes. Ces agents disposaient ainsi d'un avantage distinctif sur leurs concurrents pour établir un central téléphonique. Un autre agent a obtenu de la société Bell l'autorisation de louer des téléphones à des prix inhabituellement bas à plusieurs rédacteurs de journaux afin d'obtenir leur aide. de leurs colonnes de journaux.
La Bell Telephone Company appréciait l'intérêt de la publicité, mais ne pouvait pas l'utiliser à grande échelle. Comme l'a expliqué Sanders : « Nous devrions faire de la publicité plus largement ! » au nom de Bell Telephone. Co. Une publicité d'une valeur de 2 000 ou 3 000 $, répondant à notre priorité, serait de l'argent bien investi, si nous en avions les moyens. Par conséquent, une grande partie de la charge publicitaire incombait aux agents. Les agents de la New England Telephone Commary devaient accepter de faire de la publicité pour le téléphone avant d'obtenir leur licence.
Un objectif majeur si une telle publicité visait à mettre en garde le public contre l'utilisation d'instruments autres que Bell.
La Bell Company a conseillé à ses agents de mieux faire connaître leurs droits en diffusant des circulaires décrivant les brevets Bell et des copies d'une injonction obtenue à Cincinnati, dans toutes les parties nationales, pour utilisation d'instruments de contrefaçon.
La Bell Company a également utilisé le phonographe Edison pour faire la publicité de son téléphone, bien qu'au moins à l'occasion, un agent de la Western Union a anticipé cette tactique et l'a utilisée lui-même, au grand dam de l'agent local de Bell.
La Bell Telephone Company a également exposé ses instruments en compétition avec d'autres lors de foires et d'expositions. Elle a continué à mettre des téléphones à la disposition des collèges et des écoles scientifiques à des tarifs spéciaux. Les suggestions selon lesquelles la société prêterait gratuitement ses instruments à ces institutions ont été rejetées en raison de la mauvaise situation financière de la société.
Malgré les contraintes financières, la compagnie Bell Telephone et ses agents ont produit leurs propres publications pour contrer celles de la Western Union. En septembre 1878, la Compagnie Bell a financé la publication du « Record », dont on sait peu de choses. Cet « organe semi-officiel de la Compagnie Bell » était attendu avec impatience par un licencié de Saint-Louis, dans l'espoir qu'il déclencherait les effets d'un organe rival.
Plusieurs agences et bourses ont également publié leurs propres publications téléphoniques. L'un des premiers numéros, The Telephone Journal, a été publié par le central téléphonique Bell de Chicago en octobre 1878. Le premier numéro expliquait :
"L'augmentation quotidienne du nombre d'abonnés à notre central téléphonique et le succès remporté par nos efforts pour placer la communauté des affaires dans une communication rapide et fiable avec ses différents partenaires. C'est ce qui nous a incités à créer le Journal Téléphonique, conçu dans l'intérêt de nos clients".
Bien que le Journal ait pu être conçu dans l'intérêt de ses clients, une analyse de son contenu indique clairement que son objectif était de faire connaître la bourse et les équipements Bell, de répertorier les abonnés de la bourse dans une sorte d'annuaire rudimentaire et d'expliquer la position juridique de la société Bell. Sous l'égide de la National Bell Telephone Company, successeur de la Bell Company, plusieurs autres centrales ont publié leurs propres publications.
En avril 1879, l'Agence Sud de la Bell Company a publié son premier numéro du Southern Herald of The Telephone. Bien que
plus élaboré que le Journal, le Southern Herald se consacrait principalement à faire connaître et à défendre la cause de Bell contre ses opposants. Le Bell Exchange de Worcester, dans le Massachusetts, publiait le Sunday Herald Jr., dont la principale différence avec les autres publications résidait dans son format miniature.
Fin mars 1879, le successeur de la Bell Company commença à prendre des mesures pour publier une publication téléphonique nationale intitulée Telephonic Journal.
Vail a expliqué l'objectif de son entreprise en sponsorisant cette publication :
"L'objectif de l'entreprise n'est pas de faire de ce journal une simple feuille publicitaire ; ni de faire plus qu'une opposition sans scrupules ; elle ne pourra pas adopter une attitude partisane. On espère que rien n'empêchera qu'elle soit utilisée comme moyen de communication libéral entre tous ceux qui, pour des raisons scientifiques ou commerciales, s'intéressent au développement de cette invention des plus merveilleuses et précieuses : le téléphone parlant ".
Malheureusement, la maladie de Francis Blake Jr., son rédacteur en chef désigné, a contraint la National Bell Telephone Company à annoncer le report de son premier numéro. On ignore si le London Journal a été publié.
Alors que la National Bell Telephone Company tentait de contrer la supériorité publicitaire de l'Union, elle tentait également de développer un instrument pour concurrencer le téléphone à charbon Edison. Watson avait commencé sa recherche d'un émetteur concurrent dès avril 1878. Apparemment, la société avait décidé de ne pas déposer de brevet pour le téléphone d'Edison, comme l'avait suggéré Chauncy Smith, mais de développer son propre appareil. Watson, Edison était réticent à développer un téléphone utilisant le principe de résistance variable, ce qui a contribué au succès de l'instrument d'Edison. Comme il l'a rappelé :
"Chauncy Smith, notre avocat… m'a dit que, bien qu'il soit certain que le transmetteur Edison était largement couvert par les brevets Bell, il pensait néanmoins qu'il était probable qu'Edison puisse revendiquer valablement l'utilisation du carbone et, pour cette raison, il m'a dit que je devais expérimenter avec d'autres matériaux".
Le problème de Watson s'est donc considérablement aggravé lorsqu'il a rapidement découvert qu'il était relativement facile de construire un transmetteur efficace avec de l'électrode au carbone, mais qu'il était impossible d'en fabriquer un avec un autre matériau. Cependant, un événement s'était déjà produit qui allait faciliter la résolution du problème de la Bell Company.
En février 1878, Charles Cheever avait écrit à Gardirer Hubbard au sujet d'un « gentleman d'origine juive » qui possédait un téléphone susceptible d'aider à anticiper certains détails d'Edison. Cet inventeur, nommé Émile Berliner, était réputé pour être un « homme ingénieux ». Berliner avait bricolé un télégraphe harmonique et, grâce à lui, s'était intéressé à la téléphonie et avait découvert le brevet de Bell. Au cours de ses recherches électriques, Berliner a fréquenté un bureau d'alarme incendie télégraphique et a appris qu'il fallait appuyer fermement sur la touche Morse pour produire un son clair au niveau du récepteur. Sur cette base, il a raisonné :
"Sachant que pour la production du son en téléphonie électrique, il était nécessaire d’utiliser des courants ondulatoires, il m’est immédiatement venu à l’esprit qu’en diminuant la pression du contact électrique, le courant pouvait être modifié proportionnellement à la pression appliquée, puis, en faisant vibrer l’un ou les deux côtés du contact, les vibrations du son pouvaient être transformées en ondulations électriques".
Raisonnant comme il le faisait, Berliner avait élaboré en janvier 1877 les éléments essentiels de la théorie des transmissions microphoniques qui seraient incorporés à l'émetteur Edison et qui feraient l'objet d'une controverse quant à la priorité de son invention et de son application à la téléphonie. En février 1877, Berliner avait réduit ses théories à un modèle fonctionnel et, en juin, il déposa une demande de brevet pour son transmetteur et récepteur « contact ». Bien qu'une interférence ait été déclarée à leur encontre au Bureau des brevets, l'avocat de Bell, Anthony Pcllok, les jugea dignes d'intérêt.
Watson fut envoyé à Washington pour inspecter et tester le transmetteur de Berliner. Il a constaté que :
"Il parlait assez bien, mais il était équipé de l'électrode au carbone dont l'utilisation m'avait été interdite. Cependant, comme il l'avait construite plusieurs mois auparavant, j'ai pensé qu'il pourrait anticiper Edison sur une telle utilisation du carbone et j'ai conseillé à M. Hubbard de conclure un accord avec Berlin".
Par conséquent, des négociations furent entamées par la Bell Telephone Company pour obtenir l'émetteur de Berlin Line, qui utilisait le principe microphonique.
Bien que la demande de brevet de Berlin décrive un émetteur possédant des électrodes métalliques, il pensait qu'il couvrait également les formes carbonées. Il affirmait que cet instrument, associé à trois récepteurs, fonctionnait « parfaitement », démontrant qu'en tant que transmetteur, son téléphone pouvait difficilement être amélioré.
Hubbard était en désaccord avec Berliner sur le développement de son invention et la valeur qu'il lui accordait. Il rapportait que les instruments de Berliner n'avaient connu qu'un succès partiel, mais il était convaincu qu'ils possédait le « germe » d’un instrument qui pourrait être utile à la Bell Company.
Il a donc suggéré à Berlin de réduire les redevances qu'il réclamait en compensation. Berlin n'a pas été facilement ému. Il a apprécié la valeur de sa revendication selon laquelle cette mise en garde contrevenait à la demande de brevet d'Edison pour un téléphone à charbon et qu'elle couvrait également, en principe, tous les appareils similaires. Il a souligné à Vail :
"Ma position contre M. Edison montre qu'avec un un examen approfondi on peut s'attendre à une action contre lui, qui, judicieusement menée, pourrait bien tourner complètement en ma faveur… Même pour assurer un autre niveau afin de faciliter vos manipulations contre la W.U. Co., il pourrait être intéressant de conclure un accord avec moi".
Un accord fut finalement conclu en septembre 1878. Il prévoyait notamment que Berliner serait employé par la Bell Telephone Company pour un salaire modeste. La Bell Company, à son tour, reçut le contrôle de ses réserves et demandes de brevet potentiellement précieuses.
Malheureusement, Berliner souffrit d'une maladie débilitante qui l'empêcha de rejoindre la Bell Company jusqu'en novembre 1878. Entre-temps, la Bell Telephone Company avait toujours besoin d'un instrument capable de concurrencer celui d'Edison. Watson était « très optimiste » quant à sa capacité à construire un téléphone aussi performant que le transmetteur de carbone d'Edison. Cependant, ses résultats ne correspondaient pas à son optimisme. À la mi-octobre, il écrivait à Vail :
" Je perds environ 500 g par jour grâce à la batterie de mon téléphone. Un jour, je me sens complètement dépassé, pensant que j'ai réussi, et le lendemain, je me sens plus bleu que l'indigo. Je comprends l'importance de la perfection et je m'y mets autant que possible".
Watson travaillait encore dur pour perfectionner un transmetteur lorsque Francis Blake apparut un jour d'octobre 1878 avec un transmetteur qu'il avait conçu. Blake s'intéressa au téléphore lorsqu'un membre du Comité du Centenaire lui rendit visite en 1876 et lui expliqua le principe ou le principe de l'invention d'Alexander Graham Bell. Après avoir pris sa retraite après douze ans de service au sein du Service topographique côtier des États-Unis, Blake se consacra pleinement à la téléphonie. Il commença à construire son transmetteur microphonique en juin 1878, après avoir lu des articles sur les découvertes anglaises sur le sujet. Les brevets de Blake ne mentionnaient ni le principe du microphone ni le matériau théorique utilisé, mais couvraient simplement les caractéristiques de construction de ses émetteurs.
Watson a testé l'émetteur Blake et a déclaré qu'il était plus puissant que celui d'Eisson, et que son réglage était plus facile.
Bien que l'instrument de Blake reposait clairement sur l'électrode au carbone « interdite », le besoin de la Bell Company d'un transmetteur équivalent à celui d'Edison était si grand qu'elle était prête à assumer les risques liés à l'utilisation de contacts en carbone et a acquis le téléphone de Blake.
En novembre, le transmetteur Blake était déjà en production et avait été mis en service. Watson était ravi de ses performances sur les lignes Holmes à Boston et annonça qu'il faisait tout son possible pour accélérer sa fabrication. Il indiqua qu'il restait encore des essais à effectuer sur le transmetteur, mais suggéra que cela ne causerait aucun retard. Bien que Watson ait indiqué que les transmetteurs à batterie pouvaient être produits aussi rapidement que nécessaire, la société Bell a rapidement rencontré des problèmes avec eux. Watson a rapporté en décembre :
"Blake et moi travaillons comme des chevaux de Troie et si je n'en tire pas quelque chose rapidement, ce ne sera pas ma faute. Aucun de nous n'est satisfait des derniers instruments, bien qu'ils fonctionnent mieux que les précédents. L'assurance qu'ils fonctionnent avec succès nous serait plus que satisfaisante et me déciderait à pousser plus loin leur fabrication".
Malgré ses défauts, le transmetteur Blake a commencé à obtenir des résultats satisfaisants et Watson a promis d'en fournir deux cents d'ici janvier.
La demande de Blake d'apposer ce nom sur chaque transmetteur fabriqué a suscité la crainte de Watson de créer un précédent, par lequel la société pourrait être dissoute. Le nom « Bell » serait obscurci. Il a néanmoins consenti à la décision.
George Bradley était heureux de recevoir l'assentiment de Watson. Il pensait que la Bell Company, poursuivant ses activités, achèterait occasionnellement de nouveaux investissements et qu'elle gagnerait beaucoup à mentionner pleinement et justement les noms des inventeurs. Il assura à Watson :
" Je pense que vous vous trompez dans votre raisonnement…Monsieur Bell est, et doit toujours rester, un inventeur par excellence en ce qui concerne les téléphones, mais il y aura nécessairement d’autres étoiles dans le domaine du téléphone qu’il ne nous fera jamais de mal de regarder et que vous suggérez d’« obscurcir » la plus grande lumière".
La demande de Blake de reconnaissance publique concernant le transmetteur a également suscité l'opposition d'Émile Berliner, qui a soutenu que Blake n'avait fait qu'améliorer un dispositif qu'il avait lui-même montré. Berliner a affirmé que s'il avait été en meilleure situation financière, il aurait développé cette idée et construit un instrument similaire à celui de Blake. Il estimait donc avoir autant le droit que Blake de voir son nom affiché sur l'émetteur. George Bradley a nié les allégations de Berliner. Il était disposé à rendre public le nom de Berliner lorsqu'il a obtenu son brevet, mais il a également souligné la différence entre sa position et celle de Blake : « M. Blake nous a donné un instrument que nous avons immédiatement mis en pratique et qui nous a été d'une certaine utilité. » Cependant, Bradley fut bientôt contraint de reconnaître la contribution de Berliner au transmetteur Blake.
Bien que Vail ait informé les agents que la Bell Telephone Company pensait que son émetteur était bien plus performant que celui d'Edison l'instrument Blake nécessitait des améliorations et une perfection.
Lorsque Francis Blake tomba malade, la tâche fut confiée à Berliner et à un assistant. En six semaines, Berliner avait perfectionné l'émetteur de Blake.
L'importance de l'entreprise berlinoise a ensuite fait l'objet de désaccords, mais les Berlinois y ont vu un facteur important et ont aidé la Bell Company à vaincre la Western Union Telegraph Company. Elle a assuré à la Bell Telephone Company le monopole du téléphone. Quelle que soit la valeur exacte du cigogne de Berlin, il ne fait guère de doute que cette revendication de priorité dans l'invention du microphone et son travail de développement sur l'émetteur Blake, ainsi que la contribution de Blake, ont permis à la compagnie de téléphone Bell de fournir à ses agents et abonnés un émetteur à batterie d'une qualité au moins égale à celle de l'Edison. Le recours par la Bell Company aux investissements et innovations d'inventeurs indépendants pour résoudre le problème du transmetteur reflète son intérêt constant pour les inventeurs extérieurs à Bell. La société a examiné attentivement les offres de ces personnes, car elle ne savait jamais quand un inventeur innovant pourrait réussir à inventer quelque chose d'utile. Par exemple, lorsque G. S. Moles informa Hubbard qu'il avait inventé un appareil actionné par une manivelle servant d'instrument d'appel sur une ligne, Watson commenta : "Bien que Vail ait informé les agents que la Bell Telephone Company pensait que son émetteur était bien plus performant que celui d'Edison, l'instrument Blake nécessitait des améliorations et une perfection".
Lorsque Francis Blake tomba malade, la tâche fut confiée à Berliner et à un assistant. En six semaines, Berliner avait perfectionné l'émetteur de Blake.
L'importance de l'entreprise berlinoise a ensuite fait l'objet de désaccords, mais les Berlinois y ont vu un facteur important et ont aidé la Bell Company à vaincre la Western Union Telegraph Company. Elle a assuré à la Bell Telephone Company le monopole du téléphone. Quelle que soit la valeur exacte du travail de Berliner, il ne fait guère de doute que sa prétention à la priorité dans l'invention du microphone et son travail de développement sur l'émetteur Blake, ainsi que la contribution de Blake, ont permis à la Bell Telephone Company de fournir à ses agents et abonnés un émetteur à batterie d'une qualité au moins égale à celle de l'Edison.
Le recours par la Bell Company aux investissements et innovations d'inventeurs indépendants pour résoudre le problème du transmetteur reflète son intérêt constant pour les inventeurs extérieurs à Bell. La société a examiné attentivement les offres de ces personnes, car elle ne savait jamais quand un inventeur innovant pourrait réussir à inventer quelque chose d'utile. Par exemple, lorsque G. S. Moles informa Hubbard qu'il avait inventé un appareil actionné par une manivelle servant d'instrument d'appel sur une ligne, Watson commenta :
" « Ne croyez pas qu’il y ait quoi que ce soit de brevetable là-dedans, mais laissez l’agent de Hamilton New York enquêter. Lorsque des problèmes techniques surgissaient, il semblait toujours y avoir quelqu'un qui prétendait avoir trouvé une solution". Faisant référence à une telle offre faite à Watson, l'agent Durant expliqua :
"C'est le quatrième homme qui vient à notre secours avec exactement ce que nous voulons, et « si simple » que Bell et Edison pourraient bien renoncer à leurs honneurs vains… Cette production, vous le constaterez, a été le travail d'une heure – un éclair – pour ainsi dire (in the pan)".
La Bell Telephone Company souhaitait obtenir toutes les améliorations liées aux appareils téléphoniques et aux communications, même si elles n'étaient destinées qu'à un usage futur. Naturellement, lors des négociations pour de telles inventions, la Bell Company gardait un œil attentif sur la Western Union. Thomas Watson continua d'assumer la majeure partie de la charge de la recherche et du développement. Outre son travail sur le transmetteur à batterie, son fils a contribué à perfectionner le système d'échange (central ou standard) et son appareil auxiliaire. Son travail sur le terrain lui a permis d'acquérir une expérience précieuse, sans frais pour la compagnie Bell.
Il était clair pour les responsables de Bell que l'activité de district et de bourse allait générer de nombreux nouveaux brevets et inventions. Par conséquent, dès ses débuts, la société Bell a étudié ces brevets et inventions en vue de les acquérir, de peur qu'un tiers n'en prenne le contrôle et ne freine le développement de cette activité. Les politiques de la Bell Telephone Company en matière de recherche et développement étaient intimement liées à sa lutte pour atteindre et conserver sa suprématie. La Bell Company affrontait directement sa concurrence tout en recherchant des arrangements pacifiques. Elle négocia un accord en septembre 1878 avec la Central District and Printing Telegraph Company de Pittsburg, dont la majorité des actions étaient détenues par la Gold and Stock Company. L'arrangement ressemblait beaucoup, dans son principe, à celui suggéré par Barton pour Chicago. La Pittsburg Company acceptait de verser à la Bell Telephone Company une redevance de 3 $ pour chaque instrument utilisé. Cela indiquait à Hubbard que la Central District and Printing Telegraph Company n'avait aucune certitude. Cette concession renforça encore la conviction de Hubbard selon laquelle la Bell Company pouvait occuper le territoire du district sans révolution, la Gold and Stock Company semblant incapable de développer une bourse après sa création. Hubbard conclut que si sa société parvenait à assurer cette phase de la téléphonie, son avenir était assuré.
Hubbard a proposé cette solution à d'autres sociétés de télécommunications régionales, préoccupées par le coût et les problèmes liés à la décision d'adopter le téléphone pour leurs systèmes. Sam Hubbard a indiqué que cette opposition à San Francisco exprimait son intérêt pour la mutualisation des activités d'échange et, éventuellement, le paiement de redevances.
Le Dr Samuel White, actionnaire majoritaire de l'American Speaking Telephone Company, a longuement discuté avec Sanders à l'automne 1913 au sujet de la convergence des intérêts téléphoniques. Il a proposé une réunion avec d'autres dirigeants de Bell. George Bradley a accepté de participer aux discussions, mais s'est opposé à la consolidation, surtout si elle donnait le contrôle à l'opposition. Apparemment, des responsables de Western Union ont exprimé le souhait de rencontrer Bradley en secret, à l'insu de Gardiner Hubbard. Ils espéraient peut-être exploiter la méfiance existant entre Hubbard et les investisseurs représentés par Bradley. Bradley a rejeté l'idée de rencontres secrètes et a réitéré son opposition à tout projet susceptible de porter ses fruits. Bell détient moins de la moitié des actions d'une société consolidée.
Les actionnaires de Bell interrogés par Bradley ont suggéré que si la situation était sincère dans son désir de consolider sur une base équitable, un conseil d'arbitrage pourrait déterminer la répartition des actions. En décembre, George Walker, vice-président de la Gold and Stock Telegraph Company, a soumis un mémorandum à Thomas Sanders proposant d'établir des relations entre la Bell Company et les compagnies de télégraphe Gold and Stock et Western Union afin de créer une compagnie téléphonique consolidée. Le mémorandum de Walker soulignait les avantages qui résulteraient d'une alliance. La Western Union comptait 8 000 bureaux et la Gold and Stock Company, en plus de ses vastes activités à New York, détenait un consortium de sociétés de district dans six grandes villes. Il a également été proposé que la Gold and Stock Company conserve son activité privée, telle qu'elle était exercée dans le cadre de son contrat avec l'American Speaking Telephone Company. En demandant ce privilège, Gold and Stock a affirmé qu'il ne s'agissait pas d'un monopole téléphonique pour des lignes privées, mais simplement que la compagnie de téléphone proposée s'engage à ne pas s'engager dans l'exploitation de lignes téléphoniques privées et qu'aucune autre compagnie dans son intérêt ne devrait détenir le droit exclusif d'utiliser les téléphones dans une localité donnée sans son consentement. Une telle disposition n'interdisait pas la vente ou la location de téléphones à toute société ou entreprise privée.
Walker a indiqué que Western Union était disposée à céder à sa Gold and Stock Company, la branche de la télégraphie commerciale, qui envisageait l'application du téléphone sur les lignes téléphoniques des succursales des stations Western Union vers les villes ou villages périphériques. En retour, Western Union souhaitait un contrat de la part de Gold and Stock prévoyant que toutes ces lignes secondaires devraient fournir exclusivement des services télégraphiques commerciaux.
Elle souhaitait également un contrat avec le fournisseur de téléphone proposé, stipulant que ce dernier ne concurrencerait pas la Western Union Telegraph Company pour les activités de télégraphie commerciale.
Les deux sociétés de télégraphie ont convenu d'utiliser exclusivement les téléphones de la nouvelle société. Parallèlement à la publication du mémo Walker, William D. Baldwin, l'un des avocats défendant les intérêts de Western Union dans l'affaire Dowd, a informé le Dr White de l'intérêt, voire de la nécessité, d'un accord avec la compagnie de téléphone Bell. Il écrit :
"Sur le plan général de la méthode de transmission téléphonique, je pense que Bell sera gagnant du fait que Gray n'a jamais réduit l'invention à la pratique avant l'octroi du brevet de Bell, et certainement pas avant Bell. Mais la revendication de Gray sur le récepteur « iron-pan » lui permettra de contrebalancer cette revendication de Bell, à condition… Son utilisation constituait une réduction à la pratique et non une simple expérimentation. Compte tenu du prestige acquis par Bell et de sa réduction préalable de l'invention à la publication, je recommanderais un compromis avec lui chaque fois qu'il ferait une offre raisonnable".
Baldwin était même disposé à accepter des concessions sur les multiples revendications télégraphiques de Gray, qu'il considérait comme plus précieuses que ses icônes téléphoniques, afin que Victor puisse tirer un certain profit de son important investissement. Il a toutefois fait remarquer que si Bell décidait de se battre, cela coûterait à ses bailleurs de fonds plus cher que ce qu'ils pourraient jamais tirer du brevet. V White a dû suivre les conseils de son avocat car il était prêt à vendre suffisamment d'actions pour que la Bell Company puisse s'assurer le contrôle de la nouvelle société.
White a exhorté Sanders et son entreprise à agir rapidement, car de nombreuses décisions importantes concernant les prix allaient bientôt devoir être prises. Il a rappelé à Sanders que Western Union ne pourrait pas mettre fin au caractère concurrentiel de ses campagnes tant que des instructions et des limitations précises ne seraient pas données. Il a affirmé : « Chaque jour de retard gâche notre avenir, qui sera grandiose si un front uni se présente. »
Les négociations entre la Bell Company et ses opposants semblent avoir été interrompues fin janvier 1878. Vail a informé un titulaire de licence :
"Vous pouvez nier catégoriquement que la Bell Telephone Company fasse le moindre effort en vue d’une consolidation. Les représentants des parties rivales ont, à différents moments, soumis des propositions allant dans ce sens, qui ont toutes été refusées et qui n’ont plus été négociées. Des opérations de toutes sortes sont en cours.
Vail a expliqué qu'aucune consolidation ne serait jamais réalisée, ni aucune proposition envisagée, qui ne reconnaîtrait pas pleinement les droits de la Bell Telephone Company sur ses brevets et ne rendrait pas les intérêts de la société téléphonique indépendants de tout autre intérêt. Notant que les actionnaires de la Bell Company comptaient parmi les plus importants et les plus influents de Boston, il a promis une campagne avec « une nouvelle vigueur ». ou » contre les adversaires de l'entreprise.
Il ne fait aucun doute que les négociations ont été bloquées, comme elles le seraient plusieurs mois plus tard, concernant le partage des intérêts dans les accords proposés. William H. Forbes a alors résumé la situation :
Nous comprenons que la Western Union Co. ne souhaite pas envisager un plan qui ne placerait pas le contrôle, par une majorité d'intérêts, de l'activité téléphonique.
White a exhorté Sanders et son entreprise à agir rapidement, car de nombreuses décisions importantes concernant les prix allaient bientôt devoir être prises. Il a rappelé à Sanders que Western Union ne pourrait pas mettre fin au caractère concurrentiel de ses campagnes tant que des instructions et des limitations précises ne seraient pas données. Il a affirmé : « Chaque jour de retard gâche notre avenir, qui sera grandiose si un front uni se présente. » Les négociations entre la Bell Company et ses opposants semblent avoir été interrompues fin janvier 1878. Vail a informé un titulaire de licence :
Vous pouvez nier catégoriquement que la Bell Telephone Company fasse le moindre effort en vue d’une consolidation. Les représentants des parties rivales ont, à différents moments, soumis des propositions allant dans ce sens, qui ont toutes été refusées et qui n’ont plus été négociées. Des opérations de toutes sortes sont en cours.
Vail a expliqué qu'aucune consolidation ne serait jamais réalisée, ni aucune proposition envisagée, qui ne reconnaîtrait pas pleinement les droits de la Bell Telephone Company sur ses brevets et ne rendrait pas les intérêts de la société téléphonique indépendants de tout autre intérêt. Notant que les actionnaires de la Bell Company comptaient parmi les plus importants et les plus influents de Boston, il a promis une campagne avec « une nouvelle vigueur ». ou » contre les adversaires de l'entreprise.
Les négociations ont sans doute été bloquées, comme elles le seraient quelques mois plus tard, concernant le partage des intérêts dans les accords proposés. William H. Forbes résuma alors la situation :
"Nous comprenons que la Western Union Co. ne souhaite pas envisager un plan qui ne lui confierait pas le contrôle, par intérêt majoritaire, de l’activité téléphonique. Je pense qu’un tel accord serait dangereux pour les intérêts de nos actionnaires et je ne peux le recommander".
Un autre facteur ayant joué contre la consolidation pourrait être Alexander Graham Bell qui, de retour d'Angleterre, accepta de consacrer ses services à la Bell Telephone Company. Dans son contrat, Bell se réservait le droit de se retirer si la Bell Company concluait une consolidation avec toute autre compagnie que la New England Telephone Company. Bien que les négociations se soient soldées par un échec, un certain type d'accord existait entre les intérêts concurrents du secteur téléphonique. En janvier, Hubbard s'est opposé à une proposition de réduction sur les téléphones, car elle était contraire à « notre accord avec la Gold and Stock Telegraph Company, selon lequel aucune réduction ne devait être accordée ».
Un mois plus tard, le directeur général de la Gold and Stock Company pour la Nouvelle-Angleterre accusait le titulaire de la licence de la New England Telephone Company à Worcester d'avoir réduit les tarifs, contrairement à un accord entre lui et Bradley, afin de remplacer les instruments Gold and Stock déjà installés. En mars, la compagnie Bell Telephone a décidé de réduire ses tarifs sur les émetteurs afin que ses agents puissent concurrencer plus efficacement l'opposition.
La compagnie Bell a ainsi franchi une nouvelle étape dans sa campagne visant à « prendre le contrôle du secteur de la téléphonie aux États-Unis ».

sommaire

Les agents de Bell continuaient de rapporter des rumeurs d'une consolidation imminente. Même Watson les a notées :
" Partout où je vais, j'entends des rumeurs selon lesquelles Bell Co. envisage de conclure un compromis avec la Western Union. Cela découle sans aucun doute, je suppose, d'un désir intense de consolidation de la part de l'opposition. S'ils ne changent pas leur méthode de travail et ne nous poussent pas plus loin qu'ils ne le font actuellement, cela ne nous servira certainement à rien de collaborer avec eux".
Dans le cadre de son programme visant à « prendre le contrôle du secteur de la téléphonie », la compagnie Bell Telephone a intenté une action en justice contre des contrevenants indépendants, ainsi que contre Western Union et ses alliés. Outre sa lutte contre les contrefacteurs, la société Bell était chargée de défendre ses brevets dans l'affaire des « interférences téléphoniques » intentée par l'Office des brevets lors d'une précédente procédure.
Lorsqu'Alexander Graham Bell a reçu son brevet de base pour le téléphone, plusieurs personnes ont déposé des demandes affirmant avoir inventé le téléphone ou contrôlé des améliorations antérieures à Bell.
Ces revendications et demandes de brevets ont marqué le début d'une série de litiges devant l'Office des brevets des États-Unis, qui a duré près de onze ans (du 26 mars 1878 au 23 février 1889), et qui visait à déterminer officiellement le premier inventeur du téléphone et ses importantes améliorations. La majeure partie de ce litige s’est déroulée entre 1880 et 1889.

Il faut réorganiser la Bell Company

Les plus éminents de ceux qui ont revendiqué la priorité étaient Elisabeth Gray, Amos Dolbear et Thomas Edison, dont les demandes appartenaient toutes à Western Union et à ses alliés et constituaient la base de leur opposition téléphonique. Étant donné que ces sociétés ont agi sans attendre la décision finale du Bureau des brevets sur leurs revendications, la Bell Telephone Company a intenté une action en justice contre Peter A. Dowd devant le tribunal de grande instance du district du Massachusetts le 12 septembre 1878.
Il s'agit du premier procès contesté concernant les brevets Bell.
Bien que Peter Dowd, agent de la Gold and Stock Telegraph Company, ait été le défendeur désigné, le véritable défendeur était la Western Union, qui a assuré la défense. Chauney Smith et James J. Storow ont mené le procès pour la Bell Company, et George Gifford, Causten Browne et William D. Baldwin ont présenté la défense.
La défense a tenté d'établir Elish Gray était le principal inventeur du téléphone. Il prétendait qu'entre 1874 et 1875, alors qu'il travaillait sur le télégraphe harmonique, il avait construit plusieurs récepteurs utilisant des électroaimants produisant des notes musicales par le passage d'un courant intermittent. Gray aurait construit ces instruments, les aurait utilisés expérimentalement et en aurait fait la démonstration à plusieurs personnes.
Test d'Elisha Gray Il a déclaré que depuis que le téléphone était entré en service sous les brevets de Bell, lui et plusieurs experts en électricité avaient connecté l'un de ses premiers récepteurs à un émetteur de carbone et l'avaient trouvé capable d'agir comme un récepteur pour la parole articulée.
La revendication de priorité de Gray présentait un certain degré de plausibilité, puisqu'il avait déposé une mise en garde reprenant ses idées sur la téléphonie quelques heures seulement après le dépôt de la demande de brevet de Bell. L'avocat de Bell a soutenu que, même en admettant les dates auxquelles Gray a établi ses différents récepteurs, il n'a pas dépassé le stade des expériences qui n'ont rien donné d'utile, ont été abandonnées et n'ont jamais été appliquées à la pratique avant que Bell n'obtienne son deuxième brevet en 1877. Ils ont soutenu qu'aucune expérience ou utilisation par Gray et ses assistants ne justifiait l'état des connaissances à l'époque. la croyance qu'un tel « dispositif » pourrait être utilisé de manière pratique pour donner des résultats utiles sous l'influence des variations excessives et faibles du courant produites par le téléphone parlant. Les avocats de Bell ont soutenu que l'existence d'un instrument qui, compte tenu du brevet de Bell, pouvait être utilisé à la fois comme émetteur et comme récepteur ne pouvait pas affecter la portée du brevet de Bell, car un tel instrument était sans valeur entre les mains de ceux qui n'avaient pas appris à transmettre la parole par voie électrique. En d'autres termes, Gray n'avait pas expliqué la théorie de la transmission de la parole comme l'avait fait Bell dans son brevet initial.
Le témoignage, qui a débuté en janvier 1879 et s'est terminé en septembre 1879, a occupé deux grands volumes totalisant environ 1 200 pages.
Au cours de ce long procès, les principales parties ont entamé des négociations privées qui ont abouti à un compromis.

L'affaire Dowd a donc été réglée par un jugement de consentement et n'a jamais donné lieu à une véritable audience. Néanmoins, le procès Dowd s'est avéré être l'un des plus importants du litige relatif aux brevets Bell.
Outre son impact sur les négociations et le compromis, l'affaire Dowd a été importante car elle a servi de prétexte à la première déposition d'Alexander Graham Bell dans le litige téléphonique. À quelques exceptions près, ce fut son seul témoignage durant toute la procédure concernant ses brevets. La déposition de Bell est restée intacte, car son récit de l'invention du téléphone a été retenu dans plusieurs affaires ultérieures. Avec le début du procès Dowd, la Bell Company pouvait encourager ses agents découragés. Hubbard promit que la compagnie ne « relâcherait pas ses efforts » envers la Western Union. George Bradley souligna que la Bell Company disposait d'avocats compétents et compétents qui considéraient la réponse de la Western Union à son acte de plainte comme « faible ». De plus, la compagnie bénéficiait d'un avantage : le jugement de l'affaire à Boston, où le processus pouvait être plus rapide, et devant un juge « d'une compétence reconnue et d'une réputation irréprochable ». Bradley ne prévoyait qu'un seul résultat : l'ennemi serait interdit d'utiliser des téléphones parlants. Bradley était certain que la Bell Company pourrait obtenir des injonctions dans tout le pays sur la base d'une telle décision. Ensuite, les particuliers utilisant des instruments financiers liés à l'or et aux actions seraient non seulement contraints de cesser de les utiliser, mais également tenus de payer des dommages et intérêts pour violation des brevets de Bell. En attendant, il exhortait les agents de Bell à mener une lutte acharnée. Vail promit à ses agents que la société Bell engagerait des poursuites dans chaque circuit dès qu'une décision serait rendue dans l'affaire Dowd.

La société Bell a également poursuivi la pratique, initiée par son prédécesseur, consistant à exiger de ses agents qu'ils tiennent un registre de toutes les parties ayant fabriqué, utilisé, loué ou vendu des instruments contrefaisants sur leur territoire. Dès réception de ces informations, la société a conseillé à ces personnes de solliciter une garantie d'indemnisation intégrale auprès de Western Union, sous peine d'être contraintes de payer à nouveau leur loyer, cette fois à la Bell Telephone Company. La société Bell a indiqué qu'elle ne souhaitait pas intenter de poursuites judiciaires contre les utilisateurs individuels, mais souhaitait simplement qu'ils cessent d'utiliser les instruments contrefaits.
La Western Union et ses alliés ont eu recours au même type de « tactiques alarmistes ». Après que l'Office des brevets a publié l'un des brevets d'Elisha Gray, qui prétendait couvrir le principe fondamental et le mécanisme substantiel du Bell Telephone, la Harmonic Telegraph Company et l'American Speaking Telephone Company ont publié conjointement un communiqué annonçant l'événement. Ils ont également averti toutes les parties utilisant des téléphones non fournis par eux ou par la Gold and Stock Telegraph Company qu'elles s'exposaient à des poursuites judiciaires.
La Bell Telephone Company a réagi en publiant sa propre dépêche douze jours plus tard. Elle a rappelé au public qu'elle détenait les « seuls brevets » couvrant les principes et mécanismes des téléphones parlants. Elle a commenté la circulaire d'opposition :
" Nous pensons que la circulaire émise par Harmonic Telegraph Co. et American Speaking Telephone Co. visait uniquement à porter préjudice au public ; cependant, il convient de garder à l'esprit que l'affaire est devant le tribunal et qu'elle sera tranchée par lui, et non par les déclarations de l'une ou l'autre des parties ; en attendant, dans l'affaire Bell, les brevets offrent une protection complète et suffisante à toutes les parties utilisant des téléphones loués par cette société."
Cette bataille entre les deux camps s'est poursuivie jusqu'à la fin février, chaque camp publiant au moins un nouvel avis imprimé au public.
La compagnie de téléphone Bell ne s'est pas limitée à une action en justice ni à une guerre des mots pour tenter de combattre son opposition. Elle a informé ses agents que les premiers baux de la société arrivaient à expiration et leur a suggéré de rendre visite à chaque client afin de déterminer l'état de ses instruments. Si nécessaire, l'agent devait échanger les instruments insatisfaisants contre des instruments neufs que la société Bell fournirait gratuitement. Le directeur général Vail a ajouté :
"Nous sommes convaincus qu'en suivant ces suggestions, vous pourrez fidéliser chacun de vos clients. Notre objectif est de fournir des téléphones égaux à tous égards et nous sommes convaincus qu'ils sont supérieurs à ceux fournis par des parties contrefaisant nos brevets. La Bell Company a également réduit les coûts de son instrument à piles, car bien qu'il ait fonctionné comme l'Edison, il était constitué d'un « émetteur-récepteur déconnecté » et ne rivalisait pas avec l'« instrument combiné compact et élégant » de l'autre côté".
Dans sa lutte contre la Western Union, la compagnie de téléphone Beil a parfois pris des décisions contraires à sa politique établie et qui se sont avérées coûteuses. L'un de ces incidents a été son implication dans la création du bureau de change de Buffalo.
L'agent J. N. Culbertson de Bell a éprouvé des difficultés à établir un système de district à Buffalo en raison des efforts de l'opposition. Gardiner Hubbard a recommandé à la Bell Telephone Company de verser à un prospecteur 1 $ pour chacun des 200 premiers abonnés qu'il avait signés. Cette somme devait être remboursée par la compagnie de district une fois celle-ci organisée. Ainsi, pour seulement 200 dollars, la Bell Company contribuerait à la création d'une société de district à Buffalo et, ce faisant, faciliterait l'organisation de sociétés similaires dans plusieurs autres grandes villes de l'État de New York.
Le succès de O. E. Madden, Culbertson, a également connu de grandes difficultés à mettre en place le système d'échange. Les capitalistes étaient réticents à investir dans l'échange proposé, à moins d'obtenir des concessions spéciales de la part de la Bell Company. Hubbard a accepté de garantir à deux investisseurs, Edward J. Hall Jr. et H. C. Palmer, que le coût de connexion de 200 abonnés ne dépasserait pas 3 000 $. Vail a calculé que la responsabilité de la Bell Company ne dépasserait pas 500 $. Le comité exécutif de la société Bell s'est opposé à la signature du contrat. L'un de ses membres, George Bradley, craignait que la garantie ne pèse davantage sur les ressources de l'entreprise que prévu. Cependant, Vail a fait valoir : "Après l'intervention de la C.B. (Bell Company), je pense qu'il est tout simplement désastreux de se retirer du combat et de laisser l'opposition prendre possession du terrain".
Nous sommes entrés sur le terrain — allons-nous maintenant prendre notre retraite ? Si, grâce à cette garantie, nous pouvons sécuriser les affaires de Buffalo, ou même si nous allons encore plus loin et leur versons à tous les loyers des dix premières années, ce sera bien mieux que de laisser l'opposition prendre pleinement possession de la ville de Buffalo et de ses environs. Si nous souhaitons devenir une organisation permanente et survivre à la durée de validité de nos brevets, cela sera une erreur fatale.
Le contrat concrétisant la garantie a été ratifié et signé le 20 novembre 1878. Il est intéressant de noter que le contrat contenait également une clause stipulant que la société Bell défendrait et dégagerait de toute responsabilité les propriétaires de la bourse contre toute poursuite pour utilisation d'instruments Bell. Un jour après la signature du contrat, Vail a notifié Madden que les contrats négociés à l'avenir ne contiendraient pas la mention « dégager de toute responsabilité ». La société Bell défendrait tous les titulaires de licence. Elle a fait de son mieux, mais n'a pas pu accepter de payer des dommages et intérêts si la justice la condamnait.
Alors que la bourse de Buffalo était confrontée à une concurrence croissante de la part de Western Union, la Bell Company a été contrainte de faire encore plus de concessions sur sa licence. Elle a d'abord accepté de fournir des instruments à des tarifs fixes lui permettant de concurrencer la position adverse, puis a renoncé aux loyers pendant deux ans, à l'exclusion du paiement d'une redevance. 2 $ pour chaque instrument manuel et 5 $ pour chaque émetteur à pile. Heureusement pour la société Bell, la bourse de Buffalo a rejeté toutes les réclamations découlant du contrat du 20 novembre.
Il est concevable que la société Bell ait été tenue de rembourser environ 6 000 $ à Hall and Palmer, car il leur avait coûté 10 000 $ pour connecter 251 abonnés à leur bourse. Malgré cela, Vail a calculé que La renonciation au loyer pourrait coûter environ 4 000 $ à la Bell Company.
Devant le mécontentement persistant de George Bradley concernant l'implication de la Bell Company dans l'affaire Buffalo, Vail a répondu : « Le contrat Buffalo est l'une des erreurs commises par la société, ou plutôt le résultat d'une de ces erreurs, et la seule chose à faire est d'accepter les meilleures conditions possibles et de se retirer. »
Les titulaires de licence de Buffalo ont continué à rencontrer des difficultés financières. Cela s'explique en grande partie par des coûts supérieurs aux estimations initiales. Par conséquent, ils ont entrepris de créer une société au capital de 30 000 $.
Hall a suggéré que la société mère de Bell, la National Bell Telephone Company, récemment créée, acquière un intérêt dans cette société.
Quelques mois plus tard, William H. Forbes, président de la National Bell Telephone Company, a exprimé la décision de son entreprise de ne pas investir dans les échanges régionaux :
« Notre plan est que cette gestion soit laissée aux intérêts locaux et que le capital soit fourni par ceux qui peuvent le mieux défier la concurrence, les hommes d’affaires qui exploitent les installations. »
Cette politique a été largement influencée par l'expérience de la société mère à Buffalo et Chicago, qui a débuté comme une réponse limitée pour défendre les intérêts de Bell contre Western Union et a donné lieu à des implication coûteuses des intérêts locaux. De par sa proximité, la compagnie de téléphone Bell était une zone Surchargé par les résultats de son intervention à Chicago, H. H. Eldred a tenté en vain d'obtenir des financements pour la bourse de Chicago. Il a donc continué à faire appel à la Bell Company. Hubbard a expliqué à son comité exécutif que le travail d'Eldred avait coûté plus cher que prévu en raison de la nécessité. de tout précipiter ou de tout perdre face à l'opposition, les difficultés intrinsèques de la situation, le problème de recruter de bons ouvriers et l'expérience d'Elfred.
Hubbard était convaincu que Chicago deviendrait le meilleur terrain de jeu du pays pour le téléphone. Il regrettait donc la décision de son entreprise d'essayer et a vendu son intérêt pour Chicago, mais a convenu que l'entreprise devrait probablement se contenter de bénéfices modestes, mais sûrs, laissant le « gros lot » aux autres.
Hubbard pensait qu'il était nécessaire de développer Chicago, non seulement parce qu'elle utiliserait probablement plus de téléphones Bell que toute autre ville du pays, mais aussi parce qu'elle était trop importante pour l'opposition.
Sanders, au nom du Comité exécutif, a exhorté Eldred à tout mettre en œuvre pour éviter toute dépense inutile et à ne rien faire d'autre que connecter les abonnés déjà inscrits. Eldred devait également utiliser le crédit précédemment établi pour retarder les paiements le plus longtemps possible. Eldred a pris note du sentiment du comité et a apprécié la position de l'entreprise, mais a expliqué qu'il était sans fonds en raison de dépenses extraordinaires engagées dans le cadre de la lutte concurrentielle :
"Grâce à un versement d'argent, j'ai réussi à faire en sorte que notre ordonnance relative à l'installation de poteaux soit présentée au conseil lundi dernier et qu'elle soit mise en œuvre. Décédé comme une ordonnance spéciale pour une décision finale lundi soir… Western Union a utilisé de l’argent contre nous pour acheter six voix afin de garantir notre mesure… Si nous ne parvenons pas à obtenir des ordonnances pour installer des poteaux, autant se taire ici".
Malgré l'accord d'Eldred de se « retrancher », il continua d'exiger des fonds de la Bell Company. Fin septembre, il devait 16 175 $. Vail déclara que la Bell Company devrait faire pression à Chicago pour garder le dessus sur l'opposition. S'il ne désespérait pas de créer une compagnie locale, il estimait que les perspectives étaient extrêmement douteuses. Vail pensait que si la Bell Company laissait Chicago échapper à son contrôle, elle pourrait bien abandonner tout le Nord-Ouest. De plus, il soutenait que la Bell Company ferait un investissement judicieux si elle conservait ses droits sur la bourse de Chicago.
Hubbard conseilla alors à Vail de conclure la meilleure affaire possible en créant une société à Chicago et en s'assurant des investisseurs, car la Bell Company avait besoin de fonds pour mener à bien ses actions en justice. Vail fut contraint de déclarer, après des efforts exhaustifs, qu'il ne parvenait pas à obtenir le capital nécessaire et recommanda donc à la société mère de finaliser l'organisation et la constitution de Bell. Téléphone de Chicago. La société de Chicago émettrait alors à la société Bell 80 000 $ de ses actions libérées pour obtenir le droit exclusif d'utiliser les téléphones Bell et pour financer les installations, le fonds de commerce et les activités de la société. Les billets et les actions de la société de Chicago serviraient de base à la levée de fonds, tant pour ses propres besoins que pour ceux de la compagnie de téléphone de Chicago. Sanders conclut que les difficultés rencontrées par Vail pour attirer des investisseurs résidaient en partie dans les conditions qu'il proposait. Sander exhorta donc Vail à ne pas proposer de conditions qu'il ne pouvait abandonner dignement. Il a donné les instructions suivantes à son directeur général :
"Veuillez considérer sérieusement la nécessité vitale de disposer de liquidités, qui devrait l’emporter sur toute autre considération, aussi brillantes soient les perspectives d’avenir si nous détenons la totalité des actions. Si les factures dues à Chicago ne sont pas réglées rapidement, nos perspectives seront bien plus compromises que de toute autre manière".
La Bell Telephone Company envisageait alors de consolider ses intérêts à Chicago avec l'opposition. Vail s'opposa à cette démarche, affirmant que cela donnerait du crédit aux affirmations de la Western Union selon lesquelles la Bell Company était en faillite et lui serait bientôt vendue. Vail a reconnu la situation difficile de son entreprise concernant son implication à Chicago et à Buffalo :
"Une chose est sûre : si nous reculons, l’opposition pensera voir le début de la fin, ou, en d’autres termes, elle pensera avoir au moins pris le contrôle de nous, ce qui lui donnera finalement l’avantage qu’elle désire, mais que nous possédons déjà. Il semble que notre entreprise ait connu bien plus d'épreuves ou de transactions qu'auparavant".
À la fin de l'année, Vail ordonna finalement à Eldred de constituer la Bell Telephone Company de l'Illinois.
Le magasin de la Bell Telephone Company reçut 80 000 $ d'actions entièrement libérées pour sa franchise et ses locaux à Chicago. La Bell Company avait décidé de conserver ses intérêts boursiers à Chicago plutôt que de céder la Northwest à la Western Union. Dans son rapport aux actionnaires et aux administrateurs de la Bell Telephone Company, le président Hubbard expliqua que le coût réel de la bourse de Chicago pour la compagnie s'élevait à 40 000 dollars. De plus, le développement de la bourse nécessitait davantage de fonds, car les recettes ne dépassaient guère les dépenses. Il n'est donc pas surprenant que Vail ait écrit à Watson : « Chaque fois que l'on évoque Chicago, nous tremblons car une nouvelle dose de responsabilité nous est infligée. »

Ainsi, ce qui avait commencé comme une mesure d'urgence temporaire visant à bloquer la Western Union s'est avéré être un engagement très coûteux et durable de la part de la Bell Telephone Company. Les besoins financiers de la centrale de Chicago ont largement contribué à la nécessité de réorganiser la Bell Company et, par conséquent, de retirer aux titulaires de brevets originaux de la Bell tout contrôle réel de l'entreprise.

sommaire

LA VIEILLE GARDE SE DÉCHAÎNE

Quelques mois après la création de la Bell Telephone Company, les agents n'étaient pas informés du transfert des cadres supérieurs de Boston à New York. Il s'agissait de la concrétisation d'une idée longtemps envisagée par les dirigeants de l'entreprise.
En janvier 1878, alors que Hubbard cherchait une alternative à l'organisation de la New England Telephons Company, il trouva à New Torlc des partenaires disposés à avancer entre 30 000 et 50 000 dollars à la Bell Company. Cet arrangement nécessitait toutefois le déménagement des ateliers et des bureaux de la société à New York. Hubbard a regretté cette situation, mais a souligné que si les amis de Sanders ne pouvaient pas fournir de fonds, il se tournerait vers ces investisseurs new-yorkais. Sanders a indiqué qu'il regretterait vivement de déménager à New York si des fonds pouvaient être obtenus d'une autre manière.
La question s'est à nouveau posée en juin. Cette fois, Sanders a convenu avec Hubbard qu'il était souhaitable que les bureaux du président et du directeur général soient situés à New York. Il n'a cependant pas vu la nécessité d'y déplacer Watson.

Sanders a souligné que le capital de la Bell Company était insuffisant pour l'établissement et l'entretien d'une usine sur place. Les hommes de Watson étaient à pied d'œuvre dans l'atelier de Williamsà Boston, où au moins 30 000 dollars avaient été investis. Ils produisaient des instruments de qualité supérieure, et cette activité pouvait se poursuivre sans dépenser un dollar du capital de la Bell Company. Les expéditeurs expliquent :
"La raison pour laquelle nous devrions continuer à fabriquer des téléphones dans l’atelier de Williams est que nous y disposons des hommes et des outils qui, sous la formation de M. Watson, ont permis de fabriquer le seul téléphone performant au monde. Cela coûterait plus cher que d’ouvrir notre propre atelier, sous la supervision de M. Watson, et nous ne pouvons pas et ne devrions pas essayer d’entrer dans un autre atelier du monde. pays sur les mêmes toms que nous avons ici".
Sanders a ensuite soutenu que si les raisons justifiant le maintien de Watson et des installations de production à Boston étaient valables, il semblait tout à fait approprié et pratique de conserver également le bureau du Trésor à Boston. Pourtant, bien que Sanders ait préféré rester à Boston, il se rendrait à New York plutôt que d'abandonner une « entreprise » dans laquelle il avait un intérêt personnel et financier si vital. Apparemment, les tentatives de Hubbard de déménager les bureaux de l'entreprise à New York visaient à écarter Sanders de la gestion des finances de l'entreprise. Cependant, à cette époque, Sanders avait fermé son entreprise et consacrait tout son temps et toute son attention à la trésorerie. Il déclara à Hubbard : " Je ne désire pas la trésorerie comme une sinécure et je me soucie peu de savoir qui en détient le titre, mais je tiens à gérer réellement les finances de l'entreprise. Je ne pensais pas que vous seriez celui qui suggérerait une solution de remplacement. Si un tel arrangement satisfaisait les messieurs qui ont investi dans la société, je devrais le soumettre, même si vous proposez de nous dispenser de tout repas ensemble. Je pense que cela ne serait guère conforme à vos précédentes déclarations, compte tenu de nos intérêts mutuels, pour vous de proposer une telle solution",
Les efforts actuels de Hubbard s'inscrivaient dans la lignée de ses précédentes suggestions : nommer un trésorier fortuné.
En effet, l'un des derniers projets envisagés pour la réorganisation de la Bell Company prévoyait la création d'une société new-yorkaise dont les investisseurs new-yorkais nommeraient le trésorier. Avec l'organisation de la Bell Telephone Company, le siège social de l'entreprise fut finalement installé à New York. Watson rappela plus tard que cette réussite était en grande partie due aux encouragements de Hubbard et Vail, qui estimaient que New York était le lieu idéal pour une entreprise exerçant des activités nationales. Leurs points de vue ont pris le pas sur les préférences de Sanders, Bradley et des autres dirigeants de l'entreprise.
Plusieurs autres facteurs ont sans doute influencé cette décision.
New York était le siège de la Western Union Telegraph Company. Peut-être pensait-on qu'en y installant également la Bell Company, elle pourrait traiter plus efficacement avec ses concurrents. De plus, depuis l'échec de Cheever et Roosevelt, la Bell Telephone Company était intimement impliquée dans les affaires de l'agence de New York. Ainsi, son implantation à New York facilitait la supervision par la Bell Company des activités de cette agence.
La compagnie de téléphone Bell avait son siège à New York en partenariat avec la Edison Phonograph Company.
Le personnel de la compagnie Bell était composé de Theodore Vail, Robert Devonshire et Emille Berliner. Vail était le seul dirigeant en poste permanent à New York. Watson, Sanders et Hubbard venaient occasionnellement le rencontrer. Malgré les assurances contraires de Hubbard, des retards se sont produits lors du déménagement des bureaux de la Bell Company de Boston à New York. John Ponton a rapporté avoir constaté des irrégularités dans sa correspondance commerciale depuis le transfert. Si la décision de déménager à New York avait eu pour but de faire pression sur Sanders, elle a porté ses fruits. En novembre, il s'est plaint à Bradley de son mécontentement quant à son poste. Sanders a écrit :
"Je suis… convaincu de ne pouvoir rendre justice à la Société en ma qualité de trésorier tant que je ne pourrai pas être en poste de façon permanente. Je suis prêt et disposé à consacrer tout mon temps et toute mon énergie à la conduite de l'entreprise dans tous ses détails si je peux recevoir une rémunération qui me permettra d'emmener ma famille à New York".
Après avoir été installé à New York pendant seulement six mois environ, les bureaux de la Bell Telephone Company ont été de nouveau transférés à Boston.
George Bradley n'était pas d'accord avec cette décision car les conditions de travail n'étaient pas encore satisfaisantes à l'usine de New York.
Il pensait qu'une telle décision permettrait à la Western Union d'affirmer que « les Bell Yankees avaient tenté de la combattre à New York et avaient dû abandonner ». Cependant, il existait des raisons plus pressantes de revenir à Boston.
Comme Bradley l'a lui-même souligné, ce déménagement simplifierait certaines difficultés liées à la consolidation des compagnies New England et Bell Telephone. De plus, cette décision était probablement une conséquence du conflit entre Hubbard et Sanders concernant la réorganisation envisagée de la Bell Company. Cette théorie est corroborée par le fait que la démission de Sanders du Trésor est devenue effective dès le transfert de la Bell Company à Boston. Un autre facteur important dans cette décision était l’inefficacité résultant de la séparation géographique des dirigeants de l’entreprise. En réponse au dégoût d'un agent concernant les retards, Vail a reconnu cette situation : « Les retards persisteront jusqu'à ce que nos directeurs et cadres supérieurs soient dans la même localité. C'est pourquoi nous avons l'intention de déménager les bureaux à Boston, car nous ne parvenons pas à convaincre les directeurs de déménager ici. »
Il était toutefois prévu que la situation financière de Bell Telephone Company s'améliorerait considérablement avec sa création. Or, ce n'était pas le cas. Tout au long de son existence active, les finances de la Bell Company étaient généralement sous pression.

Les difficultés financières de Hubbard continuaient de l'empêcher d'apporter sa contribution financière. Avec plusieurs partenaires, Hubbard devait 100 000 dollars à une autre entreprise. Lorsqu'un plan visant à rembourser ses dettes échoua, Hubbard envisagea de vendre une partie de ses actions téléphoniques, à moins que, par l'intermédiaire des « bons offices » de Sanders, il ne puisse vendre une partie de ses intérêts dans l'English Telephone Company à la New England Telephone Company. Hubbard n'était pas le seul associé à avoir besoin de fonds ; Alexander Graham Bell et Thomas Watson en avaient également besoin. Bell suggéra même que Watson, dans l'interview Le reste des partenaires, en difficulté financière, investissent dans la possibilité de fabriquer des jouets de Noël, notamment un « Swearing Top ».
L'analyse des instruments expédiés aux agences et les échanges indiquent que la compagnie de téléphone Bell progressait dans la location de ses instruments. Bien qu'elle n'ait été active que pendant sept mois, la société Bell a expédié 12 960 instruments, contre 12 262 pour son prédécesseur, sur une période de douze mois. Les principales difficultés financières de la société résidaient dans les demandes constantes de la bourse de Chicago. Les difficultés financières de la société Bell reflétaient nécessairement ses perspectives et ses politiques. Sanders estimait que la difficulté de l'entreprise à inscrire des investisseurs en bourse pour ses trois sociétés boursières était due à sa politique exigeant une part importante de leurs actions en échange du droit d'utiliser les instruments Bell.
Il a donc suggéré que des conditions soient offertes qui intéresseraient les hommes dès le départ afin d'assurer la réussite de l'entreprise. Manifestement influencé par la situation de Chicago, Sanders a noté : « Nos plus grandes erreurs ont été commises lorsque nous avons insisté sur des conditions qui étaient apparemment très avantageuses pour nous… Commençons du bon pied… de telle sorte que nous ne soyons jamais obligés de prendre en charge la propriété locale. »
Sanders a également déconseillé de laisser les agents salariés de l'entreprise opérer jusqu'à ce que l'entreprise soit mieux financée. C'étaient précisément les agents maritimes qui pouvaient impliquer l'entreprise dans des entreprises coûteuses.
Lorsque Gardiner Hubbard exprima le souhait de trouver un représentant en Californie pour discuter avec l'agent de Bell sur place de la possibilité d'organiser une entreprise, Sanders répondit : « Ma seule objection à l'envoi de M. Morgan en Californie est la constante de ne pas être payé. « Éliminer de l'argent jusqu'à ce que la trésorerie soit plus importante. »
Une conséquence immédiate des difficultés financières de la Bell Company fut son incapacité à payer les frais juridiques d'Anthopy Pollok. Comme la société n'avait pas de fonds en trésorerie, Sanders recommanda à la New England Telephone Company de le payer et de facturer à la Bell Company les trois quarts des honoraires.Plusieurs autres avocats de la société attendaient également leurs retenues et en décembre, il y avait d'autres « factures pressantes ».

Malgré la gravité de la situation, Hubbard resta optimiste.
Après avoir cité toutes les dettes de l'entreprise, George Bradley lui a fait ce commentaire :
« J'ai du mal à imaginer comment vous pouvez considérer nos affaires avec autant d'optimisme en présence de faits aussi concrets. »
Les besoins de la Bell Telephone Company ont été temporairement satisfaits en novembre, lorsqu'elle a emprunté 5 000 dollars chacun à George L. Bradley, Thomas Sanders et Charles Eustis Hubbard (agissant en qualité de mandataire). L'entreprise s'est engagée à rembourser ces sommes. Dans deux ans, un intérêt de 7 % payable semestriellement.
L'obligation de la Bell Company prévoyait également que, dans deux ans, la société pourrait émettre individuellement cent actions ordinaires (l'obligation de Bradley spécifiait des actions privilégiées) majorées d'un intérêt de 7 % par an sur 5 000 $.
Selon George Bradley, il a levé les fonds nécessaires. Il a établi le fonds de roulement de l'entreprise et s'est donc senti obligé de clarifier son point de vue sur la politique de l'entreprise. En général, il estimait que l'entreprise devait réduire ses effectifs. Il arguait que les agents de l'entreprise ne devaient être rémunérés qu'à la commission et que l'entreprise devait se limiter temporairement à la location de téléphones, laissant le reste de la téléphonie à l'ennemi. Brad Ley a également suggéré Il a déclaré que l'entreprise ne devait conclure aucun contrat susceptible de lui imposer des charges dans un avenir proche ou lointain. Il a conclu : « Grâce à cette politique, menée avec des moyens ordinaires, je suis convaincu que nous pouvons couvrir nos frais généraux, nos honoraires d'avocat, et dégager un excédent décent. »
Bradley prétendait avoir l'aval de presque tous les actionnaires et administrateurs. Sanders était entièrement d'accord avec les suggestions de Bradley. Il expliqua à Vail :
"Je suis déterminé à utiliser tous les moyens en mon pouvoir pour empêcher l'entreprise de contracter une dette ou une obligation en dehors de son activité légitime, à savoir la location de téléphones, et je vois dans l'affaire Buffalo un enjeu majeur… La moisson sera abondante lorsque nos brevets seront tranchés en notre faveur, et si nous utilisons nos armes de défense pour étendre nos activités, nous sommes perdus".
Le trésorier Sanders a rendu compte de sa gestion financière au comité exécutif de la compagnie de téléphone Bell à la mi-décembre.
Depuis la création de la société, le 1er juillet 1878, jusqu'au 1er décembre 1878, il avait perçu de toutes sources 75 519,63 $, en échange desquels il possédait des biens à Chicago, 13 342 téléphones et 2 477 à magnéto, ainsi que des actions de diverses sociétés locales et des contrats avec elles, dont la valeur dépendait de l'évolution future. Environ 12 000 téléphones étaient loués à un loyer annuel moyen de 4,00 $, et 1 400 Bells à un loyer similaire. La société disposait de 3 086,30 $ en liquidités et d'une dette de 7 939,52 $, dont le renouvellement probable équivalait au moins à ce montant, mais n'était pas payable à l'échéance.
La société Bell a été renforcée en décembre par de nouveaux investisseurs que Sanders a qualifiés de « solides et performants ». Ces investisseurs exigeaient une représentation au conseil d’administration dans le cadre du prix de leur assistance.
Lors de la réunion du conseil d'administration du 13 décembre, deux membres ont démissionné et ont été remplacés par William H. Forbes et Francis Blake Jr. George Bradley a exprimé la surprise des nouveaux investisseurs en apprenant la véritable situation financière de la Bell Company. Apparemment, le rapport financier de Sanders de décembre n'avait pas décrit fidèlement la situation de l'entreprise. Bradley écrivit à Hubbard : « Nous sommes très perturbés en ce moment d’apprendre que la Bell Company doit 30 000 dollars et que certains billets arrivent à échéance à la minute même.» Bradley avait l’impression que le passif de la Bell Company poussait comme des champignons et que ses actifs n’étaient qu’imaginaires. William H. Forbes, fils de John Murray Forbes et l'un des nouveaux investisseurs, a expliqué plus tard que ce n'est qu'après avoir acheté leurs actions avec les autres investisseurs qu'ils ont découvert que la société Bell possédait une dette de 40 000 dollars, dont le montant et l'existence semblaient inconnus du comité exécutif. Le directeur général Vail a indiqué à Hubbard la véritable situation financière de l'entreprise lorsqu'il a annoncé qu'elle aurait besoin d'environ 35 000 $ d'ici mars, en plus des sommes recouvrées. Bien qu'il ait calculé que l'entreprise recevrait 38 000 $ de plus que les dépenses, il a conclu :
" Je ne m'attends pas à de gros revenus provenant de nouvelles affaires, car elles absorberont une part aussi importante des revenus que nous recevrons… Pour payer les instruments, je ne compte que sur une moyenne de 6 mois de loyers, alors que nous obtiendrons probablement une moyenne beaucoup plus élevée, car une grande partie sera payée d'avance. Cependant, cela sera déduit du chiffre d'affaires de l'année prochaine et ne compensera peut-être pas davantage les avances que nous avons déjà reçues sur les téléphones loués l'année dernière, mais cela ne représente qu'une partie de cette année".
À la mi-janvier, cependant, la situation de la Bell Company était plus grave que ce que Vail semblait laisser entendre. Pour Alexander Graham Bell, impliqué dans les discussions financières, elle semblait au bord de la faillite. La description de Bell n'était pas exagérée.
Il a expliqué que lorsque le conseil d'administration s'est réuni le 23 janvier 1879, il était confronté à une crise immédiate, car la paie de la bourse de Chicago était due ce jour-là. Si les sommes n'étaient pas payées, l'opposition était prête à s'emparer de notre propriété et à nous déclarer en faillite. Afin d'éviter une telle situation, le juge Bradley a avancé 1 500 dollars de sa poche.
Comme d'autres factures importantes étaient dues le lendemain, il était impératif d'agir rapidement. Selon Bell, présent sur place, quatre plans ont été proposés.
* Tout d'abord, Sanders a proposé d'avancer 30 000 $ si la société lui donnait des obligations pour ce montant, afin qu'il puisse le gérer comme il l'entendait.
* Deuxièmement, il était proposé de faire appel à tous les actionnaires pour fournir les fonds nécessaires.
* Troisièmement, il était proposé d'augmenter le nombre d'actions de la société et d'en avoir suffisamment pour fournir tous les fonds nécessaires au paiement des dettes et pour remettre la société sur pied sans alarmer les actionnaires. en effectuant des appels ou des évaluations.
Certains administrateurs ont garanti qu'ils pourraient trouver immédiatement des acheteurs pour les nouvelles actions.
Si aucun de ces plans n'était adopté, il fut alors proposer de liquider la société et de la déclarer en faillite.
Les administrateurs adoptèrent le troisième plan et chargèrent Forbes et George Bradley de réunir les fonds nécessaires pour le lendemain. Bien que les administrateurs aient exigé le consentement des actionnaires de la société pour augmenter le capital, tous les présents, dont Bell, se sont engagés. Dans l'urgence, ils ont soutenu le comité s'il trouvait des acheteurs disposés à payer d'avance.
Ainsi, sur proposition de William He Forbes, appuyée par Thomas Sanders, les administrateurs ont voté que les actionnaires devraient augmenter le capital social de la société de 75 000 $, sur la base d'un apport supplémentaire en espèces déjà versé ou à verser. Ils ont également voté que les acheteurs de ces actions seraient autorisés à doubler leur capital. Le droit de vote est décrit à l'article treize des statuts de la société.
Bien que Bell ne connaisse pas les opinions de Gardiner Hubbard, il a promis que son épouse Mabel, à qui il avait cédé la majeure partie de ses actions, soutiendrait l'action de la société en autorisant Forbes et Bradley à vendre sa part des actions augmentées.
Fort de ces assurances, selon Bell, Forbes et Bradley ont réussi à obtenir les fonds nécessaires.
Il est cependant rapidement apparu qu'une loi imposait aux sociétés de vendre leurs actions au pair et, comme les dirigeants estimaient qu'il serait difficile d'accepter ces nouvelles actions sur cette base, il a été proposé de dissoudre et de réorganiser la société sur la base de l'augmentation du nombre d'actions. Gardiner Hubbard ne voyait pas la nécessité de l'inquiétude des administrateurs face aux affaires de l'entreprise.
Il demanda si Vail avait fait une déclaration sur les recettes probables de l'entreprise provenant de nouvelles affaires pour l'année à venir. Un tel rapport montrerait non seulement ce qui avait été accompli, mais aussi les perspectives d'avenir. Hubbard s'est exprimé plus en détail sur la situation de l'entreprise dans son mémorandum aux actionnaires et aux administrateurs de la Bell Telephone Company, préparé pour l'assemblée extraordinaire des actionnaires du 8 février 1879. Après avoir brièvement retracé l'historique financier de l'entreprise, il a ensuite expliqué les circonstances entourant la dette actuelle de 40 000 dollars, qui avait suscité un sentiment de méfiance chez les nouveaux actionnaires et avait abouti à La révocation des pouvoirs du Comité exécutif.
Il a expliqué que 30 000 $ du capital de la Bell Company avaient été dépensés pour la bourse de Chicago, que 10 000 $ restaient dus pour cette propriété et que 10 000 $ supplémentaires seraient nécessaires pour des extensions. Hubbard conclut :
" Ces états financiers sont suffisants pour démontrer que si nous n’avions pas investi dans l’entreprise de Chicago, la société aurait été à l’heure actuelle libérée de toute dette et aurait pu poursuivre ses activités sans nouvel appel aux actionnaires".
Hubbard a également décrit les facteurs qui ont poussé le Comité exécutif à violer sa propre règle interdisant à la Bell Company d'investir dans des sociétés de district, ce qui a entraîné l'implication de la société à Chicago. Il a également expliqué qu'en septembre et novembre, l'opposition avait proposé de verser une redevance à la Bell Company si elle abandonnait ses opérations de change sur place, mais que le Comité exécutif avait refusé, de peur de céder ainsi le Nord-Ouest à la Western Union, même si la Bell Company aurait été soulagée de ses charges financières à Chicago. Hubbard concluait que, « dans ces circonstances, il n'y avait pas d'autre solution… à suivre ».
Hubbard n'envisageait pas encore la possibilité de vendre la propriété de Chicago et soulignait que cela nécessitait des dépenses supplémentaires. Cependant, il s'attendait à ce que la bourse de Chicago dégage bientôt un bénéfice équitable et prévoyait qu'une fois l'injonction obtenue contre la Western Union, la société de Chicago serait la plus rentable de toutes les sociétés du District.
Hubbard a fourni une brève déclaration sur le succès du Comité exécutif dans la mise en place de systèmes de change. Il considérait ces efforts comme une réussite substantielle compte tenu de la puissante opposition de la Western Union. Il expliquait :
"Il était absolument nécessaire de créer ces entreprises dans tous ces endroits, car la première entreprise à occuper le terrain dans n'importe quelle ville devait le tenir face à tout nouvel arrivant, et l'échec de la Western Union est dû à ce fait. Notre succès futur semble donc assuré".
Refusant toute responsabilité quant aux finances de l'entreprise, Hubbard a admis que la Bell Company n'avait pas collecté autant d'argent que prévu au cours des six derniers mois. Cela était dû à la stagnation générale des activités, à l'efficacité du téléphone à charbon Edison et aux difficultés rencontrées par les titulaires de licence pour établir leurs échanges et démarrer leurs opérations. Il a toutefois souligné que la Bell Company avait loué environ 12 000 téléphones à un prix net de 5 $ chacun par an et que l’entreprise n’en était qu’à ses balbutiements.
Hubbard prédisait que l'entreprise compterait bientôt plus de 100 000 téléphones en service réel et que le succès de la Bell Telephone Company ne serait pas pleinement réalisé.
Hubbard concluait qu'« aucune entreprise n'avait jamais lancé une nouvelle invention qui ait obtenu si rapidement un tel succès ou qui ait été combattue par des ennemis aussi acharnés et puissants. »
Le mémorandum de Hubbard était essentiellement une défense de sa conduite en tant que président de l'entreprise. et membre du Comité exécutif.
Hubbard avait de bonnes raisons de rédiger un tel rapport, car il faisait l'objet de nombreuses critiques de la part des nouveaux investisseurs et de leurs amis. Sanders s'est montré particulièrement critique envers le manque de respect de Hubbard à son devoir de soumettre les contrats au Comité exécutif pour inspection et évaluation. Sanders a dû penser que Hubbard se comportait comme il l'avait fait lorsqu'il était administrateur de l'ancienne Bell. Entreprise. Lorsque Hubbard demanda l'autorisation de signer des contrats pour Buffalo et Rochester, Sanders se plaignit de ne même pas être au courant de l'existence de ces contrats. Il appela à la prudence, à une réflexion plus approfondie et à une discussion plus approfondie.
Sanders rappela à Hubbard que ce qui lui semblait parfaitement clair ne l'était pas pour Bradley et lui-même, qui étaient totalement dans l'ignorance.
Les efforts visant à ce que Hubbard soumette les contrats au Comité exécutif constituaient en réalité une tentative de Sanders et Bradley de limiter le pouvoir de Hubbard. Sanders s'est souvenu à juste titre, en guise d'explication à George Bradley, qu'aucune disposition des statuts de la société n'autorisait à signer des contrats. Il estimait cependant que la suggestion de Bradley, selon laquelle tous les contrats devaient être signés par le Comité exécutif, était judicieuse car :
" Le souhait de M. Hubbard de voir l’exécution de toutes les affaires, s’il y consentait, lui permettrait de se retrouver avec trop de pouvoir. Nous ne devons pas permettre que de nouveaux contrats soient signés sans que les parties en aient connaissance, ainsi que leur contenu ".
Hubbard accepta la suggestion de Sanders, mais expliqua que le délai nécessaire pour soumettre les contrats au comité pourrait entraîner leur perte. Concernant son écart par rapport aux lignes directrices établies par le comité pour l'élaboration de ces contrats, Hubbard expliqua qu'il les respectait et qu'il les respecterait invariablement, mais que dans presque tous les cas, des dispositions devaient être prises pour s'adapter aux circonstances individuelles. Néanmoins, il a demandé au directeur général Vail de soumettre tous les contrats à l'approbation du comité exécutif.
Dans son mémorandum, Hubbard a souligné la critique des « contrats imprévoyants ». Il a nié cette accusation en déclarant :
"Je pense qu'il serait presque impossible, avec notre expérience actuelle, de sélectionner des agents plus performants ou plus efficaces ou de conclure des contrats plus satisfaisants. . . À quelques exceptions près, nos agents n'ont pas gagné d'argent, mais ont engagé des dépenses importantes, comptant sur leurs futurs bénéfices pour se faire rembourser ; sans commission, l'incitation aurait été insuffisante".
L'inaccessibilité de Hubbard fut une autre source d'orticisme. George Bradley souhaitait fréquemment le consulter pendant les périodes critiques, mais n'en était pas capable. Il en résulta que les décisions importantes étaient souvent retardées. Hubbard promit de consacrer plus de temps à l'entreprise lorsque le Congrès clôturerait ses travaux et que ses fonctions au sein de la Commission postale du Congrès prendraient fin. Même lorsque l'entreprise traversait une crise organisationnelle et que la position de Hubbard était en jeu, il n'était pas disponible pour consultation.
Alors que les difficultés de l'entreprise devenaient plus critiques, la direction de Sanders était également sollicitée. Il a rappelé à Bradley :
"Nous devons tous prendre conscience que nous sommes mutuellement responsables du succès ou de l’échec de la compagnie de téléphone Bell, et je ne devrais rejeter la faute sur aucun membre du comité exécutif, car agir ensemble serait déraisonnable. Vous et moi sommes d’accord sur tous les points importants et j’espère que nous pourrons désormais travailler ensemble sans aucune récrimination".
Alors que les critiques à l'encontre de Sanders se poursuivaient, il exprima le souhait d'être déchargé de sa malheureuse responsabilité, qui, bien que déchargée dans l'intérêt de tous les partis, ne lui apportait que ce que Bradley appelait « une mise à l'épreuve universelle ».
Sanders se demandait comment Bradley pouvait le juger objectivement, compte tenu de leurs conflits d'intérêts. Il a noté :
"Je suis obligé de reconnaître que j'ai été influencé par les luttes que j'ai traversées ces deux dernières années et que j'ai sans doute été déraisonnable. Je sais que j'ai biaisé ma position face à vous par ma manière acerbe de la défendre, qui est aussi désagréable pour moi que pour vous, mais je me suis senti particulièrement seul dans cette affaire, comme si tout le monde était contre moi ".
Sanders a indiqué qu'il était prêt à renoncer à toute prétention à la direction de l'entreprise si c'était le seul moyen d'assurer la paix. Il regretterait toutefois d'avoir à le faire, car il portait un profond intérêt à l'entreprise et avait le sentiment d'avoir consacré toute sa vie à sa cause.
Sanders espérait que son nom y serait au moins associé. Sanders continuait de croire que Bradley avait tort de lui imputer tant de défauts de gestion, d'autant plus que Bradley lui avait prodigué tant de conseils. Mais bientôt, tout cela serait terminé et Sanders espérait que Bradley et lui verraient les choses clairement et redeviendraient amis un jour.
La crise financière et managériale de la compagnie Bell Telephone avait atteint son paroxysme lors de la réunion des administrateurs du 23 janvier, lorsque les problèmes financiers exigeaient une solution immédiate. Selon Bell, les derniers investisseurs de l'entreprise « soulevaient ciel et terre pour éviter une catastrophe ». En prenant le contrôle des affaires de l'entreprise, ils avaient aboli le comité exécutif. Au-delà de ses sentiments personnels, Bell avait le sentiment que ces hommes poursuivaient la meilleure voie qui s'offrait à eux.

Bell s'est fortement impliqué auprès de ces nouveaux investisseurs pendant la crise et dans les activités organisationnelles qui ont suivi. S'appuyant fortement sur l'apparence d'un individu et sur le moulage de sa tête, Bell a poussé un soupir de soulagement en découvrant « la tête de M. Forbes parmi les membres du conseil d'administration ». Il a commenté : « Cela semble être une tête phénologique bien équilibrée, et c'est un homme qui vous regarde en face, et cette apparence générale inspire confiance.»
Sanders apparaissait à Bell comme un « bon gars » , mais il estimait ne pas pouvoir se fier à son jugement. Bell concluait que les défenseurs n'avaient pas beaucoup de compétences. Il ne fait aucun doute que Bell était influencé par les préjugés de son père, ainsi que par les siens. Bradley semblait être un homme beaucoup plus solide que Sanders, mais Bell le trouvait trop téméraire et optimiste pour être équilibré. Tout en concédant que Bradley semblait posséder du jugement et des compétences, Bell ressentit un sentiment de manque d'expérience en le voyant. Bien que Francis Blake ait exprimé ses idées avec une honnêteté absolue, Bell estimait qu'il ne semblait pas posséder le pouvoir ni la fermeté, et qu'il manquait de compétences particulières en tant que réalisateur. Bell a qualifié Watson d'homme doté d'un « grand et bon jugement », mais qu'il ne possédait aucune expérience en tant que réalisateur. Eustis Hubbard, tout en paraissant « parfaitement bon et intègre », n'a pas inspiré la confiance de Bell. C'étaient ces hommes qui se voyaient confier la destinée de la compagnie de téléphone Bell. Bell concluait :
"Me laissant une impression générale sur tous ces hommes réunis pour examiner l'état de l'entreprise, je pense que nous avons des raisons d'être reconnaissants d'avoir un si bon groupe d'hommes liés à l'entreprise. Mais le seul homme qui m'impressionne par ses capacités remarquables est M. Forbes".
Bell approuva pleinement la mesure prise le 23 janvier et estima que tout dépendait de la coopération de Gardiner Hubbard, dont il était convaincu qu'elle lui serait accordée lorsqu'il connaîtrait tous les détails.
La nécessité de réorganiser la Bell Corporation offrit l'occasion de fusionner la Bell Telephone Company et la New England Telephone Company en une seule organisation. La principale difficulté de cette proposition, selon Bell, résidait dans le refus des investisseurs de la New England Company de réunir leurs biens à ceux de la Bell Company si Hubbard en demeurait le patron. Ils soupçonnaient la position financière de Hubbard, car on disait qu'une grande partie de ses notes servaient à protester. En conséquence, ils n'avaient aucune confiance dans la Bell Telephone Company tant que Hubbard en était président.
Même à ce moment critique, Hubbard n'était pas à Boston, au grand désespoir de son beau-fils. Bell a informé Hubbard que s'il ne coopérait pas avec les investisseurs, la compagnie téléphonique serait ruinée. Les investisseurs étaient déjà alarmés et, en cas de désaccord interne, une panique risquait de s'ensuivre, les obligeant probablement à vendre leurs actions pour obtenir ce qu'ils pouvaient. Si cela se produisait, Western Union pourrait profiter de la situation en achetant ces actions et en prenant le dessus.
Bell a convenu avec les investisseurs que la « malheureuse situation » de Hubbard avait des répercussions sur la société Bell. Ses opinions concernant l'avenir de Hubbard et de l'entreprise étaient toutefois ambiguës, comme il l'exprima à sa femme, la fille de Hubbard :
"Je suis assez affligé par ce manque de confiance en Gardiner Hubbard, mais je ne peux fermer les yeux sur ce fait – et je sens qu'une crise approche et que soit les riches nous quitteront – soit votre nom sera moins associé à l'entreprise. J'ai également le sentiment que M. Hubbard ne consentirait jamais à ce qu'une autre personne soit présidente de la Société et, pour ma part, je ne soutiendrais aucune tentative de le destituer s'il ne souhaitait pas démissionner" .
Bell rejeta les suggestions selon lesquelles ce problème pourrait être résolu en le nommant président de l'entreprise. Il prétendait ne pas être « fait pour ce poste » et souhaitait seulement qu'on le laisse en paix. Bell était certain que si toutes les parties intéressées se réunissaient pour que la paix, l'harmonie et la prospérité reviennent. Agonisant face à son dilemme, Bell écrivit à sa femme :
" Je suis troublé, anxieux et je ne sais pas quoi faire.J’aime votre père et je suis fier de l’avoir à la tête de cette entreprise. Pourtant, même moi, j’ai l’impression que ce nom fait obstacle à l’obtention du soutien financier dont nous avons besoin et menace de ruiner l’entreprise. Oh là là ! Que pouvons-nous faire ? Comment tout cela va-t-il s’en sortir ? J’aimerais que tu me prennes dans tes bras, ma chère femme, et que tu me dises ce que tu souhaites. Tout ce que tu veux, je le ferai ".
De retour de Washington, Hubbard expliqua à son avocat que les difficultés de l'entreprise provenaient de l'implication de Chicago.
Il estimait avoir bien introduit le téléphone malgré les obstacles rencontrés. Hubbard affirma que si les comptes et les finances de l'entreprise avaient été correctement supervisés, la Bell Company ne serait pas dans sa crise actuelle. Il a réitéré ici sa conviction que Sanders n'était pas apte à occuper le poste de trésorier et que toutes les difficultés de l'entreprise auraient pu être évitées avec un bon trésorier. Il a reconnu que certaines parties le tenaient pour responsable de tout ce qui n'allait pas dans l'entreprise, mais qu'il n'était pas préparé au « retrait » de Hubbard de ses responsabilités. Il accusait Hubbard d'avoir usurpé l'autorité dans tous les services et, comme il l'a mentionné, il a fait référence aux piles de lettres reçues de presque toutes les agences et aux quelques exemplaires des réponses de Hubbard que la société avait conservés. Sanders s'est également accusé d'avoir usurpé l'autorité pour avoir assumé l'une des fonctions de Hubbard qui avait été honteusement négligée, à savoir la direction des poursuites judiciaires de la société. Il a affirmé qu'il ne semblait y avoir aucune concertation entre les avocats de l'entreprise et a soutenu que si Hubbard ne faisait rien, il démontrerait son inaptitude à gérer ce service.
Hubbard a finalement tenu une réunion avec les directeurs de l'entreprise au cours de la première semaine de février. La réunion s'est avérée plus harmonieuse qu'il ne l'avait prévu. Il a indiqué à Vail que l'entreprise n'aurait aucune difficulté à réunir tous les fonds souhaités et a déclaré avoir recruté d'excellents partenaires qui, selon lui, plairaient beaucoup à Vail. Hubbard était cependant incertain de ce qui allait lui arriver, expliquant :
"Je suis absent… et j'aimerais tous rejeter toute la faute sur mes épaules et m'attribuer l'entière responsabilité de tout ce qui a été fait. L'accord avec M. Bradley lors de la création de notre société prévoyait que je serais président. J'ai besoin du salaire et je veux être lié à la société. Je serais très déçu si on me renvoyait".
Hubbard appréciait clairement que son mandat de président de la Bell Company soit à responsabilité limitée. Il avait supposé, depuis le départ de Sanders de la trésorerie, que les nouveaux intérêts financiers le destitueraient parce qu'ils n'avaient « aucune connaissance » de lui. Bell pensait que le fort sentiment entre Hubbard et les actionnaires résultait de la vengeance de Sanders envers Hubbard. Il a toutefois indiqué que Forbes et Bradley étaient soucieux d'arranger les choses et qu'il pensait donc que Hubbard pouvait être maintenu à la présidence. Suite aux mesures prises lors des réunions du conseil d'administration de janvier, une assemblée extraordinaire des actionnaires s'est tenue à Boston le 18 février 1879, au cours de laquelle il a été voté qu'un comité, composé de Gardiner Hubbard, William Forbes et George Bradley, soit autorisé à négocier avec la New England Telephone Company en vue de la vente des biens des deux sociétés à une nouvelle Bell Telephone Company. Cette société devait être constituée avec un capital en espèces ne dépassant pas 9 000 000 $, dont 200 000 $ devaient être versés à la New England Company pour l'achat de tous ses biens, et 450 000 $ devaient être versés action pour action aux actionnaires actuels de la société Bell. Soixante-quinze mille dollars d'actions devaient être vendues conformément au vote des administrateurs du 23 janvier, et les actions restantes devaient être détenues en fiducie par le Trésorier pour être utilisées selon la décision des administrateurs. Les actionnaires ont également voté qu'en cas d'échec de l'achat des biens de la New England Company, la Bell Company vendrait ces biens à une nouvelle société à constituer, dont le capital ne dépasserait pas 600 000 $, dont 450 000 $ seraient émis action pour action entre les actionnaires de la Bell Company.
Selon le vote de janvier, soixante-quinze mille dollars d'actions devaient être vendus, le reste étant détenu par le trésorier.
Pendant cette période, Sanders accepta de vendre à George Bradley 200 actions des sociétés Bell et New England à 65 dollars l'action. Six mois plus tôt, les actions de la société Bell étaient vendues à 50 dollars l'action. La vente de Sanders visait en partie à permettre à Bradley de prendre le contrôle de la société par la détention d'actions plutôt que par l'exercice d'un droit de vote des statuts, dont Sanders espérait qu'ils ne seraient pas intégrés aux statuts de la société proposée. Le 25 février, Sanders avait vendu 600 actions aux amis de Forbes et ne pouvait plus participer activement aux affaires de l'entreprise. Il prévoyait de reprendre ses activités à Haverhill.
Conscient du mécontentement croissant envers sa direction, Hubbard proposa de démissionner de la présidence si Alexander Graham Bell était élu à sa place. Il estimait que le nom de Bell devait être porté à la connaissance du public en lien avec l'entreprise. Peut-être espérait-il maintenir son influence sur les affaires de l'entreprise grâce à la nomination de son gendre. Quoi qu'il en soit, Hubbard a expliqué aux dirigeants de l'entreprise :
" En prenant cette mesure, vous comprendrez bien sûr que mon intérêt pour l'entreprise ne sera pas diminué, et que je serai toujours heureux de faire tout ce qui est en mon pouvoir pour assurer le succès de notre entreprise, et que je serai toujours à la disposition des dirigeants pour faire tout ce qui, à leur avis, servira les intérêts de l'entreprise ".
Bell continua de refuser la présidence de l'entreprise. Il espérait plutôt conserver Hubbard à ce poste. Cherchant la coopération de Sanders, Bell souligna que Hubbard était le seul homme de l'entreprise dont le nom était connu hors de Boston. Il exprima sa propre détermination à quitter l'entreprise si Hubbard était traité injustement.
Alors que Bell tentait de concilier les intérêts différenciés, il a reçu des indications selon lesquelles les « hommes fortunés » pourraient accepter de maintenir Hubbard à la présidence s'il n'avait aucun pouvoir sur les finances. Bell était déterminé à insister sur le maintien de Hubbard à la présidence, car il était perturbé par les suggestions de Forbes concernant l'opportunité d'un compromis avec la Western Union. Comme il l'a expliqué : « Le maintien de M. Hubbard à la présidence constitue ma garantie qu'aucun accord ne sera conclu avec la Western Union tant que ma réputation n'aura pas été clarifiée. »
Bell a peut-être relâché son insistance à maintenir Hubbard à la présidence lorsque Hubbard a indiqué que ce respect ne lui permettrait pas d'accepter ou de conserver ce poste simplement en raison des efforts de ses amis. Il expliqua à Bell : « Si je suis élu président de la société, ce sera forcément parce que les administrateurs pensent que je peux servir la société mieux que quiconque. Mais si je ne peux pas être président de la société, vous devriez l’être. »
Néanmoins, Bell continua d’insister sur la candidature de Hubbard.
Lors d'une réunion du comité mixte des sociétés Bell et New England, William Forbes a annoncé que plus de 160 000 dollars avaient été versés ou souscrits au titre de fonds de roulement par des personnes « familiarisées avec les affaires » qui souhaitaient simplement que les affaires de l'entreprise soient gérées de manière professionnelle. Forbes a déclaré qu'il semblait souhaitable et approprié que les personnes qui avaient misé une somme aussi importante sur le succès de la compagnie de téléphone Bell décident de la manière dont l'entreprise serait organisée et confient l'administration de ses affaires à des personnes qu'elles connaissaient personnellement comme des hommes d'affaires expérimentés. Néanmoins, les actionnaires souhaitaient reconnaître les efforts des dirigeants des sociétés Bell et New England pour implanter l'activité téléphonique, à condition qu'ils ne gênent pas les personnes à qui l'entreprise confie le contrôle. Forbes proposa alors un plan qui, selon lui, permettrait d'atteindre ces objectifs, et il espérait que Hubbard se joindrait au comité pour le recommander aux actionnaires. Selon ce plan, les actionnaires éliraient un conseil d'administration composé de onze administrateurs, d'un trésorier et d'un secrétaire. Les directeurs éliraient un président, un vice-président et tous les autres dirigeants nécessaires. Le conseil d'administration devait également choisir un comité de trois administrateurs chargé de contrôler l'ensemble des affaires de l'entreprise, sauf dans les cas réservés à l'ensemble du conseil d'administration ou expressément prévus par les administrateurs. Le président, et en son absence le vice-président, devait présider les réunions des administrateurs et des actionnaires, et signer les documents requis par la loi de la société ou de l'État. Le comité mixte des sociétés Bell et New England a recommandé Gardiner Hubbard comme président et Thomas Sanders comme vice-président.
La composition du Comité exécutif serait décidée après de nouvelles consultations. Selon ce plan, Hubbard et Sanders seraient alors relégués au rang de simples figures de proue, car aucun des deux ne siégerait au comité des trois. Selon Bell, cette offre de la présidence représentait la conviction sincère des hommes fortunés qui « contrôlaient tout » que Hubbard était l'homme le plus apte à occuper ce poste, même s'ils manquaient de confiance en ses capacités professionnelles. Forbes a déclaré à Bell qu'il croyait que Hubbard était un homme doté de grandes ressources et de grandes compétences, et qu'il avait toujours offert des services exceptionnels. Il pensait que Hubbard pourrait être d'une grande utilité en tant que président, tant que les administrateurs pourraient bénéficier de ses idées et de ses suggestions, et qu'il n'avait pas le pouvoir de leur imposer quoi que ce soit. Ainsi, Bell conclut : « Mon opinion sur la position des hommes d'argent est qu'ils veulent que vous soyez président, mais qu'ils ont peur de vous donner trop de pouvoir. »
Bell a indiqué à Hubbard Sanders avait promis de ne pas s'opposer à l'élection de Hubbard à la présidence, sans toutefois promettre de voter pour. Lors d'une réunion tenue le 24 février, Sanders a tenu parole et n'a pas dit un mot.
Hubbard a reconnu le droit du capital à détenir une participation majoritaire dans l'entreprise jusqu'à ce que son succès soit pleinement établi, et il a reconnu qu'il était « approprié » de laisser le capital décider de la manière dont l'entreprise devrait être organisée.
Il insista sur le fait qu'il ne pourrait accéder à la présidence que si sa décision recueillait l'approbation totale de Forbes et des intérêts qu'elle représentait. Cependant, Hubbard estimait qu'il était normal qu'un des propriétaires des brevets soit membre du comité exécutif, car rien ne justifiait que le capital ait le contrôle total des affaires de l'entreprise. Par conséquent,
" représentant avec Mme Bell environ un tiers de l'ensemble des actions de la société, je pense que vous [Forbes] accepterez l'intérêt que je porte à ce que je siège à ce comité. Avec cette suggestion, j'approuve pleinement le plan d'organisation proposé".
Alexander Graham Bell a soutenu les vues de Hubbard. Il a exprimé sa surprise en apprenant que le conseil d’administration proposait de nommer un comité exécutif entièrement composé de capitalistes.
Bell a rappelé à Forbes qu'il était parfaitement satisfait du contrôle exercé par le capital sur l'entreprise et que les choses devaient être arrangées de telle sorte que le président ne puisse intervenir que par l'intermédiaire du conseil d'administration, mais qu'il n'avait certainement jamais préconisé que les intérêts liés aux brevets soient ignorés. Si les engagements de Hubbard l'empêchaient de siéger au comité, Bell s'attendait alors à ce que quelqu'un jouissant de la confiance des deux parties intéressées y soit placé. Hubbard réaffirma le succès de sa gestion des affaires de l'entreprise. Il affirma que même ses détracteurs, les nouveaux investisseurs, souhaitaient modifier les politiques fondamentales qu'il avait établies. Il a ajouté : « Notre succès est également démontré par le fait que… l’entreprise… a attiré à elle certains des hommes d’affaires les plus influents de Boston. »
Il a répondu que les investisseurs n'avaient pas la même vision des affaires de l'entreprise que Hubbard. Il avait tenté de diriger ces affaires par l'intermédiaire d'un comité exécutif composé de trois personnes : l'une résidant à Boston et gérant la New England Company, l'autre à New York, et la troisième, Hubbard lui-même, à Washington, avec de nombreuses autres affaires à gérer. Cette situation, conjuguée à la tentative de Hubbard de gérer l'entreprise sans se soucier de ses finances, démontrait un manque d'appréciation des activités de l'entreprise, ce qui est plutôt le cas pour les hommes familiers avec ces questions. Forbes a soutenu que sans les nouveaux investisseurs, les biens de Bell Company seraient tombés entre les mains des premiers actionnaires puissants, qui attendaient d'en profiter. Dans un tel cas, les anciens actionnaires n'auraient reçu aucune contrepartie. Forbes a expliqué que les nouveaux investisseurs considéraient simplement la Bell Company comme l'une des nombreuses entreprises dans lesquelles ils détenaient des actions et pour lesquelles ils avaient l'habitude d'exiger une gestion équitable.
Les investisseurs estimaient qu'ils répondaient aux souhaits de Bell en proposant Hubbard à la présidence et Sanders à la vice-présidence, et en les plaçant, ainsi que C. E. Hubbard, au conseil d'administration. Selon eux, les intérêts liés aux brevets seraient ainsi pleinement reconnus. Cependant, le comité de réorganisation estimait que si Hubbard et Sanders étaient élus à la présidence et à la vice-présidence, le nouveau conseil d'administration devrait créer un comité de travail composé de manière à pouvoir collaborer et satisfaire les dirigeants d'entreprise.

Nommer Hubbard président et le placer au sein du comité chargé de superviser immédiatement les affaires de l'entreprise reviendrait à perpétuer l'ancienne situation, qui était insatisfaisante.
Forbes a expliqué que les actionnaires estimaient simplement que Gardiner Hubbard manquait de l'expérience commerciale que l'activité de l'entreprise exigeait impérativement. Rien ne prouvait autant qu'il était peu souhaitable de confier la gestion de l'entreprise à Hubbard que le fait qu'il croyait alors que l'entreprise était bien gérée, qu'elle réussissait et que ce succès était dû à ses efforts. Les investisseurs pensaient autrement :
" Pour nous tous qui avons étudié la question, il est clair que le succès obtenu est dû à la valeur remarquable de l'invention elle-même, et la seule raison pour laquelle les hommes d'affaires sont désormais prêts à investir dans l'action Téléphone est la croyance croissante dans le téléphone en tant que valeur commerciale, et le fait que tous les actionnaires étaient censés reconnaître que le moment était venu de mettre la affaires de l'entreprise sur une base commerciale".
Sanders a maintenant exprimé son mécontentement quant à la façon dont les événements se déroulent. Il expliqua qu'il avait exprimé sa volonté de se retirer et de permettre aux nouveaux actionnaires d'assumer la direction de l'entreprise, mais qu'il découvrait alors qu'il était le seul membre de l'ancien conseil d'administration à être exclu de la direction selon le plan Forbes. Ses défenseurs estimaient qu'il devait avoir le même droit de parole que Hubbard dans la gestion des affaires de l'entreprise. Tout accord admettant Hubbard, mais l'excluant, serait un reflet évident de ses performances passées. Il a rappelé à Forbes : « J'ai renoncé à toutes mes prétentions sous certaines conditions et par souci de paix, et non par choix. Je pense que vous comprendrez l'inconvenance de tracer une ligne de démarcation entre M. Hubbard et moi-même, à mon désavantage ».
Bell a soutenu la position de Sanders. Il a rejeté les efforts visant à exclure les titulaires de brevets originaux de toute participation dans la gestion réelle de l'entreprise.
Bell n'avait pas auparavant défendu la représentation de Sanders au Comité exécutif comme il l'avait fait pour Hubbard, car il avait mal compris la position de Sanders.
Bell estimait que ce serait une erreur d'apporter à la direction de la société Bell un changement qui serait visible pour le public. C'est pourquoi il a insisté sur le maintien des titulaires de brevets aux postes de direction. De plus, il a expliqué :
" Je dois dire que si le président de la société et la majorité des membres du comité exécutif sont des hommes qui n'ont qu'un intérêt pécuniaire dans le téléphone, ma confiance dans la direction sera ébranlée. J'ai d'autres intérêts que pécuniaires dans la compagnie de téléphone et tant que mes amis personnels, MM. Hubbard et Sanders, auront voix au chapitre dans la gestion des affaires, je sais qu'aucune négociation commerciale ne sera entreprise avec les compagnies adverses qui compromettrait mon honneur et ma réputation ".
Par conséquent, Bell a insisté pour que Hubbard et Sanders soient respectivement nommés président et vice-président, et qu'ils soient intégrés au comité exécutif ou nommés membres d'office sans droit de vote, afin qu'ils aient au moins une voix consultative dans la gestion des affaires.
Pendant que les négociations se déroulaient, les mesures nécessaires à la consolidation des sociétés Bell et New England étaient prises. Le trésorier George Bradley, apparemment dans son unique rapport aux actionnaires de la New England Telephone Company, a déclaré que le bénéfice net de la société pour onze mois s'élevait à 6 488,43 $. La société disposait ainsi de 22 403,31 $ en espèces, dont 15 914,88 $ de capital non dépensé.
Le président Sanders a également fait rapport aux actionnaires de la New England Company. Il a convenu avec son trésorier que la société jouissait d'une situation satisfaisante. Cependant, constatant que les intérêts des sociétés New England et Bell étaient si étroitement liés que le succès ou l'échec de l'une impliquait nécessairement celui de l'autre, il préconisa une consolidation. Sanders soutient qu'en se consolidant, les intérêts de Bell pourraient présenter un front solide et ininterrompu face à l'opposition, capable de concentrer ses efforts sur un point unique, tel que Boston. La New England Company avait investi massivement dans le district et le système d'échange. Il serait peut-être judicieux de pouvoir compter sur les ressources restantes du pays si une telle attaque devait avoir lieu. Sanders a également souligné qu'à mesure que l'activité téléphonique se développait et que les réseaux régionaux étaient interconnectés, il serait avantageux d'avoir un intérêt commun dans un tel système, ce qui ferait des intérêts de Bell un adversaire redoutable. Il n'y avait aucun point de désaccord substantiel entre les comités des deux sociétés chargés d'élaborer les détails de la consolidation. La New England Telephone Company insista cependant pour qu'un dividende de ses revenus soit déclaré avant la consolidation. Hubbard comprit cette demande et espéra que Forbes et Bradley partageraient ce sentiment. Bien qu'il ait été élu au comité de la Bell Company, Hubbard ne participa pas activement aux délibérations. Il a indiqué sa volonté d'« acquiescer » à tout rapport sur lequel ses co-membres Forbes et Bradley pourraient s'entendre.
En effet, il a proposé sa démission afin que ce siège au comité soit pourvu.
Le comité de consolidation de la Nouvelle-Angleterre a recommandé à ses actionnaires le versement d'un dividende et la constitution d'une société consolidée. Cette société devait être constituée sur la base de 8500 actions d'une valeur nominale de 100 $ chacune. Deux mille actions seraient distribuées, action pour action, aux actionnaires de la New England Telephone Company.
Quatre mille cinq cents actions devaient être distribuées sur la même base aux actionnaires de la Bell Telephone Company. Sept cent cinquante actions devaient être vendues conformément à un accord (23 janvier 1879) déjà conclu par la Bell Company, et les 1 250 actions restantes devaient être vendues par la trésorerie uniquement avec l'autorisation de la majorité du conseil d'administration. Le rapport du comité a été accepté et 1374 des actionnaires ont voté pour que la New England Telephone Company vende la totalité de ses actifs à la nouvelle société contre 2 650 actions de capital social. Ces actions, émises à Forbes en tant que fiduciaire, devaient être cédées comme suit : 2 000 actions aux actionnaires de la Nouvelle-Angleterre
et 650 actions détenues par le fiduciaire. Le jour même où la New England Telephone Company a pris sa décision officielle, les actionnaires de la Bell Company ont entendu le rapport de leur comité (identique à celui du comité de la Nouvelle-Angleterre), l'ont accepté et ont voté pour la vente de la totalité des actifs de la société contre 5850 actions de la nouvelle société, qui seront émises au profit de Forbes, en tant que fiduciaire.
Quatre mille cinq cents actions devaient être émises aux actionnaires, 750 actions devaient être cédées conformément à un accord préalable et 600 actions devaient être détenues par les fiduciaires sous réserve des administrateurs. Comme lors de l'assemblée des actionnaires de la New England Company, aucun vote négatif n'a été exprimé.
Le 17 février 1879, trois jours avant la décision des actionnaires, quatorze personnes ont signé un accord d'association déclarant leur intention de constituer une société appelée National Bell Telephone Company. L'objet de cette société était de fabriquer, vendre et louer des téléphones et leurs accessoires, ainsi que de construire, entretenir et exploiter des lignes pour la transmission de messages par voie électrique ou autre. Parmi les personnes qui espéraient ainsi fonder la National Bell Telephone Company figuraient Gardiner Hubbard et son frère Eustis, Thomas Sanders, Alexander Graham Bell, les Bradley, William H. Forbes et d'autres personnes liées aux intérêts de Bell. Environ un mois plus tard, les différentes sociétés recevaient un certificat de constitution du Commonwealth de Massachusetts. Presque immédiatement après, les sociétés Bell et New England ont exécuté les cessions nécessaires à la National Bell Telephone Company.
Le président, le trésorier et la majorité des administrateurs de la National Bell Telephone Company ont certifié, le 31 mars, que 850 000 $ avaient été versés par transfert de propriété.
Les actifs de la société se composaient de droits de brevet relatifs à des téléphones déjà en service (évalués à 650 000 $), de téléphones et d'appareils (88 000 $), d'une participation de 14 dixième dans le réseau du district de New York (35 000 $), le réseau du district de Chicago (5 000 $), les réseaux des districts de Boston et de Lowell (22 000 $) et de 10 000 $ en espèces. Les actionnaires Le conseil d'administration de la National Bold Company s'est réuni le 10 mars et a adopté un règlement intérieur contenant la solution au litige entre les détenteurs de brevets et les investisseurs financiers. Les dirigeants de la société devaient être composés d'un secrétaire, d'un trésorier et de onze administrateurs choisis par les actionnaires parmi eux. Le président et le vice-président devaient être choisis par les administrateurs parmi eux. Les statuts prévoyaient que les administrateurs assumeraient la « responsabilité générale et la supervision » de toutes les activités de la société. Ils s'engageaient à nommer un comité exécutif composé de leurs propres membres, un directeur général et tout autre dirigeant jugé nécessaire.
Les actionnaires ont élu C. E. Hubbard, secrétaire, et George L. Bradley, trésorier. Ils ont également élu Gardiner Hubbard, Thomas Sandors et William H. Forbes. Le conseil d'administration. Le lendemain, le conseil d'administration a élu Forbes président et a nommé Forbes, Gardiner Hubbard, Thomas Sanders, R. S. Fay et Francis Blake au comité exécutif. George Bradley a ensuite été élu vice-président. Ainsi, Bell et les autres fondateurs ont rempli leur mission.
Ils étaient clairement représentés au sein de la direction exécutive de l’entreprise, même s’ils ne pouvaient pas la contrôler.

sommaire

Le premier central téléphonique de Providence a été ouvert le 2 avril 1879 et la première ligne interurbaine commerciale, de Providence à Boston a été ouverte le 12 janvier 1881.
Dans certains États, il y avait, en 1879, une licence Bell pour chaque comté, et comme chaque titulaire de licence était totalement indépendant de tous les autres titulaires de licence, il est naturellement apparu une grande diversité d'opinions concernant les méthodes appropriées de construction et d'exploitation, les échanges équitables. du trafic des lignes à péage, des tarifs avantageux et de la protection juridique que la société mère doit assurer à ses concessionnaires. En outre, les titulaires de licences à l'esprit plus large ont commencé à comprendre que le secteur du téléphone, au lieu d'être simplement une question locale, avait non seulement un caractère interurbain et interétatique, mais aussi une portée continentale, et que la croissance saine et le succès ultime de ces sociétés d'exploitation étaient dépend largement de l'étendue et de la nature du service fourni, plutôt que de la protection par brevet.
En 1879, il était également prévu qu'il faudrait investir un montant de capital plusieurs fois supérieur à l'estimation initiale demandée pour donner à l'entreprise une base permanente. Ainsi, la sagesse de regrouper ces petits détenteurs de licences de comté en grandes sociétés d'État ou interétatiques a été perçue, et de grandes sociétés d'exploitation contrôlant les bourses dans de nombreux comtés existaient avant la fin de 1879.
À propos, il convient de rappeler que si certains des pionniers étaient des hommes à qui on ne saurait accorder trop de crédit pour la manière intelligente et persistante avec laquelle les améliorations et les extensions du service ont été introduites, il y avait d'autres pionniers dont la compréhension des problèmes auxquels ils étaient confrontés étaient extrêmement légers, même si ces derniers n'hésitaient pas à qualifier d'hérétiques toutes les opinions opposées aux leurs, ou à combattre les suggestions progressistes de la société mère. Même la presse technique était pessimiste quant à l'avenir du téléphone. En 1882, le rédacteur en chef de The Operator écrivait : « Le téléphone est presque entièrement une commodité locale, presque autant que l'éclairage au gaz et les voitures à chevaux ; son monopole, qui n'est pas oppressif, repose sur la possession de brevets et doit expirent avec les brevets.
Le fait que certains des principaux titulaires de licences de Bell avaient beaucoup à apprendre concernant les problèmes téléphoniques est bien illustré par la déclaration publiée du président de l'une des sociétés les plus importantes. En 1883, il fut cité comme suit concernant la nécessité d'un service longue distance.

sommaire

Autres évenements et informations de cette période :

BELL avait dépose le 8 février 1878, un brevet "Speaking Telephone" qui lui a été attribué le 19 mars brevet No. 201,488.
Dans d'autres Brevets, j'ai montré et décrit des méthodes permettant de produire du son à distance au moyen de courants électriques régulateurs, grâce à quoi un certain nombre de messages télégraphiques peuvent être transmis simultanément dans un seul circuit ou dans un sens ou dans l'autre, et grâce à quoi une parole articulée peut être produite électriquement.
Pour illustrer mon système de téléphonie électrique, j'ai montré dans mon brevet précité (n ° 1 8 187), sous la forme d'une forme de téléphone électrique, une tige droite en fer ou en acier avec une bobine de fil autour d'une extrémité, dont l'extrémité est placée très près d'une plaque de fer ou d'acier, sans toutefois la toucher. La tige est soit un aimant permanent, soit est rendue magnétique au moyen d’abattants. Dans cette forme d'appareil, la plaque est fixée à un bloc de bois et un tube parlant ou auditif est utilisé pour véhiculer des sons vers ou à partir de la plaque. La voix des orateurs est dirigée contre le côté de la plaque qui est détourné de l'aimant, et l'un des pôles de l'aimant reste inutilisé ... Mon amélioration actuelle consiste à utiliser un aimant tubulaire à la place de la tige solide précédemment utilisée et à fixer la plaque à ce pôle de l'aimant qui n'avait pas été utilisé auparavant...

Mai 1878 en Angleterre, Mabel donne jour à une petite fille Elie May. Hubbard demande à son gendre Bell de revenir aux Usa. Mais Bell ne veut plus entendre parler du téléphone, il désire refaire de l'enseignement.

Le 12 septembre 1878, rappelons que la société Bell Telephone a intenté une action contre Peter A. Dowd, chef de l'American Speaking Telephone Company, affirmant que la technologie d'Edison et Gray enfreignait les brevets de Bell.
Pour empêcher Western Union de voler toutes ses affaires pendant la bataille juridique qui a suivi, Bell avait besoin d'un meilleur émetteur pour être concurrentiel sur le marché... L'un des avocats de Bell avait écrit le 22 janvier 1878, une lettre à Berliner qui disait en partie : "Je ne suppose pas que vous croyez sérieusement que votre invention vaut 12 000 $ à l'heure actuelle." Mais Western Union gagnait du terrain sur Bell et, en septembre 1878, la Bell Telephone Company se retrouva à payer à Berliner 50 000 $ (l'équivalent de 877 000 $ en dollars américains de 2001) pour les droits sur son brevet, en plus de lui donner le poste d'ingénieur en chef. Ce téléphone émetteur était initialement connu sous le nom de "téléphone Bell-Berliner".
La mise en garde de Berliner, décrivant le concept de résistance électrique variable résultant d'une pression variable, avait été déposée le 4 avril 1877, juste avant la demande de brevet d'émetteur de carbone d'Edison du 27 avril 1877. Cela permit à la société Bell en septembre 1878 de déposer une « interférence ». » contre l'émetteur carbone à pression variable/résistance variable d'Edison, puis utiliser un émetteur carbone de sa propre conception sans être immédiatement arrêté par les tribunaux. Cette démarche légale astucieuse a permis à Bell d'acquérir les droits d'un nouvel émetteur de carbone - tout ce dont ils avaient besoin maintenant, c'était l'émetteur.
Heureusement, en 1878, le professeur David Edward Hughes a inventé l'une des premières versions du microphone à charbon. Il a découvert qu'une tige de carbone permettait un contact électrique lâche contre un diaphragme, ce qui permet la production de courants ondulatoires correspondant étroitement aux ondes sonores de la voix humaine (Hughes et Berliner ont tous deux utilisé le terme « microphone » pour distinguer leurs émetteurs). Francis Blake, Jr, de Weston, Massachusetts, prodige des mathématiques, photographe et ancien officier de l'U.S. Coast Survey, s'est inspiré des expériences du professeur Hughes et a passé l'été 1878 à développer un émetteur reposant sur un contact variable entre un diaphragme métallique et un bloc de carbone, qu'il a également proposé à Bell en tant que rival de l'émetteur d'Edison. La Bell Company a donné à Blake des actions pour les droits sur l'émetteur de carbone et a commencé à l'utiliser en décembre 1878.
En septembre 1878, un émetteur de carbone (microphone) a été breveté par un pasteur anglais, le révérend Henry Hunnings de Bolton Percy, Yorkshire. L'émetteur de Hunnings reposait sur de multiples contacts lâches sous la forme de granulés de coke faiblement compactés qui vibraient entre deux électrodes constituées d'un diaphragme et d'une plaque arrière en métal. Le premier appareil de Hunnings avait un problème où les particules de carbone se « emballaient » ou collaient ensemble, réduisant leur efficacité à transduire la voix.
Pourtant, la technologie Hunnings-White a finalement remplacé celle de Blake en tant qu'émetteur standard des sociétés Bell, bien qu'Edison jouisse d'un crédit historique en tant qu'inventeur du microphone en carbone du téléphone.

Le 31 octobre 1878, la petite famille Bell reprend le bateau jusqu'à Québec. A sa grande surprise l'attendait Watson son fidéle collaborateur, envoyé par Hubbard pour le convaincre de rentrerà washington au bureau des brevets suite au procès intenté le 12 septembre par Hubbard et Vail, le tribunal a besoin de compléments à fournir par l'inventeur lui même.

Avant la fin de 1878, les hommes qui réussissaient dans d’autres secteurs d’industrie se rendaient compte que si l’offre rudimentaire et limitéeles installations offertes par ces premiers centraux offraient un service considéré par le public comme une commodité souhaitable, alors les nombreux avantages qui pourraient être tirés d'un système de central téléphonique englobant tous les utilisateurs probables du service téléphonique dans une ville ou un village seraient en rapport direct à la croissance et à l'expansion de ce système.
Par conséquent, comme il est apparu évident que cette nouvelle industrie était parvenue à perdurer et qu'elle était susceptible de se révéler une bonne source de revenus, les capitalistes ont commencé à considérer favorablement le « jouet de Bell », à se demander s'il ne se révélerait pas un produit extrêmement précieux. et s'il était sécuritaire de violer les brevets de Bell. C'est ainsi qu'avant la fin de 1878, un certain nombre de promoteurs qui s'étaient autrefois moqués de l'inventeur et de son téléphone offraient de grosses sommes en espèces contre des droits exclusifs d'exploitation sur un territoire donné, payant dans plusieurs cas une bonne prime pour le même droits offerts pour un paiement symbolique un an auparavant.
Ces conversions soudaines à une croyance implicite dans la valeur tangible du téléphone apparaissent d'autant plus remarquables si l'on se souvient du fait que partout aux États-Unis, les affaires commerciales et financières sont restées dans un état déprimé pendant toute l'année 1878, et que ce fut une question extrêmement difficile. pour intéresser les capitaux à toute nouvelle entreprise.
Néanmoins, près de soixante-dix centraux Bell étaient en cours de planification, ou étaient en construction, ou devenaient opérationel à la fin de l'année.
Dans les villes du tableau ci dessous, les centraux Bell étaient opérationnels à la fin de 1878 et, bien que le nombre de téléphones en service soit relativement faible.

Ensuite, des centraux étaient en cours de construction à Washington, Louisville, La Nouvelle-Orléans, Nashville, Cleveland, Springfield, Hartford, Providence et ailleurs.
Une situation très différente prévalait dans les milieux financiers et commerciaux un an plus tard, lorsque, à l'automne 1879, la reprise du paiement en espèces provoqua un sentiment d'exaltation dans toutes les branches de l'industrie et déclencha un essor remarquable dans la construction ferroviaire et dans la spéculation boursière qui s'est répandue dans tout le pays. Il n’est donc pas surprenant que de nombreux investisseurs semblent désireux de s’identifier à l’industrie du téléphone, ni si remarquable que, parmi les résultats de cette activité frénétique, il y ait plusieurs centaines de sociétés Bell en activité à la fin de l’année 1879.
Chacune de ces sociétés fonctionnait sous sa propre direction, était régie par sa propre politique et fournissait ses services aux tarifs qu'elle jugeait les plus adaptés pour répondre aux opinions des clients locaux. Il y avait peu ou pas d'uniformité dans ces taux, car la majorité avait été établie non seulement sans tenir compte de l'expérience brève mais coûteuse des taux bas qu'avaient vécue les sociétés créées en 1878, mais aussi à l'encontre des suggestions judicieuses de la société mère de rendre le service si bon que les entreprises paieraient au moins un dollar par semaine pour le service téléphonique local. Encore une fois, non seulement les tarifs ont été établis sans tenir dûment compte du montant de l'investissement en espèces qui serait requis par abonné, mais en oubliant complètement deux facteurs essentiels dans la détermination du coût de production et d'approvisionnement.

sommaire

Janvier 1879, la Bell Telephone Company fusionna avec la New England Telephone Company pour former une nouvelle entreprise la National Bell Telephone Company, à sa tête le financier, William H. Forbes, gendre de Ralph Waldo Emerson , devint l'un des plus importants.
Théodore Vail en devint le directeur général, et Hubbard le président.
La nouvelle entreprise reçu en dotation les brevets de Bell et les droits d'exploiter le téléphone en Nouvelle-Angleterre en échange d'une participation de 50%.C'était le succès qui servira de modèle pour le "Bell System", jusqu'en 1894
La compagnie Bell a commencé à chercher d’autres fabricants pour construire l’équipement téléphonique associé, comme des sonneries d’appel et des appareils d’échange, afin de libérer Williams afin qu’il puisse se concentrer sur les téléphones.
Au printemps de 1879 la National Bell Telephone Company a conclu des ententes avec quatre autres fabricants d'équipement téléphonique.
The Electric Merchandising Co. de Chicago, Davis et Watts de Baltimore, Post and Company de Cincinnati et la Indianapolis Telephone Company (une récente licence de Bell gérée par ET Gilliland) Williams était toujours le seul producteur de récepteurs et d’émetteurs, mais désormais libre de concentrez-vous sur eux seulement, bien qu'il ait fait des appareils pour les marchés de la Nouvelle-Angleterre et de New York.
À la fin de l’année, Williams avait investi 2 000 dollars dans de nouvelles machines et porté sa main-d’œuvre à 60.
Sa production est passée à 670 téléphones par semaine et, en 1880, à 1 000 par semaine, mais cela ne suffisait toujours pas.
Durant cette période, Bell fait face à une forte concurrence de la part de Western Union.
En 1877, Gardiner Hubbard avait offert les droits de Bell à la Western Union pour 100 000 $, mais Western Union a refusé et décida plus tard de se lancer dans le secteur du téléphone avec les brevets d'Elisha Gray,
Thomas Edison, George Phelps et d'autres entreprentent un procès pour contrefaçon de brevet qui en novembre 1879 a abouti en faveur de Bell.
À Chicago et à New York. Ce règlement en justice a exclu la Western Union des activités téléphoniques
Le premier central téléphonique de Providence a été ouvert le 2 avril 1879.
La première ligne interurbaine à succès sur le plan commercial, entre Providence et Boston, sera mise en service le 12 janvier 1881.
Au début de l'année 1879, on comptait plus de 26 000 téléphones Bell d'un usage quotidien aux États- Unis.
Williams fabriqua tout le matériel de Bell Telephone jusqu'au printemps 1879.
La demande de téléphones dépassant la capacité du magasin de Williams, d'autres fabricants obtinrent une licence.
Le téléphone installé chez les abonnés s'appelait le "cercueil Williams" en raison de sa forme de boîte étroite et de sa construction en bois.
Williams a également construit le premier standard téléphonique de conception Doolittle en 1878 à Boston, dans le Massachusetts..
Il s'agissait d'un standard à vingt circuits. Le tout premier modèle Doolittle fut construit à Bridgeport, dans le Connecticut.
L’ensemble des activités, des installations physiques et des licences de Williams a été acheté par Western Electric en 1882.
La réputation d’innovation de Williams s’est maintenue et a beaucoup influencé Western Electric.

En 1879 Gardiner Hubbard fonde l'International Bell Telephone Company afin de promouvoir la vente de son équipement téléphonique dans toute l'Europe. Lors de sa tournée sur le continent, le gouvernement belge lui a offert les meilleures incitations financières pour établir le siège de sa filiale européenne dans son pays. L'International Bell Telephone Company (IBTC) est rapidement devenue une société de portefeuille pour ses différentes divisions de service téléphonique et de production, dont la principale entreprise manufacturière est la Bell Telephone Manufacturing Company (BTMC), fondée à Anvers, en Belgique, le 26 avril 1882.

En 1879 Edison a produit un récepteur téléphonique connu sous le nom de «récepteur à craie, «récepteur de motogramme».
Il n'a pas eu de succès commercial. A la base un projet datant de 1875 qu'il avait appelé l'électromotographe. rateur était connecté au bout de la barre. Des chevilles ont été insérées dans les points de croisement pour permettre la connexion de deux téléphones.


L'American Bell Company, a été créée le 20 février 1880, avec un capital de plus de sept millions de dollars. Bell gère maintenant 133 000 téléphones.

En tant que chef de l’exploitation, Theodore Vail a commencé à créer le système Bell, composé de sociétés régionales offrant un service local, d’une société de services interurbains offrant un service de péage et d’un groupe de fabrication fournissant des équipements.
Pour le fabricant, il s'est tourné vers un ancien rival de l'entreprise. En 1880, Vail commença à acheter des actions de Western Electric et prit une participation majoritaire en novembre 1881.
La prise de contrôle sera effectuée le 26 février 1882, Western Electric cédant ses droits de brevet restants et acceptant de fabriquer des produits exclusivement pour American Bell. Ce n'est qu'en 1885 que Vail fondera sa compagnie de téléphone longue distance. Qui s'appelait AT & T.

En 1880, lorsque le gouvernement français a décerné à Alexander Graham Bell le prix Volta de 50 000 francs pour l' invention du téléphone (équivalent à environ 10 000 $ US à l'époque, ou environ 290 000 $ maintenant), il a utilisé le prix pour financer la Volta Laboratoire (également connu sous le nom de "Alexander Graham Bell Laboratory") à Washington, DC en collaboration avec Sumner Tainter et le cousin de Bell, Chichester Bell . Le laboratoire était diversement connu sous le nom de Volta Bureau , Bell Carriage House , Bell Laboratory et de Volta Laboratory .
Bell s'est concentré sur l'analyse, l'enregistrement et la transmission du son. Bell a utilisé ses bénéfices considérables du laboratoire pour poursuivre ses recherches et son éducation afin de permettre la "diffusion [accrue] des connaissances relatives aux sourds", aboutissant à la fondation du Volta Bureau (vers 1887) qui était situé à Bell's la maison du père au 1527 35th Street NW à Washington, DC Sa remise est devenue leur siège social en 1889.
En 1893, Bell a construit un nouveau bâtiment à proximité au 1537 35th Street NW, spécifiquement pour abriter le laboratoire. Ce bâtiment a été déclaré monument historique national en 1972. Après l'invention du téléphone, Bell a maintenu un rôle relativement distant avec le système Bell dans son ensemble, mais a continué à poursuivre ses propres intérêts de recherche personnels.

Les époux Bell eurent deux filles, Elsie May Bell (1878-1964) et Marian Hubbard « Daisy » Bell (1880-1962), ainsi que deux fils, Edward (1881) et Robert (1883), qui meurent tous deux en bas âge.

La National Bell fera valoir ses propres droits dans plus de 600 affaires de brevets – en produisant, devant les tribunaux, des témoignages d’une épaisseur totale de neuf pieds – et aurait finalement gain de cause.
Dans le lien suivant : Vous pouvez consulter divers documents , compte rendus de tribunaux sur ces litiges.
Une fois la bataille judiciaire terminée, Bell a décidé de supprimer progressivement l'émetteur Blake-Berliner et de le remplacer par la technologie supérieure d'émetteur à bouton d'Edison. Mais avant que cela ne se produise, les idées d'Edison, Blake et Berliner ont été encore améliorées par l'ingénieur Bell Anthony C. White en 1892. Dans l'émetteur de White, deux électrodes à bouton en carbone ont été placées en contact. L'un était fixe et l'autre (devant) était attaché à un diaphragme constitué d'un disque de mica. Des granules de carbone en vrac se trouvaient entre les deux. Les vibrations sonores ont déplacé le disque de mica d'avant en arrière comme un piston, bousculant les particules de carbone et faisant varier rapidement la résistance du circuit. Cet émetteur "à dos solide" était le plus fiable jamais conçu et a été utilisé de 1892 jusqu'en 1925 environ.

Au cours des six années qu’il avait consacrées à ce champ de recherches, l’infatigable Bell, curieux de tout, avait travaillé à divers instruments.
En 1879, il avait conçu un audiomètre ; incidemment, une unité de mesure des signaux acoustiques et électriques, le décibel, serait baptisée en son honneur. Sa dernière invention en télécommunications vit le jour au début de 1880, pendant qu’il collaborait avec un fabricant d’instruments d’optique, Charles Sumner Tainter.

Le téléphone est une merveille, mais sans le central téléphonique, sans le système téléphonique, il ne serait pas une merveille révolutionnaire.
Bien qu’il n’ait joué qu’un rôle mineur dans la construction du système, Alexander Graham Bell a vu clairement, et avant tout le monde, ce que cela impliquerait.
Dans une lettre écrite en 1878, il en a détaillé les détails avec une précision remarquable :
« Nous disposons actuellement d’un réseau parfait de conduites de gaz et d’eau dans nos grandes villes. Nous avons des canalisations principales posées sous les rues et communiquant par des canalisations secondaires avec les différentes habitations, ce qui permet aux membres de s’approvisionner en gaz et en eau à partir d’une source commune».
« De la même manière, il est concevable que des câbles téléphoniques puissent être posés sous terre ou suspendus au-dessus de la tête, communiquant par des fils secondaires avec des habitations privées, des comptoirs, des navires, des usines, etc., etc., en les unissant par le câble principal à un bureau central où les fils pourraient être connectés à volonté, établissant une communication directe entre deux endroits quelconques de la ville. Un tel plan, bien qu’impraticable à l’heure actuelle, sera, je le crois fermement, le résultat de l’introduction du téléphone au public. Non seulement cela, mais je crois qu’à l’avenir, les fils uniront les sièges sociaux des compagnies de téléphone dans différentes villes et qu’un homme d’une partie du pays pourra communiquer de bouche à oreille avec un autre dans un endroit éloigné. »
La vision de Bell d’un « réseau parfait » a guidé la compagnie de téléphone bien après la fin de sa participation active à la société. Sa lettre concentre l’attention exactement là où elle doit être : non pas sur le téléphone lui-même, mais sur le système téléphonique. Il n’est pas logique, après tout, de parler d’un seul téléphone ; il faut être deux pour parler. Mais il est logique de parler d’un seul système. « Le réseau téléphonique qui interconnecte aujourd’hui les continents est de loin la plus grande machine intégrée du monde ». Et dans un essai publié juste avant la cession, dans le numéro d’adieu du Bell Telephone Magazine , l’historien Theodore H. White a commenté : « “Système” est le mot auquel il faut s’accrocher alors que nous nous séparons. … Ni les miracles des micro-ondes, ni les miracles du transistor, ni les miracles à venir de la fibre de verre transportant des photons à la vitesse de la lumière ne peuvent se comparer à la réalisation d’un système unique. … » L’histoire d’AT&T est l’histoire du système.

Poursuite de l'évolution du téléphone Bell aux USA deuxième partie.

sommaire

1875 - 1882 Les principaux brevets de Bell et Watson

Quelques-uns des brevets accordés à Alexander Graham
US 161,739 Apr 6, 1875 Improvement in Transmitters and Receivers for Electric Telegraphs(tuned steel reeds)
US 174,465 Mar 7, 1876 First Telephone Patent:Improvement in Telegraphy
US 178,399 June 6, 1876 Telephonic Telegraphic Receiver (vibrating reed)
US 181,553 Aug 29, 1876 Improvement in making electric currents to replace voltaic batteries
US186,787 Jan 30, 1877 Second Telephone Patent: Electric Telegraphy(permanent magnet receiver)
US 201,488 Mar 19, 1878 Speaking Telephone (receiver design)
US 213,090 Mar 11, 1879 Electric Speaking Telephone (frictional transmitter)
US 220,791 Oct21,1879 Telephone Circuit; Return wires for quality improvement
US 228,507 June 8, 1880 Electric Telephone transmitter
US 230,168 July 20, 1880 Automatic short circuiter for Telephones
US 235,199 Dec 7, 1881 Apparatus for signaling and communicating, called Photophone
US 235,496 Dec 14, 1880 Photophone transmitter
US 238,833 Mar 15, 1881 Electric call bell
US 241,184 May 10, 1881 Telephone Receiver
US 244,426 July 19, 1881 Telephone Circuit
US 250,704 Dec 13, 1881 Speaking Telephone: ear piece and mouth piece

Quelques Brevets de Thomas Watson: Au total, il avait quelque 60 brevets à son nom.
US 199,007 Jan 8, 1878 Buzzer for telephone apparatus
US 202,495 Apr 16, 1878 Improvement in telephone call-signal apparatus
US 209,592 Nov 5, 1878 Improvement in automatic switch or cut-out for telephones
US 210,866 Dec 17, 1878 Polarized Armature for Electric Bells
US 217,561 July 15, 1879 Speaking Telephones: improvement of Blake’s telephone
US 231,739 Aug 31, 1880 Telephone: improving the transmitter
US 232,788 Sep28, 1880 Telephone Circuit
US 232,862 Oct 5, 1880 Vibrating surface for Sound Transmission
US 234,154 Nov 9, 1880 Telephone Exchange System
US 245,105 Aug 2, 1881 Telephone: improvements in the conversion of sound waves in electric undulations
US 245,600 Aug 16, 1881 Telephone Signal
US 252,160 Jan 10,1882 Compound Telephone
US 256,258 Apr 11, 1882 Telephone Exchange System


En 1884 WH PREECE était en visite ay Canada et aux Etats-Unis, et rapportait :
Le téléphone a traversé une période assez difficile aux États-Unis. On a tenté avec détermination de renverser les brevets de Bell dans ce pays ; et ceux qui ont visité l’exposition de Philadelphie ont vu les instruments exposés sur lesquels les avocats du plaignant s’appuyaient. On dit qu’un Américain très ingénieux, nommé Drawbaugh, avait devancé tous les inventeurs de chaque partie du système téléphonique ; qu’il avait inventé un récepteur avant Bell ; qu’il avait inventé le dispositif à charbon comprimé avant Edison ; qu’il avait inventé le microphone avant notre ami le professeur Hughes ; et qu’en fait, il avait tout fait sur la surface de la terre pour établir les revendications énoncées. Certains de ses brevets ont été présentés, et j’ai non seulement dû examiner ses brevets, mais j’ai dû passer en revue un grand nombre de dépositions des preuves présentées, et je dois avouer que je n’ai jamais vu de cas plus fragile porté devant un tribunal. Je ne sais pas si je serai diffamatoire en exprimant mon opinion (je m'en remettrai à notre avocat avant que les notes ne soient imprimées), mais je n'hésiterais pas à dire que je n'ai jamais vu de complot plus évident pour tenter de perturber la position d'un brevet bien établi. Cependant, j'ai entendu dire que le jugement a été rendu comme le public l'avait généralement supposé ; car dès que l'affaire a été terminée, les actions de la compagnie Bell, qui valaient 150 dollars, ont grimpé à 190 dollars, et maintenant que la décision est rendue, on m'a dit qu'elles atteindront probablement 290 dollars.

sommaire

Les principales sources d'information sont les archives de l'American Telephone and Telegraph Company à New York et la collection AT&T de la National Geographic Society à Washington.

Sur le net on trouve les arcvives Bell "Alexander Graham Bell Family Papers at the Library of Congress"
La collection comprend plus de 145 000 documents. La version en ligne, qui en compte 4 695 (soit environ 51 500 images), se compose de correspondance, de carnets scientifiques, de journaux, de plans, d'articles et de photographies documentant l'invention du téléphone par Bell et son implication dans la première compagnie téléphonique, sa vie de famille, son intérêt pour l'éducation des sourds et ses recherches aéronautiques et scientifiques. Les documents couvrent la période de 1862 à 1939, la majeure partie datant de 1865 à 1920. Parmi les papiers de Bell figurent des pages de son carnet d'expérimentation du 10 mars 1876, décrivant la première expérience réussie avec le téléphone, au cours de laquelle il prononça à son assistant, à travers l'appareil, les célèbres mots : « Monsieur Watson, venez ici, je veux vous voir.» Les différents rôles de Bell dans la vie – enseignant, inventeur, personnalité publique et père de famille – sont largement abordés dans ses documents. Les documents Bell sont complétés par des images numériques de photographies provenant de la collection Gilbert H. Grosvenor, conservée au département des estampes et des photographies de la bibliothèque.

sommaire