LES STATIONS TELEPHONIQUES AUTOMATIQUES de James P STABLER Amérique.

Dès 1882, l'Américain James P. Stabler qui oeuvrait déjà dans les installations d'alarme, mis au point un système d'installation de postes téléphoniques en embrochage (ou en série). L'un des plus anciens en Amérique et des plus connus est celui de la Stabler Individual Téléphone Call Cie.
Station Stabler
Associé à un centre manuel, l'appareil permettait à l'opérateur qui recevait une demande (appel) de séléctionner et sonner un autre abonné à l'aide d'un boitier à touches, puis de mettre en conversation les deux abonnés au moment ou il appuyait sur la touche de mise en relation.

A cette même période, le système automatique de Connolly Washington conçu en 1879 est présenté à Paris à l'exposition universelle de 1881
Ces sytèmes étaient peu nombreux à l'époque et bien adaptés au petites installations. C'était le début de la téléphonie semi-automatique ou automatique mais il faudra attendre les sytème Strowger à partir de 1891 pour concrétiser des centres entièrement automatiques et adaptés à un grand nombre d'abonnés.

Un article de Tom Adams, collectionneur et membre de l'ATCA aux Usa
, décrit brievement le dipositif d'appel individuel Stabler, autorisé par l'American Bell Telephone Co. C'est peut-être un prédécesseur des systèmes de commutation et de numérotation pas à pas.
le système était l'invention de James P. Stabler de Washington, D.C.


Le système Stabler permet à l'opérateur en charge de sonner chaqu'un des abonnés individuellement et reliés sur une unique ligne, sans aucune perturbation pour les autres. Le principe est celui du mouvement pas à pas.
L'enfoncement d'une des touches numérotées disposées circulairement sur la face de l'instrument de l'opérateur fait bouger un indicateur au centre du cercle, étape par étape, jusqu'à ce qu'elle pointe vers la touche qui a été enfoncée. Simultanément, les indicateurs de l'appareil de chacun des abonnés sont aussi entrainés dans le même mouvement.
Dans cette situation, l'aiguille de l'indicateur dans la station désirée complète le circuit à travers la sonnerie, qui, cependant, ne sonne pas jusqu'à ce que la «touche d'appel» de l'instrument appelant soit enfoncée.
Aucune sonnerie des autres stations n'étant en circuit dans cette position, seule la station recherchée est appelée (sonnée).
Le système comprend quelques dispositifs admirables pour assurer la synchronisation des indicateurs de chaque boîtier des abonnés, et pouvoir connecter deux abonnés sur le même circuit. Il est conçu pour travailler sur des lignes de résistance très variable sans changement de réglage, et pour produire et contrôler dans le bureau central les courants requis.
Nous avons été très favorablement impressionnés par le fonctionnement de l'appareil, tout comme de nombreux éminents téléphonistes qui l'ont examiné. Il a résisté à l'épreuve de six mois d'utilisation continue sur une ligne du central téléphonique de Washington, D.C., donnant entière satisfaction à la société et à cinq abonnés sur le circuit dans toutes les conditions atmosphériques.
Il fonctionne maintenant avec succès sur les lignes d'un certain nombre de compagnies de téléphone, et d'autres envisagent son adoption, son utilisation ayant été pleinement autorisée par l'American Bell Telephone Company.
L'appareil d'appel individuel Stabler est fabriqué par le Standard Electrical Works de Cincinatti, Ohio pour la Stabler Signal Company de Washington, D.C., qui contrôle les nombreux brevets.

sommaire

En France nous retrouvons une déscription du système Statler dans les annales télégraphiques de 1883

Ce ystème n'a pas été installé en France, mais étudié par
E. ESTAUNIÉ dans ce compte rendu ou est expliqué le fonctionnement.
Nous en indiquerons uniquement le principe, l'appareil ayant été déjà plusieurs fois décrit.
Chaque poste est muni d'un mouvement d'horlogerie qui fait avancer un frotteur sur un cercle. Il n'est relié à la ligne que pour une position déterminée de ce frotteur sur le cercle. Pour tout autre position, il en est isolé.
Du bureau central on peut, à l'aide d'un manipulateur, faire avancer simultanément et par impulsions successives les frotteurs de tous les appareils.
Les positions des frotteurs pour lesquelles chacun des postes est relié à la ligne, sont différentes, si on les rapporte à une origine commune.
Jamais deux postes ne pourront donc se trouver simultanément rattachés à la ligne, et l'on voit aussi que deux abonnés desservis par un même fil ne peuvent causer entre eux.
La fig, 43 représente les communications théoriques d'un poste. Le frotteur est indiqué en Z, l'anneau métallique sur lequel il se déplace, en V.
Le frotteur est fixé sur une roue dentée que les oscillations d'une ancre commandée par l'armature d'un électroaimant E font avancer à chaque envoi de courants alternatifs effectués par le bureau central. Cette armature est mobile autour de l'axe L
S'il n'y a pas de raté, tous les frotteurs avancent synchroniquement. Au point de vue électrique, un poste d'abonné peut occuper trois positions :
1** Le frotteur est appuyé sur le contact S, le poste est à la position d'attente.
La ligne arrive en L, passe par l'électro E, Z, V, S, le générateur d'appel J et continue .
2** Le frotteur est appuyé sur le contact, le poste est en communication avec le poste central.
La ligne L traverse Télectro-aimant E, passe par Z, la sonnerie G, U et /, ou bien si l'abonné a décroché son téléphone, ce qui provoque la manœuvre du levier K, passe directement de t aux contacts A et a, au microphone . M pour continuer encore par /.
Dans cette deuxième position la sonnerie a est mise en court circuit.
3** Le frotteur est appuyé sur un point r de la couronne X. Le poste de Tabonné est tout entier mis en court circuit.
— La ligne L passe directement par Télectro-aimant E, par z r, a et /.
Lorsque l'abonné veut appeler le poste central il se sert d'un appareil électro-magnétique figuré en G, muni d'un redresseur de courants et ne pouvant par suite affecter l'électro-aimant E. Le frotteur étant en S, c'est à-dire à sa position de repos, les courants envoyés passent directement de J au ressort K, et se rendent au poste central par S, z, l'électro E et L.
Enfin, quand une communication est terminée, c'est le poste central qui se charge de ramener au repos tous les frotteurs.
Il envoie pour cela une série de courants alternatifs sur la ligne qui font avancer tous les frotteurs jusqu'à ce qu'ils soient venus se placer sur le
secteur S, une butée V empêche de le dépasser. On est donc sûr, en prolongeant un certain temps cette émission de courants, d'avoir ramené tous les frotteurs à l'origine commune du mouvement.
Il est évident qu'il faudra ensuite déclencher les frotteurs qui se trouvent en prise avec l'arrêt. Des électro-aimants V servent à cet usage, un courant d'intensité déterminé les actionne. Il parait inutile d'insister sur les inconvénients du système.
Outre la complexité des manœuvres du système, j'en citerai deux principaux : aucune précaution n'a été prise pour garantir le synchronisme des frotteurs, et il y a en permanence sur la ligne autant d'électro-aimants que de postes embrochés.

Un deuxième système essayé avec succès pour deux postes dans quelques installations privées françaises est dû à M. Sieur.
Bien qu'il eût été rationnel en apparence d'en donner la description lorsque les appareils de cette catégorie ont été étudiés, elle trouve ici sa place indiquée ; elle est en effet, comme on en jugera plus loin, le point de départ d'une solution assez simple du problème des postes en embrochages.
Chacun des deux postes est placé en dérivation sur le circuit principal (fig. 44).
Leur insertion sur les deux fils de ligne est faite en sens inverse.


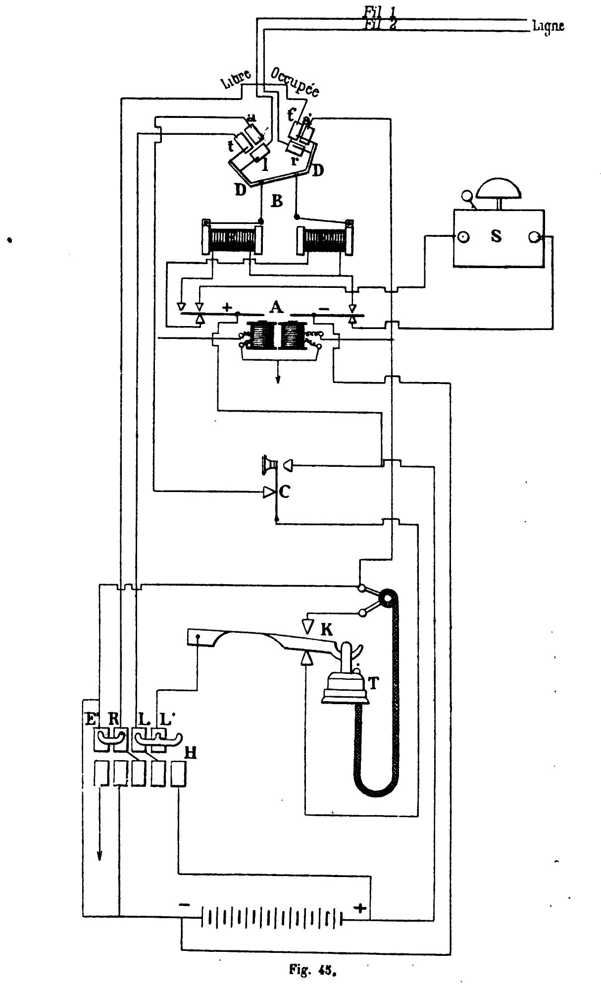
La fig. 45 représente le détail des communications dans l'un de ces postes : tous deux sont identiques.
Les organes essentiels qu'on y rencontre, outre les éléments habituels : sonnerie, microphone, etc., sont :
1** Un électro-aimant B appelé électro-commutateur à balancier;
2** Un relai polarisé A à deux armatures fonctionnant chacune sous l'action d'un courant de sens différent.
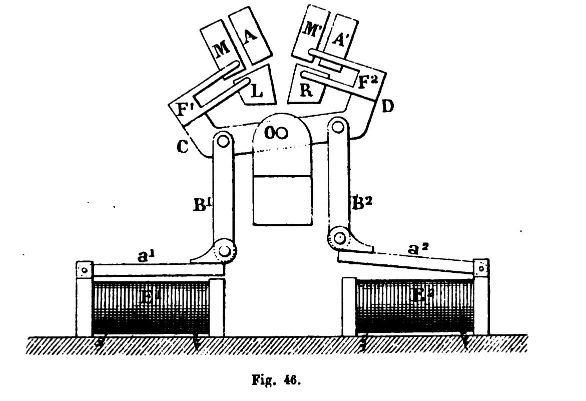
Un lectro-commutateur à balancier (fîy. 46) se compose d'un levier isolant CD mobile autour d'un axe 0, et portant à ses deux extrémités deux frotteurs F, et F, destinés à glisser sur les contacts métalliques M, A, L, M', A', R.
Les mouvements sont transmis à ce balancier au moyen de deux petites bielles B^ et B, par les armatures a et a1, ces armatures sont elles-même attirées par deux électro-aimants E, et E.
Suivant que l'un ou l'autre de ces électros fonctionne, le balancier CD s'incline à droite ou à gauche, les contacts L et R sont mis en communication avec A et A' ou M et M' et un voyant apparaît portant l'une des
deux mentions : Libre — Occupé.
Le relai polarisé a déjà été décrit ; il est inutile d'y revenir. Chacun des deux postes possède en outre en H les organes nécessaires à l'émission automatique du courant de fin de conversation décrit déjà à l'occasion de la station automatique du système Sieur.

Le poste central est muni de deux clefs lui permettant d'envoyer à volonté un courant d'appel d'un sens ou d'un autre sur la ligne. Son annonciateur est polarisé. Un voyant indique donc toujours le numéro du poste appelant.
Supposons que le poste 1 (fig, 45) veuille sonner le bureau central. Il appuie sur la clef d'appel G. Le pôle positif de sa pile d'appel est ainsi placé sur le fil 1 ; le pôle négatif sur le fil 2.
Le récepteur polarisé du poste central fonctionne. Dans le poste 2, par suite de l'intervertion des fils, un courant négatif entre par le contact / de l'électrocommutateur ; il passe ensuite par les contacts t , L, L' (dans le commutateur H), traverse le crochet mobile K, la clef d'appel G et les deux bobines du relai. Il revient ensuite par les contacts E' et R de H et les contacts t' et r de l'électro-commutateur à balancier.
L'armature du relai A marquée du signe — est attirée. Le courant de la pile locale est alors fermé sur l'électro-aimant E' qui attire son armature et fait basculer le balancier. L'aiguille amène le voyant « Occupé ».
Les fils de ligne sont isolés de l'appareil téléphonique et reliés directement au relai A par les contacts / et a d'une part, r et a' de l'autre.
Le poste est donc immobilisé. Le poste central répond en appuyant sur la clef d'appel du poste 1 ; il envoie ainsi un courant positif sur le fil 1.
Le courant a pour effet, au poste 2, de faire fonction ner l'armature — du relai A, ce qui maintient le balancier dans la position « Occupé » qu'il a prise précédemment.
Au poste 1, au contraire, c'est l'armature + qui fonctionne et ferme le circuit de la pile locale sur la sonnerie S.
La communication du poste 1 avec le central ou l'abonné demandé se fait ensuite à la manière ordinaire, le commutateur à levier ayant mis hors circuit la clef d'appel. et le relai A. Dès que le téléphone est raccroché, le transmetteur automatique du signal de fin de conversation fonctionne.
Il a pour effet, comme on l'a vu, de mettre à la terre le pôle négatif de la pile d'appel et d'envoyer simultanément un courant positif sur chacun des fils 1 et 2. Un courant positif entre donc au poste 2 dans chacune des bobines du relai A dont les deux armatures sont attirées.
La pile locale est alors fermée sur l'électro-aimant E dont l'armature ramène le balancier CD à la position normale.
Tout est rétabli dans l'état initial. Gomme on peut s'en rendre compte par le détail qui précède, l'organisme de ce système est relativement peu compliqué et chacun des postes est relié au bureau central par deux fils seulement.

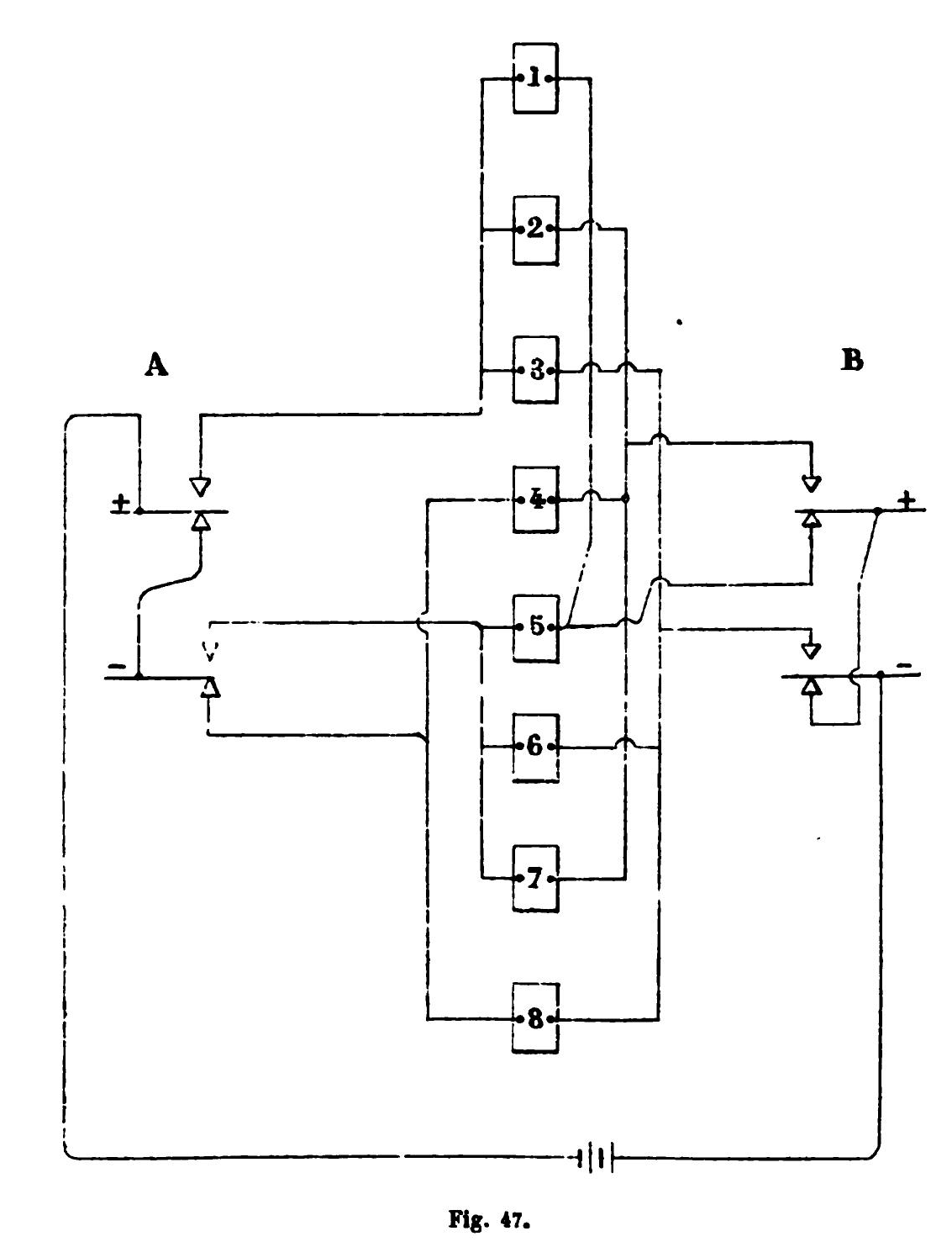
On conçoit tout de suite qu'il est facile en adjoignant un deuxième relai analogue au relai A de multiplier considérablement le nombre des abonnés reliés ainsi en embrochage.
La fig. 47 indique théoriquement un agencement de circuits qui permet d'actionner un quelconque des huit électro-aimants à l'exclusion des sept autres et cela à l'aide des quatre armatures de deux relais polarisés.
fig 48.
Voici la liste des jeux d'armatures correspondants à chacun des huit électro-aimants.
Deux relais polarisés permettent donc sur une ligne
donnée à double fil de réaliser huit opérations distinctes.
Dans une communication téléphonique en embrochage deux opérations se font à l'aide du même procédé électrique dans tous les postes.
Ce sont la réponse à un appel et le signal de fin de conversation, signal qui ramène à l'état libre les postes isolés.
Il reste encore six opérations distinctes possibles
qui correspondront aux appels individuels des postes.
On peut donc relier en embrochage six postes.

Un arrangement schématique de ce genre est effectivement représenté ici (fig. 48).
On y a figuré un poste central et cinq abonnés.
Dans le poste central, A est un annonciateur polarisé, Il est un relai polarisé également, dont l'armature est attirée sous l'influence d'un courant positif, R' est un relai ordinaire fonctionnant sous l'action d'un courant de sens quelconque. R, F, 1, 2, 3, 4, 5 sont les clefs d'appel destinées : R à répondre aux appels, F à donner le signal de fin de conversation (cette dernière clef est supprimée si chaque appareil téléphonique est pourvu d'un transmetteur automatique), les cinq autres à appeler le poste dont elles portent le numéro.

On a indiqué seulement sur le croquis, pour en faciliter la lecture, le signe du pôle des piles aboutissant à chacune des butées.
De même, dans les postes d'abonnement, S est la sonnerie, E et F sont les électro-aimants d'un électrocommutateur à balancier : on n'a point marqué leurs
frotteurs. Rappelons que suivant que l'électro E ou E'. fonctionne, la ligne est mise sur les relais R^ et R, soit directement, soit à travers l'appareil téléphonique. Rj et Rj sont des relais polarisés à deux armatures , on a marquées chacune d'elles du signe + ou — suivant qu'un courant positif ou négatif les fait fonctionner. La clef R répond aux appels, la clef F donne le signal de fin de conversation (elle devient inutile comme dans le poste central en cas d'émission automatique de ce signal), les autres clefs enfin servent à appeler la station centrale ou les autres stations.
Supposons maintenant que le poste 5 désire le poste 2. L'abonné 5 appuie pour cela sur la clef 2 qui transmet un courant positif sur le fil 1 de la ligne et un courant négatif sur le fil 2. Il décroche ensuite son téléphone pour mettre ses relais Rj et R^ hors du circuit et porte les écouteurs à
l'oreille pour entendre la réponse du poste 2. Au poste central les deux relais attirent leurs armatures, aucun courant local ne fait donc marcher l'an-
nonciateur. Dans les postes 1, 2, 3 et 4, l'armature + du relais Rj et l'armature — du relai R'^ sont attirées. Le circuit de la pile locale des postes 1, 3, 4, reste ouvert; au poste 2, au contraire, le courant de la pile locale est fermé : il passe en effet par l'armature -j- du relai R, et son contact supérieur, traverse la sonnerie et revient au pôle négatif en passant par le contact supérieur de l'armature — du relai R\.
L'abonné est bien appelé. Le poste 2 répond en appuyant sur la clef R qui transmet un courant négatif sur le fil 2. Le poste central n'est pas plus dérangé que la première fois puisque son relai R' marche seul : l'annonciateur A reste au repos. Aux postes 1, 3 et 4, au contraire, l'armature — du relai R^ est attirée. Elle ferme le circuit de la pile locale dans l'électro-aimant E' de l'électro-commutateur. Dans chacun de ces postes, l'appareil téléphonique et les clefs d'appel sont alors exclus, et le signal « ligne occupée » apparaît. Tous les appareils autres que ceux des postes 2 et 5 ont disparu de la ligne. Les deux abonnés causent en toute sécurité.
La conversation terminée, chacun d'eux accroche son téléphone, et si les appareils sont pourvus de l'organe nécessaire le courant de fin de conversation est envoyé automatiquement dans le sens voulu : sinon il faut appuyer sur les clefs F qui l'une et l'autre dans ce cas transmettent un courant positif sur la ligne 2 ramenant tous les postes en l'état initial.
En effet, chez les abonnés 1, 3 et 4, l'armature f du relai R, est attirée : le circuit de la pile locale se ferme sur l' électro-aimant E de l'électro commutateur et le balancier revient à sa position primitive.
On pourrait évidemment mettre au poste central des relais polarisés et un électro-commutateur comme au cinq autres postes. Il a semblé, au contraire, plus pratique d'encombrer moins celle-ci en laissant aux abonnés embrochés sur le même fîl le soin de correspondre directement entre eux. Lorsque le central veut établir une communication, il lui suffit pour s'assurer si le fil est libre ou non d'écouter au téléphone ; il entendra si
une conversation est déjà engagée ou non.
L'inconvénient de la solution de M. Sieur réside dans l'obligation de mettre une terre en dérivation sur chacun des postes. On sait qu'on arriverait facilement à l'atténuer en mettant en avant de la terre une bobine à forte self-induction sur laquelle est dérivé un condensateur.
Il est clair que le prix d'une pareille installation est également assez élevé. Il faut remarquer en revanche qu'un dérangement dans l'une des stations n'entrave pas la marche des autres. C'est un avantage considérable sur tous les dispositifs en étoile. De plus les organes à adjoindre sont des électro-aimants robustes, et il n'y a pas nécessité de recourir à des courants d'intensités variables.
A ce double point de vue il était intéressant d'étudier ce dispositif en détail comme on vient de le faire.

E. ESTAUNIÉ.

sommaire

Article paru dans le 'The Electrical World' du 8 Mars 1884 du 22 novembre 1884 :

Les informations de 1884 lu dans le «The Electrical World» indiquent que les ensembles ont été fabriqués par la Standard Electrical Works, mais pour les deux exemples connus, la seule partie qui permet d'identifier la Standard Electicial Works, est la plaque d'étiquetage.
L'ensemble crochet de commutateur, la magnéto et les bords noir sur les boîtiers sont typiques de Davis & Watts; un autre des fabricants autorisés par l’American Bell Telephone Co..

En 1882 STABLER nous a laissé 3 Brevets le 3 oct 1882,
Brevet 265,455, SIGNAL TRANSMITTER FOR TELEPHONE CALIS, Breveté
Brevet 265,456 COMBINED KEYBOARD, AUTOMATIC SWITCH AND MAGNETO GENERATOR FOR TELEPHONE CALIS
Brevet 265,454
TELEPHONE LOCAL CALL INSTRUMENT
et deux Brevets 306,360 et 306,361, tous les deux Breveté le 7 Oct.1884.
Brevet 306,360 CENTRAL OFFICE INSTRUMENT FOR TELEPHONE LINES.
Brevet 306,361 INDIVIDUAL CALL INSTRUMENT FOR TELEPHONES,

Voici extrait du journal The Electrical World 8 Mars 1884 des pages page 73 , page 74 , page 75 , page 78
L'« Appel téléphonique individuel » « Stabler ». NEW YORK, 8 MARS 1884
L'invention, à cet égard, est précisément dans ces détails d'adaptation que l'attention la plus ciblée a été requise. C'est ici en particulier que la correction des défauts et la correction des déficiences des dispositifs ont été utilisées. L'art de transmettre la parole articulée par l'électricité est considéré et le talent de l'inventeur a été utile, car il a rendu disponibles de nouvelles ressources qui non seulement dépendent de la valeur ou de l'entretien, mais aussi, dans de nombreux cas, de la croissance de l'électricité, qui a résulté des efforts de l'homme pour rendre l'écriture et le téléphoniste aussi bien utiles à sa commodité ou à son échange lui-même.
L'appel téléphonique individuel, « un des aspects les plus importants de la civilisation », et pourtant il est de ceux qui attirent l'attention sur la forme de fonctionnement du central, que nous proposons de décrire dans cet article, est le moins répandu. L'effort inventif a permis d'obtenir de nombreux résultats. Un bref aperçu des difficultés de la signalisation téléphonique servira à montrer son utilité.
Le téléphone, considéré en lui-même, constitue en effet une amélioration dans la construction et le fonctionnement des appareils phoniques. Dans certains appareils, les détails de l'expérience montrent des actions électriques relativement simples. Mais, si l'art de transmettre la parole par l'électricité a effectivement connu une succession d'améliorations telles qu'un degré élevé de... simplement attirer l'attention de l'abonné avec pour qui une communication téléphonique est souhaitée. À cette fin, le téléphone lui-même, bien qu'il ne puisse pas « parler » assez fort, comme on le fait habituellement, peut néanmoins être amené à produire un craquement aigu qui peut être entendu à une certaine distance. Cette méthode de signalisation a été utilisée au début, notamment avec le téléphone Gower-Bell en Europe. La sonnerie électrique s'est toutefois imposée comme le signal le plus pratique et a été adoptée à l'exclusion de tous les autres signaux. Comme moyen de signalisation entre deux stations situées à chaque extrémité d'une ligne ou entre une station et le central, la sonnerie électrique répondait de manière satisfaisante à toutes les exigences. Ce n'est cependant pas dans de telles conditions qu'elle était le plus souvent utilisée. Les économies, tant en termes de coût de construction que de réparation, rendaient très souhaitable qu'une même ligne réponde aux besoins de plusieurs stations, surtout lorsque celles-ci étaient regroupées et situées à une distance considérable du central. Mais, malheureusement, avec un certain nombre de stations sur chaque ligne, la cloche électrique s'est avérée moins adaptée. Les impulsions de courant envoyées sur la ligne depuis n'importe quelle station agissaient sur la cloche de chaque station. Il est donc devenu nécessaire d'établir un code de signaux et de distinguer les stations par le nombre de coups de cloche ou par l'ordre des sons.
De nombreux lecteurs se souviennent sans doute de la gêne occasionnée à une station située sur un circuit très fréquenté par la sonnerie constante de la cloche de signalisation. Le plein développement de son utilité en tant que moyen de perfection a été atteint et il ne reste guère plus à faire. On ne pouvait déterminer s'il était souhaité ou non que par l'intercommunication entre les habitants d'une ville. Mais, aussi excellentes que soient les installations de télé-écoute de chaque appel pour voir si elles étaient souhaitées. Si le téléphone était le bon, ou s'il prescrivait des méthodes d'adaptation particulières, ce qui pourrait être faux à cet égard, il ne l'était pas, et souvent, lorsqu'il répondait à ce qui était émis, cela impliquait nécessairement une certaine complication. Cet art est un art dont la portée et l'utilité, comme le bon signal, impliquaient simplement d'apprendre qu'il s'agissait d'une « erreur » d'appel, tandis que les erreurs dues à une communication mal comprise entre deux points seulement. Au contraire, sa commodité et son utilité pour les entreprises, ou le fait que les modes et dispositifs de signalisation des abonnés aient un impact, il était possible – et souvent probable – que les objectifs sociaux dépendent des facilités qu'il offre pour la communication. Certains inventeurs ont fait l'objet d'études particulières : l'abonné appelant d'un poste communiquait avec plusieurs points, plus le nombre de points était élevé, plus le nombre de points était élevé, et plus les détails étaient détaillés. Les ressources disponibles Pour être interrompue par une autre station sur la même ligne tentant d'accroître l'utilité. Fournir ces installations est l'objectif de la signalisation. Les abonnés d'un central téléphonique reçoivent simultanément le signal. Il n'était pas impossible que la conversation téléphonique puisse être « appropriée » par certaines des méthodes de regroupement et d'agencement des stations et de certains appareils. Le service téléphonique obtenu sous ces conditions n'était évidemment pas très souhaitable..


Maintenant, il s'agissait de circuits et du regroupement des stations. Les conditions n'étaient évidemment pas très souhaitables. Il ne fallut pas longtemps aux téléphonistes pour reconnaître la nécessité d'un changement de procédure ou de système afin d'éviter ces difficultés. De deux choses l'une : soit il fallait produire un nouveau dispositif d'appel permettant à l'opératrice de signaler chaque abonné sur une ligne donnée « individuellement », sans déranger les autres, soit, à défaut, la seule alternative était l'abandon total de la ligne « circuit » ou « combinée ». Le premier remède, s'il était possible, était évidemment plus souhaitable que le second, car il n'entraînait pas la complication et les dépenses liées à la mise en place de lignes séparées, circonstance qui augmentait nécessairement le coût du service et limitait la croissance et l'extension du système. commodité ; il n'y avait guère plus de raisons de le recommander dans tous les cas. Il est plutôt regrettable que l'adoption du système de fil spécial ait eu lieu dans de telles conditions. Le fait qu'il s'agisse d'une nécessité au moment de son adoption, et aussi que cela soit suffisant. Une adaptabilité aisée au central téléphonique tel qu'il est resté en possession du terrain pendant longtemps, a engendré un certain conservatisme en sa faveur parmi les téléphonistes. C'est un obstacle aussi sérieux au mérite. Le service devrait être individuel dès l'introduction de l'« appel individuel » – maintenant que le problème a été résolu avec succès et de manière pratique – a été résolu avec succès, comme on l'appelle aujourd'hui, et, ce qui est plus important, seul le poste souhaité doit être qualifié. Préjudice engendré par les échecs des premières tentatives : la station devait bénéficier des communications téléphoniques mentionnées ci-dessus. Il est indéniable que le système spécial avec le central téléphonique en même temps, de sorte qu'aucun autre sur le même circuit ne puisse interrompre ou interférer. Pour résoudre le problème de la fourniture d'un bon horaire, il est nécessaire de prévoir des moyens permettant à une station de desservir l'abonné. Ce système n'est pas exempt de défauts. Cependant, la connexion à une autre sur le même fil, si l'occasion le requiert, indépendamment des considérations d'économie, est nécessaire. Le système Stabler offre ces avantages. L'intérêt d'un « système d'appel individuel » étant la multiplication des circuits qu'il nécessite, de nombreux inventeurs ont concentré leurs compétences sur la source des nombreux « croisements » et « mises à la terre », qui souvent… Le principe de ce système d'appel individuel est celui de la perfection d'un tel système. Les premiers dispositifs testés perturbent la sérénité de l'abonné tout autant que le mouvement pas à pas.
Fig 1a Fig 1b
En appuyant sur l'une des touches numérotées… touches ou boutons-poussoirs disposés en cercle sur la surface de l'appareil appelant (Fig. 1 b), une aiguille au centre de ce cercle commence à se déplacer pas à pas jusqu'à pointer vers la touche enfoncée. Simultanément, les aiguilles de chaque appareil de l'abonné (Fig. 1 a) ont parcouru simultanément le même nombre de pas. Dans cette situation, l'aiguille du poste souhaité effectue un circuit par la sonnerie, qui ne sonne toutefois que lorsque la « touche d'appel » C de l'appareil appelant est enfoncée. Comme aucune sonnerie des autres postes n'est en circuit lorsque les aiguilles sont dans cette position, seule la station souhaitée est signalée. Comme il est toutefois possible que certaines aiguilles ne se déplacent pas en harmonie avec les autres, des dispositifs permettant d'obtenir l'unisson doivent être prévus. Afin de comprendre comment ces résultats et d'autres sont obtenus, nous étudierons en détail la construction de l'appareil. La figure 7 montre l'appareil de l'abonné, couvercle rabattu, les connexions électriques étant indiquées en pointillés.

La figure 6 montre une vue en plan du mécanisme de déplacement ou de réglage de l'aiguille d'indexation. Ce mécanisme est d'ailleurs identique à celui de l'appareil d'appel. L'indexation L est portée par l'axe d'une roue à 20 dents placée derrière un disque w en ébonite, comme l'indiquent les pointillés de la figure 7. Le mouvement de la roue est assuré par un double cliquet fixé à un bras c, prolongé vers le haut depuis l'armature B, et qui se déplace latéralement lorsque l'armature B oscille entre les pôles des aimants du moteur (AA', figure 6).

L'invention, à cet égard, est précisément liée à ces détails d'adaptation qui ont nécessité une attention particulière. C'est ici en particulier que la correction des défauts et la correction des déficiences des appareils ont été mises à profit.
L'art de transmettre la parole articulée par l'électricité est considéré et le talent de l'inventeur a permis de mettre à disposition de nouvelles ressources qui non seulement l'une des applications les plus merveilleuses et les plus utiles, mais aussi, dans bien des cas, les questions de coût et d'efficacité, qui intéressent le sous-traitant, ont une incidence directe sur la commodité et le coût de construction résultant des efforts de l'homme pour rendre l'écrivain et le téléphoniste aussi bien utiles que nécessaires à la maintenance, et dans bien des cas, au développement de l'électricité.
L'appel téléphonique individuel est un élément de la civilisation, et pourtant, il est l'un de ceux qui attirent l'attention sur le fonctionnement du central. La forme que nous proposons de décrire dans cet article est celle qui exploite le moins les vastes ressources de cet agent inventif subtil. Un bref aperçu des difficultés rencontrées permettra de démontrer son utilité. Le téléphone, considéré en lui-même, constitue une amélioration dans la construction et le fonctionnement des appareils phoniques. Dans certains appareils, les détails de l'expérience montrent des actions électriques relativement simples. Mais, si l'art de transmettre la parole par l'électricité, par exemple, a connu une succession d'améliorations telles qu'un degré élevé de difficulté est simplement destiné à attirer l'attention de l'abonné avec lequel une communication téléphonique est souhaitée. À cette fin, le téléphone lui-même, bien qu'il ne puisse pas « parler » suffisamment fort, comme on le fait habituellement, peut néanmoins être amené à produire un craquement aigu et audible à distance. Ce mode de signalisation fut utilisé au début, notamment avec le téléphone Gwer-Bell en Europe. La cloche électrique s'imposa cependant comme le signal le plus pratique et fut adoptée à l'exclusion de tous les autres signaux. Pour la signalisation entre deux postes situés à chaque extrémité d'une ligne ou entre un poste et le central, la cloche électrique répondait parfaitement à tous les besoins. Ce n'est cependant pas dans ces conditions qu'elle fut le plus souvent utilisée. Les économies, tant en termes de coûts de construction que de réparation, rendaient très souhaitable qu'une même ligne puisse desservir plusieurs postes, surtout lorsque ceux-ci étaient regroupés et situés à une distance considérable du central. Malheureusement, avec plusieurs postes sur chaque ligne, la cloche électrique s'avéra moins adaptée. Les impulsions de courant envoyées sur la ligne depuis chaque poste agissaient sur la cloche de chaque poste. Il devint donc nécessaire d'établir un code de signaux et de distinguer les stations par le nombre de coups de cloche ou par l'ordre des sons. De nombreux lecteurs se souviennent sans doute de la gêne occasionnée par la sonnerie constante d'une cloche de signalisation pour une station située sur un circuit très fréquenté. L'abonné a atteint son plein potentiel en tant que moyen de communication, et il ne lui reste guère plus à faire. L'intercommunication entre les habitants d'une ville ne permettait de déterminer s'il était souhaité ou non. Cependant, aussi excellentes que soient les installations de téléécoute de chaque appel pour vérifier s'il était le bon ou non, elles imposent des méthodes d'adaptation particulières, ce qui implique souvent une certaine complication. L'art est un art dont la portée et l'utilité, comme le bon signal, ne se limitent qu'à apprendre qu'il s'agit d'une « erreur » d'appel, tandis que les erreurs dues à une mauvaise compréhension de la communication entre deux points. Il ne suffit pas que le téléphone offre des fonctionnalités supplémentaires. C'est simplement pour cela que ces fonctionnalités sont nécessaires. Les signaux étaient plus ou moins fréquents. De plus, à l'inverse, sa commodité et son utilité pour les entreprises, ou encore le fait que les modes et dispositifs de signalisation des abonnés aient une certaine utilité, il était possible – et souvent probable – que les objectifs sociaux dépendent des facilités qu'il offre pour la communication. Certains inventeurs ont fait l'objet d'études spécifiques. L'abonné d'une station communiquait avec plusieurs points, plus le nombre de points était élevé, plus l'utilité était importante. Les ressources disponibles pour la signalisation étaient interrompues par une autre station sur la même ligne tentant d'accroître l'utilité. Fournir ces facilités est l'objectif du « central téléphonique », qui incarne une certaine méthode. Dans de nombreux cas, un facteur intéressant et important, car la conversation pouvait être « appropriée » par certains appareils, influençant le nombre et la répartition des autres stations. Le service téléphonique obtenu sous ces conditions était désormais un facteur de regroupement et d'agencement des stations. Les conditions n'étaient évidemment pas très favorables.

Cette armature (B) est polarisée et constituée d'un aimant permanent en U. Il est donc évident que, lorsque des courants alternatifs traversent les aimants du moteur, l'aiguille de l'index se déplace pas à pas. Le disque en ébonite est entouré d'un rebord en laiton (v), que l'extrémité extérieure de la bande de l'index touche en tournant. Si l'on suppose que l'aiguille pointe vers la gauche plutôt que vers la droite, et que l'on suit les connexions depuis h (« ligne d'entrée »), on constate que le circuit passe par les aimants du moteur et de là jusqu'à l'index (à travers le châssis). De l'index jusqu'au bord v, par le fil 24 qui, en 3, mène à n (sortie de ligne), puis par les autres stations. Lorsque l'index atteint la position illustrée à la figure 7, son mouvement est arrêté, car son extrémité extérieure heurte l'extrémité Q (figure 6) d'un ressort délicat fixé à l'armature des aimants de détente (figure R, figure 6). Dans cette situation, l'index ne touche plus le bord v, qui est coupé à cet endroit, mais repose contre le bord d'une bande i insérée dans le disque d'ébonite w. Le circuit est alors très différent. Le courant, au lieu de passer par le fil 24, traverse les aimants de détente et, de là, est si rudimentaire et imparfait qu'il est loin d'être suffisant pour mettre à l'épreuve la patience du monteur. On ne peut nier le succès du passage du levier j au ressort k, par le fil 1. En attendant, le circuit étant devenu, de toute façon, une solution coûteuse, et celle qu'il utilise lorsque le téléphone est suspendu, Aussi intolérable qu'insatisfaisant, le plan d'utilisation d'un fil 2 au contact 1, au ressort m et au fil de circuit spécial pour chaque poste d'abonné a été si peu utile qu'ils en ont fait un cadre de la magnéto, qui relie par le fil 3 à la « ligne ». Ce plan offrait un service satisfaisant, mais constituait un luxe et le mettait hors de portée d'un grand nombre. Bien que les aimants de détente soient inclus, il a bien sûr fallu placer le tarif du service à un niveau plus élevé. Si un bon système d'appel individuel fiable était mis à notre disposition, il est probable qu'avec les ressources actuellement mises à notre disposition, il ne bouge pas. Les courants alternatifs utilisés n'ont pas été disponibles, il est probable qu'il aurait été largement adopté, de préférence à ce plan plus coûteux. Mais les pannes répétées de l'appel individuel peuvent être mises à la portée d'un nombre beaucoup plus grand d'abonnés lorsque des impulsions de courant plus fortes dans un sens sont produites à cette époque. Un tarif inférieur, bien que, de fait, l'armature soit retirée de la ligne, ce qui a poussé les compagnies téléphoniques à désespérer de la solution pratique du problème. Ce service serait plus précieux et plus utile pour le sous-réseau, et le résultat a été l'adoption généralisée du scriber, car ces qualités augmentent directement avec le système de circuits spéciaux. Dans certains cas, un petit nombre d'abonnés au central. En bref, en supposant, par exemple, que certaines aiguilles disposent de circuits combinés à tarifs réduits, l'appel individuel est tout aussi souhaitable aujourd'hui qu'il l'était aux débuts de la téléphonie, car c'est précisément ce qu'il faut pour rendre le téléphone plus utile aux compagnies et plus utile à la communauté. Le système d'appel téléphonique individuel Stabler, que nous venons de montrer, est l'exception plutôt que la règle. Ses défauts le rendent tout aussi impopulaire auprès des téléphonistes. Comme illustré ci-joint, il présente donc un intérêt considérable pour les phonistes, car la faute en revient « bien sûr » à cette connexion, car elle satisfait, peut-être pour la première fois.

CONNEXIONS DE L'INSTRUMENT D'APPEL ET DU GÉNÉRATEUR.
Si l'instrument a été retenu ou retardé accidentellement en laissant passer les impulsions alternatives pendant un temps suffisant pour provoquer une révolution complète d'une aiguille d'index, la plus en arrière atteindra la « butée d'unisson » en Q, tandis que celles qui y étaient arrivées plus tôt, étant maintenues de force, ne peuvent pas continuer. Lorsque l'opérateur envoie les impulsions les plus fortes, les aimants de détente sont actionnés simultanément.
Lorsque l'opérateur envoie maintenant les impulsions les plus fortes, les aimants de détente sont actionnés simultanément dans toutes les stations et les aiguilles d'index sont toutes libérées ensemble et sont par conséquent à l'unisson. L'extrémité de l'index est affûtée de sorte que, lorsque l'armature retombe, le petit ressort plat en Q glisse au-dessus, laissant ainsi l'armature libre de se déplacer à nouveau lorsque les courants alternatifs passent sur la ligne. Il s'agit de la position normale de l'aiguille de l'index, et l'abonné qui voit l'index à cette position sait que la ligne est « hors service ». S'il le souhaite, la sonnerie Fiy 5, 6 U est donc introduite successivement dans le circuit et établit un contact continu avec cet anneau. De cette façon, pendant un instant, mais comme les sonneries sont réglées pour ne réagir que lorsque des connexions sont établies avec les balais W, X, et au courant plus fort, elles restent silencieuses. Il est important que le courant alternatif soit obtenu à partir de l'une des bobines de l'armature. Cependant, les aiguilles de l'index s'arrêtent exactement au point souhaité par l'opérateur. Par exemple, si le mouvement des aiguilles se poursuit sur une distance plus longue que l'anneau S, de manière à établir un contact pendant le n° 2 sur le disque W, le shunt du n° 3 est mis en contact à la moitié de chaque tour de l'armature. Le contact du balai, ou si les aiguilles ne bougent que la moitié de l'espace entre 2 V et 3 V, entre en contact avec un segment similaire Tat, l'autre ne serait pas en contact. Ceci est effectivement prévu à l'extrémité de l'arbre, et à ce segment, l'extrémité extérieure de la seconde bobine est connectée. Les balais U et V sont donc automatiquement exclus de la ligne dès que les connexions sont établies entre les balais X et U, le point souhaité est atteint par les aiguilles de l'index. Lorsqu'un abonné répond à la sonnerie, il prend le courant provenant de l'une des bobines ; de même, si les connexions de son téléphone et le mouvement de l'interrupteur J sont effectués entre les balais X et V, un courant intermittent amène automatiquement le téléphone au courant provenant de l'autre bobine. Si maintenant le courant est coupé, les connexions de l'aiguille de l'index étant des balais U et V sont connectés électriquement ensemble lors de la fermeture des circuits : fil 7, ressort a, interrupteur j, ressort q, fil 4. Les deux bobines seront alors connectées à l'émetteur, et de là, comme lorsque l'index touche le circuit parallèle ou divisé. Autrement dit, les deux circuits adopteront la même relation que ceux des deux aimants de détente R 0197 Résistance Coll Fig.7 24 LE MONDE DE L'ÉLECTRICITÉ NY. Pour appeler le commutateur, il tourne la manivelle du générateur et le bouton O, coupant ainsi le contact lors des pressions So .. 1 m, court-circuitant l'armature du générateur. Le circuit va de l'entrée ligne (h) au moteur et aux aimants de détente, fil 1, interrupteur j, ressort k, fil 2, ressort p, à travers l'armature, jusqu'au châssis du générateur, d'où il est relié au fil 3 et à la sortie ligne. La magnéto fournit des impulsions de courant unidirectionnelles, de sorte que les aimants du moteur ne sont affectés à aucun poste. Ceci est obtenu en court-circuitant l'un des courants alternatifs de l'induit. À cet effet, le ressort 2, qui entre en contact avec une broche de l'arbre d'induit à la moitié de chaque tour, est relié par le fil 23 au ressort p. Lorsque l'abonné décroche son téléphone, le levier de commutation j est tiré vers le haut par le ressort (partiellement retiré sur la figure 7). Le circuit est coupé en K, mais il est fermé par le ressort q, via le fil 4, puis l'émetteur, le fil 5, jusqu'au poste r, via le fil 6, puis le téléphone et de là par le fil 2, comme précédemment. La manière précise dont chaque poste est distingué va maintenant être décrite. Lorsque l'aiguille s'écarte de sa position normale et pivote, elle arrive en un autre point où le bord v est également coupé et où une autre bande se projette, semblable à celle en position normale. Sur la figure 7, cette bande est visible en 8, près de la bande i. C'est par cette bande que la sonnerie est intégrée au circuit. Lorsque l'aiguille L touche cette bande, techniquement appelée « shunt de sonnerie », pour la distinguer de la bande i ou « shunt d'unisson », le circuit est relié à l'entrée de ligne : aux aimants du moteur, à l'aiguille, au shunt s, au fil 7, au ressort x, à la charnière t, au fil 8 à la sonnerie, au fil 9 à la charnière u, puis à l'interrupteur j, au fil 2, etc. Dans ce cas, la sonnerie est intégrée au circuit ; mais elle sonne, le ressort de rappel de son armature étant réglé de la même manière que pour les aimants à détente, de sorte que la sonnerie ne réagit qu'aux impulsions de courant les plus fortes. Ces fortes impulsions de courant sont envoyées sur la ligne lorsque l'opérateur appuie sur la touche d'appel C de l'appareil d'appel. Dans la station n° 1, le shunt de l'ell serait placé exactement comme indiqué sur la Fig. 7. Dans la station n° 2 un peu plus à gauche ; dans la station n° 3 un peu plus loin encore, et ainsi de suite.
Sur la Fig. 7, cette bande est visible en 8, près de la bande i. C'est par cette bande que la sonnette de signalisation est incluse dans le circuit. Lorsque l'aiguille L touche cette bande, techniquement appelée « shunt de sonnerie », pour la distinguer de la bande i ou « shunt d'unisson », le circuit est : de la ligne d'entrée aux aimants du moteur, de l'aiguille, du shunt s, du fil 7 au ressort x, de la charnière t, du fil 8 à la sonnerie de signalisation, du fil 9 à la charnière u, de là à l'interrupteur j, du fil 2, etc. Dans ce cas, la sonnerie est incluse dans le circuit ; mais elle sonne, le ressort de rappel de son armature étant réglé de la même manière que dans les aimants de détente, de sorte qu'elle ne répond qu'aux impulsions de courant les plus fortes. Ces fortes impulsions de courant sont envoyées sur la ligne lorsque l'opérateur appuie sur la touche d'appel C de l'appareil appelant. Dans la station n° 1, le shunt de sonnerie serait placé exactement comme indiqué sur la figure 7. Dans la station n° 2, un peu plus à gauche ; dans la station n° 3, un peu plus loin encore, et ainsi de suite. L'appareil appelant et l'appareil des abonnés sont tels qu'ils sont actuellement. Un tel système permettrait d'inclure douze stations dans le même circuit. Il est facile de comprendre maintenant que lorsque la ligne d'entrée, la ligne de sortie et les aimants de la cloche sont simultanément court-circuités. Comme les moitiés d'une armature de Gramme, la résistance interne des aiguilles de toutes les autres stations est en contact avec le bord v, il est évidemment impossible pour une autre station de voler le message. L'armature est ainsi réduite à la moitié de la résistance de chaque bobine. La résistance de chaque bobine étant d'environ 2 700 ohms, on constate aisément qu'une forte augmentation de l'intensité du courant résulte d'une telle réduction de la résistance du circuit (1 350 ohms). Venons-en maintenant aux dispositifs utilisés au central pour produire et contrôler les courants. Nous avons vu que les courants utilisés ont un caractère particulier. Premièrement, lorsque Ces courants « plus forts » doivent être utilisés, le mouvement de l'aiguille des index est provoqué par une bobine de résistance traversée par les courants alternatifs et, deuxièmement, les aimants de détente et l'aimant de cloche. Les réseaux nécessitent des impulsions de courant unidirectionnelles de puissance bien supérieure. Ce générateur peut être placé à proximité de toute source d'énergie, ou, lorsque l'énergie n'est pas disponible, il peut être actionné par un courant électrique, tous deux alimentés par une pédale spéciale. Les index sont tous à une position donnée sur le cadran, car ils sont préférables. La disposition illustrée à la figure 1 est très variable lorsque l'appareil est correctement utilisé. Il diffère nécessairement quelque peu dans l'équipement complet nécessaire à chaque tableau. La touche d'appel de table C, pour la raison évidente qu'une seule construction et dans les connexions. Ces particularités mesurent 18 x 24 pouces, et l'instrument d'appel est inséré dans l'index est en contact avec un shunt de sonnerie.

Les index doivent être compris en se référant à la figure 3. Sur le bras, son sommet. Le générateur est convenablement monté en dessous, et aux autres postes sont tous en contact avec le bord v de la structure se trouvent deux bobines enroulées dans le même sens, avec leurs extrémités intérieures reliées à son axe, qui se prolonge hors du circuit. Ainsi, lorsque les index se déplacent vers l'avant, et avec lequel la brosse X est en contact électrique continu ou pour la commodité de l'opérateur. La figure 1 montre ce contour autour d'un tour complet, le shunt de sonnerie, au n° L'extrémité de l'une des bobines, telle qu'appliquée à un tableau standard, est d'abord mise en contact avec le pôle 1, puis la cloche est connectée à un shunt de commutateur isolé Sat en pôle 2, puis en pôle 3, et ainsi de suite jusqu'au dernier. L'autre extrémité de l'arbre et le balai W auquel est connecté un circuit de six sonneries CC, etc. Il est évident que le même équipement peut être utilisé pour la signalisation sur tous les circuits reliés au même standard. L'équipement peut en fait être utilisé pour exploiter autant de circuits de deux à douze postes chacun que l'opérateur peut gérer. La figure 2 montre un plan de l'appareil d'appel (Fig. 1, b), le générateur (Fig. 3) étant placé à proximité pour faciliter le suivi des connexions.

La figure 4 est une coupe réduite, montrant une élévation latérale de la touche d'appel C et de ses connexions.
La figure 5 est une coupe de l'appareil d'appel passant par le centre de 6 à U. Le mécanisme par lequel l'aiguille d'index L est déplacée est le même que sur la figure 1, le double cliquet D D, les aimants du moteur A A' et l'armature polarisée B étant utilisés en appuyant sur la touche d'appel C, et le cran Q est ainsi déplacé par l'armature Z hors de la trajectoire de l'index. L'index ne bouge cependant pas de sa position, car, comme indiqué précédemment, le courant d'amplification n'est pas alternatif et ne peut donc pas actionner l'armature polarisée B. Deux sociétés se disputent un bureau. Une lutte entre les sociétés Western Union et Baltimore & Ohio Telegraph, à Philadelphie, pour la possession de la succursale de la banque Howell Brothers, a suscité beaucoup d'agitation dans cette ville au cours de la semaine en cours. L'utilisation du bouton marqué « IND » (indicateur) correspond à l'indicateur Howell Brothers a été suffisamment aimable il y a quelque temps pour permettre à la Western Union d'être connectée ensemble. Comme une seule station est en circuit dans une société pour avoir un bureau à son étage, South Third fois lorsque les aiguilles de l'index occupent une autre position ex-rue. Récemment, cependant, la société a souhaité faire un accord selon lequel l'unisson, la connexion entre deux abonnés change et donner l'espace à la Baltimore & Ohio sur le même circuit ne peut donc être effectuée que dans cette société, qui est prête à payer un loyer. Dans de tels cas, ils ont informé la compagnie Western Union à cet effet, mais les officiers de la clé IND est enfoncée, ce qui a déplacé tous les index. Cette compagnie a refusé de bouger, revendiquant un droit de possession d'un point, indiquant ainsi que la ligne est en session. Sur ce, la compagnie s'est mise au travail pour affamer la garnison entretenue par la compagnie, mais ce n'était pas le cas des shunts de cloche jusqu'au 3 courant qu'ils ont atteint leur objectif de donner possession aux habitants de Baltimore & Ohio. Vers 13 heures, MM. Howell Brothers, accompagnés d'un agent de police muni d'un mandat, et suivis du surintendant adjoint Jones et d'une petite armée d'ouvriers de Baltimore & Ohio, sont arrivés au bureau des Howell Brothers. La porte à barreaux solides leur a été ouverte et ils sont entrés dans le bureau. L'agent de police s'est approché de l'enclos d'angle, a regardé par la petite fenêtre l'opérateur Conn, qui se tenait à l'intérieur, et l'a informé qu'il avait un mandat d'arrêt contre lui pour violation de propriété. Conn, après avoir examiné le mandat, a objecté, déclarant que l'utilisation. déplacé à ce point. « indiqué en pointillés.» Le bureau des bras d'échappement E E est de vérifier le mouvement ultérieur de l'index à partir de l'élan, une fois chaque mouvement de cliquet terminé. L'armature de l'aimant R (Fig. 5) est munie d'un détecteur Q, dont la fonction est identique à celle de l'instrument de la station. Le temps nécessaire pour signaler un abonné est très court. À l'extérieur du cadran et concentriques à celui-ci se trouvent deux anneaux métalliques, l'un dans l'autre, et vissés sur une plaque de base en caoutchouc. Sur la Fig. 5, ces anneaux sont visibles en coupe. Le signal peut être facilement émis en deux secondes. 'étant l'intérieur sur lequel sont pivotés les leviers à clé G, Un grand avantage du système Stabler est qu'il fonctionne normalement aussi bien sur des lignes de résistances très variables avec l'anneau extérieur J. Ce contact se produit lorsque l'un d'eux est normalement empêché par les ressorts I d'établir un contact sans changement de réglage.
Lors d'expériences, les boutons sont enfoncés. Les connexions du générateur et de l'appareil d'appel sont les suivantes : le balai Wi est normalement connecté à la borne Y, le circuit passant d'abord par les fils 1 et 2, la bobine de résistance, le fil 3, la borne 4, le ressort de l'interrupteur N, le fil 5, l'aimant du moteur A', le fil 6, l'aimant du moteur A', le fil 7, le fil 8, les aimants de détente R, R et les fils 10 et 11. Nous avons été très favorablement impressionnés par le fonctionnement de l'appareil, tout comme de nombreux téléphonistes éminents qui l'ont également examiné. Inutile de préciser qu'il est équipé du fil 8, des aimants de détente R, R et des fils 10 et 11. L'appareil a passé le stade expérimental. Pour le prouver, « Il faut tout démolir », a déclaré quelqu'un. La terre du générateur est reliée à une borne de terre. Il suffit de dire qu'il a résisté à l'épreuve de six hommes de Baltimore et de l'Ohio qui se sont lancés dans l'affaire. Le circuit étant complété par la brosse X, les fils Y et Y, s'accrochant à la structure en noyer par son sommet, ont été mis en pièces, le verre se brisant en fragments, la table, reliée à la fois à l'entreprise et aux cinq abonnés du circuit, par l'enfoncement de l'une des clés, les instruments : piles, horloge, plumes, encre, blancs et un G, complétant le circuit par l'anneau H et le fil 14, quelles que soient les conditions atmosphériques. Il est maintenant en opération réussie sur les lignes de plusieurs compagnies de téléphone, une centaine d'autres choses, dont une bouteille, une brosse U est reliée par les fils 15 et 16, au quart pleine de whisky, tombant au sol avec fracas, avec la vis de contact 17 (illustrée à la figure 4), et d'autres envisagent son adoption, son utilisation ayant été entièrement autorisée par la seule American Bell Telephone. En un instant, l'agent de police avait enjambé l'épave et capturé l'opérateur, puis l'a conduit jusqu'au bureau du magistrat Lennon. Tous deux étaient des débris, la vis de contact 17 étant en dessous, mais sans contact, et la brosse U est reliée par les fils 18 et 19 au ressort O.
L'appareil d'appel individuel Stabler est fabriqué par la Standard Electrical Works de Cincinnati, et d'autres envisagent son adoption, son utilisation ayant Ainsi, on verra que le générateur peut fonctionner en permanence grâce à la propriété située au n° 48 South Third Street, pour la Stabler Signal Company de Washington, DC, qui contrôle les nombreux brevets qui la sous-tendent.

sommaire

Une belle réstauration
Ce n'est pas commun de trouver un téléphone super rare car, très souvent, il est incomplet, des pièces sont manquantes ou endommagées.
Ce fut le cas avec le téléphone Stabler Individual Call que j'ai acquis.
Le premier obstacle que j'ai eu était de trouver un autre exemple et / ou une documentation sur ce à quoi il devait ressembler.
Le seul modèle complet connu qui existe aujourd'hui se trouve au South Georgia Rural Telephone Museum. Je tiens à remercier le Musée de m'avoir fourni des mesures détaillées et des photos des deux ensembles.
Ces deux ensembles connus sont fabriqués de manière similaire au brevet américain 265 454 déposé le 2 mai 1882 et délivré le 3 octobre 1882 avant le rachat par la Standard Electrical Works de la licence de Post & Co. pour fabriquer des téléphones pour l'American Bell.
Heureusement pour moi, la plaque d'identification était toujours visée au téléphone (avec des dates des breves).
C'était un excellent début car j'ai pu retrouver les brevets en utilisant les dates gravées sur le médaillon :
US235058-Call Appartus-Stabler-11-30-1880
US250594-Pole Changing-Stabler-12-6-1881
US265454-Telephone Local Call-Stabler-10-3-1882
US265455-Signal Transmitter-Stabler-10-3-1882
US265456 -Clé et commutateur-Stabler-10-3-1882
Comme vous pouvez le voir, j'avais du pain sur la planche

Merci à Norm Mulvey pour la magnéto, John Dresser pour le crochet de commutation, Selmer Lowe Jr. pour les réparations du bois et Herb McCartney qui m'a aider à le trouver.
Malheureusement à ce jour, je n'ai pas pu terminer le téléphone. Il manque l'un des composants clés à l'intérieur; l'armature polarisée vibrante, les électro-aimants, le cadran et l'ensemble identique à celui du musée.
Si vous avez de telles pièces, je voudrais bien certainement les acquérir afin de compléter mon téléphone.
sommaire



sommaire


Brevet 806-360 et 61 en 1884



sommaire