|
Le Téléphone
à jet d'eau de Chichester Alexander Bell
Dans la famille BELL : Chichester Alexander Bell
était le cousin d' Alexander Graham Bell
et a joué un rôle déterminant dans le développement
du graphophone, nom et la marque déposée d'une version
améliorée du phonographe, qui est la première machine
à dicter.
Avant de s'installer à Washington, D.C. pour rejoindre le laboratoire
Volta de son cousin Alexander Graham Bell , Chichester était professeur
adjoint de chimie à l'University College de Londres .
En 1881, Chichester Bell commença à travailler avec Alexander
et leur associé Charles Tainter pour remédier aux défauts
du phonographe de Thomas Edison .
Les trois hommes créèrent la Volta Laboratory Association
pour détenir leurs brevets.
Le développement réussi du graphophone mena à la
création de la Volta Graphophone Company à Alexandria, en
Virginie, en février 1886, par les principaux intéressés
et le frère de Chichester, l'avocat et banquier Charles B. Bell.
Alors qu'il vivait à Washington, D.C. , Chichester Bell fut l'un
des membres fondateurs de la section de Washington de la Chemical Society
.
M.C. Bell retourna ensuite à l'University College de Londres pour
poursuivre ses recherches scientifiques. En 1887, il publia « Sympathetic
Vibration of Jets » dans les Philosophical Transactions
of the Royal Society . Chichester Bell contribua également à
la création de la société Edison Bell . Cette dernière
fut fondée le 30 novembre 1892 à Londres pour commercialiser
les phonographes produits par l'Edison United Phonograph Company.
Bell a reçu la médaille John Scott du Franklin Institute
en 1900. Il a épousé Antoinette Ives en 1889 à Montréal,
Québec, Canada et est décédé à l'hôpital
Radcliffe Infirmary, St Giles, Oxford, Oxfordshire, Angleterre, le 11
mars 1924.
Comme son cousin C A Bell déposa des brevets :
Brevet américain n° 336
081, Emetteur pour lignes téléphoniques électriques
, déposé en mai 1884, délivré en février
1886
Brevet américain n° 336
082, Microphone à jet ou appareil pour la transmission de sons
au moyen de jets , déposé en mai 1884, délivré
en février 1886
Brevet américain n° 336
083, Emetteur téléphonique , déposé en
avril 1885, délivré en février 1886
Brevet américain 341
212 : Reproduction des sons à partir de disques phonographiques
(sans utilisation de stylet ni usure), déposé en novembre
1885, délivré en mai 1886 (avec Alexander Bell et Charles
Tainter)
Brevet américain 341
213 Transmission et enregistrement de sons par énergie rayonnante
, déposé en novembre 1885, délivré en mai
1886 (avec Alexander Bell et Charles Tainter)
Brevet américain 341
214 Enregistrement et reproduction de la parole et dautres sons
(améliorations incluant une tête de coupe flexible, une surface
en cire et un disque à vitesse linéaire constante), déposé
en juin 1885, délivré en mai 1886 (avec Charles Tainter)
sommaire
Mai 1886 vu dans "La Lumière Electrique"
LES DERNIERES RECHERCHES DU PROFESSEUR BELL, SUR LA RADIOPHONIE ET LA
PHONOGRAPHIE.
--- Les dernières recherches du professeur Bell (C.A Bell) et de
ses amis ont de nouveau attiré lattention du public sur le
phonographe Edison dont personne ne soccupait plus. Ces électriciens
ont imaginé, pour reproduire et enregistrer la parole, une méthode
qui a été fort remarquée ici.
Avant de passer à la description de lappareil en question,
nous allons examiner les études pré liminaires qui ont été
faites par MM. Chichester, A. Bell, le professeur A.
G. Bell, et Sumner Tainter, et dont M. C.
A. Bell a longuement parlé dans une conférence faite
à la Royal Society
Après avoir esquissé les travaux de Savartsson,
Sondhauss, Kundt, Laconte, Barret, Tyndall, Decharme et Neyreneuf, sur
les vibrations sympathiques des flammes, lauteur a parlé
de ses propres expériences. Il a été amené
à étudier cette question, en observant par hasard que les
pulsations dun jet dair dirigées contre une flamme
firent rendre à cette dernière un son musical. La hauteur
de ce son dépendait uniquement de la rapidité des pulsations,
mais son intensité augmentait dune manière remarquable
avec la distance entre la flamme et louverture.
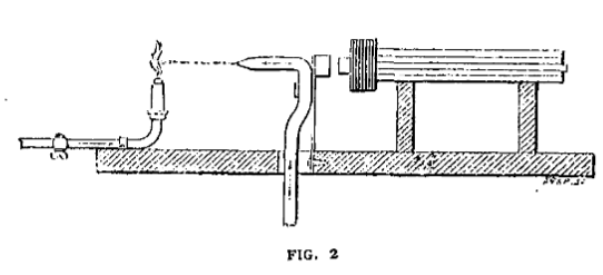
Pour bien étudier ce phénomène, on soufflait de lair
contre la flamme par un petit trou pratiqué dans le diaphragme
dun téléphone ordinaire dont la chambre, derrière
le diaphragme, était en communication avec un réservoir
dair sous une faible pression (fig. 1).

On excitait ensuite des mouvements vibratoires dans le diaphragme, au
moyen dune pile et dun microphone ou rhéotome placé
dans une autre pièce, et lon découvrit que la flamme
pouvait reproduire et faire entendre non seulement les sons musicaux chantés,
mais aussi la parole articulée.
Certaines observations ont fait soupçonner à lauteur
que le phénomène était dû plutôt à
un mouvement de louverture dans le diaphragme qua compression
de lair dans la chambre der rière celui-ci. En effet, on
obtenait exactement les mêmes résultats, en cimentant un
tube léger en verre à une armature en ter doux, montée
sur un ressort en face de laimant du téléphone (fig.
2).
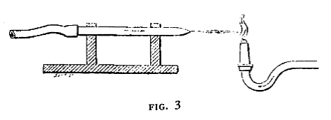
Dautres expériences ont démontré quun
jet dair sous une pression convenable, dirigé contre une
flamme répète tous les sons ou mots prononcés dans
son voisinage (fig. 3).

Il faut cependant excepter le cas où les vibrations imprimées
ne diffèrent pas beaucoup des vibrations normales du jet dair
(découverte de Sondhauss et Masson) Ces effets passent souvent
inaperçus, parce que loreille ne peut pas distinguer entre
les sons et leur reproduction, par la flamme, sous forme d'écho.
Dans ces expériences, laction primaire des vibrations imprimées
sexerçait sans aucun doute sur le jet dair ; mais il
se produisait un effet singulier et étrange, car en remplaçant
la flamme par un tube évasé, tenu à loreille,
on nentendait rien ou des sons très faibles seulement. Supposant
enfin que les changements dans le jet dair qui produisaient les
sons de la flamme devaient être des changements relatifs dans les
différentes parties du jet, lauteur fit lessai dune
très petite
ouverture, à peu près de la même dimension que louverture
du jet (fig. 4). Le résultat fut surprenant.
En plaçant ce petit orifice sur le chemin dun jet dair
vibrant, les vibrations se font entendre de très loin. Cest
à peine si lon peut les entendre tout près de lorifice
du jet, mais leur intensité augmente dune façon remarquable
au fur et à mesure quon éloigne louverture,
par laquelle on entend le long de laxe du jet, et elles atteignent
un maximum à une certaine distance de celui-ci. Des expériences
faites avec de lair enfermé ont démontré que
ce point de maximum est celui
auquel le jet perd son caractère de dard et se développe
rapidement; on la appelé le point dinterception, parce
que, dès quil est passé, les sons deviennent indistincts
et se perdent complètement à une plus grande distance. La
distance entre ce point et lorifice diminue au fur et à mesure
quon augmente lintensité des vibrations, et dépend
aussi dans une certaine mesure de la hauteur de celles-ci ainsi que de
la vitesse du jet. Avec des orifices dun diamètre de 1 à
i,5 m. m., la distance varie généralement de 1 à
6 centimètres.
On peut aussi entendre les vibrations dun jet dair en dehors
des points situés dans laxe, mais elles ne sont pas aussi
intenses et se perdent rapidement au fur et à mesure quon
séloigne de laxe.
Il est facile de renouveler ces expériences avec des tubes en verre
et avec un léger sac de gaz comme réservoir ; mais lauteur
a décrit un appareil simple pour des expériences plus exactes.
Lauteur a tiré les conclusions générales suivantes
de ces expériences :
Un jet dair sous une pression modérée (au-dessous
de celle de 10 millimètres deau), traversant un orifice dun
diamètre de i à 1,5 millimètre, forme une colonne
continue sur une certaine distance au-delà de laquelle il se disperse
et se diffuse.
Un jet dair vibrant, projeté dans l'air libre, donne lieu
à de très faibles sons, qui cependant deviennent beaucoup
plus forts, si la colonne dair frappe un obstacle quelconque qui
la sépare en deux. La meilleure disposition de ce genre consiste
en une surface perfotée dont lorifice se trouve dans laxe
du jet.
A une pression de 10 à 12 millimètres deau, un jet
dair reproduira tous les tons de la voix humaine, ainsi que ceux
généralement employés en musique, à lexception
des notes très criardes ou sifflantes.
Quand la pression dans le réservoir est égale à 13
millimètres deau, les sons sifflants sont bien reproduits,
tandis que les notes basses ne viennent que faiblement. A des pressions
plus considérables, jusquà 25 millimètres deau
environ, les notes sifflantes produisent un très grand effet, tandis
que la parole nen produit presque pas.
Mais à ces pressions, les sons dune tonalité élevée
produisent souvent dans le jet des sons plus bas, dont ils sont les harmoniques.
En général, la pression de 12 millimètres deau
est la meilleure pour la reproduction de la parole et de la musique. Dans
ces conditions, le jet est très sensible à toute espèce
de dérangements et peut reproduire la parole, la musique et les
sons irréguliers classés comme bruits.
Un jet dair qui séchappe dun orifice parfaitement
circulaire ne vibre pas spontanément, de façon à
émettre un son musical ; mais on peut y exciter des vibrations
musicales, en faisant passer lair à travers une cavité
résonnante ou à travers toute autre étranglement
irrégulier, avant quil narrive à lorifice.Quand
un jet dair rencontre une flamme, laudition est la meilleure,
si le courant dair frappe la flamme immédiatement au-dessous
de la base de la zone bleue. Il apparaît au plan de contact un anneau
de flamme bleue qui vibre visiblement, dès que le jet est dérangé.
La production des.sons dépend sans doute des changements dans la
combustion du gaz. On peut le prouver en plaçant dans lanneau
une bande mince de platine reliée en circuit avec une pile et un
téléphone (fig. 5).
Quant le jet est mis en vibration, les modifications de la température
du platine qui en résultent, affectent la conductibilité
de celui-ci et on entend dans le téléphone une faible reproduction
de la vibration du jet.
Il y encore dautres conditions à observer pour avoir une
reproduction parfaite; le diaphragme récepteur, doit, par exemple,
être placé à une distance de lorifice qui ne
permette pas au jet de se partager au-dessus de sa surface, et il doit
être soigneusement isolé de lorifice.Pour renforcer
laction des ondes sonores sur le fluide, il est préférable
dattacher fortement le tube du jet à une planche de résonnance
en bois dune épaisseur denviron 10 millimètres.
Les surfaces de cette planche doivent être libres, mais on peut
la soutenir dune manière quelconque.
Le diaphragme récepteur se compose dun morceau de caoutchouc
mince attaché au-dessus de lextrémité dun
tube en laiton. Le tube du jet communique avec un réservoir élevé
au moyen dun tuyau de caoucthouc (fig. 6).

Pour un appareil de ce genre, dont le tube donnant passage au jet est
assez large, avec un orifice dun diamètre de 7 millimètres,
il faut unepression deau de 1 5 décimètres pour mettre
le jet à même de reproduire tous les sons de la voix humaine
(exceptéles sons sifflants), et ceux généralement
employés dans la musique. Les sons sifflants seront reproduits
avec une pression un peu plus élevée.
Il nest pas facile, pour une oreille non exercée de distinguer
entre les sons émis par la voix et leur reproduction par le jet,
quand les deux se produisent dans la même chambre. On peut cependant
transmettre des vibrations à un jet dune certaine longueur
et dune manière assez satisfaisante, en attachant lune
des extrémités dun cordon mince au support du jet
et lautre au centre dun tambour en parchemin. Après
avoir tendu le cordon, on peut parler, chanter ou siffler devant le tambour,
à lautre bout.
Lauteur décrit également dautres dispositions
pour transmettre les vibrations à distance.
Quand on dérange le jet dune manière quelconque et
que lon introduit le diaphragme dans un canal étroit, près
de lorifice, on nentend presque rien dans lembouchure,
mais si lonécarte le diaphragme de lorifice, tout en
le gardant dans la direction du jet, jusquà une certaine
distance (qui varie suivant la nature de lorifice et lintensité
des vibrations imprimées), on arrive à un point maximum
comme pureté de son et force. A une distance plus grande, la reproduction
devient moins bonne et finit par être inintelligible. Dans ce dernier
cas on voit le jet se briser audessus de la plaque.
On peut tirer de cette expérience les mêmes conclusions que
celles exposées pour les jets dair, cest-à-dire
que tous les changements produits par des sons à lorifice
augmentent, selon la même loi, et que toutes les variations saccomplissent
avec la même vitesse ; cette vitesse est probable ment la moyenne
de la vitesse découlement.
Lune des méthodes les plus élégantes et les
plus intéressantes détude de vibrations dun
jet, consiste à en placer une partie en circuit avec une pile et
un téléphone. On a construit, à cet effet, un certain
nombre dappareils de différents modèles, mais un seul
nous suffira comme type.
Au cours de ses expériences, Savart a démontré que
les vibrations dun jet sont conservées dans la nappe liquide
qui se forme, quand le jet frappe normalement une petite surface. Au point
de vue des changements vibratoires, cette nappe possède toutes
les propriétés du courant principal.
Bien que le diamètre de cette nappe très mince soit à
peu près le même, quelle que soit la distance entre la surface
et lorifice, lintensité des changements vibratoires
propagés jusquà elle varie néanmoins avec cette
distance, quant au jet lùi-même. Pour obtenir une reproduction
exacte des vibrations du jet, on na qua plonger dans la nappe
deux électrodes de platine, en circuit avec un téléphone
et une pile ayant une force électro-motrice de 12 à 3o volts.
On peut ainsi obtenir des sons forts avec un jet plus mince que laiguille
la plus fine, et la disposition représentée,sur les figures
7 et 8 constitue un transmetteür extrêmement sensible.

La forme la plus simple dun transmetteur de ce genre se compose
principalement dun tube en verre, fortement attaché à
une planche de résonnance et communiquant avec un réservoir
élevé, contenant un liquide conducteur (leau distillée
avec 1/3 % de son volume dacide sulfurique est préférable),
et de deux électrodes placées dans une matière isolante,
comme de lébonite, contre lesquelles le jet vient frapper.
Celui-ci peut partir dun orifice circulaire denviron 0,25
m. m. de diamètre, à lextrémité dun
petit tube en verre. On peut employer des jets bien plus minces; mais,
pour un jet des dimensions indiquées, la pression nécessaire
à une transmission distincte de toute espèce de sons ne
dépassera pas 30 pouces.
La surface réceptrice est formée par lextrémité
ronde dune tige en ébonite, dont le centre est traversé
par un fil de platine. Lextrémité supérieure
de cette tige doit avoir environ 1 millimètre de diamètre
et doit être entourée dun petit tube en platine. Le
bout du fil central et le bord supérieur du tube doivent former
avec lébonite, une surface continue légèrement
convexe, exempte de toute irrégularité. Les électrodes
de platine intérieures et extérieures sont reliées
respectivement aux bornes du circuit.
Le jet vient frapper le bout du fil central et, rayonnant de là
sous la forme dune nappe, il vient en contact avec le tube et complète
le circuit. Les dimensions de lappareil varient selon les différents
jets; il est cependant important que la nappe passe par dessus le bord
inférieur de lélectrode en forme danneau.
Avec les petits jets, les chocs des déragements ont si faibles
quon na pas bsoin de grandes précautions pour isoler
la surface réceptrice de lorifice, à moins que la
première ne soit placée très bas sur le chemin. La
force de la pile peut être augmentée jusquà
ce que des bulles de gaz dégagé par l'électrolyse,
en séchappant, fassent entendre un léger sifflement
dans le téléphone. En allant au jet, le liquide doit passer
en bas, en traversant un tube large rempli de coton propre, qui arrête
les petites bulles dair et les particules de poussière qui
pourraient fermer lorifice. Ce tube ne doit jamais être complètement
vide.
Lexpérience prouve que le jet, dans cet appareil, peut agir
de deux manières sur le courant électrique : dabord,
en plaçant entre les électrodes une résistance liquide
constamment variable et ensuite en provoquant des changements dans la
polarisation des électrodes.
Dans le modèle de lappareil, où le jet aussi bien
que les électrodes plongent entièrement dans un liquide
de la même nature que celui du jet, laction doit se produire
à la suface.s des électrodes. Dans ce cas, un jet liquide
devient pareil à un jet dair dans lair, sous le rapport
de ses propriétés et la vitesse en différents points
varie exactement comme nous venons de le dire.
La suite du récit traite de l'enregistrement des traces sur plaque
photographique ...
J. WETZLER
sommaire
Suite en Juillet 1886 dans "La Lumière
Electrique"
TRANSMETTEUR A JET DEAU ET LE SYSTÈME DE
COMMUNICATIONS TÉLÉPHONIQUES DE M. C.-A. BELL
Au mois de mai 1886, M. Ghichester A. Bell M. B. a fait une communication
à la Royal Society, au sujet des vibrations sympathiques des jets
deau, cest en se basant sur des observations faites alors
quil a combiné un nouveau trans metteur téléphonique
.
Quand un jet deau jaillit dune ouverture étroite, il
cesse graduellement dêtre continu et se brise en gouttelettes,
comme on le voit sur la figure 1, faite daprès une photographie
instantanée.

La figure 2 représente un jet deau sortant d'un tube, et
tombant sur une membrane en caoutchouc tendue, qui bouche louverture
dun tube en laiton ; celui-ci glisse dans un tube plus large monté
sur un support massif. Le tube supérieur est pourvu dune
ouverture sur le côté, à laquelle est fixé
un entonnoir en vulcanite.
M. Bell a constaté quavec cet appareil on pouvait obtenir
des reproductions très nettes et très fortes de toutes les
vibrations mécaniques ou sonores communiquées au jet deau.
La netteté, comme la force de la transmission augmentent jusquà
un certain point, quand on augmente la distance entre louverture
et la membrane. Passé ce point, le son devient toujours plus fort,
maisil perd de sa netteté jusquà devenir un bruit
confus et, en même temps, le jet deau cesse dêtre
continu au dessus de la membrane.
Jai moi-même obtenu ces résultats dans
des conférences publiques: quand on grattait la planche à
laquelle le tuyau était fixé, ou bien quand on tenait une
montre en contact avec le tube doù il sortait, les sons produits
pouvaient être entendus distinctement dans une salle contenant plusieurs
centaines de personnes.
Pour cette dernière expérience, il nest pas absolument
nécessaire que le jet deau soit en contact avec la planche,
mais, pour obtenir une bonne reproduction, il faut que le jet soit fortement
attaché à une planchette, soit parallèle, soit à
angle droit, qui agit comme une boîte de résonnance.
Si lon parle ou si lon siffle devant le jet, on voit distinctement
les vibrations produites et, sil est relié à une boîte
de résonnance, les sons sont reproduits avec netteté.
Si on laisse tomber le jet sur une tige mince verticale, il sétale
en une nappe, et M. Bell a constaté que cette nappe pouvait répondre
aux vibrations, comme le jet lui-même ; cest cette particularité
quil a utilisée dans son transmetteur.
Le principe de cet appareil consiste à intercaler la nappe d'un
jet liquide conducteur dans un circuit traversé par le courant
dune pile et comprenant un téléphone ordinaire. La
nappe formée par le choc dun jet stable garde un diamètre
constant, mais quand il est mis en vibration, le diamètre et, par
conséquent, la résistance subissent des modifications périodiques
que M. Bell attribue, en partie, aux changements de diamètre et,
en partie, à des changements de résistance, provenant des
mouvements des particules du liquide, de sorte que le courant qui traverse
le circuit subit des variations dintensités correspondantes
et continues, comme dans les autres transmetteurs microphoniques.
La manière la plus simple dy faire passer un courant consiste
à faire arriver le jet normale ment sur lextrémité
libre dun fil de platine noyé dans une masse isolante et
non affectée par le liquide, et entouré par un anneau en
platine qui vient en contact avec la partie extérienre de la nappe.
Le liquide le plus convenable est de leau acidulée avec environ
1/300 de son volume dacide sulfurique pur. Il est important de débarrasser
ce dernier de toute trace de plomb.
La pile doit avoir une force électromotrice élevée,
mais sa résistance n'a pas dimportance, à cause de
celle du transmetteur; on obtient de très bons résultats
avec le liquide indiqué et unepile denviron vingt éléments
zinc-charbon , à solution de sel ammoniac, mais il peut y avoir
avantage à augmenter le nombre des élé
ments, sans cependant aller jusquà lélectrolyse
visible; dans ce cas, en effet, le bruit produit dans le récepteur
par les bulles de gaz qui séchappent, empêcheraient
dentendre les sons provenant des vibrations du jet.
La hauteur deau nécessaire pour produire ce jet augmente
avec ses dimensions ; on obtient de très bons résultats
avec une pression dun peu moins dun mètre deau.
La figure 3 représente une forme très simple pour un appareil
dessai.
Le tube J doù séchappe le jet est monté
sur la planche sonore S. La surface réceptrice est formée
par le bout E' dune tige en ébonite, traversée par
un fil de platine E, qui forme lélectrode intérieure
du transmetteur. Lautre électrode E' se compose dun
petit tube en feuille de platine concentrique au fil E dont il est isolé
par lébonite. Après avoir été mis en
place, on tourne le bout de la tige débonite, de manière
à obtenir une surface lisse et continue, légèrement
convexe.
Des fils minces en platine soudés à E et E servent
à relier ces derniers avec les bornes du circuit; G est une capsule
en ébonite qui supporte la tige et reçoit leau qui
séchappe à travers le tube T. F est un filtre fermé
par les bouchons à vis K et K'. Le bouchon supérieur est
traversé par deux tubes X et Y qui sont reliés respectivement
avec le réservoir et avec le jet au moyen de tubes en caoutchouc
noir.
A lintérieur du cylindre F il y a deux disques perforés
en ébonite et lespace entre eux est rempli de coton grossier,
dont la graisse a été enlevée à la potasse
caustique, et lavé ensuite soigneusement avec de lacide sulfurique
dilué et de leau.
Ce filtre est nécessaire pour retenir les impuretés qui
pourraient boucher louverture ainsi que les bulles dair dont
la présence produit des vibrations et donne lieu à des crachements
dans le récepteur.
Jai fait quelques expériences avec un instrument de ce genre,
en pressant lajutage contre le côté de la planche,
qui avait une épaisseur denviron 8 millimètres et
qui était fixée verticalement. Lappareil a reproduit,
avec une netteté parfaite, la voix dune personne parlant
sur le ton de la conversation ordinaire, à une distance de 6 mètres
de linstrument ; dans une chambre, avec une fenêtre ouverte,
jai obtenu la reproduction des sons dun piano placé
dans une pièce de lautre côté de la rue, et
dont la fenêtre était également ouverte.
Jai également obtenu une reproduction extrêmement nette
des voix de quatre personnes chantant ensemble dans la chambre où
le transmetteur était placé.
En remplaçant le téléphone ordinaire de Bell par
un récepteur automatique dEdison à cylindre de chaux
(électromotographe), jai obtenu de très bons résultats.
Ce modèle de lappareil ne convient cependant pas pour la
pratique, car, en dehors de la nécessité davoir un
réservoir spécial, etc., il faut le régler avec soin
chaque fois quon sen sert. Un grand nombre de modèles
ont été construits et plusieurs ont été décrits
dans la spécification du brevet pris en 1886 et qui couvre le principe
de tous ces appareils .
Ce nest cependant que tout dernièrement que l'inventeur a
réussi à construire un appareil à la fois simple,
robuste et dun fonctionnement assuré. Cet instrument est
représenté sur la figure 4; la figure 5 représente
le transmetteur et le filtre.
Tout lappareil est renfermé dans une boîte en acajou
denviron un mètre de haut, fermée par un couvercle
à charnières, pourvu dune serrure.
Une ouverture ronde, protégée par un grillage en fils de
cuivre, fait face au jet de transmission et, quand on se sert de lappareil,
la bouche se trouve à une distance de quelques centimètres
de cette ouverture, car il nest pas nécessaire, ni même
avantageux, davoir un jet aussi sensible que celui de lappareil
dexpérience dont nous venons de parler .
Les électrodes de cet instrument sont formées par un fil
de platine passant au centre dune tige en verre et dun anneau
concentrique en fil de platine mince; lébonite a éte
remplacé par le verre pour plus de solidité. Le jet comme
la tigesont ren fermés dans un tube en verre, attaché à
une boite en bois au fond de la grande boîte, et qui reçoit
leau découlement.
La tige en verre est fixée dans une position verticale et le jet
est centré au moyen de quatre vis quon voit à lextrémité
supérieure et ouverte du tube. Le filtre est représenté
à gauche du jet;lextrémité de son tube est
élargie en forme de cloche et contient le coton, dont les fibres
sont retenues par un morceau détoffe de coton placé
au sommet de la cloche.
Le réservoir consiste en une deuxième boîte parallèle
à la première et placée au sommet de lappareil
; on le remplit au moyen dun entonnoiren enlevant un bouchon à
vis. Les bornes du récepteur sont reliées aux deux bornes
de gauche, dont lune, celle den bas, communique avec lune
des électrodes du transmetteur, et celle den haut, avec une
paire de ressorts qui font contact avec le levier sur lequel le téléphone
est accroché, quand on enlève ce dernier. Lautre électrode
est reliée à la troisième borne inférieure
de droite, qui est mise à la terre à travers la pile; la
borne du milieu est en communication permanente avec le levier qui supporte
le téléphone et avec la ligne, tandis que la borne supérieure
est reliée à travers lappareil dappel à
la ligne, et avec un ressort qui fait contact avec le levier du téléphone
quand ce dernier est suspendu.
Pour parler dans linstrument, on enlève le téléphone,
mais lextrémité antérieure du levier ne i peut
remonter à cause du levier vertical quon voit au fond. La
poignée à droite de la boîte est alors abaissée
et une tige à son extrémité inférieure repousse
le levier vertical et permet au crochet de remonter, en mettant le téléphone
dans la ligne.
En remontant, le levier du téléphone pousse une tige en
laiton soulevant ainsi lextrémité gauche du levier
au-dessus du réservoir et ouvrantune soupape qui permet au liquide
du réservoirde descendre dans le filtre par le tube en ébonite
placé à gauche. Un autre tube, également en ébonite,
partant du filtre, débouche au sommet du réservoir pour
permettre à lair de séchapperimmédiatement
si le filtre a été séché en partie par suite
dune inactivité prolongée de linstrument.
Labaissement du levier à droite comprime en même temps
un sac en caoutchouc quon voit au centre de la boîte et force
de lair dans la boîte in férieure à travers
un tube en ébonite quon voit à droite et dont le bout
supérieur est muni dune soupape qui souvre en dedans
et force le liquide du réservoir inférieur à travers
lautre tube à droite jusque dans le réservoir supérieur.
La quantité de liquide pompée par un seul abaissement du
levier suffit pour une conversation denviron 7 minutes, ce qui dépasse
la durée moyenne dune conversation, mais on peut dailleurs
répéter lopération sans gêner la communication
en aucune façon.
Le but du levier de contrôle qui maintient le téléphone
hors circuit jusquà ce que le levier de droite soit abaissé,
est dempêcher la personne qui se sert de lappareil doublier
de pomper du liquide chaque fois.
Linstrument est surtout précieux pour les communications
à grande distance, car une mauvaise isolation de la ligne peut
être compensée par une augmentation de la pile et on a obtenu
de très bons résultats sur des lignes de près de
200 kilomètres traversant six ou huit bureaux centraux et, par
conséquent, soumises à des pertes considérables.
En général, 4 éléments Lcclanché suffisent.
Le système téléphonique imaginé par M. Bell
est spécialement destiné à être employé
avec son transmetteur à jet deau ou avec tout autre transmetteur
à grande résistance quon pourra inventer ; son principal
avantage consiste à ne pas entraîner lemploi de piles
ailleurs quau bureau central.
Avec le transmetteur actuellement employé il nest pas pratique
de transmettre la parole sur une ligne un peu longue par laction
directe de la vibration du transmetteur en variant la résistance
du circuit ; on se sert donc dun appareil dinduction en plaçant
le transmetteur dans le circuit primaire et la ligne dans le circuit secondaire,
ce qui entraîne lemploi dune pile à chaque station.
fig 6 
Examinons le dispositif représenté sur la figure 6, où
lon voit une pile B d'une force électromotrice élevée
et de faible résistance, mise à la terre en T et reliée
avec une ligne d, divisée en deux branches a et a' qui comprennent
les transmetteurs D et E et les récepteurs 1 et E' et sont
ensuite mises à la terre en S T'.
Les vibrations communiquées à lun ou lautre
des transmetteurs ne passeront-pas au récepteur à lautre
bout de la ligne, parce que la communication à la terre à
travers la pile constitue une dérivation de faible résistance.
Mais si lon intercale une résistance appropriée R
dans la branche (fig 7) , ceci ne sera plus le cas et lon peut facile
ment rendre la résistance R assez grande pour que pratiquement
toutes les variations produites en D soient transmises à E, au
besoin en augmentant la pile. Les expériences de linventeur
on démontré que, pour les courtes lignes, comme dans un
réseau urbain ordinaire, la résistance R peut varier de
2 000 à 8 000 ohms, sans affecter sensiblement laction du
transmetteur à jet dont la résistance est denviron
1 000 ohms.
Dans la pratique, il vaut mieux rendre la résistance R réglable,
car on peut alors la varier à volonté pour compenser les
variations de la résistance des lignes.
Si les stations D et E étaient reliées directement à
travers une pile à la stations centrale, il faudrait une batterie
dune force électromotrice double, pour donner de bons résultats,
comme l'expérience la montré.
De plus, si les deux stations sont reliées directement à
travers la pile centrale et si les transmetteurs ne sont pas de la même
résistance, la personne qui parle dans celui de plus faible résistance
ne se fera pas entendre aussi bien que lautre, tandis que ce nest
pas le cas si les communications sont faites comme nous venons de le dire.
On.peut, au besoin, se servir dune seule pile au bureau central
pour tous les abonnés d'un réseau.
La figure 7 représente ainsi deux nouvelles paires dabonnés
employant les transmetteurs F et H et I et J reliés à travers
les résistances R2 R3 et les fils h et i au fil g de la pile et
à R, et lon trouve que chaque paire peut converser sans gêner
les autres et sans en être entendue.
La figure 7 montre également un groupe de trois transmetteurs reliés
à travers les lignes d d, et d2, la résistance R, et le
fil j avec la pile centrale. Dans ce cas, la personne parlant au transmetteur
K, par exemple, sera entendue dans les récepteurs L' L aux
deux autres stations.
Dans un réseau central téléphonique ordinaire, une
pile avec une force électromotrice de 30 à 40 volts, et
des électrodes de grande sur face serait suffisante.
Une pile denviron 20 éléments secondaires de dimensions
ordinaires donnerait dexcellents résultats, mais toute pile
qui ne travaille pas en circuit ouvert peut servir, pourvu que la résistance
ne dépasse pas quelques ohms.
G. W. DE TUNZELMANN
sommaire
1889 Un dernier mot sur le graphophone et le phonographe;
M. Edison ayant fait donner M. Gouraud à lAcadémie,
M. Tainter, ne pouvait rester en arrière; voici la note qui a été
présentée à la séance du 3 courant par M.
G. R. Ostheimer :
« Nous navons pas la prétention de présenter
à lAcadémie la seule machine qui enregistre et reproduise
les sons nr de soutenir que lidée sur laquelle repose cet
appareil appartienne à M; Tainter. Nous voulons simplement montrer,
dans lintérêt de la science, les progrès qui
ont été faits dans lart denregistrer et de reproduire
les sons.
« Chacun connaît les travaux de Scott, de Cros, et le permier
phonogrape dEdison qui enregistrait les sons au moyen dun
stylet courant sur une feuille métallique, ce que nous appelons
en anglais indentation.
« Dans le premier phonographe dEdison, l'inscription se faisait
par lempreinte dun stylet; à ce propos, et pour montrer
que le professeur Tainter a commencé son travail au moment où
le phonographe était délaissé, nous citerons un article
publié par M. Edison dans le journal le New- York World du 6 novembre
1887 et reproduit par le journal lElectrical World du 12 novembre
1887 :
Lappareil, dit-il, pèse environ 100 livres, il coûte
fort cher, et, à moins davoir une competence toute spéciale
personne ne peut en tirer le moindre parti. La trace de, la pointe d'acier
sur la feuille de plomb ne peut servir quun petit nombre de fois.
Moi-même (cest M. Edison qui parle) je doute que je puisse
jamais voir parfait un phonographe capable demmagasiner la voix
et de la reproduire dune manière claire et intelligible.
Mais, je suis certain que si nous ny parvenons pas, la génération
suivante le fera. J'al donc laissé le phonographe pour moccuper
de la lumière électrique, sûr que javais semé
une graine qui devait produire un jour. »
Cest à ce point que le professeur Tainter et son collaborateur
le D' Chichester Bell ont repris le travail. Tant que leurs essais se
bornèrent au procédé de lindentation, ils nobtinrent
que peu de résultats. Le Dr Bell abandonna bientôt ses recherches;
mais le professeur Tainter continua fidèlement, et, comme résultat
de son infatigable labeur, il trouva que le seul procédé
pratique pour emmaganiser les sons était la gravure sur de la cire,
ou sur un cylindre de carton re
couvert de cire. Grâce à ce procédé, il est
parvenu à construire un graphophone parfait et qui donne des résultats
satisfaisants sous tous les rapports.
M. Edison a confirmé la justesse des découvertes du professeur
Tainter en les adoptant pour ce qu'il appelle son phonographe perfectionné.
Le graphophone qui est sous les yeux de lAcadémie se compose
de quatre parties distinctes :
« Le système mécanique dentraînement du
cylindre;
« Le système enregistreur;
« Le système répétiteur; '
« Le système moteur et régulateur de vitesse.
Le but du professeur Tainter ayant été surtout de produire
un appareil aussi peu coûteux que possible, il a employé
dans la construction de son graphophone un mécanisme des moins
compliqués, qui est mis en action sans le secours de moteur électrique,
ou autre, se contentant dé la pédale, qui permet, après
quelques minutes dessai, à la personne la plus inexpérimentée
de se servir très facilement du graphophone.
Puisque nous sommes sur ce sujet nous ferons remarquer quune légère
inexactitude sest glissée dans ilarticle où
notre collaborateur M. Richard a décrit dune manière
si complète le graphophone.
Les derniers appareils ne sont pas dûs, en effet, à la collaboration
de MM. G. Bell et Tainter, mais à ce dernier seul; enfin comme
nous l'a fait remarquer le représentant de ce dernier, il ny
a pas précisément eu formation dune compagnie commune
pour lexploitation des brevets Edison et Tainter aux Etats-Unis,
mais le président de la Compagnie North American, qui a acheté
lé brevet Edison, sest assuré lexploitation
commerciale exclusive aux Etats-Unis des appareils construits par la Tainter
Graphophone Company.
sommaire
|