| En fait, il était déjà connu
bien avant en Nouvelle Grenade introduit par les espagnols. Il était
alors constitué de deux cornets en bambou sur lesquels étaient
tendues des membranes en vessie de porc.
Musée du téléphone jouet en Tanzanie Linden
Autre fait : M. Antoine Bréguet présente de la part
de M. Edouard André un téléphone à ficelle
trouvé dans la Nouvelle-Colombie en janvier 1876.
Linstrument paraîtrait connu dans la Nouvelle-Grenade
depuis longtemps. M. Niaudet attribue linvention du téléphone
à ficelle à M. Weinhold, professeur de physique à
Chemnitz qui a publié en 1870 dans le Repertorium für
experimental Physik, le détail dune expérience
sur la transmission de la voix humaine par un fil de fer.
Le rédacteur en chef du journal "Scientific
American" du 27 mai 1876 publie un petit article :
Un télégraphe à fil . Un télégraphe
bon marché, utile à certaines fins, peut être
fabriqué de cette manière : on creuse deux cylindres
en étain de la taille d'une petite boîte à dés,
disons de 3 pouces de long sur 1 pouces de diamètre ; on
recouvre un fond de chaque cylindre de parchemin ou de vessie, formant
une peau de tambour. On perce le centre avec une épingle
et on insère un fil solide, et on fait un nud pour
éviter qu'il ne soit retiré.
Avec l'autre extrémité du fil (qui peut être
de n'importe quelle longueur, disons 100 mètres ou plus),
faites de même avec l'autre cylindre, et le télégraphe
est terminé. En gardant le fil bien tendu, afin que la vibration
soit parfaite, une personne qui parle ou même qui chuchote
dans un cylindre peut être distinctement entendue par une
autre personne tenant l'autre cylindre contre l'oreille.
De tels télégraphes de poche faits maison ne seraient-ils
pas très utiles dans les usines, dans les fermes, dans l'armée
et dans bien d'autres situations trop innombrables pour être
mentionnées ?
Une personne entreprenante pourrait réaliser une belle somme
en les fabriquant comme jouets scientifiques pour l'Exposition du
Centenaire.
Le tube pourrait être fait en canne à sucre, et je
suggérerais qu'ils soient fabriqués pour s'emboîter
l'un dans l'autre, afin d'être facilement transportés.
Des modèles plus solides peuvent être fabriqués
avec une corde fine, mais ils seraient plus volumineux.
GEO. QUINCY THORNDIKE
Menton, Alpes Maritimes, France. (L'américain Thorndike
se rendit en France pour étudier la peinture.)
sommaire
Un article amusant : "THE COMMON STRING
TELEPHONE"
Faisant référence au téléphone à
ficelle, constitué d'un morceau de ficelle ordinaire tendu
entre deux cylindres (comme les couvercles des boîtes d'allumettes
cylindriques), qui est depuis quelques années un jouet courant,
non seulement en Europe et en Amérique, mais même dans
Inde. M. A. Houtum-Schindler, inspecteur général des
télégraphes persans, dans une lettre récente
au secrétaire, mentionne qu'à Téhéran,
l'utilisation de ce jouet dans les rues était telle qu'elle
devenait une nuisance et qu'elle avait pour être finalement
interdit par la police. Après quelques expériences
faites il y a peu à Téhéran avec le téléphone
électrique, les Perses remarquèrent que l'invention
de leurs enfants avait été copiée par les Européens
et qu'ils l'appelaient « téléphone ».
Source : l'Almanach agricole de Lancaster, Pennsylvanie,
pour l'année 1879, imprimé par John Bater's Sons.
Comment construire un téléphone de fermier.
Une forme que l'on peut appeler le
téléphone du fermier pour les communications inférieures
à mille pieds peut être présentée à
l'intention des lecteurs agricoles, qui peuvent facilement la construire
eux-mêmes.
Prenez du ruban adhésif comme celui qu'utilisent les dames
pour leurs robes, soit en long rouleau, soit en morceaux cousus
ensemble à plat. Chaque fois qu'il est nécessaire
de le soutenir, fixez-le à plat au sommet d'un ressort en
spirale d'environ un pouce et demi de long, fabriqué en enroulant
un petit fil d'acier serré autour d'un crayon à mine.
Les cheminées de lampes à kérosène constituent
les meilleurs embouts buccaux. Sur une extrémité,
étirez un morceau de vieux gant de chevreau ou de papier
épais à la manière d'une peau de tambour en
enroulant fermement une ficelle. Fixez le ruban à plat contre
la surface extérieure du diaphragme de cuir ou de papier
ainsi formé, lors de la conversation, maintenez le ruban
tendu. Les vibrations sonores se propageront sans interruption à
travers les points d'appui des ressorts en acier et la surface plane
de la bande empêche l'anneau musical qui détruit le
caractère distinctif de tels dispositifs constitués
de cordes. De telles lignes de ruban adhésif peuvent être
transportées dans toutes les directions, dans les coins arrondis,
dans les escaliers et en bas sans trop affecter le son, sauf par
la distance.
Source : Expériences téléphoniques
de Harry J. Curl racontées par lui à ET Mahood, au
cours de l'été 1933 à Kansas City, Missouri.
Première expérience téléphonique
Je suis né à Elwood,
New Jersey, le 23 avril 1863. Mon père était télégraphiste,
tout comme plusieurs de mes oncles. En 1879, alors que j'avais seize
ans, mon père et moi avons construit une ligne de poteaux
longue d'un mille et quart entre la gare ferroviaire d'Elwood, New
Jersey, où il était employé comme agent, et
notre ferme, afin d'établir ce que je crois être l'une
des premières lignes téléphoniques dans cette
région du pays.
Nous sommes allés à Philadelphie pour acheter du fil.
Nous ne voulions pas utiliser de fil de fer et le seul fil de cuivre
disponible était le fil étiré doux n° 50,
que nous avons acheté. Nous avons suspendu ce fil aux poteaux
avec des boucles de cordes et connecté à chaque extrémité
un téléphone acoustique. Ces téléphones
étaient disponibles à Philadelphie comme jouets. Ils
navaient aucune batterie associée ni aucun moyen de
transmettre des signaux.
Ils opéraient par impulsion physique directe. Lorsque mon
père voulait appeler à la maison, il commençait
à appeler « bonjour » sur son téléphone
et lorsque nous l'entendions, nous répondions.
La transmission était bonne et nous navons eu aucune
difficulté à entendre. Nous avions l'habitude d'inviter
les voisins à écouter de la musique vocale et instrumentale
provenant de la gare située à un kilomètre
et quart de là. C'était la première expérience
téléphonique que j'ai eue. Le fil de cuivre s'affaissait
un peu entre les poteaux et nous devions souvent le tirer vers le
haut et éliminer une grande partie du jeu et, bien sûr,
avec le temps, son diamètre diminuait à tel point
que nous devions le retirer. "
Selon Bill Jacobs : Les téléphones
mécaniques étaient également utilisés
dans une certaine mesure en Grande-Bretagne. Je me souviens en avoir
vu dans l'ancien musée ferroviaire de York et je suppose
qu'il fait toujours partie de la collection de l'actuel musée
ferroviaire, très agrandi. Il y a également une description
dans le livre de Baldwin, History of the Telephone in the United
Kingdom . le Musée des Sciences en a identifié une
paire dans la collection des télécommunications (non
exposée) ; ceux-ci provenaient de la section GER du LNER
en 1923. Mike Horne a découvert qu'une paire était
utilisée à Earls Court sur le Metropolitan District
Railway pour relier le bureau télégraphique sur la
plate-forme en direction ouest avec la cabine de signalisation «
est », qui se trouvait au-delà. la gare. C'était
en 1881.
Comme ils ne contenaient aucun dispositif
électrique de transmission ou de réception, les téléphones
mécaniques ne violaient pas les brevets téléphoniques
de Bell. Par conséquent, ils étaient populaires comme
méthode alternative de communication à courte portée
au cours des premières années du téléphone,
lorsque les appareils étaient chers. Ces modèles ont
probablement été utilisés dans un bureau ou
une gare ferroviaire.
sommaire
Dès 1878 les premiers brevets sont
déposés
Alors
que cela fait deux ans que Bell a déposé
son brevet et que dans beaucoup de pays le téléphone
de Bell commence à s'implanter, nous nous demandons pourquoi
s'investir dans ce genre d"apareil ?
Nous
y répondrons dans la suite de l'éxposé.

Téléphone expérimental
1878 : Parsons,Shaw, et Daniels
Patent 207 436
sommaire
L'audiphone
Avant de développer la pratique du téléphone
acoustique, alors que en 1879 le téléphone
électrique de Bell était déjà d'usage,
un autre concept a été développé : L'audiphone.
En septembre 1879, Richard Silas Rhodes (1842-1902), président
d'une maison d'édition à Chicago, reçut un
brevet pour son « Audiphone pour les sourds »
et ses diverses améliorations apportées à l'appareil.
( Brevet américain n° 319 828 ). Rhodes a souffert d'une
perte auditive de transmission pendant vingt ans à la suite
d'une maladie et était frustré par ses échecs
continus avec les trompettes auriculaires. Il a observé qu'il
pouvait entendre le tic-tac de sa montre lorsqu'il la tenait dans
sa bouche, ce qui a inspiré sa construction de l'Audiphone,
qui exploitait le fait que les ondes sonores pouvaient être
transmises par les dents ou les os crâniens.
Entendre par conduction osseuse en utilisant un matériau
pour transmettre le son externe à travers la mâchoire
ou les dents est une notion ancienne, avec des références
à son utilisation remontant aux Grecs anciens. Aux XVIIe
et XVIIIe siècles, certains érudits ont observé
que des sons pouvaient être entendus à distance en
plaçant une tige sur le sol et en tenant l'autre extrémité
contre les dents. Des médecins, des éducateurs et
même des personnes sourdes ont expérimenté divers
matériaux, tels que le bois, pour déterminer quels
objets pouvaient le mieux transmettre le son provenant d'une source
vibrante.
Le fonifero de Paledino, 1876 (à gauche) et l'audiophone
de Rhodes, 1879 (à droite).
Article parru dans "La Nature" du 4 Février
1880
|
Les expériences récentes dont
je vais donner la description ont été entreprises
dans le but de procurer aux sourds-muets des appareils très
simples, dun prix très minime, et cependant assez
efficaces pour quils puissent distinguer les sons musicaux
et même la parole [1].
Vers la fin de 1879 un inventeur américain,
M. R.-G. Rhodes, de Chicago, a pris une patente pour
un appareil quil a appelé audiphone, et
dont lefficacité remarquable a été
constatée par un grand nombre dexpériences,
faites aux États-Unis dAmérique pendant
les mois de septembre, octobre, novembre, et décembre
1879. Quelques essais, entrepris dans des instituts de sourds-muets,ont
démontré que, par lusage de cet instrument,
beaucoup de sourds-muets arrivent assez promptement à
distinguer les sons musicaux de quelques instruments, et même
les articulations de la voix, et quavec le secours de
cet audiphone leur éducation orale se trouve considérablement
abrégée. Des résultats favorables ont
été aussi constatés pour des personnes
atteintes de surdité simple.
Linstrument de M. Rhodes [2] est fabriqué
en caoutchouc durci et ressemble à un de ces écrans
de cheminée que lon tient à la main. Lécran
proprement dit, ou disque, est une large lame de caoutchouc
durci, munie dun manche de même matière
; sa largeur est denviron 0,24m et sa longueur de 0,30m
( fig .1)
 
( Brevet américain n° 319 828 ).
Les trois côtés voisins du manche,sont rectangulaires
; le quatrième côté, opposé à
la poignée, est découpé en arc de cercle.
Près du sommet de cet arc de cercle, sont attachés
des cordons qui aboutissent à, une ouverture pratiquée
au haut de la poignée. En tendant fortement les cordons,
on force la partie la plus éloignée du manche
à se courber comme un arc tendu (voyez la figure ci.contre),
et un petit encliquetage, fixé Vers cette ouverture,
permet de rendre la tension permanente. En appliquant ensuite
lextrémité de la partie recourbée
contre les dents de la mâchoire supérieure, les
personnes. sourdes entendent lès bruits avec une sonorité
très remarquable et distinguent assez bien les paroles
articulées et toutes les notes des instruments de musique.
Les sourds-muets chez lesquels les nerfs de
laudition ne sont pas totalement atrophiés peuvent,
avec le même instrument, distinguer presque immédiatement
les sons musicaux, hauts ou bas, de plusieurs instruments,
et ceux de la voix humaine lorsquils sont émis
avec force près de lappareil. Sils ont
déjà appris à prononcer. des sons bien
distincts et à articuler des mots, ils pourront, après
un très court apprentissage, dirigé par un instituteur
expérimenté, comprendre des mots ou des phrases,
et les répéter distinctement ; ils pourront
aussi entendre leur propre voix, ce qui facilitera puissamment
leur éducation orale. Lemploi de ces audiphones
peut donc être un véritable bienfait pour les
institutions de sourds-muets et pour la plupart de ceux qui
sort affligés de cette infirmité.
Malheureusement, le prix des écrans
audiphones de caoutchouc durci est assez élevé
; ils se vendent à Chicago, selon leur grandeur, depuis
10 jusquà 15 piastres ; leurs dimensions possibles
sont assez limitées et le caoutchouc durci est fragile
par les temps froids. Jai été consulté,
il y a une dizaine de jours, sur lefficacité
dun de ces appareils, importé dAmérique,
et sur son effet utile pour les personnes atteintes de surdité
simple, comparativement à celui quon obtient
avec des cornets acoustiques perfectionnés. Après
lavoir essayé et mêtre convaincu
de sa puissance pour recueillir les sons et les transmettre
aux organes intérieurs, il ma semblé probable
que des appareils plus simples, composés dautres
substances, pourraient rendre les mêmes services acoustiques
avec une dépense beaucoup moindre.
Jai fait de très nombreux essais
sur des lames minces de natures diverses, métaux, bois,
etc. ; enfin, jai découvert une variété
de carton mince laminé qui donne les mêmes résultats
que le caoutchouc durci et qui permettrait dobtenir
à 0 fr. 50 environ, au lieu de 50 francs, des appareils
de même puissance acoustique.
Les cartons qui mont donné ces
résultats favorables portent, dans le commerce, Je
nom de cartons à satiner, ou cartons dorties
[3] ; ils sont remarquablement compactes, homogènes,
élastiques et tenaces : ils sont aussi très
souples, et, pourvu que leur épaisseur ne dépasse
pas 0,001m, une légère pression de la main,
qui soutient un disque découpé dans une de ces
feuilles de carton, tandis que son extrémité
convexe sarcboute contre les dents de la mâchoire
supérieure, suffit pour lui donner une courbure convenable,
variable à volonté, sans fatigue pour la main
ou les dents. Ainsi, un simple disque de ce carton, sans manche,
sans cordons ni fixateur de tension, devient un audiphone
tout aussi puissant que les appareils de caoutchouc de linventeur
américain. On peut rendre la feuille de carton imperméable
en imbibant la partie convexe, celle qui sappuie contre
les dents, dun enduit hydrofuge qui résiste à
la vapeur de lhaleine. Je me suis assuré que
les sons peuvent être transmis aux dents supérieures
avec la même netteté en se servant dune
petite touche ou pince en bois dur, de la dimension dune
sourdine de violon ou de violoncelle, munie dune fente
dans laquelle entre à frottement dur lextrémité
supérieure du disque, et en appuyant cette pince contre
les dents supérieures [4].
Entre diverses séances dessais
auxquelles ont assisté des sourds-muets, jen
citerai une qui vient davoir lieu le 14 janvier en présence
de quelques personnes, et, notamment de lhabile instituteur
de sourds-muets M. Louis Sager. M. Sager avait amené
huit élèves sourds-muets, formés par
lui , comprenant les phrases par le mouvement des lèvres
de leur instituteur et prononçant plusieurs mots très
distinctement.
On a dabord vérifié quels
étaient ceux qui pouvaient percevoir de très
près les sons d un grand piano, et lon
a déterminé la distance à laquelle ils
cessaient den être affectés sans appareil
acoustique ; quelques-uns ne ressentaient les vibrations que
par les mouvements du parquet, recouvert dun tapis.
Lorsquils ont été munis de laudiphone,
ils ont tous indiqué que la sensation des sons était
transmise distinctement à la tête, tantôt
dun côté, tantôt de lautre,
selon les individus. On a pu constater que, leurs yeux étant
bien fermés, ils discernaient nettement les notes hautes
des notes basses du piano, et aussi les sons du piano de ceux
du violoncelle. La plupart étaient peu impressionnés
par les sons du violon, surtout dans les notes hautes, quils
nentendaient pas, ou fort peu.
Enfin, dautres expériences ont
permis de constater que des paroles prononcées très
près de laudiphone peuvent être perçues
par les sourds et muets et même répétées
distinctement par eux, pourvu quon les ait soumis à
une préparation préalable.
Les audiphones en carton peuvent avoir des
formes et des dimensions très variées. Une feuille
rectangulaire maintenue convenablement courbée, semble
réussir aussi bien que celle découpée
comme lindique la figure 2.
Un fait bien intéressant à noter,
cest quavec les audiphones en caoutchouc, ou en
carton, un grand nombre de sourds-muets qui navaient
jamais entendu les airs joués sur un piano ou dautres
instruments, non seulement ont pu les entendre, mais de plus
ils en ont éprouvé une véritable jouissance.
Vers la fin de la séance dirigée
par M. Sager, les élèves étant pourvus
daudiphones en carton, sauf celui qui écoutait
avec linstrument américain, on a joué
sur le piano une ouverture et on les a ensuite questionnés
sur leurs sensations ou impressions. Tous ont déclaré
quils avaient éprouvé un très vif
plaisir, tandis que, daprès M. Sager, les modulations
dun tambour les laissent indifférents.
Une demoiselle artiste, autrefois très
bonne musicienne, devenue complètement sourde, a éprouvé
une joie excessive lorsque, se servant de laudiphone,
elle a pu, pour la première fois depuis quinze années,
entendre les airs dun piano. Des expériences
analogues ont été faites dans une autre institution
de sourds-muets du canton de Genève, placée
sous la direction de M. le professeur Forestier, et dans quelques
familles.
On savait déjà que dautres
corps que lair transmettent les sons musicaux sans les
altérer et permettent de reconnaître les instruments
et les timbres.
Dans une série dexpériences
faites en 1841 sur le lac de Genève, en me servant
de boîtes à musique placées au fond de
leau sous une petite cloche de plongeur, jai pu,
avec lappareil de mon invention pour écouter
les sons qui se propagent sous leau, entendre les airs
transmis par leau à plusieurs centaines de mètres
; ces airs nétaient nullement altérés.
[5]
De nombreuses expériences récentes démontrent
quon peut obtenir des résultats analogues lorsque
les sons des instruments ou de la voix sont transmis par des
corps solides, non seulement par des métaux en fils
ou en lames minces, mais aussi par des cordes et des feuilles
débonite, de carton, ou dautres substances
végétales ou animales.
Les audiphones peu vent être utilisés par quelques
personnes dont louïe est altérée
et qui ont de la peine à supporter les appareils acoustiques
en contact avec louverture de loreille. Ils peuvent
surtout servir pour laudition dun concert. En
tous cas, le très bas prix des disques de cartons audiphones
rend ces appareils accessibles aux personnes les moins fortunées.
[1] Le prix de ces nouveaux appareils ne dépasse
guère 50 centimes. Ils peuvent aussi, dans certains
cas, être utilisés par des personnes chez lesquelles
le sens de louïe est fort altéré.
[2] Le Journal illustré de Leslie du 15 décembre
dernier , qui se publie à New-York, donne le dessin
de cet instrument Nous le reproduisons ci-dessus (fig. 1).
[3] Désignés en Angleterre sous le nom de Shalloon
Boards.
[4] Mes essais me font entrevoir que lépaisseur
la plus convenable des cartons est comprise entre 0,0008m
et 0,001m, et que les dimensions des disques de grandeur moyenne
peuvent être convenablement fixées à 0,28m
ou 0,30m de largeur, 0,35m à 0,38m de hauteur maxima.
En augmentant ces dimensions, la puissance est augmentée,
mais cette augmentation nest pas proportionnelle à
létendue de la surface. Je moccupe à
faire varier les formes des lames vibrantes et à combiner
les effets de lames multiples conjuguées.
[5] Comptes-rendus de lacadémie des sciences,
tXIII, page 439
 |
Le Double Audiphone .
Cet instrument est constitué
de deux disques semblables et parallèles, dont
les bords inférieurs sont unis, à partir
desquels s'étend un manche.
Les bords supérieurs sont séparés
d'environ un quart de pouce par des perles et ajustés
aux dents au moyen d'encoches.
La voix du muet tombe entre les disques et est ramenée
en arrière, lui permettant ainsi d'entendre sa
propre voix.
Cette photographie en noir et blanc
montre une jeune femme tenant l'Audiphone de Rhodes
contre sa bouche, vers 1926.
|
 |
L'Audiphone était constitué d'une
feuille flexible de vulcanite noire polie (caoutchouc durci),
avec une poignée, et était construit en forme
d'éventail. Il mesurait 24 cm de large, 27,7 cm de long
et 1 mm d'épaisseur.
Un autre modèle a ensuite été construit,
composé de deux vantaux, conçus pour que l'utilisateur
puisse également entendre sa voix.
Le modèle standard se vendait 10 $ et le modèle
double se vendait 15 $, une somme chère à l'époque.
Moyennant un supplément, Rhodes ajouterait des éléments
ornementaux pour dissimuler l'instrument et le rendre discret
en tant qu'appareil auditif. Il a été conçu
pour être tenu sans serrer dans la main, le bord supérieur
étant placé sous les dents supérieures
avec une légère pression ; les dents inférieures
ne doivent pas entrer en contact avec l'instrument (Goldstein
347). L'appareil n'était efficace que dans les cas de
surdité de transmission.
Les utilisateurs pourraient améliorer leur audition jusqu'à
30 décibels, ce qui équivaut à une douce
conversation entendue à quelques mètres dans une
pièce calme (à titre de comparaison, 20 dB correspond
au bruissement des feuilles ou au chuchotement ; 0 dB est le
seuil d'audition).
En janvier 1881, Rhodes reçut un brevet pour une version
modifiée de sa conception, un Audiphone plié en
éventail de 10 mm.
Le modèle a reçu une médaille à
l'Exposition universelle de Columbia de 1893 à Chicago.
Rhodes remarque que l'Audiphone était une « BONNE
NOUVELLE POUR LES SOURDS », car il leur permettait d'entendre
facilement les conversations ordinaires et était bénéfique
pour l'église, les conférences. , concerts, pièces
de théâtre, etc. De plus, la conception de l'appareil
en tant que ventilateur permettait à l'utilisateur de
dissimuler facilement sa surdité s'il le souhaitait,
en faisant semblant d'utiliser simplement un ventilateur. De
nombreux témoignages venus des États-Unis et d'Europe
ont commenté les capacités acoustiques de l'Audiphone
. L'Anglais James Samuelson, par exemple, en a acheté
un lors de sa visite aux États-Unis en 1880 et l'a essayé
lui-même en privé et en public. Il témoigne
: « Il me semble que les auristes [médecins spécialistes
de l'oreille] et les enseignants des sourds bénéficieront
beaucoup de l'invention : les premiers, en pouvant l'utiliser
comme instrument de diagnostic
les seconds, où
l'enfant est sourd à cause d'une blessure ou d'une imperfection
des parties mécaniques de l'appareil auditif ».
En effet, l'Audiphone était utilisé dans les écoles
pour sourds, notamment en France, même si les avis sur
ses avantages variaient. Certains enseignants ont été
étonnés de sa capacité à aider les
enfants sourds à parler, tandis que d'autres ont souligné
qu'il s'agissait d'une aide pédagogique totalement inutile.
Mary McCowen, par exemple, qui enseignait à une classe
denfants semi-sourds à la Nebraska School for the
Deaf (fondée en 1869) et à la « Voice and
Hearing School for the Deaf » de Chicago, a fait la remarque
suivante :
« Même si j'ai commencé
mon travail cette année en tant que fervent défenseur
des audiophones et que je l'ai utilisé consciencieusement
pendant plusieurs mois, je ne peux pas, sans protester, admettre
que l' enseignant de cette classe attribue le succès
aux audiophones. Je me spécialise dans mon travail ici
dans la formation de l'audition, mais je n'ai jusqu'à
présent pas réussi à trouver un seul enfant
réellement aidé par les audiophones » (
American Annals of the Deaf and Dumb).
Certaines écoles en Angleterre
ont même signalé qu'au moins vingt pour cent des
élèves avaient une audition suffisante lorsqu'ils
étaient assistés par un audiphone, ce qui leur
permettait de participer plus assidûment à leur
formation à la parole et à leur apprentissage.
L'Audiphone de Rhodes est resté un
appareil auditif à conduction osseuse populaire jusqu'aux
premières années du XXe siècle, longtemps
après la mort malheureuse de Rhodes : il a été
tué alors qu'il marchait le long des voies ferrées
du Wisconsin Central Railroad dans l'Illinois.
Divers autres brevets et conceptions de l'Audiphone sont apparus
au-dessus des oreilles, chacun offrant un système de
conduction plus efficace, un prix moins cher ou une conception
plus révolutionnaire. Certaines dentre elles
ont été rapidement rejetées comme nétant
rien dautre quun autre « remède charlatan
» contre la surdité .
|
sommaire
Les téléphones acoustiques
Holcomb Société JR Holcomb
& Co. de Cleveland, Ohio.
|
Holcomb a
été le
fabricant de loin le plus connu d'équipements téléphoniques
acoustiques. Il a conçu et fabriqué de nombreux
modèles différents
Il proposait également une gamme complète d'accessoires
tels que des fils de ligne, des isolants, des sonneries magnéto,
etc.
Holcomb était un peintre de maison et un imprimeur
de cartes de lOhio. Il a lancé son entreprise
de «nouveauté» dans les années 1870.
Il produisait des jouets scolaires, des instruments de musique
et des fournitures pour enfants et publiait un journal à
succès.
Le 9 Juillet 1878, il a breveté un téléphone
acoustique, une version sophistiquée du jouet pour
enfants «deux boîtes de conserve sur une ficelle»,
qui, n'utilisant ni dispositif de transmission ni de réception
électrique et n'empiétant donc pas sur les brevets
de Bell
Un des premiers téléphone
acoustique en 1878, était J.R. Holcomb
Holcomb reçu le brevet américain n° 205
864 le 9 juillet 1878, intitulé : « Amélioration
des téléphones acoustiques ». Il s'agissait
du premier brevet américain pour un téléphone
acoustique.
|
|
Carte commerciale Holcomb
 
Au prix de 4 dollars chacun et garantissant une transmission claire
des voix sur une distance d'un kilomètre, avec une puissance
suffisante pour être entendues distinctement dans toutes les
parties d'une pièce ordinaire. 10 000 de ces instruments
ont été vendus

1881 : on pouvait se procurer un téléphone
acoustique pour usage domestique ou profesionnel et non plus comme
un jouet.
Étant donné que le fil tendu était exposé
aux éléments, les téléphones acoustiques
dépendaient fortement du beau temps. Les téléphones
acoustiques présenteraient un comportement inhabituel dans
des conditions météorologiques défavorables.
Ils étaient connus pour hurler et chanter pendant les périodes
venteuses, le diaphragme répondant aux vibrations induites
dans le fil par le vent. De la glace ou de la neige abondante pourraient
rendre les téléphones inutilisables et la ligne gémirait
sous le poids de la glace sur le fil. On savait que la pluie produisait
des bruits de frappe lorsque les gouttes de pluie frappaient le
fil. Les téléphones acoustiques étaient également
sensibles à la foudre, car il existait rarement un quelconque
type de protection contre la foudre, sauf pour les appareils équipés
d'une signalisation magnéto.
Cependant, lorsque les conditions étaient
réunies, de grandes revendications ont été
faites quant à l'efficacité des téléphones
acoustiques. Les témoignages font état de la possibilité
de poursuivre une conversation sur un téléphone acoustique
depuis n'importe où dans une pièce, un peu comme le
haut-parleur d'aujourd'hui. On dit aussi quon pouvait entendre
le tic-tac des horloges sur la ligne.
Malgré les principes intrinsèquement simples de la
téléphonie acoustique, plus de 300 brevets ont été
délivrés détaillant les prétendues «
améliorations » de cette technologie. Beaucoup d'entre
eux concernaient les mécanismes de signalisation, les écouteurs,
les méthodes de construction, le placement du diaphragme,
etc... Malgré toutes ces innovations, le cur même
de la téléphonie acoustique, le diaphragme et le fil
de ligne tendu, est resté inchangé.
J.R. Holcomb & Co. de Mallet Creek, Ohio a breveté
son téléphone acoustique le 9 juillet 1878.
Il a y eut la version breveté le 26 avril 1881 J.R. Holcomb
& Co. Cleveland, Ohio,
Nous trouvons des publicités Holcomb dans le Boston Weekly
Globe (Boston, Massachusetts) à la même période
où Bell Telephone et plusieurs autres sociétés
employaient des agents pour vendre en leur nom. Holcomb a publié
une série de brochures de quatre pages à des fins
commerciales. Nous les avons vus datés de 1879, 1880 et 1881
sur la base d'un contenu « témoignage ». Ils
présentent plusieurs gravures sur bois distinctives et proéminentes.
La première est une gravure sur bois « conceptuelle
» montrant un téléphone monté dans un
bureau et également une résidence avec des fils entrant
et sortant d'une « manufacture » et d'une « ville
». La deuxième gravure sur bois distincte est une « Vue
générale et en coupe » du récepteur/émetteur
téléphonique. Une variante de cette gravure sur bois
ne montre que l'extérieur des postes téléphoniques.
Les premières publicités vendaient le « jeu
de téléphones » à quatre dollars.
Le câblage des postes téléphoniques était
disponible pour 3 cents par tige, garanti pour fonctionner sur une
distance d'un mile.
L'article publicitaire proposé ici est une bizarrerie que
nous n'avons pas vue et est organisé en trois parties. Le
tiers supérieur comprend la gravure sur bois « concept
» de la brochure originale de quatre pages. Le tiers inférieur
comprend la gravure sur bois « Vue générale
et coupe » (de la variété la plus récente).
La section du milieu contient un libellé commun aux publicités
Holcomb, mais qui a été compressé et reformulé
par endroits. Cette pièce n'a aucun témoignage et
propose l'ensemble complet des téléphones pour trois
dollars cinquante cents. Le prix inférieur des marchandises,
combiné au manque de descriptions techniques, nous amène
à penser que c'est un peu plus tardif que les premières
publicités pour Holcomb, vers 1880.
Les supports marketing pour les téléphones Holcomb
sont rares et nous n'en avons vu que quelques exemples en 20 ans.
Bien que « History of Medina County and Ohio » (p. 786)
vante que le téléphone était l'un des meilleurs
et s'est vendu à 10 000 unités, nous trouvons cela
hautement improbable étant donné le manque d'artefacts
et de littérature restants. Holcomb était cependant
clairement un bon homme daffaires, commençant modestement
et évoluant bien au fil des années defforts.
Il s'agissait de sa première aventure dans le domaine du
téléphone, après avoir vendu au détail
des nouveautés, des fournitures scolaires, publié
un journal pédagogique à succès et d'autres
entreprises.
F. T. Viles était probablement Frank T. Viles de la Western
Union Telegraph Company. Il apprit la télégraphie
à Waltham MA en 1872, puis devint opérateur et messager
pour Western Union à Concord MA. Il a travaillé comme
opérateur télégraphique dans diverses sociétés
de chemin de fer et de télégraphe en Nouvelle-Angleterre
jusqu'au 12 février 1880, date à laquelle il est entré
au service de la Western Union Telegraph Company à New York.
De retour en Nouvelle-Angleterre en 1882, il travaille dans divers
endroits comme directeur de nuit. Il devint inspecteur de la ligne
urbaine de la Western Union Telegraph Company et loua un service
de fil à Boston en septembre 1887. Viles était très
respecté, créant de nouveaux aménagements et
conceptions de bureaux qui furent intégrés aux opérations
de Western Union.
Concernant cette entreprise, nous ne trouvons aucune annonce dans
les journaux d'époque, ni aucune mention de celle-ci sur
Google. Il est probable que Viles ait été pris dans
la nouvelle vague de technologies passionnantes, fatigué
du travail à temps partiel, et ait contacté Holcomb
en tant qu'agent pour concurrencer les agents déjà
en place pour Bell Telephone et d'autres. En 1880 il part pour New
York avec un vrai travail pour Western Union. Coldbrook Springs
pourrait faire référence à deux endroits du
MA - l'un un dépôt ferroviaire, l'autre un village
supprimé à la fin des années 1800 lorsque le
réservoir Quabin est entré en jeu. Tous deux dans
la région de Barre, MA. Le texte publicitaire de cet article
est intéressant car il se positionne clairement contre Bell
Telephone - et les points de discussion (différents des brochures
Holcomb traditionnelles) peuvent contribuer à la compréhension
du marketing de la téléphonie dans la région
de Boston au cours de cette période. Cette période
était le Far West pour les premiers téléphones,
et tout le monde voulait une part du gâteau !!

Communication entre le bureau et la résidence par un fil
métalique.
J. C COOMBS. Téléphones
mécaniques. N° 230 924. Breveté le 10
août 1880, MASSACHUSETTS.
À tous ceux qui sont concernés :
Sachez que moi, JOSEPH O. UOOMBS, du village d'Oampello, de
la ville de Brockton, du comté de Plymouth, de l'État
du Massachusetts, j'ai inventé une nouvelle et utile
amélioration des téléphones ; et je
déclare par la présente que celui-ci est décrit
dans la description suivante et représenté dans
les dessins annexés, dont la figure 1 représente
une coupe longitudinale d'un téléphone ayant mon
invention, tandis que la figure 2 est une vue latérale
à une échelle agrandie de une partie du conducteur
reliant les disques vibrants émetteurs et récepteurs.
Ce perfectionnement concerne particulièrement le genre
de téléphone dans lequel les disques émetteur
et récepteur sont reliés par le conducteur qui
leur est appliqué directement, sans s'étendre
autour d'électro-aimants, et constituant une partie d'un
circuit électro-magnétique.
Mon amélioration dite consiste en la combinaison des
deux disques ou plaques vibrantes avec un conducteur composé
d'une série de fils métalliques entrelacés
ou tressés ensemble, au moyen duquel je suis
en mesure de surmonter ou d'éviter la ou les sonneries
désagréables accessoires à l'utilisation.
d'un seul fil comme conducteur, et qui gênent très
sensiblement le bon fonctionnement de l'appareil, ou le rendent
parfois pratiquement inutile.
Outre ce qui précède, un tel conducteur procure
un ou plusieurs autres avantages importants, les messages transmis
d'un disque à l'autre étant généralement
donnés dans des tons beaucoup plus clairs ou avec une
plus grande distinction que ce n'est le cas lorsqu'un seul fil
est utilisé. De plus, le conducteur, composé d'une
série de fils tressés ensemble, est plus solide
et plus durable. Dans les dessins, A représente le disque
de réception et B le disque de délivrance ou de
transmission d'un téléphone acoustique commun,
ils étant appliqués et correctement disposés
à l'intérieur des embouchures O I, telles que
celles qui sont couramment utilisées. S'étendant
du centre d'un disque à celui de l'autre se trouve le
conducteur, qui est composé d'une série de fils
métalliques à dents, entrelacés ou tressés
ensemble, le tressage pouvant être accompli par une machine
à tresser ordinaire.
Je ne revendique pas dans un téléphone acoustique
un conducteur métallique composé d'un seul. fil;
mais je prétends que c'est La combinaison d'une série
de fils conducteurs métalliques entrelacés ou
tressés avec les disques émetteurs et récepteurs
d'un téléphone acoustique, ledit assemblage de
fils étant étendu entre lesdits disques, ou de
l'un à l'autre des eux, et appliqués à
ceux-ci par des moyens de connexion appropriés.
JOSEPH O. COOMBS. |
SPÉCIFICATION
faisant partie des lettres patentes n° 230 924, datées
du 10 août 1880. Demande déposée le 9 février
1880.
 |
sommaire
Utilisations typiques des téléphones
acoustiques
Tiré du Friendship Chronicle, Allegany County, New York,
1880 :
|
Chuchotements nerveux
Les relations domestiques et commerciales déjà
proches et chères entre la maison et les lieux d'affaires
de plusieurs de nos commerçants ont été
rendues encore plus rapides et plus intimes grâce à
l'un des derniers triomphes de la science.
Nous faisons allusion au téléphone. Lorsqu'un
objet d'utilité pratique est porté à
la connaissance du public, soit dans les studios d'art, soit
dans les ateliers scientifiques, les hommes d'affaires de
l'Amitié sont prompts à profiter de ses avantages.
La disponibilité du téléphone ayant été
rendue manifeste, il a été immédiatement
mis en service.
Le premier de ces instruments intéressants et précieux
a été installé par John Horner entre
sa résidence de la rue Main et le dépôt
d'Erie. Elle s'étend sur une distance de 2 000 pieds
et constitue la plus longue ligne de la ville.
La file dattente suivante était celle de Fred
Oliver entre le magasin Wingate & Oliver voisin de lAmerican
House et la résidence de Fred sur Depot Street. Il
a fonctionné avec succès pour quelques temps.
Lundi, plusieurs nouvelles lignes ont été mises
en place. Il s'agissait respectivement de :
* de la liaison entre le magasin Flint & Dayton's sur
Main Street et la maison sur Mill Street
* de la liaison entre le magasin Oliver & Sawyer et la
maison H.S. Oliver au nord du dépôt d'Erie
* de la liaison entre la 1ère Banque Nationale et la
résidence du Colonel A.J. Wellman et le sanctuaire
du rédacteur en chef du Chronicle et sa résidence
sur la rue Main Est
* W.H. Scott en a une entre son épicerie et sa maison
sur Depot St.
Toutes ces lignes sont testées avec des téléphones
fournis par J.R. Holcomb & Co., Mallett Creek, Ohio. Ils
fonctionnent sur le principe acoustique et sont extrêmement
satisfaisants.
Plusieurs nouvelles lignes seront mises en place immédiatement,
dont
* une entre le magasin de M.L. Engle et sa résidence
à la jonction de Water et Main Street
* une autre entre le bureau de poste et la résidence
du maître de poste Howard sur New Street
* et encore une autre entre le nouveau cachot (quand il sera
construit) et le bureau du chef de la police (quand ce fonctionnaire
sera nommé).
La progression téléphonique de Friendship est
extrêmement gratifiante.
|
sommaire
Le publipostage : La
Publicité pour les téléphones acoustiques par
le service postal,
La publicité périodique coûtait
cher. Ainsi, utiliser le système de publipostage était
un choix logique et économique. Sans le système postal,
les fabricants de téléphones acoustiques auraient
eu du mal à vendre leurs produits.

Plutôt que des gobelets en papier, les téléphones
acoustiques utilisaient des boîtiers en bois et en métal
associés à un diaphragme.
Divers matériaux ont été utilisés pour
construire les diaphragmes, tels que le métal, le papier,
le parchemin, etc. La corde était généralement
remplacée par un fil de fer galvanisé toronné
ou un fil de cuivre. Il existait divers « isolateurs »
et poulies qui soutenaient, avec un minimum de perte et de distorsion
dues aux vibrations, et permettaient au fil de négocier les
virages. De plus, il existait des dispositifs de commutation (appelés
centraux) qui permettaient à un téléphone de
se connecter à plusieurs téléphones différents
(un à la fois).
Les téléphones acoustiques étaient annoncés
comme capables de communiquer jusqu'à trois kilomètres.
Ils étaient donc adaptés aux communications des petites
villes, par exemple d'un magasin à une maison ou de la poste
au dépôt. Ces téléphones pourraient également
communiquer verticalement dans des immeubles à plusieurs
étages. Les problèmes avec un fil qui passait à
l'extérieur étaient le vent et la pluie qui pouvaient
provoquer - comme avec une harpe éolienne - un hurlement
aux deux extrémités.

Il y a eu 175 brevets américains délivrés sur
les téléphones acoustiques et leurs accessoires au
cours de la période 1878-1893. 1893-1894 est la période
pendant laquelle les brevets téléphoniques originaux
ont expiré, ce qui a entraîné le déclin
de l'utilisation et la disparition éventuelle du téléphone
acoustique.
Les fabricants de téléphones acoustiques faisaient
très peu de publicité dans les magazines et journaux
contemporains.
Les quelques publicités que l'on trouve sont assez petites,
certaines mesurant un demi-pouce de hauteur.
La majeure partie de la publicité a été réalisée
sous forme de brochures postales ; pendant toute la période
du téléphone acoustique, à partir du 1er mai
1879, le taux de troisième classe, à l'unité,
pour divers imprimés et circulaires était de un cent
par pièce.
Téléphone
acoustique jouet, carte commerciale générique vers
1880.
Dans de nombreux cas, les brochures étaient envoyées
par la poste dans des enveloppes richement imprimées, qui
étaient elles-mêmes des mini-catalogues, représentant
fréquemment les téléphones et indiquant leurs
prix. Toute personne entrant en contact avec les enveloppes était
ainsi exposée à la publicité. Par conséquent,
le système postal a aidé et encouragé la publicité
en déplaçant les enveloppes à travers le pays
pour un centime .
J.R. Holcomb & Co. est réputé
pour avoir été le plus grand fabricant de téléphones
acoustiques.
Le premier secteur dactivité de lentreprise,
lancé à Mallet Creek, Ohio en 1872 par J.R. Holcomb,
était limpression de cartes. Cette entreprise prospéra
évidemment puisquen 1875 un bâtiment de deux
étages avait été érigé. En 1879,
J.R. s'associe à son frère, J.D. Holcomb. En 1880,
un troisième frère, C.F. Holcomb, rejoint. Lentreprise
publiait un magazine mensuel, The Teachers Guide, et
tenait également un magasin vendant des nouveautés,
des fournitures scolaires, des articles de papeterie, des livres
et des instruments de musique. De plus, l'entreprise possédait
trois presses à vapeur, un atelier d'usinage et une épicerie.
Le 1er mars 1882, J.R. Holcomb & Co. déménagea
de Mallet Creek au bâtiment Atwater à Cleveland, Ohio.

Le premier envoi Holcomb enregistré montre une image
en coupe du téléphone, similaire (mais pas identique)
au dessin en coupe du brevet.
Le texte sur la couverture indique que le diaphragme est en métal,
alors que le brevet suggère du parchemin ou un matériau
équivalent. La couverture indique que le téléphone
fonctionnera sur une distance d'un mile et que le prix est de 3,50
$ pour un ensemble de deux téléphones.
La page suivante présente une liste de prix ainsi que le
dessin sur la couverture et une vue extérieure générale
du téléphone. Le prix du fil était de 3 cents
par tige (16,5 pieds). Les isolants coûtaient 35 cents la
douzaine. La page 4 contient des références et des
témoignages de clients appy.
En supposant que les témoignages soient réels, ils
montrent une large distribution de téléphones Holcomb
(de New York à la Californie).
Bien que Holcomb travaillait dans le secteur de l'imprimerie, les
brochures étaient imprimées par J.B. Savage, de Cleveland,
sur du papier bon marché. Les brochures ultérieures
n'indiquent pas l'imprimeur et ont probablement été
imprimées par Holcomb (sur du papier de haute qualité)
..
Une nouvelle version du téléphone acoustique
est apparue vers 1880.
.
 
Appareil Holcomb et brochure accompagnant le petit téléphone
à ficelle très répendu aux USA à partir
de 1878
L'instrument ressemble à celui décrit
précédemment, cependant, il est de conception plus
sophistiquée et coûte maintenant 4,00 $ par jeu.
Le téléphone, dont "plus de 3 000 appareils fonctionnent
déjà avec succès", est désormais
appelé "Téléphone automatique de Holcomb"
plutôt que "Téléphone acoustique de Holcomb".
La brochure de quatre pages jointe est similaire à celle
présentée précédemment, mais imprimée
sur du papier de meilleure qualité, peut-être imprimé
par J.R. Holcomb & Co. eux-mêmes.
À la fin de 1880, J.R. Holcomb & Co. avait vendu dix
mille appareils téléphoniques.
En 1881, un tout nouveau modèle fut introduit sous le nom
de « téléphone amplificateur amélioré
de Holcomb ».
Téléphones
à ligne privée améliorés de Holcomb,cotés
à 40,00 $
Le « téléphone amplificateur » - breveté
aux États-Unis n° 240 713 le 26 avril 1881 et signé
par les trois frères Holcomb était considérablement
plus grand que les téléphones précédents,
mesurant 10,5 pouces carrés et 4 pouces d'épaisseur,
permettant un très grand diaphragme (parchemin) ce qui provoque
des vibrations plus importantes sur le fil. La spécification
de distance a désormais été étendue
à deux milles. En fait, il y avait deux diaphragmes avec
un espace d'air entre eux. On disait que cet arrangement réduisait
« les vibrations de sonnerie latérale si communes aux
téléphones de cette classe ». Ce brevet comprenait
également un « isolant » qui ressemble
à une épingle de sûreté.
La brochure jointe a maintenant été allongée
à huit pages. La page de couverture spectaculaire, a été
agrémentée d'une bordure fantaisie et comprend le
poème suivant attribué à Prescott ;
The sleepless heralds run
Fast as the clear and living rays
Go streaming from the sun.
No peals or flashes, heard or seen,
Their wondrous flight betray;
But yet their words are quickly heard
In cities far away.
Le long des fils solides et tendus,
Les hérauts sans sommeil courent vite
Tandis que les rayons clairs et vivants
S'échappent du soleil.
Aucun carillon ni éclair, entendu ou vu,
Ne trahit leur vol merveilleux
Mais pourtant leurs paroles sont vite entendues Dans des villes
lointaines.
Par la suite, les téléphones acoustiques amplificateurs
et automatiques, améliorés, furent disponibles.
Le dernier téléphone Holcomb découvert s'appelle
« Téléphone à ligne privée
améliorée de Holcomb », probablement vers
1886.
Le téléphone intègre une alarme électrique
composée d'une cloche à deux timbres et d'une magnéto
à manivelle pour alerter l'appelé qu'un appel est
reçu. est imminent. Le circuit électrique est complété
par le fil acoustique, la terre étant utilisée pour
le retour. Tourner la manivelle actionne la sonnette d'alarme sur
le téléphone appelé. Sur les téléphones
précédents, la fonction d'alarme était réalisée
en frappant sur le diaphragme.

L'enveloppe suivante, est la dernière des enveloppes Holcomb
qui, au lieu de promouvoir des modèles particuliers, elle vante
les vertus de toute la gamme de téléphones Holcomb.
L'enveloppe illustre une marque incorporant un globe, indiquant :
Le meilleur du MONDE, et mentionne « Huit ans d'expérience
! L'ajout des huit années à la date originale du brevet
de 1878 donne la date de couverture à 1886 (date corroborée
par l'utilisation de la version regravée du timbre de 1 cent).
Lillustration prétend représenter le bureau de
Holcomb.
Le téléphone représenté est d'apparence
similaire à celui présenté précédement.
Cependant, la manivelle magnéto est représentée
sur le côté gauche du téléphone plutôt
que sur le côté droit.
Pendant cette période de développement
du téléphone, les Holcomb menaient leurs autres activités.
Le fait que la société Holcomb était si diversifiée
lui a permis de survivre après l'expiration des brevets téléphoniques
de Bell et lorsque les téléphones acoustiques n'étaient
plus nécessaires. Aujourd'hui, l'entreprise existe toujours
et vend des fournitures scolaires à Cleveland.
sommaire
D'autres fabriqants de téléphones acoustiques
étaient : Watts Telephone Co., Louisville, Kentucky ; Mechanical
Telephone Co., Albion, Illinois ; O. Hamblins Mechanical Telephone
Co., Newton, Illinois ; Shaver Corp., New York ; Lord Telephone
Mfg. Co., Boston, Massachusetts 2 ; IL. Huston & Co., Monticello,
Illinois (Télérema Téléphone); Union
Telephone Co., Wolcott, New York ; Sunderland Telephone Co., Portland,
Maine ; National Telephone Mfg. Co., Boston, Massachusetts (téléphone
Bennett) ; et J.H. Nellis, Canajoharie, New York. ... en voici quelques
uns qui ont laissé des traces.
1880 from Illinois
La compagnie de téléphone Elgin
L'Elgin Telephone Company a déménagé de Chicago
à Elgin, dans l'Illinois (siège de la célèbre
société horlogère), titulaire du brevet William
Hubbard. La demande de Hubbard du 3 janvier 1880 fut accordée
le 22 février 1881.
Henry W. Hubbard, à New York était probablement
un parent de Williams (lire la page téléphone
aux Usa). Bien qu'il ait déposé le premier brevet
le 3 janvier 1880, Hubbard a obtenu le brevet américain n°
237 979 le 22 février 1881, intitulé «
Téléphone acoustique ». Il a également
reçu un brevet canadien n° 14320 le 3 mars 1883, « Améliorations
sur les téléphones ».
La compagnie de téléphone acoustique du Nord-Ouest
La North-Western Acoustic Telephone Company était située
à Chicago, dans l'Illinois.
Aucun détail sur le fonctionnement de l'entreprise n'est
disponible autre que les données affichées sur un
courrier de troisième classe, vers 1881, avec une illustration
d'un téléphone (qui ressemble à Holcomb's Amplifying
Telephone) et envoyé par la poste de Chicago à Camden,
NJ.
1880 La compagnie de téléphone
Bennett
La Bennett Telephone Company a été créée
à Indianapolis, Indiana. au début des années
1880. John B. Bennett a reçu le brevet américain numéro
245 436 le 9 août 1881 pour un écouteur séparé
relié par un tube flexible creux à une chambre de
résonance.


Dans ce téléphone, le diaphragme qui vibre en réponse
aux ondes sonores est monté horizontalement et est relié
à l'orifice de parole par un tube incurvé.
Les premiers téléphones acoustiques utilisaient le
même diaphragme pour parler et écouter.
Le dessin du brevet montre une manivelle qui actionne un marteau
qui frappe sur le diaphragme pour alerter le destinataire de l'appel.
Le téléphone Bennett a été publié
dans Scientific American en 1882. La date du brevet indiquée
sur l'illustration du téléphone correspond à
celle du brevet.
Bennett entra au service de la National Telephone Company en 1883,
devenant directeur général et ingénieur en
chef pour l'Écosse et le nord-ouest de l'Angleterre de 1886
à 1890.
James F. Gilliland a reçu
le brevet américain numéro 253 597, le 14
février 1882, intitulé Générateur
de signaux téléphoniques. pour une amélioration
mineure sur une magnéto, et est le moyen pour le téléphone
Bennett de mettre sur ses appareils une sonnerie magnétique
et une magnéto pour faire sonner l'appelant et l'appelé
tout en utilisant la même ligne.
Il a également reçu le brevet américain
numéro 296 330 du 8 avril 1884 pour les
isolateurs utilisés avec les téléphones
mécaniques.
 |
 |
Le dessin du brevet montre
des illustrations du téléphone Bennett utilisé
avec les isolateurs et les postes à sonnerie magnétique.
Les isolateurs étaient utilisés pour fixer le fil
aux poteaux et pour contourner les coins. Le brevet numéro
327 940, délivré le 6 octobre 1885, concernait un
nouveau type de fil censé améliorer la qualité
de la transmission du son. Ce brevet contient également des
illustrations du téléphone Bennett.

Avec ces deux enveloppes, il est clair que les deux téléphones
sont identiques, Holcomb agissait bien en tant que distributeur
des téléphones de Bennett.
Heureusement, la couverture de Bennett était accompagnée
de quelques documents éphémères : (1)
une feuille d'offre spéciale ; (2) une commande vierge
pour l'offre spéciale ; (3) une liste générale
de prix; (4) une enveloppe de retour adressée.
La feuille d'offre spéciale, illustrée propose un
équipement d'une valeur de 35,00 $ pour 30,00 $.
La Bennett Telephone Company prétend être le seul fabricant
sous les brevets de Gilliland, Bennett et Lakin.
Vers 1889, le téléphone Bennett avait déménagé
à Boston et était maintenant fabriqué par la
National Telephone Manufacturing Co.
Gilliland et son frère Ezra T. ont ensuite créé
leur propre compagnie de téléphone à Chicago.
1894
téléphone Bennett
Le téléphone Bennett est illustré sur l'enveloppe
est expédié par la poste de Boston à Halifax,
en Nouvelle-Écosse, pour 1 cent.
Ce téléphone Bennett est décrit de manière
très détaillée en 1889 dans The Manufacturer
and Builder.
La coupe de l'article est identique à celle de la couverture.
Les méthodes de connexion et lajout dune magnéto
sont abordés dans larticle ainsi que les isolateurs
Gilliland .
Notez que le couvercle indique : AUCUNE BATTERIE REQUISE. De toute
évidence, le mince fil flexible reliant lécouteur
montre que le téléphone nest pas acoustique.
Il s'agit d'un exemple de téléphone « alimenté
par le son ».
La méthode de fonctionnement utilise une bobine de fil attachée
à un diaphragme. Les ondes sonores frappant le diaphragme
le font vibrer à proximité dun aimant permanent.
Cela provoque la génération dune petite tension
dans la bobine (loi de Faraday). Cette tension provoque la circulation
d'un courant qui fait vibrer la bobine et le diaphragme à
l'extrémité réceptrice et ainsi reproduire
le son. La résistance électrique du fil de ligne limitait
la distance entre les téléphones à environ
trois milles. (Le courant de ligne est inversement proportionnel
à la résistance de ligne, qui est proportionnelle
à la longueur du fil.
Couleur locale le périodique en 1879
rapportait ce qui suit.
La réception téléphonique à la chapelle
baptiste a été, à cause de la tempête,
reportée au mardi soir, où l'on a pu profiter d'un
moment intéressant. Un téléphone acoustique
a été utilisé avec environ un huitième
de mile de fil, qui a fonctionné à la satisfaction
de tous.
Une extrémité était au bureau du révérend
M. Moody, et son chant ou sa conversation pouvait être entendu
presque aussi distinctement que s'il avait été présent.
Il a chanté « Hold the Fort », la compagnie
à l'autre bout du fil donnant le refrain avec un bel effet.
La musique d'orgue, etc., était également très
parfaitement transmise. Le dialogue risible, Ce que le téléphone
a fait dans une histoire d'amour, a suscité beaucoup d'amusement.
Le court article suivant est tiré d'un périodique
de 1881 : « Un homme dormant dans un bureau à Mechanic
Falls a perdu connaissance à cause d'un éclair mardi
soir, qui est arrivé sur un téléphone «
acoustique ». Il nexiste aucune preuve que des parafoudres
aient été utilisés sur les lignes téléphoniques
acoustiques, ce qui est étrange, car les parafoudres ont
été utilisés sur les lignes télégraphiques
pendant de nombreuses années.
Nous terminons ainsi notre récit sur cette phase intéressante
et peu connue de la communication, qui a prospéré
dans la période 1878-1893, avec l'aide du service postal,
qui transmettait à peu de frais des informations graphiques
sur le pays sur ces téléphones, généralement
au tarif circulaire de 1 cent.
sommaire
1881 James A. Lakin a obtenu le brevet numéro
244 261, le 12 juillet 1881, pour un téléphone acoustique
avec une oreillette d'écoute séparée reliée
au téléphone par un tube rigide.

Si l'on utilisait le téléphone, l'écouteur
était dans la bonne position pour écouter. Le téléphone
comprenait un interrupteur mécanique utilisé pour
sélectionner le mode conversation ou écoute. Lakin
possédait sa propre compagnie de téléphone
acoustique en 1880. De toute évidence, il y a renoncé
et s'est joint à Bennett.
1879 La compagnie américaine de téléphone
de ligne privée
L'American Private Line Telephone Company a été créée
à Grand Rapids, Michigan en novembre 1880. Les inventions
de l'entreprise ont été réalisées et
brevetées par Henderson Willard. Thomas W. Peck était
président, E. F. Harrington vice-président et M. S.'Crosby
secrétaire et trésorier de la société.
La direction fut ensuite confiée à C. R. Brown, de
Saint-Ignace.
Willard a obtenu deux brevets américains.
Le brevet n° 221 135, délivré le 28 octobre
1879, présente trois variétés de téléphones,
une en bois, une en bois et en métal et une entièrement
en métal. Le premier est doté d'un couvercle à
charnière pour éliminer les bruits offensants
lorsque le téléphone n'est pas utilisé.
Alonzo M. Cheney était un co-inventeur.
Le deuxième brevet portait le numéro 238 740,
délivré le 8 mars 1881. L'embout buccal-auriculaire
du téléphone a une forme différente du
brevet précédent et prétend offrir des
performances supérieures. (photo de droite)
Une méthode permettant dacheminer le fil acoustique
autour dun coin est également brevetée.
Ce brevet a été déposé le même
mois que la création de l'entreprise. S. Laprise &
Cie, successeurs de S.T. Simonds & Cie.
Le son (la voix) passait à travers ce fil à l'aide
de vibrations. Pour appeler une autre personne, il fallait appuyer
sur un clip situé à l'arrière du téléphone.
Ce clip heurterait un diaphragme et, par conséquent,
des coups pourraient être entendus à l'autre bout
du téléphone. Cela signifie que vous êtes
appelé ! L'appareil était utilisé
sur de courtes distances entre les maisons privées et
les bureaux. |
 |
Une enveloppe publicitaire de cette entreprise avait
été postée au tarif de 2 cents (probablement
par courrier de première classe, après le 1er octobre
1883) de Grand Rapids, Michigan à Phillipsburg et contenait
une brochure.
 
1884 la brochure envoyée par la poste dans une enveloppe
imprimée avec la même illustration.
sommaire
1883 La compagnie de téléphone consolidée
Shaver
Cette société a été créée
par George F. Shaver en 1883 à New York. Shaver était
un inventeur prolifique avec de nombreux brevets liés aux
téléphones acoustiques.

1886 Enveloppe du "Consolidated Téléphone"
et un appareil simple inscrit "THE SHAVER TELEPHONE SYSTEM"
Sur l'enveloppe de 1886 une illustration d'un plus récent
Consolidated téléphone .
Il y a deux récepteurs acousriques : écouteurs (un
pour chaque oreille). Le diaphragme de transmission porte les mots
« Shaver System » sur sa périphérie. Une
magnéto pour signaler le destinataire de l'appel est incluse.
L'enveloppe a été envoyée par la poste de Mauch
Chunk à Wiessport, en Pennsylvanie, au tarif de 2 cents.
Dedans une publicité de 1886 montre la même illustration
que celle sur l'encveloppe. Le témoignage inclus était
:.
Nous exploitons le système Shaver Telephone dans cette
ville depuis deux ans sur une base de location variant de 2 $ à
8 $ par mois. Nous utilisons désormais plus de 400 téléphones
et construisons 20 nouvelles lignes par mois. La ligne la plus longue
de la ville mesure un mile, et à l'extérieur, nous
en avons construit une de 2-1/4 miles, reliant avec succès
Spring Valley et Muncie, N.Y....
Respectueusement GEORGE GEHE, général Man. N.Y. et
N.E. Tél. Co .
Plusieurs des brevets de Shaver
concernaient des centraux téléphoniques mécaniques,
qui eurent beaucoup de succès :
Ainsi, il pouvait y avoir un central auquel étaient rattachés
de nombreux téléphones acoustiques. Les lignes pouvaient
être commutées pour relier deux clients quelconques
du réseau.
1884 Vu G.F. Shaver Brevet 298,243. "Mechanical
Telephone Exchange",



Un journal de 1886 décrit l'un de ces centres, du
système Shaver.
|
LE SYSTÈME D'ÉCHANGE SHAVER«
TÉLÉPHONE MÉCANIQUE »
Le grand succès du téléphone électrique
a incité de nombreux moyens de communication sur de
courtes distances sans électricité, et le vieux
télégraphe a une nouvelle vie. un grand nombre
de téléphones acoustiques mécaniques
ont été construits sur ce principe, et avec
plus ou moins de succès. Mais plus récemment,
quelques améliorations décisives ont été
apportées, qui ont, je crois, mis le téléphone
téléphonique sur une base solide de praticabilité.
Jusqu'à présent, les téléphones
acoustiques étaient utilisés au moyen de plan.
entre des lignes privées individuelles uniquement.
Un système de central téléphonique très
ingénieux a maintenant été conçu.
M. George, le président de la Consolidated Telephone
Company, Jersey City, signifie les moyens très simples
utilisés . Un opérateur central est chargé
d'établir les communications.
Grâce à ces arrangements, deux abonnés
quelconques peuvent communiquer entre eux en très peu
de temps.
Le centre téléphonique lui-même est constitué
d'un diaphragme qui tend un treillis métallique formant
le contour de l'anse derrière le diaphragme.
 
Le fil de ligne est fixé au
sommet et des moyens sont prévus pour empêcher
le bourdonnement dû aux vibrations provoquées
par le vent.
Le bureau central, qui n'a été mis en service
que récemment, est représenté en perspective.
La tour sur laquelle les échanges sont construits présente
une élévation en coupe et entre dans les murs
de la tour. À l'intérieur, est placé
un support circulaire sur lequel le téléphone
de l'opérateur circule en cercle et au-dessus de ce
support s'élève une bande de fer en spirale,
perforée. Chaque ligne entre dans les murs de la tour
par une toile de cuir de petit diaphragme et se termine par
un bouton qui l'empêche de resortir. .
À partir de ce point, la ligne est prolongée
par le châssis de commutation de deux fils lâches
et l'un de ces fils sur lequel se place le téléphone
de l'opérateur chaque fois que les souhaits de l'abonné
sont connus. L'autre fil est utilisé dans le but de
connecter un l'autre abonné. Les lignes entrant dans
différents angles sont reliées par des fils
intermédiaires courts soutenus par des cintres appropriés
et munis de petits crochets pour un couplage rapide. Ils sont
ensuite tendus sur les poulies qui sont fixées à
l'anneau en spirale en n'importe quel point.
La spirale montante ne provoque aucune interférence
entre les fils de connexion courts, ils sont de niveaux différents,
une demi-douzaine de connexions peuvent être réalisées
en même temps. La figure 1 montre à l'opérateur
l'acte de relier le fil de l'abonné à son téléphone.
Ce dernier est doté d'un agencement tel que, après
avoir accroché la ligne, une légère tension
tend le téléphone, et peut alors parler et entendre.
Après avoir établi la connexion, débranche
son téléphone et se prépare pour le prochain
appel.
Les abonnés appellent le central moyen annonciateur
ordinaire et magnétos, et ils sont appelés de
la même manière des actuels centraux téléphoniques.
Le système se dit réalisable et trouvera sans
doute de nombreuses applications appropriées. la gravure
représente l'échange expérimental de
cette ville dans laquelle entrent une demi-douzaine de lignes
sous différents angles ; certains très aigus
et les lignes que les abonnés font sous de nombreux
angles, et l'articulation, bien que pas tout à fait
claire du téléphone Bell, reste bonne et suffisamment
distincte pour toutes fins pratiques. Les lignes parlées
sur une longueur variable varient de quelques centaines de
pieds à près d'un demi-mile.
Bien que de bons résultats soient déjà
obtenus, de nombreuses améliorations du système
central sont déjà en cours, ce qui augmentera
considérablement son efficacité, étant
entendu que celle décrite a orienté la première
expérience dans cette direction. les mines et usines
métallurgiques, ce téléphone simple et
peu coûteux.
|
Vu dans la presse de 1890 Téléphones
moléculaires Shaver
Le téléphone moléculaire décrit
a certainement le mérite d'être un appareil pratiquement
performant, en effet il possède une portée d'action
remarquables. Un léger murmure est rendu audible sur ce téléphone,
et le ton ordinaire de la voix à l'extrémité
opposée est reproduit avec suffisamment de puissance et de
clarté pour remplir une grande pièce afin qu'il puisse
être entendu distinctement.
M. Shaver, l'inventeur de ce téléphone, est d'avis
que son action est due à un mouvement ou à une perturbation
des molécules de la matière le composant.
Le système Shaver. Téléphones en Virginie.
La Charlotteville (Va.) Shaver Telephone Company a été
créée dans le but de construire un centre de téléphonie
moléculaire Shaver. Les travaux ont été poursuivis
avec une vigueur et une entreprise considérables et le système
sera achevé d'ici le 28 février.
Une fois terminé, cet échange sera le plus grand de
cette classe jamais construit. Il y aura quatre-vingt-cinq
stations dans le système et les câbles relieront
Lymans, Fry Springs, l'Université de Virginie, l'Observatoire
et d'autres points. Sur les 85 abonnés, 48 sont déjà
connectés et ils sont très satisfaits du fonctionnement
de leurs instruments. M. L. F. Hankel est président de la
société et M. W. A. Lankford, directeur, secrétaire
et trésorier. Le capital social de l'entreprise est de 30
000 $. M. W. A. Lankford est l'esprit dirigeant et contrôle
les droits de l'État de Virginie pour le système Shaver...
La Shaver Corporation continue de recevoir de nombreuses
commandes pour de nouveaux centraux de son système téléphonique
moléculaire, et les perspectives pour l'été
prochain sont plus prometteuses que jamais. Parmi les nouveaux centraux
à établir, il y en a un à Staunton, en Virginie,
avec 104 stations, qui seront probablement construites courant mars.
La Shaver Corporation vient de terminer l'incorporation des
États du Maine et du New Hampshire par comtés avec
leurs téléphones, et s'étend maintenant au
Connecticut. Ils ont récemment terminé l'installation
d'un central avec une centaine d'abonnés à Charlottesville,
en Virginie.
...
M. Joseph Harris, agent de la Shaver Corporation, 207 Broadway,
a obtenu un contrat de la Tompkins Cove Construction Company, de
Tompkins Cove, N. Y., pour un système bancaire de téléphones
Shaver dans ses usines, composé de cinq lignes de 500 à
1 000 pieds de longueur. Il doit également ériger
une autre ligne entre la tribune des juges et l'enceinte de pari
de l'hippodrome de Sheepshead Bay, sur une distance d'environ 1
000 pieds. Il a plusieurs autres contrats en vue. W.T.H.
La Shaver Telephone Company of Central New York a été
constituée à Albany le 1er décembre, avec un
capital de 30 000 $, pour exploiter une ligne téléphonique
reliant Syracuse, Utica, Rome, Oswego, Watertown et d'autres villes.
Un autre brevet en 1892 TELEPHONY Shaver Patent
N° 4799,227 dated July 19 1892


La même année, Shaver brevetera un nouveau microphone
magnétique. C'est la fin des téléphones acoustiques.
.
sommaire
1883 C. SELDEN MECHANICAL TELEPHONE.
Patented July 17, 1883. ST. Louis, MISSOURI.
L'objet général
de mon invention est de transmettre le son et la parole au moyen
de vibrations envoyées sur un fil, une corde ou un autre
transporteur de son.
Le but de mon invention est plus spécialement de combiner
à cet effet des moyens à la fois électriques
et mécaniques, et d'augmenter très largement l'amplitude
ou l'intensité des sons transmis par l'appareil.
Mon invention consiste à combiner avec un diaphragme
muni d'un cordon, d'un fil ou d'un autre support transmettant
le son et d'un électro-aimant dont la puissance d'attraction
sur ledit diaphragme varie par tout moyen approprié agissant
simultanément avec les ondes sonores ou les vibrations
frappant directement ledit diaphragme.
Mon invention consiste en outre en certaines combinaisons spéciales
d'appareils qui seront spécifiées dans les revendications
ci-annexées.
Dans les dessins annexés, la figure lis est une section
centrale verticale d'une forme d'appareil mettant en uvre
mon invention, et que j'appelle Vibraphone. La figure 2 est
une vue de face de l'appareil. La figure 3 est un schéma
des circuits électriques de l'appareil.... |
 |
1887 T. H. WEINHAUS. TÉLÉPHONE MÉCANIQUE.
N0. 355 363. Breveté le 4 janvier 1887.
 |
SPECIFÉCATION
faisant partie des Lettres Brevets N° 355,363, en date du
1er janvier 1887.
Sachez que moi, T.H. H. Weinhauss, citoyen des États-Unis,
résidant à St. Cloud, dans le comté de
Stearns, État du Minnesota, j'ai inventé certaines
améliorations nouvelles et utiles des téléphones,
de ce qui suit est une spécification, référence
étant faite aux dessins annexés.
Mon invention concerne des améliorations apportées
aux téléphones de la classe connue sous le nom
de téléphones mécaniques ; et l'objet
de mes améliorations est la construction d'un dispositif
qui augmentera l'efficacité ainsi que le volume et la
qualité du son transmis et reçu par lesdits téléphones.
J'atteins ces objectifs grâce à la construction
illustrée dans les dessins annexés, dans lesquels
la figure 1 est une section centrale d'un téléphone
construit conformément à mon invention. La figure
2 est une vue en perspective du diaphragme formé de deux
épaisseurs de parchemin et montrant l'une des couches
découpée.
Le boîtier se compose de deux parties, A et B, chacune
composée d'une seule pièce ou bloc de bois convenablement
tourné, comme décrit ci-après, entre lesquelles
est tendu et serré le diaphragme D, constitué
de deux épaisseurs, d,oi' de parchemin. r)la partie arrière,
A, présente une grande cavité centrale des deux
côtés, et entre ces cavités une fine cloison
iiat est retenue pour former la table d'harmonie a. La "partie
avant du bloc arrière, A, est retournée ou en
retrait en A", adjacente à sa périphérie,
pour former un épaulement annulaire, A2, adjacent à
sa cavité centrale, A, et sur cet épaulement les
deux épaisseurs de parchemin du diaphragme D sont tendus,
après avoir été convenablement amortis,
en forçant sur leurs bords l'anneau avant B du boîtier,
la face arrière dudit anneau étant convenablement
évidée et épaulée en BZ pour correspondre
et s'emboîter avec l'épaulement annulaire et évidement
sur le bloc arrière, A. Par cet emboîtement des
surfaces, deux plis et courbures circulaires, dL d?, à
angle droit l'un par rapport à l'autre, sont formés
dans le diaphragme, qui empêchent effectivement sa relaxation
ou sa cession sur les bords. Les pièces A et B sont ensuite
réunies par des vis à bois c... |
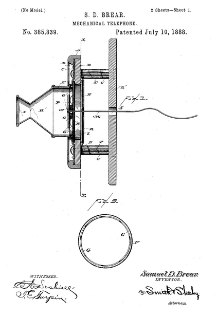
1887 Mechanical Telephone Brevet William W. Nichols

SAMUEL D. BREAR. TÉLÉPHONE MÉCANIQUE. N°
385 889. Breveté le 10 juillet 1888.
SPECIPICATION faisant partie des
Lettres patent n° 385,839, 10 juillet 1888.
A qui de droit :
Sachez que moi, SAMUEL D. BREAR, citoyen des États-Unis,
résidant à Vinona, dans le comté de Vinona
et dans l'État de Minnesota, j'ai inventé certaines
améliorations nouvelles et utiles dans le domaine des
téléphones ; et je déclare que ce qui suit
est une description complète, claire et exacte de l'invention,
telle qu'elle permettra à d'autres spécialistes
du domaine concerné de la fabriquer et de l'utiliser.
Cette invention concerne certaines améliorations apportées
aux téléphones acoustiques ; et il a pour but
de construire un instrument qui sera extrêmement sensible,
qui s'ajustera à la tension du fil conducteur, et qui
possédera la plus grande simplicité dans toutes
ses parties, comme nous l'expliquerons plus en détail
ci-après.
Les objets mentionnés ci-dessus sont atteints par les
moyens illustrés dans les dessins annexés, dans
lesquels : la figure 1 représente une vue en coupe longitudinale
verticale de mon téléphone amélioré
; Fig. 2, une vue en coupe transversale prise selon la ligne
:0a; de la Fig. l, et la Fig. 3 une vue arrière du tambour
ou boîtier extérieur du téléphone
détaché.
En se référant aux dessins, la lettre A indique
un cadre renfermant une tablette rectangulaire, B, en bois ou
autre matériau approprié, à la face extérieure
de laquelle est fixée une feuille métallique (3,
au moyen de dispositifs de fixation appropriés, D. Le
la tablette en bois est dotée d'une ouverture centrale
d'un diamètre approprié, et autour de ladite ouverture,
à son bord avant, est fixé un anneau ou un anneau
métallique, E. La feuille métallique fixée
à la tablette est dotée d'une ouverture centrale
correspondante, et à travers ladite ouverture prolonge
l'extrémité arrière d'un tambour F, qui
constitue le boîtier récepteur sonore du téléphone.
Ledit tambour est fixé dans l'ouverture de la tôle
métallique, et son bord arrière est découpé
de temps en temps, formant une série de roulements, G,
qui s'étendent à l'intérieur de l'anneau
mentionné ci-dessus. La lettre B indique un diaphragme,
en membrane ou autre matériau approprié, qui est
étiré sur l'anneau ou l'anneau à l'extérieur
de celui-ci, et qui est confiné étroitement à
la face de la tablette de bois à intervalles réguliers
autour de son ouverture au moyen des roulements G, mentionnés
ci-dessus, de manière à la maintenir dans un état
de tension élevée et à la faire réagir
facilement aux vibrations du volume d'air devant elle lorsque
un son est produit en face de la trompette du téléphone.
Le tambour, à son extrémité extérieure,
est pourvu d'un boîtier de condensation H et d'une trompette
I, au moyen desquels le son de la voix ou d'une autre source
peut être dirigé sur le diaphragme.
L'arrière de la tablette en bois, autour de son ouverture
centrale, est fixé à un anneau métallique
ou à un anneau similaire à l'anneau mentionné
ci-dessus, et à la face arrière de ladite tablette
est fixée une plaque métallique R au moyen de
dispositifs de fixation L. , ou non, de manière à
prendre appui contre l'anneau et à se maintenir en tension
et hors contact avec la tablette à cet endroit. Entre
l'anneau et la face arrière de la tablette sont tendus
et serrés une série de brins vibrants, Z, en caoutchouc
ou autre matériau approprié qui agissent en conjonction
avec le diaphragme vibrant et la feuille vibrante arrière
pour amplifier les vibrations des ondes sonores entrant dans
la trompette. ,et ainsi augmenter la sensibilité du téléphone.
... |
 |
sommaire
Des systèmes de « téléphone
mécanique » des versions essentiellement
élaborées de « deux canettes et une ficelle
» étaient en fait utilisés dans des zones non
desservies par le système téléphonique de Bell
(et qui échappaient à tous les brevets de Bell).
Certains étaient des centraux complets avec des standards
dopérateurs, comme le «Pulsion Téléphone
» de Lemuel Mellett inventé en
1888 pour être utilisé sur les chemins de fer américains
.
1888-1889 Le téléphone
Pulsion
En Angleterre, un
article de journal de 1889 rapporte : « Le
téléphone Pulsion était aussi un
téléphone mécanique qui semble vraiment
pouvoir rivaliser avec le téléphone ordinaire,
en tout cas pour des distances modérées. Il a
été récemment exposé sur une ligne
de 3 miles, entre Finchley-road et Hendon, sur le Midland Railway
(près de Londres).
C'est l'invention de M. Lemuel Mellett, de Boston,
États-Unis (En fait, il était originaire de Newton,
puis Somerville, Massachusetts).
Le principe semble être d'avoir sur la plaque sonore un
certain nombre de petits ressorts hélicoïdaux maintenus
à une seule extrémité ; ceux-ci répondent
à diverses vibrations harmoniques, et la vibration du
fil est reprise et renforcée, donnant une grande netteté
à l'énoncé. Il semble que peu importe que
le fil soit tordu ou qu'il passe à travers de la terre
meuble. Une particularité est qu'on peut l'écouter
à tout moment en posant un chapeau sur le fil, une qualité
utile en cas d'accident, mais évidemment impropre aux
messages privés. |
 |
Le « téléphone à pulsion
», nouveau téléphone mécanique d'une grande
puissance et d'une grande clarté inventé en Amérique,
fut testé sur le Midland Railway entre les gares de
Finchley Rd et Hendon. Les conversations menées entre
les opérateurs des deux stations et une boîte à
musique placée dans une station ont été distinctement
entendues dans l'autre. Ces tests et d'autres ont démontré
avec brio « les puissances remarquables du système et
son utilité en cas d'accident ferroviaire, ou dans d'autres
circonstances où un poste téléphonique est désormais
à portée de main ...
Le brevet L. Mellett
No. 392,816. Patented Nov. 18, 1888.
  
Cette demande est faite en remplacement d'une demande déposée
jusqu'à présent auprès du Bureau des brevets
par Herman XV. Ladd et le présent demandeur conjointement,
2 juin 1887, numéro de série 240 093, couvrant le même
sujet identique.
Le but de cette invention est de produire un téléphone
à impulsions simple et très efficace, par lequel, sans
aucun courant électrique ou magnétique, la parole humaine
ou d'autres sons peuvent être transmis à une plus grande
distance et d'une manière plus distincte qu'il n'était
possible jusqu'à présent sans un tel téléphone.
actuel. Avec mon appareil, l'isolation du fil n'est pas nécessaire
et, pour les courtes distances, des connexions à la terre sont
souhaitables pour réduire la résonance. Des bobines
de support de fil enroulées à intervalles réguliers
autour des branches d'arbres améliorent la transmission. Je
forme des embranchements sans isolation pour transmettre vers plusieurs
points simultanément à partir d'une seule ligne et d'un
seul instrument. La première section du fil est tendue ; mais
le reste peut consister à prévoir des ouvertures latérales
à l'intérieur de l'instrument pour que le son s'échappe
derrière le diaphragme, et à étendre de préférence
un tube lisse jusqu'à une ou aux deux oreilles de l'opérateur,
pour faciliter l'audition tout en parlant à travers l'instrument.
Un bouton-poussoir à ressort peut fermer l'ouverture, lorsque
vous le souhaitez ...
|
The Pulsion Telephone SCIENCE December
27, 1889.
Une scène curieuse s'est déroulée récemment
à un endroit appelé Child's Hill, sur la voie
ferrée de Midland, près de Londres, en
Angleterre.
Ce qui s'est passé là-bas, comme l'a confirmé
l'ingénierie, était le suivant. Un groupe de
gentlemen descendit du train et gravit le talus. Ici, lun
deux sapprocha dun fil tendu le long des
poteaux télégraphiques et, posant à plat
le sommet de son chapeau, il commença une conversation
avec quelque correspondant invisible. Les réponses
à ses questions et remarques revenaient de manière
assez audible au groupe rassemblé autour de lui, tandis
que ceux qui se sentaient sceptiques quant à la réalité
de ce qui se passait devant eux, s'éloignaient et,
pressant le fil contre leur oreilles et pommettes, ont entendu
les messages de retour par eux-mêmes. Après une
conversation décousue, on demanda à l'orateur
inconnu de pousser un bon cri, et en réponse il jodelait
[yodelait] avec une telle vigueur qu'un garçon marchant
péniblement le long de la coupe, de l'autre côté
des lignes montantes et descendantes, regarda avec stupéfaction.
Il se trouvait à au moins quatre-vingts ou cent pieds
de distance, et pourtant il entendait évidemment le
cri transmis le long du fil et reçu dans la couronne
d'un chapeau de soie ordinaire. Il était tout à
fait impossible qu'il ait capté le son original, car
il était émis dans une cabine construite sur
le bord de la ligne à la station Welsh Harp, à
plus d'un mile de distance, et n'était probablement
pas directement audible à une centaine de mètres.
Ceux qui se trouvaient sur le talus savaient qu'elle était
transmise au moyen d'un nouveau téléphone mécanique,
car ils avaient déjà écouté la
même voix à la station de Finchley-road, située
à 3 milles et demi du Welsh Harp.
Lorsque tout le monde fut convaincu que les paroles, les sifflements
et les sons musicaux pouvaient être reçus sans
appareil spécial, le groupe remonta dans le train et
se dirigea vers la gare de Welsh Harp, où ils trouvèrent
plusieurs lignes érigées dans le parc du train.
hôtel local. L'une des lignes part d'une petite cabane
dans le parc ; il se dirige ensuite vers un poste au bord
du lac et traverse directement une cabane sur la rive opposée.
La distance est comprise entre un quart et un tiers de mille
; et comme ce fil n'est pas particulièrement serré,
et ne commence qu'à une hauteur d'environ dix pieds
au-dessus de l'eau, on comprendra facilement qu'il doit reposer
sur presque toute sa longueur dans la boue qui forme le lit
du lac. Une autre ligne traverse les jardins ; ses supports
sont formés par des branches d'arbres, autour desquelles
il s'enroule trois fois autour de plusieurs, et est ensuite
orienté en biais par rapport à sa direction
originelle. Dans un autre cas, une rangée de statues
est conçue pour porter une ligne, qui est posée
sur n'importe quelle partie d'elles qui fournit un guide pratique.
Cette ligne est si lâche qu'elle peut être pliée
en forme de S par le pouce et l'index. Les diverses circonstances
semblaient cependant faire peu de différence pour les
instruments, et dans tous les cas, la conversation pouvait
se poursuivre avec la plus grande facilité et pouvait
souvent être entendue à un pied ou deux du récepteur.
L'instrument grâce auquel ces lignes curieusement construites
ont été réalisées pour donner
des résultats aussi remarquables est la propriété
de la British Pulsion Telephone Company. C'est l'invention
de M. Lemuel Mellett de Newton, Massachusetts, et déjà
plusieurs centaines d'instruments sont à l'uvre
à Boston et ailleurs. La construction est si extrêmement
simple quon sétonne quelle puisse
avoir autant deffet. Le récepteur, qui fait également
office d'émetteur, est constitué d'une caisse
en bois, divisée en deux parties par un diaphragme
métallique maintenu par un clip et des vis. Au centre
du diaphragme se trouve un trou par lequel passe le fil de
ligne, ayant à son extrémité un bouton
pour tirer. Jusqu'à présent, il n'y a pas de
nouveauté particulière permettant de distinguer
le téléphone de l'ancien pilulier et de la ficelle.
La nouveauté consiste en un ensemble de résonateurs
placés sur le diaphragme pour renforcer ses vibrations.
Ces résonateurs peuvent être réalisés
sous de nombreuses formes différentes ; ceux utilisés
à cette occasion sont des anneaux en spirale de différentes
longueurs et fabriqués à partir de fils de différents
calibres. Un jeu de ressorts est festonné entre les
vis qui maintiennent le diaphragme, tandis que d'autres sont
maintenus à une seule extrémité et font
saillie vers le haut et vers l'intérieur du boîtier.
Ces résonateurs sont choisis expérimentalement
dans des dimensions telles que chacun sera mis en vibration
par un ou plusieurs des tons que l'on trouve habituellement
dans la voix humaine. Par conséquent, le moindre tremblement
vocal communiqué au disque est immédiatement
capté par ceux-ci et immensément amplifié.
Cela se fait à la fois aux extrémités
d'émission et de réception, le résultat
étant que le fil est soumis à une vibration
moléculaire intense d'un caractère jusqu'ici
inapprécié. Il ne s'agit évidemment pas
d'une simple vibration latérale, comme celle d'une
corde de guitare, car un tel mouvement serait certainement
amorti par le fil posé dans le lac ; il souffrirait
également beaucoup dans le cas d'une travée
tendue de manière si lâche qu'au centre elle
repose sur plusieurs pieds sur le sol, mais il a été
démontré qu'une telle travée fonctionnait
raisonnablement bien. Il est évident cependant que
la vibration n'est pas purement longitudinale, car si elle
l'était, elle devrait être transmise par une
bobine de fil jetée lâchement sur le sol ; et
cela, nous le comprenons, nest pas le cas. Ce serait
cependant une perte de temps que dessayer de formuler
une théorie en dehors de linvestigation expérimentale.
Ce qui nous intéresse principalement maintenant, c'est
le fait qu'un téléphone mécanique a été
construit, qui parlera avec une distinction absolue sur trois
milles et demi, et qui est simple, bon marché et, surtout,
sans induction. Il est aisément concevable que ses
performances puissent être grandement améliorées
; de nouvelles formes de résonateurs peuvent être
trouvées qui ont une affinité plus proche avec
les tons de la voix que celles déjà essayées.
Deux cordes vocales constituent la source de tous les sons
que nous pouvons émettre, même si nous sommes
aussi doués que Patti, et il semble possible que l'on
trouve certains matériaux plus proches de leur action
que des hélices métalliques. Bien que ceux-ci
puissent vibrer en harmonie avec les sonorités du langage
humain, ils n'ont pas la même qualité sonore,
et la résonance métallique qu'ils confèrent
à l'articulation qu'ils transmettent n'est pas tout
à fait une amélioration.
|
Un autre article paru dans "La Nature"
Nov 1889
LE TÉLÉPHONE MÉCANIQUE
À PULSION.
Un NOUVEAU téléphone mécanique d'une puissance
extraordinaire a récemment suscité une attention
considérable à Londres et dans certaines
autres villes et villages de ce pays.
Il est d'origine américaine, comme tant d'autres améliorations
modernes de caractère exceptionnel, étant l'invention
d'un certain Lemuel Mellett, je crois de Boston, aux
États-Unis.
Comme vos lecteurs le savent, il y a eu de nombreux téléphones
mécaniques antérieurs, dont certains ont obtenu
beaucoup de publicité pendant une courte période,
et n'ont ensuite guère fait parler d'eux ; mais ayant
eu l'occasion d'expérimenter fréquemment le nouvel
instrument et d'observer sa puissance vocale, pour ainsi dire,
dans des circonstances très diverses, je ne puis douter
qu'il n'ait un grand avenir devant lui.
Il peut être clairement indiqué d'emblée
que l'instrument à pulsations est absolument indépendant
de toutes aides ou appareils électriques et qu'il n'a
donc besoin ni de l'alimentation d'une batterie pour le faire
fonctionner, ni d'une isolation d'aucune de ses pièces
pour les maintenir efficaces.
Il se compose uniquement de deux instruments simples et bon
marché reliés par un fil de cuivre ordinaire non
isolé, ou, mieux encore, par un double fil d'acier, les
deux parties étant légèrement entrelacées,
disons avec environ un seul tour par couple. pieds.
Le ou les fils sont simplement attachés à l'instrument
à chaque extrémité, la connexion étant
établie en quelques secondes.
L'instrument se compose d'un disque combiné à
une série de petits ressorts spiraux enfermés
dans un boîtier d'environ trois ou quatre pouces de diamètre.
Ces ressorts, disposés d'une manière qui a été
déterminée par l'expérience et de manière
à produire des vibrations harmonisées, paraissent
posséder le pouvoir d'amplifier ou d'accumuler sur le
fil les vibrations que la voix établit dans le disque,
et le fil semble posséder - possède sans aucun
doute - le pouvoir de transmettre à de grandes distances
et de donner sur un second instrument à pulsion les sons
de la voix.
La capacité de ce système simple de ressorts,
de disques et de fils à transmettre des sons de conversation
et autres à des distances considérables avec une
grande clarté et distinction, reproduisant les tons mêmes
de la voix et les qualités des sons musicaux avec mais
peu de réduction ou Cette modification est des plus surprenantes,
et cela ne l'est pas davantage que pour les nombreux hommes
de science qui l'ont récemment expérimentée.
L'auteur de cet avis ne peut peut-être pas faire mieux
que de relater ses propres expériences avec ce système.
Après avoir examiné et expérimenté
plusieurs courtes longueurs de fil, dont certaines dépassaient
un mile et demi, la semaine dernière, je me suis rendu
à la gare de Finchley Road du Mid-land Railway, à
partir d'un point près duquel une ligne avait été
transportée jusqu'à près de la station
Welsh Harp, à une distance de trois milles par la ligne
de chemin de fer, et davantage par la voie du fil, qui pour
la plus grande partie était transportée par les
poteaux télégraphiques, auxquels il était
attaché par des moyens très simples. moyens.
La conversation sur cette longueur de ligne, de plus de trois
milles, était extrêmement facile ; en effet, la
voix était si puissamment transmise qu'un chapeau ordinaire
suffisait à tous les usages du deuxième instrument,
sans s'approcher de laquelle la conversation se poursuivait
à plusieurs reprises au moyen des chapeaux de trois messieurs
présents, dont les sommets étaient simplement
placé contre le fil téléphonique.
J'entrai ensuite dans le jardin de la "Welsh Harp",
où une courte longueur de fil avait été
passée entre deux points, le fil en allant d'un point
à l'autre étant deux fois étroitement tordu,
à quelques mètres d'intervalle. de petites branches
rondes d'arbres, d'environ 1 pouce de diamètre, étant
enroulées autour de la branche trois fois dans chaque
cas.
Curieusement, cet enroulement serré des fils autour des
branches ne gênait en rien la transmission de la voix
d'un bout à l'autre du fil.
Une troisième et dernière expérience a
été faite avec un fil posé obliquement
à travers le lac Welsh Harp et laissé couler et
reposer sur le fond du lac.
La longueur de la ligne était approximativement estimée
à environ un tiers de mille, et d'un bout à l'autre
(à l'exception de quelques mètres à chaque
extrémité où le fil était acheminé
du bord de l'eau jusqu'à la cabine téléphonique),
le fil était complètement immergé. et sans
aucun autre support que celui que le fond du lac lui offrait.
Cependant, malgré cette immersion de tout le fil, la
conversation s'y faisait sans la moindre difficulté,
au moyen des instruments à pulsations.
En fait, la voix sortait à travers le fil immergé,
et le fil le plus long (plus de trois miles) mentionné
précédemment, avec une plus grande pureté
et douceur que par des longueurs plus courtes.
Je dois laisser à d'autres le soin d'expliquer, et s'il
le faut de découvrir, les fondements scientifiques du
succès de ce petit instrument extraordinaire.
Cependant, si l'on considère ses capacités pratiques,
comme illustré ci-dessus, il n'est pas surprenant que
les bureaux de poste, la police, les chemins de fer et d'autres
personnes commerciales submergent déjà d'applications
ceux qui s'arrangent pour utilisez le nouveau téléphone
qui, de par son extrême simplicité, est manifestement
bon marché. |
La compagnie de téléphone Elgin
(voir Hubbard 1880) a exposé le téléphone Elgin
à l'Exposition colombienne été 1892.
LE TÉLÉPHONE ELGIN.
L'exposition de cette entreprise était un système
téléphonique acoustique, une maquette de l'installation
étant exposée. L'instrument est construit de telle sorte
que l'appel, le récepteur et l'émetteur ne font qu'un.
Il n'a pas de connexion électrique et est donc destiné
à une utilisation strictement sur des lignes privées
limitées à de courtes distances. Les instruments sont
entièrement fabriqués en métal et sont auto-ajustables,
ne nécessitant pratiquement aucun espace mural sur lequel s'appuyer.
La ligne utilisée par ce système doit être tendue
de manière à ce que les mouvements du diaphragme fassent
vibrer toute la longueur de la ligne. La ligne ne peut donc pas être
posée en moulure ou sur un support fixe, mais doit être
suspendue ou fixée sur des ressorts légers.
SIMSON Patend 479,726 july 26 1892

En 1892, Hubbard était le cessionnaire
d'un brevet américain n° 481 133, « Téléphone
mécanique », inventé par William J. Bowen
de Norwalk, Ohio. Le brevet de Hubbard, en plus du récepteur-émetteur
téléphonique, comprenait également des détails
sur un standard ou un central rudimentaire, qui permettrait
à une personne de parler à plusieurs interlocuteurs.
On ne sait pas si la bourse a été mise en service ou
non.
C'était
le dernier brevet pour les téléphones acoustiques.
sommaire
Entre 1893 et 1894, les brevets de Bell expirent,
entraînant le déclin de la téléphonie
acoustique.
Petite histoire en rapport avec le téléphone
Holcomb :
Le premier téléphone mobile
au monde serait aujourdhui pratiquement méconnaissable.
Inventé en 1902, il avait la taille d'une poubelle et avait
une portée d'à peine 800 mètres. Son inventeur
était Nathan Stubblefield, « agriculteur, fruiticulteur
et électricien », qui se décrit lui-même
comme le père de la technologie mobile après avoir
breveté son invention « sans fil ».
Stubblefield a grandi
à Murray, Kentucky, et est parti en tant que jeune adolescent
pour s'inscrire au Male and Female Institute de Farmington,
à proximité. Malheureusement, ses études
ont pris fin à cause du décès de son père,
laissant Stubblefield sous la garde de sa belle-mère.
Malgré quelques circonstances désagréables,
il n'a jamais cessé de s'instruire en lisant des publications
scientifiques, comme Scientific American et Electrical World.
Son mariage lui a apporté une famille de neuf enfants,
qu'il a entretenus grâce à l'agriculture. Son inventivité
et son industrie l'ont amené à ouvrir une école
à domicile appelée « Nathan Stubblefield
Industrial School ».
Au cours de sa vie, il a consacré de nombreuses heures
et investi son petit argent pour établir un service téléphonique
dans sa ville natale, essayant de connecter les ménages
séparés de la région. Ses tentatives ont
commencé en 1886, lorsqu'il a commencé à
vendre et à installer des téléphones acoustiques
qui transmettaient les vibrations sonores entre deux
caisses de résonance distantes via un fil tendu au lieu
de l'électricité. Il réussit à étendre
sa vente au Mississippi et à l'Oklahoma.
Ce succès fut bientôt suivi d'un autre puisqu'il
obtint le brevet américain 378 183 pour la conception
d'un « téléphone mécanique »,
co-créé avec son partenaire Samuel Holcomb.
Cependant, il fut bientôt mis en faillite par la franchise
bien supérieure de téléphones électriques
Bell Telephone.
Néanmoins, Stubblefield n'a pas été découragé
par le fait d'être en dehors du jeu du « téléphone
» pendant un certain temps, pensant qu'avec un système
sans fil, il pourrait se connecter au Kentucky sans les dépenses
supplémentaires liées à l'installation
de poteaux ou de câbles et, en outre, il trouverait son
propre marché. Il s'est concentré sur l'induction
électromagnétique pour sa conception initiale.
|

|
Dans son verger, Stubblefield a
construit un mât de 120 pieds, capable de transmettre
la parole d'un téléphone à un autre en
utilisant des champs magnétiques, créant ainsi
un téléphone à induction. Au cours des
années suivantes, Stubblefield a expérimenté
son téléphone mais n'a jamais réussi à
le faire fonctionner sur de plus grandes distances. Il décide
alors de se tourner vers un nouveau produit : un téléphone
sans fil basé sur la conduction naturelle.
La quantité totale de fil nécessaire pour les
bobines du téléphone était plus longue
que ce qui était nécessaire pour obtenir une simple
connexion, mais l'invention permettait la mobilité. Il
a simplement mis en pratique une notion courante : leau
conduit lélectricité. Ainsi, le système
utilisait une étendue deau ou de terre comme moyen
de transmission de la voix, au lieu dutiliser des fils
dans un circuit électrique.
Stubblefield a fait la démonstration et la promotion
de son appareil sur la place publique de Murray le jour du Nouvel
An 1902, diffusant de la musique et de la voix vers des récepteurs,
l'un d'eux étant situé à cinq pâtés
de maisons. Un journaliste a été immédiatement
envoyé pour interviewer l'inventeur, qui, dans l'interview,
a prédit que son nouvel appareil serait utilisé
pour transmettre des nouvelles et des informations dans le monde
entier.
Un groupe d'entrepreneurs new-yorkais s'est intéressé
à l'histoire, offrant un demi-million d'actions à
Stubblefield de la Wireless Telephone Company of America en
échange des droits sur sa remarquable invention. Il a
accepté l'offre et a rapidement organisé des manifestations
publiques à Washington et à Philadelphie qui ont
été couvertes par les médias. Cependant,
une manifestation à Battery Park, à New York,
a échoué.
La cause était probablement le bruit de fond provoqué
par les nombreux circuits électriques qui étaient
auparavant mis à la terre dans cette zone densément
peuplée. Stubblefield a commencé à soupçonner
qu'il était impliqué dans un stratagème
de fraude boursière, doutes qui se sont concrétisés
lorsque la Wireless Telephone Company of America a fermé
ses portes.
Stubblefield ne s'est jamais remis de cet échec, bien
qu'en 1908 il ait breveté une nouvelle version conçue
pour communiquer entre les véhicules en mouvement tels
que les bateaux, les trains et les gares routières. Ses
inventions nont pas connu de succès commercial
et il sest retrouvé sans le sou. |
|
sommaire
Pour terminer, LE TELEPHONE ACOUSTIQUE
du 19ème siécle
Les téléphones
mécaniques présentés précedement
n'ont pas été utilsé en France,
Bell n'ayant pas obtenu de licence en France, le téléphone
magnétique a été développé
et installé dès 1878 sans cette contrainte, de
nombreux constructeurs fabriquaient déjà des téléphones
magnétiques.
Pourant avec
le téléphone acoustique les conversations
phoniques se faisaient à l'intérieur des habitations,
voire même entre immeubles voisins, au moyen de porte-voix,
dits acoustiques et souvent étaient couplés sur
les réseaux de sonneries éxistants de ces locaux.
Cet équipement était beaucoup moins cher à
installer et entretenir que les téléphones magnétiques.
Ces appareils consistaient simplement en un tube de cuivre qui
reliait les deux points entre lesquels devaient se produire
les entretiens.
A chaque extrémité du tube de cuivre était
fixée une embouchure en bois destinée à
faciliter l'émission de la parole.
L'acoustique est, comme on le voit, d'une grande simplicité
et son emploi a été fréquent toutes les
fois qu'il s'agit de converser entre deux pièces très
rapprochées, comme par exemple d'un étage à
un autre ou entre deux appartements voisins.
On conçoit que le tube de cuivre ne saurait être
d'une seule longueur.
Dans les parties droites on se sert de tubes ayant d'ordinaire
de 2m,80 à 3 mètres et on les raccorde au moyen
de petites parties d'un tube d'un diamètre un peu supérieur
appelées mandions et qui chaussent sur les premiers.
Pour permettre au porte-voix de suivre les contours des murs,
on se sert de différentes pièces de formes appropriées.
Les coudes servent à contourner les angles, les S à
échapper des entablements ou parties de boiseries en
saillie.
A chaque extrémité d'un porte-voix, on met ce
que l'on appelle une bague à vis servant à relier
un tube souple qui se termine par l'embouchure en bois que l'on
approche ainsi aisément de ses lèvres.
|
|

D'autres fois on simplifie les choses et on rend les appels
plus faciles en posant une sonnerie électrique annonce
et réponse qui double en quelque sorte le porte-voix.
L'addition d'appareils électriques a cet avantage
qu'elle permet de donner un appel dont on peut faire varier
l'intensité en prenant des sonneries plus ou moins
fortes.
Ces dernières peuvent également Nous allons
donner quelques installations de porte-voix prises parmi
les plus couramment employées.
sommaire
|
Les porte-voix les plus simples
sont ceux qui servent à transmettre des ordres entre
deux pièces superposées que l'on réunit
directement par un tube en cuivre de fort diamètre
(30 millimètres d'ordinaire).
L'extrémité du tube placée à
côté de la personne qui transmet les ordres
est terminée par une embouchure en cuivre sur laquelle
elle applique ses lèvres pour parler ; l'autre extrémité
est munie d'un pavillon de forme très évasée,
semblable à celui des instruments de musique. Ce
pavillon porte le nom de conque. Il permet d'entendre les
ordres transmis dans toute la pièce où il
se trouve.
A ce porte-voix il n'est adjoint aucun mode d'appel d'avertissement,
les deux personnes qu'il met en rapport sont supposées
être constamment près de l'appareil.
C'est le porte-voix du capitaine de navire qui donne au
mécanicien tous les ordres de marche.
C'est également celui qui est en usage dans de nombreux
restaurants et qui réunit la salle occupée
par le public à la cuisine située au sous-sol.
Les ordres se transmettent de la même façon.
Au lieu de commander : En avant, plus vite, doucement, stop
! ! les garçons de restaurant indiquent à
haute voix au cuisinier affairé autour de ses fourneaux,
les différents plats commandés par leurs clients,
en faisant suivre souvent leur énonciation d'un Boum
! que dans les moments de presse ils envoient avec un brio
tout professionnel.
|
Dans cette
embouchure en bois est enfoncé un sifflet. Quand
l'un des interlocuteurs veut entrer en conversation, il
retire le sifflet de l'embouchure et souffle dans celle-ci
pour faire résonner le sifflet placé dans
l'autre embouchure, et le remet ensuite en place.
La personne appelée retire son sifflet et souffle
à son tour afin d'avertir qu'elle est prête
à écouter, et l'entretien commence en portant
alternativement l'embouchure de la bouche à l'oreille
pour parler et écouter.
On trouvera, dans la vue ci contre, un spécimen de
porte-voix dans lequel nous avons réuni toutes les
pièces les plus couramment usitées dans la
pratique.
Lorsque d'un seul endroit on désire correspondre
à plusieurs autres, on en fait partir un nombre de
tubes égal à celui des directions à
relier au poste central.
Les appels se font ainsi qu'il a été dit pour
un porte-voix simple. Toutefois, comme au central on a besoin
de savoir de quelles directions viennent ces appels, on
munit chaque embouchure d'un sifflet donnant un son différent
qui permet de les distinguer entre eux.
Quand on désire savoir si on a été
appelé pendant une absence ou encore si l'on veut
éviter les sifflets de sons différents, on
fait usage d'embouchures à signal. Le sifflet de
ces embouchures est muni d'une petite tige en bois terminée
par une boule qui la rend plus visible. Quand on souffle
dans ce sifflet, cette tige est projetée au dehors
du logement qu'elle occupait et reste apparente tant qu'elle
n'a pas été remise en place à la main.
sommaire
|
Cliquez sur les pièces pour les agrandir
|
Un porte-voix à peu
près analogue est celui que l'on emploie dans les maisons
où l'enfant est confié aux soins d'une nourrice
occupant une chambre assez éloignée de celle
où se tient la mère du bébé.
Un gros tube réunit les deux pièces. L'extrémité
qui se trouve dans la chambre de la nourrice aboutit au-dessus
même du berceau et se termine par un large pavillon
placé en quelque sorte comme la pomme d'un appareil
à douche, de façon à ce que l'on puisse
entendre en prêtant l'oreille à l'autre bout
ce qui se passe dans la pièce.
La mère peut ainsi surveiller à distance son
enfant, se rendre compte s'il crie ou s'il se plaint et au
besoin parler à la nourrice.
Nous avons dit que le porte-voix le plus couramment employé
consistait en un tube de cuivre droit muni à chacun
de ses bouts d'une embouchure avec sifflet.
Un tube souple sert d'intermédiaire et rend plus facile
l'entretien.
Quand on doit appeler de deux points différents à
un seul endroit, on se sert d'une fourche ou Y et, pour faciliter
les appels, on emploie les sonneries électriques.
Dans les hôtels à voyageurs, on met souvent un
porte-voix qui relie chacun des étages au rez-de-chaussée
: le même tube comporte un branchement par étage.
L'embouchure du rez-de-chaussée est munie d'un sifflet
qui indique les appels ; les autres embouchures sont fermées
par un bouchon sans sifflet.
sommaire
|
Si on veut pouvoir appeler
réciproquement, on installe des sonneries électriques
afin de pouvoir sonner à tel étage que l'on
désire, et au besoin on met un tableau indicateur au
rez-de-chaussée, au cas où la personne qui doit
répondre est exposée à s'absenter.
On pourra également se servir de porte-voix séparés
pour relier ensemble les différents appartements d'un
même immeuble à la loge du concierge. Chaque
locataire a, de la sorte, la faculté de demander ce
dernier ou de lui transmettre des ordres pendant le jour ou
la nuit. Un tableau électrique est alors à peu
près indispensable, à moins que le nombre d'étages
ne dépasse pas deux ou trois, auquel cas les deux ou
trois embouchures du rez-de-chaussée comportent simplement
des sifflets de sons différents ou des sifflets à
signal.
Donnons enfin un système de porte-voix assez peu connu
et qui cependant pourra rendre des services.
Il consiste en deux porte-voix A A mettant en relation deux
pièces éloignées avec une troisième
B. Les deux porte-voix sont simples, c'est-à-dire se
terminent chacun par des embouchures ordinaires distinctes.
On pourra, en employant une embouchure dite conjuguée,
mettre en relation directe les deux pièces A, soit
momentanément, soit pour un laps de temps voulu. A
cet effet, on enlèvera les deux sifflets en B et on
fixera les deux embouchures dans le tube & double cône
C, De la sorte, on obtiendra un porte-voix direct entre A
A qui pourront s'appeler et se causer en cas d'absence de
la personne placée en B .
|

Cliquez pour agrandir
Les embouchures de porte-voix sont d'ordinaire soutenues
par des lyres en cuivre. Ces lyres ont le double but et d'éviter
que les sifflets ne tombent si l'embouchure restait pendante,
ce qui empêcherait tout appel, et de la mettre commodément
à portée de la main. Lorsque plusieurs porte-voix
sont placés à côté les uns des
autres, les lyres, de formes spéciales, comportent
des étiquettes indiquant les pièces auxquelles
ils correspondent.
Pour remédier à la chute des sifflets, on a
fait usage, il y a un certain nombre d'années, d'embouchures
ayant un mécanisme spécial supprimant le sifflet.
Ces appareils coûtaient fort cher et étaient
d'un fonctionnement assez irrégulier, aussi ont-ils
été peu à peu abandonnés.
Je ne m'arrêterai pas davantage sur ce sujet.
sommaire
|
L'établissement des
porte-voix ne présente que des difficultés matérielles
d'exécution qui réclament simplement du soin
et une certaine habitude de faire les percements et de poser
correctement les tubes.
Les fabricants donnent à toutes les personnes qui désirent
les utiliser les renseignements que nous ne pourrions donner
ici, parce qu'il faudrait trop multiplier les détails
si l'on voulait embrasser tous les cas que l'on rencontre
dans la pratique.
L'emploi simultané des appareils électriques
et des porte-voix rend des services fort appréciés
dans les grandes administrations, les hôtels, les usines,
etc.
Les porte-voix ont l'avantage de ne demander aucun entretien
et transmettent la parole de façon constamment régulière.
Ils présentent par suite une sécurité
absolue lorsqu'il est nécessaire de pouvoir éviter
toute interruption de service.
Ils échappent à des causes de dérangement
souvent difficiles à éviter avec les téléphones
électriques et ne réclament d'ouvriers spéciaux
ni pour leur installation, ni pour leur entretien.
Quand on a à lutter contre de fortes trépidations,
ou encore lorsqu'il faut réunir deux ateliers bruyants
soumis à des vibrations mécaniques violentes,
les téléphones ne donnent que des résultats
médiocres ou nécessitent un établissement
spécial, parfois celui de cabines isolées; le
porte-voix leur sera alors préféré si
la distance le permet.
C'est ainsi que l'usage du porte-voix a été
maintenu pour certaines applications dans lesquelles les téléphones
n'ont pu donner satisfaction en dépit de toute leur
perfection.
|
Une disposition , due à M. II. Picq, permet
de parler et d'écouter tout en même temps. A cet effet,
lappareil est muni de deux embouchures : lune se place
devant la bouche, lautre sapplique contre loreille;
cet avantage rend la conversation pins facile et moins fatigante
; de plus, il ne peut y avoir de confusion, comme celaarrive souvent
avec une seule embouchure.
 
Le même inventeur a imaginé de réunir
tous les tubes communicatifs des diverses parties comme les bureaux
dune hdministration, les différents services dune
usine, etc., à un poste central où ils sont mis en
relation entre eux au fur et à mesure des besoins à
laide d'un manchon en caoutchouc. La ligure ci dessus représente
un poste central pour trente bureaux. Dans cette figure les postes
nos 4 et 16 et les nos 10 et 23 sont reliés entre eux; les
communications sont établies par le garde du poste sur la
demande qui en est faite par les bureaux.
Ce système, tout en permettant de satisfaire à toutes
les exigences dun service, réalise une économie
importante .
sommaire
Le homacoustic
1893 A lExposition délectricité
de Chicago, dans la section anglaise, on découvre un appareil
baptisé du nom de homacoustic.
Cet appareil constitue, en effet, comme une résurrection
des anciens tubes acoustiques employés pour les communications
domestiques, et remplacés depuis une dizaine dannées
par les postes téléphoniques .
La comparaison entre les communications téléphoniques
et les communications acoustiques est toute à lavantage
des premières.
Les communication électriques sont moins coûteuses,
la nettelé de la voix se maintient sur les plus longs circuits,
et enün, au moyen de tableaux spéciaux, on peut opérer
des commutations.
Par exemple, si toutes les chambres dun hôtel sont reliées
par des tils conducteurs à un bureau central, il est possible,
au moyen dun commutateur spécial, de faire communiquer
lune des chambres de lhôtel avec lune quelconque
des autres pièces reliées au même commutateur.
Le prix de linstallation des communication-acoustiques est
relativement plus élevé et h voix perd sa netteté,
dès quon se sert de tubes dune certaine longueur.
Le
« homacoustic
Commutateur du « homacoustic ».
Le homacoustic est constitué par une embouchure fixe E, par
deux tubes écouteurs C C' qu'on maintient aux oreilles avec
les mains, et par un dispositif dappel A. Il suffit de presser
de haut en bas sur la tige verticale A pour produire lappel.
comme on le voit, ce poste acoustique ne diffère de ceux
quon a vus partout qui par sa disposition peut-être
plus ingénieuse, mais ii est aussi plus coûteux.
Linventeur du l'homacoustic a imaginé une sorte de
commutateur permettant de disposer un même appareil sur lun
des tubes acoustiques aboutissant au tableau commutateur. Cela permet
également détablir une commnication acoustique
directe entre deu J tubes qui y aboutissent. Linventeur mis
a profit lexpérience acquise pour les commnications
téléphoniques, mais lusage de ce tableau a linconvénient
de doubler la longueur du tube acoustique et lusage montre
quon altère notablement la netteté de la voix.
De plus, ces commutateurs tiennent trop de place. Ceux qui figurent
à lExposition et qui sont disposés pour recevoir
neuf tubes acoustiques, pourraient être remplacés par
des commutateurs téléphoniques pouvant recevoir dans
le même espace une soixantaine de fils avec les annonciateurs
dappel téléphoniques correspondants.
Le homacoustic napparaît donc pas comme un progrès
sur les résultats donnés par les postes téléphoniques.
Bien quil Approprie, suivant en cela, lexemple
de la téléphonie, l'emploi
de commutateurs, il fait malgeé tout leffet dune
réaction sur ce qui existe.
Peut-être certaines personnes ne seront pas de mon avis désabubusées
quelles en seront par l'emploi de postes téléphoniques
qui nont pas donné les promis. Cela tient à
ce quil faut se défier du trop bon marché et
ne sadresser qu'a desmaisons de confiance. Je ne vois pad
d'applications du homacoustic dans la marine ; et, en effet, les
prospectus disent que cet instrument a été adopté
par la manglaise. Tout le monde connaît la difficulté
dutiliser dans la marine les appareils const;ruits en tout
ou en partie en fer, à cause de l'action de lair salé
sur ce métal, X'est cette décision qui a empêché
non seulment les-téléphones mais les simples appels
électriques, de se répandre sur les transatlantiques
, et autres navires. Le homacoustic, qui peut se composer
exclusivement de pièces de cuivre et de caoutchouc, se présente
donc avantageusement pour les applications maritimes, mais ces avantages
disparaissent complètement, dès quon met le
pied sur la terre ferme. Lavantage appartient alors à
la téléphonie domestique.

Brochure
THE HOMACOUSTIC APPARATUS COMPANY
BEN HAM & PROUD , Ltd. Agents , Chandos St . , LONDON , W ;
C
1892 Vu dans le The marine engineer
L'HOMACOUSTIQUE.
Nous craignons que peu de nos lecteurs ne reconnaissent sous ce
nom l'ingénieux appareil qui, sur des distances allant jusqu'à
100 mètres au moins, supplante rapidement le téléphone.
Ils le reconnaîtront cependant plus facilement grâce
aux deux illustrations qui accompagnent cette notice. Cet appareil
est en réalité un tube acoustique amélioré,
et il ne présente pratiquement aucun risque de dysfonctionnement
comme c'est le cas dans un téléphone. Il est également
impossible que les fils se mélangent, que l'utilisateur soit
appelé par erreur, ou qu'il surprenne une conversation privée
entre un homme à son bureau et sa femme à leur domicile.
Nous avons vu cet appareil dans plusieurs bureaux récemment,
et il a donné satisfaction aux responsables de l'Exposition
navale, mais ce n'est pas de son utilité dans ce domaine
que nous souhaitons maintenant aborder. Ce qui nous intéresse,
c'est son application aux besoins de la vie à bord. Avant
d'aller plus loin, il est nécessaire d'expliquer ce qu'est
réellement cet instrument. Tous nos lecteurs connaissent
le tube parlant ordinaire et la manière absurde dont une
conversation est menée grâce à lui. Les artistes
de pantomime et des hommes comme M. Corney Grain ont toute latitude
pour imiter les difficultés de quelqu'un qui maintient une
conversation dans un tube parlant ordinaire. Il faut d'abord souffler
dedans pour le faire siffler à l'autre bout. Ensuite, il
faut coller son oreille contre le tube pour entendre si le sifflement
a été entendu. La conversation commence alors. Peut-être
que la personne à l'autre bout parle lorsque vous parlez,
mais comme elle n'écoute pas et ne peut pas l'être
car personne ne peut avoir sa bouche et son oreille au bout
d'un tube en même temps , toute la conversation doit
alors reprendre de zéro. Il peut paraître amusant de
voir ce procédé adopté par un artiste professionnel,
mais il devient monotone pour l'homme occupé. Il n'est donc
pas étonnant que le tube acoustique ait été
remplacé par le téléphone dans les hôtels,
les usines et autres grands bâtiments.
Mais le brevet de Cutmore, l'Homacoustic, change la donne et démontre
qu'une simple amélioration permet de supprimer tous les inconvénients
du tube acoustique. Tout d'abord, il y a un entonnoir, jaillissant
du mur ou du pied, dans lequel on parle. À quelques centimètres
derrière le tube, se trouve un robinet muni d'un bouchon
qui fait sortir un tube flexible par le côté, avec
un écouteur. Le dispositif est tel que, lorsque l'écouteur
est baissé, le passage vers l'embouchure est obstrué.
Lorsque l'écouteur est relevé au niveau de l'oreille,
le passage vers l'embouchure s'ouvre et, simultanément, la
voix, provenant de l'autre extrémité des tubes, descend
par la partie flexible jusqu'à l'auditeur. Outre ces dispositifs,
l'instrument est équipé d'une boule métallique
surmontée d'un cylindre. Pour attirer l'attention de la personne
à l'autre extrémité, il suffit d'enfoncer le
cylindre dans la boule. L'air est alors expulsé, l'écouteur
suspendu au robinet se ferme et l'air ne peut plus s'échapper
par l'embouchure. Il doit alors descendre dans le tube et siffler
à l'autre extrémité. En portant l'écouteur
à l'oreille, le robinet s'ouvre et la conversation peut être
maintenue, parlant et écoutant simultanément. Une
plaque de protection conique dans l'embouchure empêche les
sons de se mélanger.
Il s'agit donc de l'instrument dans sa forme la plus simple, mais
il est possible de diverses combinaisons, bien que le principe soit
toujours le même. Ainsi, pour une utilisation dans les salles
des machines et les usines, où le bruit est susceptible d'être
important, des écouteurs pour les deux oreilles sont fournis.
Ceux-ci sont entourés d'anneaux en caoutchouc qui s'ajustent
parfaitement à la tête et excluent ainsi tout autre
son, aussi fort soit-il. Le modèle que nous illustrons est
destiné à être utilisé dans une timonerie
ou un kiosque. De là, des tubes sont reliés à
toutes les parties importantes du navire, telles que la salle des
machines, le magasin à munitions, le projecteur, le compas,
l'appareil à gouverner manuel, la cabine du capitaine, les
machines de ventilation, etc., selon les besoins. Tous les tubes
communiquant avec ces différentes parties du navire sont
acheminés à l'intérieur du piédestal
et disposés de manière à ce que chacun soit
à la même distance de son voisin que le sont les trous
des plaques pivotantes situées au-dessus. Une sonnerie électrique
est également fournie, et malgré le grand nombre de
tubes, il n'y a qu'un seul appareil de communication et de réception.

Pour communiquer avec n'importe quelle partie du navire, le pivot
est déplacé jusqu'à ce que l'embouchure se
trouve directement au-dessus du tube requis. L'attention peut alors
être attirée soit en appuyant sur le bouton électrique
(indiqué par un point juste en dessous du chiffre 2), soit
en appuyant sur le cylindre du sifflet, et la communication est
immédiatement établie. Si, par contre, la salle des
machines ou une autre partie du navire souhaite faire un rapport
à la passerelle, elle envoie son appel et le couvercle correspondant
(comme le 4 sur le plan) s'ouvre et indique lequel des nombreux
tubes nécessite une intervention. Notre explication peut
paraître complexe, mais l'idée est simple et astucieuse,
et sera facilement comprise par quiconque l'observe un instant,
et nombre de nos lecteurs l'ont sans doute utilisée à
l'Exposition Électrique de Crystal Palace.
Il convient de mentionner que les titulaires du brevet disposent
d'un matériau spécial, doté de bonnes propriétés
acoustiques, pour la fabrication de tubes, même si l'instrument
peut être adapté à tous les tubes existants.
Nous en avons suffisamment dit pour démontrer que cet instrument,
qui présente si peu de risques de panne, aucun gaspillage
de produits chimiques, aucune ligne susceptible de s'emmêler
ou de se casser, a un grand avenir devant lui.
En France l'ACOUSTIPHONE" de Chavez Adrono est une adaptation
du "homacoustic".
Magnifique .
sommaire
|