1877 1880 Les
nouvelles recherches. - La théorie du téléphone.
Depuis le début en 1876 la théorie
du téléphone a déjà été traitée
par les plus grands comme le Porfesseur Bell, le Comte Du
Moncel, M. Mercadier... Déjà en 1856, les travaux
de M. du Moncel ont établi que dans les corps médiocrement
conducteurs toute variation de pression entraîne une variation
de conductibilité.
1878 Voici le premier 1er ouvrage
Français de du Moncel (sur
cette page)
, ou à
feuilleter traitant du téléphone.
La théorie des mouvements moléculaires,
les courants ondulatoires .
|
Exposé du Comte Du Moncel
:
Depuis la publication de la seconde édition de mon
ouvrage sur le téléphone qui a paru au mois de novembre
1878, de nombreuses découvertes et de nombreuses recherches
ont été faites dans cette branche si intéressante
et si nouvelle de la science acoustique ; nous croyons, en conséquence,
intéressant de les résumer ici, en attendant quelles
complètent la troisième édition de notre
ouvrage.
Tout le monde connaît aujourdhui le téléphone,
ce merveilleux instrument qui permet de reproduire la parole à
distance par lintermédiaire de courants électriques
dont lintensité se. trouve mise en rapport avec les
vibrations déterminées par la voix.
Dans lorigine,.on croyait très-simple lexplication
des effets produits dans cet appareil; mais plus on a étudié
la question, plus on sest convaincu que les actions en jeu
étaient beaucoup plus compliquées, et on en est
arrivé aujourdhui à croire que les premières
données théoriques n'avaient rien dexact.
Dès le mois de février 1878, javais démontré
que les sons produits dans un téléphone Bell
devaient être principalement attribués aux vibrations
déterminées au sein du noyau magnétique par
suite des aimantations et désaimantations qui lui étaient
communiquées par le courant dintensité variable
transmis à travers le fil du circuit, et je disais que
le diaphragme, tout en subissant par influence les fluctuations
magnétiques qui devaient déterminer les sons, avait
pour principal rôle de surexciter laction magnétique
du noyau ; enfin, je disais que, comme le diaphragme avait moins
de masse que le noyau magnétique et était plus rapproché
de loreille, il devait transmettre plus nettement et plus
facilement les vibrations reproduisant la parole.
Ces idées théoriques, basées sur certaines
expériences de MM. Spottiswoode, Warwick, Blyth,
Rossetti, Canestrelli, Lloyde, Millar, etc., qui montraient
quun téléphone sans diaphragme pouvait reproduire
la parole, ont été lobjet dune discussion
assez vive entre le colonel Navez et moi (voir plus
bas en détail), et ont provoqué de la part de beaucoup
de physiciens des recherches nouvelles qui, dans ces derniers
temps, mont donné complètement raison et ont
donné naissance à des appareils fort intéressants
que nous allons passer en revue.
Lopiniâtreté de ceux qui combattaient mon opinion
était basée surtout sur limpossibilité,
croyaient-ils, de faire reproduire la parole par un téléphone
dépourvu de diaphragme; ils niaient, par conséquent,
ce quavaient avancé les physiciens dont nous avons
parlé précédemment ; ils convenaient bien
quun téléphone dans ces conditions pouvait
reproduire des sons, mais des sons non articulés, et ils
ajoutaient que, pour reproduire la parole, il fallait nécessairement
une lame agissant comme une armature électromagnétique
et susceptible de fournir des vibrations transversales. Les expériences
que jai faites à cet égard mont démontré
quen général les téléphones
Bell, dépouillés de leur diaphragme, ne reproduisent
pas distinctement la parole avec les faibles courants induits
qui sont développés dans les téléphones
ordinaires, ni même avec de forts courants voltaïques
transmis par un parleur microphonique, mais que, si on les anime
par les courants induits résultant dune bobine dinduction
actionnée par un parleur microphonique, la parole peut
être entendue facilement, quoique faiblement, et jai
reconnu en même temps que cet effet est dautant plus
caractérisé que le noyau magnétique est plus
fortement aimanté et de plus petite niasse. Il existe pourtant
certains téléphones communs qui reproduisent la
parole sans diaphragme avec le courant de six éléments
Leclanché.
M. labbé Laborde, de son côté,
a montré quun téléphone avec diaphragme
en matière non magnétique peut parfaitement reproduire
des sons, mais que ces sons sont surtout le résultat des
vibrations qui sont communiquées au diaphragme par lenveloppe
du téléphone, laquelle les reçoit du noyau
magnétique influencé par le courant, et il croit
que le même effet est produit sur le diaphragme de fer,
mais avec plus de force, par suite de la surexcitation magnétique
quil communique à laimant. Pour le démontrer,
il rénd mobiles les diaphragmes de diverse nature quil
pose devant le noyau magnétique dun téléphone.
Quand ces diaphragmes sont en matière non magnétique,
les sons reproduits par eux conservent à peu pres la même
intensité, quils soient placés à plat
ou redressés à angle droit, pourvu quils touchent
un point à lenveloppe du téléphone,
aaussitôt que la communication avec cette enveloppe est
supprimée, aucun son n'est perçu. Si le diaphragme
est en fer les sons sont grandement augmentés, du moins
quand il est posé à plat devant laimant; ils
diminuent dintensité à mesure que lon
redresse le diaphragme, et quand celui-ci est arrivé dans
une position perpendiculaire, il fournit des sons à peu
près de même nature que ceux résultant dun
diaphragme en matière non magnétique.
M. Ader a basé sur
ce principe un téléphone remarquable par sa simplicité
et la netteté des sons produits. Cet appareil se compose
uniquement dun fil de fer fixé par un bout sur une
planchette de bois et soudé à lautre bout
à une masse métallique. En adaptant sur le fil de
fer une petite hélice enroulée sur un tuyau de plume
et mise en rapport avec le circuit dun parleur microphonique,
il obtient un appareil qui reproduit la parole plus haut que les
téléphones communs et avec une netteté supérieure.
Pour lentendre, il nest pas besoin dappliquer
loreille contre la planche, on peut la percevoir en éloignant
celle-ci de 10 à 15 centimètres. Linnovation
importante dans cet appareil et dont la cause nest guère
expliquée, est ladjonction au bout libre du fil de
fer dune masse de métal. Cette masse amplifie eu
effet les sons dans une proportion très-considérable
et en même temps les dépouille du timbre métallique
qui leur donne un peu ce que l'on appelle ordinairement la voix
de Polichinelle.
On peut se rendre compte de linfluence de cette masse et
de celle des différentes parties du système par
les expériences suivantes :
Dabord, si pour montrer que les sons reproduits ne sont
pas la conséquence de mouvements échangés
entre lhélice et le fil de fer, on enroule cette
hélice directement sur le fil de fer, en ayant soin de
noyer les spires dans de la gomme laque, on constate :
i° Que quand le fil de fer est piqué sur la planchette
par ses deux extrémités, les sons sont à
peine distincts ;
2° Que si le fil de fer est fixé sur la planchette
par un bout seulement, la parole peut être facilement entendue,
mais avec un son métallique caractérisé qui
provient des vibrations fondamentales du fil de fer;
3° Q.ue si, pendant que lon a la planche à loreille,
on approche de lextrémité libre du fil de
fer une masse métallique, les sons se trouvent plus que
doublés, et, au lieu du timbre métallique qui accompagne
la reproduction de la parole dans lexpérience précédente,
on entend un son mat qui représente beaucoup mieux le timbre
de la voix humaine ;
4° Que cet effet renforçant de la masse métallique
ne peut fournir des sons distincts quà la condition
quelle ne soit pas en communication avec la planchette par
un corps métallique ou rigide;
5° Que leffet est encore plus marqué quand deux
masses métalliques sont en contact avec les deux extrémités
du fil de fer et soudées avec lui ; alors lune de
ces plaques métalliques est fixée à la planchette.
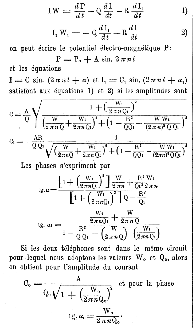
La figure1 ci-dessous représente la disposition de grandeur
naturelle dun appareil ainsi constitué.

Pour faire de ce système un appareil pratique, M. Ader
constitue la planchette dont il a été question avec
une petite soucoupe de bois vissée à une des deux
masses qui terminent le fil de fer; il enveloppe celui-ci et ses
deux masses dans un tube métallique ayant la forme des
manches des téléphones ordinaires, et pour isoler
les deux masses métalliques, il enveloppe celle qui termine
le fil dans une gaine de caoutchouc. Cette dernière masse
est constituée par un cylindre de cuivre et de plomb relativement
assez lourd.
La figure 2 représente cet appareil.
On peut encore obtenir la reproduction des sons au moyen dun
fil de fer traversant une bobine fixe, et dont les extrémités
appuient contre les membranes tendues de deux tambours ; mais
les sons sont plus confus quavec les systèmes précédents
; en revanche, ils peuvent sentendre de beaucoup plus loin.
Le transmetteur téléphonique dEdison
fait parfaitement fonctionner ces appareils, mais M. Ader emploie
généralement un microphone constitué par
deux charbons en contact, dont lun, terminé par une
petite soucoupe en bois, est mobile à lintérieur
dun tube, au fond duquel se trouve lautre charbon.
Il est, du reste, beaucoup dautres manières de reproduire
la parole par les moyens électriques; ainsi M. Ader a pu
employer à cet usage une simple bobine collée à
une planchette de bois, mais à la condition que les spires
ne fussent pas serrées lés unes contre les autres
et fussent assez mobiles entre elles. Quand elles sont très-serrées
et noyées dans de la gomme laque, aucun son nest
perçu ; mais il suffit de placer dans lintérieur
de la bobine un fil de fer ou une aiguille aimantée fixée
par un bout dans la planche pour quimmédiatement
la parole-soit entendue.
MM. Rosetti, Canestrelli, Paul Roy, Buchin, Hughes,
etc. avaient déjà reconnu la possibilité
de reproduire de cette manière des sons inarticulés;
mais cest M. Ader qui, grâce aux spires lâches
et mobiles de son hélice, est parvenu à faire entendre
distinctement la parole.
Il a également démontré que la parole pouvait
être reproduite par le passage dun courant ondulatoire,
transmis par un parleur microphonique à travers un fil
magnétique ; mais à la condition que ce fil fût
terminé par une masse métallique, et fixé
par lautre bout à une planchette de bois, comme dans
les expériences précédentes. Les sons ainsi
reproduits sont, il est vrai, très-faibles, mais, néanmoins,
distincts. Il a essayé différents fils métalliques,
mais il na pu obtenir leffet précédent
quavec des fils en matière magnétique, tels
que le fer, lacier, le cobalt et le nickel.
On doit se rappeler que M. Delarive, en 1846, avait
déjà constaté la reproduction des sons par
un moyen semblable ; mais ces sons ne pouvaient être articulés,
puisquà cette époque les courants ondulatoires
(fonction de lamplitude des vibrations) étaient inconnus,
et dailleurs la masse métallique, soudée au
fil dans les conditions des premières expériences,
est indispensable pour obtenir la répétition de
la parole.
En dehors de ces moyens de reproduction de la parole sans la présence
daucune lame vibrante fonctionnant sous linfluence
dattractions électro-magnétiques, il est beaucoup
dautres récepteurs téléphoniques qui
démontrent peut-être encore davantage linsuffisance
des théories primitivement émises sur le téléphone.
Ainsi un microphone composé de deux charbons en contact,
dont lun est fixé sur une lame métallique,
peut faire un bon récepteur téléphonique,
et M. Boudet de
Pâris en a construit de cette manière qui donnent
dexcellents résultats. Dans ces conditions, le transmetteur
et le récepteur sont absolument semblables ; ils consistent
dans une petite boîte dont le couvercle, qui est à
vis, est consti-.tué par une embouchure de téléphone
ordinaire, et porte une plaque circulaire de fer-blanc au centre
de laquelle est soudé un petit disque de charbon ; sur
ce disque appuie lextrémité dune bascule
de charbon articulée par son centre sur les deux joues
dune lame de ressort repliée et fixée au fond
de la boîte, et cest un petit morceau de papier plié
en V qui fournit la force antagoniste adaptée au bras de
la bascule, appuyant contre le charbon de la plaque. Lappareil
se règle en vissant plus ou moins profondément le
couvercle.
Un seul élément Leclanché suffit pour transmettre
et reproduire la parole avec deux appareils de cette nature adaptés
aux deux extrémités du circuit, et telle est la
sensibilité du système, quen substituant au
microphone récepteur un téléphone Bell ordinaire,
tel que ceux que vend M. Walker, on peut faire entendre la parole
dans tout un appartement, en appliquant à l'embouchure
de ce téléphone un porte-voix de phonographe. Le
seul inconvénient de ce système est de nécessiter
de fréquents réglages ; mais quand il est bien disposé,
il produit des effets surprenants.
M. Boudet de Pâris, en appliquant à lextrémité
du noyau magnétique dun téléphone sans
diaphragme le microphone précédent, est arrivé
à reproduire à travers un second circuit complété
par un second téléphone la parole transmise par
son parleur microphonique, ce qui démontre bien que les
vibrations du. noyau magnétique du premier téléphone
sont réellement longitudinales. Lexpérience,
il est vrai, na pu réussir que grâce à
la sensibilité extrême de son système microphonique,
car avec dautres microphones il na pu obtenir aucun
résultat.
Quelle est la cause des vibrations reproduisant la parole dans
ce système employé comme microphone récepteur
?
il serait bien difficile de le dire dune manière
positive, car il ny a alors en jeu aucune action électro-magnétique
; cest le simple passage du courant à travers un
mauvais contact qui les détermine. Mais comment cela peut-il
avoir lieu ? cest une question entièrement à
étudier.
Cette reproduction de la parole par un microphone à charbon
nest pas la seule ; on peut lobtenir avec un téléphone
transmetteur à liquide; cest-à-dire avec un
téléphone dont les vibrations déterminées
par la parole ont pour effet d'augmenter plus ou moins la résistance
dune colonne liquide interposée dans le circuit téléphonique.
Un pareil transmetteur peut servir de récepteur, ainsi
que la constaté M. Carlo Résio,
et dans ce cas il faut que la colonne liquide traversée
par un courant ondulatoire se trouve elle-même mise en mouvement
de vibration rien que par le passage du courant. Est-ce à
laction électrolytique quil faut attribuer
cette vibration ?
Les nouveaux récepteurs téléphoniques dÉlisha
Gray et dËdison sont encore des récepteurs
téléphoniques dans lesquels les actions électro-magnétiques
nentrent pour rien, et les effets produits sont néanmoins
assez forts pour que les sons soient entendus dans tout un appartement.
Dans les deux appareils, la reproduction des sons est fournie
par les différences de friction déterminées
par le passage du courant et qui sont en rapport avec lintensité
de celui-ci, mais les effets sont différents dans les deux
systèmes. Dans celui de M. Élisha Gray, le corps
frottant est un tissu animal, le doigt par exemple, et le corps
frotté qui doit être mobile est un disque de zinc
dont la surface est légèrement oxydée, afin
de présenter une résistance au point de contact.
Si ce disque est adapté à une boîte résonnante,
cylindrique, susceptible dêtre mise en mouvement de
rotation, et que le doigt et le disque se trouvent interposés
dans le circuit secondaire dune bobine dinduction
dont le circuit primaire correspond à un parleur microphonique
ou à un transmetteur à liquide animé par
un courant voltaïque, la parole sortira du doigt frottant
sur le disque à mesure que lon tournera celui-ci.
Lexplication de ce phénomène est encore à
donner.
Dans le système de M. Edison que nous représentons
en principe dans la figure 3 ci-desus, cest une lame de
ressort b adaptée à un diaphragme de mica dd qui
appuie par son extrémité libre p munie dun
frotteur de platine sur un cylindre de chaux cc imprégné
dhydrate de potasse et dacétate de mercure.
Ce cylindre est légèrement humidifié, et
lorsque le courant électrique passe du ressort au cylindre
de chaux interposé dans le circuit téléphonique,
il se produit au moment du passage du courant des affaiblissements
de friction qui, si le cylindre de chaux est animé dun
mouvement de rotation, se traduisent par des mouvements rétrogrades
du ressort b, lesquels mouvements se trouvent être inverses
de ceux produits pendant linaction du courant et sont en
rapport avec lintensité du courant transmis. Il en
résulte donc que si on parle dans un transmetteur téléphonique
à charbon placé en A, les variations dintensité
résultant des vibrations déterminées par
la parole produiront des alternatives de frictions et de non-frictions
sur le cylindre cc, qui auront pour effet des mouvements dentraînement
et de recul du ressort b et, par suite, des vibrations du diaphragme
dd qui reproduiront les vibrations transmises en A.
Ce système, qui nest quune application de lélectro-motographe
de M. Edison, avait été déjà essayé
il y a trois ans, mais ce nest que dernièrement quil
a pu être assez perfectionné pour reproduire nettement
et fortement la parole, et M. Edison emploie pour cela la bobine
dinduction déjà appliquée par lui à
son transmetteur à charbon. On a pu voir dans les journaux
anglais le récit des expériences curieuses entreprises
avec cet appareil en Angleterre.
Le condensateur chantant de M. Pollard est encore
une manière de reproduire les sons électriquement
sans organe électro-magnétique.
Les effets produits dans cet instrument pourraient peut-être
être attribués au changement de volume des lames
isolatrices du condensateur, changements étudiés
récemment par MM. Govi et Duter. Des expériences
intéressantes ont, du reste, été entreprises
dans ces derniers temps par M. Coulon, et on pourra
en voir le détail dans le journal l'Electricité
des 5 mars et 5 avril 1879.
Cet appareil a dailleurs été très-varié
dans sa disposition ; et aujourdhui on en construit des
modèles dont le transmetteur a la forme dun téléphone
ordinaire dans le manche duquel se trouve la bobine dinduction.
Cette disposition, imaginée par M. Janssens,
permet de réduire tout lappareil à un simple
transmetteur téléphonique et à un condensateur
qui peut être aussi simple que lon veut. MM.
Chardin et Prayer, Debayeux, Gaiffe, Loiseau, de Conibettes,
etc., en construisent des modèles plus ou moins intéressants.
Lun des plus importants perfectionnements apportés
au téléphone est celui dont M. Gower
a entretenu dernièrement lAcadémie; ce système
ne présente en fait rien de nouveau comme principe, mais
les conditions de linstrument ont été si bien
étudiées quil a pu permettre à un téléphone
Bell sans pile de parler assez haut pour se faire entendre dans
toute une salle, et, de plus, il renferme lui-même son avertisseur.
Ces résultats avantageux sont dus à ce que M. Gower
sest affranchi un peu des premières idées
théoriques que lon a émises sur le téléphone
et qui ont paralysé ses progrès pendant quelque
temps. En effet, au lieu détouffer les vibrations
fondamentales de la plaque vibrante dun téléphone
Bell, comme on avait cherché à le faire jusque-là,
M. Gower sest efforcé, au contraire, de les augmenter
en fixant assez solidement cette lame vibrante sur le couvercle
de lembouchure, pour quétant frappée
elle puisse émettre un son. Il a rendu cette lame elle-même
plus épaisse et a renfermé le tout Mans une boîte
cylindrique, sonore, en métal. Il a donné également
à laimant une forme particulière dans laquelle
les deux pôles se trouvent placés lun vis-à-vis
de lautre et à très-petite distance, comme
dans le système délectro-aimants de Faraday.
Cet aimant a été construit avec beaucoup de soins
et possède une force assez considérable pour porter
5 kilogrammes, il est disposé au fond de la boîte
cylindrique et ses pôles terminés par des noyaux
de fer oblongs, entourés dhélice de fil très-fin,
se trouvent placés au centre du diaphragme.
Nous représentons fig. 4 la disposition de cet aimant dont
les pôles sont en AA, et les bobines en BB et le diaphragme
en CC.
Lavertisseur est constitué, du moins pour le poste
de transmission, par une ouverture .pratiquée dans le diaphragme
et derrière laquelle se trouve fixée une anche dharmonium.
Pour le faire fonctionner, on adapte à lembouchure
de lappareil un tube acoustique ; quand on souffle dans
ce tube, lanche est mise en vibration, et cette vibration
étant communiquée directement au diaphragme du téléphone,
lui fait produire des courants induits assez énergiques
pour fournir sur lappareil récepteur un son relativement
fort qui ressemble assez à lappel des cors des tramways.
Pour obtenir la transmission de la parole, il suffit de parler
devant lembouchure du cornet acoustique, comme on le fait
dans les systèmes ordinaires.
La fig. 5 représente cette disposition, et la fig. 6 montre
en E louverture correspondante à lanche vibrante
de lavertisseur ainsi que le système du diaphragme.
Lappareil peut, du reste, être combiné de manière
à reproduire la parole à haute voix ou simplement
à voix basse comme dans les systèmes ordinaires.
Quand il doit reproduire la parole à haute voix, lembouchure
de lappareil récepteur doit être munie dun
porte-voix, comme dans le phonographe dEdison, et il faut
parler dans le transmetteur en appliquant la bouche contre lembouchure
du tuyau acoustique ; naturellement la parole doit être
alors exprimée sur un ton très-élevé.
Quand lappareil doit servir de téléphone ordinaire,
on substitue au porte-voix du récepteur un tuyau acoustique
que lon place contre loreille, alors les paroles prononcées
à voix très-basse dans le transmetteur sont entendues
avec une grande amplification; on peut même, si lappareil
trans. metteur est muni du porte-voix dont il a été
question, entendre les paroles prononcées à voix
ordinaire à plus de 12 mètres de lappareil
transmetteur. Ces effets sont réellement très-intéressants,
et on peut arriver à ce résultat incroyable déchanger
une conversation sans se déranger de son fauteuil, lappareil
étant placé à plusieurs mètres. Dans
ce cas, par exemple, il faut que le correspondant parle et écoute
dans le tube acoustique adapté à lappareil.
Les recherches scientifiques sur le téléphone ont
été également assez nombreuses, et parmi
elles nous citerons particulièrement un mémoire
de M. Galileo Ferraris sur lintensité
des courants électriques dans le téléphone,
dans lequel il démontre que cette intensité dépend
de la hauteur du son déterminée par la voix et quavec
le la normal, elle peut être représentée par
le courant dun élément Daniell qui aurait
traversé x 1.564.700 kil. de fil télégraphique
de 4 millimètres de diamètre, ce qui représente
un circuit dune longueur égale à 290 fois
le tour de la terre, suivant son plus grand cercle.
Nous citerons également : 1° une brochure de M.
Weber sur le téléphone, qui est un travail
purement mathématique qui complète celui de M. de
Bois-Raymond ; 2° une brochure intitulée
: Sound on the téléphoné, par M. Clarence
J. Blake, de Boston; 30 une brochure de M. Hagenbach,
professeur à luniversité de Bâle, sur
la transmission des sons aigus par le téléphone.
Dun autre côté, M. Clarence J. Blake mécrit
avoir établi une correspondance téléphonique
à une distance de 800 pieds en employant comme diaphragme
des téléphones le tympan même de loreille
humaine, tympan sur lequel était collé un disque
de fer de 7 millimètres de diamètre auquel correspondait
un petit barreau aimanté enroulé dune hélice
de fil très-fin de 44 ohms de résistance. Ces résultats
nont, du reste, rien qui puisse surprendre, puisque toute
espèce de membrane artificielle tendue peut produire le
même effet, et d'ailleurs nous nen sommes plus à
croire quil soit nécessaire demployer une membrane
ou un diaphragme pour reproduire la parole ; ce sont toujours
ces idées qui avaient guidé Graham Bell dans lorigine,
qui ont entravé pendant quelque temps lessor des
téléphones.
Au nombre des recherches scientifiques entreprises sur le téléphone,
nous devons mentionner encore les études faites par M.
Hughes en employant comme intermédiaire le microphone.
Ces études sont si nombreuses quelles mériteraient
un article spécial ; elles ont été exposées
avec détails dans le Télégraphie journal,
nos du 15 novembre, Ier décembre et 15 décembre
1878, Ier janvier et 15 février 1879.
Parmi les expériences nombreuses quil a citées,
il en est une sur laquelle nous devons attirer lattention
du lecteur et qui fui avait été indiquée
primitivement par M. Strow. Si on prend un téléphone
dont le circuit de la bobine est ouvert et que lon promène
parallèlement à son axe un aimant en fer à
cheval très-énergique à 3 ou 4 centimètres
de laimant, il se produit des sons qui ressemblent à
la respiration dune personne et qui se continuent tout le
temps que dure le mouvement, seulement les sons produits sont
de plusieurs notes plus élevés que les vibrations
propres du diaphragme. Ces diverses recherches de M. Hughes lont
conduit aux remarquables systèmes dannulation de
linduction des fils les uns sur les autres, sur les lignes
télégraphiques, système dont il a été
question dans le précédent numéro de ce journal.
Dans un prochain article, nous parlerons des divers systèmes
davertisseurs téléphoniques qui ont été
imaginés récemment, entre autres de celui de M.
Perrodon, perfectionné j par M. Trouvé
et de celui de M. Siemens.
Th. du Moncel
|
Regardons dans la presse de l'époque ce qui a
été documenté dans les divers journaux :
1879"LA LUMIÈRE ÉLECTRIQUE"
.
MOUVEMENTS MOLÉCULAIRES ELECTRIQUES
Cest un désir quon entend souvent exprimer, que
celui de pouvoir sendormir pendant un siècle, pour
jouir dun seul coup au réveil de la masse des découvertes,
des progrès de toute nature accumulés pendant cette
longue suite dannées. Lélectricité
est assez féconde pour fournir dans le cours naturel du temps
des joies scientifiques de cette espèce; à certains
moments, des expériences, jusque-là isolées
et qui semblaient plus curieuses que fertiles, se rapprochent, se
complètent, et, par leur groupement, ouvrent soudain de vastes
perspectives, et mettent sur la voie des conséquences les
plus étendues.
Dans cet ordre didées, il faut signaler les expériences
relatives aux mouvements produits par lélectricité.
Il y a longtemps quon a obtenu des mouvements à laide
de lélectricité, les attractions, les déviations
des aiguilles aimantées, les transmissions télégraphiques,
etc., datent déjà de loin ; mais dans ces effets on
passe par lintermédiaire de laction magnétique,
et bien que celle-ci ne soit, en somme, quun état particulier
de lélectricité, ces mouvements peuvent nêtre
pas considérés comme résultant immédiatement
de la variation de celle-ci.
Il tie sagit pas non plus des dilatations qui peuvent naître
de la chaleur produite par lélectricité; dans
ce cas, il y a transformation du fluide, sil est permis demployer
ce terme qui na plus beaucoup de sens ; 'il sagit de
mouvements, deffets mécaniques produits dans les corps
sans intermédiaire, liés directement et immédiatement
à lélectricité.
Ces effets, bien que dune extrême importance, sont naturellement
très-petits en grandeur, et on ne doit pas sétonner
quils . aient échappé longtemps dans leur généralité
à la sagacité des savants.
Cest la vibration sonore qui, la première, les a dénoncés.
On aurait pu sy attendre, on savait bien que des variations
de forme que nos instruments de mesure sont impuissants à
constater, peuvent, en se répétant, produire des sons
très-appréciables, qui en rendent sensible lexistence.
Vers 1837, un Américain, M. Page annonça
quun fil de fer entouré dun conducteur isolé
produisait des sons lorsquon faisait passer des courants fréquemment
interrompus dans ce conducteur. Cette très-curieuse expérience
fut reprise, discutée par Wertheim de
la Rive, et il fut établi que, sous laction
de ces courants répétés, le fil influencé
subissait des variations de forme donnant lieu à des vibrations
sonores. On saisissait ainsi le mouvement électrique; sans
aucune de ces actions quon nomme mécaniques, on produisait
un déplacement de matière rendu sensible par les sons
émis. Cest sur cette propriété que fut
fondé le premier en date des téléphones, celui
que Reiss construisit en 1860 et
dont le récepteur consistait en un fil de fer tenu par ses
deux bouts et entouré dune bobine où passaient
des courants interrompus par les vibrations sonores du transmetteur.
Une autre forme curieuse des vibrations résultant du seul
passage de lélectricité est due à M.
Varley, qui construisit un téléphone
où le corps vibrant était un condensateur formé
de lames conductrices et isolantes alternées et renfermé
dans un tambour renforçant. Cest cette expérience
reprise et ingénieusement variée par MM. Pollard
et Garnier qui a donné naissance au singulier condensateur
chantant qui causa tant détonnement lannée
dernière.
Mais il nest pas nécessaire de recourir à la
forme délicate des vibrations sonores pour accuser les mouvements
moléculaires dus à lélectricité.
M. Edison en a donné dans son électro-motographe
une application qui les rend sensibles dune façon très-frappante.
On sait que cet appareil se compose dune pointe métallique
sous laquelle passe, dun mouvement continu, une bande de papier
imbibée dhydrate de potasse. Le mouvement du papier
trouve naturellement une certaine résistance dans le frottement
exercé sur la bande par la pointé de métal.
M. Edison a reconnu quà chaque passage dun courant
dans la pointe, ce frottement change de valeur. Il se produit dans
les corps en contact une modification dans létat des
surfaces telle que la force retardatrice nest plus la même,
Ëdison a employé ce mouvement à produire des
signes dans son électro-motographe, et des sons dans son
curieux récepteur téléphonique.
Les mouvements électriques sont ainsi clairement manifestés;
mais ils sont susceptibles dune démonstration plus
nette encore. Dans des expériences récentes, mais
dont M. Govi a réclamé la priorité,
M. Duter a fait voir quun vase rempli de liquide
na pas la même capacité quand ce liquide est
électrisé et quand il ne lest pas. Il a établi
que dans une bouteille à col très-fin, si lon
électrise le liquide quelle contient en la tenant à
la main, de façon à constituer une sorte de condensateur,
le niveau dans le col change brusquement si lon vient à
décharger lappareil. La forme du vase subit une altération
qui a pu être mesurée. Il convient de citer aussi,
comme manifestation curieuse de mouvements de même genre,
les expériences par lesquelles lord Raleigh
a fait voir que la forme découlement dune veine
liquide est modifiée par son état électrique.
Les mouvements moléculaires dus à lélectricité
sont ainsi rendus directement visibles et mesurables, et de ces
expériences jointes aux faits précédents où
on les voit manifestés indirectement, on serait déjà
en droit de conclure que toute variation électrique entraîne
une variation moléculaire, mais on en peut fournir bien dautres
preuves.
Dabord la démonstration par linverse qui est
très-probante: si lélectricité produit
par ses variations des mouvements moléculaires, réciproquement
les mouvements moléculaires doivent amener des variations
électriques. Or, en 1856, les travaux de M. du Moncel
ont établi que dans les corps médiocrement conducteurs
toute variation de pression entraîne une variation de conductibilité
et sur ce principe, repris et généralisé par
lui, Edison a fondé le transmetteur de son téléphone.
On sait que, dans cet appareil, les vibrations de la plaque parlante
sont transmises à un bouton de charbon à travers lequel
passe un courant, et que toutes les vibrations produisant de légères
pressions sur le charbon amènent des variations électriques.
Cest sur le même principe que repose son micro-tasimètre
où les dilatations très-faibles dun corps sont
rendues sensibles par la pression quil exerce sur une plaque
de charbon traversée par un courant.
Le microphone de Hughes nous montre aussi un courant influencé
par les différences de pression de deux corps vibrant lun
sur lautre. On trouvera encore une curieuse manifestation
des mêmes faits dans lélectromètre de
Lipmann et dans le téléphone à
mercure de Bréguet
qui repose sur le même principe. Dans ces appareils, on interpose
dans un circuit deux tubes renfermant du mercure. On sait que ce
métal, à sa surface libre, présente une forme
bombée, une surface courbe que lon nomme ménisque.
M. Lipmann a montré que, si par un moyen mécanique
quelconque, on modifie la forme de lun de ces ménisques,
le courant en est affecté et reproduit dans le deuxième
tube la déformation réalisée dans le premier.
Cette expérience est remarquablement concluante, puisquelle
nous montre laction mécanique produisant la variation
électrique, et celle-ci à son tour rendant le mouvement
quelle a reçu.
Dans tous ces appareils, des modifications moléculaires très-petites,
résultant de pressions extrêmement faibles, sont immédiatement
manifestées par des changements très-sensibles dans
le courant. Doù il résulte sans aucun doute
la preuve de la liaison intime et absolue qui existe entre la constitution
intérieure dun corps et son état électrique.
Ces recherches ont pris une extension très-grande et une
importance de premier ordre depuis linvention des téléphones
parlants. Depuis quil a été reconnu que dans
lappareil de Bell on pouvait supprimer la plaque en fer sans
détruire le son; depuis quil a fallu, par conséquent,
renoncer aux attractions magnétiques auxquelles on avait
dabord attribué les vibrations, la théorie de
ces appareils a dû entrer dans une autre voie, et on a reconnu
là de nouvelles et générales manifestations
des mouvements moléculaires électriques.
Les études et les expériences remarquables en ce sens
sont si nombreuses, quil ne faut même pas essayer de
les résumer ici ; signalons seulement les résultats
frappants obtenus par M. Ader, doù il résulte
quun fil quelconque parcouru ou entouré par le courant,
en reçoit des vibrations si nettes quelles peuvent,
convenablement recueillies, transmettre la parole, complément
bien remarquable de lexpérience de Page qui a été
lorigine de toutes ces recherches.
Signalons les faits si curieux qui ont établi quun
liquide même peut servir de récepteur téléphonique,
et quil éprouve par le passage de lélectricité
des ébranlements assez sensibles pour être recueillis
et transmis à loreille.
De tous ces faits on conclut quune liaison' absolue existe
entre la situation relative des molécules dun corps
et son état électrique, et quaucune variation
si faible que ce soit ne peut se produire dans lun de ces
éléments sans que lautre en soit affecté
suivant une loi régulière.
Ce résultat est dune haute importance, en ce quil
semble nous offrir un moyen de pénétrer cette constitution
intime des corps dont la connaissance nous est si difficile. Dès
à présent il met dans un curieux relief lextrême
instabilité de cette constitution. Il en résulte,
en effet, que si les molécules des solides se meuvent dans
de très-étroites limites, elles sy déplacent
avec une extrême facilité, et sous linfluence
dactions excessivement faibles. Leur situation relative, la
forme en un mot des corps solides, ne peut, sans des forces importantes,
subir des modifications sensibles ; mais elle en subit de très-petites
sous laction des plus petites forces, et, bien que nous ne
le voyons pas, est en réalité dans un état
de continuel changement.
Au reste, il est généralement inutile de chercher
à prévoir à lavance les résultats
qui sortiront dune nouvelle série détudes
; ils sont quelquefois bien différents de ce quon attendait;
ce quon peut seulement presque toujours affirmer sans crainte,
cest quils existeront, et à cet égard
lensemble des faits qui viennent dêtre rapidement
rappelés offre toutes garanties et présente aux recherches
un champ qui ne peut manquer dêtre fécond.
Frank Géraldy. |
13 sept, 1878 "English mechanic and World of
science" No. 703
|
LE THERMOPHONE.
Lorsque l'apparition du téléphone de Bell à
la réunion de l'Association britannique à Plymouth
suscita un tel enthousiasme et une telle
admiration, nous étions enclins à penser que cet
instrument serait sans délai appliqué à des
fins pratiques générales, et remplacerait même
le télégraphe Morse, son redoutable rival, en un
très court séjour. L'expérience nous montre
aujourd'hui que le téléphone a très peu progressé
pour gagner la favorabilité du public par son utilité
pratique.
Il s'est avéré ne produire qu'un son d'un intérêt
minimal, et comme il est sujet à des dysfonctionnements
fréquents, et nécessite donc une attention constante,
nous craignons qu'il rejoigne la longue liste des jouets scientifiques.
Le manque d'intensité du son reproduit a été
considéré comme inhérent à la nature
de l'action magnétique et c'est pour cette raison que les
scientifiques ont souvent conseillé aux inventeurs d'abandonner
les principes connus et si possible d'ouvrir une nouvelle voie
de progrès en téléphonie.
Nous avons consacré beaucoup de temps et beaucoup d'efforts
à cette fin, et nous vous soumettons ici le résultat
de nos efforts de recherche expérimentale.
À la recherche d'une nouvelle source de son pour le téléphone,
nous avons porté notre attention sur les vibrations sonores
produites par la dilatation des corps sous l'influence de la chaleur,
et la production de chaleur au moyen du courant électrique.
Lorsqu'un courant électrique provenant d'une batterie ou
d'une autre source d'électricité traverse un circuit
constitué de deux fils de cuivre, dont les extrémités
sont reliées aux bornes d'un mauvais conducteur (par exemple,
un court morceau de fil de platine fin), ce dernier devient immédiatement
incandescent et, si le courant est suffisamment fort, il fond.
Le sulfure de cuivre est connu pour dégager tellement de
chaleur dans ces conditions qu'il constitue un fusible électrique
efficace ; le carbone gazeux et d'autres substances de faible
conductivité présentent les mêmes résultats.
La résistance opposée par ces corps convertit une
partie du courant électrique en chaleur.
Comme on sait que les corps se dilatent lorsqu'ils sont soumis
à une température élevée, le fil de
platine, le sulfure de cuivre ou le carbone gazeux, etc., augmentera,
lorsqu'il est chauffé, en longueur, largeur et épaisseur
(contrairement au fer doux ou à l'acier qui, sous l'influence
de l'électromagnétisme, ne s'allongent que dans
une seule dimension), et produira ainsi une condensation dans
l'air ambiant. En refroidissant, le fil se contracte et provoque
une raréfaction de l'air d'un degré correspondant.
Si une série de courants électriques est envoyée
de manière régulière et rapide à travers
un circuit contenant une telle substance, les impulsions transmises
à l'air ambiant par cette substance produisent un son musical.
Lors de nos expériences sur ce sujet, nous avons utilisé
un électroaimant dont le noyau était constitué
d'un tube de fer de qualité inférieure et la bobine
d'un fil de cuivre isolé assez fin (n° 26). Sous l'influence
des forts courants produits par la batterie de notre « téléphone
musical », nous avons remarqué avec intérêt
que l'aimant avait considérablement chauffé. Le
fer de mauvaise qualité est très sensible à
l'électromagnétisme, et la résistance qu'il
oppose à l'induction électromagnétique produit
de la chaleur. Nous avons donc pensé avoir découvert
un moyen d'intensifier les effets décrits ci-dessus en
utilisant comme source de chaleur non seulement la résistance
opposée par les mauvais conducteurs au passage du courant
électrique, mais aussi la résistance du fer ou de
l'acier à l'action électromagnétique, improprement
appelée force coercitive. L'induction électromagnétique
directe a elle-même été employée sur
notre appareil. comme a été employé sur nos
instruments dans une étendue limitée seulement
La combinaison dans l'émetteur par une série de
vibrations sonores des effets de ces trois types d'impulsions
se manifeste dans ce que nous appelons vaguement - mouvement moléculaire
Les mauvais conducteurs que nous interposons dans le circuit de
nos instruments sont de petites bobines de fil isolé très
fin, en maillechort, en platine ou en cuivre. Mais les sons émis
par de telles bobines sont en effet très faibles, et nous
avons dû concevoir des moyens de les intensifier par des
impulsions. Les bobines étaient placées entre des
disques de fer, ou sur des tubes de fer étamé, à
proximité immédiate de ces disques
Les sons ainsi produits agissaient sur une surface résonnante
ou cavité.
Par ces moyens, nous sommes parvenus à construire des récepteurs
téléphoniques efficaces, sans utiliser d'aimants
à proprement parler
L'un de ces instruments est de la construction suivante :
(La figure 1 représente
une coupe transversale de celui-ci) :
-A, tube en laiton ; B, C, membrane ; D, bobine ; M, microphone
ou téléphone
Trois disques en fer noirci, l'un de 1,25 cm de diamètre,
les deux autres de 7,5 cm de diamètre, sont vernis des
deux côtés et collés ensemble, le plus petit
disque entre les deux plus grands. On forme ainsi une bobine très
fine, sur laquelle on enroule une petite bobine d'environ 4,5
à 9 mètres seulement de fil de cuivre n° 36
recouvert de soie. La bobine est ensuite collée au centre
de la membrane d'un tambourin, ou d'une membrane tendue sur une
extrémité d'un tube en laiton de 10 cm de long et
de 7,5 cm de diamètre.
Un autre récepteur est construit comme suit : - Un
tube en fer étamé, T, 6 pouces de long et d'un diamètre
donné, est soudé en un seul point (non circulaire)
au centre d'un disque téléphonique ordinaire, D,
fixé par un couvercle sur un support. Une bobine, telle
que décrite ci-dessus ou plus grande, est enroulée
autour du tube près du disque. Le disque et le tube s'avèrent
être un excellent résonateur.
Nous l'avons trouvé aussi sensible aux vibrations sonores
que la partie de cet instrument (voir Fig 2) (A, B, C, G,
supports en bois du disque, K, bobine, T, tube).
Avec ce récepteur, nous avons entendu la mélodie
d'une boîte à musique et la parole reproduites avec
une grande fidélité, tant en qualité qu'en
hauteur, et avec une intensité considérable
Un tube de fer étamé, de 10 cm de long et de 1,25
cm de diamètre, bobiné avec une bobine, telle que
décrite ci-dessus, reproduira également les sons
téléphoniques. Ces différents récepteurs
démontrent clairement que ni l'aimant ni le disque ne sont
des éléments essentiels, mais seulement des accessoires
d'un récepteur téléphonique
Cette affirmation est prouvée non seulement par la théorie
que nous exposons, mais aussi par les résultats pratiques
de nos expériences. Néanmoins, nous devons nous
attendre à des critiques défavorables concernant
notre explication du fonctionnement de ces instruments.
Le principal argument théorique qui sera présenté
contre nous sera que des successions de changements de température,
si infiniment rapides qu'elles produisent un son par la dilatation
des corps sur lesquels elles agissent, sont impossibles.
Mais on a utilisé exactement le même argument contre
la rapidité des changements magnéto-électriques
jusqu'à ce que les performances des téléphones
de Bell réfutent pratiquement l'hypothèse hâtive.
Je renvoie ceux qui nourrissent des doutes à une vérification
expérimentale et leur demande d'enrouler un mètre
seulement de fil isolé, n° 36, autour d'une bobine
en acier ordinaire de machine à coudre, puis d'insérer
cette bobine miniature, avec une batterie puissante, dans un circuit
électrique, et d'établir et d'interrompre le contact
très rapidement.
Le résultat ainsi obtenu constituera une preuve plus convaincante
que toute affirmation que nous pourrions formuler par écrit.
Lors de nos recherches pratiques sur ces récepteurs, nous
avons entendu parler des rapports de M Blythe et de M Hughes sur
leurs récepteurs à microphone, et le principe de
fonctionnement de ces instruments nous a semblé être
exactement celui sur lequel nous menions nos expériences
Le carbone, étant un conducteur médiocre, offre
une résistance considérable au passage du courant
électrique. Sa température est élevée
en degrés, proportionnellement à l'intensité
des courants qui le traversent, et il se dilate sous l'effet de
la chaleur, en degrés, proportionnellement aux ondulations
du courant telles que variées ou produites dans l'émetteur
par une série de vibrations sonores d'amplitudes différentes.
Il est à noter que nous n'avons eu connaissance d'aucune
répétition réussie de l'expérience
de M Blythe
Le principe n'a manifestement pas été compris, et
les expérimentateurs, au lieu d'utiliser des courants de
quantité, emploient probablement les piles de microphone
habituelles, qui sont extrêmement faibles et dont les courants
ne produisent que des effets minimes, de la nature décrite.
Le principe que nous expliquons permet de nombreuses applications
différentes. Nous avons produit une variété
de récepteurs. Aucun n'est aussi parfait que nous le souhaiterions,
ni même aussi efficace qu'un bon téléphone
Bell.
Mais sans aucun doute, le sujet sera repris par de nombreux expérimentateurs,
et nous éprouvons une certaine satisfaction d'avoir découvert
le principe et établi expérimentalement le fait
qu'il est possible de reproduire le son par action thermique grâce
à la conversion de forces.
Une nouvelle voie est ainsi ouverte à la recherche scientifique,
et au progrès ss en téléphonie.
Th Wiesendanger
|
M. Wiesendanger avait établi, daprès
ces propriétés quil soupçonnait, un téléphone
auquel il donna le nom de Thermophone (Voir English
mechanic and World of science du 13 sept, 1878 ci dessus) et
qui a été décrit dans les différentes
éditions de louvrage de M. du Moncel sur 1e téléphone,
le microphone et le phonographe ; mais la théorie quil
avait émise à cet égard navait pas été
accueillie tout dabord avec lintérêt quelle
méritait; on croyait que les mouvements de dilatation et
de rétraction résultant des actions calorifiques devaient
être trop lents à se produire pour provoquer des vibrations;
mais M. Wiesendanger répondait à cela que ces effets
de dilatation et de contraction pouvaient être moléculaires,
et par conséquent ne pas se produire dans les mêmes
conditions que ceux qui se manifestent dans les masses matérielles.
Suivant lui, son hypothèse permettait dexpliquer la
reproduction de la parole dans les microphones récepteurs
de Hughes et pourrait même sappliquer à la théorie
du téléphone électro-magnétique, en
considérant quune hélice magnétisante
aussi bien quun noyau magnétique autour duquel circule
un courant électrique, se trouve plus ou moins échauffée
suivant lintensité du courant qui la parcourt, surtout
quand le fil de cette hélice et le noyau sont mauvais conducteurs
de lélectricité et du magnétisme.
Dans le même ordre didées, M. Preece a voulu
examiner jusquà quel point des variations promptes
dans la dilatation dun fil pouvaient entraîner des vibrations
sonores, et il eut lidée dadapter au centre dun
diaphragme de téléphone fixé sur une table
dharmonie, un fil fin et résistant traversé
par le courant ondulatoire dun parleur microphonique, animé
par une pile à bichromate de potasse de six éléments.
Cétait, comme on le voit, lexpérience
de M. Ader sous une autre forme. On obtint naturellement la reproduction
de la parole; mais, comme lappareil était disposé
de manière à ce que lon pût varier la
longueur et la nature du fil, on pût varier les expériences,
et on est arrivé à constater les résultats
suivants.
1° La longueur de fil correspondante à la plus grande
intensité des sons était denviron six pouces.
2° Le diamètre le plus favorable était de 0,001
de pouce.
3° Le métal donnant les meilleurs effets était
le platine, et les autres métaux pouvaient être rangés
dans lordre suivant çu égard à la propriété
que nous étudions : platine aluminium, palladium, fer, cuivre,
argent, or. Cette conclusion est tout à fait différente
de celle de M. Ader.
4° Létirage et la compression des fils namenaient
aucun changement'dans leur faculté de reproduire les sons,
quand toutefois, la tension requise avait été atteinte.
11 en a été de même en substituant aux fils
des crayons de charbon.
5° Les effets dus à réchauffement ou au refroidissement
du fil, pouvaient être mis en évidence par la sensation
que lon ressentait en touchant ces fils du doigt, et on pouvait,
dailleurs, distinguer à lil les dilatations
et contractions qui en résultaient, quand on émettait
des sons bas.
« Or, il semble démontré daprès
ces expériences, dit M. Preece, que les fils servant aux
transmissions téléphoniques, peuvent reproduire par
des effets de dilatation et de contraction les mouvements des ondes
sonores qui déterminent, dans- le transmetteur, les renforcements
et les affaiblissements du courant transmis, et par conséquent
peuvent émettre des vibrations sonores. Ces vibrations sont
donc, par le fait, très-analogues à celles qui sont
produites mécaniquement et moléculairement dans les
fils des téléphones à ficelle, niais avec cette
grande différence que, dans ce dernier cas, elles se propagent
lentement le long du fil avec une vitesse facile à mesurer,
tandis que dans lautre cas elles se propagent pour ainsi dire
instantanément sur toute la longueur du fil. »
Il nest pas inutile de dire, à loccasion de ces
recherches, que M. Dunand est arrivé à reproduire
nettement la parole avec un fil de platine de quelques millimètres
de longueur, placé en arc-boutant entre deux plaques de cuivre
mises en rapport avec le circuit dun microphone. Il avait
du reste constaté depuis longtemps que tous les métaux
pouvaient produire le même effet ; de sorte que la reproduction
des sons par un fil ne peut être considérée
comme étant particulière aux fils en matière
magnétique. |
Les expériences de M. Preece, que nous avons
rapportées dans le numéro du 1er juillet de ce journal,
qnt été loccasion dune réclamation
de priorité de M. G. M. Hopkins, insérée dans le
Scientific American du 17 juillet.
D'après ses propres expériences, quil a répétées
à peu près dans les mêmes conditions que le savant
anglais, larticulation de la parole naurait pu jamais être
obtenue dune manière distincte, quelle quait été
la nature du fil métallique employé, et il a même
essayé de petites baguettes de charbon. Toutefois, il a mis à
contribution les effets délongation et de contraction du
fil produits dans ces conditions, à la construction dun
relais télégraphique qui a fourni des réml-tats
avantageux.
Nous croyons que si M. Hopkins na pas obtenu la reproduction de
la parole par le moyen indiqué par M. Preece, cest quil
ne sest pas placé dans les conditions convenables car M.
Dunand la parfaitement réalisée avec un fil de platine,
et M. Ader avec un fil de fer terminé par une masse pesante ;
toutefois, nous ne croyons pas que ce soit aux effets thermiques quil
faut attribuer ce phénomène, mais bien à des effets
moléculaires effectués au sein du fil par le passage du
courant. Les effets de dilatation sont beaucoup trop lents pour donner
naissance à des vibrations sonores, et les expériences
de M. Ader montrent, comme on l'a vu, que, par le fait du passage du
courant, il peut se produire deux effers tout à fait distincts
et souvent contraires lim à lautre.
1879"LA LUMIÈRE ÉLECTRIQUE"
EXPÉRIENCES NOUVELLES sur l'origine des
sons dans le téléphone
Les observations qui nous ont été faites, par quelques-uns
de nos correspondants, sur lorigine des sons dans le téléphone,
et les demandes de renseignements que nous avons reçues au
sujet des deux articles que nous avons publiés sur cette
question dans notre dernier numéro, nous engagent à
revenir un peu sur ce sujet et à indiquer les nouvelles expériences
de M. du Moncel, qui ne peuvent maintenant laisser aucun doute.
On nous fait remarquer que la parole pouvant être reproduite
de beaucoup de manières différentes, chaque système
de téléphone peut lui-même la transmettre dun
manière multiple, cest-à-dire sous linfluence
de causes différentes, et que le téléphone
Bell, par exemple, peut fournir la répétition des
sons articulés à la fois par le noyau magnétique,
par le diaphragme, par la bobine et par lenveloppe en bois
du téléphone lui-même. On ajoute toutefois que,
dans cet appareil, ce sont les sons fournis par le diaphragme qui
doivent être les plus marqués.
Il est certain que le diaphragme, en raison de sa plus grande proximité
de loreille et de sa moindre inertie magnétique, doit,
daprès la théorie qua donnée M.
du Moncel de ces effets, fournir des vibrations plus caractérisées
que le noyau magnétique et les organes qui en dépendent.
Mais, suivant lui, et suivant notre propre opinion, ces vibrations
ne -résulteraient dattractions électro-magnétiques,
que dans le cas où lon emploierait des courants dune
intensité suffisante, cest-à-dire des courants
voltaïques. Avec les courants induits fournis par le téléphone
Bell, courants dont lintensité peut être représentée
par celle du courant dun élément de Daniel qui
aurait parcouru 290 fois le tour du monde à travers un fil
télégraphique de 4 millimètres, ces attractions
sont impossibles, et il faut admettre forcément que les vibrations
produites alors sont le résultat deffets moléculaires
déterminés par les aimantations et désaimantations,
du diaphragme sous linfluence du noyau magnétique.
Dans ce cas, ces effets seraient complètement analogues à
ceux produits dans le noyau magnétique lui-même et,
par conséquent, auraient la même cause. On a répondu,
il est vrai, à M. du Moncel, quand il a soutenu cette théorie,
que les sons produits par les actions exercées directement
sur les noyaux magnétiques né pouvaient être
obtenus quavec des forces électriques un peu considérables,
et, par conséquent, ne pouvaient pas être le résultat
de courants aussi faibles que ceux dont il vient dêtre
question. Les expériences de M. Ader avaient bien démontré
que la parole pouvait être reproduite très-nettement
avec un fil de fer; mais il fallait employer pour cela de 3 à
6 éléments Leclanché, et, pour réduire
à néant cette objection, M. du Moncel a entrepris
une série dexpériences qui ont démontré
que la parole pouvait être très-distinctement reproduite
avec les courants dun téléphone Bell ordinaire,
mais à la condition de constituer le récepteur avec
un fragment de ressort de montre fortement aimanté et fixé
par un bout sur une planchette. Si lon adapte sur cette lame
de ressort une hélice de fil très-fin, placée
contre la planche et laissant dépasser un bout du ressort,
la parole se trouve perçue très-nettement, plus nettement
même quavec un microphone parleur, quand on applique
la planchette contre loreille. Dans ce cas, il est bien évident
quil ne peut y avoir que des vibrations moléculaires.
et pourtant les courants si faibles qui étaient employés
suffisent pour reproduire la parole. Il faut donc que lon
prenne son parti de regarder les anciennes théories de lacoustique
comme nétant plus à la hauteur de la science
actuelle, et, nen déplaise à quelques savants
retardataires, il faudra désormais quils comptent avec
les mouvemen ts moléculaires et les sons qui peuvent en résulter.
Dernièrement M. H. Wilbrand a publié, dans
le journal l'Electricité du 5 juin, certaines expériences
des plus concluantes, en faveur de la théorie que nous venons
dexposer.
F. G |
1879"LA LUMIÈRE ÉLECTRIQUE"
|
Dans notre numéro du 15 mai, nous avons
fait un résumé rapide des différentes expériences
qui avaient été faites sur le téléphone
dans le but daméliorer cet instrument et den
étudier la théorie. Aujourdhui nous allons
compléter cet article en donnant quelques détails
sur certains téléphones avertisseurs qui ont précédé
celui de M. Gower et qui sont eux-mêmes remarquables. De
ce nombre sont les téléphones de MM. Perrodon et
Siemens; nous verrons ensuite comment lusage des téléphones
ordinaires peut être rendu satisfaisant par un simple réglage
disposé de manière à être effectué
facilement par ceux qui sen servent.
Avertisseur téléphonique de M. Perrodon.
Dernièrement, le, capitaine dartillerie Perrodon
a combiné un système davertisseur téléphonique
quia fourni de très-bons rérsultats dans son application
au service militaire et qui a pour organe excitateur une sorte
de trembleur électro-magnétique constitué
par le téléphone lui-même.
 |
Cest un perfectionnement
du système de MM. Dutertre et Gouault proposé
il y a déjà longtemps; toutefois cest
grâce à des dispositions ingénieuses combinées
par M. Trouvé, le constructeur de ces appareils, que
lon a pu obtenir les bonsrésultats dont nous
venons de parler.
La figure 1 ci-contre représente une coupe de lappareil
dont on a dévissé lembouchure pour permettre
den mieux comprendre le mécanisme. Cette embouchure
se voit dailleurs au-dessus. Le barreau aimanté
du téléphone est en 13, la bobine en C, et le
mécanisme avertisseur en K. Ce mécanisme est
commandé par une tige à manette E qui pivote
horizontalement et qui porte en F et en G des cames perpendiculaires
entre elles. Lorsque l'instrument est disposé pour
parler, ce qu'indique la position de la manette a, qui est
alors dirigée vers la lettre T inscrite sur la boîte
du téléphone, la came G presse un ressort H
fixé au fond de la boîte du téléphone
et qui communique avec le fil de la bobine C. Quand,au contraire,
linstrument est disposé pour fournir lavertissement,
ce qui suppose la manette disposée en sens inverse
de la position précédente, cest la came
F qui vient toucher un petit talon) qui fait corps avec le
levier à ressort K fixé en L et le soulève.
Ce levier soulevé en K et dont lextrémité
est en platine va toucher le diaphragme vers son centre, juste
sur un petit grain de platine rivé à ce diaphragme,
ce qui constitue linterrupteur du trembleur dont nous
avons déià parlé. Les communica. fions
électriques sont établies de telle manière
que quand le contact a fieu entre le diaphragme et le ressort
dont il vient dêtre question, le courant dune
pile locale traverse la bobine du téléphone
de manière à produire un affaiblissement daimantation
du noyau magnétique,et il en résulte alors un
éloignement du diaphragme qui rompt le contact et parconséquent
provoque une nouvelle attraction de la membrane, laquelle
rétablit le contact et détermine une nouvelle
rupture. Il se produit donc alors un mouvement de vibration
très-caractérisé qui entraîne des
émissions successives de courants à travers
la ligne, assez multipliées pour faire produire au
diaphragme du téléphone correspondant des sons
relativement intenses et capables de fournir un appel. Cet
effet na lieu, bien entendu, que quand la manette a
est tournée du côté de la lettre A. Quand
elle est tournée en sens opposé, la pile locale
est retirée du circuit et la ligne se trouve mise directement
en rapport avec la bobine B par la tige E et le ressort H;
alors les deux appareils téléphoniques correspondent
directement ensemble pour léchange delà
conversation. |
M. Trouvé a modifié un
peu cette disposition en rendant le trembleur tout à fait
indépendant du téléphone, et pour cela il emploie
le petit trembleur quil avait déjà appliqué
à son appareil explorateur destiné à la recherche
des projectiles enfoncés dans les plaies causées par
les armes à feu. Ce petit appareil, que nous représentons
figure 2 ci-dessous, est renfermé, comme on le sait, dans
une boîte à double glace transparente, et il est introduit
dans le circuit de la pile et des téléphones ; il
peut meme servir de commutateur, car laxe entraîné
par la manette est muni de cames à cet effet.

La position de la manette perpendiculaire à larmature,
fig. 1, correspond à lavertissement et montre, par
conséquent, que la pile, le trembleur et les téléphones
se trouvent dans le même circuit. La position oblique de la
manette, soit à droite soit à gauche, établit
la correspondance téléphonique seulement en supprimant
la pile. La disposition du trembleur avertisseur que représente
notre dessin conviendrait peu à larmée et aux
usages domestiques, aussi M. Trouvé, pour ces nouvelles applications,
na-t-il pas hésité à sacrifier lélégance
à la solidité et à la sûreté,
et i1 a, en conséquence, renfermé son petit électro-trembleur,
non plus dans une petite boîte de montre à double glace
transparente, mais dans une petite auge rectangulaire en caoutchouc
durci de 3 à 4 centimètres de longueur sur 1 centimètre
1 /2 de côté et complètement étanche.
Dans ces conditions i! peut supporter des chocs violents, subir
les intempéries de latmosphère, la chaleur,
lhumidité et même être exposé à
la pluie sans que son fonctionnement en soit nullement modifié.
En raison de son petit volume, M. Trouvé la souvent
placé directement dans le manche du téléphone.
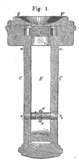
Nouveau téléphone de MM. Siemens et Halske.
Le nouveau modèle de téléphone breveté
par MM. Siemens et Halske le 8 mai 1878, renferme, comme celui de
M. Gower, son avertisseur et il est assez énergique pour
se faire entendre à une certaine distance de linstrument.
Comme forme, il se rapproche du modèle ordinaire de Bell,
mais le manche, au lieu de renfermer un simple noyau magnétique,
contient un aimant persistant, en fer à cheval, très-énergique.
La figure 2 représente la coupe de cet appareil. H, H, est
laimant en fer à cheval dont nous venons de parler
; il ressemble, comme on le voit, à un aimant Hughes dont
les noyaux polaires u1 u2 sont placés à lintérieur
des branches et portent en s1, s2 les bobines électro-magnétiques.
Cet aimant, au moyen de deux traverses X,X et dun excentrique
y, peut être élevé ou abaissé par rapport
au diaphragme PP, et les fils des bobines aboutissent aux bornes
dattache K1 K2 fixées sur la boîte de bois UU,
qui soutient lembouchure VV du téléphone.
Lavertisseur consiste dans un sifflet Q_, vissé sur
lorifice du téléphone et disposé de manière
quune tige fixée à lanche du sifflet appuie
sur le diaphragme PP. Quand on veut appeler, il suffit de souffler
dans ce sifflet, et immédiatement, les vibrations de lanche
se trouvant communiquées au diaphragme PP, lui font déterminer
des courants induits assez forts pour réagir sur le récepteur
téléphonique mis correspondance avec cet appareil,
et lui faire produire un appel susceptible dètre entendu
dassez loin. Quand on veut parler avec lappareil, on
dévisse le sifflet Qet lon se trouve en possession
dun téléphone ordinaire. Lappareil peut,
dailleurs, être soutenu dans un pied F, dans lequel
est introduite la partie circulaire de laimant en fer à
cheval,
La figure 1 représente un autre modèle de ce système
téléphonique, et la figure 3 représente le
sifflet qui est vissé au fond de louverture VV.
Daprès M. Zetzche, loreille peut,
au'moyen de ce téléphone, comprendre la parole à
une assez grande distance de lembouchure V, et la bouche de
celui qui parle a pu, au cours des expériences qui ont été
faites avec ce téléphone, au Polytechnicum de Dresde
(même avec une résistance de 3000 unités Siemens,
dans le circuit dinduction), être éloignée
dun mètre ; ce nest que quand léloignement
de la bouche a atteint deux mètres que la parole na
plus été compréhensible.
Moyen facile de réglage des téléphones.
La réussite des téléphones tient beaucoup
plus'au réglage quà la bonté des appareils,
et, comme ce réglage doit varier suivant les conditions dinstallation
de la ligne téléphonique, on ne doit pas être
étonné que des téléphones achetés
pour fournir des indications dans une maison ne soient pas susceptibles
de donner de bons résultats quand on les applique sur une
ligne dune certaine longueur. La lettre suivante, que nous
a adressée M. le colonel de Champvallier, met
ce fait hors de doute et nous montre de plus que le téléphone,
tel quil est aujourdhui, est susceptible de nombreuses
applications, quoi quen aient dit certaines personnes.
Monsieur,
Jai lhonneur de madresser à vous dont je
lis les ouvrages avec tant dintérêt et, permettez-moi
de le dire, avec le plus grand profit pour mes études et
mes expériences. La communication que je vous demanderais
de faire à lAcadémie na rien de très-scientifique,mais,
toute simple quelle est, je la crois dune utilité
de premier ordre pour la vulgarisation de lusage du téléphone
Bell.
Vous savez peut-être, par une communication antérieure,
accueillie favorablement par lAcadémie et que vous
avez reproduite en partie dans votre dernier ouvrage, que lEcole
dartillerie de Clermont se sert couramment du téléphone
Bell, non-seulement pendant les écoles à feu, mais
encore pour communiquer de mon bureau au champ de tir situé
à 15 kilomètres.
Depuis plus dun an, cette ligne téléphonique
est installée,et les comihunications nont jamais été
interrompues un seul instant.
Nous parlons à voix basse et tout le monde se sert indistinctement
de nos téléphones sans jamais perdre un mot de son
correspondant; il est si facile de parler et dentendre, que
pendant lhiver un sous-officier faisait chaque matin une dictée
de deux pages au canonnier assez illettré qui garde notre
poste à 1000 mètres daltitude,celui-ci épelait
tous les mots et on a pu ainsi lui donner avec succès des
leçons dorthographe et même de prononciation;
or, la dictée et la répétition ne prennent
jamais plus dune demi-heure, juste le temps quil faudrait
pour les mêmes opérations si le maître et lélève
étaient dans la même pièce.
Chaque poste téléphonique comprend trois téléphones
: un muni dun cornet de 3o centimètres de long, pour
parlçr, est placé dans une position invariable à
45°,sur la table; les deux autres téléphones adaptés
à un chapeau spécial qui les place de lui-même
aux deux oreilles permettent dentendre au milieu du bruit
et sans que les personnes placées dans le bureau téléphonique
soient obligées dinterrompre leurs conversations. Les
deux correspondants ont ainsi leurs mains libres.
Notre fil nest pas seul sur les poteaux qui le supportent,
et, tout en écoutant le correspondant téléphonique,
on entend les dépêches Morse ou Hugues qui passent
sur les fils voisins et même les dépêches téléphoniques
échangées sur le fil qui relie lObservatoire
du sommet du Puy-de-Dôme à lObservatoire de Clermont.
Tous ces bruits étrangers nous gênent peu; jai
même pu causer à demi-voix à 65 kilomètres,
entre Saint-Germain-des-Fossés et Clermont, malgré
un tic-tac très-fort produit par le passage de dépêches
Morse continues sur plus de dix fils voisins.
Tous ces résultats ne concordent pas avec ceux obtenus dans
la plupart des stations téléphoniques où lon
a presque renoncé à lusage de ce merveilleux
instrument, parce quon trouve que, très-nette et très-sensible
dabord, laudition devient par la suite difficile et
irrégulière.
Le secret de notre succès, vous lavez déjà
deviné, vient uniquement de notre méthode de réglage,
et cest là le but unique de ma communication.
Les téléphones ordinaires portent une vis de réglage
que lon est obligé de faire marcher avec un tourne-vis
sans jamais savoir où lon en est et si même on
ne force pas laimant contre la plaque vibrante en détériorant
celle-ci, ce qui arrive fréquemment dans les stations qui,
comme la nôtre, sont livrées à tous : habiles
et maladroits ou ignorants.
Avec le concours dun habile électricien, amateur de
Clermont, M. Chatard, nous avons remplacé la
tête de la vis de réglage par un boulon moîeté
qui porte à la base de son axe une aiguille perpendiculaire
à cet axe. Cette aiguille se meut à la surface dun
cercle de cuivré dont la circonférence est divisée
en douze parties égales portant les numéros i, 2,
3, etc.
On commence par régler le téléphone en faisant
lire sur le même ton son correspondant et tournant le bouton
régulateur jusquau maximum de netteté de laudition;
si le téléphone ne doit servir quà entendre
(ce qui est préférable dans un bureau bien installé),
le téléphone se trouve réglé.
Sil doit servir uniquement à parler, on le règle
par lopération inverse en lisant soi-même et
tournant à droite ou à gauche le bouton jusquà
ce que le correspondant vous avertisse que vous êtes arrivé
au maximum de netteté dans la parole.
Si le téléphone doit servir à parler et à
entendre, après lavoir réglé des deux
manières ci-dessus décrites et noté les deux
positions de laiguille sur la circonférence du limbe,
positions toujours très-voisines mais différentes,
on donne à la pointe de laiguille une position intermédiaire.
Quoi quil en soit, une fois le téléphone bien
réglé, il faudra très-peu éloigner ou
rapprocher laimant de la plaque vibrante pour le régler
à nouveau suivant la température, létat
électrique ou humide de lair, la force daimantation
changeante du barreau, etc. Lexpérience nous a appris
que, avec le pas de vis adopté par nous, une demi circonférence
parcourue par la pointe de laiguille à droite ou à
gauche était toujours suffisante pour revenir à un
réglage parfait.
Nous plaçons alors un arrêt sur le limbe à 180
° de la position de laiguille quand le téléphone
est réglé pour la première fois, et nos plaques-
vibrantes se trouvent à labri de toutes les maladresses,
volontaires ou non, des visiteurs et des indiscrets.
Chaque téléphone porte un numéro dordre
et sur un registre matricule, ouvert ad hoc, vis-à-vis du
numéro du téléphone on inscrit dans une première
colonne son point de réglage, cest-à-dire la
division où se trouve la pointe de laiguille :
Si le réglage doit être changé, ce qui est rare,
on sy décide après examen et on linscrit
dans la colonne suivante avec la date.
Grâce à ce procédé si simple, on peut
livrer à tous et sans surveillance les téléphones,
et on peut toujours, sans hésitation, replacer laimant
à sa position sans tâtonnement. Tous ceux qui voudront,
comme nous, employer le procédé précité
arriveront à se servir sans mécompte du merveilleux
instrument inventé par M. Bell, le meilleur et le plus simple
de tous, et quil est, selon moi, inutile de perfectionner
au moins pour les petites distances.
Que peut-on demander, en effet, de plus à un instrument que
de transmettre à 15,20 kilomètres la voix avec son
timbre et sensiblement toute sa puissance même quand on la
fait entendre à la fois, comme je lai fait, à
vingt personnes, en plaçant dans le même circuit vingt
téléphones.
Pour avertisseur nous employons tout simplement une sonnerie électrique
avec pile; bien que, en ajoutant un système convenable de
cornets, nous puissions faire entendre dans toute une salle à
5 et 6 mètres des téléphones, un commandement
militaire ou le son dune trompette émis à 15
et même à 65 kilomètres; ce moyen davertir
est peu pratique et je préfère la sonnerie même
à la bobine Ruhmkorff, difficile à régler par
le premier venu.
Nous parlons également avec le microphone; mais cet instrument,
pour cet usage, na pas la netteté et la sûreté
du téléphone.
Enfin, monsieur, je crois vous intéresser en vous apprenant
que nous allons établir une ligne purement téléphonique
pour mettre nos bureaux en communication avec deux très-importants
établissements militaires éloignés entre eux
et de Clermont de 4 kilomètres. Le téléphone,
dans cette circonstance, va être utilisé pour faciliter
non-seulement les communications, mais encore et surtout comme un
puissant moyen de surveillance. Les deux établissements précités
contiendront un matériel de guerre considérable, en
grande partie composé de munitions et dont Ja valeur dépassera
5o à 60 millions.
Indépendamment de cette importance financière, il
y a un intérêt de premier ordre pour la défense
du pays, à garantir par tous les moyens possibles la conserva'ion
absolue de nos magasins.
La première des conditions cest dêtre assuré
que les surveillants ont à leur poste, la deuxième
cest dêtre prévenu instantanément
de tout événement.
Le télégraphe pourrait satisfaire, à la rigueur,
à la deuxième condition; mais le téléphone
encore bien mieux, puisque, en cas daccident, dincendie
par exemple, nimporte quel employé, sans être
habitué aux manipulations télégraphiques, peut
donner lalarme à Clermont.
Quant à la première condition, le téléphone
est bien supérieur au télégraphe, lemployé
de service ne peut se faire remplacer par personne, car je connais
sa voix dans le téléphone comme sil me parlait
à 1 ou 2 mètres, et il ne peut pas dire quon
ne la pas sonné, car, avec une petite disposition de
détail, jentends dans mon téléphone la
sonnerie que je produis chez lui. Voilà donc le téléphone
remplaçant le meilleur des officiers de ronde et contribuant
à la conservation dune partie des ressources du pays.
Notre ligne téléphonique sera portée sur des
poteaux distincts de ceux des télégraphes, quoique
placés aussi le long des voies ferrées, mais le plus
loin possible des lignes télégraphiques; jespère
ainsi diminuer le tic-tac désagréable produit par
le passage des dépêches Morses et en même temps
assurer à ladministration des télégraphes
le secret de ses dépêches; mais je suis loin dêtre
convaincu que jéviterai complètement laudition
des dépêches Morses, bien que nos fils soient placés
à 2 ou 3 mètres des fils télégraphiques.
Comme perfectionnement important apporté au téléphone,
nous aurions bien encore à parler du téléphone
de M. Righi, qui a permis également de reproduire
la parole et les sons musicaux à une distance assez grande
pour quon puisse les entendre dans toute une pièce;
mais comme nous avons décrit cet appareil avec détails
dans la dernière édition de notre ouvrage sur le Téléphone,
nous croyons inutile dy revenir dans cet article ; nous dirons
seulement quon le construit chez M. Carpentier, successeur
de M. Ruhmkorff.
Nous terminerons notre travail en rapportant un fait assez curieux
dont M. Crèpaux, chef de bataillon du génie à
Lunéville, a donné communication à la Société
dencouragement, dans sa séance du 13 juin 1879. Voici
ce fait ;
« Il y a, à Lunéville, une installation téléphonique
faite dans des conditions assez primitives. Le fil de ligne est
un fil de fer galvanisé de 3 millimètres, très-tendu.
Il est fixé à un poteau au-dessus dun grenier
et il sinfléchit à angle obtus sur la gaîne
de cheminée en briques dun bâtiment voisin, éloigné
dune dizaine de mètres. La gaîne de la cheminée
correspond naturellement à lâtre, dans une chambre
du premier étage du bâtiment. Quand on parle dans le
téléphone dune station à lautre,
non-seulement le récepteur parle, et, pour lentendre,
il faut le mettre près de loreille, « mais, fait
inexplicable, la cheminée, où sinfléchit
le fil, parle, lâtre parle, et une personne couchée
dans la chambre entend, de son lit, lotîtes les paroles trans
mises au fil, plus distinctement que ceux qui, à lextrémité
de la ligne, se servent de lappareil récepteur. Impossible
de nier ce fait, dont jai été témoin
plusieurs fois.
On a isolé le fil de la gaîne de cheminée au
moyen de plaques de verre : la parole na pas, pour cela, cessé
dêtre entendue. A la station la plus éloignée,
à 200 ou 250 mètres de distance environ, un fait semblable
sest reproduit.
Le fil de terre suit, dans son parcours, un tuyau de descente en
zinc. Ce tuyau a des ramifications aboutissant à des pierres
à évier : la pierre à évier parle. Jai
entendu dire quà chaque point dattache le fil
de ligne parlait; ainsi, si on lui fait faire quelques tours autour
dun clou fiché dans la muraille, le nud ainsi
produit parle. Il est probable que le fait, dont je rends compte,
ne se produit que dans les environs des points dattache et
de contact. Il est probable que cet effet doit être rapporté
à la même cause que celui par lequel un microphone
peut devenir un très-bon récepteur, et comme dans
ce cas leffet est produit au contact des deux charbons, il
est probable que le phénomène cité par M. Crêpaux
est, comme il lobserve lui-même, déterminé
au point de contact du fil, avec les supports, et que la transmission
des vibrations de ce point de contact aux différentes parties
de la cheminée dont il a été question, est
le résultat dune action mécanique, comme cela
a lieu dans les téléphones à ficelle. M. Decharme
a, du reste, indiqué des expériences intéressantes
sur ce mode de transmission des vibrations, expériences qui
montrent que la parole peut être reproduite mécaniquement
dune manière très-accentuée sous certaines
conditions.
Th. du Moncel. |
1880 "LA LUMIÈRE ÉLECTRIQUE"
.
|
Essai sur les causes de la production du son dans
les téléphones, etc., par M. R. Coulon.
Nous avons reçu récemment une très-intéressante
brochure de M. R. Coulon sur les causes de la production du son
dans les téléphones, dans laquelle sont développées
dune manière à la fois savante et intéressante
les diverses recherches quil a entreprises depuis plus dune
année sur cette question, et dont nous avons résumé
les principaux résultats dans nos numéros des 15
septembre et 15 octobre 1879.
M. R. Coulon est, comme on la vu, de ceux qui, comme M.
Th. du Moncel, soutiennent la théorie des vibrations
moléculaires.
« Dans les téléphones, dit-il, les mouvements
sont moléculaires, invisibles, latents, et peuvent parfois,
dans des cas exceptionnels, devenir mécaniques ou apparents.
« Afin quon puisse bien saisir cette théorie,
je la résume dans un tableau densemble, en prenant
par exemple le cas en apparence le plus simple, mais en réalité
le plus compliqué, celui dun téléphone
sans pile et dun récepteur sans plaque transmettant
la parole à lobservateur par lintermédiaire
dun corps solide quelconque.
« Première phase. La voix de lexpéditeur
fait vibrer la plaque, du téléphone par lintermédiaire
de lair ; effet purement acoustique.
« Deuxième phase. La plaque du téléphone,
en vibrant, détermine la production dune série
de courants induits qui traduisent exactement en ondes électriques
les ondes acoustiques précédentes.
« Troisième phase. Les ondes électriques,
en arrivant dans la bobine du récepteur, agissent par induction
sur le noyau central et y déterminent des mouvements moléculaires
qui sont la fidèle reproduction de ceux de la plaque du
transmetteur, mais sur une échelle infiniment réduite,
par suite des pertes.
« Quatrième phase. Ces mouvements moléculaires
du noyau sont transmises, par simple contact, à tous les
corps qui le touchent (monture de linstrument, ficelle ou
autres objets servant à lexpérience) et par
leur intermédiaire, arrivent à notre oreille.
« Ce cas, qui semble lexception, est cependant général,
car lorsquon pose directement le pavillon dun téléphone
ordinaire contre loreille, le bois de linstrument,
lair qui se trouve enfermé entre la plaque et loreille,
concourent à transmettre le son et constituent même
la seule voie par laquelle il puisse nous parvenir. »
Ces conclusions sont exactement celles que M. du Moncel a toujours
émises et que les expériences de M. Ader et de M.
labbé Laborde ont beaucoup contribué à
établir définitivement.
Toutefois, M. Coulon ne sen est pas tenu à une simple
donnée théorique. Reprenant lexpérience
bien connue de M. Guillemin, il la disposée
de manière à en former un trembleur, quon
pourrait appeler électro-moléculaire, et cette-fois,
les effets vibratoires dus aux actions moléculaires, deviennent
visibles. Pour obtenir ce résultat, il fixe solide^ ment
par une de ses extrémités une aiguille de fer dune
certaine longueur légèrement recourbée, quil
recouvre sur une partie de sa longueur, dune hélice
de fil dont les extrémités plongent dans deux godets
remplis de mercure. Ces godets sont interposés dans le
circuit dune pile, mais lun des bouts du fil, celui
qui correspond au bout libre de laiguille, ne senfonce
dans le mercure que dune très-petite quantité.
Or, dès quun courant interrompu passe, la tige se
met à vibrer sous linfluence des redressements de
laiguille qui ont lieu à chacune de ses aimantations,
et qui sont dus aux attractions moléculaires qui se produisent
au sein même de laiguille ; de plus les vibrations
de cette aiguille reproduisent la note même quémet
en vibrant linterrupteur du courant.
Ce qui étonne à bon droit M. Coulon, cest
que les fausses idées quon sest faites sur
certains effets dacoustique, ont fait perdre de vue ce qui
se passe réellement dans la transmission des sons à
travers les masses solides.
« Il est peu de personnes, dit-il, qui ne se soient amusées
à mettre une montre au bout dune poutre et à
en écouter le tic-tac à lautre extrémité.
« Eh bien, quelle est la cause de ce phénomène
fout aussi surprenant, en lui-même, que la transmission
télégraphique, mais auquel on nattache plus
aucune attention parce quil a perdu lattrait de la
nouveauté ?
« Ce sont les vibrations sonores qui se transmettent dun
bout à lautre de la poutre, nous répondront
tous les traités de physique, etc., parce que les corps
solides ont la propriété de transmettre le son.
« Pour les corps gazeux, on sest donné la peine
détudier complètement le phénomène,
et le mode de transmission du son dans lair est parfaitement
connu.
« Le phénomène est le même pour les
liquides et les solides, et la transmission de molécule
à molécule, admise sans conteste pour les gaz, doit
lêtre également pour ceux-ci. La transmission
y est même beaucoup plus parfaite, puisque le son y acquiert
une vitesse plus grande que daus lair, et quil y perd
moins de sa force.
« Il ne viendra cependant jamais à lidée
de personne de supposer un instant que les poutres entrent en
vibration sous linfluence du tic-tac des montres.
« La force produite par un échappement dhorlogerie
nest pas dun centième de gramme et ne peut
être capable dimprimer le moindre déplacement
à un arbre pesant plusieurs quintaux. Néanmoins,
le son est transmis dun bout à lautre de la
poutre, et la physique nous enseigne, par les expériences
les plus irréfutables, que le son ne se transmet que par
les vibrations de la matière.
« Pour sortir de cette impasse, il faut : ou nier le mode
de transmission du son actuellement reconnu par tout le monde,
ou admettre lexistence de mouvements vibratoires.
« On ne peut songer à remettre en question le mode
de propagation du son.
« Reste 1 hypothèse dun ébranlement.
Mais cet ébranlement nécessaire, par quelle force
est-il produit ? Où est lagent actif, capable dimprimer
le branle à la poutre ? Léchappement dhorlogerie
na certainement pas cette puissance. Où est le moteur
caché qui supplée à linsuffisance du
moteur visible ?
« Lexpérience précédente est
complètement inexplicable si nous voulons admettre un mouvement
analogue à celui dune membrane, un déplacement
tangible, quelque faible quil soit, de la substance qui
compose la poutre; mais elle devient très-facile à
comprendre si nous admettons le mouvement moléculaire,
cest-à-dire un mouvement qui ne peut tomber sous
nos sens, parce quil ne dépasse pas la sphère
daction dun molécule ou dun atome que
nous ne pouvons isoler.
« Quoi que puissent dire les adversaires de la théorie
des mouvements moléculaires dans les téléphones,
je crois quils seront bien forcés de ladmettre
dans cet exemple où lélectricité ne
joue aucun rôle.
« Dans le cas contraire, je leur pose le dilemme suivant
: i° prouver que le son est transmis par la poutre sans vibration
aucune de la matière ;
20 Ou, sils admettent les vibrations, quelles sont
alors de nature à imprimer à la poutre un mouvement
sensible à la vue.
« Voici lexplication que je propose et qui repose
sur des expériences connues et réalisables par tout
le monde.
« La force, quelque minime quelle soit, qui agite
les molécules en contact immédiat avec la montre,
est transmise intégralement à lautre bout
de la poutre; moins une certaine quantité variant avec
la nature du bois (ou du corps quelconque en expérience).
Cette perte représente, pour moi, la résistance
sonorifique : elle est absolument analogue à la résistance
électrique, seulement lune est beaucoup plus puissante
que lautre.
« Cette transmission peut paraître problématique
à quelques personnes; rappelez-vous lexpérience
des billes de billard, décrite dans tous les traités
de physique, et si vous nêtes pas encore convaincus,
faisons ensemble lexpérience suivante :
« Mettons sur une table, ou mieux sur le marbre dun
meuble, une pièce en argent de 5 fr. A ; ensuite, lançons
une autre pièce B contre la première, en la faisant
glisser comme un palet; si le coup frappe bien daplomb,
la pièce B perdra toute sa vitesse et la communiquera à
la pièce A, en vertu dun principe mécanique
bien connu.
« Ajoutons une troisième pièce C, et plaçons
sur la table B et C., de façon à ce que les deux
pièces se touchent par la tranche ; lançons A contre
B à lextrémité opposée du diamètre
de contact de C; A perdra sa vitesse et restera en contact avec
B ; B ne bougera pas ; C acquerra toute la vitesse perdue par
A et séloignera de B. Si nous mettons un plus grand
nombre de pièces, une rangée de 10 par exemple,
et que nous lançions la première contre la seconde,
toutes resteront immobiles, sauf la dernière qui séloignera,
absolument comme si elle avait été frappée
directement par la première. On dirait quune main
invisible transporte la force de la première pièce
à la dernière sans toucher les" autres ; et,
cependant, il est évident que la transmission na
lieu que par lintermédiaire de la rangée tout
entière; cette transmission est dailleurs visible
quand le contact aux points de tangence nest pas parfait.
« Quarriverait-il si lon alignait un grand nombre
de pièces, cent ou deux cents? Si les pièces étaient
alignées avec beaucoup de soin sur un long marbre de comptoir,
il y aurait transmission du mouvement, mais avèc une grande
perte de force, due principalement aux imperfections du contact
des pièces entre elles. Eh bien! cette expérience
est, pour ainsi dire, limage du mouvement moléculaire
vu au travers dun microscope grossissant des millions de
fois, et tel quil nen existera probablement jamais.
« Chaque pièce représente un atome; quand
le premier est atteint, il choque immédiatement le second
et revient lui-même au repos ; le second choque lè
troisième, ainsi jusquau dernier atome qui se trouve
animé du mouvement du premier, moins la force perdue en
route ; car les atomes ne se touchent pas dans les corps ; ils
ont, en outre, une inertie quil faut vaincre et qui crée
une résistance passive, comme dans lexpérience
des pièces de monnaie; mais la force peut être transmise
beaucoup plus loin, par suite du contact qui est plus intime.
« On conçoit donc comment un atome, ébranlé
par une force infiniment petite, transmet cette force à
travers une masse qui exigerait, pour être déplacée
de la plus faible quantité, un effort relativement très-grand,
puisque lébranlement moléculaire nest
que successif, quoique très-rapide, et que la force- qui
a fait mouvoir un atome passe aussitôt au suivant.
« Dans lexpérience de la montre, la surface
reçoit limpression du mouvement ou choc du tic-tac,
ce mouvement devient latent ou moléculaire dans lintérieur
de la poutre ; latome du bois en contact avec notre oreille
limpressionne à son tour, et la sensation est transmise
au cerveau. »
Dans ce qui précède, M. Coulon montre simplement
comment une vibration agissant sur un corps immobile peut être
répercutée à lextrémité
de ce corps, , sans quon ait à invoquer un mouvement
de déplacement de sa masse; mais dans les corps électro-magnétiques
les effets sont bien autrement puissants, car lébranlement
moléculaire dû à laimantation et à
la désaimantation de ses molécules, seffectue
à la fois sur tous les atomes; et si lon considère
que ces ébranlements ont pour effet de provoquer des attractions
intermoléculaires, on peut comprendre sans un grand effort
dimagination, quil pourra se produire une contraction
de masse suivie dune dilatation, qui pourra engendrer un
déplacement infiniment petit des surfaces extérieures,
lequel équivaudra à une vibration mécanique,
si les aimantations et désaimantations se succèdent
à des intervalles très-courts. Il pourra donc y
avoir de cette manière des sons produits, et ces sons seront
en rapport intime avec les interruptions électriques qui
les provoqueront. En étendant plus loin le même raisonnement
et en lappliquant aux ébranlements moléculaires
causés par les effets électriques directs dans leur
propagation à travers--les conducteurs, on arriverait à
expliquer de la même manière les sons produits par
les fils de ter tendus et les microphones employés comme
récepteurs, ainsi que la admis M. Ochorowiez
("voir le n° du Ier décembre)
Il faut donc que MM. les acousticiens prennent
leur parti dadmettre les vibrations moléculaires,
et, comme le,dit M. Çoulon, en tête de sa brochure,
en rapportant les paroles de M. Th. du Moncel, cest parce
que nous nous acharnons, en Europe, à vouloir rester dans
les limites de théories incomplètes, que nous avons
laissé aux Américains, qui ne sen inquiètent
guère, la gloire de faire les grandes découvertes
qui nous étonnent depuis quelques mois.
Ce qui nous surprend, cest le touchant accord de ceux qui
soutiennent la première théorie du téléphone
et qui, pour perfectionner cet instrument, se fondent sur les
données de la science de lacoustique. Naturellement
ils disent tous quils ont des résultats supérieurs,
et, pour changer, ces résultats restent de beaucoup inférieurs
à ceux qui ont été introduits par des inventeurs
moins amis de ces données. Témoin le téléphone
Gower, le meilleur de tous jusquà présent,
et dans lequel on ne s'est pas efforcé détouffer
le son fondamental de la plaque ni de diminuer la capacité
de la caisse résonnante sous prétexte déchos.
Nous le répétons, sous le rapport de la téléphonie,
la science de lacoustique est en défaut, et même
comme ensemble, elle est loin davoir suivi la marche progressive
des autres branches de la physique.
De Magneville
|
1879 Vu dans "La lumière électrique"
|
Depuis que la science est dotée des merveilleux
instruments qui peuvent transmettre à dénormes
distances la voix humaine dans toute sa pureté, les savants
de tous pays ont cherché lexplication des phénomènes
électriques qui se passent à lintérieur
de ces appareils.
De nombreuses et longues discussions ont eu lieu dans les sociétés
savantes; des mémoires ont été écrits;
et pendant plusieurs mois, les diverses théories, émises
par des hommes dun savoir indiscutable, sont restées
de simples hypothèses sans preuves évidentes. Le
raisonnement, les connaissances physiques et mathématiques
pouvaient faire pencher pour une opinion plutôt que pour
une autre ; mais la démonstration manquait. Aujourdhui
il nen est plus ainsi ; de récentes expériences,
de nouveaux appareils ont donné gain de cause à
la théorie des vibrations moléculaires, devinée
et admirablement exposée déjà par M. le comte
du Moncel.
Les instruments une fois inventés puis perfectionnés,
la démonstration de leur fonctionnement devenue bien évidente,
les savants ont alors repris létude de lacoustique;
car les nouvelles découvertes venaient de porter une rude
atteinte à cette branche de la physique. Le transport par
lélectricité de la voix articulée,
la reproduction de cette voix par des matières très-différentes,
fils de cuivre, barreaux aimantés, tiges de charbon et
de fer, feuilles détain, etc. ; tous ces phénomènes
sont devenus des moyens détude, et dans peu de temps
les qualités du son nauront plus rien de mystérieux
pour les physiciens.
Depuis longtemps nous pensions quil serait dun grand
intérêt de voir la parole telle quelle est
reproduite par les téléphones, cest-à-dire
« dinscrire la voix », telle quon lentend
dans les appareils récepteurs. Malheureusement ces appareils,
si sensibles pour loreille, deviennent muets lorsquon
les met en face dun cylindre enregistreur ; il nous a fallu
chercher le moyen mécanique de saisir leurs vibrations
et de les obliger à se dessiner sur le noir de fumée.
Tant quil sagit de sons musicaux, la chose est facile;
les vibrations du chant produisent des interruptions de courant;
tant de contacts pour tant de vibrations, et lappareil récepteur
étant un électro-aimant très-sensible, les
mouvements de larmature sinscrivent avec la plus grande
facilité! Mais linscription ne donne alors que des
différences dans le nombre des vibrations ; de là
aux modulations de la voix articulée il y a loin. Les différences
de nombre des vibrations sont très-itettes, mais elles
ne donnent aucune idée des diverses qualités du
son, à part sa hauteur. Une série de diapasons vibrant
tour à tour et produisant des intermittences dans le courant
fournirait le même résultat.
Il fallait donc inscrire des courants ondulatoires, cest-à-dire
des variations dintensité dun courant continu;
cest à cette condition que nous pouvons espérer
obtenir sur le papier la reproduction exacte de la parole. Mais
quel instrument employer pour atteindre ce but ?
Cétait là le principal problême à
résoudre ; linstrument trouvé, le reste pouvait
être fait par tout individu initié aux délicatesses
de la méthode graphique.
On pourrait nous objecter ici que ce que nous cherchions était
déjà trouvé depuis longtemps, puisquavec
le phonautographe de Scott
on peut inscrire toutes les vibrations communiquées à
une membrane ; et que, tout dernièrement, Edison avec son
phonographe a réussi non-seulement à inscrire la
voix mais encore à la reproduire daprès son
propre tracé. Mais, si le phonographe reproduit servilement
la voix qui lui est transmise, nous ne pouvons pas voir ce quil
écrit, et cest précisément là
ce que nous cherchons.
Il est vrai quaprès de minutieuses préparations,
ses tracés peuvent apparaître amplifiés et
présentés sous forme de courbes ; mais alors le
manuel opératoire devient dune pratique difficile
et l'exactitude même de linscription peut bien sen
ressentir.
Dailleurs nous ferons remarquer que le merveilleux
instrument dEdison, tout comme le phonautographe de Scott,
agit mécaniquement, et que notre but est détudier
la voix transmise, reçue et reproduite au moyen de lélectricité.
La comparaison de nos résultats avec ceux obtenus par Scott
et Edison nen sera que plus intéressante.
Nos premières tentatives ont été faites avec
le téléphone ordinaire de Bell. Au centre de la
membrane du téléphone récepteur était
fixé un petit style très-léger qui devait
écrire sur le noir de fumée ; mais ce style est
toujours resté immobile tant que nous nous sommes servi
du téléphone comme transmetteur; nous nous attendions
du reste à ce résultat négatif, puisque les
vibrations de la membrane téléphonique sont uniquement
moléculaires et quil ny a point réellement
dattraction comme le pensait le colonel Navez.
Nous avons alors substitué au téléphone transmetteur
un parleur microphonique dont lextrême
sensibilité est due à ce que les charbons, au lieu
dêtre pressés par un ressort, sont simplement
maintenus au contact par la pression dun petit morceau de
papier écolier plié en forme de V.
La sensibilité de ce parleur est telle quavec
le courant dun seul élément Ledanché,
pour un parcours de cinq cents mètres, la voix, reproduite
par le téléphone récepteur, peut être
entendue dans tout un appartement.
Lintercalation, dans le circuit, dun courant
voltaïque produit évidemment dans le téléphone
de tels effets électro-magnétiques que lon
sent parfaitement au doigt les vibrations du diaphragme. Toutefois
ces vibrations ne pouvaient pas encore être inscrites. Les
mouvements du style, quelque délicat que fût
lappareil, se distinguaient à peine sur le noir de
fumée ; le frottement même dune lame de verre
suffisait à les détruire. Peut-être que, si
lon plaçait à lextrémité
du style une parcelle de métal brillant, on pourrait obtenir
des photographies assez nettes, quil serait facile damplifier
à volonté; mais nous navions pas ce moyen
détude à notre disposition.
Le transmetteur étant suffisamment sensible, nos efforts
ont dû se concentrer sur lappareil récepteur
pour amplifier ses vibrations magnétiques. Voici quelles
sont les modifications que nous lui avons fait subir : enlevant
au téléphone de Bell son couvercle et son diaphragme,
nous avons vissé sur le bois de linstrument lextrémité
dun ressort dacier
assez résistant; lautre extrémité de
ce ressort vient aboutir en face du noyau aimanté muni
de sa bobine; à cette extrémité est soudée
une petite masse de fer doux pesant une dizaine de grammes; puis,
sur cette masse, et dans le prolongement du ressort, est fixé
un style léger en bambou, de io centimètres de longueur,
et terminé par une plume en baleine. En somme, le diaphragme
est remplacé par une armature assez semblable au trembleur
des bobines dinduction .
Cest au moyen de cet instrument que nous avons obtenu les
tracés que nous avons mis sous les yeux de lAcadémie.
Ces tracés ont été pris sur papier à
décalcomanie couvert de noir de fumée, puis transposés
sur verre, afin den permettre la projection, la photographie
et même létude au microscope.
Deux points principaux ressortent de linspection de ces
tracés ;
1 ° Ils présentent deux sortes de vibrations; de grandes
vibrations, ou plutôt des ondulations qui se produisent
toujours dans le même ordre, lorsquon prononce le
même mot ; puis de petites vibrations très-courtes,
échelonnées sur les grandes ondulations. Ces petites
vibrations seules nous paraissent être produites par la
voix; les ondulations sexpliquent de deux façons
; elles sont produites par le souffle qui accompagne nécessairement
lémission de la voix et, en même temps, elles
sont augmentées par linertie du levier; cest
là un vice dappareil que nous éviterons dans
nos prochaines expériences.
2° Lorsque la continuité du courant est établie
dans le circuit et les appareils transmetteurs et récepteurs,
la masse métallique est attirée par laimant
jusquà une certaine limite qui varie avec lintensité
du courant. Vient-on à parler dans le microphone, aussitôt
larmature est repoussée, et cette répulsion
est dautant plus forte que les paroles sont plus fortement
accentuées et sur un timbre plus élevé ;
le maximum a lieu pour les lettres dentales et labiales. Il se
passe là un phénomène absolument identique
à celui de l'oscillation négative de laiguille
du galvanomètre.
Lexplication dailleurs semble être la même
; pendant le silence, la pression uniforme et constante des charbons
lun contre lautre facilite le passage du courant et,
par suite, lattraction de larmature ; lorsque lon
parle dans le microphone, la pression des charbons est autant
de fois variée quil y a de vibrations dans le son
produit; le courant, sans cesser dêtre continu, a
de nombreuses variations dintensité, et larmature
prend une position qui rappelle celle de laiguille du galvanomètre
dont le fil est traversé par un courant à intermittences
rapides.
Ce fait nous paraît devoir aider à lexplication
des mouvements vibratoires du diaphragme dans les téléphones
récepteurs. Pour nous, ce diaphragme aurait des vibrations
négatives.
Parmi les tracés que nous avons eu lhonneur de présenter
à lAcadémie, quelques-uns surtout nous paraissent
mériter lattention. Ce sont ceux qui représentent
les mots ; Amsterdam, déposé, Pompéi
Cupido Ivanhoé. Nous avons dabord
prononcé isolément les voyelles contenues dans ces
mots, puis le mot entier en scandant-les syllabes; la comparaison
des deux tracés permet de juger leffet produit par
ladjonction des consonnes.
Nous navons pas la prétention de croire notre but
atteint; nous sommes loin encore de la parole écrite, et
facile à reconnaître à la lecture des tracés.
Toutefois nous avons cru intéressant de signaler nos premiers
résultats de linscription électrique de la
voix, et nous avons cru pouvoir les soumettre à lattention
bienveillante de lAcadémie.
M. Boudet de Paris
|
1879 Vu dans "La lumière électrique"
Deux hypothèses principales ont été
émises pour expliquer les phénomènes que présente
lingénieuse découverte de M.
Hughes.
L'une, exclusivement moléculaire, suppose des dilatations
et contractions des molécules dans certains corps médiocrement
conducteurs, sous linfluence des vibrations sonores, au sein
même du microphone. Des changements de densité devaient
correspondre A des accroissements ou A des affaiblissements de résistance
du circuit et, conséquemment, A une production proportionnelle
des sons. Cette hypothèse présente une certaine analogie
avec les phénomènes que manifeste le sélénium
sous l'influence de la lumière et de la chaleur rayonnante.
Lautre, en partie moléculaire et en partie mécanique,
repose sur la découverte faite il y a longtemps par M. du
Moncel, et suivant laquelle les accroissements et les affaiblissements
de résistance sont dus A des changements de pression dans
les points de contact électrique. Ces changements étant
produits par la pression de lair vibrant, il en résulte
une équivalence de causes et deffets.
En me basant sur des expériences faites sur une multitude
de microphones, depuis la première apparition de cette découverte,
je tâcherai de prouver que, si lune de ces hypothèses
est tout A fait erronée, lautre n'est vraie que superficiellement.
- Commençons par la première :
1) Quand on immobilise la baguette de charbon avec une colle quelconque,
de la cire par exemple, sans lui faire subir la moindre pression,
le microphone reste muet sous les plus fortes influences sonores,
ce qui serait impossible sil ne sagissait ici que de
mouvements moléculaires et non mécaniques.
2) On peut enfermer le microphone dans une tube de verre suspendu
légèrement au moyen dun fil fin, et faire le
vide dans ce tube, sans paralyser les effets microphoniques. Il
est évident que, dans ce cas, les ondes dair ne peuvent
avoir aucune influence sur la densité du charbon ; elles
nagissent que mécaniquement en ébranlant lappareil
tout entier.
3) Il est impossible de construire un microphone dun seul
morceau de charbon solide, présentant des contacts stables,
ce qui n'empêche pas les influences moléculaires, mais
ce qui rend impossible l'action des ondes sonores, des attouchements
et des ébranlements quelconques, sur le courant qui traverse
le charbon.
Il me semble donc, que nous avons IA des raisons suffisantes pour
rejeter toute théorie exclusivement moléculaire.
- Passons A la seconde :
1) La pression latérale exercée sur un conducteur
électrique compact (métal, charbon, etc.), placé
dans un téléphone, n'engendre aucune action microphonique.
2) Une pression longitudinale exercée sur la baguette dun
microphone au moyen dune vis de réglage, peut être
modifiée entre certaines limites, sans altérer le
fonctionnement de lappareil. Ce nest que le timbre qui
change alors dintonation. Mais le même effet peut être
obtenu sans changement de pression, par le seul fait du déplacement
des points de contact. Si 1 on continue daugmenter la pression,
lappareil perd de sa sensibilité, en même temps
quil perd de sa faculté de vibrer mécaniquement
; mais le fait seul dune augmentation de pression ne se rapporte
à aucun phénomène microphonique. (Cette expérience
est àfaire avec un microphone à membrane.)
3) On peut construire des appareils dans lesquels la pression reste
la même, et qui cependant agissent comme microphones. (Voir
plus loin.)
Il est donc rationnel de ne pas considérer la pression comme
cause essentielle des phénomènes microphoniques.
Hile en est cependant une cause accidentelle, car quand les ondes
sonores frappent la partie mobile de lappareil, la pression
quelle exerce sur son support change; mais ce nest pas
du fait de la pression que résultent les différences
de résistance; cest un autre fait, souvent parallèle
au premier, mais qui nen est pas moins différent.
Pour le mieux apprécier, considérons lappareil
dans sa forme la plus simple qui est celle de la ligure 1.

Deux bouts du fil métallique réunissant dans leur
circuit la pile et le téléphone, sont tendus en croix
lun sur lautre : le courant passe au point de croisement.
Cest à ce point seul que se concentre laction
microphonique. Quand on fait vibrer lun des fils par une cause
quelconque, un bruit ou un son musical très-intense se fait
entendre dans la salle où est placé le téléphone.
Si les fils sont bons conducteurs, laction de lappareil
na que deux phases : le courant passe quand un fil touche
lautre, il ne passe pas dans le cas contraire. Il ny
a donc là quune simple et complète interruption
du courant ; et, en conséquence, ce microphone, comme le
transmetteur du téléphone de Reiss, comme celui du
chanteur de M. Pollard, etc., ne peut transmettre que des sons simples.
Cette première catégorie embrasse tous les microphones
dans lesquels le contact seffectue par un seul point. Jai
obtenu les meilleurs résultats de ce genre avec une membrane
de vessie tendue et une pointe d'acier. La communication électrique
était assurée par une petite bande de papier d'étain
collée sur la membrane. Avec un petit élément
à bichromate de potasse, le chant a pu être entendu
dans toute une chambre.
Strictement parlant, il y a, dans ces simples appareils, quelques
nuances daction entre les limites dintensité
complète et de rupture complète du courant, et on
peut considérer quil existe deux ou trois réglages
pour lesquels linterruption nest que partielle.
Cest donc le changement des points de contact qui joue ici
le rôle principal. Du nombre plus ou moins grand de ces points,
dépend Vintensité des sons ; le nombre des interruptions
successives des mêmes contacts détermine leur hauteur,
et les changements accessoires leur timbre; enfin des diverses combinaisons
successives et simultanées, périodiques ou non périodiques,
detous ces changements résulte leur articulation. Il suffit
de comparer les traces de la parole dans le phonauto-graphe, le
logographe et le phonographe, pour se convaincre quil ny
a en réalité, dans ces appareils, quune réduction
de la qualité en quantité. Je suis même porté
à croire que cette réduction est bien simple, et quune
série de combinaisons en temps et en espaces de trois points
matériels de contact, suffit pour servir déquivalent
à tous nos sons articulés. Il me serait difficile
de rapporter ici toutes les expériences et réflexions
qui mont conduit à cette supposition. En attendant,
je ne la donne quà titre de probabilité, et
je passe à la troisième catégorie.
Le principe du changement dans le nombre des points de contact provoqués
par la pression, nous permet de considérer les différentes
résistances du circuit microphonique, comme si le fil qui
le compose devenait tantôt plus gros, tantôt plus fin,
et explique laction de la plupart des microphones, mais il
ne les explique pas tous.
Ou peut construire, en effet, des microphones dans lesquels il ne
peut se produire aucun changement de pression ni, même, aucune
variation dans levnombre des points de contact, et qui cependant
fonctionnent bien.
Supposons un petit cylindre de charbon a (fig. 2) collé perpendiculairement
à une membrane MM et glissant sur un autre petit cylindre
de charbon h mobile autour de son axe. Si la forme cylindrique de
ces deux morceaux est parfaite, la pression et le nombre des points
de contact restent les mêmes. Sil en est autrement,
comme cela a lieu dans la pratique, ce nest plus cet effet
qui joue le rôle principal : cest la longueur de la
route traversée par le courant dans le mauvais conducteur.
Pendant que la membrane vibre, son éloignement du charbon
h diminue ou augmente, en effet, et il y a donc un changement dans
le nombre des points de résistance traversés.
Cest à cette classe dappareils quappartiennent
aussi les téléphones transmetteurs à liquides
de MM. Gray, Bell et Salet, où le changement de résistance
dans le circuit résulte dune couche dé liquide
plus ou moins épaisse, qui doit être traversée
par le courant.
Il est bien difficile de séparer les deux principes lun
de lautre, mais il est possible de déterminer la prépondérance
de lun ou de lautre, ou bien encore leur parallélisme.
Supposons, par exemple, que les deux cylindres de charbon a et b
soient remplacés par deux lames de la même matière,
et qite b reste immobile : les deux actions seraient égales
et la lumière Électrique contraires. La même
complication se présente dans le transmetteur microphonique
de M. Riglii oii le disque métallique de la membrane plonge
dans de la poudre de plombagine mêlée A de la poudre
argentée.
Dr Julian Ociiorowicz |
1879 Vu dans "La lumière électrique"
Expériences téléphoniques
avec un circuit ouvert par M. J. E. Wâtson.
M. J. E. Watson, de Louisville, dans le Kentucky, nous a envoyé
un compte rendu intéressant dexpériences faites
récemment par lui sur la transmission, des sons à
laide dun téléphone Bell réuni
à une bobine dinduction dans un circuit ouvert. Les
appareils consistent en une batterie et un interrupteur à
tremblcur adapté à lhélice primaire dune
bobine dinduction, le tout réuni en un seul circuit;
une des extrémités de lhélice secondaire
de la bobine dinduction était laissée à
lair libre, et lautre était prolongée
à 200 pieds plus loin au moyen dun fil qui la réunissait
à lune des bornes dattache du téléphone
Bell. Par cette combinaison, un des bouts de lhélice
du téléphone se trouvait libre ainsi que lun
des bouts de lhélice secondaire, en sorte que le' circuit
était interrompu par une solution de continuité de
200 pieds. Or, en plaçant le téléphone à
loreille, on pouvait entendre, faiblement, les bruits du vibrateur
à lextrémité éloignée du
fil, quoique le circuit semblât être interrompu. En
mouillant son doigt, et en le plaçant au bout libre du téléphone,
le son se trouvait être 10 fois plus fort, parce que le circuit
partiel était alors complété par le corps et
la main de lexpérimentateur et la terre.
M. Watson a aussi transmis de cette manière des sons articulés
et dés sons musicaux, en employant à la place du vibrateur
un transmetteur de sa façon dans lequel un diaphragme, mis
en vibration par la voix, réar gissait sur une pile de disques
de charbon de cornue agglomérés avec de la limaille
de bronze. Ce transmetteur était introduit dânslè
circuit avec une batterie voltaïque et une bobine dinduction.
Dans ce cas, il fallait que la solution de continuité du
circuit 11e fût que de 6 pieds. (Télégraphie
Journal.)
M. Gaiffe avait du reste démontré depuis longtemps
que des courants induits peuvent naître dans un circuit ouvert
sous certaines conditions.
Sur le retard des phases des vibrations transmises, par le Téléphone,
par le professeur Sylvânno P Thompson.
Depuis un an et même plus, plusieurs savants, entre autres
MM. Dubois-Raymond, Holmholtz, Weber (de Zurich), Knig,
S. Thompson, etc., sc sont préoccupés du retard qui
peut résulter du.fait de la transmission des vibrations sonores
par les actions électriques dans le téléphone,
et se sont escrimés les y, voire même les intégrales
en main, pour démontrer quil y avait un retard dun
quart donde suivant les uns, dune demi-onde suivant
les autres, comme sils savaient ce que sont les vibrations
dans un récepteur téléphonique!!... Il a été
pourtant.démontré par beaucoup de physiciens que ces
fameuses vibrations sont pjus que problématiques, du moins
en ce qui peut toucher leur similitude avec des vibrations transversales.
II semble quavant de dépenser tant de science pour
discuter une particularité sc rattachant à un effet
physîque il daudrait que la nature de cet effet fût
dabord parfaitement établie. Néànfâjpns
nous croyons devoir rapporter un résumé du. travail
de M. S// Thompson publié dans le Télégraphie
Journal.
« Il a été avancé par M. Dubois-Raymond,
daprès des considérations théoriques,
quune différence dans les phases des vibrations devait
exister entre deux téléphones Bell associés,
et que le téléphone receveur devrait être en
retard sur le transmetteur dun quart de vibration. Une théorie
plus complète, émise dun autre côté
par MM. Holmholtz et Weber, donna un résultat quelque peu
contradictoire, nassignant quune petite différence
entre les phases des vibrations transmises et répétées.
Dernièrement M. Knig, dans une série dexpériences
délicates, chercha un moyen de comparaison optique par la
méthode de M. Lissajous, en remplaçant, dans les deux
téléphones associés, les diaphragmes par des
diapasons munis de miroirs. Cette expérience est évidemment,
dune nature très-délicate et a été
faite dans des conditions très-discutables.
Voici, en effet, comment lauteur expérimentait. Deux
téléphones BélL sont suspendus, au moyen de
fils de 1 mètre de longueur de manière à fournir
des oscillations pendulaires, et les bâtis qui-les supportaient
étaient disposés de façon à éviter
toutes les causes de transmission mécanique des vibrations.Au-dessous
du point de repos de chaque téléphone et à
une petite distance de lui, est placé, dans son plan doscillation,
un aimant dacier. Après que les fils de suspension
ont été combinés en longueur de manière
à ce que les téléphones oscillent parfaitement
synchroniquement, on met en mouvement lun des téléphones.
A mesure quil sapproche ou séloigne de
laimant, il se produit un courant induit, et ce courant, en
traversant le second téléphone, le fait osciller et
on juge, par la différence de longueur des fils de suspension,
les retards effectifs. Or dans toutes les combinaisons essayées,
la différence de phases observées s'est trouvée
être d'un quart de vibration.
Dans le cas de ces expériences, où les vibrations
du téléphone transmetteur entraînent la variation
de la résistance du circuit au lieu dentrainer celle
de la force électro-motrice, il ne peut exister le même
retard que dans les receveurs électro-magnétiques
ordinaires. Mais, si cependant le courant ainsi transmis passe dabord
à travers une bobine dinduction, il doit se produire
une phase de retard dun quart de vibration, et, dans le cas
de mouvements inducteurs successifs, ces retards peuvent atteindre
un nouveau quart, que lon retrouvera pour chaque induction
additionnelle. Cette remarque ne sapplique, bien entendu,
quaux vibrations harmoniques ou de type quasi-harmonique.
Les sons des voyelles qui sont formés dun ensemble
de vibrations harmoniques, ne sont pas changés dans leur
perception à l'oreille, qui nest pas assez sensible
pour distinguer ces altérations, pas plus que les différences
des sons composés lesquels 11e diffèrent lun
de lautre que dans la différence
des phases de leur composition. Les vibrations des consonnes, au
contraire, se distinguent mieux, car elles se séparent de
plus en plus du type primitif, à chaque succession des actions
dinduction.
Dans le cas du motographe dEdison,c'est-à-dire de son
récepteur électro-chimique, la vitesse du déplacement
du disque est proportionnelle à*la force du courant reçu,
et, par conséquent, les vibrations déjà retardées
dun quart de transmission, comme cest le cas dans les
transmetteurs à charbon réunis à des bobines
dinduction (employées toujours avec cet instrument),
reviennent à leur état normal. Les vibrations de ce
récepteur sont donc du même type, non comme vibrations
du courant induit (qui correspondent aux fonctions dérivées
des vibrations primitives), mais comme vibrations correspondantes
aux fonctions dont les vibrations du courant dinduction sont
les dérivées; ce qui veut dire quelles saccordent,
comme type, avec les vibrations primitives de nimporte quelle
forme dappareils. Par exemple, dans le téléphone
récepteur dEdison, les sons des consonnes qui sont
émises avec force et qui appartiennent au type harmonique,
sont mieux rendues que par un téléphone qui, comme
ceux de M. Bell, retarde la phase des vibrations et altère
leur type. |
1880 Vu dans "La lumière électrique"
Nouvelle expérience téléphonique.
On se rappelle que M. Ader a pu faire reproduire la parole à
un fil de fer actionné par un microphone en le faisant traverser
par des courants ondulatoires ; mais il avait constaté que,
pour obtenir ce résultat, il fallait que le fil fût
en matière magnétique; M. de la Rive, qui, en 1846,
avàit constaté que des sons pouvaient être transmis
de cette manière, était arrivé la même
conclusion. M. Henri Wilbrant (de Bruxelles) a reconnu que les mêmes
effets pouvaient être obtenus avec un fil de matière
quelconque et même un peu gros, si on employait pour révéler
leur présence lintermédiaire dun microphone
et dune bobine dinduction. Il faut alors employer une
pile de Bunsen ou à bichromate de potasse de deux éléments,
agissant sur le circuit primaire dune bobine de Ruhmkorff,
et placer le fil sur le support du microphone en ayant soin de le
presser un peu par la superposition dun corps lourd. Le microphone
étant actionné par trois élments Leclanché,
amplifie alors leî vibrations déterminées dans
le fil par le passage du courant interrompu de la bobine du Ruhmkorff,
et on les entend distinctement dans un téléphone adapté
au microphone. M. H. Wilbrant sest dailleurs assuré
que ces sons ne pouvaient provenir de linduction du circuit
induit de la bobine sur le circuit fermé du microphone. «
Ces expériences, dit lauteur, tendent donc à
prouver que les sons émis dans le téléphone
sont dus en principe à une action moléculaire,
» |
1880 Vu dans "La lumière électrique"
Théorie du microphone récepteur.
M. Berliner, qui a la prétention davoir découvert
le microphone récepteur dès le 8 avril 1877,
attribue la reproduction des sons dans un appareil de cette nature,
surtout aux vibrations électro-moléculaires,
et peut-être aussi, dans une très-faible proportion,
aux répulsions produites au contact des deux pièces
interruptrices du microphone et aux dilatations résultant
des effets thermiques. Sauf sur ce dernier point, son opinion est
donc la même que la nôtre et celle de M. Ochorowicz.
Voici toutefois quelques expériences quil cite et qui
ont leur intérêt. (Voir 1 Electrician du 24 juillet
1880, p. 116.)
Suivant lui, la disposition la plus convenable pour obtenir des
sons un peu forts avec un microphone récepteur, serait 1°
de lintercaler dans un circuit correspondant à lhélice
primaire dune bobine dinduction et dans lequel seraient
déjà interposés deux éléments
de pile ; 2° dintercaler de la même manière
le microphone transmetteur, dans un autre circuit correspondant
à lhélice primaire dune seconde bobine
dinduction, animée par un seul élément
de pile, et 30 de réunir ensemble les hélices secondaires
des deux bobines par les deux fils de ligne. Dans ces conditions,
les sons seraient beaucoup plus forts quen agissant avec un
circuit simple dépourvu, à la station de réception,
de la bobine dinduction et de la pile supplémentaire.
Il paraîtrait même que lintensité du son
reproduit serait en rapport avec la force de cette pile supplémentaire,
dont on ne voit pas bien laction, puisque le circuit auquel
elle correspond, reste constamment fermé et dans les mêmes
conditions.
M. Berliner tâche dexpliquer ce rôle en disant
quil est à peu près le même que celui
qui est produit par un courant sur une armature polarisée,
laquelle par ce moyen devient plus sensible aux actions magnétiques
; ce serait en quelque sorte une préparation électrique
du circuit qui le rendrait plus apte à reproduire les variations
dintensité qui doivent se manifester en lui sous linfluence
des courants ondulatoires transmis, que dans son état naturel.
Cette explication est bien tirée par les cheveux, mais avant
den chercher une plus satisfaisante, il faudrait dabord
sassurer de l'exactitude du fait, qui ne nous paraît
pas correspondre aux expériences que nous avons faites jusquici
sur ces sortes dappareils.
Le microphone employé par M. Berliner se composait de deux
plaques de fer forgé (du n° 36; dont lune était
munie dune vis à pointe ronde qui touchait lautre
plaque dont la surface était légèrement oxydée.
Ces expériences, suivant lauteur, auraient été
faites en septembre 1877, et auraient été publiées
par lui à cette époque ; mais il nindique pas
le recueil à date certaine où cette publication a
été faite. Dans une autre expérience, il aurait
employé comme transmetteur, un transmetteur de Reiss, et
comme récepteur, un microphone à charbon, composé
dune plaque de charbon de 4 sur 6 pouces et de 1/4 de pouce
dépaisseur, contre laquelle appuyait une sorte de petit
style métallique constituant interrupteur. Ce style et cette
plaque de charbon étant interposés dans le circuit,
il suffisait de placer la plaque de charbon contre loreille
pour entendre les sons transmis.
Il est bien extraordinaire que ces expériences, fort curieuses
pour lépoque que M. Berliner leur assigne, soient restées
inconnues jusquen 1880, et quelles naient pas
même été citées dans la querelle si retentissante
qui sest élevée entre MM. Edison et Hughes au
sujet de linvention du microphone. - T. D. M. |
RECHERCHES NOUVELES SUR LA THÉORIE DU MICROPHONE 3ème article
(Voir le 110 du 15 octobre 1879).
La quatrième catégorie de microphones
embrasse les appareils dans lesquels le courant lui-même ne
se produit et ne change que sous linfluence des mouvements
des électrodes microphoniques; ce sont les piles microphoniques.
Chaque pile peut, sous certaines conditions, fonctionner comme |
microphone ; il suffit pour cela que lun des pôles soit
mobile. Deux bouts dun fil de fer téléphonique
plongés dans de leau ordinaire et rapprochés
lun de lautre, donnent déjà des signes
dune action microphonique. Imaginons donc que lun des
pôles dune pile est attaché i\ la membrane vibrante
sous forme dun petit cône, comme on le voit fig. 1,
et quil plonge par son bout dans le liquide, tandis que lautre
pôle y est constamment plongé. Le courant ne prend
naissance que quand le pôle mobile touche le liquide; quand
on chante dans le tube, la membrane entre en vibration, et le pôle,
qui est alors lune des électrodes microphoniques, plonge
dans le liquide et détermine laction chimique autant
de fois par seconde quil y a de vibrations dans le son chanté.
Si le pôle touche constamment le liquide, le courant nest
jamais interrompu, il change dintensité, et ce changement
est déterminé par quatre causes parallèles
:
1 ° Quantité differente des points exposés à
laction électrolytique;
2° Quantité différente des points de contacts
électriques;
3° Quantité différente des points de résistance
de la couche liquide ;
4° Quantité différente des points de rapprochement
dun pôle vers lautre.
Mais il est évident que ce ne sont que quatre côtés
du même fait, et ce fait est le mouvement dune des étectrodes
microphoniques.
Il ne nous reste plus à examiner que la dernière catégorie
des microphones.
Dans tous ceux qui sont connus jusquici, la direction du courant
pendant laction de lappareil reste la même ; mais
il est possible de la faire changer et dintroduire de cette
manière une différence de plus dans les phases de
sa fonction.

Les fig. 2 et 3 représentent les deux positions extrêmes
exagérées pour mieux montrer le changement ; on voit
la direction du courant qui arrive de la pile par deux fils très-fins,
pour ne pas gêner les vibrations simultanées de deux
marteaux réunis (sans contact électrique). En réalité,
les deux boules vibrantes ne sont jamais isolées complètement
daucun des charbons ; mais il y a toujours une prépondérance
d'un côté ou de lautre. Ce microphone donne dexcellents
résultats, mais sa construction est un peu difficile. Du
reste, je le rends plus sensible à linfluence des mots
prononcés, en ajustant les deux marteaux sur une membrane
dune façon un peu plus compliquée.
Dans cette dernière catégorie, cest donc aussi
les points de contact qui changent et non pas seulement leur nombre.
En résumé, nous reconnaissons dans toutes les formes
des microphones possibles :
1 ° Un mouvement mécanique des parties;
2° Un changement dans les points de conductibilité ;
3° Un changement de résistance,
Et ces trois phénomènes essentiels, résultent
lun de lautre.
Je dis : « points de conductibilité » et non
« de contact » parce que cette première expression
embrasse à la fois les points de contact et la route traversée
par le courant dans lune ou dans lautre direction. Nous
voilà donc parvenus à une formule générale.
Abordons maintenant les questions spéciales, et, avant tout,
celle de la prétendue amplification des sons par le microphone.
Il est facile de se convaincre quelle nexiste point.
Tous les sons, considérés en eux-mêmes sont
toujours affaiblis par le microphone.
Mais le microphone nest pas seulement un appareil qui transmet
électriquement les sons, il est aussi, et dune manière
plus particulière encore, lappareil qui transforme
les ébranlements mécaniques en sons, et ceux-là
peuvent être amplifiés dans cette transformation.
Exemples : Le tic-tac dune montre de poche, posée sur
la même planche que le microphone, quoique à une distance
de 6 à 7 mètres, peut être entendu distinctement.
Si cette montre est posée sur la planchette même du
microphone, le son peut être entendu dans toute une chambre,
parce quil agit, non comme bruit, mais comme ébranlement
mécanique. Or cette même montre devient incapable dinfluencer
le microphone lorsquon la tient en lair à une
distance de quelques millimètres de celui-ci, parce qualors
elle nagit que par son bruit. En revanche, un faible souffle
dair, qui noccasionne presque aucun bruit, fait leffet
dun courant dair, etc.
Laffaiblissement des sons articulés est dautant
plus marqué quils sont plus intenses ; de sorte que
les sons les plus faibles éprouvent le moindre affaiblissement.
Les sons musicaux simples, accompagnés dun ébranlement
mécanique relativement fort (par exemple dun courant
dair sortant de la bouche quand on chante ou que lon
siffle),peuvent être un peu amplifiés par un microphone
à interruptions complètes, mais cette amplification
na lieu que quand il sagit de sons faibles.
Les ébranlements mécaniques, quoique non accompagnés
de sons, sont toujours transformés en sons, et ceux-ci augmentent
en intensité à mesure que leur amplitude tend à
interrompre le courant. Cette interruption accomplie, laugmentation
cesse de se 'manifester. Un courant dair nagira pas
plus fortement quun faible souffle, dès que celui-ci
est assez fort pour provoquer une rupture momentanée mais
complète du courant. Il y a deux limites entre lesquelles
sont comprises toutes les lois des phénomènes microphoniques
: la limite inférieure, où il y a minimum débranlement
mécanique et où le changement de contact est à
peine réalisé, et la limite supérieure, où
lébranlement interrompt le courant, indépendamment
de lénergie de cet ébranlement. Au-delà,
il 11y a plus damplification, ni même darticulation
; mais entre ces limites, Vintensité des sous est directement
proportionnelle éi l'énergie des ébranlements
mécaniques qui accompagnent les ondes sonores. Et comme les
vibrations dune ou de plusieurs parties du microphone déterminent
une augmentation ou une diminution dans le nombre des points de
bonne ou de mauvaise conductibilité, on en conclut que :
L'intensité des sons est directement proportionnelle à
la grandeur des changements différentiels dans la résistance
du micro-phone.
Pour que la transmission des sons articulés soit possible,
il faut nécessairement que le nombre des points de contact,
les différences dans ce nombre, pendant l'action de lappareil,
et les changemnts de résistance qui en résultent,
soient plus grandes. Cest ce quon obtient dans la seconde
catégorie de microphones, en réunissant de petites
surfaces ne présentant quun seul point de contact,
ou en employant des corps médiocrement conducteurs. Alors
linterruption du courant 11est que partielle, il devient
ondulatoire, suivant l'expression de M. Bell, et plus il y a de
marge dans cette interruption ou cette reconstitution partielle,
plus le microphone est parfait.
Dr Julian Ochorowicz |
Transmetteur microphonique de M. Blake.
Cet appareil qui est aujourdhui employé en Angleterre par
la compagnie des téléphones Bell, ressemble beaucoup à
celui de M. Edison qui a été décrit dans notre dernier
numéro.
Dans ce système comme dans lautre, le contact des charbons,
au lieu dêtre effectué par la pression de deux pièces
dont lune est fixe et lautre mobile, ce qui rend lappareil
impressionnable aux actions physiques extérieures, est constitué
par deux organes mobiles qui suivent tous les deux, mais avec des vitesses
différentes, les mouvements du diaphragme sur lequel lun
des deux est monté ; et pour obtenir cet effet, la pièce
qui nest pas reliée directement au diaphragme et qui sert
de porte-charbon, est disposée de manière à présenter
à son extrémité libre une masse pesante dont linertie
tient lieu de la rigidité que lon obtient dans les autres
microphones en fixant ce charbon sur la planche support. Comme cette pièce,
du côté de son point dattache est terminée par
un ressort, le contact est toujours effectué dans les mêmes
conditions de pression, quelques soient la température et lhumidité
du milieu ambiant.
Pour amplifier cet effet M. Blake fixe le ressort de la pièce de
contact dont il vient dêtre question, sur une lame métallique
disposée verticalement et soutenue elle-même par une lame
de ressort; et comme elle porte à sa partie inférieure un
plan incliné sur lequel appuie la pointe dune vis, il devient
facile, au moyen de cette vis, de régler convenablement la pression
au point de contact des deux charbons.
Lappareil est dailleurs disposé verticalement et présente
devant le diaphragme une embouchure comme dans les téléphones
ordinaires, et le courant qui agit sur le téléphone est
fourni, comme dans le système précédent, comme dans
le système Edison et beaucoup dautres, par une bobine dinduction
animée par une pile.
Il est facile de voir quen principe, ce système ne présente
rien de bien nouveau, car dans le microphone de MM. Chardin et Berjot,
un ressort dont la pression était réglée par une
vis de réglage jouait le même rôle que le système
compliqué que nous venons dexposer. Dun autre côté
la masse pesante adaptée à lextrémité
du ressort est de linvention de M. Ader.
Si un procès est entrepris, comme lassure le télégraphie
journaly entre les deux compagnies téléphoniques anglaises,
nous ne voyons pas comment lune ou lautre pourra faire valoir
ses droits de priorité. On poûrra du reste avoir tous les
renseignements nécessaires sur cet appareil dans le télégraphie
journal du 1er octobre 1879.
RECHERCHES NOUVELLES SUR LA THÉORIE DU MICROPHONE
3e article (Voir le n° du 15 novembre 1879 ).
Dans le précédent article on a vu
que, pour que la transmission des sons articulés fût
possible, il fallait que le nombre des points de contact, les différences
de ce nombre pendant l'action de lappareil et les changements
de résistance qui en résultent fussent les plus grandes
possibles.
Cest dans ces conditions que sont disposés le microphone
du modèle principal de M. Hughes, le téléphone
à charbon de M. Edison, le téléphone transmetteur
avec deux crayons de graphite de MM. Pollard et Garnier, de M. Hellesen,
etc.
La forme représentée ci-dessous peut nous servir comme
type d'explication pour toutes les autres, et je la regarde aussi
comme très-commode dans toutes les expériences microphoniques.

Elle peut être employée pour la transmission de la
parole, du chant à divers degrés dintensité,
du bruit dune montre placée à côté,
dune mouche placée au dedans, de la musique dun
piano, etc. Lamembrane est de caoutchouc, bien tendue, et pourvue
dune mince bande de papier détain pour unire
le charbon de dessous avec le bouton dattache.
Il est facile de remarquer que pendant les vibrations de la membrane,
une plus ou moins grande quantité de points de contact réunit
les deux électrodes microphoniques, ce qui nécessairement
produit des changements de résistance. Par le fait de l'introduction
du microphone dans le circuit, cette résistance .augmente
considérablement, et réduit la force du courrant à
1/50 et plus de son intensité primitive. Les vibrations mécaniques
de la membrane peuvent la reconstituer en partie ou la diminuer
encore, et, quoique ces changements soient bien petits, ils présentent
cependant, grâce à leur rapidité, une quantité
dinflexions qui permettent de reproduire toutes les nuances
de la voix.
Si je ne me trompe, linfluence de lénergie des
ondes sonores sur lintensité des sons perçus
dans le téléphone, na pas été
encore reconnue positivement. Au contraire on était porté
à croire quelle ne devait pas exister (Voy. Clerk-Maxwell,
Nature, vol. 18, p. 162), et cependant il mest impossible
den douter. Seulement il faut prendre en considération
non pas le côté sonore, mais le côté mécanique
des phénomènes. Quand on parle à voix basse
près du microphone, ou à voix forte mais à
une distance de quelques mètres, les sons sont plus faibles
que quand on parle à voix haute ou de près. Une montre
à bruit fort est mieux entendue quune montre à
bruit faible, etc. Les limites de proportionnalité sont bien
restreintes, il est vrai, mais les différences de résistance
le sont aussi. Augmentons celles-ci, et nous élargirons celles-là.
La prétendue indépendance des sons du récepteur
de ceux qui frappent le transmetteur a pris sa source dans un fait
parallèle au premier, savoir, que les limites dune
articulation distincte sont beaucoup plus rapprochées que
celles des sons non articulés. La distinction et la netteté
des sons articulés transmis par un microphone, sont en raison
inverse de leur intensité. Lintensité croit
à mesure que les vibrations microphoniques tendent à
interrompre complètement le courant, tandis quen même
temps la faculté de transmettre les sons articulés
disparaît.
Et cest là la principale difficulté qui empêche
damplifier les sons à volonté.
Lintensité des sons acquiert son maximum lorsque les
interruptions du courant deviennent complètes ; mais alors
les sons ne peuvent plus être àrticulés; voilà
pourquoi on entend mieux quand on parle dune voix ordinaire,
que quand on parle dune voix haute.
Lintensité des sons est aussi en rapport direct avec
la force du courant, mais ce rapport est encore plus réduit
que les précédents. Les manifestations mcirophoniques
commencent dès que le courant a la force de vaincre la résistance
du microphone et de le traverser. Ce sont les bruits dinterruption
complète qui se manifestent les premiers ; ils sont très-faibles,
et leur modulation est encore impossible. Si on augmente lintensité
du courant, la modulation acquiert son premier degré, et
le bruit dune montre est perçu nettement. 11 devient
plus fort à mesure que lintensité du courant
fait un troisième pas, et alors la parole commence à
être perçue. Au fur et à mesure que la force
du courant augmente, lintensité des sons croît
encore, mais leur articulation s'efface. La proportionnalité
se manifeste seulement à légard des sons simples
qui provoquent linterruption complète du courant et
jusquà ce que le bruit des étincelles les étouffe.
Jai fait encore une série dexpériences
qui démontrent que les phénomènes du microphone
dépendent beaucoup de la vitesse des mouvements de ses parties
constituantes. On peut vérifier ce fait, non-seulement en
présence de courants faibles, mais aussi quand ils sont intenses.
Cela se manifeste dune manière plus évidente
encore dans les microphones à liquides et dans les piles
microphoniques, et lon peut sen convaincre par lexpérience
suivante qui est curieuse :
On attache aux deux bouts du fil téléphonique deux
morceaux de fil de fer et on les plonge dans un verre deau
pure ; laction microphonique se manifeste alors aussitôt
que lon fait toucher les deux bouts ou même quand on
plonge et on retire lun de ces bouts, laissant lautre
dans leau.
Les bruits dinterruption du courant sont naturellement bien
faibles, mais ils deviennent plus faibles encore quand les mouvements
de lélectrode sont lents, et ils séteignent
complètement quand on les exécute encore plus lentement.
Au contraire, ils deviennent un peu plus -forts quand les mouvements
sont rapides et dune plus grande amplitude. Ainsi dans une
pile à bichromate de potasse, où les deux pôles
peuvent être enfoncés à volonté, soit
isolément soit conjointement, limmersion rapide provoque
des sons accentués, tandis qu'une immersion lente et successive
ne détermine plus aucune action microphonique, même
quand elle est effectuée plus profondément,
quoique l'intensité du courant augmente, et que laiguille
du galvanomètre dévie de plus en plus.
Les changements dans la résistance et dans lintensité
dun courant ne sont donc nullement suffisants pour provoquer
les phénomènes microphoniques; il est pour cela indispensable
que ces changements soient rapides.
Le microphone change par lui-même le timbre de la voix, et
cela de plusieurs manières qui dépendent de la position
de ses différentes parties et de leur pression initiale.
En touchant du bout du doigt la tige mobile, on peut changer le
timbre à plusieurs reprises, et on peut même faire
entendre des bruits et des sons spontanés, analogues à
un bourdonnement, à un sifflement ou un gémissement
plaintif, et cela sans quaucune cause extérieure nintervienne.
Ce phénomène curieux est dû à des écartements
et glissements imperceptibles de la partie mobile du microphone,
sous linfluence de son poids. On peut les provoquer artificiellement
en construisant un appareil dans lequel ce glissement automatique
est facilité, et en posant la pièce mobile de manière
à ce quelle puisse descendre automatiquement. Ces bruits
sont souvent si intenses quon les entend dans toute une chambre,
ce qui prouve quils résultent dune suite dinterruptions
plus ou moins complètes.
Les sons simples qui résultent dune série dinterruptions
complètes, ont toujours la même intensité et
le mime timbre, indépendamment de lénergie qui
les provoque, mais ils changent dintensité ei sont
en rabbort avec la force du courant.
Le courant électrique étant modifié par laction
du microphone dans toute sa longueur, et pouvant agir à distance
par induction, il nest pas nécessaire dintroduire
le télé-, phone dans le circuit, pour entendre les
sons. Il suffit pour cela de le rapprocher de nimporte quel
point du fil, du microphone, ou même de la pile. Pour plus
de commodité, on peut réunir ensemble deux téléphones,
approcher lun du fil et entendre dans lautre. Quand,
au lieu du microphone, on introduit dans le circuit une bobine avec
un interrupteur automatique, le téléphone transmetteur
peut être influencé à une distance dun
mètre. Si les fils du téléphone sont réunis
directement à la bobine secondaire, les sons quon entend
dans toute une salle sont de beaucoup plus intenses que ceux de
linterrupteur lui-même. Cest ce son quon
peut le plus facilement entendre dans un microphone employé
comme récepteur.
Cette nouvelle fonction inattendue du merveilleux instrument de
M. Hughes a été invoquée comme une difficulté
insurmontable pour une théorie microphonique. «
Cette fois cest à ny rien comprendre »,
dit M. Du Moncel en citant les expériences de MM.
Blyth et Hughes. Cependant le fait nest pas si étrange,
ni même si nouveau quon le croyait dabord. Les
sons provoqués par le passage seul dun courant discontinu
ont été profondément étudiés
par De la Rive en 1845 et par Beatson en 1846. Et quant à
lexplication, il me semble que nous pouvons nous en rapporter
aux diverses propriétés mécaniques du courant.
Il est connu que son passage influe sur lélasticité
de ses conducteurs (Vertheim), et bien quil ne soit pas strictement
établi quil peut allonger les fils quil parcourt
(Edlungj, cependant les expériences de la lumière
électrique (arc de Volta) nous montrent quil exécute
un arrachement des particules charbonnées, et les transporte
dune électrode sur lautre. On connaît dailleurs
les mouvements des particules liquides, dans la direction du courant,
etc. Il est donc permis de concevoir le courant électrique
comme un véritable courant deau qui enlève dune
certaine façon les particules matérielles quil
rencontre surtout quand elles sont mobiles. Et sil est trop
faible poulies enlever réellement, il nen conserve
pas moins une tendance, qui se manifeste par des répulsions
presque imperceptibles. Or ce sont ces répulsions qui reproduisent
la parole, étant produites elles-mêmes par un courant
modulé sous linfluence de la parole. Nous trouvons
ici le même effet essentiel que dans les téléphones,
à savoir, une transformation réciproque de cause en
effet.
Les sons transmis de cette façon ne sont perceptibles que
là où le conducteur solide (un fil métallique)
est remplacé par quelques particules séparées
et facilement mobiles (le microphone); mais il est facile de comprendre
quils existent aussi, à un degré beaucoup plus
faible, dans tous les points du circuit. Il suffit pour sen
convaincre denrouler quelques dizaines de mètres de
fil isolé sur un petit tambour de bois et de le tenir appuyé
contre loreille. Lintensité de son augmente même
quand on place au milieu dune telle bobine quelques morceaux
de fer.
En poussant la réduction du téléphone encore
plus loin, on peut arriver à se passer du microphone récepteur
et meme dune bobine réceptrice, en appuyant de simples
électrodes (lames ou cylindres métalliques) contre
les deux tempes. I.e courant intermittent passe alors par la tête,
et la peau sèche joue ici le même rôle que les
feuilles de papier dans le condensateur chantant de MM. Varley et
Pollard. On peut aussi construire une harpe électrique avec
des fils fins, rapprochés les uns des autres, et cette harpe
émet des sons quand elle est traversée ,r un courant
discontinu. Cest alors lair qui joue le rôle du
mauvais conducteur. Enfin, une spirale de fil fin engendre des sons
sous linfluence des attractions électrodynamiques.
Il ne nous reste plus quune remarque à faire sur les
propriétés thermoscopiques du microphone. Elles rentrent
dans le même ordre dexplications que celles qui nous
ont servi pour comprendre laction du microphone agissant comme
transmetteur; seulement comme il sagit ici dune action
électromotrice et non téléphonique, les changements
dans les points de conductibilité nont plus besoin
dêtre rapides. Une autre différence, en apparence
contradictoire se fait remarquer. On sait que le microtasimètrc
de M. Edison présente des effets tout à fait opposés
à ceux du microphone thermoscopique de M. Hughes. Dans le
premier, la chaleur agit par une augmentation de conductibilité;
dans le second, cest l'inverse : la chaleur augmente la résistance.
Pourquoi ? Parce que, dans le premier cas, cest un corps solide
qui se dilate sous linfluence de la chaleur, en augmentant
le nombre des contacts, tandis que dans le second cas où
il existe plusieurs petits morceaux de charbon juxtaposés,
cest l'air, qui les entoure et les sépare, qui se dilate
avant tout, et cette dilatation doit nécessairement produire
une diminution dans le nombre des contacts; mais le principe reste
toujours le même.
En résumé, il nous est impossible de reconnaître
dans le microphone une nouvelle propriété de la matière,
ou, tout au moins, celle de laction directe des ondes sonores
sur certains corps médiocrement conducteurs. Le microphone
ne présente aucune analogie avec le microscope, et sa théorie
na aucun rapport avec celle du sélénium y ce
qui cependant nempêche pas linvention de M. Hughes
dêtre une des plus grandes de notre siècle.
La seconde théorie, celle de la pression, nest de même
quune exposition superficielle des faits, et, à notre
avis du moins, elle doit être abandonnée.
Dr Julian Ochorowicz |
POSTE TÉLÉPHONIQUE AVEC OU SANS MICROPHONE
DE M. DUCRETET
Le poste téléphonique que nous présentons
ci-dessous et qui est de M. Ducretet, est dune grande simplicité
; il permet de réaliser toutesles combinaisons nécessaires
avec un seul commutateur et deux fils, de ligne, ou un seul fil
si on se sert de la Terre, comme fU de retour. Il se compose dune
tablette portant une manette centrale dont l'extrémité
à ressort peut être placée à volonté
sur cinq gouttes de contact marquées dune inscription
en regard de chacune, soit : repos, sonnerie, contrôle d'appel,
téléphone, microphone. Elle reçoit encore huit
bornes dattache de conducteurs; T, S, R, L, et à la
partie inférieure T1 T2, M1, M2, - et +
Les communications de ces bornes entre elles, avec les gouttes de
contact, les conducteurs des appareils et ceux de la ligne sont
nettement indiquées sur la figure; ils suffisent pour bien
suivre la marche du courant.

Ces téléphones sattachent en TT1. Si on veut
en mettre plusieurs dans le même circuit [soit en tension),
on les attache comme lindique la figure en se servant de la
borne intermédiaire G. Si, au contraire, on veut les accoupler
en dérivation (soit en quantité), les deux téléphones
se mettent symétriquement aux bornes TT.; elles ont un deuxième
bouton de serrage pour cette disposition.
Le microphone M se place en MM; il peut servir à transmettre
à de grandes distances les plus faibles bruits ou les sons
musicaux. Il en existe qui transmettent nettement la parole en amplifiant
les vibrations produites. S est la sonnerie qui sert davertisseur.
La transmission se fait aisément. Supposons deux postes,
l'un à Paris, l'autre à Versailles, La manette centrale
de chacun doit toiijours être sur la goutte marquée
repos. Le po~ste de Paris désire transmettre à
Versailles; pour lavenir, il place un instant sa manette sur
sonnerie., puis il revient se placer sur repos. La sonnerie de Versailles
reçoit cét appel, le posté y répond
en faisant exactement la même manuvre, puis il se place
sur téléphone. Le poste de Paris, dès quil
a reçu le coup de sonnette qui lavise quon est
prêt, se place à son tour sur téléphone.
Si le poste de Paris ne reçoit, pas de réponse à
son appel, il en conclut que son correspondant de Versailles nest
pas présent ; il lui est facile de le contrôler. Pour
cela, il recommence la même manuvre, mais cette fois
il place sa manette à cheval sur les deux gouttes, sonnerie
et contrôle dappel, et dans le même temps, il
écoute dans son téléphone, oh il entend distinctement
la sonnerie de son correspondant de Versailles. Il laisse la manette
dans cette position de contact prolongé, usquA ce que
le correspondant, enfin prévenu par cet appel prolongé,
vienne couper le courant pourseplacer sur sonnerie, mis sur téléphone,
ainsi quil vient dêtre dit. Le poste denvoi
vie Paris, a ce moment, nentend plus dans son téléphone
la sonnerie de Versailles : il se place alors sur repos, reçoit
lavis quon est prêt; puis il sc place sur téléphone,
pour établir une transmission téléphonique
entre les deux postes.
Le poste qui a appelé le premier, doit parler le premier
dans son téléphone; le second téléphone
est maintenu à loreille. Dès quil a fini
de causer, il en avise son correspondant en sifflant fortement dans
le sifflet A fixé à demeure sur le corps du téléphone,
lequel sifflet transmet ses vibrations dans la chambre qui se trouve
au-dessous de la membrane vibrante. De la sorte, on évite
toute fausse manuvre; on ne doit parler quaprès
avoir reçu le coup de sifflet avertisseur. Chacun doit agir
ainsi. On écoute en portant un téléphone à
chaque oreille.
La correspondance terminée, on se met sur repos, et les deux
postes placent chacun la manette dans cette position pour attendre
un nouvel appel.
Chaque poste, lorsquil transmet, peut sans en avertir son
correspondant, se servir du microphone transmetteur ; il lui suffit
de placer sa manette sur microphone, et si lui-même-veut entendre
dans son propre téléphone les sons quil transmet
par son microphone, il lui suffit encore, sans avis, de placer sa
manette à cheval sur les deux gouttes : tèléphoneT
microphone. Les téléphones au repos saccrochent
en P, P\ Ce poste est simple, dune manuvre facile. Lappel
par sonnerie peut-être aussi prolongé quon le
désire ; la sonnerie dappel peut être placée
loin des téléphones; on peut mettre plusieurs sonneries
à différents endroits et lon a ainsi un sys^
tème téléphonique très pratique.
De Magneville |
1880 Vu dans "La lumière électrique"
La persistance avec laquelle M. Berliner réclame
la priorité de linvention du microphone, et la complaisance
de certains journaux allemands pour accueillir cette réclamation,
nous forcent de revenir un peu sur ce système, et en même
temps de faire connaître les appareils de ce genre essayés
en 1876 et 1877 par MM. Peirce et Blake. Daprès des
renseignements qui ont été donnés en 1878 à
M. du Moncel par M. Blake, alors à Paris, M. Peirce en faisant
des expériences à La Providence avec les appareils
de Bell, fut très-étonné dentendre la
parole avec un transmetteur téléphonique à
pile composé dun disque de tôle DD (fig. 1) placé
verticalement et actionnant un morceau de fer rouillé B (placé
horizontalement), par lintermédiaire dun ressort
F, frottant sur ce morceau de fer, et fixé au centre O du
disque.
Sous linfluence des vibrations du disque, le ressort produisait
de petits frottements qui suffisaient pour fournir, par instants,
la repro duction de la parole. Toutefois ces résultats nayant
pas été suffisants pour lui faire croire à
des applications utiles, M. Peirce sest contenté de
les considérer comme une expérience curieuse quil
signala à M. Blake. Or cette expérience avait été
faite en septembre 1S76. Un an plus tard, M. Blake eut lidée
de la reproduire dans dautres conditions que nous représentons
ci-dessous (fig. 2).
Il employa comme M. Peirce un disque vertical en tête DD au
centre duquel il pratiqua, en repoussé, une saillie bombée
O, comme une boursouflure, et-il appliqua contre cette saillie une
lame de ressort F, de manière à constituer ainsi un
interrupteur de courant. En parlant devant le disque, il put reproduire
dune manière, sinon parfaite du moins suffisante, la
parole à travers un téléphone introduit dans
un circuit voltaïque, mis en rapport avec ces deux parties
de lappareil. Sauf la lame de charbon qui se trouve représentée
ici par un disque de tôle, cet appareil représente
bien celui que M. Berliner réclame. M. Blake lui a donné
du reste une autre disposition que nous représentons Fig
3.
Ce sont deux disques de tôle DD, DD superposés
horizontalement et munis à leur centre de la saillie bombée
dont nous avons parlé. Ces disques sont en contact par cette
saillie. Les bords des deux disques sont dailleurs séparés
par des cales de bois assez minces pour maintenir leur parallélisme
tout en laissant effectuer leur contact métallique par les
saillies bombées. Il obtint de ce système dassez
bons résultats, mais bien inférieurs à ceux
que M. Hughes a obtenus avec soi» microphone, et cest
pourquoi il ne crut pas devoir intervenir lors delà querelle
survenue entre celui-ci et M. Edison, dautant plus quil
nemployait pas deux charbons. En définitive, ce qui
était surtout remarquable dans linvention de M. Hughes,
à lorigine, cétait la possibilité
que son microphone donnait àamplifier des vibrations
infiniment faibles, transmises mécaniquement aux support
de 1 appareil, et il n a songé que secondairement à
en faire un transmetteur téléphonique. A ce dernier
point de vue, linvention nétait quune modification
des systèmes de Bell et de Gray, cest-à-dire
la substitution dun médiocre conducteur solide à
un médiocre conducteur liquide, et la partie la plus importante
de linvention, cest-à-dire la variabilité
de la résistance du contact avec la pression plus ou moins
grande exercée sur lui, était connue depuis longtemps.
M. Berliner comme M. Edison,na donc rien à réclamer,
et nous engageons le Zeitschrift fur Angewandte Elektricitætslehre
détudier un peu tous les documents dont nous venons
de parler avant de se prononcer dune manière si catégorique.
Cela dit en passant, nous allons examiner maintenant le nouveau
transmetteur de M. Berliner quon nous donne comme une merveille,
et qui nest quune dérivation des transmetteurs
Blake, Edison et Fernandez Janez.

Les figures 4,5, 6 et 7 ci-contre représentent cet appareil
dont la coupe, fig. 4, représente les détails principaux,
ee est lembouchure téléphonique ; fflc diaphragme
en fer battu soutenu sur ses bords par une enveloppe de caoutchouc
élastique. Une lame flexible dargent fortement pressée
contre cette enveloppe de caoutchouc par une vis l .porte vissée
en i, une sorte de cartouche métallique i, qui renferme lun
des contacts microphoniques, constitué par un petit cylindre
de graphite. Le courant arrive à ce contact par la vis l,
qui est isolée de la masse de lappareil par un taquet
débonite m, fixé sur le couvercle en fer de
lappareil. Une large lame dargent pp, fixée en
m, et emboîtant avec isolement la cartouche i, permet de serrer
plus ou moins fortement la cartouche contre le diaphragme, au moyen
dune vis w, et porte articulée obliquement une lame
q terminée par un petit cylindre métallique r qui
renferme le second contact de graphite, lequel est arrondi par sa
partie extérieure. Derrière ce système est
disposé, une traverse de fer ss et une bobine dinduction
l sur laquelle agit le courant du microphone, et dont le fil induit
communique avec la ligne téléphonique. Lappareil est
naturellement suspendu verticalement. |
et aussi
Nouveau téléphone fondé
sur les vibrations moléculaires.
Ce téléphone breveté par MM. Lockwood et Bartlett
de New-York, prouve une fois de plus en faveur de la théorie
que M. Th. du Moncel na pas cessé de soutenir depuis
lépoque de lapparition du téléphone
en Europe. Dans cet appareils, que nous représentons, Fig,
1, page 443, et qui est du reste le même, quant à la
disposition générale, que celui de M. Bell, le diaphragme
DD forme lépanouissement du pôle de laimant
recouvert de la -bobine BB, et, afin damplifier les sons,
il est disposé de manière à constituer avec
le système magnétique une caisse sonore. A cet. effet,
le pôle magnétique A est pourvu dun petit bras
en fer AD, recourbé deux fois à angle droit, de manière
à soutenir le diaphragme à quelques millimètres
au-dessus du pôle magnétique, et cest précisément
lintervalle entre ce diaphragme et le pôle magnétique
qui constitue la caisse résonnante.
Dans ces conditions, il ny a plus dattraction'produite
entre le diaphragme et laimant, puisque les polarités
sont de même signe, et les sons reproduits ne peuvent être
que le résultat des changements magnétiques moléculaires
qui seffectuent dans le système entier sous linfluence
des courants ondulatoires transmis, et qui, daprès
les inventeurs, auraient pour effet de fournir des vibrations longitudinales,
répercutées dans toutes les parties du système
magnétique.

Le transmetteur destiné à agir sur lappareil
précédent est fondé sur un principe différent
de la plupart de ceux qui ont été construits. Au lieu
de faire réagir directement les vibrations de lair
sur le microphone par lintermédiaire dun diaphragme,
MM. Lockwood et Bartlett font en sorte que Je microphone ne soit
impressionné par ces vibrations que mécaniquement
et par lintermédiaire dun corps non résonnant,
capable seulement de les transmettre moléculairement, à
la manière des effets mécaniques transmis dans lexpérience
du choc des billes suspendues, billes qui sont en contact lune
avec lautre. Eu conséquence, ils incrustent à
lintérieur dun bloc de liège ou de bois,
léger AÀ (fig. 2) et dans le prolonge-
ment lun de lautre, les deux crayons de charbon C, Ç
qui j doivent constituer le système microphonique, en ayant
soin de laisser vide un très-petit intervalle entre leurs
extrémités opposées lune à lautre.
Ces extrémités sont creusées dune petite
cavité hémisphérique dans laquelle est logée
une
petite boule de charbon B, qui peut aisément sy mouvoir
et qui réunit par son propre poids les deux charbons, comme
dans le système de M. Lippens. Les deux crayons de charbon
sont dailleurs réunis métalliquement à
deux boutons dattache par deux fils qui traversent la masse
du bloc de bois, ordinairement de forme cylindrique, et celui-ci
est enfermé dans une enveloppe métallique E E, qui
permet, au moyen dun couvercle, daccéder à
la partie correspondante au point de jonction des deux charbons,
laquelle forme une petite chambre vide B, fermée seulement
avec un bouchon de liège. |
....
sommaire
Avec du recul, en 1887 M. le Dr Rothen, Directeur-adjoint
des télégraphes suisses expose son analyse sur la théorie
du téléphone.
Dans une étude complète sur la téléphonie,
comme celle que nous nous sommes proposé de présenter
à nos lecteurs, on peut se demander à quelle place il
convient de traiter la question théorique: devrait-elle figurer
en tête d'une étude de ce genre ou venir à la suite
et comme conséquence de l'exposé des différents
systèmes et des expériences relatées dans ce travail.
Sans vouloir exprimer une opinion formelle à cet égard,
nous tenons cependant à expliquer pour quels motifs nous avons
choisi cette dernière place. Dans notre pensée, la théorie
résulte principalement des expériences et des investigations
; plus grand est leur nombre et plus elles sont variées, plus
on peut espérer rapprocher la théorie de la vérité.
Nous considérons donc la théorie comme un résultat
final, comme une conclusion de nos recherches, et c'est pour cette raison
que nous avons placé ce chapitre après et non pas avant
la description des appareils.
Toutes les théories présentent un côté incertain
et même lorsqu'elles sont adoptées, nous savons rarement
si nous pouvons les regarder comme définitives. Elles résultent,
d'un côté, des observations des phénomènes
de la nature et, de l'autre, de déductions mathématiques;
mais quelquefois les phénomènes de la nature sont mal
interprétés et quoique les résultats de l'analyse
et de la synthèse mathématique soient des vérités
absolues, leur application aux phénomènes de la nature
n'est pas toujours exempte d'erreurs. Nous avons dans l'histoire des
sciences naturelles l'exemple de plusieurs cas où l'investigation
et le calcul mathématique ont conduit à des théories
erronées.
Quant à la téléphonie, nous sommes encore loin
d'une théorie complète, malgré le grand nombre
de travaux émanant de personnes très compétentes
et d'un savoir incontestable. Tout ce que nous possédons actuellement
doit être considéré comme des matériaux accumulés
en vue d'une construction à réaliser dans l'avenir. Beaucoup
de phénomènes sont encore inexpliqués et plusieurs
thèses des théories qui ont déjà vu le jour
sont embarrassées d'obscurités et de doutes.
Revenons à l'exposé de M. le Dr Rothen : Partant des faits
acquis, nous savons qu'on peut reproduire la parole à des distances
inaccessibles à la voix humaine. Cette reproduction peut avoir
lieu de trois manières différentes,
1 - d'abord en utilisant un téléphone Bell comme transmetteur
et un autre téléphone Bell comme récepteur, les
deux intercalés dans le même circuit
2 - ensuite en utilisant un microphone comme transmetteur et un téléphone
Bell comme récepteur, les deux intercalés dans le même
circuit ;
3 - finalement en plaçant le microphone et le téléphone
dans deux circuits différents qui s'influencent au moyen d'une
bobine d'induction.
Dans le premier cas, on peut distinguer différents phénomènes
qui se succèdent et dont chacun est la conséquence du
phénomène précédent.
Les ondes sonores frappent contre le diaphragme du téléphone
récepteur, ce diaphragme entre en vibrations mécaniques,
les vibrations changent l'état magnétique du récepteur
et ces changements produisent des courants électriques dans le
circuit. Les courants ainsi engendrés produisent, dans l'état
magnétique du téléphone récepteur, des changements
qui, à leur tour, font vibrer le diaphragme de ce dernier, et
finalement ces vibrations produisent des ondes sonores.
Il existait, dans les premiers temps de la téléphonie,
des sceptiques qui doutaient de ces transformations multiples et voulaient
expliquer la reproduction de la parole par un simple phénomène
acoustique ; mais cette idée est réfutée depuis
longtemps et avec raison, car elle est absolument insoutenable sous
plusieurs rapports; nous mentionnerons seulement la lenteur de la propagation
qui serait une conséquence inévitable de cette théorie.
Nous savons qu'à toute distance, par exemple à 100 kilomètres,
la reproduction de la parole est instantanée, puisque la réponse
nous revient sans aucun délai, ce qui serait impossible si le
phénomène était purement acoustique.
La reproduction de la parole au moyen du téléphone est
faible, dans certaines circonstances excessivement faible, et certaines
lettres de l'alphabet restent quelquefois inintelligibles, surtout les
lettres sifflantes et gutturales. La précision de la reproduction
laisse même beaucoup plus à désirer que nous ne
le croyons généralement. Nous devinons une grande partie
des lettres par la position qu'elles occupent dans les mots.
Nous avons d'ailleurs, dès notre enfance, contracté l'habitude
de deviner certaines lettres, car la parole même qui frappe directement
notre oreille n'est souvent pas facile à saisir, beaucoup de
personnes ne parlant pas distinctivement. Nous continuons ainsi cette
habitude avec le téléphone qui altère le son de
certaines lettres. La situation empire naturellement si la personne
qui parle dans le téléphone ne sait pas bien parler ;
mais nous ne nous préoccupons pas de ce cas dans notre investigation,
car il n'a rien à faire avec la théorie du téléphone.
Les imperfections de la reproduction de la parole par le téléphone
se manifestent surtout quand il s'agit d'une langue inconnue ou de noms
propres; il devient quelquefois nécessaire dans ce cas de transcrire
les consonnes d'une manière ou d'une autre, par exemple r par
rose," s par "soleil," v par violette"
et ainsi de suite.
Pour établir une théorie du téléphone il
faut étudier les différents phénomènes qui
se succèdent, chercher les causes des altérations des
consonnes, du grand affaiblissement de la parole et maints autres points
qui demandent à être élucidés.
Le professeur Bell, l'inventeur du téléphone,
a aussi le premier donné une théorie de son fonctionnement.
D'après lui le courant circulant dans une ligne
téléphonique est ondulatoire, sans aucune
interruption, mais traversant le point du potentiel électrique
zéro. Ce principe fondamental de la théorie de M. Bell
est attaqué de différents côtés, par exemple
par M. de Locht-Labye, qui prétend que des courants interrompus
peuvent aussi servir à la reproduction de la parole.
Nous reviendrons sur cette question.
M. Bell applique au téléphone les théories bien
connues de l'acoustique dont l'essentiel est le suivant : Ces
ondes acoustiques ou électriques peuvent graphiquement être
représentées par une courbe sinusoidale; un corps qui
est en vibrations simples et uniformes produit un ton simple;
c'est le cas qui se présente avec un diapason.
Un diapason vibrant produit, quand on le place devant un téléphone
récepteur dans le circuit téléphonique, des ondulations
électriques parfaitement régulières, une sinusoïde
pure. Mais d'autres sons provenant d'autres instruments, d'une corde
de violon, d'un tuyau d'orgue, etc., ne se composent pas de vibrations
simples, ce sont des sons composés d'un son fondamental et de
plusieurs sons harmoniques. Si le son fondamental est l'Ut, alors les
sons superposés harmoniques sont l'ut1 fa ut2 re2 fa2 ut3 et
suivant que l'un ou l'autre de ces sons harmoniques est plus prononcé,
le timbre du son est modifié.
Le même son produit par un violon, une flûte, un cornet
à piston, la voix humaine, possède un autre caractère,
un autre timbre, parce que ce sont d'autres tons harmoniques
qui jouent un rôle prépondérant. La différence
entre les voyelles ou diphtongues a, é, i, 0, ou, ê, eu,
u consiste aussi dans des différences de force des sons harmoniques;
M. Helmholtz est même
parvenu à produire toutes les voyelles mécaniquement.
Quand un ton quelconque, ainsi composé, parvient à notre
organe de l'ouïe, nous pouvons admettre qu'il a été
produit par des vibrations complexes, l 'Ut faisant 64,66 vibrations
par seconde, l 'utt1 258,65, le fa2 844,87, l' ut2 517,8, le re 2 581,96,
le fa2 689,74, l 'ut3 1034,6. Mais ces différents systèmes
de vibrations n'existent pas simultanément et indépendamment
l'un de l'autre dans l'air; ils se confondent au contraire en une seule
espèce de vibrations complexes qui renferment en elles les caractères
de toutes les différentes vibrations. On peut reproduire la chose
graphiquement, en superposant plusieurs sinusoïdes de différentes
longueurs de vibration et en représentant les caractéristiques
de toutes, dans une seule ligne. Cette ligne sera alors irrégulière,
mais elle montrera toujours une période caractéristique.
Les ondes sonores qui frappent contre notre oreille et produisent la
sensation d'un son complexe, portent le même caractère
d'une période bien définie.
Il en est de même de la sensation que les consonnes produisent
sur notre oreille, seulement les vibrations sont encore plus complexes
que pour les
voyelles. Certaines consonnes ne peuvent être prononcées
qu'avec une durée très courte et en les faisant précéder
ou suivre d'une voyelle, comme b, p, d, t. A d'autres on peut donner
une durée plus ou moins longue comme à r, s, f, l, m,
n. M. Bell, en appliquant la théorie de l'acoustique à
son téléphone, a simplement passé sous silence
les difficultés. Il admet que les ondes complexes produisent
dans le diaphragme du transmetteur des vibrations de même forme
qui se réflètent une troisième fois dans les ondulations
du courant électrique et une quatrième fois dans la membrane
du
téléphone récepteur, mais il ne s'occupe pas des
détails d'imperfection et d'affaiblissement que montrent ces
reproductions. Dans une théorie complète il faut au contraire
déterminer le phénomène dans toutes ses périodes
consécutives, savoir exactement ce qui se passe dans le diaphragme,
dans l'aimant et dans le circuit électrique.
Les courants transmis de téléphone à téléphone
sont très faibles. On peut encore entendre dans un téléphone
les interruptions d'un circuit qui a 100 megohms de résistance,
si la force électro-motrice ne dépasse pas celle d'un
élément Daniell. Le courant a alors seulement la force
de 1,116 X 10 puissance 8 ampères. Brough et Pellat, dans
leurs investigations, sont arrivés à peu près aux
mêmes résultats. Pour démontrer quelle petite énergie
le téléphone demande pour réagir, M. Pellat a chargé
un condensateur de 0,33 microfarad 160 fois à la seconde et l'a
déchargé à travers un téléphone.
Il pouvait alors diminuer la force électro-motrice jusqu'à
0,0005 volts et les décharges s'entendaient encore dans le téléphone,
quoique la quantité d'électricité, 160 CV, ne dépassât
pas un 40 millionième d'une unité de quantité.
L'énergie dépensée devient alors si petite qu'elle
devrait s'accumuler pendant 10 000 ans pour pouvoir élever un
gramme d'eau d'un degré centigrade de température.
Les faibles courants circulant dans le téléphone ou, en
d'autres mots, la sensibilité excessive de cet instrument, ont
été constatés de différentes manières.
Si l'on veut se servir du téléphone seulement comme répétiteur
des signaux télégraphiques, on n'a pas besoin de pile.
Les courants telluriques ou ceux engendrés par les plaques de
terre qui sont enfoncées dans le sol humide, suffisent amplement
pour fournir l'électricité
nécessaire pour le service.
Les courants électriques qui se développent dans le circuit
téléphonique, quand on parle contre la membrane d'un téléphone,
sont plus difficiles à mesurer, car ils sont très irréguliers,
varient avec la hauteur de la voix, les voyelles, les consonnes palatales
ou explosives et autres détails de la parole. MM. Cross
et Page ont cherché à déterminer la force
de ces courants, surtout pour les voyelles a, o, i et la diphtongue
ouï, mais en les prononçant principalement contre des microphones.
Dans ce cas, les courants sont en général sensiblement
plus forts que si l'on se sert comme transmetteur d'un téléphone
Bell.
On obtient les plus forts courants téléphoniques
quand on combine la bobine d'induction avec le microphone. La
force moyenne des courants varie alors entre 0,79 et 0,07 milliampères,
donc dans des limites assez larges, suivant le genre de microphone employé
et la voyelle prononcée ou chantée. En général
la voyelle o et la diphtongue ou donnaient les plus forts courants,
la voyelle i les plus faibles. Pour éviter les variations d'intonation
qui se font remarquer dans l'électro-dynamomètre au commencement
de la prononciation d'une voyelle, les expérimentateurs n'ont
fermé le circuit que quand la voix était en plein développement.
Cette différence dans les forces des courants engendrés
par la prononciation des voyelles peut être démontrée
de plusieurs manières. Une des plus frappantes est celle indiquée
par M. le professeur Fick.
Il mettait les nerfs d'une grenouille en rapport avec un circuit téléphonique.
Quand on parle alors contre le téléphone, la grenouille
manifeste des contractions énergiques. Les courants étaient
ensuite affaiblis jusqu'à un tel degré que les contractions
étaient sur le point de disparaître. Si dans ces circonstances
on disait dans le téléphone zucke" la
grenouille montrait des contractions, tandis qu'avec les mots liege
still" elle restait immobile.
Le téléphone est d'ailleurs plus sensible que le nerf
d'une grenouille, ce qui a été constaté par M.
le Dr d'Àrsonval. Il excitait
ce dernier au moyen d'une bobine d'induction et éloignait la
bobine induite jusqu'au point où les contractions cessaient complètement.
Il remplaçait alors la grenouille par un téléphone
et entendait le bruit distinctement. En continuant l'éloignement
de la bobine d'induction jusqu'au point où, dans le téléphone
aussi, cessait toute manifestation accessible aux sons, il a cru pouvoir
déterminer la sensibilité qu'il a fixée à
200 fois plus grande que celle de la grenouille. Nous pensons seulement
que M. d'Arsonval n'a pas tenu compte des différences de résistance.
A travers la grenouille les courants d'induction étaient probablement
sensiblement moins forts que dans le téléphone, une vraie
comparaison des deux sensibilités est donc seulement possible
en maintenant dans les deux expériences la même force de
courant.
Malgré la grande sensibilité du téléphone
il ne dépasse pas, dans cette qualité, un galvanomètre
très délicat, par exemple celui de Sir W. Thomson. Son
seul avantage sur les galvanomètres repose dans la facilité
avec laquelle il peut indiquer les plus faibles courants alternatifs
pour lesquels les galvanomètres restent muets.
Si l'on veut essayer d'analyser le phénomène de la reproduction
de la voix par le téléphone il faut partir du cas le plus
simple, deux téléphones Bell comme transmetteur et récepteur
dans le même circuit, et étudier d'abord les mouvements
de la membrane du transmetteur et du récepteur. Ces mouvements
sont si faibles que leur nature est restée longtemps inconnue.
Deux opinions opposées se combattaient dès le commencement;
certains savants étaient d'avis qu'ils étaient de nature
moléculaire, d'autres les regardaient comme vibratoires. M. Antoine
Breguet, qui d'ailleurs s'est distingué par des travaux
scientifiques sur l'électricité appliquée, niait
nettement la possibilité de mouvements vibratoires
du diaphragme.
La plus intéressante controverse qui ait eu lieu à ce
sujet s'est produite entre M. le Comte du Moncel,
d'un côté, et MM. Navez père et fils, de
l'autre. Le premier défendait les mouvements moléculaires,
les deux autres les mouvements vibratoires. (lire l'exposé plus
bas dans la page)
Différentes observations semblaient donner raison à M.
du Moncel.
D'abord il était impossible de constater de visu les mouvements
vibratoires, mais d'autres expériences les mettaient aussi fort
en doute. Si l'on couvre la membrane d'une plaque de bois, verre, caoutchouc
ou autre matière, et si l'on parle contre ce couvercle on peut,
quoique faiblement, transmettre la parole. De même on peut l'entendre
au téléphone récepteur quand sa membrane est ainsi
cachée.
Des couches de différents liquides, eau, huile, etc. sur la membrane
n'empêchent pas la transmission de la parole.
De même quand on donne à la membrane des dimensions inusitées,
des épaisseurs jusqu'à plusieurs centimètres de
sorte qu'on n'ait plus une membrane devant soi, mais un véritable
bloc de fer, la parole se transmet encore.
Les plus curieuses expériences furent celles que l'on fit avec
des récepteurs sans membrane aucune. Des sons musicaux se transmettaient
encore dans ce cas, quoique avec grande faiblesse, et quelquefois on
pouvait même distinguer quelques sons articulés.
Ces phénomènes entrent très probablement dans la
catégorie de celui que Reis a
déjà expérimenté dans son récepteur
téléphonique. Quand on place dans une longue bobine une
tige en fer et qu'on fait passer par la bobine des courants intermittents,
il se produit dans la tige en fer des mouvements moléculaires
qui sont accompagnés d'un faible son parce que la tige tout entière
se raccourcit et s'allonge, bien entendu dans des limites excessivement
restreintes. Le son ainsi produit acquiert le caractère d'un
ton musical si les intermittences du courant sont suffisamment rapides
et régulières. Il est probable que dans un récepteur
téléphonique sans membrane, la reproduction du son se
fait aussi par des raccourcissements et des allongements successifs
du noyau en fer doux.
Outre les investigateurs déjà nommés, il faut aussi
citer M. Ader qui a modifié les
expériences pour élucider cette question de la reproduction
de la parole sans diaphragme. Cette controverse, quoiqu'elle ait perdu
aujourd'hui son actualité, a pourtant aidé à éclaircir
différents points obscurs dans la théorie du téléphone.
Il a été constaté que quoique le diaphragme joue
le rôle prépondérant parmi les corps en mouvement,
d'autres corps y participent aussi.
Dans un téléphone, récepteur ou transmetteur, tout
est en mouvement, outre le diaphragme, le noyau, la bobine, même
la douille. L'inverse de ce phénomène est celui qui se
produit lorsqu'une personne parlant dans le téléphone,
au lieu de le tenir devant la bouche, le presse simplement contre la
gorge, la poitrine ou même le front. Dans ce cas les paroles prononcées
se transmettent néanmoins, ce qui indique que toutes les parties
du corps de la personne qui parle prennent, à un plus ou moins
haut degré, part aux mouvements oscillatoires qui agissent sur
le téléphone.
Des expériences de date plus récente ont démontré
que les mouvements utiles du diaphragme sont de nature vibratoire, mais
il résulte de ce qui a été dit plus haut qu'à
côté de ces mouvements vibratoires il existe encore des
mouvements moléculaires. Il est peu probable cependant que ces
derniers contribuent beaucoup à la force et à la netteté
de la parole reproduite; il y a même des expérimentateurs
qui sont d'avis que la parole serait plus nette si l'on pouvait complètement
supprimer les mouvements moléculaires.
L'étude la plus complète sur les mouvements du diaphragme,
aussi bien dans le transmetteur que dans le récepteur, nous a
été donnée par M. Mercadier.
(Etudes Sur La
Theorie Du Telephone 1886)
Dns cette étude, Maercadier démontre qu'en diminuant lépaisseur
du diaphragme, on perd en qualité ce quon peut gagner,
pour ainsi dire, en quantité ou intensité. Mais, même
sur ce dernier point, il y a un maximum pour le récepteur, comme
je lai indiqué pour le transmetteur à limaille de
fer. Pour un champ magnétique dintensité donnée,
il y a, toutes choses égales dailleurs, une épaisseur
de diaphragme qui donne un effet téléphonique maximum.
Ce résultat, analogue à celui quon trouve dans dautres
phénomènes électromagnétiques, peut expliquer
linsuccès de beaucoup de tentatives faites, un peu au hasard,
en vue daugmenter lintensité des effets des récepteurs
téléphoniques électromagnétiques.
Dans la nature de 1886 on y trouve cet article de Mercadier
| THEORIE DU TÉLÉPHONE. RECHERCHES
DE M. E. MERCADIER du 12 JUIN 1880
M. E. Mercadier a entrepris une longue et intéressante
série de recherches expérimentales tendant à
expliquer le mécanisme par lequel lénergie
sonore renfermée dans les ondes aériennes si complexes
produites par la voix humaine, est transformée en énergie
électrique sous la forme de courants induits, par suite
de linterposition, entre les ondes sonores et le pèle
dun aimant entouré dune bobine, dun diaphragme
en matière magnétique, fer ou acier.Ce sont ces
recherches (pie nous allons résumer aussi brièvement
et aussi exactement que possible daprès une note
plus étendue publiée récemment par lauteur
dans le Journal de physique.
Théorie du téléphone
magnétique transmetteur.
La propriété du téléphone de
reproduire des vibrations simples ou complexes, comme celles de
la parole articulée, avec leur timbre, sinon exact, du
moins a pproximatif, suppose dans le diaphragme du transmetteur
la possibilité de mouvements très complexes et susceptibles
de varier, dune manière continue, dans leurs éléments.
Le diaphragme étant un corps élastique, susceptible
de vibrer et de donner des sons propres (son fondamental et harmoniques),
en vertu de son élasticité, de sa forme géométrique,
de la nature de son support, etc., il sagit de savoir si,
quand on produit dans lair, devant le diaphragme, des sons
simples ou complexes (parole articulée), les mouvements
produits dans ce diaphragme sont ceux qui correspondent aux sons
particuliers du diaphragme ou des mouvements dune autre
nature.
Lexpérience démontre quun disque téléphonique
imparfaitement encastré constitue, au point de vue mécanique
et élastique, un système complexe et mal déterminé,
ne donnant que des lignes nodales irrégulières,
variables avec létat de serrage du disque, et ne
produisant que des sons propres discontinus; il est donc évident
que ces sons particuliers ou propres ne suffisent plus à
expliquer la transmission dune série continue de
sons ou daccords. La nécessité de mouvements
dune espèce autre qjue celle des sons propres est
mise en évidence en prenant des disques de 2 millimètres
dépaisseur et de 10 centimètres de diamètre
dont le son fondamental et, par suite, les harmoniques, sont supérieures
à ut6 lorsque ces disques sont encastrés, et en
faisant parler un homme dont les sons sont toujours compris dans
la gamme dindice 5 au plus.
On peut aussi mettre ces disques manifestement hors détat
de produire des sons fondamentaux ou des harmoniques par le jeu
de leur élasticité, en collant un petit morceau
de fer sur une membrane quelconque qui na pas de son propre,
en perçant un disque de fer comme une écumoire,
ou en le fendant en forme de roue à 5 ou 6 rayons étroits,
de façon à diminuer sa niasse de moitié,
ou même en remplaçant la membrane par une toile métallique
en fils de fer. 11 faut avoir soin, dans toutes ces expériences,
d'interposer une feuille de papier entre le diaphragme et laimant,
pour éviter les effets de résonance dus à
lintroduction de lair par les trous des disques ou
de la toile.
Le mécanisme en vertu duquel les diaphragmes
téléphoniques exécutent leurs mouvements
est analogue, sinon identique, à celui par lequel tous
les corps solides de forme quelconque, un mur, par exemple, transmettent
à l'iine de leurs surfaces tous les mouvements vibratoires,
simples ou complexes, successifs ou simultanés, de période
variant dune manière continue ou discontinue, quon
produit dans lair en contact avec lautre surface.
Avec les diaphragmes épais, ce genre de mouvement existerait
seul ; avec les diaphragmes minces, il y aurait superposition
de ces mouvements à ceux correspondant aux sons propres,
toutes les fois que lon émettrait des vibrations
dont la période serait la même que celle de ces sons
eux-mêmes, superposition {dus fâcheuse quutile,
car laugmentation dintensité naurait
lieu quaux dépens de la reproduction du timbre, les
harmoniques du diaphragme ne coïncidant que par hasard avec
ceux des sons qui mettraient en jeu le son fondamental du diaphragme.
En songeant à la faible rigidité dune toile
métallique en fer qui, cependant, fonctionne bien comme
transmetteur téléphonique, M. Mercadier a été
condiaphragme mince non sensiblement magnétique : carton,
mica, verre, caoutchouc vulcanisé, zinc, aluminium, cuivre,
etc. Cest le téléphone à limaille de
fer, moins intense que le téléphone à diaphragme
mince de fer, mais qui reproduit, peut-être avec plus de
fidélité que ce dernier, le timbre de la parole
articulée.
On augmente dailleurs lintensité des sons en
augmentant lintensité du champ magnétique,
et en plaçant le noyau aimanté sur 4un gros électro
de Faraday excité par un courant de 5 à 6 ampères,
la puissance du téléphone à limaille de fer
devient comparable à celle dun téléphone
ordinaire.
En résumé, la présence dans
le champ magnétique dun téléphone transmetteur
de diaphragmes magnétiques, rigides ou non, nest
nullement indispensable pour produire des effets téléphoniques
: ces diaphragmes sont utiles pour augmenter lintensité
en présentant, par unité de volume, un plus grand
nombre de molécules magnétiques à laction
des forces extérieures, en concentrant les lignes de force
du champ. On peut produire les mêmes effets en exerçant
des déformations mécaniques directes sur les lignes
de force du champ réalisées avec de la limaille
de fer.
Théorie du téléphone
magnétique récepteur.
Les considérations relatives au téléphone
magnétique transmetteur sappliquent au récepteur
presque sans changement. La rigidité du diaphragme nest
pas indispensable. Il suffit de donner un support matériel
aux modifications rapides produites dans le champ magnétique
du récepteur par les courants induits qui parcourent lhélice;
on y arrive avec de la limaille de fer qui se dispose suivant
les lignes de force.
Le diaphragme ne sert quà augmenter lintensité
des effets en concentrant le champ et en augmentant la masse dair
à laquelle sont transmis les mouvements résultant
de la transmission dénergie qui sopère
aux divers points du champ magnétique.
Les appareils exposés récemment
à la Société française de physique
mettaient en évidence les résultats et les conséquences
des recherches de M. Mercadier. Nous y avons particulièrement
remarqué, à côté du téléphone
à limaille de fer, un téléphone ordinaire
à réceptions multiples que représente la
figure suivante :
Téléphone à réceptions multiples de
M. E. Mercadier.
Les sons sont recueillis par lintermédiaire de tuyaux
en caoutchouc :
1° dans la chambre à air intérieure, sous la
membrane;
2° dans une chambre formée au-dessus de la membrane
par un couvercle percé dune ouverture centrale fermée
par une lame mince de mica.
La transmission seffectue en parlant sur la lame de mica
à la façon ordinaire.
Signalons encore un téléphone récepteur diama-gnétique
dans lequel la membrane est un disque en aluminium, qui peut,
dailleurs, être remplacé par de largent,
du cuivre, du zinc, de létain, etc. Les effets téléphoniques
sont ici indépendants de la nature du métal, bien
que les membranes en fer donnent des résultats de beaucoup
les plus intenses.
Les recherches de M. E. Mercadier présentent un grand intérêt
théorique et scientifique, et il est probable quelles
pourront servir de base à la pratique et contribuer à
lamélioration des transmissions téléphoniques
ordinaires, en indiquant les principes dont il ne faut pas sécarter
pour réaliser ces améliorations.
|
Maercadier s'est occupé principalement de ces
mouvements en laissant de côté les phénomènes
intermédiaires de la reproduction de la parole.
Les diaphragmes des téléphones sont des plaques en fer
ou en acier minces et élastiques. Elles ont comme toutes les
plaques, lames ou tiges élastiques des vibrations qui leur sont
propres, d'une vitesse déterminée qui, pour des lames,
peut être calculée par la formule n = k (e / l puissance
2) où n est le nombre des vibrations complètes par seconde,
e l'épaisseur et l la longueur de la lame en millimètres
et k un coefficient qui, pour le fer et l'acier, est 5320134. Le nombre
des vibrations observées diffère très peu du nombre
trouvé par le calcul. La même formule, avec une légère
modification, est aussi applicable aux disques élastiques circulaires.
Dans ce cas nous avons n = kc e / d2 ou n et e gardent leur signification
précédente, d est le diamètre du disque et lcc
un coefficient qui est fonction du coefficient d'élasticité
et de densité du disque.
M. Mercadier a, pour les disques aussi, comparé les vibrations
observées avec celles que l'on obtient par le calcul. Pour déterminer
les vibrations, il a placé les diaphragmes sur trois pointes
en liège formant un triangle équilatéral. Si l'on
choisit les trois points de support dans un cercle qui a environ un
diamètre de 0,68 du diamètre du diaphragme, les trois
points de support touchent la première ligne nodale et la plaque
est libre de vibrer dans la vitesse de la première harmonique.
Les vibrations sont déterminées électriquement
et enregistrées par un chronographe comme celles des diapasons.
Un courant passe par un électro-aimant placé au dessous
du centre du disque et par l'attraction de ce dernier le courant s'interrompt.
Pour reproduire les vibrations qui correspondent au son fondamental,
il faut fixer le disque au centre et faire agir l'électro-aimant
sur un point de la circonférence. Les difficultés qui
accompagnent cette seconde méthode ont conduit M. Mercadier à
la négliger et à s'en tenir à la première.
Par différentes séries d'expériences, avec des
disques de toutes dimensions, il a été constaté
que la théorie ne concorde pas avec les vibrations observées
et cela d'autant moins que les disques sont moins épais. Cette
discordance ne peut pas s'expliquer autrement que par le manque d'homogénéité
de la matière. Même en choisissant l'acier ou le fer avec
le plus grand soin, on y rencontre toujours des soufflures ou des agglomérations;
un examen microscopique montre encore d'autres irrégularités.
Il faut ajouter à tout cela que par le laminage des plaques il
s'est formé deux axes d'élasticité qui contribuent
aussi à la dissymétrie générale.
On peut rendre visible ces irrégularités dans les disques
élastiques par les figures harmoniques de Chladni.
Si l'on couvre les disques de sable fin ou de poudre de lycopode, ce
dépôt s'amasse sur les lignes nodales et l'on voit alors
que la première ligne nodale n'est presque jamais circulaire;
quelquefois elle est ovale ou triangulaire et souvent elle a des formes
encore plus irrégulières. C'est ainsi le cas avec les
lignes nodales plus compliquées des sons harmoniques supérieurs.
Pour l'oreille, l'irrégularité dans la matière
des disques se manifeste par des sons discordants ; souvent on entend
même deux sons fondamentaux qui ne diffèrent que d'un comma
ou d'une note entière.
Les irrégularités dans la matière des diaphragmes
rendent très incertain ou impossible le calcul du son particulier
ou propre et de ses harmoniques, qui sont la conséquence des
vibrations libres, mais cela a finalement peu d'importance, l'essentiel
est de constater l'existence de ces dernières et d'étudier
leur rôle dans les transmissions téléphoniques.
Le nombre des vibrations libres d'un diaphragme est très restreint,
mais si l'on produit devant un téléphone l'échelle
entière des sons musicaux il les reproduit tous. Bien plus encore,
si l'on parle contre le téléphone et si l'on produit ainsi
des ondes sonores très complexes qui n'ont aucun rapport avec
les vibrations libres, il les reproduit aussi.
Les vibrations de la voix humaine (abstraction faite des sons harmoniques),
varient entre les vitesses de 65 à 1044 ondulations par seconde,
tandis que les membranes de nos téléphones ont des vibrations
beaucoup plus rapides. Il y a donc, à côté des vibrations
libres, d'autres vibrations qu'on peut désigner comme forcées
et ce sont presque uniquement ces dernières qui servent à
la transmission de la parole. Il y a certainement des circonstances
où l'on peut reconnaître l'influence des vibrations libres;
ainsi, si l'on produit la gamme musicale devant le téléphone,
on reconnaît
une préférence de ce dernier pour certaines notes qui
sont reproduites avec plus de force. Lorsque ce cas se produit, c'est
que l'on est tombé sur une note dont la vitesse de vibration
correspond avec une des vibrations libres du téléphone,
mais dans les reproductions ordinaires auxquelles sert le téléphone
le rôle des vibrations libres est presque nul. Ce fait peut être
constaté très facilement en supprimant complètement
les vibrations libres.
Quand on applique au diaphragme des coups de marteau, de sorte que sa
surface cesse d'être plane, il n'est plus apte à produire
les vibrations libres et pourtant il sert presque aussi bien pour la
reproduction téléphonique qu'un diaphragme intact. On
sait qu'en touchant légèrement avec le doigt le bord d'une
sonnette ou d'un verre en vibrations libres ou le bout d'un diapason,
les vibrations sont arrêtées presque instantanément;
dans le téléphone un pareil obstacle n'influence guère
la transmission. On peut couvrir la plaque de cire, d'édredoh,
de liège ou de toute autre matière apte
à supprimer les vibrations libres sans modifier la transmission.
On arrive aux mêmes résultats si l'on perce le diaphragme
d'un grand nombre de trous, de sorte qu'il ait j îutôt l'apparence
d'une écumoire, ou si on enlève plus de la moitié
du diaphragme en le découpant en forme d'une roue à 5
ou 6 rais. On peut encore aller plus loin dans la suppression des caractères
d'une plaque vibrante, c'est-à-dire rendre l'élasticité
et la rigidité nulles, sans que la possibilité de la transmission
de la parole disparaisse. M. Mercadier a éparpillé de
la limaille de fer sur un papier, une plaque de mica
ou de caoutchouc, etc., et quelques grains seulement suffisaient déjà
pour reproduire la parole. Certainement la force de la reproduction
était, jusqu'à un certain point, en rapport avec le nombre
des grains de limaille de fer, mais même en couvrant un papier
complètement avec la limaille, cet amas de grains indépendants
n'acquiert jamais les caractères d'une plaque vibrante. Le même
effet se produit au moyen d'un treillis en fil de fer très fin.
On peut donc dire qu'une plaque en fer élastique et rigide n'est
pas indispensable mais utile pour les reproductions téléphoniques.
En ce qui concerne la limaille de fer, M. Mercadier a constaté
qu'en augmentant toujours la quantité on arrive à un point
où une augmentation des grains n'augmente plus la force de la
reproduction. Le côté intéressant dans cette observation,
c'est que la quantité de limaille qui produit l'effet maximum,
est une fonction de l'aimantation du téléphone.
Ce qui constitue la règle pour le diaphragme du transmetteur
s'applique aussi à celui du récepteur, seulement les vibrations
forcées de ce dernier sont sensiblement plus faibles que celles
du premier. Quant au rapport entre les amplitudes des deux diaphragmes,
les opinions varient sensiblement. M. W. Siemens estime la force de
la parole primitive 10 000 fois plus grande que celle de la reproduction,
tandis que M. Vierordt
descend jusqu'au rapport de 577 à 1.
1888 Études sur la théorie du téléphone
extrait dela Revue des questions scientifiques .
("Journal de physique théorique
et appliquée", deuxième série, t. V, pp.
141 et suivantes)
On sait que dans le transmetteur du téléphone
Bell le diaphragme circulaire, en fer ou en acier, est une partie
importante de lappareil. Ce diaphragme est encastré
sur les bords et placé à peu de distance du pôle
dun électro-aimant rendu actif par la présence
dun barreau aimanté.
Lorsque le fil de cet électro-aimant est relié par
ses extrémités au fil de félectro-aimant de
lappareil récepteur appareil en tout semblable
au transmetteur on constate dans les transmissions sonores
les propriétés suivantes :
1° Les vibrations simples de lair produites dans le voisinage
du diaphragme de lappareil transmetteur sont reproduites par
le diaphragme de lappareil récepteur avec leur tonalité;
2° Les vibrations complexes des accords musicaux sont également
reproduites sans altération dintervalle;
3 ° La parole articulée est reproduite avec son timbre
;
4° Lorsque les sons simples ou complexes émis dans le
voisinage de lappareil transmetteur varient en hauteur dune
manière continue, ils sont reproduits par lappareil
récepteur avec les mêmes hauteurs et suivant la même
continuité.
Cette variation continue de la tonalité des sons transmis
par le téléphone est la propriété caractéristique
de finstrument : cest par cette propriété que
les vibrations des diaphragmes du transmetteur et du récepteur
se distinguent des mouvements vibratoires des lames circulaires
vibrant librement. Dans ces dernières, en effet, la série
acoustique des sons propres est une série limitée
: on ny trouve à la suite du son fondamental,
daprès la théorie, qu'un harmonique dans loctave
du son fondamental, deux dans la seconde octave, quatre dans la
troisième, etc.
Lexpérience démontre également que la
série des sons propres des lames circulaires vibrant librement
est une série discontinue. Pour le faire voir, M. Mercadier
a mis en vibration sonore, par influence, des diaphragmes de téléphone,
au moyen de tuyaux dont les sons fondamentaux, échelonnés
en série, croissaient par intervalles de seconde. Des appenjdices
en carton servant dallonges permettaient même de passer
dun son à
lautre sans discontinuité. La série musicale
ainsi formée allait du la de loctave de quatre pieds
à l'ut de trois pouces. Cet intervalle musical dépassait
de beaucoup la série dos tonalités habituelles de
la parole articulée.
Dans cette série physiquement continue de sons musicaux,
M. Mercadier ne trouva que sept ou huit sons qui impression nassent
les diaphragmes, en y déterminant des lignes nodales; tous
les autres sons étaient sans action sensible. De plus, le
nombre des sons impressionnant les diaphragmes diminuait à
mesure que lépaisseur de ceux-ci croissait. Ces faits
montrent bien que la continuité dans les périodes
des sons transmis par le téléphone ne peut pas sexpliquer
au moyen des vibrations acoustiques propres au diaphragme; pour
rendre raison de cette continuité, il est nécessaire
de faire intervenir des mouvements dune autre espèce.
M. Mercadier a démontré lexactitude de cette
conséquence par dautres expériences. Il prit
des disques de deux millimètres au moins dépaisseur
et de dix centimètres de diamètre. Le son fondamental
de ces lames encastrées par les bords était supérieur
à l'ut de six pouces. La tonalité de la parole articulée
ne dépassant jamais la gamme de deux pieds, il est impossible,
en parlant devant ces disques, de mettre en jeu leurs vibrations
propres. Ces disques néanmoins, mis à la place des
diaphragmes des téléphones, transmettaient très
nettement la parole et permettaient même
dapprécier le timbre des voix. On pouvait même
leur donner des épaisseurs de trois et de quatre millimètres,
sans nuire à la netteté de la transmission; lintensité
seule des sons transmis se trouvait affaiblie.
M. Mercadier remarqua encore que la netteté de la transmission
téléphonique nest pas altéiée,
lorsque le diaphragme, au lieu dêtre ébranlé
directement par les émissions sonores de la personne qui
parle devant le transmetteur, ne lest plus que par lintermédiaire
des vibrations transversales de substances parfois très peu
élastiques, telles que mica, liège, caoutchouc, bois,
papier, coton, plumes, linge, cire. Pour faire cette expérience,
il suffit demprisonner une couche dair entre le diaphragme
du téléphone et une lame de ces substances. Dans'
ces conditions, on
observe que le timbre des sons transmis est plus net que lorsque
le diaphragme est directement excité. M. Mercadier a obtenu
des résultats très satisfaisants avec des lames de
verre de 5 millimètres, des plaques de liège de 7S
millimètres, des cylindres de bois de 50 millimètres,
des couches de ouate de 20 millimètres dépaisseur.
Un diaphragme téléphonique percé de trous ou
découpé en roue à six rayons et recouvert dun
papier transmet comme sil était plein.
Il résulte de tous ces faits que le mode de mouvement du
diaphragme téléphonique est assimilable à celui
des corps solides de grande épaisseur et de forme quelconque,
transmettant au travers de leur masse les mouvements vibratoires
de toute période. Cest ainsi, par exemple, que le mur
massif dune chambre transmet, dune de ses surfaces à
lautre, les sons émis dans la chambre voisine. Les
vibrations du diaphragme du téléphone
Bell sont donc un phénomène de simple résonnance.
Jai fait connaître ailleurs les lois de Verdet relatives
à la résonnance (Annales de la Société
scientifique de Bruxelles, huitième année, 2è
partie, pp. 29 et suivantes.).
La présence du champ magnétique du téléphone
napporte aucune modification à cette conclusion ; daprès
les expériences de M. Mercadier, les variations dintensité
du champ sont sans effet sensible sur la transmission du son, lorsque
le diaphragme est bien encastré.
Les recherches de lhabile physicien ont encore porté
sur un autre point : il sagissait de savoir si lénergie
de linduction dynamique produite dans le fil de lélectro-aimant
transmetteur par les variations dintensité du champ
magnétique nest pas liée à la rigidité
ou aux c|ualités acoustiques du diaphragme.
Le fait le plus saillant découvert par M. Mercadier dans
cet ordre didées, cest la propriété
quont des molécules de fer disséminées
dans le champ magnétique et, jusquà un certain
point, indépendantes les unes des autres, de pouvoir servir
de diaphragme transmetteur. Pour démontrer cette propriété,
M. Mercadier prend un téléphone Bell ordinaire, enlève
le diaphragme et place sur le pôle de laimant une rondelle
de papier mince; puis, après avoir remis lembouchure,
il laisse tomber sur le disque de papier une pincée de limaille
de fer. Les grains de limaille se disposent aussitôt en houppes
au-dessus du papier, et ces houppes dessinent la direction dans
lespace des lignes de force. Sous linfluence de lattraction
de laimant, les grains de limaille sont, en outre, pressés
contre la rondelle, et la pression est suffisante pour maintenir
cette dernière sur laimant dans nimporte quelle
orientation de lappareil : on peut renverser le téléphone,
rien ne tombe. Ainsi disposé chose presque incroyable
le téléphone possède toutes les propriétés
du téléphone ordinaire: il transmet très nettement
la parole articulée. En ajoutant de la limaille, les lignes
de force se dessinent davantage et les effets de transmission croissent
en intensité.
M. Mercadier appelle ce téléphone, téléphone
à limaille. De ses recherches relatives à
cet appareil, il tire les conclusions suivantes :
1° La présence, dans le champ magnétique dun
téléphone transmetteur, de diaphragmes magnétiques,
rigides ou non, nest nullement indispensahle produire les
effets téléphoniques ; mais ils sont utiles pour en
augmenter lintensité, en présentant par unité
de volume un plus grand nombre de molécules magnétiques
à laction des forces extérieures, ou bien, comme
on dit souvent, en opérant une grande concentration des lignes
de force du champ.
2° Il suffit, pour produire ces effets, dexercer des déformations
mécaniques directes sur les lignes de force du champ réalisées
avec de la limaille de fer.
Quant au récepteur téléphonique, depuis longtemps
déjà il a été démontré
par MM. Breguet, Ader et Dumoncel que toutes les parties de lappareil,
noyau, hélice, diaphragme, manche, etc., vibrent simultanément
dans lacte de la réception; mais, daprès
les expériences de M. Mercadier, les effets de transmission
les plus énergiques sont ceux produits par la vibration du
diaphragme ; linfluence de la vibration du noyau et de lhélice,
pour être constatée, demande des courants de transmission
de grande intensité.
Cest donc à tort que Dumoncel pense pouvoir rattacher
leffet principal de la transmission aux vibrations moléculaires
du noyau.
Les recherches de M. Mercadier déterminent le mode daction
du diaphragme récepteur, dans le phénomène
de la transmission, aussi bien que celui du diaphragme transmetteur.
Toutes les expériences indiquées ci-dessus, notamment
celles du téléphone à limaille, peuvent être
faites avec le téléphone récepteur ; il suffit
dintroduire dans ce dernier les modifications décrites
à propos de l'appareil transmetteur. On reconnaît sans
peine que, dans toutes ces circonstances, la transmission reste
parfaitement nette. |
sommaire
Les intéressantes études de M.
Mercadier sur les mouvements de la membrane du téléphone
complètent utilement celles de M. le professeur Hagenbach
( plus bas dans la page) de Bâle sur
le même objet (Uebertragung hoher Tône durch das Telephon.
Wiedemann's Annalen, vol. VI, page 407). D'après M. Hagenbach
le diaphragme d'un téléphone ne peut suivre, dans ses
mouvements, les forces qui agissent sur lui, que si ces mouvements ou
vibrations sont excessivement petits.
Sous cette condition le diaphragme se comporte comme une mince membrane
de caoutchouc et la rigidité du diaphragme joue seulement un
rôle secondaire. Cela explique aussi pourquoi, dans tous les téléphones
récepteurs qui donnent une reproduction très forte, la
netteté de la parole laisse beaucoup à désirer.
Les amplitudes de la membrane sont alors si considérables que
des vibrations libres s'y mêlent et transforment sensiblement
le timbre du son. Il y a pourtant des circonstances dans lesquelles
les conséquences de la rigidité se font remarquer même
pour les vibrations infiniment petites, et M. Hagenbach en a constaté
une avec les tiges sonnantes de Kônig.
Ces tiges vont de 4096 jusqu'à 32 768 vibrations doubles à
la seconde, c'est-à-dire de l'ut 5 jusqu'à l'ut 8 . La
tige qui donne 32 768 vibrations doubles représente l'ut 8. Peu
de personnes sont capables d'entendre ce son; pour quelques unes l'audition
cesse déjà avec le mi 7, pour d'autres avec le sol7 .
On peut en général admettre que notre organe
de l'ouïe n'est plus affecté par des sons dont la vitesse
dépasse 30 000 vibrations doubles par seconde. Quand on reproduit
les sons par le téléphone, cette limite supérieure
descend sensiblement plus bas ; quelquefois on n'entend plus au delà
de l'ut 5 ou mi5, et pour des personnes différentes qui ne sont
pas douées de la même sensibilité pour les sons
allant directement à l'oreille, la limite supérieure dans
le téléphone est la même. Il en résulte que
le diaphragme est incapable de suivre les vibrations excessivement rapides
des sons au delà de mi5 . Quelquefois il arrive qu'un son isolé,
disons le sol6 ou le re 7 , peut encore être entendu très
faiblement.
Dans ces cas exceptionnels, on est tombé sur un son harmonique
propre au diaphragme ; cette exception est une conséquence de
la rigidité de la membrane et confirme la règle.
On pourrait se demander où est le siège de cette incapacité
du téléphone pour la reproduction des sons élevés,
dans le diaphragme, dans le magnétisme ou dans le circuit électrique;
on obtient la réponse à cette question en modifiant l'un
après l'autre le magnétisme, le circuit et le diaphragme.
C'est par la modification de ce dernier seulement que l'on arrive à
changer la limite supérieure des sons perceptibles à l'oreille,
c'est donc le diaphragme qui ne peut pas suivre les vibrations très
rapides.
Après plusieurs essais infructueux, différents savants
sont arrivés à rendre les vibrations du diaphragme visibles.
M. Bosscha a fixé sur le diaphragme un poil de porc et
a observé les mouvements de la pointe de ce poil au moyen d'un
microscope. Il a constaté poulies plus faibles courants qui peuvent
encore produire un son, des amplitudes de la membrane de l, 3 à
2,9.10 puissance 6 millimètres, c'est-à-dire environ
1/200 longueur d'onde de la lumière jaune. M. Salet a
choisi une autre méthode pour déterminer l'amplitude des
oscillations. Il a collé sur le diaphragme une plaque en verre
et devant celle-ci une seconde plaque à une distance telle que
les anneaux de Newton pouvaient être produits entre elles. Si
alors le téléphone émet un son continu et si devant
la double plaque en verre l'on place un disque tournant qui a des fentes
radiales on voit, avec une vitesse donnée de rotation du disque,
les anneaux de Newton nettement à travers les fentes, mais si
la rotation est accélérée ou retardée les
anneaux commencent à osciller et on peut déterminer l'amplitude
de ces oscillations; M. Salet a trouvé 2 à 3 dix millièmes
de millimètre.
Tout dernièrement M. le Dr. 0. Frôlich a publié
de nouvelles méthodes pour rendre visibles les oscillations du
diaphragme du téléphone. (Optische Darstelhmg der Vorgânge
im Telephon. Electroteclmische Zeitschrift, vol. VIII, page 210).
On colle sur le diaphragme, entre le centre et le bord, un petit miroir
et on réflète dans ce miroir les rayons d'une source de
lumière comme cela se fait pour les galvanomètres à
miroir. Le point de lumière sur l'écran montre alors un
faible mouvement. Cette méthode et les suivantes ont surtout
été appliquées aux diaphragmes des téléphones
récepteurs dont les mouvements sont beaucoup plus faibles que
ceux des diaphragmes des téléphones ou microphones transmetteurs
et qui montrent encore d'autres anomalies dont nous parlerons plus tard.
Au lieu d'employer la méthode objective, on peut aussi observer
l'image d'une échelle dans le petit miroir au moyen d'un petit
télescope hollandais. M. Melde a transmis les vibrations du diaphragme
sur une corde tendue. Au milieu du diaphragme est fixé une extrémité
d'un fil de fer de 40cm de longueur et de 0 mm
,6 de diamètre, tendu par un ressort à boudin attaché
à l'autre bout; le fil est parallèle au plan du diaphragme.
On peut ainsi produire des vibrations visibles du fil, et si l'on fixe
sur le fil un petit miroir, au milieu, entre deux nuds, on reçoit
sur l'écran des mouvements très agrandis.
M. le Dr. Kobert Weber à Neuchâtel s'est, le premier,
servi des flammes dansantes de Kônig pour nous donner une
des plus jolies reproductions visuelles des vibrations du diaphragme,
mais il a travaillé avec des courants de pile et le mérite
d'avoir appliqué la méthode aux mouvements produits par
la parole articulée revient à M. le Dr. Frôlich.
On fixe sur le diaphragme un morceau de liège avec surface légèrement
sphérique et on applique au dessus un réservoir très
étroit dont le fond est une membrane de caoutchouc tendu qui
touche la surface du liège. Un tube conduit le gaz dans le réservoir
et un bec de gaz fournit la flamme dansante qu'on observe dans un miroir
tournant autour d'un axe vertical. Les flammes montrent pour chaque
voyelle et pour chaque hauteur de son une image caractéristique.
Les expériences ont surtout été faites avec les
voyelles a, e, i, 0 et la diphtongue ou, chantées par une voix
de bariton devant le téléphone. Les hauteurs du son chanté
étaient l'Ut, le mi, Y ut\ et le miv Les différences de
la forme de l'image de la flamme pour une voyelle donnée, par
exemple pour le 0, suivant la hauteur dans laquelle elle était
chantée, sont remarquables. Les consonnes ne donnent guère
une image caractéristique, car cette image est toujours absorbée
par celle de la voyelle qui accompagne la consonne.
M. Frôlich a constaté par les images des flammes les mouvements
d'une membrane contre laquelle on parle ou chante directement et ceux
d'une membrane actionnée par le courant téléphonique
dans le téléphone récepteur. La différence
entre ces deux images est frappante, et en nous occupant de cette partie
de l'étude de M. Frôlich nous arrivons à la modification
de la phase dans les téléphones. Il est généralement
connu qu'on peut, avec les figures de Lissajous, déterminer le
rapport entre les vibrations de deux diapasons; la même méthode
se recommande pour la comparaison des vibrations d'un diapason et d'un
diaphragme ou des deux diaphragmes du transmetteur et du récepteur.
Quand deux diapasons n'ont qu'approximativement la même vitesse
de vibration, les images de Lissajous passent d'un trait à des
ellipses accentuées qui, dans leur forme, se rapprochent peu
à peu du cercle pour passer de nouveau au trait par des ellipses
de plus en plus accentuées; donc malgré la différence
entre les diapasons on obtient toujours des figures géométriques,
tandis qu'avec un diapason et un diaphragme influencés
par les mêmes impulsions électriques les figures de Lissajous
sont très irrégulières. Par ce phénomène
il est constaté que les vibrations sonores subissent dans le
téléphone des modifications importantes, et cela déjà
dans le téléphone transmetteur, mais plus encore dans
le téléphone récepteur et toujours dans le sens
de la complication, c'est-à-dire qu'aux vibrations simples d'un
diapason s'ajoutent d'autres vibrations d'où résulte un
son composé. M. le Dr. Frôlicli obtient absolument les
mêmes résultats avec ses images des flammes. Les images
des membranes sur lesquelles les ondes sonores agissent directement
sont toujours plus simples que celles produites par le diaphragme du
téléphone récepteur. Voici un exemple d'une série
d'observations lorsque la membrane, actionnée directement par
les ondes sonores de la voyelle a, chantée en mi, produit une
simple languette, l'image obtenue du diaphragme du téléphone
récepteur, montre trois languettes pointues de différentes
longueurs. Dans chaque hauteur la transformation est autre ; l'image
d'une voyelle se transforme le moins quand elle est chantée bas
et la transformation augmente avec la hauteur du son. Il est étonnant
que malgré ces transformations on comprenne très bien
les voyelles, sauf peut-être l'i, par le téléphone.
Les modifications que subissent les consonnes dans le téléphone
sont beaucoup plus importantes. En général on comprend
encore bien les consonnes &, d, f, r et t, moins bien w, p, w, m,
mal les copsonnes s, ft, ft, j et on confond surtout m avec w, j avec
c et h et s avec v. En général les consonnes gutturales,
sifflantes et aspirées, sont mal reproduites.
Nous avons déjà vu que les vibrations d'un diaphragme
ne peuvent plus être représentées par une sinusoïde,
si elles sont complexes. Elles sont alors plus ou moins irrégulières
mais d'une irrégularité qui se répète continuellement
si le son original ne change pas.
Cette courbe irrégulière ou période est caractéristique
pour chaque son complexe. Or si la membrane du téléphone
récepteur fait d'autres vibrations que celle du téléphone
transmetteur, la période des ondes est différente dans
un cas et dans l'autre, c'est-à-dire que le temps dans lequel
la force du courant a passé pour la première fois la valeur
zéro, la phase du mouvement, a subi une modification. Cette modification
de la phase est nettement démontrée par les expériences
de M. Frôlich. La phase subit encore, entre deux téléphones,
un autre changement, mais qui n'influence pas la fidélité
de la transmission, c'est son déplacement.
Chaque membrane atteint la plus grande vitesse quand elle passe par
sa position de repos ou d'équilibre; le diaphragme du transmetteur
produit donc dans ce moment le plus grand changement du magnétisme
et par conséquent le plus fort courant magnéto-électrique,
mais dans le téléphone récepteur ce courant produit
la plus forte attraction ou répulsion du diaphragme, c'est-à-dire
le maximum de l'amplitude. De cette manière le diaphragme du
récepteur est toujours en arrière de celui du transmetteur,
et cela d'un quart d'une vibration double. C'est M. S. Thompson qui
pour la première fois a constaté ce déplacement
de la phase.
Les causes de la modification de la phase ont été cherchées
dans le courant électrique qui se développe de téléphone
à téléphone par les variations du magnétisme
dans les noyaux.
Parmi les savants qui ont étudié cette partie de la théorie,
nous citons MM. Du Bois Beymond, Helmholtz, Fr. Weber,
Vaschy, Wietlisbach, Aaron, Hermann.
Nous donnons un abrégé de ces déductions d'après
M. le prof. Gr. Wiedemann.
Soient donnés deux circuits qui s'influencent réciproquement
et soit intercalé dans l'un le téléphone T, dans
l'autre le téléphone Tr Soit dans le circuit du téléphone
T la résistance W, l'intensité dn courant I, le potentiel
du circuit sur lui-même Q et le potentiel des masses magnétiques
sur le circuit P, et dans le circuit du téléphone Tj les
valeurs analogues W t lx Q t , finalement K le potentiel des deux circuits
l'un sur l'autre, alors on a, d'après les lois d'induction, comme
elles ont été découvertes par M. Neumann:

Il résulte de ces équations que le changement du timbre
des sons transmis par le téléphone peut être constaté
mathématiquement, car l'amplitude du courant variable C t ou
C 0 dépend de n qui indique le nombre des oscillations du potentiel
P, c'est-à-dire du nombre des vibrations du son qui excite le
téléphone récepteur. La retardation de la phase
dépend de la nature du circuit et de la vitesse des oscillations.
Dans le téléphone récepteur l'amplitude dépend
essentiellement de la valeur w, donc les sons hauts sont toujours plus
fortement reproduits que les sons bas.
Or nous avons déjà vu que le caractère ou le timbre
d'un son composé dépend de la force relative des sons
harmoniques et par conséquent le téléphone change
le timbre des sons. Plus sont hauts les sons qui agissent sur le téléphone
récepteur, moins on peut apercevoir de changement ni dans le
timbre, ni dans la force; pour les sons bas il en est tout autrement.
Ceci explique aussi pourquoi on comprend en général les
voix masculines moins bien que les voix féminines.
Dans des conditions ordinaires le changement du timbre de la voix ne
peut pas être très important, puisque souvent nous perdons
complètement la faculté de l'apprécier. Nous reconnaissons
le timbre des différentes personnes qui nous parlent par téléphone.
Une autre expérience nous montre bien que le timbre des paroles
reproduites par le téléphone est changé. Une personne,
essayant le téléphone pour la première fois, ne
comprend rien, elle entend seulement une voix lointaine de polichinelle
; il faut donc s'habituer à une influence sonore tout-à-fait
nouvelle. Nous avons déjà vu que les vibrations libres
des membranes sont un obstacle à la parfaite reproduction des
ondes sonores et il est même possible qu'elles soient la principale
cause des modifications du timbre; car dans certains cas, on peut négliger
leurs carrés, alors les amplitudes C t et C0 sont indépendantes
du nombre n des oscillations. On a dans ce cas
Si d'un côté il est impossible de trouver une membrane
qui reproduise la parole sans modifier son timbre, on peut certainement
d'un autre côté améliorer beaucoup la reproduction
par un choix bien étudié de la membrane. Si elle est trop
épaisse, les vibrations libres jouent un trop grand rôle,
et si elle est trop mince les lignes de force magnétique la traversent
et un côté de la membrane devient pôle austral et
l'autre pôle boréal. Une membrane qui se trouve dans ces
conditions ne peut guère, par ces oscillations, influencer l'aimantation
du noyau en fer doux qui porte la bobine du téléphone,
parce que les deux polarités en mouvement sont trop rapprochées
l'une de l'autre et se neutralisent réciproquement dans leurs
effets sur le noyau en fer doux. Par conséquent les courants
d'induction sont faibles et la reproduction est défectueuse ;
ces conditions défavorables changent complètement si les
lignes de force de l'aimant sont déviées de leur direction
par le diaphragme et se noient pour ainsi dire dans ce dernier. Le diaphragme
devient dans ce cas un aimant annulaire avec une polarité au
centre, une autre à la circonférence, et les oscillations
de ce diaphragme qui, au centre, a une seule polarité, ont beaucoup
plus d'influence sur le noyau que dans le cas précédent.
Souvent on a cherché, en connaissance de cause ou non, nous ne
voulons pas le décider, à produire, même dans un
diaphragme très mince, l'aimant annulaire en rapprochant de la
circonférence du diaphragme le second pôle de l'aimant
permanent du téléphone.
Les téléphones de M. G. N. Torrence, M. Ebel,
et Braun. représentent de bonnes constructions au point
de vue théorique, tandis que la construction les téléphones
à action double de MM. Siemens et Halske et de M. Charrière
ne sont pas recommandables, quoique l'on puisse croire au premier abord
qu'ils présentent des constructions bien justifiées. (vu
dans la page Recepters et Emetteurs)
Dans ces téléphones à action double le diaphragme
devient nécessairement un aimant transversal et perd, par ce
fait, son influence sur la bobine.
Par une autre raison les téléphones à plusieurs
pôles près du centre, comme par exemple le téléphone
à sifflet de MM. Siemens et Halske
et les téléphones Ader et
Gower, ne surpassent pas les téléphones
unipolaires, comme on pourrait le croire en voyant leur construction.
Ils donnent bien une reproduction forte, mais moins nette que celle
d'un téléphone unipolaire.
Il est probable que deux pôles agissant à la fois sur la
membrane favorisent la formation de vibrations libres, puisqu'ils créent
deux foyers d'un maximum d'amplitude entre lesquels se produit un point
ou une ligne nodale. Ces téléphones à deux pôles
se prêtent mieux à la transmission qu'à la réception;
on remarque en général que les mêmes téléphones
ne servent pas également bien aux deux buts.
sommaire
Nous ne pouvons pas quitter le téléphone pour parler de
l'action du microphone, sans mentionner le condensateur
chantant, parce que ce phénomène jette aussi un peu
de lumière sur les fonctions du téléphone.
Différents observateurs, comme MM. Herz,
Dunant et Dolbear, ont constaté
qu'un condensateur d'une certaine construction spéciale, intercalé
à la place d'un téléphone récepteur dans
le circuit secondaire d'une bobine d'induction, pouvait reproduire les
sons musicaux chantés dans un téléphone ou microphone
intercalé dans le circuit primaire de la même bobine. M.
Dolbear a même construit un téléphone basé
sur le principe
de deux plaques juxtaposées dont l'une, par les charges et décharges
de l'autre, fait des mouvements vibratoires.
C'est probablement M. W. Holtz qui le premier a observé
un phénomène qui est le précurseur du condensateur
chantant, et M. Giltay a étudié les observations
de ses prédécesseurs et les a complétées
par ses propres investigations.
Si l'on intercale simplement le condensateur dans le circuit secondaire
de la bobine d'induction, les reproductions des sons sont faibles, des
mélodies se transmettent, mais point des sons articulés,
au moins on ne peut rien comprendre de ces derniers. Ce phénomène
change complètement si l'on intercale une pile, avec le condensateur,
dans le circuit secondaire. Alors le condensateur devient non seulement
sensible aux
courants faibles, mais il reproduit même les paroles prononcées
devant le transmetteur de manière qu'on peut les comprendre.
Un seul élément Leclanché produit déjà
ce changement, mais avec deux la reproduction de la parole est nette.
M. Giltay a expliqué ce phénomène de la manière
suivante: Le son reproduit par le condensateur est certainement le résultat
d'attractions et de répulsions des feuilles d'étain qui
se chargent et se déchargent d'électricité. Cette
force d'attraction est proportionnelle au carré de la charge.
Les courbes qui représentent les courants qui se produiraient
dans le circuit secondaire, s'il était fermé, passeraient
par le point zéro du potentiel électrique et une ordonnée
positive maximum, combinée avec une ordonnée négative
maximum suivante, formerait une onde entière. Or dans le condensateur
cette onde ne produit pas une attraction et une répulsion, mais
deux attractions de plaques, donc deux ondes complètes ; en d'autres
mots, la vitesse de toutes les vibrations est
doublée par le condensateur et tous les sons nous reviennent
d'un condensateur une octave plus haut qu'ils ne sont chantés
dans le transmetteur; il peut donc bien reproduire des mélodies,
mais non des sons articulés pour lesquels certains sons harmoniques
sont caractéristiques.
Le son harmonique caractéristique de la voyelle A est le si2'
et de la voyelle 0 le si3' , c'est-à-dire que ces sons dominent
en force parmi les sons harmoniques.
Or si l'on chante un o dans le récepteur, le condensateur non
polarisé élève le son harmonique d'une octave,
le si2' se transforme en si3' et on entend un a; le mot obrocodobro*
nous revient dans sa forme usuelle ^abracadabra.".
Si l'on intercale une pile clans le circuit du condensateur, ce dernier
est continuellement chargé ou polarisé, la série
paire des plaques est continuellement positive, la série impaire
négative et les vibrations électriques ne peuvent plus
changer le signe, mais seulement le degré de la charge; les ondes
ont donc dans le condensateur la même durée que dans le
transmetteur et l'articulation devient possible. Graphiquement on peut
se faire une idée de ce phénomène en dessinant
la sinusoïde d'un son simple. Le potentiel zéro est alors
indiqué par la ligne horizontale et une onde entière est
en partie au-dessus, en partie audessous de l'horizontale. La partie
au-dessus forme déjà dans le condensateur polarisé
une onde entière,
car quand la sinusoïde passe le potentiel zéro le condensateur
est déchargé. La partie au-dessous de la ligne horizontale
produit tout- à-fait le même effet que la partie supérieure,
avec cette seule différence que les plaques se chargent en sens
contraire. Si l'on polarise le condensateur, l'horizontale, c'est-à-dire
le potentiel zéro, se trouve à une certaine distance audessous
de la sinusoïde et les oscillations ne peuvent plus se doubler.
Les principes du condensateur chantant peuvent être appliqués
aux téléphones récepteurs.
Le téléphone sans aimant correspond au condensateur non
polarisé, l'aimantation du noyau en fer doux produit le même
effet que l'intercalation d'une pile dans le circuit du condensateur.
En effet, les ondes électriques traversant la bobine d'un téléphone
sans aimant créent des polarités opposées dans
le noyau neutre en fer doux et le nombre des oscillations est ainsi
doublé, tandis que si le noyau en fer doux possède déjà
avant l'utilisation du téléphone une polarité magnétique,
celle-ci ne peut pas être inversée par les ondes électriques,
mais seulement renforcée et affaiblie, et la membrane du récepteur
dédouble ces vibrations.
Avec le microphone comme transmetteur, il s'introduit
dans la reproduction téléphonique un nouveau facteur de
la plus haute importance.
La véritable tâche du microphone est d'introduire dans
un circuit électrique une résistance qui puisse varier
avec les ondes sonores, de sorte qu'il se produit un courant ondulatoire
qui, dans la vitesse des vibrations, l'amplitude et la phase, copie
fidèlement les ondes sonores.
Ce sont principalement les savants anglais qui ont développé
la théorie du microphone; il y a certainement aussi quelques
travaux français et allemands sur ce sujet, mais ils disparaissent
presque complètement devant la multitude d'observations anglaises.
Dans le microphone il ne s'agit plus d'un diaphragme en fer doux qui,
par ses vibrations devant un noyau aimanté, produit des variations
du magnétisme et en conséquence des ondulations électriques
sur la ligne téléphonique ; c'est un contact instable
qui, d'après l'appréciation la plus généralement
admise, présente une résistance variable et par ce fait
produit des variations du courant dans le circuit du microphone, et
ces variations du courant correspondent avec les oscillations du diaphragme
contre lequel on parle et agissent directement ou indirectement, par
une bobine d'induction, sur un téléphone récepteur.
Il va sans dire que tout ce qui se rapporte au diaphragme du téléphone
récepteur s'applique aussi à celui du transmetteur ; il
subit naturellement les mêmes influences que le diaphragme du
téléphone. Il a ses vibrations propres ou libres qui gâtent
plus ou moins les vibrations forcées. C'est pour cela que le
bord du diaphragme est entouré d'un ruban en caoutchouc et qu'un
ressort garni de caoutchouc presse sur une partie centrale du diaphragme.
Par ces procédés on parvient à amortir la plus
grande partie des vibrations libres.
C'est probablement aussi la cause pour laquelle le microphone Theiler,
à diaphragme de liège, donne de si bons résultats,
car le liège est très peu élastique et n'a guère
de vibrations libres.
Aussi pour le microphone comme pour le récepteur le diaphragme
n'est-il pas indispensable ; cette constatation a déjà
été faite par l'expérience de M. le Professeur
Hughes avec les trois clous, l'un placé transversalement
sur les deux autres. Le même investigateur a aussi submergé,
dans un vase en verre rempli d'eau, un microphone, se composant de deux
charbons, sans diaphragme. Ce microphone fonctionnait quand on parlait
contre l'eau ou contre la paroi en verre; donc le mouvement mécanique
a lieu dans toutes les directions.
M. Sylvanus P. Thompson a de
même construit des microphones sans diaphragme (voir le dessin
fig. 17 à la page 25 du Journal télégraphique,
vol. XI). Mais il faut pourtant regarder le diaphragme comme très
utile dans le microphone, ne fût-ce que pour empêcher l'humidité
de l'haleine de parvenir jusqu'aux contacts microphoniques.
Le contact variable se fait dans la règle entre deux charbons
ou entre un charbon et un métal. Rarement on se sert de deux
métaux pour établir ce contact et nous croyons que, pour
le service pratique, ce cas ne s'est pas encore présenté,
quoique on ait fait des efforts pour construire des microphones métalliques
comme nous le verrons plus tard. Le contact s'établit entre les
deux corps sous une certaine pression, et cette pression est obtenue
soit par des ressorts soit par le poids propre des corps ou par les
deux moyens agissant simultanément. La pression est à
régler d'après le caractère des ondes sonores qui
agissent sur le contact. Pour la voix d'un homme il faut par exemple
une pression plus forte que pour celle d'un enfant ou d'une femme ou
pour des ondes encore plus faibles.
La résistance du contact variable a été étudiée
par différents savants, surtout par MM. Shelford Bidwell et
Boekmann.
On sait depuis longtemps qu'au point de contact de deux conducteurs
il se produit une certaine résistance qu'on peut diminuer en
augmentant la pression. C'est de cette connaissance générale
que l'on avait conclu à la nécessité de serrer
les fils conducteurs dans leurs bornes pour assurer un bon contact et
d'établir ce contact, partout où faire se peut, par soudure,
car aucun contact, sauf ce dernier, n'est absolument sûr; mais
la grande variation des contacts n'est cependant connue que depuis l'invention
du microphone par M. Hughes. Depuis lors on sait qu'il y a décidément
deux espèces de contacts, le contact effectif et le contact microphonique.
On distingue aussi le premier comme l'état passif et le second
comme l'état actif du contact. Dans la pratique, ce dernier se
rencontre beaucoup plus souvent qu'on ne le croit; une borne dévissée,
une ligature non soudée, un contact par friction se transforment
très facilement en contact microphonique, c'est-à-dire
incertain et variable. Si l'on examine bien les choses, on découvre
finalement le microphone partout où il y a un contact incertain.
On peut même parler contre une chaînette en or d'une montre
et reproduire ainsi la parole téléphoniquement.
Sous ce rapport et encore sous d'autres, ce phénmène microphonique
nous présente toujours de nouvelles énigmes au fur et
à mesure qu'on l'étudié davantage. Si par exemple
on réunit deux charbons par une substance collante qui ne les
touche que par la circonférence, de sorte que les surfaces qui
se touchent soient nettes mais ne puissent pas changer leur position
réciproque, et si l'un des deux charbons est fixé contre
un diaphragme, on peut transmettre, et pourtant on ne peut nulle part
reconnaître une raison pour la variation de la pression si l'on
ne veut pas admettre que la masse entière des charbons se mette
en mouvement, se grossisse et s'amincisse avec le choc des ondes sonores.
M. S. Bidwell, en cherchant à déterminer la résistance
des charbons, a expérimenté avec deux cylindres de charbon
de cornue de 6 mm de diamètre, l'un était fixé
au bout du fléau d'une balance délicate et touchait l'autre
qui était fixe, les deux formant la croix. Par cet arrangement
il était possible: 1° de régler à volonté
la pression entre les deux charbons, et 2° de rendre le moment d'inertie
indépendant de la pression.
Les expériences ont été variées pour porter
autant de lumière que possible sur la question du contact microphonique
; M. Bidwell a d'abord varié la pression entre 0,25 et
50 grammes pour déterminer le rapport entre la pression et la
résistance du contact; il a varié ensuite la force électrootrice,
puis la force du courant. Il a obtenu les résultats suivants:
1° La résistance diminue avec l'augmentation de la pression,
mais on observe les plus grandes variations quand les pressions sont
faibles; ainsi les pressions de 0,25 0,5 1 1,5
2 15 17,5 20 25 50 grammes donnent
respectivement les résistances de 16,10 11,00 8,43
6,70 6,15 2,60 - 2,46 - 2,33 2,16 1,86 ohms
; entre les pressions de 0,25 et de 0,5 grammes la résistance
fléchit donc de 5 ohms, et entre celles de 25 et de 50 grammes
seulement de 0,3 ohms.
2° La résistance du contact variable diminue avec l'augmentation
de la force électro-motrice, mais la variation est plus grande
avec de faibles pressions, et si la pression atteint une certaine force,
la variation devient insignifiante. Pour le courant fourni par 1
2 3 ou 4 éléments Leclanché et la pression
de 0,25 gramme, on obtient les résistances respectives de 11,10
7,20 4,70 et 3,55 ohms, tandis qu'avec une pression de
25 grammes les résistances respectives sont de 1,15 1,05
1,05 1,05 ohms. La diminution de la résistance
dépend donc de la pression et de l'augmentation simultanée
de la force du courant et les deux agissent dans le même sens.
Le second résultat s'obtient aussi d'une autre manière;
on peut maintenir une force électro-motrice constante mais varier
une résistance additionnelle intercalée dans le circuit
du contact variable. Si cette résistance additionnelle est de
10 ou 1000 ohms, on obtient avec 0,5 gramme de pression les résistances
variables de 6,9, respectivement de 9,7 ohms, mais avec la pression
de 25 grammes la résistance est de 1,03 ohms dans les deux cas.
Des résultats analogues s'obtiennent si l'on maintient la force
du courant en variant la pression; la résistance diminue avec
l'augmentation de la pression, indépendamment de la force du
courant, mais tandis que pour des pressions faibles les variations de
résistance sont très considérables, la différence
est insignifiante pour de fortes pressions. Ainsi, si la pression est
de 0,05 gramme et les forces de courant 0,1 et 0,001 ampère,
les résistances respectives sont de 11,02 et de 68 ohms; pour
une pression de 25 grammes et les mêmes courants ces résistances
deviennent 1,67 et 1,75 ohms, c'est-à-dire sensiblement égales.
Le contact entre deux charbons retourne à peu près à
la résistance primitive si l'on revient à la pression
précédente; si, par exemple, la résistance était
de 20 ohms à 0,5 gramme de pression et de 14 ohms à 3
grammes de pression, elle revient à 20 ohms quand on rétablit
la première résistance de 0,5 gramme. On remarque pourtant,
en faisant une grande série de ces expériences, que la
résistance finale est légèrement plus éle.vée
que la résistance primitive et ne retourne que très lentement
à cette dernière valeur.
L'effet de réchauffement du contact est singulier.
On sait que la résistance du charbon diminue avec l'élévation
de la température, et par analogie on pourrait supposer la même
chose pour la résistance du contact entre deux charbons. C'est
le contraire qui est démontré par l'expérience,
pourtant l'augmentation de la résistance est faible, l'expérience
incertaine, irrégulière et non concluante.
Un autre fait curieux se présente si l'on fait passer des courants
relativement forts à travers le contact la résistance
devient alors tout d'un coup très grande ou infinie. Pour produire
ce phénomène il faut des courants d'autant plus intenses
que la pression d'un charbon sur l'autre est plus forte. Pour des pressions
de 0,05 0,1 0,5 1 2 5 grammes les
courants les plus faibles qui font sauter la résistance du contact
à l'infini, sont respectivement 0,02 0,05 0,37
0,40 0,47 0,63 ampères; avant que le saut
se produise on voit briller, entre les deux charbons,
une petite étincelle. Quand une fois la résistance est
infinie, il ne sert à rien de couper et de rétablir le
courant, mais parfois un courant beaucoup plus faible peut réduire
cette résistance infinie à quelques centaines d'ohms ou
à une valeur encore plus basse.
Par plus d'un raisonnement on parvient à conclure que des contacts
métalliques pourraient fournir de meilleurs microphones que les
contacts entre charbons, mais dans la pratique on rencontre des difficultés
imprévues. Si déjà le contact entre charbons est
irrégulier, de sorte qu'il ne soit possible de trouver une certaine
règle qu'avec un grand nombre d'expériences, l'irrégularité
augmente encore beaucoup si l'on travaille avec des contacts entre métaux.
M. Bidwell a expérimenté surtout avec le bismuth, un choix
qui n'était pas des plus heureux, un peu aussi avec le cuivre
et le platine. Comparé avec le contact entre charbons il a remarqué
plusieurs anomalies. D'abord la résistance augmente rapidement
si le courant diminue, ensuite la résistance primitive ne reparaît
plus si l'on retourne au courant primitif. La résistance était
par exemple de 8 ohms avec un courant de 0,01 ampère et de 1,27
ohm avec un courant de 0,5 ampère, mais en retournant vers 0,1
ampère on n'obtenait plus 8, mais seulement 1,22 ohm. On peut
dire qu'en général, une fois la résistance abaissée
par un fort courant, de faibles courants ne peuvent plus rétablir
l'ancien état de choses.
Les expériences les plus étendues concernant l'adhérence
des métaux ont été exécutées par
M. Stroh.
Il a constaté que les métaux adhéraient toujours
plus ou moins au point de contact et que surtout l'acier est susceptible
de cette adhérence. L'adhérence dépend en outre
des surfaces qui se touchent. Elle est faible quand ces surfaces sont
plates et permettent des contacts multiples; de l'autre côté
elle atteint son maximum si deux arêtes aiguës se touchent
en croix. Une comparaison de différents métaux donne les
rapports suivants de la force d'adhésion:
L'adhérence augmente donc, en général, avec la
résistance électrique des métaux; pourtant le fer
et l'acier font une exception remarquable à cette règle
et cela s'explique peut-être par leur soudabilité. Lorsqu'une
fois deux pièces de métal adhèrent l'une à
l'autre, il est égal que le courant continue ou soit interrompu,
mais souvent on peut détacher les deux pièces en faisant
passer des courants plus forts. On a, sans doute dans ces phénomènes,
affaire avec réchauffement des métaux et la fusion consécutive.
M. Stroh n'est pas parvenu à faire un bon microphone métallique
parce qu'il s'est arrêté au contact simple, quoique on
puisse conclure de ses propres expériences que, pour ce genre
de microphones, il faut opérer avec une multitude de contacts
pour éviter la fusion et la soudure.
La construction de microphones métalliques rencontre encore d'autres
difficultés , car plus les corps qui forment le contact microphonique
sont bons conducteurs, moins grandes doivent être les variations
de distance entre eux ; ainsi les microphones à charbon permettent
une beaucoup plus grande variation que ceux dont les surfaces de contact
sont métalliques.
Malgré cette faible variation de la distance on peut obtenir
les plus grandes variations de résistance avec des contacts métalliques
; avec le cuivre ou l'argent, par exemple, la résistance peut
varier entre 1 ohm et plusieurs milliers d'ohms sans que le circuit
soit véritablement interrompu.
M. Munro, dans le but d'éviter les brevets déjà
existants, s'est donné beaucoup de peine pour construire des
microphones métalliques utilisables. Il s'est servi de deux gazes
fines en fil de fer qui se touchent en nombreux points et sont légèrement
pressées l'une contre l'autre ; au lieu d'une pression par ressorts
l'inventeur a aussi plus ou moins approché un aimant qui, par
son attraction, a réglé la pression. Ce microphone n'a
pas besoin d'un diaphragme, on peut parler directement contre les gazes.
M. Thompson a aussi reconnu que les transmetteurs métalliques,
surtout ceux de M. Auders , donnent de bons 'résultats
; le son est relativement fort, l'articulation très distincte,
quoiqu'un peu dure et métallique.
Lui aussi trouve qu'on a à combattre ces deux difficultés
de la fusion des métaux et de la petite variation de la distance.
On remarque en général que par ce genre de microphones
les voix féminines et enfantines se reproduisent le mieux.
Pour en finir avec le microphone métallique mentionnons encore
que ce transmetteur est plus ancien que celui à charbon; le transmetteur
de Reis était déjà métallique et MM. Blake,
Theiler et Warwick en ont également construit de métalliques.
Pour en revenir aux recherches de M. Bidwell nous avons encore à
mentionner celles de M. Boekmann qui complètent utilement
celles du premier de ces investigateurs. M. Boekmann a cherché
à comparer la résistance du contact entre deux charbons
en repos à celle qu'ils présentent quand ils sont en mouvement,
sous la condition que l'intensité du courant ne varie pas. Il
a en outre cherché à, trouver des réponses à
d'autres questions en rapport avec cette résistance. Quant à
la pression et aux autres conditions des expériences, il cherchait
à copier ce qui se passe dans un microphone.
Les surfaces de contact ont dû être soigneusement polies,
car sans cette précaution les résultats étaient
trop irréguliers et la résistance ne retournait guère
à sa valeur primitive. Les mesures de M. Boekmann diffèrent
de celles de M. Bidwell en ce que le premier a mesuré
la résistance quand l'un des charbons vibrait sous l'action d'un
diapason. L'opérateur avait à sa disposition trois diapasons,
donnant respectivement 1' Ut1 l'Ut et l'ut .
Dans ces conditions la résistance était une valeur moyenne
se composant d'une résistance plus petite et d'une autre plus
grande. Il résulte des expériences faites que la résistance
moyenne est plus faible pendant la vibration que pendant le repos, que
la différence est plus grande si la pression initiale est faible
et qu'après la vibration la résistance initiale se rétablit.
La résistance augmente si le son s'affaiblit, mais elle est indépendante
de sa hauteur; finalement M. Boekmann a constaté que la résistance
du contact diminue à peu près dans la proportion des carrés
de
la pression et de la force du courant.
En tirant des conclusions des expériences de MM. Shelford Bidwell
et Boekmann sur la résistance des contacts microphoniques, on
arrive aux règles suivantes :
1° Une multiplicité de contacts dans un microphone paraît
préférable à un seul contact.
2° Le contact multiple d'un microphone devrait être arrangé
en arc multiple et non pas en série, parce que dans le premier
cas le courant se divise entre les différents contacts et chaque
contact est traversé par un courant relativement faible. Or les
variations de la résistance sont relativement plus grandes avec
de faibles courants qu'avec des courants forts.
3° Le charbon mobile devrait être lourd pour avoir un grand
moment d'inertie mais en même temps la pression devrait être
faible, parce qu'avec une grande inertie du charbon mobile on obtiendra
le maximum de variation dans la pression et les variations de résistance
seront les plus fortes quand la pression initiale sera faible.
4° La résistance du système microphonique devrait
être faible, car plus elle est faible plus grandes sont les variations
par rapport à la résistance initiale.
5° Le courant passant, le contact microphonique devrait être
aussi fort que les circonstances le permettent.
Plus on étudie le contact microphonique, plus
il devient énigmatique, et on sait que quand unej chose n'est
pas bien claire on veut remplacer l'incertitude par des théories
plus ou moins hardies et plus il y a d'obscurité plus il naîtra
de théories différentes ; c'est aussi le cas pour le microphone.
Les uns croient que l'action microphonique est simplement un effet de
pression mécanique, pour d'autres la chaleur joue un rôle
prépondérant et d'autres encore confondent l'action microphonique
avec l'arc voltaïque, M. Hughes, le vrai inventeur de cet appareil
admirable et l'un des expérimentateurs les plus compétents
en cette matière, n'a aucune opinion fixe sur le phénomène,
mais il est de l'avis que la théorie de l'arc a beaucoup en sa
faveur.
Le bruit bourdonnant qu'on entend souvent dans un microphone a une ressemblance
remarquable avec le bruit d'une lampe à arc, avec la seule différence
que ce dernier est beaucoup plus fort, à cause de la différence
des courants employés dans les deux cas. S'il est difficile de
parler en se servant d'un arc comme microphone, la raison est à
chercher seulement dans la force du bruit bourdonnant qui couvre la
voix.
Nous résumons d'abord tous les phénomènes et raisonnements
qui sont en faveur de la théorie de l'arc et par lesquels il
est plus ou moins constaté que le contact microphonique n'est
pas un contact mais une interruption. Le contact microphonique est en
quelque sorte l'opposé du contact réel. Il résulte
des expériences de M. Bidwell que seulement les très faibles
pressions conviennent pour le phénomène microphonique,
tandis que les fortes pressions qui seules établissent un contact
réel, sont impropres pour la reproduction de la parole.
Les gaz qui entourent les charbons jouent aussi un grand rôle
dans l'espacement des surfaces. Le charbon condense les gaz sur sa surface;
il est même probable que certains gaz qui se liquéfient
facilement couvrent les charbons à l'état liquide et que
les gaz condensés empêchent le contact direct. En admettant
que les charbons ne se touchent pas directement et que l'air joue le
rôle d'une résistance variable, il est évident que
la qualité du gaz qui s'interpose entre les charbons ne peut
pas être sans influence sur le phénomène microphonique.
Les gaz se condensent sur les surfaces
les uns plus que les autres, par exemple les vapeurs d'eau dans l'air
plus que l'air sec; il en résulte donc que l'état de l'atmosphère
doit avoir une influence sur les reproductions microphoniques. Quand
l'air est humide, le contact doit nécessairement présenter
moins de résistance que quand l'air est sec, et il est très
probable qu'on peut de cette manière expliquer certaines variations
dans le service téléphonique suivant l'état de
l'atmosphère. Une preuve directe du rôle des gaz peut être
trouvée dans le phénomène de Leidenfrost. On sait
que la goutte d'eau à l'état sphéroïdal est
séparée du métal incandescent par une mince couche
de gaz. Or on peut téléphoner à travers cette couche
en se servant de la goutte d'eau et du métal en guise de charbons
microphoniques.
Outre la condensation des gaz, on a aussi recours à la théorie
moléculaire pour soutenir la supposition de l'espacement des
surfaces. Les molécules qui se meuvent d'une surface à
l'autre servent comme conducteurs d'électricité. Quand
on peut produire ce jeu des molécules entre deux surfaces ou
la répulsion d'une surface à l'autre (par exemple dans
le phénomène de Leidenfrost), ou quand les électrodes
sont chauffées (arc), ou quand les molécules se détachent
facilement, etc., un chemin pour l'électricité s'établit
à travers l'air, qui a une résistance relativement faible.
Bien que chaque molécule ne transporte qu'une décharge
instantanée, il se produit pourtant un courant continu à
cause du nombre excessivement grand de molécules en mouvement.
Toutes les molécules d'un corps qui n'est pas tombé au
zéro absolu de température ( 273° C.) sont
en mouvement et leurs oscillations augmentent en amplitude avec l'augmentation
de la température; il y a donc entre deux surfaces microphoniques
en contact variable un véritable bombardement de molécules.
M. Thompson a soutenu avec succès cette théorie moléculaire
devant la Société des ingénieurs électriciens
à Londres. Il est de l'avis que les molécules des deux
conducteurs qui se touchent jouent un grand rôle dans l'effet
microphonique. Une pointe d'aiguille touchant une surface de charbon
peut déjà faire un bon microphone, car à la pointe
la plus fine un très grand nombre de molécules entrent
en contact avec les molécules du corps opposé. La variation
de la pression a pour effet de faire varier le nombre des molécules
dans des limites très écartées, et la moindre différence
dans la pression change la position d'un grand nombre de molécules
et par conséquent la résistance totale du contact.
Les expériences de M. Shelford et celles d'autres savants comme
M. Stroh, aboutissent aussi à la théorie de l'arc. Ce
dernier se forme d'un côté avec le plus faible courant,
et vice-versa on peut téléphoner en se servant d'une lampe
électrique à arc comme microphone. Le saut d'une résistance
relativement faible du contact à la résistance infinie
est une autre preuve de l'arc.
M. Stroh a, par un arrangement ingénieux, constaté que
les deux charbons du microphone se séparent quand un courant
les traverse et quand ils remplissent les conditions nécessaires
pour la reproduction de la parole.
Au charbon mobile était fixé un miroir concave très
léger qui rejetait un rayon de lumière sur un écran
distant de six mètres. Au moment où l'on fermait le circuit
microphonique, le point lumineux se déplaçait légèrement,
montrant que les deux charbons s'étaient séparés
dans leur point de contact. La distance de séparation n'était
certainement pas grande; d'après la longueur des deux leviers
et le mouvement du point lumineux, M. Stroh l'a calculée à
1/2000 d'un millimètre.
Aussi longtemps que le microphone était en bonnes conditions
pour la reproduction de la parole, la défection se maintenait;
mais si la reproduction manquait, le point de lumière retournait
en même temps à son point de départ. Par cette expérience
il est prouvé, qu'au moment de l'entrée en fonction d'un
microphone, les deux charbons se séparent. Une autre expérience
de M. Stroh démontre, d'une autre manière, le rapport
intime entre le contact microphonique et l'arc.
Il a observé le contact au moyen d'un microscope.
Quand la pression était très faible il se formait, en
fermant le circuit, une étincelle extrêmement petite, puis
une seconde, une troisième et avec chaque étincelle le
contact entre les charbons devenait de plus en plus intime. Le microphone
ne commençait à fonctionner régulièrement
que quand il ne se produisait plus d'étincelles. En augmentant
la force du courant, les étincelles revenaient et ne pouvaient
être supprimées quen par l'augmentation de la pression,
avec le résultat final que le courant ne passait plus. En augmentant
encore la pression, l'étincelle et le contact microphonique devenaient
intermittents, et dans le téléphone on entendait le bruit
bien connu de friture qui annonce un microphone déréglé.
Dans d'autres circonstances, il a observé de véritables
vibrations du charbon mobile, quelquefois lentes, d'autres fois si rapides
qu'il pouvait plutôt les deviner que les voir directement. Ces
vibrations donnent toujours aux reproductions un timbre étrange
et peuvent quelquefois se montrer même dans un microphone bien
réglé.
M. le Professeur Ayrton est aussi de l'avis que les deux conducteurs
d'un microphone ne se touchent pas pendant la fonction, et il croit
que le soi-disant contact se compose d'un nombre excessivement grand
de petits arcs, d'où il résulterait que le contact microphonique
et l'arc voltaïque sont sensiblement la même chose puisqu'ils
suivent les mêmes lois. En tirant les conséquences de ces
expériences, il conteste même qu'on puisse nommer résistance
l'obstacle qui, dans le microphone, s'oppose au passage du courant.
D'après lui, la résistance est une valeur invariable indépendante
de la force du courant, et en ceci il est évidemment en contradiction
avec les expériences de M. Bidwell, qui a prouvé que la
soi-disant résistance microphonique est une fonction de la pression
et de la force du courant et ne répond donc pas à la définition
ordinaire de la
résistance électrique.
Il y a encore d'autres ressemblances entre l'arc lumineux et le contact
microphonique. Quand on ferme le circuit microphonique on entend d'abord
un clic, ensuite un bruit de friture, et finalement on peut reproduire
la parole. L'arc lumineux présente à peu près les
mêmes phénomènes, seulement sur une plus grande
échelle. Par contre il y a cette différence entre l'arc
d'un foyer électrique et l'arc du microphone, que ce dernier
consiste en décharges électriques sans bruit et souvent
sans lumière. Ce sont des décharges silencieuses qui ressemblent
à celles d'une pointe de paratonnerre.
Contre la théorie de l'arc, on peut objecter qu'elle présume
que l'air soit un conducteur de l'électricité, si la distance
est infiniment petite. Or cette conductibilité est encore à
prouver.
Il y a encore une question fort intéressante qui s'attache à
la discussion de l'arc. L'interruption du contact n'implique pas une
interruption du circuit, le contact microphonique est au contraire un
état intermédiaire entre un véritable contact et
une rupture complète. Mais qu'arrive-t-il si la rupture a lieu
? Tout le monde connaît le bruit sec qui se produit dans le téléphone
quand on parle trop fort ou quand le microphone est réglé
trop délicatement. Ce bruit provient d'une interruption complète
et momentanée du circuit microphonique. A cause de l'induction
propre, il se produit même entre les deux charbons une petite
étincelle. M. Sylvanus P. Thompson est de l'avis que les interruptions
complètes du circuit microphonique n'auraient aucun effet nuisible
dans le téléphone si l'on supprimait d'une manière
ou d'une autre le courant extra et l'étincelle qui l'accompagne,
au moment de l'interruption. Les microphones de M. Freeman et
de la Société générale
des téléphones, ont dans leurs bobines d'induction
des arrangements par lesquels ces courants extra sont supprimés.
M. Thompson a aussi indiqué une méthode pour supprimer
l'étincelle quand le contact dans le microphone est complètement
interrompu. Il bifurque le circuit primaire de telle façon qu'une
branche passe par le microphone et l'autre par une résistance
équivalant à la résistance moyenne du microphone.
Alors quand il y a rupture complète dans le microphone le circuit
primaire n'est pourtant pas interrompu; il n'y a pas d'étincelles,
et on prétend que, même contre un Blake pareillement
monté, on peut parler de la voix la plus forte sans produire
des craquements.
M. de Locht-Labye maintient aussi la possibilité de pouvoir
reproduire la parole au moyen de courants qui ne sont pas ondulatoires,
mais interrompus, et qui varient donc de zéro jusqu'à
une valeur I, donnée par la construction du microphone et la
force des impulsions qui agissent sur le diaphragme. M. de Locht-Labye
est de l'avis que l'exactitude de cette manière de voir est constatée
par l'appareil de son invention qu'il a appelé téléphone
à marteau. Mentionnons encore que le microphone de Reis travaille
aussi avec des courants interrompus, et que la raison pour laquelle
Reis n'est pas parvenu à reproduire la parole doit être
cherchée dans le manque d'un récepteur convenable.
Il est toutefois à constater, que la reproduction pratique de
la parole se passe de véritables interruptions du courant.
Occupons-nous maintenant de réchauffement du contact microphonique.
C'est de nouveau M. Stroh qui nous guide dans ces investigations.
Il a rendu le contact microphonique perceptible à l'il,
en même temps qu'à l'ouïe, en employant un microscope
pour le regarder. Quand les deux charbons ne se touchent qu'en quelques
points, la résistance et en conséquence réchauffement
est si fort que les points brûïtnt, les charbons s'approchent,
d'autres points entrent en état d'ignition, et c'est seulement
quand le nombre des points se touchant est si grand que la chaleur n'est
plus suffisante pour les brûler quele contact possède les
qualités caractéristiques du contact microphonique. Si
le contact s'opère entre deux surfaces en platine qui sont immergées
dans une goutte d'huile, on peut observer dans l'huile un mouvement
rotatoire qui est très prononcé aussitôt qu'on ferme
le courant microphonique. Si l'huile est souillée par quelques
particules de charbon, ces petits points noirs montrent encore mieux
l'état d'ébulition à l'intérieur de la goutte;
les points noirs volent d'une surface à l'autre comme des boules
de moelle de sureau entre deux plaques chargées d'électricité
opposée.
M. Preece soutient avec verve la théorie calorique.
Dans tous les cas où le courant franchit une résistance,
il se développe de la chaleur qui est dans la proportion de la
résistance. Si cette dernière est grande et le courant
suffisamment puissant, la chaleur augmente à un tel degré
qu'il se produit de la lumière.
La résistance change aussi avec la température, dans un
sens comme dans l'autre, et cette variation suffit pour expliquer les
courants ondulatoires.
Il résulte de ces observations et conclusions que l'élévation
de la température qui s'opère aux surfaces de contact
joue un rôle dans l'effet microphonique, mais il nous semble que
chercher la totalité de cet effet dans les variations de la température
serait aller beaucoup trop loin. D'après tout ce que nous avons
dit et mentionné, on ne peut guère maintenir l'idée
d'une variation quelconque à l'intérieur des charbons.
Il faut plutôt chercher la totalité de cette variation
dans les surfaces. Contre la théorie calorique, on peut encore
invoquer la circonstance que les microphones métalliques donnent
le même effet que les microphones à charbon et que la variation
de la température ne peut probablement pas s'opérer avec
la rapidité nécessaire.
Pour certains microphones, une augmentation de la température
a une influence marquée en faveur d'une bonne reproduction. C'est
surtout le cas pour les microphones Hennings et Ochorowicz.
Le microphone peut être inversé; on peut en effet se servir
d'un microphone comme récepteur, mais on n'a pas encore réussi
à expliquer cette inversion. M. Hughes est de l'avis que la vibration
du diaphragme est une conséquence des variations de la température
au point de contact, et que l'expansion et le rétrécissement
de la matière produit des chocs contre le diaphragme, à
la suite desquels ce dernier entre en vibrations.
M. Aaron a prouvé par le calcul que dans le microphone la modification
de la phase est d'autant plus grande que le son est plus haut et que
le microphone baisse le timbre du son. Or, puisque dans le téléphone
récepteur le timbre du son est élevé, il est possible
de trouver une combinaison du microphone avec le téléphone
où la transmission électrique du son ne subit aucune transformation
du timbre. Mais quoique, en langage mathématique, on puisse exactement
indiquer les conditions dans lesquelles les deux effets se neutralisent
réciproquement, il sera probablement difficile de reproduire
ces conditions dans la pratique. En tout cas le microphone a toujours
pour effet de corriger à un plus ou moins haut degré l'altération
du timbre qui se produit dans le téléphone, et il est
aussi sous ce rapport un complément non pas indispensable, mais
fort utile, du téléphone.
Les opinions sont encore partagées sur l'étendue des variations
de la résistance dans le microphone produite par la parole, mais
quelle qu'elle soit, elle est insuffisante aussitôt que la résistance
initiale du circuit téléphonique est grande ; c'est pour
cela que la bobine d'induction s'intercale comme un accessoire
presque indispensable entre le microphone et le téléphone
récepteur.
Le circuit microphonique devient, par ce fait, très court et
de peu de résistance; les courants microphoniques sont forts
quoique d'une faible énergie potentielle, tandis que les courants
induits qui agissent sur le récepteur ont une grande force électro-motrice,
quoique l'intensité du courant soit faible à cause de
la résistance relativement grande du circuit. Il y a encore d'autres
différences entre les deux courants. Le courant dans le circuit
microphonique ne change jamais de direction mais seulement d'intensité,
tandis que les courants dans le circuit du récepteur sont inversés,
et par ce fait actionnent le diaphragme du récepteur plus énergiquement.
Quand le courant positif du microphone s'accroît, celui du récepteur
est négatif, et si le premier-diminue le second devient positif.
sommaire
Compléménts sur la
théorie du téléphone "polémique engagée
entre M. du Moncel et MM. Navez"
Dans le "Journal télégraphique"
du 25 juillet 1878, une rubrique est ouverte sur la théorie
du téléphone :
Lettre de M. du Moncel; expériences ayant pour objet la théorie
du téléphone, par MM. Navez; note sur un système
de téléphone sans organes électro-magnétiques,
basé sur le principe du microphone, par M. du Moncel.
Au sujet de la polémique engagée entre M. du Moncel et
MM. Navez sur la théorie du téléphone, nous avons
reçu, presque simultanément, d'une part, une réponse
de M. du Moncel aux observations de MM. Navez publiées dans notre
dernier Numéro et, de l'autre, communication d'une Note à
l'Académie royale de Belgique où MM. Navez rendent compte
d'une série d'expériences dont les résultats leur
paraissent confirmer leur manière
de voir. Nous publions ces deux communications et nous les complétons,
en reproduisant aussi la Note à l'Académie des sciences
de Paris à laquelle se réfère la lettre de M. du
Moncel.
Voici, d'abord, la lettre de M. du Moncel.
Monsieur,
Malgré ma répugnance à entretenir une discussion
qui ne peut rien apprendre au lecteur, il me semble difficile que je
laisse passer sans réplique la dernière Note de M. Navez,
car il commet à l'égard des passages de mon travail qu'il
cite et qu'il tronque, des confusions inexplicables.
Sans parler de nouveau de la possibilité de reproduire la parole
dans les téléphones dépourvus de lame vibrante,
fait aujourd'hui parfaitement admis par ceux qui se sont occupés
sérieusement de la question et qui ont une oreille délicate
(voir les mémoires de MM. Warwick, Rossetti et Luvini), je dirai
simplement que du moment où M. Navez admet qu'une tige électro-magnétique
peut émettre des sons par elle-même, il doit bien admettre
qu'elle puisse reproduire des sons articulés, puisque, en définitive,
la reproduction de ces sons ne dépend uniquement que des variations
d7intensité du courant déterminées par le transmetteur.
Que les vibrations provoquées soient transversales ou longitudinales,
qu'elles soient le résultat de contractions ou de dilatations
moléculaires, comme M. de la Rive, M. Luvini et moi le pensons,
peu importe ; du moment où le transmetteur sera dans des conditions
convenables, les vibrations produites pourront reproduire plus ou moins
nettement la parole, suivant l'intensité des courants transmis.
Mais ce qui a lieu de m'étonner dans la réponse de M.
N'avez, c'est que l'explication qu'il donne de la plus grande efficacité
des courants induits dans les transmissions téléphoniques,
est précisément rapportée dans le passage de mon
mémoire qu'il cite, mais qu'il a tronqué précisément
à cet endroit. Yoici, en effet, comment ce passage se termine
:
« leur action sur le récepteur ne dépend uniquement
que de leur intensité ; ils se prêtent, en conséquence,
beaucoup mieux aux vibrations phonétiques que les courants voltaïques,
et cela d'autant mieux que les courants inverses qui suivent leur émission
déchargent la ligne et contribuent encore à rendre leur
action plus nette « et plus prompte. »
M. Navez épilogue sur le mot instantané que j'ai appliqué
aux courants induits: mais il doit savoir que c'est un mot souvent employé
pour montrer la courte durée de ces courants, et il ne peut admettre
raisonnablement que j'aie pu lui attribuer la signification qu'il lui
prête, puisqu'en définitive la durée de ces courants
a pu être mesurée. M. Navez n'a donc soulevé en
ceci qu'une discussion de mots.
Mais il ne s'agit plus aujourd'hui d'une discussion d'effets magnétiques
; la science a marché depuis que M. Navez a ouvert la discussion
et nous lui demanderons maintenant comment avec sa théorie des
mouvements attractifs du diaphragme des téléphones il
peut expliquer la reproduction de la parole par un microphone récepteur
dépourvu de tout organe électro-magnétique et je
puis lui certifier que dans les expériences que j'ai faites et
qui sont relatées dans le mémoire que j'ai présenté
à l'Académie le 1er Juillet, la transmission des vibrations
ne pouvait se faire mécaniquement, car quand le circuit était
coupé ou la pile retirée du circuit, aucun son n'était
entendu. il faut décidément que M. Navez compte avec les
vibrations moléculaires. Certainement c'est un
terrain nouveau à étudier ; mais c'est parce que nous
nous acharnons en Europe à vouloir rester dans les limites de
théories incomplètes, que nous avons laissé aux
Américains qui ne s'en inquiètent guère la gloire
de faire les grandes découvertes qui nous étonnent depuis
quelques mois. Que M. Navez lise avec soin les notes de MM. Luvini et
Des Portes, les mémoires de MM. Rossetti et Warwick et je suis
sûr que ses idées se modifieront.
Dans tous les cas je ne pense pas pousser plus loin une discussion qui
ne peut être utile à personne et qui n'a réellement
pas eu sa raison d'être.
Je vous prie d'agréer, Monsieur le Directeur, l'expression de
mes meilleurs sentiments.
TH. DU MONCEL.
Voici maintenant la communication de MM. Navéz.
Expériences ayant pour objet la théorie du téléphone
( La Commission académique chargée d'examiner les différentes
notes concernant le téléphone présentées
par MM. Navez, était composée comme suit: MM. Brialmont,
lieutenant- Général, Inspecteur général
du génie; Vander-Mensbrugghe, de l'Université de Gand
et Melsens, examinateur permanent à l'école militaire,
professeur de chimie et de physique).
Pour éviter toute équivoque il convient dé poser
d'abord la question. M. du Moncel s'est chargé de ce soin. «
Du moment, dit-il, qu'il y a un son émis, il est bien certain
qu'il y a vibration. M. Navez la croit transversale et circonscrite
sur la lame, parce qu'il suppose qu'elle résulte de l'attraction;
moi, je la considère comme longitudinale et ayant son siège
dans le noyau magnétique et la lame-armature, interprétant
d'ailleurs le mot de vibration longitudinale dans le sens que lui a
attribué M. de la Rive. »
L'expression « circonscrite sur la lame » est trop absolue.
Il est bien certain que le noyau vibre, et que, dans des circonstances
favorables, ces vibrations peuvent produire des sons sensibles à
l'oreille. Mais, suivant nous, ce sont les vibrations transversales
de la plaque qui, dans le téléphone Bell, reproduisent
seules la parole articulée avec une intensité suffisante
pour être utile. Ajoutons, pour mieux préciser, que si
le noyau pouvait agir par attraction, sans vibrer, la parole reproduite
y gagnerait.
Ainsi amendée, nous acceptons la rédaction de notre savant
contradicteur. Nous acceptons aussi le sens qu'il attribue aux expressions
« vibration transversale, vibration longitudinale, » en
faisant remarquer toutefois que l'expression « vibration longitudinale
» doit toujours être supposée complétée
par le mot moléculaire.
Pour mettre de l'ordre dans l'exposition des expériences 4 dont
nous allons rendre compte, nous ferons précéder chaque
essai ou groupe d'essais, de l'énoncé de la proposition
dont ils fournissent la preuve.
Première proposition.
Le téléphone Bell, tel qu'il est généralement
construit et employé, ne fournit qu'une reproduction extrêmement
faible des sons, même très-intenses, émis dans l'envoyeur,
lorsque le récepteur fonctionne sans plaque .
L'administration des postes et télégraphes de Belgique
suit attentivement les progrès que réalise si rapidement
la nouvelle branche de science appliquée dont il est ici question.
MM. Delarge, ingénieur en chef, et Banneux, ingénieur,
appartenant à cette administration, se sont occupés spécialement
de ces études. Les connaissances théoriques et pratiques
que possèdent ces ingénieurs et leur aptitude physiologique
à saisir les
sons, résultant d'une éducation complète de l'oreille,
ne peuvent être mises en doute. Des expériences faites
par eux doivent donc inspirer une grande confiance. Les essais concernant
la première proposition ont été exécutés
sous leur direction et nous y avons assisté en y apportant une
attention soutenue.
Pour opérer, autant que possible, hors de l'action des bruits
de l'extérieur, on avait installé les appareils dans les
vastes souterrains de la gare du Nord. Les deux stations téléphoniques
étaient séparées l'une de l'autre par un espace
dequatre-vingt-dix mètres. L'interposition de trois portes épaisses
et de fortes maçonneries rendait l'audition directe impossible.
Les stations étaient reliées par deux fils de cuivre de
0 mm ,6 de diamètre enfermés dans la même enveloppe
isolante en gqtta-percha. On sait que l'emploi de deux fils qui suivent
des chemins parallèles et rapprochés, neutralise, par
un effet de compensation, certaines influences perturbatrices. Pour
ces expériences la communication avec la terre était donc
contreindiquée.
On fit d'abord usage, comme envoyeur, d'un Bell, grand modèle
avec aimant en fer à cheval, puissant appareil de construction
américaine très-soignée, auquel on adjoignit un
Bell à main, authentique.
Au moyen de cette disposition la parole était reproduite avec
le plus haut degré d'intensité que puissent attendre,
du système Bell, des personnes qui en ont fait un fréquent
usage, et aussi avec une bonne articulation.
La plaque du récepteur ayant été retirée,
aucun son de voix ne put être perçu.
On combina ensuite le téléphone Bell, grand modèle,
avec deux Bell récepteurs réunis, en tension, pour l'audition
biauriculaire. Même résultat.
On ne réussit pas mieux avec deux Bell à main identiques
entre eux.
Deux personnes, ayant des timbres de voix très-différents,
parlèrent successivement dans l'envoyeur sans plus de succès.
Il arriva toujours qu'en retirant la plaque du récepteur, aucun
son de voix ne put être perçu.
Des téléphones de provenances américaine, anglaise
et belge, tous de construction soignée, avaient été
successivement employés.
Les mêmes essais furent exécutés au moyen d'un sifflet
en étaiu donnant un son strident pénible à l'oreille,
On n'entendit rien.
Enfin on fit usage de deux cornets à signaux, à anche.
Le son du premier cornet ne put être perçu.
Le second cornet donnait un son plus aigu que le premier.
Après une audition très-attentive et très-tendue,
il fut reconnu que l'on entendait un son extrêmement faible.
Pendant le courant de ces expériences, on replaçait souvent
la plaque sur le récepteur pour s'assurer que rien n'était
dérangé dans les communications. On s'était aussi
donné la preuve qu'il n'y avait pas de transmission intermoléculaire
par les fils, en réunissant les deux bouts de ceux-ci à
une même borne du récepteur.
Deuxième proposition.
Dans des conditions exceptionnelles de phonation et d'audition téléphoniques,
le son de la voix humaine peut être reproduite par un récepteur
privé de sa plaque ; mais cette reproduction est trop faible
pour que l'on puisse reconnaître s'il y a ou s'il n'y a pas articulation.
Toutes les expériences qui suivent ont été faites
dans la maison que nous habitons, située entre cour et jardin
et, par conséquent, jusqu'à un certain point, soustraite
aux vibrations perturbatrices qui rendent souvent si difficiles les
observations acoustiques délicates.
Pour envoyeur nous avons fait usage de l'Edison à pile de charbon
dont la puissance a encore été augmentée depuis
sa première apparition par l'adoption d'une plaque en ébonite
dont l'épaisseur diminue des bords au centre. Pour récepteurs
deux Bell à main ' dont la plaque a été retirée,
employés ensemble pour l'audition biauriculaire.
L'envoyeur est établi à l'étage ; les récepteurs
fonctionnent au rez-de-chaussée. Pour les communications on a
utilisé lesfils des sonnettes électriques avec toutes
leurs bobines. La résistance extérieure du circuit, aller
et retour, peut être évaluée, approximativement,
à 4 kilomètres de fil télégraphique de 4
millimètres de diamètre.
Cet ensemble permet d'opérer avec une énergie phonique
bien supérieure à celle que l'on obtient de deux Bell
conjugués.
Des huit voyelles admises par Helmholtz , la voyelle ou est celle dont
le son est le plus simple. Quand on soutient ce son à la hauteur
du LA du diapason normal, les effets phoniques sont d'une intensité
remarquable. Le ou prolongé, lancé dans le cornet de notre
envoyeur, est reproduit par les deux Bell déposés sur
un guéridon et munis de leurs plaques, avec assez d'intensité
pour que le son soit perçu de tous les points d'un grand salon.
Les plaques ayant donc été retirées
des récepteurs, il fut procédé aux expériences
qui donnèrent les résultats suivants :
La syllabe ou prolongée est reproduite ; le son perçu
est très-faible.
Le son du diapason est aussi reproduit, mais plus faiblement que le
ou musical.
On a pu entendre aussi la reproduction de la voix parlée et en
saisir le rhythme; mais il a été impossible de comprendre
et de reconnaître s'il y avait ou s'il n'y avait pas articulation.
Troisième proposition.
L'intensité du son reproduit dépend non-seulement de l'amplitude
des vibrations , mais aussi de la surface vibrante.
Mêmes dispositions générales que pour les expériences
précédentes, sauf que l'on n'a fait usage que d'un seul
Bell récepteur, dont la plaque avait été remplacée
par un fil de fer tendu au-dessus de la tranche du noyau. Ce fil, d'une
épaisseur de 0 mm,3, pouvait être considéré
comme un diamètre matériel de la plaque.
Le récepteur, ainsi armé, reproduit la parole très-faiblement,
mais cependant avec plus d'intensité que dans les expériences
précédentes, alors que la plaque n'était remplacée
par rien.
Pour augmenter la surface vibrante sans modifier la force d'attraction,
on glissa entre le fil de fer et le noyau une rondelle en papier à
écrire ordinaire. Alors la reproduction de la parole augmenta
considérablement d'intensité ; on put non-seulement entendre,
mais aussi très-bien comprendre. Le papier ne vibre pas moléculairement
; l'intensité du son a augmenté avec la surface du vibrateur,
parce que la quantité d'air immédiate mise en vibration
est devenue plus grande.
Quatrième proposition.
Les vibrations utiles de la plaque sont transversales et produites par
des variations dans la force attractive qu'exerce le noyau et les réactions
dues à l'élasticité de la plaque.
Pour l'exécution des expériences dont la description va
suivre, nous avons employé, comme envoyeur, le microphone du
professeur Hughes. Le modèle choisi fut celui composé
d'un cylindre de charbon, mobile entre deux prismes de même matière.
Grâce à ce précieux appareil, nous avons pu opérer
rapidement et sans subir les ennuis qui résultent de déplacements
continuels ( Ces expériences ont été répétées
devant l'Académie (séance du 6 Juillet 1878) par les soins
de M. le professeur Melsens.)
Le microphone, une pile de deux éléments Leclanché
et un récepteur à main, système Bell, furent compris
dans un même circuit. On mit les appareils en communication entre
eux par quelques mètres de fil souple. Par l'emploi de ce genre
de fils conducteurs, on évite les bruits que produisent souvent
dans le téléphone les vibrations anormales des fils de
cuivre sonores.
Une montre ayant été posée sur la tablette du microphone,
le tic tac fut reproduit avec une augmentation considérable dans
l'intensité du son.
Ceci constaté, on plaça, entre la plaque et la tranche,
douze petites rondelles en clinquant d'un diamètre de 2 centimètres
et ne pouvant, par conséquent, pas prendre appui sur le pourtour
du téléphone.
L'interposition de ces rondelles ne diminua que très-peu l'intensité
du tic tac. Bemarquons que l'ensemble de ces rondelles constitue un
système élastique incapable de nuire beaucoup aux vibrations
transversales.
Les rondelles de clinquant ayant été remplacées
par des rondelles en papier à filtrer, le tic tac ne fut plus
reproduit que très-faiblement. La matière peu élastique,
interposée, arrêtait, dans une mesure considérable,
les vibrations transversales et rendait difficiles les réactions
de la plaque.
Cette expérience fut renouvelée sous beaucoup de formes
différentes qui accentuèrent les résultats. Aux
effets produits par l'interposition d'un petit morceau de caoutchouc,
on compara ceux obtenus en faisant usage d'une petite boulette de mastic
de vitrier. A une miette de pain on opposa la même miette préalablement
malaxée entre les doigts. Toujours une diminution dans l'élasticité
amena une diminution dans l'intensité du son reproduit, quelquefois
même sa suppression.
Nous demandons comment l'interposition de matières plus ou moins
élastiques pourrait éteindre des vibrations moléculaires?
Comment cette interposition pourrait empêcher la transformation
de F en F 2, suivant l'expression employée par M. du Moncel dans
sa première lettre ? L'interposition de matières non magnétiques
peut-elle avoir un effet sensible sur l'élévation au carré
du potentiel du noyau ? Evidemment non. Si le
rôle de la plaque était tel que le veut M. du Moncel, il
serait avantageux d'employer des plaques très-épaisses
pour augmenter l'intensité du son, et chacun sait qu'un pareil
résultat ne serait pas obtenu. Ce n'est pas en amplifiant le
son en germe dans le noyau que la plaque agit, c'est en vibrant utilement
elle-même, en vibrant mécaniquement , s'il nous est permis
d'employer ce mot en opposition au mot moléculairement de M.
du Moncel.
Passons à une autre expérience : la plaque en fer a été
remplacée par une plaque en ivoire très-mince. Le tic
tac n'est pas reproduit ou, plus exactement, la reproduction n'affecte
pas assez sensiblement l'oreille de l'expérimentateur pour qu'il
en ait conscience. C'est toujours en ce sens qu'il faut interpréter
les expériences de téléphonie.
Nous plaçons successivement sur la plaque d'ivoire, au centre
: un très-petit clou de tapissier , quelques limailles de
fer, un petit tas de fer réduit par l'hydrogène, un petit
mor-
ceau de fer blanc pesant seulement un centigramme. Toujours
on entend avec facilité la reproduction du tic tac. C'est évi-demment
la plaque d'ivoire qui vibre utilement ; la petite quantité de
fer qu'elle porte ne produit pas de son perceptible? il agit comme moteur
.
Pour réaliser une condition très-favorable aux vibrations
moléculaires par influence de M. du Moncel, nous plaçons,
au centre de la plaque en ivoire, un cylindre en fer du même diamètre
que le noyau et d'une épaisseur qui lui donne à peu près
le poids d'une plaque ordinaire de téléphone. La reproduction
du tic tac est si faible qu'il y a du doute sur son existence. En augmentant
le poids du fer, qui vibre toujours longitudinalement et moléculairement,
on supprime tout-à-fait le son. Cette limite est atteinte lorsque
la masse à mouvoir n'est plus en rapport convenable avec l'élasticité
de la plaque. Une plaque en ivoire supporte un poids de fer plus considérable
qu'une plaque en papier.
Nous avons répété cette expérience avec
le téléphone Edison-Bell, remplaçant le tic tac
de la montre par la voix parlée, et le même résultat
a été observé. A défaut de plaque d'ivoire,
le papier parcheminé réussit très-bien.
Interprétation des résultats obtenus dans les expériences
décrites .
De l'ensemble de ces expériences il résulte que toutes
les dispositions favorables au développement des vibrations transversales,
ont toujours augmenté les effets phoniques reproduits, tandis
que les dispositions favorables aux vibrations moléculaires ont,
au contraire, diminué ces mêmes effets.
Nous concluons: dans le récepteur Bell les vibrations utiles
sont dues à la plaque, laquelle vibre par suite des modifications
que subit Y attraction exercée sur elle par le noyau et des réactions
dues à l'élasticité. Les vibrations utiles
de la plaque sont transversales et, par conséquent, limitées
par des lignes nodales. S'il était possible d'obtenir
des attractions électro-magnétiques sans déterminer
en même temps des vibrations moléculaires, le téléphone
reproduirait encore la parole et, peut-être, parlerait-il plus
purement.
Soumise à l'analyse, la théorie de M. du Moncel aboutirait
à ce singulier résultat : que le maximum d'effet serait
obtenu à la limite, alors que l'espace variable entre la plaque
et le noyau devient nul ; c'est-à-dire que le téléphone
idéal serait réalisé par un simple allongement
du noyau et la suppression de la plaque. Il est évident qu'une
tranche du noyau vibrera toujours mieux, moléculairement, que
la plaque.
M. du Moncel, dans ses lettres, cite beaucoup de noms d'expérimentateurs
habiles et savants, pour appuyer ses opinions. Nous avons trouvé
dans les publications de ces savants beaucoup d'arguments en faveur
de nos idées et fort peu venant à l' encontre de la théorie
que nous soutenons. Relevons quelques exemples :
M. W.-H. Preece, de l'institut des ingénieurs civils, écrit
ce qui suit en Novembre 1877 : « Chaque courant induit
dans la bobine c (de l'envoyeur) arrive par le fil jusqu'à la
bobine c' (du récepteur) ; là il change le magnétisme
du fer doux b' (le noyau) et augmente ou diminue l'attraction qu'il
exerce sur le diaphragme de tôle a' (la plaque du récepteur)
(1) ».
Au mois de Mars 1878, M. Preece n'a pas changé d'opinion. Dans
un article intitulé : Téléphone et Phonographe,
il s'exprime en ces termes : « Ces courants parcourent le fil
télégraphique et l'hélice placée à
la station éloignée, et viennent modifier l'intensité
magnétique de l'aimant placé à cette station. Cette
variation de magnétisme fait varier l 'attraction mutuelle de
l'aimant et du disque »
« On a vu que les disques vibrent sous l'influence des vibrations
sonores et qu'il est possible d'enregistrer ces vibrations (2). »
Des vibrations, que M. Preece croit pouvoir être enregistrées,
ne sont certainement pas des vibrations moléculaires.
Le savant électricien admet évidemment une similitude
de vibration entre les deux plaques du téléphone et de
celles-ci avec la plaque du phonographe.
Si nous ne pouvons pas encore enregistrer les vibrations du récepteur
Bell, cela tient non à la nature de ces vibrations, mais à
leur extrême petitesse. M. Preece donne une idée de cette
petitesse en évaluant, d'après lord Rayleigh, à
1 / 10 000 000 de centimètre l'amplitude nécessaire pour
produire des vibrations sonores (3).
D'après les expériences de M. Blyth (4) communiquées
à la Société d'Edimbourg (séance du 7 Janvier
1878) par le professeur Tait, on peut remplacer la plaque en fer du
récepteur par une plaque en cuivre, en papier ou en caoutchouc,
sans
cesser d'entendre, mais, dans ces cas, les sons reproduits seront beaucoup
plus faibles que ceux reçus au moyen d'un téléphone
ordinaire : « Aucun son n'a été reçu quand
on n'a fait usage d'aucun disque . »
M Warwick a constaté qu'avec un Bell récepteur sans plaque
« il a entendu. » Il ne dit pas qu'il a compris; nous
sommes donc d'accord 5).
1) Revue scientifique de la France, N° du 10 Novembre 1877.
2) Revue scientifique de la France, No du 80 Mars 1878.
3) Plïilosoph. magazvol. Y, N° du 30 Avril 1878.
4) Tëlégr. Journal du 15 Janvier 1878.
5 ) Article publié par YEnglish Mechanic et reproduit par le
Journal of the Telegraph, sous le titre : Curieuses expériences
télégraphiques.
M. Warwick paraît étonné de ce qu'une plaque en
substance diamagnétique puisse reproduire le son. Ce résultat,
devait être prévu. Qu'il y ait attraction ou répulsion,
l'effet phonique de la plaque sera le même, puisque, en vertu
de son élasticité, elle tendra toujours à revenir
vers sa position initiale. Les vibrations transversales, avec déplacement
de surface, permettent d'expliquer facilement le phénomène
; mais en admettant seulement des vibrations moléculaires, il
n'en est plus ainsi ? Cependant les sons obtenus au moyen d'une plaque
diamagnétique doivent être extrêmement faibles.
L'expérience de M. Guillemin, citée par M. du Moncel,
prouve en faveur de notre cause. La tige de fer, sous l'action du courant
électrique, devait ou changer de forme ou s'échauffer.
Il y a ici un travail mécanique effectué. Les mêmes
causes produisent les mêmes effets, c'est pourquoi on doit admettre
que la plaque d'un téléphone récepteur vibre mécaniquement.
On ne la voit pas vibrer parce que les amplitudes des vibrations sont,
non pas infiniment petites, mais excessivement petites.
De l'expérience de M. Guillemin dans laquelle l'action électro-magnétique
détermine un déplacement considérable de matière,
M. du Moncel peut-il conclure que la plaque du récepteur subit
une action analogue sans qu'il y ait déplacement de matière
?
M. du Moncel invoque de nouveau les expériences de M. de la Rive
pour prouver qu'une tige de fer peut produire des sons par suite d'effets
d'aimantation et de désaimantation répétés
à des intervalles très-rapprochés. Cela est surabondamment
admis ; inutile d'y revenir. Mais M. du Moncel ajoute que les vibrations,
ainsi déterminées dans les tiges de fer, « semblent
être « de la même nature que celles qui donnent lieu
à ces sons,
« souvent très-forts, que l'on entend quelquefois sur les
lignes « télégraphiques. » Sont-ce bien les
courants électriques qui produisent ces sons très-forts
? Nous en doutons.
Sur une ligne très-active où les appareils télégraphiques
sont continuellement en action, les sons très-forts se font entendre
seulement quelquefois. Les courants franchissent toute la ligne et les
bruits musicaux ne se produisent qu'en certains endroits. Tandis que
les courants ne varient guère d'intensité, les sons varient
beaucoup sous ce rapport. Ainsi, à des causes presque constantes,
répondraient des effets très-variables ?
Nous avons pris des informations auprès de personnes compétentes
; aucune n'a pu affirmer que les sons dont il est question ont une origine
électro-magnétique. Ces effets, très-variables,
s'expliquent mieux en admettant des causes également très-variables
: des changements brusques dans la température, les mouvements
atmosphériques, etc. Les harpes éoliennes chantent sans
le secours de l'électricité.
Les circonstances dans lesquelles M. de la Rive a opéré
et celles réalisées dans l'installation des lignes télégraphiques,
présentent certainement entre elles beaucoup d'analogie. Mais
l'analogie est une source à laquelle on ne doit puiser qu'avec
défiance ; il ne faut pas en abuser.
Nous terminons en remerciant M. du Moncel de nous avoir fourni la matière
d'une discussion qui n'a pas été sans intérêt
pour beaucoup de savants, s'il faut en juger d'après le nombre
de lettres que nous avons reçues à ce sujet.
Voici, enfin, la Note sus-mentionnée de M. du,Moncel à
l'Académie des sciences.
Sur un système de téléphone sans organes électro-magnétiques,
basé sur le principe du microphone.
« Jusqu'à présent le microphone n'avait été
considéré que comme un transmetteur téléphonique,
et l'on n'aurait guère soupçonné qu'il pût
constituer un récepteur destiné à reproduire à
l'oreille les sons transmis par un appareil du même genre ; c'est
pourtant ce que MM. Hughes, Blyth et Robert
H. Courtenay nous apprennent aujourd'hui.
Un microphone convenablement disposé parle distinctement; quoique
moins fortement que le téléphone, et le microphone ordinaire
lui-même (du
modèle que construisent MM. Berjot et Chardin)
peut reproduire à l'oreille les sons résultant de vibrations
mécaniques produites sur la planchette servant de support à
l'appareil. Ainsi les grattements faits sur le support de l'appareil,
les trépidations et les sons déterminés par une
boîte à musique placée sur le microphone sont parfaitement
entendus ; une pile Leclanché de quatre éléments
suffit pour cela. Nous avions bien le téléphone
à mercure de M. A. Breguet, qui ne comporte pas d'organes
électro-magnétiques et qui émet des sons par les
vibrations résultant des oscillations de la colonne mercurielle
; mais, dans l'appareil en question, les effets produits sont bien plus
extraordinaires, car la vibration destinée à les produire
ne peut résulter que des variations d'intensité d'un courant
fermé par l'intermédiaire de mauvais contacts, et, pour
entendre les sons,
il suffit de placer l'oreille contre la planchette sur laquelle les
charbons sont montés. Est-ce aux répulsions exercées
entre les éléments contigus d'un même courant qu'il
faut rapporter cette action ? ou bien faut-il supposer, comme M. Hughes,
que le courant électrique lui-même n'est qu'une vibration
moléculaire ?
(Voici ce que M. Hughes m'écrit à ce sujet: J'hésite
à vous dire où tous ces effets vont nous mener ; car vous
verrez, en étudiant la question, qu'un courant électrique
n'est rien autre qu'une vibration moléculaire, et que cette vibration
devient manifeste dès que les molécules du conducteur
sont rendues libres de se mouvoir, par suite du faible contact produit
sous l'influence d'une pression très-légère entre
deux ou plusieurs parties constituantes de ce conducteur. Si le courant
électrique n'est qu'une vibration moléculaire, cela pourrait
nous mener trèsloin, car on pourrait en inférer qu'il
pourrait en être de même des autres causes physiques impondérables
).
L'action qui est en jeu dans ce phénomène serait-elle
la même que celle qui détermine des sons dans un fil de
fer traversé par un courant interrompu et que M. de la
Rive a si bien étudiée dans son Mémoire
présenté à l'Académie en 1846 ?
Il serait imprudent de se prononcer dans l'état actuel de la
question ; toujours est-il que le fait existe et qu'on ne peut le rapporter
à une transmission mécanique des vibrations, car, quand
le circuit est interrompu en un point quelconque, aucun son ne peut
être entendu.
Il est vrai que, quand M. Blyth a annoncé pour la première
fois ces résultats, il a rencontré, même en Angleterre,
beaucoup d'incrédules, et je dois dire que les expériences
que j'avais tentées moi-même pour le vérifier n'étaient
pas de nature à me convaincre, car elles n'avaient donné
que des résultats négatifs ; mais, maintenant que le fait
est bien acquis, grâce, à M. Hughes qui, de son côté
et antérieurement (M. Hughes avait communiqué le résultat
de ses expériences à M. Preece dès les premiers
jours de Mai.), avait étudié la question avec ses
appareils, il est probable qu'on retrouvera les effets annoncés
par M. Blyth en expérimentant dans de bonnes conditions.
« La forme de microphone qui convient le mieux pour transmettre
et recevoir la parole est, du moins jusqu'à présent, la
suivante :
Sur une planchette verticale de la taille de celle des microphones ordinaires,
on pratique une ouverture assez grande pour y introduire le cornet d'un
téléphone à ficelle ordinaire, en ayant soin que
la membrane de parchemin affleure la surface de la planchette du côté
où est placé le microphone. Cette membrane porte à
son centre un morceau de charbon de sapin métallisé mis
en rapport avec le circuit de la pile, et contre ce morceau de charbon
est appliqué, sous une très-légère pression,
un autre morceau de la même matière, adapté à
l'extrémité supérieure d'un levier vertical pivotant
par sa partie médiane sur deux pointes. Ce levier est interposé
dans le circuit, et un ressort à boudin très-fin, dont
on peut régler la tension, permet de rendre aussi faible qu'on
peut le désirer la pression exercée au point de contact
des deux charbons ; enfin le tout est enveloppé dans une boîte
qui ne laisse dépasser extérieurement que le cornet acoustique.
Dans ces conditions la parole peut être transmise et entendue
sous l'influence d'une pile relativement faible (quatre ou cinq éléments
Leclanché), mais elle est toujours beaucoup moins accentuée
qu'avec le téléphone Bell.
« Dans les expériences de M. Blyth, le microphone était
constitué par de gros fragments de charbon échappés
à la combustion et désignés en Angleterre sous
le nom de cinders gas, et ces charbons remplissaient une boîte
plate de 15 pouces sur 9,munie de deux électrodes en fer-blanc.
Une pile de deux éléments de Grove, adaptée à
deux appareils de ce genre, permettait de transmettre et d'entendre
la parole. En substituant à l'une de ces boîtes un téléphone
et en versant de l'eau dans l'autre boîte, M. Blyth put se passer
de pile, et les paroles prononcées devant la boîte purent
être parfaitement entendues dans le téléphone. D'après
ce savant, les sons transmis ne pouvaient résulter que de l'action
des charbons, car, quand
ceux-ci étaient enlevés, aucun son n'était perceptible.
« Comme je l'ai déjà dit, je n'ai pu entendre aucun
son avec le dispositif indiqué précédemment; il
est vrai que j'avais employé des escarbilles qui, bien qu'indiquées
dans le Mémoire de M. Blyth, n'étaient pas probablement
dans de bonnes conditions ; mais, en disposant sur les deux côtés
opposés d'une petite boîte plate de 10 centimètres
sur 6 deux électrodes zinc et cuivre, et remplissant l'intervalle
avec de gros fragments de charbon de cornue assez rapprochés
les uns des autres pour constituer une couche à peu près
continue, j'ai pu, par l'immersion des charbons dans de l'eau, obtenir
sans pile un trèsbon transmetteur de téléphone.
Tous les bruits et même la parole étaient nettement reproduits,
et l'on avait l'avantage de ne pas entendre ces crachements désagréables
qui accompagnent quelquefois les sons provoqués par le microphone.
« Je disais à l'instant que les effets produits dans un
microphone employé comme récepteur étaient difficiles
à expliquer et qu'ils avaient peut-être quelques rapports
avec ceux qui se produisent dans un fil de fer traversé par un
courant fréquemment interrompu ; mais voici d'autres phénomènes
du même genre qui doivent évidement avoir une certaine
parenté avec ceux dont il est question dans cette Note.
« Ainsi M. des Portes, dans un complément
au Mémoire qu'il m'a envoyé, a reconnu que, si l'on interpose
un barreau aimanté dans le circuit d'un téléphone,
en faisant en sorte que les deux bouts du fil du circuit qui établissent
les contacts fassent quelques circonvolutions autour de ses extrémités
polaires, les coups frappés sur l'aimant avec une tige de fer
sont perçus dans le téléphone, mais à la
condition cependant que l'un des pôles de cet aimant soit muni
d'une plaque de fer.
D'un autre côté, j'ai reconnu que des grattements effectués
sur l'un des fils qui réunissent deux téléphones
entre eux sont perçus dans ces téléphones, quel
que soit d'ailleurs le point du circuit où ces grattements sont
produits. Les sons ainsi provoqués sont à la vérité
très-faibles, mais ils se distinguent nettement et acquièrent
une plus grande intensité quand le grattement est effectué
sur les bornes d'attache des téléphones.
Tous ces sons, d'ailleurs, ne peuvent pas évidemment être
la conséquence d'une transmission mécanique de vibrations,
car, quand le circuit est interrompu, on ne peut en percevoir aucun.
D'après ces expériences, on pourrait croire que certains
bruits que l'on constate dans les téléphones expérimentés
sur les lignes télégraphiques pourraient bien provenir
des frictions des fils sur les supports, frictions qui donnent lieu
à ces sons souvent si intenses que l'on entend quelquefois sur
certaines lignes télégraphiques. »
sommaire
1878 Il y a de la contestation dans l'air
Au sujet de l'invention récente du microphone et de la découverte
de quelques-unes de ses principales applications, notamment de son emploi
comme thermoscope, il s'est engagé entre M. Edison, d'un côté,
et MM. Hughes et Preece, de l'autre, une vive polémique à
laquelle n'ont pas tardé à prendre part un certain nombre
des organes scientifiques qui se publient de l'un et de l'autre côté
de l'Atlantique. Sans vouloir intervenir dans le débat, qu'il
nous soit permis de résumer brièvement les faits en les
faisant suivre de quelques observations qu'ils nous paraissent comporter.
Dès 1876, on le sait, M. Edison a inventé un téléphone,
dit téléphone à charbon, basé sur les variations
de résistance qu'éprouve un disque de noir de fumée
suivant le plus ou moins de compression qu'il subit.
Plus récemment, il a imaginé sous le nom de microtasimètre,
un appareil où les plus petites variations de la température
seraient accusées également par le plus ou moins de compression
d'un morceau de charbon actionné par la dilatation d'un corps
sensible à la chaleur.
De son côté, M. le Professeur Hughes a commencé,
au mois de Mai dernier, à publier une série d'expériences
qui l'ont conduit à imaginer, sous le nom de microphone, un transmetteur
téléphonique extraordinairement sensible dont les modèles,
susceptibles de nombreuses variations, sont tous basés sur les
changements d'intensité que subit le courant, suivant le plus
ou moins d'intimité des points de contact des conducteurs et
il a montré ultérieurement que le microphone constituait
un thermoscope très-sensible.
Dès que les résultats des expériences du Professeur
Hughes ont commencé à être connus en Amérique,
M. Edison, sans plus ample informé, a lancé immédiatement
par le télégraphe et par la voie de la presse, une protestation
violente contre ce qu'il appelait, de la part du Professeur Hughes,
un vol, une piraterie scientifique et, de la part de M. Preece, un abus
inqualifiable de confiance.
(M. Preece a eu occasion d'entrer en relation avec M. Edison lors
de son récent voyage en Amérique et d'être mis ainsi
par lui au courant du détail de ses travaux et de ses idées.
C'est M. Preece qui, à son retour, a patronné en Europe
les principales inventions de M. Edison. C'est lui également
qui a fait connaître un des premiers les recherches du Professeur
Hughes.).
Aussi violemment attaqués, M. Hughes et M. Preece répondirent
l'un et l'autre par une contreprotestation indignée; le premier
affirmant que les inventions et les idées de M. Edison n'étaient
pour rien dans ses recherches et qu'elles avaient été
plutôt inspirées par les récents travaux de Sir
William Thomson sur les altérations de la résistance que
subissent les fils de fer par suite de leur extension ou de leur compression;
le second repoussant énergiquement l'accusation d'avoir livré
au Professeur Hughes le secret d'aucunes des idées de M. Edison
et établissant que les inventions que celui-ci invoque en faveur
de ses droits de priorité étaient connues
déjà du public, en Europe aussi bien qu'en Amérique,
au moment où M. Hughes procédait à ses recherches
et en publiait les résultats.
La presse ne tarda pas à prendre partie entre les deux camps,
en Amérique, plus généralement en faveur de M.
Edison, en Angleterre, universellement croyons-nous, en faveur de M.
Hughes et de M. Preece. Quant aux organes de l'Europe continentale,
moins au fait, sans doute, de la question, peu d'entre eux se sont encore
lancés dans le débat.
Toutefois les quelques journaux scientifiques français qui se
sont occupés du sujet en litige, se sont rangés déjà
du même côté que les journaux anglais et nous ne
croyons pas qu'il y ait dans les autres pays un seul organe qui ait
pris en main la cause de M. Edison. Aux Etats-Unis même, à
mesure que la question est mieux connue, il paraît se produire
un certain revirement et quelques-uns des journaux les plus autorisés
reviennent aujourd'hui sur leurs premières impressions.
C'est qu'en effet, au jugement de tout esprit impartial, croyons-nous,
les revendications de M. Edison paraîtront aussi injustifiables
dans le fond que dans la forme.
Nous ne pouvons pas entrer ici dans le cur d'une question qui,
pour être pleinement discutée, nécessiterait d'abord
l'exposé détaillé des inventions rivales.
Disons seulement qu'il n'y a guère entre le téléphone
à charbon ou le micro-tasimètre de M. Edison et le microphone
de M. Hughes, d'autre point commun que cette propriété,
sur laquelle ces trois inventions sont basées, de la variation
de la résistance avec la compression du corps employé,
dans l'espèce le charbon, propriété connue depuis
longtemps et qui fait partie du domaine public de la science. En ce
qui concerne le Professeur Hughes notamment, ce ne sont certes pas les
travaux de M. Edison qui la lui ont révélée, lui
qui déjà en 1866, faisait connaître en Allemagne
le rhéostat imaginé à la fin de 1865 par M. Çlérac,
précisément sur le principe de la compression de la poudre
de graphite (. Journal télégraphique du 25 Mars 1874,
vol, II, p. 425)
Quant à l'expression donnée par M. Edison à sa
protestation, nous n'avons pas besoin de dire que dans aucun cas, nous
n'aurions pu l'approuver et que des revendications ainsi formulées
contre des notoriétés scientifiques telles que le Professeur
Hughes et M. Preece ne sauraient jamais servir la cause de celui qui
y recourt.
Une curieuse expérience micro-téléphonique.
Le 19 Juin 1878 a eu lieu à Bellinzone (Suisse)
une curieuse expérience micro-téléphonique. Une
troupe italienne de passage devait donner ce jour-là au théâtre
de cette ville l'opéra de Donizetti, Don Pasquale. M. Patocchi,
inspecteur-adjoint du 6e arrondissement télégraphique
de la Suisse, a eu l'idée de profiter de cette occasion pour
expérimenter les effets combinés du microphone à
charbons de Hughes comme appareil transmetteur et du téléphone
de Bell comme appareil récepteur. A cet effet, il installa dans
une loge du 1 er rang, à côté du proscenium, un
microphone Hughes qu'il relia au moyen de deux fils de 11/ 2 mm de diamètre
à quatre récepteurs Bell disposés dans une salle
de billard, audessus du vestibule du théâtre même,
salle où ne parvient aucun des bruits de l'intérieur du
théâtre. Dans le circuit et près du microphone de
Hughes, était intercalée une petite pile de deux éléments
du modèle ordinaire de l'Administration suisse.
Les résultats ont été aussi heureux et aussi complets
que possible.
Les téléphones reproduisaient exactement, avec une clarté
et une netteté merveilleuses, aussi bien les sons de l'orchestre
que le chant des artistes. Plusieurs spectateurs ont constaté,
avec M. Patocchi, que l'on ne perdait pas une note des instruments ou
des voix, qu'on distinguait parfaitement les mots prononcés,
que les airs étaient reproduits dans leur ton naturel, avec toutes
leurs nuances, les piano comme les forte, les motifs doux comme les
passages de force et plusieurs dilettanti amateurs ont même assuré
à M. Patocchi que, par cette seule audition au moyen des téléphones,
l'on pouvait apprécier les beautés musicales, les qualités
des voix des artistes et généralement juger de la pièce
elle-même, comme pouvaient le faire les spectateurs à l'intérieur
du théâtre.
Les résultats ont été les mêmes en introduisant
dans le circuit des résistances jusqu'à 10 kilomètres,
sans augmenter le nombre des éléments de la pile.
C'est, croyons-nous, la première expérience de ce
genre qui ait été faite, en Europe du moins, dans un théâtre
sur un opéra complet et ceux qui connaissent toute la légèreté
et la grâce des mélodies de Don Pasquale, apprécieront
à quelle sensibilité doit atteindre la combinaison du
microphone de Hughes et du téléphone de Bell, pour ne
rien laisser perdre des délicatesses de cette musique.
Cette expérience sera suivie par le développement du Théaatrophone
en France, exposé dans cette page.
sommaire
Le mois suivant, le "Journal
télégraphique" du 25 aout 1878, en rubrique "Sur
la théorie du téléphone", M. du Moncel et
M. Navez nous ont transmis, chacun de son côté, une réponse
à leurs observations respectives que nous avons publiées
dans notre dernier numéro.
Nous insérons ces réponses dans l'ordre des dates auxquelles
elles nous sont parvenues, en continuant de nous abstenir de tout commentaire
et en laissant à nos lecteurs qui ont sous les yeux tous les
arguments invoqués successivement en faveur de l'une ou de l'autre
thèse, le soin de se former eux-mêmes leur opinion sur
le point en litige.
Voici, d'abord, la lettre de M. du Moncel.
Monsieur le Directeur,
Je désirais terminer la discussion ouverte par M. Navez par la
dernière lettre que je vous ai envoyée ; mais sur l'avis
de plusieurs de mes amis et de ceux qui sont dans les mêmes idées
que moi sur la théorie du téléphone, je me trouve
en quelque sorte obligé de continuer cette discussion, bien qu'à
vrai dire les découvertes nouvelles semblent montrer que la théorie
du téléphone est encore bien loin d'être établie
d'une
manière satisfaisante.
Il est toujours résulté de cette discussion, et c'est
là le point important, que M. Navez admet maintenant qu'un téléphone
sans diaphragme peut émettre des sons, et dans des conditions
exceptionnelles de phonation et d'audition, peut reproduire le son de
la voix humaine, sans qu'on puisse toutefois reconnaître s'il
y a ou non articulation. Il nous suffirait, d'après cela et en
nous reportant à notre théorie, de dire qu'en admettant
un renforcement de l'action électrique ou magnétique,
ces sons inintelligibles pourraient devenir la reproduction de la parole.
Or, ce renforcement se trouve précisément effectué
par le diaphragme qui joue le rôle d'armature. Mais il s'agit
de préciser les faits et il convient d'examiner
1° si l'attraction joue un rôle appréciable dans les
effets produits et est capable de déterminer les vibrations transversales
nécessaires, d'après M. Navez, à l'articulation
des sons ;
2° si cette articulation des sons dépend du récepteur
ou du transmetteur ;
3° si les effets constatés par M. Navez ne peuvent pas s'expliquer
d'une manière toute différente qu'il ne l'a fait.
Sans parler de la remarquable découverte, inconciliable avec
les idées de M. Navez, que le téléphone, comme
je l'ai déjà établi dans ma lettre précédente
(parue le mois dernier), peut reproduire la parole sans aucun organe
électro-magnétique, examinons si même pour les téléphones
pourvus de ces organes, l'attractionjoue dans les vibrations du diaphragme
le rôle que M. Navez lui suppose.
Les expériences que cite M. Navez ne lui font préjuger
les effets d'attraction que par les vibrations qui doivent, suivant
lui, en résulter et qui se trouvent éteintes quand on
les arrête par une sorte d'étouffoir. Ici je suis d'abord
obligé de rappeler à M. Navez que par le mot vibration
moléculaire je n'ai jamais entendu parler d'une vibration exempte
d'effets mécaniques. Une vibration matérielle peut résulter
de contractions et de dilatations moléculaires, quand ces actions
peuvent se développer librement, et pour moi, comme pour M. Hughes,
les vibrations longitudinales dont j'ai parlé doivent être
accompagnées d'un mouvement vibratoire des surfaces. Voici maintenant
une expérience de M. Hughes qui montre, ce me semble, bien nettement
que l'attraction n'est pour rien dans les vibrations dont nous venons
de parler.
Prenons deux barreaux aimantés identiques en longueur, en diamètre
et en force et disposons les de manière à constituer le
système électro-magnétique d'un téléphone,
en ayant soin de les bien isoler magnétiquement l'un de l'autre
et en les recouvrant tous les deiix à leur extrémité
active avec unemême bobine. Si on dispose ces deux aimants de
manière à présenter les uns à côté
des autres des pôles de même nom, on aura un téléphone
dans les conditions ordinaires dans lequel toutes les actions seront
conspirantes dans un même sens ; mais si on renverse la position
réciproque des deux aimants, c'est-à-dire si on place
un pôle sud à côté d'un pôle nord, les
actions seront en discordance, et les effets d'attraction magnétique
résultant des courants transmis seront sinon neutralisés
l'un par l'autre du moins considérablement amoindris Or c'est
avec cette disposition que le téléphone donne les meilleurs
effets. Cette expérience a été répétée
de diverses manières par M. Hughes et M. Millar l'avait également
faite de son côté et indépendamment de M. Hughes.
Il est évident que si l'action attractive fût intervenue,
l'effet inverse se serait produit.
D'un autre côté, si on constitue le diaphragme d'un téléphone
avec une masse de fer un peu épaisse, la parole est, il est vrai,
transmise plus difficilement ; mais c'est parce que les aimantations
et les désaimantations s'effectuent alors plus lentement et d'une
manière moins complète en raison du magnétisme
rémanent. Composez ce diaphragme avec plusieurs lames très-minces
superposées, il reproduira mieux la parole qu'en
employant une seule lame, et c'est même une des améliorations
que M. Hughes a apportées à la construction des téléphones.
Or, il est bien évident que si l'attraction jouait un rôle,
elle ne s'exercerait que sur le premier diaphragme, celui-ci servant
d'écran à l'action magnétique pour les autres.
Dans ces conditions l'avantage du système réside donc
dans la surexcitation plus grande qui est donnée au système
magnétique par l'augmentation de masse de la lame armature, avantage
qui n'est plus dans ce cas altéré par l'inertie magnétique
qui existe dans les armatures massives ?
(M. Hughes prétend qu'ils sont annulés dans ce cas
et voici son raisonnement. Supposez que les pôles des deux aimants
agissant sur le diaphragme exercent une attraction représentée
par 5 pour chacun d'eux ; quand les deux pôles sont de même
nom, l'attraction initiale totale sera représentée par
10. Supposez que l'action du courant leur communique une aimantation
capable de leur faire produire une force attractive double, l'attraction
totale au moment des renforcements sera représentée par
20. Si on considère maintenant ce qui arrive quand les pôles
magnétiques sont disposés en sens contraire l'un de l'autre,
on reconnaîtra que l'attraction initiale sera encore 10, mais
quand le courant agira, le pôle qui sera en concordance avec l'action
du courant et dont la force était représentée par
5 déterminera une force attractive de 10, tandis que celui qui
sera en discordance avec l'action du courant aura sa force réduite
à (5 5) ou à zéro ; la force totale ne sera
donc représentée que par 10, comme elle était avant
l'action du courant. « Par conséquent, conclut-il, si c'était
l'attraction qui était en jeu dans le phénomène,
les courants transmis n'auraient aucune action sur le téléphone
récepteur. » Ce raisonnement, toutefois, ne doit pas être
pris au pied de la lettre, et je ne l'ai rapporté que pour matérialiser
en quelque sorte la pensée de M. Hughes.
Ce même avantage se retrouve dans les électro-moteurs de
MM. Camacho et Chutaux dans lesquels les armatures électromagnétiques
sont composées de lamelles de fer juxtaposées (Voir mon
« Exposé des applications de l'électricité
, tome Y, p. 347)
Voici encore deux autres expériences de M. Hughes qui sont aussi
probantes :
1° Si une armature de fer doux est appliquée sur les pôles
d'un électro-aimant à deux branches solidement fixé
sur une planche, et qu'on interpose entre cette armature et les pôles
magnétiques des morceaux de papier afin d'éviter les effets
du magnétisme condensé, on peut en reliant cet électro-aimant
à un microphone parleur entendre sur la planche servant de support
à l'électro-aimant les mots prononcés dans le parleur.
2° Si on oppose par leurs pôles de noms contraires deux électro-aimants,
mis en rapport avec un microphone, en ayant soin de séparer ces
pôles fortement joints par des morceaux de papier, on obtiendra
clairement la reproduction de la parole, comme dans le cas précédent,
sans qu'il y ait besoin d'armature ni de diaphragme.
Nous allons examiner maintenant si l'articulation des sons dépend
du récepteur ou du transmetteur. Les expériences que M.
Hughes a faites avec le microphone peuvent donner quelques renseignements
intéressants sur cette question.
D'après ces expériences, il est démontré
que les sons articulés sont beaucoup mieux reproduits avec des
charbons de sapin métallisés qu'avec des charbons de cornue,
tandis qu'au contraire les sons simples sont mieux transmis avec ces
derniers.
Si l'on examine l'intensité des courants transmis dans les deux
cas, on reconnaît pourtant que le courant est beaucoup plus faible
avec les charbons de bois qu'avec les charbons de cornue ; mais c'est
précisément à cause de cette plus grande résistance
des charbons de bois que les différences dans les intensités
du courant résultant des différences de pression sont
plus accentuées, et que les nuances les plus fines des sons articulés
sont
mieux accusées dans le téléphone. Plus ces différences
seront accentuées au transmetteur et plus le système électro-magnétique
du récepteur sera impressionnable aux réactions électriques,
plus la parole sera distincte, et ce ne sera pas une question de vibrations
transversales ou longitudinales qui sera la cause déterminante.
J'en arrive maintenant à la question de savoir si les effets
constatés par M. Navez ne peuvent pas s'expliquer autrement qu'il
ne l'a fait.
Je vois surtout qu'il regarde comme preuve à l'encontre de mes
idées, qu'en employant des masses de fer un peu volumineuses
il diminue la sensibilité du téléphone ; il en
parle en plusieurs endroits de sa Note, et nous avons vu précédemment
que ces effets tenaient à l'inertie magnétique du fer
qui est d'autant plus considérable que la masse est plus grande.
D'un autre côté, il montre qu'avec une masse extrêmement
faible il obtient la reproduction de la parole, parce que, selon lui,
cette masse peut vibrer plus facilement; mais je crois que c'est simplement
parce qu'elle s'aimante et se désaimante plus promptement ; il
ne faut pas d'ailleurs perdre de vue qu'une surexcitation magnétique
peut résulter de l'action d'un fil de fer fin ;
j'en ai fait souvent l'expérience.
L'augmentation du son reproduit suivant l'étendue de la surface
vibrante n'est pas en contradiction avec ma théorie, puisque
je ne comprends pas une vibration moléculaire sans déplacement
subséquent des surfaces extérieures du corps qui y est
soumis.
Pour terminer je vais passer en revue l'analyse que fait M. Navez des
travaux des auteurs dont j'avais parlé et dans lesquels il croit
trouver des arguments plutôt en faveur de sa théorie que
de la mienne. Je commencerai par les expériences de M. Warwick.
M. Navez affirme que cet auteur n'aurait fait que dire qu'il aurait
entendu dans un téléphone Bell sans plaque, mais que cela
ne veut pas dire qu'il ait compris. Or voici ce que M. Warwick dit dans
sa Note :
« Alors j'ai essayé sans qu'il y eût rien d'interposé
et j'ai placé mon oreille tout contre l'aimant et la bobine,
et ce qui est vraiment très-curieux, sans aucune plaque vibrante,
j'ai pu entendre faiblement, et en écoutant attentivement j'ai
pu comprendre tout ce qu'on disait. La chose a été répétée
plusieurs fois: la transmission mécanique du son était
impossible, etc (Voir Les Mondes du 2 Mai, page 5, ll me iigne en
descendant). »
En second lieu, le passage de M. Preece auquel j'ai fait allusion est
emprunté à une brochure de ce savant intitulée
: "Sur quelques points physiques étant en rapport avec
le téléphone".
Après avoir cité une lettre de M. Edison du 25 Novembre
1877 dans laquelle celui-ci dit avoir fait des expériences avec
des téléphones ayant un diaphragme de cuivre au lieu d'un
diaphragme de fer, M. Preece ajoute : « J'ai répété
ces expériences, mais l'effet fut si faible qu'il était
à peine
distinct et, quoique intéressant au point de vue scientifique,
il ne m'a pas paru pratique. »
Or la pratique n'a rien à faire avec la question qui nous occupe,
et l'action des diaphragmes en cuivre au point de vue de la réception
des sons ne peut pas être plus expliquée avec la théorie
de M. Navez que celle des téléphones sans diaphragme.
Je n'ai pas prétendu que M. Blyth avait fait des expériences
avec des téléphones sans diaphragme, mais ce qu'il dit
des effets qu'il a obtenus est inexplicable avec la théorie de
M. Navez.
Quant à l'expérience de M. Guillemin que M. Navez tourne
en faveur de son opinion, j'avoue ne pas saisir la finesse de son raisonnement,
car M. De la Rive la cite précisément, comme moi, en faveur
de notre opinion commune. Nous voyons une action de contraction magnétique
qui détermine un effet matériel, effet que j'admets parfaitement
et que je regarde comme une conséquence de l'action moléculaire.
Enfin, M. Navez se méprend complètement et j'ignore qui
a pu l'induire en erreur à cet égard dans la rédaction
de ma dernière lettre, en disant que je regarde les sons produits
dans les fils télégraphiques comme le résultat
du passage d'un courant. Je n'ai jamais dit une pareille énormité,
et j'ai consacré un paragraphe entier dans mon « Exposé
des applications de l'électricité », tome II, page
480 et dans mon « Traité de télégraphie électrique
», page 245, pour démontrer le contraire.
Je n'ai parlé de ces effets dans ma lettre que pour indiquer
ce que j'entendais par le mot vibrations longitudinales.
En résumé tout le mémoire de M. Navez, d'ailleurs
fort bien fait, ne prouve rien contre les idées théoriques
que j'ai émises, et je crois que devant les phénomènes
qu'on découvre tous les jours, il serait imprudent de soutenir
que la véritable théorie de ces effets est trouvée.
Nous avons affaire à un élément nouveau qui n'est
pas encore suffisamment étudié, et le mieux est de dire
que l'explication du téléphone est encore incertaine.
Je vous prie, Monsieur le Directeur, d'agréer, etc.
Paris, le 7 Août 1878. TH. DU MONCEL.
Voici maintenant la lettre de M. Navez.
Monsieur ,
Dans sa dernière lettre, M. du Moncel m'accuse de tronquer les
passages de son travail que je cite pour les discuter. L'accusation
est grave parce qu'elle implique une idée de mauvaise foi, mais
elle ne peut m 'atteindre. En effet, M. du Moncel perd de vue que ses
notes et les miennes ayant été insérées
en même temps dans les bulletins de l'Académie (L'Académie
royale de Belgique), le public savant a toujours pu comparer les
citations avec le texte complet: je m'en rapporte à son appréciation.
M. du Moncel me demande comment j'explique « avec ma théorie
des mouvements attractifs du diaphragme des téléphones,
la reproduction de la parole par un récepteur dépourvu
de tout organe électro-magnétique ?
Je demande à mon tour à M. du Moncel comment il explique
la reproduction de la parole par un récepteur dépourvu
de tout organe électro-magnétique, alors qu'il considère
le noyau, c'est- à-dire l'organe électro-magnétique
du système Bell comme le « siège du son reproduit
? »
M. Edison a trouvé le principe fécond de la modification
de l'intensité du courant électrique par la compression
des corps conducteurs imparfaits et, spécialement du charbon.
M. Hughes, si le fait annoncé par M. du Moncel se vérifie,
aura prouvé que le principe dû à M. Edison est réciproque,
c'est-à-dire que les variations du courant produisent des mouvements
mécaniques dans les charbons. Cette découverte, M. Hughes
pourra à bon droit la considérer comme sienne et elle
lui fera plus d'honneur que l'invention du microphone amplificateur
du son, laquelle n'est qu'une extension du principe de M. Edison. L'action
du courant sur le charbon étant admise, la reproduction de la
parole par le récepteur Hughes s'explique tout simplement par
les vibrations mécaniques de la membrane avec laquelle le charbon
est en contact. Le courant électrique ne peut évidemment
avoir aucune action moléculaire sur le diaphragme en parchemin.
J'ai sons les yeux une lettre de M. Hughes dans laquelle, après
avoir dit qu'il partage les idées de M. du Moncel, il ajoute
en parlant de son nouveau récepteur « il a aussi un pouvoir
vraiment mécanique puisqu'il a la force suffisante pour «
donner le mouvement au diaphragme. » Ces idées de M. Hughes
ne s'accordent nullement avec celles de M. du Moncel, lequel se refuse
à admettre les vibrations mécaniques du diaphragme dans
le récepteur Bell. Elles ne s'accordent pas plus avec l'interprétation
que donne M. du Moncel des résultats de l'expérience faite
par M. Luvini (Août 1878. HAVEZ). Cette interprétation
me paraît, au reste, tout-à-fait inexacte. Si l'action
du courant électrique a été sans effet sur le niveau
de l'eau dans le tube capillaire, on ne peut en conclure qu'il n'y a
pas eu de déplacement de surface. D'après les expériences
de M. Joule, un cylindre en
fer, sous l'action d'un courant électrique, s'allonge en même
temps qu'il diminue de diamètre. L'électro-aimant tubulaire
de M. Luvini a dû subir des effets analogues et sa capacité
intérieure a pu ne pas varier, l'allongement étant compensé
par le rétrécissement.
La discussion me paraît épuisée ; les pièces
sont étalées, le public savant peut apprécier.
Recevez, Monsieur, etc.
Le mois suivant, le "Journal
télégraphique" du 25 septembre 1878, en rubrique
"Sur la théorie du téléphone",
Les dernières lettres sur la théorie du téléphone
publiées dans notre Numéro du mois d'Août ont provoqué
respectivement, de M. du Moncel et de M. Navez, des réponses
que nous insérons ci-après avec les extraits des documents
auxquels elles se réfèrent. Nous espérons, d'ailleurs,
que ce seront les dernières communications que nous recevrons
au sujet d'une polémique dont la prolongation ne saurait plus
offrir, ce semble, d'intérêt pour nos lecteurs. Comme l'ont
dit successivement les deux parties en litige, la discussion est épuisée
et c'est au public à apprécier.
Voici, d'abord, la lettre de M. du Moncel.
Monsieur le Directeur ,
Je suis encore obligé de répondre à M. Navez que
dans la dernière lettre à laquelle il fait allusion, je
n'ai fait que rétablir le texte de ma note, tel qu'il a paru
aux Comptes-rendus de l'Académie des sciences (1), et en second
lieu que je n'ai jamais nié l'intervention de vibrations mécaniques
issues des effets moléculaires. Il peut s'en assurer en relisant
ma première note qui a provoqué la discussion et mon avant-dernière
lettre à laquelle il a répondu.
Je dois lui faire encore observer que si M. Edison a appliqué
d'une manière très-heureuse le principe fécond
de la modification de l'intensité du courant électrique
par la cornpression des corps conducteurs imparfaits, c'est moi qui
ai le premier découvert ce principe, et cela dès l'année
1856. J'ai eu occasion de l'étudier depuis à plusieurs
reprises, en 1864, en 1872, en 1874 et en 1875, et j'ai rapporté
dans les Comptes rendus de l'Académie des sciences du 22 et du
29 Juillet 1878 les différents passages de mes Mémoires
où j'en parle (2). (Voir la lettre de M. W. Thomson à
ce sujet) (3 )
1) Voir le Journal télégraphique du 25 Mars 1878, p.
61, ligne 37 en descendant.
2) Voici les passages rappelés dans les Comptes-rendus susmentionnés
du 22 et du 29 Juillet dernier:
« Une chose assez curieuse à constater, et qui paraît
au premier abord en contradiction avec la théorie qu'on s'est
faite de l'électricité, c'est que la plus ou moins grande
pression exercée entre les pièces de contact des interrupteurs
influe considérablement sur l'intensité du courant qui
les traverse . Cela tient souvent à ce que les métaux
de l'interrupteur ne sont pas toujours dans un état parfait de
décapage au point de contact, mais peut-être aussi à
une cause physique encore mal appréciée. Ce qui est certain,
c'est que dans les interrupteurs où la pièce mobile de
contact est sollicitée par une force extrêmement minime,
le courant éprouve souvent des affaiblissements assez notables
pour faire manquer la réaction électrique qu'on attend
d'eux. » (Exposé des applications de l'électricité,
page 246, édition de 1866).
« La résistance du milieu intermédiaire avait pour
valeur, avec la poussière sèche de charbon de bois, de
1,200 à 2,000 kilomètres de fil télégraphique,
et avec les poussières métalliques ou de charbon de cornue,
de 1,200 à 2,000 mètres, suivant l'état plus ou
moins brillant de la surface des grains métalliques et leur degré
de tassement autour des électrodes, etc. »
(Comptes-rendus du 2 Décembre 1872).
« Quand on chauffe les limailles métalliques, aussi bien
que les poussières des minerais métalliques très-conducteurs
et celles du graphite ou du charbon de cornue, leur conductibilité,
au premier moment, semble diminuer plus ou moins, mais elle augmente
ensuite rapidement dans de grandes proportions « L'amoindrissement
de conductibilité que l'on constate, en premier lieu, proviendrait-il
d'une augmentation réelle de résistance que ces corps
auraient acquise sous l'influence de la chaleur, à l'instar des
corps métalliques massifs, et l'augmentation de conductibilité
que l'on constate après, et qui est infiniment plus développée,
proviendrait-elle de la dilatation des particules de la limaille, dilatation
qui fournirait dès-lors, entre elles, un contact mieux assuré
et analogue à celui qui résulterait d'une augmentation
de pression exercée sur la limaille? Il est bien difficile de
se prononcer; toujours est-il que la meilleure conductibilité
qu'acquiert l'air interposé entre les grains de limaille ne paraît
pas jouer un grand rôle, etc. »
(Comptes-rendus du 2 Novembre 1875).
« Le degré de la pression de la plaque de platine contre
le bois a tellement influé sur l'intensité des courants
transmis qu'étant de 12 degrés avec un serrage maximum,
elle est revenue à zéro quand la plaque était abandonnée
à son propre poids et à 5 degrés seulement avec
un faible serrage. Il résulte de ces premières expériences
que c'est à l'humidité aspirée à travers
ses pores que le bois doit en très-grande partie sa conductibilité
relative, et gue cette conductibilité est en rapport avec le
degré de pression des plagues de communication. (Comptes-rendus
du 6 Juillet 1874). (Voir sur le même sujet les Numéros
du 10 Août et du 7 Septembre 1874, du 2 Mai 1875).
« Avec des bobines de 186 spires, le décapage du fil fait
au papier d'émeri n'a fait varier l'isolation que dans le rapport
de 1,06 à 1,35 ; mais, dans d'autres conditions, par exemple
guand l'hélice est enroulée sur un tube de verre et les
spires fortement serrées , ce rapport est infiniment plus grand.
Quoi qu'il en soit, quand le contact devient parfait entre les spires,
aucun effet magnétique n'est produit. Ainsi un fil amalgamé
enroulé en hélicene détermine aucune attraction,
et si l'on entoure l'hélice d'un électro-aimant à
une seule rangée de spires d'une chemise de
papier d'étain, les effets attractifs sont diminués considérablement.
Il résulte de tout cela que la juxtaposition des spires d'une
hélice magnétisante les unes contre les autres constitue
un contact imparfait qui, comme dans les limailles métalliques,
oppose à la propagation des courants électriques une résistance
considérable; mais cette résistance ne peut évidemment
pas expliquer à elle seule une isolation des spires de l'hélice
magnétique aussi complète que celle que nous avons constatée.
La preuve, c'est gue le contact de ces spires suffit pour conserver
presgue sans déperdition de force Vaction du courant lorsqu'on
a coupé en un ou plusieurs points le fil de Vhélice magnétisante.
»
(Annales tëlégraphigues, tome VIII, p. 211, livraison de
Mars-Avril 1865).
3) Voici cette lettre de Sir W. Thomson, telle que l'a publiée
en traduction la Correspondance scientifique du 6 Août dernier.
Nous la reproduisons in-extenso, car outre le témoignage invoqué
par M. du Moncel, nous sommes heureux de voir le jugement porté
par Sir W. Thomson sur le litige qui s'est élevé entre
M. Hughes et M. Edison, en parfait accord avec la manière dont
nous l'avions apprécié nous-mêmes dans notre Numéro
du 25 Juillet dernier (p. 151).
« Cowes, 30 Juillet 1878.
« Monsieur ,
« Au plaisir que le public a éprouvé en prenant
connaissance de ces magnifiques découvertes qui, sous le nom
de téléphone, de microphone et de phonographe, ont tant
étonné le monde savant, est venu se mêler dernièrement,
très-inutilement, j'ai besoin de le dire, un des incidents les
plus regrettables qui puissent se produire. Il s'agit d'une réclamation
de priorité accompagnée d'accusation de mauvaise foi,
qui a été lancée par M. Edison contre une personne
dont le nom et la réputation sont depuis longtemps respectés
dans l'opinion publique.
« Avant de faire intervenir le public dans une semblable affaire,
M. Edison aurait dû évidemment discuter sa réclamation
avec M. Preece qui était, depuis l'origine de toutes ces inventions,
en correspondance avec lui ; ou bien encore, il aurait pu, en s'adressant
directement aux journaux publics, établir sa réclamation,
en montrant avec calme la grande similitude qui pouvait exister entre
son téléphone à charbon et le microphone de M.
Hughes qui l'avait suivi. Le monde scientifique aurait alors pu juger
le débat avec calme, il aurait pu s'y intéresser
et examiner sainement ce qu'il pouvait y avoir de commun entre les deux
inventions. Mais, par son attaque violente dans les journaux contre
MM. Preece et Hughes et en les accusant de piraterie, de plagiat et
déabus de confiance, il a ôté tout crédit
à sa réclamation aux yeux des personnes compétentes.
Bien d'ailleurs n'était moins fondé que ces accusations.
M. Preece fit lui-même la description détaillée
du téléphone à charbon de M. Edison à la
réunion de l'Association britannique qui eut lieu à Plymouth,
en Août dernier ; il en fit ressortir le mérite, et les
journaux publics en rendirent compte d'après sa communication.
Les magnifiques résultats présentés, au commencement
de l'année, par M. Hughes, avec son microphone ont été
décrits par lui-même sous une forme telle qu'il est impossible
de mettre en doute qu'il n'ait travaillé sur son propre fonds
et en dehors de toutes les recherches de M. Edison qu'il n'avait pas
le plus petit intérêt à s'approprier.
« Il est vrai que le principe physique appliqué par M.
Edison dans son téléphone à charbon et par M. Hughes
dans son microphone est le même, mais il est également
le même que celui employé par M. Clérac, fonctionnaire
de l'Administration des lignes télégraphiques françaises,
dans son tube à résistance variable qu'il avait donné
à M. Hughes et à d'autres en 1866 pour des usages pratiques
importants, appareil qui, du reste, dérive entièrement
de ce fait signalé il y a longtemps par M. du Moncel que l'augmentation
de pression entre deux conducteurs
en contact produit une diminution dans leur résistance électrique.
«Je veux espérer que M. Edison finira par voir qu'il s'est
laissé entraîner dans une mauvaise voie, et qu'il n'aura,
par conséquent, pas de repos qu'il n'ait rétracté
ses accusations. Il devra alors publier sa rétractation aussi
largement que ses attaques. »
W. THOMSON
Enfin je dois encore dire à M. Navez que les expériences
de M. Hughes ne sont pas à vérifier, car elles ont été
répétées devant un grand nombre de personnes, et
M. Edison lui-même, d'après un renseignement qu'il vient
d'envoyer au journal l'Electricité , avait déjà
observé ce phénomène dès l'année
1877.
Voici en effet le texte de cette réclamation: 24 Septembre 1877,
Télégraphe parlant.
« Ce soir en essayant des parleurs, nous avons remarqué
que les sons ordinaires étaient reproduits très-haut.
Quand j'avais fait éloigner le receveur de M. Batchelor,
celui-ci remarqua ou il crut entendre M. Adam parler dans le transmetteur.
Cherchant à se rendre compte de cet effet, il répéta
l'expérience et reconnut qu'il ne s'était pas trompé,
et il continua la conversation avec M. Adams pendant plusieurs minutes
en n'employant que leux transmetteurs. La pile se composait de 12 éléments
et le circuit était de 1,200 ohms (120 kilomètres de fil
télégraphique). Mais avec 100, on pouvait fonctionner
sur une ligne. Toutefois, comme les sons transmis étaient un
peu bas, les sons reproduits l'étaient également, et même
n'étaient
pas toujours entendus. Je me propose d'entreprendre une série
d'expériences avec un récepteur basé sur le principe
de l'expansion en me servant de différentes compositions. »
TH. A. EDISON, MAC BATCHELOR, J. ADAMS.
(Extrait du registre d'expériences de M. A. Edison).
Je n'ai pas besoin de répéter que ces effets ont été
également obtenus par MM. Blyth, Courtenay, Millar, Wiesendanger
et une foule d'autres personnes. Aujourd'hui, ces appareils sont même
très-perfectionnés et sont en vente chez MM. Chardin et
Berjot, Gaiffe, etc.
Du reste il faut que M. N'avez se familiarise avec ces sortes de reproductions
de la parole, car, en outre des expériences rapportées
dans ma dernière note, en voici plusieurs autres dont on vient
de me donner connaissance.
1° Si dans un téléphone Bell ordinaire on supprime
le noyau magnétique et qu'on le remplace par un tube de cuivre
épanoui sur la bobine de manière à former un anneau
de même diamètre que le diaphragme, on obtient, sous l'influence
d'un microphone et d'une pile de 6 éléments Leclanché,
la reproduction de la parole avec une force plus grande que dans les
conditions ordinaires d'un téléphone Bell.
2° Si entre les pôles d'un aimant en fer à cheval on
adapte un noyau de fer doux mis en contact avec ces pôles et sur
lequel sera enroulée une hélice magnétisante, on
pourra entendre parfaitement la parole en fixant cet aimant sur une
planche et en amplifiant les vibrations communiquées par lui
à la planche au moyen d'un microphone à charbon vertical.
Suivant M. Hughes on entendrait avec cette disposition presque aussi
bien qu'avec un téléphone Bell ordinaire. M. E. Yarley,
dans une lettre publiée dans le Télégraphie Journal
du 15 Septembre, a confirmé l'exactitude de cette expérience
et en indique même plusieurs autres, en ajoutant qu'elles ont
confirmé les travaux de M. du Moncel qui a fait, dit-il, avancer
considérablement la question, en jetant une grande lumière
sur les actions, imparfaitement connues jusqu'ici, qui sont enjeu dans
le téléphone articulant.
3° En adaptant sur une même planche deux microphones à
charbon vertical et en les mettant en rapport, l'un avec un téléphone
servant de récepteur, l'autre avec un autre microphone servant
de transmetteur, on entendra dans le téléphone les paroles
prononcées dans ce dernier microphone, et les deux autres formeront
relais sans l'intervention d'aucun organe électro-magnétique.
Il suffira pour cela d'une pile placée dans
chaque circuit.
Je pourrais citer encore d'autres expériences, entre autres une
de M. Paul Boy (d'Alger) qui ferait croire que l'on peut faire parler
un téléphone sans que le courant transmis passe à
travers la bobine de l'aimant, et rien qu'en traversant l'aimant dans
sa longueur, mais je me borne aux précédentes
parce qu'elles émanent d'expérimentateurs habiles qui
pourront prouver à M. Navez, quand il le voudra, la vérité
de leur dire.
Je dois encore ajouter que plusieurs expérimentateurs, entre
autres MM. Millar, Buchin et Lloyd, ont construit des téléphones
sans diaphragme qui reproduisent très-bien la parole.
Enfin M. Navez n'a qu'à lire le Télégraphie Journal
du 1er Septembre pour être convaincu que beaucoup de personnes
ne partagent pas ses idées. Je renvoie du reste le lecteur aux
trois articles qui ont été publiés dans le journal
l'Electricité des 20 Août, 5 et 20 Septembre 1878, aux
Comptes-rendus de l'Académie des sciences du 9 Septembre et à
la Correspondance scientifique du 24 Septembre, pour qu'il puisse reconnaître
que la majorité des savants dont parle M. Navez pourra bien se
changer quelque jour en une très-grande minorité.
Je ne veux pas abuser de votre complaisance pour vous ennuyer davantage
d'un débat dont M. Navez a voulu faire, bien malgré moi
je vous assure, une affaire d'amour-propre. Je termine donc ici ma plaidoierie
en vous priant de me croire votre tout dévoué
TH. DU MONCEL.
Voici maintenant la lettre de M. Navez.
Bruxelles, 31 Août 1878.
Monsieur le Directeur,
Du moment que M. du Moncel admettrait un déplacement de surface
pendant la vibration de la plaque, nous serions bien près de
nous entendre. Voilà ce que j'écrivais en Mai dernier
( 1 ). Mais mon honorable contradicteur n'admettait pas, alors, un déplacement
de surface pendant la vibration. Pour soutenir son opinion, M. du Moncel
citait des expériences ; il avait placé sur la lame du
récepteur Bell de l'eau, de la poudre de lycopode, des gouttelettes
de mercure sans pouvoir constater la plus petite ride, même en
employant un rayon de lumière pour amplifier les effets produits
( 2 ).
Maintenant M. du Moncel écrit que « par le mot vibration
moléculaire il n'a jamais entendu parler d'une vibration exempte
d'effets mécaniques Pour lui, comme pour M. Hughes, les vibrations
longitudinales dont il a parlé doivent être accompagnées
d'un mouvement vibratoire des surfaces .... une vibration matérielle
peut résulter de contractions et de dilatations moléculaires
quand ces actions peuvent se développer librement ( 3). »
1) Voir le Bulletin de l'Académie royale de Belgique, Mai
1878 et le Journal télégraphique, N° 6, page 115.
2) Voir le Journal télégraphique, N° 5, page 96.
3 ) Voir le Journal télégraphique, N° 8, page 158.
On voit que les idées de M. du Moncel sur les vibrations
moléculaires se sont beaucoup modifiées et qu'il s'est
mis d'accord avec M. Hughes et le mode d'action du microphone récepteur.
M. du Moncel n'est-il pas en contradiction avec lui-même, lorsqu'il
nie l'existence de vibrations par attraction de la plaque du récepteur
Bell, parce que ces vibrations ne sont pas décélées
au moyen du lycopode, de l'eau ou du mercure, tandis qu'il admet, dans
cette même plaque, des vibrations moléculaires avec déplacement
de surface, lesquelles restent également sans effet visible sur
le lycopode, l'eau ou le mercure? Moi, j'admets parfaitement des vibrations
moléculaires avec déplacement de surface ; mais, je me
bâte d'ajouter que ce ne sont pas ces vibrations qui font parler
la plaque du récepteur Bell.
Je passe à la discussion de l'expérience réalisée
par M.Hughes pour prouver que la plaque du récepteur Bell ne
vibre pas par attraction (Voir le Journal télégraphique,
N° 8, page 158.).
La démonstration de M. Hughes repose sur ce fait : que les effets,
par attraction, de deux téléphones Bell, identiques entre
eux, mais agissant par leurspôles contraires sur une même
plaque et à petite distance l'unde l'autre, doivent se neutraliser.
Or, l'expérience prouvant que ces effets ne se neutralisent pas,
M. Hughes en conclut que le diaphragme ne vibre pas par attraction.
Ce raisonnement serait quelque peu plausible si la plaque, pour vibrer,
prenait appui sur le pourtour du téléphone. Mais on sait
qu'iln'en est point ainsi puisque la hauteur du son, le ton, est indépendant
de l'ouverture de la plaque. On peut donc considérer le système
employé par M. Hughes comme étant composé de deux
téléphones compris dans le même circuit électrique
et agissant chacun par son organe électro-magnétique sur
la partie de la plaque en regard de laquelle il se trouve pour y déterminer
des espaces internodaux (concammérations) variables et indépendants
pour chaque centre d'attraction.
Voici encore une autre explication du phénomène; on pourra
choisir. Avant le passage du courant, il y a équilibre entre
les attractions qu'exercent les deux aimants et la réaction due
à l'élasticité de la plaque. Aussitôt qu'un
courant ondulatoire passe dans la bobine commune, les différentes
forces en présence sont modifiées d'une manière
continue et il en résulte, dans la plaque, des mouvements qui
sont des vibrations. Il n'est pas du tout nécessaire, pour qu'une
plaque de téléphone vibre utilement, que les vibrations
soient symétriques par rapport au centre de cette plaque ; il
suffit qu'elles résultent de l'action d'un courant ondulatoire.
Le mot ondulatoire caractérise parfaitement le mode d'action
des éléments téléphoniques qui concourent
à la reproduction de la parole. Ainsi, on peut fort bien dire
que, dans lerécepteur Bell, les attractions qui agissent sur
la plaque sont ondulatoires. La parole n'est, après tout, que
du son ondulatoire.
Bien n'est plus propre à donner des idées saines sur la
théorie des téléphones que l'étude comparée
de ces instrumentssous le rapport des actions ondulatoires. Permettez-moi,
Monsieur, d'en dire quelques mots.
Le téléphone Bell articule mieux qu'aucun autre parce
queles courants d'induction qui le font parler sont parfaitement ondulatoires
; ces courants naissent et cessent d'exister en restant toujours dans
un rapport constant avec la parole qui les produit et sans éprouver
des ruptures accidentelles. Si le système Edison est moins parfait
que le système Bell, sous le rapport de l'articulation, c'est
que, dans le premier, l'organe qui produit l'ondulation, le charbon,
bien qu'il soit très-sensible, fonctionne cependant avec moins
de régularité que la plaque conductrice de l'envoyeur
Bell.
Dans le microphone de M. Hughes, l'équilibre instable du léger
cylindre en charbon renferme les variations ondulatoires entre des limites
très-rapprochées qui correspondent respectivement à
la pression maximum, qui est elle-même très-faible, et
à la rupture du circuit. Lorsque l'on fait usage de ce petit
appareil dans l'obscurité et en parlant près du cylindre
oscillant, on voit des étincelles jaillir du sommet de ce cylindre,
preuve que des disjonctions sont produites. Ces considérations
font saisir la spécialité du microphone. Il amplifie les
sons faibles et les reproduit d'autant mieux qu'ils sont moins articulés.
La reproduction est au reste très-imparfaite et, si la mouche
que l'on entend, dit-on, marcher pouvait parler, on ne
comprendrait certes pas un mot de son discours.
Très-sensible au rythme, le microphone peut reproduire les sons
de la musique et des chants d'ensemble émis à une distance
suffisante pour que les ondes sonores ne l'attaquent pas trop brusquement.
Mais quand il s'agit d'employer le microphone comme parleur, il faut
lui faire subir des modifications ayant pour objet d'empêcher
les disjonctions et de régulariser les mouvements vibratoires.
On y parvient, jusqu'à un certain point, en faisant usage d'un
cylindre oscillant plus grand et plus pesant, ou bien en réglant
la pression aux points de contact au moyen d'un ressort. Dès
lors l'appareil envoyeur cesse d'être un microphone; il tombe
dans le système Edison et présente une application de
ce système peu heureuse.
Il y a cependant une différence importante et indépendante
de la forme, entre l'envoyeur (transmetteur) Edison et le microphone
; dans le premier appareil, l'ondulation est obtenue par la compression
d'un charbon entre deux pièces métalliques, tandis que
dans le second l'ondulation résulte du contact de charbon à
charbon, disposition beaucoup plus efficace.
C'est sur le principe de contact entre charbons qu'a été
établi, par mon fils et moi, en Février dernier, alors
qu'il n'était pas encore question du microphone de M. Hughes,
l'envoyeur Edison modifié dont la description se trouve dans
le Bulletin de l'Académie royale de Belgique du 2 Mars 1878 (Voir
aussi les Comptes-rendus de l1 Académie des sciences de Paris,
séance du 18 Mars 1878.).
Dans cet appareil, l'organe modificateur de l'intensité du courant
électrique est une pile de rondelles en charbon solidaire de
la plaque
vibrante et comprimée par une tige métallique libre dont
le poids est réglé d'après les effets que l'on
veut obtenir. L'intensité du son reproduit varie en raison inverse
du poids de latige tandis que l'articulation du son augmente avec le
poids.
On peut opérer, au moyen de cet envoyeur, en parlant sur le flanc
de la colonne de rondelles ; mais les résultats sont beaucoup
plus intenses et surtout plus réguliers, lorsque l'on parle dans
un cornet communiquant, par un tuyau acoustique, avec la plaque vibrante
sur laquelle est établi l'organe modificateur du courant.
Un ancien et très-habile constructeur d'appareils télégraphiques,
M. Lippens, après avoir vu et entendu fonctionner notre envoyeur
Edison modifié, s'est fait breveter pour un transmetteur qui,
en principe, ne diffère pas de celui dont je viens de parler.
Cet appareil auquel l'inventeur donne le nom de mégalophone,
consiste en deux plaques en ébonite placées aux deux extrémités
d'une boîte cylindrique, en regard l'une de l'autre et dans une
position verticale. Au centre de chaque plaque est fixée une
pièce en charbon ; une troisième pièce de la même
matière repose librement sur les extrémités des
deux premières. On parle devant une des deux plaques. Le mégalophone,
comme les autres parleurs, pour employer l'expression
adoptée par M. Hughes, présentera des qualités
qui le rapprocheront soit de l'envoyeur Bell, soit du microphone Hughes,
suivant que la pièce libre en charbon sera plus ou moins mobile
sous l'action des vibrations.
L'emploi du contact entre charbons a certainement augmenté ce
que l'on pourrait appeler le rendement économique du téléphone,
c'est-à-dire la combinaison de l'intensité et de l'articulation
du son. Si les deux facteurs de ce rendement pouvaient être évalués
en nombres, le produit que l'on obtiendrait du couple Edison modifié
envoyeur et Bell récepteur, serait de beaucoup supérieur
à celui qui représenterait la valeur de deux Bell conjugués.
Bans un système téléphonique quelconque, il y a
toujours un rapport entre l'intensité et l'articulation du son,
plus avantageux que tout autre quant au but définitif que l'on
veut atteindre ; c'est pour cette raison qu'un bon envoyeur doit comporter
un moyen de réglage. Ainsi, dans l'envoyeur à colonne
de rondelles en charbon, le rapport entre l'intensité et l'articulation
du son se régie par le poids de la tige métallique comprimant
la pile de rondelles.
Au point où en est la question des téléphones,
les recherches ayant pour objet l'amélioration de la qualité
du charbon ou la découverte d'une matière plus efficace
que celles employées jusqu'à présent pour rendre
le courant électrique ondulatoire, présentent le plus
grand intérêt. M. du Moncel dit, dans sa lettre, que «
par les expériences de M. Hughes, il est démontré
que les sons articulés sont beaucoup mieux reproduits avec des
charbons de sapin métallisés qu'avec des charbons de cornue.
» Cela est exact ; je l'ai reconnu depuis longtemps et le fait
se trouve consigné dans le H° 4 du Journal télégraphique,
page 73 !
(Le charbon dont il s'agit est fabriqué pour l'éclairage
électrique par M. Gaudain à Paris. On trouve sa fabrication
sommairement décrite dans l'ouvrage de M. Fontaine ayant pour
titre: Eclairage par l'électricité, Paris, Baudry, 1877).
Je m'aperçois que je me suis beaucoup plus occupé
des expériences de M. Hughes que de ma discussion avec M. du
Moncel. Mon honorable contradicteur me le pardonnera puisque, dans chacune
de ses lettres, il a témoigné le désir d'en finir.
D'ailleurs, ce que je pourrais encore répliquer se trouve déjà,
en substance, dans les notes et lettres précédentes et
je ne veux pas abuser de la bienveillance avec laquelle vous avez accueilli
mes communications dans votre excellent journal.
Veuillez, Monsieur, avec mes remerciements, recevoir l'assurance de
ma considération la plus distinguée.
NAVEZ.
sommaire
Charlottenburg, en décembre 1878. Traduction
du texte par téléphone. de Eduard Hagenbach
La théorie du téléphone de Bell
a été clarifiée dans ses points essentiels par
les travaux de MM. E. Du Bois-Reymond, L. Hermann, H.
F. Weber et Helmholtz.
On a toujours supposé que les déformations de la lamelle
de fer vibrante étaient proportionnelles, d'une part, à
l'amplitude des vibrations de l'air et, d'autre part, aux fluctuations
temporelles du potentiel électromagnétique des masses
magnétiques du téléphone.
Cependant, il n'est pas tout à fait évident qu'une plaque
de fer rigide, même mince, obéisse sans réserve
aux forces qui s'exercent sur elle.
Dans le cas d'un diaphragme élastique souple, par exemple une
fine pellicule de caoutchouc, où son élasticité
propre n'a qu'un effet négligeable, même en cas de déformations
notables, et est donc négligée, où la masse à
déplacer et le frottement moléculaire interne à
vaincre sont également relativement faibles, une telle déformation
parfaite se comprend aisément ; il n'en va pas de même
pour les corps élastiques rigides à module d'élasticité
élevé. Pour de tels corps, il faudra davantage de circonstances
et de temps pour les mettre en vibration ; nous savons également
que les plaques élastiques rigides possèdent un nombre
limité de fréquences propres, dont les fréquences
dépendent d'une part des dimensions, de l'élasticité
et de la densité de la plaque, et d'autre part de la manière
dont elle se décompose en sections individuelles se déplaçant
en sens inverse lors de la vibration.
Le nombre de demi-tons peut devenir très important, surtout dans
les plaques minces, et les amplitudes de vibration peuvent être
relativement proches si le nombre de divisions est significatif, mais
elles ne se superposeront jamais parfaitement. Les influences de l'inertie
interne et de l'élasticité inhérente mentionnées
ici augmentent et diminuent avec l'amplitude et disparaissent pour des
amplitudes infinitésimales. On peut donc affirmer que la propriété
des membranes minces et inélastiques de répondre immédiatement
et parfaitement à toute influence s'applique également
aux corps élastiques rigides si les amplitudes sont extrêmement
faibles. Que les oscillations dans le téléphone soient
faibles ne fait aucun doute.
Globalement, la plaque de fer du téléphone vibre comme
une membrane souple, ce qui explique l'efficacité surprenante
de la transmission des sons. Cependant, la rigidité de la plaque
n'a-t-elle pas une influence dans certaines circonstances et en cas
d'imperfections de l'appareil ? C'est la question à laquelle
répondra la brève étude qui suit.
Lorsqu'on utilise différents téléphones Bell pour
transmettre les tonalités de diapasons puissants, certains téléphones
semblent avoir une préférence pour certains diapasons
et transmettre leurs tonalités relativement mieux. Cependant,
il s'agit d'une expérience où le jugement subjectif joue
un rôle si important qu'il est déconseillé d'en
tirer des conclusions définitives. La situation est différente
lorsqu'on utilise les barres sonores KBI, bien connues pour la génération
de tonalités, qui servent à déterminer la limite
supérieure d'audibilité. Il faut alors généralement
choisir non seulement entre une meilleure et une moins bonne transmission,
mais aussi entre une écoute directe et une écoute directionnelle.
Les expériences furent menées avec des téléphones
Bell que j'avais obtenus de M. M. Hipp et dans lesquels on pouvait insérer
des plaques de différentes épaisseurs, variant entre 0,12
et 0,18 mm. Les deux postes téléphoniques, reliés
par des fils conducteurs, étaient suffisamment éloignés
l'un de l'autre pour qu'il n'y ait pas d'écoute directe des barres
sonores.
Au poste d'écoute, on frappait une barre sonore,et on tenait
le téléphone aussi près que possible de celle-ci ;
au poste de réception, on portait le téléphone
à l'oreille, et l'on notait alors si la tonalité était
entendue clairement, faiblement, très faiblement ou pas du tout.
Afin de minimiser autant que possible la subjectivité de l'évaluation,
M. Alb. Riggenbach, étudiant, et moi-même portions tour
à tour le téléphone à l'oreille, chacun
notant ses observations sur une feuille de papier sans connaître
celles de l'autre ; seules les observations dont les résultats
concordaient étaient retenues.
Les dix barres de ton que j'ai utilisées produisaient les notes
de l'accord majeur dans chaque octave et couvraient la gamme de la cinquième
à la huitième octave au-dessus du do central, selon l'accord
Chandini, qui, comme chacun sait, est à la base de l'appareil
royal.
La barre de ton la plus longue, avec la note la plus grave, produit
4 096 vibrations (8 192 vibrations simples), la barre de ton
la plus courte, avec la note la plus aiguë, produit 32 768
vibrations (65 536 vibrations simples).
Sans téléphone, la limite d'audibilité se situe
parfois à la septième octave au-dessus du do central,
fréquemment à la septième octave au-dessus du mi,
et chez les enfants et les jeunes, souvent seulement à la septième
octave au-dessus du ne ; pour entendre la huitième octave
au-dessus du do central, je ne connais qu'un seul cas, d'après
mon expérience. On peut donc dire que les limites d'audibilité
se situent, en nombres ronds, entre 15 000 et 35 000 vibrations.
La flamme sensible tyndallienne réagit très fortement
à toutes ces hautes fréquences. Les vibrations se produisent
ainsi, l'air les propage, et seule l'oreille ne les perçoit pas.
Si les sons aigus de cette onde sonore sont transmis par téléphone,
on constate immédiatement que le seuil d'audibilité est
nettement plus bas. Des expériences menées avec différents
téléphones ne m'ont jamais permis d'entendre une note
supérieure au do au-dessus du do central ; parfois, le seuil
se situait déjà entre le do au-dessus du do central et
le mi au-dessus du do central.
Le seuil d'audibilité n'a jamais été atteint. Je
note à cette occasion que le son sourd, toujours aussi aigu,
du coup, qui est vraisemblablement le son intrinsèque du marteau,
est perçu en toutes circonstances, même lorsque le seuil
d'audibilité est dépassé, et cela vaut aussi bien
pour la perception directe que pour la transmission par téléphone.
Il ressort donc des expériences susmentionnées que le
seuil d'audibilité, lors de l'utilisation du téléphone,
est généralement inférieur d'environ deux octaves
à celui de la perception directe. Que le défaut de transmission
réside ici dans l'appareil objectif du téléphone
et non dans l'appareil subjectif de l'oreille est évident ; de
plus, j'ai répété l'expérience avec un plus
grand nombre d'étudiants et me suis ainsi convaincu qu'avec le
téléphone, la limite est exactement la même pour
des personnes qui présentent des limites très différentes
en perception directe.
La question se pose maintenant : à qui la faute ?
À la ligne, à l'aimant ou à la plaque de fer vibrante
?
- Des perturbations de la propagation régulière du son
dans la ligne étaient concevables si, aux hautes fréquences
d'oscillation, le second courant opposé était injecté
dans la ligne avant que le premier n'ait achevé son parcours.
Que l'absence de sons aigus ne puisse s'expliquer de cette manière
est évident : l'insertion de résistances de valeurs
différentes dans la ligne ne fait qu'affaiblir l'intensité
des sons aigus, sans rien changer à la limite de l'audibilité.
- La seconde question, à savoir si le défaut provient
de l'inertie des aimants ou de celle des plaques (c'est-à-dire
que les aimants ne peuvent suivre la variation du magnétisme,
ni les plaques l'exécution des oscillations), est ainsi résolue
en faveur des plaques ; le remplacement des plaques, et non des
aimants, entraîne un changement d'aspect.
On peut donc affirmer que si le nombre de vibrations de l'air par seconde,
ou les variations du magnétisme qui déterminent les vibrations
de la plaque, dépassent un certain seuil, la plaque ne peut plus
suivre le rythme de ses propres vibrations. Ceci se comprend aisément
si l'on considère que la plaque de fer ne réagit pas immédiatement
à la force qui la met en mouvement, mais que des contraintes
internes doivent se former et des frottements moléculaires être
surmontés avant que l'effet ne se manifeste par une accélération
de la masse en mouvement. Si cette dernière n'intervient qu'après
l'action des causes opposées, alors les causes successives, périodiquement
très rapides et de sens opposé, s'annulent mutuellement.
Dans notre cas, un phénomène très similaire se
produit, comme avec un manomètre à eau, insensible aux
fluctuations de pression rapides du sifflet, ou avec un galvanomètre,
insensible aux variations rapides du courant d'une bobine d'induction
ou d'un téléphone. Comme je l'ai déjà mentionné,
le seuil d'audibilité variait selon les téléphones
utilisés ; l'hypothèse selon laquelle l'épaisseur
de la plaque serait le facteur déterminant et que sa dépendance
à cette épaisseur pourrait être vérifiée
expérimentalement n'a pas été pleinement confirmée.
Ceci est probablement dû, d'une part, au fait que les propriétés
d'élasticité et de rigidité, qui ne sont certainement
pas exactement les mêmes dans les différentes plaques,
ont également une incidence, et d'autre part, à une influence
qui provoque un autre phénomène, déjà brièvement
évoqué plus haut, mais qu'il convient maintenant d'examiner
plus en détail. Ce phénomène consiste en une sorte
de seuil de propagation pour certaines tonalités dans les téléphones.
Ceci est naturellement démontré par le fait curieux que
certaines tonalités sont omises à la limite, c'est-à-dire
que des tonalités disparaissent, tandis que des tonalités
plus aiguës redeviennent clairement audibles. C'est ce qui s'est
produit, par exemple, avec différentes connexions téléphoniques :
le « c » de la cinquième ligne était
clairement audible, le « e » suivant ne l'était
pas, puis le « e » devenait audible, le « c »
de la sixième ligne et les autres ne l'étaient plus.
Un cas encore plus frappant, que j'ai observé uniquement avec
la connexion de deux téléphones équipés
de disques de 0,13 mm d'épaisseur, consistait en l'audibilité
du do à cinq lignes, puis l'omission du do et du sol, la note
aiguë du do à six lignes réapparaissait très
clairement ; tandis qu'ensuite toutes les notes plus aiguës
devenaient inaudibles.
L'explication de cette omission de notes ou de cette prédominance
de certaines notes réside apparemment dans l'influence des fréquences
intrinsèques du disque. Les déformations étant
faibles, le disque du téléphone vibre à chaque
note ; mais il le fait plus facilement et avec une amplitude relativement
plus grande lorsque la tonalité est également une tonalité
intrinsèque du disque. À la limite, lorsque le disque
peine à suivre, des vibrations sensiblement audibles ne se produisent
que lorsque sa propre élasticité supporte les influences
extérieures, tandis que la tonalité ne se développe
pas avec une intensité suffisante si cette interaction mutuelle
favorable n'a pas lieu. Il est évident que des facteurs subjectifs,
notamment la sensibilité de l'organe auditif, jouent un rôle
multiple dans les observations de ce type. Il serait donc hautement
souhaitable que les expériences soient répétées
sous un autre angle, et que les épaisseurs des disques soient
variées dans des limites encore plus larges que dans mes expériences.
Enfin, je tiens à préciser que les résultats
de mes expériences, indépendamment des grands thèmes
de la théorie de l'induction abordés notamment par MM.
Weber et Helmholtz, rendent impossible une transmission fidèle
du timbre par téléphone. En particulier, lorsque le timbre
repose sur des harmoniques aiguës, une altération est inévitable.
D'après mes recherches, le phonographe est encore moins sensible
aux aigus que le téléphone ; les notes du « Clang-Rabel »
du roi n'y laissent aucune trace perceptible. Ceci explique également
la très mauvaise reproduction, par le phonographe, du « Vocal »,
caractérisé par une harmonique aiguë.
Bien que les travaux d'Helmholtz, de du Bois-Reymond
et de Bernstein aient apporté de nombreuses réponses sur
le fonctionnement des nerfs et des muscles, la poursuite de ce projet
nécessitait de comprendre le fonctionnement d'un nerf individuel,
ce qui fut grandement facilité par la possibilité de rendre
son activité électrique audible.
Les premiers efforts dans ce sens utilisèrent la technologie
du téléphone, récemment inventé, pour écouter
les nerfs et les muscles, voire les activer par la voix à distance.
Peu après qu'Alexander Graham Bell eut rendu public son téléphone
en 1876, les physiologistes commencèrent à expérimenter
avec cet appareil. Comme l'a montré Axel Volmar, « le potentiel
du téléphone pour l'observation acoustique des courants
électriques musculaires et nerveux fut très tôt
reconnu et exploité de manière fructueuse »¹.
Nous situerons les découvertes de Volmar dans le contexte plus
large de l'étude des signaux neuronaux.
En novembre 1877, quelques jours seulement après avoir reçu
un appareil Bell, du Bois-Reymond réalisa une expérience
avec son sens habituel du spectaculaire. Après avoir fixé
lextrémité réceptrice de lélectrode
téléphonique au nerf dun muscle de la cuisse dune
grenouille, lorsquil « disait, chantait, sifflait »
zucke ! (« tressaillit ! ») dans le microphone, le muscle
tressaillait.
Cette scène surprenante nimpliquait cependant pas la communication
du sens du mot, car « même le fait de poser un entonnoir
sur la table avec un certain poids » suffisait si le microphone
captait ce son. Il remarqua que le muscle de la grenouille restait immobile
en réponse à liege still ! (« reste tranquille !
»), non pas parce quil comprenait le sens du mot, mais parce
que « les sons avec des harmoniques caractéristiques plus
graves sont plus efficaces que ceux avec des harmoniques plus aiguës
», comme le u de zucke comparé au i de liege. Ici, du Bois-Reymond
sinspira des travaux de Helmholtz sur les diapasons imitant les
voyelles humaines afin de comprendre les signaux électriques
qui relient la voyelle et la grenouille. Du Bois-Reymond fit le lien
avec d'autres expériences utilisant un archet de violon pour
mettre un aimant en vibration, provoquant ainsi un courant électrique
qui entraînait la contraction musculaire d'une grenouille, un
« tétanos acoustique ».
Pour lui, le téléphone était l'une des nombreuses
interventions soniques sur l'activité nerveuse, partageant avec
l'appareil d'induction de Helmholtz l'utilisation de courants électriques,
qu'ils soient générés par un diapason ou par la
voix.
Peu après, en 1878, Bernstein et Ludimar Hermann (un autre élève
de du Bois-Reymond) utilisèrent le téléphone pour
recevoir, et non seulement émettre, des signaux neuronaux. Après
qu'un autre chercheur eut mis en doute la précision de son interrupteur
acoustique (voir figure 15.13), Bernstein utilisa le téléphone
pour démontrer que son dispositif produisait effectivement des
courants dont les fréquences étaient déterminées
par la vibration de son ressort. Après avoir branché un
téléphone pour recevoir le signal du ressort réglé
sur une fréquence arbitraire (ici, environ 180 à 190 Hertz),
« on entendait immédiatement la même hauteur dans
toute la pièce, mêlée à un cliquetis souvent
entendu lorsque la plaque téléphonique [du combiné],
actionnée par les forts courants nécessaires à
l'interrupteur, heurtait le noyau de fer. » Malgré ce cliquetis,
la hauteur du ressort vibrant actionnant le nerf était parfaitement
audible.
En 1878, Hermann tenta d'utiliser un téléphone
pour détecter les très faibles courants générés
par les nerfs. Comme Bernstein, il observa lui aussi que le téléphone
pouvait capter les vibrations de l'appareil inducteur de manière
si audible qu'il entendit la fréquence de vibration « à
plusieurs mètres du combiné », lui-même situé
à un mètre de l'inducteur.
Il espérait donc qu'entendre les hauteurs exactes des sons musculaires
au téléphone permettrait de clarifier leur physiologie.
Pourtant, il ne pouvait percevoir les courants nerveux induits par le
téléphone qu'un « bruit de crépitement »,
car l'appareil de Bell n'était pas suffisamment sensible.
La même année, l'intérêt pour l'utilisation
du téléphone dans l'étude des nerfs se répandit
rapidement à travers l'Europe et au-delà, comme le souligne
Volmar.
À Paris, Jacques-Arsène d'Arsonval (qui
avait été l'assistant du célèbre physiologiste
Claude Bernard) utilisa les téléphones plus sensibles
de Siemens et Halske pour affirmer que « le téléphone
le plus rudimentaire est au moins cent fois plus sensible que le nerf
pour détecter de faibles variations électriques ».
Le téléphone était également bien supérieur
au galvanomètre de du Bois-Reymond, qui (malgré
ses bobines sensibles) « manquait dinstantanéité
et dont laiguille, du fait de son inertie, ne pouvait pas indiquer
les variations électriques rapides qui se produisent (par exemple)
dans un muscle tétanisé ».
Pour tester la présence dun faible courant provenant dun
muscle, dArsonval proposa « denvoyer le courant à
travers le téléphone et, afin dobtenir des variations,
jinterromps le courant mécaniquement avec un diapason.
Si aucun courant ne circule dans le téléphone, celui-ci
restera silencieux, mais si au contraire il y a le plus faible courant,
le téléphone vibrera à lunisson avec le diapason.
»
Une fois de plus, le diapason se révélait un instrument
précieux, capable de moduler les courants nerveux délicats.
DArsonval ne doutait pas que lutilisation du téléphone
« fournirait des résultats intéressants dans létude
de lélectricité animale que jétudierai
de cette nouvelle manière ».
Plus tard dans l'année, à Saint-Pétersbourg, le
physiologiste et médecin géorgien Ivan Tarchanow
(Tarkhnishvili) confirma les affirmations de d'Arsonval concernant la
sensibilité du téléphone.
Tarkhanow utilisa un diapason de 100 hertz (environ un sol bémol,
deux octaves en dessous du do central) pour créer l'induction
électrique stimulant un muscle. Ensuite, à l'aide de «
deux simples téléphones Bell, il suffit de placer un téléphone
sur chaque oreille pour percevoir une tonalité claire qui reproduit
la hauteur du diapason. ».
Il réalisa cette expérience sur les muscles d'une cuisse
de grenouille et d'un bras humain : « Tant que les mains restent
complètement au repos, il n'y a pas la moindre trace de tonalité
dans le téléphone.
Dès que les muscles d'une main se contractent, une tonalité
claire se fait entendre et s'éteint lorsque les muscles commencent
à se détendre. »
Comme le note Volmar, le choix des mots de Tarchanow montre qu'il
pensait que l'ouïe, tout comme la vision, était capable
de produire une « manifestation » des courants nerveux.
Pour ce faire, Tarchanow souligna la plus grande clarté obtenue
en utilisant les deux oreilles, probablement influencée par l'utilisation
de longue date du stéthoscope binaural (datant au moins des années
1850) ainsi que par les expériences d'Alexander Graham Bell sur
la téléphonie « stéréoscopique ».
Quand Bernstein retourna dans ce domaine, en 1881, il entendit
lui aussi « un cliquetis distinct » en stimulant les muscles
de grenouilles avec son interrupteur acoustique, en utilisant des courants
dont les fréquences atteignaient 700 Hertz.
Pour décrire ces fréquences, il employa une terminologie
musicale afin de donner les hauteurs des diapasons qu'il utilisait pour
produire ces courants, montrant ainsi à quel point il concevait
ces expériences en termes d'appareil musical sous-jacent.
Cette sensibilité au son musical caractérisa également
sa description d'expériences où le muscle était
injecté de strychnine pour induire un autre type de tétanos,
ce qui produisit « au téléphone, un chant grave
et très clairement audible ».
sommaire
TÉLÉPHONE. Application
à l'électricité musculaire
Extraits de "Physiologie des muscles et des nerfs... par
Charles Richet, 1882 "
Il semble que le fait d'un bruit musculaire dans la systole soit en
contradiction avec l'hypothèse que la contraction du cur
est une secousse simple. Mais nous ne connaissons pas assez le mécanisme
intime de la contraction, pour en conclure que la systole cardiaque
résulte de la fusion de plusieurs secousses élémentaires.
Sommes-nous autorisés à dire avec certitude que la secousse
provoquée par une seule excitation électrique n'est pas
composée elle-même de plusieurs vibrations plus petites.
Je ne sais pas si la secousse unique d'un muscle donne un bruit musculaire,
et je ne crois pas que cette recherche spéciale ait été
faite méthodiquement. Elle serait d'autant plus difficile que,
même pendant le repos, il y a encore un bruit musculaire, dû
à la tonicité.
En appliquant le stéthoscope sur un muscle vivant, on entend
toujours un bruissement sourd qui se renforce chaque fois que le muscle
se contracte. On a proposé de distinguer parce moyen la mort
réelle de la mort apparente, et il est de fait que sur un cadavre
on n'entend rien d'analogue au bruit musculaire. Toutefois il faut une
oreille déjà assez exercée pour distinguer nettement
la vibration musculaire, de sorte que ce procédé ne pourra
jamais devenir vulgaire.
M. BOUDET ( livre "Des
applications dit téléphone et du microphone à la
physiologie et à la clinique, Paris, 1880" ) a vérifié
avec le téléphone ce fait intéressant que M. MAREY
avait déjà avancé il y a longtemps, à savoir
que la tonalité du bruit musculaire est d'autant plus élevée
que l'énergie de la contraction est plus grande. Il a montré
aussi qu'un muscle tendu et en état de tonicité donne
un bruit qui augmente avec le poids tenseur du muscle. On sait que la
tension du muscle par un poids provoque un certain état actif,
ou, comme on dit, la tonicité du muscle, quand ce muscle est
en rapport avec les centres cérébromédullaires.
Pour bien apprécier les sons les plus faibles, M. BOUDET a construi
t divers appareils microphoniques et microtéléphoniques,
pour la description desquels je renvoie à ses publications.
M. HERING, en auscultant l'il d'un animal vivant, a pu entendre
les bruits musculaires produits par les muscles de l'oeil. Il a constaté
que le curare, qui abolit la tonicité musculaire en supprimant
l'innervation motrice, fait cesser le bruit des muscles de l'il,
bruit qu'on entend constamment, même lorsque l'organe parait être
en repos. En effet, les muscles d'un animal vivant ne sont jamais en
un réel repos, mais reçoivent toujours des excitations
nerveuses faibles.
Contraction volontaire. Nous arrivons à l'étude
d'un des plus importants problèmes de la physiologie musculaire.
Les muscles, lorsqu'ils exécutent les mouvements volontaires
que le cerveau leur commande par l'intermédiaire des nerfs, vibrent-ils
à la manière d'un muscle excité par des courants
fréquemment interrompus, ou ontils une très longue secousse?
Autrement dit, l'excitation venue du cerveau ou de la moelle est-elle
unique et prolongée, ou constituée par une série
de petites excitations brèves et fréquentes? Est-elle
continue ou discontinue ?
Bien des physiologistes, MM. HELMHOLTZ, BRÜCKE, KRONECKER, HERMANN,'
ont essayé de résoudre la question. Ils ne sont pas arrivés
à une conclusion absolument certaine.
- L'expérience la plus importante est celle que nous indiquions
plus haut, celle d'HELMHOLTZ et de BERNSTEIN : le muscle, excité
par des courants d'un certain rythme, vibre à l'unisson de ces
courants. Or, comme il vibre aussi lorsqu'il est mû par l'excitation
nerveuse, sa vibration révèle alors le rythme véritable
des vibrations nerveuses qui l'ébranlent.
Une autre expérience a été imaginée par
BRÜCKE. Elle consiste à compter le nombre de mouvements
volontaires qu'un muscle peut exécuter pendant un espace de temps
donné. On prend, par exemple) un crayon à la main, et
on essaye avec ce crayon de tracer aussi rapidement que possible une
série de points sur du papier pendant un temps donné.
On a ainsi le nombre maximum des mouvements spontanés qui peuvent
être exécutés par les fléchisseurs des doigts,
dans un intervalle de temps facilement mesurable.
Or le nombre des mouvements spontanés ne peut guère dépasser
8 ou 10 par seconde, et les plus habiles pianistes ne sauraient arriver
à une plus grande agilité.
Si l'on compare ces mouvements spontanés aux mouvements provoqués
par des excitations électriques, on voit qu'on peut exciter les
muscles avec des courants interrompus vingt fois par seconde, sans que
les secousses cessent d'être tout à fait distinctes. Donc,
si le muscle ne répond pas plus de 10 fois par seconde à
l'excitation de la volonté, ce n'est pas par impuissance mécanique,
c'est par suite de l'impuissance du système nerveux central à
provoquer plus de 10 excitations isolées par seconde.
D'ailleurs les secousses volontaires, quand on tâche de leur donner
le minimum de durée possible, ne peuvent jamais être aussi
rapides que les secousses provoquées dans les mêmes muscles
par des excitations électriques. Si l'on représente par
2 la durée d'une secousse électrique, la durée
minimum d'une secousse volontaire sera de 3 1.
...
Une méthode intéressante pour constater qu'il y a des
courants électriques dans le muscle consiste à interposer
un téléphone dans le circuit récepteur du courant
musculaire. En effet la plaque vibrante du téléphone est
actionnée par des courants électriques très faibles.
Chaque fois que le courant passe, la plaque téléphonique
se déplace. Si l'on vient alors, par un interrupteur quelconque
placé sur le trajet des fils récepteurs, à interrompre
le courant musculaire, on constate, en plaçant son oreille au
téléphone, qu'il y a une vibration téléphonique,
et que le son possède une tonalité qui correspond au nombre
des interruptions. Cette expérience démontre qu'il y a
un courant électrique dans le muscle. Car, si l'on détruit
la substance musculaire par un poison quelconque ou un caustique, toutes
les autres conditions de l'expérience restant absolument identiques,
on n'entendra plus aucun son. M. HERMANN, qui a le premier institué
cette expérience, fait remarquer qu'elle est assez curieuse,
propre à démontrer dans un cours l'existence de l'électricité
musculaire, mais que cependant elle n'apprend rien de nouveau relativement
à la fonction électrique des muscles.
Si, au lieu de faire des sections transversales dans le muscle, on fait
des sections obliques, et qu'on réunisse à la surface
longitudinale les différentes parties de la surface oblique,
on trouve que le courant va en se modifiant suivant des lois assez simples.
De même, en réunissant deux surfaces transversales et deux
surfaces longitudinales, on n'a de courant électrique que si
les points dont on recueille l'électricité ne sont pas
homologues. Les traitçs classiques de physiologie donnent des
figures très claires qui vous feront saisir ces variations dans
la tension électrique d'un rhombe musculaire. Un cas particulier
est le cas où la surface transversale d'un muscle, au lieu d'être
artificielle, comme celle qu'on fait en coupant perpendiculairement
un faisceau musculaire, est naturelle. Cette surface transversale naturelle
n'est autre que l'union des faisceaux musculaires au tendon. Du BOIS-REYMOND
a expliqué les phénomènes électriques qu'on
observe alors, en supposant une certaine disposition des molécules
électriques hypothétiques dont il a admis l'existence.
C'est ce qu'il a appelé la parélectronomie.
DU BOIS-REYMOND. Versuche am Telephone (Recherches
sur le téléphone )
Lorsque deux téléphones sont en expérience,
le mouvement de la membrane du téléphone récepteur
n'est pas en concordance avee celul de la membrane du téléphone
expéditenr. Les deux mouvements sont en désaccord
dun quart de vibration; de plus,
lorsque le son transmis est complexe, ce qui est le cas le plus
ordinaire, les mouvements pendulaires dont 1l se compose se reproduisenl.
Du moins, c'est ce que M. du Bois-Reymond a cherché a démontrer.... |
Une autre expérience de M. MAREY prouve encore
que les courants sont discontinus, constitués par des flux successifs.
En effet, si l'on interpose dans le circuit un téléphone,
on entendra un bruit répondant à plusieurs secousses successives.
M. MAREY a pu l'observer à Paris, donnait des décharges
qui faisaient vibrer le téléphone. Le son répondait,
pour les secousses faibles, à 10 vibrations par seconde; et,
pour les secousses fortes, à 165 vibrations. M. ROBIN a constaté
aussi que la raie donne des secousses qu'on peut entendre avec le téléphone...
sommaire
Fin 1880 Les études sur le téléphone,
au moins aussi nombreuses, ont été couronnées de
succès.
D'abord les installations téléphoniques se sont multipliées
dans les divers pays dans une proportion beaucoup plus grande quon
naurait pu lespérer, et tellement grande, que maintenant
plusieurs gouvernements, entrautres ceux dAllemagne, dAngleterre
et de Suisse, veulent en prendre le monopole. En Amérique, les
bureaux se sont multipliés dans une proportion inouïe; il
y en a 3i8 en fonction, et le nombre des abonnés dans chacun
deux sest accru dans une telle mesure, que le service en
est devenu très difficile, et quil a fallu combiner des
appareils spéciaux pour le faciliter. Le système de ce
genre le plus perfectionné est celui de MM. C.-C. Haskins et
C.-V. Wilson.
En France le mouvement est plus lent; cependant les trois Compagnies,
aujourdhui fusionnées, qui ont exploité, à
Paris, ce système de télégraphie domestique, projettent
dinstaller des bureaux dans plusieurs villes de France. Bordeaux
a commencé, et nous voyons sur la liste des villes qui demandent
organisation de ce service : Rouen, Le Havre, Marseille, Lille et la
banlieue de Paris.
LAllemagne et lAngleterre sont plus avancées que
nous, surtout au point de vue de lannexion des services téléphoniques
aux services télégraphiques, et aujourdhui plusieurs
villes dAllemagne, entrautres Berlin, Stuttgart, vont avoir
des bureaux de téléphonie domestique.
Cest à Liverpool, à Manchester et Birmingham, à
Edimbourg et Glasgow, que la téléphonie a été
le plus appliquée dans la Grande-Bretagne, et la Belgique sen
occupe très activement. Il est à supposer que dans deux
ans, ces services seront organisés partout.
Quant aux instruments, dinnombrables recherches ont été
faites pour les perfectionner, et des résultats nouveaux et tout
à fait remarquables viennent dêtre obtenus par M.
le docteur Cornélius Herz. Depuis deux mois environ, des travaux
suivis ont été faits sur les lignes télégraphiques
de lÉtat en présence de M. le Ministre des postes
et des télégraphes et des personnages les plus importants
du Gouvernement français.
On a parlé dans diverses directions et surtout sur la ligne Paris-Tours
; dès le début la conversation avait été
admirablement entretenue entre Paris et Orléans, et on a ensuite
essayé avec succès Paris-Tours, Orléans-Bordeaux
(5oo kilomètres), Paris-Brest, Paris-Bordeaux-Tours (1.000 kilomètres
environ), Tours-Brest, par Paris bureau central, distance dépassant
1100 kilomètres, et tout cela sur un seul fil et avec un seul
élément Leclanché.
Mais ce qui offre le plus grand intérêt dans les travaux
du docteur Herz, cest quil est arrivé à supprimer
avec son récepteur les bruits dinduction provenant des
fils voisins et de la terre.
Parmi les recherches les plus intéressantes faites en 1880, nous
devons mentionner spécialement, et en dehors de celles dont nous
venons de parler, les travaux de M. Ader qui a construit un téléphone
à surexcitation qui est excellent, et un indicateur téléphonique
aujourdhui employé dans quelques bureaux français.
Il a entrepris en même temps des expériences théoriques
très intéressantes qui ont montré que de petits
chocs entre les particules de fer composant le noyau magnétique
dun téléphone pouvaient transmettre la parole sans
lintermédiaire dune pile. Dun autre côté,
il a fait voir que les actions électriques intermittentes provoquent
dans un fil de fer muni dune hélice, des mouvements brusques
dont le sens indique que laction du courant a pour effet de placer
le noyau magnétique dans ses conditions normales, quand, par
une disposition quelconque, une action mécanique est exercée
sur ce noyau. Dautres travaux ont été faits sur
ce sujet par.M. Righi, mais ses conclusions sont moins nettes et moins
positives.
M. Herz est parvenu à faire parler le condensateur chantant dès
le commencement de lannée dernière, et de son côté,
M. Dunand est arrivé très récemment au même
résultat.
MM. Preece, Wilbrand, Dunand ont fait aussi parler un simple fil de
platine tendu contre un diaphragme et traversé par un courant
ondulatoire. Enfin quelques modifications dans la disposition des transmetteurs
microphoniques ont permis dobtenir des sons plus purs et plus
forts quavec les systèmes usités lannée
dernière. De ce nombre sont les transmetteurs de Blake, de Crossley,
dAder, de Herz, etc.,etc. Mais linvention qui a fait le
plus de bruit, est le photophone de M. G. Bell, qui permet de transmettre
la parole par laction delà lumière, modifiée
sous linfluence de la voix, et projetée sur du sélénium,
ou même sur beaucoup dautres corps réduits à
létat de lames minces. Cette découverte qui, jusquici,
na pas eu beaucoup dapplications, est très intéressante
au point de vue scientifique, et permet de croire que beaucoup dautres
inventions, fondées sur la propriété photo-électrique
du sélénium, pourront naître dici à
peu de temps. Déjà on a mis en avant, en se basant sur
elle, lidée de transmettre à distance des effets
lumineux, même les images des corps, et plusieurs appareils ont
dès maintenant reçu des noms appropriés à
cet usage, tels que téléphotes, diaphotes, etc.; mais
jusquici aucune expérience sérieuse nest venue
montrer la possibilité de la réalisation matérielle
de cette idée, et nous en sommes encore à attendre les
beaux appareils annoncés si pompeusement dAmérique,
il y a quelque six mois. Il est certain que le problème est bien
difficile à résoudre, et nous avons publié dernièrement
un article qui le démontre péremptoirement.
La télégraphie électrique a été en
1880 assez stationnaire, du moins en ce qui touche les inventions électriques.
Aujourdhui la question se présente dans de tout autres
conditions quil y a quelques années, et il est possible
que cette substitution soit heureuse, du moins dans les grands bureaux....
DU MONCEL
sommaire
Théories temporelles
classiques
Les théories temporelles (ou fréquentielles) classiques
proposaient que le mécanisme auditif périphérique
n'effectue pas d'analyse fréquentielle,
mais transmette plutôt le signal au système nerveux auditif
central pour traitement. Ces théories ont été qualifiées
de « théories du téléphone » par analogie
avec la manière dont un signal téléphonique est
transmis. Bien qu'il existe plusieurs théories de ce type, la
théorie du téléphone de Rutherford (1886), proposée
peu après la description de la théorie de la résonance
par Helmholtz, est la plus connue.
Elle proposait que la cochlée n'est pas sensible à la
fréquence sur toute sa longueur, mais que toutes ses parties
répondent à toutes les fréquences. Le rôle
des cellules ciliées est simplement de transmettre tous les paramètres
de la forme d'onde du stimulus au nerf auditif, et l'analyse est effectuée
à des niveaux supérieurs. Puisqu'un neurone ne peut répondre
que de manière binaire (tout ou rien), la seule façon
pour lui de transmettre l'information de fréquence est de se
décharger autant de fois par seconde qu'il y a de cycles dans
le stimulus (par exemple, il doit se décharger 720 fois par seconde
pour transmettre un son de 720 Hz).
La théorie temporelle classique présuppose donc que les
fibres du nerf auditif peuvent se décharger suffisamment rapidement
pour représenter cette information. Il n'y a pas de problème
aux basses fréquences ; cependant, une limite supérieure
au nombre de décharges par seconde est imposée par la
période réfractaire absolue du neurone.
La période réfractaire absolue est le temps nécessaire
après la décharge pour que la cellule rétablisse
la polarisation dont elle a besoin pour se décharger à
nouveau ; elle dure environ 1 ms. La fibre ne peut pas se décharger
pendant la période réfractaire absolue, quelle que soit
l'intensité de la stimulation.
Cette période est suivie d'une période réfractaire
relative pendant laquelle le neurone répondra si le stimulus
est suffisamment fort. La période réfractaire absolue
de 1 ms correspond à une fréquence de décharge
maximale de 1000 fois par seconde.
Ainsi, la théorie fréquentielle simple peine à
expliquer comment les sons de fréquence supérieure à
environ 1000 Hz peuvent être transmis par le nerf auditif et perçus
par l'auditeur.
Un second problème des théories du téléphone
est que les lésions de la partie basale de la cochlée
entraînent une perte auditive dans les hautes fréquences.
Ceci contredit la théorie fréquentielle, qui stipule que
les différentes parties de la cochlée ne sont pas sensibles
différemment à la fréquence....
En Allemagne lexpérience téléphonique
, la méthode téléphonique.
À cette époque, le téléphone fascinait les
physiologistes mélomanes de Berlin.
En juin 1881, Franz von Mendelssohn (cousin du compositeur) téléphona
aux Helmholtz et leur joua une composition de Joseph Joachim.
Anna, la seconde épouse dHermann, rapporta que «
les sons étaient parfaitement audibles, jusquaux plus fines
nuances du son du violon ». Joachim, qui écoutait également,
put juger quil entendait « lAmati, et non le Stradivarius
» de Mendelssohn. Anna pensa que « cette omniprésence
du lointain est étrange et fantomatique ».
Quelques années plus tard seulement, de tels moments étranges
étaient devenus monnaie courante. Comme le note Volmar,dès
1888, « lexpérience téléphonique »
de du Bois-Reymond était devenue si courante que William
Stirling lintégra comme exercice de laboratoire dans son
ouvrage introductif, Outlines of Practical Physiology.
Au cours de la décennie suivante, les chercheurs cherchèrent
des moyens de conserver les données obtenues par téléphone,
que Hermann appelait « études phonophotographiques
» et Bernstein « études phototéléphoniques
».
Ces dispositifs hybrides comportaient un appareil optique qui transformait
le signal téléphonique en un faisceau lumineux mobile,
lequel pouvait ensuite être projeté sur un tambour rotatif
recouvert de papier photographique. Bien que dautres chercheurs
aient encore utilisé des galvanomètres pour mesurer les
courants, les téléphones et les diapasons se sont souvent
révélés des éléments utiles de ces
dispositifs.
Par exemple, en 1895, J. Burdon Sanderson a noté que «
lorsqu'un muscle est stimulé par des courants alternatifs de
haute fréquence parcourant son nerf, l'effet est le même
que si l'excitation était continue.
La méthode la plus simple pour tester cela expérimentalement
consiste à utiliser des courants téléphoniques.
Lorsque, par exemple, la note do (notée par l'espace do dans
la clé de sol, c'est-à-dire une octave au-dessus du do
central) est chantée fort à un téléphone
dont les bornes sont reliées aux électrodes d'excitation,
le nerf reçoit plus de mille excitations par seconde par des
courants circulant alternativement dans des directions opposées.
L'image résultante (figure 16.1), prise avec une plaque photographique
mobile, montre la « variation négative »
initiale ainsi que la réponse ultérieure du nerf au do
chanté. Dans cette expérience, par un heureux hasard,
le téléphone a été enregistré par
le galvanomètre avant même que le nerf ne reçoive
le courant téléphonique, de sorte que la photographie
montre à la fois la forme du courant stimulant et celle de la
vibration musculaire en réponse.
Figure 16.1
Photographie de J. B. Sanderson (1895) illustrant une expérience
où la note do était chantée par téléphone
à un nerf de grenouille.
La courbe supérieure représente la réponse de base
du galvanomètre, qui recevait le courant téléphonique
avant même le nerf (courant médian). La réponse
du nerf montre la « variation négative »
initiale ainsi que sa vibration continue à la fréquence
du do, satténuant progressivement avec le temps.
En 1900, le physiologiste russe Nikolaï
Wedensky décrivait la « méthode téléphonique
» comme « pratiquement irremplaçable » car
« on peut suivre n'importe quel point arbitraire du nerf sans
interrompre sa connexion avec le muscle ».
Considérant l'ensemble des instruments, il concluait que «
pour étudier tout processus complexe de la fibre nerveuse, il
est nécessaire d'utiliser le muscle, le téléphone
et le galvanomètre. Chacun de ces appareils s'exprime dans son
propre langage et se révèle être un bon témoin
dans certaines conditions et un témoin faible dans d'autres »
.
Son appareil complet (figure 16.2) incluait toutes ces modalités
multiples afin de mieux comprendre l'action nerveuse et musculaire,
pour laquelle il trouvait les possibilités de timbre du téléphone
particulièrement révélatrices.
Figure 16.2
Schéma du dispositif expérimental de Nicolai Wedensky
(1900). Un appareil à induction (P, avec bobines I et II) génère
des courants dont la fréquence est régulée par
la roue rotative W. Ces courants circulent ensuite dans le fil situé
en haut et atteignent un muscle de grenouille. Un téléphone
T peut être connecté au circuit pour écouter le
courant entrant ainsi que la réponse musculaire. Dans d'autres
expériences, Wedensky utilisait un diapason électromagnétique
pour réguler la fréquence.
Dans certaines études, il était facile de distinguer un
son physiologique d'un autre grâce à leurs timbres particuliers.
Lorsque je stimule [le muscle] avec des courants que l'on commence déjà
à entendre au téléphone, j'entends d'abord le son
musculaire, puis finalement, après que la fatigue musculaire
due à la stimulation se soit installée, le « Le
son calme des cycles de courant, dun timbre différent de
celui quil avait perçu jusqualors sans aucune modification.
»
Il pouvait même entendre au téléphone les différentes
phases de laction du poison sur les nerfs, qui évoquait
un son initial caractéristique de « courants stimulants
très forts et très modérés », se transformant
en « un son faible et étouffé, compliqué
par des bruits nerveux » après que le poison eut commencé
à agir.
Comme Laennec et Bernstein, Wedensky sappuyait sur son expérience
sonore pour décrire ce quil entendait, comme le bruit profond
« semblable à une cascade lointaine » lors dune
contraction volontaire.
Parallèlement à ces développements concernant les
modes d'observation sonores, le galvanomètre a lui-même
connu de nombreux développements en tant qu'instrument de physiologie.
Le physicien néerlandais Willem Einthoven a conçu une
version particulièrement puissante vers 1901 afin de mesurer
les très faibles courants électriques du cur.
Le galvanomètre d'Einthoven (figure 16.3a) a été
conçu pour réaliser les premiers électrocardiogrammes,
en faisant passer le courant cardiaque à travers un filament
extrêmement fin de quartz recouvert d'or ou d'argent, passant
entre de puissants électroaimants.
Figure 16.3
(a) Un galvanomètre à corde d'Einthoven fabriqué
en 1911 ; le patient est assis, un bras et une jambe immergés
dans des solutions salines concentrées (conductrices).
(b) Un des premiers électrocardiogrammes réalisés
sur le galvanomètre à corde (1902).
On l'appelle galvanomètre à « fil » en raison
de ce fil conducteur.
Le courant qui le traverse provoque alors son mouvement dans le champ
magnétique et projette une ombre sur un rouleau de papier photographique
en mouvement, dont la vitesse de déplacement enregistre la coordonnée
temporelle de l'image, remplaçant ainsi le diapason de Helmholtz.
L'électrocardiogramme obtenu ressemble beaucoup à ceux
réalisés aujourd'hui (figure 16.3b).
Mais le remplacement d'une observation sonore la vibration de
la corde par sa trace visuelle sur le papier tendait à
masquer, voire à dissimuler, la vibration sonore qui sous-tendait
l'ensemble du dispositif.
Pour cette découverte, Einthoven reçut le prix Nobel de
physiologie ou médecine en 1924, mais son instrument était
un monstre de 270 kilogrammes (en raison du refroidissement à
eau des électroaimants) qui nécessitait cinq personnes
pour fonctionner. Bien que beaucoup plus sensible que les galvanomètres
précédents, son fil de quartz se cassait facilement, ce
qui rendait l'instrument délicat et difficile à utiliser.
De nombreuses mesures de courants physiologiques, en particulier, posaient
problème aux instruments comme le galvanomètre, conçu
pour des courants beaucoup plus importants. Bien que Wedensky, entre
autres, ait réalisé des expériences d'amplification
des faibles courants nerveux, des progrès substantiels ne furent
accomplis qu'après la mise au point des amplificateurs à
plusieurs étages nécessaires à la production de
transmissions radio exploitables.
Là encore, les nécessités militaires
ont servi de catalyseur. Comme le notait Rudolf Höber en 1919,
la Grande Guerre a stimulé le développement d'une technologie
capable d'« amplifier les courants faibles à un degré
quasi arbitraire ».
L'un des nouveaux amplificateurs à tubes à vide à
trois étages lui a permis de reproduire les observations de Bernstein
et Wedensky en amplifiant les courants d'action de plus d'un million
de fois. Höber a constaté que les sons nerveux et musculaires
« ainsi magnifiés pouvaient facilement être mis en
évidence dans des conditions favorables, entendus au téléphone,
avec une observation attentive dans un atelier calme ». Grâce
à ce volume et à cette clarté accrus, il pouvait
distinguer plus facilement que Wedensky les différentes fréquences
de stimulation (toujours fournies par un diapason électronique).
Par son téléphone, Höber entendit un spectre saisissant
de hauteurs et de timbres provenant d'un muscle de l'avant-bras humain
stimulé successivement à « 50 Hz, un bourdonnement
fort ; 100, un son semblable à celui d'un violoncelle ;
160, un son plus aigu et plus fort, à l'unisson avec la fréquence
de stimulation ; 256, un son légèrement inférieur
à la fréquence de stimulation, mêlé à
du bruit ; 512, un bruit fort ; 850, un bruit de grattement
fort. »
Höber considérait manifestement ces descriptions de timbre
comme une partie importante de ses observations expérimentales
et les utilisa en milieu clinique pour évaluer les sons qu'il
entendait des muscles de patients souffrant de contractions spastiques
après une apoplexie ou une encéphalite, ainsi que les
sons musculaires très différents de patients catatoniques.
Dans une postface, Höber appliqua ces techniques pour rendre les
sons du cur humain audibles même dans un grand auditorium :
« Si l'on fait passer par l'amplificateur le courant qu'un
microphone capte à partir des sons du cur et Il plaçait
un pavillon [Schalltrichter] sur le téléphone, permettant
ainsi d'entendre clairement, même de loin, le rythme, ainsi que
d'éventuelles arythmies et l'accentuation du premier ou du deuxième
bruit [du cur].
En plaçant un pavillon ou un mégaphone sur le téléphone,
Höber créa manifestement un haut-parleur rudimentaire du
type de ceux qui commençaient déjà à être
utilisés pour la reproduction sonore des radios ou des phonographes.
De cette manière, des sons qui auparavant ne pouvaient être
perçus qu'en tendant l'oreille dans une pièce calme pouvaient
désormais remplir un auditorium entier. Höber regrettait
que le bruit de fond important « perturbe encore une perception
plus fine » des détails sonores plus subtils et prévoyait
de « rechercher au plus vite des solutions pour remédier
» à ces problèmes.
En réponse à lappel de Höber, au milieu des
années 1920, lélectrophysiologiste autrichien Ferdinand
Scheminzky avait mis au point des techniques améliorées,
intégrées à ce quil appelait un électrostéthoscope,
létape suivante de la technologie sonore initiée
par Auenbrugger et Laennec.
Certes, les travaux de Scheminzky ne représentaient quune
tentative parmi dautres dappliquer les nouveaux amplificateurs
électroniques aux problèmes persistants de lauscultation
cardiaque. Nous les retenons en raison de la manière dont Scheminzky
a synthétisé plusieurs aspects des travaux de Höber,
notamment lamplification sonore des bruits cardiaques et musculaires,
ainsi que la mesure des courants amplifiés à laide
du galvanomètre à corde.
Larticle de Scheminzky de 1927 présentait son appareil
composite, un instrument de pointe pour lexploration audible de
létat cardiaque en temps réel (figure 16.4).
Figure 16.4
Photographie de Ferdinand Scheminzky (1927) de son appareil d'amplification
des bruits cardiaques. Le microphone M, suspendu par la capsule d'enregistrement
K au-dessus du thorax du patient, produit un courant traversant un amplificateur
à tubes à trois étages (Tk, I, II, III) placé
sur la table à côté de lui, qui alimente ensuite
le haut-parleur L.
Létrange ressemblance de cette photographie avec des scènes
du laboratoire du Dr Frankenstein dans de vieux films ne doit pas détourner
lattention dune lecture plus attentive de cette image. Contre
un mur couvert de schémas et de graphiques du cur, le haut-parleur
projette les sons amplifiés du patient, permettant une auscultation
immédiate et accessible à tous. Il a pris soin dutiliser
les meilleurs microphones à charbon disponibles pour obtenir
« une fidélité de reproduction sensiblement supérieure,
surtout à faible courant », appliquant ainsi les préoccupations
contemporaines en matière de qualité sonore afin délucider
ce quil appelait le « caractère tonal » des
bruits cardiaques, en particulier les subtiles nuances de la pathologie
cardiaque.
Ces microphones donnaient des résultats bien meilleurs que ceux
des téléphones ordinaires et permettaient également
une meilleure audition et discussion des bruits cardiaques même
dans un grand auditorium, utile pour la formation médicale et
la consultation clinique.
Scheminzky utilisait également son dispositif pour réaliser
des enregistrements visuels permanents, ainsi que pour entendre ces
sons sur le moment.
Il utilisa un galvanomètre à corde Edelmann pour produire
une représentation graphique du courant du microphone, en regard
d'un repère temporel d'une horloge.
Pour contrôler le son à l'origine de ces images, il utilisa
un téléphone, intégrant ainsi les modes d'observation
sonore et visuel.
Ses graphiques comprennent des enregistrements sonores de la valve tricuspide
du cur et des muscles faciaux (figure 16.5).
Figure 16.5
Images de Ferdinand Scheminzky (1927) montrant les signaux de microphone :
(a) bruits cardiaques non amplifiés de la valve tricuspide de
deux patients sains (V.P.2, V.P.3), montrant les premier et deuxième
bruits cardiaques (1.T, 2.T) ; (b) bruits musculaires amplifiés
du muscle masséter en contraction, stimulés par un diapason
électromagnétique. En haut de chaque image, un signal
temporel (provenant dune horloge Jacquet) indique des intervalles
de 1/5 de seconde.
Le diapason électromagnétique demeura sa source pour stimuler
les muscles masséters, utilisant des courants généralement
à basses fréquences (20 et 50 Hz), proches ou inférieures
au seuil d'audibilité humaine. Scheminzky remarqua en particulier
la capacité du microphone à charbon à enregistrer
ces sons même lorsque l'oreille humaine ne le pouvait pas, démontrant
ainsi l'utilité de ces méthodes sonores pour surmonter
les limitations de l'audition sans aide auditive.
Bernstein et ses prédécesseurs avaient trouvé des
indices suggestifs des mécanismes électriques et chimiques
sous-jacents à l'action nerveuse, par des inférences tirées
de phénomènes tels que les bruits musculaires. Cependant,
confirmer, clarifier et approfondir ces explications nécessitait
d'étudier l'« atome » de l'action nerveuse, le neurone
individuel et son comportement précis.
Les courants électriques impliqués étant extrêmement
faibles, les instruments de mesure peinaient à répondre
correctement à l'observation d'un neurone individuel en activité,
même avec amplification.
Plus fondamentalement, l'écoute des nerfs et des muscles que
nous avons envisagée dans les deux chapitres précédents
(et en fait depuis Laennec) était essentiellement analogique,
en ce sens qu'elle consistait à entendre le paysage sonore interne
du corps rendu audible par des appareils comme les stéthoscopes
ou les téléphones qui amplifient les sons faibles mais
continus.
Comme nous le verrons dans le chapitre suivant, l'amplification des
signaux de neurones individuels a permis d'accéder à un
nouveau domaine de sons binaires, non continus soit allumés,
soit éteints, sans nuance intermédiaire. Le tournant sonore
a ainsi conduit à un nouveau domaine d'écoute des fréquences
de ces impulsions binaires discrètes, qui sont généralement
perçues comme des rythmes
sommaire
|